Ministerio de Industria, Turismo y Comercio LogoMinisterior
 

Alerta

Resultados 69 resultados
LastUpdate Última actualización 04/02/2026 [06:46:00]
pdfxls
Solicitudes publicadas en los últimos 30 días / Applications published in the last 30 days
previousPage Resultados 25 a 50 de 69 nextPage  

AQUEOUS EXTRACT OF SOSNOWSKY'S HOGWEED (HERACLEUM SOSNOWSKYI) BIOMASS USED AS A WINTER WHEAT GROWTH STIMULATOR

NºPublicación:  LT2025014A 26/01/2026
Solicitante: 
VYTAUTO DIDZIOJO UNIV ZEM\u0116S \u016AKIO AKADEMIJA [LT]
Vytauto Did\u017Eiojo universitetas, \u017Dem\u0117s \u016Bkio akademija

Resumen de: LT2025014A

The invention belongs to the field of agriculture and can be used to increase the efficiency and sustainability of winter wheat cultivation technologies, as it allows to increase the productivity of winter wheat and reduce the use of pesticides and mineral fertilizers. Sosnowsky's hogweed (Heracleum sosnowskyi) is an invasive plant that must be eradicated, therefore, the use of an aqueous solution of hogweed biomass to stimulate the winter wheat crop reduces hogweed’s unwanted development. After spraying winter wheat once in the spring during the stem elongation period (BBCH 32-34) with an aqueous extract (stimulator) of the biomass of the aboveground part of hogweed, the number of productive wheat stems increases from 13 to 25%, the weight of ears - from 19 to 28%, grain yield - from 18 to 29%, the mass of 1000 grains - about 2%, the intensity of septoria (Zymoseptoria tritici) on ears decreases from 34 to 49% units.

Recombinant fusion protein, method for obtaining the recombinant fusion protein, and its application

NºPublicación:  PL449273A1 26/01/2026
Solicitante: 
UNIV GDANSKI [PL]
GDANSKI UNIV MEDYCZNY [PL]
POLITECHNIKA GDANSKA [PL]
INNOVABION SPOLKA Z OGRANICZONA ODPOWIEDZIALNOSCIA [PL]
NEX D SPOLKA Z OGRANICZONA ODPOWIEDZIALNOSCIA [PL]
UNIWERSYTET GDA\u0143SKI,
GDA\u0143SKI UNIWERSYTET MEDYCZNY,
POLITECHNIKA GDA\u0143SKA,
INNOVABION SP\u00D3\u0141KA Z OGRANICZON\u0104 ODPOWIEDZIALNO\u015ACI\u0104,
NEX.D SP\u00D3\u0141KA Z OGRANICZON\u0104 ODPOWIEDZIALNO\u015ACI\u0104
PL_449273_A1

Resumen de: PL449273A1

Przedmiotem zgłoszenia jest fuzyjne białko rekombinowane oznaczone jako CBD_TP84_28_His o sekwencji obejmującej: a) domenę katalityczną w postaci endolizyny TP84_28_His pochodzącą z bakteriofaga TP-84, b) domenę wiążącą celulozę pochodzącą z celulazy Clostridium cellulovorans o właściwościach bakteriobójczych i zdolności wiązania z celulozą. Zgłoszenie obejmuje także sposób otrzymywania fuzyjnego białka rekombinowanego oznaczonego jako CBD_TP84_28_His na drodze, charakteryzujący się tym, że łączy się endolizynę TP84_28 pochodzącą z bakteriofaga TP-84 z domeną wiążącą celulozę pochodzącą z celulazy Clostridium cellulovorans poprzez fuzję genów kodujących endolizynę TP84_28 i domenę wiążącą celulozę enzymu celulazy z Clostridium cellulovorans. Przedmiotem zgłoszenia jest także zastosowanie fuzyjnego białka rekombinowanego, otrzymanego powyższym sposobem.

動物忌避樹脂組成物、動物忌避樹脂成形体、及び動物忌避樹脂成形体物品

NºPublicación:  JP2026012543A 23/01/2026
Solicitante: 
クラレトレーディング株式会社
JP_2026012543_A

Resumen de: JP2025004641A

To provide an animal repellent resin composition capable of achieving an animal repellent article that has low environmental impact, is easy to handle, offers long effective lifespan, and prevents target animals from becoming habituated to the same.SOLUTION: An animal repellent resin composition contains a thermoplastic resin, and sustained-release inorganic particles and an animal repellent dispersed in the thermoplastic resin. The thermoplastic resin has a softening point of 50-120°C. The sustained-release inorganic particle is at least one selected from the group consisting of fly ash, activated clay, inorganic pigments, silica and char. The animal repellent is at least one selected from the group consisting of wood tar, 2,6-dimethylpyrazine, 3-ethyl-2,5-dimethylpyrazine, 2,3,5-trimethylpyrazine, 2,4,5-trimethylthiazole, garlic oil, and capsaicin-containing oil.SELECTED DRAWING: None

Antipathogenic polypeptides

NºPublicación:  AU2025283571A1 22/01/2026
Solicitante: 
UNIV OF VIRGINIA PATENT FOUNDATION
University of Virginia Patent Foundation
AU_2025283571_A1

Resumen de: AU2025283571A1

Antipathogenic polypeptides and related compounds and compositions that display antipathogenic activity, antifungal activity (i.e., act as fungicides), antialgal activity (i.e., act as algaecides), and/or enzymatic activity against chitin (i.e., degrade chitin) and/or polyglucuronic acid (i.e., degrade the polyglucuronic acid) are described. These antipathogenic polypeptides, as well the related compounds and compositions disclosed herein, can be used in protecting/treating products, including but not limited to agricultural products and water bodies (including drinking water), from pathogens, including fungi and algae, as well as generating pathogen-resistant products (particularly fungi-resistant and/or algae-resistant products). ec e c

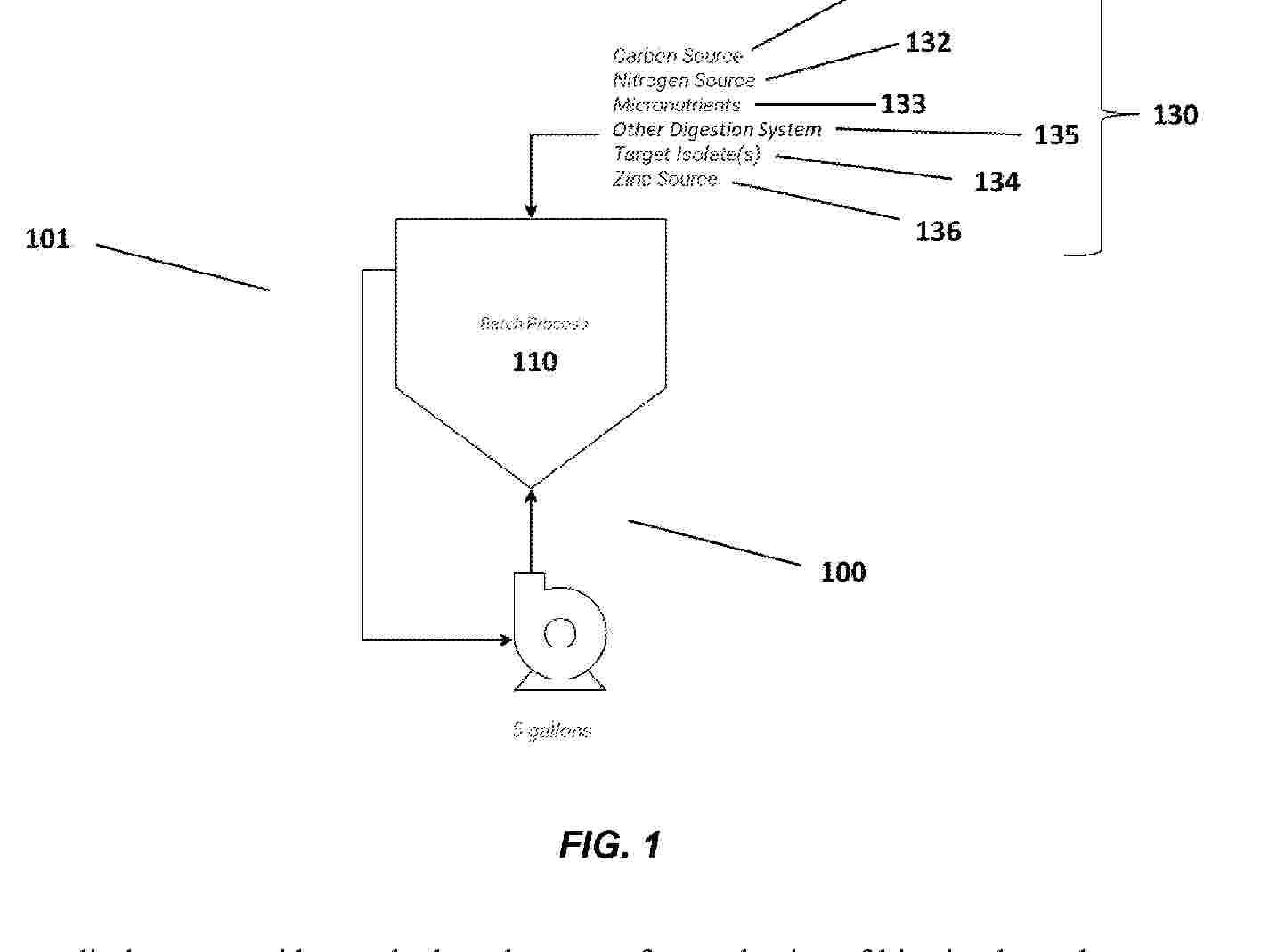
METHODS AND SYSTEMS FOR PROMOTING PLANT GROWTH

NºPublicación:  AU2024313844A1 22/01/2026
Solicitante: 
TENFOLD TECHNOLOGIES LLC
TENFOLD TECHNOLOGIES, LLC
AU_2024313844_PA

Resumen de: AU2024313844A1

The present disclosure provides methods and systems for production of biostimulants that promote growth in plants. Embodiments described include methods of making a biostimulant composition in a bioreactor system that includes two or more containers arranged in series. The bioreactor system may include an established population of a microbial strain. The method may include operating the bioreactor system by transferring into the system an aqueous feedstock that comprises a microbial consortium, transferring working fluid between containers of the system, and collecting a product. The method may further include maintaining a concentration of a microbial strain in the system.

MONOTERPENOID AND DITERPENOID-BASED HERBICIDAL COMPOSITION

NºPublicación:  AU2024313640A1 22/01/2026
Solicitante: 
BIO BLASTER LLC
BIO-BLASTER LLC
AU_2024313640_PA

Resumen de: AU2024313640A1

An herbicidal composition can include about 40 wt. % to about 90 wt. % monocyclic monoterpenoids; about 0.1 wt. % to about 6.0 wt. % of an aqueous solution of at least one of an alkali metal hydroxide, an alkaline earth metal hydroxide, an alkali metal acetate, and an alkaline earth metal acetate, having a composition of greater than or equal to about 40 vol. % of the at least one of the alkali metal hydroxide, the alkaline earth metal hydroxide, the alkali metal acetate, and the alkaline earth metal acetate and a remainder of the aqueous solution being water; and a remainder of the herbicidal composition including diterpenoids, wherein the herbicidal composition is a gel.

SYSTEMS FOR PRODUCTION OF PRODUCTS TO PROMOTE NITROGEN USE EFFICIENCY IN PLANTS

NºPublicación:  AU2024311941A1 22/01/2026
Solicitante: 
TENFOLD TECHNOLOGIES LLC
TENFOLD TECHNOLOGIES, LLC
AU_2024311941_PA

Resumen de: AU2024311941A1

The present disclosure provides methods and systems for production of biostimulants that promote nitrogen use efficiency in plants. Embodiments described include methods of making a biostimulant composition in a bioreactor system that includes two or more containers arranged in series. The bioreactor system may include an established population of a nitrogen use efficiency-promoting microbial strain. The method may include operating the bioreactor system by transferring into the system an aqueous feedstock that comprises a microbial consortium, transferring working fluid between containers of the system, and collecting a product. The method may further include maintaining a concentration of a nitrogen use efficiency-promoting microbial strain in the system.

NOVEL INSECT INHIBITORY PROTEINS

NºPublicación:  AU2024299617A1 22/01/2026
Solicitante: 
MONSANTO TECH LLC
MONSANTO TECHNOLOGY LLC
AU_2024299617_A1

Resumen de: AU2024299617A1

Pesticidal proteins exhibiting toxic activity against Lepidopteran pest species are disclosed, and include, but are not limited to, TIC8643 and related pesticidal proteins. DNA constructs are provided which encode the disclosed pesticidal proteins. Transgenic plants, plant cells, seed, and plant parts resistant to Lepidopteran infestation are provided which contain recombinant nucleic acid sequences encoding the pesticidal proteins of the present invention, and vectors are described which contain at least a coding sequence for expression and the delivery of the encoded toxin proteins. Methods for detecting the presence of the recombinant nucleic acid sequences or the proteins of the present invention in a biological sample, and methods of controlling Lepidopteran species pests using TIC8643 and related pesticidal proteins are also provided.

BIOSTIMULANT MICROORGANISM

NºPublicación:  AU2024289928A1 22/01/2026
Solicitante: 
AGRICELLS
AGRICELLS
AU_2024289928_PA

Resumen de: AU2024289928A1

The invention relates to a biostimulant composition comprising a Bacillus amyloliquefaciens strain having incorporated a plasmid having at least 95% sequence identity to SEQ ID NO: 1, to its use in agriculture, to a method for enhancing the growth of a plant of interest and to a method for increasing the production of lipid cyclopeptides such as surfactin, iturin, and/or fengycin by a microorganism.

AGROCHEMICAL COMBINATIONS, COMPOSITIONS AND METHOD OF USE THEREOF

NºPublicación:  AU2024287614A1 22/01/2026
Solicitante: 
UPL MAURITIUS LTD
UPL EUROPE SUPPLY CHAIN GMBH
UPL MAURITIUS LIMITED,
UPL EUROPE SUPPLY CHAIN GMBH
AU_2024287614_A1

Resumen de: AU2024287614A1

The present invention relates to an agrochemical combination and compositions of insecticides and a sea-weed algal extract. The said combinations and compositions control pest infestation in crops, improve crop yield and crop health and growth.

NOVEL METHOD OF PRODUCING AN ALGAE COMPOSITION

NºPublicación:  US20260022315A1 22/01/2026
Solicitante: 
ENLIGHTENED SOIL CORP [US]
ENLIGHTENED SOIL CORP
US_20260022315_PA

Resumen de: US20260022315A1

A system and method for growing microalgae capable of mixotrophic metabolism, preferably Chlorella sp. Microalgae grown in the system using the method are able to survive and grow in dark refrigeration, which allows the algae to be stored and transported for application as a live culture. In addition, the microalgae can be grown in sufficient quantities to be sold commercially for application to crops as a biostimulant.

CONTROLLING CONTAMINANTS DURING FERMENTATION

NºPublicación:  US20260022328A1 22/01/2026
Solicitante: 
NEWLEAF SYMBIOTICS INC [US]
NewLeaf Symbiotics, Inc
US_20260022328_A1

Resumen de: US20260022328A1

Methods and compositions for use in growth of pink-pigmented facultative methylotrophs (PPFM) and/or methanotroph bacteria are provided herein, wherein the fermentation comprises hop acids to inhibit growth of bacterial contaminants.

AGRICULTURAL METHYL DIHYDROJASMONATE COMPOSITIONS

NºPublicación:  US20260020560A1 22/01/2026
Solicitante: 
IMPELLO BIOSCIENCES INC [US]
Impello Biosciences, Inc
US_20260020560_A1

Resumen de: US20260020560A1

Disclosed are agricultural compositions comprising a jasmonate, a seaweed and a surfactant. Also disclosed are methods of using the compositions for altering secondary metabolite production in a plant or plant part.

USE OF AMINO ACID PEPTIDE SOLUTION PRODUCED BY DECOMPOSITION OF FISH SCALE USING BACILLUS VELEZENSIS FOR PROMOTING GERMINATION AND SEEDLING GROWTH OF GRAMINEAE

NºPublicación:  US20260020574A1 22/01/2026
Solicitante: 
CH BIOTECH R&D CO LTD [TW]
CH BIOTECH R&D CO., LTD
US_20260020574_PA

Resumen de: US20260020574A1

A use of an amino acid peptide solution produced by decomposition of fish scales using Bacillus velezensis for promoting germination and seedling growth of Gramineae is provided. The Bacillus velezensis is deposited in Leibniz Institute DSMZ-German Collection of Microorganisms and Cell Cultures GmbH with an accession number of DSM 34894. Fish scale materials are decomposed by the Bacillus velezensis to produce a fish-scale amino acid peptide solution containing amino acids and peptides. After the fish-scale amino acid peptide solution being applied to treat seeds of Gramineae, germination and seedling growth of Gramineae are effectively and specifically improved.

INSECT, BACTERIAL, AND/OR FUNGAL CONTROL COMPOSITION

NºPublicación:  US20260020576A1 22/01/2026
Solicitante: 
ARKION LIFE SCIENCES LLC [US]
Arkion Life Sciences, LLC
US_20260020576_A1

Resumen de: US20260020576A1

The present disclosure relates to an insect, bacteria, and/or fungi control composition that includes a carrier oil and two or more essential oils for effectively controlling and/or killing insects, bacteria, and/or fungi. Some insect, bacteria, and/or fungi control compositions comprise castor oil; a first oil selected from the group consisting of rosemary oil, thyme oil, clove oil, garlic oil, geraniol, peppermint oil, and cinnamon oil; and a second oil selected from the group consisting of rosemary oil, thyme oil, clove oil, garlic oil, geraniol, peppermint oil, and cinnamon oil, wherein in the first oil is different from the second oil. Compositions according to the present disclosure kill insects at multiple stages in their life cycle including adult insects, larvae, and disrupt the egg cycle. The insect, bacteria, and/or fungi control compositions can effectively control insect, bacteria, and/or fungi and retain control and/or insecticidal, bactericidal, and/or fungicidal potency over a longer period of time than other natural insect, bacteria, and/or fungi control agents.

MODIFIED INSECTICIDAL PROTEINS WITH IMPROVED TOXICITY AGAINST LEPIDOPTERAN INSECTS

NºPublicación:  US20260020575A1 22/01/2026
Solicitante: 
AJEET SEEDS PVT LTD [IN]
Ajeet Seeds Pvt. Ltd
US_20260020575_PA

Resumen de: US20260020575A1

The present invention provides modified Cry1Ac protein having enhanced toxicity towards resistant pink bollworm (PBW) species. Insertion of said specific, tightly binding gut peptides in Cry1Ac at one or more identified sites increases the retention of toxin in the PBW gut. resulting in solubilisation and pore formation leading to sepsis and larval death. The modified Bt toxin exhibits significant toxicity against resistant pink bollworm and thus can be used for generation of insect resistant transgenic plants.

USE OF AMINO ACID PEPTIDE SOLUTION PRODUCED BY DECOMPOSITION OF FISH SCALE USING BACILLUS VELEZENSIS FOR HEALTHY AND STRONG GROWTH OF GRAMINEAE SEEDLING AND GROWTH PROMOTION OF GRAMINEAE

NºPublicación:  US20260020573A1 22/01/2026
Solicitante: 
CH BIOTECH R&D CO LTD [TW]
CH BIOTECH R&D CO., LTD
US_20260020573_PA

Resumen de: US20260020573A1

A use of an amino acid peptide solution produced by decomposition of fish scales using Bacillus velezensis for healthy and strong growth of Gramineae seedlings and growth promotion of Gramineae is provided. The Bacillus velezensis is deposited in Leibniz Institute DSMZ-German Collection of Microorganisms and Cell Cultures GmbH with an accession number of DSM 34894. The amino acid peptide solution produced by decomposition of the fish scales using the Bacillus velezensis is composed of peptides and amino acids. While being applied to leaf surfaces of seedlings of Gramineae, the amino acid peptide solution can promote growth and keep healthy and strong growth of the seedlings of the Gramineae effectively and specifically.

FERTILIZER PARTICLE COMPRISING LIGNOSULPHONATE BIOSTIMULANT

NºPublicación:  WO2026017786A1 22/01/2026
Solicitante: 
YARA INT ASA [NO]
YARA INTERNATIONAL ASA
WO_2026017786_A1

Resumen de: WO2026017786A1

The present invention relates to a fertilizer particle comprising one, two or three from 1.0 to 30.0 wt.% of nitrogen (N), from 1.0 to 52.0 wt.% of phosphorus (P) (expressed as P2O5), from 1.0 to 60.0 wt.% of potassium (K) (expressed as K2O), depending on whether the fertilizer particle is a K, a NP or a PK, or a NPK fertilizer, and from 0.0001 to 5.0 weight% of lignosulfonate compound, more in particular calcium lignosulfonate, as a biostimulant, based on the total weight of the fertilizer particle. The present invention furthermore relates to a method to produce such a fertilizer particle.

FERTILIZER PARTICLE COMPRISING A POLYSACCHARIDE AS BIOSTIMULANT

NºPublicación:  WO2026017787A1 22/01/2026
Solicitante: 
YARA INT ASA [NO]
YARA INTERNATIONAL ASA
WO_2026017787_A1

Resumen de: WO2026017787A1

The present invention relates to a fertilizer particle comprising one, two or three of from 1.0 to 30 wt.% of nitrogen (N), from 1,0 to 52 wt.% of phosphorus (P) (expressed as P2O5), from 1,0 to 60,0 wt.% of potassium (K) (expressed as K2O), depending on whether the fertilizer particle is a K, a NP or a PK, or a NPK fertilizer, and from 0.0001 to 5.0 weight% of at least one polysaccharide, more in particular chitosan, as a biostimulant, based on the total weight of the fertilizer particle. The present invention furthermore relates to a method to produce such fertilizer particles.

FERTILIZER PARTICLE COMPRISING A PROTEIN HYDROLYSATE AS BIOSTIMULANT

NºPublicación:  WO2026017790A1 22/01/2026
Solicitante: 
YARA INT ASA [NO]
YARA INTERNATIONAL ASA
WO_2026017790_A1

Resumen de: WO2026017790A1

The present invention relates to a fertilizer particle comprising two or more of from 1.0 to 30 wt.% of nitrogen being present as calcium ammonium nitrate (CAN), and from 0.0001 to 5.0 weight% of protein hydrolysate as a biostimulant, based on the total weight of the fertilizer particle. The present invention furthermore relates to a method to produce such fertilizer particles.

FERTILIZER PARTICLE COMPRISING HUMIC AND/OR FULVIC ACIDS AS BIOSTIMULANT

NºPublicación:  WO2026017788A1 22/01/2026
Solicitante: 
YARA INT ASA [NO]
YARA INTERNATIONAL ASA
WO_2026017788_A1

Resumen de: WO2026017788A1

The present disclosure relates to a homogeneous fertilizer particle comprising at least one of from 1.0 to 30 wt.% of nitrogen, from 1,0 to 52 wt.% of phosphorus (expressed as P2O5), from 1,0 to 60,0 wt.% of potassium (expressed as K2O), depending on whether the fertilizer particle is an NPK, an NP, a PK, or a K fertilizer, and from 0.0001 to 5.0 weight% of humic and/or fulvic acids, more in particular a mixture of humic and fulvic acids, as a biostimulant. The present disclosure furthermore relates to a method for producing such a fertilizer particle.

ANTIMICROBIAL LACTOBACILLUS FERMENT

NºPublicación:  WO2026017818A2 22/01/2026
Solicitante: 
SYMRISE AG [DE]
SYMRISE AG
WO_2026017818_A2

Resumen de: WO2026017818A2

The present invention pertains to a method for producing an antimicrobial composition preferably comprising piceol. Moreover, the invention relates to an antimicrobial composition comprising or consisting of piceol, preferably in an excess amount compared to picein, further plant-derived substances and optionally picein. The invention further relates to a cosmetic, personal care, household, home care, pet care or pharmaceutical product comprising said antimicrobial composition. Moreover, the invention relates to the use of a microorganism, preferably a lactobacillus species, for producing an antimicrobial composition comprising piceol from a composition, preferably a plant-extract, comprising picein. In addition, the invention relates to the use of shikimic acid for increasing the antimicrobial efficacy of piceol and/or to the use of piceol for increasing the antimicrobial efficacy of shikimic acid. Further embodiments and aspects of the invention are presented in the attached claims as well as in the description and examples below.

FERTILIZER PARTICLE COMPRISING A PROTEIN HYDROLYSATE AS BIOSTIMULANT

NºPublicación:  WO2026017792A1 22/01/2026
Solicitante: 
YARA INT ASA [NO]
YARA INTERNATIONAL ASA
WO_2026017792_A1

Resumen de: WO2026017792A1

The present invention relates to a homogeneous fertilizer particle, comprising one, two or three from 1.0 to 30.0 wt.% of nitrogen (N), from 1.0 to 52.0 wt.% of phosphorus (P) (expressed as P2O5), from 1.0 to 60.0 wt.% of potassium (K) (expressed as K2O), depending on whether the fertilizer particle is a K, a NP or a PK, or a NPK fertilizer, and from 0.0001 to 5.0 weight% of one or more protein hydrolysates as a biostimulant, based on the total weight of the fertilizer particle. The present invention furthermore relates to a method to produce such fertilizer particles.

FERTILIZER PARTICLE COMPRISING A PROTEIN HYDROLYSATE AS BIOSTIMULANT

NºPublicación:  WO2026017791A1 22/01/2026
Solicitante: 
YARA INT ASA [NO]
YARA INTERNATIONAL ASA
WO_2026017791_A1

Resumen de: WO2026017791A1

The present invention relates to a fertilizer particle comprising from 18.40 to 45.54 wt.% of nitrogen being present as urea, and from 0.0001 to 5.0 weight% of one or more protein hydrolysates as a biostimulant, based on the total weight of the fertilizer particle. The present invention furthermore relates to a method to produce such fertilizer particles.

BACILLUS ISOLATE AND USES THEREOF

Nº publicación: WO2026017650A1 22/01/2026

Solicitante:

SYNGENTA CROP PROT AG [CH]
SYNGENTA CROP PROTECTION AG

WO_2026017650_PA

Resumen de: WO2026017650A1

The present invention relates to a microbial strain having superior fungicidal and/or nematicidal activity, as well as its progeny and derivatives, compositions comprising the same, and methods of using the same, inter alia in agriculture. The strain, as well as its progeny and derivatives, is capable of increased fungicidal activity against at least one fungi selected from the group consisting of: Botrytis, Fusarium, and Rhizoctonia when compared to Bacillus velezensis strain GB03.

traducir