Ministerio de Industria, Turismo y Comercio LogoMinisterior
 

Alerta

Resultados 462 resultados
LastUpdate Última actualización 08/12/2025 [07:02:00]
pdfxls
Solicitudes publicadas en los últimos 15 días / Applications published in the last 15 days
previousPage Resultados 275 a 300 de 462 nextPage  

一种基于数字孪生的风机叶片寿命预测与故障预警方法

NºPublicación:  CN121024872A 28/11/2025
Solicitante: 
中电华创电力技术研究有限公司
CN_121024872_PA

Resumen de: CN121024872A

本发明涉及风机叶片运行监测技术领域,公开了一种基于数字孪生的风机叶片寿命预测与故障预警方法;通过在叶片桁帽纤维层预埋光纤光栅传感器、在叶根布置加速度传感器,并结合风速、转速和桨距角传感器采集多源数据;建立叶片有限元数字孪生模型,结合气动-结构耦合仿真与扩展卡尔曼滤波实现应力场动态同化;基于雨流计数、S-N曲线和Miner理论计算疲劳剩余寿命,同时采用Paris模型评估裂纹扩展寿命,并取二者最小值作为综合寿命;进一步构建考虑风速波动、环境温度和运行时间的动态安全阈值,当综合寿命小于或等于阈值时触发预警。本发明可实现叶片寿命的精确预测与实时预警,解决了监测覆盖不足、寿命评估不全面及阈值固定的问题。

基于马格努斯效应的垂直轴风力机

NºPublicación:  CN121024834A 28/11/2025
Solicitante: 
华北电力大学
CN_121024834_PA

Resumen de: CN121024834A

本申请涉及垂直轴风力机技术领域,具体提供一种基于马格努斯效应的垂直轴风力机,旨在解决现有的升力型垂直轴风力机难以在微风环境下启动的技术问题。为此目的,本申请的基于马格努斯效应的垂直轴风力机包括:垂直轴;连接在垂直轴上的至少三个升力叶片和至少三个马格努斯转子;用于驱动马格努斯转子的驱动组件;与驱动组件电连接的控制模块,用于根据实际风况控制驱动组件的启停,以驱动马格努斯转子旋转,且在马格努斯转子旋转后由升力叶片持续捕获风能维持垂直轴风力机的运转。如此,改善升力型垂直轴风机启动扭矩小、启动困难的弊端,实现了升力型垂直轴风机在微风情况下的正常启动。

一种基于仿生蒲公英结构的低风速摩擦纳米发电装置

NºPublicación:  CN121024847A 28/11/2025
Solicitante: 
华南农业大学
CN_121024847_PA

Resumen de: CN121024847A

本发明公开一种基于仿生蒲公英结构的低风速摩擦纳米发电装置,包括发电模块,所述发电模块包括基座壳体、设置在基座壳体内部的摩擦纳米发电机以及为摩擦纳米发电机提供动力的仿生蒲公英结构;其中,所述仿生蒲公英结构包括旋转机构以及设置在旋转机构上的多个仿生蒲公英单元,多个仿生蒲公英单元沿着圆周方向分布。该装置在低风速下可以进行发电,且具有启动风速度低和高能量转换效率的优点,能源利用率高,可以提升智慧农业中传感器供电的稳定性,从而为智慧农业的传感器提供可靠、持续的电能供给,满足现代农业发展的工程需求。

风电机组偏航系统故障判断方法、装置、设备及存储介质

NºPublicación:  CN121024862A 28/11/2025
Solicitante: 
山西大学太原重工股份有限公司
CN_121024862_PA

Resumen de: CN121024862A

本发明提供了一种风电机组偏航系统故障诊断方法、装置、设备及存储介质,该方法具体为:在风电机组运行状态下,采集机舱的轴向振动信号和横向振动信号,首先采用改进自适应噪声完备集合经验模态分解算法,对上述两种振动信号进行分解,得到多个本征模态函数分量;其次利用能量比方法,从这些IMF分量中挑选出富含故障信息的分量;接着通过对IMF分量进行希尔伯特变换,再对其进行积分,从而获得对应机舱轴向和横向振动信号的Hilbert边际谱;最后基于故障对应特征,判断Hilbert边际谱中是否存在故障特征频率对应峰值,判断偏航系统是否存在故障。通过本发明,可实现对实际风电机组的振动信号实测与故障诊断。

ENSEMBLE POUR TURBOMACHINE COMPRENANT UN SYSTEME DE RECUPERATION DE LA FOUDRE

NºPublicación:  FR3162425A1 28/11/2025
Solicitante: 
SAFRAN AIRCRAFT ENGINES [FR]
SAFRAN AIRCRAFT ENGINES
FR_3162425_PA

Resumen de: FR3162425A1

Un ensemble (1) d’aubage à pas variable pour turbomachine non carénée d’aéronef, l’ensemble comprenant un rotor (3) mobile par rapport à un axe radial (X) de la turbomachine, un stator (4) fixe par rapport audit axe radial (X) et au moins un système de récupération de la foudre (5). Le système de récupération de la foudre (5) comprend un pion (6), au moins une face dudit pion (6) étant en contact par frottement avec le rotor (3), une vis (7) prolongeant radialement ledit pion (6) et un moyen de liaison (8) du pion (6) et de la vis (7), ledit moyen de liaison (8) comprenant un ressort intercalé entre le pion (6) et la vis (7). Figure pour l’abrégé : Fig 1

一种风力发电机组减速机输出轴的支撑装置

NºPublicación:  CN223609252U 28/11/2025
Solicitante: 
株洲齿轮有限责任公司

Resumen de: CN223609252U

本实用新型涉及一种风力发电机组减速机输出轴的支撑装置,包括输出齿轮轴,输出齿轮轴与输出端行星架接触部分为类圆台形,输出端行星架内有输出齿轮轴配合用锥孔,输出齿轮轴与输出端行星架采用锥形过盈配合的形式连接,输出端行星架结构与下箱体之间设置有双列异径四点接触球轴承,输出齿轮轴上方还设置有挡板,用于固定连接,挡板通过紧固螺栓和输出齿轮轴连接,挡板与输出端行星架过盈配合。本实用新型采用双列异径四点接触球轴承固定支撑,提升减速机支撑刚度及承载能力,降低整机高度,减少减速机在轮毂中的空间占用率,输出端行星架与输出齿轮轴采用花键连接以及锥形过盈配合的形式,增加接触面的同时保证内外圈同轴度。

一种方便大型主轴清理作业的装置

NºPublicación:  CN223608156U 28/11/2025
Solicitante: 
哈密中车新能源电机有限公司

Resumen de: CN223608156U

本实用新型提供一种方便大型主轴清理作业的装置,其包括挂笼架,设置在挂笼架底面上的环形踏板,所述挂笼架包括底环、环形定位板以及横向拉杆、纵向拉杆,所述环形踏板固定在所述底环的上表面,所述纵向拉杆的下端设置在所述底环的内圈,上端通过横向拉杆将环形定位板固定在环形踏板的上方、与环形踏板同轴心,所述底环的内圈直径大于主轴直径,所述环形定位板的直径小于主轴直径。其还包括多个辅助定位板,所述辅助定位板的侧面呈弧形、均匀固定在所述环形踏板的下方,多个所述辅助定位板的弧形轴心与所述环形定位板、环形踏板的轴心重合。

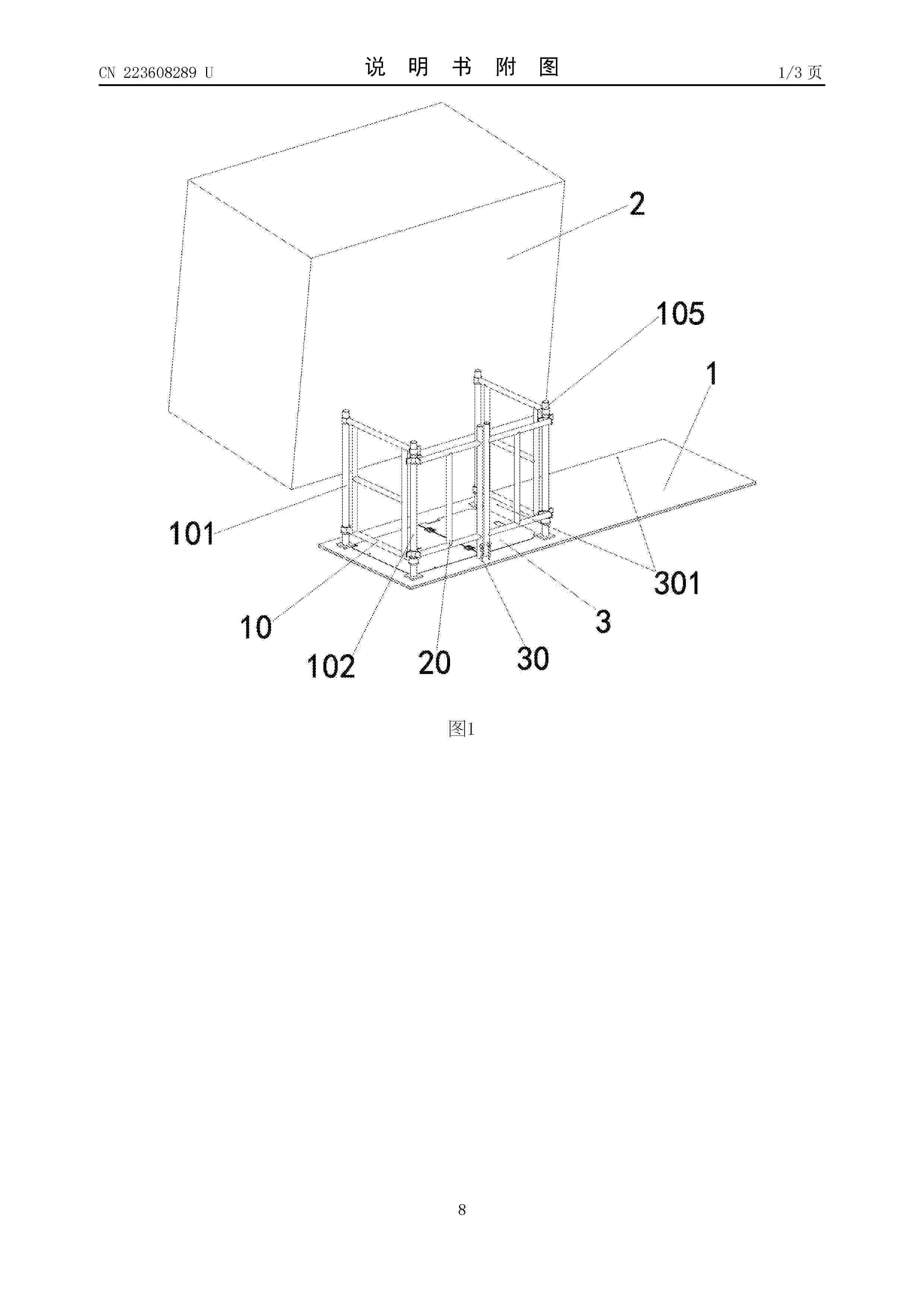
多功能可折叠护栏

NºPublicación:  CN223608289U 28/11/2025
Solicitante: 
中船海装风电有限公司
CN_223608289_U

Resumen de: CN223608289U

本实用新型提供一种多功能可折叠护栏,包括侧栏杆、短栏杆和固定组件。通过取消固定组件与后机架平台的连接后,同向转动两组侧栏杆使两组侧栏杆和两组短栏杆位于发电机和吊物孔盖板之间,再使固定组件与后机架平台连接即可取消对吊物孔的防护,反之,通过取消固定组件与后机架平台的连接后,反向转动两组侧栏杆使两组侧栏杆位于吊物孔盖板两端,两组短栏杆位于吊物孔盖板远离发电机侧,再使固定组件与后机架平台连接即可对吊物孔的防护,便于在吊物孔不使用时快速拆卸和在使用时快速安装,且两组侧栏杆和两组短栏杆固定在发电机和吊物孔盖板之间能对发电机侧进行防护,避免工作人员踏空进发电机后方的间隙内,提高了装置的实用性。

一种微风发电与钙钛矿发电结合的家庭小型发电装置

NºPublicación:  CN223608690U 28/11/2025
Solicitante: 
深圳市金世纪工程实业有限公司
CN_223608690_U

Resumen de: CN223608690U

本实用新型提供一种微风发电与钙钛矿发电结合的家庭小型发电装置,涉及发电装置技术领域,包括底板,底板的顶部固定连接有支撑柱,支撑柱的外表壁固定套设有第一滚珠轴承,第一滚珠轴承的外表壁固定套设有安装架,安装架的顶部固定安装有两个固定座,两个固定座的内表壁均活动插设有第一转轴,两个第一转轴的外表壁均固定套设有转动块,两个转动块的外表壁均固定套设有支撑架。本实用新型中,通过在本装置各组件的相互作用下,可以使两个钙钛矿发电板能够全天候维持最优发电姿态,从而提升了发电效率,使发电装置充分满足家庭多元化用电需求,进而拓宽了其应用场景,提升了能源利用的综合效益。

一种基于桨叶攻角调节的风电机组变桨控制方法

NºPublicación:  CN121024843A 28/11/2025
Solicitante: 
国电南京自动化股份有限公司
CN_121024843_PA

Resumen de: CN121024843A

本发明公开了一种基于桨叶攻角调节的风电机组变桨控制方法,涉及风力发电技术领域,包括:将转速偏差传递至变桨控制器,通过变桨控制器计算得到最优攻角偏差值;计算得到攻角给定值,并结合转速测量值与来流风况测量值,通过桨距角算法生成桨距角给定值;根据构建的时空数据集与混合预测模型,输出来流风况预测值,并利用模型预测控制算法生成预测桨距角给定值,结合桨距角给定值,通过协同推荐策略输出协同桨距角给定值;将生成的协同桨距角给定值发送至变桨执行机构,驱动风电机组的叶片调节至桨距角给定值,并动态跟踪桨距角给定值。本发明实现对目标转速的精准跟踪,提高了变桨系统在不同运行条件下的动态适应能力与响应效率。

新型直叶片垂直轴风力发电机

NºPublicación:  CN121024836A 28/11/2025
Solicitante: 
湖南宇智科技有限公司
CN_121024836_PA

Resumen de: CN121024836A

本发明公开了一种新型直叶片垂直轴风力发电机,包括:塔架、装设于塔架顶端的风轮、多组桨距角调节装置。风轮包括多根连接杆、固定于各连接杆伸出端上的支轴座、转动装设于各支轴座中的桨叶、固定于各桨叶上的定位凸台,桨叶绕竖向安装中心线偏心转动设置。各桨距角调节装置包括定位挡块,定位凸台与定位挡块接触时桨叶的叶片弦长与其公转的旋转切线之间的夹角形成桨距角β,定位挡块用于限定桨叶在方位角为β~180°+β做功区内以桨距角β旋转做功。本发明可有效提高风能利用率,同时解决了变桨距技术在垂直轴风力发电机上应用困难的问题。

一种基于机-场协同的风电场主动尾流控制方法及装置

NºPublicación:  CN121024845A 28/11/2025
Solicitante: 
上海电力大学
CN_121024845_PA

Resumen de: CN121024845A

本发明涉及一种基于机‑场协同的风电场主动尾流控制方法及装置,方法由场控层与机控层协同运行;基于刻画尾流非对称特性以及风电场全场多尾流交互叠加的高斯旋度‑能量守恒尾流叠加模型计算风电场内各台风机的实时风速;在所述场控层控制中,以最大化风电场总输出功率为目标,获取不同风况组合下的最优偏航角度;在机控层控制中,考虑偏航角跟踪误差与偏航轴承的疲劳载荷,在连续时间范围内应用模型预测控制,根据场控层提供的最优偏航角度动态调整每台风机的偏航角。与现有技术相比,本发明在随机波动的风场环境下显著提升了发电量并降低了疲劳载荷,在大型海上风电场中具有显著的适用性。

漂浮式风电装备的正压环境控制系统及控制方法

NºPublicación:  CN121024841A 28/11/2025
Solicitante: 
中船海装风电有限公司
CN_121024841_PA

Resumen de: CN121024841A

本发明公开了一种漂浮式风电装备的正压环境控制系统及控制方法,其包括:控制器,设置在浮式平台顶部且进风口朝下的进风管,设置在浮式平台内且一端与进风管的出风口连接的结构风管,设置在漂浮式风力发电机组的塔筒内且进风口与结构风管的另一端连接、出风口与漂浮式风力发电机组的机舱连接的导风管,安装在结构风管中且与控制器电连接的耐腐蚀空气净化系统,以及安装在漂浮式风力发电机组内且与控制器电连接的冷却系统和通风换气系统;控制器控制耐腐蚀空气净化系统、冷却系统和通风换气系统,实现停机工况、维护工况和运行工况需求的正压环境。采用本发明能使漂浮式风电装备内部环境处于正压状态,提高其子系统的防腐能力、维护舒适性。

一种风电叶片的加热除冰单元及风电叶片

NºPublicación:  CN223608697U 28/11/2025
Solicitante: 
株洲时代新材料科技股份有限公司
CN_223608697_U

Resumen de: CN223608697U

本申请属于风电除冰技术领域,具体涉及一种风电叶片的加热除冰单元及风电叶片,加热除冰单元,包括至少两个电源接线柱和电加热层;至少两个电源接线柱用于分别连接电源正负极,电源接线柱与风电叶片相连并设置有紧固套;电加热层设置在紧固套与风电叶片之间,且电加热层与风电叶片贴合,电加热层与电源接线柱电性连接。电源接线柱可以在风电叶片加工时或风电叶片加工好后预先固定在风电叶片设定的位置上,电加热层贴合在风电叶片表面形成第一连接结构,通过紧固套与电源接线柱连接压紧电加热层形成第二连接结构,可以使电加热层与风电叶片连接得更加牢固可靠,更不易脱粘。通过在叶片本体的不同功率的加热除冰单元可以更加节能的除冰。

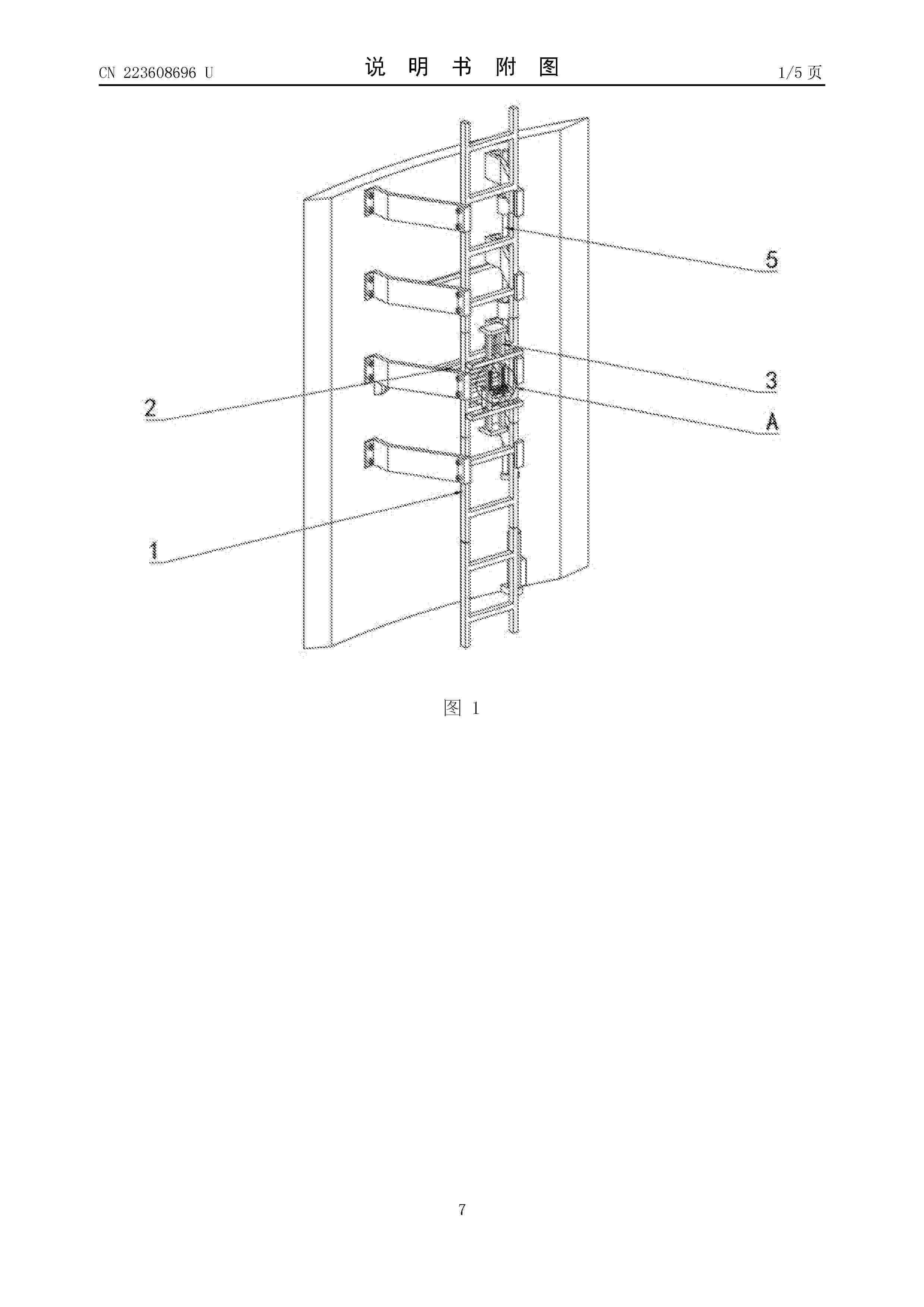
一种风电机组防护装置

NºPublicación:  CN223608696U 28/11/2025
Solicitante: 
中能建(北京)能源研究院有限公司
CN_223608696_U

Resumen de: CN223608696U

本实用新型公开了一种风电机组防护装置,涉及风电防护技术领域。本实用新型包括塔筒和爬梯,还包括保护托板,所述塔筒的内壁固定安装有固定座,固定座与爬梯呈固定连接,保护托板转动安装于塔筒的内壁处,且保护托板位于爬梯与塔筒内壁之间。本实用新型通过设置多组保护托板在塔筒的内壁上,将爬梯分隔成多段,依靠水平状态下的保护托板,对工作人员进行保护,使得摔落的高度减小,且保护托板能够作为额外的支撑平台,为工作人员提供在该处作业的站立点,通过对推送件进行按压,使得推送件的移动端推动限位件的转动端转动,限位件的转动端传导动力带动限位件的移动端水平滑动,使其脱离保护托板的顶面,快速解除对保护托板的限位。

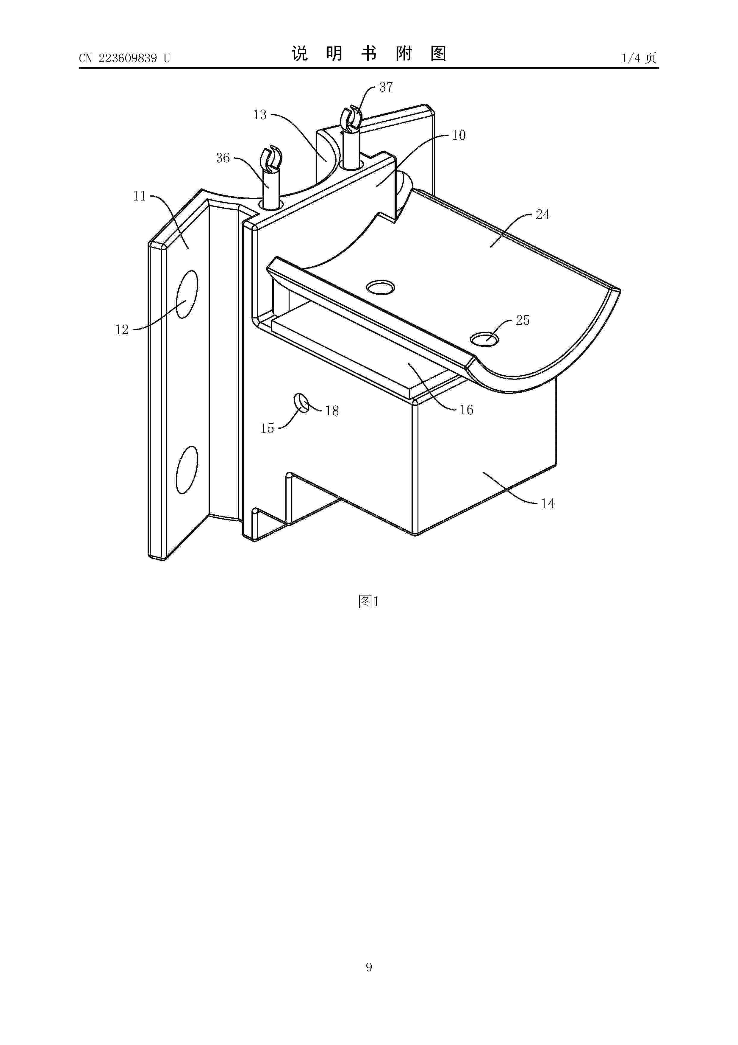
一种风电机组监控装置的卡接结构

NºPublicación:  CN223609839U 28/11/2025
Solicitante: 
杭州施厚能源科技有限公司
CN_223609839_U

Resumen de: CN223609839U

本实用新型公开了一种风电机组监控装置的卡接结构,属于风电设备监控技术领域。包括风电机组,风电机组固定在地面,还包括基座、连接片、卡接箱体、连接孔、连接板、弹性卡接环、加强块、监控支撑板和配合孔,基座竖直设置,连接片固定在基座的水平两侧,连接片上开设有若干个安装孔,连接片通过向安装孔内插入螺栓紧固件与风电机组固定连接,基座与风电机组之间存在空间形成线束通道,卡接箱体固定在基座远离风电机组的一侧。本实用新型当连接片与风电机组固定连接后,将连接板插入卡接腔内,使卡接孔与连接孔对齐形成连接通道,而后向连接通道内插入连接件,即可使加强块与卡接箱体卡接固定,安装便捷快速。

一种用于微风发电的风斗

NºPublicación:  CN223608688U 28/11/2025
Solicitante: 
扬州鑫科环保成套设备有限公司
CN_223608688_U

Resumen de: CN223608688U

本实用新型公开了一种用于微风发电的风斗。该用于微风发电的风斗包括挡风板,挡风板的上下两端设置有封板,两个封板之间设置有若干个肋板,肋板与封板相平行,所述挡风板包括弧形段,弧形段的一侧设置有折弯段,折弯段与封板垂直。本实用新型解决了现有技术强度较差,使用寿命短的问题。

风功率曲线异常检测方法、系统、设备、介质及程序产品

NºPublicación:  CN121030590A 28/11/2025
Solicitante: 
中国长江三峡集团有限公司
CN_121030590_PA

Resumen de: CN121030590A

本公开属于风电机组运行监测技术领域,提供了一种风功率曲线异常检测方法、系统、设备、介质及程序产品,所述方法包括:生成由风功率曲线图像和异常类别文本描述组成的图像‑文本对;基于图像‑文本对,分别提取全局功率分布特征、图拓扑特征和文本语义特征;通过参数化融合机制,将全局功率分布特征、图拓扑特征和文本语义特征整合为视觉‑结构综合特征和语义‑结构综合特征;采用对比学习方法优化视觉‑结构综合特征和语义‑结构综合特征在特征空间中的对齐关系,构建协同优化模型,实现异常检测。本公开提供的方法,通过多模态信息的互补性提升了检测精度,为风电机组智能异常检测提供了高效、可靠的技术支持,具有实际应用价值。

用于显示可再生能源资产健康风险信息的系统和方法

NºPublicación:  CN121039390A 28/11/2025
Solicitante: 
乌托巴斯洞察公司
CN_121039390_PA

Resumen de: WO2024130021A1

An example method comprises receiving sensor data from multiple wind turbines. A wind turbine includes a gearbox, a generator, and multiple gearbox and generator subcomponents. Health indicators may be determined for the gearbox and generator subcomponents with varying lead times. The health indicators correspond to alerts for current or predicted problems of the gearbox and generator subcomponents and have either low severity, medium severity, or high severity risk levels. A machine learning model trained on sensor data may generate the alerts. The multiple wind turbines may be displayed in a list that may be sortable by health indicators for the gearbox subcomponents and the generator subcomponents. The list may be filterable by alerts for the gearbox subcomponents or the generator subcomponents.

用于将至少一个叶片构建预制元件布置在叶片模具中以便进一步加工的方法、预制元件、用于制造预制元件的方法、用于叶片或轭架的弯曲工具、预制元件处理装置

NºPublicación:  CN121038947A 28/11/2025
Solicitante: 
西门子歌美飒可再生能源公司
CN_121038947_PA

Resumen de: WO2024223219A1

Method for arranging at least one blade building preform element (7) in a blade mold (8) for further processing, comprising the steps: a) placing the at least one preform element (7) on a mold surface of the blade mold (8), b) placing at least one further preform element (26) and/or at least one blade component and/or at least one manufacturing tool (10) on the mold surface and/or on the at least one preform element (7) by moving it in a moving direction along a moving path (12), and c) bending at least one part of at least one bending section (9) of the at least one preform element (7) such that the at least one bending section (9) at least partially overlaps the at least one further preform element (26) and/or the at least one blade component and/or at least one manufacturing tool (10) such that the at least one bending section (9) blocks a reverse movement of the at least one further preform element (26) and/or the at least one blade component and/or at least one manufacturing tool (10) in the reverse direction along the moving path (12).

一种用钢量减少的风机塔筒用钢板及其选择方法

NºPublicación:  CN121024854A 28/11/2025
Solicitante: 
东方电气风电股份有限公司
CN_121024854_PA

Resumen de: CN121024854A

本发明公开了一种用钢量减少的风机塔筒用钢板及其选择方法,涉及风力发电设备技术领域,所述风机塔筒由多块钢板组成,所述钢板为异形钢板,所述异形钢板包括多钢量部和少钢量部,所述多钢量部为保留受限点的用钢量,所述少钢量部为降低非受限点的用钢量。选择方法为根据受限点的塔筒屈曲系数和塔筒环焊缝疲劳损伤判断塔筒屈曲设计受限或塔筒环焊缝疲劳设计受限,进而选择异形钢板形状。本发明通过优化钢板形状,在保证塔筒主体强度及环焊缝疲劳强度的同时,能够减少风机塔筒用钢量,提高经济性。

基于太阳能与风能的高速公路储能供电分隔带装置

NºPublicación:  CN223607784U 28/11/2025
Solicitante: 
广西北投交通养护科技集团有限公司广西威航道路工程有限公司广西北投信创科技投资集团有限公司
CN_223607784_U

Resumen de: CN223607784U

本实用新型提供基于太阳能与风能的高速公路储能供电分隔带装置,属于高速公路设施技术领域,包括太阳能板、太阳能板固定调节结构、风能发电结构、弧形支撑结构、基座和电池充电装置,电池充电装置设置在基座内,若干个弧形支撑结构竖直设置在基座上,风能发电结构固定在基座上,并设置在弧形支撑结构的弧形口内,太阳能板固定调节结构设置在弧形支撑结构的顶部,太阳能板设置在太阳能板固定调节结构上,太阳能板和风能发电结构均与电池充电装置连接。本实用新型用于中央分隔带或者隧道出入口的路侧时,不仅可以提供电能,还可减少绿植的种植,避免高速公路的绿植修剪作业,一定程度上保护作业人员的安全,还可节省此项成本。

一种应用于风机叶片早期故障预警的声纹检测装置

NºPublicación:  CN223608693U 28/11/2025
Solicitante: 
南京土星信息科技有限公司
CN_223608693_U

Resumen de: CN223608693U

本实用新型公开了一种应用于风机叶片早期故障预警的声纹检测装置,包括装置主体,所述装置主体由主壳、保护罩、底壳、安装底座组成,所述主壳外表面安装有保护罩,所述保护罩底端内侧安装有底壳;小型麦克风能够捕捉到风机运行过程中的微弱声波,及时监测风机的状态,灵敏度高,声纹检测装置整体体积较小便于安装在风机的不同位置,适用于各类风机,内部声纹PCB与麦克风可实时监测,内部声纹PCB的数据内置信号处理模块根据实时采集的数据进行分析,能够快速识别风机的异常声音,提前预警故障。装置可与其他监测设备联动,形成综合监测系统,提升风机监测的全面性,相较于传统监测设备,成本较低,适合大规模应用,数据处理能力。

一种发电机组传动结构疲劳损伤在线监测装置

NºPublicación:  CN223608694U 28/11/2025
Solicitante: 
沈阳工程学院
CN_223608694_U

Resumen de: CN223608694U

本实用新型公开了一种发电机组传动结构疲劳损伤在线监测装置,包括传动轴,所述传动轴的底部设置有底座,所述传动轴的下方设置有第一弧形板,所述第一弧形板与底座固定连接,所述传动轴的上方设置有第二弧形板,所述第二弧形板与第一弧形板固定连接,所述第一弧形板和第二弧形板的外壁等距设置有凸块,位于传动轴上下的所述凸块的内部均开设有第一测量孔。本实用新型涉及风力发电机运行监测技术领域,解决了现有技术中,风力发电机传动结构的疲劳损伤往往依赖于定期的人工检查或离线分析,导致发电机组传动结构的疲劳损伤无法及时发现和处理,增加风力发电机的维护成本和运行风险,且耗费人力较大的问题。

一种单节塔架环段管片快速拼装装置

Nº publicación: CN223608692U 28/11/2025

Solicitante:

中国安能集团第一工程局有限公司安能集团第一工程局云南投资建设有限公司

CN_223608692_U

Resumen de: CN223608692U

本实用新型公开了一种单节塔架环段管片快速拼装装置,涉及风机基础施工技术领域,包括支撑组件、定位组件,支撑组件包括中心支撑盘、第一分装板、第二分装板、第一调节件、第二调节件、第三调节件;定位组件包括第一固定基座、第一定位基座、单头承载滑板、双头承载滑板,第一定位基座上设有第四调节件,第四调节件上设有定位板;第一固定基座与单头承载滑板之间设有推动件,通过第一承载滑板、第二承载滑板承载管片,第一承载滑板、第二承载滑板可带动管片在内径方向上、周长方向上移动,并结合第二调节件、第三调节件使得管片可在上下方向上移动,从而在拼装过程中能够预先定位管片位置并可多方向调整管片位置,便于管片的快速拼装。

traducir