Ministerio de Industria, Turismo y Comercio LogoMinisterior
 

Alerta

Resultados 634 resultados
LastUpdate Última actualización 01/04/2026 [08:11:00]
pdfxls
Solicitudes publicadas en los últimos 15 días / Applications published in the last 15 days
previousPage Resultados 450 a 475 de 634 nextPage  

TOWER FOR A WIND TURBINE, WIND TURBINE AND METHOD FOR MANUFACTURING A TOWER OF A WIND TURBINE

NºPublicación:  US20260078602A1 19/03/2026
Solicitante: 
SIEMENS GAMESA RENEWABLE ENERGY INNOVATION & TECH S L [ES]
Siemens Gamesa Renewable Energy Innovation & Technology, S.L
US_20260078602_A1

Resumen de: US20260078602A1

A tower for a wind turbine is provided, including at least one tubular tower section, the tower section including two or more ring segments forming together a ring element and a connection arrangement connecting two adjacent ones of the ring segments with each other, wherein the connection arrangement includes gap generation means for generating and maintaining a predefined gap between the two adjacent ring segments.By allowing the gap between the connected ring segments, arranging and connecting the ring segments is facilitated. In particular, a lower precision in positioning the ring segments next to each other is required. Further, the gap generation means allow re-adjustment of the relative position of the connected ring sections at any time during manufacture and/or operation.

WIND TURBINE BLADE

NºPublicación:  US20260078277A1 19/03/2026
Solicitante: 
JOTUN AS [NO]
JOTUN A/S
US_20260078277_A1

Resumen de: US20260078277A1

The invention relates to a wind turbine blade, preferably the leading edge of a wind turbine blade, coated with a coating composition comprising: (A) at least one polyaspartic selected from the group consisting of polyaspartic esters, polyetheraspartic esters and mixtures thereof; and (B) at least one aliphatic polyisocyanate prepolymer curing agent; wherein the component A further comprises a cycloaliphatic diamine aldimine.

THIRD PARTY ENERGY MANAGEMENT

NºPublicación:  US20260081465A1 19/03/2026
Solicitante: 
BUDDERFLY INC [US]
Budderfly, Inc
US_20260081465_A1

Resumen de: US20260081465A1

A system of modules which control and measure energy usage at a building which are in communication with a software program executing on a remote server controlled by a third party. The third party said usage via the software program which communicates with the modules to modify energy usage and demand for energy and is responsible or liable for energy usage charges the building where the third party does not actually use the energy.

CONCRETE SEGMENT OF A SECTION OF A WIND TURBINE TOWER, MOULD CONFIGURED TO CAST A CONCRETE SEGMENT

NºPublicación:  AU2024350084A1 19/03/2026
Solicitante: 
NORDEX ENERGY SPAIN S A U
NORDEX ENERGY SPAIN, S.A.U
AU_2024350084_PA

Resumen de: AU2024350084A1

The object of the invention is a concrete segment of a section of a wind turbine tower which minimizes the undesirable local effects in the connection area between adjacent concrete sections, a section comprising at least two concrete segments, a set comprising two adjacent sections and a joint disposed between the two adjacent sections, a tower comprising at least one set and a mould configured to cast a concrete segment.

OFFSHORE INSTALLATION SYSTEM AND METHOD FOR HANDLING A MONOPILE AND A MONOPILE TRANSPORTATION VESSEL

NºPublicación:  WO2026057134A1 19/03/2026
Solicitante: 
PHOENIX II AS [DK]
PHOENIX II A/S
WO_2026057134_A1

Resumen de: WO2026057134A1

An offshore installation system (100) for handling a monopile comprises a monopile transportation vessel (102) configured to transport the monopile in a horizontal position. A monopile handling mechanism (132) is mounted on the transportation vessel (102) and is configured to secure the monopile during transportation and move it to an inclined position. The system also includes an offshore installation vessel with a hull (122) and a plurality of moveable legs (126), wherein the hull is positioned out of the water when the moveable legs engage the seafloor. A push down stabilising mechanism (130) is mounted on the offshore installation vessel and is configured to apply a downward force on the monopile transportation vessel to increase its buoyancy force when positioned underneath the hull, stabilising the monopile transportation vessel and the inclined monopile with respect to the offshore installation vessel.

WIND POWER GENERATION METHOD FOR MARINE VESSEL NAVIGATION

NºPublicación:  WO2026056744A1 19/03/2026
Solicitante: 
JIUYANG XINGYUAN TECH WUXI CO LTD [CN]
WUXI BANGBAOLI ENTERPRISE MAN PARTNERSHIP LIMITED PARTNERSHIP [CN]
\u4E45\u626C\u661F\u6E90\u79D1\u6280\uFF08\u65E0\u9521\uFF09\u6709\u9650\u516C\u53F8,
\u65E0\u9521\u90A6\u5B9D\u4E3D\u4F01\u4E1A\u7BA1\u7406\u5408\u4F19\u4F01\u4E1A\uFF08\u6709\u9650\u5408\u4F19\uFF09
WO_2026056744_A1

Resumen de: WO2026056744A1

The present invention relates to a wind power generation method for marine vessel navigation. Under the action of wind energy, and by means of a rigid connection, a vertical-axis wind turbine drives a constant-pressure oil pump to output hydraulic energy. A rotation speed sensor monitors the rotation speed of a blade shaft of the vertical-axis wind turbine in real time; and a hydraulic distributor receives a feedback signal from the rotation speed sensor so as to automatically control each generator set. By means of the hydraulic distributor separately outputting hydraulic energy of rated pressure to each generator set, the present invention can acquire 380V and 220V alternating current and 48V direct current; and for each circuit, rated hydraulic energy is provided for a hydraulic-driven generator unit to generate power stably, and generated electrical energy is combined and fed into a vessel microgrid, thus fully utilizing wind energy and reaching a wind energy conversion rate of 60% or higher.

HYBRID VERTICAL AXIS WIND TURBINE

NºPublicación:  WO2026057921A1 19/03/2026
Solicitante: 
AMERTAT ENERGY OY [FI]
AMERTAT ENERGY OY
WO_2026057921_A1

Resumen de: WO2026057921A1

Disclosed is a Hybrid Vertical Axis Wind Turbine. The present invention pertains to the field of renewable energy technologies, specifically focusing on wind power generation. More particularly, the invention relates to hybrid vertical-axis wind turbines that incorporates an active blade adjustment mechanism to optimize performance based on varying wind conditions. The blade adjustment mechanism is controlled by a control arm (30), which is linked to the blades (20) with a specific linkage arrangement (40, A, D, 32, 34, C, B, E, 36, 38, F). The invention uses both lift and drag type forces that combine to produce a large torque, allowing operation at lower rotation speeds than prior art solutions.

REVERSIBLE WIND TURBINE

NºPublicación:  WO2026057899A1 19/03/2026
Solicitante: 
SURION WIND SYSTEMS S L [ES]
SURION WIND SYSTEMS, S.L
WO_2026057899_A1

Resumen de: WO2026057899A1

The present invention relates to a reversible wind turbine comprising: • a blade rotating system (4.1) that allows the blade (4) to be rotated at least 180°, • a nacelle rotating system (3.1) that allows the nacelle (3) to be rotated at least 180°, • reversible gears having teeth with symmetrical profiles, both flanks of the teeth being configured to function as leading edges and to distribute mechanical loads equally when the hub (10) rotates, the hub being moved in both directions by the blades (4), • a reversible power generation chain configured for an active phase shift in response to the change in rotation of the hub (10), and • control means (9) configured to adjust the configuration of the wind turbine components to a windward or leeward configuration depending on the information received, changing the direction of rotation of the hub (10) between the two configurations.

A SUBSEA POWER COLLECTION SYSTEM INCLUDING A DISTRIBUTED TRANSFORMER ARRANGEMENT

NºPublicación:  AU2024330912A1 19/03/2026
Solicitante: 
ABB SCHWEIZ AG
ABB SCHWEIZ AG
AU_2024330912_PA

Resumen de: AU2024330912A1

A power collection system (100) for collecting power from a plurality of offshore power generation units comprises a three-phase subgrid (120) and a subsea power substation (130). The subgrid has a plurality of power input points (121) towards the power generation units and a shared three-phase power output point (122). The power substation (130) is connected to the power output point, and its secondary side (132) is arranged to be connected to a power consumer (170). The power substation shall comprise three one-phase transformers (140), which are contained in respective housings (143), wherein each housing is arranged to rest on the seabed and to be liftable to the sea surface separately from the other housings. Each phase of the power output point is connected to a primary side (141) of a corresponding one of the one-phase transformers.

SHROUDED OR DUCTED HORIZONTAL-AXIS WIND TURBINE AND SET OF SHROUDED OR DUCTED HORIZONTAL-AXIS WIND TURBINES

NºPublicación:  WO2026057911A1 19/03/2026
Solicitante: 
UNIV ROVIRA I VIRGILI [ES]
UNIVERSITAT ROVIRA I VIRGILI
WO_2026057911_A1

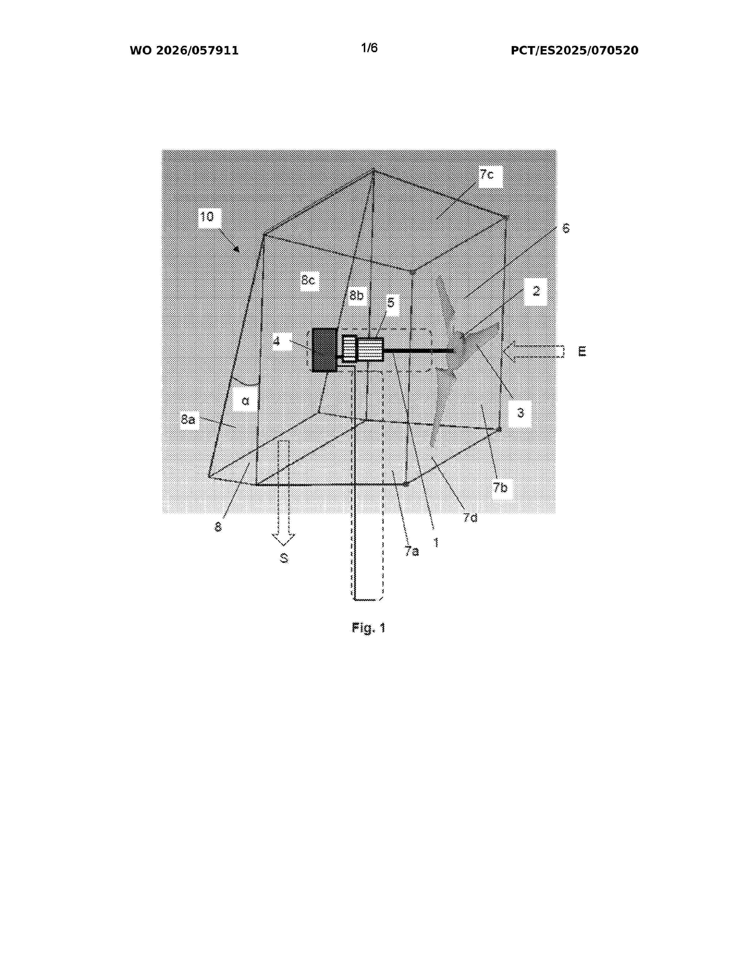
Resumen de: WO2026057911A1

The invention relates to a ducted wind turbine comprising: a horizontal rotary shaft (1); blades (3) connected by one end to a bushing (2); and an electric generator (4) connected to the horizontal shaft by a gear box (5). In addition, the blades (2) and the bushing (3) are shrouded by a conduit provided with: an inlet section, with an inlet opening (6) that allows the passage of an air current; a central section, with at least two lateral faces (7a, 7b), an upper face (7c) and a lower face (7d); and an outlet section, with an outlet opening (8) arranged at an angle of 0-75º, such that the angle of the direction of the air current in the outlet opening (8) is at 165-90º with respect to that of the air current in the inlet opening (6).

VENTILATED WIND TURBINE NACELLE

NºPublicación:  WO2026057898A1 19/03/2026
Solicitante: 
SURION WIND SYSTEMS S L [ES]
SURION WIND SYSTEMS, S.L
WO_2026057898_A1

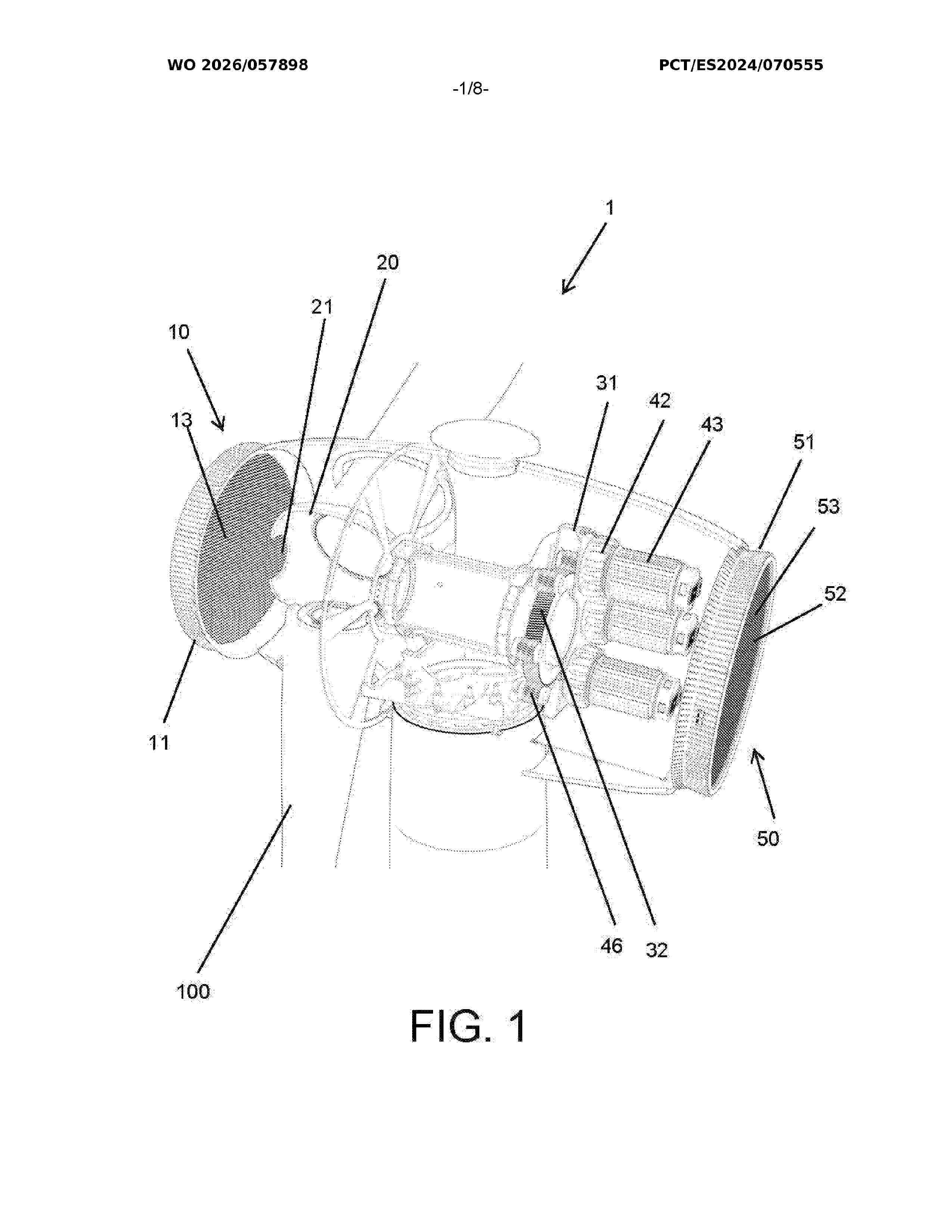
Resumen de: WO2026057898A1

The present invention relates to a wind turbine nacelle (1) comprising a power train for transmitting power to the power generation system, comprising an air inlet (10) at one longitudinal end of the nacelle (1) and an air outlet (50) at the opposite longitudinal end of the nacelle (1), the inlet and outlet being aligned with the incident wind. The nacelle comprises a hub (20) with an air inlet opening (21) for air to enter the hub and a rotation shaft (30) connected to said hub (20) for transmitting the rotation of the blades (100), the rotation shaft (30) being hollow and configured to allow air to pass through the hollow from the opening (21) in the hub (20) to the power train.

OSCILLATING POWER GENERATION DEVICE

NºPublicación:  WO2026056002A1 19/03/2026
Solicitante: 
SHIJIAZHUANG JIANMU FEED CO LTD [CN]
\u77F3\u5BB6\u5E84\u5065\u7267\u9972\u6599\u6709\u9650\u516C\u53F8
WO_2026056002_A1

Resumen de: WO2026056002A1

The present invention relates to the technical field of power generation devices, and relates in particular to an oscillating power generation device, comprising a platform, a power generation assembly, and a support assembly. The power generation assembly comprises a rotation assembly, a transmission assembly, and a generator. The platform of the present invention tilts and oscillates under the action of an external energy source, then the rotation assembly rotates, and the transmission assembly drives the generator to generate power. In the present invention, springs are arranged at the bottom of the platform, and an accommodating cavity for storing liquid is arranged within the platform. The arrangement of the springs and the accommodating cavity can further increase the instability of the platform, and increase the oscillation amplitude and the oscillation frequency of the platform during oscillation, thereby achieving the purpose of continuous, high-efficiency power generation. The present invention further comprises a mast and a sail for utilizing wind energy, thereby enabling comprehensive utilization of various external energy sources, multi-source energy harvesting, and efficient energy conversion. Thus, the applicability of the device is improved, allowing the device to be used not only on sea surfaces but also at sites having abundant wind energy and vibration energy.

FAULT DIAGNOSIS METHOD AND SYSTEM FOR BLADE ICING AND BLADE MASS IMBALANCE OF WIND TURBINES

NºPublicación:  WO2026056294A1 19/03/2026
Solicitante: 
CRRC ZHUZHOU INST CO LTD [CN]
\u4E2D\u8F66\u682A\u6D32\u7535\u529B\u673A\u8F66\u7814\u7A76\u6240\u6709\u9650\u516C\u53F8
WO_2026056294_A1

Resumen de: WO2026056294A1

Disclosed in the present invention are a fault diagnosis method and system for blade icing and blade mass imbalance of wind turbines. The method comprises the steps of: acquiring operation data and blade icing information of a plurality of wind turbines; labeling the operation data with an icing state label on the basis of the blade icing information, so as to obtain fault data; extracting fault features in the fault data, and ranking the fault features according to the degree of importance, so as to generate an optimal feature set; on the basis of a criterion of minimizing a squared error, selecting optimal features in the optimal feature set to generate an optimal decision tree; and performing classification on the basis of the optimal decision tree, so as to obtain a diagnosis test result including fault information. The present invention has the advantages of a high level of diagnostic accuracy, etc.

Hydrodynamisches oder hydrostatisches Gleitlager sowie Verfahren zur Einstellung eines Lagerspiels an einem hydrodynamischen oder hydrostatischen Gleitlager und Windkraftanlage

NºPublicación:  DE102024126544A1 19/03/2026
Solicitante: 
SCHAEFFLER TECHNOLOGIES AG [DE]
Schaeffler Technologies AG & Co. KG

Resumen de: DE102024126544A1

Die Erfindung betrifft ein hydrodynamisches oder hydrostatisches Gleitlager (1) zur drehbaren Lagerung einer Welle (3), insbesondere in einer Windkraftanlage (2), mit wenigstens einer Anbindungsstruktur (6), einem ersten Gleitelement (4) mit einer ersten Gleitfläche (5), welches an einer Anbindungsstruktur (6) radial und/oder axial versetzbar angeordnet ist, wobei an dem wenigstens ersten Gleitelement (4) ein erster Rampenabschnitt (7) und an der Anbindungsstruktur (6) ein korrespondierender zweiter Rampenabschnitt (8) so ausgebildet sind, dass ein axialer Versatz des Gleitelements (4) gegenüber der Anbindungsstruktur (6) einen radialen Versatz des Gleitelements (4) bewirkt und/oder umgekehrt, so dass das Lagerspiel des Gleitelements (4) gegenüber der Welle (3) einstellbar ist, und wobei das Gleitelement (4) auf der Gegenseite der ersten Gleitfläche (5) eine sphärische Fläche (45) aufweist und wobei das Verbindungselement (44) eine dazu korrespondiere sphärische Fläche (46) aufweist, um das Gleitelement (4) an dem Verbindungselement (44) beweglich anzuordnen.

FLOATING QUAY TO DEPLOY FLOATING UNITS

NºPublicación:  WO2026058040A1 19/03/2026
Solicitante: 
TECHNIP ENERGIES FRANCE [FR]
TECHNIP ENERGIES FRANCE
WO_2026058040_A1

Resumen de: WO2026058040A1

A floating quay includes a deck relocatable in a body of water adjacent a stationary quay to receive one or more floating units. The deck includes a gradual slope from an elevation of a surface of the stationary quay to a submerged position below a water level of a water surface of the body of water. The floating quay further includes an elevator system positionable to raise and lower at least a portion the deck to receive the one or more floating units from the stationary quay and to deploy the one or more floating units into the body of water using the gradual slope of the deck.

Vorrichtung zur Inspektion, Wartung und/oder Reparatur von Rotorblättern einer Windenergieanlage und deren Verwendung

NºPublicación:  DE102024126653A1 19/03/2026
Solicitante: 
WP SYSTEMS GMBH [DE]
WP Systems GmbH

Resumen de: DE102024126653A1

Die Erfindung betrifft eine Vorrichtung zur Inspektion, Wartung und/oder Reparatur von Rotorblättern einer Windenergieanlage, sowie deren, wobei die Windenergieanlage mindestens einen Turm umfasst, aufweisend mindestens die folgenden Komponenten:• einen Abdruckrahmen, aufweisend mindestens zwei aus Segmenten bestehende Längsträger und einen Querträger;• mindestens ein Fahrwerk, aufweisend mehrere Führungseinrichtungen und angeordnet am Querträger;• eine wettergeschützte Kammer, mindestens aufweisend mehrere mittels Gelenken miteinander verbundene Kammerelemente;• eine Stützstruktur, welche die wettergeschützte Kammer mit den Längsträgern verbindet und mindestens erste Führungselemente zur Führung der Längsträger und zweite Führungselemente zur Führung der Kammerelemente aufweist;• ein Aufhängungssystem, aufweisend mindestens zwei Aufhängungsarme, die mittels Gelenken mit der Stützstruktur verbunden sind und mindestens drei Aufhängungsvorrichtungen, wobei mindestens zwei Aufhängungsvorrichtungen an den Aufhängungsarmen und eine Aufhängungsvorrichtung am Querträger angeordnet sind.

FLOATING PLATFORM MOORING SYSTEM AND METHOD OF INSTALLATION

NºPublicación:  WO2026058038A1 19/03/2026
Solicitante: 
TECHNIP ENERGIES FRANCE [FR]
TECHNIP ENERGIES FRANCE
WO_2026058038_A1

Resumen de: WO2026058038A1

A tensioned leg floating platform mooring system and related methods may be used to secure the position of a floating platform. For example, the floating platform mooring system may include at least three fixed-length mooring lines coupled at different locations between a floating platform and one of one or more mooring piles. Additionally, the tensioned leg floating platform mooring system can include an adjustable-length mooring line coupled between the floating platform and one of the one or more mooring piles. The floating platform mooring system may further include a mooring line tension device coupled to the adjustable-length mooring line. The mooring line tension device may adjust a tension of the adjustable-length mooring line by adjusting a length of the adjustable-length mooring line in situ.

GAS FLOW PRESSURE DRIVEN ELECTRICAL GENERATOR

NºPublicación:  WO2026057990A1 19/03/2026
Solicitante: 
R&B IND LTD [GB]
R&B INDUSTRIAL LTD
WO_2026057990_A1

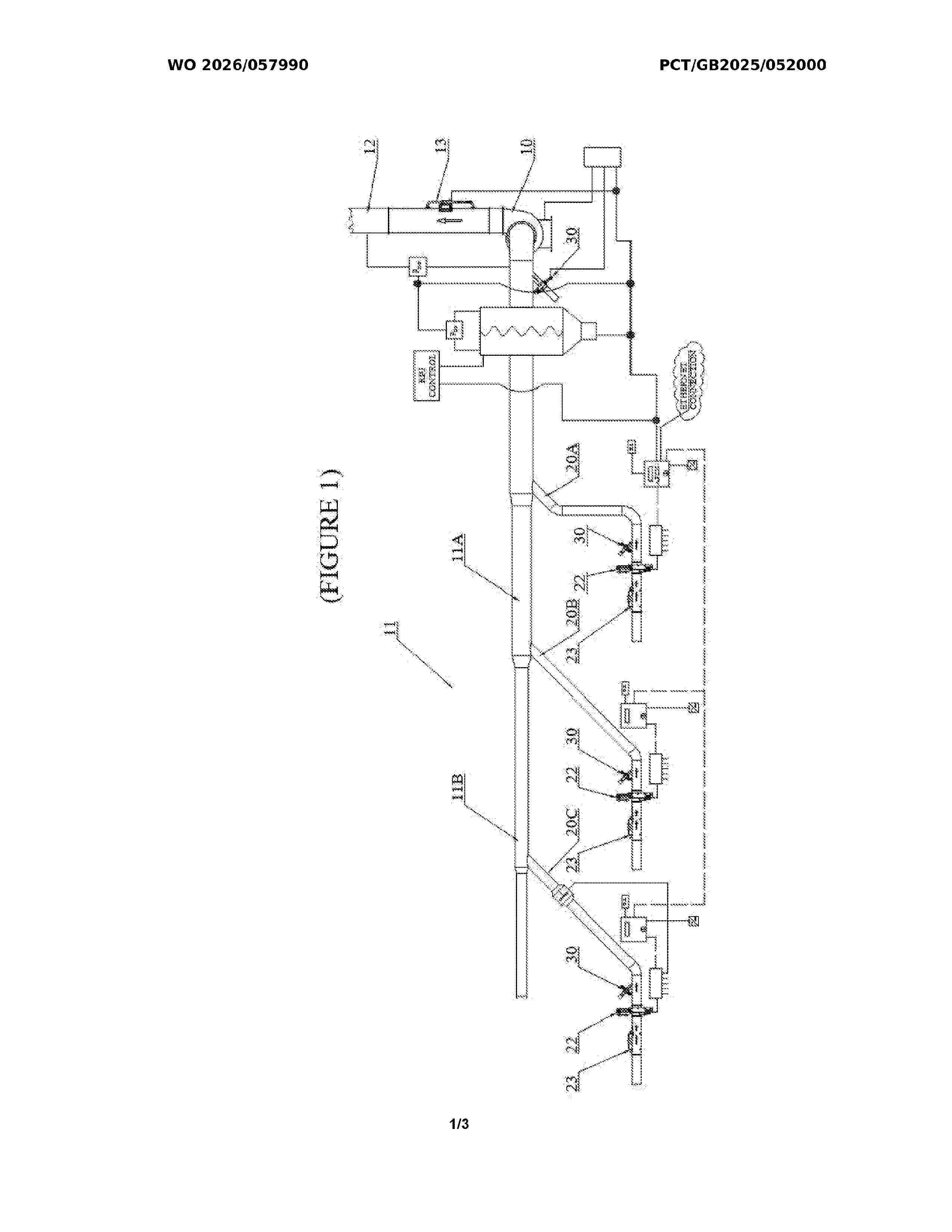
Resumen de: WO2026057990A1

The invention relates to gas flow pressure driven electrical generator 30 Generator 30 has a chamber 31 having an inlet 32 connectable to ambient air in a location, and means 35 to connect a chamber outlet 33 through a shut off valve 34 to a dust or fume extraction pipe 20. An airflow turbine36 is provided to generate electricity in the chamber when gas flows from the chamber inlet 32 to the chamber outlet 33.

WIND TURBINE CONTROL IN ACCORDANCE WITH A MAXIMUM ALLOWABLE NOISE LEVEL

NºPublicación:  WO2026057136A1 19/03/2026
Solicitante: 
VESTAS WIND SYSTEMS AS [DK]
VESTAS WIND SYSTEMS A/S
WO_2026057136_A1

Resumen de: WO2026057136A1

The invention relates to controlling a wind turbine in accordance with a maximum allowable noise level. The invention includes defining a noise function describing a relationship between wind turbine rotational speed and noise level generated by the wind turbine. The invention includes defining the maximum allowable noise level, and setting the noise level in the noise function to be equal to the defined maximum allowable noise level. The invention includes solving the noise function for the rotational speed, with the noise level equal to the defined maximum allowable noise level, to obtain a maximum allowable rotational speed of the wind turbine. The invention includes controlling the wind turbine to operate in accordance with the maximum allowable rotational speed.

Spülbarer Hohlraum zwischen zwei Windkraftgetriebemodulen

NºPublicación:  DE102024208954A1 19/03/2026
Solicitante: 
ZAHNRADFABRIK FRIEDRICHSHAFEN [DE]
ZF WIND POWER ANTWERPEN NV [BE]
ZF Friedrichshafen AG,
ZF Wind Power Antwerpen N.V

Resumen de: DE102024208954A1

Die Erfindung betrifft eine Windkraftgetriebeanordnung mit einem ersten Modul (114) und einem zweiten Modul (115), die jeweils mindestens ein drehbares Bauteil (101, 103) und mindestens einen Gehäuseteil (109, 111) und aufweisen; wobei die drehbaren Bauteile (101, 103) zusammenfügbar oder zusammengefügt sind; und wobei die Gehäuseteile (109, 111) zusammenfügbar oder zusammengefügt sind. Das erste Modul (114) und das zweite Modul (115) weisen jeweils mindestens eine Dichtung (107, 117) auf, die das jeweilige drehbare Bauteil (101, 103) und den jeweiligen Gehäuseteil (109, 111) gegeneinander abdichtet.

WIND TURBINE BLADE ROOT REPLACEMENT METHOD

NºPublicación:  US20260078744A1 19/03/2026
Solicitante: 
WATERHOUSE JAMES ROJAS [BR]
Waterhouse James Rojas
US_20260078744_A1

Resumen de: US20260078744A1

A method of replacing the root part from a wind turbine blade by attaching a new fabricated root part consisting of utilizing a new root part manufactured specifically for the blade to be repaired, which does not use the same materials as the original. To separate the original root segment from the original blade the cut line with single or double bevels is prepared, both in the new, pre-fabricated root assembly and in the region to be cut of the original blade. The next step is joining the new root assembly with the original blade using layers of structural fiber fabric, initially utilizing reconstruction layers and subsequently with internal and external reinforcement layers on the blade and, optionally, apply resin preferably through vacuum infusion and optionally through hand layup, to complete the joint between the new root and the original blade.

A SPAR FOR A WIND TURBINE BLADE

NºPublicación:  EP4709987A1 18/03/2026
Solicitante: 
STRUCTEAM LTD [GB]
Structeam Ltd
CN_121605242_PA

Resumen de: WO2024231668A1

A spar (5) for a wind turbine blade (1) having a shear web (10) with a spar cap (11) at each end. The spar caps (11) are formed of a stack of planks (12A,B) with offset termination faces (20). A connector (16) extends across a termination face (20) with a first surface of the connector being attached to two planks of the spar cap. The connector (16) may have an opposite face with a different geometry. This may be connected to transfer the load from the spar cap (5) to an adjacent component or between adjacent planks.

DEVICE AND METHOD FOR CONNECTING A WIND TURBINE TOWER TO A BASE

NºPublicación:  EP4709947A1 18/03/2026
Solicitante: 
BOUYGUES TRAVAUX PUBLICS [FR]
Bouygues Travaux Publics
WO_2024235849_PA

Resumen de: WO2024235849A1

The present invention relates to a metal ring for connecting a metal wind turbine tower to a concrete base, the ring being annular in shape, centred about an axis, and comprising: a first disc comprising a plurality of anchoring holes, each anchoring hole allowing the passage of a preloaded cable in order to anchor the first disc to the concrete base, and a second disc, spaced apart from the first disc, and comprising a plurality of clamping holes, each of the clamping holes being situated facing a corresponding anchoring hole in the first disc to allow a clamping tool to engage in the clamping hole, in order to apply tension to the preloaded cable passed through the anchoring hole that faces the clamping hole. The first and second discs are interconnected by a first generally annular metal spacer and form a single piece.

QUICK ADJUST ROOT PLATE ATTACHMENT FOR WIND TURBINE BLADE MOLDS

NºPublicación:  EP4711123A2 18/03/2026
Solicitante: 
TPI TECH INC [US]
TPI Technology, Inc
EP_4711123_PA

Resumen de: EP4711123A2

A method for axial adjustment of a root plate assembly system of a wind turbine blade is disclosed. The method comprises providing a root plate comprising at least one aperture, providing a threaded collar comprising a longitudinal extending channel and threads on an outer surface thereof; providing an infused plate comprising at least one aperture disposed therein; providing a fastener disposed at least partially within the longitudinal extending channel of the threaded collar and the root plate; providing an infused composite panel to form a root flange, positioning the root flange between the root plate and the infused plate, the root flange extending around the threaded collar and the fastener; adjusting the threaded collar to longitudinally move the fastener relative to the root flange; adjustably coupling the root plate and the infused plate via the fastener disposed through the longitudinal extending channel of the threaded collar disposed therebetween.

FLOATING QUAY TO DEPLOY FLOATING UNITS

Nº publicación: EP4711258A1 18/03/2026

Solicitante:

TECHNIP ENERGIES FRANCE [FR]
Technip Energies France

EP_4711258_PA

Resumen de: EP4711258A1

A floating quay includes a deck relocatable in a body of water adjacent a stationary quay to receive one or more floating units. The deck includes a gradual slope from an elevation of a surface of the stationary quay to a submerged position below a water level of a water surface of the body of water. The floating quay further includes an elevator system positionable to raise and lower at least a portion the deck to receive the one or more floating units from the stationary quay and to deploy the one or more floating units into the body of water using the gradual slope of the deck.

traducir