Ministerio de Industria, Turismo y Comercio LogoMinisterior
 

Alerta

Resultados 221 resultados
LastUpdate Última actualización 06/11/2025 [07:28:00]
pdfxls
Solicitudes publicadas en los últimos 30 días / Applications published in the last 30 days
previousPage Resultados 25 a 50 de 221 nextPage  

CURRENT-TRANSIENT-ENHANCED TRIBOELECTRIC NANOGENERATOR FOR COLLECTING WAVE ENERGY

NºPublicación:  WO2025222537A1 30/10/2025
Solicitante: 
JIANGSU UNIV OF SCIENCE AND TECHNOLOGY [CN]
\u6C5F\u82CF\u79D1\u6280\u5927\u5B66
WO_2025222537_PA

Resumen de: WO2025222537A1

Disclosed in the present invention is a current-transient-enhanced triboelectric nanogenerator for collecting wave energy, comprising a hollow insulating spherical shell. A plurality of rolling ball type triboelectric nanogenerator assemblies capable of generating current under the drive of waves in any direction are arranged at the middle lower part in a spherical shell cavity, and a triggering assembly is arranged at the upper part in the spherical shell cavity. The plurality of rolling ball type triboelectric nanogenerator assemblies are connected in parallel and then are connected to an electric load outside the spherical shell to form a power supply loop, and the triggering assembly is connected in series on the power supply loop and achieves instantaneous closing and opening of the loop under the drive of waves, thereby instantaneously enhancing the current generated by the plurality of rolling ball type triboelectric nanogenerator assemblies. The present invention solves the problems in the prior art of a failure of normal starting or working of devices caused by excessively low current generated by triboelectric nanogenerators and a failure of continuous current generation due to the impact of motion directions of low-frequency waves.

SUBMERGED MACHINE

NºPublicación:  WO2025224370A1 30/10/2025
Solicitante: 
SARMIENTO MEDINA JUAN [ES]
SARMIENTO MEDINA, Juan
WO_2025224370_PA

Resumen de: WO2025224370A1

The invention relates to a submerged machine, which can be coupled, for example, to the hull (0) of a watercraft, which comprises a body (1) in contact with the outside, below the waterline, connected to a rod (3) that can move through a chamber (4) to generate work, and wherein the body (1) comprises a second rod (5) connected to a damper (6) with a variable damping coefficient. The damper may be based on a magnetic hydraulic liquid.

UNDERWATER/ABOVE-WATER FLOATING WAVE POWER PLANT

NºPublicación:  WO2025226142A1 30/10/2025
Solicitante: 
SHOLANOV KORGANBAY SAGNAYEVICH [KZ]
ISSAYEVA ZHAZIRA RAKHATDINOVNA [KZ]
ALIMKHAN YERKEZHAN ARMANKYZY [KZ]
\u0428\u041E\u041B\u0410\u041D\u041E\u0412, \u041A\u043E\u0440\u0433\u0430\u043D\u0431\u0430\u0439 \u0421\u0430\u0433\u043D\u0430\u0435\u0432\u0438\u0447,
\u0418\u0421\u0410\u0415\u0412\u0410, \u0416\u0430\u0437\u0438\u0440\u0430 \u0420\u0430\u0445\u0430\u0442\u0434\u0438\u043D\u043E\u0432\u043D\u0430,
\u04D8\u041B\u0406\u041C\u0425\u0410\u041D, \u0415\u0440\u043A\u0435\u0436\u0430\u043D \u0410\u0440\u043C\u0430\u043D\u049B\u044B\u0437\u044B
WO_2025226142_A1

Resumen de: WO2025226142A1

The invention relates to the field of renewable energy engineering, and more particularly to the use of floating wave power plants in marine energy engineering. The invention can be used for supplying power to consumers located in coastal zones or on the surface of large bodies of water. What is proposed is a floating wave power plant designed so that a buoy can be submerged below the water in the event of rough seas to protect the structure against the destructive effects of wave dynamics and so that said buoy can resurface in the event of calm seas. In addition, to increase productivity, each of six actuators comprises a power take-off system with a rotary electric generator. The invention is intended to protect the structure against the destructive effects of waves and to increase the productivity of a floating wave power plant.

HYBRID TIDAL AND WAVE POWER GENERATION DEVICE

NºPublicación:  WO2025225812A1 30/10/2025
Solicitante: 
WHANG YONG AN [KR]
\uD669\uC6A9\uC548
WO_2025225812_PA

Resumen de: WO2025225812A1

According to the present invention, a plurality of buoy levers (104a, 104b) for wave power generation and front and rear variable wings (105a, 105b) for tidal power generation are interlocked in one direction, by an interlocking gear unit (103) that connects a driving shaft (102) of a power generator (101) and interlocking shafts (103a, 103b), to synergistically combine wave power and tidal power energy in the one power generator (101), thus making it possible to achieve hybrid power generation that maximizes efficiency at low cost. In particular, a mooring power generation facility is designed as a wave-resistant structure in which buoys and the power generator (101) are only partially exposed above the sea surface, and thus can safely generate power even in the presence of strong typhoons and rough waves.

SYSTEMS AND METHODS FOR GENERATING POWER FROM MARINE ENVIRONMENT THERMAL GRADIENTS

NºPublicación:  WO2025227033A1 30/10/2025
Solicitante: 
ALLIANCE FOR SUSTAINABLE ENERGY LLC [US]
ALLIANCE FOR SUSTAINABLE ENERGY, LLC
WO_2025227033_PA

Resumen de: WO2025227033A1

Systems and methods for generating electrical power from marine environment thermal gradients. The systems and methods include a buoyancy-driven submersible designed to harness ocean thermal gradients to produce electrical power using thermoelectric generators and phase change materials. The buoyancy-driven submersible is configured to travel vertically in reciprocating motion across a temperature gradient between different depths of a body of water along a cable.

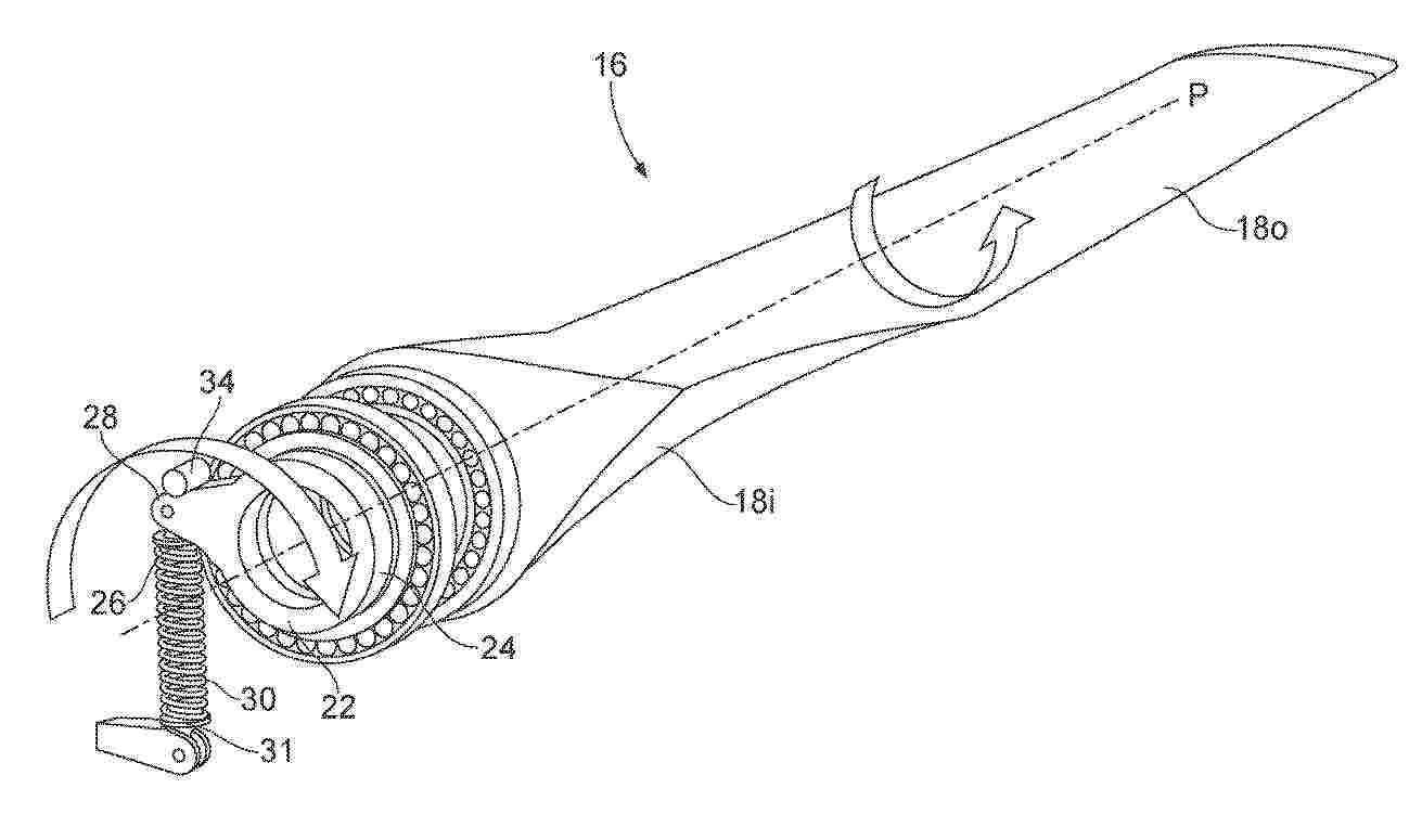
PASSIVE PITCH SYSTEM

NºPublicación:  EP4638940A1 29/10/2025
Solicitante: 
PROTEUS MARINE RENEWABLES LTD [GB]
Proteus Marine Renewables Limited
GB_2626669_PA

Resumen de: GB2626669A

A passive pitch system for a tidal turbine with a rated power comprises a rotor with a hub having a blade receiving portion for engagement with a blade 16. The blade 16 has an elongate blade body with leading and trailing edges, and radially inner 18i and outer 18o portions and a blade root portion 24 configured for rotatable engagement with the rotor blade receiving portion of the hub about a pitch axis P. A lever 28 is fixed to the blade root portion, and has a portion for engagement with a resilient biasing means 26, and a portion for engagement with a stop member 34. The resilient biasing means 26 has a preload selected in dependence upon the rated power of the tidal turbine so that the lever 28 is biased into engagement with the stop member 34 when the hydrodynamic moment acting on the blade about the pitch axis P is less than the resilient bias, and blade is rotatable about the pitch axis to move the lever in a direction away from the stop member when the hydrodynamic exceeds the moment applied by the resilient biasing means.

一种多频率共振的点吸收式海浪能转换装置及控制方法

NºPublicación:  CN120845234A 28/10/2025
Solicitante: 
昆明理工大学
CN_120845234_PA

Resumen de: CN120845234A

本发明公开了一种多频率共振的点吸收式海浪能转换装置及控制方法,装置包括固定基座、海浪能吸收机构、能量转换机构、变刚度机构和发电机构;所述固定基座内安装有能量转换机构、变刚度机构和发电机构,且所述变刚度机构、发电机构与能量转换机构连接;所述海浪能吸收机构一端穿设在所述固定基座内且所述海浪能吸收机构穿设在所述固定基座内的端部与所述能量转换机构连接。本发明的点吸收式海浪能转换装置提供了一种新的提升能量捕获效率的思路,该装置利用变刚度机构调整弹簧输出的弹簧力,弹簧力的实时调整使整个海浪能捕获装置的刚度发生变化,以此让浮子能够在一定频带内与海浪主导频率相匹配发生共振,进而提升海浪能的捕获效率。

一种集成风能-太阳能-雨水势能-波浪能的多能协同发电平台

NºPublicación:  CN120845252A 28/10/2025
Solicitante: 
江苏大学中船澄西船舶修造有限公司
CN_120845252_PA

Resumen de: CN120845252A

本发明提供了一种集成风能‑太阳能‑雨水势能‑波浪能的多能协同发电平台,属于清洁能源发电技术领域。该平台包括风力发电组件、太阳能光伏发电组件、多级势能发电组件、波浪能发电组件、储电系统、塔架及机舱;塔架为管柱型,顶部设机舱,底部固定于海床或浮动于海面,用于连接各发电组件;风力发电组件位于塔架上端,太阳能光伏发电组件位于塔架外部,多级势能发电组件含内置于塔架的多级势能发电装置及与机舱合一的雨水收集装置,所述波浪能发电组件用于利用波浪的波动产生电能;储电系统位于塔架内部储存电能。本发明通过整合四类能源实现多维度时空互补,提升供电连续性,复用支撑结构提高空间利用率并降低成本。

混合发电系统

NºPublicación:  CN120845235A 28/10/2025
Solicitante: 
国家海洋技术中心
CN_120845235_PA

Resumen de: CN120845235A

本发明公开了一种混合发电系统,涉及发电装置技术领域,包括半潜式平台、风力发电机组和气动式波浪能装置;所述风力发电机组设置于半潜式平台顶部,用于将风能转换为电能;所述气动式波浪能装置搭载于半潜式平台上;所述气动式波浪能装置用于将波浪能转换为电能,且能吸收波浪能以提升半潜式平台稳定性。本发明提供的混合发电系统,既能提高能源利用效率,又能增强平台稳定性。

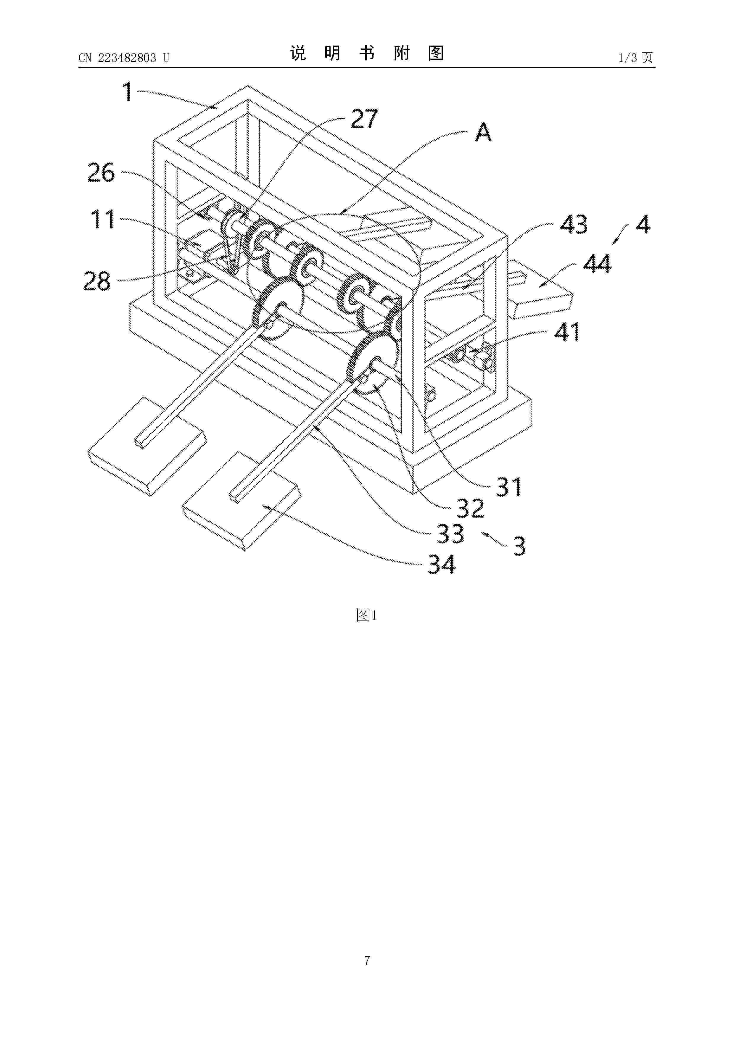
一种海浪发电装置

NºPublicación:  CN223482803U 28/10/2025
Solicitante: 
李建国
CN_223482803_U

Resumen de: CN223482803U

本实用新型属于海浪发电技术领域,具体涉及一种海浪发电装置,包括:机架,所述机架上固定有发电机;传动件,所述传动件固定在所述机架上并传动连接所述发电机;浮力驱动件,固定在所述机架的一侧上并传动连接所述传动件;重力驱动件,固定在所述机架的另一侧并传动连接所述传动件;所述浮力驱动件和重力驱动件通过所述传动件驱动所述发电机单向转动。本实用新型设置在机架两侧的浮力驱动件和重力驱动件均可驱动传动件转动,且相互之间不会发生干涉,进而带动发电机发电,可以提高发电效果。另外,还有利于机架保持平衡。

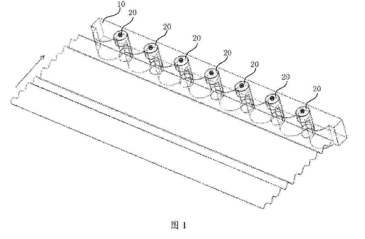
一种波浪能采集装置

NºPublicación:  CN223488114U 28/10/2025
Solicitante: 
河北工业大学河南达运起航科技有限公司
CN_223488114_U

Resumen de: CN223488114U

本实用新型公开一种波浪能采集装置,涉及波浪能利用技术领域,第一摩擦区固定于壳体内,第二摩擦区可动地设于壳体内,第二摩擦区朝向第一摩擦区设置,第一摩擦区位于第二摩擦区的运动轨迹上,第一摩擦区和第二摩擦区能摩擦起电,第一摩擦区且/或第二摩擦区连接有储能件;闭合电路与储能件相连,穿过闭合电路的磁通量能在波浪作用下发生变化;第二摩擦区能在波浪的作用下朝多个方向运动,这使得本实用新型几乎可实现360°全方位的波浪能收集,提高了本实用新型中波浪能采集装置捕获波浪能的能力;通过第一采集机构和第二采集机构实现了摩擦‑电磁复合的发电机制,提高了波浪能采集装置的采集电能功率。

上下運動を回転運動に変換する装置。

NºPublicación:  JP2025162486A 27/10/2025
Solicitante: 
白川正明
JP_2025162486_PA

Resumen de: JP2025162486A

【課題】 上下する波浪から如何にしてエネルギーを取り出し発電機軸(3)に伝達し回転発電させるか。【解決手段】 上下運動を回転運動に変換する装置を使う。ゼンマイバネ(1)が船体の降下により下向きに引っ張られ(図2a参照)、ゼンマイバネ(1)と一体化している一方向クラッチ(2)が一緒に回転し、一方向クラッチ(2)の軸穴を通過している発電機軸(3)も同方向に回転し発電する。船舶が上昇するとき(図2b参照)本来引き戻されるべきゼンマイバネ(1)は反転支柱により逆向きに引っ張られる。 そして船体が降下した時と同じように船上の機器類は作動し発電させる。【選択図】図2

Máquina sumergida

NºPublicación:  ES3040011A1 27/10/2025
Solicitante: 
SARMIENTO MEDINA JUAN [ES]
Sarmiento Medina, Juan

Installation de production d’énergie en mer

NºPublicación:  FR3161459A1 24/10/2025
Solicitante: 
TOTALENERGIES ONETECH [FR]
TOTALENERGIES ONETECH
FR_3161459_PA

Resumen de: FR3161459A1

Installation de production d’énergie en mer La présente divulgation concerne une installation de production d’énergie en mer (100) comprenant une plateforme flottante (110), un système de production d’énergie monté sur la plateforme et comprenant préférentiellement au moins une éolienne (120), une amarre (130, 140) reliée à la plateforme, et un système de génération et/ou stockage d’énergie (G2, G1), par exemple électrique, à partir d’une tension mécanique subie par l’amarre. Cela constitue une installation de production d’énergie en mer améliorée. Fig 1

一种摆式波浪能收集抗倾覆船

NºPublicación:  CN120828916A 24/10/2025
Solicitante: 
江苏科技大学
CN_120828916_PA

Resumen de: CN120828916A

本发明公开了一种体摆式波浪能收集抗倾覆船,包括船舶本体,船舶本体的侧面设置漂浮机构和波浪能发电机构;波浪能发电机构包括曲柄滑块机构、导轨、万向接头、连接杆、发电机,导轨设置在漂浮机构上,导轨与曲柄滑块机构滑动连接,连接杆一端通过万向接头与曲柄滑块机构转动连接,另一端与发电机的转轴转动连接。漂浮机构包括半潜式叶轮浮筒、叶轮、摆锤,半潜式叶轮浮筒内设置叶轮和摆锤。本发明通过半潜式叶轮浮筒获能从而带动曲柄滑块转动引起连接杆转动发电机转轴发电且浮筒自身的浮力进一步增加了船舶行进过程中的稳定性能和抗倾覆能力,可以相对高效地实现海中获能,利用波浪作用浮筒的运动收集波浪能发电,为船体的照明设备提供电能。

一种结合滨水空间景观设计的光储直柔系统

NºPublicación:  CN223472038U 24/10/2025
Solicitante: 
长江勘测规划设计研究有限责任公司
CN_223472038_U

Resumen de: CN223472038U

本实用新型涉及新能源光伏技术领域,尤其涉及一种结合滨水空间景观设计的光储直柔系统,包括控制系统,分别与控制系统电连接的发电模块、负荷模块、储能模块,所述发电模块包括并联连接的多种发电装置,发电模块发出的电量一部分供负荷模块使用,另一部分存储在储能模块中;当发电模块电量不足时,储能模块用于给负荷模块供电。本实用新型采用滨水公园驿站屋面光伏板、滨水区域的集成式小型波浪能发电装置、直流双向充电桩、公园跑道采用发电地板等多种形式来发电,以储存更多的绿色能源。不仅为建筑及景观用电设备提供电力,降低了对传统能源的依赖,还能够结合滨水空间景观设计,提升公园的美观度和游客的体验感,实现美观与实用的结合。

一种海上风电一体化蓝碳生态系统

NºPublicación:  CN223463458U 24/10/2025
Solicitante: 
中国电建集团华东勘测设计研究院有限公司浙江华东工程咨询有限公司
CN_223463458_U

Resumen de: CN223463458U

本申请涉及一种海上风电一体化蓝碳生态系统,包括蓝碳生态单元、摩擦电水涡轮装置和海上风电机组,蓝碳生态单元包括LED灯带和海藻,LED灯带环绕设置于海藻的外侧;摩擦电水涡轮装置包括转动件、上底盘和摩擦电小球,上底盘的壁面设置有由摩擦电材料制成的第一摩擦面,摩擦电小球位于上底盘内,且摩擦电小球的表面设置有与第一摩擦面极性相反的摩擦电材料,转动件与上底盘活动连接,且转动件能够带动摩擦电小球在上底盘内滚动;摩擦电水涡轮装置与LED灯带电性连接,摩擦电水涡轮装置能够利用摩擦纳米发电向LED灯带供电;海上风电机组与LED灯带电连接,海上风电机组能够利用风力发电向LED灯带供电。

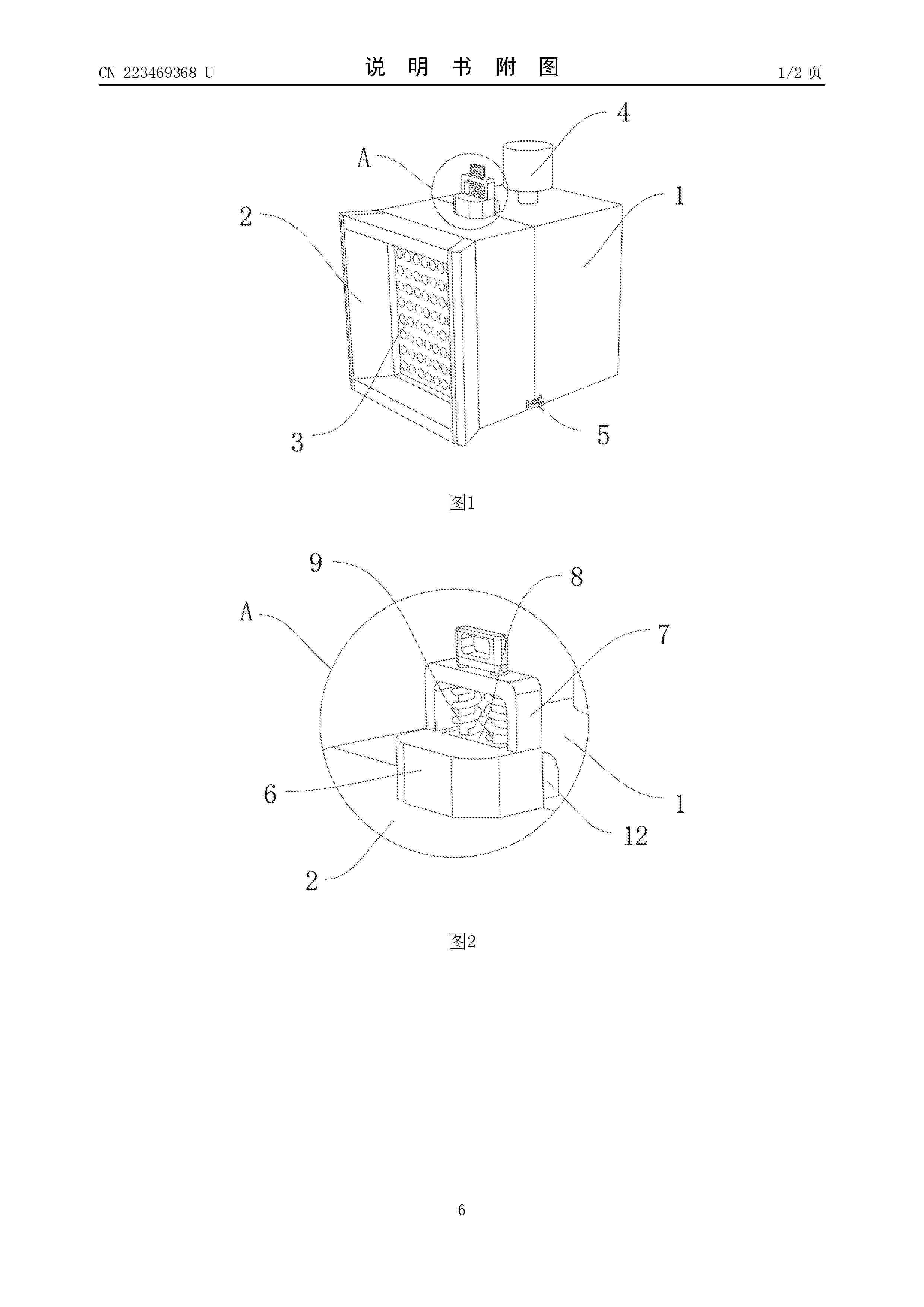
一种具有过滤效果的波浪能发电装置

NºPublicación:  CN223469368U 24/10/2025
Solicitante: 
深能源(深圳)创新技术有限公司
CN_223469368_U

Resumen de: CN223469368U

本实用新型涉及波浪能发电装置技术领域,公开了一种具有过滤效果的波浪能发电装置,包括外壳,所述外壳的内壁中端转动连接有旋转辊,所述外壳的前侧通过定位组件连接有过滤室,所述外壳和过滤室的底侧通过插接组件相连,所述外壳和过滤室的顶侧通过锁死组件相连,以用于外壳和过滤室之间的安装,所述旋转辊的外壁固定连接有多个安装板,所述安装板的内壁设置有扇叶,所述扇叶上下两端均通过限位组件和扇叶相连,以用于安装板和扇叶之间的安装。本实用新型中,通过定位杆、锁轴、固定轴以及工字型插轴便于提高外壳与过滤室之间的安装效率同时通过按压限位轴压缩弹簧二,进行扇叶的拆卸与更换,避免其对波浪发电效果产生不良影响。

MULTIPURPOSE WAVE ENERGY CONVERTER

NºPublicación:  WO2025219751A1 23/10/2025
Solicitante: 
VULJAJ SOKOLJ [ME]
VULJAJ, Sokolj
WO_2025219751_PA

Resumen de: WO2025219751A1

The multipurpose wave energy converter with accumulative spring enables the conversion of sea and ocean wave energy into stable rotational energy with minimal losses. This converter is provided with multiple surge protections. The accumulator spring of the invention is a torsion or helical spring mounted in a mechanical interface that rotates constantly in one direction only and serves as a rotary accumulator to convert stepped rotations to uniform rotations without energy loss. This invention represents a multi-purpose wave energy converter to stable rotational energy constructed in three different models: - stationary power plant for fixed areas on ocean shores, - floating power plant anchored near or far from the coast, - converter of wave energy into rotational energy for the propulsion of cargo or recreational vessels that do not move at high speed.

PLANETARY PROTECTION BUOY

NºPublicación:  WO2025221472A1 23/10/2025
Solicitante: 
LONE GULL HOLDINGS LTD [US]
LONE GULL HOLDINGS, LTD
WO_2025221472_PA

Resumen de: WO2025221472A1

An embodiment may include a system with a pressure vessel, and a heating jacket coupled to the pressure vessel. In an embodiment, the heating jacket comprises a heating element. In an embodiment, the system may also include a steam injector with a first inlet, a second inlet, and an outlet. In an embodiment, the system may further include a first fluidic path between the pressure vessel and the first inlet of the steam injector, and a second fluidic path between the pressure vessel and the outlet of the steam injector. In an embodiment, the system may further include a nozzle assembly, where the nozzle assembly includes a nozzle configured to eject a fluid from the system, and a third fluidic path between the pressure vessel and the nozzle assembly where the third fluidic path is configured to provide the fluid to the nozzle assembly.

HARVESTING ENERGY FROM WAVE MOTION

NºPublicación:  WO2025219996A1 23/10/2025
Solicitante: 
SWE [IL]
SWE
WO_2025219996_PA

Resumen de: WO2025219996A1

An energy harvesting system for converting wave motion into mechanical energy, the system including a plurality of floating modules configured to float on a body of water, at least one side of a first floating module includes a unidirectional engagement mechanism configured to interact with a rotational mechanism included in a side of a second, neighboring floating module to produce rotational motion of a pulley in the second floating module, wherein the unidirectional engagement mechanism of the first floating module and the rotational mechanism of the second floating module are arranged so that vertical relative motion between the first floating module and the second floating module causes rotation of the rotational mechanism of the second floating module, thereby converting the vertical motion into mechanical energy of rotation. Related apparatus and methods are also described.

WAVE ENERGY CONVERSION DEVICE AND EVALUATION METHOD THEREFOR

NºPublicación:  WO2025218488A1 23/10/2025
Solicitante: 
TSINGHUA UNIV [CN]
\u6E05\u534E\u5927\u5B66
WO_2025218488_PA

Resumen de: WO2025218488A1

A wave energy conversion device, comprising a fluid flow channel which is configured to convert wave energy transmitted to the fluid flow channel into pneumatic energy; an energy conversion system which is connected to the fluid flow channel, is configured to convert the pneumatic energy converted by the fluid flow channel into electric energy, and comprises an air turbine, wherein the air turbine comprises a flow channel wall, two groups of flow guide blades and a group of rotor blades; and a pressure relief system which is connected to the fluid flow channel, is configured to control the pressure of an air chamber in the fluid flow channel, and comprises a valve disk, a valve seat, an elastic unit, a control rod and a connection tube, the control rod being fixedly connected to the valve seat, the control rod being movably connected to the valve disk and the control assembly, and the control assembly being deployed on a surface of the connection tube and configured to dynamically adjust, on the basis of sea conditions of the wave energy conversion device, an initial length of the elastic unit by means of the control rod so as to control opening threshold values corresponding to the valve disk.

WAVE ENERGY TO ELECTRICAL ENERGY CONVERTER

NºPublicación:  AU2024253203A1 23/10/2025
Solicitante: 
UNIV DEL PAIS VASCO /EUSKAL HERRIKO UNIBERTSITATEA
UNIVERSIDAD DEL PA\u00CDS VASCO /EUSKAL HERRIKO UNIBERTSITATEA
AU_2024253203_PA

Resumen de: AU2024253203A1

The present invention relates to a wave energy to electrical energy converter, the wave energy converter comprising a hull (1), a movable mass (3), a guide (4) for displacement of the mass (3) and an electric power generator (10); the electric power generator (10) comprising a rotor, the mass (3) being coupled to the rotor by means of a mechanism configured to convert displacement of the mass (3) into rotation of the rotor; the mass (3), the guide (4), the generator (10) and the mechanism being in the hull (1); the guide having a port to starboard direction; the converter comprising a controller configured to adjust a rotor torque on the basis of the instantaneous position of the mass (3), instantaneous velocity of the mass (3) and the rolling of the hull (1).

UNDERWATER CURRENT TURBINE USING AUTOMATIC BLADE PITCH POSITIONING

NºPublicación:  US2025327436A1 23/10/2025
Solicitante: 
JAYARAM NARSIMHAN [AU]
JAYARAM Narsimhan
US_2025327436_PA

Resumen de: US2025327436A1

This present invention relates to a method of recovering the forward momentum of an underwater or surface current, wind velocity and waves referred to a renewable energy and converting their kinetic energy to electrical energy or potential energy by a pumping system by the use of a cross flow vertical axis turbine with automatic turbine blade pitch positioning. Energy in the form of coastal surf waves is also a source of energy that can be recovered in useful form.

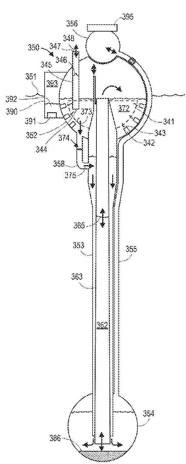
RECIRCULATING INERTIAL HYDRODYNAMIC PUMP AND WAVE ENGINE

Nº publicación: US2025327434A1 23/10/2025

Solicitante:

LONE GULL HOLDINGS LTD [US]
Lone Gull Holdings, Ltd

US_2025327434_PA

Resumen de: US2025327434A1

Embodiments include a buoyant wave energy converter. In an embodiment, the wave energy converter comprises an upper chamber having a first fluid reservoir and a first gas pocket, and a lower chamber having a second fluid reservoir and a second gas pocket. In an embodiment, an injection tube is between and fluidly coupled to the upper chamber and the lower chamber, where the injection tube is to impel a fluid from the second fluid reservoir into the first fluid reservoir when the upper chamber, the lower chamber and the injection tube oscillate about a waterline with the upper chamber adjacent to the waterline and the lower chamber submerged below the waterline and vertically beneath the upper chamber. An effluent tube is fluidly coupled to the upper chamber and the lower chamber, where the effluent tube is to return the fluid from the first fluid reservoir to the injection tube.

traducir