Ministerio de Industria, Turismo y Comercio LogoMinisterior
 

Alerta

Resultados 225 resultados
LastUpdate Última actualización 29/12/2025 [07:15:00]
pdfxls
Solicitudes publicadas en los últimos 30 días / Applications published in the last 30 days
previousPage Resultados 200 a 225 de 225  

抗盐雾腐蚀的港口钢混组合防波堤结构及施工方法

NºPublicación:  CN120889231A 04/11/2025
Solicitante: 
江苏筑港建设集团有限公司
CN_120889231_A

Resumen de: CN120889231A

本发明公开抗盐雾腐蚀的港口钢混组合防波堤结构及施工方法,涉及防波堤技术领域。该抗盐雾腐蚀的港口钢混组合防波堤结构包括斜坡基础结构、钢混组合直立墙、电化学保护单元、防波区、第一消浪发电单元和第二消浪发电单元,内部预埋有第一耐候钢骨架,钢混组合直立墙内部预埋有第二耐候钢骨架。该抗盐雾腐蚀的港口钢混组合防波堤结构将耐候钢‑混凝土组合结构、实时阴极保护监控与波浪能发电集成于一体,在提高防波堤抗盐雾腐蚀寿命的同时,还通过防波区和两种消浪发电单元结合,多形式组合降低波浪强度,把波浪能转化为电力。

SELF-CONTAINED HIGH-ENERGY-DENSITY COMPUTING SYSTEMS, AND METHODS OF USE

NºPublicación:  MX2025011803A 03/11/2025
Solicitante: 
OCEANBIT INC [US]
OCEANBIT INC
AU_2024252001_PA

Resumen de: MX2025011803A

Self-contained blockchain mining and high-energy-density computing systems have a low temperature heat engine (LTHE) with a working fluid loop extended between a heat source and a heat sink; a biockchain mining device connected to receive electricity generated from the LTHE; a heat exchanger on the working fluid loop; and a coolant loop extended between the blockchain mining device and the working fluid loop (heat exchanger). A self-contained high-energy-density computing data center (HEDC) system is disclosed comprising: a low temperature heat engine (LTHE) with a working fluid loop extended between a heat source and a heat sink; an HEDC device connected to receive electricity generated from the LTHE; a heat exchanger on the working fluid loop; and a coolant loop extended between the HEDC device and the working fluid loop (heat exchanger). A method is also disclosed comprising: generating electricity using a low temperature heat engine (LTHE); operating an HEDC device, using electricity generated by the LTHE, to carry put computer processes; and cooling the HEDC device by heat exchange with working fluid of the LTHE.

Harvesting energy from wave motion

NºPublicación:  IL312162A 01/11/2025
Solicitante: 
SWE [IL]
SWE
IL_312162_A

Resumen de: WO2025219996A1

An energy harvesting system for converting wave motion into mechanical energy, the system including a plurality of floating modules configured to float on a body of water, at least one side of a first floating module includes a unidirectional engagement mechanism configured to interact with a rotational mechanism included in a side of a second, neighboring floating module to produce rotational motion of a pulley in the second floating module, wherein the unidirectional engagement mechanism of the first floating module and the rotational mechanism of the second floating module are arranged so that vertical relative motion between the first floating module and the second floating module causes rotation of the rotational mechanism of the second floating module, thereby converting the vertical motion into mechanical energy of rotation. Related apparatus and methods are also described.

一种自供能海洋垂直生态养殖系统及方法

NºPublicación:  CN120858906A 31/10/2025
Solicitante: 
东莞理工学院
CN_120858906_PA

Resumen de: CN120858906A

本发明提供了一种自供能海洋垂直生态养殖系统,包括圆形的养殖仓,养殖仓具有多个沿竖直方向设置的多个养殖层,养殖仓具有多个支撑杆,多个支撑杆相对于养殖仓等角度的设置,在每个养殖层的底部设置有圆弧形的连接杆,所述养殖系统还包括设置于每个支撑杆顶端的发电装置,发电装置包括固定在养殖层的FRP型材上的发电机和设置于发电机的转轴上的叶轮,叶轮位于所述支撑杆内,每个支撑杆的在靠近下部的位置处设置有多个第一通孔以便于海水能够进入到支撑杆内,同时在最上方的一组连接杆的至少部分上设置有第二通孔;当支撑杆内的海水高度发生变化时,支撑杆上端的气体的流动能够带动叶轮的转动进而实现发电。

Pneumatic energy storage wave power generation apparatus

NºPublicación:  KR20250155862A 31/10/2025
Solicitante: 
김기선김정숙

Resumen de: KR20250155862A

본 발명은 공압에너지 저장 파력 발전장치에 관한 것으로서, 더욱 상세하게는 수면에 떠있는 부유탱크가 파도의 상하 운동에 의해 승강되는 압축실린더를 작동시킬 수 있고, 상기 압축실린더에 의해 압축되는 공기가 고압의 압축 공기로 변환되어 저장할 수 있는 공압에너지 저장 파력 발전장치에 관한 것이다. 본 발명의 일 실시 예에 따른 공압에너지 저장 파력 발전장치는 파도의 상하운동 에너지를 이용해서 동력을 얻는 파력 발전장치에 있어서, 메인프레임과, 상기 메인프레임 높이방향으로 부유롤러를 따라 승강(昇降)되는 부유탱크와, 상기 부유탱크와 이격되게 배치되는 균형부재와, 일측이 상기 부유탱크에 연결되고 타측이 상기 균형부재에 연결되되 상기 메인프레임에 고정된 복수의 도르래를 따라 움직이는 링크부, 및 상기 메인프레임에 일측이 고정되되 상기 도르래의 회동에 따라 타측이 피스톤이 승강되는 압축실린더를 포함하고, 상기 압축실린더에 의해 압축되는 공기가 상기 부유탱크에 저장되어 공압에너지를 생성할 수 있다.

一种双稳态折纸仿海蟒波浪能发电装置

NºPublicación:  CN223498035U 31/10/2025
Solicitante: 
湖南大学江苏省无锡交通高等职业技术学校
CN_223498035_U

Resumen de: CN223498035U

本实用新型公开了一种双稳态折纸仿海蟒波浪能发电装置,包括锚定部,所述锚定部包括浮漂;装置头部,所述装置头部与锚定部通过锚定线相连;储能部,所述储能部一端与装置头部相连;身体部,所述身体部一端与储能部的另一端相连;其中,身体部由多节Kresling折纸结构串联组成,所述折纸结构上设有摩擦纳米发电装置。具有可增大摩擦纳米发电装置不同两摩擦层的有效接触面积,有效解决将不稳定的波浪能转换为稳定输出的电能的问题,提高发电效率的优点。

一种水路航道界限标

NºPublicación:  CN223494718U 31/10/2025
Solicitante: 
湖北长泽船舶重工有限公司
CN_223494718_U

Resumen de: CN223494718U

本实用新型涉及一种水路航道界限标,包括浮架、支撑筒及发电件,浮架设有主支块,主支块上连接有至少一个副支块;支撑筒连接于主支块上;发电件包括浮力驱动件、牵引绳及发电机,浮力驱动件转动连接在副支块上;牵引绳一端与浮力驱动件连接;发电机连接于支撑筒内,且牵引绳另一端与发电机连接。本申请的技术方案有益技术效果:将本装置放置在水中,浮架浮在水面上。当水面存在波浪时,浮力驱动件运动,从而带动牵引绳移动,牵引绳带动发电机发电。因此,本装置在无阳光照射的情况下,能在波浪的带动下进行发电。有效解决了现有技术容易在连续出现无阳光照射的情况下,很容易出现电量不足,导致指示灯不亮的问题。

一种含波浪能发电功能的半潜式海洋平台

NºPublicación:  CN223494724U 31/10/2025
Solicitante: 
中国石油化工股份有限公司中国石油化工股份有限公司胜利油田分公司
CN_223494724_U

Resumen de: CN223494724U

本实用新型涉及半潜式海洋平台和波浪能发电技术领域,提出一种含波浪能发电功能的半潜式海洋平台,包括半潜式海洋平台,所述半潜式海洋平台设有立柱,所述立柱上设有轴向滑动配合的浮体,所述浮体与半潜式海洋平台之间连接有液缸总成,所述液缸总成的入油口和出油口设置为一个油口,所述油口通过单向液压管路分别与液压能量转换系统和液压油箱连通;本实用新型实现了利用清洁的波浪能为海洋平台供电,减少了海洋平台由于利用化石能源供给而产生的环境污染问,并节约了能源利用成本。

一种基于耦合梁结构的波浪能收集装置

NºPublicación:  CN120867937A 31/10/2025
Solicitante: 
赵兴庄
CN_120867937_PA

Resumen de: CN120867937A

本发明涉及波浪能收集技术领域,尤其涉及一种基于耦合梁结构的波浪能收集装置。该装置由外壳、支撑系统和耦合梁系统组成,耦合梁系统包括内梁子系统、外梁子系统及耦合弹簧。当装置漂浮在水面上时,波浪作用使外壳产生浮动和摆动,激励内外梁异步振动,外梁磁体与内梁线圈产生相对运动,在线圈中产生感应电动势并输出电能,实现波浪能向电能的转换。装置具有低频宽频带响应特性,磁体与线圈采用非接触式布置,无机械传动损耗,且无活动部件直接与水接触,可靠性高。该装置可单机使用,也可通过点状、线状或面状阵列部署,适用于不同规模的海洋波浪能收集。

基于多发电场景耦合的多自由度波浪能发电装置

NºPublicación:  CN120867938A 31/10/2025
Solicitante: 
中国电建集团贵阳勘测设计研究院有限公司
CN_120867938_PA

Resumen de: CN120867938A

本发明公开了基于多发电场景耦合的多自由度波浪能发电装置,涉及波浪能发电技术领域,本申请通过海浪产生的扭力,从而对转动盘施加压力带动内部齿轮机械发电机进行发电,此外,通过海水平面上下起伏或海浪冲击力使得传动箱摇摆从而带动机箱和传动箱之间设置的调节组件运动,带动与发电机相连接的传动轴和传动轮转动,从而实现发电,通过上述过程,本装置实现了至少两个发电场景耦合(洋流的推力、海浪冲击力、海水平面起伏高度差)、上下段不同自由度(不同平面利用波浪能)、不同维度(海浪的作用方向)地利用波浪能发电,且这些发电模式相互耦合又彼此独立互不影响,可以根据海洋情况独立发电也能相互叠加,使得发电效率得到了大幅提高。

一种船载摆动发电系统

NºPublicación:  CN120867939A 31/10/2025
Solicitante: 
中国科学院广州能源研究所
CN_120867939_PA

Resumen de: CN120867939A

本发明涉及船舶工程技术领域,尤其涉及一种船载摆式发电系统。在本发明中,当船舶未航行时,处于初始状态,此时摆杆呈垂直状态,永磁体位于轨道的最低位置;当船舶在航行时,受波浪作用整船产生沿浪方向的摇摆。轨道与船舶一起做摇摆运动,永磁体偏离了垂直方向。在重力的作用下,永磁体回归至新的铅垂方向的位置。在这个过程中,永磁体与轨道之间的相对位置发生了变化。线圈切割永磁体的磁力线,线圈内部产生了电流,实现了发电的效果。本发明利用船舶自身摇摆驱动摆杆摆动,以实现发电的效果,满足船舶用电需求、减少对环境的污染以及有效利用船舶运动中的能量,充分利用船舶航行中在波浪作用下产生的机械能,将其转化为电能。

海浪发电柔性网箱

NºPublicación:  CN120858916A 31/10/2025
Solicitante: 
海南艾锐奥科技有限公司
CN_120858916_PA

Resumen de: CN120858916A

本发明提供了一种海浪发电柔性网箱,涉及深远海养殖技术领域,具体包括箱中浮架、发电组件和浮架组件,箱中浮架和浮架组件连接构成水滴形外轮廓,水流能够更顺畅地绕流,减少涡流和阻力峰值,从而有效降低水流载荷,在经受波浪冲击时,可通过铰接点进行摆动,从而卸载波浪负荷,箱中浮架和浮架组件之间相对转动,带动发电机的驱动端转动,将波浪机械能转化为电能,实现自供电或储能,提升能源自给能力,且发电机在转动过程中还能够提供阻尼力,吸收并分散了波浪冲击能量,避免结构局部应力集中,从而延长海浪发电网箱的寿命,进而提升了在恶劣海况下的适应性,还能够将波浪机械能转化为电能,对风浪的抵抗效果优异,造价低廉。

一种浮式波浪能发电装置

NºPublicación:  CN120867936A 31/10/2025
Solicitante: 
湖南科技大学三亚研究院
CN_120867936_PA

Resumen de: CN120867936A

本发明涉及波浪发电技术领域,尤其涉及一种浮式波浪能发电装置,包括能量捕获系统、发电系统和转向系统;波浪聚能整流罩通过倒置喇叭形结构在波峰时聚集波浪形成向上加速水流并挤压空气,形成有序上升气流,配合顶部的倒立锥形的空气聚能整流罩,形成向上加速气流;在波谷时形成向下水流,同时在装置内部产生局部负压,配合顶部的空气聚能整流罩,形成有序向下的气流;第一沉井式气流/水流发电机利用双向气流或水流驱动发电,第二沉井式气流/水流发电机在另一侧气流通道内由双向气流驱动发电;转向系统的偏航轴承与风叶共同驱动第二发电机导管随风向偏转以优化气流方向,加速气流或水流流动。该装置能实现波浪能的高效转换与稳定电能输出。

一种海水直接冷却的温差发电核动力潜航器

NºPublicación:  CN120863845A 31/10/2025
Solicitante: 
哈尔滨工程大学
CN_120863845_PA

Resumen de: CN120863845A

本发明属于核能开发和高效能量转换技术领域,尤其涉及一种海水直接冷却的温差发电核动力潜航器,包括:金属壳体,内部设置有堆芯;传热组件,蒸发段设置在堆芯内;热电转换组件,与传热组件的冷凝段连接,热电转换组件用于将传热组件传递的热能转换为电能并储存在电能管理系统中;散热组件,设置在金属壳体上,热电转换组件设置在散热组件内部,散热组件通过与外界的海水对流换热来对热电转换组件进行冷却。本发明利用流动的海水直接冷却温差热电转换装置,温差发电装置阵列在无需任何旋转机械的情况下持续输出电能。整个能量转换链路无阀门启闭、无旋转部件,显著降低了装置的可探测性,可为隐蔽航行提供了可靠的能源保障。

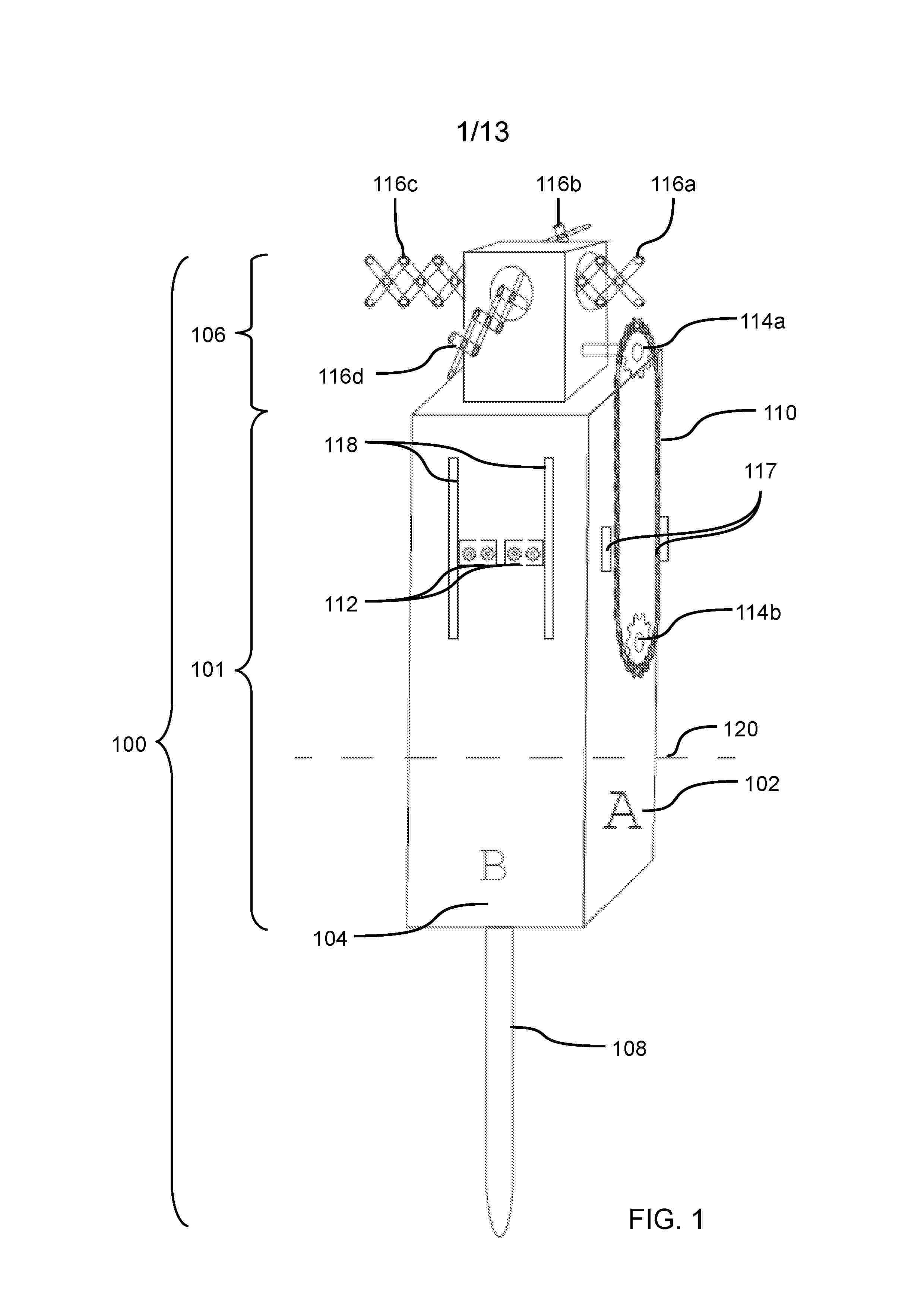
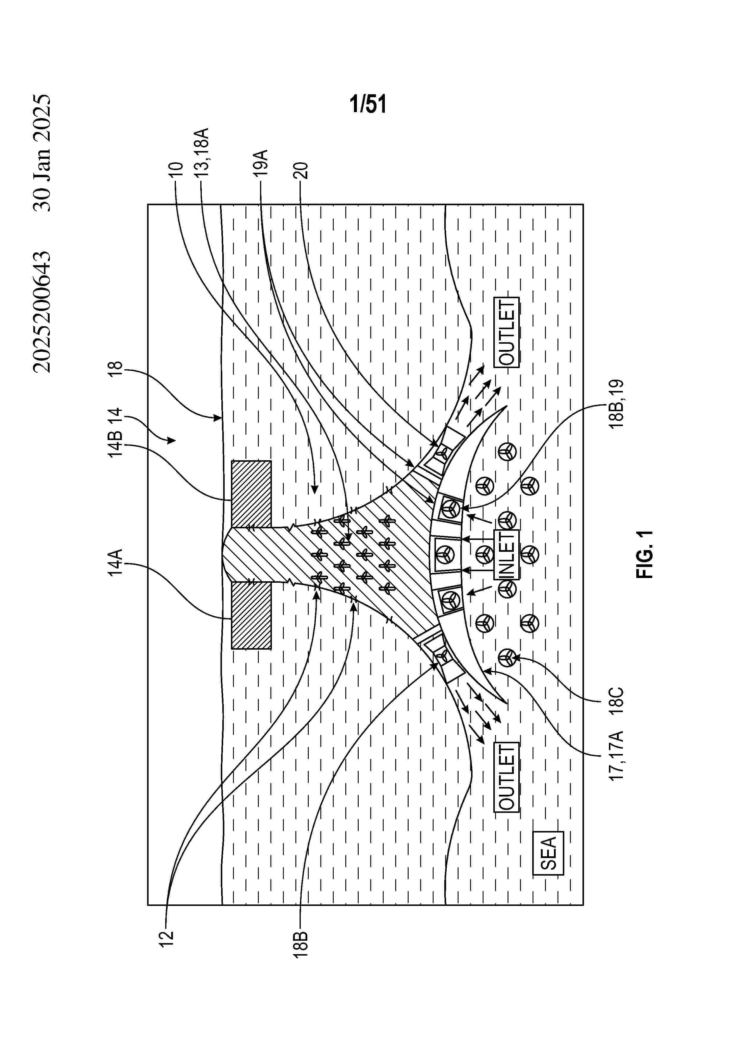
POWER AMPLIFICATION, STORAGE AND REGENERATION SYSTEM AND METHOD USING TIDES, WAVES AND/OR WIND

NºPublicación:  CA3262507A1 31/10/2025
Solicitante: 
MATHERS HYDRAULICS TECH PTY LTD [AU]
MATHERS HYDRAULICS TECHNOLOGIES PTY LTD
AU_2025200643_A1

Resumen de: AU2025200643A1

Methods, systems and apparatuses including systems and methods that can be used for operating a water turbine in combination with a system including a plurality of tidal estuaries and flow channels created by human activity for power generation and further including plurality of man-made dams communicating with at least some of the tidal estuaries and the flow channels. Methods, systems and apparatuses including systems and methods that can be used for operating a water turbine in combination with a system including a plurality of tidal estuaries and flow channels created by human activity for power generation and further including plurality of man-made dams communicating with at least some of the tidal estuaries and the flow channels. an a n e t h o d s , s y s t e m s a n d a p p a r a t u s e s i n c l u d i n g s y s t e m s a n d m e t h o d s t h a t c a n b e u s e d f o r o p e r a t i n g a w a t e r t u r b i n e i n c o m b i n a t i o n w i t h a s y s t e m i n c l u d i n g a p l u r a l i t y o f t i d a l e s t u a r i e s a n d f l o w c h a n n e l s c r e a t e d b y h u m a n a c t i v i t y f o r p o w e r g e n e r a t i o n a n d f u r t h e r i n c l u d i n g p l u r a l i t y o f m a n - m a d e d a m s c o m m u n i c a t i n g w i t h a t l e a s t s o m e o f t h e t i d a l e s t u a r i e s a n d t h e f l o w c h a n n e l s ,1 ,1 ,1 13,18A of & d 17,17A 18C 18B,19 an a n , + + + , ,

SYSTEMS AND METHODS FOR GENERATING POWER FROM MARINE ENVIRONMENT THERMAL GRADIENTS

NºPublicación:  WO2025227033A1 30/10/2025
Solicitante: 
ALLIANCE FOR SUSTAINABLE ENERGY LLC [US]
ALLIANCE FOR SUSTAINABLE ENERGY, LLC
WO_2025227033_PA

Resumen de: WO2025227033A1

Systems and methods for generating electrical power from marine environment thermal gradients. The systems and methods include a buoyancy-driven submersible designed to harness ocean thermal gradients to produce electrical power using thermoelectric generators and phase change materials. The buoyancy-driven submersible is configured to travel vertically in reciprocating motion across a temperature gradient between different depths of a body of water along a cable.

Hybrid Bifurcating Wave Energy Converter

NºPublicación:  US2025334095A1 30/10/2025
Solicitante: 
ALLIANCE FOR SUSTAINABLE ENERGY LLC [US]
Alliance for Sustainable Energy, LLC
US_2025334095_PA

Resumen de: US2025334095A1

A hybrid bifurcating wave energy converter (WEC) is described. The hybrid bifurcating WEC may be capable operating in various orientations with various degrees of rigidity and/or flexibility. The amount of rigidity or flexibility may be based on the intended mode of operation and the intended operational environment. In some embodiments, the hybrid bifurcating WEC may utilize distributed embedded energy converter technologies and folding, origami-like mechanics. In this way, the overall shape, form, and function of the hybrid bifurcating WEC may be governed by a structure with hinges, bends, and/or joints with the ability to fold and unfold in some embodiments being controlled by the distribution and embedding of many relatively small energy converters (i.e., generators).

WAVE ENERGY CONVERTER

NºPublicación:  US2025334096A1 30/10/2025
Solicitante: 
WAVE MINING SOLUTIONS LTD [GB]
WAVE MINING SOLUTIONS LIMITED
US_2025334096_PA

Resumen de: US2025334096A1

A wave energy converter having at least one energy transmitting device configured to be disposed within a granular medium and including: a flexible envelope forming an internal volume and having an upper surface and a lower surface; at least one inflatable element configured to contain a fluid and housed in the internal volume so as to be interposed between the upper surface and the lower surface; and at least one energy converting device associated to at least one of the inflatable elements and configured to produce energy upon actuation; wherein the wave energy converter is configured to actuates the at least one energy converting device when a wave impinging on the energy transmitting device.

WAVE DRIVEN VARIABLE LEVERAGE PUMP FOR WATER DESALINATION

NºPublicación:  US2025334110A1 30/10/2025
Solicitante: 
BLUEDESAL INC [US]
BlueDesal Inc
US_2025334110_PA

Resumen de: US2025334110A1

A wave driven variable leverage pump for water desalination is disclosed. According to one embodiment, a variable leverage pump comprises a platform and a paddle comprising at least one lever arm extending therefrom. The at least one lever arm is pivotally coupled with the platform. The pump further comprises a pump having a first end pivotally coupled with the platform, and a second end pivotally coupled with the paddle. A pivot point of the at least one lever arm is located above a pivot point of the pump relative to the platform.

Systems and Methods for Generating Power From Martine Environment Thermal Gradients

NºPublicación:  US2025337345A1 30/10/2025
Solicitante: 
ALLIANCE SUSTAINABLE ENERGY [US]
Alliance for Sustainable Energy, LLC
US_2025337345_PA

Resumen de: US2025337345A1

Systems and methods for generating electrical power from marine environment thermal gradients. The systems and methods include a buoyancy-driven submersible designed to harness ocean thermal gradients to produce electrical power using thermoelectric generators and phase change materials. The buoyancy-driven submersible is configured to travel vertically in reciprocating motion across a temperature gradient between different depths of a body of water along a cable.

IMPROVED WAVE ENERGY GENERATOR

NºPublicación:  WO2025222256A1 30/10/2025
Solicitante: 
NEWBURY JAMES [AU]
NEWBURY, James
WO_2025222256_A1

Resumen de: WO2025222256A1

A energy generator assembly for installation in an aquatic environment, the generator assembly comprising: a hollow and elongate impeller extending between two ends, the impeller comprising a cylindrical impeller body with an outer surface and an inner surface defining an internal volume comprising a radially central hollow region to allow fluid to flow between the two ends wherein the inner surface comprises a plurality of fluid flow directing vanes extending axially along the length of the inner surface, said vanes projecting radially towards said central hollow region wherein the vanes are arranged to induce rotation of the impeller during flow of fluid between the two ends of the hollow impeller.

CURRENT-TRANSIENT-ENHANCED TRIBOELECTRIC NANOGENERATOR FOR COLLECTING WAVE ENERGY

NºPublicación:  WO2025222537A1 30/10/2025
Solicitante: 
JIANGSU UNIV OF SCIENCE AND TECHNOLOGY [CN]
\u6C5F\u82CF\u79D1\u6280\u5927\u5B66
WO_2025222537_PA

Resumen de: WO2025222537A1

Disclosed in the present invention is a current-transient-enhanced triboelectric nanogenerator for collecting wave energy, comprising a hollow insulating spherical shell. A plurality of rolling ball type triboelectric nanogenerator assemblies capable of generating current under the drive of waves in any direction are arranged at the middle lower part in a spherical shell cavity, and a triggering assembly is arranged at the upper part in the spherical shell cavity. The plurality of rolling ball type triboelectric nanogenerator assemblies are connected in parallel and then are connected to an electric load outside the spherical shell to form a power supply loop, and the triggering assembly is connected in series on the power supply loop and achieves instantaneous closing and opening of the loop under the drive of waves, thereby instantaneously enhancing the current generated by the plurality of rolling ball type triboelectric nanogenerator assemblies. The present invention solves the problems in the prior art of a failure of normal starting or working of devices caused by excessively low current generated by triboelectric nanogenerators and a failure of continuous current generation due to the impact of motion directions of low-frequency waves.

SUBMERGED MACHINE

NºPublicación:  WO2025224370A1 30/10/2025
Solicitante: 
SARMIENTO MEDINA JUAN [ES]
SARMIENTO MEDINA, Juan
WO_2025224370_PA

Resumen de: WO2025224370A1

The invention relates to a submerged machine, which can be coupled, for example, to the hull (0) of a watercraft, which comprises a body (1) in contact with the outside, below the waterline, connected to a rod (3) that can move through a chamber (4) to generate work, and wherein the body (1) comprises a second rod (5) connected to a damper (6) with a variable damping coefficient. The damper may be based on a magnetic hydraulic liquid.

HYBRID TIDAL AND WAVE POWER GENERATION DEVICE

NºPublicación:  WO2025225812A1 30/10/2025
Solicitante: 
WHANG YONG AN [KR]
\uD669\uC6A9\uC548
WO_2025225812_PA

Resumen de: WO2025225812A1

According to the present invention, a plurality of buoy levers (104a, 104b) for wave power generation and front and rear variable wings (105a, 105b) for tidal power generation are interlocked in one direction, by an interlocking gear unit (103) that connects a driving shaft (102) of a power generator (101) and interlocking shafts (103a, 103b), to synergistically combine wave power and tidal power energy in the one power generator (101), thus making it possible to achieve hybrid power generation that maximizes efficiency at low cost. In particular, a mooring power generation facility is designed as a wave-resistant structure in which buoys and the power generator (101) are only partially exposed above the sea surface, and thus can safely generate power even in the presence of strong typhoons and rough waves.

UNDERWATER/ABOVE-WATER FLOATING WAVE POWER PLANT

Nº publicación: WO2025226142A1 30/10/2025

Solicitante:

SHOLANOV KORGANBAY SAGNAYEVICH [KZ]
ISSAYEVA ZHAZIRA RAKHATDINOVNA [KZ]
ALIMKHAN YERKEZHAN ARMANKYZY [KZ]
\u0428\u041E\u041B\u0410\u041D\u041E\u0412, \u041A\u043E\u0440\u0433\u0430\u043D\u0431\u0430\u0439 \u0421\u0430\u0433\u043D\u0430\u0435\u0432\u0438\u0447,
\u0418\u0421\u0410\u0415\u0412\u0410, \u0416\u0430\u0437\u0438\u0440\u0430 \u0420\u0430\u0445\u0430\u0442\u0434\u0438\u043D\u043E\u0432\u043D\u0430,
\u04D8\u041B\u0406\u041C\u0425\u0410\u041D, \u0415\u0440\u043A\u0435\u0436\u0430\u043D \u0410\u0440\u043C\u0430\u043D\u049B\u044B\u0437\u044B

WO_2025226142_A1

Resumen de: WO2025226142A1

The invention relates to the field of renewable energy engineering, and more particularly to the use of floating wave power plants in marine energy engineering. The invention can be used for supplying power to consumers located in coastal zones or on the surface of large bodies of water. What is proposed is a floating wave power plant designed so that a buoy can be submerged below the water in the event of rough seas to protect the structure against the destructive effects of wave dynamics and so that said buoy can resurface in the event of calm seas. In addition, to increase productivity, each of six actuators comprises a power take-off system with a rotary electric generator. The invention is intended to protect the structure against the destructive effects of waves and to increase the productivity of a floating wave power plant.

traducir