Ministerio de Industria, Turismo y Comercio LogoMinisterior
 

Alerta

Resultados 126 resultados
LastUpdate Última actualización 02/05/2026 [07:20:00]
pdfxls
Solicitudes publicadas en los últimos 60 días / Applications published in the last 60 days
Resultados 1 a 25 de 126 nextPage  

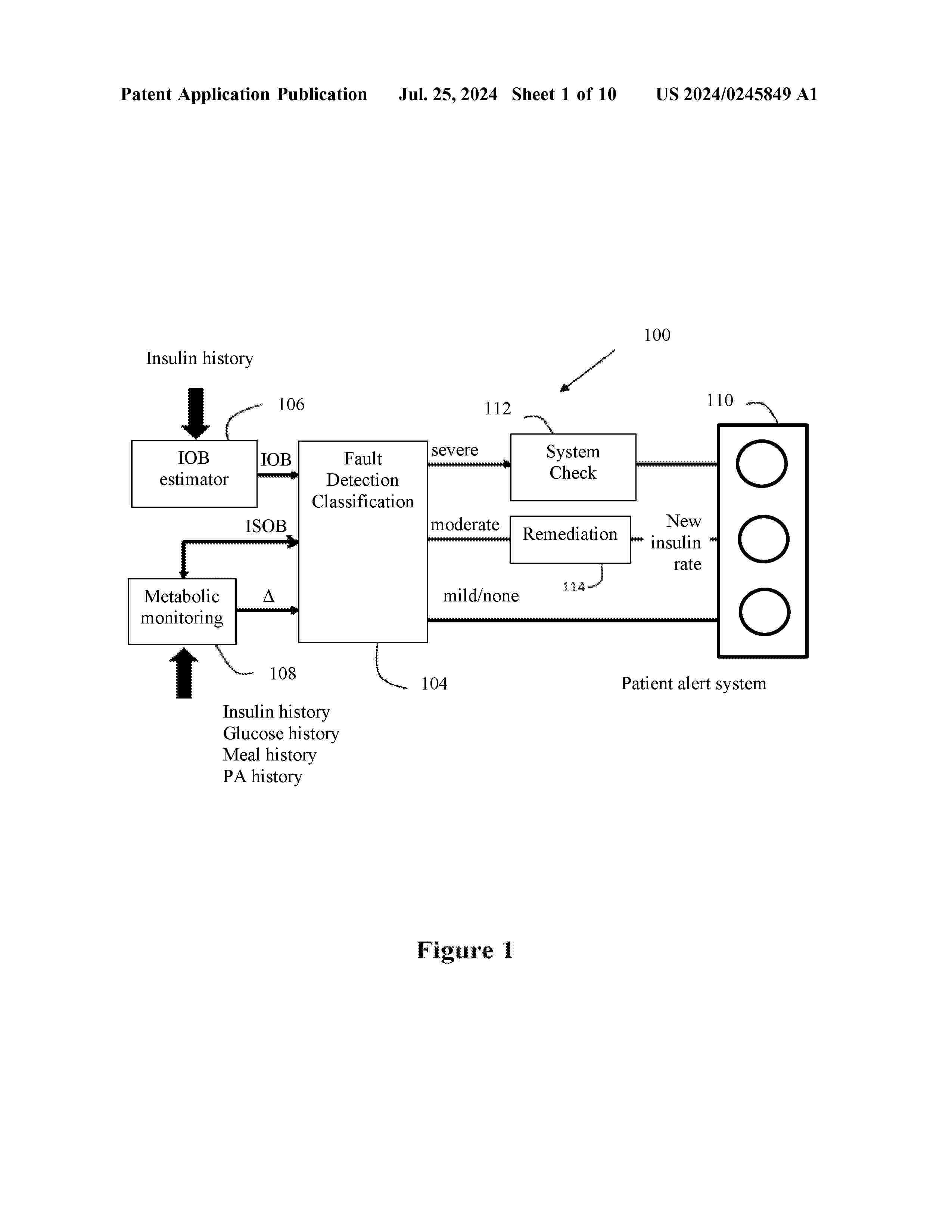
SYSTEMS AND METHODS FOR CALCULATING INSULIN ON BOARD IN INFUSION PUMP SYSTEMS

NºPublicación:  US20260115379A1 30/04/2026
Solicitante: 
TANDEM DIABETES CARE INC [US]
Tandem Diabetes Care, Inc.
US_20260115379_A1

Resumen de: US20260115379A1

0000 Disclosed herein are portable infusion pump systems that provide an ability to simultaneously track insulin on board from insulin deliveries from different sources and/or of different types. A user interface can be provided to enable the user to enter insulin delivered from a source other than the portable infusion pump. A simplified calculation for estimating IOB remaining from each insulin delivery enables such calculations to be carried out with the limited memory and processing capacity of the portable infusion pump.

SYSTEMS AND METHODS FOR MANAGING GLYCEMIC VARIABILITY

NºPublicación:  US20260120863A1 30/04/2026
Solicitante: 
DEXCOM INC [US]
Dexcom, Inc.
US_20260120863_A1

Resumen de: US20260120863A1

Methods and apparatus, including computer program products, are provided for processing analyte data. In some example implementations, a method may include generating glucose sensor data indicative of a host's glucose concentration using a glucose sensor; calculating a glycemic variability index (GVI) value based on the glucose sensor data; and providing output to a user responsive to the calculated glycemic variability index value. The GVI may be a ratio of a length of a line representative of the sensor data and an ideal length of the line. Related systems, methods, and articles of manufacture are also disclosed.

Eyewear with EEG Sensors for Monitoring Food Consumption

NºPublicación:  US20260115383A1 30/04/2026
Solicitante: 
CONNOR ROBERT A [US]
MEDIBOTICS LLC [US]
Connor Robert A.
Medibotics LLC
US_20260115383_A1

Resumen de: US20260115383A1

0000 A wearable device or system for monitoring food consumption can include a head-worn device such as eyewear which is worn by a person and a plurality of brain activity sensors on the head-worn device, wherein data from the plurality of brain activity sensors is analyzed to detect when the person is eating. This device can be used alone or as part of a closed-loop glucose level management system.

Biometric Wearable Device (e.g. Finger Ring) with Radiowave or Microwave Energy Emitters/Transmitters

NºPublicación:  US20260114743A1 30/04/2026
Solicitante: 
CONNOR ROBERT A [US]
MEDIBOTICS LLC [US]
Connor Robert A.
Medibotics LLC
US_20260114743_A1

Resumen de: US20260114743A1

A biometric wearable device is embodied in a finger ring or smart watch with radiowave or microwave energy emitters/transmitters and energy receivers to measure the level of a biometric parameter such as body oxygenation, hydration, or glucose level. The energy emitter/transmitter and the energy receiver can be parallel, nested, and/or comprise a two-dimensional array. The device can further comprise a split ring resonator located between the energy emitter/transmitter and the energy receiver.

Biometric Wearable Device (e.g. Smart Watch) with Radiowave or Microwave Energy Emitters/Transmitters

NºPublicación:  US20260114742A1 30/04/2026
Solicitante: 
CONNOR ROBERT A [US]
MEDIBOTICS LLC [US]
Connor Robert A.
Medibotics LLC
US_20260114742_A1

Resumen de: US20260114742A1

A biometric wearable device is embodied in a smart watch or finger ring with radiowave or microwave energy emitters/transmitters and energy receivers to measure the level of a biometric parameter such as body oxygenation, hydration, or glucose level. The energy emitter/transmitter and the energy receiver can be parallel, nested, and/or comprise a two-dimensional array. The device can further comprise a split ring resonator located between the energy emitter/transmitter and the energy receiver.

Eyewear with Eating-Activated Camera for Monitoring Food Consumption

NºPublicación:  US20260120843A1 30/04/2026
Solicitante: 
CONNOR ROBERT A [US]
MEDIBOTICS LLC [US]
Connor Robert A.
Medibotics LLC
US_20260120843_A1

Resumen de: US20260120843A1

0000 A wearable device or system for monitoring food consumption can include a wrist-worn or finger-worn device which is worn by a person, a motion sensor on the wrist-worn or finger-worn device, eyewear which is worn by the person, and a camera on the eyewear which is activated to record food images when analysis of data from the motion sensor detects that the person is eating. This device can be used alone or as part of a closed-loop glucose level management system.

A SYSTEM AND A METHOD FOR HEALTH DIAGNOSIS USING BREATH OF USER AND LIFESTYLE ASSESSMENT

NºPublicación:  WO2026088027A1 30/04/2026
Solicitante: 
HUMORS TECH PRIVATE LTD [IN]
HUMORS TECH PRIVATE LIMITED
WO_2026088027_A1

Resumen de: WO2026088027A1

A system (100) for health diagnosis using breath of user and lifestyle assessment is disclosed The system includes a breath analyzer device (110) that includes a breath chamber (120) to receive exhaled breath and detect concentration level of acetone, hydrogen, ethanol, hydrogen, ammonia, carbon monoxide, hydrogen sulphide, 5 lung capacity, hydrogen, methane, ammonia and hydrogen sulphide. The plurality of sensors (130) captures a photoplethysmography signal. A receiving module (160) receives data and the photoplethysmography signal. A disorder score generation module (170) analyses the data to generate a diabetic score, liver disorder score, respiratory disorder score, digestive. A nutrient score module (180) calculates a 10 nutrient score. A lifestyle score module (190) calculates a lifestyle score. A display module (200) displays diabetic score, liver disorder score, respiratory disorder score, digestive disorder score, kidney disorder score, nutrition score, lifestyle score, and the plurality of health parameters via a user interface.

INSULIN DELIVERY MANAGEMENT IN CLOSED-LOOP SYSTEMS

NºPublicación:  WO2026087221A1 30/04/2026
Solicitante: 
DIABELOOP [FR]
DIABELOOP
WO_2026087221_A1

Resumen de: WO2026087221A1

A control device for managing insulin delivery in a closed-loop system. The control device comprises a computation module. The computation module is configured to receive a target basal rate indicative of a rate of a target insulin delivery rate of an insulin pump and compute a supplemental basal rate if the target basal rate is greater than a rate threshold. The supplemental basal rate is sensibly equal to a difference between the target basal rate and the rate threshold. The control device also comprises an insulin management module. The insulin management module is configured to determine a recommendation value of a control parameter of the insulin pump. The recommendation value is based on the supplemental basal rate multiplied by a time period. The control device comprises a communication module. The communication module is configured to send the recommendation value to the insulin pump.

CGM-BASED BASAL DOSE TITRATION

NºPublicación:  WO2026089758A1 30/04/2026
Solicitante: 
UNIV OF VIRGINIA PATENT FOUNDATION [US]
NOVO NORDISK AS [DK]
UNIVERSITY OF VIRGINIA PATENT FOUNDATION
NOVO NORDISK A/S
WO_2026089758_A1

Resumen de: WO2026089758A1

Provided are a method, system, and computer-readable medium for recommending titration measurement for basal insulin dosing and then automatedly causing delivery of the dosing. The recommendation can be personalized to accomplish a weekly recommended dosing according to evaluation for a daily titration glucose level (TGL) determined for received CGM data over the course of a preceding weekly time period. With increased receipt of CGM data, the TGLs can be categorized according to refinement for risk of occurrence of hypoglycemia, and the recommendation may be provided commensurately. In any instance, the recommendation can be automatedly adjusted either upon the CGM data satisfying conditions for hypoglycemia or upon a patient self-reporting hypoglycemia.

GLP-1-FC-FGF21 DOUBLE-TARGET FUSION PROTEIN COMPOSITION, AND INJECTION AND USE THEREOF

NºPublicación:  EP4732829A1 29/04/2026
Solicitante: 
SUNSHINE LAKE PHARMA CO LTD [CN]
Sunshine Lake Pharma Co., Ltd.
EP_4732829_A1

Resumen de: EP4732829A1

0001 A GLP-1-Fc-FGF21 double-target fusion protein composition and the use thereof. The composition comprises a GLP-1-Fc-FGF21 fusion protein and a buffer solution. In the composition, by means of adding the buffer solution, the generation of visible particles can be effectively controlled, and the stability of the GLP-1-Fc-FGF21 fusion protein is improved, so that the shelf life of a product can be prolonged. The composition can be used for treating and/or preventing metabolic diseases, such as diabetes, hyperlipidemia, obesity and diseases related to fatty liver.

SYSTEMS AND METHODS FOR DETERMINING PATTERNS IN AN INSULIN DELIVERY SYSTEM TO IMPROVE USER EXPERIENCE

NºPublicación:  EP4732300A1 29/04/2026
Solicitante: 
TANDEM DIABETES CARE INC [US]
Tandem Diabetes Care, Inc.
WO_2024263758_PA

Resumen de: WO2024263758A1

Systems and methods are provided for determining patterns, trends, anomalies, and/or abnormalities in data relating to operation of an insulin delivery pump and user outcomes relating to an insulin delivery pump and determining certain actions and/or operational adjustments to improve the user outcomes, such as blood glucose levels. For example, troubleshooting actions may be recommended upon determining a pattern, trend, abnormality, and/or anomaly in blood glucose levels that is undesirable. In another example, operation of the insulin delivery pump may be adjusted based habits and/or behaviors of the user. For example, insulin delivery timing may be adjusted based on exercise, activity and/or eating patterns. Based on the detected patterns, trends, anomalies, and/or abnormalities, a user device such as a mobile phone or smart device may present prompts for more information, alerts, status updates, and other information intended to improve the user experience.

SYSTEMS AND METHODS FOR DETERMINING PATTERNS IN AN INSULIN DELIVERY SYSTEM TO IMPROVE USER EXPERIENCE

NºPublicación:  EP4732298A1 29/04/2026
Solicitante: 
TANDEM DIABETES CARE INC [US]
Tandem Diabetes Care, Inc.
WO_2024263756_PA

Resumen de: WO2024263756A1

Systems and methods are provided for determining patterns, trends, anomalies, and/or abnormalities in data relating to operation of an insulin delivery pump and user outcomes relating to an insulin delivery pump and determining certain actions and/or operational adjustments to improve the user outcomes, such as blood glucose levels. For example, troubleshooting actions may be recommended upon determining a pattern, trend, abnormality, and/or anomaly in blood glucose levels that is undesirable. In another example, operation of the insulin delivery pump may be adjusted based habits and/or behaviors of the user. For example, insulin delivery timing may be adjusted based on exercise, activity and/or eating patterns. Based on the detected patterns, trends, anomalies, and/or abnormalities, a user device such as a mobile phone or smart device may present prompts for more information, alerts, status updates, and other information intended to improve the user experience.

GLUCOSE CONTROL USING DUAL-HORMONE MODEL PREDICTIVE CONTROL (MPC) WITH PRAMLINTIDE COMPARTMENTS

NºPublicación:  WO2026085278A1 23/04/2026
Solicitante: 
OREGON HEALTH & SCIENCE UNIV [US]
WO_2026085278_A1

Resumen de: WO2026085278A1

Systems and methods are disclosed for managing a person's blood glucose concentration within a predetermined range by co-administration of insulin and pramlintide using an automated insulin delivery system. A model predictive control (MPC) algorithm that includes a glucoregulatory control model augmented with a compartment model of pramlintide pharmacokinetics and pharmacodynamics is utilized. In some embodiments, the person may announce in advance meals to be consumed and the pramlintide-aware MPC algorithm uses this data as input to the glucoregulatory control model. In other embodiments, an automatic meal detection and size estimation algorithm is incorporated into the system to relieve the person of the burden of meal entry and carbohydrate estimation.

MULTI-ANALYTE SENSING AND MEDICATION CONTROL

NºPublicación:  WO2026084731A1 23/04/2026
Solicitante: 
PERCUSENSE INC [US]
WO_2026084731_A1

Resumen de: WO2026084731A1

A multi-analyte sensor system is disclosed. The system includes a sensor probe that has a first set of electrodes that transduce glucose into electrical signals, a second set of electrodes that transduce lactate into electrical signals and a third set of electrodes that provide working and counter electrode functionality for the first and second set of electrodes. The system has an electronics module that electrically interfaces with the sensor probe, and includes a transceiver configured to transmit sensor data. The system also includes control circuitry communicatively coupled to the electronics module that determines a glucose state based on signals from the first set of electrodes and also determine a lactate state based on signals from the second set of electrodes. The control circuitry also generates an insulin infusion pump control signal based on signals from the first and second set of electrodes.

METHOD, DEVICE, AND COMPUTER PROGRAM FOR PREDICTING PROGNOSIS OF INTRAVITREAL INJECTION THERAPY

NºPublicación:  US20260108215A1 23/04/2026
Solicitante: 
SAMSUNG LIFE PUBLIC WELFARE FOUND [KR]
US_20260108215_A1

Resumen de: US20260108215A1

0000 The present invention relates to a method for predicting the prognosis of intravitreal injection treatment, comprising the steps of: receiving OCT images and clinical information of a plurality of diabetic macular edema patients; extracting one or more major lesion information from the OCT images; training a multi-modal deep learning model by inputting the OCT images, the clinical information, and the one or more major lesion features, and outputting the intravitreal injection treatment prognosis of the diabetic macular edema patients; and predicting the prognosis of intravitreal injection treatment by inputting the OCT images, the clinical information, and the major lesion features of a specific diabetic macular edema patient to the trained multi-modal deep learning model.

ARTICLE OF MANUFACTURE FOR SEMAGLUTIDE COMPOSITIONS

NºPublicación:  WO2026083250A1 23/04/2026
Solicitante: 
ORBICULAR PHARMACEUTICAL TECH PRIVATE LIMITED [IN]
WO_2026083250_A1

Resumen de: WO2026083250A1

The objective invention provides a parenteral composition of semaglutide or a pharmaceutically acceptable salt thereof for subcutaneous administration, having a strength and composition such that it can be administered multiple times from single article of manufacture, for use in treating type 2 diabetes mellitus and for weight loss, thereby providing benefit to the patient.

SYSTEM AND METHOD FOR INSULIN INFUSION

NºPublicación:  WO2026085127A1 23/04/2026
Solicitante: 
ENDOCRINE TECH LLC [US]
WO_2026085127_A1

Resumen de: WO2026085127A1

A method of administering insulin to a patient to achieve and maintain euglycemia is disclosed. The method includes administering insulin to the patient at a drip rate that is based on a current blood glucose level of the patient and a weight of the patient. Insulin is administered during an initial phase, a transition phase (during which blood glucose level decreases slower than during the initial phase), and a maintenance phase. During the maintenance phase, the method includes adjusting the drip rate periodically based on a current drip rate and a percentage change in blood glucose level during a period of time. In addition, the maintenance phase considers a lookback period in which the drip rate is adjusted based on trends during the lookback period.

SYSTEMS AND METHODS FOR GENERATING MODELS FOR DETERMINING BLOOD GLUCOSE LEVELS USING VOICE

NºPublicación:  US20260112492A1 23/04/2026
Solicitante: 
KVI BRAVE FUND I INC [CA]
US_20260112492_A1

Resumen de: US20260112492A1

Provided are methods and systems for generating a model for determining blood glucose levels using voice samples. This includes receiving, at a processor: a plurality of voice samples from at least one subject at a plurality of time points; and a plurality of blood glucose levels, wherein each blood glucose level in the plurality of blood glucose levels is temporally associated with a voice sample in the plurality of voice samples; sorting, at the processor, the plurality of voice samples into two or more blood glucose level categories based on the blood glucose levels; extracting, at the processor, voice feature values for a set of voice features from each of the plurality of voice samples; selecting, at the processor, a subset of voice features from the set of voice features; and generating at the processor, the blood glucose level prediction model based on the subset of voice features.

DETERMINING A CONCENTRATION OF GLUCOSE IN A SUBJECT'S BLOOD

NºPublicación:  US20260108186A1 23/04/2026
Solicitante: 
AFON TECH LIMITED [GB]
Afon Technology Limited
US_20260108186_A1

Resumen de: US20260108186A1

0000 According to an aspect, there is provided a computer-implemented method (200) of determining a concentration of glucose in a subject's blood, the method comprising acquiring (202) first measurement data indicative of a response resulting from an electromagnetic (EM) signal interacting with the subject's blood in a body part of the subject, the EM signal having been emitted from a device in contact with the body part of the subject; acquiring (204) second measurement data indicative of a pressure applied to the body part of the subject by the device; and using (206) a predictive model to infer a concentration of glucose in the subject's blood from the first measurement data and the second measurement data, the predictive model having been trained to infer a concentration of glucose in the subject's blood from the first measurement data and the second measurement data.

DEVICES AND METHODS FOR TREATING CARDIOVASCULAR AND METABOLIC DISEASE

NºPublicación:  US20260108742A1 23/04/2026
Solicitante: 
PIERCE RYAN KENDALL [US]
CLINE BENJAMIN KAHN [US]
US_20260108742_A1

Resumen de: US20260108742A1

Devices and methods described herein may, among other uses, favorably cause the activation and/or deactivation of vascular baroreceptors in order to achieve a desired impact on a physiological condition, such as baroreflex-regulated conditions, hypertension, hypotension, nervous system disorders, metabolic disorders, cardiovascular disease, heart failure, cardiac arrhythmia, renal disease, respiratory disease, diabetes, and insulin resistance. The devices and methods may be used in concert with each other and/or other treatments, medications, interventions, or behavioral regimens. They may also be used in concert with devices and methods that perform or assist with assessing or measuring a mammal's blood pressure, assessing, measuring, or predicting the impact of the described methods and devices on the patient's condition (including blood pressure), and/or protecting the surrounding anatomy from adverse effects.

System, method, and computer readable medium for a basal rate profile adaptation algorithm for closed-loop artificial pancreas systems

NºPublicación:  AU2026202583A1 23/04/2026
Solicitante: 
UNIVERSITY OF VIRGINIA PATENT FOUNDATION D/B/A UNIVERSITY OF VIRGINIA LICENSING AND VENTURES GROUP
AU_2026202583_A1

Resumen de: AU2026202583A1

22573194_1 (GHMatters) P45417AU02 An insulin device configured to control an insulin dosage by adapting a basal rate profile. The insulin device includes a sensor configured to produce a blood glucose level measurement data, and detect changes of the blood glucose level measurement data over time; a processor and associated computer memory device configured to receive the blood glucose level measurement data and a basal rate profile, such that the basal rate profile includes a basal rate set point that corresponds to an insulin delivery reference for a nominal blood glucose, and the basal rate profile is stored in the computer memory device. The insulin device also includes an an insulin dispensing valve controlled by the processor to administer insulin in accordance with the received basal rate profile, such that the processor is configured to update the basal rate set point over a time period based on both an assessment of at least one of a risk of hyperglycemia and a risk of hypoglycemia from historical blood glucose data, and patterns of actions taken by the insulin device to mitigate glycemic risk during the time period. The insulin dispensing valve is controlled by the processor to administer insulin in accordance with the updated basal rate set point. pr p r

SYSTEM AND METHOD FOR IMPROVING GLYCEMIC CONTROL IN ICU PATIENTS USING TRANSAURICULAR VAGUS NERVE STIMULATION

NºPublicación:  WO2026085358A1 23/04/2026
Solicitante: 
WASHINGTON UNIV [US]
WO_2026085358_A1

Resumen de: WO2026085358A1

A method of improving glycemic control is provided. The method includes stimulating a cutaneous distribution of a subject's vagus nerve within the subject's ear with a nerve stimulating signal. The method also includes monitoring the subject's blood glucose. The method further includes administering insulin infusions to the subject.

POWER DEVICE AND PATCH TYPE INSULIN PUMP

NºPublicación:  EP4729088A1 22/04/2026
Solicitante: 
SYAI UK LTD [GB]
EP_4729088_PA

Resumen de: EP4729088A1

The present application relates to the technical field of medical instruments, and disclosed thereby are a power device and a patch type insulin pump. The power device comprises a power output module, a transmission component, a lead screw and a sliding block, wherein the power output module comprises a power output shaft, and the power output shaft is in transmission connection to the transmission component. The transmission component is in transmission connection to the lead screw, and the transmission component is used to transfer power output from the power output shaft to the lead screw to drive the lead screw to rotate around its own axis. The sliding block is sleeved on the lead screw, and the sliding block is abutted to one end of a push rod away from a bolus piston. When the lead screw rotates around its own axis, the sliding block is driven to move relative to the lead screw along the axis direction of the lead screw, so that the sliding block drives the push rod to move along the axis direction of the lead screw. The axis of the power output shaft is parallel to the axis of the lead screw, and the power output direction of the power output shaft is opposite to the movement direction of the sliding block. The power device disclosed by the application is beneficial for reducing the volume of the patch type insulin pump.

PATCH TYPE INSULIN PUMP AND INSULIN INJECTION SYSTEM

NºPublicación:  EP4729087A1 22/04/2026
Solicitante: 
SYAI UK LTD [GB]
EP_4729087_PA

Resumen de: EP4729087A1

The present application relates to the technical field of medical appliances and discloses a patch type insulin pump and an insulin injection system and its method of application. The patch type insulin pump comprises an injection module, a power module and an injection detection module. The injection module comprises a drug storage tank, a push rod piston and two conductive push rods. The bottom of the drug storage tank is provided with an injection port, and the top is provided with an opening. The push rod piston is sealed on the opening, and the push rod piston may move relative to the drug storage tank along a first direction. The two conductive push rods are respectively connected to the push rod piston. The injection detection module comprises a control circuit board, two conductive contact springs and a conductive module. The two conductive contact springs are electrically connected to the control circuit board, and the two conductive push rods are in a sliding contact with the two conductive contact springs. The power module is used to drive the conductive module to move in the first direction, and the control circuit board is used to detect the dosage injected into the drug storage tank based on the moving distance of the conductive module. The patch type insulin pump can detect the dosage injected by the patch type insulin pump.

HEALTH TRACKING APPLICATIONS FOR SMART GLASSES

Nº publicación: WO2026080545A1 16/04/2026

Solicitante:

SOFTEYE INC [US]

WO_2026080545_A1

Resumen de: WO2026080545A1

Systems, computer programs, devices, and methods that enable coordination across multiple devices of the mobile ecosystem. In one embodiment, smart glasses detect when a user is about to eat food or take a drink and capture the consumable and portion. The data is recorded in a "morsel track" for health activity analysis. Low-fidelity captures provide preliminary recognition, while higher-fidelity captures are selectively invoked for definitive classification. Machine-learning logic generates predicted metabolic responses, such as real-time glucose trends, based on the recorded events. Predicted responses may dynamically adjust the operation of continuous glucose monitors, heart-rate sensors, or other biomedical devices. In some embodiments, the system triggers a pharmaceutical dispenser, such as an insulin pump, inhaler, or transdermal patch, to provide closed-loop therapeutic intervention in real time.

traducir