Ministerio de Industria, Turismo y Comercio LogoMinisterior
 

Alerta

Resultados 1601 resultados
LastUpdate Última actualización 20/03/2026 [07:15:00]
pdfxls
Publicaciones de los últimos 15 días/Last 15 days publications (excluidas pubs. CN y JP /CN and JP pubs. excluded)
previousPage Resultados 1450 a 1475 de 1601 nextPage  

ELECTROCHEMICAL APPARATUS AND ELECTRONIC APPARATUS COMPRISING ELECTROCHEMICAL APPARATUS

NºPublicación:  WO2026045436A1 05/03/2026
Solicitante: 
NINGDE AMPEREX TECH LIMITED [CN]
\u5B81\u5FB7\u65B0\u80FD\u6E90\u79D1\u6280\u6709\u9650\u516C\u53F8
WO_2026045436_A1

Resumen de: WO2026045436A1

An electrochemical apparatus and an electronic apparatus comprising the electrochemical apparatus. The electrochemical apparatus comprises a negative electrode sheet and an electrolyte; the negative electrode sheet comprises a negative electrode material layer, the negative electrode material layer comprises silicon, and on the basis of the total mass of the negative electrode material layer, the mass percentage content A of the silicon is 1% to 20%; the electrolyte comprises a compound of formula I and fluoroethylene carbonate, and on the basis of the total mass of the electrolyte, the mass percentage content C of the compound of formula I is 3% to 50%. The negative electrode sheet and the electrolyte are simultaneously applied to the electrochemical apparatus, thereby improving the cycle performance of the electrochemical apparatus.

SECONDARY BATTERY AND ELECTRONIC DEVICE COMPRISING SAME

NºPublicación:  WO2026045435A1 05/03/2026
Solicitante: 
NINGDE AMPEREX TECH LIMITED [CN]
\u5B81\u5FB7\u65B0\u80FD\u6E90\u79D1\u6280\u6709\u9650\u516C\u53F8
WO_2026045435_A1

Resumen de: WO2026045435A1

A secondary battery and an electronic device comprising same. The secondary battery comprises a positive electrode sheet, a negative electrode sheet, a separator, and an electrolyte. The electrolyte comprises a compound represented by formula I, where R is selected from an unsubstituted or Ra-substituted C2 to C6 alkyl, an unsubstituted or Ra-substituted C6 to C12 aryl, or an unsubstituted or Ra-substituted C5 to C12 nitrogen-containing heteroaryl; each Ra is independently selected from a halogen or a halogen-substituted C1 to C3 alkyl, and each halogen is independently selected from fluorine, chlorine, or bromine. Based on the total mass of the electrolyte, the mass percentage of the compound represented by formula I is A%, where 0.01 ≤ A ≤ 50. The positive electrode sheet comprises a positive electrode active material. The positive electrode active material comprises lithium cobalt oxide comprising an element M, and the element M comprises at least one of Al, Mg, Ti, Nb, Cr, Y, Sr, or Zr. Based on the total mass of the positive electrode active material, the mass percentage of the element M is B%, where 0.01 ≤ B ≤ 1. The values of A and B are controlled within the above ranges to facilitate formation of a low-impedance CEI film, thereby enabling the secondary battery to achieve both good high-temperature storage stability and low-temperature discharge performance.

SYNTHESIS OF LITHIUM TRANSITION METAL ORTHOBORATES

NºPublicación:  WO2026050708A1 05/03/2026
Solicitante: 
MITRA FUTURE TECH INC [US]
MITRA FUTURE TECHNOLOGIES, INC
WO_2026050708_PA

Resumen de: WO2026050708A1

The present technology provides methods for the aqueous synthesis of lithium transition metal orthoborates wherein chemical precursors are added to an aqueous solution and milled together (e.g. with grinding media) as one step in the synthesis process. In one aspect, the Li-containing orthoborate material has the formula Lil+xMl-xBO3, wherein M is a transition metal, and wherein 0 =< x < 0.3.

NONAQUEOUS ALKALI METAL POWER STORAGE ELEMENT AND PRODUCTION METHOD THEREFOR

NºPublicación:  WO2026048805A1 05/03/2026
Solicitante: 
ASAHI KASEI KK [JP]
\u65ED\u5316\u6210\u682A\u5F0F\u4F1A\u793E
WO_2026048805_PA

Resumen de: WO2026048805A1

A nonaqueous alkali metal power storage element (precursor) according to the present disclosure comprises a positive electrode (precursor), a negative electrode (precursor), a separator, an exterior material, and a nonaqueous electrolyte solution, wherein: the negative electrode (precursor) contains, as an active material, a material that absorbs and releases lithium ions; and the positive electrode (precursor) has a positive electrode active material layer that contains a positive electrode active material which absorbs and releases alkali metal ions. The nonaqueous alkali metal power storage element (precursor) contains an alkali metal carbonate in the positive electrode active material layer, in an arbitrary intermediate layer between the positive electrode active material layer and the separator, or in both. The nonaqueous electrolyte solution further contains a carbonate decomposition promoter. The oxidation commencement potential of the carbonate decomposition promoter is not less than 3.8 V (vsLi/Li+) and not more than 4.7 V.

POWER STORAGE BOARD AND POWER STORAGE FACILITY

NºPublicación:  WO2026048814A1 05/03/2026
Solicitante: 
GS YUASA INT LTD [JP]
\u682A\u5F0F\u4F1A\u793E\uFF27\uFF33\u30E6\u30A2\u30B5
WO_2026048814_PA

Resumen de: WO2026048814A1

This power storage board comprises: a power storage device provided with a power storage element; a housing that accommodates the power storage device; a flow path forming member that forms a flow path for discharging gas discharged from the power storage device to the outside of the housing; and a fire extinguishing agent that is disposed in the housing on the outside of the flow path forming member and in the same space as the space in which the power storage device is accommodated.

SECONDARY BATTERY

NºPublicación:  WO2026048847A1 05/03/2026
Solicitante: 
PANASONIC INTELLECTUAL PROPERTY MAN CO LTD [JP]
\u30D1\u30CA\u30BD\u30CB\u30C3\u30AF\uFF29\uFF30\u30DE\u30CD\u30B8\u30E1\u30F3\u30C8\u682A\u5F0F\u4F1A\u793E
WO_2026048847_PA

Resumen de: WO2026048847A1

A secondary battery comprises: a positive electrode; a negative electrode; a separator that is disposed between the positive electrode and the negative electrode; and a non-aqueous electrolyte. The positive electrode includes a positive electrode current collector, and a positive electrode mixture layer that is supported by the positive electrode current collector. The separator includes a first region that faces an end portion of the positive electrode mixture layer, and a second region that faces a central portion of the positive electrode mixture layer. At least part of the first region is a first thick film region in which the thickness of the separator is greater than in the second region.

BATTERY PACK

NºPublicación:  WO2026048837A1 05/03/2026
Solicitante: 
AESC JAPAN LTD [JP]
\u682A\u5F0F\u4F1A\u793E\uFF21\uFF25\uFF33\uFF23\u30B8\u30E3\u30D1\u30F3
WO_2026048837_PA

Resumen de: WO2026048837A1

A battery module (10) comprises a battery cell (100) and an enclosure (200) accommodating the battery cell (100). The enclosure (200) has a side frame (220), an upper plate (230), and a seal (240) disposed between the side frame (220) and the upper plate (230). The side frame (220) includes an inner wall (223a) located on the inner side of the enclosure (200) relative to the seal (240), and an outer wall (223b) located on the outer side of the enclosure (200) relative to the seal (240). The seal (240) includes: a protrusion (242) protruding toward the inner wall (223a) from an edge of the seal (240) facing the side on which the inner wall (223a) is located; and a protrusion (242) protruding toward the outer wall (223b) from an edge of the seal (240) facing the side on which the outer wall (223b) is located.

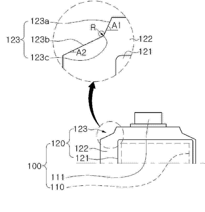
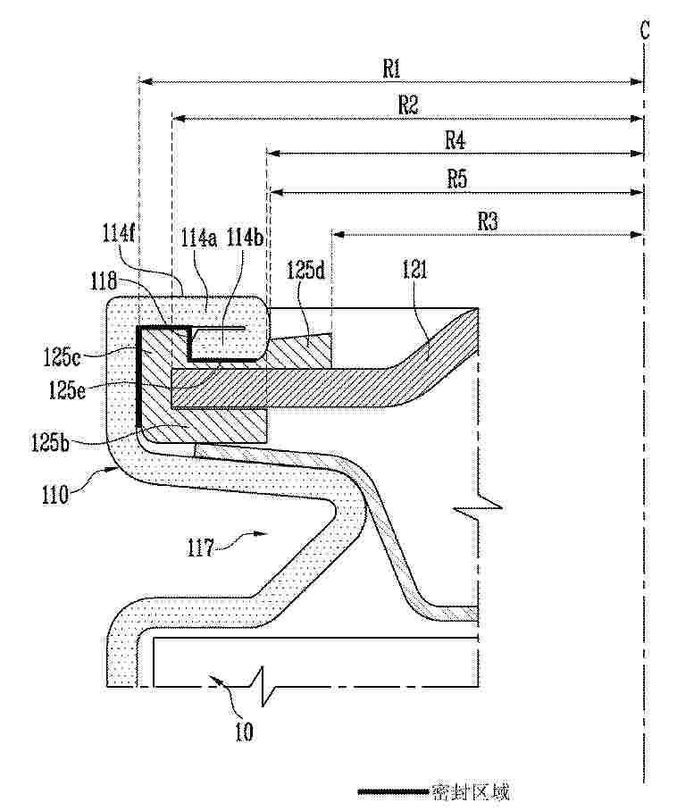
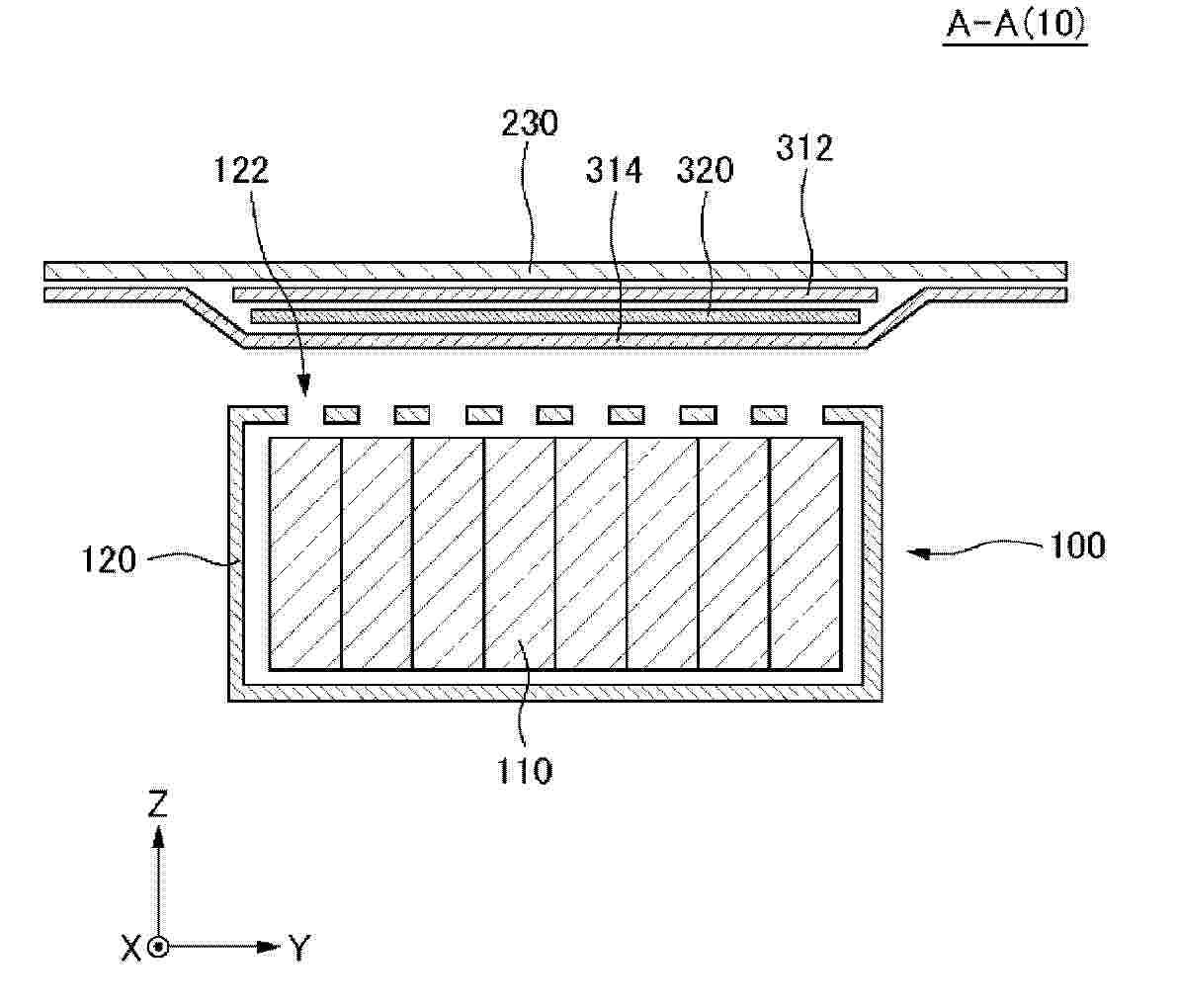
BATTERY PACK

NºPublicación:  WO2026048834A1 05/03/2026
Solicitante: 
AESC JAPAN LTD [JP]
\u682A\u5F0F\u4F1A\u793E\uFF21\uFF25\uFF33\uFF23\u30B8\u30E3\u30D1\u30F3
WO_2026048834_PA

Resumen de: WO2026048834A1

A battery pack (10) comprises: a battery module (100) having gas discharge holes (122); a pack housing (200) that houses the battery module (100); an upper protective member (312) and a lower protective member (314), which are positioned between the gas discharge holes (122) and the pack housing (200); and a reinforcing member (320) positioned between the gas discharge holes (122) and the pack housing (200), the reinforcing member (320) reinforcing the upper protective member (312) and the lower protective member (314).

SYSTEM AND METHOD FOR EXTRACTION OF LITHIUM FROM ACTIVE MATERIALS

NºPublicación:  WO2026047774A1 05/03/2026
Solicitante: 
METASTABLE MAT PRIVATE LIMITED [IN]
METASTABLE MATERIALS PRIVATE LIMITED
WO_2026047774_PA

Resumen de: WO2026047774A1

The various embodiments of the present invention provide a system and method for extraction of lithium from active materials of lithium iron phosphate battery. The method involves extraction of materials from spent battery and heating a mixture of the battery's black mass with suitable reagents at specific temperature in a predetermined ratio, to initiate a chemical reaction that efficiently produces lithium chloride, which is then extracted through water leaching. This method eliminates the need for harmful acids and solvents, operates at lower temperatures, and directly produces lithium chloride in a form that is both pure and economically valuable. Furthermore, the process is environmentally friendly, reduces operational costs, and enhances lithium recovery rates. By-products such as calcium fluorophosphate and iron oxide are also repurposed, supporting sustainability and reducing waste. This system offers a significant improvement over traditional methods, providing a safer, more sustainable, and cost-effective solution for recycling Lithium ion batteries.

SECONDARY BATTERY AND ELECTROLYTE SOLUTION

NºPublicación:  WO2026047500A1 05/03/2026
Solicitante: 
SEMICONDUCTOR ENERGY LABORATORY CO LTD [JP]
\u682A\u5F0F\u4F1A\u793E\u534A\u5C0E\u4F53\u30A8\u30CD\u30EB\u30AE\u30FC\u7814\u7A76\u6240
WO_2026047500_PA

Resumen de: WO2026047500A1

Provided is a secondary battery or an electrolyte solution that exhibits excellent battery characteristics below the ice point. According to the present invention, a secondary battery includes an electrolyte solution that includes at least a lithium salt and a mixed solvent that includes a cyclic carbonate and a chain carbonate, the molar ratio (CH/CY) of the chain carbonate (CH) to the cyclic carbonate (CY) being greater than 1.5, and the concentration of the lithium salt per liter of the mixed solvent being 0.25-1 mol.

SECONDARY BATTERY

NºPublicación:  WO2026047503A1 05/03/2026
Solicitante: 
SEMICONDUCTOR ENERGY LABORATORY CO LTD [JP]
\u682A\u5F0F\u4F1A\u793E\u534A\u5C0E\u4F53\u30A8\u30CD\u30EB\u30AE\u30FC\u7814\u7A76\u6240
WO_2026047503_PA

Resumen de: WO2026047503A1

Provided are a secondary battery excellent in charge/discharge characteristics and impact resistance and a method for manufacturing the same. The secondary battery includes a positive electrode, a negative electrode, and an exterior body that houses the positive electrode and the negative electrode, wherein: on one side of the exterior body, the positive electrode and the exterior body are connected at at least two locations and the negative electrode and the exterior body are connected at at least two locations; the positive electrode includes a positive electrode active material layer; the positive electrode active material layer contains lithium cobalt oxide; the lithium cobalt oxide has, in a surface layer part, magnesium, titanium, aluminum, and nickel; the surface layer part is a region within 50 nm from the surface of the lithium cobalt oxide; and when STEM-EDX line analysis is performed in the depth direction of the surface layer part, the aluminum has a peak closer to the inside of the lithium cobalt oxide than the magnesium.

NEGATIVE ELECTRODE MATERIAL

NºPublicación:  WO2026046441A1 05/03/2026
Solicitante: 
BTR NEW MAT GROUP CO LTD [CN]
PANASONIC ENERGY CO LTD [JP]
\u8D1D\u7279\u745E\u65B0\u6750\u6599\u96C6\u56E2\u80A1\u4EFD\u6709\u9650\u516C\u53F8,
\u677E\u4E0B\u65B0\u80FD\u6E90\u682A\u5F0F\u4F1A\u793E
WO_2026046441_PA

Resumen de: WO2026046441A1

The present application provides a negative electrode material. The negative electrode material comprises a carbon matrix and a silicon material, wherein at least part of the silicon material is located in the carbon matrix. N positions are randomly selected on the particles of the negative electrode material to perform Raman spectra measurement, and it is measured that the negative electrode material has a first characteristic peak at 1342±10 cm-1, a second characteristic peak at 1595±10 cm-1, a third characteristic peak at 480±10 cm-1, and a fourth characteristic peak at 517±10 cm-1, wherein the average value of the peak intensity ratio I1/I2 of the first characteristic peak to the second characteristic peak measured at the N positions is P, the average value of the peak intensity ratio I3/I4 of the third characteristic peak to the fourth characteristic peak measured at the N positions is S, and the negative electrode material satisfies: 0.9

SOLID ELECTROLYTE, MATERIAL FOR PRODUCING SOLID ELECTROLYTE , METHOD FOR PRODUCING SOLID ELECTROLYTE, AND POWER STORAGE ELEMENT

NºPublicación:  WO2026049016A1 05/03/2026
Solicitante: 
GS YUASA INT LTD [JP]
\u682A\u5F0F\u4F1A\u793E\uFF27\uFF33\u30E6\u30A2\u30B5
WO_2026049016_PA

Resumen de: WO2026049016A1

A solid electrolyte according to one aspect of the present invention contains elemental lithium, elemental phosphorus, elemental silicon, elemental sulfur, and a halogen element. The molar ratio of the elemental silicon content to the total elemental phosphorus and silicon content (Si/(P+Si)) is 0.12 or greater. The halogen element contains elemental bromine and/or elemental iodine, and the molar ratio of the total elemental bromine content and the elemental iodine and halogen element content ((Br+I)/X) is 0.30 or greater. In an X-ray diffraction pattern (CuKα), diffraction peaks are present across a diffraction angle 2θ of 20.0° ± 0.5° and across a diffraction angle 2θ of 29.3° ±0.5°. In the X-ray pattern, either no diffraction peak is not present across a diffraction angle 2θ of 17.5° ±0.5°, or a diffraction peak is present across a diffraction angle 2θ of 17.5° ±0.5°, and the intensity of the diffraction peak across the diffraction angle 2θ of 17.5° ± 0.5° is equal to or less than 1/5 the intensity of the diffraction peak across the diffraction angle 2θ of 20.0°± 0.5°.

SOLID ELECTROLYTE, MATERIAL FOR SOLID ELECTROLYTE PRODUCTION, METHOD FOR PRODUCING SOLID ELECTROLYTE, AND ELECTRICAL STORAGE DEVICE

NºPublicación:  WO2026049014A1 05/03/2026
Solicitante: 
GS YUASA INT LTD [JP]
\u682A\u5F0F\u4F1A\u793E\uFF27\uFF33\u30E6\u30A2\u30B5
WO_2026049014_PA

Resumen de: WO2026049014A1

A solid electrolyte according to one aspect of the present invention contains a lithium element, a phosphorus element, a silicon element, a sulfur element, and a halogen element, in which the molar ratio (Si/(P+Si)) of the content of the silicon element to the total content of the phosphorus element and the silicon element is 0.04-0.55 inclusive, the molar ratio (S/(P+Si)) of the content of the sulfur element to the total content of the phosphorus element and the silicon element is 3.50-4.10 inclusive, the halogen element contains at least one of a bromine element and an iodine element, and the molar ratio ((Br+I)/X) of the total content of the bromine element and the iodine element to the content of the halogen element is 0.80 or more, and the solid electrolyte has a predetermined crystal structure.

POSITIVE ELECTRODE ACTIVE MATERIAL FOR LITHIUM ION SECONDARY BATTERIES, AND LITHIUM ION SECONDARY BATTERY

NºPublicación:  WO2026049011A1 05/03/2026
Solicitante: 
SUMITOMO METAL MINING CO [JP]
\u4F4F\u53CB\u91D1\u5C5E\u9271\u5C71\u682A\u5F0F\u4F1A\u793E
WO_2026049011_A1

Resumen de: WO2026049011A1

Provided is a positive electrode active material for lithium ion secondary batteries, that exhibits high-voltage resistance, is practical for use in lithium ion secondary batteries, and has a high battery capacity. The positive electrode active material for lithium ion secondary batteries has particles of a lithium-nickel composite oxide and has a coating layer that covers at least a portion of the surface of the lithium-nickel composite oxide particles. The lithium-nickel composite oxide contains, as elements other than oxygen, Li, Ni, and at least one of Co and Mn and optionally an element M. The mass ratio among these elements is given by Li : Ni : Co : Mn : M = t : 1-x-y-z : x : y : z (0.95 ≤ t ≤ 1.20, 0.20 < x + y ≤ 0.67, 0 ≤ z ≤ 0.15). The coating layer contains a compound that contains Li, P, and an element X (X is at least one element selected from the group consisting of elements that form a hexavalent cation).

SUBSTOICHIOMETRIC LITHIUM TRANSITION METAL ORTHOBORATES AS LI-ION BATTERY CATHODES

NºPublicación:  WO2026050707A1 05/03/2026
Solicitante: 
MITRA FUTURE TECH INC [US]
MITRA FUTURE TECHNOLOGIES, INC
WO_2026050707_A1

Resumen de: WO2026050707A1

The present technology provides new and improved Li transition metal orthoborates comprising a sum of metal elements other than Li that is less than one when normalized to the stoichiometry of boron.

METHODS FOR RECOVERY OF CRITICAL MATERIALS FROM BATTERY WASTE

NºPublicación:  WO2026050145A1 05/03/2026
Solicitante: 
VIRGINIA TECH INTELLECTUAL PROPERTIES INC [US]
VIRGINIA TECH INTELLECTUAL PROPERTIES INC
WO_2026050145_PA

Resumen de: WO2026050145A1

In one aspect, the disclosure relates to a method for recovering critical materials, comprising: combining a sample of black mass and a loading solvent, thereby forming a first mixture; heating the first mixture at a pressure of about 150 psi to about 600 psi, thereby forming a treated mixture comprising a solid residue and an aqueous solution; and separating the solid residue from the aqueous solution; wherein the sample of black mass comprises at least one critical material; wherein the loading solvent comprises at least one leaching agent and at least one reducing agent, wherein the reducing agent comprises a biomass feedstock; and wherein the treated mixture comprises at least one critical material. This abstract is intended as a scanning tool for purposes of searching in the particular art and is not intended to be limiting of the present disclosure.

RECHARGEABLE LITHIUM-ION MICRO-BATTERY AND METHODS OF MAKING AND USING THE SAME

NºPublicación:  WO2026049720A1 05/03/2026
Solicitante: 
BATTELLE MEMORIAL INST [US]
BATTELLE MEMORIAL INSTITUTE
WO_2026049720_PA

Resumen de: WO2026049720A1

A cylindrical battery having a wound jelly roll configuration that includes an anode current collector having a first surface and an opposing second surface; at least one anode disposed on the first surface of the anode current collector; at least one Li metal film disposed on the first surface anode current collector, wherein the at least one Li metal film is spaced apart from the anode; a cathode current collector having a first surface and an opposing second surface; at least one cathode disposed on the first surface of the cathode current collector; and a first membrane separator positioned between the anode and the cathode.

ELECTRODE FOR LITHIUM SECONDARY BATTERY AND LITHIUM SECONDARY BATTERY COMPRISING SAME

NºPublicación:  WO2026049459A1 05/03/2026
Solicitante: 
SK ON CO LTD [KR]
\uC5D0\uC2A4\uCF00\uC774\uC628 \uC8FC\uC2DD\uD68C\uC0AC
WO_2026049459_A1

Resumen de: WO2026049459A1

An electrode for a lithium secondary battery according to embodiments of the present disclosure comprises an electrode plate including lithium metal and a coating layer disposed on at least one surface of the electrode plate and including a fluorinated polyimide-based resin and boron nitride.

WATER-BASED BINDER FOR LITHIUM SECONDARY BATTERY, AND LITHIUM SECONDARY BATTERY INCLUDING SAME

NºPublicación:  WO2026049451A1 05/03/2026
Solicitante: 
LG ENERGY SOLUTION LTD [KR]
SEOUL NATIONAL UNIV R&DB FOUNDATION [KR]
\uC8FC\uC2DD\uD68C\uC0AC \uC5D8\uC9C0\uC5D0\uB108\uC9C0\uC194\uB8E8\uC158,
\uC11C\uC6B8\uB300\uD559\uAD50\uC0B0\uD559\uD611\uB825\uB2E8
WO_2026049451_PA

Resumen de: WO2026049451A1

The present invention relates to a binder that can be used in a lithium secondary battery, particularly a lithium-sulfur battery, and is prepared by RAFT polymerization, comprises a polyalkyl methacrylate-derived block and a polyacrylic acid-derived block with a thiocarbonyl thio functional group at the center thereof, and comprises an aliphatic functional group at the end thereof. Therefore, electrical conductivity and elution of lithium polysulfide in an electrode using the binder are suppressed.

ELECTRODE ROLLING APPARATUS AND ELECTRODE ROLLING METHOD

NºPublicación:  WO2026049441A1 05/03/2026
Solicitante: 
LG ENERGY SOLUTION LTD [KR]
\uC8FC\uC2DD\uD68C\uC0AC \uC5D8\uC9C0\uC5D0\uB108\uC9C0\uC194\uB8E8\uC158
WO_2026049441_PA

Resumen de: WO2026049441A1

The present invention provides an electrode rolling apparatus and an electrode rolling method, wherein the heating position of an induction heating unit is controlled by reflecting a change in position of an uncoated portion of an electrode sheet or the rate of movement of the electrode sheet, thereby uniformly heating the entire area of the uncoated portion and minimizing the range in which the uncoated portion does not receive heat.

APPLICATION DEVICE

NºPublicación:  WO2026048358A1 05/03/2026
Solicitante: 
PANASONIC IP MAN CO LTD [JP]
\u30D1\u30CA\u30BD\u30CB\u30C3\u30AF\uFF29\uFF30\u30DE\u30CD\u30B8\u30E1\u30F3\u30C8\u682A\u5F0F\u4F1A\u793E
WO_2026048358_PA

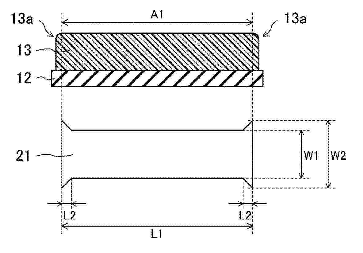
Resumen de: WO2026048358A1

According to the present invention, an application device comprises a die head 20 for applying a slurry 13. The die head 20 has a slit 21 that has an opening through which the slurry 13 is discharged. At the opening of the slit 21, the slit width W2 at both ends in the longitudinal direction of the slit 21 is up to 20% greater than the slit width W1 at the center in the longitudinal direction of the slit 21.

POWER STORAGE DEVICE

NºPublicación:  WO2026048657A1 05/03/2026
Solicitante: 
GS YUASA INT LTD [JP]
\u682A\u5F0F\u4F1A\u793E\uFF27\uFF33\u30E6\u30A2\u30B5
WO_2026048657_PA

Resumen de: WO2026048657A1

This power storage device comprises a first power storage element and a second power storage element. The first power storage element is provided with: a first electrode body in which a positive electrode plate and a negative electrode plate are layered; a first electrolyte which comprises a non-aqueous potassium-ion electrolyte or a non-aqueous sodium-ion electrolyte; a first rectangular container which accommodates the first electrode body and the first electrolyte and which is electrically connected to the negative electrode plate of the first electrode body; and a positive electrode terminal which is disposed outside the first rectangular container in a state of being insulated from the first rectangular container and which is electrically connected to the positive electrode plate of the first electrode body. The second power storage element is provided with: a second electrode body in which a positive electrode plate and a negative electrode plate are layered; a second electrolyte which comprises a non-aqueous potassium-ion electrolyte or a non-aqueous sodium-ion electrolyte; a second rectangular container which accommodates the second electrode body and the second electrolyte and which is electrically connected to the positive electrode plate of the second electrode body; and a negative electrode terminal which is disposed outside the second rectangular container in a state of being insulated from the second rectangular container and which is electrically connected to t

THERMAL MANAGEMENT SYSTEM AND THERMAL MANAGEMENT METHOD FOR BATTERY SWAP STATION, AND BATTERY SWAP STATION

NºPublicación:  WO2026046183A1 05/03/2026
Solicitante: 
CONTEMPORARY AMPEREX TECH CO LIMITED [CN]
\u5B81\u5FB7\u65F6\u4EE3\u65B0\u80FD\u6E90\u79D1\u6280\u80A1\u4EFD\u6709\u9650\u516C\u53F8
WO_2026046183_PA

Resumen de: WO2026046183A1

Disclosed in the present application are a thermal management system and thermal management method for a battery swap station, and a battery swap station. The thermal management system comprises a refrigerant subsystem, a first coolant subsystem configured to exchange heat with air, and a second coolant subsystem configured to exchange heat with batteries in the battery swap station. The refrigerant subsystem comprises a first heat exchanger group and a second heat exchanger group which are in communication with each other via refrigerant piping, the second heat exchanger group being used for heat exchange with a preset space. The first coolant subsystem comprises heat dissipation piping and a heat dissipation assembly, wherein a first end of the heat dissipation piping is connected to a liquid inlet of the heat dissipation assembly, and a second end of the heat dissipation piping is connected to a liquid outlet of the heat dissipation assembly. Part of the heat dissipation piping is configured to allow heat exchange with the first heat exchanger group. The second coolant subsystem can be connected to or disconnected from the heat dissipation piping. The system of the present application can effectively use the external environment to reduce energy consumption of the system, thereby improving the energy saving performance of the system, and reducing the overall energy consumption of the system.

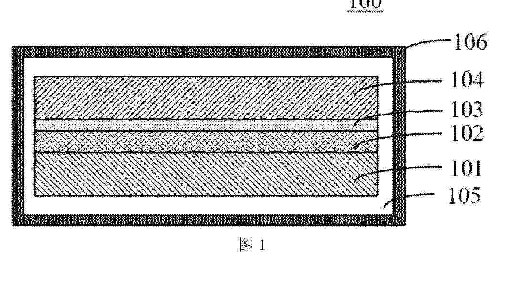
ELECTROLYTE, LITHIUM-ION BATTERY, ELECTRIC DEVICE, AND ENERGY STORAGE SYSTEM

Nº publicación: WO2026046179A1 05/03/2026

Solicitante:

BYD COMPANY LTD [CN]
\u6BD4\u4E9A\u8FEA\u80A1\u4EFD\u6709\u9650\u516C\u53F8

WO_2026046179_PA

Resumen de: WO2026046179A1

An electrolyte (105), a lithium-ion battery (100), an electric device, and an energy storage system. The electrolyte (105) is suitable for a lithium-ion battery (100) comprising a lithium supplementing agent; the electrolyte (105) comprises an organic additive; the organic additive can be dissolved in the electrolyte (105); the oxidation-reduction potential of the organic additive is greater than the decomposition potential of the lithium supplementing agent. The organic additive can promote decomposition of the lithium supplementing agent and effectively reduce the decomposition potential of the lithium supplementing agent, thereby achieving the purpose of compensating for lithium loss of the lithium-ion battery. Moreover, the organic additive is easily dissolved in the electrolyte (105), diffuses to the surface of the lithium supplementing agent along with the electrolyte (105), and is in full contact with the lithium supplementing agent, thereby fully reducing the decomposition potential of the lithium supplementing agent, and increasing the utilization rate of the lithium supplementing agent.

traducir