Ministerio de Industria, Turismo y Comercio LogoMinisterior
 

Alerta

Resultados 168 resultados
LastUpdate Última actualización 05/04/2026 [07:55:00]
pdfxls
Solicitudes publicadas en los últimos 120 días / Applications published in the last 120 days
previousPage Resultados 125 a 150 de 168 nextPage  

ENHANCED TRIACYLGLYCEROL PRODUCTIVITY AND EXTRACTABILITY IN AN ENGINEERED MICROALGA

NºPublicación:  US2025388850A1 25/12/2025
Solicitante: 
COMMISSARIAT A LENERGIE ATOMIQUE ET AUX ENERGIES ALTERNATIVES [FR]
UNIV GRENOBLE ALPES [FR]
CENTRE NATIONAL DE LA RECHERCHE SCIENT CNRS [FR]
INSTITUT NATIONAL DE RECH POUR L\u2019AGRICULTURE L\u2019ALIMENTATION ET L\u2019ENVIRONNEMENT [FR]
COMMISSARIAT A L'ENERGIE ATOMIQUE ET AUX ENERGIES ALTERNATIVES,
UNIVERSITE GRENOBLE ALPES,
CENTRE NATIONAL DE LA RECHERCHE SCIENTIFIQUE (CNRS),
Institut national de recherche pour l\u2019agriculture, l\u2019alimentation et l\u2019environnement
CN_119731197_A

Resumen de: US2025388850A1

The present invention relates to an engineered unicellular Stramenopile microalga comprising a loss of function of the homologous Seipin gene, an in vitro method of producing triacylglycerols (TAG), and uses thereof.

METHOD FOR PRODUCING COLONIES OF NOSTOC CYANOBACTERIA AND COLONY PRODUCTION SYSTEM

NºPublicación:  JP2025187364A 25/12/2025
Solicitante: 
UNIV SHINSHU
KUMAGAI GUMI CO LTD
MICROALGAE CORP
\u56FD\u7ACB\u5927\u5B66\u6CD5\u4EBA\u4FE1\u5DDE\u5927\u5B66
JP_2025187364_A

Resumen de: JP2025187364A

To provide a method that enables efficient production of colonies of Nostoc cyanobacteria, and a colony production system.SOLUTION: A method for producing colonies of Nostoc cyanobacteria, the cyanobacteria having, in a life cycle, a phase of releasing hormogonia from a colony and a phase of forming a sheath on an outer side of the hormogonia and proliferating inside the sheath to form daughter colonies, the method comprising: (a) attaching hormogonia released from a parent colony to a mesh-like or thread-like carrier, or to an edible elongated carrier; and (b) culturing the hormogonia attached to the carrier in a culture medium to form daughter colonies.SELECTED DRAWING: Figure 2

ANIMAL PROTEINS IN CYANOBACTERIA

NºPublicación:  EP4665748A2 24/12/2025
Solicitante: 
INGREDIOME INC [IL]
Ingrediome Inc
WO_2024170959_A2

Resumen de: WO2024170959A2

In some embodiments, the gene is integrated into the genome of the cyanobacteria. In some of these embodiments, the gene is integrated into an NS1 site of the cell. The sequence encoding an animal protein is optimized for expression in the cyanobacteria. In some embodiments, the animal protein is a muscle protein. In some of these embodiments, the muscle protein is a myosin subunit, myoglobin, or alpha-actin. In other embodiments, the animal protein is a subunit of a complex. In some of these embodiments, the complex is a myosin complex. The production of proteins by modified cells may be performed in multiple different cells, in some embodiments, the cyanobacteria cell is S. elongatus is PCC7942 or UTEX2973 or PCC7002, or Synechocystis sp. PCC6803. In some embodiments, multiple genes are incorporated into a cell. In some embodiments, each gene comprises a myosin complex subunit. The myosin complex subunits are MLC1, MLC2, and MYH2.

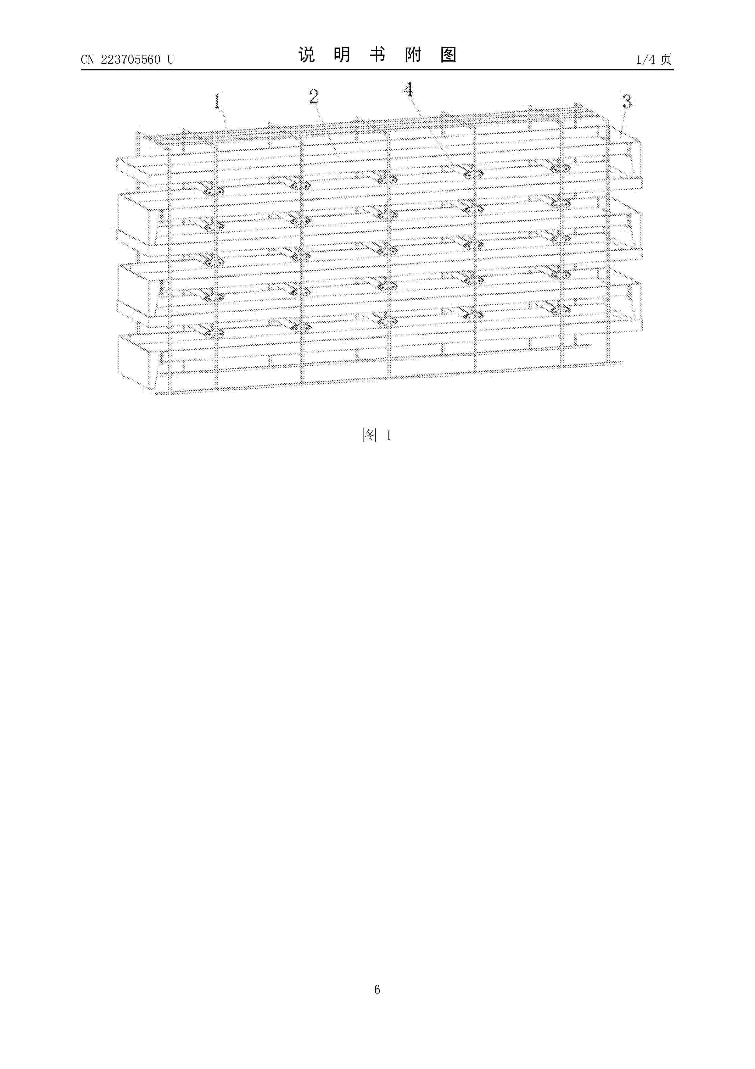
Open shallow water microalgae adherent culture device

NºPublicación:  CN223705560U 23/12/2025
Solicitante: 
ZHU YUNQIANG
YANTAI INSTITUTE OF COASTAL ZONE RES CHINESE ACADEMY OF SCIENCES
\u6731\u4E91\u5F3A,
\u4E2D\u56FD\u79D1\u5B66\u9662\u70DF\u53F0\u6D77\u5CB8\u5E26\u7814\u7A76\u6240
CN_223705560_U

Resumen de: CN223705560U

The utility model relates to the technical field of algae culture devices, in particular to an open shallow-water microalgae adherent culture device which comprises a transverse rectangular supporting frame, a plurality of culture substrates are sequentially and flatly laid on the supporting frame from top to bottom at equal intervals, and the section of each culture substrate is in a groove shape. One end of the culture substrate is provided with an integrated blocking plate, and the other end is open and hermetically connected with a funnel; the funnel is embedded into one side of the blocking plate of the adjacent culture substrate; a plurality of incandescent lamps are arranged between every two adjacent culture substrates in the transverse direction at equal intervals, and the incandescent lamps are fixedly arranged on the supporting frame in the longitudinal direction. The diatom growth is promoted through natural light and an incandescent lamp, and a thin culture solution is formed on the bottom surface of the culture substrate, so that the diatom can statically grow on the bottom surface of the culture substrate and finally form a biological membrane with a certain thickness, and the biological membrane can be directly observed and collected.

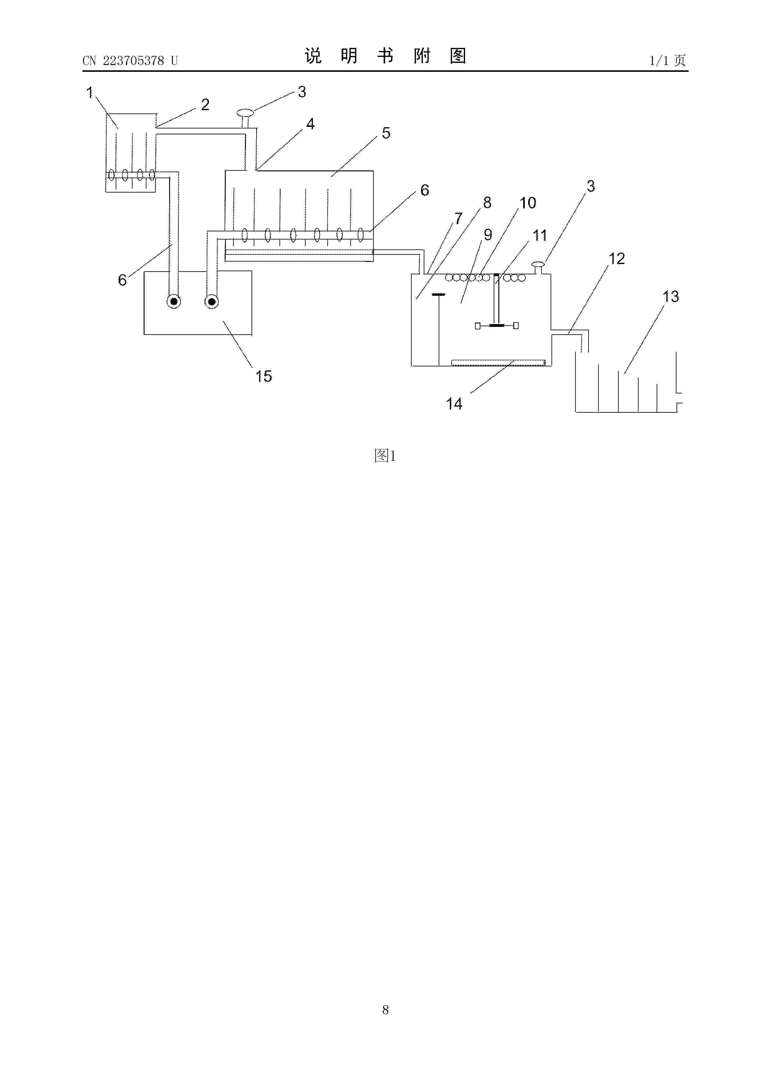
Fishery breeding tail water treatment and nitrogen and phosphorus resource utilization algae culture device

NºPublicación:  CN223705378U 23/12/2025
Solicitante: 
QUFU NORMAL UNIV
\u66F2\u961C\u5E08\u8303\u5927\u5B66
CN_223705378_U

Resumen de: CN223705378U

The utility model belongs to the technical field of fishpond breeding tail water treatment, and particularly relates to a fishpond breeding tail water treatment and nitrogen and phosphorus resource utilization algae culture device. The algae culture device for fishery breeding tail water treatment and nitrogen and phosphorus resource utilization comprises a front-end biological treatment unit, a nitrogen and phosphorus resource utilization algae culture unit, an effluent oxygenation unit and a device chamber, the front-end biological treatment unit comprises a first-echelon biological treatment device and a second-echelon biological treatment device, the first-echelon biological treatment device, the second-echelon biological treatment device and the nitrogen and phosphorus resource utilization algae culture unit are sequentially connected, and the nitrogen and phosphorus resource utilization algae culture unit is provided with an LED lighting system and a stirring device. The effluent oxygenation unit is connected with the nitrogen and phosphorus resource utilization algae culture unit and is provided with a stepped oxygenation device. According to the device, the carbon, nitrogen and phosphorus treatment of the fishpond culture tail water is realized, and the effluent rich in microalgae flows back into the fishpond, so that the culture tail water is recycled, and the feed feeding is reduced. In addition, the equipment also has the advantages of high integration level, small

Method for verifying function of Cre in oil-producing microalgae and application of Cre in enhancing biosynthesis of eicosapentaenoic acid

NºPublicación:  CN121160751A 19/12/2025
Solicitante: 
INST OF HYDROBIOLOGY CHINESE ACADEMY OF SCIENCES
NINGBO UNIV
\u4E2D\u56FD\u79D1\u5B66\u9662\u6C34\u751F\u751F\u7269\u7814\u7A76\u6240,
\u5B81\u6CE2\u5927\u5B66
CN_121160751_PA

Resumen de: CN121160751A

The invention provides a method for verifying functions of Cre in oil-producing microalgae and application of the method in enhancing biosynthesis of eicosapentaenoic acid, and belongs to the technical field of genetic modification. According to the invention, functional verification of Cre in oil-producing microalgae is completed by a method of inserting an intron from an endogenous Phatr3J51169 gene of phaeodactylum tricornutum into a Cre gene, that is, a selection marker located between two loxP sequences can be removed, and a free plasmid transformation method more suitable for Cre removal is further developed. Based on a Cre/loxP system, the expression of EPA synthetic pathway genes in the oil-producing microalgae is enhanced to obtain an engineering algal strain with high yield of EPA, and compared with a wild type, the relative content of EPA can be increased by 24.7%.

Method for promoting microalgae growth by using pharmaceutical product

NºPublicación:  CN121160592A 19/12/2025
Solicitante: 
BINZHOU MEDICAL COLLEGE
\u6EE8\u5DDE\u533B\u5B66\u9662
CN_121160592_PA

Resumen de: CN121160592A

The invention belongs to the technical field of microalgae biology and culture, and particularly relates to a method for promoting microalgae growth by using a pharmaceutical product, which comprises the following steps: activating microalgae on a solid flat plate, inoculating the activated microalgae into a liquid culture medium, adding the pharmaceutical product at the initial stage of microalgae growth, placing in a constant-temperature shaking table, and carrying out illumination culture. According to the method, different types of pharmaceutical products with different concentrations are added into the microalgae, the influence of the addition of the different types of pharmaceutical products with different concentrations on the growth promotion of the microalgae is analyzed, the biomass of the chlorella can be rapidly increased, and the method has important significance on the large-scale production of the microalgae.

Long-term operation and resourceful treatment method of phycomycete

NºPublicación:  CN121158966A 19/12/2025
Solicitante: 
ZHEJIANG NORMAL UNIV
\u6D59\u6C5F\u5E08\u8303\u5927\u5B66
CN_121158966_PA

Resumen de: CN121158966A

The invention belongs to the technical field of phycomycete sewage recycling, and particularly relates to a phycomycete symbiotic system long-term operation and resourceful treatment method which comprises the following steps: constructing a phycomycete symbiotic system containing microalgae and activated sludge; the phycomycete symbiotic system is placed in an optical sequencing batch reactor to operate, the chitosan-diatomite composite material is added in the operation process, and the chitosan-diatomite composite material is added after each time of drainage; the method comprises the following steps: preparing a phycomycete suspension, carrying out vacuum freeze drying on the phycomycete suspension to obtain freeze-dried phycomycete mud, grinding the phycomycete mud into powder, and extracting lipids in the powder. The method provided by the invention can stably operate for a long time, not only improves the removal effect of pollutants, but also remarkably enhances the flocculation performance and lipid productivity of a phycomycete system, has the characteristics of pollutant removal and efficient recycling of resource products, and has wide application prospects of sewage resource utilization and biological energy development.

Light-wind-heat coupling enhanced hot spring thermophilic cyanobacteria culture photobioreactor

NºPublicación:  CN121160439A 19/12/2025
Solicitante: 
NANJING UNIV
\u5357\u4EAC\u5927\u5B66
CN_121160439_PA

Resumen de: CN121160439A

The invention discloses a light-wind-heat coupling enhanced hot spring cyanobacteria culture photobioreactor. The photobioreactor comprises a reactor main body, a light source system, a floating type supply device, an attachment device, a control system and an energy supply system, wherein the reactor main body is connected with the energy supply system, and energy supply to the reactor main body is completed by utilizing light energy and wind energy; a floating type supply device is arranged at the bottom of the reactor main body and is used for providing sufficient CO2 and other nutrient substances for the thermophilic cyanobacteria; the thermal insulation cylinder is arranged in the reactor main body, so that heat dissipation in the bioreactor is remarkably reduced; an adhesion system is arranged in the reactor, so that the adhesion habitat environment of the thermophilic cyanobacteria in the hot spring is reduced, and later recovery is facilitated. According to the invention, environmental conditions required by growth and reproduction of thermophilic cyanobacteria in the hot spring can be automatically controlled in a low-carbon clean state, and a reliable scheme is provided for ectopic large-scale culture of thermophilic microorganisms.

Chlamydomonas reinhardtii metabolic enzyme protein nuclear localization method based on BCCP fusion targeting

NºPublicación:  CN121160750A 19/12/2025
Solicitante: 
WESTLAKE UNIV
\u897F\u6E56\u5927\u5B66
CN_121160750_PA

Resumen de: CN121160750A

The invention discloses a BCCP fusion targeting-based chlamydomonas reinhardtii metabolic enzyme protein nuclear localization method, which comprises the following steps: carrying out fusion expression on acetyl coenzyme A carboxylase (ACC) biotin carboxyl carrier protein (BCCP) subunit and target protein, and realizing specific enrichment of fusion protein on the periphery of a protein nucleus by utilizing the natural protein nucleus targeting characteristic of BCCP. The invention provides a novel method for constructing a chlamydomonas reinhardtii engineering strain capable of efficiently utilizing inorganic carbon; the method has important application value in the fields of microalgae carbon capture, biofuel production, high-added-value compound synthesis and the like.

Aluminum electrolysis flue gas treatment and recovery method based on microalgae staged culture

NºPublicación:  CN121155338A 19/12/2025
Solicitante: 
CHINALCO ZHENGZHOU NONFERROUS METALS RES INSTITUTE CO LTD
\u4E2D\u94DD\u90D1\u5DDE\u6709\u8272\u91D1\u5C5E\u7814\u7A76\u9662\u6709\u9650\u516C\u53F8
CN_121155338_PA

Resumen de: CN121155338A

The invention provides an aluminum electrolysis flue gas treatment and recovery method based on microalgae staged culture, and belongs to the field of biological purification and recycling of industrial flue gas. The method comprises the following steps: pretreating the aluminum electrolysis flue gas to obtain purified flue gas; introducing the purified flue gas into a photobioreactor inoculated with fluorine-resistant microalgae, and carrying out I-stage tolerance period culture to obtain an algae solution; transferring the algae liquid into a photobioreactor, adding CaCl2 into the algae liquid and limiting the supply of a nitrogen source, and introducing purified flue gas into a second photobioreactor to carry out II-stage accumulation period culture, so as to obtain algae slurry; carrying out solid-liquid separation on the algae slurry to obtain algae mud and algae-containing filtrate; the algae mud is subjected to wall breaking treatment and supercritical extraction, and algae oil and algae residues are obtained. According to the application, the pollutant tolerance mechanism and the product synthesis path of the microalgae are triggered by regulating and controlling environmental factors, so that efficient purification of flue gas, fixation of fluorine in the form of biominerals, step-by-step extraction of high-value products from algae and cyclic utilization of algae residues can be synchronously realized.

A PLANKTONIC STRAIN OF THE UNICELLULAR GREEN MICROALGAE CHLORELLA VULGARIS KD BCF, INTENDED FOR BIOMASS PRODUCTION

NºPublicación:  WO2025257611A1 18/12/2025
Solicitante: 
DANILOV ELI [IL]
DANILOV, Eli
WO_2025257611_A1

Resumen de: WO2025257611A1

The invention relates to biotechnology and represents a new planktonic strain of the unicellular green microalgae Chlorella vulgaris, intended for biomass production. The planktonic strain of the unicellular green microalgae Chlorella vulgaris KD BCF, deposited in CCAP under number 211/144, is intended for biomass production. It meets the requirements for industrial cultivation and can be used for a wide range of applications: as a food product, for the production of beverages, as a raw material for the manufacture of pharmaceuticals and dietary supplements, as animal feed, as an algolisant for biological rehabilitation of water bodies, and for wastewater treatment. 1 example.

A METHOD OF PRODUCING SINGLE CELL PROTEIN FROM WHEY

NºPublicación:  WO2025256873A1 18/12/2025
Solicitante: 
TRAKIA UNIV [BG]
TRAKIA UNIVERSITY
WO_2025256873_A1

Resumen de: WO2025256873A1

The present invention is generally concerned with the field of microbial fermentation of dairy or dairy alterative industry waste material and microbial protein production such as single cell protein (SCP). In particular the present invention is directed to microbial fermentation of dairy derived or dairy alternative derived whey for production of single cell proteins (SCP) or microbial biomass. More in particular, the present invention relates to a method of producing a single cell protein or biomass, comprising propagating a microbial culture in a large scale setting under suitable conditions and growth medium comprising dairy-derived whey to produce a single cell protein, where the microbial culture comprises microalgae, yeast and bacterial species (Figure 1). The present invention also relates to method of identifying a strain of microorganism, or mixture of strains of microorganisms, capable of efficiently using dairy-derived whey waste as a food source to produce biomass as a source of single cell protein. The present invention also relates to a propagated microbial culture or a composition and use of the culture in microbial fermentation. The present invention further provides a product or supplement comprising the composition of the present invention.

UV A method for screening microalgae with thin cell walls using UV and a new chlorella strain isolated using the same

NºPublicación:  KR20250176100A 18/12/2025
Solicitante: 
주식회사종근당바이오

Resumen de: KR20250176100A

본 발명은 UV를 이용한 세포벽이 얇은 미세조류 선별방법 및 이를 이용하여 분리한 새로운 클로렐라 균주에 관한 것이다. 본 발명을 이용하면 세포벽이 얇은 미세조류 균주를 효과적으로 선별할 수 있고, 상기 선별방법으로 분리된 클로렐라 소로키니아나 UTEX2744 (Chlorella Sorokiniana UTEX2744)는 야생형과 비교하였을 때 생장속도, 지질 함량, 전분 함량과 바이오매스 함량에서 유의한 차이가 없으면서도 세포벽이 얇아 더 많은 바이오 생산물을 얻을 수 있고 유전자 조작이 쉬운 우수한 생물자원으로 사용할 수 있다.

PROCESS FOR OPTIMIZING THE PRODUCTION OF MICROALGAL LIPIDS IN A PLANT USED FOR THE SIMULTANEOUS TREATMENT OF LIQUID AND GAS EFFLUENTS FROM ANAEROBIC DIGESTION, AND RELATED PLANT

NºPublicación:  EP4663740A1 17/12/2025
Solicitante: 
UNIV DEGLI STUDI DI NAPOLI FEDERICO II [IT]
UNIV TELEMATICA PEGASO S R L [IT]
Universit\u00E0 degli Studi di Napoli Federico II,
Universit\u00E0 Telematica Pegaso S.r.l
EP_4663740_PA

Resumen de: EP4663740A1

A process and a plant for the production of microalgal lipids with simultaneous treatment of the liquid and gaseous effluents of anaerobic digestion are described; the process includes the steps of: collecting the digestate and separating the liquid fraction from the dry fraction; mixing, within a loading step, the liquid fraction with water and with the reagents necessary to obtain a culture medium suitable for microalgal growth; continuously feeding the culture medium to the mixing step; simultaneously extracting the effluent from the mixing step to the discharge step; activating a recirculation between the mixing step and the absorption step, maintained in the absence of light; simultaneously extracting the effluent as treated biogas; separating the microalgal biomass from the effluent, for subsequent extraction of the lipids; collecting the digestate and separating the liquid fraction from the dry fraction, wherein this step must be implemented upstream of the process.

A method of producing single cell protein from whey

NºPublicación:  GB2641793A 17/12/2025
Solicitante: 
TRAKIA UNIV [BG]
Trakia University
GB_2641793_PA

Resumen de: GB2641793A

A method of producing single cell protein SCP or biomass comprises culturing microbial inoculum in a growth medium comprising dairy-derived whey. The method may comprise (i) inoculating growth medium comprising dairy-derived whey with a microbial inoculum to form an inoculated microbial mixture, (ii) incubating the inoculated microbial mixture at a first incubation temperature to generate a propagated starter culture, (iii) adding the starter culture to a growth medium comprising dairy-derived whey to form a fermentation mixture and incubating the fermentation mixture, and (iv) treating the fermentation mixture to produce a SCP. The fermentation mixture may be incubated at a second incubation temperature for at least 24 hrs. At least one of the strains in the microbial inoculum may be a microalga, a yeast, a fungi or a bacteria. The propagated starter culture preferably comprises a mixture of at least two strains of microalgae, at least two strains of fungi, at least two strains of yeast, and at least two strains of bacteria. A product or supplement comprising the biomass, a propagated microbial culture and use of the culture in microbial fermentation, and a method of identifying microorganisms capable of efficiently producing biomass using dairy-derived whey are also claimed.

Fucoidan composition and preparation method thereof for achieving an effective inhibition rate of 90% or more against human cancers through optimization of a formulation with multiple components

NºPublicación:  TW202547535A 16/12/2025
Solicitante: 
POLARCHAIN BIOTECHNOLOGY LTD [HK]
POLARCHAIN BIOTECHNOLOGY LIMITED
TW_202547535_PA

Resumen de: TW202547535A

The present invention relates to a Fucoidan composition and a preparation method thereof. The Fucoidan composition contains the following components in terms of weight percentage: Japanese Okinawa mozuku Fucoidan of 20 to 30%; Undaria pinnatifida Sporophyll Fucoidan of 25 to 35% from Tasmanian waters, Australia; Fucus vesiculosus Fucoidin of 25 to 35% from Tasmanian waters, Australia; microalgae Fucoidan of 5 to 10%; and microalgae Fucoxanthin of 1 to 5%. Through optimization of a formulation with multiple components, the present invention enables the prepared Fucoidan composition to achieve an effective inhibition rate of 90% or more against human colon cancer, human pancreatic cancer, human liver cancer, human prostate cancer, human breast cancer, or human lung cancer.

Device for resourcefully treating aquaculture wastewater by using microalgae

NºPublicación:  CN223674443U 16/12/2025
Solicitante: 
GUANGDONG ZHIHUAN ECOLOGICAL TECH CO LTD
\u5E7F\u4E1C\u7701\u667A\u73AF\u751F\u6001\u79D1\u6280\u6709\u9650\u516C\u53F8
CN_223674443_U

Resumen de: CN223674443U

The utility model relates to the technical field of aquaculture wastewater, and discloses a microalgae resourceful treatment aquaculture wastewater device, which is used for aquaculture tail water treatment and comprises a treatment pond, support legs are arranged at the bottom of the treatment pond, a water inlet pipe for introducing tail water into the treatment pond is arranged in the treatment pond, and a water outlet pipe for introducing the tail water into the treatment pond is arranged in the treatment pond. A microalgae treatment mechanism for treating the aquaculture tail water is arranged in the treatment pond. By culturing the green algae terrace, pollutants such as nitrogen and phosphorus in the water body are consumed by utilizing the biological activity of the green algae terrace, so that the efficient nitrogen-reducing and phosphorus-removing effects are realized. The biological treatment method not only is environment-friendly, but also can effectively remove harmful substances in the wastewater. Meanwhile, the position of the mounting framework can be adjusted according to the water level in the treatment pond, and it is ensured that the green alga apron is always in the optimal treatment state. When the abundance of green alga cells reaches a peak value and enters a decline stage, the green alga terrace can be easily taken out by simply adjusting the fixing assembly, and subsequent treatment or replacement is facilitated.

Center kitchen emission reduction system and emission reduction method

NºPublicación:  CN121135023A 16/12/2025
Solicitante: 
GUANGDONG UNIV OF TECHNOLOGY
\u5E7F\u4E1C\u5DE5\u4E1A\u5927\u5B66
CN_121135023_PA

Resumen de: CN121135023A

The invention discloses a central kitchen emission reduction system which comprises a wastewater treatment module and a tail gas treatment module, the wastewater treatment module comprises an oil-water separator, a coagulation precipitator, a microalgae photoreactor and a cyclone separator which are connected in sequence, and a water inlet pipe of the oil-water separator is connected with a water outlet of a central kitchen; the tail gas treatment module comprises a condenser and a purification tower, a gas inlet of the condenser is connected with an exhaust port of the central kitchen, a second exhaust pipe of the purification tower is connected with a gas inlet of the microalgae photoreactor, and a water outlet of the microalgae photoreactor is connected with a third water inlet of the cyclone separator. Grease and particles in wastewater of a central kitchen are purified through an oil-water separator and a coagulation precipitator, VOCs and particles in waste gas of the central kitchen are removed through a condenser and a purification tower, and the wastewater and the waste gas are treated through a microalgae photoreactor at the same time. The emission reduction system can reduce the emission of carbon dioxide in the tail gas of the central kitchen while cooperatively utilizing nutritional ingredients in the domestic wastewater of the central kitchen.

Method for improving dark fermentation level of microalgae astaxanthin by utilizing plant hormone pretreatment

NºPublicación:  CN121137109A 16/12/2025
Solicitante: 
HEBEI NORMAL UNIV
\u6CB3\u5317\u5E08\u8303\u5927\u5B66
CN_121137109_PA

Resumen de: CN121137109A

The invention discloses a method for improving the fermentation level of microalgae astaxanthin through plant hormone pretreatment, and belongs to the technical field of microalgae biology. According to the method, firstly, under the dark condition, two plant hormones including brassinolide and cytokinin are utilized to conduct pretreatment on a Chromococcus zoffii seed solution so as to increase the number of plastids, and then through shake-flask culture and fermentation tank fed-batch fermentation, it is proved that the strategy can promote accumulation of astaxanthin of Chromococcus zoffii under the nitrogen deficiency condition. The appropriate concentrations of the two plant hormones are both low, high light stress is not needed, the step operation is simple and convenient, and the production cost is reduced.

Microalgae biological culture device and method

NºPublicación:  CN121136792A 16/12/2025
Solicitante: 
ZHENGZHOU INSTITUTE OF TECH
\u90D1\u5DDE\u5DE5\u7A0B\u6280\u672F\u5B66\u9662
CN_121136792_PA

Resumen de: CN121136792A

The invention discloses a microalgae biological culture device and method. The culture device comprises a support and a funnel-shaped round cylinder arranged on the support, a pointed cone is arranged in the center of the funnel-shaped round cylinder, flow guide twisted lines are arranged on the pointed cone, a circulating water injection pipe is arranged on the side wall of the funnel-shaped round cylinder, and a culture water input pipe and a microalgae output pipe are arranged at the bottom of the funnel-shaped round cylinder. The culture method comprises the following steps: pumping culture water into a funnel-shaped cylinder through a culture water input pipe until a target volume is reached, inoculating microalgae, and circularly injecting the culture water into the top of the funnel-shaped cylinder from the bottom of the funnel-shaped cylinder through a circulating water injection pipe to form an inward vortex, so that the microalgae grow; and after the growth is finished, closing the circulating water injection pipe, naturally standing, gathering the microalgae concentrated solution to the central position of the funnel-shaped cylinder, and collecting from the microalgae output pipe. According to the invention, through the funnel-shaped cylinder, the circulating water injection pipe and the flow guide twisted lines, the algae-water mixed liquid forms an inward vortex in the funnel-shaped cylinder, no additional energy waste for stirring is needed, and the cost is redu

Chlorella pyrenoidosa microalgae fertilizer for preventing and controlling pathogenic bacteria of farmland soil scab as well as preparation method and application of chlorella pyrenoidosa microalgae fertilizer

NºPublicación:  CN121136825A 16/12/2025
Solicitante: 
NORTHWEST A&F UNIV
\u897F\u5317\u519C\u6797\u79D1\u6280\u5927\u5B66
CN_121136825_PA

Resumen de: CN121136825A

The invention discloses a chlorella pyrenoidosa microalgae fertilizer for preventing and controlling pathogenic bacteria of farmland soil scab as well as a preparation method and application of the chlorella pyrenoidosa microalgae fertilizer, and belongs to the technical field of biology. The invention discloses a chlorella pyrenoidosa microalgae fertilizer for preventing and controlling pathogenic bacteria of farmland soil scab. The chlorella pyrenoidosa microalgae fertilizer is an alkaline microalgae fertilizer or an acidic microalgae fertilizer. Compared with the existing traditional chemical pesticide or biocontrol inoculant, the chlorella pyrenoidosa microalgae fertilizer disclosed by the invention has the advantages that the application amount of the chemical pesticide is greatly reduced, the abundance of pathogenic bacteria of scab in farmland soil is fundamentally blocked, controlled and inhibited, the diversity and functional activity of soil microorganisms are remarkably enhanced, and the application amount of the chemical pesticide is greatly reduced. The yield of rhizome crops such as potatoes is improved, and the disease prevention and control, soil improvement and crop productivity improvement efficiency of the rhizome crops are highly considered.

Method for preparing deuterated compound by microalgae fermentation

NºPublicación:  CN121137084A 16/12/2025
Solicitante: 
QINGDAO HUAHE BAIAO BIOTECHNOLOGY CO LTD
\u9752\u5C9B\u534E\u5408\u62DC\u5965\u751F\u7269\u79D1\u6280\u6709\u9650\u516C\u53F8
CN_121137084_PA

Resumen de: CN121137084A

The method comprises the following steps: (1) preparing a domestication culture medium by taking deuterium water as a solvent, carrying out illumination culture by taking CO2 or CO2 mixed gas as a carbon source, and domesticating the microalgae for multiple times to obtain deuterium water-resistant microalgae; (2) transferring the deuterium-water-resistant microalgae into a growth culture medium taking deuterium water as a solvent, and continuously carrying out illumination culture on the microalgae by taking CO2 or CO2 mixed gas as a carbon source, so as to obtain the deuterium-water-resistant microalgae with high carbohydrate content; (3) hydrolyzing the deuterium-water-resistant microalgae with high carbohydrate content by using an acid hydrolysis method to obtain a deuterium-water-resistant microalgae hydrolysate; and (4) putting the deuterium-resistant water microalgae hydrolysate into a fermentation container, and adding fermentation microorganisms to obtain the deuterated compound. According to the method disclosed by the invention, various deuterated compounds can be prepared by taking the microalgae biomass as a substrate and combining a fermentation process, so that the production cost is reduced, the sustainable development is promoted, the production process is simplified, and the production efficiency is improved.

Microorganism for promoting growth of microalgae, microalga growth promoter, method for culturing microalgae, and method for screening microorganisms

NºPublicación:  CN121127573A 12/12/2025
Solicitante: 
ENV DAESUN CO LTD
NATIONAL UNIV CORPORATION HOKKAIDO UNIV OF NATIONAL UNIV CORPORATION
\u73AF\u5883\u5927\u5584\u682A\u5F0F\u4F1A\u793E,
\u56FD\u7ACB\u5927\u5B66\u6CD5\u4EBA\u5317\u6D77\u9053\u56FD\u7ACB\u5927\u5B66\u673A\u6784
CN_121127573_PA

Resumen de: CN121127573A

The present invention relates to a microorganism belonging to the genus Rhodococcus, the genus Xanthobacter, the genus Ancylobacter, the genus Shewanella, or the genus Aeromonas, and a method for producing the same, and more specifically, to a microorganism belonging to the genus Rhodococcus, the genus Xanthobacter, the genus Ancylobacter, the genus Shewanella, or the genus Aeromonas. The microorganism can be Rhodococcus hedyotidis (Rhodococcus cerevisiae) of the genus Rhodococcus, Xanthobacter flavus (Xanthobacter flavus) of the genus Xanthobacter, or Ancylobacter rudongensis of the genus Ancylobacter, and the microorganism can be a microorganism of the genus Ancylobacter, or a microorganism of the genus Ancylobacter, or a microorganism of the genus Ancylobacter, or a microorganism of the genus Ancylobacter and a microorganism of the genus Ancylobacter. The microorganism can be used for promoting the growth of blue algae, green algae, grey algae or euglena. The microorganism can be used to promote the growth of an organism belonging to the phylum cyanobacteria, unequal flagellum, euglenophyta, cryptophyta, rhodophyta, chlorophyta or chalaphyta.

Treatment method of cattle wastewater by microalgae Coelastrella

Nº publicación: KR20250174249A 12/12/2025

Solicitante:

경북대학교산학협력단

Resumen de: KR20250174249A

본 발명은 미세조류 코엘라스트렐라 KNUA068(Coelastrella sp. KNUA068, KCTC15891BP)의 폐수에서의 배양가능성을 확인하였고, 폐수 영양소 제거 효과, 카로티노이드 함량 증대 효과, 바이오디젤 생산성에 대해 확인하여, 미세조류 코엘라스트렐라 KNUA068(KCTC15891BP)이 폐수 처리, 카로티노이드 및 바이오디젤 생산에 이용될 수 있음을 확인하였다.

traducir