Resumen de: WO2025153681A1
An offshore connecting system (1) comprising: an offshore station-keeping system (2) comprising a receiving portion (20) and a pass-through opening (21); one or more submarine electrical cables (3) with respective connection terminals (30); a connecting device (4) comprising a main body (40) removably connectable to the connection terminals (30) such that the main body (40) encloses said terminals (30) within an inner compartment (41); wherein the connecting device (4) is configured to be upwardly inserted through the pass-through opening (21) to be arranged in a predetermined resting position (R) relative to the receiving portion (20) of the offshore station-keeping system (2); and one or more blocking means (5) configured to be selectively arranged in a blocking position (a) for interacting with the connecting device (4) and the receiving portion (20) of the offshore station-keeping system (2) to selectively retain the connecting device (4) in the predetermined resting position (R).
Resumen de: WO2024079216A1
Floating or semi-submersible installation (1) comprising a deck (2), a hull (3), with the deck covering the hull so as to form an enclosed space divided into compartments by partitions (4), and a wind turbine (5) having a mast, the base (6) of which is located below the deck and fixed to at least two of said partitions (4) by means of a foundation system (7) comprising free spaces (9), (10).
Resumen de: CN223135101U
The utility model discloses an offshore wind power installation platform, relates to the field of offshore wind power platforms, solves the problems that an existing device is complex in structure and poor in supporting and installing stability of a wind power assembly on the top side of the existing device, and adopts the following scheme that the offshore wind power installation platform comprises an installation platform frame, and an installation assembly and a supporting assembly are arranged on the bottom side of the installation platform frame; a main body of the mounting assembly is a top table, four groups of opposite floating ball seats are fixedly mounted at four corners of the bottom of the top table, and a lead screw shaft is arranged in the top table; the supporting assembly comprises a bearing rod frame and a supporting rod frame on the bottom side of the bearing rod frame. According to the offshore wind power installation platform, through arrangement of the installation assembly and the supporting assembly, the platform can be stably inserted into the bottom side of a seabed through arrangement of the supporting assembly, and the height of the whole platform of the installation assembly can be adjusted by rotating a lead screw shaft, so that the top platform floats on the sea surface through four sets of floating ball seats on the bottom side of the top platform; the installation assembly and the installation platform frame on the top side of the installation
Resumen de: CN223136315U
The utility model discloses a lightweight steel-concrete semi-submersible floating type wind power foundation which comprises a steel buoy, the bottom face of the steel buoy is provided with a corresponding concrete prismatic stand column, the bottom face of the concrete prismatic stand column is connected with a concrete heaving plate, the side face of the concrete prismatic stand column is connected with a concrete door-shaped horizontal connecting beam, and the concrete door-shaped horizontal connecting beam is connected with a concrete heaving plate. A concrete coupling beam rib plate and a coupling beam partition plate are arranged in the concrete door-shaped horizontal coupling beam, and prestressed tendons are fixed to the side wall of the concrete door-shaped horizontal coupling beam. The gravity center of the floating body structure is reduced, the steel consumption of the floating platform is reduced, the movement and mooring stress conditions of the floating platform can be optimized, the probability of water seepage of the floating body and the construction price can be reduced, and the steel bar-concrete floating foundation can be used and popularized easily.
Resumen de: CN223120082U
The utility model discloses an offshore wind power generation hydrogen production system which comprises a floating tower structure arranged on the sea surface, and the floating tower structure comprises a first floating tower, a second floating tower and a third floating tower which are connected with one another; a wind driven generator is arranged on the first floating tower, and a power distribution device is arranged in a tower drum of the wind driven generator; a seawater desalination cabin is arranged on the second floating tower, and a water taking pump and a seawater desalination and desalination device are arranged in the seawater desalination cabin; a hydrogen production cabin is arranged on the third floating tower, and a water electrolysis hydrogen production device and a hydrogen purification device are arranged in the hydrogen production cabin; the wind driven generator is connected with the power distribution device, and the power distribution device is respectively connected with the water taking pump, the seawater desalination and desalination device, the water electrolysis hydrogen production device and the hydrogen purification device; the water taking pump, the seawater desalination and desalination device, the water electrolysis hydrogen production device and the hydrogen purification device are connected in sequence. According to the scheme, the arrangement mode is simple, the space utilization rate is high, the overall structure is stable, the expandab
Resumen de: FR3158305A1
Procédé de raccordement de deux blocs d’une structure offshore L’invention concerne un procédé de raccordement de deux blocs d’une structure offshore constitué par l’assemblage d’au moins deux blocs unitaires (B-1, B-2) différents, le procédé comprenant la formation d’une surépaisseur (26) au niveau des extrémités respectives des deux blocs devant être raccordées, le montage d’une platine de jonction (22) contre l’extrémité à raccorder d’un premier bloc (B-1), ladite platine de jonction présentant un cadre à débordement (24) venant en appui contre les extrémités des panneaux plans en dépassant radialement vers l’intérieur et vers l’extérieur, la mise en appui de l’extrémité du second bloc (B-2) contre la platine de jonction, et le soudage des extrémités des deux blocs entre elles. Figure pour l’abrégé : Fig. 6.
Resumen de: US2025229870A1
Two types of single shared anchor mooring systems and installation method for station-keeping of floating offshore wind turbines are disclosed. The first type has one anchor on the seabed, a plurality of mooring lines, three-dimensional fairlead devices, and pendent gravity units. Each of the mooring lines runs from a first end attached to the corresponding pendent gravity unit suspended in mid-water vertically upward through the corresponding three-dimensional fairlead device attached to the floater and extends downward to a second end attached to the anchor. The mooring line has a constant tension equal to the submerged weight of the pendent gravity unit. The second type has one anchor on the seabed, one pendent gravity unit suspended in mid-water above the anchor, a plurality of mooring fairleads and interconnected mooring lines. Each of the mooring lines runs upward from a first end connected to the anchor through the mooring fairlead attached to the floater and extends downward to a second end connected to the pendent gravity unit. The mooring systems are secured to the floater at quayside, towed-out with the floater, and installed by lowering the anchor and the pendent gravity units under gravity at the offshore site.
Resumen de: US2025230796A1
Disclosed is an offshore wind turbine, comprising: a base configured to be submerged when the turbine is in an upright generating position in open water; and, a tower attached to the base and having a longitudinal axis, wherein the tower and base are movable between a horizontal towing position in which the turbine is towable through a body of water, and an upright generating position in which the turbine is vertically orientated for use in the body of water. Also disclosed herein is a method of deploying a wind turbine comprising the steps of assembling the wind turbine in a horizontal or near horizontal orientation prior to deploying to an installation location, towing the assembled wind turbine in a horizontal or near horizontal position to the installation location and up righting the assembled wind turbine in the installation location.
Resumen de: US2025230797A1
The present application discloses a supercomputing center system, which includes a wind-powered vessel, and a damping device, at least one supercomputing device, a control device, and a wind power generation device that are arranged on the hull of the wind-powered vessel. The damping device is configured to maintain the stability of the hull; the supercomputing device is configured to perform operations; the control device controls the wind power generation device to generate power and adjusts the angles of the damping device based on real-time sea condition information; and the wind power generation device supplies power to the supercomputing device, the damping device, and the control device.
Resumen de: WO2025149356A1
The invention relates to a method for connecting two blocks of an offshore structure consisting of the assembly of at least two different unit blocks (B-1, B-2), the method comprising forming a thickened portion (26) at the respective ends of the two blocks to be connected, mounting a junction plate (22) against the end to be connected of a first block (B-1), the junction plate having a radially inwardly and outwardly projecting frame (24) bearing against the ends of the flat panels, bringing the end of the second block (B-2) to bear against the junction plate, and welding the ends of the two blocks to each other.
Resumen de: EP4585502A1
The present application discloses a supercomputing center system, which includes a wind-powered vessel, and a damping device, at least one supercomputing device, a control device, and a wind power generation device that are arranged on the hull of the wind-powered vessel. The damping device is configured to maintain the stability of the hull; the supercomputing device is configured to perform operations; the control device controls the wind power generation device to generate power and adjusts the angles of the damping device based on real-time sea condition information; and the wind power generation device supplies power to the supercomputing device, the damping device, and the control device.
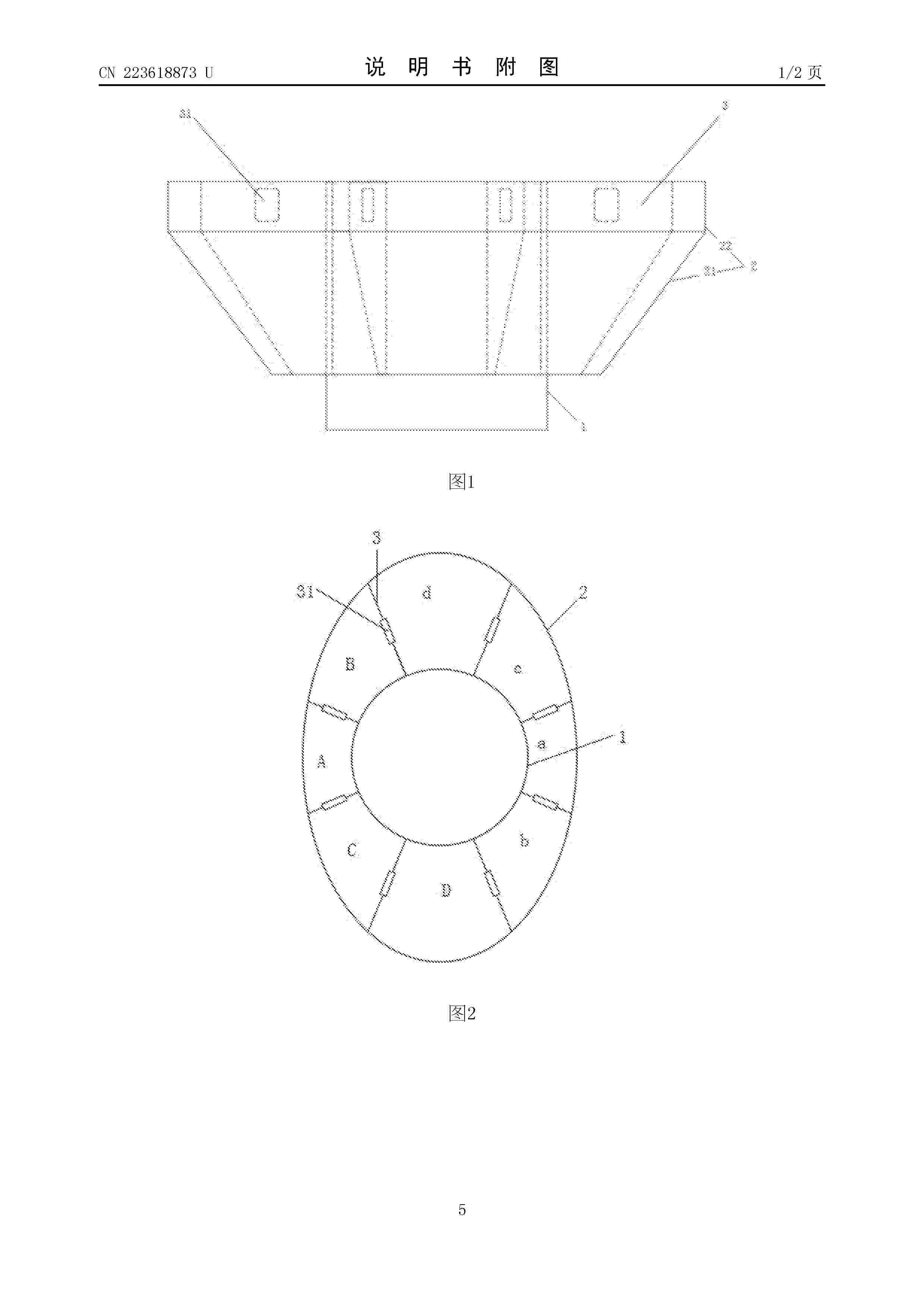
Resumen de: CN223100970U
The utility model discloses a tension leg floating type draught fan platform which comprises a draught fan system, a floating body foundation, a tension tendon supporting device and a mooring anchoring system which are sequentially connected, and the tension tendon supporting device comprises an assembly locking mechanism, a split structure and a top mooring connecting mechanism which are sequentially connected from top to bottom. The split structure comprises a split structure top deck, an outer bulkhead, first bulkheads, a split structure bottom deck and a central pipe, the split structure top deck, the split structure bottom deck and the outer bulkhead enclose a split structure shell, the central pipe is arranged in the middle of the split structure shell, and the first bulkheads are distributed between the outer bulkhead and the central pipe in the radial direction of the central pipe; a plurality of ballast tanks are defined by the first bulkhead, the central pipe and the outer bulkhead; the upper end of the tension tendon supporting device is connected with the floating body foundation, and the lower end is fixedly connected with the seabed surface through the mooring anchoring system. According to the utility model, not only is the vertical damping of the fan platform floating body increased, but also the design and construction of the floating body foundation are not influenced by tension tendons.
Resumen de: CN223100971U
The utility model provides a wind power floating foundation of a double-stand-column structure. The wind power floating foundation comprises a first stand column, a second stand column, a stand column connecting piece and a plurality of mooring chains. The mooring chains are connected to the bottom of the second stand column so that the second stand column can float in a designated sea area. The first stand column and the second stand column are arranged in parallel at intervals, the first end of the stand column connecting piece is connected to the circumferential side wall of the first stand column, the second end of the stand column connecting piece is rotationally connected to the second stand column, and the first stand column can rotate around the circumferential direction of the second stand column through the stand column connecting piece. The stand column connecting piece is located above the sea level. The fan tower drum is arranged on the top of the first stand column in the buoyancy direction. The problems that in the prior art, the anti-torque capacity is poor, the structure is complex, and cost is high are solved.
Resumen de: CN223103694U
The utility model provides an anti-scouring offshore foundation. The anti-scour offshore foundation comprises a pile body, geotechnical cloth arranged on the pile body in a sleeving mode, first concrete interlocking rows arranged at the two ends of the pile body in the first direction X and second concrete interlocking rows arranged at the two ends of the pile body in the second direction Y. The first direction X and the second direction Y are perpendicular to each other on the same overlook projection plane. The first concrete interlocking row and the second concrete interlocking row are in lap joint, the geotechnical cloth floats on the sea surface, and the first concrete interlocking row and the second concrete interlocking row are arranged on the upper surface of the geotechnical cloth. The concrete interlocking row is laid around the pile body, the geotechnical cloth is laid below the concrete interlocking row, and sediment is isolated in a physical isolation mode, so that the seabed around the single-pile foundation cannot be scoured by ocean current, and anti-scour combined protection can be achieved for the large-diameter single-pile foundation.
Resumen de: CN223089447U
The utility model discloses a floating type fan with an auxiliary wind facing function, which comprises a floating type fan body and a movable sail, and the movable sail is movably mounted on the outer side wall of a tower of the floating type fan body and can swing or rotate around the tower to realize self-adaptive wind facing. The movable sail is installed on the tower, self-adaptive wind facing is achieved through aerodynamic force of the movable sail, then the whole fan is driven to conduct self-adaptive wind facing, the auxiliary wind facing effect is achieved, automatic wind facing of a yaw system of the fan can be assisted, the wind facing efficiency of the fan is improved, more efficient wind facing is achieved, and the service life of the fan is prolonged. And under the condition that the fan is powered off or no back-up power source exists, the fan can be driven to conduct self-adaptive wind facing.
Resumen de: WO2025146447A2
The invention describes a wind turbine vessel (1) which autonomously sails at high sea by means of wind turbines (2) and produces, stores and transports energy. The wind turbine vessel (1) is a multi-hull vessel having three or more hulls (3), between which at least one wind turbine (2) is installed. The hulls (3) are installed rotationally symmetrically parallel to the longitudinal axis of the wind turbine vessel (1). This makes it possible for the wind turbine vessel (1) to pivot, that is to say to rotate about its own longitudinal axis, in order to be resilient in the case of sea storms. In the event that it capsizes in strong winds or waves, it retains its complete structural and functional integrity as a result of its rotationally symmetrical design. The wind turbines (2) are used simultaneously in two ways. Firstly, they are used for the production of electrical energy which is stored on board in the hulls (3), for example in batteries or with power-to-hydrogen. Secondly, the wind turbines (2) are used as sails for driving and controlling the wind turbine vessel (1) by means of yawing movements. It can thus sail autonomously at high sea in areas in which the wind conditions are favourable for energy production, that is to say it can use stronger and more uniform winds, and transport the energy stored on board to a location where it can be fed into the energy grid.
Resumen de: US2025223945A1
A device and a method are for assembling a wind turbine. The device has an assembling structure including a space for assembling a tower and a nacelle of a wind turbine, the space being defined by side portions of the assembling structure, and a hoisting device configured for handling the wind turbine tower and for hoisting the nacelle onto a top of the wind turbine tower while being positioned within said space, the hoisting device being movably connected to a hoisting device support structure arranged on top of the assembling structure. The device further includes a support arrangement for supporting a portion of the wind turbine at least when being within said space and a rotor blade manipulator for bringing rotor blades in contact with the nacelle.
Resumen de: US2025223011A1
The present invention relates to an assembly for lowering a pile onto a seabed, the assembly comprising: —a floating vessel (24) comprising a vessel positioning system (42), —a crane (12) provided on the vessel for lowering the pile (10) onto the seabed, —a pile guiding system (50) configured to guide the pile during the lowering thereof by the crane, the pile guiding system comprising: —o a base (40) connected to the vessel, o at least one pile guiding frame (20) comprising an annular portion (21), o one or more primary actuators (55) which are configured for moving the pile guiding frame, o one or more secondary actuators (60) connected to the annular portion of the pile guiding frame, o at least one frame position sensor (62) for measuring an excitation parameter, o a guiding control unit (64) comprising an excitation controller (80) configured to control the actuators and a resilience controller configured to control a stiffness.
Resumen de: US2025223017A1
A sensor assembly for use in a body of water is provided. The sensor assembly can be deployed to a predetermined location to measure water parameters to aid in wave and current prediction. A plurality of sensor assemblies can form a measurement swarm, where each sensor assembly measures water and air parameters and communicates with the other sensor assemblies. The sensor assemblies can be controlled by a control system running a swarm algorithm and providing route planning.
Resumen de: CN223072709U
The utility model discloses a modularized comprehensive power generation floating platform which comprises frame rods and connector seats, the frame rods and the connector seats are used for building the platform, and a hexahedral frame with a plurality of grid bodies is formed by connecting the connector seats and the frame rods. The hexahedral frame is provided with an overwater frame body and an underwater frame body, and a buoy is arranged on the underwater frame body or a frame rod of the underwater frame body is composed of the buoy, so that the whole hexahedral frame floats in seawater to form a floating platform; the tidal current energy power generation device or/and the wave energy power generation device is/are installed in the hexahedral frame, the tidal current energy power generation device is located in a grid body of the underwater frame body, and the overhauling device is arranged above the grid body where the tidal current energy power generation device and the wave energy power generation device are located; the vertical wind power generation device is located in a grid body of the overwater frame body, and a plurality of photovoltaic panels are arranged on the top of the overwater frame body. The modular design is adopted, the transportation and the assembly are convenient, wind, light and ocean current power generation are integrated, the investment cost is low, and the return rate is high.
Resumen de: CN223072703U
The utility model belongs to the technical field of offshore wind power generation, and particularly discloses a working ship which is used for launching a stand column type floating fan foundation, a ship body of the working ship comprises a first water ballast space, the first water ballast space bears at least three stand columns, and a connecting beam of the stand column type floating fan foundation is at least partially located on the outer side of the ship body in the overlook direction. Compared with the prior art in which the water ballast tanks are directly arranged in a rectangular shape, when the ship body in the form bears the stand column type floating fan foundation with the same size, the size of the whole ship body is reduced, the ship body further comprises the second water ballast tanks, and the second water ballast tanks are selectively installed at different positions of the first water ballast tanks, so that the ship body is convenient to carry. The buoyancy center position of the ship body is adjusted so as to meet the launching requirements of the stand column type floating fan foundations of different sizes, and the launching operation of the stand column type floating fan foundations of different sizes can be completed through one work ship.
Resumen de: CN223076098U
The utility model relates to the technical field of structural engineering of damping devices, in particular to an annular MRD-TLCD damping device applied to the interior of a wind power tower. An annular MRD-TLCD damping device applied to the interior of a wind power tower drum comprises the tower drum, a TLCD assembly and an MRD assembly. The TLCD assembly and the MRD assembly are connected into the tower drum. The TLCD assembly is composed of a TLCD inner wall cylinder, a TLCD outer wall cylinder and upper partition plates, the TLCD inner wall cylinder and the TLCD outer wall cylinder are connected into a whole through the multiple sets of upper partition plates, a cavity between the TLCD inner wall cylinder and the TLCD outer wall cylinder is divided into independent cavity units through the upper partition plates, a U-shaped cavity is formed, the U-shaped cavity is filled with liquid, the MRD assembly is connected into the independent cavity units in an inserted mode, and the TLCD assembly and the MRD assembly are connected in an inserted mode. When vibration and swing occur, liquid in the U-shaped cavity is stressed in a balanced mode through each independent cavity unit, and the damping effect is achieved. And meanwhile, when vibration is generated, the liquid level in the U-shaped cavity fluctuates up and down, the floating plate drives the MRD assembly to adjust the torque, and the damping effect is further achieved.
Resumen de: CN223059214U
The utility model discloses a self-powered offshore floating platform with a navigation system, which comprises a floating platform main body, a plurality of surge power generation devices are arranged on the periphery of the floating platform main body, and the surge power generation devices are used for converting ocean surge energy into electric energy; a satellite receiver and a communication and navigation module are arranged on the top of the floating platform body, and the satellite receiver is used for receiving satellite signals and transmitting the satellite signals to the communication and navigation module. The floating platform can stably float on the sea surface, shaking and bumping are reduced, the good navigation capacity is achieved, stable navigation signals are provided for ships sailing on the sea, the stable power generation capacity is further achieved, and the application prospect is wide.
Resumen de: US2025214688A1
The intervention platform comprises: a floating base, immersed in a body of water; at least a wind turbine equipment lifting tower, configured to lift at least an equipment of the wind turbine; The intervention platform has at least a heave plate configured to protrude laterally from the floating base, the heave plate defining an upper surface configured to engage a lower surface of the offshore wind turbine platform. The floating base has at least a ballast receiving volume, the intervention platform having a ballast controller configured to control a quantity of ballast received in the ballast receiving volume to lift the upper surface of the offshore heave plate in contact with the lower surface of the offshore wind turbine platform.
Nº publicación: US2025214685A1 03/07/2025
Solicitante:
HUMPHREE AB [SE]
Humphree AB
Resumen de: US2025214685A1
A computer system comprising processing circuitry configured to:control a set of gyro stabilizers, said set of gyro stabilizers comprising at least two gyro stabilizers, attached to a same marine vessel. The processing circuitry is adapted to provide control data to the control system of each gyro stabilizer in said set of gyro stabilizers to establish a control procedure such that, at each one of a plurality of different time instances of the control procedure, said set of gyro stabilizers comprises at least one non-active gyro stabilizer and at least one active gyro stabilizer. Each passive gyro stabilizer is controlled by the control system such that the passive gyro stabilizer is prevented from rotating around its precession axis, andeach active gyro stabilizer is controlled by the control system such that the active gyro stabilizer is allowed to rotate around its precession axis.