Ministerio de Industria, Turismo y Comercio LogoMinisterior
 

Alerta

Resultados 128 resultados
LastUpdate Última actualización 05/10/2025 [07:23:00]
pdfxls
Publicaciones de los últimos 120 días / Applications published in the last 120 days
Resultados 1 a 128  

SEPARABLE WIND TURBINE MOUNTING SYSTEM

NºPublicación:  WO2025200096A1 02/10/2025
Solicitante: 
SHANGHAI BESTWAY MARINE ENG DESIGN CO LTD [CN]
BESTWAY MARINE & ENERGY TECH CO LTD [CN]
\u4E0A\u6D77\u4F73\u8C6A\u8239\u6D77\u5DE5\u7A0B\u7814\u7A76\u8BBE\u8BA1\u6709\u9650\u516C\u53F8,
\u5929\u6D77\u878D\u5408\u9632\u52A1\u88C5\u5907\u6280\u672F\u80A1\u4EFD\u6709\u9650\u516C\u53F8
CN_118358717_A

Resumen de: WO2025200096A1

A separable wind turbine mounting system, comprising a separable platform (100), a mother vessel (200) and guide devices (300), wherein the separable platform is of a liftable structure, can ascend and descend relative to the mother vessel, and can fit with the guide devices and is guided thereby so as to combine with the mother vessel and detach from the mother vessel. On the basis of the overall layout of a conventional wind turbine mounting vessel, no big changes need to be made, and a large crane, a lifting mechanism, a deck surface, etc. related to wind turbine mounting form an independent unit, namely, the separable platform. The vessel on which the separable platform depends is the mother vessel, and the separable platform after being combined with the mother vessel is similar to the conventional wind turbine mounting vessel; and when the mother vessel arrives at a wind turbine mounting station for operation, the separable platform can ascend and descend independently, such that the technical defects of the conventional wind turbine mounting vessel can be overcome.

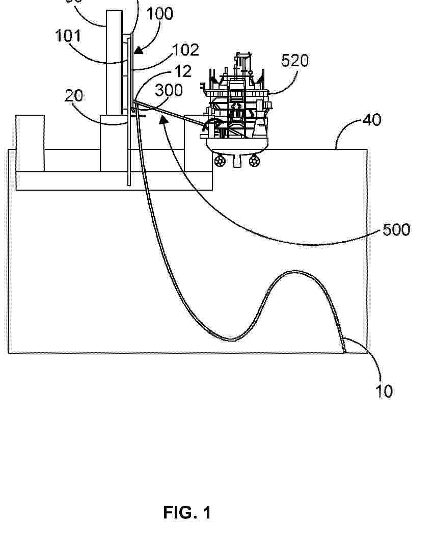
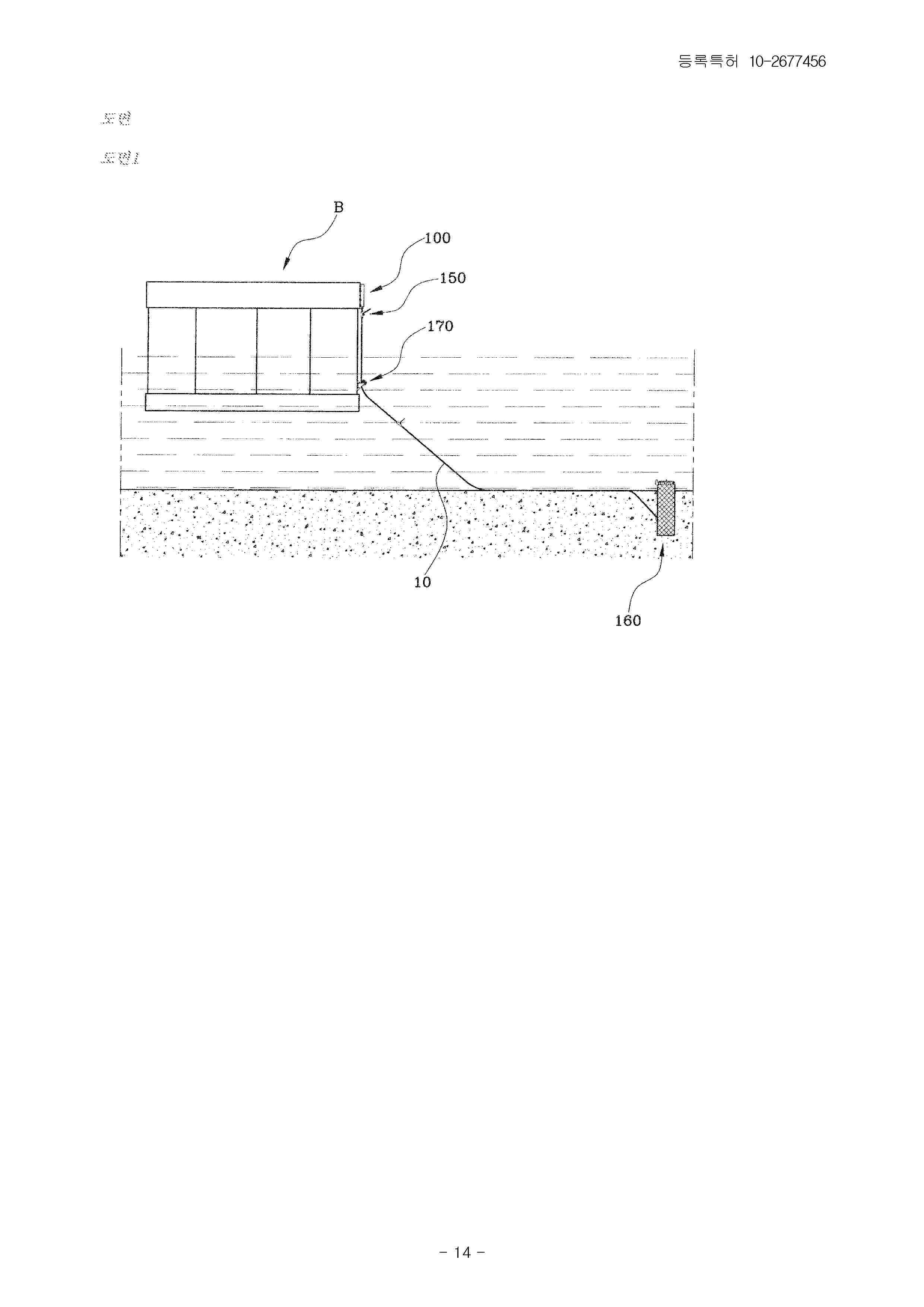
DEVICE FOR REDUCING TENSILE LOAD OF OFFSHORE FLOATING BODY

NºPublicación:  WO2025206546A1 02/10/2025
Solicitante: 
ACE ENGINEERING & TECH CO LTD [KR]
\uC8FC\uC2DD\uD68C\uC0AC \uC5D0\uC774\uC2A4\uC774\uC564\uD2F0
KR_102677456_B1

Resumen de: WO2025206546A1

A device for reducing the tensile load of an offshore floating body is provided. According to embodiments of the present invention, a tensile load caused by a mooring chain can be more efficiently reduced by using a pneumatic cylinder. In particular, through-holes are formed in the upper and lower portions of the pneumatic cylinder, and when a tensile load is applied by the mooring chain, air suction and air discharge can be alternately performed in each through-hole, thereby efficiently reducing the tensile load applied by the mooring chain.

FLOATING MARINE PLATFORM AND THE MANUFACTURING THEREOF

NºPublicación:  US2025304223A1 02/10/2025
Solicitante: 
OCERGY INC [US]
OCERGY, INC
US_2025304223_A1

Resumen de: US2025304223A1

A floating marine platform and a method for manufacturing a floating marine platform by means of templates are provided. The floating marine platform comprises a central column, multiple peripheral columns circumferentially around the central column, and radially extending outriggers from the central column that connect the peripheral columns with the central column. The templates comprise an inner outrigger template, an outer outrigger template, a central column template and a peripheral column template. On a first location under a first temperature a first pair with the inner outrigger template and the central column template is formed, and on a second location under a second temperature a second pair with the outer outrigger template and the peripheral column template is formed. Subsequently the central column, the peripheral columns and the outriggers are formed by means of the templates, under different temperatures.

DENSE FLUIDS FOR BALLASTS

NºPublicación:  US2025304222A1 02/10/2025
Solicitante: 
MAGELLAN & BARENTS S L [ES]
Magellan & Barents, S.L
US_2025304222_A1

Resumen de: US2025304222A1

Disclosed are dense fluids for use in offshore applications, such as wind turbine platforms, oil and gas platforms, gravity anchors, catenary weights as well as other gravity-based structures. The dense fluid can be mixed with low-density fluid and high-density solid particles to form an intermediate dense fluid. The intermediate dense fluid is mixed with intermediate-density solid particles having the same density as the intermediate dense fluid to form a dense fluid with the desired target density. The dense fluid can be produced cost-effectively by selecting intermediate-density particles which are plentiful and can be obtained cheaply.

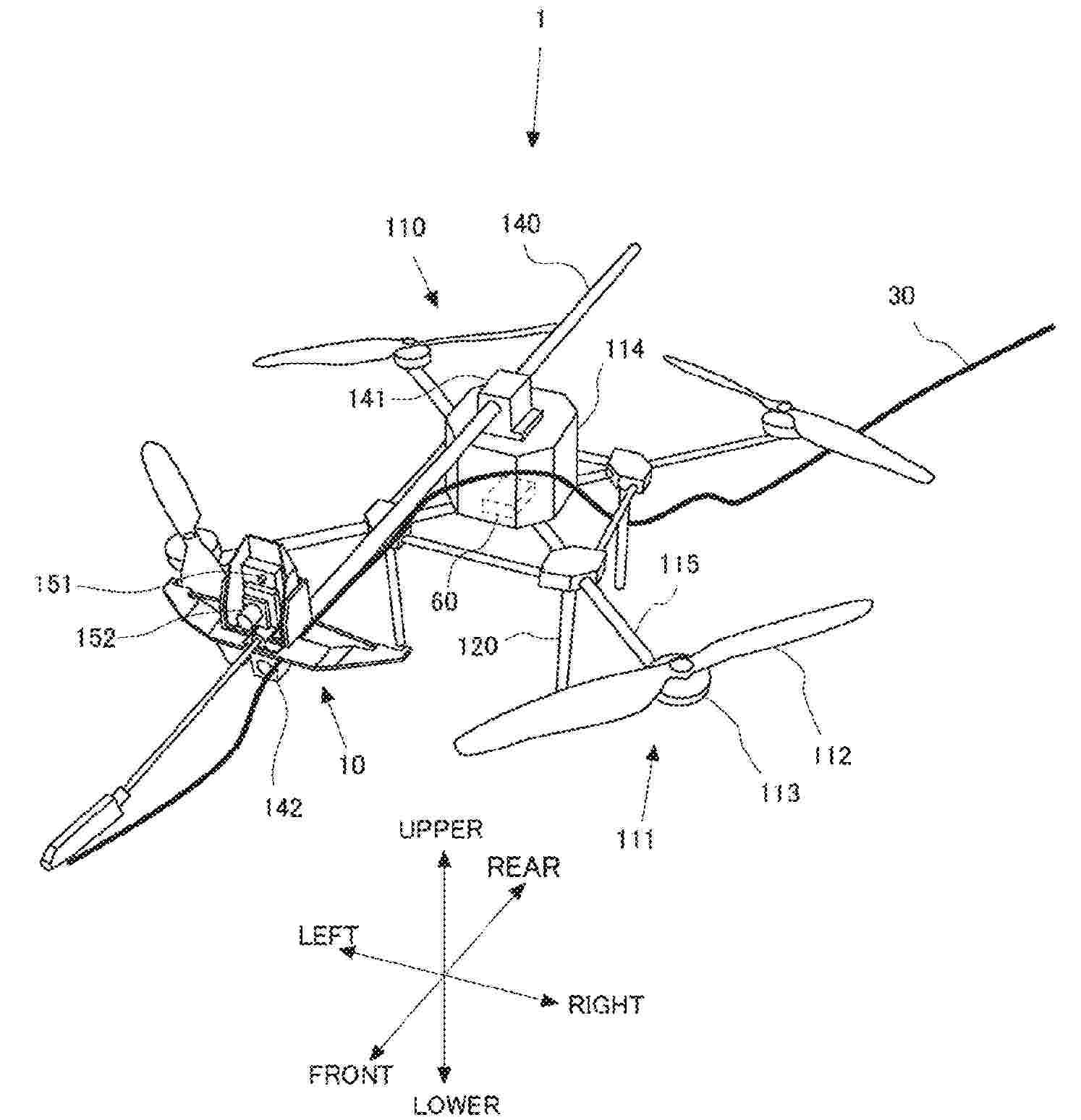
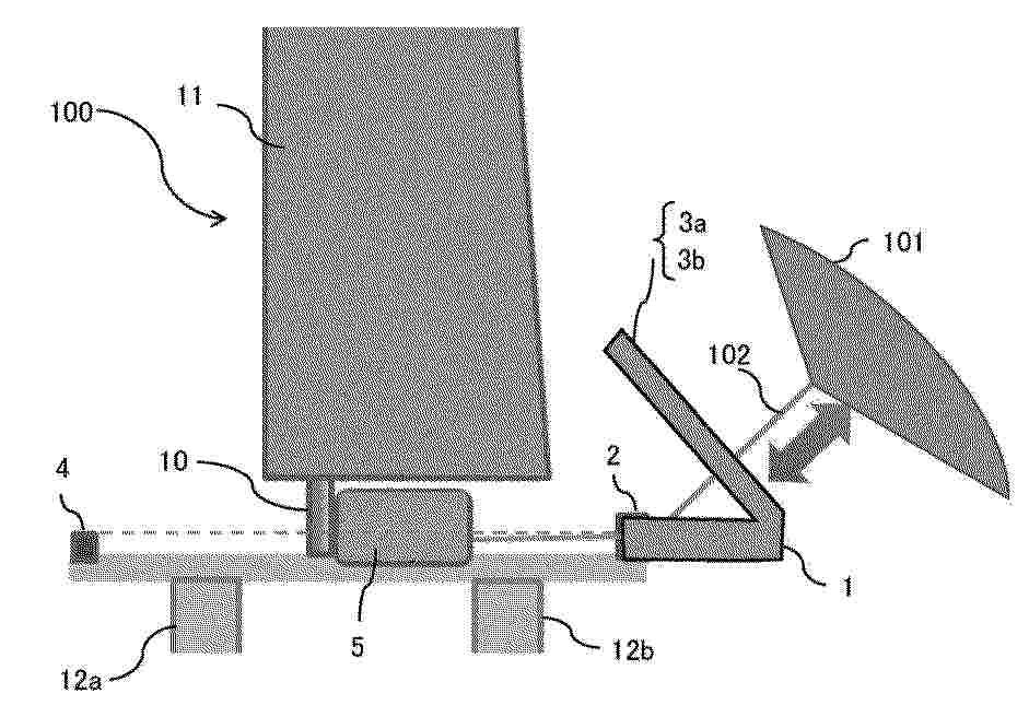
KITE LAUNCHING AND LANDING GUIDE DEVICE

NºPublicación:  US2025305480A1 02/10/2025
Solicitante: 
TOYOTA JIDOSHA KK [JP]
TOYOTA JIDOSHA KABUSHIKI KAISHA
CN_120716988_PA

Resumen de: US2025305480A1

A launching and landing guide device is arranged in a floating side unit having a winch and a sail for unwinding and winding the tether. The launching and landing guide device includes a position setting unit that sets a position at which the tether is unwound or unwound, and a launching and landing guide unit that is capable of fixing the kite when the tether is wound and guides the kite and the tether when the tether is unwound or unwound.

SUBSEA CONFIGURATION FOR FLOATING STRUCTURES OF AN OFFSHORE WIND FARM

NºPublicación:  US2025305483A1 02/10/2025
Solicitante: 
TOTALENERGIES ONETECH [FR]
TOTALENERGIES ONETECH
JP_2025516670_PA

Resumen de: US2025305483A1

An offshore wind farm includes at least three floating structures designed to receive a wind turbine, with each floating structure having at least three mooring lines, and each mooring line is attached to a mooring point arranged around a floating structure. The mooring lines facing inward from the offshore wind farm form the inner mooring lines of the offshore wind farm, and the mooring lines facing outward from the offshore wind farm form the peripheral mooring lines of the offshore wind farm. A peripheral mooring line includes a first segment able to be attached to the floating structures, and at least one intermediate segment formed of an elastomeric material attached to the first segment and the second segment.

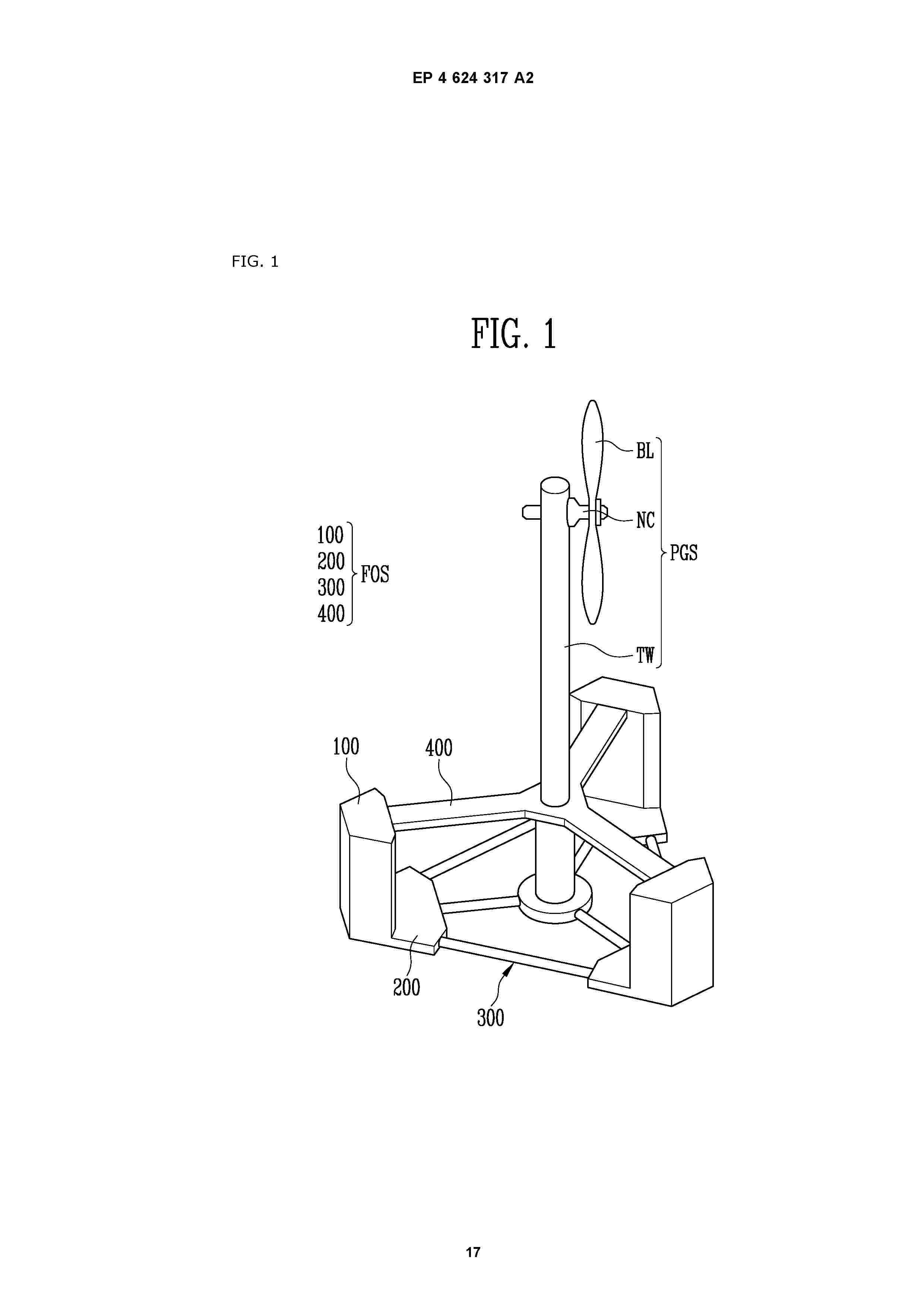
FLOATING OFFSHORE STRUCTURE AND FLOATING OFFSHORE POWER GENERATION APPARATUS HAVING SAME

NºPublicación:  EP4624317A2 01/10/2025
Solicitante: 
HYUN DAI HEAVY IND CO LTD [KR]
Hyundai Heavy Industries Co., Ltd
EP_4624317_A2

Resumen de: EP4624317A2

A floating offshore structure of the present disclosure includes: a plurality of columns; and a plurality of pontoons installed at lower ends of the columns, respectively, wherein a polygonal shape is formed by an imaginary line connecting the columns, the pontoons are installed inside the polygonal shape, a cross-sectional area in a direction parallel to sea level of the pontoons is greater than or equal to the cross-sectional area in the direction parallel to the sea level of the columns, and the pontoons may have a shape protruding outward at the lower ends of the columns.

MULTI-UNIT CONTROL METHOD FOR OFFSHORE FLOATING PLATFORM

NºPublicación:  WO2025195174A1 25/09/2025
Solicitante: 
HUANENG CLEAN ENERGY RES INSTITUTE [CN]
HUANENG OFFSHORE WIND POWER SCIENCE AND TECH RESEARCH CO LTD [CN]
\u4E2D\u56FD\u534E\u80FD\u96C6\u56E2\u6E05\u6D01\u80FD\u6E90\u6280\u672F\u7814\u7A76\u9662\u6709\u9650\u516C\u53F8,
\u534E\u80FD\u6D77\u4E0A\u98CE\u7535\u79D1\u5B66\u6280\u672F\u7814\u7A76\u6709\u9650\u516C\u53F8
CN_118030385_PA

Resumen de: WO2025195174A1

The present disclosure relates to the technical field of electronic devices. Provided is a multi-unit control method for an offshore floating platform. The method comprises: determining, when the number of faulty fans of the offshore floating platform is smaller than a threshold value, a fan group to which the faulty fans belong as a target fan group; determining a rotation direction of the faulty fans in the target fan group; and adjusting a rotation speed of normal fans in the target fan group on the basis of the rotation direction. By implementing the method in the present disclosure, when faulty fans exist in the offshore floating platform, the rotation speed of the normal fans in the target fan group can be accurately adjusted on the basis of the rotation direction of the faulty fans, thereby effectively reducing the influence of the faulty fans on the system, and improving the robustness, stability and safety of the system.

FLOATING CONCRETE STRUCTURE FOR OFFSHORE WIND APPLICATIONS AND METHOD FOR MANUFACTURING SAID FLOATING STRUCTURE

NºPublicación:  AU2024237151A1 25/09/2025
Solicitante: 
FERROVIAL CONSTRUCCION S A
FERROVIAL CONSTRUCCI\u00D3N, S.A
AU_2024237151_PA

Resumen de: AU2024237151A1

The present invention relates to a floating concrete structure for offshore wind applications, comprising a semi-submersible platform which in turn comprises: - an inner column (1), - a plurality of outer columns (2) distributed around the inner column (1) equidistant thereto (1), wherein the inner column (1) or one of the outer columns (2) supports a wind turbine tower, - a plurality of beams (4) connecting each outer column (2) with the inner column (1). The floating structure further comprises a pontoon (3), the inner column (1) and the plurality of outer columns (2) being supported on the pontoon (3) and the plurality of beams (4) comprises first beams (4.1) which extend parallel to the pontoon (3) between the upper end of the inner column (1) to a point of attachment with the outer columns (2).

METHODS AND SYSTEMS FOR FREE-FLOATING NAUTICAL STATIONKEEPING

NºPublicación:  EP4619304A1 24/09/2025
Solicitante: 
LONE GULL HOLDINGS LTD [US]
Lone Gull Holdings, Ltd
AU_2023383069_A1

Resumen de: AU2023383069A1

Methods and systems are provided for nautical stationkeeping of free-floating objects. In one example, a method includes adjusting translational motion of a body freely floating in water by rotating the body. The translational motion may be adjusted, for instance, to maintain the body within a geographic area. In certain examples, the adjustment of the translational motion may be realized via a Magnus effect induced by rotating the body. The body may be configured as, for example, a free-floating object such as a wave engine.

FLOATING MOVING OBJECT AND PROBE MECHANISM

NºPublicación:  US2025290596A1 18/09/2025
Solicitante: 
THK CO LTD [JP]
THK CO., LTD
US_2025290596_PA

Resumen de: US2025290596A1

Provided are a base member 11 to which one end of a spring 13 is connected, and a shaft 12 to which the other end of the spring 13 is connected, and which is configured to move relative to the base member in a direction of a central axis of the shaft when the shaft comes into contact with a target object, wherein the spring 13 is arranged such that a center axis of the spring 13 is at an angle to the center axis of the shaft.

DEVICES, SYSTEMS, AND METHODS FOR FLOATING ONBOARD RENEWABLE ENERGY-POWERED AERATION

NºPublicación:  US2025289742A1 18/09/2025
Solicitante: 
HAWAII FISH COMPANY INC [US]
Hawaii Fish Company Inc
US_2025289742_PA

Resumen de: US2025289742A1

Disclosed herein are devices, systems, and methods for water aeration and/or circulation, including, but not limited to, floating, onboard renewable energy-powered aeration for aquaculture ponds and/or other man-made and/or natural bodies of water (e.g., tanks, farm ponds, and reservoirs). In at least one embodiment, an aeration system has one or more photovoltaic (PV) panels to provide power to the aeration system. In at least one embodiment, the aeration system captures wind energy as an optional secondary power source. The aeration system may be either a battery-power or a direct-power system. The aeration system may also provide programmable settings. The system can be modular and scaled and/or customized to fit user needs. The aeration system may also include one or more float modules having an internal cavity, one or more pontoons and/or pontoon accessories for blocking and/or directing air and/or water flow, and/or one or more novel diffusers.

OFFSHORE FLOATING PLATFORM DEVICE, CONSTRUCTION METHOD AND OPERATION METHOD

NºPublicación:  US2025289537A1 18/09/2025
Solicitante: 
SHANGHAI INVESTIGATION DESIGN & RES INST CO LTD [CN]
Shanghai Investigation, Design & Research Institute Co., Ltd
US_2025289537_PA

Resumen de: US2025289537A1

An offshore floating platform device, a construction method, and an operation method are provided. The device includes a pontoon carrier component. The pontoon carrier component includes a pontoon provided with a counterweight body at a bottom and a central cylinder at a top. The pontoon is provided with an anchor chain assembly on its outer cylindrical surface for keeping the elevation of the pontoon carrier component in the sea. A platform is arranged around an edge of a top surface of the central cylinder. Multiple tower bases are provided on a top surface of the central cylinder for installing a tower of the wind turbine. A buoyancy support component is provided on an outer cylindrical surface of the central cylinder, and the buoyancy support component ascends and descends as it rolls along the outer cylindrical surface of the central cylinder in response to changes in water level.

SYSTEM AND METHOD FOR TREATING ALGAE BLOOMS IN RESERVOIRS, COASTAL WATERWAYS, LAKES AND RIVERS

NºPublicación:  EP4615809A1 17/09/2025
Solicitante: 
PROSPER TECH LLC [US]
Prosper Technologies, LLC
WO_2024145058_PA

Resumen de: WO2024145058A1

A water treatment system includes a barge having a base and a dome. The base and the dome can form a housing when attached to each other. The water treatment system can also include one or more solar panels and one or more wind turbines mounted on an exterior surface of the dome. The water treatment system can include one or more batteries disposed inside the housing. The one or more batteries can be recharged by energy generated by at least one of the one or more solar panels and the one or more wind turbines. The water treatment system can include a gas infusion system disposed inside in the housing, the gas infusion system configured to receive a flow of water from the body of water, to infuse said flow of water with oxygen and to simultaneously remove dissolved nitrogen from said flow of water.

METHOD AND APPARATUS FOR CONTROLLING SHAKING AMPLITUDE OF FLOATING BODY, AND STORAGE MEDIUM AND ELECTRONIC APPARATUS

NºPublicación:  WO2025185618A1 12/09/2025
Solicitante: 
HUANENG CLEAN ENERGY RES INSTITUTE [CN]
\u4E2D\u56FD\u534E\u80FD\u96C6\u56E2\u6E05\u6D01\u80FD\u6E90\u6280\u672F\u7814\u7A76\u9662\u6709\u9650\u516C\u53F8
WO_2025185618_PA

Resumen de: WO2025185618A1

A method for controlling the shaking amplitude of a floating body, the method comprising: when it is predicted that a typhoon is going to arrive within a first time period, determining typhoon information of the typhoon, wherein the typhoon information comprises: the wind intensity of the typhoon and the wind direction of the typhoon; on the basis of the typhoon information, determining an operating mode of a target system, wherein the target system is used for controlling the shaking amplitude of a floating body, the floating body is used for bearing a wind turbine generator set, and the shaking amplitude is used for describing the stability of the floating body; and on the basis of the operating mode, regulating the water level difference of a plurality of floating stand columns of the floating body, so as to control the shaking amplitude of the floating body within the first time period by means of the water level difference. Also included are an apparatus for controlling the shaking amplitude of a floating body, and a storage medium, an electronic apparatus, a computer program product and a computer program.

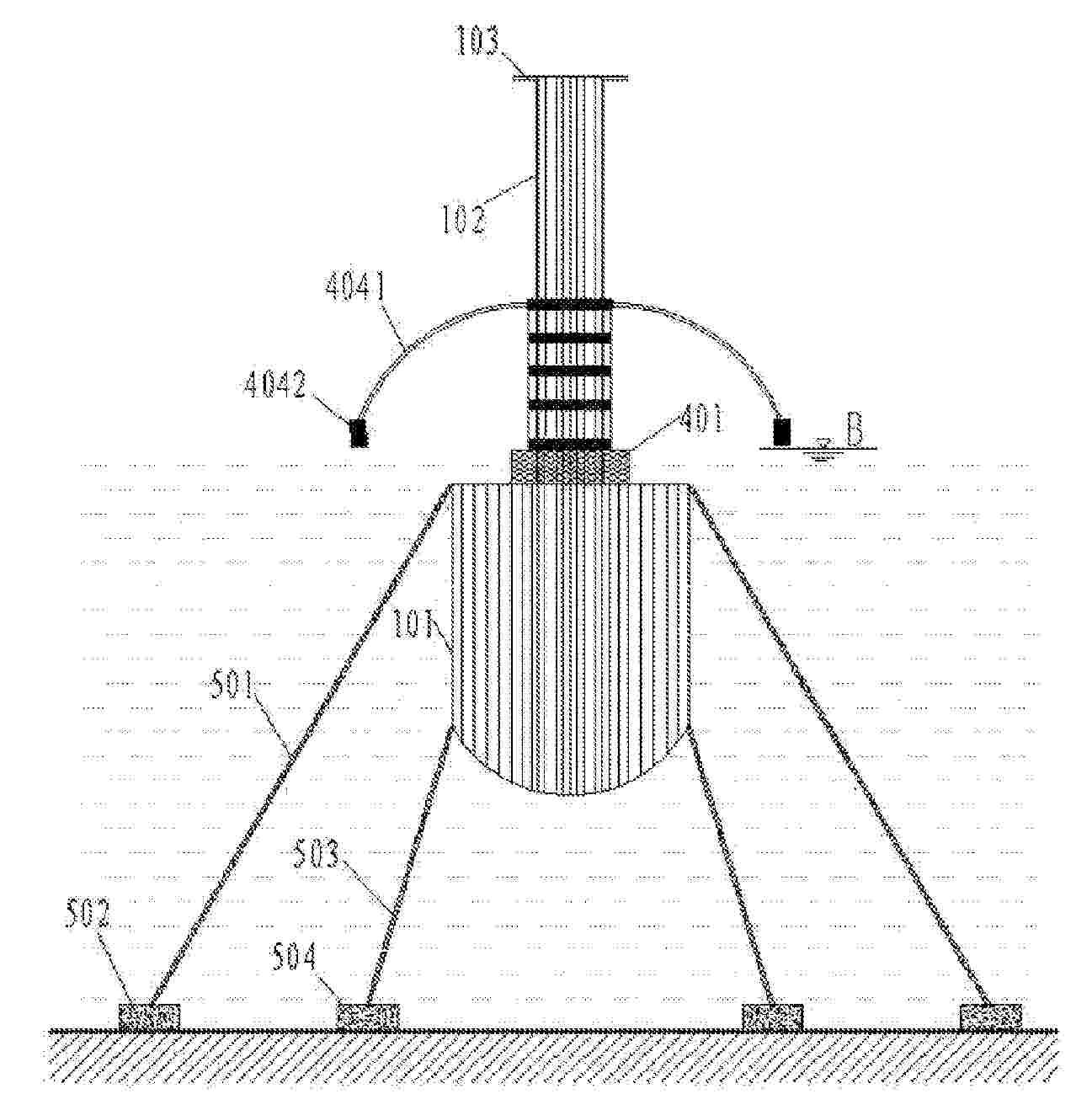
RING-BASED FLOATING AND FIXED-FLOATING WIND TURBINE PLATFORMS

NºPublicación:  WO2025188350A1 12/09/2025
Solicitante: 
UNIV OF VIRGINIA PATENT FOUNDATION [US]
UNIVERSITY OF VIRGINIA PATENT FOUNDATION
WO_2025188350_PA

Resumen de: WO2025188350A1

A wind turbine platform, including a buoyancy tube disposed radially around a tower and/or stem for a floating wind turbine or around the tower and/or monopile for a fixed-bottom wind turbine, a plurality of buoyancy cables/spokes extending from the buoyancy tube to the stem and arranged to carry in tension an upward buoyancy force of the buoyancy tube, and a plurality of thrust cables/spokes extending from the buoyancy tube to the stem and/or tower and arranged along with the buoyancy cables to carry in tension a generally horizontal force imparted by at least one of rotor thrust, torque, wind, and wave forces.

SYSTEMS CONFIGURED TO MOOR A FLOATING STRUCTURE TO A SEABED AND PROCESSES FOR USING SAME

NºPublicación:  WO2025188817A1 12/09/2025
Solicitante: 
MODEC INT INC [US]
MODEC INTERNATIONAL, INC
WO_2025188817_PA

Resumen de: WO2025188817A1

Systems for mooring a floating structure to a seabed and processes for using same. The system can include a mooring leg, a first weight and a second weight configured to be connected to the mooring leg toward a first end and a second end thereof, respectively, and a first buoy configured to be connected to the mooring leg between the first and second weights. The first end of the mooring leg can be configured to be connected to an anchor disposed on the seabed. The second end of the mooring leg can be configured to be connected to the structure. The mooring leg can include a chain, a wire rope, a rope formed from a polymer, or a combination thereof. The first and second weights and the first buoy can be configured to be located at an elevation above the seabed and below the surface of the body of water.

FLOATING GEAR SET, SPEED CHANGE DEVICE AND WIND GENERATING SET

NºPublicación:  US2025283451A1 11/09/2025
Solicitante: 
BEIJING GOLDWIND SCIENCE & CREATION WINDPOWER EQUIPMENT CO LTD [CN]
BEIJING GOLDWIND SCIENCE & CREATION WINDPOWER EQUIPMENT CO., LTD
KR_20250005384_PA

Resumen de: US2025283451A1

A floating gear set includes a self-aligning shaft assembly and two gears. Two axial ends of the self-aligning shaft assembly are respectively inserted into the two gears, and the self-aligning shaft assembly includes a shaft body and a self-aligning member, where the shaft body is connected with the two gears in a position-limited manner in a circumferential direction through the self-aligning member, and the shaft body swings radially relative to the two gears through the self-aligning member. In the above solution, the self-aligning shaft assembly is configured to swing along a radial direction relative to the two gears, and the two gears are configured to be misaligned with each other in the radial direction and be in a connection state in which the two gears float from each other in the radial direction.

INSTALLATION OF A WIND TURBINE ON A FLOATING FOUNDATION

NºPublicación:  US2025283450A1 11/09/2025
Solicitante: 
ITREC B V [NL]
Itrec B.V
US_2023392584_PA

Resumen de: US2025283450A1

A vessel for use in installation of a wind turbine on a floating foundation is provided, where both the vessel and the floating foundation are in floating condition and subject to sea-state induced motions. The vessel includes a floating hull; a crane including a hoisting system to suspend the wind turbine; a mast alignment system provided to engage on the wind turbine mast of the suspended wind turbine, and bring and maintain the wind turbine mast in alignment with the mounting axis of the floating foundation in order to compensate for sea-state induced motions; and a restraining system arranged to restrain the floating foundation only in a horizontal plane relative to the floating hull of the vessel and to allow for both sea-state induced heave motion and sea-state induced tilt motions in one or more vertical planes of the mast mounting structure relative to the hull of the vessel.

RIGHTING DEVICE FOR FLOATING UNIT

NºPublicación:  US2025282455A1 11/09/2025
Solicitante: 
TOYOTA JIDOSHA KK [JP]
TOYOTA JIDOSHA KABUSHIKI KAISHA

Resumen de: US2025282455A1

A righting device for righting a floating unit with a plurality of hulls from a capsize in a liquid includes a valve liquid injection unit capable of selectively performing a ballast function by injection of a liquid for each of the hulls, and a liquid displacement unit capable of selectively performing a float function by displacing the injected liquid for each of the hulls.

SYSTEM AND METHOD FOR OPERATING A FLOATING WIND TURBINE, FLOATING WIND TURBINE, WIND PARK, COMPUTER PROGRAM PRODUCT AND COMPUTER-READABLE STORAGE MEDIUM

NºPublicación:  EP4612413A1 10/09/2025
Solicitante: 
SIEMENS GAMESA RENEWABLE ENERGY AS [DK]
Siemens Gamesa Renewable Energy A/S
TW_202432950_A

Resumen de: TW202432950A

The invention relates to a system (100) for reducing power output fluctuations of a power output (P1, P1a, P2, P3) generated by at least one floating wind turbine (10, 20) having a rotor (11, 21) and blades (12, 22), comprising: a power output determining device (40) for determining an amplitude of power output fluctuations generated by the at least one floating wind turbine (10, 20) by monitoring the power output (P1, P1a, P2, P3), and a wind turbine controlling device (41) for controlling an operation mode of the at least one floating wind turbine (10, 20) based on the determined amplitude in order to lower the amplitude of the power output fluctuations. The invention further relates to a floating wind turbine (10, 20), a wind park (200), a method for providing electrical energy to an electrical grid by operating the inventive system (100), a computer program product (80) for carrying out the inventive method and a computer-readable storage medium (90) having the computer program product (80) stored thereon.

MOORING APPARATUS, FLOATING-TYPE OFFSHORE WIND POWER GENERATOR AND CONTROL METHOD THEREFOR

NºPublicación:  EP4614002A1 10/09/2025
Solicitante: 
POSCO CO LTD [KR]
POSCO Co., Ltd
EP_4614002_PA

Resumen de: EP4614002A1

A mooring apparatus of a floating-type structure according to the present disclosure comprises: a chain wheel on which a mooring chain is wound; a brake band surrounding the outer circumference of the chain wheel; a brake actuator which provides a pulling force to the brake band such that the brake band brakes by compressing the outer circumference of the chain wheel; a tension detection portion that measures tension applied to the brake band; and a controller which controls the brake actuator to reduce the pulling force of pulling the brake band when a measured value measured by the tension detection portion exceeds a set value.

VARIABLE-FREQUENCY PENDULUM-TYPE DAMPING DEVICE, FLOATING FOUNDATION, AND ADJUSTMENT METHOD

NºPublicación:  WO2025179980A1 04/09/2025
Solicitante: 
HUANENG CLEAN ENERGY RES INSTITUTE [CN]
\u4E2D\u56FD\u534E\u80FD\u96C6\u56E2\u6E05\u6D01\u80FD\u6E90\u6280\u672F\u7814\u7A76\u9662\u6709\u9650\u516C\u53F8
WO_2025179980_PA

Resumen de: WO2025179980A1

A variable-frequency pendulum-type damping device, a floating foundation, a wind turbine generator, and an adjustment method. The variable-frequency pendulum-type damping device (7) comprises a base (71), a swing arm (73), a pendulum bob assembly (78) and a pumping component. The swing arm (73) is provided with a first end part and a second end part, the first end part is connected to the base (71), and the second end part of the swing arm (73) can swing relative to the base (71). The pendulum bob assembly (78) is connected to the second end part of the swing arm (73) and is provided with a chamber, and at least part of the pendulum bob assembly (78) is located below a liquid level (8). The pumping component is connected to the chamber, and is used for pumping a medium into the chamber or pumping out the medium in the chamber.

ACTIVE VARIABLE-FREQUENCY DAMPING DEVICE, FLOATING-TYPE FOUNDATION, AND ADJUSTMENT METHOD

NºPublicación:  WO2025179979A1 04/09/2025
Solicitante: 
HUANENG CLEAN ENERGY RES INSTITUTE [CN]
\u4E2D\u56FD\u534E\u80FD\u96C6\u56E2\u6E05\u6D01\u80FD\u6E90\u6280\u672F\u7814\u7A76\u9662\u6709\u9650\u516C\u53F8
WO_2025179979_PA

Resumen de: WO2025179979A1

An active variable-frequency damping device, a floating-type foundation, a wind turbine generator system and an adjustment method. The active variable-frequency damping device (100) comprises a friction pendulum assembly (1), a counterweight assembly (2) and a driving component, wherein the friction pendulum assembly (1) has a first component (11) and a second component (22), the second component (12) abuts against the first component (11), and the second component (12) can periodically swing on the first component (11); the counterweight assembly (2) has a cavity (21), the counterweight assembly (2) is connected to the second component (12), and at least part of the counterweight assembly (2) is located below a liquid level; and the driving component is in communication with the cavity (21), and the driving component is configured to pump a medium into the cavity (21) or pump the medium out from the cavity (21).

FLOATING FOUNDATION HAVING STABILIZATION CONTROL, AND WIND TURBINE GENERATOR

NºPublicación:  WO2025179981A1 04/09/2025
Solicitante: 
HUANENG CLEAN ENERGY RES INSTITUTE [CN]
\u4E2D\u56FD\u534E\u80FD\u96C6\u56E2\u6E05\u6D01\u80FD\u6E90\u6280\u672F\u7814\u7A76\u9662\u6709\u9650\u516C\u53F8
WO_2025179981_PA

Resumen de: WO2025179981A1

The present application relates to the technical field of floating foundations, and discloses a floating foundation having stabilization control, and a wind turbine generator. The floating foundation having stabilization control comprises a foundation platform, guide rods, counterweight members and driving components, There are multiple guide rods, and the projections of the multiple guide rods onto a horizontal plane intersect with one another. The counterweight members are disposed on the guide rods, and the counterweight members can move along the guide rods. The driving components are connected to the foundation platform and the counterweight members, and the driving components are used for driving the counterweight members to move along the guide rods, so as to adjust the position of the center of gravity of the foundation platform.

FLOATING WIND TURBINE WITH PASSIVE PITCH CORRECTION

NºPublicación:  WO2025184470A1 04/09/2025
Solicitante: 
SYROVY GEORGE J [US]
SYROVY, George J
WO_2025184470_PA

Resumen de: WO2025184470A1

The nacelle (27) of a horizontal axis wind turbine (WT) is mounted on a vertical support (VS) by means of a pivot (33). The vertical support is mounted off-center with respect to a floating, rotatable support (7). A weight (43) functionally attached to the nacelle maintains the axis of the turbine horizontal as the floating support pitches (rotates forward and back). The weight is attached to an elongate vertical element (41). Relative motion between the vertical element (41) and the pitching floating support (HS) generates an electric current.

METHOD FOR STARTING A KITE SYSTEM, CONTROL UNIT FOR A KITE DEVICE, AND KITE DEVICE

NºPublicación:  WO2025180768A1 04/09/2025
Solicitante: 
SKYSAILS GROUP GMBH [DE]
SKYSAILS GROUP GMBH
WO_2025180768_PA

Resumen de: WO2025180768A1

The invention relates to a method for starting a kite system (23), wherein the kite system (23) comprises a kite (14) and a gondola (25), and the gondola (25) is connected to the kite (14) via a line tree (24). The kite system (23) is coupled to a base station (16) via a traction cable (15). In an intermediate phase (28) of a starting process, a guide line (29) extends between the freely flying kite system (23) and the base station (16). In the method, the kite system (23) is controlled along a flight path such that the traction cable (23) is guided in a lateral direction (42) with respect to the wind direction (W) until the guide line (29) rests against the traction cable (15), the guide line (29) is moved until the guide line (29) lies in a guide line receiving area (55, 56) of the base station (16), said receiving area adjoining the traction cable (15), and the distal portion (32) of the guide line (29) is separated from the proximal portion (31) of the guide line (29). The invention also relates to a control unit for a kite device and to a kite device.

BUOYANT OFFSHORE PLATFORM DEPLOYMENT DEVICE AND A METHOD OF DEPLOYING BUOYANT OFFSHORE PLATFORMS

NºPublicación:  EP4608710A1 03/09/2025
Solicitante: 
MARINE POWER SYSTEMS LTD [GB]
Marine Power Systems Limited
US_2025214680_PA

Resumen de: US2025214680A1

A deployment device is provided for use in deploying an offshore renewable energy system mounting platform to a submerged operating configuration. The deployment device has a body portion including a platform engaging portion, the platform engaging portion arranged to fixably engage a corresponding portion of an offshore renewable energy system mounting platform, a mooring line tensioning member coupled to the body portion, in which the platform engaging portion is arranged to disengage from the platform. In use, when the platform engaging portion is engaged with the platform, the mooring line tensioning member applies a tensioning force to at least one mooring line along a plane substantially perpendicular to the base of the platform, in which under the tensioning force, the body portion is arranged to move relative to the at least one mooring line from a first undeployed position to a second deployed position.

SEMI-SUBMERSIBLE FLOATING PLATFORM FOR A WIND TURBINE

NºPublicación:  EP4608711A1 03/09/2025
Solicitante: 
BAYWA R E OFFSHORE WIND GMBH [DE]
BayWa r.e. Offshore Wind GmbH
WO_2025051591_PA

Resumen de: WO2025051591A1

The present invention relates to a semi-submersible floating platform (1) for a wind turbine (50). The platform comprises: three columns each having an axis, the columns comprising a primary column (10 )adapted to support a wind turbine, and two secondary columns (30a, 30b) wherein each one of the three columns is connected to the other two columns by cross members (15a, 15b, 35) in a triangular arrangement. Further, the cross member between the secondary columns (35) incorporates ballast and each of the cross members (15a, 15b) connecting to the primary column incorporate buoyancy. The primary column (10) has a larger displacement than either of the two secondary columns (30a, 30b) and the cross member (35) extending between the secondary columns has a smaller displacement than the cross members (15a, 15b) connected to the primary column (10).

FLOATING WIND POWER GENERATION PLATFORM AND FLOATING WIND POWER GENERATION SYSTEM

NºPublicación:  US2025269940A1 28/08/2025
Solicitante: 
BITMAIN TECH INC [CN]
BITMAIN TECHNOLOGIES INC
WO_2024051533_PA

Resumen de: US2025269940A1

The present application discloses a floating wind power generation platform and a floating wind power generation system. The floating wind power generation platform includes a plurality of hulls and at least one transverse connection structure; where the plurality of hulls are spaced apart along a horizontal direction, two ends of each transverse connection structure are connected to two adjacent hulls respectively, a support frame extends upwards from the top of each hull, adjacent support frames are symmetrically provided in directions away from their respective centers of gravity, and the support frame has an installation position for installation of a wind turbine.

MASS AUGMENTATION OF A TENSION-LEG PLATFORM

NºPublicación:  US2025269938A1 28/08/2025
Solicitante: 
PELASTAR LLC [US]
Pelastar, LLC
US_2025269938_PA

Resumen de: US2025269938A1

Tension-leg platforms for supporting wind turbines are augmented with surge plates. The surge plates increase the amount of water that is displaced when a tension-leg platform is accelerated horizontally, which reduces wave induced accelerations. The surge plates are mounted to the deepest parts of the submerged structure of each platform to minimize wave loading.

FLOATING WIND TURBINE FOUNDATIONS

NºPublicación:  WO2025176883A1 28/08/2025
Solicitante: 
AKER SOLUTIONS AS [NO]
AKER SOLUTIONS AS
WO_2025176883_PA

Resumen de: WO2025176883A1

A floatable foundation (100) for a wind turbine generator comprising a central column structure (10, 11, 12); three outer column members (20, 21, 22), each being a polygonal prism with rectangular side wall panels (22x); three horizontal pontoon members (30, 31, 32) and three horizontal beam members (40, 41, 42) fixed between the central column structure (10, 11, 12) and the outer column members (20, 21, 22), each pontoon member (30, 31, 32) and each beam member (40, 41, 42) being a box beam with four flat panels; and inner corner supports (70), each inner corner support (70) comprising a rectangular plate (71) fixed to the rectangular side wall panel (22x) of the outer column member (20, 21, 22) and to the pontoon or beam member (30, 31, 32; 40, 41, 42).

MASS AUGMENTATION OF A TENSION-LEG PLATFORM

NºPublicación:  WO2025178634A1 28/08/2025
Solicitante: 
PELASTAR LLC [US]
PELASTAR, LLC
WO_2025178634_PA

Resumen de: WO2025178634A1

Tension-leg platforms for supporting wind turbines are augmented with surge plates. The surge plates increase the amount of water that is displaced when a tension-leg platform is accelerated horizontally, which reduces wave induced accelerations. The surge plates are mounted to the deepest parts of the submerged structure of each platform to minimize wave loading.

METHOD OF LAUNCHING, RECOVERING, OR INSPECTING A FLOATING OFFSHORE WIND TURBINE CONSTRUCTION

NºPublicación:  EP4605299A1 27/08/2025
Solicitante: 
STIESDAL OFFSHORE AS [DK]
Stiesdal Offshore A/S
KR_20250091200_PA

Resumen de: DK202200941A1

After assembling a floating offshore wind turbine construction (1), which includes the wind turbine (2) as well as the support structure (3), it is transported to a platform (16) at a head of an inclined slipway (23) that extends from a level above a surface (4) of the water to a position under the surface (4) of the water. The construction (1) is launched by moving it from the platform (16) down along the slipway (23) into the water until the assembled floating offshore wind turbine (1) is lifted off the slipway (23) by the buoyancy on the floating support structure (3).

MOORING SYSTEM STATUS MONITORING FOR FLOATING OFFSHORE WIND TURBINE

NºPublicación:  EP4605296A1 27/08/2025
Solicitante: 
SIEMENS GAMESA RENEWABLE ENERGY AS [DK]
Siemens Gamesa Renewable Energy A/S
KR_20250116105_PA

Resumen de: TW202430774A

A method of monitoring a mooring system (10) of a floating offshore installation, FOI, (100) that is moored by the mooring system (10) is provided. The method comprises obtaining parameters related to a position of the FOI, wherein the parameters include at least mooring system parameters that are indicative of a region (15) within which a position of the FOI is expected to lie. The method further includes obtaining position measurements of an actual position (11) of the FOI, and deriving, from the obtained parameters and from the position measurements of the FOI, a state of the mooring system (10) of the FOI.

WIND MOTOR PARALLEL-STAGE INTERMEDIATE-SPEED SHAFT SYSTEM CONNECTING STRUCTURE, AND SHAFT SYSTEM

NºPublicación:  EP4607773A1 27/08/2025
Solicitante: 
ZF WIND POWER TIANJIN CO LTD [CN]
ZF WIND POWER ANTWERPEN NV [BE]
ZF Wind Power (Tianjin) Co., Ltd,
ZF Wind Power Antwerpen NV
EP_4607773_PA

Resumen de: EP4607773A1

A wind turbine generator parallel-stage intermediate-speed shaft train connecting structure, wherein a sun shaft and a hollow shaft are connected together by means of rigid connection. A bearing for the hollow shaft is arranged on a box body on one side of a generator. Floating shift of the sun shaft during the operation of the generator is absorbed by the bearing. Because interference splines are used to achieve the rigid connection between the sun shaft and the hollow shaft, there is no need to provide lubrication and cooling for the splines, and the structure has low manufacturing costs and the structure is simple. Further provided is a wind turbine generator parallel-stage intermediate-speed shaft train, having the advantages of simple structure and low maintenance costs.

PARALLEL-STAGE MEDIUM-SPEED SHAFT SYSTEM CONNECTING STRUCTURE FOR WIND TURBINE, AND SHAFT SYSTEM

NºPublicación:  EP4607059A1 27/08/2025
Solicitante: 
ZF WIND POWER TIANJIN CO LTD [CN]
ZF WIND POWER ANTWERPEN NV [BE]
ZF Wind Power (Tianjin) Co., Ltd,
ZF Wind Power Antwerpen NV
EP_4607059_PA

Resumen de: EP4607059A1

A wind turbine generator parallel-stage intermediate-speed shaft train connecting structure, comprising a sun shaft (1), a downstream shaft portion, and a high-speed gear (4), wherein the high-speed gear (4) is arranged outside of the downstream shaft portion in an axial direction, an axial position of the downstream shaft portion is fixed relative to a wind turbine generator box (9), and the sun shaft (1) is connected to the high-speed gear (4) by a thin-walled flange ring to allow the thin-walled flange ring to absorb a floating shift of the sun shaft (1) by means of elastic deformation.

WIND-POWERED VERTICAL FLOATING REACTOR FOR BIOREMEDIATION OF BODIES OF WATER

NºPublicación:  WO2025172752A1 21/08/2025
Solicitante: 
BLANCO ZUNIGA CESAR RENE [CO]
BLANCO ZU\u00D1IGA, Cesar Ren\u00E9
WO_2025172752_A1

Resumen de: WO2025172752A1

The present invention relates to a vertical floating wind propulsion system that is able to increase the concentration of dissolved oxygen in bodies of water while reducing the concentration of contaminating organic matter under the action of biofilms of anaerobic and aerobic microorganisms, which transform or consume said organic matter in their metabolic processes. The present invention consists of a wind propulsion system, a grooved floating buoy, a system of internal and external culture media, a duct, a sediment collecting base and an anchor. The wind propulsion system captures wind energy to generate rotational movement which is transferred by means of a shaft to a system of thruster propellers, which are arranged inside the duct. As the water rises by hydraulic displacement, organic sediments and microorganisms that can attach to the internal and external culture media are carried with it, forming biofilms. These communities of microorganisms consume excess organic matter in their metabolic processes, reducing the concentration thereof in water. Furthermore, the water that is displaced to the surface can be oxygenated in a more efficient way when it comes in contact with atmospheric oxygen. The system can be located in critical areas in bodies of water and is kept in situ by means of a concrete anchor. The system is designed as a device that neither consumes electricity nor generates polluting emissions as it is wind-powered.

FLOATING WIND TURBINE FOUNDATION

NºPublicación:  AU2024223226A1 21/08/2025
Solicitante: 
ODFJELL OCEANWIND AS
ODFJELL OCEANWIND AS
AU_2024223226_PA

Resumen de: AU2024223226A1

The present invention relates to an offshore floating wind turbine foundation comprising at least two outer members arranged around a tower comprising a rotor- nacelle assembly with blades, wherein a number of pair of beams connect the center buoy and said at least two outer members, a pair of beams tapers from the tower towards each of said at least two outer members.

POWER GENERATION DEVICE

NºPublicación:  WO2025169578A1 14/08/2025
Solicitante: 
AISIN CORP [JP]
\u682A\u5F0F\u4F1A\u793E\u30A2\u30A4\u30B7\u30F3
WO_2025169578_PA

Resumen de: WO2025169578A1

A power generation device (100) comprises: a floating body (1); a connection shaft (2) which is disposed on a first axial center (X1) along the horizontal direction; a pair of rotation bodies (3) which are disposed separately on both sides of the floating body (1) in the axial direction (L) along the first axial center (X1), and which are supported rotatably about the first axial center (X1) with respect to the floating body (1); and a power generation unit which is provided with an input member disposed on the first axial center (X1), and which performs power generation by using a rotation driving force of the input member. Each of the pair of rotation bodies (3) is configured to rotate by receiving the flow of a fluid along the direction orthogonal to the first axial center (X1). The power generation unit is disposed inside the floating body (1). The connection shaft (2) is disposed to penetrate the floating body (1) in the axial direction (L), and connects the pair of rotation bodies (3) and the input member so as to integrally rotate the same.

CONSTRUCTION OF FLOATING WIND TURBINE FOUNDATIONS

NºPublicación:  WO2025168348A1 14/08/2025
Solicitante: 
AKER SOLUTIONS AS [NO]
AKER SOLUTIONS AS
WO_2025168348_PA

Resumen de: WO2025168348A1

A method of constructing a floatable foundation (100) for a wind turbine generator, the method comprising: providing three column sections (10a-d) at a foundation construction site (S); providing three pontoon sections (11a-c) at the foundation construction site (S); resting the three columns sections (10a-d) on a plurality of first supports (1) at the construction site (S); resting the three pontoon sections (11a-c) on a plurality of second supports (2) at the construction site (S); providing three brace sections (12a-c) at the foundation construction site (S); and fixing each of the three pontoon sections (11a-c) between different pairs of column sections (10a-d) and fixing each of the three brace sections (12a-c) between different pairs of column sections (10a-d).

TURNING MULTI-LAYER WELDING METHOD AND TURNING MULTI-LAYER WELDED JOINT

NºPublicación:  WO2025169781A1 14/08/2025
Solicitante: 
JFE STEEL CORP [JP]
\uFF2A\uFF26\uFF25\u30B9\u30C1\u30FC\u30EB\u682A\u5F0F\u4F1A\u793E
WO_2025169781_PA

Resumen de: WO2025169781A1

Provided are a turning multi-layer welding method and a turning multi-layer welded joint in a large structure such as a floating offshore wind power generation facility. The present invention provides a turning multi-layer welding method in which a bracket 6 for reinforcing a standing plate 5 provided on a steel plate 4 is welded to the steel plate 4 and the standing plate 5, the welding method including forming a first welding bead 1 in multiple layers along the short side of a rectangular abutment surface 6a where the bracket 6 abuts the steel plate 4, subsequently placing a second welding bead 2 and a third welding bead 3 on the end section of the first welding bead 1 along the long side of the rectangular abutment surface 6a, and furthermore stretching the second welding bead 2 and the third welding bead 3 onto the steel plate 4 to form said welding beads in multiple layers.

ANCHORING STRUCTURE, FLOATING WIND TURBINE ASSEMBLY AND FLOATING WIND TURBINE ARRAY

NºPublicación:  WO2025162325A1 07/08/2025
Solicitante: 
HUANENG CLEAN ENERGY RES INSTITUTE [CN]
\u4E2D\u56FD\u534E\u80FD\u96C6\u56E2\u6E05\u6D01\u80FD\u6E90\u6280\u672F\u7814\u7A76\u9662\u6709\u9650\u516C\u53F8
WO_2025162325_PA

Resumen de: WO2025162325A1

An anchoring structure (10), a floating wind turbine assembly and a floating wind turbine array. Each anchoring structure (10) comprises an anchor rod (11); a rotary member (12), which is rotatably arranged on the anchor rod (11); an elastic holding member (13), which is arranged between the anchor rod (11) and the rotary member (12); and a mooring cable (14), which comprises a winding section (141) and an extending section (142), the winding section (141) being wound around the periphery of the rotary member (12), a first end of the winding section (141) being fixedly connected to the rotary member (12), a first end of the extending section (142) being connected to a second end of the winding section (141), and a second end of the extending section (142) being connected to a floating wind turbine (20). When the rotary member (12) rotates, the extending section (142) extends or shortens.

FLOATING BODY AND OFFSHORE WIND TURBINE HAVING A FLOATING BODY

NºPublicación:  WO2025163376A1 07/08/2025
Solicitante: 
AERODYN CONSULTING SINGAPORE PTE LTD [SG]
AERODYN CONSULTING SINGAPORE PTE LTD
WO_2025163376_PA

Resumen de: WO2025163376A1

The invention relates to a floating body (10) having a plurality of balls (30) arranged concentrically around a carrier (20), wherein the balls (30) are fastened to the carrier (20), at least a first subset of the balls (30) is arranged in at least a first plane and at least a second subset of the balls (30) is arranged in at least a second plane opposite to the first plane, and the balls (30) of the second plane are arranged offset with respect to the balls (30) of the first plane in such a way that the balls (30) of the second plane engage in the interspaces between the balls (30) of the first plane.

Offshore Structure, In Particular A Floatable Offshore Structure

NºPublicación:  US2025253641A1 07/08/2025
Solicitante: 
RUNGE JOERN [DE]
VON SCHEELE ARON [SE]
RWE OFFSHORE WIND GMBH [DE]
Runge J\u00F6rn,
von Sch\u00E9ele Aron,
RWE Offshore Wind GmbH
KR_20250084159_PA

Resumen de: US2025253641A1

An offshore structure that is a floatable offshore structure that includes at least one submarine cable connector configured to connect a submarine power cable to an electrical device of the offshore structure. The offshore structure also includes at least one messenger line. A first end of the messenger line is fixed to the submarine power cable and a further end of the messenger line is fixed to the offshore structure.

HEEL TANK DAMPER FOR FLOATING STRUCTURES

NºPublicación:  EP4594169A1 06/08/2025
Solicitante: 
UNIV MAINE SYSTEM [US]
University of Maine System Board of Trustees
WO_2024072780_PA

Resumen de: WO2024072780A1

A barge-type wind turbine platform in combination with a heel tank damper includes a barge-type wind turbine platform having a keystone, two pairs of bottom beams, each including two bottom beams connected to opposite sides of the keystone, wherein the combined pairs of bottom beams define a foundation. A U-shaped ballast conduit is mounted or formed within each of the pairs of bottom beams. Each ballast conduit has ballast water therein, the ballast water extending from an outwardly extending portion of each bottom beam of each pair of bottom beams, such that a volume of air is defined between a surface of the ballast water in each outwardly extending portion and an outwardly facing wall of each outwardly extending portion, and an internal damping element is provided within each ballast conduit. A heel tank damper is defined by the ballast conduits and their respective internal damping elements.

FOUNDATION DEVICE FOR AN OFFSHORE WIND TURBINE TOWER

NºPublicación:  EP4596389A1 06/08/2025
Solicitante: 
BLUENEWABLES S L [ES]
Bluenewables S.L
EP_4596389_A1

Resumen de: EP4596389A1

The present invention relates to a device for supporting an offshore wind turbine tower. The device comprises a first body (1), a support body (3) attached to the first body (1), a second body (2) and a plurality of legs (4) attached to the second body (2). The support body (3) has a cylindrical interior and is configured to provide support for and connection of a wind turbine tower (10). The first body (1) comprises a central portion (5) connected to the support body (3) and a plurality of hollow arms (6), connected with the central portion (5). Each hollow arm (6) comprises a through-hole (7) configured to allow a leg (4) to pass through the through-hole. The first body (1) has a volume and a weight configured to provide, when empty, a buoyancy of at least 20% of the weight of the entire device, the weight of the first body (1) being less than 8% of the weight of the entire device. The legs (4) and/or the first body (1) have a locking system configured to lock the relative position between the legs and the first body.

OFFSHORE STRUCTURE, IN PARTICULAR A FLOATABLE OFFSHORE STRUCTURE

NºPublicación:  EP4595176A1 06/08/2025
Solicitante: 
RWE OFFSHORE WIND GMBH [DE]
RWE Offshore Wind GmbH
KR_20250084159_PA

Resumen de: WO2024067992A1

The offshore structure (100, 200, 300, 400, 500, 600, 700, 800), in particular a floatable offshore structure (200, 300, 400, 500, 600, 700, 800), comprising: at least one submarine cable connector (102, 203, 302, 502, 602, 702, 802) configured to connect a submarine power cable (108, 208, 308, 508, 608, 708, 808) to an electrical device (104, 204) of the offshore structure (100, 200, 300, 400, 500, 600, 700, 800), characterized in that the offshore structure (100, 200, 300, 400, 500, 600, 700, 800) further comprises: at least one messenger line (114, 214, 314, 514, 614, 714), wherein a first end (101, 201, 301, 501, 601, 701) of the messenger line (114, 214, 314, 514, 614, 714) is fixed to the submarine power cable (108, 208, 308, 508, 608, 708, 808) and a further end (103, 203, 303, 503, 603, 703) of the messenger line (114, 214, 314, 514, 614, 714) is fixed to the offshore structure (100, 200, 300, 400, 500, 600, 700, 800).

Underwater positioning and mounting device for four-pile jacket

NºPublicación:  CN223177677U 01/08/2025
Solicitante: 
CCCC THIRD HARBOR ENG CO LTD
\u4E2D\u4EA4\u7B2C\u4E09\u822A\u52A1\u5DE5\u7A0B\u5C40\u6709\u9650\u516C\u53F8
CN_223177677_U

Resumen de: CN223177677U

The utility model relates to the technical field of jacket installation, and discloses a four-pile jacket underwater positioning and installing device which comprises a floating crane ship, a first positioning assembly arranged on the outer side of the fixing seat and used for positioning the floating crane ship, a crane base arranged on the outer side of the floating crane ship, and a second positioning assembly arranged on the outer side of the crane base. A crane body is arranged on the outer side of the crane base; through the application of the RTX satellite station difference technology and the deepwater jacket digital visualization technology, the on-site construction efficiency is remarkably improved, meanwhile, underwater operation of divers is avoided, the construction safety is powerfully guaranteed, the application of the technology achieves a good effect in the project, reference is provided for later similar engineering construction, and the construction safety is improved. By means of mature application of the technology, construction tasks are completed in a high-quality and efficient mode, and a safer and more friendly working environment is provided for offshore wind power constructors.

MOORING SYSTEM

NºPublicación:  WO2025159447A1 31/07/2025
Solicitante: 
YUJOO CO LTD [KR]
(\uC8FC)\uC720\uC8FC
WO_2025159447_PA

Resumen de: WO2025159447A1

The present invention comprises: a floating body floating on the sea surface; a mooring anchor seated on the seabed; a weight body positioned underwater between the floating body and the mooring anchor; and a plurality of mooring lines for mooring the floating body and having a closed curve shape. The mooring lines include: a first portion, in which a central lower part catches on a weight body mooring line catching part of the weight body; a second portion which passes through a weight body vertical passage in the weight body, and in which a central lower part catches on an anchor mooring line catching part of the mooring anchor; and a third portion which passes through a floating body vertical passage in the floating body and is connected to the first portion and the second portion, and in which a central upper portion catches on a floating body mooring line catching part provided on the floating body.

FLOATING-TYPE WIND POWER GENERATION PLATFORM AND FLOATING-TYPE WIND POWER GENERATION SYSTEM

NºPublicación:  US2025242896A1 31/07/2025
Solicitante: 
BITMAIN TECH INC [CN]
BITMAIN TECHNOLOGIES INC
WO_2024066870_PA

Resumen de: US2025242896A1

The present application discloses a floating-type wind power generation platform and a floating-type wind power generation system. The floating-type wind power generation platform includes a first transverse connector and multiple floating support components, where the multiple floating support components are arranged at intervals on the water surface in a horizontal direction, and the first transverse connector includes a first connecting rod and an outward-extending plate, the first connecting rod has both ends connected to two adjacent floating support components, and the outward-extending plate extends from the outer side wall of the first connecting rod in a direction away from the center of the first connecting rod.

ENERGY COLLECTION LOCATION CHANGING SYSTEM

NºPublicación:  US2025242895A1 31/07/2025
Solicitante: 
TOYOTA JIDOSHA KK [JP]
TOYOTA JIDOSHA KABUSHIKI KAISHA

Resumen de: US2025242895A1

In the energy collection location changing system, a power generation floating body and a collection station setting system are provided so as to be able to perform data communication with each other. The power generation floating body has a power generation storage unit for storing the power generation energy and a navigation unit for navigation of the own base, and the collection station setting system has a location determination unit for determining a recovery position in which the collection station is provided based on at least one of a wind condition and a sea condition, a location notification unit for notifying the recovery position to each of the power generation floating bodies, and a setting unit for providing the collection station in the recovery position, and the navigation unit of the power generation floating body causes the own base to travel to the recovery position.

SEMI-SUBMERSIBLE FLOAT FOR AN OFFSHORE WIND TURBINE AND METHOD FOR CONSTRUCTING SUCH A FLOAT

NºPublicación:  AU2024221321A1 31/07/2025
Solicitante: 
SAIPEM S A
SAIPEM S.A
AU_2024221321_PA

Resumen de: WO2024170846A1

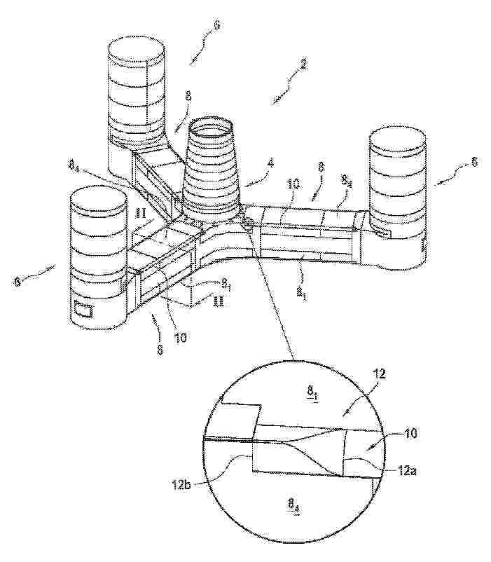
The invention relates to a semi-submersible float (2-1), in particular for an offshore wind turbine comprising four columns including one central column (4) intended to receive a wind turbine tower (6) and at least three outer columns (8) which are connected to the central column by arms forming lower pontoons (10). The float is free of upper arms connecting the central column to the outer columns and the outer columns and the lower pontoons are each formed by an assembly of planar panels (81 to 86, 101 to 104) each having a polyhedral cross-section. The invention also relates to a method for constructing such a float.

Schwimmkörper und Offshore-Windenergieanlage mit Schwimmkörper

NºPublicación:  DE102024102639A1 31/07/2025
Solicitante: 
AERODYN CONSULTING SINGAPORE PTE LTD [SG]
aerodyn consulting Singapore pte ltd

Resumen de: DE102024102639A1

Schwimmkörper (10) mit einer Mehrzahl von um einen Träger (20) konzentrisch angeordneten Kugeln (30), wobei wenigstens eine erste Teilmenge der Kugeln (30) in wenigstens einer ersten Ebene und wenigstens eine zweite Teilmenge der Kugeln (30) in wenigstens einer zur ersten Ebene parallel angeordneten zweiten Ebene angeordnet sind, dadurch gekennzeichnet, dass die Kugeln (30) der zweiten Ebene zu den Kugeln (30) der ersten Ebene derart versetzt angeordnet sind, dass die Kugeln (30) der zweiten Ebene in die Zwischenräume zwischen den Kugeln (30) der ersten Ebene eingreifen.

SEMI-SUBMERSIBLE TRIMARAN FLOATING OFFSHORE WIND VESSEL WITH TURRET MOORING

NºPublicación:  EP4590575A1 30/07/2025
Solicitante: 
TRIVANE LTD [GB]
Trivane Ltd
WO_2024062257_PA

Resumen de: WO2024062257A1

A floating structure (1) having three buoyant bodies (3,5,7) for supporting a horizontal axis wind turbine (6) and wind turbine tower (27). The floating structure (1) is provided with a geostationary mooring system that permits it to weathervane in order to head the wind turbine (6) into the wind, and has a wind turbine tower mount (29) for supporting the wind turbine tower (27). A central buoyant body (3) is located partially above water during assembly and tow out from port and is ballasted so that it is underwater when moored offshore, such that the floating structure (1) becomes a semi¬ submersible. The three buoyant bodies (3,5,7) are ship-shaped in form which reduces loads in the mooring system, and are made from stiffened flat plates, which are easier for many yards and fabrication shops to make, compared to cylindrical hulls.

FLOATING SUPPORT STRUCTURE WITH MULTIPLE CENTRAL COLUMNS FOR AN OFFSHORE WIND TURBINE AND METHOD FOR ASSEMBLING SUCH A STRUCTURE

NºPublicación:  EP4590578A1 30/07/2025
Solicitante: 
SAIPEM SA [FR]
SAIPEM S.A
KR_20250051745_PA

Resumen de: CN119894765A

The invention relates to a floating support structure (2-1) for an offshore wind turbine, comprising: a lower connector (4) centered on the axis (X-X) of the mast (9) of the wind turbine, said lower connector (4) comprising at least three lower receiving grooves (10) uniformly distributed around the axis of the mast of the wind turbine; an upper connector (6) centered on the axis of the mast of the wind generator, the upper part of which comprises means (14) for receiving the mast of the wind generator and the lower part of which comprises at least three upper receiving grooves (12) uniformly distributed around the axis of the mast of the wind generator; and at least three identical tubular central posts (8), the lower end of which is fitted in one receiving groove of the lower connector and the opposite upper end of which is fitted in one receiving groove of the upper connector (so as to form a floating support tower adapted to the vertical extension of the mast of the wind turbine). The invention further relates to an assembling method of the structure.

Floating platform for offshore wind power

NºPublicación:  CN223161948U 29/07/2025
Solicitante: 
CCCC HAIFENG NEW ENERGY TECH SHANWEI CO LTD
\u4E2D\u4EA4\u6D77\u5CF0\u65B0\u80FD\u6E90\u79D1\u6280\uFF08\u6C55\u5C3E\uFF09\u6709\u9650\u516C\u53F8
CN_223161948_U

Resumen de: CN223161948U

The utility model relates to the technical field of offshore power generation platforms, in particular to a floating platform for offshore wind power, which comprises a floating platform, a culture hole is formed in the floating platform, and a culture structure is arranged in the culture hole; by means of the breeding structure, the breeding holes are formed in the free space of the top of the floating platform, the breeding cages are placed in the breeding holes, when marine breeding and goods receiving are carried out in the breeding cages, three servo motors are started, output shafts of the servo motors drive winches connected with the servo motors to rotate, and therefore lifting chains can be rolled up; when the floating platform is used, the culture cage can be lifted up from the culture hole, at the moment, marine products in the culture cage can be taken out by opening the opening and closing door, and therefore the free space on the top of the floating platform is utilized, the phenomenon of space resource waste is avoided, and comprehensive utilization of resources and maximization of benefits are achieved.

Sandwich type corrugated plate floating body power generation device

NºPublicación:  CN223152194U 25/07/2025
Solicitante: 
CHINA HUADIAN ENG CO LTD
HUADIAN ZHONGGUANG NEW ENERGY TECH CO LTD
\u4E2D\u56FD\u534E\u7535\u79D1\u5DE5\u96C6\u56E2\u6709\u9650\u516C\u53F8,
\u534E\u7535\u4E2D\u5149\u65B0\u80FD\u6E90\u6280\u672F\u6709\u9650\u516C\u53F8
CN_223152194_U

Resumen de: CN223152194U

The utility model provides an interlayer type corrugated plate floating body power generation device which comprises a fan and a floating body, the floating body is a cylinder, the interior of the floating body is hollow, the inner wall and the outer wall of the floating body are made of corrugated plates, filling materials are poured between the inner wall and the outer wall, and sealing plates are arranged at the two ends of the floating body. The top end of the floating body is connected with the fan; wherein the number of the floating bodies is three or more, and the floating bodies are fixedly connected through connecting pieces; and the floating body is connected with the fan through the connecting piece. Three or more floating bodies are adopted to form a buoyancy structure, sea wave impact can be better reduced, and stability is improved. In addition, the draught fan is connected to the top end of the floating body and is higher than the water surface, and seawater corrosion can be reduced.

GEAR SHIFTING DEVICE, TRANSMISSION MECHANISM, AND WIND TURBINE GENERATOR SYSTEM

NºPublicación:  US2025237193A1 24/07/2025
Solicitante: 
BEIJING GOLDWIND SCIENCE & CREATION WINDPOWER EQUIPMENT CO LTD [CN]
BEIJING GOLDWIND SCIENCE & CREATION WINDPOWER EQUIPMENT CO., LTD
EP_4513057_PA

Resumen de: US2025237193A1

A gear shifting device includes a first planetary gear train. The first planetary gear train includes a first ring gear, a first planet carrier, a first planet gear, a sun idler, and a planet idler; the planet idler and the first planet gear are both installed on the first planet carrier; the first planet gear includes a pinion and a bull gear coaxially connected to the pinion; the planet idler and the pinion are both meshed with the inside of the first ring gear and are both meshed with the outside of the sun idler; the pinion can float in the radial direction relative to the first planet carrier; an input shaft is further provided; one end of the input shaft is connected to the first ring gear.

MOORINGS FOR OFFSHORE INSTALLATIONS

NºPublicación:  AU2024213848A1 24/07/2025
Solicitante: 
SUBSEA 7 LTD
SUBSEA 7 LIMITED
AU_2024213848_PA

Resumen de: AU2024213848A1

A mooring arrangement comprises at least two outer anchors, a reaction anchor disposed between the outer anchors and at least two anchor legs that extend outwardly from the reaction anchor to the outer anchors. The reaction anchor has multi-directional effect, being configured to react against outward forces applied by tension in the mutually-opposed anchor legs. Each anchor leg comprises a tensioner, an inner line extending from the reaction anchor to the tensioner, and an outer line extending from the tensioner to the outer anchor. A tensioner line, which may be the inner line or the outer line, is fixed to the tensioner whereas a mooring line extends through the tensioner. An upper section of the mooring line extends from the tensioner to a moored floating body. A lower section of the mooring line forms part of the anchor leg, as either the inner line or the outer line.

Advanced Floating Powerhouse with Expandable Solar and Wind Arrays, an Articulated Siphon Turbine for Scalable Pumped Hydro Energy Storage, Desilting, Flood Mitigation, and Water Treatment, operated by AI-driven algorithms synchronized with Weather and Grid Demands, Utilizing HaLow Wi-Fi Sensors, by powering 24/7 modular liquid-cooled submerged datacenter, designed for servicing a lake .

NºPublicación:  AU2025200099A1 24/07/2025
Solicitante: 
BARBULESCU DAN
BARBULESCU TUDOR
BARBULESCU VICTOR
BARBULESCU DAVID
BARBULESCU NINETA
BARBULESCU CRISTIAN
Barbulescu, Dan,
Barbulescu, Tudor,
Barbulescu, Victor,
Barbulescu, David,
Barbulescu, Nineta,
Barbulescu, Cristian
AU_2025200099_A1

Resumen de: AU2025200099A1

TITLE OF THE INVENTION Advanced Floating Powerhouse with Expandable Solar and Wind Arrays, an Articulated Siphon Turbine for Scalable Pumped Hydro Energy Storage, Desilting, Flood Mitigation, and Water Treatment, Operated by AI-Driven Algorithms Synchronized with Weather and Grid Demands, Utilizing HaLow Wi-Fi Sensors, and Powering Modular Liquid-Cooled Submerged Datacenters for Lake Servicing. The invention provides a scalable modular floating powerhouse system integrating solar and wind energy arrays, an articulated siphon turbine with dual-mode operation, and inflatable dams for enhanced pumped hydro energy storage and water management. AI-driven algorithms, utilizing machine learning models such as neural networks for pattern recognition and reinforcement learning for adaptive decision-making, synchronized with real-time environmental and grid demand data from HaLow Wi-Fi sensors, enable predictive flood mitigation. These algorithms dynamically adjust system parameters, preemptively deploy resources based on simulations of flooding scenarios, and optimize energy usage through real-time load balancing. The system ensures continuous renewable energy utilization for powering modular liquid-cooled submerged data centers and operates efficiently within existing grid infrastructures, addressing scalability, intermittency, and environmental sustainability challenges. TITLE OF THE INVENTION Advanced Floating Powerhouse with Expandable Solar and Wind Arrays, an Articulated Siphon

SYSTEMS AND METHODS FOR SETTING OFFSHORE DEEPLY EMBEDDED ANCHORS

NºPublicación:  US2025236358A1 24/07/2025
Solicitante: 
THE TEXAS A&M UNIV SYSTEM [US]
The Texas A&M University System

Resumen de: US2025236358A1

A deeply embedded anchor installable in a seabed positioned beneath a water column including a foundation connectable to a follower for installing the foundation beneath the seabed. The foundation includes a foundation body extending longitudinally between a first end and an opposing second end, and a keying flap assembly including one or more flaps pivotably coupled to the foundation body, wherein each of the one or more flaps are pivotable relative to the foundation body between a vertical position corresponding to a run-in configuration of the deeply embedded anchor and a horizontal position angularly spaced from the vertical position and corresponding to an installed configuration of the deeply embedded anchor.

FLOATING POWER GENERATION SYSTEM

NºPublicación:  WO2025155648A1 24/07/2025
Solicitante: 
KUNESH ROBERT J [US]
KUNESH, Robert, J
WO_2025155648_PA

Resumen de: WO2025155648A1

A floating power generation system incorporates a scotch yoke mechanism that is coupled with an electrical generator to produce power and is actuated by a fin assembly having a plurality of fins that move or pivot from a first pivot position to a second pivot position. The fins are coupled with the yoke of the scotch yoke by a cable to move the yoke back and forth in a reciprocating motion. As the fins move back and forth from one side of the water flow direction to the other, the yoke reciprocates and turns the flywheel to produce electrical power. The floating power generation system may employ two fin assemblies, wherein a first fin assembly directs water through the plurality of first fins into the plurality of second fins of the second fin assembly to force the second fins in an opposing pivot orientation from said first fins.

SYSTEMS AND METHODS FOR SETTING OFFSHORE DEEPLY EMBEDDED ANCHORS

NºPublicación:  WO2025155958A1 24/07/2025
Solicitante: 
THE TEXAS A&M UNIV SYSTEM [US]
THE TEXAS A&M UNIVERSITY SYSTEM
WO_2025155958_PA

Resumen de: WO2025155958A1

A deeply embedded anchor installable in a seabed positioned beneath a water column including a foundation connectable to a follower for installing the foundation beneath the seabed. The foundation includes a foundation body extending longitudinally between a first end and an opposing second end, and a keying flap assembly including one or more flaps pivotably coupled to the foundation body, wherein each of the one or more flaps are pivotable relative to the foundation body between a vertical position corresponding to a run-in configuration of the deeply embedded anchor and a horizontal position angularly spaced from the vertical position and corresponding to an installed configuration of the deeply embedded anchor.

AN OFFSHORE CONNECTING SYSTEM, A CONNECTING DEVICE FOR THE OFFSHORE CONNECTING SYSTEM AND A METHOD FOR ASSEMBLING THE OFFSHORE CONNECTING SYSTEM

NºPublicación:  WO2025153681A1 24/07/2025
Solicitante: 
EXPONENTIAL RENEWABLES S L [ES]
EXPONENTIAL RENEWABLES, S.L
WO_2025153681_PA

Resumen de: WO2025153681A1

An offshore connecting system (1) comprising: an offshore station-keeping system (2) comprising a receiving portion (20) and a pass-through opening (21); one or more submarine electrical cables (3) with respective connection terminals (30); a connecting device (4) comprising a main body (40) removably connectable to the connection terminals (30) such that the main body (40) encloses said terminals (30) within an inner compartment (41); wherein the connecting device (4) is configured to be upwardly inserted through the pass-through opening (21) to be arranged in a predetermined resting position (R) relative to the receiving portion (20) of the offshore station-keeping system (2); and one or more blocking means (5) configured to be selectively arranged in a blocking position (a) for interacting with the connecting device (4) and the receiving portion (20) of the offshore station-keeping system (2) to selectively retain the connecting device (4) in the predetermined resting position (R).

FLOATING OR SEMI-SUBMERSIBLE INSTALLATION WITH WIND TURBINE

NºPublicación:  EP4587702A1 23/07/2025
Solicitante: 
TECHNIP ENERGIES FRANCE [FR]
Technip Energies France
KR_20250083538_PA

Resumen de: WO2024079216A1

Floating or semi-submersible installation (1) comprising a deck (2), a hull (3), with the deck covering the hull so as to form an enclosed space divided into compartments by partitions (4), and a wind turbine (5) having a mast, the base (6) of which is located below the deck and fixed to at least two of said partitions (4) by means of a foundation system (7) comprising free spaces (9), (10).

Offshore wind power installation platform

NºPublicación:  CN223135101U 22/07/2025
Solicitante: 
DONGMING QIANDE NEW ENERGY CO LTD
\u4E1C\u660E\u4E7E\u5FB7\u65B0\u80FD\u6E90\u6709\u9650\u516C\u53F8
CN_223135101_U

Resumen de: CN223135101U

The utility model discloses an offshore wind power installation platform, relates to the field of offshore wind power platforms, solves the problems that an existing device is complex in structure and poor in supporting and installing stability of a wind power assembly on the top side of the existing device, and adopts the following scheme that the offshore wind power installation platform comprises an installation platform frame, and an installation assembly and a supporting assembly are arranged on the bottom side of the installation platform frame; a main body of the mounting assembly is a top table, four groups of opposite floating ball seats are fixedly mounted at four corners of the bottom of the top table, and a lead screw shaft is arranged in the top table; the supporting assembly comprises a bearing rod frame and a supporting rod frame on the bottom side of the bearing rod frame. According to the offshore wind power installation platform, through arrangement of the installation assembly and the supporting assembly, the platform can be stably inserted into the bottom side of a seabed through arrangement of the supporting assembly, and the height of the whole platform of the installation assembly can be adjusted by rotating a lead screw shaft, so that the top platform floats on the sea surface through four sets of floating ball seats on the bottom side of the top platform; the installation assembly and the installation platform frame on the top side of the installation

Lightweight steel-concrete semi-submersible floating type wind power foundation

NºPublicación:  CN223136315U 22/07/2025
Solicitante: 
CHINA RENEWABLE ENERGY ENGINEERING INST
CHINA RENEWABLE ENERGY ENGINEERING INST CO LTD
CHINA WATER RESOURCES & HYDROPOWER ENG CONSULTING CO LTD
POWERCHINA NEW ENERGY GROUP CO LTD
NINGBO UNIV
\u6C34\u7535\u6C34\u5229\u89C4\u5212\u8BBE\u8BA1\u603B\u9662,
\u6C34\u7535\u6C34\u5229\u89C4\u5212\u8BBE\u8BA1\u603B\u9662\u6709\u9650\u516C\u53F8,
\u4E2D\u56FD\u6C34\u5229\u6C34\u7535\u5EFA\u8BBE\u5DE5\u7A0B\u54A8\u8BE2\u6709\u9650\u516C\u53F8,
\u4E2D\u7535\u5EFA\u65B0\u80FD\u6E90\u96C6\u56E2\u80A1\u4EFD\u6709\u9650\u516C\u53F8,
\u5B81\u6CE2\u5927\u5B66
CN_223136315_U

Resumen de: CN223136315U

The utility model discloses a lightweight steel-concrete semi-submersible floating type wind power foundation which comprises a steel buoy, the bottom face of the steel buoy is provided with a corresponding concrete prismatic stand column, the bottom face of the concrete prismatic stand column is connected with a concrete heaving plate, the side face of the concrete prismatic stand column is connected with a concrete door-shaped horizontal connecting beam, and the concrete door-shaped horizontal connecting beam is connected with a concrete heaving plate. A concrete coupling beam rib plate and a coupling beam partition plate are arranged in the concrete door-shaped horizontal coupling beam, and prestressed tendons are fixed to the side wall of the concrete door-shaped horizontal coupling beam. The gravity center of the floating body structure is reduced, the steel consumption of the floating platform is reduced, the movement and mooring stress conditions of the floating platform can be optimized, the probability of water seepage of the floating body and the construction price can be reduced, and the steel bar-concrete floating foundation can be used and popularized easily.

Procédé de raccordement de deux blocs d’une structure offshore

NºPublicación:  FR3158305A1 18/07/2025
Solicitante: 
SAIPEM S A [FR]
SAIPEM S.A
FR_3158305_PA

Resumen de: FR3158305A1

Procédé de raccordement de deux blocs d’une structure offshore L’invention concerne un procédé de raccordement de deux blocs d’une structure offshore constitué par l’assemblage d’au moins deux blocs unitaires (B-1, B-2) différents, le procédé comprenant la formation d’une surépaisseur (26) au niveau des extrémités respectives des deux blocs devant être raccordées, le montage d’une platine de jonction (22) contre l’extrémité à raccorder d’un premier bloc (B-1), ladite platine de jonction présentant un cadre à débordement (24) venant en appui contre les extrémités des panneaux plans en dépassant radialement vers l’intérieur et vers l’extérieur, la mise en appui de l’extrémité du second bloc (B-2) contre la platine de jonction, et le soudage des extrémités des deux blocs entre elles. Figure pour l’abrégé : Fig. 6.

Offshore wind power generation hydrogen production system

NºPublicación:  CN223120082U 18/07/2025
Solicitante: 
NORTH CHINA POWER ENG CO LTD OF CHINA POWER ENG CONSULTING GROUP
\u4E2D\u56FD\u7535\u529B\u5DE5\u7A0B\u987E\u95EE\u96C6\u56E2\u534E\u5317\u7535\u529B\u8BBE\u8BA1\u9662\u6709\u9650\u516C\u53F8
CN_223120082_U

Resumen de: CN223120082U

The utility model discloses an offshore wind power generation hydrogen production system which comprises a floating tower structure arranged on the sea surface, and the floating tower structure comprises a first floating tower, a second floating tower and a third floating tower which are connected with one another; a wind driven generator is arranged on the first floating tower, and a power distribution device is arranged in a tower drum of the wind driven generator; a seawater desalination cabin is arranged on the second floating tower, and a water taking pump and a seawater desalination and desalination device are arranged in the seawater desalination cabin; a hydrogen production cabin is arranged on the third floating tower, and a water electrolysis hydrogen production device and a hydrogen purification device are arranged in the hydrogen production cabin; the wind driven generator is connected with the power distribution device, and the power distribution device is respectively connected with the water taking pump, the seawater desalination and desalination device, the water electrolysis hydrogen production device and the hydrogen purification device; the water taking pump, the seawater desalination and desalination device, the water electrolysis hydrogen production device and the hydrogen purification device are connected in sequence. According to the scheme, the arrangement mode is simple, the space utilization rate is high, the overall structure is stable, the expandab

METHOD FOR CONNECTING TWO BLOCKS OF AN OFFSHORE STRUCTURE

NºPublicación:  WO2025149356A1 17/07/2025
Solicitante: 
SAIPEM S A [FR]
SAIPEM S.A
WO_2025149356_PA

Resumen de: WO2025149356A1

The invention relates to a method for connecting two blocks of an offshore structure consisting of the assembly of at least two different unit blocks (B-1, B-2), the method comprising forming a thickened portion (26) at the respective ends of the two blocks to be connected, mounting a junction plate (22) against the end to be connected of a first block (B-1), the junction plate having a radially inwardly and outwardly projecting frame (24) bearing against the ends of the flat panels, bringing the end of the second block (B-2) to bear against the junction plate, and welding the ends of the two blocks to each other.

SUPERCOMPUTING CENTER SYSTEM

NºPublicación:  US2025230797A1 17/07/2025
Solicitante: 
BITMAIN TECH INC [CN]
BITMAIN TECHNOLOGIES INC
US_2025230797_PA

Resumen de: US2025230797A1

The present application discloses a supercomputing center system, which includes a wind-powered vessel, and a damping device, at least one supercomputing device, a control device, and a wind power generation device that are arranged on the hull of the wind-powered vessel. The damping device is configured to maintain the stability of the hull; the supercomputing device is configured to perform operations; the control device controls the wind power generation device to generate power and adjusts the angles of the damping device based on real-time sea condition information; and the wind power generation device supplies power to the supercomputing device, the damping device, and the control device.

A WIND TURBINE

NºPublicación:  US2025230796A1 17/07/2025
Solicitante: 
ULTRA MARINE ENERGY LTD [GB]
Ultra Marine Energy Ltd
WO_2023187369_PA

Resumen de: US2025230796A1

Disclosed is an offshore wind turbine, comprising: a base configured to be submerged when the turbine is in an upright generating position in open water; and, a tower attached to the base and having a longitudinal axis, wherein the tower and base are movable between a horizontal towing position in which the turbine is towable through a body of water, and an upright generating position in which the turbine is vertically orientated for use in the body of water. Also disclosed herein is a method of deploying a wind turbine comprising the steps of assembling the wind turbine in a horizontal or near horizontal orientation prior to deploying to an installation location, towing the assembled wind turbine in a horizontal or near horizontal position to the installation location and up righting the assembled wind turbine in the installation location.

SINGLE SHARED ANCHOR MOORING SYSTEMS AND INSTALLATION METHOD FOR FLOATING OFFSHORE WIND TURBINES

NºPublicación:  US2025229870A1 17/07/2025
Solicitante: 
WANG JIN [US]
WANG JIN

Resumen de: US2025229870A1

Two types of single shared anchor mooring systems and installation method for station-keeping of floating offshore wind turbines are disclosed. The first type has one anchor on the seabed, a plurality of mooring lines, three-dimensional fairlead devices, and pendent gravity units. Each of the mooring lines runs from a first end attached to the corresponding pendent gravity unit suspended in mid-water vertically upward through the corresponding three-dimensional fairlead device attached to the floater and extends downward to a second end attached to the anchor. The mooring line has a constant tension equal to the submerged weight of the pendent gravity unit. The second type has one anchor on the seabed, one pendent gravity unit suspended in mid-water above the anchor, a plurality of mooring fairleads and interconnected mooring lines. Each of the mooring lines runs upward from a first end connected to the anchor through the mooring fairlead attached to the floater and extends downward to a second end connected to the pendent gravity unit. The mooring systems are secured to the floater at quayside, towed-out with the floater, and installed by lowering the anchor and the pendent gravity units under gravity at the offshore site.

SUPERCOMPUTING CENTER SYSTEM

NºPublicación:  EP4585502A1 16/07/2025
Solicitante: 
BITMAIN TECH INC [CN]
Bitmain Technologies Inc
EP_4585502_PA

Resumen de: EP4585502A1

The present application discloses a supercomputing center system, which includes a wind-powered vessel, and a damping device, at least one supercomputing device, a control device, and a wind power generation device that are arranged on the hull of the wind-powered vessel. The damping device is configured to maintain the stability of the hull; the supercomputing device is configured to perform operations; the control device controls the wind power generation device to generate power and adjusts the angles of the damping device based on real-time sea condition information; and the wind power generation device supplies power to the supercomputing device, the damping device, and the control device.

Wind power floating foundation with double-stand-column structure

NºPublicación:  CN223100971U 15/07/2025
Solicitante: 
CHINA OCEAN ENGINEERING EQUIPMENT TECH DEVELOPMENT CO LTD
\u4E2D\u56FD\u6D77\u6D0B\u5DE5\u7A0B\u88C5\u5907\u6280\u672F\u53D1\u5C55\u6709\u9650\u516C\u53F8
CN_223100971_U

Resumen de: CN223100971U

The utility model provides a wind power floating foundation of a double-stand-column structure. The wind power floating foundation comprises a first stand column, a second stand column, a stand column connecting piece and a plurality of mooring chains. The mooring chains are connected to the bottom of the second stand column so that the second stand column can float in a designated sea area. The first stand column and the second stand column are arranged in parallel at intervals, the first end of the stand column connecting piece is connected to the circumferential side wall of the first stand column, the second end of the stand column connecting piece is rotationally connected to the second stand column, and the first stand column can rotate around the circumferential direction of the second stand column through the stand column connecting piece. The stand column connecting piece is located above the sea level. The fan tower drum is arranged on the top of the first stand column in the buoyancy direction. The problems that in the prior art, the anti-torque capacity is poor, the structure is complex, and cost is high are solved.

Anti-scouring offshore foundation

NºPublicación:  CN223103694U 15/07/2025
Solicitante: 
POWERCHINA ZHONGNAN ENGINEERING CORPORATION LTD
\u4E2D\u56FD\u7535\u5EFA\u96C6\u56E2\u4E2D\u5357\u52D8\u6D4B\u8BBE\u8BA1\u7814\u7A76\u9662\u6709\u9650\u516C\u53F8
CN_223103694_U

Resumen de: CN223103694U

The utility model provides an anti-scouring offshore foundation. The anti-scour offshore foundation comprises a pile body, geotechnical cloth arranged on the pile body in a sleeving mode, first concrete interlocking rows arranged at the two ends of the pile body in the first direction X and second concrete interlocking rows arranged at the two ends of the pile body in the second direction Y. The first direction X and the second direction Y are perpendicular to each other on the same overlook projection plane. The first concrete interlocking row and the second concrete interlocking row are in lap joint, the geotechnical cloth floats on the sea surface, and the first concrete interlocking row and the second concrete interlocking row are arranged on the upper surface of the geotechnical cloth. The concrete interlocking row is laid around the pile body, the geotechnical cloth is laid below the concrete interlocking row, and sediment is isolated in a physical isolation mode, so that the seabed around the single-pile foundation cannot be scoured by ocean current, and anti-scour combined protection can be achieved for the large-diameter single-pile foundation.

Tension leg floating type fan platform

NºPublicación:  CN223100970U 15/07/2025
Solicitante: 
POWERCHINA ZHONGNAN ENGINEERING CORPORATION LTD
\u4E2D\u56FD\u7535\u5EFA\u96C6\u56E2\u4E2D\u5357\u52D8\u6D4B\u8BBE\u8BA1\u7814\u7A76\u9662\u6709\u9650\u516C\u53F8
CN_223100970_U

Resumen de: CN223100970U

The utility model discloses a tension leg floating type draught fan platform which comprises a draught fan system, a floating body foundation, a tension tendon supporting device and a mooring anchoring system which are sequentially connected, and the tension tendon supporting device comprises an assembly locking mechanism, a split structure and a top mooring connecting mechanism which are sequentially connected from top to bottom. The split structure comprises a split structure top deck, an outer bulkhead, first bulkheads, a split structure bottom deck and a central pipe, the split structure top deck, the split structure bottom deck and the outer bulkhead enclose a split structure shell, the central pipe is arranged in the middle of the split structure shell, and the first bulkheads are distributed between the outer bulkhead and the central pipe in the radial direction of the central pipe; a plurality of ballast tanks are defined by the first bulkhead, the central pipe and the outer bulkhead; the upper end of the tension tendon supporting device is connected with the floating body foundation, and the lower end is fixedly connected with the seabed surface through the mooring anchoring system. According to the utility model, not only is the vertical damping of the fan platform floating body increased, but also the design and construction of the floating body foundation are not influenced by tension tendons.

Floating fan with auxiliary wind aligning function

NºPublicación:  CN223089447U 11/07/2025
Solicitante: 
GUANGDONG MINGYANG NEW ENERGY MATERIAL TECH CO LTD
\u5E7F\u4E1C\u660E\u9633\u65B0\u80FD\u6E90\u6750\u6599\u79D1\u6280\u6709\u9650\u516C\u53F8
CN_223089447_U

Resumen de: CN223089447U

The utility model discloses a floating type fan with an auxiliary wind facing function, which comprises a floating type fan body and a movable sail, and the movable sail is movably mounted on the outer side wall of a tower of the floating type fan body and can swing or rotate around the tower to realize self-adaptive wind facing. The movable sail is installed on the tower, self-adaptive wind facing is achieved through aerodynamic force of the movable sail, then the whole fan is driven to conduct self-adaptive wind facing, the auxiliary wind facing effect is achieved, automatic wind facing of a yaw system of the fan can be assisted, the wind facing efficiency of the fan is improved, more efficient wind facing is achieved, and the service life of the fan is prolonged. And under the condition that the fan is powered off or no back-up power source exists, the fan can be driven to conduct self-adaptive wind facing.

ASSEMBLY AND METHOD FOR LOWERING MONOPILES FROM A FLOATING VESSEL

NºPublicación:  US2025223011A1 10/07/2025
Solicitante: 
HEEREMA MARINE CONTRACTORS NEDERLAND SE [NL]
Heerema Marine Contractors Nederland SE
US_2025223011_PA

Resumen de: US2025223011A1

The present invention relates to an assembly for lowering a pile onto a seabed, the assembly comprising: —a floating vessel (24) comprising a vessel positioning system (42), —a crane (12) provided on the vessel for lowering the pile (10) onto the seabed, —a pile guiding system (50) configured to guide the pile during the lowering thereof by the crane, the pile guiding system comprising: —o a base (40) connected to the vessel, o at least one pile guiding frame (20) comprising an annular portion (21), o one or more primary actuators (55) which are configured for moving the pile guiding frame, o one or more secondary actuators (60) connected to the annular portion of the pile guiding frame, o at least one frame position sensor (62) for measuring an excitation parameter, o a guiding control unit (64) comprising an excitation controller (80) configured to control the actuators and a resilience controller configured to control a stiffness.

SENSOR ASSEMBLY FOR USE IN BODY OF WATER

NºPublicación:  US2025223017A1 10/07/2025
Solicitante: 
ALAM MOHANMAD REZA [US]
THE REGENTS OF THE UNIV OF CALIFORNIA [US]
ALAM Mohanmad-Reza,
The Regents of the University of California
US_2025223017_PA

Resumen de: US2025223017A1

A sensor assembly for use in a body of water is provided. The sensor assembly can be deployed to a predetermined location to measure water parameters to aid in wave and current prediction. A plurality of sensor assemblies can form a measurement swarm, where each sensor assembly measures water and air parameters and communicates with the other sensor assemblies. The sensor assemblies can be controlled by a control system running a swarm algorithm and providing route planning.

SAILING WIND TURBINE VESSEL CAPABLE OF PIVOTING FOR EFFICIENT AND RESILIENT ENERGY PRODUCTION AND ENERGY TRANSPORT

NºPublicación:  WO2025146447A2 10/07/2025
Solicitante: 
SAILWINT GMBH [DE]
SAILWINT GMBH
WO_2025146447_A2

Resumen de: WO2025146447A2

The invention describes a wind turbine vessel (1) which autonomously sails at high sea by means of wind turbines (2) and produces, stores and transports energy. The wind turbine vessel (1) is a multi-hull vessel having three or more hulls (3), between which at least one wind turbine (2) is installed. The hulls (3) are installed rotationally symmetrically parallel to the longitudinal axis of the wind turbine vessel (1). This makes it possible for the wind turbine vessel (1) to pivot, that is to say to rotate about its own longitudinal axis, in order to be resilient in the case of sea storms. In the event that it capsizes in strong winds or waves, it retains its complete structural and functional integrity as a result of its rotationally symmetrical design. The wind turbines (2) are used simultaneously in two ways. Firstly, they are used for the production of electrical energy which is stored on board in the hulls (3), for example in batteries or with power-to-hydrogen. Secondly, the wind turbines (2) are used as sails for driving and controlling the wind turbine vessel (1) by means of yawing movements. It can thus sail autonomously at high sea in areas in which the wind conditions are favourable for energy production, that is to say it can use stronger and more uniform winds, and transport the energy stored on board to a location where it can be fed into the energy grid.

A DEVICE AND A METHOD FOR FACILITATING ASSEMBLING OF A WIND TURBINE

NºPublicación:  US2025223945A1 10/07/2025
Solicitante: 
FRIGSTAD ENG NORWAY AS [NO]
Frigstad Engineering (Norway) AS
US_2025223945_PA

Resumen de: US2025223945A1

A device and a method are for assembling a wind turbine. The device has an assembling structure including a space for assembling a tower and a nacelle of a wind turbine, the space being defined by side portions of the assembling structure, and a hoisting device configured for handling the wind turbine tower and for hoisting the nacelle onto a top of the wind turbine tower while being positioned within said space, the hoisting device being movably connected to a hoisting device support structure arranged on top of the assembling structure. The device further includes a support arrangement for supporting a portion of the wind turbine at least when being within said space and a rotor blade manipulator for bringing rotor blades in contact with the nacelle.

Modularized comprehensive power generation floating platform

NºPublicación:  CN223072709U 08/07/2025
Solicitante: 
SHANGHAI JIONGHAI NEW ENERGY TECH CO LTD
\u4E0A\u6D77\u7085\u6D77\u65B0\u80FD\u6E90\u79D1\u6280\u6709\u9650\u516C\u53F8
CN_223072709_U

Resumen de: CN223072709U

The utility model discloses a modularized comprehensive power generation floating platform which comprises frame rods and connector seats, the frame rods and the connector seats are used for building the platform, and a hexahedral frame with a plurality of grid bodies is formed by connecting the connector seats and the frame rods. The hexahedral frame is provided with an overwater frame body and an underwater frame body, and a buoy is arranged on the underwater frame body or a frame rod of the underwater frame body is composed of the buoy, so that the whole hexahedral frame floats in seawater to form a floating platform; the tidal current energy power generation device or/and the wave energy power generation device is/are installed in the hexahedral frame, the tidal current energy power generation device is located in a grid body of the underwater frame body, and the overhauling device is arranged above the grid body where the tidal current energy power generation device and the wave energy power generation device are located; the vertical wind power generation device is located in a grid body of the overwater frame body, and a plurality of photovoltaic panels are arranged on the top of the overwater frame body. The modular design is adopted, the transportation and the assembly are convenient, wind, light and ocean current power generation are integrated, the investment cost is low, and the return rate is high.

Working ship

NºPublicación:  CN223072703U 08/07/2025
Solicitante: 
SHANGHAI MERCHANT SHIP DESIGN AND RES INSTITUTE
\u4E0A\u6D77\u8239\u8236\u7814\u7A76\u8BBE\u8BA1\u9662
CN_223072703_U

Resumen de: CN223072703U

The utility model belongs to the technical field of offshore wind power generation, and particularly discloses a working ship which is used for launching a stand column type floating fan foundation, a ship body of the working ship comprises a first water ballast space, the first water ballast space bears at least three stand columns, and a connecting beam of the stand column type floating fan foundation is at least partially located on the outer side of the ship body in the overlook direction. Compared with the prior art in which the water ballast tanks are directly arranged in a rectangular shape, when the ship body in the form bears the stand column type floating fan foundation with the same size, the size of the whole ship body is reduced, the ship body further comprises the second water ballast tanks, and the second water ballast tanks are selectively installed at different positions of the first water ballast tanks, so that the ship body is convenient to carry. The buoyancy center position of the ship body is adjusted so as to meet the launching requirements of the stand column type floating fan foundations of different sizes, and the launching operation of the stand column type floating fan foundations of different sizes can be completed through one work ship.

Annular MRD-TLCD damping device applied to interior of wind power tower drum

NºPublicación:  CN223076098U 08/07/2025
Solicitante: 
LANZHOU UNIV OF TECHNOLOGY
\u5170\u5DDE\u7406\u5DE5\u5927\u5B66
CN_223076098_U

Resumen de: CN223076098U

The utility model relates to the technical field of structural engineering of damping devices, in particular to an annular MRD-TLCD damping device applied to the interior of a wind power tower. An annular MRD-TLCD damping device applied to the interior of a wind power tower drum comprises the tower drum, a TLCD assembly and an MRD assembly. The TLCD assembly and the MRD assembly are connected into the tower drum. The TLCD assembly is composed of a TLCD inner wall cylinder, a TLCD outer wall cylinder and upper partition plates, the TLCD inner wall cylinder and the TLCD outer wall cylinder are connected into a whole through the multiple sets of upper partition plates, a cavity between the TLCD inner wall cylinder and the TLCD outer wall cylinder is divided into independent cavity units through the upper partition plates, a U-shaped cavity is formed, the U-shaped cavity is filled with liquid, the MRD assembly is connected into the independent cavity units in an inserted mode, and the TLCD assembly and the MRD assembly are connected in an inserted mode. When vibration and swing occur, liquid in the U-shaped cavity is stressed in a balanced mode through each independent cavity unit, and the damping effect is achieved. And meanwhile, when vibration is generated, the liquid level in the U-shaped cavity fluctuates up and down, the floating plate drives the MRD assembly to adjust the torque, and the damping effect is further achieved.

Self-powered offshore floating platform with navigation system

NºPublicación:  CN223059214U 04/07/2025
Solicitante: 
DONGYUN YIHUA BEIJING ECOLOGICAL TECH CO LTD
\u4E1C\u5141\u4E59\u5316\uFF08\u5317\u4EAC\uFF09\u751F\u6001\u79D1\u6280\u6709\u9650\u516C\u53F8
CN_223059214_U

Resumen de: CN223059214U

The utility model discloses a self-powered offshore floating platform with a navigation system, which comprises a floating platform main body, a plurality of surge power generation devices are arranged on the periphery of the floating platform main body, and the surge power generation devices are used for converting ocean surge energy into electric energy; a satellite receiver and a communication and navigation module are arranged on the top of the floating platform body, and the satellite receiver is used for receiving satellite signals and transmitting the satellite signals to the communication and navigation module. The floating platform can stably float on the sea surface, shaking and bumping are reduced, the good navigation capacity is achieved, stable navigation signals are provided for ships sailing on the sea, the stable power generation capacity is further achieved, and the application prospect is wide.

SEQUENTIAL CONTROL OF MULTIPLE SMALLER GYRO STABILIZERS

NºPublicación:  US2025214685A1 03/07/2025
Solicitante: 
HUMPHREE AB [SE]
Humphree AB
US_2025214685_A1

Resumen de: US2025214685A1

A computer system comprising processing circuitry configured to:control a set of gyro stabilizers, said set of gyro stabilizers comprising at least two gyro stabilizers, attached to a same marine vessel. The processing circuitry is adapted to provide control data to the control system of each gyro stabilizer in said set of gyro stabilizers to establish a control procedure such that, at each one of a plurality of different time instances of the control procedure, said set of gyro stabilizers comprises at least one non-active gyro stabilizer and at least one active gyro stabilizer. Each passive gyro stabilizer is controlled by the control system such that the passive gyro stabilizer is prevented from rotating around its precession axis, andeach active gyro stabilizer is controlled by the control system such that the active gyro stabilizer is allowed to rotate around its precession axis.

OFFSHORE FLOATING INTERVENTION PLATFORM INTENDED TO DOCK ON AN OFFSHORE WIND TURBINE PLATFORM, RELATED ASSEMBLY AND INTERVENTION METHOD

NºPublicación:  US2025214688A1 03/07/2025
Solicitante: 
TECHNIP ENERGIES FRANCE [FR]
TECHNIP ENERGIES FRANCE
US_2025214688_A1

Resumen de: US2025214688A1

The intervention platform comprises: a floating base, immersed in a body of water; at least a wind turbine equipment lifting tower, configured to lift at least an equipment of the wind turbine; The intervention platform has at least a heave plate configured to protrude laterally from the floating base, the heave plate defining an upper surface configured to engage a lower surface of the offshore wind turbine platform. The floating base has at least a ballast receiving volume, the intervention platform having a ballast controller configured to control a quantity of ballast received in the ballast receiving volume to lift the upper surface of the offshore heave plate in contact with the lower surface of the offshore wind turbine platform.

BUOYANT OFFSHORE PLATFORM DEPLOYMENT DEVICE AND A METHOD OF DEPLOYING BUOYANT OFFSHORE PLATFORMS

NºPublicación:  US2025214680A1 03/07/2025
Solicitante: 
MARINE POWER SYSTEMS LTD [GB]
MARINE POWER SYSTEMS LIMITED
US_2025214680_A1

Resumen de: US2025214680A1

A deployment device is provided for use in deploying an offshore renewable energy system mounting platform to a submerged operating configuration. The deployment device has a body portion including a platform engaging portion, the platform engaging portion arranged to fixably engage a corresponding portion of an offshore renewable energy system mounting platform, a mooring line tensioning member coupled to the body portion, in which the platform engaging portion is arranged to disengage from the platform. In use, when the platform engaging portion is engaged with the platform, the mooring line tensioning member applies a tensioning force to at least one mooring line along a plane substantially perpendicular to the base of the platform, in which under the tensioning force, the body portion is arranged to move relative to the at least one mooring line from a first undeployed position to a second deployed position.

STORAGE, OFFSHORE STRUCTURE, AND METHOD OF ADDING STORAGE CAPACITY

NºPublicación:  WO2025141135A1 03/07/2025
Solicitante: 
TECHNIPFMC NORGE AS [NO]
TECHNIPFMC NORGE AS
WO_2025141135_PA

Resumen de: WO2025141135A1

A storage (200) for a fluid is disclosed. The storage comprises a storage tank (500) for storing the fluid; piping (510) for conducting fluid to and from the storage tank (500); a valve (520) for sealing off any fluid in the storage tank (500); and at least one holder (300) for rigid attachment of the storage (200) to a partly submerged floating offshore structure (100). The storage (200) is configured to float entirely below a sea surface (20) and above the seabed (10), such that the storage (200) can be attached to the offshore structure (100) without adding weight to the offshore structure (100). An offshore structure comprising one or more storages (200) for a fluid is also disclosed, as well as a method of adding fluid storage capacity to a partly submerged floating offshore structure (100).

Segelndes Windturbinenschiff fähig zu Pivotieren für effiziente und resiliente Energieproduktion und Energietransport

NºPublicación:  DE102024000107A1 03/07/2025
Solicitante: 
BARNICKEL NILS [DE]
Barnickel, Nils
DE_102024000107_PA

Resumen de: DE102024000107A1

TECHNISCHES GEBIET UND ANWENDUNGSBEREICHDie Erfindung bezieht sich auf die Weiterentwicklung der Energieproduktion aus Offshore-Windkraft und deren Energietransport mittels eines neuartigen segelnden Windturbinenschiffes.ZUSAMMENFASSUNGDie Erfindung beschreibt ein Windturbinenschiff (1), dass autonom auf hoher See mittels Windturbinen (2) segelt und Energie produziert, diese speichert und transportiert. Das Windturbinenschiff (1) ist ein Mehrrumpfschiff mit drei oder mehr Rümpfen (3), zwischen denen mindestens eine Windturbine (2) installiert ist. Die Rümpfe (3) sind rotationssymmetrisch parallel zur Längsachse des Windturbinenschiffes (1) installiert. Dies ermöglicht es dem Windturbinenschiff (1) zu pivotieren, d.h. um die eigene Längsachse zu rotieren, um resilient bei Seestürmen zu sein. Im Fall, dass es bei starkem Wind oder Wellengang kentert, behält es seine vollständige strukturelle und funktionale Integrität durch seine rotationssymmetrische Konstruktion. Die Windturbinen (2) werden auf zwei Arten gleichzeitig genutzt. Erstens für die Produktion von elektrischer Energie, die an Bord in den Rümpfen (3) gespeichert wird, z. B. in Batterien oder mit Power-to-Hydrogen. Zweitens werden die Windturbinen (2) mittels Gierbewegungen als Segel für den Antrieb und die Steuerung des Windturbinenschiffes (1) verwendet. Damit kann es autonom auf hoher See in Gebieten segeln, an denen die Windbedingungen für die Energieproduktion günstig sind, d.h. stärkere und gleich

INSTALLATION METHOD FOR OFFSHORE WIND TURBINE

NºPublicación:  WO2025140219A1 03/07/2025
Solicitante: 
JIANGSU GOLDWIND SCIENCE & TECH CO LTD [CN]
GOLDWIND PIONEER TECH YANCHENG CO LTD [CN]
\u6C5F\u82CF\u91D1\u98CE\u79D1\u6280\u6709\u9650\u516C\u53F8,
\u91D1\u98CE\u524D\u6CBF\u6280\u672F\uFF08\u76D0\u57CE\uFF09\u6709\u9650\u516C\u53F8
CN_120231697_PA

Resumen de: WO2025140219A1

An installation method for an offshore wind turbine, comprising: providing a docking device (100), and movably fixing the docking device to a floating foundation (200), the docking device comprising an annular body (10) and a docking cavity penetrating therethrough; connecting a compensation device (300) to a hoisting appliance (400), the hoisting appliance being connected to a hoisted object by means of the compensation device; using the hoisting appliance to hoist a support tower (500), and inserting the support tower into the docking cavity and connecting same to the floating foundation (200); moving the docking device to the end of the support tower away from the floating foundation in the axial direction of the support tower and movably fixing same to the outer wall of the support tower; and using the compensation device to hoist a power generation assembly, the power generation assembly comprising a rotor, a nacelle (700) and a connection tower (800) connected to the nacelle, and inserting the connection tower into the docking cavity and connecting same to the support tower. The method improves the capability of installing offshore wind turbines and reduces installation costs.

SEQUENTIAL CONTROL OF MULTIPLE SMALLER GYRO STABILIZERS

NºPublicación:  EP4578775A1 02/07/2025
Solicitante: 
HUMPHREE AB [SE]
Humphree AB
EP_4578775_PA

Resumen de: EP4578775A1

A computer system (1) comprising processing circuitry (2) configured to:control a set (S) of gyro stabilizers, said set (S) of gyro stabilizers comprising at least two gyro stabilizers (G), attached to a same marine vessel, such as a ship, a floating platform, or a floating wind turbine. The processing circuitry (2) is adapted to provide control data to the control system of each gyro stabilizer (G) in said set (S) of gyro stabilizers to establish a control procedure such that, at each one of a plurality of different time instances of the control procedure, said set (S) of gyro stabilizers comprises at least one non-active gyro stabilizer and at least one active gyro stabilizer, wherein the at least one non-active gyro stabilizer and the at least one active gyro stabilizer are different gyro stabilizers at different time instances of said control procedure, wherein:each passive gyro stabilizer (G) is controlled by the control system such that the passive gyro stabilizer (G) is prevented from rotating around its precession axis (A2), andeach active gyro stabilizer (G) is controlled by the control system such that the active gyro stabilizer (G) is allowed to rotate around its precession axis (A2).

Water environment safety monitoring buoy

NºPublicación:  CN223045920U 01/07/2025
Solicitante: 
CHENGDU XIAYI TECH CO LTD
\u6210\u90FD\u4FA0\u6613\u79D1\u6280\u6709\u9650\u516C\u53F8
CN_223045920_U

Resumen de: CN223045920U

The utility model discloses a water environment safety monitoring buoy, which relates to the technical field of water floating equipment and comprises a buoy box, a storage battery is fixedly mounted in the buoy box, a battery sensor is fixedly mounted on one side of the storage battery, and a solar panel is fixedly mounted in the buoy box. The buoy box is connected with a micro vertical axis wind driven generator through a clamping mechanism; the outer side of the buoy box is connected with a protection plate through a buffer assembly, the buoy box is provided with a dissolved oxygen sensor, a pH value sensor, a turbidity sensor, a conductivity sensor and a water temperature sensor, and the lower end of the buoy box is connected with a sinking anchor through a winding mechanism; the miniature vertical-axis wind driven generator can stably convert wind energy into electric energy, the electric energy and the solar panel are coordinated and complemented to continuously store power for the energy storage device, and a hybrid power supply system formed by the miniature vertical-axis wind driven generator and the solar panel can stably and efficiently provide reliable power support for the water environment safety monitoring buoy.

STORAGE, OFFSHORE STRUCTURE, AND METHOD FOR STORING A FLUID

NºPublicación:  NO20231398A1 30/06/2025
Solicitante: 
TECHNIPFMC NORGE AS [NO]
NO_20231398_PA

Resumen de: WO2025141135A1

A storage (200) for a fluid is disclosed. The storage comprises a storage tank (500) for storing the fluid; piping (510) for conducting fluid to and from the storage tank (500); a valve (520) for sealing off any fluid in the storage tank (500); and at least one holder (300) for rigid attachment of the storage (200) to a partly submerged floating offshore structure (100). The storage (200) is configured to float entirely below a sea surface (20) and above the seabed (10), such that the storage (200) can be attached to the offshore structure (100) without adding weight to the offshore structure (100). An offshore structure comprising one or more storages (200) for a fluid is also disclosed, as well as a method of adding fluid storage capacity to a partly submerged floating offshore structure (100).

Wind-light-seawater direct hydrogen production comprehensive platform based on offshore wind power floating body

NºPublicación:  CN223035171U 27/06/2025
Solicitante: 
DONGFANG ELECTRIC FUJIAN INNOVATION RES INSTITUTE CO LTD
\u4E1C\u65B9\u7535\u6C14\uFF08\u798F\u5EFA\uFF09\u521B\u65B0\u7814\u7A76\u9662\u6709\u9650\u516C\u53F8
CN_223035171_U

Resumen de: CN223035171U

The utility model discloses a wind-light-seawater direct hydrogen production comprehensive platform based on an offshore wind power floating body. The wind-light-seawater direct hydrogen production comprehensive platform comprises a floating foundation, a photovoltaic assembly, a fan unit, a hydrogen production assembly and a hydrogen storage and transportation system, two layers of decks arranged up and down are arranged at the upper part of the floating foundation; the photovoltaic module is mounted at the top of the upper deck; the hydrogen production assembly and the hydrogen storage and transportation system are mounted at the top of the lower deck; by integrating offshore wind power, photovoltaic power generation and seawater hydrogen production systems, the utilization rate of wind energy and light energy can be effectively improved, the problem that a power grid consumes wind power and photovoltaic power is solved, and a seawater in-situ direct electrolysis hydrogen production factory is constructed. Limited space and ocean resources of the floating foundation are fully utilized; the seawater hydrogen production equipment is efficiently arranged, and the oxygen storage and transportation system is arranged in the internal space of the buoy, so that the design area of a deck can be reduced, and partial ballast water is replaced to balance a floating body.

SYSTEMS AND METHODS FOR REDUCING LOADS INDUCED IN A FLOATING OFFSHORE STRUCTURE

NºPublicación:  WO2025136363A1 26/06/2025
Solicitante: 
GENERAL ELECTRIC RENOVABLES ESPANA S L [ES]
TEMPLETON BRIAN ANDREW HORRELL [US]
GENERAL ELECTRIC RENOVABLES ESPANA, S.L,
TEMPLETON, Brian Andrew Horrell

Resumen de: WO2025136363A1

A floating offshore wind turbine includes a buoyant tension leg platform with radially extending braces. A tensioned mooring line and tensioning device is connected to each brace. A control system in communication with the tensioning devices determines determine a wind condition of wind acting on the wind turbine and, based on the wind condition, determines a set length of the mooring lines to induce a pitch offset in the tension leg platform and a lean angle of the tower into the wind The lean angle is computed to generate a gravity moment in the wind turbine that offsets a bending moment induced in the tower from the wind.

CHAIN TENSION CONTROL DEVICE FOR MOORING OF OFFSHORE STRUCTURE

NºPublicación:  WO2025135252A1 26/06/2025
Solicitante: 
KOREA INST OCEAN SCI & TECH [KR]
KOMS INC [KR]
DHMC CO LTD [KR]
\uD55C\uAD6D\uD574\uC591\uACFC\uD559\uAE30\uC220\uC6D0,
\uC8FC\uC2DD\uD68C\uC0AC \uCF64\uC2A4,
\uC8FC\uC2DD\uD68C\uC0AC \uB514\uC5D0\uC774\uCDE8\uC5E0\uC528
WO_2025135252_PA

Resumen de: WO2025135252A1

The present invention relates to a chain tension control device for the mooring of an offshore structure, the device being characterized by comprising: a body installed in an offshore structure and supporting a part of a fairlead chain, forming a mooring line, via a wheel that rotates forward and backward around a rotary shaft; an arm which is connected to the body in a diagonal direction, supports a different part of the fairlead chain connected to the body, and in which a pair of blocking members are arranged at one point and another point between one end and the other end of the arm, so as to have a space there-between in the front-rear direction; and a guide roller disposed between side plates at either side of the arm to support the bottom the fairlead chain passing through the arm.

MARINE STRUCTURE AND METHOD

NºPublicación:  US2025206420A1 26/06/2025
Solicitante: 
MONOBASE WIND B V [NL]
DAEWOO ENG & CONSTRUCTION CO LTD [KR]
Monobase Wind B.V,
Daewoo Engineering & Construction Co., Ltd
JP_2025508101_PA

Resumen de: US2025206420A1

A marine structure includes a jacket-structure including at least one float element having a first buoyancy, and a linear guide sleeve; a sub-structure including a counterweight structure having a second buoyancy and a leg extending through the guide sleeve, the leg having a lower end connected to the counterweight structure and having an upper end provided with a stop element, where the leg is movable through the corresponding guide sleeve between a towing position, where the stop element is remote from the guide sleeve and where the guide sleeve allows linear motion of the at least one leg with respect to the support structure, and an operating position, where the stop element engages a corresponding counter element of the guide sleeve and wherein the at least one leg is fixated with respect to the at least one guide sleeve.

METHOD OF ASSEMBLING A TUBULAR FLOATING STRUCTURE AND ITS USE

NºPublicación:  EP4573002A1 25/06/2025
Solicitante: 
STIESDAL OFFSHORE AS [DK]
Stiesdal Offshore A/S
US_2025162696_PA

Resumen de: US2025162696A1

A first and a second tubular member are welded to opposite sides of a stiffening ring in order to obtain a double-segment. Further segments can be added to form a tubular multi-segment with stiffening rings in between adjacent tubular members. The resulting multi-segment is used as a tubular buoyancy module in a floating offshore structure.

Over-water power generation off-peak electricity storage conversion device

NºPublicación:  CN223018796U 24/06/2025
Solicitante: 
YANTAI PENGLAI YIKE JUDA ELECTRONIC TECH CO LTD
\u70DF\u53F0\u5E02\u84EC\u83B1\u533A\u610F\u79D1\u805A\u8FBE\u7535\u5B50\u79D1\u6280\u6709\u9650\u516C\u53F8
CN_223018796_U

Resumen de: CN223018796U

A water power generation low ebb electricity storage conversion device comprises a floating deck, a generator set is arranged on the floating deck, a main pulley is connected to the generator set, an auxiliary sliding component is further arranged on the floating deck, an operation cable is rotationally connected to the main pulley, and the operation cable is connected to the auxiliary sliding component and the main pulley. Two floating counterweight balls moving in water are arranged on the operation cable, the upper surface of the floating deck is connected with a gas storage and emission device, the gas storage and emission device is communicated with the two floating counterweight balls through breather pipes, and hemispherical cavities and hemispherical counterweight pieces are arranged in the floating counterweight balls. And at least one water through hole communicated with the outside is formed in the hemispherical counterweight piece. According to the utility model, off-peak electricity consumption can be stored and converted and output into electric energy during peak electricity consumption, so that the power supply quantity of the peak electricity consumption is improved, and the economic benefit is further improved.

Supporting assembly of floating wind power foundation and floating wind power foundation

NºPublicación:  CN223014862U 24/06/2025
Solicitante: 
CHINA OCEAN ENGINEERING EQUIPMENT TECH DEVELOPMENT CO LTD
\u4E2D\u56FD\u6D77\u6D0B\u5DE5\u7A0B\u88C5\u5907\u6280\u672F\u53D1\u5C55\u6709\u9650\u516C\u53F8
CN_223014862_U

Resumen de: CN223014862U

The utility model provides a supporting assembly of a floating type wind power foundation and the floating type wind power foundation. The supporting assembly of the floating type wind power foundation comprises an A-shaped supporting frame and a reinforcing piece. The A-shaped supporting frame is provided with a tip end and two protruding ends, and the tip end and the two protruding ends of the A-shaped supporting frame are fixed to the side wall of the top of one stand column of the floating type wind power foundation respectively. The reinforcing piece is connected to the corner of the A-shaped supporting frame and located on the same plane with the A-shaped supporting frame. The problem that the construction cost, the operation and maintenance difficulty and the structural strength requirement are difficult to consider in the prior art is solved.

Eccentric semi-submersible floating fan reinforced concrete platform

NºPublicación:  CN223014861U 24/06/2025
Solicitante: 
DONGFANG ELECTRIC FUJIAN INNOVATION RES INSTITUTE CO LTD
\u4E1C\u65B9\u7535\u6C14\uFF08\u798F\u5EFA\uFF09\u521B\u65B0\u7814\u7A76\u9662\u6709\u9650\u516C\u53F8
CN_223014861_U

Resumen de: CN223014861U

The utility model discloses an eccentric semi-submersible floating fan reinforced concrete platform which comprises a heaving plate and three groups of buoys distributed on the top of the heaving plate in a triangular shape. The top of the heaving plate is further provided with a draught fan stand column located between the first floating barrel set and the second floating barrel set, and the draught fan stand column and the third floating barrel set are distributed in a T shape. The upper part of the fan stand column is connected with the upper parts of the floating barrels through corresponding horizontal supports; according to the semi-submersible floating body, a multi-truss-support structure in a traditional semi-submersible floating body is omitted, the draught fan stand columns and the three sets of floating barrels are distributed in a T shape and connected and reinforced through the horizontal supports, the simplification of the whole floating body structure is achieved on the premise that the structural strength is guaranteed, the fatigue load of the structure is effectively reduced, and the structural durability and safety of the whole floating body are enhanced.

GEAR SPEED CHANGE DEVICE, TRANSMISSION MECHANISM, AND WIND GENERATING SET

NºPublicación:  US2025198496A1 19/06/2025
Solicitante: 
GOLDWIND SCIENCE & TECH CO LTD [CN]
GOLDWIND SCIENCE & TECHNOLOGY CO., LTD
US_2025198496_A1

Resumen de: US2025198496A1

A gear speed change device. The gear speed change device comprises a first planetary gear train (100). The first planetary gear train (100) comprises a first ring gear (101), a first planetary carrier (102), first planetary gears (103), a solar idle gear (104), and a planetary idle gear (105). The planetary idle gear (105) and the first planetary gears (103) are all mounted on the first planetary carrier (102); each first planetary gear (103) comprises a pinion (103a) and a large gear (103b) coaxially connected to the pinion (103a); the planetary idle gear (105) and the pinion (103a) are both engaged with the inside of the first ring gear (101) and are both engaged with the outside of the solar idle gear (104); the pinion (103a) can float along the radial direction thereof relative to the first planetary carrier (102), and the maximum radial floating amount of the pinion (103a) is greater than the maximum radial floating amount of the planetary idle gear (105); and the large gears (103b) of at least two first planetary gears (103) are arranged in a staggered manner in the axial direction, and projections thereof on a plane perpendicular to the axial direction overlap with each other. The gear speed change device has a relatively high torque load density, and can give consideration to a small volume, a large transmission speed ratio and a high torque load capability.

OFFSHORE FLOATING INTERVENTION PLATFORM HAVING A LIFTING TOWER WITH A POSITION COMPENSATION DEVICE, RELATED ASSEMBLY AND METHOD

NºPublicación:  US2025196978A1 19/06/2025
Solicitante: 
TECHNIP ENERGIES FRANCE [FR]
TECHNIP ENERGIES FRANCE
JP_2025509369_PA

Resumen de: US2025196978A1

The intervention platform comprises at least a wind turbine equipment lifting tower, having at least a lifting unit comprising: a mast, a wind turbine equipment elevator configured to vertically move along the mast between a lower loading/unloading position and at least an upper intervention position and a lifting actuator, configured to move the wind turbine equipment elevator between the lower unloading/loading position and the upper intervention position. The lifting unit comprises at least a position compensation device configured to be activated in the loading/unloading position and/or in the intervention position to compensate local vertical displacements between the intervention platform and the wind turbine platform when the intervention platform is docked to the wind turbine platform.

FLOATING PLATFORM SUPPORT SYSTEM WITH PASSIVE OUT-OF-PLANE TENSION LINE DAMPERS

NºPublicación:  US2025196971A1 19/06/2025
Solicitante: 
KENT HOUSTON OFFSHORE ENG LLC [US]
Kent Houston Offshore Engineering LLC
US_2025196971_PA

Resumen de: US2025196971A1

A support system includes a platform floating at a surface of a body of water, a set of mooring elements, and a set of motion dampers. Each mooring element is rigidly coupled to the platform and to a bottom of the body of water. Each motion damper is coupled to the platform. Each motion damper includes a spool, a line, and a rotation controller. The line is coupled to and partially wound on the spool and has an end rigidly coupled to the bottom of the body of water wherein a tension force in the line is affected by rotation of the spool. The rotation controller is coupled to the spool and is operable to control the rotation of the spool based on the tension force in the line.

SYSTEMS AND METHODS FOR UTILIZING NUCLEAR-BASED MARINE CRAFT TO GENERATE ELECTRICITY FOR EXTERNAL OR GRID USAGE

NºPublicación:  US2025196974A1 19/06/2025
Solicitante: 
QUADRANT CLEAN TECH LTD [US]
QUADRANT CLEAN TECH LTD

Resumen de: US2025196974A1

Systems and methods for utilizing nuclear-based marine craft to generate electricity for external or grid usage are disclosed. In accordance with some embodiments, the system may include a nuclear-based marine craft having a propeller shaft and an electrical generator coupled external to the marine craft and configured to transmit generated electricity. In accordance with some other embodiments, the system may include a nuclear-based marine craft having a nuclear reactor and a turbine, a dock or barge having its own turbine and electrical generator, a steam outlet pipe connecting the nuclear reactor to the dock or barge turbine, and a steam inlet pipe connecting the dock or barge turbine back to the nuclear reactor, whereby heated steam from the nuclear reactor spins the dock or barge turbine, which then powers the electrical generator on the dock or barge to generates electricity.

FLOATING PLATFORM SUPPORT SYSTEM WITH PASSIVE IN-PLANE FLUID DAMPERS

NºPublicación:  US2025196975A1 19/06/2025
Solicitante: 
KENT HOUSTON OFFSHORE ENG LLC [US]
Kent Houston Offshore Engineering LLC

Resumen de: US2025196975A1

A support system includes a platform for floatation at a surface of a body of water. The platform includes a first pontoon and a set of second pontoons coupled to the first pontoon. Each second pontoon includes a container, a pair of spaced-apart and gas-filled compressible elements disposed in the container, a liquid filling the container between the pair of compressible elements, and a gas flow controller coupled to each compressible element and operable to control a flow of the gas between the compressible elements.

High Capacity, Shallow Draft, Ocean-Borne Wind Turbine

NºPublicación:  US2025198386A1 19/06/2025
Solicitante: 
NORTHEASTERN UNIV [US]
Northeastern University
US_2025198386_A1

Resumen de: US2025198386A1

A high capacity, shallow draft, ocean-borne wind turbine is described, featuring a floating structure with at least three floats and a turbine rotor coupled to a generator with a power capacity of at least 3 MW. The turbine includes multiple blades, each with a length, and an operational draft less than about one-sixth of the blade length. Variations include configurations with round surface piercing floats and specific arrangements of four floats in a square formation. The design ensures a draft in operation of less than 1 meter per MW of rated capacity, providing an efficient and stable platform for offshore wind energy generation.

METHODS AND SYSTEMS FOR FREE-FLOATING NAUTICAL STATIONKEEPING

NºPublicación:  AU2023383069A1 19/06/2025
Solicitante: 
LONE GULL HOLDINGS LTD
LONE GULL HOLDINGS, LTD
AU_2023383069_A1

Resumen de: AU2023383069A1

Methods and systems are provided for nautical stationkeeping of free-floating objects. In one example, a method includes adjusting translational motion of a body freely floating in water by rotating the body. The translational motion may be adjusted, for instance, to maintain the body within a geographic area. In certain examples, the adjustment of the translational motion may be realized via a Magnus effect induced by rotating the body. The body may be configured as, for example, a free-floating object such as a wave engine.

MOORING CABLE FOR TENSION-MOORED FLOATING BODY

NºPublicación:  WO2025126739A1 19/06/2025
Solicitante: 
MODEC INC [JP]
KOBELCO WIRE COMPANY LTD [JP]
\u4E09\u4E95\u6D77\u6D0B\u958B\u767A\u682A\u5F0F\u4F1A\u793E,
\u795E\u92FC\u92FC\u7DDA\u5DE5\u696D\u682A\u5F0F\u4F1A\u793E

Resumen de: WO2025126739A1

The present invention addresses the problem of providing a tension-mooring cable for a tension-moored floating body, with which it is possible to, without adjusting the lengths of the tension-mooring cables in each mooring cable bundle that moors and supports the tension-moored floating body, equalize tension generated in the tension-mooring cables and prevent occurrence of resonance with the frequency of waves on the ocean. The problem is solved by a mooring cable that is for a tension-moored floating body, and that links a connection part 5b formed on the tension-moored floating body and a sea bottom-mooring part 9 fixed to a sea bottom 103. The tension-mooring cable is configured such that tension is generated in a tension-mooring cable 7 due to buoyancy generated in a tension-moored floating body 5 when the tension-mooring cable 7 is linked to the tension-moored floating body 5, and the tension-moored floating body 5 can be held in a tension-moored state. The tension-mooring cable 7 is configured such that a low rigidity mooring cable 7b, having a low extensional rigidity which is the product of the modulus of longitudinal elasticity and the cross-sectional area of a cable material, is linked to a high rigidity mooring cable 7a having a higher extensional rigidity than that of the low rigidity mooring cable 7b, by a linking tool.

FLOATING PLATFORM SUPPORT SYSTEM WITH PASSIVE IN-PLANE FLUID DAMPERS

NºPublicación:  WO2025128795A1 19/06/2025
Solicitante: 
KENT HOUSTON OFFSHORE ENG LLC [US]
KENT HOUSTON OFFSHORE ENGINEERING LLC

Resumen de: WO2025128795A1

A support system includes a platform for floatation at a surface of a body of water. The platform includes a first pontoon and a set of second pontoons coupled to the first pontoon. Each second pontoon includes a container, a pair of spaced-apart and gas-filled compressible elements disposed in the container, a liquid filling the container between the pair of compressible elements, and a gas flow controller coupled to each compressible element and operable to control a flow of the gas between the compressible elements.

FLOATING PLATFORM SUPPORT SYSTEM WITH PASSIVE OUT-OF-PLANE TENSION LINE DAMPERS

NºPublicación:  WO2025128793A1 19/06/2025
Solicitante: 
KENT HOUSTON OFFSHORE ENG LLC [US]
KENT HOUSTON OFFSHORE ENGINEERING LLC

Resumen de: WO2025128793A1

A support system includes a platform floating at a surface of a body of water, a set of mooring elements, and a set of motion dampers. Each mooring element is rigidly coupled to the platform and to a bottom of the body of water. Each motion damper is coupled to the platform. Each motion damper includes a spool, a line, and a rotation controller. The line is coupled to and partially wound on the spool and has an end rigidly coupled to the bottom of the body of water wherein a tension force in the line is affected by rotation of the spool. The rotation controller is coupled to the spool and is operable to control the rotation of the spool based on the tension force in the line.

AN ASSEMBLY FOR PRODUCING OFFSHORE ELECTRICITY COMPRISING A DOUBLE ANCHORED FLOATING SUPPORT

NºPublicación:  WO2025125175A1 19/06/2025
Solicitante: 
TOTALENERGIES ONETECH [FR]
TOTALENERGIES ONETECH
EP_4570639_PA

Resumen de: WO2025125175A1

An assembly (10) for producing offshore electricity comprising: - a wind turbine (12), - an elongated support (14) extending along an axis (Z) intended to be vertical, and adapted for floating on a body of water (16), - a buoyant system (18) surrounding a tubular casing (20) of the support around the axis, intended for floating in the body of water, and vertically free with respect to the support, - a plurality of anchoring members (24), - a first plurality of connecting members (26) connected to an anchoring portion (28) of the support and to at least some of the anchoring members, the first plurality of connecting members (26) being intended to be tensioned by the support, - a second plurality of connecting members (30) connected to the buoyant system and to at least some of the anchoring members, the second plurality of connecting members being intended to be tensioned by the buoyant system.

METHOD AND SYSTEM FOR FORMING A SECTION FOR A FLOATING BODY FOR AN OFFSHORE FLOATING FOUNDATION

NºPublicación:  WO2025127929A1 19/06/2025
Solicitante: 
SIF HOLDING N V [NL]
SIF HOLDING N.V

Resumen de: WO2025127929A1

Method for forming a section for a floating body for an offshore floating foundation, comprising providing a metal sheet having a sheet length direction and a sheet width direction, and bending said sheet, such that the sheet is curved in the sheet length direction, forming a concave side. Furthermore a stiffener is formed, having a stiffener length direction, wherein the stiffener is curved in said stiffener length direction, forming a convex side. Said curved stiffener is placed with the convex side against the concave side of the sheet and is pushed against the concave side of the sheet, such that a curvature of the concave side of the sheet matches a curvature of the convex side of the stiffener at least at the position where the stiffener is placed. Then the stiffener is welded against the sheet.

AN ASSEMBLY FOR PRODUCING OFFSHORE ELECTRICITY COMPRISING A DOUBLE ANCHORED FLOATING SUPPORT

NºPublicación:  EP4570639A1 18/06/2025
Solicitante: 
TOTALENERGIES ONETECH [FR]
TotalEnergies OneTech
EP_4570639_PA

Resumen de: EP4570639A1

An assembly (10) for producing offshore electricity comprising:- a wind turbine (12),- an elongated support (14) extending along an axis (Z) intended to be vertical, and adapted for floating on a body of water (16),- a buoyant system (18) surrounding a tubular casing (20) of the support around the axis, intended for floating in the body of water, and vertically free with respect to the support,- a plurality of anchoring members (24),- a first plurality of connecting members (26) connected to an anchoring portion (28) of the support and to at least some of the anchoring members, the first plurality of connecting members (26) being intended to be tensioned by the support,- a second plurality of connecting members (30) connected to the buoyant system and to at least some of the anchoring members, the second plurality of connecting members being intended to be tensioned by the buoyant system.

Fixed bypass, assembly, fan foundation and floating fan

NºPublicación:  CN222991642U 17/06/2025
Solicitante: 
SHANGHAI ELECTRIC WIND POWER GROUP CO LTD
\u4E0A\u6D77\u7535\u6C14\u98CE\u7535\u96C6\u56E2\u80A1\u4EFD\u6709\u9650\u516C\u53F8
CN_222991642_U

Resumen de: CN222991642U

The utility model provides a fixed bypass, an assembly, a fan foundation and a floating fan. The fixed bypass and the connecting joint are respectively arranged on the floating device or the connecting device, a filling cavity and at least one communicating port for communicating the filling cavity with the outside are formed in the fixed bypass, and a fixed part is further arranged on the inner peripheral wall of the filling cavity of the fixed bypass; the fixed part extends along the longitudinal direction of the fixed bypass and/or the circumferential direction of the fixed bypass; a clamping part is arranged on the peripheral wall of the connecting joint and extends in the longitudinal direction and/or the circumferential direction of the connecting joint. When the floating device and the connecting device are not assembled, the floating device and the connecting device are transported to a wharf in an on-land bulk transportation mode and then are connected and fixed through the fixing parts and the corresponding clamping parts, the filling cavities are filled with filling media through the communicating openings after fixing, and further reinforcement is achieved. According to the arrangement, the transportation efficiency is improved, the transportation cost is reduced, and meanwhile assembling is more convenient.

JOINT, TOWER SUPPORT STRUCTURE, FLOATING BODY STRUCTURE, AND OFFSHORE WIND POWER GENERATION FACILITY

NºPublicación:  WO2025120993A1 12/06/2025
Solicitante: 
MODEC INC [JP]
\u4E09\u4E95\u6D77\u6D0B\u958B\u767A\u682A\u5F0F\u4F1A\u793E

Resumen de: WO2025120993A1

A joint 80 comprises: a cylindrical part 82 having an inner peripheral surface 82a and an outer peripheral surface 82b; a projection part 84 concentric with the cylindrical part 82 and forming an annular shape projecting in a radial direction from the outer peripheral surface 82b, the projection part 84 having end surfaces 84a, 84b facing in an axial direction; and a first connection part 86 forming the annular shape concentric with the cylindrical part 82 between the cylindrical part 82 and the projection part 84, the first connection part 86 continuously connecting the outer peripheral surface 82b and the end surfaces 84a, 84b. The cylindrical part 82, the projection part 84, and the first connection part 86 are integrally formed from the same forged material 80S.

DETACHABLE MOORING SYSTEM FOR OFFSHORE STRUCTURE AND OFFSHORE STRUCTURE MOORING METHOD USING SAME

NºPublicación:  WO2025121520A1 12/06/2025
Solicitante: 
KOREA INST OCEAN SCI & TECH [KR]
KOMS INC [KR]
DHMC CO LTD [KR]
\uD55C\uAD6D\uD574\uC591\uACFC\uD559\uAE30\uC220\uC6D0,
\uC8FC\uC2DD\uD68C\uC0AC \uCF64\uC2A4,
\uC8FC\uC2DD\uD68C\uC0AC \uB514\uC5D0\uC774\uCDE8\uC5E0\uC528
WO_2025121520_PA

Resumen de: WO2025121520A1

The present invention relates to a detachable mooring system for an offshore structure and an offshore structure mooring method using same, with which the mooring state of an offshore structure can be maintained so as to be more stable than previously due to the use of a dual system of chain tension control in which the control of the advancement of chains is carried out at each of first, second, and third tension control devices, and thus not only is the chain connected from the first tension control device pulled so as to increase the tension of the chain when an offshore structure is moored, but also the chains connected from the second and third tension control devices are pulled so as to increase the tension of the chains when an offshore structure is moored.

Manufacturing Cementitious Bodies on Floating Platforms

NºPublicación:  US2025188901A1 12/06/2025
Solicitante: 
RCAM TECH INC [US]
RCAM Technologies, Inc
US_2025188901_A1

Resumen de: US2025188901A1

In a general aspect, a submersible barge includes a deck having a support surface and an additive manufacturing system. The submersible barge may be deployed on a body of water. The additive manufacturing system is configured to fabricate a cementitious body on the support surface by successively depositing layers of flowable cementitious material on top of each other. The submersible barge also includes a buoyancy system that is configured to lower the cementitious body into the body of water by altering a draft of the submersible barge between first and second drafts. When the submersible barge is at the first draft, the support surface resides above a surface of the body of water. When the submersible barge is at the second draft, the support surface resides below the surface of the body of water.

SYSTEMS AND PROCESSES FOR MOORING A VESSEL AND TRANSFERRING ENERGY TO OR FROM A VESSEL

NºPublicación:  US2025187706A1 12/06/2025
Solicitante: 
SOFEC INC [US]
SOFEC, INC
US_2025187706_A1

Resumen de: US2025187706A1

Systems and processes for mooring a vessel. The system can include a buoy that includes a fixed part rotatively coupled to a rotating part. A first swivel can be disposed on the buoy that includes a fixed part rotatively coupled to a rotating part, with the fixed part of the first swivel coupled to the fixed part of the buoy. A second swivel can be disposed on the buoy that includes a fixed part rotatively coupled to a rotating part, with the fixed part of the second swivel coupled to the rotating part of the buoy. A spool can be coupled to and configured to rotate with the rotating part of the second swivel. A central longitudinal axis of the first swivel can be oriented vertically with respect to the buoy and a central longitudinal axis of the second swivel can be oriented substantially horizontally with respect to the buoy.

Offshore Vertical-Axis Wind Turbines With Integrated Drivetrains

NºPublicación:  US2025188904A1 12/06/2025
Solicitante: 
NATIONAL TECH & ENGINEERING SOLUTIONS OF SANDIA LLC [US]
FPS ENGINEERING & TECH LLC [US]
National Technology & Engineering Solutions of Sandia, LLC,
FPS Engineering & Technology, LLC
US_2025188904_A1

Resumen de: US2025188904A1

Vertical-axis wind turbines (VAWTs) have inherent advantages over horizontal-axis wind turbines (HAWTs) resulting from the low center of gravity primarily caused by the low height of the drivetrain relative to the rotor. The low center of gravity is one of the main drivers for development of VAWTs for floating offshore wind energy generation, where the reduced center of gravity has positive system benefits by reducing the demands placed on the floating platform and its associated mass and cost. This advantage for VAWTs can be further enhanced by lowering the elevation of the drivetrain by housing it within the platform column.

FLOATING WIND TURBINE FOUNDATION, FLOATING WIND TURBINE, ANTI-TYPHOON METHOD AND WIND POWER GENERATION METHOD

NºPublicación:  US2025188909A1 12/06/2025
Solicitante: 
HUANENG CLEAN ENERGY RES INSTITUTE [CN]
HUANENG OFFSHORE WIND POWER SCI&TEC RES CO [CN]
HUANENG CLEAN ENERGY RESEARCH INSTITUTE,
HUANENG OFFSHORE WIND POWER SCI&TEC RESEARCH CO
US_2025188909_A1

Resumen de: US2025188909A1

The disclosure provides a floating wind turbine foundation, a floating wind turbine, an anti-typhoon method and a wind power generation method. The floating wind turbine foundation includes a tower foundation, multiple floats arranged around the tower foundation, and telescopic expansion mechanisms. Each of the floats corresponds to one of the telescopic expansion mechanisms, and each of the telescopic expansion mechanisms includes hydraulic jacks and a folding hinge. Two ends of each of the hydraulic jacks are respectively hinged with the tower foundation and corresponding one of the floats, and the folding hinge includes multiple mutually hinged folding arms, and two ends of the folding hinge are respectively hinged with the tower foundation and corresponding one of the floats.

SYSTEMS AND PROCESSES FOR MOORING A VESSEL AND TRANSFERRING ENERGY TO OR FROM THE VESSEL

NºPublicación:  WO2025122807A1 12/06/2025
Solicitante: 
SOFEC INC [US]
SOFEC, INC
US_2025187706_A1

Resumen de: WO2025122807A1

Systems and processes for mooring a vessel. The system can include a buoy that includes a fixed part rotatively coupled to a rotating part. A first swivel can be disposed on the buoy that includes a fixed part rotatively coupled to a rotating part, with the fixed part of the first swivel coupled to the fixed part of the buoy. A second swivel can be disposed on the buoy that includes a fixed part rotatively coupled to a rotating part, with the fixed part of the second swivel coupled to the rotating part of the buoy. A spool can be coupled to and configured to rotate with the rotating part of the second swivel. A central longitudinal axis of the first swivel can be oriented vertically with respect to the buoy and a central longitudinal axis of the second swivel can be oriented substantially horizontally with respect to the buoy.

OFFSHORE VERTICAL-AXIS WIND TURBINES WITH INTEGRATED DRIVETRAINS

NºPublicación:  WO2025122738A1 12/06/2025
Solicitante: 
NATIONAL TECH & ENGINEERING SOLUTIONS OF SANDIA LLC [US]
FPS ENGINEERING & TECH LLC [US]
ENNIS BRANDON L
HUANG EDWARD
NATIONAL TECHNOLOGY & ENGINEERING SOLUTIONS OF SANDIA, LLC,
FPS ENGINEERING & TECHNOLOGY, LLC,
ENNIS, Brandon, L,
HUANG, Edward
US_2025188904_A1

Resumen de: WO2025122738A1

Vertical-axis wind turbines (VAWTs) have inherent advantages over horizontal -axis wind turbines (HAWTs) resulting from the low center of gravity primarily caused by the low height of the drivetrain relative to the rotor. The low center of gravity is one of the main drivers for development of VAWTs for floating offshore wind energy generation, where the reduced center of gravity has positive system benefits by reducing the demands placed on the floating platform and its associated mass and cost. This advantage for VAWTs can be further enhanced by lowering the elevation of the drivetrain by housing it within the platform column.

Floating type wind power generation system

NºPublicación:  CN222962979U 10/06/2025
Solicitante: 
HUANENG INTERNATIONAL ENGINEERING TECH CO LTD
\u534E\u80FD\u56FD\u9645\u5DE5\u7A0B\u6280\u672F\u6709\u9650\u516C\u53F8
CN_222962979_U

Resumen de: CN222962979U

The utility model provides a floating type wind power generation system, and relates to the technical field of offshore wind power. The floating type wind power generation system comprises a floating seat, the floating seat is divided into a windward area and a leeward area in the front-back direction, and the windward area is provided with a left front fan and a right front fan which are evenly arranged in the left-right direction at intervals and are in the upwind direction; the leeward area is provided with a downwind type rear draught fan, and the rear draught fan is located between the left front draught fan and the right front draught fan in the left-right direction. According to the floating type wind power generation system, by dividing the front area and the rear area of the floating base and reasonably arranging different types, numbers and arrangement modes of the draught fans in all the areas, the capacity of unit structural weight and the manufacturing cost of unit kilowatt of the floating type wind power generation system are improved; the wind resource utilization efficiency and the power generation efficiency of the floating type wind power generation system are effectively improved; meanwhile, the floating type wind power generation system adopts a combined type fan, fan type selection adapting to different working conditions can be matched, and the adaptability of the whole fan combination to the sea wind environment is higher.

Semi-submersible fan foundation convenient to disassemble and offshore fan

Nº publicación: CN222962986U 10/06/2025

Solicitante:

CHONGQING UNIV
\u91CD\u5E86\u5927\u5B66

CN_222962986_U

Resumen de: CN222962986U

The utility model discloses a semi-submersible type wind turbine foundation convenient to disassemble and an offshore wind turbine, and belongs to the technical field of wind power generation. The wind turbine foundation comprises a base, a stand column type buoyancy tank and a supporting platform which are sequentially arranged from bottom to top, the stand column type buoyancy tank is fixedly installed on the base in the circumferential direction of the axis direction of the base, and the supporting platform is fixedly installed on the buoyancy tank. Annular fixing seats matched with the two ends of the buoyancy tank are fixedly installed on the base and the supporting platform, a plurality of inserting holes are formed in the fixing seats in the circumferential direction with the axis of the fixing seats as the center, and a plurality of limiting grooves communicated with the inserting holes one to one are formed in the fixing seats. A plurality of limiting blocks in one-to-one correspondence with the inserting holes are arranged on the floating box, and after the floating box is inserted into the inserting holes through the limiting blocks, the limiting blocks can be rotated into the limiting grooves by rotating the floating box so as to limit displacement of the floating box in the axis direction. During disassembly, the supporting platform and the floating box can be disassembled by rotating the floating box, and the effect of facilitating disassembly and assembly is ac

traducir