Ministerio de Industria, Turismo y Comercio LogoMinisterior
 

Alerta

Resultados 107 resultados
LastUpdate Última actualización 15/12/2025 [07:22:00]
pdfxls
Solicitudes publicadas en los últimos 30 días / Applications published in the last 30 days
previousPage Resultados 25 a 50 de 107 nextPage  

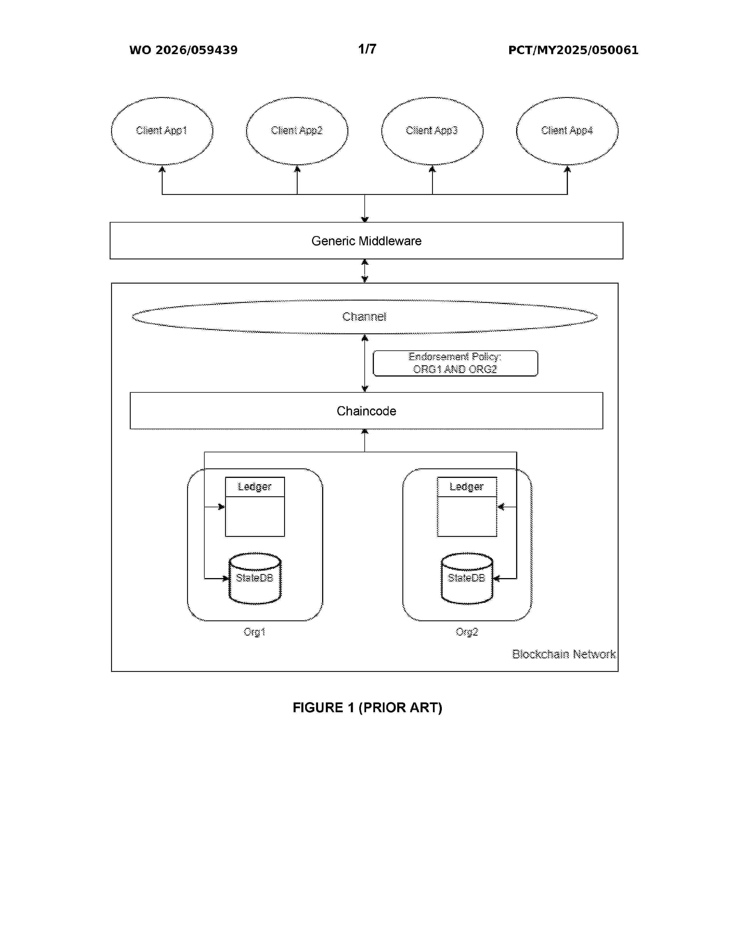
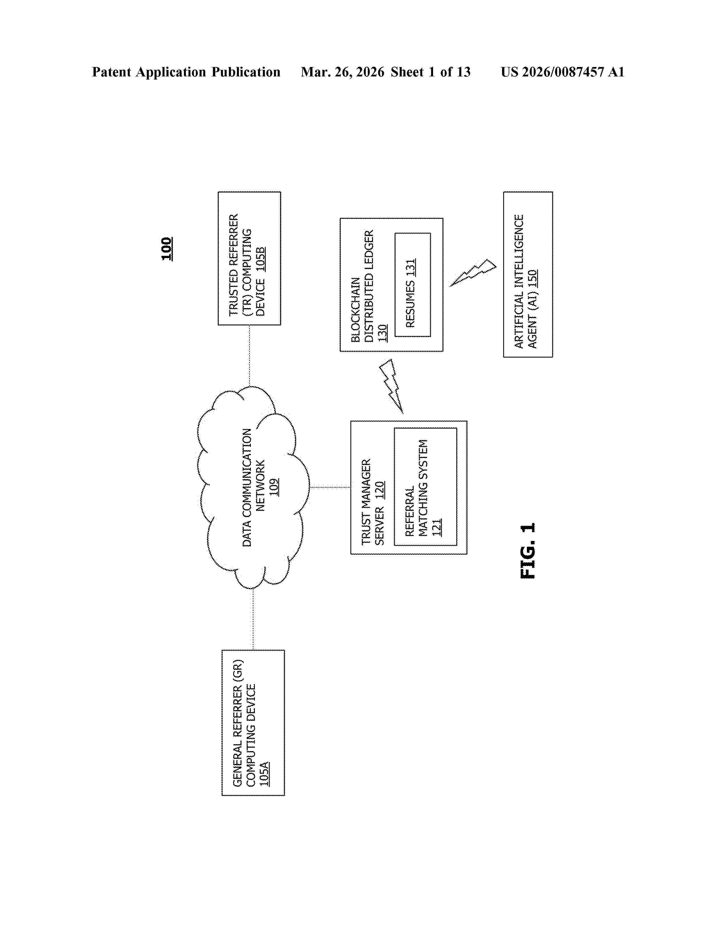
DIGITAL IMAGE MANAGEMENT OF DRILL CUTTINGS IMAGES

NºPublicación:  WO2025250466A1 04/12/2025
Solicitante: 
SCHLUMBERGER TECH CORPORATION [US]
SCHLUMBERGER CANADA LTD [CA]
SERVICES PETROLIERS SCHLUMBERGER [FR]
SCHLUMBERGER TECH B V [NL]
SCHLUMBERGER TECHNOLOGY CORPORATION,
SCHLUMBERGER CANADA LIMITED,
SERVICES PETROLIERS SCHLUMBERGER,
SCHLUMBERGER TECHNOLOGY B.V
WO_2025250466_PA

Resumen de: WO2025250466A1

A system for managing and tracking digital images of drill cuttings includes at least one networked database configured to store the digital images. A supplier portal is configured to enable a supplier to upload the digital images into the database and a customer portal is configured to provide customer access to selected ones of the digital images in the database. A networked blockchain ledger is in communication with the database, the supplier portal, and the customer portal. The blockchain ledger is configured to initiate a smart chain contract for each of the digital images, record customer access events within each smart chain contract for each of the digital images, and create a micro invoice including charges related to the recorded customer access events.

METHOD AND SYSTEM USING LOYALTY COINS AS DIGITAL CURRENCY WITH SMART CONTRACTS

NºPublicación:  US2025371507A1 04/12/2025
Solicitante: 
MASTERCARD INT INCORPORATED [US]
Mastercard International Incorporated
WO_2025250265_PA

Resumen de: US2025371507A1

A method for implementing loyalty points as digital currency using blockchain includes: receiving first transaction data for a first transaction including a first recipient address associated with a blockchain wallet and a positive loyalty point amount; processing the received first transaction data for the first transaction to add a first new block to the blockchain that includes the first recipient address and the positive loyalty point amount; receiving, after a predetermined period of time, second transaction data for a second transaction including a second recipient address associated with the blockchain wallet and a negative loyalty point amount; and processing the received second transaction data for the second transaction to add a second new block to the blockchain that includes the second recipient address and the negative loyalty point amount.

Blockchain Encoding System

NºPublicación:  US2025371112A1 04/12/2025
Solicitante: 
BLACK ATOM TECH INC [US]
Black Atom Technologies, Inc
US_2024403391_PA

Resumen de: US2025371112A1

Embodiments securely control an electronic asset. In some embodiments, a computer-implemented method of securely controlling an electronic asset includes identifying an asset NFT pertaining to the electronic asset. An ownership status of the electronic asset is computationally evaluated according to a proof of ownership provided by an owner node paired with the electronic asset. Responsive to evaluating the ownership status of the electronic asset, the asset NFT is bound with a representation of an identity of the owner node or of an authorized user node paired with the electronic asset. The bound representation of the identity and the asset NFT are registered on a blockchain associated with the electronic asset. A task is computationally performed involving the electronic asset, and the bound representation of the identity, and the electronic asset is securely controlled, in response to receiving a task request from the owner node or the authorized user node.

PATIENT-EMPOWERED DATA MANAGEMENT HAVING A SECURE BLOCKCHAIN ARCHITECTURE WITH DECENTRALIZED OWNERSHIP

NºPublicación:  WO2025250373A1 04/12/2025
Solicitante: 
MEDIMINT LLC [US]
MEDIMINT, LLC
WO_2025250373_PA

Resumen de: WO2025250373A1

A blockchain-based system and method for secure and auditable sharing of medical image studies between providers, patients, and authorized recipients. The system has modules for verifying identities of trusted healthcare providers as issuers of medical data, managing secure storage of medical images and metadata, minting non- fungible tokens (NFTs) representing patient ownership of studies, authenticating patient consent for data sharing, and controlling access to shared data by authorized parties. Issuer registration authenticates healthcare providers permitted to submit studies by verifying credentials against authoritative sources. Secure data management employs cryptographic wallets and smart contracts to ensure only verified issuers can create new medical data NFTs on the blockchain. Automated processing extracts medical data such as image files and metadata upon upload for separate secure storage, with metadata references encrypted in the associated NFT.

DIGITAL IMAGE MANAGEMENT OF DRILL CUTTINGS IMAGES

NºPublicación:  US2025371589A1 04/12/2025
Solicitante: 
SCHLUMBERGER TECH CORPORATION [US]
Schlumberger Technology Corporation
WO_2025250466_PA

Resumen de: US2025371589A1

A system for managing and tracking digital images of drill cuttings includes at least one networked database configured to store the digital images. A supplier portal is configured to enable a supplier to upload the digital images into the database and a customer portal is configured to provide customer access to selected ones of the digital images in the database. A networked blockchain ledger is in communication with the database, the supplier portal, and the customer portal. The blockchain ledger is configured to initiate a smart chain contract for each of the digital images, record customer access events within each smart chain contract for each of the digital images, and create a micro invoice including charges related to the recorded customer access events.

INTELLIGENT SYSTEM AND METHOD TO DERIVE A NORMALIZED CONSENT PROTOCOL FOR HETEROGENEOUS DISTRIBUTED LEDGER LEVERAGING NEURO-SYMBOLIC ARTIFICIAL INTELLIGENCE (AI)

NºPublicación:  US2025371527A1 04/12/2025
Solicitante: 
BANK OF AMERICA CORP [US]
Bank of America Corporation

Resumen de: US2025371527A1

A system and method may generate a normalized protocol model that leverages heterogeneous distributed ledger technology and is interoperable across different blockchain networks that may initially use different network protocols. The model may be generated by leveraging neuro-symbolic artificial intelligence (AI). The model that is generated may be based on the different network protocols that are in use at the different blockchain networks. The model may be adopted by the blockchain networks upon the blockchain networks providing unified consent to its adoption. The model may be required to be implemented by each of the different blockchain networks. The consensus to adopt the model may be recorded in one or more smart contracts. Copies of the smart contracts may be stored at the blockchain networks. The normalized protocol model may allow electronic transaction, data exchanges, and communications to be performed across blockchain networks and recorded in a heterogeneous distributed ledger.

SYSTEMS AND METHODS FOR BLOCKCHAIN-BASED TRANSACTION BREAK PREVENTION

NºPublicación:  US2025371530A1 04/12/2025
Solicitante: 
CITIBANK N A [US]
CITIBANK, N.A
US_2024311813_PA

Resumen de: US2025371530A1

A computer-implemented method comprising receiving a transaction request from a first computing device, the transaction request corresponding to a pending transaction between the first computing device and a second computing device and comprising a first set of transaction attributes; appending block instances to blockchains of the first and second computing devices, retrieving or receiving, from the second computing device, a second set of transaction attributes; when the first set of transaction attributes match, identifying a second blockchain associated with the pending transaction; automatically executing a protocol to compare the first set of transaction attributes with data stored onto a ledger of the identified second blockchain; and, in response to determining that the first set of transaction attributes complies with data of the ledger of the identified second blockchain, appending block instance to the blockchain comprising data corresponding to the transaction request to blockchains of the first and second computing devices.

HYBRID BLOCKCHAIN NETWORK FOR DYNAMIC COMMUNICATION WITH EXTERNAL SYSTEMS

NºPublicación:  US2025373456A1 04/12/2025
Solicitante: 
STATE FARM MUTUAL AUTOMOBILE INSURANCE COMPANY [US]
State Farm Mutual Automobile Insurance Company
US_12417454_PA

Resumen de: US2025373456A1

This disclosure describes techniques for using a blockchain network to dynamically generate and transmit communications based on data stored on distributed records. The techniques described herein may enable an automated routine to store anonymized data on a distributed record and use such ledger data to determine whether and/or how to communicate with account holders. This enables the automated routine to avoid the need to decrypt data stored on distributed records before performing computations using the ledger data. Moreover, the techniques described herein enable an automated routine to use data stored on a public distributed record as a retrieval key for accessing a private backend database. This enables the automated routine to avoid the need to perform computationally resource-intensive operations to retrieve and/or interpret backend data beyond data queries. Accordingly, various aspects of the techniques described herein improve the computational efficiency of performing blockchain-based dynamic communication.

AUTHENTICATION AND VERIFICATION OF USER DATA USING BLOCKCHAIN-BASED POINTER RECORDS

NºPublicación:  US2025371194A1 04/12/2025
Solicitante: 
NEXUM CAPTIAL INC [GR]
Nexum Captial Inc

Resumen de: US2025371194A1

Method and apparatus for protecting confidential user data associated with a User. The user data are partitioned into portions which are stored in different memory locations, each portion insufficient to facilitate reconstruction of personally identifiable information without use of each of the remaining portions. A storage address for at least one portion is encoded and incorporated into a minted non-fungible asset (NFA) recorded to a distributed blockchain and placed in a User digital wallet. To subsequently reconstruct and access the user data, the storage address from the NFA is decoded, and the portions are retrieved from memory and recombined. A secure communication link facilitates authorized access to the reconstructed user data. Main and associated wallets may be used to track original and updated NFAs. The storage address may be in the Interplanetary File Storage (IPFS) system. The user data may be destroyed by erasing at least one portion from memory.

DATA PROCESSING METHOD AND RELATED DEVICE

NºPublicación:  WO2025246270A1 04/12/2025
Solicitante: 
HUAWEI CLOUD COMPUTING TECH CO LTD [CN]
\u534E\u4E3A\u4E91\u8BA1\u7B97\u6280\u672F\u6709\u9650\u516C\u53F8
WO_2025246270_PA

Resumen de: WO2025246270A1

The present application discloses a data processing method, which is applied to a blockchain management system. The system comprises a first client, a second client, and a blockchain network, and a first smart contract is deployed on a plurality of chain nodes in a network. The method comprises: a first client uses a fully homomorphic public key issued by a sub-key group to encrypt first data, and then sends transaction information to a chain node, wherein the transaction information comprises a ciphertext of the first data; the chain node records the ciphertext of the first data in a blockchain ledger, and declares, by means of the first smart contract, that a data type of the ciphertext of the first data is a fully homomorphic ciphertext; and a second client sends an operation request to the chain node. The chain node performs a fully homomorphic operation on the ciphertext of the first data on the basis of the first smart contract and a fully homomorphic evaluation key issued by the sub-key group, and records the homomorphic operation result in the blockchain ledger. Thus, the security of data having high security requirements is guaranteed on the premise of not sacrificing the availability and operability of on-chain data.

SYSTEM FOR FEDERATED COMPLIANCE-TOKEN INHERITANCE, DIGITAL ARTIFACT REGISTRY, AND MONETIZATION IN REGULATED ENVIRONMENTS USING LARGE LANGUAGE MODELS

NºPublicación:  US2025373432A1 04/12/2025
Solicitante: 
ONESOURCE SOLUTIONS INT INC [US]
OneSource Solutions International, Inc

Resumen de: US2025373432A1

A computerized platform enables secure, policy-compliant creation, governance, and monetization of digital artifacts produced by AI-driven “persona” agents in regulated domains (e.g., healthcare, finance). For each agent session, a federated compliance-token generator issues a cryptographically signed token embedding the full delegation chain, credential lineage, real-time policy snapshot, monetization rules, expiration and revocation data. As artifacts or workflows cross organizational or jurisdictional boundaries, a token inheritance module can subdivide, transfer, renew, or revoke the token while appending each event to an immutable, cryptographically linked audit trail. Every agent output is encapsulated as a digitally signed artifact that is indelibly linked to its originating compliance token and enriched with provenance, consent, and service metadata. A permissioned blockchain (or sharded distributed ledger) functions as an asset registry that immutably stores artifacts, tokens, and chronological records of creation, access, transfer, consent change, and policy updates. A smart-contract monetization engine allocates revenue or royalties based on artifact usage and institutional agreements, writing each billing event atomically to the ledger. Collectively, the system delivers continuous end-to-end traceability, privacy preservation, and automated financial settlement across diverse institutional boundaries.

INFORMATION MANAGEMENT SYSTEM, INFORMATION MANAGEMENT METHOD, INFORMATION MANAGEMENT PROGRAM, AND MEDIUM

NºPublicación:  WO2025248943A1 04/12/2025
Solicitante: 
NITERRA CO LTD [JP]
\u65E5\u672C\u7279\u6B8A\u9676\u696D\u682A\u5F0F\u4F1A\u793E
WO_2025248943_PA

Resumen de: WO2025248943A1

An information management system (BC) for managing information indicating the state of a machine product (100), the information management system (BC) comprising: an NFT issuing unit (311) that issues, on a blockchain (300), an NFT (103) associated with individual identification information that identifies the machine product (100); and a management unit (313) that associates a VC (107), which is information indicating the state of the machine product (100), with the NFT.

SYSTEM AND METHODS FOR ENABLING PRIVACY AND TRANSPARENCY IN ELECTORAL BONDS USING CRYPTOGRAPHY AND BLOCKCHAIN

NºPublicación:  WO2025248311A1 04/12/2025
Solicitante: 
CENTRE FOR DEV OF ADVANCED COMPUTING [IN]
CENTRE FOR DEVELOPMENT OF ADVANCED COMPUTING
WO_2025248311_PA

Resumen de: WO2025248311A1

The present disclosure relates to systems (102) and methods for enabling privacy and transparency in electoral bonds using cryptography and blockchain. The cryptographic scheme is incorporated to enable donors privacy and citizens right to information in the electoral bond process. The proposed system (102) leverages cryptographic primitives such as zero-knowledge proof and homomorphic encryption simultaneously. The zero-knowledge proof enables verifiable computation which lets users perform computations privately and prove the validity of the same using zero-knowledge proof. The homomorphic encryption lets participants perform computations on encrypted data. System (102) leverages smart contracts to ensure the transparency of the functionality thereby further strengthening the trust in the system.

BLOCKCHAIN AND CLOUD CONNECTIVITY-BASED SELF-REGISTRATION AND INVENTORYING OF ENTERPRISE IOT ASSETS

NºPublicación:  EP4655908A1 03/12/2025
Solicitante: 
MICROSOFT TECHNOLOGY LICENSING LLC [US]
Microsoft Technology Licensing, LLC
US_2024259269_A1

Resumen de: US2024259269A1

Embodiments provide for the self-registration and automatic inventorying of enterprise Internet-of-Things (IoT) devices in an enterprise environment. An asset inventory agent on a network among many networks (i.e., within the enterprise environment) can receive a data packet from a computing device. The data packet is communicated via the network shared between the asset inventory agent and the computing device. The asset inventory agent can analyze the data packet, which can reveal a communication protocol associated with the computing device. A discovery rule associated with the protocol can be selected to extract inventory information from the data packet. The inventory information can be utilized to generate a distributed ledger transaction, which is communicated to a set of nodes adapted to collectively store the inventory information associated with the computing device onto the distributed ledger.

METHOD AND SYSTEM FOR ACTIVATING WALLET PRIVATE KEYS THROUGH BLOCKCHAIN ADDRESSES

NºPublicación:  EP4655741A1 03/12/2025
Solicitante: 
MASTERCARD INTERNATIONAL INC [US]
Mastercard International Incorporated
KR_20250143093_PA

Resumen de: CN120604251A

A method of registering an identified blockchain wallet using a payment card includes receiving payment detail information of a payment card issued for a transaction account, the payment detail information including a card identifier and being received from one of an integrated circuit payment card and a financial application; receiving wallet detailed information of the block chain wallet, wherein the wallet detailed information comprises a wallet identifier; transmitting the card identifier and the wallet identifier to an activation server storing an association between the wallet identifier and the transaction account; receiving an activation message from an activation server; and transmitting an instruction to an integrated circuit payment card or a financial application to enable use of a private key in a cryptographic key pair associated with the blockchain wallet.

BLOCKCHAIN AND CLOUD CONNECTIVITY-BASED SELF-REGISTRATION AND INVENTORYING OF ENTERPRISE IOT ASSETS

NºPublicación:  EP4655694A1 03/12/2025
Solicitante: 
MICROSOFT TECHNOLOGY LICENSING LLC [US]
Microsoft Technology Licensing, LLC
US_2024249033_PA

Resumen de: US2024249033A1

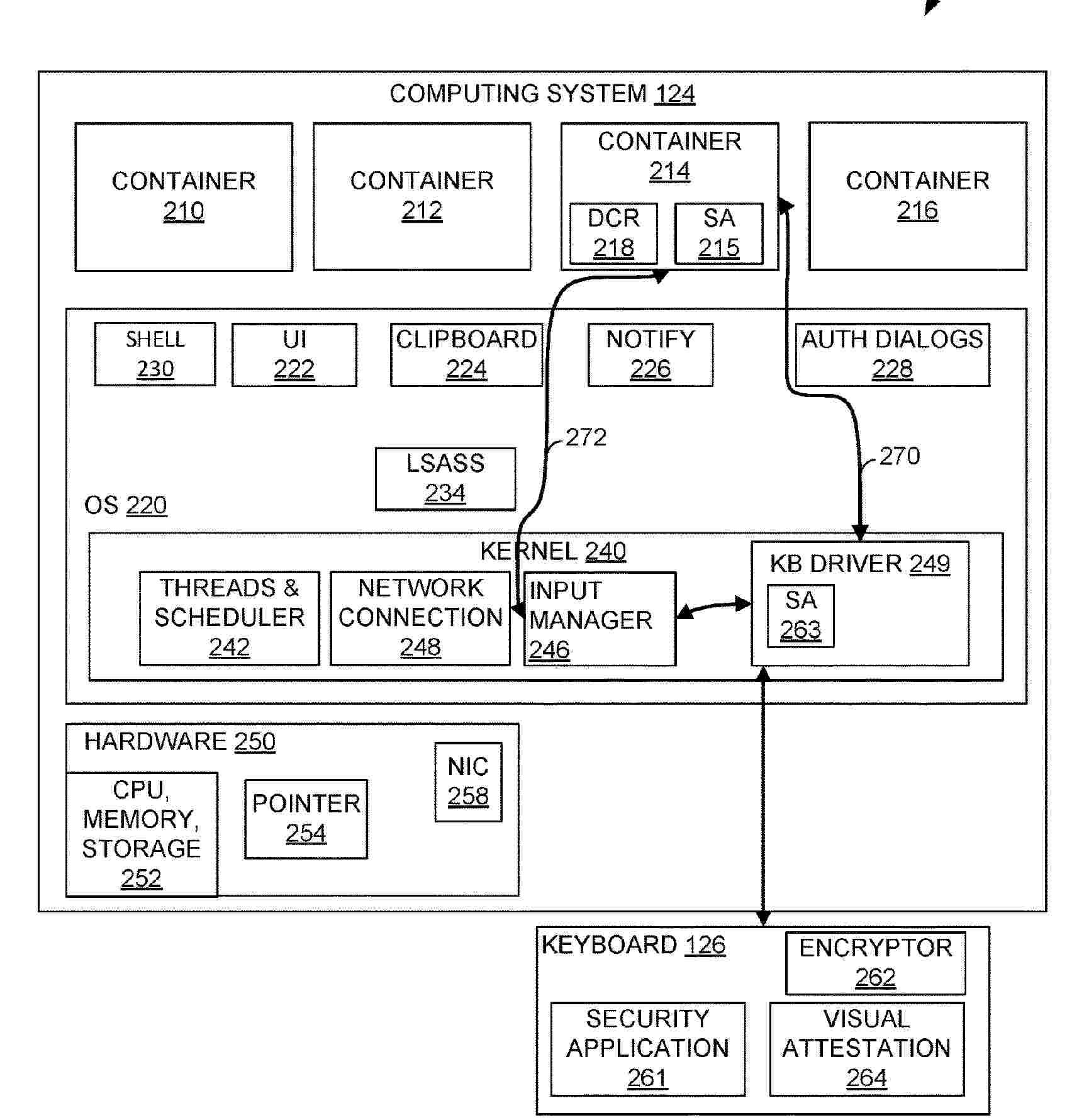
The technology described herein secures input data during communication between an input device and an input destination, such as an application or container. In an aspect, the input device is a keyboard. The technology described herein may enable a keyboard to communicate in a standard mode and a secure mode. In the standard mode, the keyboard communicates like currently available keyboards. In secure mode, the keyboard may provide several security enhancements including the encryption of keystrokes with decryption occurring at the input destination. The security enhancements can include building a secure communication channel between the keyboard and the input destination. The security enhancements can include an attestation to the user that the keyboard is operating in secure mode.

BLOCKCHAIN-BASED IOT

NºPublicación:  MX2025011879A 01/12/2025
Solicitante: 
HUBBELL INCORPORATED [US]
HUBBELL INCORPORATED
WO_2024211159_PA

Resumen de: MX2025011879A

A method for user control of one or more devices located within a physical space. The method includes creating a network block in response to a user input, the network block including network identifying metadata. The network identifying metadata includes a list of the one or more devices. The method also includes writing the network block to a ledger under a first user profile, linking the network block to a host server, receiving a first request to modify the network block, and modifying the network block. Modifying the network block includes adding network identifying metadata, deleting network identifying metadata, and altering network identifying metadata. The method also includes receiving a second request to transfer ownership of the network block and linking the network block to a second user profile. Linking the network block to the second user profile transfers ownership of the list of the one or more devices.

BLOCKCHAIN-BASED TRANSACTION SYSTEM FOR INSURANCE CLAIM PROCESSING

NºPublicación:  CA3237504A1 29/11/2025
Solicitante: 
CARCHAIN TECH [CA]
CARCHAIN TECHNOLOGIES

SEVEN-MODULE CROSS-DOMAIN DISTRIBUTED CONSENSUS EVIDENCE GENERATION SYSTEM WITH BLOCKCHAIN-ANCHORED VERIFICATION

NºPublicación:  CA3283905A1 29/11/2025
Solicitante: 
MAO TINGKAO [TW]
MAO-TINGKAO

System and Method with Cryptography, Biometrics, and Artificial Intelligence for Verifying Consent to a Property Transaction

NºPublicación:  US2025363505A1 27/11/2025
Solicitante: 
GORDON ROGER NORRIS [US]
GORDON Roger Norris
US_2025363505_PA

Resumen de: US2025363505A1

A system and method are provided for implementing an autonomous, biometric and artificial intelligent transfer agent to prevent unauthorized or fraudulent real property transfers by verifying informed consent using multi-factor biometrics and cryptographically enforced compliance on a blockchain. In an exemplary embodiment, an automated enforcement agent captures a property owner's biometric identifiers to authenticate the owner's identity and uses artificial intelligence to detect signs of duress or anomaly in the transaction. Upon confirming the owner's consent and verifying the authenticity of the transaction, the automated enforcement agent generates a digitally signed certificate of compliance, which is then recorded on a blockchain distributed ledger in association with the property's title.

SYSTEM AND METHOD FOR STORING INPUT DATA AND/OR OUTPUT DATA OF A QUANTUM COMPUTER IN A BLOCKCHAIN

NºPublicación:  US2025365168A1 27/11/2025
Solicitante: 
GOUDJIL RYAN G [US]
Goudjil Ryan G
US_2025365168_PA

Resumen de: US2025365168A1

A system for storing a quantum computer input data or a quantum computer output data, or both in a blockchain. The system includes a network of a plurality of nodes, each node in the plurality of nodes being configured to store a copy of a plurality of blockchains, a first blockchain having a first plurality of blocks and a second blockchain having a second plurality of blocks, a block in the first plurality of blocks includes a quantum computer input data; and a quantum computer in communication with the network of nodes, the quantum computer being configured to receive or retrieve the quantum computer input data from the network of the plurality of nodes and to output the quantum computer output data to the network of nodes and to store the quantum computer output data in a block of the second blockchain within the network of nodes.

COMPUTER IMPLEMENTED METHOD AND SYSTEM FOR STORING CERTIFIED DATA ON A BLOCKCHAIN

NºPublicación:  US2025365170A1 27/11/2025
Solicitante: 
NCHAIN LICENSING AG [CH]
nChain Licensing AG
US_2025365170_PA

Resumen de: US2025365170A1

A method of storing certified data on a blockchain is disclosed. The method comprises generating a first blockchain transaction (Tx1) having a first output (Output 3) containing a first public key of a first private/public key pair, comprising a first private key and a first public key, of a cryptography system, first data related to the first public key, and a first digital signature applied, using a second private key of a second private/public key pair, comprising a second private key and a second public key, of a cryptography system, to the first data and to the first public key. The first blockchain transaction is broadcast to the blockchain.

SYSTEM AND METHOD USING IDENTITY NON-FUNGIBLE TOKEN FOR IDENTITY VERIFICATION IN METAVERSE AND ONLINE SERVICES

NºPublicación:  US2025365275A1 27/11/2025
Solicitante: 
HONG KONG APPLIED SCIENCE AND TECH RESEARCH INSTITUTE COMPANY LIMITED [HK]
Hong Kong Applied Science and Technology Research Institute Company Limited
US_2025365275_PA

Resumen de: US2025365275A1

A system for identity authentication on blockchain using NFTs includes a user interface, an identity NFT minting module, and a verifiable credential issuer module. The user interface allows a user to link a blockchain wallet and a credential wallet to the user interface and to provide an online service ID and requests the user to create signatures using a blockchain wallet private key and a credential wallet signing key. The identity NFT minting module verifies the online service ID and verifies the two signatures using the blockchain wallet address and the DID. The identity NFT minting module mints an identity NFT on a blockchain network, preserving the online service ID, the blockchain wallet address, and the DID in the identity NFT as metadata. The verifiable credential issuer module issues a verifiable credential to the user and triggers the identity NFT minting module for adding credential metadata to the identity NFT.

COMPACTION-LESS DATABASE FOR STORING BLOCKCHAIN STATE

NºPublicación:  WO2025245456A1 27/11/2025
Solicitante: 
AVA LABS INC [US]
AVA LABS, INC
WO_2025245456_PA

Resumen de: WO2025245456A1

Various aspects of the subject technology relate to systems, methods, and machine-readable media for implementing a compaction-less database structure. Various aspects may include identifying nodes in a most recent revision of a database structure stored on disk corresponding to locations of node changes in a current proposal. Aspects may also include persisting node addresses for nodes that have changed from the most recent revision in the current proposal to a future-delete list (also kept on disk). Aspects may also include writing only the new nodes including a root node to disk. Aspects may also include updating a root address on disk based on the root node. Aspects may also include committing the proposal as a new revision of the database structure.

ONLINE SOCIAL WAGER-BASED GAMING SYSTEM FEATURING DYNAMIC CROSS -PROVIDER GAME FILTERING, PERSISTENT CROSS-PROVIDER VOICE-INTERACTIVE GROUP PLAY, AUTOMATED MULTI-SEAT GROUP GAME RESERVATION, AND DISTRIBUTED LEDGER BET VERIFICATION

Nº publicación: WO2025245042A1 27/11/2025

Solicitante:

NOWAK DANIEL PATRYK [US]
NOWAK, Daniel Patryk

WO_2025245042_PA

Resumen de: WO2025245042A1

An online social wager-based gaming system is disclosed, featuring dynamic cross-provider game filtering and persistent cross-provider voice-interactive group play. The system allows for automated multi-seat group game reservations and incorporates a distributed ledger for bet verification. Features include a Group Connect module for dynamic group formation and live audio across various game providers, enabling real-time play. A Professional Companion Connect module facilitates live webcam or microphone gambling sessions with professional companions, under contractual agreements. The User Games module enhances personalization by integrating user-uploaded images into the gaming environment. A cryptocurrency/blockchain-based bet tracking system ensures transparency and security in managing bet transactions through a controlled digital wallet system. This integrated platform aims to provide a cohesive, interactive, and personalized online casino experience, addressing limitations of traditional solitary online gaming by fostering social connections and enhancing user trust and engagement.

traducir