Ministerio de Industria, Turismo y Comercio LogoMinisterior
 

Alerta

Resultados 133 resultados
LastUpdate Última actualización 04/02/2026 [07:42:00]
pdfxls
Solicitudes publicadas en los últimos 30 días / Applications published in the last 30 days
previousPage Resultados 75 a 100 de 133 nextPage  

BLOCKCHAIN AND ARTIFICIAL INTELLIGENCE FOR SECURE DATA MANAGEMENT

NºPublicación:  US20260019288A1 15/01/2026
Solicitante: 
PROVEAL LLC [US]
ProveAl, LLC
US_20260019288_PA

Resumen de: US20260019288A1

Systems and methods here may be used to secure data for use in AI systems training datasets, machine learning model metadata, and contextual metadata for advanced AI models via a hybrid blockchain backend. The AI systems data is stored via a private blockchain and then utilizes an orchestration event management system to filter and store specific information on a public blockchain. The important AI systems data will then be stored via a smart contract mechanism that is version controlled and immutable. This way AI systems data can be properly traced, securely stored, and properly managed by incorporating blockchain technology.

METHODS AND SYSTEMS FOR ECOSYSTEM ENCAPSULATOR DEVICE TO MANAGE MULTI-LAYERED ECOSYSTEM RESPONSES

NºPublicación:  US20260017901A1 15/01/2026
Solicitante: 
US TECH INTERNATIONAL PRIVATE LIMITED [IN]
US TECHNOLOGY INTERNATIONAL PRIVATE LIMITED
US_20260017901_PA

Resumen de: US20260017901A1

Disclosed herein is a method implemented on an ecosystem encapsulator device communicably coupled to a blockchain network, for managing multi-layered ecosystem responses to predefined events is disclosed. The method includes generating a plurality of ecosystem layers around a subject node on a metaverse object and determining a plurality of subject parameters based on a sensing device input. Furthermore, the method includes detecting an event associated with the subject node based on at least one subject parameter and triggering, based on the detected event, at least one transaction across the one or more entity nodes in a corresponding ecosystem layer. Further, the method includes determining one or more dimensional parameters associated with the detected event for the at least one triggered transaction and generating a multi-dimensional annotation with the metaverse object based on the at least one triggered transaction and corresponding dimensional parameters.

Digital Content Control Based on Nonfungible Tokens

NºPublicación:  US20260017643A1 15/01/2026
Solicitante: 
EBAY INC [US]
eBay Inc
US_20260017643_PA

Resumen de: US20260017643A1

Techniques are described, as implemented by computing devices, to provide digital content to users through use of nonfungible tokens (NFTs). This is performed by leveraging a blockchain such that digital content associated with an item is made available to encourage the user to interact with NFTs on the service provider platform (e.g., discounts, NFT listing functionality, automatic initiation of NFT transfers, and so forth) based on a user's possession of the NFT.

SYSTEMS AND METHODS OF BLOCKCHAIN TRANSACTION RECORDATION

NºPublicación:  US20260017641A1 15/01/2026
Solicitante: 
NASDAQ INC [US]
Nasdaq, Inc
US_20260017641_PA

Resumen de: US20260017641A1

A computer system is provided that communicates with a distributed blockchain computing system that includes multiple computing nodes. The exchange stores an order book and a plurality of digital wallets associated with different clients. The computer system receives new data transaction requests that are added to the order book. A match is identified between data transaction requests and hashes associated with the digital wallets associated with the respective data transaction requests are generated. The counterparties receive the hashes of the other party along with information on the match and each party causes blockchain transactions to be added to the blockchain of the blockchain computing system. The computing system then monitors the blockchain to determine if both sides of the match has been added to the blockchain.

METHOD AND SYSTEM FOR ENSURING TRUSTWORTHINESS AND SECURITY OF CYBERSPACE

NºPublicación:  WO2026011691A1 15/01/2026
Solicitante: 
PEKING UNIV SHENZHEN GRADUATE SCHOOL [CN]
\u5317\u4EAC\u5927\u5B66\u6DF1\u5733\u7814\u7A76\u751F\u9662
WO_2026011691_PA

Resumen de: WO2026011691A1

Provided in the present invention are a method and system for ensuring the trustworthiness and security of cyberspace. The method comprises: step S1, on the basis of a multi-identifier network, implementing multi-identifier addressing having authentication and packet signing embedded therein; step S2, defining digital customs, a digital passport and a digital visa based on the multi-identifier network; step S3, on the basis of time data, a digital visa key and a hash function, performing calculation to obtain the digital visa based on the multi-identifier network; step S4, on the basis of the hash value of the digital visa and a cross-states passport key, performing calculation to obtain the digital passport based on the multi-identifier network; step S5, implementing the digital customs by means of a multi-identifier network router, and using and maintaining an exit border table by means of the digital customs; and step S6, by means of the digital customs, using an arrival border table to verify the digital passport, and updating the arrival border table. The present invention can effectively guarantee the trustworthiness and security of cyberspace, and enable the traceability of blockchain logs, thereby providing a better foundation for ensuring the order, rule of law and peace of cyberspace.

SMART PORT MANAGEMENT SYSTEM BASED ON BLOCKCHAIN

NºPublicación:  WO2026011376A1 15/01/2026
Solicitante: 
SUZHOU JUEZHI TECH CO LTD [CN]
\u82CF\u5DDE\u8BC0\u667A\u79D1\u6280\u6709\u9650\u516C\u53F8
WO_2026011376_PA

Resumen de: WO2026011376A1

Disclosed in the present invention is a smart port management system based on a blockchain. The system comprises: a cargo information collection module, which is used for collecting cargo information; an information uploading module, which is used for performing on-chain processing on the collected cargo information and uploading the cargo information to a blockchain; a cargo conveyance collection module, which is used for collecting information related to cargo conveyance in a port by unmanned conveying devices in the port; a vehicle information collection module, which is used for collecting information related to vehicles entering the port; a personnel information collection module, which is used for collecting personnel information in the port; a port protection collection module, which is used for collecting information related to protection devices at port terminals; and a security history collection module, which is used for collecting historical security information of the port. The present invention enables more comprehensive and smart port management.

METHOD AND SYSTEM FOR AUTOMATED SECURED PROCESSING OF SHIPMENTS

NºPublicación:  US20260017605A1 15/01/2026
Solicitante: 
AQUATIO SOFTWARE CO [US]
Aquatio Software Co
US_20260017605_PA

Resumen de: US20260017605A1

A system for an automated secured processing of shipments, including a processor of a shipment processing server node connected to at least one originating user node and to at least one target user node over a wireless network connection and a memory on which are stored machine-readable instructions that when executed by the processor, cause the processor to: receive a shipment transaction request from the at least one originating user node, the shipment transaction request comprising transaction parameters; create a shipment transaction based on the transaction parameters derived from the shipment transaction request; generate a QR code for the shipment transaction; send a link containing a verification request to the at least one target user node; responsive to the verification request, receive biometric capture data from the at least one target user node; regenerate the QR code for the shipment transaction to include the biometric capture data; and record the regenerated QR code on a blockchain ledger.

METHODS AND SYSTEMS FOR FORENSIC INVESTIGATIONS IN CONTRACT NETWORKS

NºPublicación:  US20260017650A1 15/01/2026
Solicitante: 
MADISETTI VIJAY [US]
Madisetti Vijay
US_20260017650_PA

Resumen de: US20260017650A1

Systems and methods of blockchain value transfer utilizing a smart contract system including processing transaction requests, performing a balance check procedure on each transaction request based on an aggregation of credits and debits, determining by the smart contract system a net transaction amount for each account address comprised by an aggregate transaction record, and executing the net transaction amount for each account address by transacting tokens to and from the account addresses and receiving account addresses included in the transaction requests upon reaching an execution condition.

SYSTEM AND METHOD FOR MANAGING ISSUANCE OF SECURE WAYBILL USING BLOCKCHAIN TECHNOLOGY AND VIRTUAL PERSONAL INFORMATION

NºPublicación:  US20260017604A1 15/01/2026
Solicitante: 
HOMENUMBER CO LTD [KR]
HOMENUMBER CO., LTD
US_20260017604_PA

Resumen de: US20260017604A1

Provided enables more safe and convenient output of a waybill without personal information leakage by using virtual personal information instead of actual personal information when a customer purchases a product from each online shopping mall, checking an online shopping mall customer order number to prevent fraudulent issuance of the waybill when outputting the waybill, and not storing identity information of the customer in a primary product supplier system and a subordinate product supplier system of the online shopping mall, and is characterized by including a customer terminal, a secure waybill management means, a shopping mall system, a primary product supplier system, secondary to Nth product supplier systems.

SYSTEM AND METHOD FOR MANAGING ISSUANCE OF SECURE WAYBILL USING BLOCKCHAIN TECHNOLOGY AND VIRTUAL PERSONAL INFORMATION MATCHED WITH CARD INFORMATION

NºPublicación:  US20260017629A1 15/01/2026
Solicitante: 
HOMENUMBER CO LTD [KR]
HOMENUMBER CO., LTD
US_20260017629_PA

Resumen de: US20260017629A1

Provided enables improvement of convenience in inputting delivery address information by pre-matching virtual personal information to card information of a customer to be used for payment and allowing the virtual personal information matched with the card information to be automatically input as delivery address information in response to input of payment card information of the customer in a payment window in a product ordering process through an online shopping mall and improvement of security by using virtual personal information instead of actual identity information of the customer as delivery address information, and more safe and convenient output of a waybill without personal information leakage by checking an online shopping mall customer order number to prevent fraudulent issuance of the waybill when outputting the waybill, and not storing identity information of the customer in a primary product supplier system and a subordinate product supplier system of the online shopping mall.

METHOD AND APPARTUS FOR TRAINED COMPUTER MODEL MANAGEMENT

NºPublicación:  US20260017719A1 15/01/2026
Solicitante: 
LIBERATE AI LTD [GB]
Liberate AI Limited
US_20260017719_PA

Resumen de: US20260017719A1

A method of providing a computer model as a tradeable asset is described. A trained computer model is prepared—this comprises developing and training a computer model using training data and determining acceptance criteria for the computer model such that the computer model is determined to be a trained computer model when the acceptance criteria are met. The trained computer model is packaged for use by a third party and stored securely. A token corresponding to the trained computer model is established. The token, and transactions in the token, are posted to a blockchain such that the token is adapted for use as a tradeable asset. Access to the trained computer model is provided to a third party who has acquired rights to use the trained computer model through obtaining rights in the token. An associated system for developing of a computer model and for providing it as a tradeable asset is also described.

AI-ENABLED, VOICE-ACTIVATED QR CODES AND LOCATION IDENTIFIERS

NºPublicación:  US20260017476A1 15/01/2026
Solicitante: 
WGRS LICENSING COMPANY LLC [US]
WGRS Licensing Company, LLC
US_20260017476_PA

Resumen de: US20260017476A1

Systems and methods are provided for creating, curating, owning, registering, controlling, and enabling voice activation of QR and other scannable codes and location identifiers (“CIDs”). CIDs can be digital, physical, or virtual for augmented reality and virtual reality for human to human, human to machine, and machine to machine input, communications, searches and other uses. CIDs may be created, registered, curated and deployed in both on-blockchain and off-blockchain systems with non-fungible tokens and other similar identification and entification methodologies. The registration, ownership, and curation of CIDs also reduces opportunities for QR code fraud. CIDs provide extremely short, simple, and easy voice identifiers for AI enabled chat, text, and voice services and virtual reality, augmented reality and other smart glasses, heads-up displays, headsets, etc.

PAYMENT SYSTEMS AND METHODS

NºPublicación:  US20260017655A1 15/01/2026
Solicitante: 
VADHRI SRINIVAS [US]
Vadhri Srinivas
US_20260017655_PA

Resumen de: US20260017655A1

Payment systems and methods that facilitate electronic payer-payee financial transactions are disclosed. One aspect includes a payment server generating and maintaining a plurality of combinations, with each combination being comprised of a payment instrument from a plurality of payment instruments associated with a payee, a corresponding universal payment address, and a corresponding payment credential, in a directory comprising a block chain. A payer agent selects a specific combination to communicate with a payee agent to facilitate a financial transaction between a payer and the payee. The payment server may authenticate and process a request from the payer agent to complete the financial transaction with the help of a routing agent or a service. The financial operation is completed by the payer agent performing a payment PUSH operation to the payment server, and the payment server forwarding the payment PUSH operation to a payment instrument corresponding to a selected payment credential.

METHOD FOR BUILDING A BLOCKCHAIN

NºPublicación:  US20260017653A1 15/01/2026
Solicitante: 
BASF SE [DE]
BASF SE
US_20260017653_PA

Resumen de: US20260017653A1

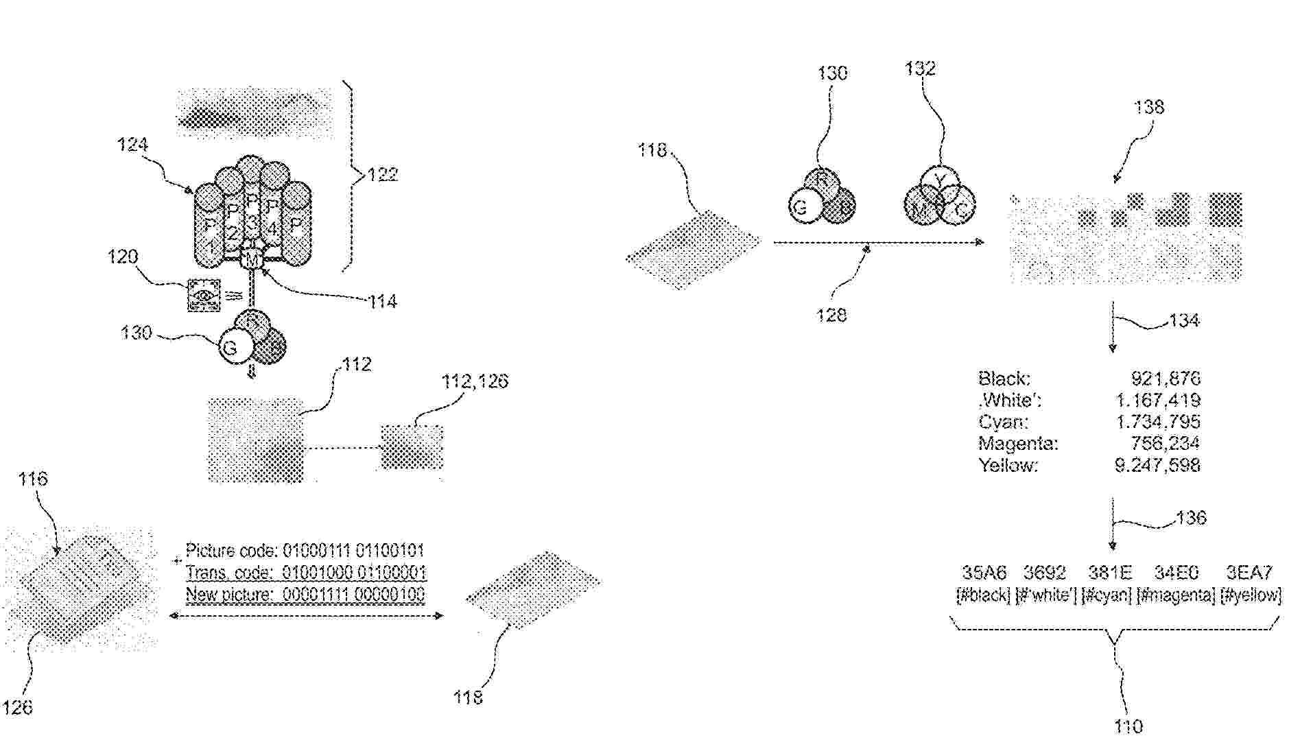
Computer implemented method for generating a hash value (110) is disclosed, the method comprises the following steps: i) Providing a first digital RGB image (112) having first RGB colors of a physical object (114);ii) Combining first transaction data (116) and the first digital RGB image (112), thereby generating a second RGB image (118) having second RGB colors;iii) Converting (128) color values of the second RGB image (118) from RGB color space (130) to a secondary color space (132) having at least four primary colors and determining (134) a number of respectively colored pixels for each primary color of the secondary color space (132);iv) Generating (136) the hash value (110) by converting the determined number of respectively colored pixels for each primary color of the secondary color space (132) to hexadecimal numerals.

CRYPTOGRAPHICALLY SECURE BOOSTER PACKS IN A BLOCKCHAIN

NºPublicación:  US20260017626A1 15/01/2026
Solicitante: 
FALL GUY LLC DBA FALL GUY CONSULTING [US]
Fall Guy LLC, DBA Fall Guy Consulting
US_20260017626_PA

Resumen de: US20260017626A1

A facility for cryptographically securing booster packs using tear transactions is described.

INTERACTIVE USER INTERFACE SYSTEMS AND METHODS FOR ANALYZING TRANSACTION ATTRIBUTES AND DISPUTE INFORMATION USING BLOCKCHAIN

NºPublicación:  US20260017649A1 15/01/2026
Solicitante: 
WORLDPAY LLC [US]
Worldpay, LLC
US_20260017649_A1

Resumen de: US20260017649A1

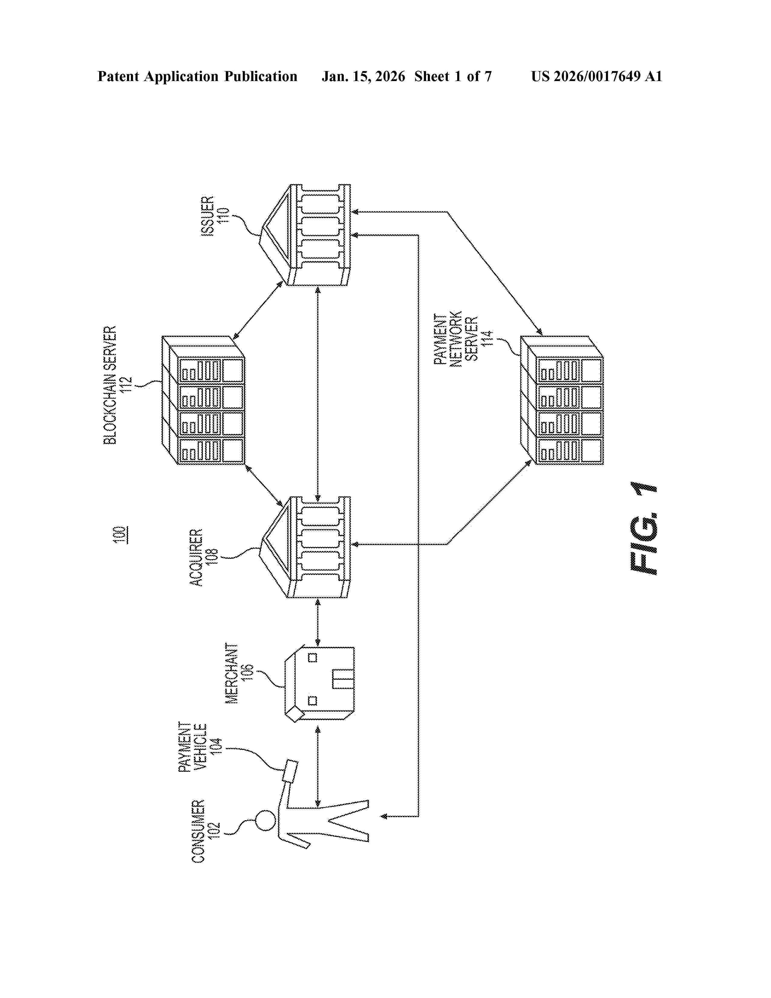
Decentralized computer systems and methods are disclosed for analyzing transaction attributes and dispute information using blockchain. One method includes: receiving a first transaction information of a first transaction, wherein the transaction information includes attributes of the first transaction; generating a blockchain entry that stores the received attributes in a shared ledger to participants of the blockchain; receiving an input of a selection of an attribute of the first transaction from a participant of the blockchain to analyze other transactions having the selected attribute; compiling a list of other transactions having the selected attribute; receiving transaction information for each transaction of the list of other transactions; and generating, on a user interface, an analytics report of the attributes of the other transactions.

METHOD FOR EXTENDING A PROOF OF SPACE BLOCKCHAIN

NºPublicación:  US20260017249A1 15/01/2026
Solicitante: 
CHIA NETWORK INC [US]
Chia Network Inc
US_20260017249_PA

Resumen de: US20260017249A1

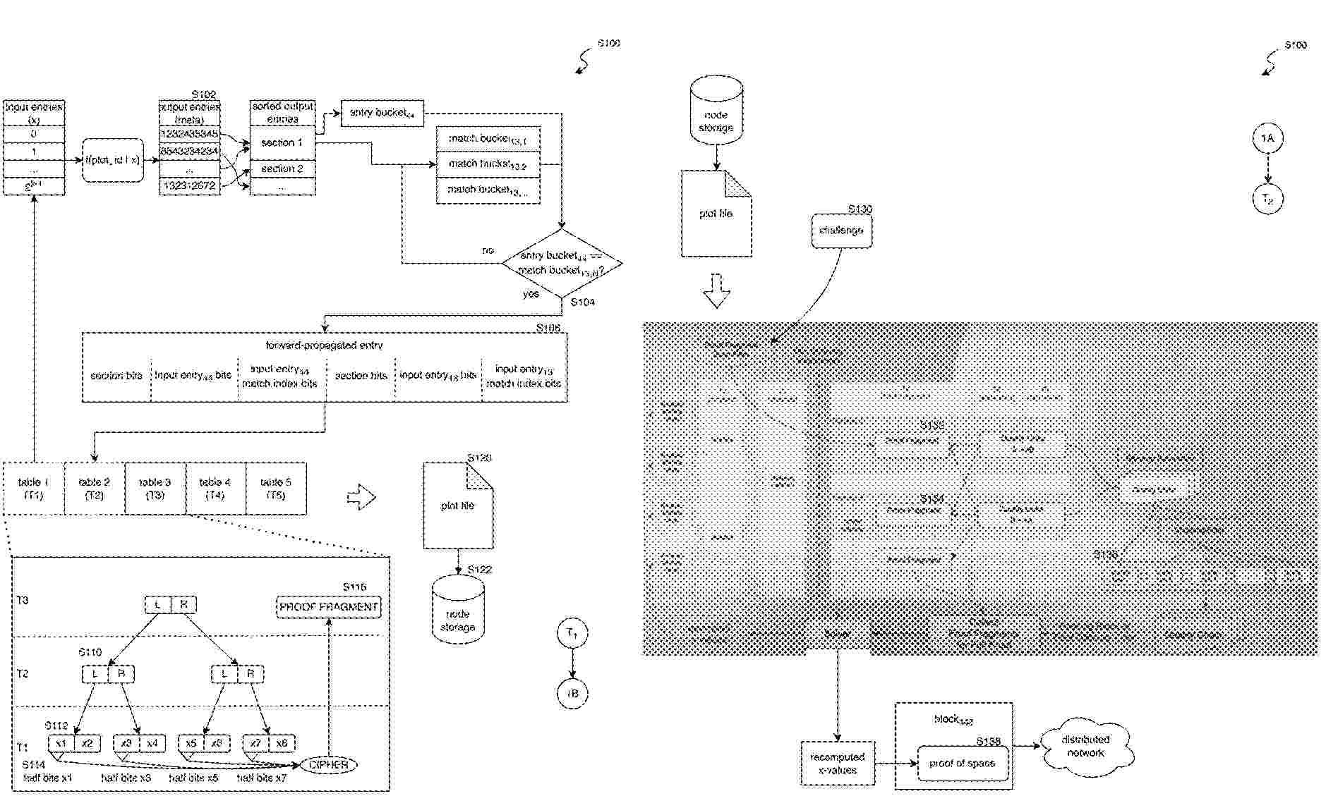
A method includes: generating a set of output entries based on a set of initial entries; identifying a matching pair of entries in the set of output entries; generating a first forward-propagated entry in a second set of entries based on the first matching pair of entries; identifying a second matching pair of entries in the second set of entries; identifying a group of initial entries associated with the second matching pair of entries; extracting a subset of bits, in a set of target bits, from each initial entry in the group of initial entries; generating a second forward-propagated entry—representing a proof fragment—in a third set of entries in a third table by encrypting the set of target bits; generating a plot file representing a set of tables including the third table; and storing the plot file.

SMART CONTRACT BLOCKCHAIN ABSTRACTION API

NºPublicación:  US20260017029A1 15/01/2026
Solicitante: 
WELLS FARGO BANK N A [US]
Wells Fargo Bank, N.A
US_20260017029_PA

Resumen de: US20260017029A1

A method includes detecting, based on examining a smart contract code, a code language of the smart contract code. Each of a plurality of code languages is associated with at least one of a plurality of blockchain platforms. The method further includes determining, based on the code language, two or more blockchain platforms of the plurality of blockchain platforms as potential selected blockchain platforms to deploy a smart contract of the smart contract code onto. The smart contract code is written in the detected code language capable of being deployed onto the two or more blockchain platforms. The method further includes determining a selected blockchain platform of the two or more blockchain platforms based at least partially on the code language and at least one of an owner address or a cost of deploying the smart contract code, and deploying the smart contract code to the selected blockchain platform.

ADVERTISING PAYMENT SYSTEM AND METHOD

NºPublicación:  US20260017693A1 15/01/2026
Solicitante: 
TOKHTABAYEV SOBIR [US]
Tokhtabayev Sobir
US_20260017693_PA

Resumen de: US20260017693A1

The advertising payment system and method includes an interactive website or mobile application having an interface allowing for sellers to create advertising images overlaid with visual codes and a blockchain protocol associated with the interactive webpage or mobile application. The blockchain protocol creates advertising tokens to represent the value that the seller assigns to the sharing of the advertising image. Once a client advertiser scans the visual code and chooses to further share the advertising image, the client advertiser receives the advertising tokens in a virtual wallet. The advertising payment system and method utilizes blockchain technology to incentivize and pay client advertisers, thereby allowing sellers to avoid engaging in the traditional bidding process by facilitating direct communication between sellers and client advertisers.

Method and system for recharging point card using block chain

NºPublicación:  KR20260008040A 15/01/2026
Solicitante: 
주월렛원
KR_20240124238_PA

Resumen de: KR20240124238A

Provided are a method and a system for charging a point card using a blockchain. The method includes the steps of: receiving a first quantity of first digital assets in a first electronic wallet; receiving a request for point charging for a second quantity of the first digital assets included in the first electronic wallet; determining a selling method of the second quantity of the first digital assets according to the second quantity; requesting charging of a first point corresponding to the value of the second quantity of the first digital assets; and charging the first point in a point card.

System and App for Asset Inheritance and Automated Distribution Using Blockchain and AI

NºPublicación:  KR20260007929A 15/01/2026
Solicitante: 
김성훈김소진

Resumen de: KR20260007929A

본 발명은 블록체인과 인공지능을 이용한 자산의 상속 및 자동 분배 시스템과 앱에 관한 것이다. 1. 본 발명의 기술성: 본 발명은 블록체인과 인공지능(AI) 기술을 결합하여 자산의 상속 및 자동 분배를 관리하는 혁신적인 시스템을 제안한다. 블록체인 기술을 활용하여 상속 절차의 투명성과 보안을 극대화하고, 인공지능 모듈을 통해 최적의 분배 방법을 자동으로 결정한다. 스마트 계약을 사용하여 사전에 설정된 상속 조건을 자동으로 실행하며, 제로 지식 증명과 양자 암호화 기술을 통해 데이터의 기밀성과 보안성을 강화한다. 본 발명은 다중 서명, 하드웨어 보안 모듈, 생체 인식 기술 등을 통합하여 상속 절차의 전 과정을 안전하게 관리한다. 2. 본 발명의 진보성: 기존 상속 시스템은 주로 수동적인 절차에 의존하여 복잡하고 시간이 오래 걸리며, 특히 급변하는 디지털 자산의 특성을 반영하기 어렵다는 단점이 있다. 본 발명은 블록체인과 인공지능 기술을 결합하여 이러한 문제를 해결하고, 상속 절차를 자동화하여 효율성과 신뢰성을 높인다. 상속 조건이 충족되면 자동으로 유형 자산(동산, 부동산), 무형 자산(지식 재산권, 저작권), 디지털 자산(가상화폐 포함) 등이 분배되는 스마트 계약, 실시간 자산 가치 평가 및 분배

METHOD AND SYSTEM FOR PROCESSING PERSONAL INFORMATION BY USING SMART CONTRACT-BASED TRUSTED EXECUTION ENVIRONMENT

NºPublicación:  EP4679306A1 14/01/2026
Solicitante: 
AVCHAIN INC [KR]
AvChain Inc
EP_4679306_PA

Resumen de: EP4679306A1

A method for processing personal information using a smart contract-based trusted execution environment comprises the steps of: generating a trusted execution environment including a data processing code and a second encryption key in a data processing platform server in response to a data processing request according to a smart contract on a blockchain; acquiring first data and a first encryption key from a data generation device and an encryption key supply device; decrypting the first data using the first encryption key; generating a data processing result by processing the decrypted data according to the data processing code; providing the data processing result to the data processing request device; and destroying the trusted execution environment according to the smart contract.

RECORD-LEVEL ENCRYPTION SCHEME FOR DATA OWNERSHIP PLATFORM

NºPublicación:  EP4679767A1 14/01/2026
Solicitante: 
ECOSTEER SRL [IT]
Ecosteer Srl
EP_4679767_PA

Resumen de: EP4679767A1

Disclosed herein are embodiments for a record-level encryption scheme. A data visibility control platform may facilitate record-level encryption between a data owner device and a requester device, requesting access to the encrypted record. The record may contain sensitive and/or confidential information of the data owner. The data owner may directly control the visibility of the record via the data visibility control platform. The data visibility control platform may use a combination of private and public cryptographic keys associated with the data owner and requester to provide record-level encryption. An embodiment may include record keys used to encrypt records being stored by a records database managed by a data intermediary. The record key may be encrypted using the public key of the data owner and stored on a blockchain. Access to the record key stored on the blockchain is controlled by the data owner.

A method enabling law enforcements, regulations, social, economic, and financial transactions and verifications on the blockchain

NºPublicación:  GB2642582A 14/01/2026
Solicitante: 
YUXIANG MO [GB]
Yuxiang Mo
GB_2642582_A

Resumen de: GB2642582A

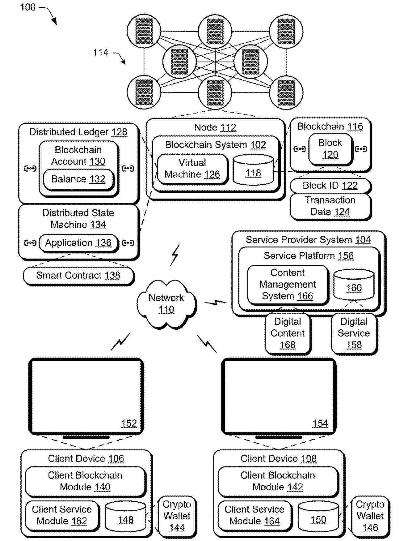
In this invention, any information (instructions, events, happenings, invitations, societal interactions, histories, relationships, associations, memberships, affiliations, hierarchies, rights, privileges, requests, ownerships, obligations, liabilities, contracts, promises, identities, attributes, statuses, endorsements, qualifications, certifications, credentials, etc.) worth recording for later reference, transaction, verification, calculation, determination, and execution can be recorded into the blockchain system via electronic communications sent by law enforcement agencies, regulators, and other entities or individuals to the blockchain operators and guardians (nodes, miners, etc.). The blockchain system can then decide whether a transaction should be approved, whether to unfreeze a frozen account, how a smart contract should proceed and settle, etc. External systems can also query the blockchain system for facts, verifications, guidance, etc. This invention enables law enforcements, regulations, as well as social, economic, and financial transactions and verifications on the blockchain, and works in both permissionless and permissioned blockchain systems.

Blockchain and AI-Based Cryptocurrency Inheritance and Automated Distribution System

Nº publicación: KR20260007485A 14/01/2026

Solicitante:

김성훈김소진

KR_20260007485_PA

Resumen de: KR20260007485A

본 발명은 블록체인 및 인공지능(AI) 기술을 이용한 암호화폐 상속 및 자동 분배 시스템에 관한 것이다. 이 시스템은 상속자의 유고 시 상속인의 지갑으로 암호화폐를 자동으로 분배하며, 상속자의 지갑 정보, 상속 비율, 분배 조건을 사전에 등록하고 실시간으로 암호화폐의 가치를 평가하여 분배 비율을 조정하는 기능을 포함한다. 본 발명의 시스템은 다양한 상황별 변수를 고려하여 자동으로 분배 비율을 조정하고, 상속인의 요청에 따라 특정 수혜자에게 기부할 수 있는 기부 모듈, 상속자의 사망 여부를 블록체인 기술로 검증하는 검증 모듈, 상속 계획을 수정할 수 있는 수정 모듈, 다중 서명 및 하드웨어 보안을 통한 보안 모듈, 생체 인식 기술을 이용한 신원 확인 모듈, 상속자가 설정한 프로젝트 수행 미션을 달성할 경우 보너스를 지급하는 프로젝트 수행 모듈, 자손 잉태 및 탄생 조건을 만족할 경우 상속 자산을 분배하는 자손 잉태 및 탄생 모듈, 입양 및 사회공공 기여 조건을 만족할 경우 상속 자산을 분배하는 사회공공 기여 모듈, 분쟁을 예상하고 중재 절차를 실행하는 분쟁 대비 모듈, AI가 무작위로 상속 절차를 결정하는 AI 기반 결정 모듈, 제로 지식 증명과 믹싱 서비스를 통해 상속 시점과 금액을 비밀로 유지하는

traducir