Ministerio de Industria, Turismo y Comercio LogoMinisterior
 

Alerta

Resultados 69 resultados
LastUpdate Última actualización 03/04/2026 [07:45:00]
pdfxls
Solicitudes publicadas en los últimos 30 días / Applications published in the last 30 days
Resultados 1 a 69  

一种多模态智能监测方法、装置、终端及存储介质

NºPublicación:  CN121767827A 31/03/2026
Solicitante: 
河北德冠隆电子科技有限公司
CN_121767827_A

Resumen de: CN121767827A

本申请提供一种多模态智能监测方法、装置、终端及存储介质,涉及视频监控与人工智能技术领域。该方法包括:实时获取目标智能监测系统所处目标路段的环境参数,环境参数包括光照强度、能见度、天气类型和画面信噪比;基于环境参数,采用模糊逻辑算法,动态调整目标智能监测系统的红外权重和可见光权重,红外权重和可见光权重之和为1;基于动态调整红外权重和可见光权重后的目标智能监测系统,对目标路段进行智能监测。本申请能够有效提高对目标路段监测的准确性。

运行性能优化方法、装置、设备、介质及程序产品

NºPublicación:  CN121764547A 31/03/2026
Solicitante: 
华为技术有限公司
CN_121764547_PA

Resumen de: CN121764547A

本申请实施例公开了一种运行性能优化方法、装置、设备、介质及程序产品,涉及计算机技术领域,提高了运行性能的优化效率。该方法包括:确定应用中多个可配置参数各自的评估值,评估值用于表征可配置参数的赋值对应用执行的业务的运行性能的影响程度;根据多个可配置参数各自的评估值,从多个可配置参数中确定目标参数集合,目标参数集合包含可配置参数的数量小于可配置参数的总量;根据应用以及应用执行的业务的类型,确定目标参数集合中可配置参数的目标赋值。

一种数据处理方法、装置、设备及存储介质

NºPublicación:  CN121765612A 31/03/2026
Solicitante: 
魔门塔(苏州)科技有限公司
CN_121765612_PA

Resumen de: CN121765612A

本申请公开了一种数据处理方法、装置、设备和存储介质,用于提高不同传感器数据融合的准确性,提高定位的准确性。本申请中获取每个传感器对应的传感器数据;针对每个传感器:基于传感器对应的传感器数据确定隶属函数;基于传感器数据与隶属函数,得到传感器的隶属度与信任度;基于隶属度与信任度得到权重;基于每个传感器对应的权重以及传感器数据进行融合处理,得到融合数据。本申请考虑到传感器本身的自带误差和适用条件变化导致的自身模糊性,因此采用模糊处理的逻辑来对不同传感器的传感器数据进行融合处理,通过确定每个传感器对应的隶属度与信任度可以得到每个传感器对应的确切的权重,进而保证了融合处理后的数据的准确性。

一种基于改进网络层次法的导地线状态评估方法及系统

NºPublicación:  CN121765544A 31/03/2026
Solicitante: 
国网湖北省电力有限公司超高压公司
CN_121765544_PA

Resumen de: CN121765544A

本发明公开了一种基于改进网络层次法的导地线状态评估方法及系统,旨在解决传统评估方法中指标繁多、数据杂乱以及忽略专家决策模糊度的问题。该系统通过构建导地线原始参量体系,结合行业标准选取关键指标;利用PCA降维技术提取关键评估指标,减少数据冗余;引入直觉模糊数改进网络层次分析法ANP,构建科学合理的评估模型。该系统能够准确评估导地线状态,为电力系统的运维决策提供科学依据,提高评估效率和准确性。

多源监测的第三系弱胶结地层阻隔水性能评估系统及方法

NºPublicación:  CN121766613A 31/03/2026
Solicitante: 
中国矿业大学开滦(集团)有限责任公司
CN_121766613_A

Resumen de: CN121766613A

本发明适用于矿井地质、水文地质与矿井防治水工程技术领域,提供了多源监测的第三系弱胶结地层阻隔水性能评估系统及方法,所述方法包括:通过仪器采集第三系弱胶结层的多源监测参数;对数据进行缺失与异常值识别、归一化处理、噪声抑制与特征提取,构建综合评价数据集;采用层次分析法建立指标体系并确定各指标权重;基于模糊数学原理与综合评分函数对各钻孔的阻隔水性能进行量化评分;结合加权平均法对阻水性能进行定量计算与等级划分,自动输出分级结果及防水煤柱留设、注浆改造的决策建议。本发明实现了弱胶结地层阻隔水性能的量化评估,提高了矿井防水设计的科学性与安全性。

一种基于配网供应链的风险监控预警分级分类管控方法、设备、介质及产品

NºPublicación:  CN121765539A 31/03/2026
Solicitante: 
华北电力大学国网经济技术研究院有限公司
CN_121765539_PA

Resumen de: CN121765539A

本申请公开了一种基于配网供应链的风险监控预警分级分类管控方法、设备、介质及产品,涉及配网供应链风险预测领域,该方法包括基于风险关联数据确定配网供应链各环节的潜在风险因素,构建风险因素库;基于风险因素库建立风险评估指标体系;并采用层次分析法确定各风险评估指标的权重;基于模糊综合评估理论构建模糊集与评语集;根据风险评估指标对应风险等级的隶属度,构建模糊综合评判矩阵;基于模糊综合评判矩阵,确定配网供应链整体风险评估值;进而结合实时监测数据与多维度预测模型,确定相应的预警机制,并进行预警;本申请能够提升风险识别的准确性,增强风险预警的实时性,优化风险管控的精准性,降低配网供应链系统性风险。

一种适用于水工隧洞施工工法的决策方法

NºPublicación:  CN121766841A 31/03/2026
Solicitante: 
郑州大学
CN_121766841_PA

Resumen de: CN121766841A

本发明公开了一种适用于水工隧洞施工工法的决策方法,包括:获取各评价维度对应的评价指标数据,所述评价维度包括:经济性、工期节省性、岩性适应性、环境扰动性、工艺复杂性及风险管控性;将所述评价指标数据输入至对应的预设评估模型,所述评估模型输出对应的评价值,所述评估模型包括经济合理性模型、工期节省性模型、岩性适应性模型、环境扰动系数模型、工艺便捷性模型以及风险管控性模型;获取各所述评价维度对应的客观权重以及综合模糊评价值;根据所述综合模糊评价值以及所述客观权重输出对各施工工法的综合评分,根据所述综合评分对确定最优施工工法。采用本发明,能够为工程决策提供更为科学、可靠的依据。

一种确定雪茄烟精准施肥的快速方法

NºPublicación:  CN121745455A 27/03/2026
Solicitante: 
云南省烟草公司玉溪市公司云南省农业科学院农业环境资源研究所

Resumen de: CN121745455A

本发明是一种确定雪茄烟精准施肥的快速方法,包括如下步骤:1)在雪茄烟田间利用便携式高光谱仪采集雪茄烟冠层光谱数据,2)采用电化学土壤养分传感器在田间原位检测土壤速效氮、速效磷、速效钾以及pH等土壤养分指标,获得土壤养分实时检测数据;3)获取目标地块的气象数据以及雪茄烟的生育期信息,所述生育期信息基于雪茄烟移栽后的天数进行划分;4)对所述冠层光谱参数、土壤养分实时检测数据、气象数据和生育期信息进行预处理与标准化,形成多源融合输入特征数据;5)将所述多源融合输入特征数据输入至基于模糊逻辑的施肥决策模型中,输出雪茄烟当前生育期的施肥配方和施肥用量;6)根据所述施肥配方和施肥用量执行相应的施肥操作,并在施肥后定期重复步骤1)~5),对施肥策略进行滚动修正,以实现雪茄烟的精准施肥管理。可以显著提高肥料利用率,减少过量施肥导致的土壤盐渍化风险,上等烟比例提高、茄衣油分和色度改善,经济效益和生态效益兼顾,减少实验室检测费用和人工成本。

一种基于模糊博弈的抗干扰鲁棒频谱接入控制方法和系统

NºPublicación:  CN121751376A 27/03/2026
Solicitante: 
中国人民解放军国防科技大学
CN_121751376_PA

Resumen de: CN121751376A

本发明公开了一种基于模糊博弈的抗干扰鲁棒频谱接入控制方法和系统,涉及电磁频谱技术领域。该方法包括:获取无线通信中用户和干扰者各自到接收端的信道增益,并将信道增益用模糊数表示,得到用户和干扰者各自的模糊信道增益,并确定用户和干扰者各自的模糊效用;构建模糊广义乐透布洛托博弈模型;利用基于协同演化的模糊学习算法,求解模糊广义乐透布洛托博弈模型的模糊纳什均衡,得到用户和干扰者各自的模糊效用最大化的功率分配方案。通过利用模糊数建模,解决了相关技术对数据和模型精度的高度依赖,将多信道功率控制问题建模为模糊广义乐透布洛托博弈模型,并利用基于协同演化的模糊学习算法求解,使得鲁棒性和控制效率都得到了较大的提高。

一种基于贝叶斯方法的冲击地压危险性动态评估方法

NºPublicación:  CN121745673A 27/03/2026
Solicitante: 
中国矿业大学
CN_121745673_PA

Resumen de: CN121745673A

一种基于贝叶斯方法的冲击地压危险性动态评估方法,将采场工作面划分为M×M的规则网格,每个网格作为独立评估单元;收集地质及开采数据,基于历史数据和专家知识选定多个影响因素,并采用静态评估模型对多个影响因素进行量化;利用层次分析法确定多个影响因素的权重,采用综合指数法计算每个评估单元的初始危险性得分;采用S型函数将初始危险性得分归一化为先验分布,构建出初始危险性先验概率场;引入幂律衰减模型计算评估单元间的影响权重,构建影响权重矩阵;通过微震监测系统获取实时监测数据,基于贝叶斯定理,实时更新每个评估单元的危险性概率,实现动态评估与评估结果输出。该方法能够有效提高冲击地压危险性评估的准确性和实时性。

一种设施农业高光谱动态成像监测方法

NºPublicación:  CN121750692A 27/03/2026
Solicitante: 
厦门星座卫星应用研究院有限公司
CN_121750692_PA

Resumen de: CN121750692A

本发明涉及通信数据处理技术领域,尤其涉及一种设施农业高光谱动态成像监测方法,包括通过机械臂携带高光谱成像单元采集作物冠层图像并同步收集环境传感数据,机械臂运动路径通过强化学习算法规划,环境数据通过滤波算法融合处理,采集过程通过光电监测反馈调节补光强度;将采集数据通过软件定义网络架构传输,对数据进行分析处理,将特征输入数字孪生模型反演冠层生理参数,反演结果反馈调整采集频率并校正模型;通过模糊逻辑决策树生成生长态势评估指标推送至用户终端展示;反演结果反馈至采集系统形成闭环控制,有效解决环境干扰与数据延迟导致的实时感知失准问题。

一种PCBA板同步测试方法、装置、电子设备及存储介质

NºPublicación:  CN121741448A 27/03/2026
Solicitante: 
深圳市国腾智达电子有限公司
CN_121741448_PA

Resumen de: CN121741448A

本发明实施例公开了一种PCBA板同步测试方法、装置、电子设备及存储介质,涉及PCBA板测试技术领域,其中,所述方法包括:通过扫描设备获取待测PCBA板身份标识并放置于配备快速夹与滑轨的测试制具上;利用排线与探针模式连接制具与PCBA板,模拟笔记本电脑构建测试场景进行全面测试;依次读取并记录软件版本、硬件配置等测试数据至对应文档;将测试数据与预设标准值比对分析,动态更新标准值并采用模糊匹配算法判断,合格则继续,不合格立即停止对应接口作业并弹出提示框;还注重防静电设计、数据加密存储与实时备份、动态显示进度与数据等细节;最终生成统计报表支持多维度查看。本发明有效解决了现有技术测试流程冗长、工作强度大、生产周期延长的问题。

基于时域特征及不确定性双驱融合决策树的无线电流传感器用轻量化波形故障分析方法

NºPublicación:  CN121744061A 27/03/2026
Solicitante: 
国网辽宁省电力有限公司鞍山供电公司
CN_121744061_A

Resumen de: CN121744061A

本发明涉及机器学习技术领域,尤其涉及一种基于时域特征及不确定性双驱融合决策树的无线电流传感器用轻量化波形故障分析方法,包括利用无线电流传感器按固定采样率采集配电线路的实时电流数据;采用基于多维度时域几何特征的轻量级特征提取方法,从所述电流波形时间序列中实时计算出能够表征波形形态与能量的特征值;将其作为输入,送入不确定性双驱融合决策树分类模型中,通过层级逻辑判断规则将输入的特征向量映射到预定义的故障类别;训练完成后,就输入实时提取的时域特征向量,对线路的运行状态进行实时识别与故障诊断;本发明解决了当前无线电流传感器因计算资源受限,无法在终端侧对电力波形进行实时、精准的故障分析。

基于深度学习的地震波识别方法

NºPublicación:  CN121741843A 27/03/2026
Solicitante: 
甘肃省地震局(中国地震局兰州地震研究所)
CN_121741843_A

Resumen de: CN121741843A

本申请涉及一种基于深度学习的地震波识别方法,解决了现有方法依赖固定基函数或预设参数提取特征,难以自适应地刻画地震波非平稳、时变的复杂内在结构,导致识别精度不稳定、泛化能力的问题,其方法包括:首先截取并归一化地震波核心信号段,通过自适应模态分解获得纯净分量。对各分量进行多尺度粗粒化,计算模糊熵值,构建二维时频特征矩阵。接着采用主成分分析降维提取低维特征,最终输入一维卷积神经网络完成智能识别。本申请具有如下效果:通过多尺度时频特征联合表征与自适应特征降维,有效提升了地震波智能识别的准确性与可靠性。

一种车网互动业务多维度成效评价方法及系统

NºPublicación:  CN121745754A 27/03/2026
Solicitante: 
国网湖南省电力有限公司电力科学研究院国家电网有限公司
CN_121745754_PA

Resumen de: CN121745754A

本发明涉及车网互动评价技术领域,具体公开了一种车网互动业务多维度成效评价方法及系统,方法包括:构建车网互动评价指标体系的递阶层次结构模型;获取车网互动评价指标体系的指标权重;构造模糊判断矩阵并计算指标初始权重,并进行一致性检验;构建模糊综合评价模型;进行模糊综合评价得到综合评价结果。通过从技术、经济、环境和社会维度分别选取不同子目标并制定目标获取手段,构建车网互动业务多维度成效评估指标体系。并通过模糊层次分析法确定指标权重,模糊综合评价法采用模糊数学和隶属度原理相结合,考虑了一些难以用精确数字表达的模糊评价标准,解决了模糊决策问题,将定性分析与定量分析相结合,使评价结果更加全面、合理。

一种结合多属性决策模型的工控系统残余风险评估方法

NºPublicación:  CN121744330A 27/03/2026
Solicitante: 
青岛哈尔滨工业大学(威海)研究院
CN_121744330_PA

Resumen de: CN121744330A

本申请提供了一种结合多属性决策模型的工控系统残余风险评估方法,解决了现有残余风险评估无法识别关键原子攻击、难以区分原子攻击对系统风险的贡献且缺乏动态更新能力,导致工控系统防护不精准,资源配置不合理的技术问题。其包括构建风险度量指标对比信息和风险度量指标初始信息;计算风险度量指标权重和风险度量指标值,根据风险度量指标权重和风险度量指标值对攻击原子进行排序,得到原子攻击排序结果;根据拓扑信息、原子攻击排序结果和影响因子提取攻击路径,进行归一化得到初始全局风险值,判断有无攻击路径,若有,移除攻击路径,重新计算全局风险值;否则,输出原子攻击和系统风险程度。本申请可广泛应用于残余风险评估技术领域。

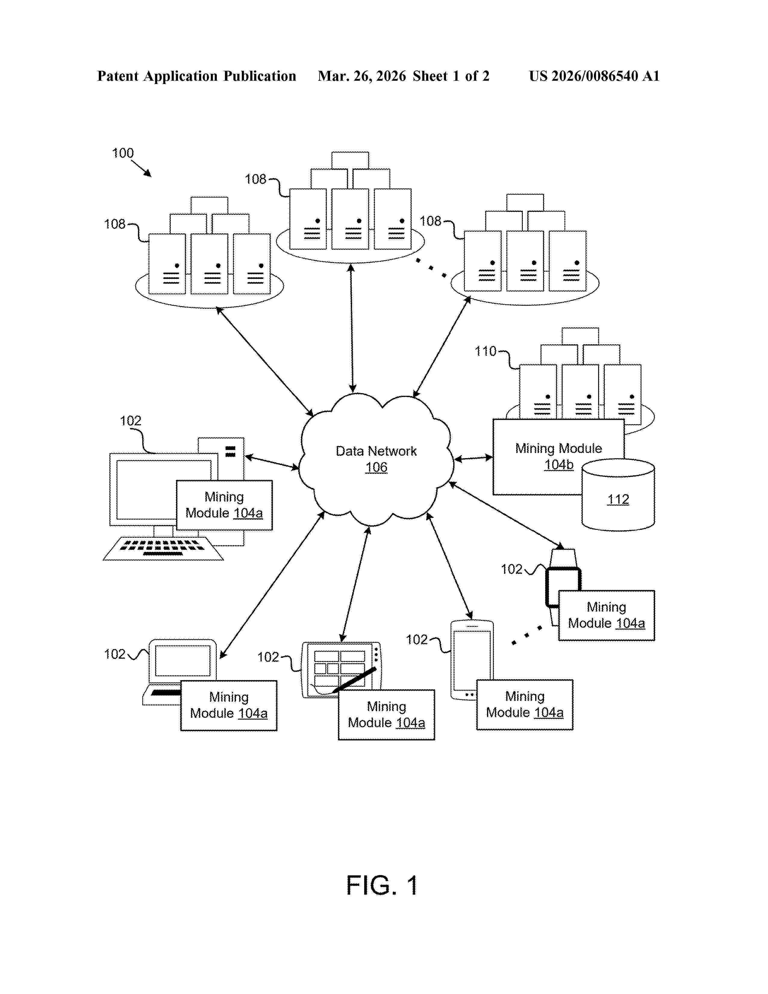
MINING SUPPLIER IDENTIFIER MATCHING AND INTERFACE

NºPublicación:  US20260086540A1 26/03/2026
Solicitante: 
MCBRIDE CADEN [US]
MCBRIDE CADEN
US_20260086540_A1

Resumen de: US20260086540A1

Apparatuses, systems, methods, and computer program products are disclosed for mining supplier identifier matching and interfaces. A method includes maintaining a database storing supplier mining equipment identifiers and manufacturer mining equipment identifiers. A method includes correlating supplier mining equipment identifiers with manufacturer mining equipment identifiers using a matching algorithm that applies fuzzy logic and data clustering to resolve non-standardized identifier discrepancies, thereby creating mappings between the supplier mining equipment identifiers and the manufacturer mining equipment identifiers in a database. A method includes providing, via an application programming interface (API), dynamic, real-time access for users to query and retrieve mining equipment manufacturer information based on the correlated supplier mining equipment identifiers.

基于信息流的制造业产业链的预警信号生成方法及设备

NºPublicación:  CN121724402A 24/03/2026
Solicitante: 
东北大学
CN_121724402_PA

Resumen de: CN121724402A

本申请提供了一种基于信息流的制造业产业链的预警信号生成方法及设备,该方法包括:获取信息数据集以确定包括多个目标预警指标的目标预警指标体系;确定多个目标预警指标之间的影响关系以构建网络层次分析结构模型,通过网络层次分析结构模型得到各目标预警指标的权重量化信息;确定目标预警指标的模糊评估矩阵,基于模糊评估矩阵得到模糊子集,根据权重量化信息获取目标预警指标对应的权重向量以及模糊子集,得到主因素评估矩阵;根据主因素评估矩阵和预配置的第一公式,确定制造业产业链的预警等级以及位于底层的目标预警指标的综合风险评分,并依据综合风险评分生成风险排序;输出预警信息,预警信息包括预警等级、综合风险评分和风险排序。

多维度耦合的废弃矿井大规模物理储能潜力分级评估方法

NºPublicación:  CN121724478A 24/03/2026
Solicitante: 
安徽理工大学
CN_121724478_PA

Resumen de: CN121724478A

本发明公开了一种多维度耦合的废弃矿井大规模物理储能潜力分级评估方法,属于矿井资源利用领域,本发明针对当前国把废弃矿井资源用于大规模物理储能开发中存在的资源、社会、工程与经济环境等多维度决策体系缺失,与不同储能技术路线与废弃矿井资源条件适配性不足等问题,提出一种科学、准确、高效地多维度耦合的废弃矿井大规模物理储能潜力分级评估方法,通过“初步筛选、详细技术评估、经济性评价、风险量化、综合决策”等过程实现评估废弃矿井用于大规模物理储能的潜力,用于相关项目的可行性研究阶段,进而直接指导工程决策和项目投资,具有显著的积极效果和工业实用性。

基于混合模型的电动拖拉机动力平衡方法、系统、终端及存储介质

NºPublicación:  CN121716577A 24/03/2026
Solicitante: 
石河子大学
CN_121716577_PA

Resumen de: CN121716577A

本发明涉及电动拖拉机动力平衡技术领域,公开了一种基于混合模型的电动拖拉机动力平衡方法、系统、终端及存储介质,所述方法包括:构建超级电容模型和锂电池模型,以获取对应参数;根据所述超级电容模型的荷电状态和所述最大峰值电流,利用充放电模糊规则控制混合模型在多种情况下进行充电或放电,并得到用于训练的参数;利用遗传算法对参数进行更新,以所述超级电容模型和所述锂电池模型进行更新,最终平衡动力系统中的电量变化。本发明使用优化后的模糊控制策略对混合模型进行能量管理,从而降低模糊控制策略对先验经验的依赖性,可以在不同的情况下迅速匹配最优的模糊控制参数,以实现对混合模型的自适应动力平衡。

一种配电网设备运行风险评估方法、系统及设备

NºPublicación:  CN121724400A 24/03/2026
Solicitante: 
北京科东电力控制系统有限责任公司
CN_121724400_PA

Resumen de: CN121724400A

本发明公开一种配电网设备运行风险评估方法、系统及设备,涉及配电网风险评估技术领域。所述方法包括获取配电网设备的多维运行数据;对所述多维运行数据进行数据预处理,得到预处理数据;将所述预处理数据输入构建的配电网设备运行风险评估模型,输出配电网设备运行风险评估结果;其中,配电网设备运行风险评估模型的建立,包括:构建配电网设备状态感知模型;根据配电网设备状态感知模型的输出结果,结合多数据权重综合评价法建立配电网设备运行风险评估模型。本发明通过构建精准的配电网设备运行风险评估机制,对于提前识别隐患、降低故障发生率、优化配电网运行效率具有不可替代的价值。

基于数字孪生的透明矿山构建方法

NºPublicación:  CN121723127A 24/03/2026
Solicitante: 
山西省煤炭地质一一四勘查院有限公司太原理工大学
CN_121723127_PA

Resumen de: CN121723127A

本申请涉及基于数字孪生的透明矿山构建方法,方法包括:采集原始数据,构建标准化数据资产体系;再通过几何、物理、行为、规则四层建模方式构建矿山数字孪生体;结合数字孪生体与实时原始数据,建立物理矿山与数字孪生体的实时联动通道,融合多源数据修正模型形成虚实闭环机制;基于优化后的数字孪生体与闭环机制,开发场景化应用模块,设计云端与边缘端配合的分布式部署架构;最后依托数字孪生体、闭环机制及应用模块,建立设备、系统、数据全要素智能运维体系,结合定期迭代机制动态升级系统,保障各技术体系长期适配矿山全生命周期需求。本申请解决传统矿山管理中数据碎片化、模型静态化、系统孤立化的技术问题。

一种融合多模态数据的颅脑外伤教育成果评估方法及系统

NºPublicación:  CN121724489A 24/03/2026
Solicitante: 
南京市儿童医院
CN_121724489_PA

Resumen de: CN121724489A

本发明涉及医学教育技术领域,尤其涉及一种融合多模态数据的颅脑外伤教育成果评估方法及系统。一种融合多模态数据的颅脑外伤教育成果评估方法,包括以下步骤:S1:将颅脑外伤认知地图的颅脑外伤认知模块和颅脑外伤认知节点进行诱导关联获取第一评分权重;S2:通过颅脑外伤认知模块和颅脑外伤认知节点构建颅脑外伤诱导路线获取第二评分权重;S3:采集参与者面部语言数据信息,通过面部编码技术获取第三评分权重;S4:设置第一阈值、第二阈值和第三阈值获取最终评分,并生成颅脑外伤教育成果评估报告。本发明通过模块匹配、诱导路线和面部语言编码技术三重评估的方法,对颅脑外伤教育成果进行评估。

一种基于多源数据融合的油水两相流含水率测定方法

NºPublicación:  CN121705637A 20/03/2026
Solicitante: 
天津大学
CN_121705637_PA

Resumen de: CN121705637A

本发明公开了一种基于多源数据融合的油水两相流含水率测定方法,属于油水混合相含水率测定领域,包括以下步骤:S1、多源数据采集;S2、对采集的多源数据集进行分类预处理;S3、采用改进的CEEMDAN算法对多源数据进行多尺度分解、筛选以及特征提取,得到有效时域特征和频域特征;S4、采用RBF核函数将有效时域特征和频域特征映射至高维空间,再利用KPCA‑LLE进行降维并进行重要性评估后得到最终特征集;S5、将最终特征集输入动态Stacking集成预测模型,得到油水两相流含水率预测值。采用上述一种基于多源数据融合的油水两相流含水率测定方法,实现复杂流型与环境波动下油水两相流含水率的高精度、高鲁棒性测定。

一种基于模糊理论及博弈论赋权的单体电芯风险评估方法

NºPublicación:  CN121703657A 20/03/2026
Solicitante: 
杭州高特电子设备股份有限公司
CN_121703657_PA

Resumen de: CN121703657A

本申请提供的一种基于模糊理论及博弈论赋权的单体电芯风险评估方法,通过综合电、热、气、阻等表征电池安全状态的多维指标,构建单体电芯风险评估指标,细化了电池风险评价的颗粒度;通过迭代优化计算各指标的最优复合权重,使得对各指标的主客观权重的赋予更加科学、准确,有利于大幅度提升对单体电芯风险评估的有效性;通过构造模糊评价矩阵,对各类型指标通过不同方式计算对应评价等级的隶属度,提升了对单体电芯风险评估的准确性;通过构造模糊综合评价函数,考虑了最优复合权重和模糊评价矩阵对电芯风险评估的相互影响关系,并以函数输出为最终评价值,使得对电芯的风险评估更加准确、有效。

数据驱动的注塑工艺柔性优化方法及系统

NºPublicación:  CN121697173A 20/03/2026
Solicitante: 
南通思泽塑业有限公司
CN_121697173_PA

Resumen de: CN121697173A

本发明公开了数据驱动的注塑工艺柔性优化方法及系统,涉及注塑工艺相关技术领域,该方法包括:读取预注塑工件的工艺流程,并确定参数组合关系;以知识库与推理机为基本结构,建立模糊推导模块;读取注塑优化目标;基于参数敏感性进行参控定性分析与半定量分析,确定初始化策略;结合仿真分析模型进行基于注塑机的策略动态分析与调优校验,确定目标优化策略;基于注塑控制系统,对目标优化策略进行执行响应评估与反馈调优校正。解决了现有注塑工艺参数优化存在的难以应对复杂多变的生产环境,导致无法兼顾工艺参数优化的效率和精准度的技术问题,达到了提高注塑工艺参数优化的效率和精准度的技术效果。

矿井废水软化回用方法、装置、电子设备和可读介质

NºPublicación:  CN121709058A 20/03/2026
Solicitante: 
安徽淮河水资源科技有限公司淮河水利委员会水文局(信息中心)淮河水资源保护科学研究所中国水利水电科学研究院蚌埠市水利局云河河南信息科技有限公司
CN_121709058_PA

Resumen de: CN121709058A

本公开的实施例公开了矿井废水软化回用方法、装置、电子设备和可读介质。该方法的一具体实施方式包括:基于废水数据采集设备组,获取废水水质数据集和废水成分数据集;基于废水成分数据集,确定矿井废水对应的至少一个化学平衡数据,得到化学平衡数据集;基于化学平衡数据集,生成第一药剂投放信息;对废水水质数据集中的各个废水水质数据进行模糊化处理,以生成模糊投放规则库;基于模糊投放规则库,对第一药剂投放信息进行校正处理,以生成校正药剂投放信息;生成对应校正药剂投放信息的药剂投放指令,以及控制相关联的药剂投放装置执行药剂投放指令对应的药剂投放操作。该实施方式避免了膜污染,以及避免了膜资源浪费的情况。

基于人工智能的旅游安全预警系统及方法

NºPublicación:  CN121707779A 20/03/2026
Solicitante: 
新疆科技学院
CN_121707779_PA

Resumen de: CN121707779A

本发明涉及旅游安全管理技术领域,公开了一种基于人工智能的旅游安全预警系统及方法。该系统通过多模块协同实现精准预警。数据采集模块运用多源异构数据融合算法,整合目标区域游客定位、气象、地形等多类型数据;风险评估模块借助时空注意力机制深度学习模型,提取多维度风险特征并输出安全风险概率值;动态调整模块利用强化学习算法优化预警触发阈值和响应策略;预警生成模块结合模糊逻辑算法生成多级预警信号并关联应急资源;用户交互模块通过自然语言处理技术将预警转化为多语言提示推送给游客和管理平台。其中,风险评估模块通过特定输入和模型训练输出概率值。本系统可实现旅游安全风险的智能监测与预警,提升旅游安全管理水平。

一种消防设施的多模态联动控制与远程状态监测系统

NºPublicación:  CN121695453A 20/03/2026
Solicitante: 
广州创想云科技有限公司
CN_121695453_PA

Resumen de: CN121695453A

本发明提供一种消防设施的多模态联动控制与远程状态监测系统,通过传感器阵列实时采集消防设施多模态数据;基于三维点云数据与BIM模型构建建筑数字孪生模型,结合生成对抗网络GANs进行训练,对火灾发展趋势进行模拟仿真,并对火灾进行等级划分和风险评估;制定消防设备动态联动规则,基于火灾的不同风险程度,结合消防设备自身状态分别控制不同的消防设备联动;基于强化学习算法对消防设备的联动规则进行优化;实时远程监测消防设备自身状态,若判断状态异常及时处理。通过多模态数据联动提高火灾识别准确率,基于数字孪生动态映射提高处理效率,根据火灾和设备状态智能调整联动规则,实现了消防设施的多模态联动控制与远程状态监测。

轴耦合式整车在环仿真系统置信度综合评价方法及装置

NºPublicación:  CN121706604A 20/03/2026
Solicitante: 
中国汽车工程研究院股份有限公司中汽院智能网联科技有限公司中汽院(江苏)汽车工程研究院有限公司
CN_121706604_PA

Resumen de: CN121706604A

本发明提供了一种轴耦合式整车在环仿真系统置信度综合评价方法及装置,本发明围绕轴耦合式整车在环仿真系统,提出表征其置信度水平的确定性数值评价指标、概率评价指标和语义描述评价指标,实现对仿真系统多维度特征的详细描述,采用二型模糊集对上述三类指标及区间表示的指标权重进行建模与映射转换,采用EKM算法得到置信度对应的置信度评价等级,以对轴耦合式整车在环仿真系统置信度水平进行综合评价。本发明提出的方法,有效破解了现有技术中评价维度单一的核心局限,还显著降低了评价过程中的不确定性扰动,实现了对轴耦合式整车在环仿真系统置信度水平的科学、全面评价。

基于模糊评价与灰色关联分析的煤层气低产井增产治理工艺

NºPublicación:  CN121707119A 20/03/2026
Solicitante: 
新疆亚新煤层气资源技术研究有限责任公司
CN_121707119_PA

Resumen de: CN121707119A

本申请涉及煤层气开发技术领域,具体为基于模糊评价与灰色关联分析的煤层气低产井增产治理工艺,包括数据获取与预处理、评价指标体系构建、灰色关联分析、模糊综合评价、潜力分级、工艺包智能匹配、多井优先级排序及治理后动态更新等步骤,通过对地质、物性、工程施工及生产动态等多源数据进行集成分析,基于关联系数和隶属函数构建潜力评分,实现低产井增产潜力的量化评价;依据关联度与评分共同驱动工艺包匹配,形成因素识别与工艺决策的耦合链条;通过潜力评分与关键因素关联度构建施工优先级指数,实现多井资源的优化配置;治理实施后根据动态响应自动调整评价权重与工艺选择,形成诊断至决策到实施再到反馈闭环。

基于生物安全阈值调控的智能声光联合驱散系统

NºPublicación:  CN121708720A 20/03/2026
Solicitante: 
深圳市宙安科技有限公司
CN_121708720_PA

Resumen de: CN121708720A

本发明公开了基于生物安全阈值调控的智能声光联合驱散系统,涉及生物安全与智能生态调控交叉技术领域。系统包括:区域生态特性量化模块通过改进鲸鱼优化算法生成非线性阈值分布序列,适配预警区、警戒区、驱离区、观察区生态特性;分布式传感器网络实现生物数据精准采集与降噪;生物数据多尺度降噪模块动态优化阈值;生物入侵风险预测模块分析入侵概率,验证生态承载合规性;智能声光调控模块基于PID神经网络与滑模控制融合算法,结合模型预测控制实现多约束场景下声光功率动态调整及区域联动。系统通过多模块协同,提升生物活动实时响应能力与生态适配性,增强驱散效果的科学性与稳定性,降低误判风险,保障生态安全与系统高效运行。

一种基于多维度指标融合的产区稻谷品质评价方法

NºPublicación:  CN121684944A 17/03/2026
Solicitante: 
上海交通大学
CN_121684944_PA

Resumen de: CN121684944A

本发明公开了一种基于多维度指标融合的产区稻谷品质评价方法,该方法包括采用层次分析法确定主观权重,结合CRITIC法计算客观权重,通过乘法集成归一化得到综合权重;基于样本数据分位数建立指标分级标准,利用降半梯形分布函数计算各指标隶属度,构建模糊关系矩阵;最后将综合权重与模糊关系矩阵合成,依据最大隶属度原则判定稻谷品质等级。与现有的评价准则相比,本发明的评价方法综合考虑了各指标的主观权重和客观权重,能够更加准确地对稻谷品质进行评价,从而科学判断稻谷等级。

一种基于可学习模糊测度的资产台账智能清查方法

NºPublicación:  CN121684340A 17/03/2026
Solicitante: 
浙江佑昌电力技术有限公司
CN_121684340_PA

Resumen de: CN121684340A

本发明公开了一种基于可学习模糊测度的资产台账智能清查方法,包括如下步骤:采集资产台账字段信息并进行标准化与向量化表示,得到台账字段向量;构建可学习的模糊测度,对任意字段子集赋予容量参数;基于所述容量参数采用洛瓦兹扩展实现舒凯积分的可微计算,得到候选资产对的相似度;以该相似度为唯一度量构建对比学习目标函数,分别生成正样本对与难负样本对;在训练过程中执行单调投影与交互稀疏正则,得到优化后的相似度矩阵;输出清查差异,并生成处理建议。本发明通过可学习模糊测度与洛瓦兹扩展实现可微积分以完成字段软匹配和异常识别,从而提升清查准确性与智能化水平。

天空地监测体系下的分布式配电网金具健康状况评估方法、装置、设备及存储介质

NºPublicación:  CN121684657A 17/03/2026
Solicitante: 
长沙理工大学
CN_121684657_PA

Resumen de: CN121684657A

本发明公开了一种天空地监测体系下的分布式配电网金具健康状况评估方法、装置、设备及存储介质;该方法包括对天空地监测系统采集的多模态金具数据预处理并映射至同一维度,构建输入数据空间矩阵;基于特征相关模式规则和概率模糊逻辑建模策略构建模糊重要度分析模型,生成模糊重要度诊断指标,基于模糊重要度诊断指标优化深度因子分解机模型得到金具风险评估模型,输出风险分值并归一化,生成金具健康状况风险热力图。由于本发明通过有效融合多模态数据,通过模糊重要度分析实现模型优化,从而准确识别金具的低频高损隐患,实现分布式配电网金具由事后判定与被动检修向事前预测评估的转变,有效地对配电金具的前瞻性健康刻画与风险预测。

一种燃烧器故障预测与健康管理系统

NºPublicación:  CN121682171A 17/03/2026
Solicitante: 
和和能源(北京)有限公司和和能源(山东)有限公司
CN_121682171_PA

Resumen de: CN121682171A

本发明涉及设备状态监测技术领域,具体公开了一种燃烧器故障预测与健康管理系统,包括:多模态传感器融合、传感器验证与恢复、智能特征提取、数字孪生仿真、健康状态评估、剩余有用寿命预测、风险感知决策、不确定性量化与管理以及自适应控制九个核心模块;通过多源数据融合、物理模型与数据驱动结合的方法,实现了燃烧器状态的全面监测和精准预测;采用分布强化学习进行风险感知决策,通过数字孪生平台验证维护策略,结合自适应控制实现闭环优化。本发明通过多模态传感器融合模块的自适应加权算法,提升状态感知全面性;通过智能特征提取模块的双路径网络,能够对多维度特征协同分析。

一种工业绿色微电网多能互补及综合能效评价方法和系统

NºPublicación:  CN121684719A 17/03/2026
Solicitante: 
无锡华光环保能源集团股份有限公司
CN_121684719_PA

Resumen de: CN121684719A

本发明涉及电网控制技术领域,具体为一种工业绿色微电网多能互补及综合能效评价方法,其包括以下步骤:S1:标准适配型组网构建:建立工业绿色微电网标准体系要求,构建包含接口标准化、安全标准化、控制标准化的组网架构;S2:多场景自适应调度控制:基于预测误差‑标准阈值选择合适的优化框架、多类型储能差异化协同控制和多核心场景标准化控制;S3:仿真与验证:仿真数据验证方案有效性;S4:全维度能效评价与闭环优化:构建多维度评价体系,采用层次分析法确定指标权重,通过模糊综合评价法计算能效综合得分,结合微电网运行数据动态调整权重系数,适配不同厂区设备配置差异。

一种消防侦察机器人系统硬件可靠性评价方法

NºPublicación:  CN121682545A 17/03/2026
Solicitante: 
南京工业大学
CN_121682545_PA

Resumen de: CN121682545A

本发明公开了一种消防侦察机器人系统硬件可靠性评价方法,步骤包括:采集消防侦察机器人的硬件性能数据以及关键环境应力数据,构建基础评价数据;提取随火场条件变化而演化的核心评价因子,并根据核心评价因子确定出可靠性指标数据;根据当前环境下实时的可靠性指标数据确定出主观权重以及客观权重;对消防侦察机器人指标的主观权重以及客观权重进行动态调节获得自适应的综合权重向量;利用核心评价因子以及综合权重向量构造模糊关系矩阵并进行合成运算获得实时更新的系统可靠性等级。该可靠性评价方法能够对消防侦察机器人硬件可靠性的实时、动态、精准评价,为机器人的动态任务决策与临机维护提供了智能化的决策支持。

一种便携式真空泵在线检测与故障预警系统

NºPublicación:  CN121676356A 17/03/2026
Solicitante: 
国网河南省电力公司商丘供电公司国网河南省电力公司电力科学研究院
CN_121676356_PA

Resumen de: CN121676356A

本发明涉及智能传感器技术领域,具体涉及一种便携式真空泵在线检测与故障预警系统,包括在线检测与故障预警硬件设备,在硬件设备内设置有信号采集模块、主控模块、存储模块和人机交互模块;信号采集模块包括电流互感器和用于瞄准真空泵检测区的红外测温模块;存储模块中存储有不同类型真空泵的算法参数库;主控模块通信连接信号采集模块和存储模块,并内置有进行真空泵在线检测的智能算法,用于获取电流信号和温度信号,运行智能算法并调用存储模块中存储的算法参数库中参数以进行真空泵在线检测,并将检测结果发送给人机交互模块进行显示和预警。本发明可以实现真空泵故障的自动检测,并提高了检测准确性。

利用三维重建的道路桩号测量与标定方法

NºPublicación:  CN121685662A 17/03/2026
Solicitante: 
杭州拓纬视图信息技术有限公司
CN_121685662_PA

Resumen de: CN121685662A

本发明公开了利用三维重建的道路桩号测量与标定方法,涉及测量标定技术领域,用于解决现有流程存在多处薄弱环节:版本边界附近里程索引不一致;跨版本锚点稀疏或质量参差导致映射稳定性不足等问题;在统一弧长坐标系下对三维重建中心线、桩牌OCR、GNSS与航向观测进行时空对齐,并以“版本有效期+跨版本锚点”引入时间维约束,确保跨版本里程连续;采用含版本切换惩罚的HMM序列解码,配合冲突图最大权重一致集剔除互斥候选;利用DS证据融合在几何/文本/定位不一致时给出稳定置信分布,并以冲突度与后验熵触发回流,执行局部增密、模板切换与权重重估,提高退化工况鲁棒性;对“千米跃迁”设置正则与时序一致性联合约束,抑制跳变。

一种用于功率补偿决策的无功量数据处理方法及系统

NºPublicación:  CN121689036A 17/03/2026
Solicitante: 
南昌君胜设计有限公司
CN_121689036_PA

Resumen de: CN121689036A

本发明公开了一种用于功率补偿决策的无功量数据处理方法及系统,涉及电力数据处理领域。一种用于功率补偿决策的无功量数据处理系统,包括有:数据采集模块、特征构建模块、多目标优化模块、权重优化模块、谐波补偿模块和决策输出模块。本发明采用基于多目标遗传算法与粒子群优化算法的混合优化模型,在优化功率补偿决策时,同时考虑包括功率因数、电压稳定性、系统损耗及补偿成本的多个优化目标;通过这种混合优化方法,在全局和局部搜索中取得平衡,避免局部最优解,从而实现更准确的功率补偿决策,提升系统的整体效能。

一种硅锰合金生产过程风险识别监控和预警方法及系统

NºPublicación:  CN121680236A 17/03/2026
Solicitante: 
内蒙古普源铁合金有限责任公司
CN_121680236_PA

Resumen de: CN121680236A

本发明涉及硅锰合金冶金过程预警技术领域,公开了一种硅锰合金生产过程风险识别监控和预警方法及系统,其中,方法包括:获取电极区域运行数据;构造炉况健康因子;进行布棉稳态判定;采用多段模糊区间划分机制执行固化段能耗调节任务;构建压板速度匹配残差集;构建多源加权健康评估模型;输出生产过程风险预警结果。相较于现有技术中依赖单一指标如电流波动或布棉稳定性进行炉况判断,尤其是在炉况波动或控制参数偏离工况设定区间的运行场景下,难以识别炉况早期异常的技术问题。由于本申请通过构建异构来源指标间的模糊隶属映射关系,并引入非线性多参数加权融合机制,实现了基于炉况、电极、布棉与速度残差的全流程健康状态量化评估。

干旱区资源管理DSS系统在生态系统恢复应用方法

NºPublicación:  CN121660351A 13/03/2026
Solicitante: 
中国科学院新疆生态与地理研究所
CN_121660351_PA

Resumen de: CN121660351A

本发明公开了干旱区资源管理DSS系统在生态系统恢复应用方法,涉及干旱区资源管理与生态系统恢复技术领域。本发明包括对干旱区的生态环境数据进行采集形成目标数据集,所述采集通过传感器和遥感技术。本发明通过利用传感器与遥感技术协同采集干旱区生态环境数据,构建目标数据集,再结合历史生态恢复样本数据和专家经验规则的规则决策树模型生成资源管理方案,使资源分配与生态恢复需求更加匹配,提升方案的针对性和精细化水平。决策过程有明确的输入、推理和输出层次,减少对人工经验判断的依赖,降低主观性,使干旱区水资源分配、植被恢复布局、区域划分等关键决策具有更高的稳定性和可重复性。

一种风险评估方法及系统

NºPublicación:  CN121659326A 13/03/2026
Solicitante: 
浙江天航咨询监理有限公司
CN_121659326_PA

Resumen de: CN121659326A

本发明公开一种风险评估方法及系统,包括以下步骤:构建风险层次化评估模型;针对风险层次化评估模型的风险指标,构建模糊关系矩阵,基于模糊关系矩阵和模型计算获取的第二权重向量生成模糊评价集,基于模糊评价集和模型计算获取的第一权重向量生成整体模糊评价集;根据最大隶属度原则,分别从模糊评价集和整体模糊评价集中确定风险影响等级;输出风险评估结果。本发明有效解决传统人工评估存在的主观性强、指标权重分配随意、难以量化风险问题,建立权重‑模糊性的耦合机制,对项目的风险进行分析,形成项目改造风险库,对潜在风险均可通过模型进行展示。

一种优抚医疗补助自动结算管理方法

NºPublicación:  CN121660820A 13/03/2026
Solicitante: 
贵州久远银海软件有限公司
CN_121660820_PA

Resumen de: CN121660820A

本发明涉及数据结算技术领域,具体涉及了一种优抚医疗补助自动结算管理方法。包括以下步骤:S100、获取优抚对象的基础数据,并对优抚对象的基础数据进行第一标识,所述基础数据包括身份类别;S200、将所述优抚医疗补助结算平台中已经标识的优抚对象的基础数据,通过安全网络传输至省级医疗保障信息平台,并在该省级医疗保障信息平台的全量参保数据中,对属于优抚对象的信息进行对应的第二标识;S300、省级医疗保障信息在优抚对象就医结算时进行就诊打标,当优抚对象在医疗机构完成医保结算并打标完成后,获取该优抚对象的医保结算数据;S400、优抚医疗补助结算平台定期从省级医疗保障信息平台获取已经打标的优抚对象的医保结算数据。

一种烧结主抽风机节能控制方法、装置、设备及存储介质

NºPublicación:  CN121655286A 13/03/2026
Solicitante: 
中冶长天国际工程有限责任公司中冶长天(长沙)智能科技有限公司
CN_121655286_PA

Resumen de: CN121655286A

本发明提供一种烧结主抽风机节能控制方法、装置、设备及存储介质,通过创建短期能效代理指标作为实时反馈信号,并与滞后的真实吨矿电耗进行时空对齐的融合方法,解决了吨矿电耗严重滞后导致无法在线优化的难题,实现了在缺乏即时真实反馈条件下的分钟级实时节能优化;通过构建基于自适应权重的模糊规则库并对基于滞后数据对齐的权重进行奖惩更新,实现了从感知‑决策‑行动‑效果评估‑自我修正的完整智能闭环,能自适应原料、设备等工况的长期慢变;本申请通过上述自学习闭环,能够持续优化主抽风机的运行,从而有效降低吨矿电耗。该系统不依赖精确数学模型,对现场干扰不敏感,具备极高的工程应用价值。

基于SDGs的灌区水粮食生态系统可持续发展评价体系方法

NºPublicación:  CN121660256A 13/03/2026
Solicitante: 
水利部农村电气化研究所
CN_121660256_PA

Resumen de: CN121660256A

本发明涉及区域可持续发展评价领域,具体涉及基于SDGs的灌区水粮食生态系统可持续发展评价体系方法,包括:获取灌区水粮食生态系统基础数据;构建符合SDGs框架的评价指标体系,包括水安全、粮食安全、生态安全和气候行动指标;构建模糊拓扑空间,对指标进行拓扑特性分析;定义模糊邻域算子,构建反映指标间相互影响的多维评价矩阵;应用多层模糊滤子进行评价优化;计算综合评价指数并确定发展等级,引入模糊拓扑理论,精准刻画了水粮食生态系统间的复杂关联;基于模糊邻域算子描述了指标间相互影响和传播路径;应用多层模糊滤子形成自适应、动态化评价机制,实现了SDGs框架与区域评价的深度融合。

新型电力系统下变电设备技术标准体系构建效用评估方法及系统

NºPublicación:  CN121660511A 13/03/2026
Solicitante: 
国家电网有限公司国网电力科学研究院有限公司北京科东电力控制系统有限责任公司
CN_121660511_PA

Resumen de: CN121660511A

本发明涉及新型电力系统下变电设备技术标准体系构建效用评估方法及系统,包括以下步骤:获取新型电力系统变电设备对技术标准的需求作为评价指标,得到评价因素集;根据每个评价指标的评价标准分析得到各个评价指标的指标权重,确定评价评语集;确定评价因素集与评价评语集之间的模糊关系矩阵;利用模糊乘法运算得到每个因素的模糊评判结果,根据模糊评判结果得到模糊评判矩阵;将评价等级赋值,采用加权平均法,计算新型电力系统下变电设备技术标准体系最终得分,根据得分对新型电力系统下变电设备技术标准体系构建效用进行评估。与现有技术相比,本发明综合多种方法进行评估,使得评价结果更加全面和客观。

一种LF精炼炉智能底吹搅拌控制方法、装置及存储介质

NºPublicación:  CN121653309A 13/03/2026
Solicitante: 
北京万欣时代科技有限公司
CN_121653309_PA

Resumen de: CN121653309A

本发明公开了一种LF精炼炉智能底吹搅拌控制方法、装置及存储介质方法、装置及存储介质,该方法包括;获取关于目标LF精炼炉的感知数据,感知数据包括LF炉钢水液面图像数据和LF炉底吹气体检测数据;基于预训练的神经网络模型对图像数据和检测数据进行特征提取处理,得到图像数据和检测数据之间的融合特征;根据所述融合特征,得到LF炉底吹控制策略,所述控制策略用以描述底吹数据的设定;根据所述底吹控制策略,建立模糊逻辑控制器,调整底吹气体的流量和压力,实现LF精炼炉底吹搅拌的精确控制。通过本发明的方法、装置及存储介质,可以实现对钢包精炼过程中底吹气体搅拌的精确控制,提高钢水质量,降低生产成本,具有重要的实际应用价值。

Data processing system for generating predictions of cognitive outcome in patients

NºPublicación:  AU2026201300A1 12/03/2026
Solicitante: 
CARNEGIE MELLON UNIV
Carnegie Mellon University
AU_2026201300_A1

Resumen de: AU2026201300A1

A system for outputting a visual representation of a brain of a patient is configured to receive sensor data representing a behavior of a region of the brain of the patient. The system retrieves mapping data that maps a prediction value to the region. The prediction value is indicative of an effect on a behavior of the patient responsive to a treatment of the region, the mapping data being indexed to a patient identifier. The system receives, responsive to an application of a stimulation to the region, sensor data representing behavior of the region. The system executes a model that updates, based on the sensor data, the prediction value for the region. The system updates, responsive to executing the model, the mapping data by including the updated prediction value in the mapping data. The system outputs a visual representation of the updated mapping data comprising the updated prediction value. eb e b

一种波形钢腹板预应力组合箱梁桥标准化悬臂施工质量评价方法

NºPublicación:  CN121638993A 10/03/2026
Solicitante: 
湖北省路桥集团有限公司
CN_121638993_PA

Resumen de: CN121638993A

本发明提供一种波形钢腹板预应力组合箱梁桥标准化悬臂施工质量评价方法,涉及土木工程桥梁技术领域,S1、获取当前施工进度数据,将悬臂施工过程划分为0号块施工阶段、悬浇节段施工阶段和合龙段施工阶段,调用风险数据库识别各阶段的风险因子集合R;根据风险因子集合R计算各风险因子的量化风险值,根据量化风险值确定权重修正系数,构建包含施工阶段适配层的五层动态指标体系。通过上述结构之间的配合,与现有方法相比,具有以下有益效果:通过划分施工阶段并动态适配指标体系,使评价指标能精准匹配各阶段核心风险特征,解决了静态指标体系与施工阶段动态风险脱节的问题,从而提升了质量评价对施工过程的阶段针对性。

一种基于反渗透膜的高效水处理系统及控制方法

NºPublicación:  CN121627134A 10/03/2026
Solicitante: 
中芯恒润环境科技(北京)有限公司
CN_121627134_PA

Resumen de: CN121627134A

本发明提供了一种基于反渗透膜的高效水处理系统及控制方法,通过创造性地采用渐变式抗污染膜排列与可重构的智能水路设计相结合,从物理结构上为高通量、低污染运行奠定了基础;同时,本发明构建了全闭环智能控制体系,通过融合模糊逻辑、优化算法与神经网络预测模型,使系统能够综合进水水质、膜压差、产水量等多维信息,实时判断污染风险并自适应地在高回收模式、分段冲洗模式及预测清洗模式间无缝切换,同时动态优化泵频、阀门等参数以寻找回收率与能耗的最佳平衡点;本发明能稳定提升回收率,并大幅降低膜污染速率,延长化学清洗周期和膜元件使用寿命,最终在提升水处理效率与水质安全性的同时,显著降低了系统的综合运行与维护成本。

一种基于模糊贝叶斯网络模型的锂离子储能预制舱风险韧性评估方法

NºPublicación:  CN121637158A 10/03/2026
Solicitante: 
武汉科技大学
CN_121637158_PA

Resumen de: CN121637158A

本发明涉及一种基于模糊贝叶斯网络模型的锂离子储能预制舱风险韧性评估方法。该方法通过采集储能预制舱的实时运行数据,包括电池电压、电流、温度、可用容量、露点温度、粉尘浓度、空气流速和海拔高度等风险因素,以及电池管理系统、防火系统、气体监测系统的设备状态数据。通过对这些数据的处理和计算,确定与火灾风险相关的关键风险指标,并计算各系统的故障概率。利用模糊集理论将风险指标的风险等级转化为模糊数,再通过左右模糊排序法将模糊数转化为先验概率。结合储能预制舱的历史统计数据,利用贝叶斯网络全概率公式计算火灾发生的概率,并通过逆向推理机制识别最可能导致火灾的风险因素。实现对储能预制舱火灾风险的定量、动态评估。

一种综合能源系统多目标协同优化方法及系统

NºPublicación:  CN121638561A 10/03/2026
Solicitante: 
四川省建筑科学研究院有限公司
CN_121638561_PA

Resumen de: CN121638561A

本发明属于能源系统优化技术领域,具体提出了一种综合能源系统多目标协同优化方法及系统。包括生成综合能源系统的多维不确定性时序场景;建立高保真度动态行为模型库;定义决策变量,以综合能源系统经济性、环保性和韧性作为三维优化目标,构建多目标两阶段随机规划优化模型;采用代理模型辅助的自适应多目标演化算法,对多目标两阶段随机规划优化模型进行求解;根据求解结果,基于模糊层次分析法与多准则妥协解排序方法实现混合多属性决策。本发明从不确定性建模、设备特性刻画、大规模求解到多属性决策全链条创新,实现园区级IES全局最优、高鲁棒性、高效率的规划设计。

一种资源分配方法、装置、存储介质及电子设备

NºPublicación:  CN121636157A 10/03/2026
Solicitante: 
中移互联网有限公司中国移动通信集团有限公司
CN_121636157_PA

Resumen de: CN121636157A

本申请公开了一种资源分配方法、装置、存储介质及电子设备,涉及计算机技术领域,首先获取操作系统中正在执行的任务对应的资源占用状态;再基于资源占用状态,检测操作系统是否处于资源竞争状态;若操作系统处于资源竞争状态,则根据各个任务的任务调度属性生成任务权重评分;基于任务权重评分,确定资源分配策略;然后根据资源分配策略,进行资源动态分配。与目前现有技术相比,本申请基于实时监测的任务资源占用状态,通过智能化调度、预测和资源优化等策略,能够依据系统运行状态和用户需求变化提前分配并加载资源,提高了系统的预测准确性和资源利用率,减少了系统响应延迟,从而在多任务并发环境下保障了交互流畅性,提升了用户体验。

확률적 기판을 위한 기계학습 모델의 훈련 방법

NºPublicación:  KR20260033545A 10/03/2026
Solicitante: 
인나테라나노시스템즈비브이
KR_20260033545_PA

Resumen de: TW202507569A

The present invention relates to a method for training signal processing pipeline for deployment to a programmable fabric of a target device. The method comprises obtaining a model and characterization data of the components of the target device, obtaining programmable parameter values of the signal processing pipeline. Next, a plurality of target devices is simulated. The simulated target devices are based on the characterization data, such that the simulated target devices represent digital twins and/or the stochastic variability of the plurality of target devices. Optimization methods are used to compute updates of the programmable parameter values of the programmable parameters for each of the simulated target devices independently, after which the programmable parameter value updates are reduced to a single update of the programmable parameter values of the signal processing pipeline.

一种基于大模型自进化的合规智能审核方法及系统

NºPublicación:  CN121638210A 10/03/2026
Solicitante: 
中辉期货有限公司
CN_121638210_PA

Resumen de: CN121638210A

本发明提供了一种基于大模型自进化的合规智能审核方法及系统,涉及数据处理技术领域,方法包括:构建合规知识库;动态生成合规判断规则;获取多模态输入内容,多模态输入内容包括:素材类内容、直播类内容以及聊天类内容;提取多模态输入内容中的多模态数据特征;根据多模态数据特征与合规判断规则,通过垂类大模型,进行合规智能审核;根据合规审核结果,生成结构化审核报告;对结构化审核报告进行人工复核;将人工复核结果转化为专用训练语料,使用专用训练语料对垂类大模型自进化优化。本发明模型审核能力不会随时间下降,而是随着使用量持续增强,能够满足金融行业对高敏感性、高适应性与持续稳定性的合规要求。

一种分布式光伏柔性互联配电网智能软开关配置优化方法

NºPublicación:  CN121637711A 10/03/2026
Solicitante: 
国网江苏省电力有限公司电力科学研究院江苏省电力试验研究院有限公司
CN_121637711_PA

Resumen de: CN121637711A

本发明公开了一种分布式光伏柔性互联配电网智能软开关配置优化方法,属于配电网优化技术领域,本发明以配电网运行过程中的经济性、承载力、供电力以及节点平均电压偏差率最优为目标,建立智能软开关配置优化模型;基于分布式光伏出力间歇性波动,对智能软开关配置优化模型进行模糊化处理,能够有效模糊光伏等可再生资源的出力,是在应对光伏出力供应的波动性和不确定性方面;通过求解得到模糊规划模型,能够得到智能软开关的配置优化方案,根据智能软开关的配置优化方案,确定智能软开关在目标配电网的选址及定容,使智能软开关的配置优化方案更贴近实际工况。

一种基于多属性群体决策的睡眠障碍诊断方法

NºPublicación:  CN121641402A 10/03/2026
Solicitante: 
西北师范大学
CN_121641402_A

Resumen de: CN121641402A

本发明提供了一种基于多属性群体决策的睡眠障碍诊断方法,包括:获取多位决策者针对多个备选方案在不同属性下的评估信息,构建决策矩阵,通过熵权法确定各属性权重,利用聚合算子对每个备选方案在所有属性下的评估信息进行聚合,得到每个决策者对应的每个备选方案的综合评价值,计算综合评价值得分值,基于决策者权重对得分值加权后得到最终得分值并排序。本发明基于对偶犹豫q‑rung序对模糊集进一步提出无需标准化约束、保留原始数据分布的距离度量方法,并通过信息熵分析客观得出权重的熵权机制,以确保了睡眠障碍诊断中度量的完整性和决策的客观性。

融合驾驶风格的自动驾驶避险决策权重确定方法

NºPublicación:  CN121626198A 10/03/2026
Solicitante: 
吉林大学
CN_121626198_PA

Resumen de: CN121626198A

本发明公开了融合驾驶风格的自动驾驶避险决策权重确定方法,属于自动驾驶技术领域,该方法包括以下步骤:采集驾驶员主观评分数据,定义冲突场景并量化风险等级,对数据归一化后聚类得到三类驾驶风格,构建场景‑风格单元;经模糊矩阵构建与去模糊、AHP主观权重计算及一致性检验、因素相关系数与冲突性指标计算、CRITIC客观权重计算,融合主客观权重,输出匹配场景与驾驶风格的权重映射表,支撑个性化决策。本发明采用上述的融合驾驶风格的自动驾驶避险决策权重确定方法,实现自动驾驶避险决策个性化,兼顾不同交通参与者风险抵御能力,还能按冲突场景与驾驶风格灵活调整权重,提升决策合理性与适配性。

一种管道外壁腐蚀状态视觉检测方法

NºPublicación:  CN121616595A 06/03/2026
Solicitante: 
中核核电运行管理有限公司
CN_121616595_PA

Resumen de: CN121616595A

本发明属于深度学习监测技术领域,具体涉及一种管道外壁腐蚀状态视觉检测方法。包括如下步骤:步骤1:采集管道视频数据,制作管道表面缺陷数据集;步骤2:对数据集中存在背光部分图片进行基于亮度自适应直方图拉伸处理,自适应选择每张图片暗区阈值;步骤3:构建管道外壁腐蚀状态视觉检测模型;步骤4:载入训练集的权重文件对验证集图片进行训练精度验证,通过加载训练集文件,对训练过程中的模型精度进行评估,对精确度与召回率进行改进前后模型的对比分析。本发明的有益效果在于:采用高效的数据采集与标注方法,确保了数据集的准确性与全面性,提升了模型训练效果。

一种GIS隔离开关分合闸隐患检测方法及装置

NºPublicación:  CN121613300A 06/03/2026
Solicitante: 
华能太仓发电有限责任公司
CN_121613300_PA

Resumen de: CN121613300A

本发明提出一种GIS隔离开关分合闸隐患检测方法及装置,针对传统诊断技术对早期机械故障漏检率高、依赖振动或电流单一信号、缺乏物理机理融合等问题,提出一种物理约束‑混合核SVM智能诊断框架。该方法通过高精度功率传感器采集操作电机瞬时功率信号,提取包含峰值功率、总能耗、摩擦特征及小波包能量熵在内的37维多尺度特征;设计融合RBF全局核与小波局部核的混合核函数,兼顾整体趋势与瞬态异常;在SVM优化目标中嵌入能量守恒与峰值时长等物理约束,确保模型符合机械运行规律;并引入基于信噪比与标注置信度的模糊隶属度机制,支持增量式在线学习,实现对渐进退化过程的动态跟踪。

一种高速公路施工安全风险智能识别方法及系统

NºPublicación:  CN121616113A 06/03/2026
Solicitante: 
四川公路桥梁建设集团有限公司
CN_121616113_PA

Resumen de: CN121616113A

本发明适用于安全监控技术领域,提供了一种高速公路施工安全风险智能识别方法及系统,该方法包括以下步骤:构建用于预测隧道掘进前方塌陷风险的物理约束动态贝叶斯网络模型;基于物理约束动态贝叶斯网络模型,根据实时监测数据进行实时风险概率推理,得到风险后验概率值;根据与施工环境相关的多源动态数据,自适应调整安全概率预警阈值,得到动态安全概率预警阈值;基于动态安全概率预警阈值,根据风险后验概率值,识别隧道掘进前方发生塌陷的风险。本发明通过以物理约束动态贝叶斯网络模型输出的风险后验概率值为基础,融合基于环境多源动态数据的自适应安全阈值调整机制,可以显著提高隧道前方塌陷风险识别的准确性与智能化水平。

一种用于水下清淤优化的方法和系统

NºPublicación:  CN121611082A 06/03/2026
Solicitante: 
中国水利水电第四工程局有限公司
CN_121611082_PA

Resumen de: CN121611082A

本发明涉及深基坑清淤技术领域,具体涉及一种用于水下清淤优化的方法和系统。本方法包括以下步骤:将清淤影响参数融入网格划分机制,获得带有重要性权重的三维动态地形网格模型;通过多源数据融合与空间插值,获得全场连续分布的淤泥密度与含水率空间分布图;结合三维动态地形网格模型、稳态流速场特征及湍流强度特征、以及综合环境风险系数和作业效率折减系数,通过多目标搜索获得动态施工窗口参数;根据所述淤泥密度与所述含水率空间分布图、沿剖面的分层结果及初步土类标识,分析最优清淤设备移动轨迹;基于清淤设备运行状态、所述动态施工窗口参数和所述最优清淤设备移动轨迹,通过模糊算法获得深基坑开挖的水下清淤优化方案。

一种面向古汉语文献的智能语义解析方法及系统

NºPublicación:  CN121615654A 06/03/2026
Solicitante: 
佳木斯大学
CN_121615654_PA

Resumen de: CN121615654A

本发明适用于古汉语文献智能识别与语义解析技术领域,提供了一种面向古汉语文献的智能语义解析方法及系统,所述方法包括:判断目标人员的特征技术属性参数是否落入任一特征技术属性参数区间,若是,则将其落入的特征技术属性参数区间对应的指定综合模糊度确定为适配综合模糊度,并基于适配综合模糊度,在目标人员执行处理任务时分配对应的局部古籍文献。本发明通过在任务分配中综合考虑识别质量与识别效率的平衡关系,实现了局部古籍文献的精准分配与解析效能的动态优化,从而显著提升古汉语文献识别任务的整体稳定性与处理准确率,促进古籍智能化整理、数字化研究及知识化传承。

一种电网低温凝冻灾害的天气学指标构建方法及系统

NºPublicación:  CN121616136A 06/03/2026
Solicitante: 
云南电网有限责任公司输电分公司
CN_121616136_PA

Resumen de: CN121616136A

本发明公开了一种电网低温凝冻灾害的天气学指标构建方法及系统,涉及电网灾害评估技术领域,包括:基于电网观测资料获取低温凝冻灾害事件,并初步分类,确定需要建立天气学指标的灾害类型;评估高时空分辨率气象数据中温度、湿度与电网观测资料的吻合关系,建立与低温凝冻灾害事件对应的多要素资料库;通过深度学习算法提取多要素资料库中不同灾害类型对应的多要素特征及组合;分析多要素特征及组合得到电网凝冻灾害与组合气象条件的对应关系,建立天气学指标。本发明利用高时空分辨率气象数据和电网观测资料和深度学习算法等,针对电网高影响气象条件构建有效提取影响低温凝冻气象条件的基本特征,建立电网凝冻天气学指标。

基于几何模糊的自适应细化医学图像配准方法

NºPublicación:  CN121616633A 06/03/2026
Solicitante: 
深圳大学
CN_121616633_PA

Resumen de: CN121616633A

本发明公开了基于几何模糊的自适应细化医学图像配准方法,属于医学图像处理与医学人工智能技术领域,包括以下步骤:1、输入固定图像和移动图像,并提取医学图像的多尺度几何特征;2、将多尺度几何特征进行特征变换与融合,得到联合特征;3、通过模糊加权模块对联合特征进行加权调整;4、将联合特征输入形变估计模块,并通过逐尺度自适应细化模块细化联合特征的尺度,之后将此时的形变场返回2进行迭代操作,直到完成最细尺度的形变估计,得到高分辨率形变场;5、使用高分辨率形变场对原始输入的移动图像进行处理,得到形变图像,并与原始固定图像进行精确配准;本发明采用上述方法,多模块依次连接,从而实现由粗到细的精确医学图像配准。

基于任务网络特征的协同任务复杂度分析方法及系统

NºPublicación:  CN121616074A 06/03/2026
Solicitante: 
中国船舶集团有限公司综合技术经济研究院北京航空航天大学
CN_121616074_PA

Resumen de: CN121616074A

本申请实施例提供一种基于任务网络特征的协同任务复杂度分析方法及系统,方法包括:通过将指控任务按照四个维度层次化分解为原子任务后,构建任务网络模型,遍历任务网络模型,提取网络规模特征、结构关系特征以及不确定性特征,分别对所述网络规模特征、所述结构关系特征以及所述不确定性特征进行复杂度计算,确定对应的复杂度量化结果,根据所述复杂度量化结果对所述任务网络模型进行优化调整,以使所述任务网络模型的任务网络复杂度降低,本申请能够提高指控任务复杂度度量的准确性和效率。

基于电流分析的非侵入式电动自行车故障类型识别系统

Nº publicación: CN121613211A 06/03/2026

Solicitante:

国网上海市电力公司复旦大学

CN_121613211_PA

Resumen de: CN121613211A

本发明涉及一种基于电流分析的非侵入式电动自行车故障类型识别方法与系统。本发明通过充电模式动态时间规整、差分‑方差混合事件检测、双域电流特征算法以及双尺度自适应高斯模糊综合评价,对电动自行车充电过程中的电流数据进行处理、数据分析和负荷识别,实现故障类型的精准识别。本发明通过7类充电模式分类和双域特征分析,可精准识别过充、短路、通信异常等6大类故障,覆盖95%以上的常见充电安全隐患;采用双尺度自适应高斯模糊综合评价,有效消除环境噪声和电网波动对特征提取的影响;最后通过软件实现0‑100分健康评分系统和五级健康等级划分,无需改造现有充电设备,通过外置传感器采集电流信号,避免侵入式监测可能引发的二次故障风险,同时基于Web应用架构,支持远程监测和数据可视化分析。

traducir