Ministerio de Industria, Turismo y Comercio LogoMinisterior
 

Alerta

Resultados 1045 resultados
LastUpdate Última actualización 22/03/2026 [07:01:00]
pdfxls
Publicaciones de solicitudes de patente de los últimos 60 días/Applications published in the last 60 days
previousPage Resultados 850 a 875 de 1045 nextPage  

Standby power supply system

NºPublicación:  CN121417462A 27/01/2026
Solicitante: 
ULTRAHIGH PRESSURE BRANCH OF STATE GRID JIBEI ELECTRIC POWER COMPANY LTD
STATE GRID CORP OF CHINA
\u56FD\u7F51\u5180\u5317\u7535\u529B\u6709\u9650\u516C\u53F8\u8D85\u9AD8\u538B\u5206\u516C\u53F8,
\u56FD\u5BB6\u7535\u7F51\u6709\u9650\u516C\u53F8
CN_121417462_PA

Resumen de: CN121417462A

The invention discloses a standby power supply system, and relates to the technical field of transformer substation power supply, a hydrogen production module is used for producing hydrogen by using commercial power or renewable power and then storing the hydrogen in a high-pressure gas storage tank of a hydrogen storage module, and the hydrogen storage module is provided with a one-way valve for the hydrogen to pass through in one way and a gas compressor for compressing the hydrogen to realize hydrogen conveying; after hydrogen stored in the hydrogen storage module is subjected to power generation through a fuel cell through the power generation module, the hydrogen is input into a storage battery pack of an uninterruptible power supply system of the transformer substation, and in the whole process, the control module detects the state of a main power supply and controls starting and stopping of the power generation module. The hydrogen production rate of the hydrogen production module and the hydrogen storage pressure of the hydrogen storage module are controlled, only water is generated in the power generation process, harmful emission is avoided, direct current generated by the fuel cell is directly matched with a UPS storage battery direct current bus, the response speed is high, conversion loss is reduced, the energy utilization efficiency is improved, the system automation degree is high, and the operation and maintenance cost is low.

Closed cavity system applied to biological environment regulation and control

NºPublicación:  CN121407113A 27/01/2026
Solicitante: 
CHUANG CHEN YEN
\u5E84\u9648\u664F
CN_121407113_PA

Resumen de: CN121407113A

The invention provides a closed cavity system applied to biological environment regulation and control. The closed cavity system comprises a water electrolysis gas production module, a gas proportion control device, a closed cavity and a light source device, the water electrolysis module is used for generating hydrogen and oxygen, after gas proportion control, hydrogen and oxygen mixed gas in a specific proportion is formed and guided into the closed cavity, and gas and illumination are synchronously applied to a target organism in combination with a specific-wavelength light source emitted by the light source device. The system is further provided with a pressure and gas concentration sensor, a gas buffer module, a positioning illumination structure and a human-computer interface, so that the gas supply stability, the use safety and the illumination accuracy are improved. The closed cavity system is suitable for environmental regulation of various organisms such as human bodies, plants, fungi, aquatic organisms or insects, has high integration and structural innovation, and can be applied to health care, beauty, growth promotion or non-drug auxiliary stimulation.

Hydrogen production system interaction power control method and hydrogen production system interaction power control system

NºPublicación:  CN121417200A 27/01/2026
Solicitante: 
TSINGHUA UNIV
SICHUAN ENERGY INTERNET RESEARCH INSTITUTE OF TSINGHUA UNIV
\u6E05\u534E\u5927\u5B66,
\u6E05\u534E\u56DB\u5DDD\u80FD\u6E90\u4E92\u8054\u7F51\u7814\u7A76\u9662
CN_121417200_PA

Resumen de: CN121417200A

The invention provides a hydrogen production system interaction power control method and a hydrogen production system interaction power control system, and the method comprises the steps: obtaining the current operation information of a hydrogen production system; determining a target adjustable power upper limit and a target adjustable power lower limit according to the current pressure, the initial adjustable power upper limit and the initial adjustable power lower limit of a hydrogen storage tank in the hydrogen production system; according to the target adjustable power upper limit, the target adjustable power lower limit and the interaction information of the hydrogen production system and the power grid, the electrolytic cell adjusting power of the hydrogen production system is determined; and according to the target adjustable power upper limit, the target adjustable power lower limit and the electrolytic cell adjusting power, adjusting the power of the electrolytic cell in the hydrogen production system. The method can cope with renewable energy power fluctuation of a fine time scale, the phenomenon of wind and light abandoning is remarkably reduced, and the stability, safety and sustainability of operation of a hydrogen production system are improved.

電解用の触媒インク組成物及び触媒コーティング膜

NºPublicación:  JP2026502815A 27/01/2026
Solicitante: 
ユーオーピーエルエルシー
JP_2026502815_PA

Resumen de: AU2023390125A1

Catalyst ink formulas for the preparation of CCMs are described. The catalyst ink formulas comprise a catalyst, an ionomer, a solvent, and a porogen soluble in the solvent. The catalyst ink formula may also comprise an additive, such as an electron conductive polymer. The anode catalyst coating layer or both the anode and the cathode catalyst coating layers prepared from the catalyst ink formula comprises uniformly distributed nanopores that allow easy gas removal and uniform water feed distribution, which will avoid or reduce the direct energy losses for the electrolyzers. Catalyst coated membranes and methods of making a catalyst coated membranes are also described.

一种氧化钼-镍钼基化合物电解水制氢催化剂材料及其制备方法

NºPublicación:  CN121407137A 27/01/2026
Solicitante: 
华能山东发电有限公司华能山东发电有限公司众泰电厂西安热工研究院有限公司
CN_121407137_PA

Resumen de: CN121407137A

本发明属于电解水制氢能源转换技术领域,具体涉及一种氧化钼‑镍钼基化合物电解水制氢催化剂材料及其制备方法。所述方法包括:采用静电纺丝技术结合预氧化处理制备氧化钼纳米纤维基底;通过双温区钼蒸气掺杂技术在基底中引入混合价态与氧空位缺陷;利用氩‑氢低温等离子体对掺杂后的基底进行轰击处理以活化表面;通过浸泡结晶法在活化后的基底上原位生长镍钼基化合物,并经还原性热处理得到最终催化剂材料。该材料具有独特的三维分级结构,比表面积大,活性位点丰富。将其应用于电解水析氢反应时,在碱性条件下表现出优异的催化活性和稳定性,能够显著降低析氢过电位和电解能耗,且制备工艺可控,原料成本低,具有良好的应用前景。

一种双功能中空氮掺杂碳纳米盒负载钌-二氧化钌纳米催化剂及其制备方法和应用

NºPublicación:  CN121407144A 27/01/2026
Solicitante: 
潍坊科技学院
CN_121407144_PA

Resumen de: CN121407144A

本发明公开了一种双功能中空氮掺杂碳纳米盒负载钌‑二氧化钌纳米催化剂及其制备方法和应用,涉及电催化技术领域。本发明采用ZIF‑8、乙酰丙酮钌和NaBr作为原料,惰性气氛下煅烧得中空氮掺杂碳纳米盒负载钌纳米催化剂,将其置于空气气氛下煅烧,得中空氮掺杂碳纳米盒负载钌‑二氧化钌纳米催化剂。其中,通过空气煅烧处理,既能烧掉中空氮掺杂碳纳米盒负载钌纳米催化剂表面的衍生碳层,使活性物质得以暴露,从而提高催化活性;又能将单质Ru部分氧化为RuO2以形成Ru‑RuO2异质结,提高稳定性和HER性能。本发明制得的双功能中空氮掺杂碳纳米盒负载钌‑二氧化钌纳米催化剂具有优异的HER和OER活性,可用于电催化全解水。

一种镍钴功能化金属有机框架催化剂的制备方法及其应用

NºPublicación:  CN121407145A 27/01/2026
Solicitante: 
浙江省白马湖实验室有限公司
CN_121407145_PA

Resumen de: CN121407145A

本发明涉及催化材料领域,公开了一种镍钴功能化金属有机框架催化剂的制备方法及其应用。该制备方法包括:1)制备MOF‑808;2)将MOF‑808置于极性溶剂中加热回流活化,分离,真空活化,分散于扩散疏水溶剂中;将溶有镍盐和钴盐的亲水溶剂滴加至扩散疏水溶剂中扩散掺杂,交换反应后离心洗涤干燥,得镍钴功能化金属有机框架催化剂。本发明方法可避免在镍钴掺杂过程中破坏MOF的多孔有序框架结构;将本发明方法制得的镍钴功能化金属有机框架催化剂应用于光电催化水分解反应中时,可抑制活性组分溶出,从而具有优异的催化效率和稳定性。

碱性电解水制氢电极的表面处理方法

NºPublicación:  CN121407126A 27/01/2026
Solicitante: 
湖南中伟新氢材料科技有限公司
CN_121407126_A

Resumen de: CN121407126A

本发明提供一种碱性电解水制氢电极的表面处理方法,包括:第一蚀刻工序:将喷砂后的镍基材与第一蚀刻液接触,得到镍基材I;第二蚀刻工序:将镍基材I与第二蚀刻液接触,得到镍基材II;第一蚀刻液中含有硝酸、柠檬酸和过氧化氢,硝酸、柠檬酸和过氧化氢的用量质量比为1:0.1‑2:0.05‑1;第二蚀刻液中含有草酸、磷酸和醋酸,草酸、磷酸和醋酸的用量质量比为1:0.1‑1:0.1‑1。本发明将喷砂后的镍基材通过两次蚀刻处理,通过粗蚀刻快速刻蚀基材表面,形成较大的微观结构,然后通过细蚀刻,进一步细化前述形成的微观结构,使表面更加细腻均匀,不但能够显著增加涂层与基材的机械咬合力,还能减少涂层中的缺陷。

System and method for directionally converting biomass into synthesis gas by full carbon through cascade energy supply and green hydrogen coupling

NºPublicación:  CN121402001A 27/01/2026
Solicitante: 
ENERGY RES INSTITUTE OF SHANDONG ACADEMY OF SCIENCES
\u5C71\u4E1C\u7701\u79D1\u5B66\u9662\u80FD\u6E90\u7814\u7A76\u6240
CN_121402001_PA

Resumen de: CN121402001A

The invention discloses a cascade energy supply and green hydrogen coupling biomass all-carbon directional conversion synthesis gas system and method, and belongs to the technical field of biomass energy conversion. The system comprises a first-stage gasification furnace, a second-stage gasification furnace, a gas-solid separator, an alkane reforming device, a reverse water-gas shift device and a water electrolysis device. The method comprises the following steps: pyrolyzing a biomass raw material and a catalyst in a primary gasifier (500-700 DEG C) to generate semicoke and tar-containing fuel gas; carrying out catalytic co-gasification on the semicoke and tar-containing fuel gas in a secondary gasifier (800-900 DEG C), and realizing tar cracking and CH4 reforming by using a catalyst to obtain crude synthesis gas; after being subjected to high-temperature dust removal, the crude synthesis gas sequentially passes through a self-heating alkane reforming device (CH4lt; 1%) and a reverse water-gas shift device, and finally synthesis gas with the H2/CO ratio of 2: 1 is produced, so that the chemical application requirements of methanol, Fischer-Tropsch synthesis and the like are completely met, the high energy consumption bottleneck of a traditional process is broken, and full-life-cycle negative carbon emission is achieved.

一种基于多钼酸基金属有机框架的MoP@C电催化剂的制备方法及其应用

NºPublicación:  CN121407142A 27/01/2026
Solicitante: 
吉林省电力科学研究院有限公司长春理工大学
CN_121407142_PA

Resumen de: CN121407142A

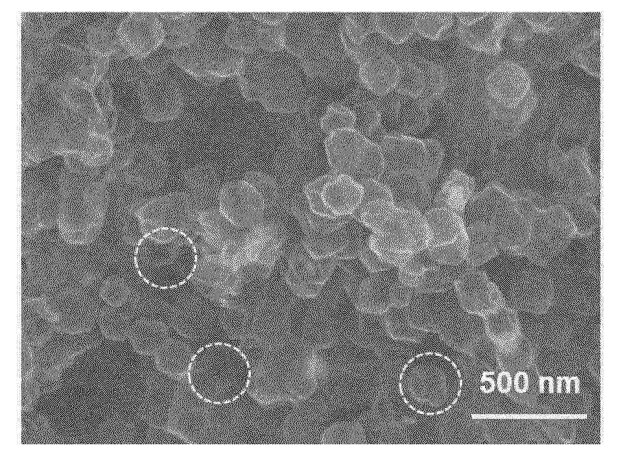
本发明一种基于多钼酸基金属有机框架的MoP@C电催化剂的制备方法及其应用,属于电催化材料技术领域,MoP@C电催化剂的制备方法包括以下步骤:S1.有机配体btpe的合成,S2.多钼酸基金属有机框架CUST‑698晶体的合成,S3.MoP@C电催化剂的原位合成,MoP@C电催化剂应用于电催化析氢电极,MoP@C电催化剂或者应用MoP@C电催化剂的电催化析氢电极,在酸性或碱性电解质中的析氢反应(HER)中应用,本发明通过N2吸脱附测试证实,MoP@C电催化剂具有由微孔和介孔构成的多级孔道系统,有利于电解质的渗透和氢气气泡的脱附,并暴露了大量的活性位点,具有高析氢活性,SEM和TEM图像显示,MoP@C电催化剂的结构有效防止了团聚,确保了活性位点的充分利用和快速的物质传输,具有良好的稳定性。

Optimized scheduling method for electricity-hydrogen-storage cooperation of new energy base

NºPublicación:  CN121417374A 27/01/2026
Solicitante: 
HEFEI UNIV OF TECHNOLOGY
\u5408\u80A5\u5DE5\u4E1A\u5927\u5B66
CN_121417374_PA

Resumen de: CN121417374A

The invention discloses a new energy base electricity-hydrogen-storage collaborative optimization scheduling method. The method comprises the following steps: 1, obtaining load, new energy output, hydrogen production load and energy storage initial charge state parameters; 2, according to the constraint type, only hydrogen production and only energy storage are carried out, and a mixed integer linear programming model including unit combination, electric power balance, energy storage SOC dynamic state, hydrogen production power boundary and thermal power unit climbing and start-stop time is constructed through hydrogen production and energy storage; 3, maximization of new energy consumption or minimization of operation energy consumption is realized through target function switching; and 4, finally outputting the start-stop state of the thermal power generating unit, the output plan, the new energy abandoned electric quantity, the charging and discharging power of the energy storage system, the hydrogen production power and the SOC track of the energy storage system. According to the invention, source-load-storage-hydrogen multi-element coordination of the new energy base is realized, and the new energy consumption capability and the overall operation efficiency of the system are improved.

Ultralow content Pt single atom implanted High-efficiency and high-durability transition metal based-heterostructure electrocatalyst and its preparation method

NºPublicación:  KR20260013001A 27/01/2026
Solicitante: 
INDUSTRIAL COOPERATION FOUNDATION JEONBUK NATIONAL UNIV [KR]
AHES [KR]
\uC804\uBD81\uB300\uD559\uAD50\uC0B0\uD559\uD611\uB825\uB2E8,
\uC8FC\uC2DD\uD68C\uC0AC \uC544\uD5E4\uC2A4
KR_20260013001_PA

Resumen de: KR20260013001A

수전해 시스템의 수소생산 효율 향상을 위해 코발트(Co) 및 니켈(Ni)을 포함하는 코어; 상기 코어 표면에 코팅된 코발트니켈인산화물 나노층; 및 상기 나노층의 결정구조 내에 증착 및 고정화된 백금(Pt) 단원자를 포함하는 것을 특징으로 하는, 코어-쉘 헤테로 구조를 갖는 하이브리드 수전해 촉매 합성 기술을 제공한다.

High-efficiency and high-durability heterostructure electrocatalyst for anion exchange membrane water electrolyzers AEMWE and its preparation method

NºPublicación:  KR20260012987A 27/01/2026
Solicitante: 
INDUSTRIAL COOPERATION FOUNDATION JEONBUK NATIONAL UNIV [KR]
AHES [KR]
\uC804\uBD81\uB300\uD559\uAD50\uC0B0\uD559\uD611\uB825\uB2E8,
\uC8FC\uC2DD\uD68C\uC0AC \uC544\uD5E4\uC2A4
KR_20260012987_PA

Resumen de: KR20260012987A

이온교환막 수전해 시스템의 수소생산 효율 향상을 위해 MXene표면에 고촉매활성의 루텐늄-인화 루템늄을 고밀도로 고정화한 고효율, 고내구성의 이종구조 하이브리드 수전해 촉매 합성 기술을 제공한다.

Manufacturing method of anion exchange membrane catalyst for water electrolysis and anion exchange membrane catalyst for water electrolysis manufactured thereby

NºPublicación:  KR20260012903A 27/01/2026
Solicitante: 
INDUSTRIAL COOPERATION FOUNDATION JEONBUK NATIONAL UNIV [KR]
\uC804\uBD81\uB300\uD559\uAD50\uC0B0\uD559\uD611\uB825\uB2E8
KR_20260012903_PA

Resumen de: KR20260012903A

본 발명은 지르코늄(Zr)이 도핑된 코발트 탄산염 수산화물Zr-Co(CH) 전구체를 열수 방법을 사용하여 탄소섬유에 성장시켜 제1 나노와이어를 준비하는 단계; 상기 제1 나노와이어를 이리듐 이온(Ir3+) 용액에 함침하여 코발트 결정구조네 이리듐원자를 통합하는 단계; 및 인산화 및 환원 공정을 통하여, 제2 나노와이어를 준비하는 단계를 포함하는 음이온 교환막 수전해용 촉매의 제조방법을 제공한다. 상기 제조방법에 의하여 제조된 촉매는 OER 및 HER 반응에 모두 적용될 수 있는 촉매로서, 전자 전달 성능 향상 및 전기화학적 표면적 향상을 통하여 음이온 교환막 수전해 시스템의 효율을 개선할 수 있다.

System for producing green hydrogen utilizing hybrid energy storage system and method of producing green hydrogen using the same

NºPublicación:  KR20260012438A 27/01/2026
Solicitante: 
동국대학교산학협력단
KR_20260012438_PA

Resumen de: KR20260012438A

그린 수소 생산 시스템 및 상기 시스템을 활용한 그린 수소 생산 방법을 제공한다. 상기 그린 수소 생산 시스템은 수전해 시스템, 폐기물 소각로 및 하이브리드 에너지 저장 시스템을 포함하는 시스템으로, 상기 폐기물 소각로에서 배출된 고온 연소가스를 고온 열원으로 사용하여 에너지 효율이 우수하고, 상기 하이브리드 에너지 저장 시스템에 의해 일정량의 전력이 지속적으로 공급되어 지속적인 수소 생산이 가능한 그린 수소 생산 시스템을 제공할 수 있다. 상기 그린 수소 생산 시스템을 활용한 수소 생산 방법은 탄소의 배출없이 생산된 고순도의 수소를 제공할 수 있다.

WATER ELECTROLYSIS SYSTEM CAPABLE OF CONTROLLING THE WATER CIRCULATION MODE

NºPublicación:  KR20260012491A 27/01/2026
Solicitante: 
TECHCROSS INC [KR]
\uC8FC\uC2DD\uD68C\uC0AC \uD14C\uD06C\uB85C\uC2A4
KR_20260012491_PA

Resumen de: KR20260012491A

본 발명에 따른 물 순환 모드의 제어가 가능한 수전해 시스템은, 수전해 스택, 산소측 기액분리기, 수소측 기액분리기, 제어부를 포함한다. 산소측리턴배관은, 상기 산소측 기액분리기 내의 물을 상기 수전해 스택으로 리턴하기 위한 배관으로서, 상기 산소측 기액분리기로부터 상기 수전해 스택에 이르는 물의 흐름방향을 따라 제1밸브와 제1펌프가 배치된다. 수소측리턴배관은, 상기 수소측 기액분리기 내의 물을 상기 수전해 스택으로 리턴하기 위한 배관으로서, 상기 수소측 기액분리기로부터 상기 수전해 스택에 이르는 물의 흐름방향을 따라 제2밸브와 제2펌프가 배치된다. 제1연결배관은, 상기 산소측 기액분리기 내에 수용된 물과 상기 수소측 기액분리기 내에 수용된 물을 연결하도록 구성된다. 제2연결배관은, 상기 산소측리턴배관 중 상기 제1밸브와 상기 제1펌프의 사이와 상기 수소측리턴배관 중 상기 제2밸브와 상기 제2펌프의 사이를 서로 연결하도록 구성되되, 제3밸브와 제4밸브가 배치된다. 제3연결배관은, 상기 제2연결배관의 상기 제3밸브와 상기 제4밸브의 사이와 상기 제1연결배관을 연결한다. 제어부는, 상기 수전해 스택의 동작상태에 따라 상기 제1 내지 제4밸브 중 적어도 하나의 개폐 및 개폐량을 제어한다.

Intelligent hydrogen producing and spraying all-in-one machine

NºPublicación:  CN121407112A 27/01/2026
Solicitante: 
FUTURE HEALTH LIFE TECH SHENZHEN CO LTD
\u672A\u6765\u5065\u5EB7\u751F\u547D\u79D1\u6280\uFF08\u6DF1\u5733\uFF09\u6709\u9650\u516C\u53F8
CN_121407112_PA

Resumen de: CN121407112A

The invention relates to the technical field of hydrogen preparation, in particular to an intelligent hydrogen preparing and spraying all-in-one machine which comprises a shell, an electrolytic tank and the like are integrated in the shell, a hydrogen outlet pipe is arranged on the upper end face of the shell, and the hydrogen outlet pipe sequentially comprises a hydrogen inlet pipe, a hydrogen outlet pipe and a hydrogen outlet pipe in the airflow direction. The filtering section is used for removing part of impurities in the hydrogen; the hydrogen drying part is used for drying hydrogen; the atomizing part is used for atomizing hydrogen; one end of the front switching section is communicated with the filtering section, and the other end is provided with two side openings which are respectively communicated with the dry hydrogen part and the atomizing part; one end of the rear switching section is communicated to an outlet of the hydrogen outlet pipe, and the other end is provided with two side openings which are respectively communicated with the dry hydrogen part and the atomization part; the front switching section and the rear switching section are each internally provided with a single-side opening valve, the single-side opening valves can control the ends, with openings in the two sides, of the front switching section and the rear switching section to be communicated with only one opening at a time, airflow only passes through the hydrogen drying part or the atomization

制氢智能循环系统

NºPublicación:  CN121407116A 27/01/2026
Solicitante: 
国家能源集团氢能科技有限责任公司国能氢创科技(北京)有限责任公司中集集电(广东)科技发展有限公司上海中集洋山物流装备有限公司氢检科技(内蒙古)有限公司
CN_121407116_PA

Resumen de: CN121407116A

本发明提供了一种制氢智能循环系统,涉及制氢系统技术领域,储液分离模块与工况适配模块连接,储液分离模块的两个输入端分别接入外部设备提供的去离子水和电解槽,用于接收并分离电解槽输出的气液混合物形成电解液循环回路;工况适配模块中换热器与储液分离模块连接,换热器并联有三条支路,第一支路设置第一自动阀,第二支路设置第二自动阀和去离子器,第三支路设置第三自动阀和加热器,电解槽出口输出氢气;控制模块通过控制阀的工作状态以实现冷启动工作模式、常态工作模式和去离子工作模块。上述系统构建了支持多模式切换及独立温控路径的智能循环系统架构,解决了传统系统冷启动慢、热管理粗放、水质调控被动等问题。

Self-powered in-situ hydrogen production plant maintenance device

NºPublicación:  CN121400255A 27/01/2026
Solicitante: 
WESTLAKE UNIV
\u897F\u6E56\u5927\u5B66
CN_121400255_PA

Resumen de: CN121400255A

The invention discloses a self-powered in-situ hydrogen production plant maintenance device which comprises a container body, an in-situ hydrogen production module, an energy supply module and an energy storage module. Wherein the container body is used for containing liquid and supporting plants; the in-situ hydrogen production module is arranged in the liquid cavity of the container body and is used for producing hydrogen by electrolyzing water; the in-situ hydrogen production module is provided with a hydrogen output end and an oxygen output end, the hydrogen output end is communicated with the liquid cavity of the container body, and the oxygen output end is communicated with the atmosphere; the energy supply module is used for providing electric energy for the device; the energy storage module is electrically connected with the energy supply module and the hydrogen production module and used for storing electric energy and supplying power to the in-situ hydrogen production module. According to the device, hydrogen can be continuously and stably generated and dissolved in water in the container body to form a hydrogen-rich water environment, so that the fresh-keeping time of fresh flowers is effectively prolonged or the growth and flowering phase regulation of potted plants are promoted, and the device is green, environment-friendly, safe and reliable.

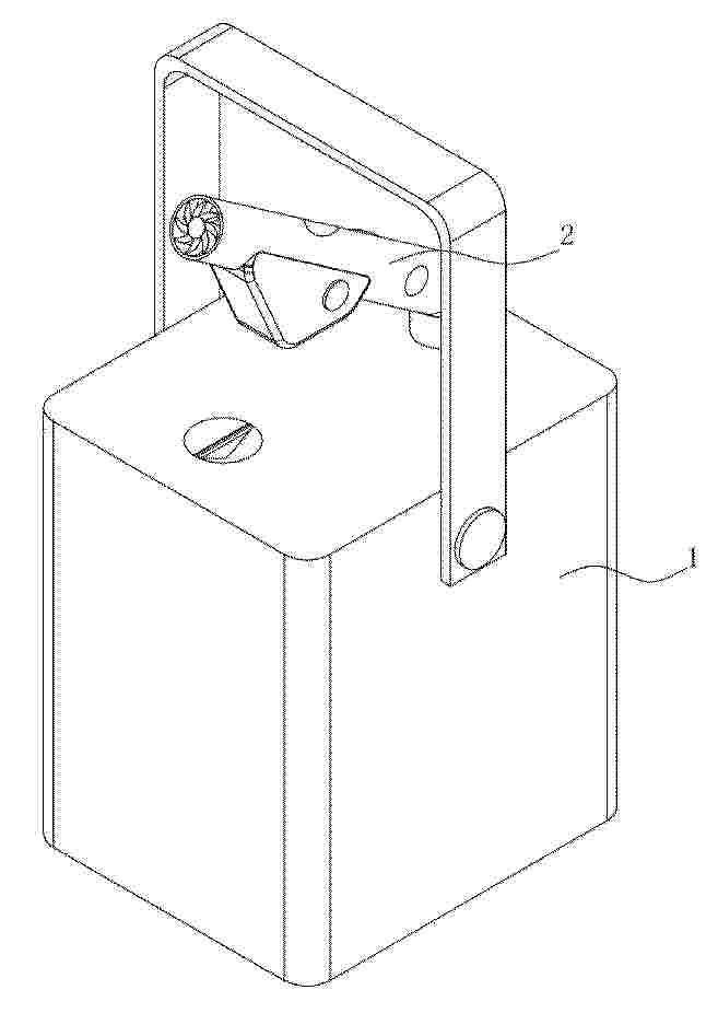
一种无人机用水解镁毡供氢机构

NºPublicación:  CN121401961A 27/01/2026
Solicitante: 
浙江菲尔特过滤科技股份有限公司
CN_121401961_PA

Resumen de: CN121401961A

本发明公开了一种无人机用水解镁毡供氢机构,包括固定于无人机上的水箱(1)和外壳(2),外壳(2)内设有制氢模块(3),水箱(1)侧面设有输水管(4),输水管(4)上端与外壳(2)相连,外壳(2)上方设有出氢口(5);所述制氢模块(3)包括两块端板(31),两块端板(31)之间设有多根并排分布的螺杆(32),螺杆(32)两端设有位于端板(31)外侧的锁紧螺母(33),螺杆(32)上套设有多个位于两块端板(31)之间的制氢单元(34)。本发明利用镁毡与水反应现场产生氢气,直接供给无人机的氢燃料电池,不仅供氢响应快速,而且安全可靠,还可以提升无人机的续航里程。

膜电极及其制备方法、电解槽

NºPublicación:  CN121407149A 27/01/2026
Solicitante: 
惠州亿纬氢能有限公司
CN_121407149_A

Resumen de: CN121407149A

本申请提供一种膜电极及其制备方法、电解槽,属于电解水制氢技术领域,膜电极包括阳极催化扩散层、阴离子交换膜、导电聚合物层和阴极催化扩散层。阳极催化扩散层包括多孔金属扩散层和形成于多孔金属扩散层其中一侧的阳极催化层,阴离子交换膜设置于阳极催化扩散层中具有阳极催化层的一侧,导电聚合物设置于阴离子交换膜背离阳极催化扩散层的一侧,阴极催化扩散层包括阴极气体扩散层和设置于阴极气体扩散层其中一侧的阴极催化层,阴极催化层位于导电聚合物层和阴极气体扩散层之间。本申请实施例提供的膜电极能够提高膜电极的动态响应性能,提升在波动性电源下快速功率调节能力与耐久性,延长使用寿命。

氢生成装置和信息管理系统

NºPublicación:  CN121419940A 27/01/2026
Solicitante: 
佳能株式会社
CN_121419940_PA

Resumen de: JP2025004799A

To provide a configuration capable of grasping the recovery amount by a recovery container 14 for recovering a composition containing a by-product generated during hydrogen generation.SOLUTION: A hydrogen generation part 12 generates hydrogen by reacting a hydrogen carrier with a liquid containing water. A body part 10 has a hydrogen generation part 12. The recovery container 14 is attachable to and detachable from the body part 10 and recovers a composition containing a by-product generated together with hydrogen in the hydrogen generation part 12. A detection part 13 detects the recovery amount of the composition recovered from the hydrogen generation part 12 by the recovery container 14. A memory 17 is provided in the recovery container 14 and stores information related to the recovery amount.SELECTED DRAWING: Figure 1

一种泡沫镍上原位重构γ相氢氧化氧镍催化剂及其制备与应用

NºPublicación:  CN121407128A 27/01/2026
Solicitante: 
西北工业大学
CN_121407128_PA

Resumen de: CN121407128A

本发明属于电极材料技术领域,尤其涉及一种泡沫镍上原位重构γ相氢氧化氧镍催化剂及其制备与应用。制备方法包括:将泡沫镍浸没于0.5~5.0g/L的钼酸铵溶液中超声处理,随后将两者一并置于30~60℃稳定温场中反应得到泡沫镍负载钼酸镍前驱体;将所述前驱体用超纯水超声清洗,再于惰性气体氛围下干燥;将干燥后的前驱体固定为工作电极,KOH为电解液,Pt片为对电极、Ag/AgCl电极为参比电极组成三电极体系,联通电化学工作站后,在1.0~3.0VvsRHE区间循环伏安扫描,完成原位重构,得到目标催化剂。本发明中制备催化剂在碱性电解水析氧反应中活性优异,可有效降低体系能耗,且电子转移效率高、活性位点丰富。

水电解膜电极及其制备方法、电解槽

NºPublicación:  CN121407122A 27/01/2026
Solicitante: 
惠州亿纬氢能有限公司
CN_121407122_PA

Resumen de: CN121407122A

本申请提供一种水电解膜电极及其制备方法、电解槽。水电解膜电极包括依次层叠设置的阳极多孔传输层、阳极催化层、阴离子交换膜、阴极催化层和阴极多孔传输层;阴极催化层包括层叠设置的第三子催化层和第四子催化层,第三子催化层位于第四子催化层朝向阴离子交换膜的一侧;其中,第一子催化层的接触角大于第二子催化层的接触角,第三子催化层的接触角小于第四子催化层的接触角。通过分别在阳极催化层与阴极催化层中设置分层结构,能够在水电解膜电极中构建指向阳极多孔传输层和阴极多孔传输层的定向气液传输通道,能够确保反应物和产物的快速传输,极大抑制了大电流下的浓差极化,从而确保水电解膜电极在大电流密度下运行时具有理想的表现。

NiFe基LDH催化剂及其制备方法和应用

Nº publicación: CN121407130A 27/01/2026

Solicitante:

中国科学院长春应用化学研究所

CN_121407130_A

Resumen de: CN121407130A

本发明涉及电催化领域,具体是NiFe基LDH催化剂及其制备方法和应用。本发明提供的制备方法,创新性地在不需要外加pH调节剂条件下,运用简单的一步水热法制备得到NiFe基LDH催化剂,通过向NiFe LDH中引入金属M,诱导NiFe LDH金属间的电荷共享,降低反应能垒、稳定活性位点、促进碱性OER反应动力学的同时增强了催化剂的运行中长期稳定性,不仅实现了催化剂在AEMWE器件中低电解槽电压条件下的大电流,而且实现了大电流下的长期稳定运行,在500 mA/cm2的大电流下进行AEMWE电解水达4750 h仍然未见明显衰减,极大提升了AEMWE电解水技术的商业应用前景。

traducir