Ministerio de Industria, Turismo y Comercio LogoMinisterior
 

Alerta

Resultados 31 resultados
LastUpdate Última actualización 04/02/2026 [07:19:00]
pdfxls
Solicitudes publicadas en los últimos 180 días / Applications published in the last 180 days
Resultados 1 a 25 de 31 nextPage  

SEALING CAP AND CLOSURE COMPRISING THE SAME

NºPublicación:  US20260021944A1 22/01/2026
Solicitante: 
AIRNOV INC [US]
AIRNOV, INC
US_20260021944_PA

Resumen de: US20260021944A1

A sealing cap, which engages a neck of a bottle, including a top wall from which extend a sidewall and a sealing skirt. The sidewall includes a cap thread to be screwed onto a neck thread of the neck of the bottle around a screwing axis. The sealing skirt includes an inclined sealing surface to be pressed against a corresponding surface of the neck on an opposite side from the surface including the neck thread, upon screwing the cap thread onto the neck thread. The inclined sealing surface is formed by a wall of the sealing skirt surrounding a cavity. An inclination angle between the inclined sealing surface and the screwing axis is between 7° and 25°. An axial length of the cap thread, taken parallel to the screwing axis, is higher than or equal to 1.5 times a pitch of the cap thread.

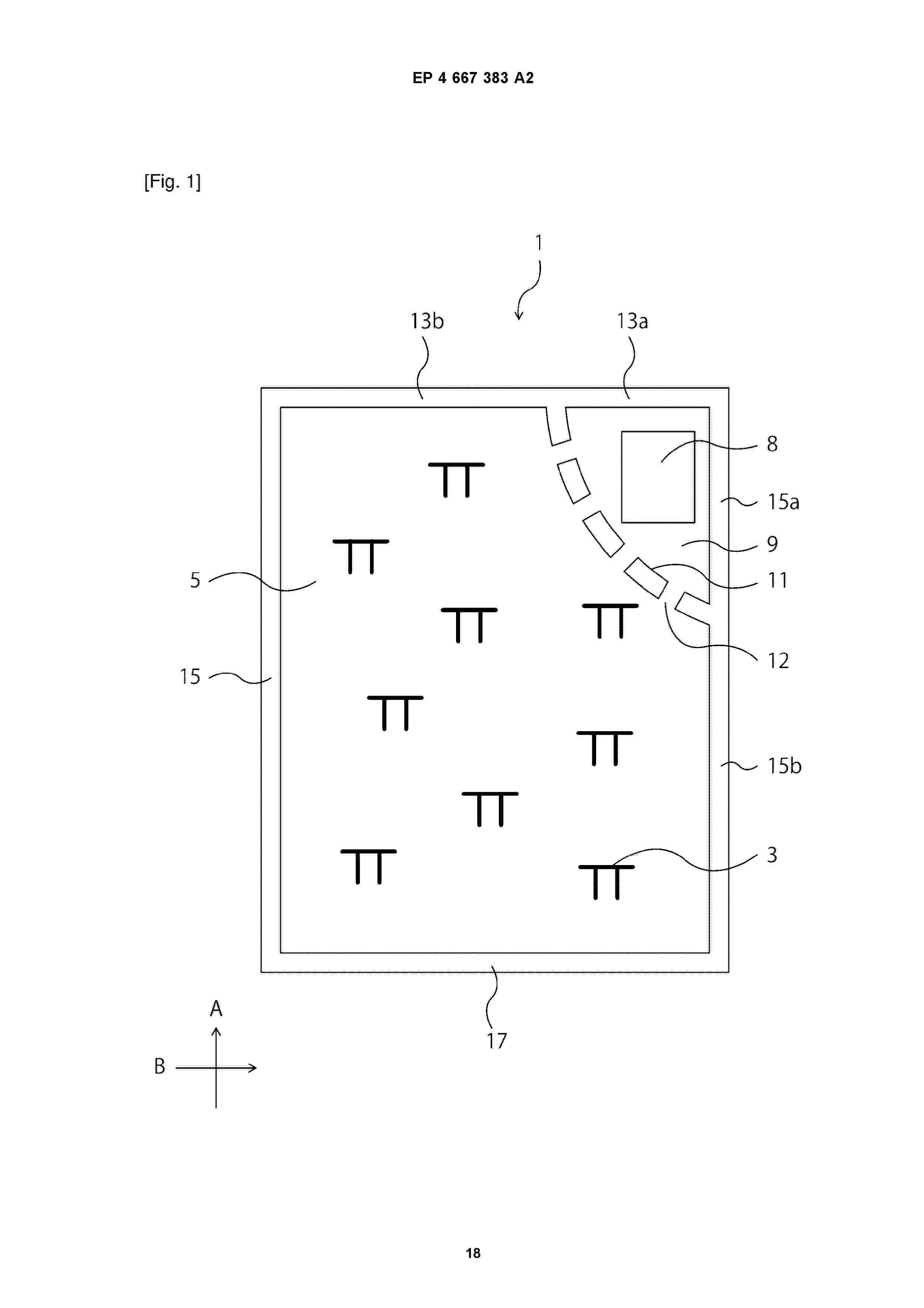
PACKAGE OF MEDICAL RUBBER PRODUCT AND STERILIZATION TREATMENT METHOD THEREOF

NºPublicación:  EP4667383A2 24/12/2025
Solicitante: 
SUMITOMO RUBBER IND [JP]
Sumitomo Rubber Industries, Ltd
EP_4667383_A2

Resumen de: EP4667383A2

Problem to be solved An object of the present invention is to provide a novel package having a medical rubber product stored therein and capable of keeping the oxygen therein at a predetermined concentration or lower. Another object of the present invention is to make it possible to visually confirm the oxygen concentration in the package, thereby facilitating quality assurance by sterilization treatment.Solution to solve problem The present invention is a package having a medical rubber product sealed therein, wherein the package is formed of an oxygen impermeable packaging material and has a first space section and a second space section, the first space section has the medical rubber product stored therein, the second space section has an oxygen detecting agent stored therein, the oxygen detecting agent changes a color tone depending upon an oxygen concentration, and the first space section and the second space section are divided by an oxygen permeable divider.

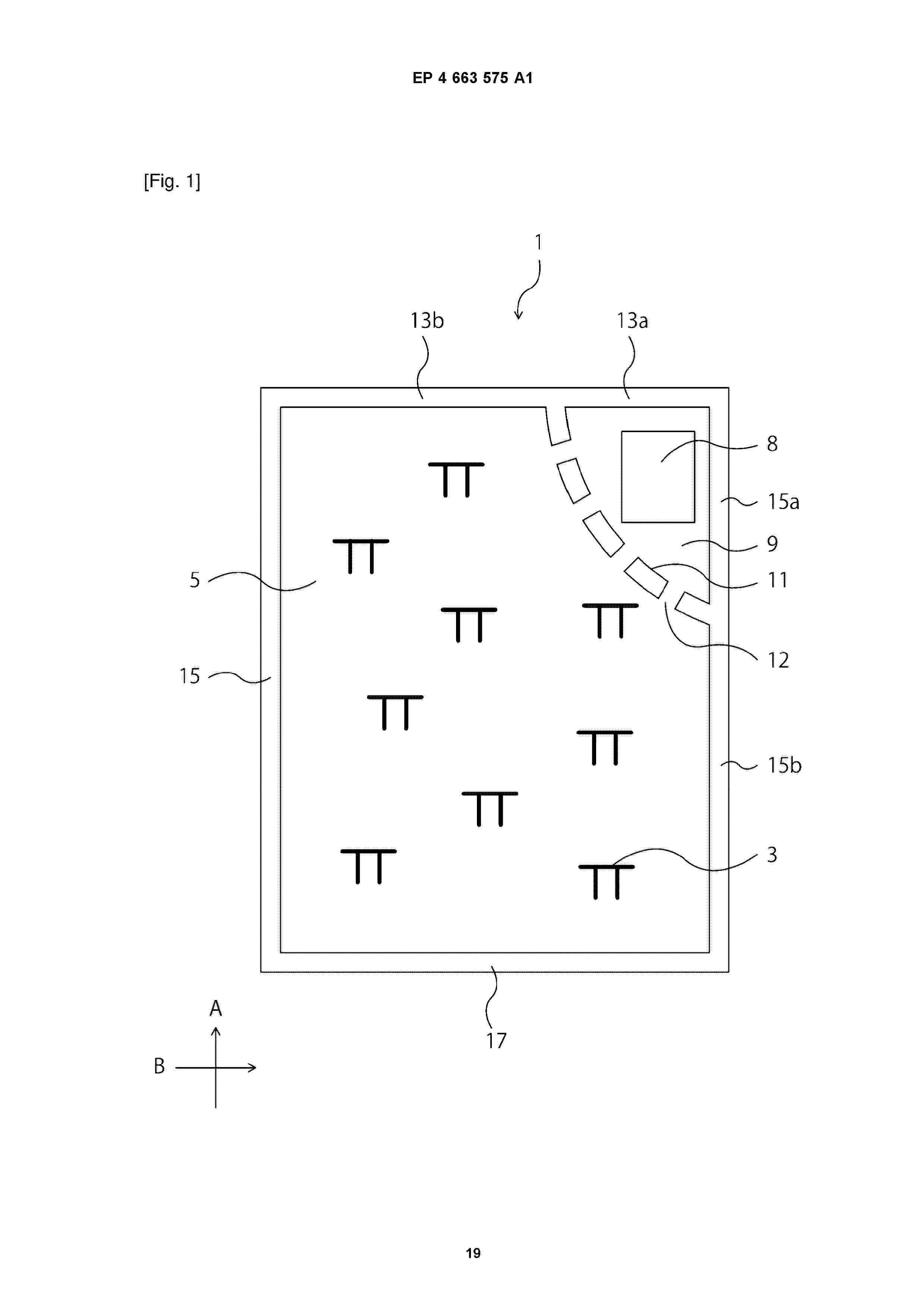
PACKAGED BODY OF RUBBER PRODUCT FOR MEDICAL USE, AND METHOD FOR STERILIZING SAME

NºPublicación:  EP4663575A1 17/12/2025
Solicitante: 
SUMITOMO RUBBER IND [JP]
SUMITOMO RUBBER INDUSTRIES, LTD
EP_4663575_A1

Resumen de: EP4663575A1

Problem to be solved An object of the present invention is to provide a novel package having a medical rubber product stored therein and capable of keeping the oxygen therein at a predetermined concentration or lower. Another object of the present invention is to make it possible to visually confirm the oxygen concentration in the package, thereby facilitating quality assurance by sterilization treatment.Solution to solve problem The present invention is a package having a medical rubber product sealed therein, wherein the package is formed of an oxygen impermeable packaging material and has a first space section and a second space section, the first space section has the medical rubber product stored therein, the second space section has an oxygen detecting agent stored therein, the oxygen detecting agent changes a color tone depending upon an oxygen concentration, and the first space section and the second space section are divided by an oxygen permeable divider.

VACUUM FOOD STORAGE BARREL

NºPublicación:  US2025368421A1 04/12/2025
Solicitante: 
SHENZHEN UAH TECH CO LTD [CN]
SHENZHEN UAH TECHNOLOGY CO., LTD
US_2025368421_PA

Resumen de: US2025368421A1

A vacuum food storage barrel includes a vacuum pump assembly, an induction assembly, a barrel lid, and a barrel body provided with a storage space. The barrel lid is rotatably installed on the barrel body and used for covering the storage space; the vacuum pump assembly and the introduction assembly are both installed on the barrel lid, and the vacuum pump assembly and the introduction assembly are electrically connected; and the induction assembly is used for pumping the storage space into a vacuum state through the vacuum pump assembly when the barrel lid is lifted on the barrel body. According to the present application, the vacuum pump assembly can be automatically triggered in the process of closing the barrel lid, eliminating the need to manually press buttons. The vacuum food storage barrel offers enhanced convenience and user experience.

SEALING CAP AND CLOSURE COMPRISING THE SAME

NºPublicación:  EP4655219A1 03/12/2025
Solicitante: 
AIRNOV INC [US]
Airnov, Inc
CN_120584079_PA

Resumen de: CN120584079A

A sealing cap (4) configured to engage with a threaded neck of a bottle includes a top wall (43) from which a side wall (41) and a sealing skirt (46) extend. The side wall (41) comprises a cap thread (44) configured to be screwed onto the neck thread about a screwing axis (X1). The sealing skirt (46) includes an inclined sealing surface (47) configured to press against a corresponding surface of the neck on a side opposite the surface including the neck thread when the cap thread (44) is screwed onto the neck thread, the inclined sealing surface (47) being formed by a wall of the sealing skirt (46) surrounding the cavity. The inclination angle (alpha) between the inclined sealing surface (47) and the screwing axis (X1) is selected to be between 7 DEG and 25 DEG, and the axial length (hT) of the cap thread (44) taken parallel to the screwing axis (X1) is higher than or equal to 1.5 times the pitch (p) of the cap thread.

TAMPER-EVIDENT CLOSURE

NºPublicación:  US2025361064A1 27/11/2025
Solicitante: 
AIRNOV INC [US]
AIRNOV, INC
US_2025361064_PA

Resumen de: US2025361064A1

A tamper-evident closure including an outer cap with a sidewall and a top wall; an inner cap with a sidewall and a top wall, coaxially nested in the outer cap; a safety strip arranged between the outer cap and the inner cap to block at least one degree of freedom of relative movement of the outer and inner caps, wherein the safety strip is integrally made with one cap and connected thereto by a frangible structure; a first engagement mechanism between the safety strip and the other cap, to drive the caps in unison in a screwing direction to mount the closure on the container; a second engagement mechanism between the caps, to drive the caps in unison in an unscrewing direction (R2) to remove the closure from the container, wherein the second engagement mechanism is activatable when the safety strip has been removed.

HEAT STABLE LIQUID ANALYTICAL REAGENTS

NºPublicación:  EP4651995A1 26/11/2025
Solicitante: 
TAYLOR WATER TECH LLC [US]
Taylor Water Technologies LLC
US_2024246081_PA

Resumen de: US2024246081A1

An apparatus for prolonging the stability of a liquid analytical reagent, even under high temperature storage is provided. The apparatus includes a first barrier forming all or a portion of an exterior of the apparatus, and a second barrier forming all or part of a second section within the apparatus. The first barrier includes a material having a permeability to oxygen of less than 50 cc/m2/24 hours, and the second barrier includes a material having a permeability to oxygen of 50 cc/m2/24 hours or more. A liquid analytical reagent is contained within the second section and an oxygen scavenger is separated from the liquid analytic reagent by the second barrier.

ANISOTROPIC CONDUCTIVE ELASTIC MATERIAL INCLUDING LIQUID METAL PARTICLES AND ITS MANUFACTURING METHOD

NºPublicación:  US2025357018A1 20/11/2025
Solicitante: 
MIDAS H & T INC [KR]
POSTECH ACADEMY IND FOUNDATION [KR]
MIDAS H & T INC,
POSTECH ACADEMY-INDUSTRY FOUNDATION
JP_2025518499_PA

Resumen de: US2025357018A1

The present invention relates to a stretchable anisotropic conductive film containing liquid metal particles and a manufacturing method therefor. The stretchable anisotropic conductive film according to the present invention includes: a stretchable base material; and a liquid metal portion formed and arranged within the stretchable base material.

POROUS COATINGS COMPRISING MINERALS AND AN OXYGEN SCAVENGER FOR IMPROVING FOOD SHELF LIFE

NºPublicación:  US2025353658A1 20/11/2025
Solicitante: 
OMYA INT AG [CH]
Omya International AG
JP_2025523717_PA

Resumen de: US2025353658A1

The present invention relates to a kit for improving food shelf life comprising a sheet-like element component and an alkaline component. The sheet-like element component comprises a particulate filler comprising a mineral a binder and an oxygen scavenger. The oxygen scavenger is a compound comprising at least two phenolic hydroxyl groups, which can be deprotonated by the alkaline component, thus activating the oxygen scavenger. Further aspects of the present invention relate to an activated sheet-like element formed from the inventive kit, a process for the manufacture of a kit for improving shelf life, a process for the manufacture of a sheet-like element component, a process for activating the sheet-like element component, a supply device comprising the activated sheet-like element, a food packaging comprising the activated sheet-like element and the use of the kit or the activated sheet-like element in a food packaging and for prolonging food shelf life.

ARTICLE AND METHOD OF MAKING

NºPublicación:  WO2025231124A1 06/11/2025
Solicitante: 
SAINT GOBAIN PERFORMANCE PLASTICS CORP [US]
SAINT-GOBAIN PERFORMANCE PLASTICS CORPORATION
WO_2025231124_PA

Resumen de: WO2025231124A1

The subject application relates to an article and method of making. An article includes a polymer composition, the polymer composition including a silicone elastomer and a hydrogen peroxide degradation catalyst.

BEVERAGE SEALING CAP

NºPublicación:  US2025333221A1 30/10/2025
Solicitante: 
STASIS PRESERVATION LLC [US]
STASIS PRESERVATION LLC
US_2025333221_PA

Resumen de: US2025333221A1

A beverage sealing cap that absorbs oxygen keeps a bottled beverage, such as a bottle of wine, fresh after opening and re-sealing. The beverage sealing cap is made with a thermoplastic elastomer stopper containing an oxygen absorber. When inserted into an opened beverage bottle, the stopper seals the bottle to prevent ingress of air, while the oxygen absorber removes the oxygen present in the air inside the bottle. As a result, the contents of the bottle are preserved in a fresh state, avoiding degradation of flavor and waste due to spoilage.

PACKAGING ELEMENT AND MEDICAL CONSUMABLE KIT

NºPublicación:  WO2025224004A1 30/10/2025
Solicitante: 
F HOFFMANN LA ROCHE AG [CH]
ROCHE DIAGNOSTICS GMBH [DE]
ROCHE DIAGNOSTICS OPERATIONS INC [US]
F. HOFFMANN-LA ROCHE AG,
ROCHE DIAGNOSTICS GMBH,
ROCHE DIAGNOSTICS OPERATIONS, INC
WO_2025224004_PA

Resumen de: WO2025224004A1

A packaging element (110) for packaging medical consumables (112) is disclosed. The packaging element (110) comprises: a. at least one carrier sheet component (114) having formed therein at least one cavity (116) and having at least one rim (118) at least partially surrounding the cavity (116); b. at least one barrier (120); and c. at least one sealing sheet material (122) configured for being coupled at least partially to the rim (118) of the at least one carrier sheet component (114) and for sealing the at least one cavity (116), - wherein the at least one cavity (116) comprises at least one consumable compartment (124) for receiving the medical consumable (112) and at least one desiccant compart- ment (126) for receiving at least one desiccant (128), and - wherein the consumable compartment (124) and the desiccant compartment (126) are separated via the at least one barrier (120), the barrier (120) preventing desiccant (128) from entering the consumable compartment (124) and the barrier (120) allowing for water vapor moving from the consumable compartment (124) to the desiccant compartment (126). Further disclosed are a medical consumable kit (140), a method of manufacturing the medical consumable kit (140) and a use of the packaging element (110).

LAMINATE FILM, PACKAGE, AND METHODS FOR OXYGEN-SENSITIVE MATERIALS

NºPublicación:  US2025332822A1 30/10/2025
Solicitante: 
ADVANSIX RESINS & CHEMICALS LLC [US]
AdvanSix Resins & Chemicals LLC
US_2025332822_PA

Resumen de: US2025332822A1

The present disclosure provides a laminate film for protecting oxygen-sensitive materials. The laminate film includes an ethylene vinyl alcohol polymer layer and an oxygen scavenging layer. The oxygen scavenging layer includes a first polyamide, a second polyamide, and a metal salt catalyst. The first polyamide includes a crystallizable polyamide homopolymer, a crystallizable polyamide copolymer, or a blend thereof. The second polyamide includes an m-xylylene diamine moiety, an isophthalic acid moiety, and a polyamide monomeric diacid precursor moiety.

ARTICLE AND METHOD OF MAKING

NºPublicación:  US2025333577A1 30/10/2025
Solicitante: 
SAINT GOBAIN PERFORMANCE PLASTICS CORP [US]
SAINT-GOBAIN PERFORMANCE PLASTICS CORPORATION
US_2025333577_PA

Resumen de: US2025333577A1

The subject application relates to an article and method of making. An article includes a polymer composition, the polymer composition including a silicone elastomer and a hydrogen peroxide degradation catalyst.

CONTAINER FOR STORING ADDITION-CURING LIQUID SILICONE COMPOSITION

NºPublicación:  EP4628423A1 08/10/2025
Solicitante: 
SHINETSU CHEMICAL CO [JP]
SHIN-ETSU CHEMICAL CO., LTD
EP_4628423_PA

Resumen de: EP4628423A1

This container stores an addition-curing liquid silicone composition that contains a platinum catalyst that is activated by contact with the atmosphere, but is inactive in an atmosphere having a humidity of 5% RH or less and an oxygen concentration of 0.1 volume% or less. In the presence of this platinum catalyst that has undergone activation in the atmosphere, the addition-curing liquid silicone composition undergoes crosslinking and curing by a hydrosilylation addition reaction. The container has this addition-curing liquid silicone composition sealed (filled) thereinto, and the container comprises: a first sealing structure having a sealing part provided by sealing an inlet opening through which the addition-curing liquid silicone composition is introduced; a second sealing structure, that is a film that covers at least the entire sealing part of the first sealing structure or covers the entire first sealing structure, to further seal the sealing part; and a member having the ability to consume and remove the oxygen and moisture incidentally present between the first sealing structure and the second sealing structure. The storability of an aerobically curable addition-curing liquid silicone composition can thereby be improved.

Coating Formulation, an Article and Methods to Prepare the Same

NºPublicación:  US2025303387A1 02/10/2025
Solicitante: 
AGENCY FOR SCIENCE TECH AND RESEARCH [SG]
AGENCY FOR SCIENCE, TECHNOLOGY AND RESEARCH
JP_2021534273_A

Resumen de: US2025303387A1

There is provided a coating formulation comprising an inorganic oxygen scavenger, a surfactant, an activator, a hydrophilic agent, optionally an additive and a plurality of monomers capable of forming a polymeric matrix, and a method to prepare the same. There is also provided an article comprising an inorganic scavenger, a surfactant, an activator, a hydrophilic agent and optionally an additive dispersed within a polymeric matrix, and a method to prepare the same.

A CONTAINER AND A METHOD OF MANUFACTURING THE SAME

NºPublicación:  WO2025196055A1 25/09/2025
Solicitante: 
AIRNOV INC [US]
AIRNOV, INC

Resumen de: WO2025196055A1

This disclosure relates to a container comprising an internal chamber for receiving sensitive products. The internal chamber is delimited by a wall consisting of three or more layers. The three or more layers comprise an outer layer configured to be in contact with an external atmosphere surrounding the container and an active structure arranged inwards from the outer layer. The outer layer comprises a base polymer in an amount of at least 95 wt%. The active structure comprises a first active layer comprising a base polymer and active material (s), the first active layer comprising a first wt % amount C1 of said active material (s), and a second active layer comprising all the materials present in the other layers of the wall of the container, in an amount of at least 95 wt%, the second active layer comprising a second wt% amount C2 of said active material (s), wherein the second wt% amount C2 is smaller than the first wt% amount C1.

BLISTER PACK

NºPublicación:  WO2025196056A1 25/09/2025
Solicitante: 
AIRNOV INC [US]
AIRNOV, INC
EP_4620857_PA

Resumen de: WO2025196056A1

This blister pack comprises a blister film having at least one recess for a consumable product, each recess having a connecting channel extending therefrom, the blister film having a sealing surface which extends about the periphery of each recess and connecting channel. A lidding film is sealed to the blister film. The blister pack further comprises an active film comprising a base polymer and an active material, which is received on the blister film without covering the at least one recess, in such a way that each recess is connected by a connecting channel to an active surface portion of the active film. The active film is in contact with the sealing surface of the blister film in at least one contact region outside the or each active surface portion. In the sealed configuration of the blister pack, the lidding film is sealed to the sealing surface of the blister film at least around the periphery of the blister pack and the active film is sealed between the lidding film and the blister film in at least part of the at least one contact region.

BLISTER PACK

NºPublicación:  EP4620857A1 24/09/2025
Solicitante: 
AIRNOV INC [US]
Airnov, Inc
EP_4620857_PA

Resumen de: EP4620857A1

This blister pack comprises a blister film (3) having at least one recess (32) for a consumable product (2), each recess (32) having a connecting channel (38) extending therefrom, the blister film having a sealing surface (31) which extends about the periphery of each recess and connecting channel. A lidding film (4) is sealed to the blister film (3). The blister pack further comprises an active film (5) comprising a base polymer and an active material, which is received on the blister film (3) without covering the at least one recess (32), in such a way that each recess (32) is connected by a connecting channel (38) to an active surface portion (56a, 56b) of the active film. The active film (5) is in contact with the sealing surface (31) of the blister film in at least one contact region (51) outside the or each active surface portion (56a, 56b). In the sealed configuration of the blister pack, the lidding film (4) is sealed to the sealing surface (31) of the blister film (3) at least around the periphery of the blister pack and the active film (5) is sealed between the lidding film (4) and the blister film (3) in at least part of the at least one contact region (51).

CARRY BAG WITH MOISTURE REMOVAL MECHANISM

NºPublicación:  US2025289643A1 18/09/2025
Solicitante: 
RHONOMUS SR STEVEN J [US]
Rhonomus, SR. Steven J
US_2025289643_PA

Resumen de: US2025289643A1

A carry bag is disclosed with an integrated dehumidifying device mounted at its base. The device includes a top aerated plate that allows moisture-laden air from the bag's interior to pass through into a desiccant compartment containing moisture-absorbing materials such as silica gel and bamboo charcoal. Drain holes near the periphery of the plate channel liquid through drainage tubes or aligned holes to a bottom plate with perforations. A bottom lid encloses the device. The system reduces humidity within the bag, protects contents such as sporting equipment from rust and mold, and provides a rigid, elevated base with easy maintenance access.

BLOWN FILMS WITH ACTIVE AGENT AND METHODS OF MAKING THE SAME

NºPublicación:  US2025289934A1 18/09/2025
Solicitante: 
CSP TECHNOLOGIES INC [US]
CSP TECHNOLOGIES, INC
US_2025289934_PA

Resumen de: US2025289934A1

Provided herein is a blown film material comprising base polymer and an active agent that acts on, interacts or reacts with a selected material. The active agent may be a desiccant material capable of absorbing moisture. The resulting blown film material will have useful applications. Also provided herein are related methods of manufacture.

OXYGEN ABSORBENT MATERIAL AND METHOD FOR STORING ARTICLE

NºPublicación:  US2025281901A1 11/09/2025
Solicitante: 
MITSUBISHI GAS CHEMICAL COMPANY INC [JP]
MITSUBISHI GAS CHEMICAL COMPANY, INC
KR_20250009969_PA

Resumen de: US2025281901A1

Provided are: an oxygen absorbent material containing a base material (I), an inorganic layer (II), and a cured product layer (III) of an epoxy resin composition containing an epoxy resin and an epoxy resin curing agent that includes an amine-based curing agent, where the inorganic layer (II) and the cured product layer (III) are adjacent to each other; and a method for storing an article, the method including an aspect in which the article is accommodated in a packaging material in which the oxygen absorbent material described above is enclosed, and/or an aspect in which the article is accommodated in a packaging material at least partially including the oxygen absorbent material described above, and the packaging material has an oxygen transmission rate of 1 cc/(m2·day·atm) or less.

Anaerobic Blood Storage Containers

NºPublicación:  US2025268792A1 28/08/2025
Solicitante: 
HEMANEXT INC [US]
Hemanext Inc
US_2025268792_PA

Resumen de: US2025268792A1

A blood storage container for the anaerobic storage of blood, having enhanced scaling methods and materials for the preservation of stored blood is provided.

FOOD STORAGE CONTAINER AND REFRIGERATOR COMPRISING SAME

NºPublicación:  EP4606286A1 27/08/2025
Solicitante: 
SAMSUNG ELECTRONICS CO LTD [KR]
Samsung Electronics Co., Ltd
EP_4606286_A1

Resumen de: EP4606286A1

A food storage container including a case having an open side and forming a storage space and a case cover configured to be detachably coupled to the case so that, when coupled to the case, the case cover covers the open side of the case and seals the storage space, the case cover including a receiving portion forming a receiving space configured to accommodate a gas absorbent, and having a discharge hole between the receiving space and the storage space, a valve to open and close the discharge hole in response to a pressure inside the storage space, and a receiving portion cover configured to be detachably coupled to the receiving portion so that, when coupled to the receiving portion, the receiving portion cover seals the receiving space, wherein a gas flowing from the storage space through the discharge hole to the receiving space is adsorbed by the gas absorbent.

SCAVENGING OXYGEN

Nº publicación: EP4605318A1 27/08/2025

Solicitante:

COLORMATRIX HOLDINGS INC [US]
Colormatrix Holdings, Inc

KR_20250087678_PA

Resumen de: CN120019001A

The present invention relates to a formulation for scavenging oxygen comprising: (A) an oxygen scavenging copolymer; and (B) an oil, wherein the oil is selected from, for example, olive oil, macadimia nut oil, avocado oil, patatile oil, Chile hazel oil and/or an oil comprising at least 20% glyceryl oleate.

traducir