Ministerio de Industria, Turismo y Comercio LogoMinisterior
 

Alerta

Resultados 41 resultados
LastUpdate Última actualización 28/11/2025 [07:12:00]
pdfxls
Solicitudes publicadas en los últimos 180 días / Applications published in the last 180 days
previousPage Resultados 25 a 41 de 41  

ATMOSPHERE CONTROL DEVICE

NºPublicación:  WO2025163145A1 07/08/2025
Solicitante: 
AIRNOV INC [US]
LOGEL VALERE [FR]
AIRNOV, INC,
LOGEL, Val\u00E8re
WO_2025163145_PA

Resumen de: WO2025163145A1

This atmosphere control device (1), intended for regulating an atmosphere in a packaging or a medical device containing sensitive or odorous products, comprises a gas-permeable envelope (10) defining a chamber (13), the chamber (13) having in its inner volume a particulate mixture (6) comprising at least a first active substance (61) in particulate form having relatively large particles and a second active substance (62) in particulate form having relatively small particles. The particle size distribution of the particulate mixture (6) is such that the graph of the cumulative particle size distribution by mass Q3(x) of the particulate mixture includes, between the 3% percentile d3 and the 97% percentile d97, a portion in which the cumulative mass is increased by less than 10%, preferably less than 5%, when the particle size x is doubled.

INTERLAYER FOR LAMINATED GLASS AND METHOD FOR PRODUCING SAME, AND LAMINATED GLASS AND METHOD FOR PRODUCING SAME

NºPublicación:  US2025249663A1 07/08/2025
Solicitante: 
SEKISUI CHEMICAL CO LTD [JP]
SEKISUI CHEMICAL CO., LTD
MX_2024012165_A

Resumen de: US2025249663A1

Provided is an interlayer film for laminated glass capable of 1) suppressing generation of double images, 2) suppressing color irregularities, and 3) keeping the haze value small in laminated glass. The interlayer film for laminated glass according to the present invention has one end and the other end, and when a distance between the one end and the other end is referred to as X, the thickness of the interlayer film at an arbitrary position (1) of the interlayer film within a region of 0.1X to 0.9X from the one end toward the other end, the thickness of the interlayer film at a position (2) where the thickness of the interlayer film is smaller than the thickness of the interlayer film at the position (1) within a region of 0.1X to 0.9X from the one end toward the other end by 25 μm or more, the visible light transmittance at the position (1) of the laminated glass including the interlayer film, and the visible light transmittance at the position (2) of the laminated glass including the interlayer film satisfy specific relationships.

FRESH-KEEPING STRUCTURE

NºPublicación:  US2025235052A1 24/07/2025
Solicitante: 
ZEROPLUS TECH CO LTD [TW]
ZEROPLUS TECHNOLOGY CO., LTD
US_2025235052_PA

Resumen de: US2025235052A1

A fresh-keeping structure, which can be combined with a container to form a sealed fresh-keeping device, and the fresh-keeping structure comprising a body, wherein the body has a chamber for placing a preservative, and the chamber communicates with an outside through an opening; a Bluetooth module, wherein the Bluetooth module is provided on the body; and a control module, wherein the control module is provided on the body, the control module includes at least one sensing unit, when the fresh-keeping structure is combined with the container, and the at least one sensing unit can detect environmental indexes in the container and outputs a sensing signal through the Bluetooth module.

MULTI-COMPARTMENT CONTAINER

NºPublicación:  US2025229953A1 17/07/2025
Solicitante: 
ANHUI E LINK PLASTIC IND CO LTD [CN]
Anhui E-link plastic industry Co., LTD

Resumen de: US2025229953A1

A multi-compartment container has a main body, an upper cover, a lower cover, and a base. The base is mounted on a bottom side of the main body. The lower cover is mounted on a top of the main body. The upper cover is rotatably mounted on a top of the lower cover. The main body has multiple compartments symmetrically surrounding a central axis. The lower cover has a central board and multiple flip covers. The flip covers are disposed along edges of the central board, and a location of each one of the flip covers corresponds to a respective one of the compartments of the main body. The upper cover has a flipping notch which corresponds to one of the flip covers, thereby flipping up the flip cover. The multi-compartment container is capable of storing different medications.

TAMPER-EVIDENT CLOSURE

NºPublicación:  AU2023419571A1 17/07/2025
Solicitante: 
AIRNOV INC
AIRNOV, INC
AU_2023419571_PA

Resumen de: WO2024141642A1

This tamper-evident closure (1) comprises: an outer cap (2) with a sidewall (21) and a top wall (23); an inner cap (4) with a sidewall (41) and a top wall (43), coaxially nested in the outer cap; a safety strip (24) arranged between the outer cap (2) and the inner cap (4) so as to block at least one degree of freedom of relative movement of the outer and inner caps (2, 4), the safety strip (24) being integrally made with one cap (2) and connected thereto by a frangible structure (26); a first engagement mechanism between the safety strip (24) and the other cap (4), configured to drive the caps (2, 4) in unison in a screwing direction (R1) in order to mount the closure on the container; a second engagement mechanism (72, 74) between the caps (2, 4), configured to drive the caps (2, 4) in unison in an unscrewing direction (R2) in order to remove the closure from the container, the second engagement mechanism being activatable when the safety strip (24) has been removed.

SEALING CAP AND CLOSURE COMPRISING THE SAME

NºPublicación:  AU2024212792A1 17/07/2025
Solicitante: 
AIRNOV INC
AIRNOV, INC
AU_2024212792_PA

Resumen de: WO2024156740A1

This sealing cap (4), which is configured to engage a threaded neck of a bottle, comprises a top wall (43) from which extend a sidewall (41) and a sealing skirt (46). The sidewall (41) comprises a cap thread (44) configured to be screwed onto the neck thread around a screwing axis (X1). The sealing skirt (46) comprises an inclined sealing surface (47) configured to be pressed against a corresponding surface of the neck on an opposite side from the surface comprising the neck thread, upon screwing the cap thread (44) onto the neck thread, the inclined sealing surface (47) being formed by a wall of the sealing skirt (46) surrounding a cavity. An inclination angle (α) between the inclined sealing surface (47) and the screwing axis (X1) is selected to be between 7° and 25°, and an axial length (hT) of the cap thread (44), taken parallel to the screwing axis (X1), is higher than or equal to 1.5 times the pitch (p) of the cap thread.

ONE OR MORE BLISTER PACKAGES CONTAINING ACTIVE MATERIAL AND METHODS OF MAKING AND USING SAME

NºPublicación:  US2025223093A1 10/07/2025
Solicitante: 
CSP TECH INC [US]
CSP Technologies, Inc
US_2025223093_PA

Resumen de: US2025223093A1

A blister pack having a backing having a first side and an opposing second side. Each of the first and second side is flat or planar. The blister pack can also include a cover having a first side and an opposing second side. At least a portion of the second side of the cover is adhered to the first side of the backing to form a sealed package for containing product. The cover can include at least one blister. The blister pack can also include an active member positioned within each blister. Each active member can be in the form of a ring with an opening extending therethrough or a depression formed therein.

Verschlusselement für einen Behälter oder Vorprodukt für ein solches Verschlusselement, und Verfahren zur Herstellung

NºPublicación:  DE102023136842A1 03/07/2025
Solicitante: 
ILLIG HOLDING GMBH [DE]
ILLIG Holding GmbH
DE_102023136842_PA

Resumen de: DE102023136842A1

Die Erfindung betrifft ein Verschlusselement (12) für einen Behälter oder Vorprodukt (10) für ein solches Verschlusselement, umfassend einen Verschlusskörper (14) mit einer Deckelwandung (16) und einer Seitenwandung (18), die einen Innenraum (20) des Verschlusskörpers definieren, wobei der Verschlusskörper aus einer Folie (100; 200; 300; 400; 500; 600) durch Thermoformen hergestellt ist. Die Folie (200; 300; 400; 500; 600) umfasst mehrere Folienlagen (201, 202; 301, 302; 401, 402; 501, 502, 503; 601, 602, 603) aus einem oder mehreren thermoplastischen Materialien umfasst; und/oder die Folie (100), oder mindestens eine Folienlage (201; 501) der Folie (200; 500), ist aus einem geschäumten thermoplastischen Material gebildet.

PACKAGED, SEALED CONTAINER SYSTEM FOR STABLE STORAGE OF AN OXYGEN SENSITIVE PHARMACEUTICAL FORMULATION

NºPublicación:  US2025195456A1 19/06/2025
Solicitante: 
BAXTER INT INC [US]
BAXTER HEALTHCARE SA [CH]
Baxter International Inc,
Baxter Healthcare SA
US_2025195456_A1

Resumen de: US2025195456A1

A packaged, sealed container system for stable storage of a formulation of an oxygen-sensitive pharmaceutical compound, the packaged, sealed container system comprising a primary container including therein a formulation of an oxygen-sensitive pharmaceutical compound, a secondary outer container comprising a first flexible sheet layer, an opposing second flexible sheet layer, and a seal disposed along a common peripheral edge of the first and second flexible sheet layers, such that the primary container is disposed between and enclosed by the first and second flexible sheet layers of the secondary outer container. An oxygen scavenger is also disposed between and enclosed by the first and second flexible sheet layers of the secondary outer container. The oxygen scavenger is in fluid communication with the contents of the primary container.

SMOKING CESSATION COMPOUNDS HAVING REDUCED NITROSAMINES AND ASSOCIATED METHODS

NºPublicación:  WO2025128716A1 19/06/2025
Solicitante: 
ACHIEVE LIFE SCIENCES INC [US]
ACHIEVE LIFE SCIENCES, INC
US_2025186416_PA

Resumen de: WO2025128716A1

Provided herein is a pharmaceutical composition comprising cytisine and a nitrite scavenger, wherein, upon storage of the composition at about 60 ºC, the amount of N-nitrosocytisine relative to a total weight of cytisine is 4.2 ng/mg or less after about 30 days. A method of manufacturing a cytisine tablet is also provided.

OXYGEN SCAVENGER PACKAGING MATERIAL AND OXYGEN SCAVENGER PACKAGE

NºPublicación:  US2025197077A1 19/06/2025
Solicitante: 
MITSUBISHI GAS CHEMICAL COMPANY INC [JP]
MITSUBISHI GAS CHEMICAL COMPANY, INC
KR_20240170805_PA

Resumen de: US2025197077A1

An oxygen scavenger packaging material includes, in this order, an inner layer containing a thermoplastic resin, an intermediate layer containing an oil-resistant paper, and an outer layer containing a thermoplastic resin, the oil-resistant paper containing no fluorine; and the oxygen scavenger packaging material includes an inner side air hole that passes through the inner layer and the intermediate layer, and an outer side air hole that passes through the outer layer.

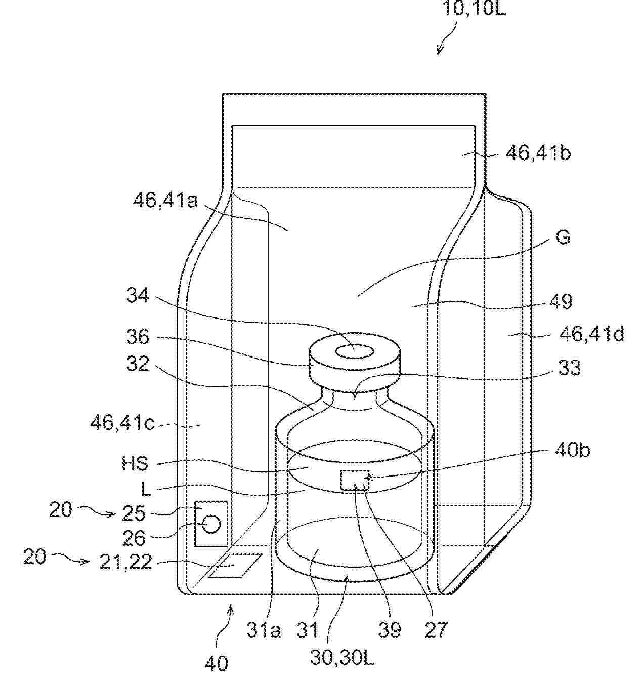
LIQUID-FILLED COMBINATION CONTAINER, INSPECTION METHOD, AND MANUFACTURING METHOD FOR LIQUID-FILLED COMBINATION CONTAINER

NºPublicación:  CA3253697A1 14/06/2025
Solicitante: 
DAINIPPON PRINTING CO LTD [JP]
DAI NIPPON PRINTING CO., LTD
US_2025058955_PA

Resumen de: CA3253697A1

This liquid-filled combination container is equipped with: a container which stores a liquid in a storage section and has oxygen permeability; a barrier container which stores the container and has oxygen barrier properties; one or more oxygen reactants which can react with oxygen inside the barrier container; and a fluorescent material, the fluorescence duration or fluorescence intensity of which differs in response to the oxygen concentration in the periphery. The oxygen reactant is secured to the outer surface of the container and/or to the inner surface of the barrier container. The fluorescent material is provided to the inner surface at a fluorescent material installation position which is separated from the storage section of the container.

OXYGEN SCAVENGER COMPOSITION, OXYGEN SCAVENGER PACKAGE, AND METHOD FOR MANUFACTURING OXYGEN SCAVENGER PACKAGE

NºPublicación:  US2025186966A1 12/06/2025
Solicitante: 
MITSUBISHI GAS CHEMICAL COMPANY INC [JP]
MITSUBISHI GAS CHEMICAL COMPANY, INC
US_2025186966_A1

Resumen de: US2025186966A1

There is provided an oxygen scavenger composition comprising iron, a metal salt, and water, wherein the content of water per unit surface area of the iron present on the surface of the iron, the content of water present on the surface of the iron (g)/{the content of the iron (g)×the specific surface area of the iron (m2/g)}, is more than 2.00 g/m2 and 3.50 g/m2 or less.

SMOKING CESSATION COMPOUNDS HAVING REDUCED NITROSAMINES AND ASSOCIATED METHODS

NºPublicación:  US2025186416A1 12/06/2025
Solicitante: 
ACHIEVE LIFE SCIENCES INC [US]
Achieve Life Sciences, Inc
US_2025186416_A1

Resumen de: US2025186416A1

Provided herein is a pharmaceutical composition comprising cytisine and a nitrite scavenger, wherein, upon storage of the composition at about 60° C., the amount of N-nitrosocytisine relative to a total weight of cytisine is 4.2 ng/mg or less after about 30 days. A method of manufacturing a cytisine tablet is also provided.

CLOSURE DEVICE AND METHOD FOR PRESERVING OXIDIZABLE PRODUCTS

NºPublicación:  US2025178805A1 05/06/2025
Solicitante: 
LIOW CHANG CHYAN [US]
LIOW Chang Chyan
US_2025178805_PA

Resumen de: US2025178805A1

A closure device for a container to provide a combined protection of inert gas and oxygen scavenger methods. The closure device comprises a body, a fastening member, one or more plurality of protrusions, a blister, a hollow shaft, and a seal member. The closure device is removably coupled to an open end of the container through a fastening assembly. The fastening assembly includes at least one of friction fit, a snap fit, a screw fit, or any of a variety of fastening mechanisms. The closure device provides a combined protection of inert gas and oxygen scavenger methods. This is beneficial because it prevents nutritional and organoleptic degradation processes of wine through oxidation while aids to preserve the fruitier and fresher aromas and flavors of the wine. The closure device is designed to fit snugly over the neck of the bottle and create an airtight seal.

BLOW MOLDED CONTAINERS AND METHODS OF MAKING THE SAME

Nº publicación: US2025178265A1 05/06/2025

Solicitante:

CSP TECH INC [US]
CSP TECHNOLOGIES, INC

US_2025178265_PA

Resumen de: US2025178265A1

A container, e.g., bottle, is formed by a blow molding process. The container includes a base and a sidewall extending from the base. The base and the sidewall define an interior configured to house at least one product. At least one of the sidewall and the base has a barrier layer and a desiccant layer attached to the barrier layer. The barrier layer and the desiccant layer are each blow molded together. The barrier layer is located external relative to the desiccant layer and is made of a plastic material. The desiccant layer is made of a monolithic composition comprising a mixture of a base polymer, a desiccant, and a channeling agent.

traducir