Ministerio de Industria, Turismo y Comercio LogoMinisterior
 

Alerta

Resultados 46 resultados
LastUpdate Última actualización 13/01/2026 [07:02:00]
pdfxls
Solicitudes publicadas en los últimos 60 dias/ Patent applications published in the last 60 days
previousPage Resultados 25 a 46 de 46  

Taktile Strukturen auf Wertgegenständen

NºPublicación:  DE102024114397A1 27/11/2025
Solicitante: 
GIESECKE & DEVRIENT CURRENCY TECHNOLOGY GMBH [DE]
Giesecke+Devrient Currency Technology GmbH
EP_4653204_PA

Resumen de: DE102024114397A1

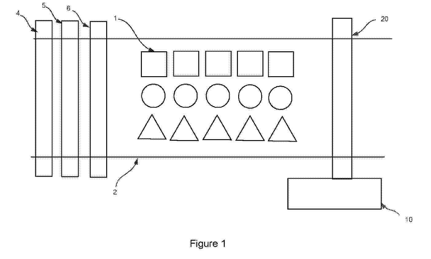
Die Erfindung betrifft ein Sicherheitselement für einen Wertgegenstand aus einem Substrat, insbesondere eine Banknote, ein Label für die Produktsicherung oder eine Umverpackung, wobei das Sicherheitselement aus einem Substrat besteht, auf das eine taktil erfassbare Struktur gedruckt ist. Erfindungsgemäß besteht die taktil erfassbare Struktur aus einem ersten optisch erkennbaren Druckelement in Form einer Farbschicht, die mindestens teilweise auf das Substrat des Sicherheitselements aufgedruckt ist, und einem zweiten taktil erfassbaren Druckelement in Form einer Farbschicht, wobei das zweite Druckelement auf dem ersten Druckelement angeordnet ist und das erste Druckelement nur teilweise bedeckt. Das erste Druckelement bildet hierbei eine optisch erkennbare Grundfläche, auf der das zweite Druckelement angeordnet ist, wobei sich insgesamt eine Druckelement ergibt, das aus einer Grundfläche besteht, die durch das erste Druckelementgebildet wird, wobei die Grundfläche das zweite Druckelement trägt, das wiederum auf der Grundfläche angeordnet ist, so dass ein Betrachter optisch nahezu ausschließlich das erste Druckelement erkennt und taktil nahezu ausschließlich das zweite Druckelement erfasst. Die Erfindung betrifft weiterhin ein Druckwerkzeug zur Herstellung eines derartigen Sicherheitselements.

SYSTEM SCHALTBARER KAPSELLUMINESZENZPIGMENTE

NºPublicación:  DE102024114178A1 27/11/2025
Solicitante: 
GIESECKE & DEVRIENT CURRENCY TECHNOLOGY GMBH [DE]
Giesecke+Devrient Currency Technology GmbH

Resumen de: DE102024114178A1

Die vorliegende Erfindung betrifft ein System aus mindestens zwei Sorten von schaltbaren Kapsel Lumineszenzpigmenten, wobei die Kapsel-Lumineszenzpigmente Polymerteilchen mit einem Durchmesser von 0.1-1000 µm sind, die jeweils mindestens einen Lumineszenzstoff und einen photochemisch schaltbaren Absorber enthalten, wobei eine erste Sorte von Kapsel-Lumineszenzpigment einen ersten, im VIS-Spektralbereich in einer ersten Farbe emittierenden Lumineszenzstoff umfasst; eine zweite Sorte von Kapsel-Lumineszenzpigment den ersten Lumineszenzstoff und einen zweiten, im VIS-Spektralbereich in einer zweiten Farbe emittierenden Lumineszenzstoff umfasst, wobei die erste und die zweite Farbe verschieden sind; und die beiden Kapsel-Lumineszenzpigmente jeweils den gleichen photochemisch schaltbaren Absorber umfassen, wobei der photochemisch schaltbare Absorber einen ersten und einen zweiten Schaltzustand hat, und das Absorptionsspektrum des photochemisch schaltbaren Absorbers im zweiten Schaltzustand mit dem Emissionsspektrum des ersten Lumineszenzstoffs signifikant überlappt. Die vorliegende Erfindung betrifft weiterhin eine schaltbare Lumineszenzdruckfarbe, umfassend ein System aus mindestens zwei Sorten von schaltbaren Kapsel-Lumineszenzpigmenten wie hierin beschrieben sowie ein Wertdokument, bevorzugt eine Banknote, mit einem schaltbaren Lumineszenszaufdruck, umfassend ein System aus mindestens zwei Sorten von schaltbaren Kapsel-Lumineszenzpigmenten wie hierin beschrieben.

DOKUMENTENKÖRPER MIT EINER IN EINEM LAMINAT MITTELS LEUKO-FARBMITTELN AUSGEBILDETEN MARKIERUNG UND VERFAHREN UND VORRICHTUNG ZU SEINER HERSTELLUNG

NºPublicación:  DE102024114731A1 27/11/2025
Solicitante: 
MUEHLBAUER ID SERVICES GMBH [DE]
M\u00FChlbauer ID Services GmbH

Resumen de: DE102024114731A1

Verfahren und Vorrichtung zum Herstellen eines ein mehrschichtiges Laminat aufweisenden Dokumentenkörpers unter Erzeugung einer Daten repräsentierenden mehrfarbigen Markierung im Inneren des Laminats. Das Verfahren weist auf:- Bereitstellen oder Herstellen einer Ausgangsmarkierung in oder auf einem flächenhaft ausgedehnten Grundsubstrat. Die Ausgangsmarkierung weist hierbei mehrere farbige Teilbereiche, die jeweils nur einen Teil der Ausgangsmarkierung bilden derart auf, dass sich die Farben von zumindest zwei der Teilbereiche voneinander unterscheiden. Zumindest eine der Farben wird wenigstens anteilig durch Farbmittel bewirkt, die als ein Leuko-Farbstoff ausgebildet sind oder werden, der durch den Energieeintrag am Ort von dessen Einwirken auf den Leuko-Farbstoff zwischen einem farbigen und einem andersfarbigen oder einem opaken und einem zumindest teiltransparenten, Zustand, oder jeweils umgekehrt, umschaltbar ist.- Erzeugen des Laminats durch Lamination des Grundsubstrats als erste Laminatschicht mit zumindest einem weiteren flächenhaft ausgedehnten, Substrat als jeweils weitere Laminatschicht derart, dass die Ausgangsmarkierung zumindest anteilig im Inneren des erzeugten Laminats zu liegen kommt;- Bewirken eines Energieeintrags in das Laminat derart, dass er in der Ausgangsmarkierung örtlich-selektiv wirkt, wodurch die Daten repräsentierende mehrfarbige Markierung zumindest anteilig aus der Ausgangsmarkierung anhand des durch den Energieeintrag in die Ausgangsmarki

SCHALTBARE KAPSELLUMINESZENZPIGMENTE

NºPublicación:  DE102024114181A1 27/11/2025
Solicitante: 
GIESECKE & DEVRIENT CURRENCY TECHNOLOGY GMBH [DE]
Giesecke+Devrient Currency Technology GmbH

Resumen de: DE102024114181A1

Die vorliegende Erfindung betrifft ein Kapsel-Lumineszenzpigment umfassend einen Lumineszenzstoff und einen photochemisch schaltbaren Absorber als molekularen Schalter, wobei der Lumineszenzstoff und der photochemisch schaltbare Absorber als getrennte Moleküle in einem Polymerteilchen gelöst und/oder dispergiert sind, der Lumineszenzstoff ein Anregungsspektrum hat, der photochemisch schaltbare Absorber in einem ersten Schaltzustand ein erstes Absorptionsspektrum hat und in einem zweiten Schaltzustand ein zweites Absorptionsspektrum hat, das erste Absorptionsspektrum des photochemisch schaltbaren Absorbers nicht signifikant mit dem Anregungsspektrum des Lumineszenzstoffs überlappt und das zweite Absorptionsspektrum des photochemisch schaltbaren Absorbers signifikant mit dem Anregungsspektrum des Lumineszenzstoffs überlappt, so dass im ersten Schaltzustand deutlich intensivere Lumineszenz des Lumineszenzstoffs auftritt als im zweiten Schaltzustand des photochemisch schaltbaren Absorbers. Die vorliegende Erfindung betrifft weiterhin eine schaltbare Lumineszenzdruckfarbe, umfassend ein Kapsel-Lumineszenzpigment wie hierin beschrieben sowie ein Wertdokument, bevorzugt eine Banknote, umfassend einen Aufdruck mit einer ersten, schaltbaren Lumineszenzdruckfarbe wie hierin beschrieben.

SYSTEM SCHALTBARER KAPSELLUMINESZENZPIGMENTE

NºPublicación:  DE102024114183A1 27/11/2025
Solicitante: 
GIESECKE & DEVRIENT CURRENCY TECHNOLOGY GMBH [DE]
Giesecke+Devrient Currency Technology GmbH

Resumen de: DE102024114183A1

Die vorliegende Erfindung betrifft ein System aus mindestens zwei Sorten von schaltbaren Kapsel Lumineszenzpigmenten, wobei die Kapsel-Lumineszenzpigmente Polymerteilchen mit einem Durchmesser von 0,1-1000 µm sind, die jeweils mindestens einen Lumineszenzstoff und einen photochemisch schaltbaren Absorber enthalten, wobei eine erste Sorte von Kapsel-Lumineszenzpigment einen ersten, im VIS-Spektralbereich in einer ersten Farbe emittierenden Lumineszenzstoff umfasst; eine zweite Sorte von Kapsel-Lumineszenzpigment einen zweiten, im VIS-Spektralbereich in einer zweiten Farbe emittierenden Lumineszenzstoff umfasst, wobei die erste und die zweite Farbe verschieden sind; und die beiden Kapsel-Lumineszenzpigmente jeweils den gleichen photochemisch schaltbaren Absorber umfassen, wobei der photochemisch schaltbare Absorber einen ersten und einen zweiten Schaltzustand hat, und das Absorptionsspektrum des photochemisch schaltbaren Absorbers im zweiten Schaltzustand mit den Anregungsspektren des ersten und des zweiten Lumineszenzstoffs stark überlappt. Die vorliegende Erfindung betrifft weiterhin eine schaltbare Lumineszenzdruckfarbe, umfassend ein System aus mindestens zwei Sorten von schaltbaren Kapsel-Lumineszenzpigmenten wie hierin beschrieben sowie ein Wertdokument, bevorzugt eine Banknote, mit einem schaltbaren Lumineszenszaufdruck, umfassend ein System aus mindestens zwei Sorten von schaltbaren Kapsel-Lumineszenzpigmenten wie hierin beschrieben.

SECURITY INKS AND MACHINE READABLE SECURITY FEATURES

NºPublicación:  AU2024254955A1 27/11/2025
Solicitante: 
SICPA HOLDING SA
SICPA HOLDING SA
AU_2024254955_PA

Resumen de: AU2024254955A1

The present invention relates to the field of security inks suitable for printing machine readable security features on substrate, security documents or articles as well as machine readable security feature made from said security inks, and security documents comprising a machine readable security feature made from said security inks. In particular, the invention provides security inks comprising one or more IR absorbing materials wherein said security ink allows the production of a machine readable security feature

SWITCHABLE ENCAPSULATED LUMINESCENT PIGMENTS

NºPublicación:  WO2025242650A1 27/11/2025
Solicitante: 
GIESECKE DEVRIENT CURRENCY TECH GMBH [DE]
GIESECKE+DEVRIENT CURRENCY TECHNOLOGY GMBH
WO_2025242650_PA

Resumen de: WO2025242650A1

The invention relates to an encapsulated luminescent pigment comprising a luminescent substance and a diarylethene as a molecular switch, wherein the luminescent substance and the diarylethene are dissolved and/or dispersed as separate molecules in a polymer particle. The luminescent substance has an emission spectrum, and the diarylethene has a first absorption spectrum in a first switched state and a second absorption spectrum in a second switched state, the first absorption spectrum of the diarylethene not significantly overlapping with the emission spectrum of the luminescent substance and the second absorption spectrum of the diarylethene significantly overlapping with the emission spectrum of the luminescent substance such that the luminescence of the luminescent substance is substantially more intense in the first switched state than in the second switched state of the diarylethene. The invention further relates to a switchable luminescent printing ink, comprising an encapsulated luminescent pigment as described herein, and to a value document, preferably a banknote, comprising an imprint which has a first switchable luminescent printing ink as described herein.

SYSTEM OF SWITCHABLE CAPSULE-LUMINESCENT PIGMENTS

NºPublicación:  WO2025242649A1 27/11/2025
Solicitante: 
GIESECKE DEVRIENT CURRENCY TECH GMBH [DE]
GIESECKE+DEVRIENT CURRENCY TECHNOLOGY GMBH
WO_2025242649_PA

Resumen de: WO2025242649A1

The present invention relates to a system of at least two types of switchable capsule-luminescent pigments, wherein the capsule-luminescent pigments are polymer particles having a diameter of 0.1-1000 µm, each containing at least one luminescent substance and a photochemically switchable absorber, wherein a first type of capsule-luminescent pigment comprises a first luminescent substance emitting a first color in the VIS spectral range; a second type of capsule-luminescent pigment comprises the first luminescent substance and a second luminescent substance emitting a second color in the VIS spectral range, the first and the second colors being different from one another; and the two capsule-luminescent pigments each comprise the same photochemically switchable absorber, said photochemically switchable absorber having a first and a second switching state, wherein the absorption spectrum of said photochemically switchable absorber in the second switching state significantly overlaps the emission spectrum of the first luminescent substance. The present invention also relates to a switchable luminescent printing ink, comprising a system of at least two types of switchable capsule-luminescent pigments as described herein, and to a value document, preferably a banknote, having a switchable luminescent print that comprises a system of at least two types of switchable capsule-luminescent pigments as described herein.

DOCUMENT BODY HAVING A MARKING FORMED IN A LAMINATE BY MEANS OF LEUCO DYES, AND METHOD AND DEVICE FOR THE PRODUCTION THEREOF

NºPublicación:  WO2025242873A1 27/11/2025
Solicitante: 
MUEHLBAUER ID SERVICES GMBH [DE]
M\u00DCHLBAUER ID SERVICES GMBH
WO_2025242873_PA

Resumen de: WO2025242873A1

The invention relates to a method and to a device for producing a document body having a multi-layer laminate while producing a multi-coloured marking representing data in the interior of the laminate. The method has the steps of: - providing or producing an initial marking in or on a flat extended base substrate. In this case, the initial marking has a plurality of coloured sub-regions that each form only part of the initial marking in such a way that the colours of at least two of the sub-regions differ from one another. At least one of the colours is at least partially brought about by colorants which are in the form of a leuco dye that can be switched between a coloured state and a differently coloured state or an opaque state and an at least partially transparent state, or vice versa, by means of the energy input at the location of its action on the leuco dye. - Producing the laminate by laminating the base substrate as a first laminate layer with at least one further flat extended substrate as a respective further laminate layer in such a way that the initial marking comes to lie at least partially in the interior of the produced laminate; - effecting an energy input into the laminate in such a way that it acts in a locally selective manner in the initial marking, as a result of which the multi-coloured marking representing data is achieved at least proportionally from the initial marking on the basis of the locally selective switching of the leuco dye effected by the e

SWITCHABLE CAPSULE-LUMINESCENT PIGMENTS

NºPublicación:  WO2025242668A1 27/11/2025
Solicitante: 
GIESECKE DEVRIENT CURRENCY TECH GMBH [DE]
GIESECKE+DEVRIENT CURRENCY TECHNOLOGY GMBH
WO_2025242668_PA

Resumen de: WO2025242668A1

The present invention relates to a capsule-luminescent pigment comprising a luminescent substance and a photochemically switchable absorber as a molecular switch, wherein the luminescent substance and the photochemically switchable absorber are dissolved and/or dispersed as separate molecules in a polymer particle, the luminescent substance having an energy transfer level relevant to the luminescence, and the photochemically switchable absorber having a first absorption spectrum in a first switching state and a second absorption spectrum in a second switching state, wherein the energy transfer level relevant to the luminescence of the luminescent substance significantly falls into an absorption band of the photochemically switchable absorber in the second switching state, so that the luminescence of the luminescent substance is considerably more intense in the first switching state of the photochemically switchable absorber than in the second switching state of the photochemically switchable absorber. The present invention also relates to a switchable luminescent printing ink, comprising a capsule-luminescent pigment as described herein, and to a value document, preferably a banknote, comprising a print having a first switchable luminescent printing ink as described herein.

SWITCHABLE CAPSULE-LUMINESCENT PIGMENTS

NºPublicación:  WO2025242669A1 27/11/2025
Solicitante: 
GIESECKE DEVRIENT CURRENCY TECH GMBH [DE]
GIESECKE+DEVRIENT CURRENCY TECHNOLOGY GMBH
WO_2025242669_PA

Resumen de: WO2025242669A1

The present invention relates to a capsule-luminescent pigment comprising a luminescent substance and a photochemically switchable absorber as a molecular switch, wherein the luminescent substance and the photochemically switchable absorber are dissolved and/or dispersed as separate molecules in a polymer particle, the luminescent substance having an excitation spectrum, and the photochemically switchable absorber having a first absorption spectrum in a first switching state and a second absorption spectrum in a second switching state, wherein the first absorption spectrum of the photochemically switchable absorber does not significantly overlap with the excitation spectrum of the luminescent substance and the second absorption spectrum of the photochemically switchable absorber does significantly overlap with the excitation spectrum of the luminescent substance, so that the luminescence of the luminescent substance is considerably more intense in the first switching state of the photochemically switchable absorber than in the second switching state of the photochemically switchable absorber. The present invention also relates to a switchable luminescent printing ink, comprising a capsule-luminescent pigment as described herein, and to a value document, preferably a banknote, comprising a print having a first switchable luminescent printing ink as described herein.

SYSTEM CONSISTING OF SWITCHABLE ENCAPSULATED LUMINESCENT PIGMENTS

NºPublicación:  WO2025242671A1 27/11/2025
Solicitante: 
GIESECKE DEVRIENT CURRENCY TECH GMBH [DE]
GIESECKE+DEVRIENT CURRENCY TECHNOLOGY GMBH
WO_2025242671_PA

Resumen de: WO2025242671A1

The invention relates to a system consisting of at least two types of switchable encapsulated luminescent pigments, wherein the encapsulated luminescent pigments are polymer particles with a diameter of 0.1-1000 µm, each particle containing at least one luminescent substance and a photochemically switchable absorber; a first type of encapsulated luminescent pigment comprises a first luminescent substance which emits a first color in the VIS spectral range; a second type of encapsulated luminescent pigment comprises a second luminescent substance which emits a second color in the VIS spectral range, said first and second colors being different; and the two encapsulated luminescent pigments each comprise the same photochemically switchable absorber, said photochemically switchable absorber having a first and a second switched state, and the absorption spectrum of the photochemically switchable absorber greatly overlapping with the excitation spectra of the first and the second luminescent substance in the second switched state. The invention further relates to a switchable luminescent printing ink, comprising a system consisting of at least two types of switchable encapsulated luminescent pigments as described herein, and to a value document, preferably a banknote, having a switchable luminescent imprint, comprising a system consisting of at least two types of switchable encapsulated luminescent pigments as described herein.

LIDAR REFLECTIVE MATERIAL AND MARKING SYSTEM

NºPublicación:  US2025354013A1 20/11/2025
Solicitante: 
TOYOTA MOTOR ENGINEERING & MFG NORTH AMERICA INC [US]
TOYOTA JIDOSHA KK [JP]
Toyota Motor Engineering & Manufacturing North America, Inc,
Toyota Jidosha Kabushiki Kaisha
CN_121001881_PA

Resumen de: US2025354013A1

Disclosed here are a method of marking a dark-colored surface with a dark-colored LiDAR-reflective material and a marking composition comprising the dark-colored LiDAR-reflective material and a marking carrier. Particularly, the dark-colored LiDAR-reflective material comprises has a reflectivity in the visible spectrum of electromagnetic radiation that is ≤10% and a reflectivity in the near-IR and LiDAR spectrum of electromagnetic radiation that is ≥10%.

METHOD OF DETECTING A CONCEALED PATTERN

NºPublicación:  US2025356156A1 20/11/2025
Solicitante: 
PPG IND OHIO INC [US]
PPG INDUSTRIES OHIO, INC
ES_3026908_T3

Resumen de: US2025356156A1

A method for detecting a component including a concealed pattern includes: detecting infrared electromagnetic radiation reflected or emitted by a component including a first pattern, the component including: a substrate; the first pattern disposed over at least a portion of the substrate; an optional primer layer disposed between at least a portion of the substrate and at least a portion of the first pattern; and a first visibly opaque layer including an infrared transparent pigment, the first visibly opaque layer disposed over at least a portion of the first pattern; and comparing the reflectivity and/or absorbance of infrared electromagnetic radiation by the first pattern at one wavelength to the reflectivity and/or absorbance by the primer layer and/or the substrate at the same wavelength.

LAMINATED CARD COMPRISING A THERMOCHROMIC PATTERN AND METHOD FOR MANUFACTURING SUCH A CARD

NºPublicación:  US2025353037A1 20/11/2025
Solicitante: 
IDEMIA FRANCE [FR]
IDEMIA FRANCE
JP_2025529618_PA

Resumen de: US2025353037A1

A laminated card and a method for manufacturing such a card. The card includes a thermoplastics backing layer, an adhesive layer, a primer layer, a thermochromic pattern which is printed using a thermochromic ink, and a plastics protective layer. The primer layer is suitable for the thermochromic ink, enabling good adhesion of the thermochromic pattern to the lower layers such as to the backing layer via the adhesive layer. The adhesive layer and the primer layer are both water-based or both polymerised under UV radiation. The thermochromic ink includes a liquid crystal compound.

A DIAMOND MICROPARTICLES BASED PHYSICAL UNCLONABLE FUNCTIONAL MATERIAL, PREPARATION METHOD, AND USE THEREOF

NºPublicación:  US2025354295A1 20/11/2025
Solicitante: 
VERSITECH LTD [HK]
DONGGUAN INSTITUTE OF OPTO ELECTRONICS PEKING UNIV [CN]
Versitech Limited,
Dongguan Institute of Opto-electronics, Peking University
CN_119256065_PA

Resumen de: US2025354295A1

The present invention provides a nanodiamond based physical unclonable functional material, preparation method and applications thereof, comprising a single-crystal silicon substrate and nanodiamond with silicon vacancy color centers grown in situ thereon. The preparation method of nanodiamond particles on the silicon substrate is a stochastic process, which is an essential feature for manufacturing physical unclonable functional labels. The present invention uses scattering spectrum of nanodiamond, the morphological characteristics, and spatial position relationships as fingerprint information for the physical unclonable functional material. Due to the extreme heat resistance, mechanical, chemical and light stability of diamond material. The highly robust label of the present invention can satisfy the requirements of many practical applications in various environments. The present invention has huge applications. The present invention has real commercial value in the anti-counterfeiting market for electronic components, medical packaging, vehicles, luxury goods, etc.

VALUABLE OR SECURITY DOCUMENT AND METHOD FOR PRODUCING SAME

NºPublicación:  EP4650184A1 19/11/2025
Solicitante: 
BUNDESDRUCKEREI GMBH [DE]
Bundesdruckerei GmbH
EP_4650184_PA

Resumen de: EP4650184A1

Die Erfindung betrifft ein Wert- und/oder Sicherheitsdokument (3). Um die Fälschungssicherheit zu erhöhen, umfasst das Wert- und/oder Sicherheitsdokument (3) ein Substrat (2), wenigstens ein erstes, in einem ersten Farbton stark lichtreflektierendes Pigment (103) und wenigstens ein zweites, in einem zweiten Farbton stark lichtreflektierendes Pigment (203). Eine Abbildungsfläche (1) auf dem Dokument (3) ist in eine Vielzahl von Teilflächen (101, 102, 202, 208, 302) unterteilt, wobei erste Teilflächen (101, 102) mit dem ersten Pigment (103) oder einer ersten Mischung von stark lichtreflektierenden Pigmenten (103, 203) und zweite Teilflächen (202) mit dem zweiten Pigment (203) oder einer zweiten Mischung von stark lichtreflektierenden Pigmenten (103, 203) versehen sind, und wobei erste Teilflächen (101, 102) in einem ersten Teilflächenfarbton Licht reflektieren und zweite Teilflächen (202) in einem zweiten Teilflächenfarbton Licht reflektieren und erste und zweite Teilflächen (101, 102, 202) in wenigstens einer Richtung (x, y) wenigstens abschnittsweise alternierend angeordnet sind, so dass für einen Betrachter ein Farbeindruck entsteht, der sich von erstem und zweitem Teilflächenfarbton unterscheidet.

DOCUMENT WITH A SECURITY FEATURE

NºPublicación:  EP4650182A1 19/11/2025
Solicitante: 
BUNDESDRUCKEREI GMBH [DE]
Bundesdruckerei GmbH
EP_4650182_PA

Resumen de: EP4650182A1

Dokument (100) mit einem Sicherheitsmerkmal, umfassend: eine erste Substratschicht (103), wobei die erste Substratschicht (103) einen ersten Substratschichtbereich (105) aufweist, welcher vollständig mit einem infrarotabsorbierenden Fluid imprägniert ist, wobei der erste Substratschichtbereich (105) Mikroperforationen (111a-c) aufweist, welche ein Perforationsmuster formen; eine zweite Substratschicht (107), wobei die zweite Substratschicht (107) auf der ersten Substratschicht (103) angeordnet ist, wobei die zweite Substratschicht (107) einen zweiten Substratschichtbereich (109) aufweist, wobei der zweite Substratschichtbereich (109) und der erste Substratschichtbereich (105) aufeinander ausgerichtet sind, und wobei der zweite Substratschichtbereich (109) Infrarotlicht-transparenter als das infrarotlichtabsorbierende Fluid gebildet ist, um einfallendes Infrarotlicht zum ersten Substratschichtbereich (105) durchzulassen; und wobei der erste Substratschichtbereich (105) und der zweite Substratschichtbereich (109) ein zusammengesetztes Infrarot-Sicherheitsmerkmal formen.

INSPECTION SYSTEM AND GAME TOKEN

NºPublicación:  EP4650185A2 19/11/2025
Solicitante: 
ANGEL PLAYING CARDS CO LTD [JP]
Angel Playing Cards Co., Ltd
EP_4650185_PA

Resumen de: EP4650185A2

An inspection system for inspecting a game token, includes: a game token assigned with code information such that an ID mark region covered with a UV ink is partially irradiated with laser light to denature or remove the irradiated part; an ultraviolet irradiation lamp for irradiating the game token with ultraviolet light for visualizing the UV ink; a UV camera configured to shoot the game token irradiated with ultraviolet light; and an inspection device configured to recognize the code information that has been visualized by the irradiation with ultraviolet light based on an image shot by the UV camera and determine authenticity of the game token.

PROCEDURE FOR OBTAINING A LUMINESCENT INORGANIC MATERIAL AND LUMINESCENT INORGANIC MATERIAL OBTAINED BY SAID PROCEDURE (Machine-translation by Google Translate, not legally binding)

NºPublicación:  ES3042333A1 19/11/2025
Solicitante: 
UNIV LA LAGUNA [ES]
Universidad de La Laguna
ES_3042333_PA

Resumen de: ES3042333A1

The present invention relates to a process for obtaining a luminescent inorganic material based on an oxyfluoride matrix doped with multiple combinations of rare-earth ions (ytterbium (Yb), erbium (Er), thulium (Tm), europium (Eu), neodymium (Nd)), and containing micro- and nanostructured phases obtained through heat treatment. Advantageously, the material obtained by the process of the present invention generates a luminescence pattern with simultaneous emission in the near-infrared and visible spectrum under infrared excitation at 980 nm, allowing its application in anti-counterfeiting security devices, such as security inks for printing textiles, banknotes, or printed circuit boards, among others. (Machine-translation by Google Translate, not legally binding)

DOCUMENT WITH A SECURITY FEATURE

Nº publicación: EP4650183A1 19/11/2025

Solicitante:

BUNDESDRUCKEREI GMBH [DE]
Bundesdruckerei GmbH

EP_4650183_PA

Resumen de: EP4650183A1

Dokument (100) mit einem Sicherheitsmerkmal, umfassend: eine erste Substratschicht (103), welche einen ersten Substratschichtbereich (105) aufweist, welcher insbesondere vollständig mit einem infrarotabsorbierenden Fluid imprägniert ist; eine zweite Substratschicht (107), welche auf der ersten Substratschicht angeordnet ist, wobei die zweite Substratschicht (107) Infrarotlicht transparent ist; einem zweiten Substratschichtbereich (109), welcher über dem ersten Substratschichtbereich (105) angeordnet ist, wobei der zweite Substratschichtbereich (109) Infrarotlicht-reflektierende Partikel aufweist; wobei der erste Substratschichtbereich (105) und der zweite Substratschichtbereich (109) ein zusammengesetztes Infrarot-Sicherheitsmerkmal formen, das bei Bestrahlung mit InfrarotLicht ein vorbestimmtes Infrarotbild erzeugt.

traducir