Ministerio de Industria, Turismo y Comercio LogoMinisterior
 

Alerta

Resultados 475 resultados
LastUpdate Última actualización 03/04/2026 [06:57:00]
pdfxls
Solicitudes publicadas en los últimos 15 días / Applications published in the last 15 days
Resultados 1 a 475  

Verkaufsvorrichtung für einen Verkauf von Waren

NºPublicación:  DE102024128670A1 02/04/2026
Solicitante: 
MEAL REVOLUTION GMBH [DE]
Meal Revolution GmbH

Resumen de: DE102024128670A1

Die vorliegende Erfindung betrifft eine Verkaufsvorrichtung (10) für einen Verkauf von Waren (W), aufweisend ein Verkaufsvolumen (20), in welchem wenigstens zwei Aufnahmevorrichtungen (30) für eine Aufnahme der Waren (W) angeordnet sind, wobei das Verkaufsvolumen (20) einen mit einer Zugangstür (22) reversibel verschlossenen Zugangsabschnitt (24) aufweist für ein Einbringen von Waren (W) in und ein Ausbringen von Waren (W) aus dem Verkaufsvolumen (20), wobei auf wenigstens zwei Aufnahmevorrichtungen (30) zumindest zwei Gewichtssensoren (32) angeordnet sind für ein Erzeugen eines Waren-Gewichtssignals (WGS) zu einer oder mehreren auf der Aufnahmevorrichtung (30) angeordneten Waren (W) jeweils an einer Gewichtssensor-Position der Aufnahmevorrichtung (30), dadurch gekennzeichnet, dass auf den wenigstens zwei Aufnahmevorrichtungen (30) mit Gewichtssensoren (32) zumindest ein lokales Verarbeitungsmodul (34) angeordnet ist, welches signalkommunizierend mit den Gewichtssensoren (32) der jeweiligen Aufnahmevorrichtung (30) verbunden und zumindest für eine Teilverarbeitung der Waren-Gewichtssignale (WGS) zur Erzeugung von Waren-Bewegungssignalen (WBS) ausgebildet ist, wobei die Verkaufsvorrichtung (10) weiter ein Auswertmodul (40) aufweist, welches mit den Verarbeitungsmodulen (34) signalkommunizierend verbunden ist für ein Auswerten der Waren-Bewegungssignale (WBS) zu Waren-Metasignalen (WMS) für den Verkauf der Waren (W).

"FOREVER QURAN PAPER" recycling qurans and treating the papers to reproduce new qurans. to renew the lifecycle of the quran. treat and reuse paper for qurans

NºPublicación:  AU2024219673A1 02/04/2026
Solicitante: 
ALLOUCHE SALIM
allouche, salim
AU_2024219673_A1

Resumen de: AU2024219673A1

Abstract This invention provides a method for recycling old Quran pages and repurposing them into new paper suitable for printing new Quran copies. The process involves collecting worn-out Quran pages, shredding and pulping them using environmentally friendly methods, and producing high-quality paper for reprinting. The recycling process is overseen by religious scholars to ensure that Islamic guidelines are followed, creating a "Forever Quran" cycle that respects the sanctity of the Quran and contributes to environmental sustainability.

ARBEITSMASCHINE UND TRAGBARE ENDGERÄTVORRICHTUNG FÜR ARBEITSMASCHINE

NºPublicación:  DE102025138427A1 02/04/2026
Solicitante: 
SUMITOMO CONSTRUCTION MACHINERY CO LTD [JP]
SUMITOMO CONSTRUCTION MACHINERY CO., LTD
DE_102025138427_PA

Resumen de: DE102025138427A1

Eine Arbeitsmaschine umfasst einen unteren Fahrkörper; einen oberen Schwenkkörper, der an dem unteren Fahrkörper schwenkbar montiert ist; ein Ansatzstück, das an dem oberen Schwenkkörper angebracht ist; eine Informationserfassungsvorrichtung, die so konfiguriert ist, dass sie Nutzlastinformationen erfasst, die Informationen über ein Gewicht eines Objekts sind, die von dem Ansatzstück auf eine Ladefläche eines Lieferfahrzeugs geladen wurde; und eine Kommunikationsvorrichtung, die so konfiguriert ist, dass sie die Nutzlastinformationen an eine tragbare Endgerätvorrichtung überträgt, die so konfiguriert ist, dass sie drahtlose Kommunikation mit dem Lieferfahrzeug ermöglicht.

INTELLIGENTES AUFBEWAHRUNGSSYSTEM

NºPublicación:  DE102024133776A1 02/04/2026
Solicitante: 
GM GLOBAL TECH OPERATIONS LLC [US]
GM Global Technology Operations LLC

Resumen de: DE102024133776A1

Ein Fahrzeug enthält mehrere Aufbewahrungszonen. Ein Satz Bildgebungssensoren definiert Sichtfelder und jede Aufbewahrungszone ist in mindestens einem definierten Sichtfeld enthalten. Ein Controller ist in Kommunikation mit dem Satz Bildgebungssensoren und enthält einen Satz Verarbeitungsmodule, die konfiguriert sind, zusammenwirkend ein intelligentes Aufbewahrungsverfolgungssystem zu implementieren, das ein Personenerkennungsverarbeitungsmodul und ein Objekterkennungsverarbeitungsmodul enthält. Das Personenerkennungsverarbeitungsmodul enthält einen Prozess zum Identifizieren eindeutiger Personen unter Verwendung von Bildanalyse und das Objekterkennungsmodul enthält einen Prozess zum Identifizieren eindeutiger Objekte unter Verwendung von Bildanalyse. Das intelligente Aufbewahrungsverfolgungssystem definiert einen Objekt-zu-Person-und-Ort-Dateneintrag in einer Datenbank unter Verwendung des Personenerkennungsverarbeitungsmoduls und des Objekterkennungsverarbeitungsmoduls. Die Datenbank ist in Kommunikation mit dem Controller und speichert jeden definierten Objekt-zu-Person-und-Ort-Dateneintrag.

GRAIN TRACKING SYSTEM AND METHOD FOR USE IN AGRICULTURE SUPPLY CHAINS

NºPublicación:  AU2024346395A1 02/04/2026
Solicitante: 
PERDUE AGRIBUSINESS LLC
PERDUE AGRIBUSINESS LLC
AU_2024346395_PA

Resumen de: AU2024346395A1

Disclosed is a method for tracking an agricultural product variety such as a variety of a grain through a supply chain by identifying the agricultural product variety or the variety of the grain based on a distinguishable characteristic of a sample of the agricultural product or grain; wherein the distinguishable characteristic is phenotypic; and the distinguishable characteristic is (i) a seed characteristic of a plurality of seed in the sample; or (ii) a secondary characteristic of plants grown from the seed; or (iii) a combination thereof. Also disclosed is a method of making an agricultural product variety or variety of a grain identifiable by breeding to establish the distinguishable characteristic. Further disclosed is a taxonomy system for identifying an agricultural product variety, such as a grain variety, by defining a set of distinguishable structural features of the agricultural product variety.

SYSTEMS AND METHODS FOR MACHINE-LEARNING OPTIMIZATION FOR ESTIMATED TIME OF ARRIVAL ANALYSIS

NºPublicación:  AU2024371102A1 02/04/2026
Solicitante: 
RADIUS NETWORKS INC
RADIUS NETWORKS, INC
AU_2024371102_PA

Resumen de: AU2024371102A1

Techniques for determining an estimated time of arrival associated with a pickup location are described herein. For example, a customer can order a good or service for pickup at a pickup location. In some examples, order data can include a pickup location intent, such as a drive-through location, a pickup window, or a parking location. A location of a user computing device can be determined and can be input to a machine-learning model trained to determine estimated times of arrival for a particular location. In some examples, the machine-learning model can be trained with ground truth data specific to the location for which the model is to determine estimated times of arrival. The machine-learning model can output the estimated time of arrival and can update the time at any regular or irregular intervals, which can be used to prioritize an order in an order queue.

AUTOMATED TOOL DATA GENERATION IN AUTOMATED ASSET MANAGEMENT SYSTEMS

NºPublicación:  AU2026201851A1 02/04/2026
Solicitante: 
SNAP ON INCORPORATED
Snap-on Incorporated
AU_2026201851_A1

Resumen de: AU2026201851A1

An asset management system automatically generates and updates tool data stored in and used by the system for determining the presence or absence of tools or other inventory objects in the systems. The tool data can be automatically generated when a tool is newly added to the automated asset management system, and can be updated if and when characteristics of the tool and/or automated asset management system change. The automatic generation and updating includes automatically recognizing unique identifiers of tags located on inventory objects, automatically identifying an inventory object to associate with each unique identifier, and automatically populating a database to store each unique identifier in association with stored data for the corresponding inventory object. ar a r

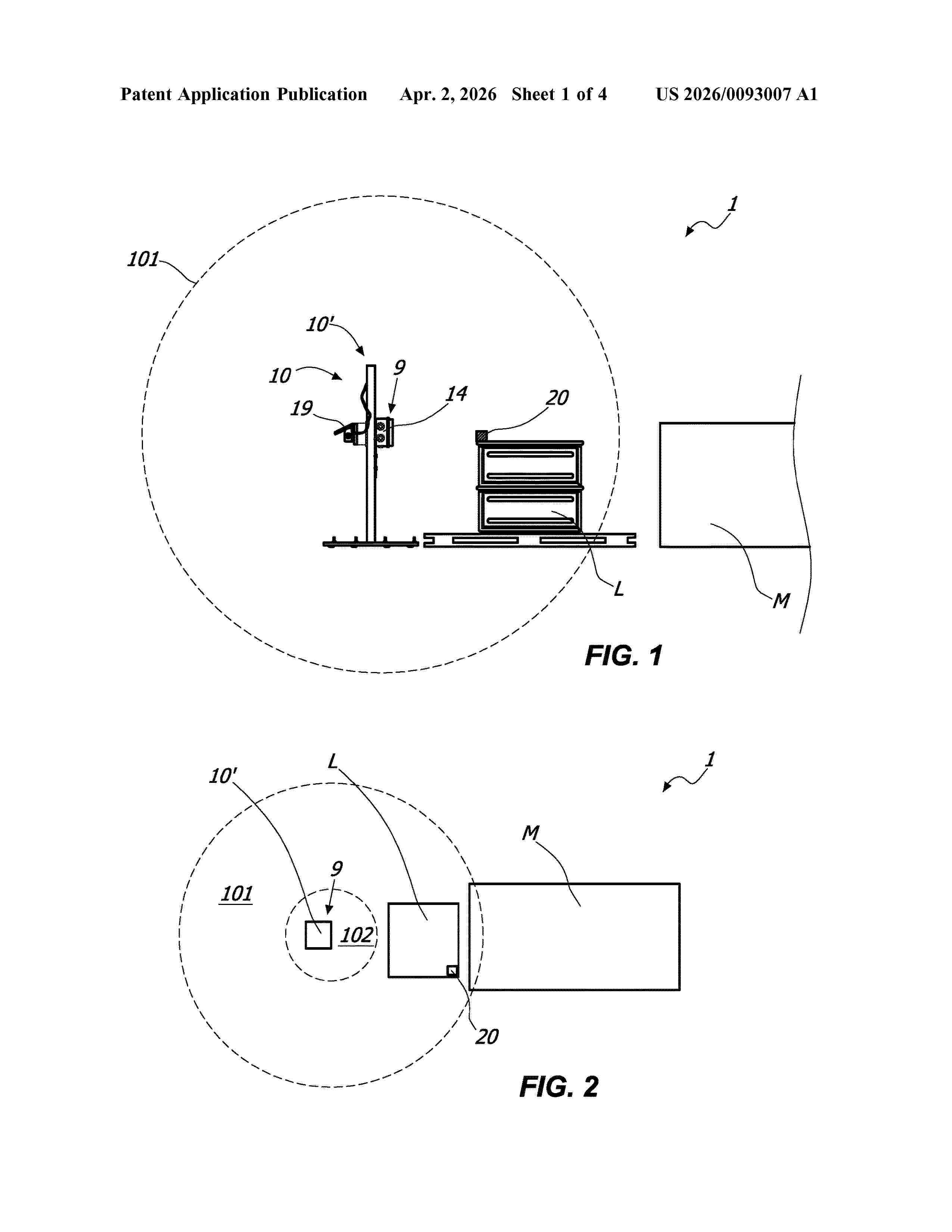
System and method for tracking objects or batches within a work environment

NºPublicación:  US20260093007A1 02/04/2026
Solicitante: 
KOMETE SMART FACTORY MADE EASY SRL [IT]
Komete Smart Factory Made Easy Srl
US_20260093007_A1

Resumen de: US20260093007A1

An automatic system for tracking an object or batch of products within a work area such as a yard or an industrial building includes at least one emitter asset tag that can be uniquely associated with the object or batch of products, at least one device having at least one receiving unit defining a first action area, and a central unit operably connectable with the at least one device. When the emitter asset tag is within the action area, the central unit detects the presence of the at least one emitter asset tag.

SYSTEMS AND METHODS FOR INTELLIGENT DETECTION OF ABNORMAL CONDITIONS ASSOCIATED WITH SHIPPING CONTAINERS

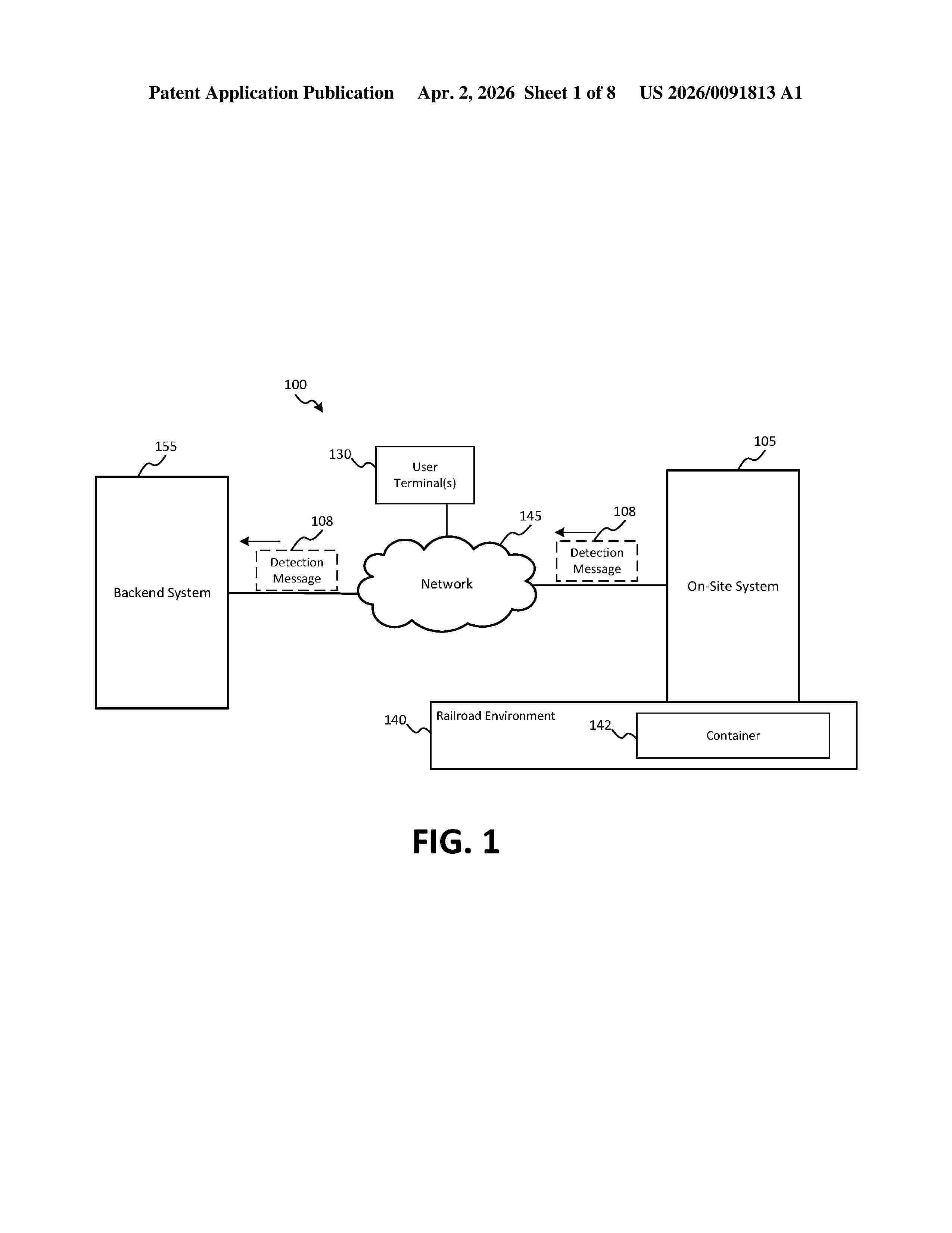
NºPublicación:  US20260091813A1 02/04/2026
Solicitante: 
BNSF RAILWAY COMPANY [US]
BNSF Railway Company
US_20260091813_A1

Resumen de: US20260091813A1

Systems and techniques for intelligent detection of abnormal conditions associated with a shipping container. A system includes an on-site system configured to capture sensor data associated with a condition of a container carried by a train car of a train, analyze the sensor data to determine whether the condition of the container indicates an abnormal condition, and identify one or more of the train car, the container, and the train. The system also includes a backend system configured to receive a detection message from the on-site system and generate an alert signal in response to a determination that the condition of the container indicates an abnormal condition. The alert includes the abnormal condition and identification information, and causes one or more remedial actions to respond to the abnormal condition of the container.

RADIO DEVICE, READER DEVICE AND METHOD FOR OPERATING THEM

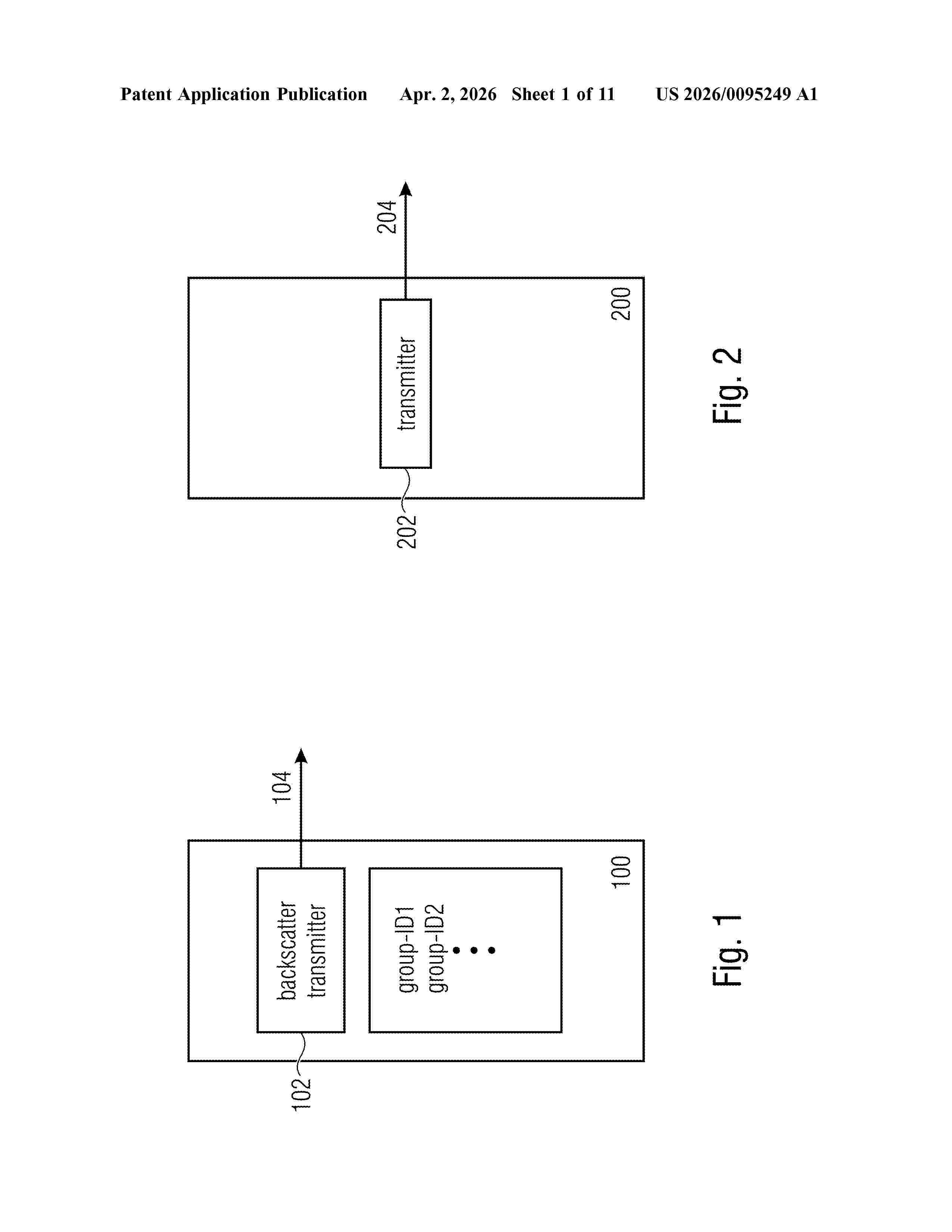
NºPublicación:  US20260095249A1 02/04/2026
Solicitante: 
FRAUNHOFER GES ZUR FOERDERUNG DER ANGEWANDTEN FORSCHUNG E V [DE]
Fraunhofer-Gesellschaft zur F\u00F6rderung der angewandten Forschung e.V
US_20260095249_A1

Resumen de: US20260095249A1

A radio device for a wireless communication network includes a backscatter transmitter for transmitting a signal using a backscattered signal, and to at least one or more groups of a plurality of different device groups.

METHOD AND APPARATUS OF VERIFYING AUTHENTICITY OF SELLER'S IDENTITY FOR LICENSE AGENCY SERVICE

NºPublicación:  US20260094170A1 02/04/2026
Solicitante: 
AUTOWINI INC [KR]
AUTOWINI INC
US_20260094170_A1

Resumen de: US20260094170A1

A method and an apparatus of license agency service based on authenticity of a seller’s identity. The method may include: receiving license agency service application information of a seller and product information of one or more products that the seller will export from one or more devices related to the seller; verifying an authenticity of the seller’s identity; transmitting license application information generated based on the license agency service application information and the product information to a user device of one or more agents; receiving license information issued from a customs management authority, corresponding to the license application information, from the agent or the customs management authority; and providing the license information to the one or more devices.

METHOD OF DATA DRIVEN REGULATION FOR CANNABIS

NºPublicación:  US20260094116A1 02/04/2026
Solicitante: 
METRC LLC [US]
METRC LLC
US_20260094116_A1

Resumen de: US20260094116A1

A method and system in accordance with the subject invention establishes industry norms for every step in the production, cultivation, harvest, and packaging process for a regulated industry to follow with respect to a regulated product. An embodiment relates to the regulated product cannabis where product is accurately recorded into the system is legal while any product that is not recorded into the system is illegal.

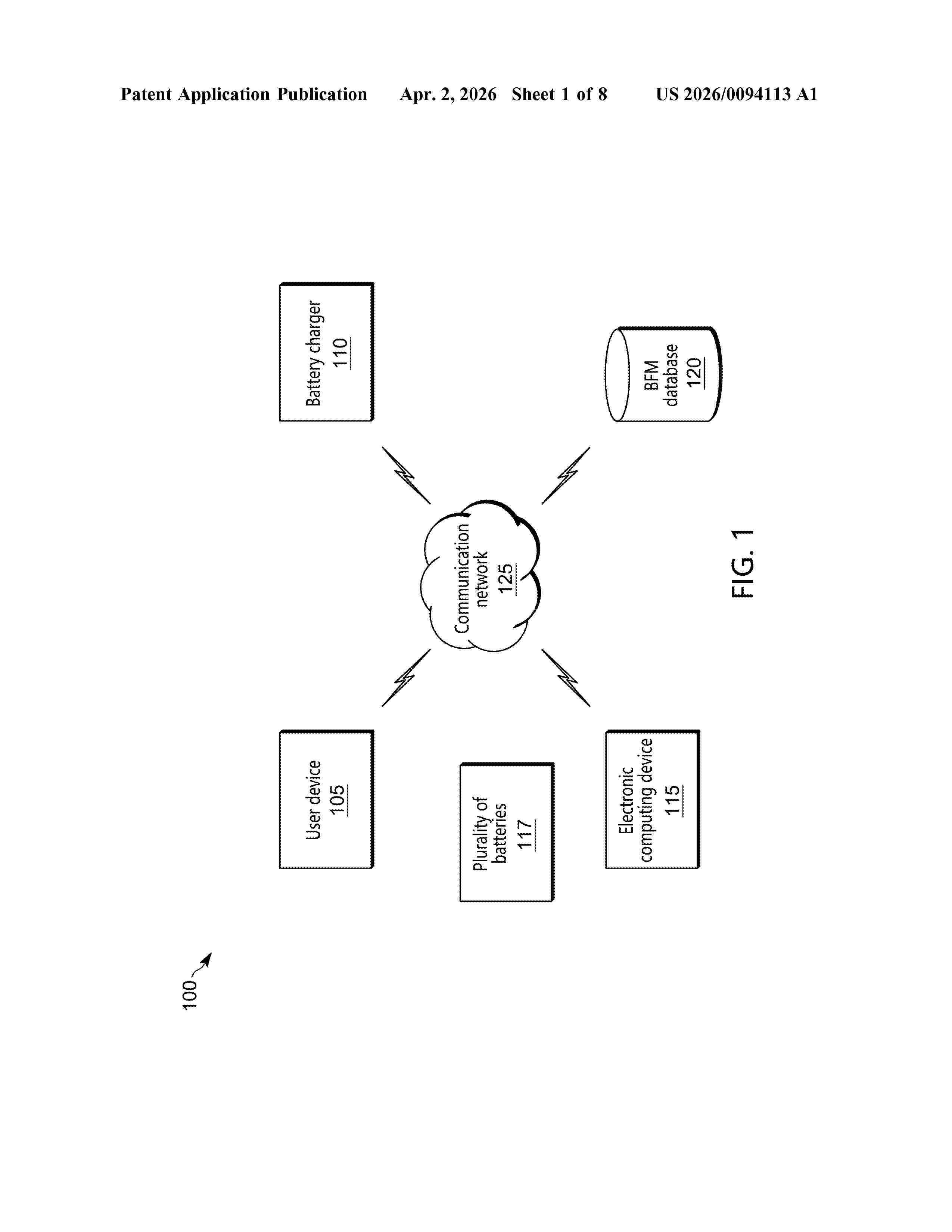
BATTERY HEALTH MANAGEMENT

NºPublicación:  US20260094113A1 02/04/2026
Solicitante: 
MOTOROLA SOLUTIONS INC [US]
MOTOROLA SOLUTIONS, INC
US_20260094113_A1

Resumen de: US20260094113A1

A system including an electronic processor that is configured to receive identifying information for a battery, retrieve, from a database, data regarding the battery and, when a date when a most recent state of charge (SOC) included in the data or a most recent integrated current accumulator (ICA) included in the data was determined is less than one month ago, determine a current SOC to be the most recent SOC or the current ICA to be a most recent ICA. The electronic processor is also configured to, when the data does not include the most recent SOC or ICA or when the date when the most recent SOC or ICA was determined is at least one month ago, estimate the current SOC or ICA and, in response to determining the current SOC or the current ICA of the battery is equal to 0, automatically charge the battery.

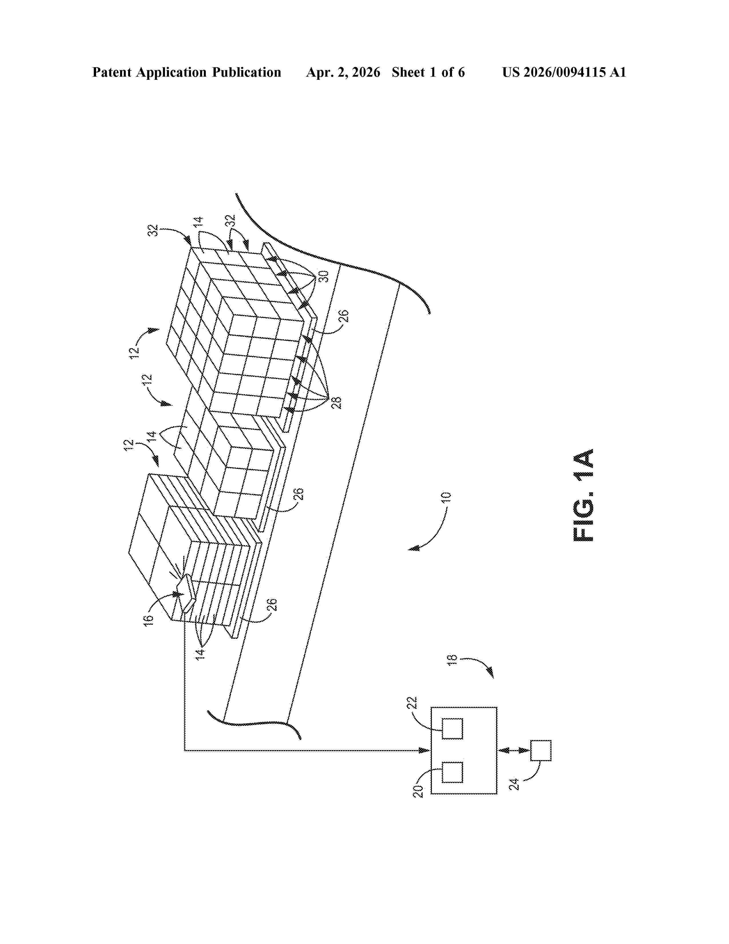
COUNTING A NUMBER OF OBJECTS IN AN IMAGE

NºPublicación:  US20260094115A1 02/04/2026
Solicitante: 
INSIGHT DIRECT USA INC [US]
Insight Direct USA, Inc
US_20260094115_A1

Resumen de: US20260094115A1

A product count of a number of physical products within a physical grouping of a plurality of the physical products is determined based on an image of the physical grouping. A cycle counter generates image coordinates for visible product surfaces within the image. The cycle counter generates three-dimensional virtual base coordinates for the expected locations of the plurality of the physical products within the physical grouping. The cycle counter determines the actual locations of the visible product surfaces within three-dimensional space based on a comparison of the image coordinates and the virtual base coordinates. The cycle counter determines the product count of the number of physical products within the physical grouping based on the actual locations.

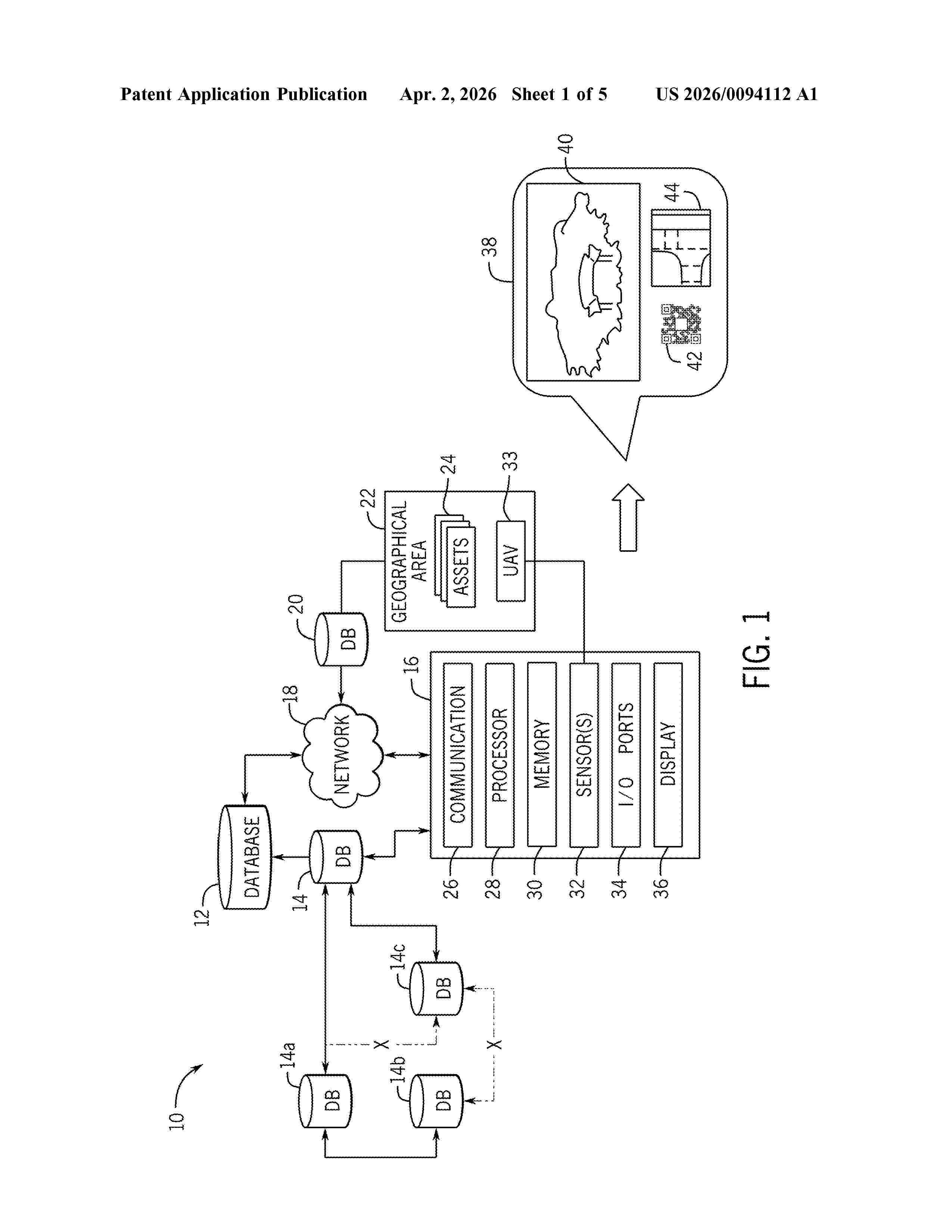
ASSET MANAGEMENT TECHNIQUES

NºPublicación:  US20260094112A1 02/04/2026
Solicitante: 
UNIVERSAL CITY STUDIOS LLC [US]
Universal City Studios LLC
US_20260094112_A1

Resumen de: US20260094112A1

An asset management system includes a sensor that detects asset tags to acquire asset geolocation codes of a plurality of assets in a geographic area. The asset management system also includes a controller communicatively coupled to an image sensor that receives the asset geolocation codes of the plurality of assets, receives the image data, generates a model of the geographic area using locations associated with the asset geolocation codes and the image data to place the plurality of assets in the model, and determines a geographic distance between a first asset and a second asset of the plurality of assets using the model.

E-commerce Systems Including Cross-Selling and E-commerce for Social Media

NºPublicación:  US20260094202A1 02/04/2026
Solicitante: 
GOVYRL INC [US]
GoVyrl, Inc
US_20260094202_A1

Resumen de: US20260094202A1

An e-commerce system and associated methods are provided to facilitate the cross-selling of products and services across virtual and physical stores, as well as through social media platforms. The system typically includes a store manager that allows a store owner to manage the characteristics of an e-commerce store, and a machine learning system trained to identify combinations of products that are likely to sell well together. A recommendation engine, including a store parser, inventory analysis logic, and recommendation logic, utilizes the machine learning system to generate recommendations for additional products to add to the e-commerce store based on a set of products available from external e-commerce stores and the store's current inventory. An optional product browser enables the store owner to review and select products from the generated recommendations. Methods for managing an e-commerce store and adding products to a social media feed are also disclosed, leveraging the machine learning system to enhance sales and customer engagement by recommending products based on store characteristics, social media content and customer interactions.

SYSTEMS AND METHODS FOR CARGO VEHICLE ASSET MANAGEMENT

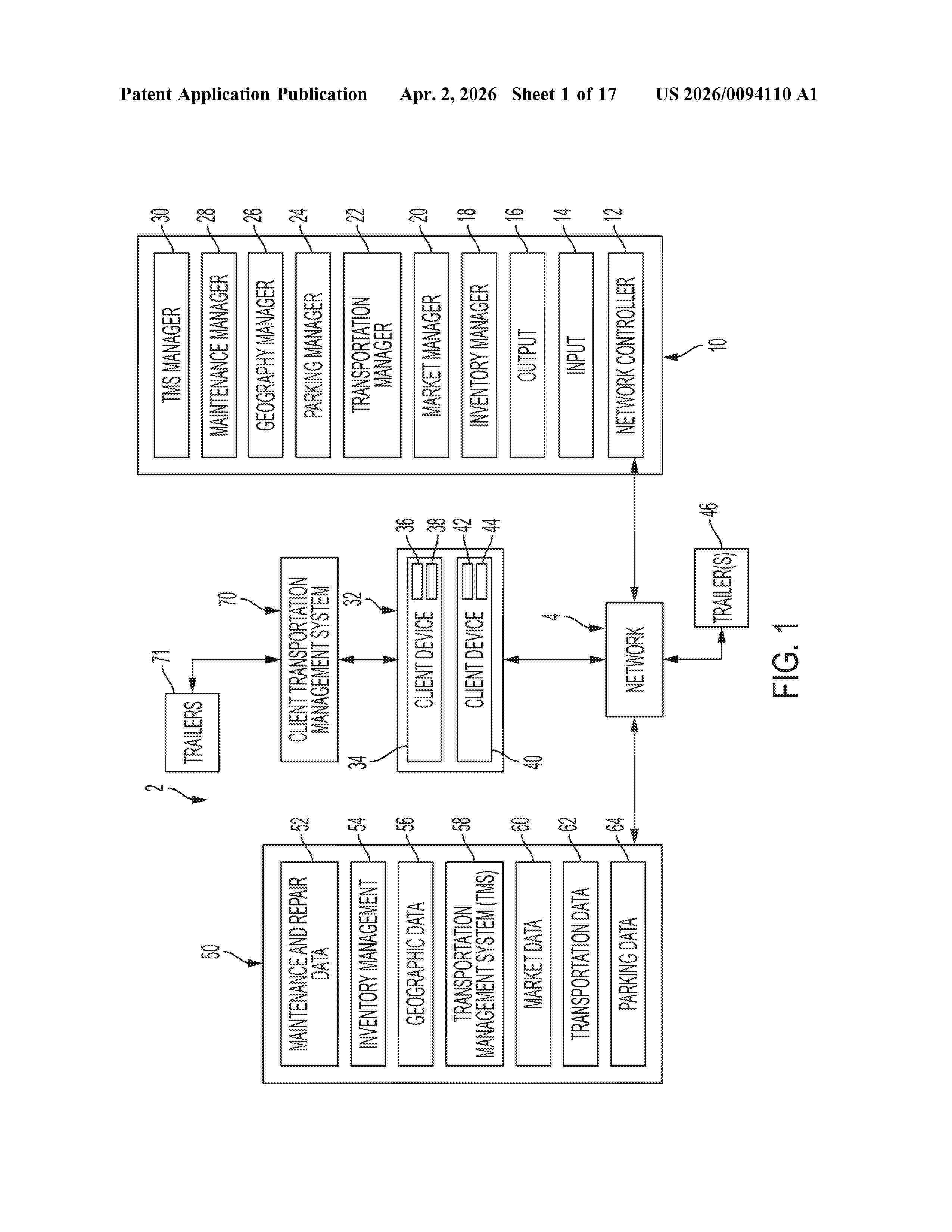
NºPublicación:  US20260094110A1 02/04/2026
Solicitante: 
WABASH NAT L P [US]
Wabash National, L.P
US_20260094110_A1

Resumen de: US20260094110A1

A method of resource orchestration for cargo vehicles includes receiving a plurality of user inputs, the plurality of inputs including geographical data associated with a lane of travel and a desired volume of assets for traveling on the lane of travel. The method further comprising obtaining a plurality of data sets, the plurality of data sets including a first data set associated with the lane of travel and a second data set associated with a pool of assets. Further, generating, based upon the plurality of data sets and the plurality of user inputs, a proposed resource allocation including a proposed volume of assets for traveling on the lane of travel, and providing, to a user computing device, an indication of the proposed resource allocation for display to a user of the user computing device.

ITEM-LEVEL PRESCRIPTIVE RECOMMENDATIONS

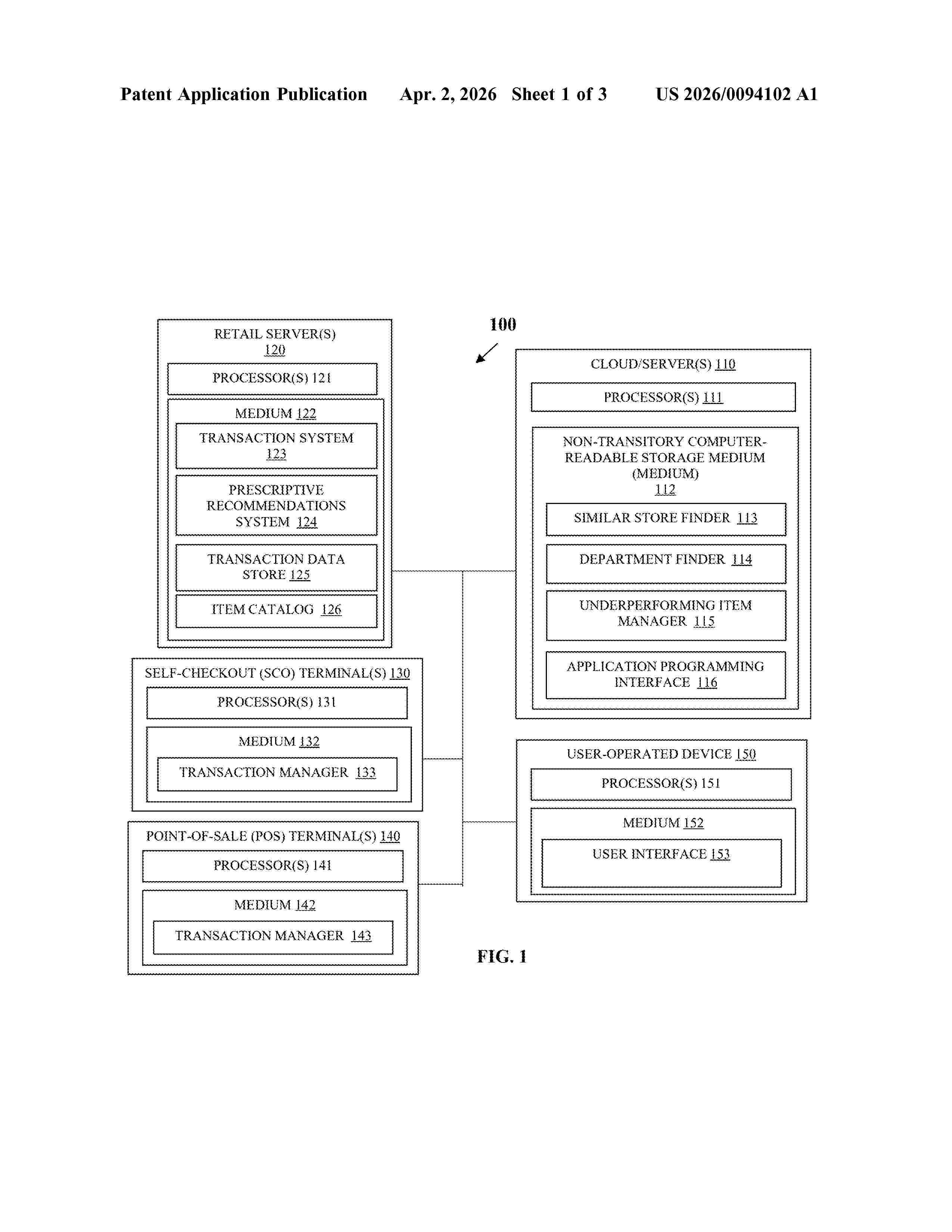
NºPublicación:  US20260094102A1 02/04/2026
Solicitante: 
NCR VOYIX CORP [US]
NCR Voyix Corporation
US_20260094102_A1

Resumen de: US20260094102A1

Underperforming items in retail stores are identified by comparing item sales data across similar stores. Similar stores are identified based on total item sales and item catalog sizes. Departments that can be optimized are identified. Item sales within selected departments are compared and undersold items are identified using specific criteria. In an embodiment, undersold items are determined as item sales that have less than half the average sales amount in similar stores and that meet a minimum sales threshold in the similar stores. A data-driven approach is employed to detect underperforming items without requiring complex machine learning models or tiresome exploration in reports and dashboards. Results are presented to users, showing proposed items with observed and expected sales data, enabling store managers to make informed decisions for improving the performance of their departments.

SYSTEMS AND METHODS FOR DEMAND PLANNING, FORECASTING, AND PROCUREMENT

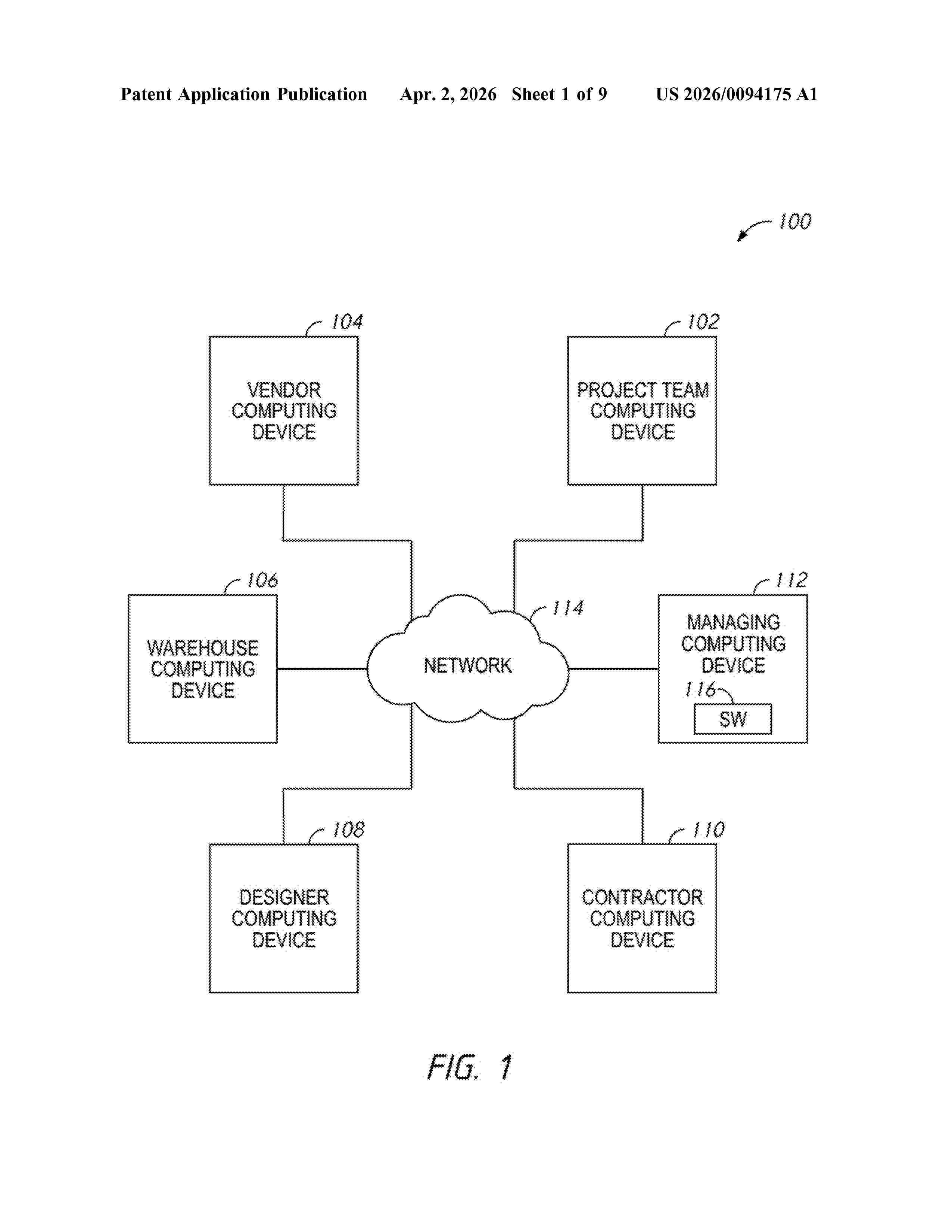
NºPublicación:  US20260094175A1 02/04/2026
Solicitante: 
TARGET BRANDS INC [US]
TARGET BRANDS, INC
US_20260094175_A1

Resumen de: US20260094175A1

A software application is configured to receive item demand data and user inputs associated with a construction project, aggregate the item demand data and the user inputs, and generate a forecast for the item demand. The software application can generate and transmit notices (e.g., purchase orders, transfer orders) to a supply chain system based on the forecast of the item demand. Alternatively, the software application can transmit the forecast of the item demand to another software application that is configured to generate and transmit notices (e.g., purchase orders, transfer orders) to the supply chain system.

Mobile Viewer Object Statusing

NºPublicación:  US20260093376A1 02/04/2026
Solicitante: 
PROCORE TECH INC [US]
Procore Technologies, Inc
US_20260093376_A1

Resumen de: US20260093376A1

An example client device is configured to (i) display a representation of a three-dimensional, federated model of a construction project, the model including respective objects created using at least two different authoring tools, (ii) receive one or more user inputs that collectively (a) select a displayed representation of a given object within the model and (b) assign a value for a property of the given object, (iii) based on the one or more user inputs, identify a globally unique identifier (GUID) that uniquely identifies the given object within a hierarchical data structure for the model and cause the model to be updated by associating the assigned value for the property with the GUID that uniquely identifies the given object, and (iv) display a representation of the updated model including an indication of the assigned value for the property of the given object.

INTEGRATED CONSUMABLE DATA MANAGEMENT SYSTEM & PLATFORM

NºPublicación:  US20260092936A1 02/04/2026
Solicitante: 
MESO SCALE TECH LLC [US]
MESO SCALE TECHNOLOGIES, LLC
US_20260092936_A1

Resumen de: US20260092936A1

The present invention relates to methods, devices and systems for associating consumable data with an assay consumable used in a biological assay. Provided are assay systems and associated consumables, wherein the assay system adjusts one or more steps of an assay protocol based on consumable data specific for that consumable. Various types of consumable data are described, as well as methods of using such data in the conduct of an assay by an assay system. The present invention also relates to consumables (e.g., kits and reagent containers), software, data deployable bundles, computer-readable media, loading carts, instruments, systems, and methods, for performing automated biological assays.

ADAPTIVE AUTONOMOUS MOBILE ROBOT TASKING AND MANAGEMENT

NºPublicación:  EP4716618A2 01/04/2026
Solicitante: 
DEMATIC CORP [US]
Dematic Corp
WO_2024241249_PA

Resumen de: WO2024241249A2

A system having autonomous mobile robots (AMRs) (204, 206) for retrieving, transporting, and delivering items to and from locations within a facility (200). The system includes picking stations (120) and a common waiting area (140). Each picking station (120) is used for picking operations as part of order fulfillment in the facility (200). The common waiting area (140) is associated with picking workstations (120). The common waiting area (140) provides a holding space for an AMRs (204, 206) when transporting items for order fulfillment at a picking station (120) that is not ready to receive the AMR (204, 206). The picking station (120) sends a prompt to the AMR (204, 206) when it's ready for the AMR (204, 206). The AMR (204, 206) will leave the common waiting area (140) and proceed to the picking station (120) when prompted by the picking station (120).

LOGICAL RELOCATION OF SORT DESTINATIONS

NºPublicación:  EP4716602A1 01/04/2026
Solicitante: 
TOMPKINS ROBOTICS INC [US]
Tompkins Robotics, Inc
AU_2023449396_A1

Resumen de: AU2023449396A1

System for use in directing a sorting operation comprises a server, a receptacle logical destination identification (ID) assignment engine, a plurality of receptacles, and an automated transport device for transporting and depositing articles into the receptacles. The system is configured to: assign a first logical destination ID to a first receptacle; and direct an automated transport device to transport and deposit a first article into the first receptacle associated with the first logical destination ID. The system is further configured to: determine that the first receptacle is full; re-assign the first logical destination ID to a second receptacle; and re-direct the automated transport device to transport and deposit the first article into the second receptacle associated with the first logical destination ID.

MERCHANDISING SHELF AND SYSTEM HAVING A CONTROLLER WITH MULTIPLE INTERFACES

NºPublicación:  EP4718355A1 01/04/2026
Solicitante: 
UMDASCH STORE MAKERS LEIBNITZ GMBH [AT]
Umdasch Store Makers Leibnitz GmbH
EP_4718355_PA

Resumen de: EP4718355A1

Die Erfindung betrifft ein Verkaufsregal mit einem Steuergerät, wobei das Verkaufsregal das Steuergerät lagert und wobei das Steuergerät aufweist: einen Stromversorgungsanschluss; eine Netzwerkschnittstelle; wenigstens eine erste Schnittstelle, eingerichtet zur Ansteuerung und elektrischen Versorgung einer Beleuchtungseinrichtung, und wenigstens eine zweite Schnittstelle, eingerichtet zur Ansteuerung und elektrischen Versorgung eines Sensors, einen Spannungswandler, welcher eingerichtet ist, eine Eingangsspannung, welche über ein Netzteil an dem Stromversorgungsanschluss anliegt, in Versorgungsspannungen für die wenigstens eine erste Schnittstelle und die wenigstens eine zweite Schnittstelle zu wandeln; wobei das Steuergerät eingerichtet ist, Steuerbefehle für eine Beleuchtungseinrichtung und einen Sensor über die Netzwerkschnittstelle von einem Server zu empfangen und die Beleuchtungseinrichtung über die wenigstens eine erste Schnittstelle und den Sensor über die wenigstens eine zweite Schnittstelle entsprechend anzusteuern sowie erfasste Daten und/oder Statusinformationen der Beleuchtungseinrichtung über die wenigstens eine erste Schnittstelle und des Sensors über die wenigstens eine zweite Schnittstelle einzulesen und über die Netzwerkschnittstelle an den Server zu übertragen. Des Weiteren betrifft die Erfindung ein Verkaufsregalsystem.

WEARABLE HEADS-UP DISPLAY ("HUD") FOR A PHARMACY WORKFLOW MANAGEMENT SYSTEM

NºPublicación:  EP4718354A2 01/04/2026
Solicitante: 
BAXTER INT [US]
BAXTER HEALTHCARE SA [CH]
BAXTER INTERNATIONAL INC,
BAXTER HEALTHCARE SA
EP_4718354_PA

Resumen de: EP4718354A2

A wearable heads-up display ("HUD") for a pharmacy workflow management system is disclosed herein. An example HUD includes smart-glasses that are communicatively coupled to a client device. The smart-glasses include at least one camera and/or barcode scanner to record information needed for the verification of a medication dose during medication formulation preparation. The smart-glasses include at least one microphone to record voice commands. Further, the smart-glasses include at least one embedded display screen that shows sequential steps of a preparation protocol for guiding a pharmacy technician to prepare a medication dose. An application on the client device and/or the smart-glasses is configured to recognize and use voice commands to provide navigation for the embedded display screen. The voice commands may also be used to provide data entry for medication dose preparation verification. Gestures may be detected by the camera and translated by the application into navigation or data entry commands.

基于清关时效预测的跨境物流路径优化系统

NºPublicación:  CN121766873A 31/03/2026
Solicitante: 
江苏建筑职业技术学院
CN_121766873_PA

Resumen de: CN121766873A

本发明一种基于清关时效预测的跨境物流路径优化系统公开了一种通过清关数据采集与特征构建实现清关时效的量化建模,通过清关时效预测模块提前评估不同清关口岸和条件下的通关时间,通过跨境物流路径生成与综合评估模块将清关时效引入路径优化决策,通过路径动态调整模块在清关偏离时实时重构后续路径,从而实现跨境物流路径的智能优化、时效可控与风险降低的基于清关时效预测的跨境物流路径优化系统。其特征在于包括清关时效预测模块、跨境物流路径生成模块、路径综合评估与优化模块和路径动态调整模块,所述清关时效预测模块包括清关数据采集子模块、清关特征构建子模块、清关时效预测子模块和预测结果校正子模块。

基于需求侧的港区内集卡调度方法、装置及设备

NºPublicación:  CN121766668A 31/03/2026
Solicitante: 
招商局国际科技有限公司
CN_121766668_A

Resumen de: CN121766668A

本发明属于港口车辆调度技术领域,公开了基于需求侧的港区内集卡调度方法、装置及设备。该方法包括:实时监测各作业点当前适卸拖车数量,若当前适卸拖车数量低于预先为作业点配置的适卸拖车数量阈值,则选取当前空闲或即将空闲的集卡作为候选集卡,并根据作业模式从指令池中选取待分配的作业指令;确定每一个候选集卡与待分配的作业指令的匹配代价,并以总体匹配代价最小化为目标,对候选集卡与作业指令进行配对,以实现集卡调度。上述方式基于需求侧的响应,可以减少拖车空跑和空等,同时建立更精确的量化拥堵识别,在拖车路径规划时考虑路径冲突,使得计算拖车行驶时间更精准,从而提升调度效果。

一种基于多源渠道的库存供应管理方法

NºPublicación:  CN121766885A 31/03/2026
Solicitante: 
广东工业大学广州哆啦科技有限公司
CN_121766885_PA

Resumen de: CN121766885A

本发明属于库存管理技术领域,公开了一种基于多源渠道的库存供应管理方法,该方法首先通过多源采集模块实时获取各类货物的出货与供应数据,经数据清洗与标准化处理后,分别计算两类核心管理指标:第一管理指标综合实时库存、最低缓冲量、提前期需求量及供需差异,用于动态优化单次供货量,预防缺货;第二管理指标为出货量与供货量之比,用于判断供需平衡状态,并据此按比例调整供货周期。本发明通过双指标协同调控,实现了供应量与供应周期的闭环优化,有效提升了库存管理的精准性与响应效率,降低了缺货与积压风险。

基于货源交易的供需对接方法、装置及设备

NºPublicación:  CN121766869A 31/03/2026
Solicitante: 
北京牛卡福网络科技有限公司
CN_121766869_PA

Resumen de: CN121766869A

本申请公开了一种基于货源交易的供需对接方法、装置及设备,涉及货物交易领域,包括根据第一货源信息和基本属性信息,确定目标司机的第一实时属性信息,第一货源信息为货源交易平台中获取的多个货源信息中的任一货源信息;根据第一实时属性信息和多个货源信息中除第一货源信息之外的其他货源信息,对其他货源信息进行排序,获取其他货源信息中每一个货源信息的排序顺序;确定与第一货源信息对应的货源进行承接时,结束操作。基于此方法,不仅让目标司机承接到了最适合于目标司机自身的货源,还由于缩短了承接、磋商的时间,还让货主出货花费的时间更短,提高了货主出货的效率,减少了时间消耗,提升了磋商率。

一种基于人工智能的农产品数据协同管理系统

NºPublicación:  CN121766903A 31/03/2026
Solicitante: 
山东尼诺智能科技有限公司
CN_121766903_PA

Resumen de: CN121766903A

本发明涉及农产品智能管理技术领域,特别是一种基于人工智能的农产品数据协同管理系统,包括,监测系统,包括第一处理模块以及通过传导线分别与第一处理模块电性连接的第一收发模块、第一输入模块和区域划分模块电性连接;销售系统,包括第三处理模块以及通过传导线分别与第三处理模块电性连接的第三收发模块、第三输入模块、第二显示模块和第二定位模块;以及,中控系统,包括第四处理模块以及通过传导线分别与第四处理模块电性连接的云储存模块、派单模块、第四收发模块和线路规划模块,该协同管理系统即可以避免农产品的滞销,也可以避免销售方造成损耗,且在农产品生长过程中的监测滞后性低,实用性好。

一种基于多思维链调配的货物存放方法、装置及存储介质

NºPublicación:  CN121757507A 31/03/2026
Solicitante: 
中国移动通信集团内蒙古有限公司中国移动通信集团有限公司
CN_121757507_PA

Resumen de: CN121757507A

一种基于多思维链调配的货物存放方法、装置及存储介质,应用于智能仓储管理技术领域,方法包括:获取智能仓储机器人可用的第一货位集合;根据第一货位集合以及货架条件规约因素,生成第一摆放链;根据第一摆放链的预设截止时间,确定第一摆放链中无法被摆放的第二货物;根据第二货物的摆放属性和智能仓储机器人的设备状态参数,构建可以同车存放同属性的多个第二货物的第二摆放链;根据已存放货物,对未处于第二摆放链中的第二货物进行同策略临近存放,并构建第三摆放链;根据三个摆放链,依次控制智能仓储机器人进行货物存放。实现了对货物存放动态需求的灵活应对,提高了仓库的全面自动化管理水平,提升了作业效率,实现了多仓库的差异化管理。

一种电池仓储管理方法和系统

NºPublicación:  CN121766892A 31/03/2026
Solicitante: 
中车大连机车车辆有限公司
CN_121766892_PA

Resumen de: CN121766892A

本发明公开了一种电池仓储管理方法和系统。电池仓储管理方法包括:获取各电池仓储位内存放的电池的电池信息;以设定规则依序遍历各电池的电池信息,在当前遍历的电池的电池信息为首个满足第一预设条件的电池信息时,根据当前遍历的电池信息确定目标容量和目标电池批次;在当前遍历的电池的电池信息不是首个满足第一预设条件的电池信息时,则将当前遍历的电池的电池信息确定为提取电池信息,并根据当前遍历的提取电池信息确定容量为目标容量,以及电池批次为目标电池批次时,将当前遍历的电池信息为提取电池信息的电池确定为出库电池,并控制出库电池的计数值加1;根据各出库电池所处的电池仓储位的位置信息提取各出库电池。

一种区块链驱动的循环包装权属追溯与复用优化系统

NºPublicación:  CN121766868A 31/03/2026
Solicitante: 
山东零度供应链有限公司
CN_121766868_PA

Resumen de: CN121766868A

本发明涉及供应链管理与区块链技术交叉领域,公开一种区块链驱动的循环包装权属追溯与复用优化系统,解决现有循环包装权属追溯不可信、复用率低、数据共享壁垒及结算低效问题。系统包括感知层、网络层、区块链层及应用层:感知层采集包装全生命周期数据;网络层预处理并5G传输数据;区块链层采用联盟链部署权属变更、全生命周期记录及隐私保护合约;应用层内置XGBoost需求预测与遗传算法调度的核心单元,实现权属追溯、复用调度等功能。实施表明:权属追溯可信度100%,复用率提升至90%以上,结算时间从3天缩至1.5小时,适用于冷链等循环包装场景。

车用动力锂电池智能回收系统及方法

NºPublicación:  CN121766968A 31/03/2026
Solicitante: 
索提斯云智控科技(上海)有限公司
CN_121766968_PA

Resumen de: CN121766968A

本发明提出了一种车用动力锂电池智能回收系统及方法,该系统包括设备执行层、S20边缘节点模组和E7云平台,依次双向通信;其中,S20边缘节点模组包括入库节点、仓储区节点和出库区节点;入库节点设置于入库检测区;仓储区节点设置于仓储区,出库区节点设置于出库区;E7云平台为智能化中央仓储管理平台。本发明解决了车用动力锂电池回收中安全性与回收效率的平衡难题。

集装箱港口内拖车动态调度与路径规划方法、装置及设备

NºPublicación:  CN121768226A 31/03/2026
Solicitante: 
招商局国际科技有限公司
CN_121768226_PA

Resumen de: CN121768226A

本发明属于港口车辆调度技术领域,公开了集装箱港口内拖车动态调度与路径规划方法、装置及设备,通过在对原始定位数据进行去噪处理后,基于去噪处理后的定位数据得到车道级连续轨迹,基于车道级连续轨迹沿道路设置滑动扫描窗口,计算窗口内的车辆密度指标与速度损失率指标并判定各窗口的拥堵等级,最终输出实时拥堵等级信息,基于实时拥堵等级信息进行路径优化,得到预计到达时间;融合车道级连续轨迹、实时拥堵等级信息以及预计到达时间生成并下发调度指令,以实现调度与路径规划。上述方式通过车道拥堵状态的动态识别与预测、导航最优路径和预估用时的批量规划,指导调度指令的智能下发,优化了内拖车调度效果,显著提升了港区内拖车作业效率。

一种港口业务受理的危险品信息校验与处理优化方法

NºPublicación:  CN121766911A 31/03/2026
Solicitante: 
广西北部湾港网络服务有限公司
CN_121766911_PA

Resumen de: CN121766911A

本发明提供了一种港口业务受理的危险品信息校验与处理优化方法,包括以下步骤:获取直装直提业务的受理申请的申请信息;根据危险品识别字段识别受理的直装直提业务是否为危险品;当获取的受理申请的危险品识别字段为是时,进入危险品校验流程;当危险品校验流程通过时,进入危险品审核流程;当返场点字段非空时,根据返场点选择目标码头并推送受理计划;当返场点字段为空时,按船舶挂靠码头默认推送受理计划;根据多级审核流程的审核结果及返场点字段,告知码头船期并分配目标码头作业资源,生成码头生产作业系统实际作业指令。本发明通过识别危险品标识并校验货主单位资质与危险品信息,能有效提高校验精准度,减少人工失误,保障港口作业安全。

物料配送方法、装置、设备及存储介质

NºPublicación:  CN121766870A 31/03/2026
Solicitante: 
中科云谷科技有限公司
CN_121766870_PA

Resumen de: CN121766870A

本申请公开了一种物料配送方法、装置、设备及存储介质。方法包括:获取物料配送请求;响应于物料配送请求,确定物料配送请求匹配的目标虚拟配送点;查询目标虚拟配送点的配送列表,配送列表包括与目标虚拟配送点对应的至少一个配送单;确定每个配送单对应的目标物理配送点,并按照配送单规定的配送顺序依次将每个配送单的目标物理配送点发送至自动导引运输车,以通过自动导引运输车按照配送单的目标物理配送点进行物料配送。

一种PCBA智能仓储管理方法

NºPublicación:  CN121766891A 31/03/2026
Solicitante: 
天津亚太电子有限公司
CN_121766891_PA

Resumen de: CN121766891A

本发明涉及仓储管理技术领域,尤其涉及一种PCBA智能仓储管理方法,该方法包括通过ERP系统生成唯一追溯码,响应于拆解指令,将使用自动分盘机对包装分割完成的物料进行拆解;基于拆解后最小物料单元唯一追溯码的粘贴面积以及粘贴位置复杂程度确定最小物料单元唯一追溯码的剥除类型;基于最小物料单元唯一追溯码的剥除类型和/或最小物料单元的结构强度确定以强力剥除法或非强力剥除法剥除所述唯一追溯码;基于未完全剥除的最小物料单元的损坏特征参数与预设损坏特征参数的比对结果确定二次剥除残留唯一追溯码或将未完全剥除的最小物料单元送至余料仓;本发明通过提高唯一追溯码更新过程控制的精准性进而提高唯一追溯码的完整性。

分拣异常处理方法、计算机设备和可读存储介质

NºPublicación:  CN121755431A 31/03/2026
Solicitante: 
顺丰科技有限公司
CN_121755431_PA

Resumen de: CN121755431A

本申请涉及一种分拣异常处理方法、计算机设备、计算机可读存储介质和计算机程序产品,可用于物流技术领域。该方法包括:获取分拣图像数据;对分拣图像数据进行分拣异常检测处理,得到分拣系统的第一分拣异常检测信息;对分拣图像数据进行包裹识别处理,得到分拣格口对应的包裹数量信息;根据目标包裹数量信息和包裹数量信息,确定分拣系统的第二分拣异常检测信息;第二分拣异常检测信息包括包裹数量异常信息;根据第一分拣异常检测信息和第二分拣异常检测信息,确定分拣系统的目标分拣异常检测信息;根据目标分拣异常检测信息指示目标对象进行分拣异常处理。采用本方法能够提高分拣异常处理的效率。

一种智能防错MES系统

NºPublicación:  CN121766884A 31/03/2026
Solicitante: 
浙江理工大学
CN_121766884_PA

Resumen de: CN121766884A

本发明提供了一种智能防错MES系统,涉及智能制造技术领域,通过扫码枪扫描待准备物料的物料码以及待生产成品的成品码,获取成品信息和物料信息并传输给控制板,并通过在物料盒旁设置光栅传感器,可以对相应物料盒中的物料在被拿取或放入时进行物料计数以及物料拿取或存放顺序检测,然后在控制板中分析处理光栅传感器和扫码枪获取的数据,在获得成品信息时,调取对应成品的物料清单以获取所需物料的种类、数量和顺序,基于预设逻辑校验判断物料准备过程是否正确,错误时进入错误处理环节。本发明可以实现从“成品识别”到“物料核对”再到“用量与顺序校验”的全流程自动化防错,构建闭环控制机制,减少人工干预,提升物料准备的准确性与效率。

对象派送的方法、装置、设备和可读介质

NºPublicación:  CN121766858A 31/03/2026
Solicitante: 
北京京东远升科技有限公司
CN_121766858_PA

Resumen de: CN121766858A

本公开的实施例提供对象派送的方法、装置、设备和可读介质。该方法包括:确定用于运输对象的运输订单;响应于接收到对运输对象增加目标服务的用户请求,确定与目标服务对应的服务单;以及基于运输订单和服务单,控制对运输对象的派送操作。以此方式,可以提高派送效率,还可以提升用户体验。

一种基于医疗运输机器人的控制方法及系统

NºPublicación:  CN121766874A 31/03/2026
Solicitante: 
北京融威众邦科技股份有限公司
CN_121766874_PA

Resumen de: CN121766874A

本申请涉及医疗运输设备领域,具体是一种基于医疗运输机器人的控制方法及系统,采用预先全局规划路径+实时避让策略的方式实现对医疗运输机器人的控制。全局路径规划基于3D网格地图综合考量距离、拥堵、电梯等待等多重代价,确保任务执行的整体最优性;而基于深度视觉与雷达融合的实时动态感知,通过精确识别目标类型与运动向量,实现了绕行、等待、主动避让等多种智能避障行为。平衡了通行效率与路径连续性,特别适应医院环境中人流密集、突发状况多的复杂动态场景。分层决策机制既避免了全局规划的沉重开销,又通过局部代价模型优化避障路径,使机器人能够礼貌、高效、可靠地完成医疗运输任务,显著提升医院物流自动化水平与应急响应能力。

基于运维系统的数据中心资产盘点方法及计算设备

NºPublicación:  CN121766883A 31/03/2026
Solicitante: 
超聚变数字技术股份有限公司
CN_121766883_PA

Resumen de: CN121766883A

本申请实施例涉及基于运维系统的数据中心资产盘点方法及计算设备,其方法包括:获取第一资产数据和第二资产数据;其中,第一资产数据基于资产管理系统提供的静态资产台账数据得到,静态资产台账数据记录有数据中心硬件资产的基准信息,第二资产数据基于运维系统获得的实际资产数据得到,实际资产数据表示所述数据中心硬件资产的当前状态;核对第一资产数据和第二资产数据,生成资产盘点结果;基于所述资产盘点结果,生成数据同步指令。这样通过资产数据的联动和自动核对,确保资产管理系统的记录与运维系统反映的实际状况保持动态一致,进而能够有效克服相关技术中人工盘点成本高、效率低和易出错等问题,能够显著提升资产管理的准确性。

采购跟踪方法、装置、服务器以及存储介质

NºPublicación:  CN121766867A 31/03/2026
Solicitante: 
国能数智科技开发(北京)有限公司
CN_121766867_PA

Resumen de: CN121766867A

本公开涉及一种采购跟踪方法、装置、服务器以及存储介质,所述方法包括:第一服务器发送目标采购计划至承运终端以及第二服务器;接收所述第二服务器反馈的入库货物信息以及所述承运终端反馈的出库货物信息;将所述入库货物信息和所述出库货物信息进行比对,得到目标采购计划对应的计划完成情况;将所述计划完成情况上传至区块链平台。如此,通过自动接收并比对出库和入库信息,实现了对采购计划执行状态的精准核验。相较于人工比对转为自动化流程,极大提升了效率与准确性。并且,核验结果被上传至区块链,确保了计划完成情况的不可篡改性与可溯源性,从而构建了从执行到验证的可信闭环。

快递物流自动检测需要帮扶对象和触达系统

NºPublicación:  CN121766943A 31/03/2026
Solicitante: 
上海圆擎信息科技有限公司
CN_121766943_PA

Resumen de: CN121766943A

本发明公开了快递物流自动检测需要帮扶对象和触达系统,涉及物流管理技术领域,包括:多源数据采集层,用于通过标准化接口实时采集并整合快递小哥的多维度作业数据,所述多维度作业数据包括基础属性数据、作业行为数据、质量结果数据和环境关联数据;智能分析决策层,连接所述多源数据采集层,用于基于所述多维度作业数据通过预设的算法模型自动识别需要帮扶的快递小哥。本发明提出的快递物流自动检测需要帮扶对象和触达系统,通过多维度数据实时采集与智能分析,实现了对快递人员能力的精准评估与潜在问题的提前识别,有效降低了管理成本,确保了帮扶措施的针对性和有效性,提升了快递人员的专业能力和服务水平。

订单分配方法、装置、电子设备及可读存储介质和程序产品

NºPublicación:  CN121766625A 31/03/2026
Solicitante: 
北京京东远升科技有限公司
CN_121766625_PA

Resumen de: CN121766625A

本公开提供了一种订单分配方法、装置、电子设备及可读存储介质和程序产品,涉及计算机技术领域、智慧物流领域,该方法包括:将待处理订单集合划分为至少一个商品集合;计算商品集合的容积性能;响应于商品集合的容积性能满足预设参数范围,根据预设数值条件对商品集合进行拆分,得到满足预设数值条件的第一类商品子集,以及第二类商品子集,其中,预设数值条件包括:容积性能等于预设容积值;在第二类商品子集未满足预设数值条件的情况下,将与第二类商品子集对应的订单分配至目标批次订单集合,其中,目标批次订单集合的生成时间晚于待处理订单集合的生成时间。

基于低空风向偏转预测的无人机悬吊货物安全评估方法

NºPublicación:  CN121766546A 31/03/2026
Solicitante: 
福州大学
CN_121766546_PA

Resumen de: CN121766546A

本发明涉及一种基于低空风向偏转预测的无人机悬吊货物安全评估方法,属于无人机应用技术领域。该方法包括:通过无人机搭载的传感器采集悬吊区域的气象数据、无人机实时姿态及吊索状态参数,构建安全关联数据集;利用交叉熵时序预测算法从数据中提取低空风向偏转规律,结合无人机动力学特性,构建融合风向偏转影响、吊索状态、无人机姿态及风险持续时长的多维度安全评估模型;采用不同悬吊场景的历史数据训练并优化模型参数;设定多级评估指标及其安全阈值与影响权重;最终基于模型与指标计算无人机悬吊货物过程中的综合安全等级。本发明能够提前预测风向变化风险,实现多维度动态安全评估,有效降低风干扰导致的安全事故。

一种港口码头生产设备振动在线检测分析管理系统

NºPublicación:  CN121766966A 31/03/2026
Solicitante: 
鞍山三合众鑫科技有限公司
CN_121766966_PA

Resumen de: CN121766966A

本发明涉及港口设备监测技术领域,尤其涉及一种港口码头生产设备振动在线检测分析管理系统,包括在线检测中心、多维采集模块、检测准备模块、故障定位单元、高危故障识别模块、设备劣化模块、风险联动评估单元及后端预警模块;本发明是通过构建初始数据池,实现从点监测到全维度覆盖,大幅降低因数据缺失导致的漏检风险,并通过匹配度计算与综合验证得分双重校验,以解决传统检测方法对早期故障灵敏度低、定位模糊的痛点,还通过多维融合模型分析,输出港口码头生产设备的劣化等级,客观反映设备运行状态,且关联故障发展趋势与设备劣化程度,针对不同风险等级执行差异化预警操作,实现运维资源优化配置,降低综合运维成本。

一种基于北斗低空物流的无人机冷链配送系统

NºPublicación:  CN121766866A 31/03/2026
Solicitante: 
大农科技股份有限公司
CN_121766866_PA

Resumen de: CN121766866A

本申请公开了一种基于北斗低空物流的无人机冷链配送系统,涉及无人机配送的技术领域,其包括需求预测模块:用于得到预测温控需求和预测飞行需求;能源管理模块:用于生成能源协同管理策略;路径规划模块:用于根据不利气象数据生成动态路径规划;温度调节模块:用于识别局部过热区域,根据局部过热区域生成温度调节策略;风险预测模块:用于进行配送模拟,生成风险预测报告;风险调整模块:用于根据配送风险节点对能源协同管理策略和/或动态路径规划进行调整与整合,生成目标配送方案,控制无人机根据目标配送方案执行配送任务。本申请具有提升无人机的配送效率以及对环境变化的适应性的效果。

一种基于大模型动态参数的智能派车方法、系统及设备

NºPublicación:  CN121766716A 31/03/2026
Solicitante: 
畅捷通信息技术股份有限公司
CN_121766716_PA

Resumen de: CN121766716A

本发明公开了一种基于大模型动态参数的智能派车方法、系统及设备,涉及车辆调度与路径规划技术领域。将大模型参数与业务数据深度绑定,基于实时动态数据与历史任务数据,通过场景识别自动生成大模型参数,利用参数规则自优化机制实现大模型参数的动态调整,生成模型生成派车及路径规划方案,检测模型复查并自动修正。本发明通过动态参数调整适配场景特异性,双模型协同降低大模型幻觉率,多维度校验提升合规性,适用于商贸批发、制造企业的物流自配送业务。

一种基于化学成分及广义逆的迭代比例优化卷烟配方设计方法和装置

NºPublicación:  CN121765909A 31/03/2026
Solicitante: 
中国烟草总公司郑州烟草研究院
CN_121765909_PA

Resumen de: CN121765909A

本发明提供一种基于化学成分及广义逆的迭代比例优化卷烟配方设计方法,包括下步骤:收集目标烟叶样品和备选库单料烟烟草样品,使用近红外光谱仪对烟草样品进行扫描,获取近红外光谱,采用近红外模型获取烟草样品的多种化学成分数据,并对化学成分数据进行预处理;根据配方设计要求中的单料烟用料下限,将库存量不足下限的单料烟从备选库中删去;根据配方设计要求中的单料烟用料上限,将库存超过上限的单料烟库存量调整为上限;将目标烟叶样品的化学成分含量与目标用量相乘;将单料烟烟草样品的化学成分含量与调整后的库存量相乘,按照配置的基于化学成分及广义逆与比例迭代的配方设计算法运行多次,生成多个设计配方。

一种蛋品的智能配送调度方法、设备及介质

NºPublicación:  CN121766633A 31/03/2026
Solicitante: 
乘乘智数科技(深圳)有限公司
CN_121766633_PA

Resumen de: CN121766633A

本发明公开了一种蛋品的智能配送调度方法、设备及介质,涉及智能调度技术领域,包括,实时采集目标蛋品的生物特性参数,并通过边缘计算节点进行特征加密处理形成隐私数据包,通过消息队列服务接收各供应商的隐私数据包,并调用同态加密库对加密特征向量执行加权平均聚合;基于全局蛋品流变学知识图谱和微生物生长动力学模型,在数字孪生沙盒中加载实时路况数据、车厢温湿度分布与振动频谱,耦合求解蛋白剪切应力累积方程与菌群增长方程的乘积风险值。通过构建全局蛋品流变学知识图谱和微生物生长动力学模型,精确捕捉蛋品在运输中生物力学特性与微生物活性的时空耦合特征,提升品质风险量化精度与运输策略可靠性。

施工机械及施工机械用便携式终端装置

NºPublicación:  CN121760415A 31/03/2026
Solicitante: 
住友建机株式会社
CN_121760415_PA

Resumen de: US20260094111A1

A work machine includes a lower traveling body; an upper slewing body that is slewably mounted on the lower traveling body; an attachment that is attached to the upper slewing body; an information acquisition device including circuitry configured to acquire payload information that is information of a weight of an object loaded by the attachment on a bed of a delivery vehicle; and a communication device including circuitry configured to transmit the payload information to a portable terminal device configured to enable wireless communication with the delivery vehicle.

一种用于港口理货作业管理系统

NºPublicación:  CN121766901A 31/03/2026
Solicitante: 
张家港中理外轮理货有限公司
CN_121766901_PA

Resumen de: CN121766901A

本发明公开了一种用于港口理货作业管理系统,涉及港口理货作业管理技术领域;包括数据采集模块、特征分析模块、货物分析模块、安全分析模块和预警分析模块;数据采集模块:采集实时的港口卸货现场拍摄的视频和图像数据,并执行数据预处理,构成分析数据集;其技术要点为:将视觉采集技术与图像识别技术相结合,实现货船卸船过程中货物计数的自动化与精准化处理,能够精准识别不同规格与形态的货物,自动完成计数统计,无需人工手动扫描录入,有效避免了因人工疲劳、视觉误差导致的计数偏差,提高了计数准确率;显著降低了理货人员的人工劳动强度,减少了人工成本投入,确保理货数据与实际装卸情况相符,具有良好的使用前景。

化工厂和控制化工厂的方法

NºPublicación:  CN121773438A 31/03/2026
Solicitante: 
巴斯夫欧洲公司
CN_121773438_PA

Resumen de: WO2025045897A1

A chemical plant (1) is provided with a first production facility (200) to produce fuel gas (201) as a product or a byproduct and a second production facility (300) arranged downstream from the first production facility (200) to consume fuel gas (201) produced by the first production facility (200) and to consume natural gas if an amount of fuel gas produced by the first production facility is not sufficient for an operation of the second production facility (300). The chemical plant (1) comprises a controller (100) configured to control an operation of the second production facility (300) based on a term in an objective function to reduce a temporal variation of a consumption of fuel gas by the second production facility (300) and a second term in the objective function to reduce a deviation of a demand for fuel gas by the second production facility (300) with a constraint that the second production facility does not consume more gas than the amount of fuel gas provided by the first production facility (200).

一种自动贩卖机的清仓商品下架方法及系统

NºPublicación:  CN121766896A 31/03/2026
Solicitante: 
上海趣致网络科技有限公司
CN_121766896_A

Resumen de: CN121766896A

本申请公开了一种自动贩卖机的清仓商品下架方法及系统。方法包括每日拉取中心仓库存、在机库存与14天点位日均销量,构建城市级快照;先由预清仓下架模块冻结7天预留库存,获得可下架库存;结合平均补货后在机库存计算最低铺货点位数与当日最多可下架点位数,并判断城市总库存是否触发清仓;对满足条件的SKU按销量由低到高、下期排期由近及远、补货周期由长到短生成淘汰队列;依次对队列机器进行准入校验,通过则在数据库删除未来排期中的该SKU;每日滚动更新数据直至中心仓与在机库存均为零。本申请减少人工干预,动态地考虑机器销售条件和城市仓库库存流转效率两个方面的因素,优化清仓商品的销售规划。

储物柜格口匹配方法、装置及存储介质

NºPublicación:  CN121766876A 31/03/2026
Solicitante: 
上海妃鱼数字科技有限公司
CN_121766876_PA

Resumen de: CN121766876A

本发明涉及一种储物柜格口匹配方法、装置及存储介质,其中方法包括:步骤S1:接收订单信息,基于订单信息解析得到商品特征、用户特征和时间特征;步骤S2:基于用户特征和商品特征对各储物柜的格口类型进行初筛,筛选得到全部或部分格口类型作为第一格口类型;步骤S3:将各第一格口类型的格口特征与解析得到的商品特征、用户特征和时间特征拼接后,输入训练好的第一模型,得到对应于各格口类型的第一时长和第二时长;步骤S4:基于各格口类型的第一时长和第二时长,结合各格口类型的空闲格口比例,分别计算得到各格口类型的目标函数值,并选择目标函数值最优的格口类型作为当前订单的匹配结果。与现有技术相比,本发明具有提高用户使用便捷度等优点。

一种基于AI与商情知识图谱的全球能源化工贸易货流监测系统

NºPublicación:  CN121766865A 31/03/2026
Solicitante: 
上海京瀚海运有限公司吾爱赫兹资讯技术(上海)有限公司吾爱赫兹信息科技(海南)有限公司
CN_121766865_PA

Resumen de: CN121766865A

本发明公开了一种基于AI与商情知识图谱的全球能源化工贸易货流监测系统,涉及能源化工贸易监测技术领域,包括多源数据采集层、数据处理与存储层、知识图谱构建与推理层、AI应用服务层;该系统通过多源数据采集层获取AIS数据、商情数据等多维度信息,经数据处理与存储层进行清洗、融合,依托知识图谱构建与推理层建立动态关联的商情知识图谱,再通过AI应用服务层实现航次事件识别、货流预测及风险预警,解决了现有监测系统数据孤岛、单模态分析局限及动态推理能力不足的问题,提升了货流监测的准确性、实时性与商业洞察能力,可广泛应用于全球能源化工贸易监管、企业供应链优化等场景。

排班优化方法和产品、电子设备及存储介质

NºPublicación:  CN121766624A 31/03/2026
Solicitante: 
顺丰科技有限公司
CN_121766624_PA

Resumen de: CN121766624A

本申请实施例提供了一种排班优化方法和产品、电子设备及存储介质,属于人工智能技术领域。该方法包括:确定出勤影响因素,根据出勤影响因素构建出勤概率模型;基于出勤概率模型计算目标对象在不同班次的预估出勤概率;将数值最高的预估出勤概率对应的预估班次,与预设排班表中目标对象的预设班次进行比较,得到第一比较结果;将数值最高的预估出勤概率与预设阈值进行比较,得到第二比较结果;根据第一比较结果和第二比较结果对预设排班表进行优化。本申请实施例能够提高排班的合理性。

拣货储位生成方法、装置、设备和存储介质

NºPublicación:  CN121766877A 31/03/2026
Solicitante: 
北京京东远升科技有限公司
CN_121766877_PA

Resumen de: CN121766877A

本公开提供了一种拣货储位生成方法、装置、设备和存储介质,涉及仓储物流领域,尤其涉及智慧供应链等领域。该方法包括:响应于已接收到用于调用预配置的储位推荐规则的调用指令,从数据库中查询储位推荐规则,其中,储位推荐规则关联有与储位推荐规则相匹配的储位信息,调用指令是在业务端已获得拣货任务的情况下生成的;响应于已接收到拣货任务的任务属性信息,对任务属性信息和储位推荐规则进行匹配,得到与任务属性信息相匹配的目标储位推荐规则;以及将与目标储位推荐规则相关联的目标储位信息发送至业务端,以生成针对拣货任务的拣货储位。

用于智能仓储环境的多源数据融合式库存预测与调控方法

NºPublicación:  CN121766895A 31/03/2026
Solicitante: 
南京鹿屿岛信息科技有限公司
CN_121766895_PA

Resumen de: CN121766895A

本发明公开了用于智能仓储环境的多源数据融合式库存预测与调控方法,涉及智能仓储管理与物流信息处理技术领域。本发明有效刻画了库存演化过程中的不确定性边界,避免了对单一确定值的过度依赖,从整体上提升了库存预测的稳定性与可靠性;通过对库存变化过程进行时间片级包络建模并自动识别数据缺失区间,本发明能够在数据不完整或存在波动的情况下,仍保持库存演化轨迹的连续性与一致性,显著降低因传感异常、通信延迟等因素引起的预测失真风险;进一步地,基于库存演化包络序列生成未来库存预测包络区间,使库存调控由传统的事后响应转变为面向区间风险的前瞻性决策,有助于同时兼顾库存安全与仓储效率。

一种物流数据获取方法和系统

NºPublicación:  CN121765003A 31/03/2026
Solicitante: 
深圳拓讯网络科技有限公司
CN_121765003_PA

Resumen de: CN121765003A

本申请公开了一种物流数据获取方法和系统,包括:根据各物流商接口的规范要求预先配置对接表、通用策略和策略实现类;基于获取物流数据的请求任务从对接表、通用策略和策略实现类中分别获取对应的目标基础信息组、目标策略规则项和目标策略实现类;执行物流商数据组装;基于组装的物流商数据向相应物流商接口发送对接请求,并获取物流商接口返回的初始物流数据;基于目标策略规则项或目标策略实现类中的返回内容封账规则执行初始物流数据的扭转操作,生成目标物流数据。该方法和系统可以统一物流商数据组装方式和数据扭转操作,提高目标物流数据的准确性。

一种新型包装箱追踪运输回收系统

NºPublicación:  CN121766969A 31/03/2026
Solicitante: 
山东零度供应链有限公司
CN_121766969_PA

Resumen de: CN121766969A

本发明公开一种新型包装箱追踪运输回收系统,涉及物流智能管理领域,解决存储信息孤立、核验低效、监控汇报割裂、回收判定单一问题。系统含三维存储、运输前核验、运输监控、运输后回收四大模块,通过核心算法闭环管理:三维存储关联算法提升选箱效率83%、存储误差降至0.8%;多维核验算法使核验误差0.3%;运输动态适配算法将异常反馈延迟缩至1.8分钟;回收优先级算法使取出误判率1.5%、回收效率升75%。本系统适用于电商大促、多品类零售等场景,兼顾创新与实用,降低物流成本,提升客户满意度。

车辆路径问题求解方法、系统、设备及介质

NºPublicación:  CN121766871A 31/03/2026
Solicitante: 
安徽大学
CN_121766871_PA

Resumen de: CN121766871A

本发明公开一种车辆路径问题求解方法、系统、设备及介质,具体为一种基于聚类分解与图匹配的车辆路径问题求解方法,包括S1、接收一个待求解的大规模车辆路径问实例,建模为一个赋权无向图,并结合一系列约束条件与优化目标;S2、构建一个结构多样化的离线知识库,该步骤的输入为一组预设参数,输出为一个存储于所述存储器中的知识库;S3、针对所述待求解的大规模车辆路径问题实例,执行初始化操作以生成全局初始解;S4、以所述全局初始解为起点,执行迭代局部搜框架对解进行深度优化,直至满足预设的终止条。本发明解决了现有技术在处理大规模复杂物流网络时存在的计算耗时长、规划成本高和结果不稳定的技术问题。

一种AI赋能的智能仓储分拣机器人及方法

NºPublicación:  CN121766886A 31/03/2026
Solicitante: 
佛山市德维讯智能科技有限公司
CN_121766886_PA

Resumen de: CN121766886A

本发明涉及智能仓储技术领域,具体为一种AI赋能的智能仓储分拣机器人及方法;该机器人包括3D视觉智能定位模块、AI动态路径规划模块、多品类自适应分拣执行模块、全流程数据安全协同模块及能耗‑效率平衡控制模块;3D视觉智能定位模块采集货物特征并修正定位偏差,AI动态路径规划模块生成最优路径,自适应分拣执行模块调整分拣参数,数据安全协同模块加密追溯数据,能耗平衡控制模块优化能耗;该方案解决现有机器人定位不准、效率低、损耗高、数据不安全问题,提升分拣适配性与安全性,适用于多品类仓储场景。

面向塑料贸易场景的货物进销存数据管理系统

NºPublicación:  CN121766889A 31/03/2026
Solicitante: 
广东塑划算产业互联网股份有限公司
CN_121766889_PA

Resumen de: CN121766889A

本发明公开有面向塑料贸易场景的货物进销存数据管理系统,属于货物进销存管理技术领域,具体包括数据库、采购管理模块、销售管理模块、库存管理分配模块以及订单跟踪模块;本发明是引入“采购订单‑库存实时绑定” 机制,以在途库存数据更新原始库存数据,将传统的库存区分为“可用库存”和“在途库存”的新库存概念,在获取销售订单数据后,调用库存锁定引擎机制,生成销售订单与新库存的绑定关系,通过销售订单与库存匹配锁定确定“已锁定库存”,再次更新库存数据进行锁定库存的核销,实现库存数据与采购、销售数据的动态监控与同步关联,不仅有效的提升库存管理效率和订单履约准确性,还有效的防止货物超卖和错卖。

一种基于智能摄像头的资产盘点系统及方法

NºPublicación:  CN121766888A 31/03/2026
Solicitante: 
天津光电集团有限公司天津七五四光电技术有限公司
CN_121766888_PA

Resumen de: CN121766888A

本发明公开了一种基于智能摄像头的资产盘点系统及方法,核心处理模块分别与摄像头录入模块,定时盘点模块,资产标签识别模块,资产信息更新模块,异常资产信息处理模块,控制管理模块和数据持久化模块双向连接,定时盘点模块依次与资产标签识别模块、资产信息更新模块、异常资产信息处理模块单向连接,控制管理模块与外围控制设备双向连接,数据持久化模块与数据库双向连接;本发明由传统的资产盘点改为基于智能摄像头的资产盘点系统,不仅可以显著降低资产盘点对人力物力的消耗,还可以显著提高资产盘点速度,提成盘点效率,另外,还可以提高资产信息准确性,更加便捷地对资产生命周期全面把控,具有广阔的应用前景,有利于推广应用。

商品入库检测方法、装置、设备及存储介质

NºPublicación:  CN121766899A 31/03/2026
Solicitante: 
深圳优之派电子商务有限公司
CN_121766899_PA

Resumen de: CN121766899A

本发明涉及商品入库检测方法、装置、设备及存储介质,方法包括采集待入库商品的视觉图像与重量数据,对所述视觉图像进行外观区域分割,获得目标区域图像;识别所述目标区域图像的包装表观特征,从所述目标区域图像的商品主体区域提取商品身份特征集;根据所述商品身份特征集从预存的品类数据库提取基准重量区间和基准包装特征模板,将所述重量数据与所述基准重量区间进行重量比对;分析所述包装表观特征与所述基准包装特征模板之间的表观差异值;若所述表观差异值在预设容限范围时,则生成允许入库指令;本发明能够对商品身份与包装状态进行独立且协同的校验,从而有效识别出包装轻微破损或视觉近似品类的异常情况。

垃圾回收的云端协同管理与分拣方法及系统

NºPublicación:  CN121766713A 31/03/2026
Solicitante: 
浙江虎哥废物管理有限公司
CN_121766713_PA

Resumen de: CN121766713A

本发明提供了一种垃圾回收的云端协同管理与分拣方法及系统,涉及垃圾管理技术领域,方法包括:计算各个垃圾容器的垃圾填充率和垃圾填充速率;将垃圾填充率和垃圾填充速率上传至云端管理平台;通过模糊推理模型,生成垃圾清运优先级集合;根据垃圾清运优先级集合,结合垃圾投放站点的地理位置信息和实时交通信息,构建动态成本图和路径代价函数;通过Dijkstra算法,对动态成本图进行求解,确定垃圾收运路径;根据垃圾收运路径,通过控制垃圾收集车辆将各个垃圾投放站点的垃圾输送至分拣流水线;对分拣流水线上垃圾的垃圾流量和垃圾密度进行监测;根据垃圾清运过程数据和垃圾分拣结果对模糊推理模型、路径代价函数以及流平衡模型进行优化。

一种生物样本资源的入库存储管理方法及相关装置

NºPublicación:  CN121766882A 31/03/2026
Solicitante: 
广州医科大学附属第一医院(广州呼吸中心)
CN_121766882_A

Resumen de: CN121766882A

本发明公开了一种生物样本资源的入库存储管理方法及相关装置,其方法包括:生物样本存储系统接收待存储生物样本数据,并提取到所述待存储生物样本数据对应的样本数量和样本属性;生物样本存储系统基于待存储生物样本数据对应的样本数量和样本属性在多个生物样本存储库中确定目标存储区域;生物样本存储系统基于目标存储区域将待存储生物样本数据执行虚拟入库处理,并在完成虚拟入库后,将目标存储区域划为已分配区域;在检测待存储生物样本数据完成实体入库时,将目标存储区域由已分配区域修改为样本占用区域。在本发明实施例中,实现生物样本存储系统与生物样本存储库的配合对生物样本数据的入库管理,并全流程监控至生物样本数据实体入库。

一种联运网络运力推测方法和装置

NºPublicación:  CN121766859A 31/03/2026
Solicitante: 
国家能源集团新能源技术研究院有限公司国家能源投资集团有限责任公司
CN_121766859_PA

Resumen de: CN121766859A

本申请涉及联运网络运力推测方法和装置。包括获取预设时间段中联运网络各节点、链路的特征向量和发生的冲击事件,得到联运动态图;根据联运动态图计算节点剩余可用程度,进行扩散处理,得到节点联合向量,联合向量表征了节点受冲击事件的影响程度;根据联合向量计算节点基准矫正量,根据基准矫正量计算节点混合表示结果,通过运力需求量对混合表示结果筛选,得到联运网络的空间交互结果,混合表示结果表征了节点的恢复趋势,基准矫正量表征了节点经冲击事件产生的可用容量偏差;基于空间交互结果进行推演,得到节点可用容量变化值和联运网络整体可用容量变化值,得到运力推测结果。本申请可提高在冲击事件影响下联运网络可用运力推测准确度。

基于深度学习的建筑材料智能盘点与损耗分析方法及系统

NºPublicación:  CN121766878A 31/03/2026
Solicitante: 
中建国际城市建设有限公司
CN_121766878_PA

Resumen de: CN121766878A

本发明涉及数据处理领域,具体涉及一种基于深度学习的建筑材料智能盘点与损耗分析方法及系统。其中,本发明在关键区域部署摄像头,利用定制化的深度学习目标检测模型,自动识别和统计钢筋、管材、砌块等主要材料的进场、运输和使用量,精准定位材料异常损耗发生的区域和时间段。最终,本发明方案能够实时识别进度偏差以及工序跳跃、材料浪费等问题,为项目管理提供了前所未有的洞察力,从而显著辅助决策、降低延期风险。

一种基于多仓联动的货运物流调度优化方法及系统

NºPublicación:  CN121766875A 31/03/2026
Solicitante: 
陕西诺鑫网络科技有限公司
CN_121766875_PA

Resumen de: CN121766875A

本发明属于物流调度技术领域,提供了一种基于多仓联动的货运物流调度优化方法及系统,包括获取货物目的地与各仓库位置以生成多条候选运输路线,并将每条路线依据路面类型划分为若干路段。进而,采集各路段的实时路面缺陷特征与天气状态数据,分别构建颠簸强度分析模型与天气适应性分析模型,生成路线的颠簸风险评分与天气适应性评分;最后,融合运输成本数据,计算各候选路线的综合协同代价评分,并选取评分最优的路线作为最终调度方案,从而进行货运物流调度优化;本发明能够综合考虑路面颠簸风险、天气适应性和运输成本,生成最优运输路线,从而提升物流调度效率、降低运输成本并保障货物安全性。

一种基于物联网的智能工具管理系统及方法

NºPublicación:  CN121766703A 31/03/2026
Solicitante: 
贵州西南中创科技有限公司
CN_121766703_PA

Resumen de: CN121766703A

本发明属于智能工具柜管理领域,具体而言,涉及一种基于物联网的智能工具柜管理系统及方法。包括至少一个智能工具柜终端、用户移动终端、系统后台服务器;本发明通过核心处理引擎模块的优化算法,使得该系统能够基于历史使用数据自动计算出各工具柜的最优工具配置方案打破了传统固定配置模式,实现按需动态调整,显著提高工具利用率配置决策从依赖人工经验转变为数据驱动,提高了决策的科学性和准确性,解决了现有技术方案仍存在管理模式僵化,且资源配置与动态需求严重脱节根本性局限,导致工具管理始终处于“被动响应”和“局部优化”的初级阶段,无法实现真正的智能化与全局优化的问题。

基于混合深度学习架构的码头道口外集卡流量预测方法及系统

NºPublicación:  CN121766535A 31/03/2026
Solicitante: 
同济大学
CN_121766535_PA

Resumen de: CN121766535A

本发明涉及一种基于混合深度学习架构的码头道口外集卡流量预测方法及系统,方法包括:采集码头道口外集卡数据,进行预处理、数据匹配计算及特征工程处理,构建码头道口外集卡流量预测数据集;码头道口外集卡流量预测数据集包括码头道口外集卡流量时序特征、码头道口外集卡流量空间特征以及码头道口外集卡预约量特征;将码头道口外集卡流量预测数据集输入预训练的预测模型中,输出未来若干小时内每个小时的码头道口外集卡流量预测值。与现有技术相比,本发明充分考虑码头道口外集卡流量时间序列的全局特征与短时特征,并引入空间特征与集卡预约量特征实现码头道口外集卡流量的时空信息融合,从而实现码头道口外集卡流量的动态实时精确预测。

基于BIM模型自动化协同构建系统

NºPublicación:  CN121766942A 31/03/2026
Solicitante: 
中国铁建电气化局集团有限公司中铁建电气化局集团第三工程有限公司
CN_121766942_PA

Resumen de: CN121766942A

本发明涉及BIM模型构建技术领域,尤其涉及一种基于BIM模型自动化协同构建系统,包括网络构建模块、参数录入模块、计划制定模块、方案优化模块和物流执行模块。通过构建BIM协同网络并接入云端平台,实现设计参数的自动录入与构件信息表的生成上传;基于云端共享的构件信息,智能提取生产需求并制定生产计划;进一步构建生产排程‑物流配送网络,生成最优生产排程方案并动态更新至信息表;最终依据最优排程制定物流配送计划并执行配送,实现了从设计到生产再到物流的全流程数据贯通与自动化协同,打破信息孤岛,提升生产排程科学性与物流响应效率,显著提高预制构件生产管理的数字化、智能化水平,适用于装配式建筑大规模高效建造需求。

基于RFID识别的智能试剂管理方法及系统

NºPublicación:  CN121766893A 31/03/2026
Solicitante: 
广东顺德中科优联医学检验有限公司
CN_121766893_PA

Resumen de: CN121766893A

本发明提出基于RFID识别的智能试剂管理方法及系统,方法包括:试剂入库时,同步采集试剂的RFID标签编号和试剂瓶体的第一图像,基于所述第一图像提取第一图像特征向量,并生成第一身份签名;在试剂周期性盘点时,提取第二图像特征向量,并结合所述当前RFID标签编号生成第二身份签名;并计算所述第二图像特征向量与所述第一图像特征向量之间的结构差异度;基于所述结构差异度、所述第二身份签名与所述第一身份签名的比对结果、以及该试剂的历史识别记录,构建综合异常度模型,以计算综合异常度;当所述综合异常度超过预设阈值时,自动触发预设的管理动作。本发明适用于对安全性和准确性要求极高的实验室试剂管理场景。

一种考虑多机型的空空中转联程运输协同配载方法

NºPublicación:  CN121766864A 31/03/2026
Solicitante: 
中国民航大学
CN_121766864_PA

Resumen de: CN121766864A

本发明涉及航空货运配载优化技术领域,具体为一种考虑多机型的空空中转联程运输协同配载方法,将多种不同型号货机的物理结构、操作特征标准化为统一参数集,构建适用于任意机型的通用配载优化模型,通过自适应混合编码策略映射六维决策空间,输出全局最优的联程运输协同配载方案。本发明通过构建参数化配置库实现了兼容多种货机,提升了配载作业的通用性和效率;通过建立跨航段协同约束机制,实现了联程运输全过程的动态重心前瞻性管控与中转阻塞优化,显著提高了运输安全性与中转效率;并基于多目标智能优化算法,系统性协同优化全局业载、重心稳定与操作成本,从而实现了安全、经济、高效兼顾的全局最优配载决策。

多云仓管理、施工联动及相亲案底查询的方法及系统

NºPublicación:  CN121766887A 31/03/2026
Solicitante: 
曾庆波
CN_121766887_PA

Resumen de: CN121766887A

本发明公开了多云仓管理、施工联动及相亲案底查询的方法及系统,其技术方案为整合云仓管理、施工服务、相亲服务及统一记录四大模块:云仓管理模块建立多云仓信息数据库,通过定位算法实现就近自提;施工服务模块将施工报价单审核与材料购买权限绑定,对工人进行多维度核实,验收后自动生成绑定数据的验收单及保修单;相亲服务模块提供实名验证后的专属免费案底查询,采用加密接口实现广告链接展示,配套直播间礼物赠送与提现机制;统一记录模块通过加密分布式数据库存储全流程数据,支持多维度追溯。本发明实现跨领域服务联动,规范服务流程,保障用户安全与权益,核心功能不易被模仿,提升服务效率与数据安全性,适用于一站式综合服务场景。

一种基于互联网的医院问诊系统及交互方法

NºPublicación:  CN121768702A 31/03/2026
Solicitante: 
北京因联科技有限公司
CN_121768702_PA

Resumen de: CN121768702A

本发明公开了一种基于互联网的医院问诊系统,包括业务中台层、多端应用层、复合交互层和核验层;所述业务中台层采用Java Springboot加SpringCloud微服务架构构建而成,能够将多个核心功能封装为独立的服务流程;所述多端应用层能够基于不同终端用户的操作习惯与性能要求,选用最优的技术栈形成多端应用,且各端通过API网关与上述业务中台进行前后端分离式交互;所述复合交互层用于在医患之间建立通信链路,以进行在线问诊、处方开具、药品配送的全业务流程。本发明实现了“在线问诊‑开方‑购药‑配送”的一站式业务流程,同时支持医生随时随地通过移动端或电脑进行接诊,解决了医生的执业行为被束缚于实体医院的固定场所和时间的问题。

智能咖啡站的后台管理系统及方法

NºPublicación:  CN121767013A 31/03/2026
Solicitante: 
深圳市创界智联科技有限公司
CN_121767013_PA

Resumen de: CN121767013A

本发明提供了智能咖啡站的后台管理系统及方法,包括:实时采集各个智能咖啡站内的数据,以计算和分析出原料耗尽时间、设备维护紧急性、销售趋势报告以及用户偏好数据,将原料耗尽时间、设备维护紧急性、销售趋势报告以及用户偏好数据输入预设的后台管理系统,以生成运营决策方案,通过实时数据采集、库存消耗速率分析、设备健康评估、销售趋势识别和用户偏好挖掘等步骤,使后台管理系统能够对智能咖啡站的补货、维护和销售策略进行动态、精准且自动化的运营决策,解决现有技术中在设备数量较多、分布区域较广或用户需求变化频繁时,存在出现补货不及时、设备故障未及时处理、销售策略难以调整的问题。

基于AI的物料信息处理方法、装置、设备及存储介质

NºPublicación:  CN121765401A 31/03/2026
Solicitante: 
深圳市造物工场科技有限公司深圳市金百泽电子科技股份有限公司
CN_121765401_PA

Resumen de: CN121765401A

本申请涉及仓储与物料识别技术领域,公开了一种基于AI的物料信息处理方法、装置、设备及存储介质,包括:获取目标物料的图像数据,并对图像数据进行预处理,以得到待识别图像;对待识别图像执行光学字符识别处理,生成结构化的文本识别结果;基于文本识别结果和预设的物料清单信息进行相似度计算,确定候选匹配物料项;利用预设的匹配规则,对候选匹配物料项进行匹配判断,得到物料信息识别结果。本申请的方法实现了物料信息的自动识别与匹配,显著提升了收检效率,降低了人工操作的工作量和出错风险。同时增强了匹配过程的可追溯性,为生产质量管理提供了可靠的数据基础。

一种用于手机保护膜生产用的监测及管理方法

NºPublicación:  CN121766672A 31/03/2026
Solicitante: 
合肥稻丰智谷电子科技有限公司
CN_121766672_PA

Resumen de: CN121766672A

本发明公开了一种用于手机保护膜生产用的监测及管理方法,涉及生产监测管理技术领域,首先根据厂家不同质量等级的各手机保护膜类型的销售信息和仓库信息,获取各标记手机保护膜类型,其次分析各标记手机保护膜类型的质量与存储时长的关联,并设置各标记手机保护膜类型的初始质量等级,然后根据各标记手机保护膜类型的初始质量等级,设置各工艺参数组合,分析在不同参数工艺组合下各标记手机保护膜类型的质量变化率,并设置各生产环节的工艺参数所需数值,最后在进行生产时,实时监测各生产环节的工艺参数数值,并进行调整,保障了手机保护膜的质量,也保障了在仓库存储过程中手机保护膜的质量变化率。

基于物联网的智能食品销售库存管理系统

NºPublicación:  CN121766890A 31/03/2026
Solicitante: 
新宁县恒发果业有限公司
CN_121766890_PA

Resumen de: CN121766890A

本发明涉及计算机应用技术与物联网技术领域,尤其涉及基于物联网的智能食品销售库存管理系统。该系统包括物联网传感器网络、数据采集模块、数据处理模块和决策控制模块。物联网传感器网络具有温度传感器、湿度传感器、重量传感器和RFID标签,用于实时采集食品库存环境参数和库存数据。数据采集模块连接传感器网络和外部数据源,对销售数据、天气预报数据和节假日事件数据进行整合与预处理。数据处理模块采用长短期记忆网络模型进行销售预测,并采用支持向量机模型评估食品变质风险。本发明通过多源数据融合与机器学习实现了食品库存的实时监控、精准预测与动态优化,有效降低了食品浪费和库存成本,提升了运营效率。

一种基于大数据的物流监控系统及方法

NºPublicación:  CN121766872A 31/03/2026
Solicitante: 
合肥赋域数字科技有限公司
CN_121766872_A

Resumen de: CN121766872A

本发明涉及物流领域,公开了一种基于大数据的物流监控系统及方法,数据采集模块、环境耦合分析模块、预警处理模块以及路径动态调控模块;所述数据采集模块,用于获取包括货物特性数据、实时路况数据、环境监测数据及车辆状态数据的多维数据;所述环境耦合分析模块,用于基于所述多维数据进行耦合分析;所述预警处理模块,用于将所述耦合风险系数与预设风险阈值比较;所述路径动态调控模块,用于在接收到所述高风险预警时,基于当前货物目的地、实时路况及环境数据生成至少一条备选优化路径并输出。本发明与现有技术相比优点在于,提升对物流运输过程综合风险的动态感知与主动应对能力。

一种基于ERP架构的爆款订单智能处理系统

NºPublicación:  CN121766627A 31/03/2026
Solicitante: 
上海圆擎信息科技有限公司
CN_121766627_PA

Resumen de: CN121766627A

本发明公开了一种基于ERP架构的爆款订单智能处理系统,涉及智能决策技术领域,包括:获取目标企业历史订单数据,提取历史爆款订单特征,构建爆款订单特征矩阵;基于后台系统,实时获取订单多维运行参数,结合爆款订单特征矩阵,动态识别与标记潜在爆款订单;根据目标企业ERP企业资源规划管理系统,整合多维实时数据作为根节点,训练梯度提升树模型,以预测未来时段订单生产瓶颈作为叶子节点,定位订单具体瓶颈风险节点;整合动态识别与标记潜在爆款订单与定位订单具体瓶颈风险节点,根据ERP企业资源规划管理系统自动生成目标企业订单分级资源调度指令,完成目标企业爆款订单智能处理。本发明提高了智能化配置。

一种批发档口智能标签打印与管理系统

NºPublicación:  CN121766879A 31/03/2026
Solicitante: 
上海圆擎信息科技有限公司
CN_121766879_PA

Resumen de: CN121766879A

本发明公开了一种批发档口智能标签打印与管理系统,涉及计算机应用与物流信息化技术领域,包括:基础配置模块,包含配置录入单元和配置存储与缓存单元,用于通过图形化界面和配置文件导入配置信息,所述配置信息包括:标签规则、拣货码规则、供应商档口及市场信息、标签模版及备货单配置,并将配置信息缓存至基础配置缓存。本发明提出的一种批发档口智能标签打印与管理系统,通过自动化与智能化的技术手段,实现了从订单接入、标签生成、分拣到发货、对账的全流程闭环管理,减少了人工干预与错误率,其独特的“库存状态‑标签类型”联动机制,确保了标签信息的准确性与时效性,避免了因信息不符导致的货损与延误。

门店外送营业额的确定方法、装置、电子设备及介质

NºPublicación:  CN121767022A 31/03/2026
Solicitante: 
茶姬(上海)科技有限公司
CN_121767022_PA

Resumen de: CN121767022A

本申请一种门店外送营业额的确定方法、装置、电子设备及介质,该方法包括:获取新开门店的新店配送范围和已开门店的历史订单数据;根据新店配送范围,确定新开门店与已开门店的重叠配送区域;根据历史订单数据,确定已开门店在重叠配送区域内的订单总数以及订单总数对应的第一客单价均值;通过指定数据分析模型,预估订单总数将被新开门店分担的目标订单数量;指定数据分析模型用于确定重叠配送区域内的用户选择新开门店的概率;根据目标订单数量和第一客单价均值,预估新开门店的目标外送营业额。由此,通过数据分析模型精准预估新开门店分担的目标订单数量,避免平均分配原则忽略不同用户选择门店的倾向性差异,提升新开门店分流分析精度。

一种汽轮发电机气隙三维重建与备件智能优化系统及方法

NºPublicación:  CN121766894A 31/03/2026
Solicitante: 
哈尔滨电机厂有限责任公司
CN_121766894_PA

Resumen de: CN121766894A

本发明公开了一种汽轮发电机气隙三维重建与备件智能优化系统及方法,属于电力设备智能运维技术领域。解决了现有技术中传统的汽轮发电机气隙维护方法存在的三维测量精度不足、备件配置缺乏数据支撑的问题;本发明通过数据采集模块实时获取数据并对齐,进行筛选和处理,得到处理后的数据;构建三维数字孪生模型,输出汽轮发电机气隙模拟结果;通过备件优化模块构建库存优化模型,输出备件需求量;通过智能运维模块提供显示汽轮发电机气隙模拟结果和库存状态的可视化人机交互界面,生成并采用远程数据传输通道输出三级维护方案。本发明有效提升了测量精度和备件智能优化效果,可以应用于电力设备运维。

货架物料管理系统及其管理方法

NºPublicación:  CN121766897A 31/03/2026
Solicitante: 
深圳市国腾智达电子有限公司
CN_121766897_PA

Resumen de: CN121766897A

本申请涉及电子物料仓储管理技术领域,尤其涉及一种货架物料管理系统及其管理方法,系统包含物料标识、货架感应定位、入库绑定和数据管理模块,物料标识模块为每个盛放相同物料的物料盘配置唯一身份信息,货架感应定位模块监测物料盘入库情况,成功入库后发送信号至入库绑定模块,入库绑定模块读取物料身份信息,将其放置目标仓位并生成仓位绑定信息,数据管理模块接收物料身份、入库、仓位绑定及库存状态等信息,存储至本地数据库。本申请可精准定位物料位置,提高物料取用效率,减少取用错误,还能系统记录物料全生命周期信息,便于问题排查,保障生产流程稳定高效。

一种基于数字孪生的城市物流枢纽系统及使用方法

NºPublicación:  CN121766663A 31/03/2026
Solicitante: 
中建三局智能技术有限公司
CN_121766663_PA

Resumen de: CN121766663A

本发明公开了一种基于数字孪生的城市物流枢纽系统及使用方法,涉及智能物流与工业物联网技术领域,包括:动态数据采集层,其用于采集多模态数据并进行数据预处理;数字孪生建模层,其基于多模态数据生成数字孪生模型;协同优化引擎层,其包括路径规划模块和强化学习模块,路径规划模块用于进行跨模态路径规划,生成初始路径,强化学习模块基于初始路径的设备调度结果,进行冲突检测,在检测到冲突时,选择动作进行策略调整,并根据动作结果调用路径规划模块重新规划路径;数字孪生模型还用于对规划的路径进行仿真,以判断是否满足约束条件。本申请提升了物流枢纽的资源利用率、动态响应效率及应急处理能力,并支持多式联运场景下的全局协同决策。

电力物资管理实时数据分析的方法及系统

NºPublicación:  CN121770169A 31/03/2026
Solicitante: 
国网山东省电力公司临邑县供电公司
CN_121770169_PA

Resumen de: CN121770169A

本发明适用于电力系统及其自动化领域,提供了电力物资管理实时数据分析的方法及系统,该方法包括:实时采集整合电网拓扑数据、设备实时运行状态数据、物资主数据及实时故障报警信息形成多维度数据;以故障设备为起点,经下游拓扑遍历与设备状态分析生成潜在受影响设备清单;映射形成初始物资需求集合;查询库存并依据故障位置优选仓库、锁定物资生成抢修物资包工单;通过实际消耗反馈数据优化潜在受影响设备清单生成逻辑。本发明实现了数据驱动的电力物资全流程精准管理,提升了抢修物资调配效率与响应速度,保障电网稳定运行。

物品识别装置和系统

NºPublicación:  CN121773439A 31/03/2026
Solicitante: 
艾利丹尼森零售信息服务有限公司
CN_121773439_PA

Resumen de: WO2025048863A1

In some embodiments, an item identifier system is disclosed. In some embodiments, the item identifier system includes an item identifier device that includes a housing, an RFID reader, an internal frame, a first antenna, and a second antenna. The housing may be provided with at least one coupler on a top surface for mounting the item identifier device. The RFID reader may be disposed within the housing. The internal frame may support the RFID reader, and the internal frame may include a horizontal member and a tilted member inclined to the horizontal member. The first antenna may be operatively coupled to the RFID reader and positioned below the horizontal member and the RFID reader. The second antenna may be operatively coupled to the RFID reader and positioned below the tilted member.

一种物流单据智能审核与仓储资源动态分配方法

NºPublicación:  CN121766898A 31/03/2026
Solicitante: 
杭州巨灵兽智能科技有限公司
CN_121766898_PA

Resumen de: CN121766898A

本发明涉及物流管理技术领域,具体涉及一种物流单据智能审核与仓储资源动态分配方法。其技术方案包括如下步骤:对物流单据进行信息采集,并对其进行预处理获得物流单据数据集。基于预设规则与语义校验模型对所述物流单据数据集进行多维度审核。采集仓储系统的实时状态数据,并构建仓储资源实时状态矩阵。以审核通过的物流单据数据集和仓储资源实时状态矩阵,通过动态分配模型完成仓储资源的优化分配并获得最优资源分配方案。构建全流程数据溯源信息集,并进行存储。本发明通过规则化校验与语义校验模型校验相结合的方式,实现了物流单据的多维度智能审核。进行仓储资源实时状态动态分配资源,显著降低了仓储管理成本与人力成本。

应急物流中卡车-无人机协同动态调度方法及系统

NºPublicación:  CN121766548A 31/03/2026
Solicitante: 
济南大学
CN_121766548_PA

Resumen de: CN121766548A

本发明提出了一种应急物流中卡车‑无人机协同动态调度方法及系统,涉及无人机智能调度技术领域。构建卡车‑无人机协同配送网络,每辆卡车配备包含大型无人机与小型无人机的协同单元;网络包含仓库、枢纽点及需求点;以最小化总运营成本为目标,以电量管理、服务分配、时间窗与协同可行性为约束,建立混合整数规划模型;采用随机化贪心算法对所述模型进行求解,在单次迭代中同步决策卡车路径与无人机任务,得到卡车路径方案、无人机服务分配方案及动态电量调度方案。从而实现应急物流调度的成本最优与动态协同,有效提升应急配送的效率与可行性。

融合AI视觉识别与多端协同的航运货物监管方法及系统

NºPublicación:  CN121767797A 31/03/2026
Solicitante: 
安徽信息工程学院
CN_121767797_PA

Resumen de: CN121767797A

本发明的一种融合AI视觉识别与多端协同的航运货物监管方法及系统,包括以下步骤,S1、通过部署于船舶的视觉传感器、物理传感器及北斗/GPS定位模块,同步采集船舶的视觉影像、三维点云、重量变化、舱内压力及实时位置数据;S2、对S1采集的多源异构数据进行时空对齐与特征级融合,并进行特征提取;S3、将S2提取的视觉特征、物理特征与预置的航运业务规则共同输入“视觉‑传感器‑规则”三模态决策引擎进行加权决策,进而完成智能识别与预警。本发明通过深度学习模型、多源传感器数据与航运业务规则的深度融合,实现复杂环境下的高精度决策。

融合直线距离与载重约束的大件商品装车策略生成系统及方法

NºPublicación:  CN121766686A 31/03/2026
Solicitante: 
广州品晟供应链科技有限公司
CN_121766686_PA

Resumen de: CN121766686A

本发明公开了融合直线距离与载重约束的大件商品装车策略生成系统及方法,涉及物流调度技术领域。通过构建车辆资源池与订单池,维护车辆的载重、容量三维尺寸信息,以及订单的商品物理属性与配送地址信息,基于车辆载重与容量三维尺寸约束,对订单池中的订单进行优化匹配与三维装载计算,生成包含车辆‑订单分配方案及车内货物三维摆放位置的装车策略,根据车辆出发地及对应订单的配送地址,结合由车内货物三维摆放位置推导出的装载依赖关系,生成满足货物物理卸载顺序的配送路径序列,有效解决了大件物流领域长期存在的“装载安全”、“装配脱节”和“经验依赖”等核心技术难点,具有显著的产业应用价值和经济效益。

一种基于层次并行进化算法的UAV-AGV协同大规模物流配送方法

NºPublicación:  CN121766863A 31/03/2026
Solicitante: 
湖南科技大学
CN_121766863_PA

Resumen de: CN121766863A

本专利公开了一种面向AGV与UAV协同物流配送场景的优化方法,用于在满足时空约束条件下完成包裹派送任务的分配与路径规划。所提出的PCST‑GA算法相较于传统遗传算法(GA),引入了基于配送紧密度的聚类预处理机制,有效降低了大规模问题求解过程中的计算成本。针对问题特性,设计了两种基于启发式信息的高质量初始化方法,增强了算法在搜索初期的解优越性与多样性;同时,在算法陷入局部最优、连续多代无显著改进的情形下,引入变邻域搜索策略以跳出局部最优,从而提高算法的全局收敛能力。将所提出的PCST‑GA算法应用于无人车与无人机联合配送场景中,通过仿真实验验证了其有效性。与GA、Greedy、VNS、K‑GSA、CLCS‑GA以及IACO当前主流优化算法对比,PCST‑GA在收敛后获得了更高的配送收益与服务达成率,同时显著降低了计算开销,具有更优的收敛速度和稳定性。

一种无目标垛位的钢板倒垛优化方法及其计算机程序产品

NºPublicación:  CN121757506A 31/03/2026
Solicitante: 
湖南天桥嘉成智能科技有限公司
CN_121757506_PA

Resumen de: CN120841047A

The invention provides a target-stack-position-free steel plate stack transfer optimization method and a computer program product thereof.The method comprises the steps that the number sequence of initial disordered steel plates and the number of temporary stack positions are obtained, and the final temporary stack position to which each steel plate belongs and the final steel plate sequence on each temporary stack position are determined; the number of the temporary stacking positions is at least two; sequentially carrying out steel plate stack transfer operation from the top layer to the bottom layer of the initial disordered steel plates until stack transfer of all the steel plates is completed; in the stack transferring operation process, a way giving rule and a moving-away rule are followed; the multiple temporary stack positions are fully utilized as buffering and sorting spaces, the transfer path and sequence of the steel plates from the initial stack position to the temporary stack positions are planned by setting the stack transfer rule, dependence on the fixed target stack positions and invalid carrying are reduced, the site space utilization rate and the stack position resource turnover efficiency are improved to the maximum extent, and the production cost is reduced. The energy consumption and time cost of stack transfer operation are effectively saved, and meanwhile the overall response capacity and flexibility of warehousing operation are greatly improved.

果蔬检测方法、装置、电子设备以及存储介质

NºPublicación:  CN121762509A 31/03/2026
Solicitante: 
广东恒象农业集团有限公司
CN_121762509_PA

Resumen de: CN121762509A

本申请涉及光谱分析技术领域,提供了一种果蔬检测方法、装置、电子设备以及存储介质。通过对冷链运输的果蔬样本进行多激发波段的荧光光谱数据采集获得原始光谱数据集,对原始光谱数据集进行预处理生成标准化光谱数据集,对标准化光谱数据集进行特征提取以及多变量相关性分析获得差异特征数据集,对差异特征数据集进行分类处理获得病变分类标签,根据实时采集的冷链环境参数以及病变分类标签进行时序病害关联分析获得品质评估报告。本申请通过多激发荧光采集、标准化预处理、主成分与多变量筛选、分类判定以及时序环境关联,实现冷链果蔬病变的早期精准检测与可溯源品质评估。

货物装载方法、装置、电子设备及存储介质

NºPublicación:  CN121766861A 31/03/2026
Solicitante: 
北京京东远升科技有限公司
CN_121766861_PA

Resumen de: CN121766861A

本申请提出一种货物装载方法、装置、电子设备及存储介质。该方法包括:获取待装载货物的货物信息;获取装载容器的容器信息;根据货物信息和容器信息,确定每轮装载所需的目标装载容器,并在目标约束条件下向目标装载容器装载货物。由此,本方案根据货物信息和容器信息进行货物的装载,能够根据不同货物和容器的信息进行自适应调整,在目标约束条件下进行装载确保装载方案的有效性和可行性,从而提高了货物的装载效率,进一步降低运输成本。

物资在线招采方法、系统及设备

NºPublicación:  CN121766880A 31/03/2026
Solicitante: 
中国建筑工程(香港)有限公司
CN_121766880_PA

Resumen de: CN121766880A

本申请公开了一种物资在线招采方法、系统及设备,涉及物资采购技术领域,该方法包括:获取当前采购需求信息,并根据当前采购需求信息以及历史采购数据生成各待采购材料对应的推荐供应商以及供应商画像;基于各推荐供应商初始化若干供应商组合,并根据各推荐供应商对应的供应商画像确定各供应商组合的基础评分;对各供应商组合进行压力测试模拟,根据模拟结果生成各供应商组合的弹性评分;结合基础评分以及弹性评分对各供应商组合进行排序,并根据排序结果确定目标供应商组合。本申请通过动态评分模型和压力测试模拟来量化评估各供应商组合,实现智能化供应商组合推荐,能够提前规避潜在的供应风险,提升企业应对突发事件的能力。

笼车处理方法和装置、电子设备及存储介质

NºPublicación:  CN121766860A 31/03/2026
Solicitante: 
深圳顺丰泰森控股(集团)有限公司
CN_121766860_PA

Resumen de: CN121766860A

本申请实施例提供了一种笼车处理方法和装置、电子设备及存储介质,属于物流技术领域。该方法应用于物流场地,物流场地包括卸车区以及拼笼区,卸车区用于对到达物流场地的笼车进行卸载操作,拼笼区用于对未装满货物的笼车进行拼笼操作,拼笼区中包括多个库位,方法包括:获取卸车区中笼车的笼车属性和笼车装载状态,并确定笼车装载状态表示未装满货物的目标笼车;获取多个库位的库位状态;然后基于目标流向、目的流向和期待填充流向在多个库位中查找目标笼车对应的目的库位,并调度运输设备将目标笼车从卸车区搬运至对应的目的库位;最后对拼笼区中的笼车进行拼笼操作。本申请实施例能够提高笼车处理效率。

融合AI算法的叉车全生命周期智能化管理及能耗优化系统

NºPublicación:  CN121766905A 31/03/2026
Solicitante: 
山东格物智联信息技术有限公司
CN_121766905_PA

Resumen de: CN121766905A

本发明属于叉车智能化技术领域,特别涉及一种融合AI算法的叉车全生命周期智能化管理及能耗优化系统,包括物理层模块、数字孪生建模模块、智能决策层模块、云平台模块以及用户端模块;数字孪生建模模块基于多源异构数据融合技术,通过实时采集叉车运行参数等数据,构建动态进化的虚拟镜像模型,实现叉车全生命周期状态的精准映射;智能决策层模块集成强化学习、迁移学习等算法,针对叉车能耗、寿命、调度等核心问题,生成智能决策方案,物理层模块通过物联网传感器阵列实时采集运行数据,并利用区块链技术实现数据可信存证与共享;实现了叉车运行状态的实时监控、远程运维管理及多部门协同,提升叉车全生命周期管理效率与经济效益。

一种基于大数据的跨境电商供应链风险监控系统

NºPublicación:  CN121766752A 31/03/2026
Solicitante: 
广东工业大学广州哆啦科技有限公司
CN_121766752_PA

Resumen de: CN121766752A

本申请涉及金融风险监控的技术领域,公开一种基于大数据的跨境电商供应链风险监控系统,数据采集模块,获取供应商货物相关的多源数据,数据处理与存储模块,对所采集到的数据进行清洗转换和存储,需求预测模块,对所述多源数据进行分析,输出未来预设周期内的货物需求量预测结果,储藏规划模块,根据所述需求量预测结果,生成货物储藏方案;所述储藏方案包括各品类货物的储藏数量、储藏区域划分及库存周转周期规划,动态调整模块,用于对所述储藏规划模块生成的所述货物储藏方案进行调整和实施,风险智能分析引擎,用于基于预定义的风险指标和机器学习模型对处理后的数据进行分析,以识别和评估供应链风险。

一种医院采购成本控制方法及系统

NºPublicación:  CN121766930A 31/03/2026
Solicitante: 
郑州大学郑州大学第一附属医院
CN_121766930_PA

Resumen de: CN121766930A

本申请涉及成本控制技术领域,尤其涉及一种医院采购成本控制方法及系统;步骤包括:获取医院采购数据;获取供应商API接口返回的供货数据;根据医院采购数据和供应商供货数据生成采购策略;将采购策略、历史采购数据、库存数据导入到多维度交叉验证模型中进行验证,确定采购策略的可行性;本申请将时间成本与经济成本融合为一个单一的优化目标,从而在选择供应商时不再单独考虑某一因素,而是对两者进行综合权衡与统一分析,实现整体最优;并且通过多维度交叉验证供应商集中风险指数、成本偏差率、交付风险指数和库存安全健康度评分,全面评估采购策略的可靠性,确保供应链的稳定性和抗风险能力。

一种外立管巡检路径智能推荐系统

NºPublicación:  CN121766565A 31/03/2026
Solicitante: 
北京安元云枢科技有限公司
CN_121766565_PA

Resumen de: CN121766565A

本发明涉及巡查路径优化技术领域,公开了一种外立管巡检路径智能推荐系统,包括:巡检单元记录立面位置、中心高度以及巡检作业方式;评估单元根据历史缺陷信息、立管类型和环境暴露条件对每一巡检单元进行风险评估,得到巡检单元风险等级,并形成巡检单元时间窗口约束;处理单元构建巡检业务图;推荐单元确定待巡检单元,并在巡检业务图上生成候选巡检路径,将候选巡检路径组合成多个巡检任务包,结合巡检班组的技能信息和可用时间信息进行资源调度,获得每一巡检班组对应的巡检路径推荐结果。本申请减少了总体巡检时间和高成本巡检作业方式切换次数,提升了外立管巡检安全性和运维管理效率。

基于区块链的原材料仓库数据存证管理系统

NºPublicación:  CN121765016A 31/03/2026
Solicitante: 
福建省永联汽车科技有限公司
CN_121765016_PA

Resumen de: CN121765016A

本发明涉及区块链数据管理技术领域,公开了基于区块链的原材料仓库数据存证管理系统。该系统包括数据采集模块、边缘计算节点、可信数据网关及区块链存证网络,通过对原始环境参数进行边缘侧特征提取与压缩,生成标准数据记录及其哈希指纹,并将指纹存证至区块链,实现数据防篡改与高效验证。将需要上链存证的数据量从原始的秒级采样点大幅压缩为30秒时间窗口的统计特征数据包,显著降低了直接提交至区块链网络的数据吞吐量。此举从根本上缓解了区块链网络的交易池拥堵问题,使得数据指纹能够被快速记录,有效解决了数据存证延迟与实时监控需求之间的矛盾。

一种考虑突发扰动和运输特性的动态路径规划方法及系统

NºPublicación:  CN121766561A 31/03/2026
Solicitante: 
中电鸿信信息科技有限公司
CN_121766561_PA

Resumen de: CN121766561A

本发明公开了一种考虑突发扰动和运输特性的动态路径规划方法及系统。该方法首先采集路网拓扑、运输任务及扰动事件信息;其次,采用融合了道路兼容性与时间窗口约束的改进Dijkstra算法,为每辆车生成无扰动行驶路线预案;通过动态仿真随机触发扰动事件并更新路网状态;然后,通过评估受影响车辆比例与失效路段的关键性,自适应地选择局部修复或全局重构策略进行路径重规划;最终输出整合了预案与动态调整结果的优化方案。本发明有效克服了传统静态规划难以应对动态扰动、忽视运输工具与路网物理兼容性、以及重规划时效率与全局优化难以平衡的技术缺陷,显著提升了路径规划的鲁棒性与实时性。

大数据驱动的物流需求预测平台

NºPublicación:  CN121766862A 31/03/2026
Solicitante: 
河北经贸大学
CN_121766862_PA

Resumen de: CN121766862A

本发明公开了一种大数据驱动的物流需求预测平台,涉及物流智能调度技术领域。该平台包括动态特征感知模块、时空预测引擎、仿真推演与优化模块及在线学习与反馈模块。动态特征感知模块融合多源异构物流时序数据,构建并更新动态物流知识图谱,提取时空动态特征;时空预测引擎通过层级时空注意力网络捕捉特征的时空依赖性,输出多时段需求预测序列;仿真推演与优化模块基于离散事件仿真模型,模拟多类外部扰动场景,通过蒙特卡洛仿真与多目标优化生成优先级排序的弹性调度预案;在线学习与反馈模块通过闭环迭代自适应优化模型参数与特征提取规则。本发明解决了传统物流预测中多源数据融合不足、时空依赖捕捉不准、抗扰动能力弱的问题。

基于计算机视觉与RFID的建材智能仓储盘点与防火预警方法和系统

NºPublicación:  CN121766881A 31/03/2026
Solicitante: 
四川智慧万物科技有限公司
CN_121766881_PA

Resumen de: CN121766881A

本发明涉及基于计算机视觉与RFID的建材智能仓储盘点与防火预警方法和系统,通过部署图像采集模块与RFID读写网络,并行执行建材协同盘点与防火协同预警;盘点过程中,利用视觉目标检测定位建材并引导RFID读写器进行定向波束扫描,实现视觉特征与RFID身份信息的精准绑定,生成高精度库存清单;预警过程中,基于热成像识别温度异常区域,并触发视觉分析确认建材堆积及明火特征,进而生成分级火灾预警;通过多模态数据融合与协同处理,提升仓储盘点的自动化精度与火灾预警的可靠性,实现库存管理与安全监控的一体化智能运维。

一种物料成本还原方法、装置、电子设备及存储介质

NºPublicación:  CN121767010A 31/03/2026
Solicitante: 
昆仑数智科技有限责任公司中国石油天然气集团有限公司大庆金桥信息技术工程有限公司
CN_121767010_PA

Resumen de: CN121767010A

本申请提供了一种物料成本还原方法、装置、电子设备及存储介质,所述方法包括:将预设的业务单据进行分类,得到不同类型的业务单据,并将业务单据和预设的业务成本进行转换,得到转换后的运算基础数据,将运算基础数据和预设的库存清单进行分类汇总,得到对应的物料流向记录基础数据,对物料流向记录基础数据对应的每个物料进行层级划分,获取对应的物料层级记录,基于物料流向记录、数量记录、物料层级记录对所有物料进行成本还原,得到对应的物料成本清单。

一种针对智能设备的场景调度方法及系统

NºPublicación:  CN121763994A 31/03/2026
Solicitante: 
浙江爱客智能科技有限责任公司
CN_121763994_PA

Resumen de: CN121763994A

本发明涉及智能设备调度规划技术领域,公开了一种针对智能设备的场景调度方法及系统,其中,方法包括:基于双域调度因子构造机制确定任务紧急度与运动复杂度;构建调度优先级权重;筛选冲突节点集合;采用双方案评估机制生成避让决策;最终将避让决策同步下发至相关智能设备。相较于现有技术中缺乏优先级引导与精细冲突判断机制的调度方法,尤其是在多移动设备包括工业AGV、行李搬运机器人与移动充电车的密集作业场景下,难以实现对冲突风险的动态预测与主动规避的技术问题,由于本申请通过引入任务、运动双域因子构造和空间和时间双条件冲突识别机制,实现了设备级调度的主动避让和实时响应,提高了智能设备协同运行稳定性。

商品管理方法及相关设备

NºPublicación:  CN121766900A 31/03/2026
Solicitante: 
广州品唯软件有限公司
CN_121766900_PA

Resumen de: CN121766900A

本申请公开了一种商品管理方法及相关设备,涉及数据处理技术领域,包括:获取多个商品对应的预测到仓时间和商品数据,将多组商品数据进行分组,得到多个商品数据集合,将所述多个商品数据集合进行排序,得到商品数据集合队列,依次对商品数据集合队列中的多个商品数据集合执行分配操作,以将所述多组商品数据均匀分配到多个分片中,进行商品管理。本申请基于预测到仓时间,将多组商品数据按照时间段进行分组,再根据每个商品数据集合对应的时间段和每组商品数据对应的预测到仓时间,按照时间顺序,对多个商品数据集合依次执行分配任务,使多个分片可以并行处理多个商品数据,实现有序的、高效的处理商品数据。

基于蒙特卡洛树搜索的动态环境多目标自适应决策系统及方法

NºPublicación:  CN121745613A 27/03/2026
Solicitante: 
中国人民解放军海军航空大学
CN_121745613_PA

Resumen de: CN121745613A

本申请公开了一种基于蒙特卡洛树搜索的动态环境多目标自适应决策系统及方法,涉及智能体决策与控制技术领域,系统包括:通过信息采集模块,采集社区民生物资调度状态,并根据社区民生物资调度状态更新任务库;通过MCTS核心模块,基于当前社区民生物资调度状态和当前任务库,利用多目标综合奖励模型和蒙特卡洛树搜索方法,生成最优决策方案;通过决策过程透明化模块,显示所述最优决策方案对应的蒙特卡洛树搜索的决策路径,并标注决策路径上每个节点的访问次数和累计多目标综合奖励值。本申请能够实现社区民生物资动态调度的实时响应以及同时兼顾成本控制、效率提升与居民满意度。

基于多任务模型的任务预测方法、设备、产品及介质

NºPublicación:  CN121745792A 27/03/2026
Solicitante: 
拉扎斯网络科技(上海)有限公司
CN_121745792_PA

Resumen de: CN121745792A

本说明书提供一种基于多任务模型的任务预测方法、设备、产品及介质,任务包括:预测配送运力对待配送订单的不同交互行为的不同预测任务;多任务模型包括:共享特征提取模块,用于对输入特征集生成共享特征表示;多个任务专属模块,每个任务专属模块对应于一个预测任务;任务专属模块用于对输入的共享特征表示进行任务特定处理,并输出所对应的预测任务的预测结果;方法包括:获取输入数据;输入数据包含任务标识以及输入特征集,输入特征集中包含配送运力的特征和配送订单的特征;将输入特征集输入至共享特征提取模块,将共享特征提取模块输出的共享特征表示路由至与任务标识所对应的任务专属模块,以使其输出所对应的预测任务的预测结果。

一种基于增强现实与云端数字孪生的盐水莲品质追溯方法及系统

NºPublicación:  CN121745964A 27/03/2026
Solicitante: 
广东海洋大学湖北中莲湿地研究院有限公司
CN_121745964_PA

Resumen de: CN121745964A

本发明属于增强现实技术领域,涉及一种基于增强现实与云端数字孪生的盐水莲品质追溯方法及系统。该方法中,为每件盐水莲产品分配唯一标识,在云端构建数字孪生体,接收包装内近红外光谱传感器及环境传感器采集的品质和温湿度数据,并结合生产和物流信息进行数据建模;消费者端通过具备AR功能的智能终端识别产品标识,向云平台请求对应数字孪生数据,由云端生成可视化内容,下发至终端叠加显示在产品包装实景画面上,并支持语音查询。与现有二维码静态追溯相比,本发明实现了单品级品质状态的动态映射与直观展示,能够反映产品新鲜度变化并提供预警,提高了盐水莲品质追溯的真实性、时效性和用户体验。

基于分组路径搜索与多目标融合的路径规划方法及系统

NºPublicación:  CN121745802A 27/03/2026
Solicitante: 
安徽大学
CN_121745802_PA

Resumen de: CN121745802A

本发明提供了一种基于分组路径搜索与多目标融合的路径规划方法及系统,该方法针对快递配送的包裹量大、时效性高、车辆容量严格受限等特点进行了优化。第一阶段,通过互补的分区策略和ACO/LKH3组合,快速生成大量覆盖复杂派送区域的高质量车辆派送的单条路径。第二阶段,创新性地将车队任务分配建模为多目标0‑1优化问题,协同最小化运营成本(里程)、最大化包裹分配覆盖率和最小化包裹重复分配冗余。通过NSGA‑II算法求解和ILS优化,本系统能够为大规模快递配送生成高效率、高稳定性和低成本的最优或近最优派送路径集合,显著提升快递企业的运营效率和客户满意度。

运输监测系统及方法

NºPublicación:  CN121745798A 27/03/2026
Solicitante: 
国电电力发展股份有限公司国能(绥中)发电有限责任公司
CN_121745798_PA

Resumen de: CN121745798A

本公开涉及监测技术领域,具体地,涉及一种运输监测系统及方法,该系统包括数据服务器、布置于运输设备的定位装置和布置于运输设备所在运输线路的视觉识别模块;该数据服务器分别与该定位装置和该视觉识别模块通信连接;该视觉识别模块,用于识别目标运输设备的运载状态,并将该运载状态发送至该数据服务器;该定位装置,用于将该目标运输设备在运输过程中的位置信息发送至该数据服务器;该数据服务器,用于根据该运载状态和该位置信息,输出异常预警信息。

汽车煤动态调运方法及装置、电子设备和存储介质

NºPublicación:  CN121745784A 27/03/2026
Solicitante: 
北方联合电力有限责任公司包头第一热电厂内蒙古呼和浩特市立信电气技术有限责任公司
CN_121745784_A

Resumen de: CN121745784A

本公开提供了一种汽车煤动态调运方法及装置、电子设备和存储介质,通过实时采集汽车煤的调运相关数据及锅炉运行数据,基于该两类数据构建动态燃烧需求预测模型以生成未来预设时间段内的入炉煤质需求曲线并确定各时段燃煤需求及煤质参数范围,再结合入炉煤质需求曲线与车辆信息建立车辆调度优先级评价模型对车辆进行优先级排序,同时基于排序结果自动生成车辆入厂顺序表和调度指令且推送至车辆车载终端及电厂接卸管理系统,因此,可以解决现有技术中因基于固定来煤计划调度、缺乏对实时燃烧需求的动态响应,导致调运计划与锅炉燃烧需求脱节的问题。

一种基于区块链的跨域建材供应链全流程电子对账与智能结算系统

NºPublicación:  CN121746107A 27/03/2026
Solicitante: 
陕西恒盛博隆君信科技有限公司
CN_121746107_PA

Resumen de: CN121746107A

本发明公开了一种基于区块链的跨域建材供应链全流程电子对账与智能结算系统。该系统包括数据采集与上链模块、智能合约执行模块、电子凭证与对账模块、跨链协同与数据共享模块和可视化与监管模块。数据采集与上链模块通过物联网设备采集供应链各环节实时数据,经加密处理后上传至区块链网络,确保数据不可篡改和可追溯;智能合约执行模块基于预设交易规则自动触发结算流程;电子凭证与对账模块生成电子凭证并支持多方在线对账;跨链协同与数据共享模块通过联盟链和中继链技术实现不同区块链网络之间的数据互通;可视化与监管模块提供实时数据展示与审计功能。本发明提升了供应链透明度、协同效率和自动化水平。

一种基于层次聚类的Q学习的船舶设备备件需求预测方法

NºPublicación:  CN121745904A 27/03/2026
Solicitante: 
中国舰船研究设计中心
CN_121745904_A

Resumen de: CN121745904A

本发明公开了一种基于层次聚类的Q学习的船舶设备备件需求预测方法,包括以下步骤:1)获取船舶设备备件的历史需求数据;2)对收集到的数据集进行预处理,识别并处理数据中的缺失值和异常值;3)将数据集分成训练数据集和测试数据集,对两个数据集分别进行聚类操作;4)构建备件预测模型;5)使用训练数据集训练Q学习的备件预测模型;6)基于待预测的船舶备件需求数据,使用训练好的模型进行后续船舶备件需求数据预测。本发明提供一种基于层次聚类的Q学习的备件需求预测方法,该方法可以根据不同的备件特征分布自动选择最佳预测模型,减小备件需求的预测误差,达到降低备件库存成本的目的。

一种基于改进天际线算法和强化学习的二维装箱优化方法

NºPublicación:  CN121745790A 27/03/2026
Solicitante: 
中国人民解放军部队
CN_121745790_PA

Resumen de: CN121745790A

本申请属于二维装箱技术领域,具体公开了一种基于改进天际线算法和强化学习的二维装箱优化方法,包括接收箱体的尺寸参数、最大承重参数以及待装箱的物品集合,初始化天际线集合和箱体累计重量;针对当前待放置物品的尺寸参数及当前天际线状态,提取状态特征向量;循环执行状态特征向量提取、动作选择以及放置操作,直至物品集合为空或箱体累计重量达到最大重量时循环终止,输出最终的装箱方案及空间利用率。通过本申请可提高二维装箱的优化效果与执行效率。

一种面向低空物流的无人机设计优化方法及系统

NºPublicación:  CN121745420A 27/03/2026
Solicitante: 
西安保通防务科技有限公司
CN_121745420_PA

Resumen de: CN121745420A

本申请涉及低空物流无人机技术领域,公开了一种面向低空物流的无人机设计优化方法及系统。该系统包括任务分类单元、风险验证单元、路径优化单元和协同优化单元。任务分类单元对物流任务请求分级并附加优先级及资源类型标签;风险验证单元构建飞行路径节点网络,提取节点多维特征并聚合生成节点聚合特征,预测路径节点风险并附加标签;路径优化单元结合各类标签与实时空域资源闲置状态,匹配最优路径生成规则构建初始优化路径;协同优化单元利用相似历史物流任务的聚合特征集合生成协同优化提示文本,修正初始路径得到最终飞行路径。该系统通过多单元协同运作,实现了低空物流无人机路径的精准优化,提升了物流任务执行的适应性与可靠性。

一种混流装配线物料配送优化方法

NºPublicación:  CN121745793A 27/03/2026
Solicitante: 
中国科学技术大学
CN_121745793_PA

Resumen de: CN121745793A

本发明属于智能制造与工业工程优化技术领域,具体地说是一种混流装配线物料配送优化方法,包括基于混流装配线结构、物料多维属性及人力成本差异,构建以总成本最小化为目标的0‑1整数规划模型,并通过割平面法与列生成算法相结合的混合求解机制,为每类物料动态指派唯一配送策略。通过采用上述技术方案,本申请能够协同优化拣选成本、搬运成本、装配人员额外作业成本及在制品库存持有成本,在保障生产连续性的同时实现全局成本最优。

一种用于零食供应链的智能调度与配送优化方法及系统

NºPublicación:  CN121745431A 27/03/2026
Solicitante: 
赣州钟和风品牌管理有限公司
CN_121745431_PA

Resumen de: CN121745431A

本发明涉及零食调度技术领域,尤其涉及一种用于零食供应链的智能调度与配送优化方法及系统。该方法包括以下步骤:采集市内多个零食投放仓的历史消耗日志,进行时序零食消耗计算及用户购买意图驱动推测,得到购买爆发点前兆特征;基于零食投放仓进行实时用户行为监测,并基于购买爆发点前兆特征进行购买爆发时间点预测及最大爆发需求量计算,从而生成不同节点的最大爆发需求量;基于所述最大爆发需求量进行供需匹配评估,并进行多点紧缺分布拟合,构建紧缺节点空间分布图;基于紧缺节点空间分布图进行智能补货顺序决策,从而生成最优补货规划引擎。本发明通过智能协同调度,精准匹配零食需求,促进零食调度作业高效、稳定进行。

一种智慧物流园区与仓储决策方法及系统

NºPublicación:  CN121745810A 27/03/2026
Solicitante: 
杭州国辰智企科技有限公司
CN_121745810_PA

Resumen de: CN121745810A

本发明提供一种智慧物流园区与仓储决策方法及系统,涉及物流仓储技术领域,本发明通过实时监测运输机构位置,在检测到多个运输机构共用同一货架节点时,将其作为冲突节点,基于时间裕度确定执行优先级,并分别计算额外等待时间成本和改道决策时间成本,最终根据时间裕度与时间成本的比较结果动态决策执行顺序与策略,实现冲突节点处的协同调度与全局优化,提升物流效率与订单交付及时性。

一种加氢站设备完整性知识图谱应用系统

NºPublicación:  CN121745242A 27/03/2026
Solicitante: 
中国特种设备检测研究院
CN_121745242_PA

Resumen de: CN121745242A

本发明公开了一种加氢站设备完整性知识图谱应用系统及方法,属于氢能基础设施全生命周期管理技术领域,其工艺数据采集与定义模块用于数据采集和定义,工艺知识抽取模块用于从工艺文档中抽取包含工艺环节、工艺参数、标准值的三元组及从操作记录中抽取关于工艺环节、执行人员、时间的关联关系,并建立工艺环节与设备、工艺参数异常与设备故障的关联关系;知识图谱架构储存模块用于构建并储存多层级知识图谱架构,多层级知识图谱架构包括基础层、工艺层、实体层、关系规则层、设备三维图层、风险管理决策层。本发明解决了现有加氢站设备完整性知识图谱缺乏工艺维度整合、设备与工艺协同管理能力弱的问题。

基于双层车辆路径优化的跨接卸货与同时取送货物流路径优化方法

NºPublicación:  CN121745428A 27/03/2026
Solicitante: 
华中科技大学
CN_121745428_A

Resumen de: CN121745428A

本发明属于物流路径优化技术领域,公开了一种基于双层车辆路径优化的跨接卸货与同时取送货物流路径优化方法,包括:将以旧换新物流中的双层车辆路径规划构建为三级物流网络的车辆路径规划;将三级物流网络的车辆路径规划中所涉及的节点和节点间的路径构建为完全有向图,进而构建双层车辆路径规划对应的混合整数线性规划模型MILP,以最小化总运输成本为目标函数,以包括客户货物在指定时间窗内完成的时间窗约束,车辆容量约束以及双层车辆路径的同步约束在内的约束下,求解MILP,得到双层车辆路径规划方案。还提供了一种自适应禁忌搜索算法,结合导向型扰动机制和阈值加速策略,解决了多层级网络协调、动态约束适应和大规模实例计算效率的挑战。

一种基于重合面积的行李码放位置确定方法、设备及介质

NºPublicación:  CN121744569A 27/03/2026
Solicitante: 
中航信移动科技股份有限公司
CN_121744569_PA

Resumen de: CN121744569A

本发明提供了一种基于重合面积的行李码放位置确定方法、设备及介质,涉及行李码放位置确定技术领域,所述方法包括:当W在目标待确认点时,若W不与任一三维行李网格重合,且W满足所有的预设码放条件,则将W向下移动第四预设距离ΔHA,若向下移动ΔHA后的W不与任一三维行李网格重合,则确定目标待确认点不是待码放行李对应的码放位置;否则,根据每一与向下移动ΔHA后的W重合的三维行李网格,确定目标待确认点是否为待码放行李对应的码放位置;通过本发明的方法能够确定当前待码放行李是否处于悬空状态,从而避免当前待码放行李被扔下去,导致当前待码放行李损坏的情况发生。

RFID驱动的物料调度与上下料控制方法、系统和介质

NºPublicación:  CN121745813A 27/03/2026
Solicitante: 
广东加谷智能装备有限公司
CN_121745813_PA

Resumen de: CN121745813A

本申请提供了RFID驱动的物料调度与上下料控制方法、系统和介质。该方法包括:实时监测预设工序的目标物料的剩余库存并与预设安全库存阈值进行对比,若剩余库存小于预设安全库存阈值,采集相应RFID标签的实时特性数据,处理获得最优调度方案,根据最优调度方案执行物料转运,实时监测转运过程,并根据拥堵状况调整转运路径,若目标物料转运至目标工位,执行上下料双重防错校验措施,监测上下料执行过程并提取控制参数,结合预设需求效率阈值判断是否需要调整上下料控制参数,从而实现对RFID驱动的物料调度与上下料控制的技术。

一种科研物资全生命周期追溯与智能调度管控方法

NºPublicación:  CN121745853A 27/03/2026
Solicitante: 
中国船舶集团有限公司综合技术经济研究院
CN_121745853_PA

Resumen de: CN121745853A

本发明公开了一种科研物资全生命周期追溯与智能调度管控方法,属于科研管理信息化技术领域。该方法包括:对每一份独立的科研物资赋予一个唯一的追溯标识,并创建与其绑定的数字档案,用于持续记录该物资的全生命周期数据;在所述科研物资的入库、存储、领用、实验使用及最终处置的生命周期各环节,自动采集其状态信息与操作事件,并实时更新至对应的数字档案;将所述科研物资在实验过程中产生的实验操作数据和实验输出数据。本发明通过为每一份独立物资创建伴随其全生命周期的动态数字标识,并自动关联其在实验过程中的操作数据与结果数据,首次在科研管理领域系统性地构建了物资实体‑流转状态‑实验行为‑科研产出的全链路、结构化数据链条。

一种基于数字孪生的海外仓智能调拨方法

NºPublicación:  CN121745808A 27/03/2026
Solicitante: 
通福国际电子商务(深圳)有限公司
CN_121745808_PA

Resumen de: CN121745808A

本发明公开了一种基于数字孪生的海外仓智能调拨方法,包括:S1、采集多源核心运营数据,构建海外仓数字孪生体;S2、对多源核心运营数据进行预处理,形成孪生数据集;S3、通过基于格兰杰因果的AGCN模型构建因果影响图,生成孪生演化数据;S4、以孪生演化数据为虚拟环境,运行改进的QMix算法,通过分层强化学习机制协同决策,输出最优调拨策略集;S5、在数字孪生体中回溯验证策略,生成自解释性报告和标准化指令;S6、下发指令至物理平台执行并显示结果。本发明实现对复杂仓储网络的动态因果建模与全局协同优化,提升了调拨决策的准确性与经济性,增强了策略的可靠性与透明度。

一种基于深度强化学习的需求驱动物料需求计划系统及优化方法

NºPublicación:  CN121745557A 27/03/2026
Solicitante: 
华中科技大学
CN_121745557_PA

Resumen de: CN121745557A

本发明属于智能制造技术领域,其公开了一种基于深度强化学习的需求驱动物料需求计划系统及优化方法;该系统包括需求模块,用于采集处理并输出相关需求与供应商环境数据;需求驱动物料需求计划模块,用于生成库存补货计划、生产计划与物料采购计划;仿真模块,用于构建并运行仿真模型,以输出仿真实验统计结果;深度强化学习模块,与需求驱动物料需求计划模块和仿真模块进行交互,利用内置算法库进行训练,输出需求驱动物料需求计划的优化参数集;执行模块,用于将计划信息转化为作业指令并反馈实际运作数据与执行结果,以弥补传统需求驱动物料需求计划静态参数配置的不足,实现库存水平与服务率的协同优化,增强企业对市场需求变化的响应能力。

一种装配式金属结构智能验收与溯源系统

NºPublicación:  CN121745732A 27/03/2026
Solicitante: 
亳州市固飞金属制品有限公司
CN_121745732_PA

Resumen de: CN121745732A

本发明公开了一种装配式金属结构智能验收与溯源系统,包括应变监测模块、缺陷检测模块、数据采集模块、溯源管理模块、智能分析模块和存证模块。通过应变敏感二维码实现低成本应力监测,多光谱融合技术进行缺陷检测,数字指纹技术建立质量追溯,区块链技术保证数据不可篡改。系统采用事件驱动机制协同工作,从结构安全性、材料完整性、工艺规范性三个维度评估质量,通过集成学习生成验收决策。本发明解决了现有装配式金属结构验收中应力监测成本高、缺陷检测不全面、质量追溯困难的问题,为装配式建筑质量管理提供了系统化解决方案。

一种基于人工智能(AI)的库存补货方法

NºPublicación:  CN121745819A 27/03/2026
Solicitante: 
航信德利信息系统(上海)有限公司
CN_121745819_PA

Resumen de: CN121745819A

本系统是一种基于人工智能(AI)的库存补货解决方案,旨在通过自动化和智能化的技术手段,优化企业的库存管理流程。系统通过集成多种数据源、利用先进的AI模型进行预测与决策,为企业提供精准的库存补货策略,确保库存的高效管理,减少缺货和过度库存的风险。是现代供应链管理中的关键组成部分,旨在通过智能分析历史销售数据、市场需求预测、供应链效率优化等手段,自动化地调整库存水平,以减少库存积压、避免缺货情况,并提高整体运营效率。该系统通过智能化的库存管理和补货决策,大幅提高库存管理效率,降低库存成本,并提升客户满意度。它适用于各种规模的企业,尤其适合供应链复杂、需求波动大的行业,如零售、制造和电子商务。

一种面向无人车无人机联动的物流配送调度方法及系统

NºPublicación:  CN121745794A 27/03/2026
Solicitante: 
桂林电子科技大学
CN_121745794_PA

Resumen de: CN121745794A

本申请涉及一种面向无人车无人机联动的物流配送调度方法及系统。所述方法包括:采集风速时序数据、道路拥堵影像、建筑三维点云等多模态实时数据,经跨模态特征融合技术生成动态环境条件与静态特征描述;基于核心特征通过加权决策树算法确定初步配送模式,无人机倾向时提取路径关联特征并结合实时风速计算风险系数,生成路径可行性评估结果;依据风险系数确定最终配送模式,通过A星算法生成优化路径,结合拥堵预测与实时天气核算耗时,输出符合时效的配送时间安排;基于传感器反馈数据计算位置与时间偏差,超阈值时生成更新路径并下发调整指令,监控执行至目的地后生成任务完成确认信息。本方法提升了联动物流配送调度的精准性、安全性与高效性。

库存运维资源自平衡系统、方法、电子设备及存储介质

NºPublicación:  CN121742968A 27/03/2026
Solicitante: 
武汉船用电力推进装置研究所(中国船舶集团有限公司第七一二研究所)
CN_121742968_PA

Resumen de: CN121742968A

本申请提供一种库存运维资源自平衡系统、方法、电子设备及存储介质,系统包括:统一数据平台、库存优化微服务、资源调度微服务及集群管理器;统一数据平台被配置为从多个异构数据源实时采集和融合库存数据、运维资源数据、市场环境数据和供应链事件数据;库存优化微服务,被配置为基于融合后的数据,动态计算各库存节点的最优库存水平;资源调度微服务,被配置为根据最优库存水平,生成与库存策略相匹配的运维资源调配方案;集群管理器与库存优化微服务和资源调度微服务通信连接,被配置为接收外部请求,并通过负载均衡算法将请求路由至相应的微服务实例。本申请能够解决传统库存系统响应迟缓、资源错配的问题,提升了供应链的韧性与效率。

一种集成智能调度与质量监控的水泥罐管理系统及方法

NºPublicación:  CN121745563A 27/03/2026
Solicitante: 
浙江广厦建设职业技术大学
CN_121745563_PA

Resumen de: CN121745563A

本发明公开了一种集成智能调度与质量监控的水泥罐管理系统,包括水泥质量检测模块、存储环境监测模块、水泥罐称重模块、数据接收处理模块、中央算法模块、人机交互显示模块、反馈控制硬件模块和云平台模块;本发明还公开了一种集成智能调度与质量监控的水泥罐管理系统所使用到的方法,本发明通过集成水泥质量检测、存储环境监测、称重监测、数据处理、智能调度及云端管理等模块,构建了一个覆盖“入库—存储—出料—调度—配送”的全周期管理系统,实现了水泥罐从质量监测到供应调度的智能化、自动化与精细化管理,大幅提升了水泥供应链的可视化水平与管理效率,实现水泥全流程智能监控与管理。

一种面向多行业的智能包装盒、交互方法及溯源管理系统

NºPublicación:  CN121745128A 27/03/2026
Solicitante: 
北京盛旺世纪彩色印刷有限公司
CN_121745128_A

Resumen de: CN121745128A

本发明公开了一种面向多行业的智能包装盒、交互方法及溯源管理系统。所述包装盒针对食品、药品、茶叶等行业的纸、金属、塑料或竹木材质包装,采用层压、凹槽嵌装或粘贴方式集成NFC芯片。芯片预存指令,使手机触碰后自动跳转至微信内的品牌主交互小程序,观看行业内品牌企业等定制化内容后,可无缝跳转至独立的专业防伪溯源小程序进行查验。系统后端将单品NFC交互数据、运输单元的RFID物流数据在中央平台进行跨行业关联分析,实现从消费者互动到供应链管理的端到端闭环。本发明提供了一套标准化、可复用的智能包装解决方案,显著提升了用户体验、产品信任度与企业精细化运营能力。

一种基于机器学习的药品库存数据预测系统和方法

NºPublicación:  CN121747867A 27/03/2026
Solicitante: 
中国人民解放军总医院
CN_121747867_PA

Resumen de: CN121747867A

本发明提供一种基于机器学习的药品库存数据预测系统,其特征在于,系统数据采集单元,采集第一药品的第一标识码获取第一药品的第一信息数据;第一信息数据包括药品名称、生产厂家、批准文号、入库时间、有效期、生产批号、流转记录和使用记录中的至少一项;库存数据预测单元,采用基于机器学习的库存预测模型根据第一信息数据和多个第一特征值得到第一药品的预测库存数据。

基于二次迭代的行李码放位置确定方法、设备及存储介质

NºPublicación:  CN121744570A 27/03/2026
Solicitante: 
中航信移动科技股份有限公司
CN_121744570_PA

Resumen de: CN121744570A

本发明提供了一种基于二次迭代的行李码放位置确定方法、设备及存储介质,涉及行李码放位置确定技术领域,所述方法包括:获取当前行李车对应的三维坐标系QR、待码放行李对应的待码放行李包围盒W;依次遍历QR中每一预设的待确认点;若遍历完所有预设的待确认点,未确定出待码放行李对应的码放位置,则获取指定待确认点,以得到指定待确认点列表C;将所有优化码放条件的执行状态设置为关闭;依次遍历C中的每一指定待确认点;若W位于Cp时,不与任一三维行李网格重合且满足预设的必要码放条件,则将Cp确定为待码放行李对应的码放位置;本发明在确保能够确定出待码放行李对应的码放位置的同时,提高确定待码放行李对应的码放位置的效率。

一种铝制装饰件数字印刷生产线管理方法及系统

NºPublicación:  CN121733961A 27/03/2026
Solicitante: 
安德佳(福建)铝饰科技有限公司
CN_121733961_PA

Resumen de: CN121733961A

本申请涉及数字印刷生产线管理技术领域,提供一种铝制装饰件数字印刷生产线管理方法及系统,该方法包括:获取多个第一信息;多个第一信息包括生产铝制印刷产品的生产线的订单调度信息、生产线上为铝制印刷产品供墨的供墨装置在当前时刻之前的预设时长内的状态信息和供墨装置中墨水的墨水信息;确定铝制印刷产品的微观质量特征信息;微观质量特征信息用于指示铝制印刷产品的缺陷;根据微观质量特征信息、订单调度信息和供墨装置的状态信息确定导致铝制印刷产品存在微观质量特征信息的缺陷成因信息;根据缺陷成因信息和墨水信息确定生产线的生产优化决策信息。通过该方案,能够提升数字印刷铝制装饰件的印刷效率。

一种基于多维度产能弹性的供应商能力分析系统及方法

NºPublicación:  CN121745770A 27/03/2026
Solicitante: 
上海冬塔米智能科技有限公司西南交通大学
CN_121745770_PA

Resumen de: CN121745770A

本发明公开了一种基于多维度产能弹性的供应商能力分析系统及方法,属于供应链管理技术领域。系统包括数据处理模块、弹性指数计算模块以及分析应用模块;该系统通过对相关数据的采集与处理,建立涵盖时间、数量和成本的指标体系,并将各维度指标进行量化计算;通过订单数据提取供应商在交付时效、产能承载及价格响应方面的表现,利用回归分析生成时间弹性指数、数量弹性指数和成本弹性指数;将各维度指数加权整合,得到供应商的产能弹性综合指数;基于综合指数,对供应商进行分级、画像、风险预警及动态推荐,实现智能采购决策支持。本发明提高了供应商能力评价的科学性和客观性,为企业提供精准的供应商选择依据,增强供应链的稳定性与灵活性。

一种基于工业互联网的建材柔性生产协同平台

NºPublicación:  CN121745628A 27/03/2026
Solicitante: 
陕西恒盛博隆君信科技有限公司
CN_121745628_PA

Resumen de: CN121745628A

本发明公开了一种基于工业互联网的建材柔性生产协同平台。该平台包括多智能体协同调度系统、统一数据标准与质量控制体系、供应链协同与多系统集成模块、精准成本分摊与结算机制以及安全环保监管与实时监控系统。平台通过分布式多智能体架构实现计划调度、工艺管理、设备监控、资源分配和物流协调的协同决策;采用统一数据标准和区块链技术建立全流程质量追溯体系;通过传感器网络采集设备状态、物料消耗和环境数据;利用边缘计算节点处理高频数据并与云端协同完成全局优化。本发明解决了建材行业资源调度效率低、质量追溯困难、供应链协同不足等技术问题,实现了设备利用率提升30%、质量追溯全程可查、成本核算实时精准的有益效果。

一种动态配额纠偏的物料需求计算方法、系统、设备及存储介质

NºPublicación:  CN121745627A 27/03/2026
Solicitante: 
徐工集团工程机械股份有限公司
CN_121745627_PA

Resumen de: CN121745627A

本发明公开了资源计划与供应链管理领域的一种动态配额纠偏的物料需求计算方法、系统、设备及存储介质,旨在解决传统MRP中配额固定、难以适应供应链动态变化及复杂业务场景的问题。所述方法包括:基于物料独立需求、BOM及成套组信息逐层分解物料需求;使用时序化BOM模型结合提前期展开需求并确定各周期毛需求;计算净需求并进行批量调整,形成建议采购数量;依据供应商历史绩效动态调整配额比例,并结合客户指定等约束分配至各供应商。本发明应用于工程机械制造业,能够实现配额动态适应、计划闭环优化与复杂场景自动处理,提升供应链韧性、库存周转与计划准确性。

一种基于CNN-Transformer的码头道口外集卡流量预测方法及系统

NºPublicación:  CN121745397A 27/03/2026
Solicitante: 
同济大学
CN_121745397_PA

Resumen de: CN121745397A

本发明涉及一种基于CNN‑Transformer的码头道口外集卡流量预测方法及系统,方法包括:采集码头道口外集卡数据,进行预处理、数据匹配及特征工程处理,构建时空数据集;时空数据集包括时间序列特征和空间特征;码头道口外集卡数据包括外集卡预约系统数据、码头道口流量数据和外集卡GPS数据;将时空数据集输入预训练的预测模型中,输出未来若干小时内每个小时的码头道口外集卡流量预测值;与现有技术相比,本发明能实现高时间精度、高前瞻性的预测并显著降低预测误差,满足码头实际生产调度需求;能融合时空信息,综合考虑外集卡流量的时间与空间影响因素;能使用控制向量与自注意力机制融合的方法,有效利用外集卡预约数据。

一种智慧仓配一体化控制方法及系统

NºPublicación:  CN121745815A 27/03/2026
Solicitante: 
无忧达(宁波)物流科技有限公司
CN_121745815_PA

Resumen de: CN121745815A

本发明涉及一种智慧仓配一体化控制方法及系统,涉及仓储物流技术领域,其包括响应于订单信号,接收需求信息和需求位置;调取仓储编号和对应的仓储信息;基于仓储编号确定对应的仓储位置;基于预设的多维度算法对仓储位置、需求位置、仓储信息和需求信息进行计算以得到优先值;对优先值按照大小进行排序确定最优仓储编号;控制最优仓储编号对应的仓库按照需求信息和需求位置进行发货。本发明具有降低人工成本的效果。

物流场地车辆智能调度方法、装置、设备及存储介质

NºPublicación:  CN121745605A 27/03/2026
Solicitante: 
深圳市跨越新科技有限公司
CN_121745605_A

Resumen de: CN121745605A

本申请涉及物流仓储与智能调度技术领域,具体公开了一种物流场地车辆智能调度方法、装置、设备及存储介质,方法包括:获取多源数据;根据可反映货物需求、车辆特性和物流场地状态在内的影响因素,对当前全部待调度车辆进行调度优先级排序;根据各待调度车辆的调度优先级,从高到低依次从调度资源池中筛选出所有符合分配约束的可行的资源调度方案,并进行自由组合;基于调度资源排队时长和调度资源综合利用率构建的资源调度评价公式,对自由组合形成的若干候选资源整体调度方案进行评分,确定出最优资源整体调度方案。本申请提供的方案,可以实现人员、车辆、货物、场地的高效匹配与协同,提高了资源调配效率及资源调度方案可信度,降低了沟通成本。

多品种变批量混线生产车间产线快速重构及校验方法

NºPublicación:  CN121745654A 27/03/2026
Solicitante: 
北京航空航天大学上汽通用五菱汽车股份有限公司
CN_121745654_PA

Resumen de: CN121745654A

本发明公开了多品种变批量混线生产车间产线快速重构及校验方法,属于智能制造与工业工程技术领域。所述方法包括:构建车间全要素数字化模型库,涵盖几何模型、基于状态机的工艺模型及基于六元组的交互模型;根据生产需求,利用拓扑排序与交互约束规则自动生成有序工艺流程链;以工作位置锚点为基准,解算设备空间布局,结合动作耗时与物流距离计算生产节拍;构建工艺有向图进行死锁检测,并基于BOM特征映射校验加工完整性。本发明通过参数化建模与闭环逻辑校验,实现了产线布局的自动化生成与快速迭代,有效解决了传统布局设计中工艺逻辑冲突频发及验证滞后的问题。

一种面向矩阵生产车间内异构多负载AGV调度的多种群进化方法

NºPublicación:  CN121745625A 27/03/2026
Solicitante: 
西安电子科技大学广州研究院
CN_121745625_A

Resumen de: CN121745625A

本发明公开了一种面向矩阵生产车间的异构多负载AGV调度方法及系统,属于自动化物流调度技术领域。其核心是构建以最小化任务总延迟时间与路径冲突总数为目标的多目标优化模型,采用多群体进化结合自适应邻域搜索(MPE‑ANS)算法求解(流程见图1)。该算法将总种群划分为亚种群,区分优秀与普通个体并设计针对性进化策略:优秀个体通过三种邻域结构实现局部精准优化,普通个体借助交叉变异算子拓展搜索空间,同时通过外部存档动态保存非支配解。本发明适配异构多负载AGV运行特性,有效平衡全局探索与局部优化能力,显著降低任务延迟与路径冲突,适用于智能工厂、自动化仓库等场景的多AGV协同运输。

一种葡萄保鲜用气调库智能监控系统

NºPublicación:  CN121747031A 27/03/2026
Solicitante: 
浙江省农业科学院
CN_121747031_PA

Resumen de: CN121747031A

本发明涉及生鲜保鲜技术领域,且公开了一种葡萄保鲜用气调库智能监控系统,包括数据单元、图像单元、分离单元、处理单元、灰度单元、计算单元、中心单元以及管理单元,所述数据单元用于采集气调库内的环境数据,所述图像单元用于采集气调库内葡萄的图像数据,所述计算单元用于计算出体积变化值TB与灰度变化值HB,所述中心单元接收计算单元以及数据单元并进行预测值YC的计算与识别判断,本发明将环境数据与图像数据的多源数据融合,为智能监测提供基础,环境数据可以对葡萄储存的状态进行了解,图像数据对葡萄自身状态进行了解,根据以上两种类型的数据,所计算出的预测值YC可以对葡萄进行精确预测,进而实现葡萄保鲜的智能监控。

一种基于云平台的供应链集成协同管理系统

NºPublicación:  CN121745484A 27/03/2026
Solicitante: 
商洛天寿智行科技有限公司
CN_121745484_A

Resumen de: CN121745484A

本发明公开了一种基于云平台的供应链集成协同管理系统,属于供应链管理技术领域,包括供应应用平台处理器、多租户密钥库管理服务、数字孪生协同优化模块、联邦学习决策引擎、智能合约执行层和应用接口层,解决现有技术数据割裂、协同效率低、需求预测精度低、物流规划僵化的问题,集成分布式数据仓库、多维度供应商匹配、分层需求预测模型与区块链溯源技术。通过三大创新机制实现突破:一是采用数字孪生技术构建跨主体实时协同环境,解决传统供应链各环节协同性差的难题;二是运用联邦学习进行数据融合,在保护数据隐私的前提下提升数据价值挖掘能力;三是引入智能合约实现异常事件自动处置,增强供应链风险应对的及时性与韧性。

一种企业供应链协同管理方法及系统

NºPublicación:  CN121743908A 27/03/2026
Solicitante: 
杭州品致信息技术服务有限公司
CN_121743908_PA

Resumen de: CN121743908A

本发明涉及供应链管理技术领域,特别涉及一种企业供应链协同管理方法及系统,包括:采集供应链跨主体多源数据,通过轻量化预处理生成标准化数据集,通过多系统接口适配搭建数据互通通道;采用联邦学习结合差分隐私技术量化参与方贡献值与信用评级,形成决策支撑数据;构建动态利益与风险适配决策模型生成协同执行指令,输出跨主体闭环执行结果;通过区块链存证结合数据水印存证,构建全流程责任追溯体系,输出数据可信与责任界定结果;根据全链路反馈数据,经指标诊断、方案生成与落地验证形成迭代优化闭环,将优化数据输入协同管理环节,输出适配供应链场景的协同管理策略。本方案通过一体化设计提高供应链的协同效率及安全性。

基于统一物模型的物联网港口管理方法及系统

NºPublicación:  CN121745460A 27/03/2026
Solicitante: 
招商局国际科技有限公司
CN_121745460_PA

Resumen de: CN121745460A

本发明属于物联网技术领域,公开了基于统一物模型的物联网港口管理方法及系统。构建并部署一个定义了属性、服务与事件的统一物模型,依据该模型通过多维传感器网络采集港口装卸设备的全量数据,并利用边缘计算节点进行标准化预处理,形成标准格式报文。通过5G网络将报文高速、低延时地传输至云平台,平台根据物模型解析数据并驱动数字孪生体实现与物理设备的厘米级精度同步映射,基于数字孪生体的实时状态,触发包括预测性维护、协同调度与能效管理在内的智能管理应用,从而实现对港口运营的精细化、可视化与智能化闭环管理,从根本上消除了数据孤岛,实现了数据从采集到智能决策的全流程贯通,显著提升了港口作业效率与安全水平。

一种信创设备维保方法、系统、设备及存储介质

NºPublicación:  CN121745892A 27/03/2026
Solicitante: 
中电信数智科技有限公司
CN_121745892_PA

Resumen de: CN121745892A

本发明提供了一种信创设备维保方法、系统、设备及存储介质,涉及运维维保技术领域。本方法针对多源异构数据处理效率低的问题,通过业务权重分配算法对采集数据进行语义重要性评估,并结合BM25权重值融合技术,动态调整数据排序优先级,从而在运维监控中凸显关键业务信息,确保高优先级业务的连续性;针对维保场景中异常数据识别滞后的问题,通过人员行为特征分析(访问次数、多样性、重复性)构建综合权重指数模型,量化出入备件库人员的异常行为风险,提升异常数据的实时识别能力。本发明可实现运维维保一体化的智能化、精准化和高效化,显著提升数据中心业务连续性与设备可靠性。

一种化学药品的入库方法以及入库系统

NºPublicación:  CN121745817A 27/03/2026
Solicitante: 
苏州毕恩思实验器材有限公司

Resumen de: CN121745817A

本公开涉及化学药品仓储管理技术领域,公开一种化学药品的入库方法及入库系统,所述入库系统的承载台的中心区域设有可转动载物台,用于放置待入库化学药品;移动组件连接所述相机组件;第一显示器;所述第一显示器的第一预览区域上设有第一辅助条带和第二辅助条带;所述第一辅助条带为与所述第一预览区域同轴设置的框形结构,且所述框形结构的面积小于所述第一预览区域的面积;所述第二辅助条带与所述第一预览区域的对称轴重叠,且所述第二辅助条带的两端连接所述第一辅助条带。本公开的化学药品的入库方法及入库系统,能够提取并对比包装箱与试剂瓶标签信息,并根据逻辑关系与权重规则从包装箱与试剂瓶标签信息中筛选录入参数值。

基于智能AI的危化品仓储安全系统

NºPublicación:  CN121745811A 27/03/2026
Solicitante: 
青岛中远海运交通科技有限公司

Resumen de: CN121745811A

本发明涉及危化品仓储安全管理技术领域,其公开了基于智能AI的危化品仓储安全系统,包括数据采集单元、预处理单元、风险评估单元、风险预警单元;本通过在仓库内均匀分布传感器实时采集温湿度、危险气体浓度等数据,并对其进行异常值判定与替换处理,确保数据准确可靠;依据预设环境阈值区间,通过特定公式计算各环境因素的评估系数与风险指标,科学量化风险程度;综合各风险指标计算综合风险系数,依不同阈值划分风险等级并预警,针对不同等级采取差异化措施;同时提供单一因素预警,超阈值时不仅预警,还依据关联关系提供相关环境数据,助管理人员全面了解异常;运用皮尔逊相关系数分析环境因素关联,为风险防控提供全面信息。

一种基于数据驱动的仓储动态拣选路径优化系统及方法

NºPublicación:  CN121745434A 27/03/2026
Solicitante: 
合肥敏峰供应链管理有限公司

Resumen de: CN121745434A

本发明涉及仓储管理技术领域,具体涉及一种基于数据驱动的仓储动态拣选路径优化系统及方法。一种基于数据驱动的仓储动态拣选路径优化方法,包括以下步骤:S1、实时采集仓储系统的多源动态数据,所述多源动态数据至少包括实时到达的订单数据、拣选执行单元的状态数据以及仓库环境的状态数据;S2、基于所述多源动态数据,生成代表当前系统整体状态的全局状态快照。本发明通过引入基于多源数据融合的动态优化触发判断模型,实现了对仓储拣选优化时机的智能精准决策,有效解决了传统静态优化方法无法适应动态场景以及现有周期触发策略在响应实时性与计算效率上失衡的核心问题。

一种适配多品种变批量混线生产的多仓协同动态优化方法

NºPublicación:  CN121745388A 27/03/2026
Solicitante: 
北京航空航天大学

Resumen de: CN121745388A

本发明公开了一种适配多品种变批量混线生产的多仓协同动态优化方法,涉及物流配送优化技术领域,包括:多仓场景分析问题建模,对多仓场景进行分析;多仓物料状态关联分析,基于多仓场景模型,构建多仓之间关联关系;多仓协同调料阈值动态优化,构建包含车间、内仓和外仓的环境,求解多仓协同最优调料阈值;生产物流协同机制,构建生产物流协同双层优化模型,实现生产与物流的深度协同;生产物流协同调度优化,结合多目标优化算法和生产物流协同机制,以最小化最大完工时间、生产等待时间和最大化任务收益、最小化物料等待时间为目标,通过生产与物流状态的双向反馈,以优化配送优先级和生产排产,从生产和物料层面评估生产收益。

一种寄递网点的风险识别方法、系统、设备及介质

NºPublicación:  CN121745693A 27/03/2026
Solicitante: 
西北工业大学电信科学技术第十研究所有限公司

Resumen de: CN121745693A

本发明涉及风险识别技术领域,公开了一种寄递网点的风险识别方法、系统、设备及介质。方法包括:获取寄递网点的风险因素数据集;对风险因素数据集中每个风险因素进行特征提取,并根据提取到的特征建模各个风险因素之间的因果关系,每个因果关系存在对应的因果强度和因果方向;以风险因素为图结构中的节点,根据各个风险因素之间的因果关系以及每个因果关系的因果强度和因果方向,在图结构的各个节点之间建立带有权重的有向边,生成初始有向因果图;获取每个因果关系的因果强度的逆信息熵,以对因果强度进行量化,并通过量化后的因果强度调整初始有向因果图中各个有向边的权重,生成目标有向因果图;根据目标有向因果图,对寄递网点进行风险识别。

一种语义驱动的冷链物流路径动态规划方法及系统

NºPublicación:  CN121745788A 27/03/2026
Solicitante: 
杨梦雨

Resumen de: CN121745788A

本发明提出一种语义驱动的冷链物流路径动态规划方法及系统,属于智慧物流技术领域。针对现有冷链配送难以处理非结构化环境信息及客户柔性需求的问题,本发明构建了环境感知与调度决策的协同架构,具体包括:S1:基于冷链物流的多源数据,定义路网环境感知与客户需求解析规则,生成包含路网状态分量与客户需求分量的语义特征向量;S2:解析所述语义特征向量,利用动态修正与模糊映射方法构建配送约束模型;S3:基于上述规则与模型,构建多目标配送总成本函数;S4:采用参数自适应的改进遗传算法对所述总成本函数进行全局寻优,生成最优冷链配送路径及调度指令。本发明能够将自然语言环境信息转化为数学模型的约束条件,实现对时变路网的精准响应与客户需求的精细化满足,有效降低冷链配送的总成本与货损率。

一种考虑骑手负载均衡的智能订单分配方法及系统

NºPublicación:  CN121745425A 27/03/2026
Solicitante: 
深圳市迅享科技有限公司深圳市迅享生活科技有限公司

Resumen de: CN121745425A

本发明属于智能物流技术领域,公开了一种考虑骑手负载均衡的智能订单分配方法及系统,包括:获取配送区域内的骑手实时位置数据、订单历史数据和交通动态数据,并根据其构建负载均衡分配方案;对配送区域进行骑手集群划分,生成负载分布热力图,并基于其计算负载均衡指标;基于负载均衡指标和负载均衡分配方案对待分配订单进行分配指令生成,通过优先级排序形成分层分配序列,匹配优化后得到最优订单分配策略;根据配置指令调整订单推送,监测执行状态,并评估负载效率,得到调优参数,并将其反馈至分配方案;本方法实现了配送网络的动态优化配置,有效平衡骑手负载,提高了配送效率和服务质量。

一种基于改进哈里斯鹰算法的多式联运路径优化方法

NºPublicación:  CN121745421A 27/03/2026
Solicitante: 
广西沿海铁路股份有限公司中南大学广西交通职业技术学院中国铁路南宁局集团有限公司

Resumen de: CN121745421A

本发明涉及运输技术领域,特别涉及一种基于改进哈里斯鹰算法的多式联运路径优化方法,包括:建立多式联运图结构模型;以经济成本、时间成本、碳排放为目标函数,建立多式联运路径优化模型;基于离散哈里斯鹰优化算法执行不同类别的路径更新策略;迭代优化后输出多式联运最优路径,实现综合目标下的多式联运路径优化。本发明通过对传统哈里斯鹰优化算法进行离散化改造,结合路径序列编码与节点扰动算子等,实现了多式联运路径优化中离散变量的有效求解,避免了陷入局部最优解,同时在搜索过程中引入节点交换、插入、子段反转等操作,显著提升了多式联运路径优化迭代收敛速度,能够为多式联运路径组织提供智能化、绿色化和高效化的决策支持。

商品库存确定方法、装置、设备、介质和程序产品

NºPublicación:  CN121745804A 27/03/2026
Solicitante: 
中国建设银行股份有限公司建信金融科技有限责任公司

Resumen de: CN121745804A

本公开提供了一种商品库存确定方法、装置、设备、介质和程序产品,可以应用于大数据技术领域和金融科技技术领域。该商品库存确定方法包括:响应于用户对商品的第一属性具有的至少一个可选规格中第一目标规格的选择操作,根据与第一目标规格关联的至少一个第一规格组合,确定至少一个第二属性;根据第三属性的第三目标规格和至少一个第二属性各自的至少一个第二规格,得到至少一个第二规格组合,其中,第三属性是上一选择操作所针对的属性;根据至少一个第一规格组合的商品库存状态信息和至少一个第二规格组合的商品库存信息,得到在已选择规格的情况下的商品库存信息,其中,已选择规格包括第一目标规格和第三目标规格。

食材购买清单生成方法、装置、设备及存储介质

NºPublicación:  CN121745820A 27/03/2026
Solicitante: 
合肥美的电冰箱有限公司合肥华凌股份有限公司美的集团股份有限公司

Resumen de: CN121745820A

本申请涉及一种食材购买清单生成方法、装置、设备及存储介质,涉及计算机技术领域。该方法通过获取目标用户对应的当前食材库存信息、多种食材的历史统计信息以及多个食材售卖点的详情信息;根据当前食材库存信息、多种食材的历史统计信息以及多个食材售卖点的详情信息,生成食材购买清单。通过采用上述的食材购买清单生成方法,由于多种食材的历史统计信息表征了用户的食材使用习惯,因此,结合当前食材库存信息、多种食材的历史统计信息以及食材购买点中每种食材的食材详情确定的食材购买清单,更符合用户的需求,且更便于用户进行采购,提高用户采购效率和生活便捷性。

一种基于合同约束与退货分级复用的备货冲突管理方法

NºPublicación:  CN121745809A 27/03/2026
Solicitante: 
杭州追兔信息科技有限公司
CN_121745809_PA

Resumen de: CN121745809A

本发明涉及电商供应链管理领域,公开了一种基于合同约束与退货分级复用的备货冲突管理方法,旨在解决传统多平台备货中合同履约风险高、退货资源浪费、备货分配失衡的问题。方法包括:采集多源数据并预处理生成多维数据集;解析合同条款并量化为优先级动态分值;按商品状态等维度分级退货商品,构建复用量化模型核算有效复用数量;结合合同优先级、复用数量及供应商产能计算最优备货量;通过分场景规则消解备货冲突;开展全链路闭环迭代优化。本发明提升了合同履约合规性与退货复用率,实现备货资源最优分配,为多平台备货管理提供精准、长效的技术方案。

一种货运系统调度方法、系统、设备及介质

NºPublicación:  CN121743742A 27/03/2026
Solicitante: 
武汉理工大学
CN_121743742_PA

Resumen de: CN121743742A

本发明涉及一种货运系统调度方法、系统、设备及介质,属于智能物流技术领域,其中,该方法包括:根据货运系统信息确定货运系统的宏观动态特征,并构建货运系统的图结构;通过图神经网络从图结构中提取货运系统的微观特征;基于货车预调度问题构建马尔可夫决策过程模型;其中,马尔可夫决策过程模型的状态空间根据宏观动态特征与微观特征构建;通过强化学习算法对马尔可夫决策过程模型求解,根据求解结果生成空闲货车调度方案,并根据空闲货车调度方案对空闲货车进行预调度,预调度过程为周期性启动。本发明的空闲货车调度方案生成方法可以同时兼顾场景适应性、调度决策准确性与实时性。

一种基于中央调度算法的智能手机产品销售方法

NºPublicación:  CN121745580A 27/03/2026
Solicitante: 
苏州千机汇网络科技有限公司
CN_121745580_PA

Resumen de: CN121745580A

本发明公开了一种基于中央调度算法的智能手机产品销售方法,包括千机汇小程序、智能柜、投递员,具体包括以下步骤:步骤一:通过千机汇ERP进行调拨到智能柜,选择商品型号商品串码,选择要调入的智能柜;步骤二:投递员(投递人员/店老板)保存生成投递码每个投递码对应一台机器,到达智能柜(设备)在嵌入式工控主机上使用投递员登录输入账号密码进入投递页,输入对应机器的投递码。本发明公开的千机汇ERP内基于中央调度算法根据分仓销售情况热销机型利润进行聚合分析该网点的货品销售适宜类型,在对缺货货品进行填补时,能够减少对人工经验的依赖,且自动补入,分仓直接从销售智能柜下单取货进行销售,减去中间的繁琐过程。

一种基于大模型的多Agent自动协调组织解决任务的方法

NºPublicación:  CN121745846A 27/03/2026
Solicitante: 
千舆网络科技(上海)有限公司
CN_121745846_PA

Resumen de: CN121745846A

本发明涉及大语言模型技术领域,公开一种基于大模型的多Agent自动协调组织解决任务的方法,包括:步骤一,接收且采集来自至少订单系统、仓储系统和运输系统的异构异常事件,将所述异构异常事件统一转化为包含异常类型、相关订单、相关资源和紧急程度的标准化异常事件描述;步骤二,调用异常规划智能角色,利用大模型服务对所述标准化异常事件描述进行推理和规划,动态生成异常处理链条。本发明采用异构异常事件的统一采集与标准化描述技术方案,达到自动整合跨系统信息的技术效果,实现异常任务处理的清晰、统一视图的自动生成,解决人工汇总数据耗时且缺乏自动化整合机制的不足。

车辆调度方法、装置、电子设备和存储介质

NºPublicación:  CN121745787A 27/03/2026
Solicitante: 
国能神东煤炭集团有限责任公司中国神华能源股份有限公司神东煤炭分公司
CN_121745787_PA

Resumen de: CN121745787A

本申请属于数据处理技术领域,具体涉及一种车辆调度方法、装置、电子设备和存储介质。其中,车辆调度方法,包括:获取车辆调度申请,从车辆调度申请中提取调度信息,并确定调度优化模式;根据调度优化模式中的约束条件,对调度信息进行分配优化,得到车辆调度方案;根据车辆调度方案对目标车辆进行调度。本申请的车辆调度方法能够提升调度效率的同时降低了人为操作失误的风险。

一种汽车配件订单管理方法

NºPublicación:  CN121745821A 27/03/2026
Solicitante: 
萨玛赛亚森汽车系统(上海)有限公司
CN_121745821_PA

Resumen de: CN121745821A

本发明公开了一种汽车配件订单管理方法,具体包括如下方法:S1、订单接收与确认阶段:EDI系统从客户服务器获取采购订单,并立即向客户反馈订单接收确认。本发明通过JIS系统直接处理订单排序并与MES对接,绕过了ERP系统的资源规划瓶颈,能够快速响应订单变化和执行紧急插单,JIS作为唯一的数据协调中心,确保了订单、物料、生产状态信息在EDI、ERP、MES之间流转的准确性和一致性,消除了信息孤岛,为精准决策提供了数据基础,将业务逻辑集中在JIS系统,降低了ERP、MES和EDI系统之间的直接耦合度,这种松耦合架构使系统更易于维护、升级和扩展,未来接入新的系统,如WMS仓库管理系统将更加便捷,优化了系统架构,增强了可扩展性。

一种物料出入库方法及系统

NºPublicación:  CN121745807A 27/03/2026
Solicitante: 
上汽通用五菱汽车股份有限公司
CN_121745807_PA

Resumen de: CN121745807A

本申请涉及一种物料出入库方法及系统,属于车辆制造技术领域。方法包括:当接收到出库请求时,在物料库中查询与出库请求对应的可出库物料;建立可出库物料的包装箱的虚拟箱体三维模型;将虚拟箱体三维模型放置于预设的堆垛空间模型中,并根据预设的堆垛约束条件对虚拟箱体三维模型进行排列组合,生成多个候选预堆垛方案;基于预设的评价指标,将评分最高的候选预堆垛方案确定为目标预堆垛方案;按照目标预堆垛方案将可出库物料的包装箱堆叠成货垛。本申请提供的物料出入库方法及系统,可以在出库前对物料的堆垛方式进行整体规划,实现提前确定合理的出库顺序和堆垛结构,使得包装箱在实际搬运与堆放过程中可以直接按照目标方案执行。

搬运设备的调度优化方法、计算机设备、可读存储介质和程序产品

NºPublicación:  CN121745782A 27/03/2026
Solicitante: 
顺丰科技有限公司
CN_121745782_PA

Resumen de: CN121745782A

本申请涉及一种搬运设备的调度优化方法、计算机设备、可读存储介质和程序产品,涉及智能调度技术领域。方法包括:响应于目标搬运设备的调度优化指令,获取目标搬运设备的设备属性信息、以及搬运任务的目标任务信息;基于设备属性信息,对目标搬运设备进行路况配置合理性分析,得到路况配置合理性分析结果;基于目标任务信息,对目标搬运设备进行资源配置合理性分析,得到资源配置合理性分析结果;在路况配置合理性分析结果和资源配置合理性分析结果中至少一个表示目标搬运设备存在配置不合理的情况下,进行调度优化,得到目标搬运设备的目标调度方案;根据目标调度方案,控制目标搬运设备进行搬运工作。采用本方法能够提高搬运设备的工作效率。

基于人工智能的供应链需求预测方法及系统

NºPublicación:  CN121745378A 27/03/2026
Solicitante: 
山东长森供应链有限公司
CN_121745378_A

Resumen de: CN121745378A

本发明涉及供应链智能预测技术领域,公开了基于人工智能的供应链需求预测方法及系统。该方法包括获取目标时间段内完整交易记录,形成物料流量时间序列,根据预测目标物料品种、时间跨度和地理范围筛选流量子序列。基于子序列生成物料流量变化图谱,可视化描绘流量动态波动轨迹。利用预设图谱特征识别规则扫描图谱,识别特定流量变化形态,标记为待分析特征并提取对应原始交易记录子集。构建深度神经网络,以待分析特征及其交易记录子集为输入,训练网络学习其与后续物料需求间的映射关系。该方法通过图谱化形态识别结合交易明细多模态学习,捕捉复杂非平稳需求波动,提升预测准确性和业务可解释性。

一种基于数据分析的物流供应链调度系统

NºPublicación:  CN121745789A 27/03/2026
Solicitante: 
九宇实业(广东)有限公司
CN_121745789_PA

Resumen de: CN121745789A

本发明公开了一种基于数据分析的物流供应链调度系统,涉及工业数据挖掘技术领域。该系统通过实时采集并融合交通状态、订单属性及动态约束信息,经处理后形成结构化动态数据向量;利用动态特征分析模型提取路况拥堵指数与订单优先级系数,并基于分水岭算法实现订单自适应聚类;以订单配送聚类簇为调度单元,构建多目标动态路径规划模型,同步优化时间窗履约率、行驶路径与运力成本;生成并下发实时路径调度指令,并通过监测与重规划机制动态响应变化。本发明实现了从数据感知、智能聚类到动态优化的全链路闭环调度,提升了物流配送的适应性、效率与履约质量。

用于农产品的运输安全管理方法、装置及存储介质

NºPublicación:  CN121745799A 27/03/2026
Solicitante: 
广西南宁泰展信息科技有限公司
CN_121745799_PA

Resumen de: CN121745799A

本发明涉及农产品运输技术领域,尤其涉及一种用于农产品的运输安全管理方法、装置及存储介质,所述方法包括:采集运输环境数据;根据采集的振动信号构建振动损伤模型,并确定振动损伤状态;根据采集的温度信号构建温度模型,并确定冷却系统状态;根据采集的压力信号确定压力风险等级;融合振动损伤状态、冷却系统状态和压力风险等级,以确定质量风险状态,并向用户进行预警;基于管理周期内的振动损伤状态与压力风险等级调整车速。本发明显著提升了农产品运输的保鲜效果与质量安全水平,有效降低了腐损率与经济损失。

基于格兰杰因果关系和储备池计算的港口间拥堵传播推断方法

NºPublicación:  CN121745796A 27/03/2026
Solicitante: 
大连理工大学
CN_121745796_PA

Resumen de: CN121745796A

本发明涉及港口物流智能分析技术领域,是基于格兰杰因果关系和储备池计算的港口间拥堵传播推断方法,包括:基于L空间建模方法,根据AIS船舶轨迹数据构建多重有向的集装箱船舶运输网络;采用港口的平均待泊时长作为核心指标量化港口拥堵程度;计算集装箱船舶运输网络的网络特征;构建初始候选港口集合;构建基于港口间拥堵传播关系和储备池计算的机器学习预测模型,对每个港口在下一个时间步的拥堵程度进行预测;基于格兰杰因果思想设计贪心迭代算法,基于拥堵预测误差,对每个港口的拥堵传播关系推断结果进行优化;构建拥堵程度预测模型,将拥堵传播关系作为输入,实现对港口拥堵程度的预测。本发明能够精准推断港口间的拥堵传播。

核电站的备件数据网络构建方法及相关设备

NºPublicación:  CN121743665A 27/03/2026
Solicitante: 
岭澳核电有限公司
CN_121743665_PA

Resumen de: CN121743665A

本申请实施例提出的核电站的备件数据网络构建方法及相关设备,方法包括:获取核电站的物料数据清单和物料替代数据;基于物料数据清单进行父子码关系识别清洗,得到物料清洗数据,并对物料替代数据进行替代标准化格式清洗,得到替代清洗数据;基于物料清洗数据和替代清洗数据构建初始备件数据网络,初始备件数据网络至少包括备件替代权重和备件替代量参数;基于备件替代量参数构建与备件量相关的备件替代优化模型,并求解备件替代优化模型得到优化备件替代量;将优化备件替代量输入图神经网络模型进行数据处理,得到备件替代权重的更新结果,并根据更新结果优化初始备件数据网络得到核电站的备件数据网络,使得生成的备件数据网络的准确性更高。

一种地下矿有轨与无轨联合运输的协同调度优化方法

NºPublicación:  CN121745537A 27/03/2026
Solicitante: 
武汉理工大学
CN_121745537_PA

Resumen de: CN121745537A

本发明提供了一种地下矿有轨与无轨联合运输的协同调度优化方法,包括以下步骤:以最小化运输成本、最小化安全性惩罚成本为优化目标,构建多目标优化模型,采集地下矿采场溜井的产能、品位信息、运输巷道的路径数据及有轨与无轨运输设备的运行参数,设定所述多目标优化模型的约束条件;构建有轨电机车与无轨胶轮车在装矿点及路径交叉口的动态时间窗口互斥约束机制,基于所述动态时间窗口互斥约束机制识别调度方案中的调度时间窗重叠和运行路径冲突,将所述动态时间窗口互斥约束机制写入所述多目标优化模型的约束条件;对所构建的多目标优化模型进行求解,生成初始调度方案。

自律ロボットの実施効率を改善するためのシステム、装置、および方法

NºPublicación:  JP2026510032A 27/03/2026
Solicitante: 
オカド・イノベーション・リミテッド
JP_2026510032_A

Resumen de: CN121079704A

Systems, devices, and methods for improving execution efficiency of an automated robot are disclosed. An example apparatus includes processor circuitry to: identify a first task and a second task; detecting a first condition associated with the first location, the first condition affecting a first task execution condition associated with execution of the first task of the automated vehicle, the first condition including a congestion at the first location; detecting a second condition associated with the second location, the second condition affecting a second task execution condition associated with execution of a second task of the automated vehicle; selecting one of the first task or the second task for execution based on the first condition and the second condition; and causing the automatic vehicle to travel to the first position or the second position to execute one of the selected first task or the selected second task.

一种企业全业务碳融合核算方法及系统

NºPublicación:  CN121744191A 27/03/2026
Solicitante: 
国网浙江省电力有限公司经济技术研究院
CN_121744191_A

Resumen de: CN121744191A

本发明涉及碳排放管理技术领域,本发明公开了一种企业全业务碳融合核算方法及系统,包括以物流单证记录和物料清单记录生成物料关联映射表,并据此对供应商碳活动记录与企业内部碳活动记录做字段依赖分析,形成跨环节约束的字段依赖关系表,结合会计凭证记录开展结构一致性检验,输出稳定性分级的结构对齐映射,基于企业内部碳活动记录与预设核算边界表进行多维口径差异筛查,生成企业口径规则表,维持核算口径一致,最终以结构对齐映射和企业口径规则表进行节点邻接拓扑重构,构建嵌入多尺度局部增强模块的图注意力编码器,按统一活动记录流聚合编码,得到全链路融合路径索引,贯通标识断裂与链路缺口,保证产品级碳足迹路径追踪完整性。

一种基于机车铁水罐位置的调度任务自动跟踪方法及装置

NºPublicación:  CN121745800A 27/03/2026
Solicitante: 
中冶南方工程技术有限公司
CN_121745800_PA

Resumen de: CN121745800A

本发明公开了一种基于机车铁水罐位置的调度任务自动跟踪方法及装置,所述方法包括:采集与调度任务相关的多维度数据;多维度数据至少包含设备状态数据、任务数据、任务拆解数据及位置数据;基于任务数据及任务拆解数据,识别调度任务包含的步骤,以及各步骤对应的动作,根据步骤与动作的前置关联关系,判定步骤及动作的启动状态;针对动作的不同类型,采用预设的差异化完成判定标准,校验动作的完成状态;结合自动跟踪程序与事件触发的人工校验程序,对调度任务的状态进行协同校验。本发明有效提升了调度效率和准确率。

基于虚拟行李的行李码放位置确定方法、设备及存储介质

NºPublicación:  CN121744568A 27/03/2026
Solicitante: 
中航信移动科技股份有限公司
CN_121744568_PA

Resumen de: CN121744568A

本发明提供了一种基于虚拟行李的行李码放位置确定方法、设备及存储介质,涉及行李码放位置确定技术领域,所述方法包括:获取当前行李车对应的三维坐标系QR、待码放行李对应的待码放行李包围盒W;其中,所述虚拟包围盒位于当前行李车的外部,所述虚拟包围盒与当前行李车的四个侧面相邻;相邻的虚拟包围盒的侧面与当前行李车的侧面的尺寸相同;依次遍历QR中每一预设的待确认点;当W在目标待确认点时,若W不与任一三维行李网格重合,W不与虚拟包围盒重合且W满足所有的预设码放条件,则将目标待确认点确定为待码放行李对应的码放位置;从而确保不超出行李车空间范围的前提下,确定出待码放行李对应的码放位置。

一种智慧电商供应链物流追踪分析方法及系统

NºPublicación:  CN121745801A 27/03/2026
Solicitante: 
龙岩市天博信息技术有限公司
CN_121745801_PA

Resumen de: CN121745801A

本申请提供一种智慧电商供应链物流追踪分析方法及系统,属于智慧电商技术领域,包括:根据初始路径优选条件分析得到各路径的时效偏差分布,根据各路径的时效偏差分布确定订单关于中转路径的调整方向,确定碎片化分布优化的节点组合方案;根据路径优选条件识别逐级增加的中转节点,并统计各级停留时长占比分析停留碎片化程度的变化趋势,评估节点组合对时效达成率的提升效果,得到关于节点组合有效性的初步评估结果;根据目标节点组合方案统计优化后各节点的停留时长分布,分析窗口起止时间与停留时长的覆盖范围,根据覆盖范围与承诺窗口的匹配程度确定送达时效。

一种多模式转换下的共堆场海铁联运集卡路径优化方法

NºPublicación:  CN121745423A 27/03/2026
Solicitante: 
广西沿海铁路股份有限公司中南大学广西交通职业技术学院中国铁路南宁局集团有限公司
CN_121745423_PA

Resumen de: CN121745423A

本公开实施例中提供了一种多模式转换下的共堆场海铁联运集卡路径优化方法,属于计算技术领域,具体包括:步骤1,根据港口集装箱堆场的道路信息构建港口作业区域有向图;步骤2,根据港口待转运集装箱货物信息定义多种运输模式及其对应的决策变量;步骤3,根据多种运输模式及其对应的决策变量建立以集卡总行驶时间最短为目标的目标函数和路径优化约束条件,据此构建集卡路径优化模型;步骤4,采用粒子群算法求解集卡路径优化模型,得到最优粒子;步骤5,将最优粒子映射为有向图的路径与模式组合,得到最优集卡路径方案,并输出所述路径方案。通过本公开的方案,提高了路径优化效率和适应性。

货物清点方法、装置、设备及存储介质

NºPublicación:  CN121745806A 27/03/2026
Solicitante: 
三六零数字安全科技集团有限公司
CN_121745806_PA

Resumen de: CN121745806A

本申请公开了一种货物清点方法、装置、设备及存储介质,涉及人工智能技术领域,公开了货物清点方法,包括:获取目标图像,所述目标图像对应于待清点货物的区域;将所述目标图像输入至预先训练好的货物清点模型中,由所述货物清点模型基于所述目标图像,确定所述目标图像中待清点的目标货物的类别及对应的数量;基于所述目标货物的类别及对应的数量,确定所述待清点货物的区域所对应的货物清点结果。本申请通过获取待清点货物区域的图像,并借助模型即可快速、准确地清点出某一区域的货物类别及对应的数量,无需大量人力投入,能够实现高频率货物清点,可以适用于大规模、实时化管理的需求,有效提高了货物清点的效率和准确率。

面向质量不确定的废旧动力电池回收拆解集成优化方法

NºPublicación:  CN121745928A 27/03/2026
Solicitante: 
西北工业大学
CN_121745928_PA

Resumen de: CN121745928A

本发明提出一种面向质量不确定的废旧动力电池回收拆解集成优化方法,首先以最小化总运营成本为目标函数,考虑耦合约束、可回收包装相关约束、车辆相关约束、需求满足约束、库存相关约束、拆解线相关约束以及决策变量取值范围约束,构建废旧动力电池回收‑拆解集成优化的随机规划模型;采用样本平均近似法将随机模型转化为等价的确定性模型,并对非线性项进行线性化处理以增强求解性能;最后采用两阶段启发式算法对所提出的数学模型进行求解,并可根据实际问题选择所需的最优情景数。本发明实现了质量不确定环境下废旧动力电池的回收、拆解两个阶段问题的集成优化,为废旧动力电池循环利用领域的复杂优化问题提供科学的解决方案。

一种远场阵列与近距融合的航空仓储智能盘点方法及装置

NºPublicación:  CN121745818A 27/03/2026
Solicitante: 
龙兴(杭州)航空电子有限公司
CN_121745818_A

Resumen de: CN121745818A

本发明公开了一种远场阵列与近距融合的航空仓储智能盘点方法及装置。该方法先采集最下面一层的每个货架的货物的RFID标签的RSSI信号,然后逐层向上采集每一层的货物的RFID标签的RSSI信号,在每一层采集时,还采用不同功率覆盖不同货架,并通过与已经确认的RSSI信号进行对比去重,从而对所有货架的每一层的货物进行盘点。通过逐个采集每个货架第1层放置的货物的RSSI标签结合功率天线逐步自动采集,快速、准确、自动化地完成货架的盘点。

一种保险单证仓库的智能安防系统及方法

NºPublicación:  CN121745814A 27/03/2026
Solicitante: 
中国人寿保险股份有限公司湖南省分公司
CN_121745814_PA

Resumen de: CN121745814A

本发明涉及一种保险单证仓库的智能安防系统和方法,系统包括:多传感器感知网络、安防风险决策模块及安防响应模块;多传感器感知网络采集所在目标保险单证仓库的多传感器数据,并将多传感器数据上传至安防风险决策模块;安防风险决策模块基于预置动态风险决策算法,结合多传感器数据进行计算,得到目标保险单证仓库的综合风险评分值;安防响应模块根据综合风险评分值对目标保险单证仓库进行分级自适应安防响应。通过预置动态风险决策算法对多传感器数据进行综合分析,得到综合风险评分值,综合风险评分值对目标保险单证仓库进行分级自适应安防响应,实现了对保险单证仓库的安防风险的早期、精准及主动的干预。

一种多层库存精细化管理方法及系统

NºPublicación:  CN121745816A 27/03/2026
Solicitante: 
无忧达(宁波)物流科技有限公司
CN_121745816_PA

Resumen de: CN121745816A

本发明涉及一种多层库存精细化管理方法及系统,涉及库存管理的技术领域,其包括:响应于库存请求,采集库存基础信息;根据库存基础信息确定库存所属的逻辑层级;根据逻辑层级对订单库存进行层级划分,并采集各层级库存的库存数据;根据库存数据生成库存数据图和财务数据表;基于库存数据图和财务数据表输出多层库存管理的结果报告,并根据结果报告匹配管理方法,以进行订单库存管理。本申请具有实现数字化管理以提高处理效率的效果。

基于人工智能的跨境电商供应链数据分析方法和系统

NºPublicación:  CN121745812A 27/03/2026
Solicitante: 
杭州恒健供应链科技有限公司
CN_121745812_PA

Resumen de: CN121745812A

本发明涉及电商管理技术领域,具体为基于人工智能的跨境电商供应链数据分析方法和系统,包括:基于跨境电商交易平台在特定销售周期内的商品交易数据,响应于商品交易数据中一商品的第一交易增长率超过预设的增长幅度阈值,基于第一市场区域分布数据,确定商品在目标市场地域中的第一潜在购买热度分布;基于第一潜在购买热度分布,获取对应目标市场地域中商品的历史供应链运作数据,对历史供应链运作数据进行关联规则剖析,得到商品在供应链各环节的关联运作特征模式。本发明通过动态调整库存管控策略,能够根据市场需求变化和商品交易数据实时优化库存分配,从而减少库存积压和缺货现象,提升整体库存周转率。

一种电子仓单大数据管理系统

NºPublicación:  CN121745822A 27/03/2026
Solicitante: 
山东省创犀信息科技有限公司
CN_121745822_PA

Resumen de: CN121745822A

本发明公开了一种电子仓单大数据管理系统,涉及电子仓单数据管理技术领域,包括如下模块:货物验资排序模块,获取验资货物用户信息,获取用户的全部验资银行信息,制定银行验资顺序表,按照银行验资顺序表对用户的全部验资银行信息进行验资排序;通过验资银行在三方交流窗口中关于质押与解押的回复情况对验资银行的验资排序进行重新修订,从而使更配合仓储管理、更愿意信息沟通的验资银行享有优先验资的条件,进而有益于仓储在长期管理过程中避免出现经济纠纷,有益于避免影响仓储信誉。

一种仓储物流自动搬运机器人

NºPublicación:  CN121745591A 27/03/2026
Solicitante: 
山西电子科技学院
CN_121745591_PA

Resumen de: CN121745591A

本发明属于机器人控制技术领域,公开了一种仓储物流自动搬运机器人,包括:数据感知模块,获取待搬运的货物信息和相应的搬运目的地信息;任务调度模块,根据货物信息和搬运目的地信息,智能匹配具有相应承重能力和续航能力的搬运机器人,获取搬运调度方案;机器人路线规划模块,根据搬运调度方案基于仓储三维地图规划第一路径信息和第二路径信息,获取任务指令信息;任务指令优化模块,对任务指令信息进行优先级设置,基于搬运时间模型进行路段重复使用情况的分析检测,获取更新任务指令集合;机器人控制模块,根据更新任务指令集合控制相应的搬运机器人执行搬运任务。本发明实现了仓储物流场景下多机器人的协同控制,提高了仓储物流的搬运效率。

一种基于复合交通网络的港铁公多式联运路径优化方法

NºPublicación:  CN121745422A 27/03/2026
Solicitante: 
广西沿海铁路股份有限公司中南大学广西交通职业技术学院中国铁路南宁局集团有限公司
CN_121745422_PA

Resumen de: CN121745422A

本公开实施例中提供了一种基于复合交通网络的港铁公多式联运路径优化方法,属于运输技术领域,具体包括:步骤1,构建融合真实与虚拟边的复合交通网络拓扑结构模型,整合所有真实节点、真实边与虚拟边,形成完整的多式联运图结构;步骤2,基于多式联运图结构,构建包含运输时效、经济成本、碳排放与换装成本的广义费用函数;步骤3,基于约束条件,建立以最小广义费用为目标的港铁公多式联运路径优化模型;步骤4,基于改进遗传算法设计迭代循环优化求解方法对港铁公多式联运路径优化模型进行迭代寻优,确定满足约束条件以及广义费用目标最优的多式联运运输路径最优方案。通过本公开的方案,提升了路径规划和运输效率。

露天挖机、矿用卡车的协同调度方法、装置及可读存储介质

NºPublicación:  CN121745538A 27/03/2026
Solicitante: 
山西科达自控股份有限公司
CN_121745538_PA

Resumen de: CN121745538A

本申请提供了露天挖机、矿用卡车的协同调度方法、装置及可读存储介质,属于矿用车辆协同调度领域;挖机与卡车之间采用4G/5G专网与小型局域网的双网络自适应切换机制实现协同调度,方法包括以下步骤:通过卡车调度平台配置编组计划,生成动态调度指令,并同步向处于待机状态的挖机和处于空运状态的卡车下发协同调度指令;挖机和卡车接收到调度指令后分别行驶至装载区域,并判断车辆是否进入装载区域;确定车辆进入装载区域后,再判断是否存在排队车辆;然后选择排队卡车,更新卡车状态并判断是否装载完成后进入卸载区域,更新状态后直至卸载完成最终完成卸载和状态更新;可以极大的避免挖机与卡车之间频繁出现通信中断或数据传输延迟的情况。

一种模块化手术室专用耗材智能管理装置

NºPublicación:  CN121730999A 27/03/2026
Solicitante: 
国药集团山东鲁西南医疗器械有限公司
CN_121730999_PA

Resumen de: CN121730999A

本发明公开了一种模块化手术室专用耗材智能管理装置,涉及耗材管理领域;该模块化手术室专用耗材智能管理装置,通过拼接盒、底部模块和顶部模块拼接组成耗材管理装置,装置的嵌入式系统接入库存系统对存储盒内部的耗材进行统一管理;在耗材出库到剩余耗材归库过程中,可以选择部分拼接盒与底部模块和顶部模块组装,将待使用的手术耗材经由摄像头和嵌入式系统记录后放置在存储盒中,在术前术后通过摄像头和嵌入式系统拍摄记录手术耗材使用情况,便于医护人员在术前术后快速清点手术耗材的消耗情况,在剩余耗材归库时,嵌入式系统与库存系统对接,实现剩余耗材的快速录入,将耗材专门管理延伸到术前术后的各个时间段。

一种数字孪生驱动的智慧港口装卸流程优化方法及系统

NºPublicación:  CN121745369A 27/03/2026
Solicitante: 
杭州华新机电工程有限公司浙江省特种设备科学研究院浙江数智交院科技股份有限公司浙江天新智能研究院有限公司浙江水利水电学院
CN_121745369_PA

Resumen de: CN121745369A

本发明公开了一种数字孪生驱动的智慧港口装卸流程优化方法及系统,应用于包含岸桥、场桥、水平运输设备与堆场作业单元的港口装卸场景。通过采集港口装卸流程的实时状态数据与作业约束数据,构建并更新与物理港口对应的数字孪生状态,在数字孪生状态下生成装卸流程的候选控制动作集,并针对各候选控制动作执行反事实干预仿真,计算对应的流程演化结果及边际因果影响指标,进一步生成可机器校验的动作安全‑收益证书,仅选择满足预设证书门槛的控制动作下发执行,并通过执行反馈持续更新数字孪生状态,从而实现港口装卸流程的安全、稳定与高效优化。

一种猪肉冷链合规性检测的多源数据存证方法

NºPublicación:  CN121741121A 27/03/2026
Solicitante: 
中邦生态食品科技(深圳)有限公司
CN_121741121_PA

Resumen de: CN121741121A

本发明公开了一种猪肉冷链合规性检测的多源数据存证方法,涉及数据存证技术领域,包括:基于冷链车厢数据获取分布式传感点以及核心传感点;在车厢内构建异常传感阵列,并获取异常传感特征;基于异常传感特征获取运输传感演变图,将运输传感演变图记为存证标准;本发明用于解决现有的猪肉冷链合规性检测的多源数据存证方法中,无法在冷链运输过程中基于冷链运输的货物特性进行针对性的数据采集,且采集得到的数据缺乏联动性,导致存证数据不够全面的同时,平行数据之间相互独立,造成存证数据无法有效进行合规性检测的问题。

考虑布货网络对需求内生性影响的产品布货策略优化方法

NºPublicación:  CN121745791A 27/03/2026
Solicitante: 
中国科学技术大学
CN_121745791_PA

Resumen de: CN121745791A

本发明公开了一种考虑布货网络对需求内生性影响的产品布货策略优化方法,包括:1.考虑布货网络对需求的内生性影响,以最小化布货网络中物流总时间消耗为目标,建立布货策略优化模型;2.通过对历史需求数据的分析,构造产品属性代理特征,与布货网络的历史物流服务质量、地区经济发展水平构成需求特征向量,结合随机森林预测算法训练得到预测模型,预测产品需求量,为布货策略优化模型提供输入;3.构建产品需求预测与产品布货策略优化的迭代求解框架,输出稳定的布货决策。本发明通过引入反馈机制动态调整布货网络,从而有效缩短布货网络中的物流总时间消耗,提升企业物流运营效率,为复杂环境下产品布货策略优化问题提供系统性解决方案。

基于移动终端的生产排产与仓储出入库数字化处理系统

NºPublicación:  CN121745569A 27/03/2026
Solicitante: 
山东滨农科技有限公司
CN_121745569_PA

Resumen de: CN121745569A

本发明涉及制造业信息化技术领域,公开了基于移动终端的生产排产与仓储出入库数字化处理系统,包括:数据采集处理模块,获取原始生产数据并进行预处理;约束建模模块,采用增量式设备约束更新方法和触发式物料约束更新方法得到分层动态约束模型;排产优化模块进行任务复杂度评估和智能计算分配;协同调整模块,对排产方案进行排产仓储协同需求预测与匹配;仓储操作模块,用于生成出入库任务队列并引导操作人员完成出入库操作;异常识别模块,采用多模态数据融合算法识别异常情况;混合决策模块,动态切换在线模式、弱网模式和离线模式,采用对应模式的决策和同步策略;本发明实现了生产排产与仓储管理的深度融合,提高了生产效率和库存管理水平。

一种面向智慧港口的物流定位方法

NºPublicación:  CN121745361A 27/03/2026
Solicitante: 
扬州恒基达鑫国际化工仓储有限公司
CN_121745361_PA

Resumen de: CN121745361A

本发明公开了一种面向智慧港口的物流定位方法,具体涉及动态地图可视化领域;在港区布设高精度控制点,采集第一坐标与第二坐标构建控制点数据集;采用加权最小二乘法拟合生成多个区域对应的七参数坐标变换模型;通过预测模型生成微调参数组,并与七参数模型结合形成自适应坐标变换模型;将采集到的第一坐标实时转换为修正后的第二坐标,并同步映射至数字港区地图系统,实现目标物流对象的动态可视化与调度联动;本发明提升了港区定位系统的稳定性与环境适应性,适用于智慧港口中无人化运输、自动调度与安全监管等应用场景。

一种基于智能体的企业项目服务管理系统

NºPublicación:  CN121745844A 27/03/2026
Solicitante: 
数族科技(南京)股份有限公司
CN_121745844_PA

Resumen de: CN121745844A

本发明涉及大数据分析技术领域,具体为一种基于智能体的企业项目服务管理系统;接入企业的业务凭证数据流、项目合同文档及资金流转记录作为私域运营数据,同步接入区域关联数据中的物流运输时空轨迹及工业能源消耗数据;验证智能体组基于企业私域运营数据,调用区域关联数据中的物流与能耗数据,进行多维物理时空及逻辑一致性匹配,生成包含置信度权重的可信交互特征;分析智能体组接收可信交互特征,将微观交互关系映射至区域宏观维度,构建包含企业节点与加权服务流转边的区域产业链拓扑网络;基于区域产业链拓扑网络,动态计算企业节点间的服务供需耦合指数,识别阻碍项目流转的产业链断点,生成优化资源配置的补链路径规划。

一种物流业务的确定方法及装置

NºPublicación:  CN121745786A 27/03/2026
Solicitante: 
北京云迹科技股份有限公司
CN_121745786_PA

Resumen de: CN121745786A

本申请公开了一种物流业务的确定方法及装置,属于物流技术领域,该方法充分结合了发货需求与报价信息进行决策,能够从各个物流服务中精准筛选出符合实际发货需求的目标物流服务,有效解决了传统人工对比或单一维度筛选导致的效率低、匹配度差的问题,显著提升了物流业务确定的效率与精准度,保障了物流业务的高效开展。

一种带收发空地协同多编队物流运输调度路线规划方法

NºPublicación:  CN121745419A 27/03/2026
Solicitante: 
广东工业大学电子科技大学中山学院
CN_121745419_PA

Resumen de: CN121745419A

本发明涉及物流运输调度技术领域,尤其涉及一种带收发空地协同多编队物流运输调度路线规划方法。包括:初始化参数;根据编码策略随机初始化粒子群,根据解码策略计算每个粒子的适应度确定出群体最优,并记录当前全局粒子对应的服务路径方案;在确定当前全局粒子对应的服务路径方案的条件下,执行三学习策略粒子群算法;在执行三学习策略粒子群算法中,根据已执行迭代次数比例确定相应的学习策略;在所述已执行迭代次数比例达到最大迭代次数的条件下确定输出当前最优的路径规划方案。本发明同时考虑客户优先级以及双向取送货,降低运输调度成本,避免了传统粒子群优化容易陷入局部最优解的问题。

基于时间窗与多车型的预制构件配送调度优化方法

NºPublicación:  CN121745635A 27/03/2026
Solicitante: 
合肥工业大学安徽建工路港建设集团有限公司
CN_121745635_PA

Resumen de: CN121745635A

本发明提供一种基于时间窗与多车型的预制构件配送调度优化方法,涉及配送调度技术领域。获取并利用了多种运输车辆的参数信息以及建筑工地的配送时间窗。构建以最小化配送成本和最大化车辆平均装载率为双目标的优化函数。通过同时优化这两个目标,能够得到在经济性和资源利用效率之间取得平衡的调配方案,避免了单一目标优化可能带来的片面性。采用多目标蚁群‑遗传混合优化算法进行求解,生成多个具有不同权衡的调配方案供用户选择。通过综合考虑多车型、时间窗、双目标优化以及混合智能算法,提供高效且灵活的预制构件配送调度优化解决方案,有效提升多车型混编配送场景下的资源利用效率,提高配送方案的实用性。

面向动态配送需求的无人配送跨区协同调度重优化方法

NºPublicación:  CN121745795A 27/03/2026
Solicitante: 
西南交通大学
CN_121745795_PA

Resumen de: CN121745795A

本发明公开一种面向动态配送需求的无人配送跨区协同调度重优化方法,涉及无人物流技术领域,解决现有技术在应对实时新增配送需求时进行无人车辆配送调度方案重优化的计算效率低、优化精度不足等问题,并将重优化过程的时间成本加入调度优化问题中平衡优化时间成本和配送成本;本发明包括构建跨区协同无人配送网络,通过把运营时间划分为多个均匀时间周期将动态调度问题转换为多个静态调度问题,定义各时间周期的顶点集与弧集,针对周期内的配送任务,以最小化无人配送车辆总运输成本为目标,设定客户服务约束、车辆容量约束、时间窗约束及配送区域归属等约束,经过初始解构建阶段与优化求解阶段得到重优化后的跨区协同无人配送方案。

基于时空信息融合的码头道口外集卡流量预测方法及系统

NºPublicación:  CN121745396A 27/03/2026
Solicitante: 
同济大学
CN_121745396_PA

Resumen de: CN121745396A

本发明涉及一种基于时空信息融合的码头道口外集卡流量预测方法及系统,方法包括:采集码头道口外集卡数据,包括集卡信息、集卡历史抵达记录、预约记录、实时GPS数据,并进行预处理、数据匹配计算及特征工程处理,构建码头道口外集卡流量预测数据集;码头道口外集卡流量预测数据集包括集卡流量时序特征、集卡预约量时序特征以及集卡GPS散点矩阵;将码头道口外集卡流量预测数据集输入预训练的预测模型中,输出未来若干小时内每个小时的码头道口外集卡流量预测值。与现有技术相比,本发明能够在预测过程中实时考虑每个时间节点下预约系统中的集卡预约量以及集卡实时GPS位置信息并完成时空信息融合,从而实现码头道口集卡的动态实时精确预测。

基于图神经网络的粮堆空间温度场异常动态预测方法

NºPublicación:  CN121745391A 27/03/2026
Solicitante: 
河南工业大学
CN_121745391_PA

Resumen de: CN121745391A

本发明提供基于图神经网络的粮堆空间温度场异常动态预测方法,涉及粮堆灾害预测技术领域,本发明通过历史的温度数据在图神经网络中构建温度预测模型,获取预测温度序列,获取温度预报并结合温度预报的变化率、预测温度序列的变化率获取温度影响系数,并形成修正的预测温度序列,获取历史的病虫害数据和发病温度序列,根据修正的预测温度序列筛选新发位和再发位,并获取再发系数,分别对修正的预测温度序列进行调整,获取评价序列,并对病虫害风险进行分析。本发明通过构建温度预测模型实现粮堆温度的动态预测,结合粮堆温度和病虫害历史实现对病虫害的提前发现。

基于增益模型的调度时长调节方法、设备、产品及介质

NºPublicación:  CN121745601A 27/03/2026
Solicitante: 
拉扎斯网络科技(上海)有限公司
CN_121745601_PA

Resumen de: CN121745601A

本说明书提供一种基于增益模型的调度时长调节方法、设备、产品及介质,所述方法包括:获取具有关联关系的待分配配送订单集;构建订单集的订单关系图;将订单关系图输入至增益模型,以使增益模型基于图神经网络提取订单关系图的图嵌入向量,并基于图嵌入向量为各订单,预测其在一种或多种预定义的时长调节策略下分别对应的增益值;时长调节策略包括:对初始调度时长进行时长调节的策略;增益值表征:对订单执行时长调节策略相对于未执行,该订单与订单集中其他订单分配至同一配送运力的概率增益;根据订单的增益值,确定对订单的初始调度时长的最终调节策略。

一种确定物品包装木箱尺寸的方法、装置、设备和存储介质

NºPublicación:  CN121745372A 27/03/2026
Solicitante: 
广东申菱商用空调设备有限公司
CN_121745372_PA

Resumen de: CN121745372A

本发明实施例公开了一种确定物品包装木箱尺寸的方法、装置、设备和存储介质。该方法包括:确定待计算包装木箱尺寸的所有过滤器所分别对应的外包装尺寸和外包装数量;基于外包装尺寸、外包装数量以及预定义的数据库,确定过滤器外包装转化后数量;基于过滤器外包装转化后数量和预定义排布方案,确定目标排布方案;根据目标排布方案确定过滤器包装木箱尺寸。上述技术方案,通过待计算物品包装木箱尺寸的过滤器外包装尺寸和过滤器外包装数量,以及预设数据库,确定出过滤器外包装转化后数量,并结合预定义排布方案,确定目标排布方案,从而根据目标排布方案确定过滤器包装木箱尺寸,能够提升包装时的效率和准确性,且更好的利用空间。

一种基于实时路况与多因素决策的物流配送优化方法

NºPublicación:  CN121745803A 27/03/2026
Solicitante: 
深圳易普森科技股份有限公司易普森智慧健康科技(深圳)有限公司易普森生物科技(深圳)有限公司
CN_121745803_PA

Resumen de: CN121745803A

本发明提出了一种基于实时路况与多因素决策的物流配送优化方法,本发明通过中央管理系统的智能调度和配送机器人的导航,提高了配送的效率与准确性。集成的垂直和水平传输系统确保了货物在多楼层间的快速运输,智能收发工作站的应用和中央系统的实时信息更新功能增强了物流节点的灵活性和可靠性。解决了现有技术中资源分配不均、道路拥堵应对不力、路径规划不够智能、以及实时信息传递不畅而造成的配送效率降低、误配送或延迟送达的技术问题。

基于注意力机制的冷链温湿度异常检测分析方法

NºPublicación:  CN121744138A 27/03/2026
Solicitante: 
中邦生态食品科技(深圳)有限公司
CN_121744138_PA

Resumen de: CN121744138A

本发明公开了基于注意力机制的冷链温湿度异常检测分析方法,涉及冷链运输温湿度异常检测技术领域,包括如下步骤:在冷链运输过程中,收集冷链运输车辆的温度和湿度的变化数据,得到原始温湿度样本数据;并进行数据预处理,进行温湿度波动分析,并获取温湿度正常波动阈值;构建温湿度波动预测模型,对实时采集的冷链运输车辆的温度和湿度进行温湿度波动分析,并进行温湿度波动预测,并进行异常检测分析,得到温湿度异常检测分析结果;本发明用于解决现有的冷链运输温湿度异常检测技术在对冷链运输过程的温湿度进行异常检测分析时,无法根据温湿度的历史波动情况,对温湿度异常波动进行准确判断,同时对温湿度的波动进行预测判断的问题。

针对大规模三维装箱问题的动态候选装箱方法及系统

NºPublicación:  CN121745781A 27/03/2026
Solicitante: 
西南交通大学
CN_121745781_PA

Resumen de: CN121745781A

本发明属于三维装箱技术领域,公开了针对大规模三维装箱问题的动态候选装箱方法及系统,将三维装箱问题建模为马尔科夫决策过程,通过构建以Transformer为核心的装箱Q网络和候选Q网络,分别负责从处理集中选择箱体进行装箱和从候选集中动态选取箱体加入处理集。装箱Q网络在训练阶段通过强化学习进行优化,动态候选Q网络则直接复用训练好的装箱Q网络参数,无需额外训练。该方法通过将箱体划分为处理集与候选集,有效降低了大规模装箱问题的计算复杂度,同时保持了较高的空间利用率。本发明在处理大规模实例时,相较于现有方法,在空间利用率方面具有显著优势,尤其适用于物流运输与仓储管理中的高效装箱需求。

一种基于知识图谱的智能化后勤管理方法及系统

NºPublicación:  CN121745461A 27/03/2026
Solicitante: 
山东新睿信息科技有限公司
CN_121745461_A

Resumen de: CN121745461A

本发明涉及后勤管理领域,具体公开了一种基于知识图谱的智能化后勤管理方法及系统,方法包括:通过情境感知模型实时识别后勤保障任务的关键情境要素;基于情境要素从预构建的知识图谱中动态抽取相关知识子图;在知识子图空间内对物资进行多维度评估并生成调配方案;通过数字孪生环境对方案进行虚拟执行与冲突检测,动态修正生成最终优化方案;系统包括多源数据采集与情境感知模块、知识图谱管理与动态查询模块、多维度评估与方案生成模块、数字孪生与方案优化模块及方案执行与反馈优化模块。本发明解决了数据孤岛、决策效率低下及方案可行性验证缺失问题,实现了从数据感知到方案优化的全流程智能化管理,显著提升了后勤保障的精准性与可靠性。

跨境商品自适应合规数据标准化系统及方法

NºPublicación:  CN121745797A 27/03/2026
Solicitante: 
企发丝路(北京)科技发展有限公司
CN_121745797_PA

Resumen de: CN121745797A

本申请提供一种跨境商品自适应合规数据标准化系统及方法。包括:数据预处理模块,用于对不同来源的字段名称和数据格式进行映射与转换;语义识别模块,用于识别得到初始标准化商品信息;合规处理模块,用于生成与商品类目、清关字段及海关编码关联的监管规则数据结构;标准商品档案生成模块,用于对可依据跨境商品知识图谱和初始标准化商品信息推导的清关字段进行填充,对不能自动确定的清关字段进行标记,生成标准商品档案数据;电子标签对接模块,用于建立电子标签编码与标准商品档案数据之间的对应关系。本申请能够实现异构商品数据统一标准化建模,提高合规字段及清关信息生成准确性,降低电子标签申请与商品档案维护成本。

基于AI超级指挥大脑的应急应战救援决策方法及系统

NºPublicación:  CN121745531A 27/03/2026
Solicitante: 
中船海神医疗科技有限公司
CN_121745531_PA

Resumen de: CN121745531A

本发明实施例提供了基于AI超级指挥大脑的应急应战救援决策方法及系统,涉及应急救援技术领域,包括:通过分布式数据网关进行多源异构灾情数据接收;进行建筑物损毁识别,输出分布式受灾区域标识;进行状态转移预测,输出时序灾情预测数据;进行风险演化分析,输出分布式预测区域标识;调取受灾区域的实时交通拓扑数据后,进行救援策略寻优,输出救援优化方案;基于区块链进行救援优化方案的分级留痕审批后,执行多类型救援设备协同调度。本发明解决了现有技术的应急应战决策方法往往依赖于单一的数据来源,难以全面准确地反映灾区的实时动态,影响了对灾后资源的有效调配和救援路径的科学规划,从而增加灾后损失的技术问题。

快速救援直升机协同指挥方法及系统

NºPublicación:  CN121745532A 27/03/2026
Solicitante: 
中船海神医疗科技有限公司
CN_121745532_PA

Resumen de: CN121745532A

本发明公开了快速救援直升机协同指挥方法及系统,本发明涉及直升机技术领域,解决了难以满足紧急救援任务对“快速、精准、高效”的核心需求的问题,本发明通过对直升机历史飞行数据的聚类分析确定不同载重、速率下的飞行特征,精准量化油耗与飞行距离的关联关系,为后续任务分配提供了数据化决策依据,避免了传统经验判断的误差,确保直升机调度的科学性与适配性;针对救援点与直升机数量的不同场景,通过可到达点判定与多组分配逻辑的特征对比,实现了救援资源的最优配置,在救援点较少时保障单任务高效执行,在救援点较多时通过组合优化实现多任务协同覆盖,大幅缩短了整体救援响应时间。

家装物料调度方法、模型训练方法、设备及介质

NºPublicación:  CN121745805A 27/03/2026
Solicitante: 
贝壳找房(北京)科技有限公司
CN_121745805_PA

Resumen de: CN121745805A

本公开涉及一种家装物料调度方法、模型训练方法、设备及介质,其中,模型训练方法包括:获取第一状态空间信息,第一状态空间信息包括至少一个候选退库货位、第一家装物料的物料参数、候选退库货位的货位参数;确定至少一个候选退库货位中的第一候选退库货位对应的第一退库动作的作业能耗;根据第一家装物料的物料参数和第一候选退库货位的货位参数,确定第一退库动作的惩罚值;根据第一退库动作的作业能耗和惩罚值,确定第一退库动作的参考动作价值,利用第一退库动作的参考动作价值进行模型训练,得到第一价值预测模型。根据本公开的技术方案,能够在实现能耗优化的同时能够学习到合理的货位分配,确保能耗优化不突破家装场景的业务可行性。

一种基于联邦学习与多智能体协作的供应链韧性增强系统

NºPublicación:  CN121745517A 27/03/2026
Solicitante: 
上海司百袖信息技术有限公司
CN_121745517_PA

Resumen de: CN121745517A

本发明涉及人工智能与供应链管理交叉技术领域,尤其涉及一种基于联邦学习与多智能体协作的供应链韧性增强系统,包括联邦学习框架、多智能体协作模块、路由器、数据处理与分析模块、微调器和数据池,联邦学习框架用于在多个供应链参与方之间以隐私保护方式协同训练模型,各参与方仅通过模型参数更新参与训练,微调器用于对联邦大模型进行动态参数调整,包括目标管理、过程管理和品控管理三个功能单元;本发明通过联邦学习框架实现隐私保护下的跨企业数据协同,结合多智能体架构实现供应链全链条的实时决策与韧性优化,显著提升了供应链在面临外部冲击或内部扰动时的稳定运行、快速恢复和自适应优化能力。

多区域采摘机器人与运输机器人的协同调度方法

NºPublicación:  CN121745637A 27/03/2026
Solicitante: 
聊城大学
CN_121745637_PA

Resumen de: CN121745637A

本发明涉及智慧农业技术领域,具体属于一种多区域采摘机器人与运输机器人的协同调度方法,包括:混合启发式初始化策略生成初始种群,确定当前全局最优解;对当前种群中的解应用任务级算子进行局部搜索并执行运输调度重建,通过知识迁移机制选择行程级算子,对当前种群中的解进行局部搜索并执行运输调度重建;判断全局最优解是否改进,当连续未改进次数达到重启阈值时,执行自适应重启机制对当前种群进行重构;判断是否达到预设时间阈值,若未达到继续返回迭代,否则输出全局最优解及对应的最大完工时间。本发明的应用有效提高了协同调度的求解效率和解的质量,不仅降低了智慧农场运营成本,也提高了采摘与运输作业效率。

一种高海拔地区马铃薯的贮藏方法及系统

NºPublicación:  CN121730362A 27/03/2026
Solicitante: 
凉山彝族自治州农业科学研究院
CN_121730362_PA

Resumen de: CN121730362A

本发明涉及控制调节技术领域,尤其涉及一种高海拔地区马铃薯的贮藏方法及系统,方法通过采集环境参数构建空气动力学模型并反演呼吸产热速率,依据水分散失势能与降温条件,在振荡通风与闭锁抑芽模式间择一决策;利用正弦脉动气流破坏层流边界层,利用二氧化碳积累抑制代谢;有效解决了高海拔低气压环境下物理降温与水分保持难以兼顾的难题,实现了流态重构与代谢抑制的动态耦合;不仅通过非定常流动在低风速下大幅提升换热效率并减少干耗,更能在极端干燥工况下利用生物自发气调从源头阻断呼吸热积聚,显著延长了马铃薯的保鲜期与商品价值。

一种仓库堆垛药品数量盘点方法、系统及电子设备

NºPublicación:  CN121746372A 27/03/2026
Solicitante: 
天津卡雷尔机器人技术有限公司
CN_121746372_PA

Resumen de: CN121746372A

本发明公开一种仓库堆垛药品数量盘点方法及系统,该方法包括:获取堆垛药品的图像数据和深度数据,通过融合图像数据与深度数据,在无需多角度重复采集数据的前提下,将二维语义信息与三维空间数据进行融合绑定,结合药盒固有的几何对称性特征,对被遮挡或缺失区域的点云进行补全,构建出完整的堆垛三维模型,基于该完整模型计算堆垛药品总体积,并结合已知的单盒药品体积,即可准确推算出药盒的总数量。有效克服了传统图像识别方法在药品堆叠、遮挡场景下识别率低、误判率高的缺陷,大幅提升了计数的准确性与鲁棒性。同时,整个过程仅需单次数据采集即可完成,无需多视角扫描或人工干预,简化了操作流程,缩短了盘点时间。

多载具多机型兼容的垃圾集装箱自动化转运控制方法

NºPublicación:  CN121742261A 27/03/2026
Solicitante: 
重庆耐德新明和工业有限公司
CN_121742261_PA

Resumen de: CN121742261A

本发明公开了多载具多机型兼容的垃圾集装箱自动化转运控制方法,属于环卫技术领域,包括:获取载具参数、机型参数、集装箱参数,建立关联参数表,从而生成多维转运参数库;构建目标转运集,进行联动路径预规划,生成并执行目标转运指令,结合实际姿态,进行液压对接适配调整,包括姿态达标调整、液压预调对接;获取对接场景数据,并从所述多维转运参数库匹配场景验证基准,进行达标验证,生成对接有效信号;基于目标压缩机进行适配前置校验,结合所述对接有效信号进行压缩适配,同时在装载完成后,进行转运启动、卸料操作,并在卸料过程中进行异常联动处置,卸料完成后生成卸料完毕信号,并进行返程操作,实现垃圾转运的高效、精准自动化运行。

一种废钢企业集中管控大屏系统

NºPublicación:  CN121745840A 27/03/2026
Solicitante: 
资环链金再生资源有限公司
CN_121745840_PA

Resumen de: CN121745840A

本发明公开了一种废钢企业集中管控大屏系统,属于废钢信息化技术领域。本发明包括生产经营监控分析大屏模块、业务运营管控追踪大屏模块、反向开票监控单元、动态地图单元、场内运行监控单元及数据加密子模块。本发明通过双大屏协同架构实现核心经营指标动态计算、吨钢节约能源自动分析、采购销售多维度可视化;创新构建经营规模风险修正模型,动态计算销售额/纳税额/能源节约量;建立反向开票高亮预警机制与物流‑台账联动模型,支持15分钟级业务刷新;通过TLS加密传输与权限分级控制,确保经营数据安全性与决策实时性,显著提升废钢企业资源管控精度与供应链协同效率。

基于区块链的道路施工设备调度方法及系统

NºPublicación:  CN121745540A 27/03/2026
Solicitante: 
山东枣庄物环管理服务集团有限公司
CN_121745540_PA

Resumen de: CN121745540A

本申请涉及道路施工的技术领域,公开基于区块链的道路施工设备调度方法及系统,该道路施工设备调度方法包括以下步骤:采集每台施工设备的运行状态、地理位置及部件寿命数据,并加密上链,得到区块链数字镜像;采用自适应多目标分析算法分析设备利用率与施工进度的关联,通过模拟不同调度方案的效果以生成优化调度方案;将优化调度方案转化为智能合约,在满足施工预设条件时,自动触发并执行设备调度与运输任务派发;识别进度偏差或位置偏差;根据识别的进度偏差或位置偏差,生成新的优化调度方案。本申请在每次迭代中动态调整调度方案,确保设备的利用率和施工进度最大化,有效应对复杂的施工现场环境。

一种海铁联运港口作业区布局优化方法

NºPublicación:  CN121745355A 27/03/2026
Solicitante: 
广西沿海铁路股份有限公司中南大学广西交通职业技术学院中国铁路南宁局集团有限公司
CN_121745355_A

Resumen de: CN121745355A

本公开实施例中提供了一种海铁联运港口作业区布局优化方法,属于计算技术领域,具体包括:确定待规划区域和待设置的作业区;将待规划区域和该区域内待设置作业区简化为矩形,以待规划区域左下角为原点建立平面直角坐标系,将各作业区的中心点坐标作为布局控制点;根据货物流通数据分析待规划区域内各作业区之间的物流关系、非物流关系和综合相关程度,确定货物搬运距离;建立目标函数,引入归一化因子及权重系数,将多目标函数转化成单目标函数,建立作业区布局约束条件,据此构建海铁联运港口作业区布局规划模型;采用改进鲸鱼优化算法迭代求解海铁联运港口作业区布局规划模型。通过本公开的方案,提高了优化效率、精准度和适应性。

一种在智慧物流中基于MARL的实时任务调度优化方法

NºPublicación:  CN121745785A 27/03/2026
Solicitante: 
重庆大学
CN_121745785_PA

Resumen de: CN121745785A

本发明公开一种在智慧物流中基于MARL的实时任务调度优化方法,包括以下步骤:1)确定智慧物流场景下的系统结构,并构建蜂窝用户设备CUE、车载用户设备VUE的任务时延表达式;2)基于任务时延表达式,构建实时时延保障优化模型;3)将VUE建模为分布式智能体,并通过多智能体强化学习方法求解实时时延保障优化模型,得到实时物流任务调度方案。本发明通过近端策略优化(Proximal Policy Optimization,PPO)算法实现本地策略迭代,结合联邦学习框架进行全局参数聚合,有效突破传统集中式优化的信息孤岛瓶颈。

一种升降横移立库入库区域的选择系统

NºPublicación:  CN121738407A 27/03/2026
Solicitante: 
上海阪辉新能源科技有限公司
CN_121738407_PA

Resumen de: CN121738407A

本申请提供一种升降横移立库入库区域的选择系统,该选择系统可以根据用户的取车时间预约,主动将计划在某一集中时间段取车的用户引导至不同的独立运营区域。这使得取车需求在时间上被分散,避免了所有用户在相近时间点集中于同一区域取车,极大地缓解了高峰期拥堵,提升了整个立库的吞吐效率和设备运行效率,无需更多数量的独立运营出入库的停车区域来实现高峰避让,实现错峰调度,显著提升效率。在新建车库时,可以提前根据该系统的数据统计有效的减少独立运营出入库的停车区域数量,从而可以减少避让空间以增加停车车位。用户通过预约取车时间,可以获得系统推荐的最佳停车区域。

确定物流的中转用户的方法、装置、电子设备和存储介质

NºPublicación:  CN121745783A 27/03/2026
Solicitante: 
顺丰科技有限公司
CN_121745783_PA

Resumen de: CN121745783A

本公开提供一种确定物流的中转用户的方法、装置、电子设备和存储介质,涉及物流技术领域。上述方法包括:获取目标用户在物流过程中的中转相关特征,所述中转相关特征包括收件特征和寄件特征;调用中转用户判断模型处理所述中转相关信息,得到所述目标用户的中转判断信息,所述中转判断信息用于指示所述目标用户是否为中转用户。本公开通过中转用户判断模型,判断出物流的中转用户,提高了判断的准确度和稳定性。并且,参考用户在物流过程中的寄件行为的特征和收件行为的特征,可以全面、综合地判断用户是否为中转用户。

自动负载装卸装置及系统

NºPublicación:  CN121752499A 27/03/2026
Solicitante: 
德马泰克公司
CN_121752499_PA

Resumen de: WO2025046544A1

A material handling system (10, 110, 210) includes a storage apparatus (12, 112, 212) having a frame (20, 120, 220) and a plurality of storage shelves, with the frame (20, 120, 220) configured to support the plurality of storage shelves on a floor, and an automated load handling device (14, 114, 214) having a base (28) configured to be a supported on and for movement across the floor, and the automated load handling device (14, 114, 214) including a stabilizing member (18, 118, 218) configured to engage the storage apparatus (12, 112, 212) to stabilize the automated load handling device (14, 114, 214).

基于增强现实的船舶危险货物异常识别方法及系统

NºPublicación:  CN121744159A 27/03/2026
Solicitante: 
中兴普惠(北京)科技有限公司
CN_121744159_PA

Resumen de: CN121744159A

本申请提供了基于增强现实的船舶危险货物异常识别方法及系统,涉及增强现实技术领域,方法包括:构建多模态伴随异常空间;实时获取危险货物监测数据集,并进行显性异常识别;基于同一监测时区进行隐性异常派生优化;根据实时航行状态数据对显隐异常耦合图网进行航行扰动感知强化处理;对货物异常强化图网进行自适应动态风险评估,建立危险货物异常热力图,结合增强现实技术执行增强警示与处置导引。通过本申请解决了现有技术中由于危险货物异常识别方法主要依赖单证比对和显性规则,缺乏细粒度的风险评估,导致船舶危险货物异常识别不全面,进而影响船舶运输安全的技术问题,全面识别船舶危险货物异常,提高了船舶运输的安全性。

作業計画支援装置、作業計画支援方法、及び、作業計画支援プログラム

NºPublicación:  JP2026054195A 26/03/2026
Solicitante: 
パナソニックIPマネジメント株式会社
JP_2026054195_A

Resumen de: JP2026054195A

【課題】倉庫内の物品による保管コスト又は管理コストを考慮して、オペレーションの効率化を考慮しつつ、倉庫内における物品の保管場所移動の効率化を向上させる。【解決手段】物流倉庫における作業計画支援装置は、倉庫内の移動候補在庫それぞれについて、現在の在庫位置データと、移動先の位置データと、作業コストに関する評価指標と、保管コストに関する評価指標とを取得し、作業コストに関する評価指標を使って、現在位置と移動先それぞれの作業コストとそれらの差分である作業コスト評価値とを算出し、保管コストに関する評価指標を使って、現在位置と移動先それぞれの保管コストとそれらの差分である保管コスト評価値とを算出し、作業コスト評価値と前記保管コスト評価値とを使って、倉庫内の移動候補在庫から作業計画に含める移動作業候補を選択し、移動作業候補を表示部に出力する。【選択図】図1

SYSTEM AND METHOD FOR CONTROLLING A FLEET OF UNMANNED AERIAL VEHICLES BASED ON MULTI-STAGE OPTIMIZATION

NºPublicación:  AU2024342243A1 26/03/2026
Solicitante: 
MITSUBISHI ELECTRIC RESEARCH LABORATORIES INC
MITSUBISHI ELECTRIC US
MITSUBISHI ELECTRIC RESEARCH LABORATORIES, INC,
MITSUBISHI ELECTRIC US
AU_2024342243_PA

Resumen de: AU2024342243A1

The present disclosure provides a system and a method for controlling a fleet of Unmanned Aerial Vehicles (UAVs) to perform a mission. The method comprises receiving request data for the mission, obtaining assignments corresponding to one or more UAVs of the fleet of UAVs, and obtaining assignment data corresponding to each assignment. The method further comprises determining an assignment for the one or more UAVs by performing a first stage of a multi-stage optimization subject to a first set of constraints and updating the first list of assignments by adding the determined assignment to the first list of assignments. The method further comprises determining a second list of assignments for the one or more UAVs by performing a second stage of the multi-stage optimization subject to a second set of constraints and controlling the one or more UAVs based on the second list of assignments.

運搬車両管理方法

NºPublicación:  JP2026054210A 26/03/2026
Solicitante: 
DOWAエコシステム株式会社
JP_2026054210_A

Resumen de: JP2026054210A

【課題】対策地域内廃棄物または放射性物質によって汚染された産業廃棄物を運搬する運搬車両を効率的に管理する方法を提供する。【解決手段】対策地域内廃棄物または放射性物質によって汚染された産業廃棄物を運搬し位置情報測定システムを搭載する運搬車両の集中管理を行うセンターが、運搬車両とセンターとの通信回線を介して、運搬車両の位置、運搬経路、および、チェックポイント通過時間を含む運搬情報を受信し、運搬情報をセンターの管理モニターに随時表示する、運搬車両管理方法。【選択図】図1

情報処理システム、情報処理方法及びプログラム

NºPublicación:  JP2026053778A 26/03/2026
Solicitante: 
Freet株式会社
JP_2026053778_A

Resumen de: WO2024161705A1

Problem To provide an information processing system, for example, that can reduce the number of batteries managed as stock. Solution One aspect of the present invention provides an information processing system. The information processing system comprises at least one processor capable of executing a program so as to carry out each of the following steps. In an acquisition step, use information of each of first batteries, which are those of batteries that are mounted on a plurality of mobility devices and used, is acquired. The batteries further include at least one second battery that is managed as stock, and the second battery is charged in a charging center and is delivered to a yard after being charged. The mobility devices are configured such that the first battery can be replaced with the second battery in the yard. In a delivery control step, determination of a specific yard that is a yard to which the second battery is delivered from the charging center is controlled according to the use information.

Wearable device for analytics data collection

NºPublicación:  AU2025230708A1 26/03/2026
Solicitante: 
AUGMODO INC
Augmodo Inc
AU_2025230708_A1

Resumen de: AU2025230708A1

A wearable device has a body with one or more connectors for coupling the body to a lanyard. A camera assembly is mounted on the body. The camera assembly includes a pair of cameras configured to capture images of an environment surrounding the wearable device. The wearable device also includes a network adapter to transmit data derived from the captured images to a processing system. ep w e a r a b l e d e v i c e h a s a b o d y w i t h o n e o r m o r e c o n n e c t o r s f o r c o u p l i n g t h e b o d y t o a e p l a n y a r d c a m e r a a s s e m b l y i s m o u n t e d o n t h e b o d y h e c a m e r a a s s e m b l y i n c l u d e s a p a i r o f c a m e r a s c o n f i g u r e d t o c a p t u r e i m a g e s o f a n e n v i r o n m e n t s u r r o u n d i n g t h e w e a r a b l e d e v i c e h e w e a r a b l e d e v i c e a l s o i n c l u d e s a n e t w o r k a d a p t e r t o t r a n s m i t d a t a d e r i v e d f r o m t h e c a p t u r e d i m a g e s t o a p r o c e s s i n g s y s t e m Local Network Wearable Device Wearable Device Base Station Wearable Device Wide Area Network Server Charging Dock Server Wide Area Network Base Station Charging Dock Local Network Wearable Wearable Device Device 110A Wearable 110N Device ep e p e r v e r i d e r e a a s e t a t i o n e a r a b l e e a r a b l e e a r a b l e

SYSTEMS AND METHODS FOR PERFORMING VENDOR-AGANOSTIC CTO/QTO (CONFIGURE TO ORDER/QUOTE TO ORDER)

NºPublicación:  AU2025226868A1 26/03/2026
Solicitante: 
INGRAM MICRO INC
Ingram Micro Inc
AU_2025226868_A1

Resumen de: AU2025226868A1

- 1 - Computerized systems and methods are described for managing vendor-agnostic configure-to-order (CTO) and quote-to-order (QTO) processes. A Real-Time Data Mesh (RTDM) is provided for aggregating, standardizing, and normalizing real-time data from various sources. A Single Pane of Glass User Interface (SPoG UI) facilitates dynamic interaction and visibility into vendor performance. An Advanced Analytics and Machine- Learning (AAML) Module analyzes product compatibility, optimizes pricing strategies, and predicts market trends. A Vendor-Agnostic CTO/QTO Integration Module (VACIM) includes a Process Standardization Engine and a Vendor Data Transformation Gateway to ensure uniformity across vendors. Methodologies within the invention automate data processing, integrate transformation gateways for data consistency, and employ rule engines driven by machine learning for decision-making, thereby streamlining vendor processes, enhancing scalability, and optimizing pricing strategies in a scalable, adaptable framework. Computerized systems and methods are described for managing vendor-agnostic configure-to-order (CTO) and quote-to-order (QTO) processes. A Real-Time Data Mesh (RTDM) is provided for aggregating, standardizing, and normalizing real-time data from various sources. A Single Pane of Glass User Interface (SPoG UI) facilitates dynamic interaction and visibility into vendor performance. An Advanced Analytics and Machine- Learning (AAML) Module analyzes product compatibili

DEEP LEARNING SYSTEM FOR DYNAMIC PREDICTION OF ORDER PREPARATION TIMES

NºPublicación:  US20260087306A1 26/03/2026
Solicitante: 
TOAST INC [US]
Toast, Inc
US_20260087306_A1

Resumen de: US20260087306A1

A system and method are provided for dynamically updating a digital menu using deep-learning-based preparation-time prediction. A first deep learning neural network generates item-level embeddings for menu items based on historical preparation time records. Actual and estimated item-level preparation time vectors are generated using cosine-similarity weighting across subsets of the historical data. A second deep learning neural network is trained using the item-level vectors, ground-truth preparation times, and normalized non-categorical metadata processed through dense vector layers and concatenation. The trained network is executed to generate predicted item-level preparation times for menu items currently available for ordering. An updated digital menu including the predicted item-level preparation times is generated and transmitted to a client device, and the digital menu is automatically updated in real time on the client device in response to changes in the predicted preparation times.

ARTIFICIAL INTELLIGENCE (AI) AGENTS BASED DATA PROCESSING IN ENTERPRISE APPLICATIONS DEVELOPED BY CODELESS PLATFORM

NºPublicación:  US20260087447A1 26/03/2026
Solicitante: 
NB VENTURES INC DBA GEP [US]
NB Ventures, Inc. dba GEP
US_20260087447_A1

Resumen de: US20260087447A1

The present invention provides a system and method for multi AI agent driven data processing in enterprise application developed by codeless platform. The invention includes one or more AI agents configured for processing one or more input received on conversational assistant interface. The invention includes triggering contextual processing of received input by orchestration agent interacting with multi-AI agents for executing a task identified from the received input.

PROBABILISTIC EVENT TRIGGERING USING LOCATION DATA

NºPublicación:  US20260087445A1 26/03/2026
Solicitante: 
RADIUS NETWORKS INC [US]
Radius Networks, Inc
US_20260087445_A1

Resumen de: US20260087445A1

Techniques for determining an estimated time of arrival at a pickup location are discussed herein. For example, techniques may include receiving first location data from a user computing device approaching a pickup location, receiving data indicating when the device entered a virtual boundary associated with the pickup location, determining a location of the device when it was a particular time period away from entering the virtual boundary, associating the location with a discretized location of a map, applying a blurring function to generate a probability field indicating probability of entering the virtual boundary within the time period, using the probability field to determine probability of arriving at the pickup location within the particular time period, and triggering an action based on the probability meeting a threshold.

OPTIMIZING TRUCK LOADING OF PALLETS

NºPublicación:  US20260087446A1 26/03/2026
Solicitante: 
LINEAGE LOGISTICS LLC [US]
Lineage Logistics, LLC
US_20260087446_A1

Resumen de: US20260087446A1

This specification generally discloses technology for optimizing the loading of pallets on trucks and other sorts of vehicles. A pallet loading technique includes receiving pallet information for a shipment, the pallet information describing pallets to be included in the shipment, receiving vehicle constraint information for a vehicle, the vehicle constraint information describing rules for loading pallets on the vehicle, and determining candidate solutions for loading the pallets on the vehicle, each candidate solution (i) satisfying the rules for loading pallets on the vehicle, and (ii) defining, for each pallet to be included in the shipment, a respective position and orientation of the pallet on the vehicle. At least some of the candidate solutions are evaluated, one of the candidate solutions is selected, and the vehicle is loaded according to the selected candidate solution.

SERVER DEVICE, PROVISION METHOD, AND RECORDING MEDIUM

NºPublicación:  US20260087450A1 26/03/2026
Solicitante: 
RAKUTEN GROUP INC [JP]
Rakuten Group, Inc
US_20260087450_A1

Resumen de: US20260087450A1

In a server device, an intermittent appender intermittently appends to a report file for a store, at predetermined time intervals, log information of a record newly generated or updated in a database. Upon receiving a request for download of the report file from a store terminal, a supplementary appender appends to the report file the log information after the previous appending by the intermittent appender. Upon start of appending by the supplementary appender, a provider causes the intermittent appender to hold appending, and upon completion of the appending by the supplementary appender, provides the store terminal with the report file. Upon completion of providing the report file by the provider, a resumer initializes the report file, and then cancels holding of the intermittent appender to cause the intermittent appender to resume the appending.

USING A MACHINE-LEARNING MODEL TO GENERATE SUBSEQUENT ORDERS FOR PREVIOUSLY UNOBTAINED ITEMS

NºPublicación:  US20260087534A1 26/03/2026
Solicitante: 
MAPLEBEAR INC [US]
Maplebear Inc
US_20260087534_A1

Resumen de: US20260087534A1

An online system generates subsequent orders for users following failed attempts to purchase items. The online system receives a request to fulfill an order from a user device. The online system determines that an item from the order is unable to be fulfilled and generates a failed fulfillment signal for the item associated with the user. At a later time, the online system automatically generates a set of items for a subsequent order for the user, the set of items including at least one item substantially similar to the item that was unable to be fulfilled and predicted by a machine-learned model to be available. The online system transmits a notification to the user that the set of items is available for fulfillment.

SYSTEM AND METHODS FOR ASSET TRACKING, ASSET GROUPING, AND ERROR RECOVERY

NºPublicación:  US20260089469A1 26/03/2026
Solicitante: 
ZAINAR INC [US]
ZaiNar, Inc
US_20260089469_A1

Resumen de: US20260089469A1

A method includes, generating a schedule for an asset tag group, the schedule defining: a multicast trigger time for transmission of a multicast trigger to the asset tag group; and for each asset tag in the asset tag group, a transmit time succeeding receipt of the multicast trigger and unique to the asset tag, and a wake window intersecting the transmit time and the receipt of the multiact trigger. The method also includes, at the node network: broadcasting the multicast trigger; and, at an asset tag in the asset tag group, entering a wake mode; receiving the multicast trigger; transmitting a ranging signal; and entering the sleep mode. The method further includes, at the node network: receiving ranging signals from the asset tag group; and deriving locations of the asset tags in the asset tag group based on the ranging signals received by the node network.

SELF-POSITIONING OF ELECTRONIC SHELF LABEL (ESL) DEVICES THROUGH INTER-ESL LINKS

NºPublicación:  US20260086186A1 26/03/2026
Solicitante: 
QUALCOMM INCORPORATED [US]
QUALCOMM Incorporated
US_20260086186_A1

Resumen de: US20260086186A1

This disclosure provides systems, methods, and devices for Electronic Shelf Label (ESL) systems that support positioning of ESL devices. In a first aspect, a method includes: determining known positions of a first subset of ESL devices; receiving positioning measurements for each ESL device in a second subset of ESL devices; estimating a first position of each ESL device in the second subset based on the positioning measurements received for that ESL device and the known positions of the first subset; determining a positioning error associated with the first position of each ESL device in the second subset; and estimating a second position of each ESL device in the second subset based on the positioning error and additional positioning measurements received for that ESL device. Other aspects and features are also claimed and described.

Deep Causal Learning for Continuous Testing, Diagnosis, and Optimization

NºPublicación:  US20260086514A1 26/03/2026
Solicitante: 
3M INNOVATIVE PROPERTIES COMPANY [US]
3M INNOVATIVE PROPERTIES COMPANY
US_20260086514_A1

Resumen de: US20260086514A1

A system and methods for multivariant learning and optimization repeatedly generate self-organized experimental units (SOEUs) based on the one or more assumptions for a randomized multivariate comparison of process decisions to be provided to users of a system. The SOEUs are injected into the system to generate quantified inferences about the process decisions. Responsive to injecting the SOEUs, at least one confidence interval is identified within the quantified inferences, and the SOEUs are iteratively modified based on the at least one confidence interval to identify at least one causal interaction of the process decisions within the system. The causal interaction can be used for testing, diagnosis, and optimization of the system performance.

CONTROL DEVICE FOR CONTROLLING DISPLAY DEVICE PROVIDED AT SEAT

NºPublicación:  US20260087569A1 26/03/2026
Solicitante: 
FOOD & LIFE COMPANIES LTD [JP]
FOOD & LIFE COMPANIES LTD
US_20260087569_A1

Resumen de: US20260087569A1

A control device controls a display device provided at a seat, including a processor and memory storing instructions that cause the control device to display an order screen on the display device, which is used by a customer seated in the seat to order items. The order screen includes a moving display area that sequentially displays each of multiple images, including images of items available for ordering, moving in a predetermined direction along a lane. The instructions further cause the control device to accept settings of items subject to discount and the remaining quantity of such discounted items, and display images announcing the discounted items and images indicating the remaining quantity of discounted items as part of the multiple images in the moving display area of the order screen, when settings for the item subject to discount and the remaining quantity of the discounted item are received.

METHOD FOR DETERMINING A CONFIGURATION FOR PLACING AT LEAST ONE ITEM WITHIN A CONTAINER

NºPublicación:  WO2026061795A1 26/03/2026
Solicitante: 
EXOTEC PRODUCT FRANCE [FR]
EXOTEC PRODUCT FRANCE
WO_2026061795_A1

Resumen de: WO2026061795A1

The invention relates to a method for determining a configuration for placing at least one item (ART) within a container (CNT), the method being implemented by an electronic device during order preparation, at an order-preparation station, for items to be placed within the container (CNT), the method comprising at least one iteration of the following steps: - capturing (S01) a datum representative of an available volume (VD) within the container (CNT); - obtaining (S04) a list (L1) of items to be placed within the container (CNT); - determining (S05) a volume (V1) of the items to be placed according to the list (L1) of the items to be placed; - depending on the volume (V1) of the items and on the datum representative of an available volume (VD) within the container (CNT), calculating (S06) the configuration (confP) for placing the items of the list (L1) of the items.

A WIRELESS SERVER UNIT FOR USE IN A WAREHOUSE

NºPublicación:  WO2026062180A1 26/03/2026
Solicitante: 
TOYOTA MAT HANDLING MANUFACTURING SWEDEN AB [SE]
TOYOTA MATERIAL HANDLING MANUFACTURING SWEDEN AB
WO_2026062180_A1

Resumen de: WO2026062180A1

The disclosure relates to a wireless server unit (30) for use in a warehouse (1), wherein the wireless server unit is configured to; receive a vehicle signal (101) from a material handling vehicle (10), said vehicle signal indicating a current or a desired position of the vehicle relative to at least one aisle (20), process the vehicle signal (101) to generate an aisle status data (301) based on the vehicle signal (101), transmit the aisle status data (301) to the at least one material handling vehicle (10), wherein the aisle status data (301) indicate whether the material handling vehicle is granted or declined access to enter the aisle (20). The disclosure further relates to a material handling vehicle (10) for communicating with a wireless server unit (30) and a remote aisle access system for controlling access to material handling vehicles in a warehouse.

ARTIFICIAL INTELLIGENCE AGENT USING LANGUAGE MODEL AND REINFORCEMENT LEARNING MODEL TO GUIDE PICKING PROCESS

NºPublicación:  WO2026064129A1 26/03/2026
Solicitante: 
MAPLEBEAR INC [US]
MAPLEBEAR INC
WO_2026064129_A1

Resumen de: WO2026064129A1

An artificial intelligence (Al) agent is disclosed that assists an entity to complete a task. The entity is assigned to complete a task. The Al agent monitors events to detect an occurrence of an event associated with the task. A machine learning model of the Al agent is prompted to generate a set of candidate actions based in part on the detected event and data about the entity. A reinforcement learning model of the Al agent scores each candidate action from the set to tailor the candidate actions to the entity. A scored action is selected as a recommended response to the event and is communicated to a client device of the entity which causes the entity to perform the selected action.

DETECTING ERRORS BASED ON INTERACTIONS OF USERS OF AN ONLINE SYSTEM WITH PHYSICAL DEVICES

NºPublicación:  WO2026064025A1 26/03/2026
Solicitante: 
MAPLEBEAR INC [US]
MAPLEBEAR INC
WO_2026064025_A1

Resumen de: WO2026064025A1

An online system uses a trained machine-learning model to detect errors in catalog data based on interactions of users of the online system with physical carts. Upon receiving an interaction signal indicating an interaction by the user with a device in a location of a source or an action signal indicating an action in the location of the source, the online system applies the trained model to the interaction signal and/or the action signal to generate an error score for an item that indicates a likelihood of an error in relation to the item. Responsive to the error score being above a threshold score, the online system generates an error checking signal for confirming that the error is present. Responsive to the confirmation of the error, the online system generates a user interface that alerts about the error and requests an action to correct the error.

AUTOMATED DEVICE FOR CROSS-BORDER E-COMMERCE AND METHOD FOR CONTROLLING SAME

NºPublicación:  WO2026063564A1 26/03/2026
Solicitante: 
GOPHERSOFT INC [KR]
\uC8FC\uC2DD\uD68C\uC0AC \uACE0\uD37C\uC18C\uD504\uD2B8
WO_2026063564_A1

Resumen de: WO2026063564A1

An automated device for cross-border e-commerce and a method for controlling same are disclosed. The automated device according to one embodiment of the present invention comprises: a database that stores data; and a processor that controls the automated device, wherein the processor may, when a preset word representing a popular search term is identified while scraping a web page, extract keywords searched at a preset frequency or higher and store the keywords in the database, search a shopping platform using the extracted and stored keywords, store a shopping mall URL address searched on the shopping platform in the database, and store product data of the shopping mall in the database using the stored shopping mall URL address.

SYSTEM AND METHOD FOR SECURE PRODUCT TRACKING AND AUTHENTICATING USING GEO-TAGGING AND MACHINE-READABLE CODE INTEGRATION

NºPublicación:  WO2026062473A1 26/03/2026
Solicitante: 
KUNAPARAJU RAMBABU [IN]
KUNAPARAJU, Rambabu
WO_2026062473_A1

Resumen de: WO2026062473A1

A system for secure product tracking and authentication using geo-tagging and machine-readable code integration is disclosed. The system includes a first computing device comprises a geo-tag and code generation module that creates a unique geo-tag for each product, embedding authorized data such as licenses, permissions, and trademark registrations. This geo-tag is paired with a machine-readable code containing product-specific details and a time-stamp, which is then embedded onto the product's packaging by a connected packing machine. A second computing device allows users to track the product across the supply chain, displaying real-time information on the product's location, status, and authenticity. A server manages and analyzes this data in real-time, ensuring regulatory compliance and detecting potential tampering. A scanning device reads the machine-readable code at various checkpoints, updating the product's status and transmitting data to the server, where alerts and notifications are generated based on analyzed data.

System zur Erhöhung der Auslastung von Transportfahrzeugen

NºPublicación:  DE102025138278A1 26/03/2026
Solicitante: 
DUALE HOCHSCHULE BADEN WUERTTEMBERG KOERPERSCHAFT DES OEFFENTLICHEN RECHTS [DE]
Duale Hochschule Baden-W\u00FCrttemberg, K\u00F6rperschaft des \u00F6ffentlichen Rechts

Resumen de: DE102025138278A1

Ziel der Erfindung ist es, ein System zur Erhöhung der Auslastung von Transportfahrzeugen (10) zu schaffen. Dies wird erreicht über ein Verfahren (100) zur Bestimmung einer Zuladungskapazität, ein entsprechendes Computerprogrammprodukt und ein Transportfahrzeug (10), welches zur Durchführung des Verfahrens (100) eingerichtet ist. Im Rahmen des Verfahrens (100) zur Bestimmung der Zuladungskapazität wird eine effektive Zuladungskapazität bestimmt, welche sowohl die massenbezogene als auch die volumenbezogene Auslastung berücksichtigt. Die volumenbezogene Auslastung wird dabei mittels zumindest eines ToF-Sensors (16) ermittelt, während die massebezogene Auslastung auf der Basis von OBD-Daten und einer zuvor abgeleiteten Korrelation bestimmt wird. Bei einer Weiterbildung des Verfahrens (100) werden die gewonnen Daten zur Generierung von Vorhersagen bezüglich Routen und Zeiten mit freien Zuladungskapazitäten genutzt. Die Vorhersagen können wiederum zur vorteilhaften Gestaltung transportlogistischer Prozesse einer Vielzahl von Anwendern zugutekommen.

SYSTEM UND VERFAHREN ZUR AKTUALISIERUNG EINES REPARATURVORGANGS VON FAHRZEUGKOMPONENTEN

NºPublicación:  DE102024138162A1 26/03/2026
Solicitante: 
MERCEDES BENZ GROUP AG [DE]
Mercedes-Benz Group AG

Resumen de: DE102024138162A1

Die vorliegende Erfindung stellt ein System (100) und ein Verfahren (300) zur Aktualisierung eines oder mehrerer Reparaturvorgänge von einer oder mehreren Fahrzeugkomponenten bereit. Das System (100) extrahiert Stücklisten- (BOM-) Daten, die einer Vielzahl von Fahrzeugkomponenten zugeordnet sind, aus einer Stücklisten-Datenbank (110), die dem System (100) zugeordnet ist. Das System (100) ruft Untermodul-Informationen (130), die mit einer oder mehreren Reparaturdokument-Kennungen korreliert sind, aus einer dem System (100) zugeordneten Mapping-Datenbank (120) ab. Ferner vergleicht das System (100) die den Fahrzeugkomponenten zugeordneten BOM-Daten mit den Untermodul-Informationen (130), die mit den Reparaturbeleg-Identifikatoren (140) korreliert sind. Basierend auf dem Vergleich erzeugt das System (100) einen Bericht (150), der eine Vielzahl von Parametem enthält, die Aktualisierungen anzeigen, die für einen oder mehrere Reparaturvorgänge von einer oder mehreren Fahrzeugkomponenten aus der Vielzahl der Fahrzeugkomponenten erforderlich sind.

VERFAHREN UND VORRICHTUNG ZUR POSITIONSBASIERTEN BESTIMMUNG VON MÖGLICHKEITEN ZUR ÜBERGABE EINER SENDUNG

NºPublicación:  DE102024127863A1 26/03/2026
Solicitante: 
DEUTSCHE POST AG [DE]
Deutsche Post AG

Resumen de: DE102024127863A1

Offenbart wird u.a. ein computer-implementiertes Verfahren, umfassend: Bestimmen einer Position; Bestimmen, zumindest basierend auf der bestimmten Position, von Möglichkeiten zur Übergabe einer Sendung von einem Absender an eine Person oder Vorrichtung zum Weitertransport, wobei das Bestimmen von Möglichkeiten zur Übergabe der Sendung das Bestimmen von Daten betreffend eine Route zur Zustellung zumindest einer anderen Sendung an der bestimmten Position oder an einer Position, die in einem vordefinierten Verhältnis zu der bestimmten Position steht, umfasst, und wobei basierend auf den Daten Parameter einer ersten Möglichkeit zur Übergabe der Sendung bestimmt werden; Speichern zumindest einer Datenstruktur, welche die bestimmten Möglichkeiten umfassend die Parameter der ersten Möglichkeit repräsentiert; Bereitstellen der zumindest einen Datenstruktur zur Mitteilung der bestimmten Möglichkeiten zur Auswahl durch den Absender; wenn der Absender die erste Möglichkeit auswählt, Speichern der Auswahl und Bereitstellen der gespeicherten Auswahl so, dass die Person oder die Vorrichtung veranlasst wird, die Übergabe der Sendung gemäß den Parametern der ersten Möglichkeit durchzuführen. Des Weiteren wird u.a. eine Vorrichtung zur Durchführung und ein entsprechendes Computerprogramm offenbart.

SYSTEM AND METHOD FOR PRODUCT CARBON FOOTPRINT (PCF) ASSESSMENT

NºPublicación:  US20260087501A1 26/03/2026
Solicitante: 
HONEYWELL INT INC [US]
Honeywell International Inc
US_20260087501_A1

Resumen de: US20260087501A1

Various embodiments described herein relate to providing and/or employing a system and a method for tracking emissions in a facility. In this regard, inventory data associated with at least one of a product and a process is collected from a plurality of data sources. As a result, a Product Carbon Footprint (PCF) value associated with the at least one of the product and the process is determined based on the inventory data and corresponding emission factors. Based on at least one change in parameters of the inventory data, the inventory data is updated in real-time. As a result, an updated PCF value is determined in real-time based on the updated inventory data. Accordingly, the updated PCF value is displayed via a user interface of a display device.

SYSTEM AND METHOD FOR AUTOMATICALLY TRANSMITTING ALERT MESSAGES BASED ON TIME AND LOCATION MONITORING IN VEHICLE JOURNEY SUPERVISION

NºPublicación:  WO2026064569A1 26/03/2026
Solicitante: 
SAUDI ARABIAN OIL COMPANY [SA]
ARAMCO SERVICES COMPANY [US]
SAUDI ARABIAN OIL COMPANY,
ARAMCO SERVICES COMPANY
WO_2026064569_A1

Resumen de: WO2026064569A1

System and method adapted to: obtain a plurality of parameters for a planned journey of a vehicle associated with a computing device; determine, based on the plurality of parameters, whether the planned journey includes at least one special condition; when the planned journey includes at least one special condition, activating journey monitoring; the journey monitoring including: obtaining a location of the vehicle; comparing the obtained location to an expected location; when the obtained location exceeds a predetermined distance from the expected location, determining, in an iterative or recursive manner, whether an updated arrival time has been received from the computing device or the vehicle, when the updated arrival time has not been received after a predetermined time period, transmitting an alert to another computing device associated with an operator; and transmitting a request for emergency services when an iteration count for the determining is exceeded.

METHOD FOR CLOSED-LOOP AGRICULTURAL IRRIGATION

NºPublicación:  WO2026062059A1 26/03/2026
Solicitante: 
STOTZ IM UND EXP GMBH [DE]
STOTZ IM- UND EXPORT GMBH
WO_2026062059_A1

Resumen de: WO2026062059A1

A method for ecologically managing areas of agricultural land, comprising: Fertilizing and watering agricultural land according to requirements, and determining the locations and/or the amount of fertilization and/or watering and/or the growth stage of the cultivated crop plants, and transmitting the data.

バリューチェーンネットワークのためのコントロールタワーおよびエンタープライズマネジメントプラットフォーム

NºPublicación:  JP2026053654A 25/03/2026
Solicitante: 
ストロングフォースヴィーシーエヌポートフォリオ2019,エルエルシー
JP_2026053654_A

Resumen de: CN115699050A

A value chain system providing suggestions for designing a logistics system generally includes a machine learning system that trains a machine learning model that outputs logistics design suggestions based on a training data set, the training data sets respectively define one or more features of a corresponding logistics system and a result related to the corresponding logistics system: an artificial intelligence system for receiving a logistics system design suggestion request and determining a logistics system design suggestion based on one or more of the machine learning models and the request; and a digital twinning system that generates an environmental digital twinning of a logistics environment and one or more physical asset digital twinning of physical assets, the logistics environment including the logistics system design suggestion. The digital twinning system performs a simulation based on the logistics environment digital twinning and the one or more physical asset digital twinning.

搬送システム、制御装置及び制御方法

NºPublicación:  JP2026052989A 25/03/2026
Solicitante: 
株式会社日立製作所
JP_2026052989_A

Resumen de: JP2026052989A

【課題】作業効率及び/又は搬送効率を向上可能な、物品属性(例えばサイズ又は重量)が異なる複数の物品についての収容体への保管を行う。【解決手段】制御装置は、作業対象の物品について、当該物品の物品属性を、当該物品に対応の間口に入庫された当該物品の格納数、又は、当該物品の作業単位のサイズに基づき決定し、決定された物品属性と対応する収容体属性の収容体を選択し、当該収容体を複数の作業ステーションのうちの一の作業ステーションに搬送することの移動指示を、搬送装置に送信する。【選択図】図6

SYSTEMS, MEDIA, AND METHODS FOR AUTOMATED PLANOGRAM GENERATION

NºPublicación:  EP4713859A1 25/03/2026
Solicitante: 
3M INNOVATIVE PROPERTIES COMPANY [US]
3M Innovative Properties Company
CN_121127872_PA

Resumen de: CN121127872A

A method includes generating a plurality of candidate shelf maps based on a plurality of current design rules, and outputting a graphical representation of each of a subset including the plurality of candidate shelf maps. The method further includes receiving a classification input to place each candidate shelf map in the subset within one of the plurality of categories, and creating and outputting a candidate rule based on at least one of the categories. The method also includes receiving a rule input specifying a plurality of candidate design rules to be retained. The method further includes inputting and outputting an updated subset of the candidate shelf maps based on the received design rules, and outputting a graphical representation of the at least one final shelf map.

A WIRELESS SERVER UNIT FOR USE IN A WAREHOUSE

NºPublicación:  EP4714891A1 25/03/2026
Solicitante: 
TOYOTA MAT HANDLING MANUFACTURING SWEDEN AB [SE]
Toyota Material Handling Manufacturing Sweden AB
EP_4714891_PA

Resumen de: EP4714891A1

The disclosure relates to a wireless server unit (30) for use in a warehouse (1), wherein the wireless server unit is configured to; receive a vehicle signal (101) from a material handling vehicle (10), said vehicle signal indicating a current or a desired position of the vehicle relative to at least one aisle (20), process the vehicle signal (101) to generate an aisle status data (301) based on the vehicle signal (101), transmit the aisle status data (301) to the at least one material handling vehicle (10), wherein the aisle status data (301) indicate whether the material handling vehicle is granted or declined access to enter the aisle (20). The disclosure further relates to a material handling vehicle (10) for communicating with a wireless server unit (30) and a remote aisle access system for controlling access to material handling vehicles in a warehouse.

A METHOD AND SYSTEM FOR CLASSIFYING FOOD ITEMS

NºPublicación:  EP4715718A2 25/03/2026
Solicitante: 
WINNOW SOLUTIONS LTD [GB]
Winnow Solutions Limited
EP_4715718_PA

Resumen de: EP4715718A2

The present invention relates to a method for classifying food items. The method includes the steps of: capturing one or more sensor data relating to a food item event; and classifying the food item, at least in part, automatically using a model trained on sensor data. A system and software are also disclosed.

COMPUTER-IMPLEMENTED METHOD FOR DETERMINING AT LEAST ONE PHYSICAL STATE OF A FARM ANIMAL TO BE CHECKED

NºPublicación:  EP4712766A1 25/03/2026
Solicitante: 
SMAXTEC ANIMAL CARE GMBH [AT]
smaXtec animal care GmbH
CN_121568599_PA

Resumen de: WO2025072987A1

The invention relates to a computer-implemented method for determining at least one physical state of a farm animal (2) to be checked at a checking time (T1), comprising: determining temporally successive values of at least one physical parameter within the gastrointestinal tract (3) of the farm animal (2) to be checked by a probe device arranged therein (1); transferring the values to an evaluation unit (12); determining the likelihood of the existence of at least one physical state of the farm animal (2) to be checked by applying a trained artificial neural network to the transferred values; and generating a message about the existence of a physical state of the farm animal (2) to be checked at the checking time (T1) when the likelihood determined in step c) exceeds a predefined threshold value, wherein information about the performing of herd management measures and farm animals (2) affected by this is stored in the evaluation unit (12) and before the likelihood is determined, a check is carried out to determine whether the time (TH) of performing herd management measures falls within the checking period (TR) and the farm animal (2) to be checked is affected by the herd management measure, wherein if the time (TH) of performing the herd management measure falls in the checking period (TR) and the farm animal (2) to be checked is affected, the values determined in step a) which fall in a predefined time interval after the time (TH) of the herd management measure are removed

OPTIMIZED REFILL ROUTE PLANNING AND RESOURCE OFFSET CALCULATOR

NºPublicación:  EP4713855A1 25/03/2026
Solicitante: 
ECOTANK HOLDINGS INC [CA]
Ecotank Holdings Inc
WO_2024234094_PA

Resumen de: WO2024234094A1

Systems and methods relating to the determination of locations to be visited in a refill trip as well as the generation of an optimized route for that refill trip. A system gathers data from locations with refillable bulk dispensing containers that dispense product to customers. The fill levels and/or dispense rates for those refillable bulk dispensing containers are determined and fill levels are projected based on the data gathered. Each location's refillable bulk dispensing containers are assessed against criteria for inclusion in a refill list. If the refillable bulk dispensing container conforms to the criteria, then the location for that refillable bulk dispensing container is added to the refill list. Once the list is complete, a routing for the refill trip is determined based on the optimization of one or more parameters for the refill trip. The optimized routing can then be mapped and downloaded to a driver/user's device.

IDENTIFYING SECURITY SCREENING IMAGE CONTENTS

NºPublicación:  EP4713898A2 25/03/2026
Solicitante: 
MATEER CRAIG [US]
Mateer, Craig
KR_20260013454_PA

Resumen de: AU2024273429A1

Embodiments include systems and method to display a graphical user interface (GUI) to register a missing or mishandled luggage item of a passenger. The systems and methods access a memory device that has a security screening image (SSI) of the luggage item of the passenger via the GUI. The SSI being accessible by a unique identifier. The systems and method on a display device via the GUI the accessed SSI representative of the contents within a volume of space within the luggage item. The systems and method validate the unique identifier and at least one object of the contents to match the missing or mishandled luggage item with the passenger.

METHOD AND SYSTEM FOR CONTROLLING A SHIPMENT

NºPublicación:  EP4713857A1 25/03/2026
Solicitante: 
TELECOM ITALIA SPA [IT]
Telecom Italia SpA
WO_2024236436_PA

Resumen de: WO2024236436A1

Method for controlling a shipment, comprising: arranging a box (10), including: a main body (20), having an inner space (30); a visual detection tool (110) mounted to said main body (20) and configured to capture images portraying one or more objects contained in said inner space (30). The method further comprises performing at least one of a first control operation and a second control operation. The first control operation comprises: while the main body (20) is at least partly open and before shipping of the box (10) is started, capturing first images by said visual detection tool (110); making a first comparison between said first images and first reference data, the first reference data being representative of features expected for the one or more objects (X) contained in the inner space (30); generating a first notification signal (NS1) based on said first comparison. The second control operation comprises: during shipment of the box (10), capturing second images by said visual detection tool (110); making a second comparison between said second images and second reference data, the second reference data being representative of safe conditions of the one or more objects (X) contained in the inner space (30); generating a second notification signal based (NS2) on said second comparison. Also discloses is a system (1) for controlling a shipment.

SYSTEM AND METHOD FOR TRAINING AN ARTIFICIAL INTELLIGENCE MODEL WITH DE-PERSONALIZED SECURITY SCREENING IMAGE

NºPublicación:  EP4713899A1 25/03/2026
Solicitante: 
MATEER CRAIG [US]
Mateer, Craig
KR_20260013454_PA

Resumen de: AU2024273429A1

Embodiments include systems and method to display a graphical user interface (GUI) to register a missing or mishandled luggage item of a passenger. The systems and methods access a memory device that has a security screening image (SSI) of the luggage item of the passenger via the GUI. The SSI being accessible by a unique identifier. The systems and method on a display device via the GUI the accessed SSI representative of the contents within a volume of space within the luggage item. The systems and method validate the unique identifier and at least one object of the contents to match the missing or mishandled luggage item with the passenger.

DE-PERSONALIZED SECURITY SCREENING IMAGE TRANSFER

NºPublicación:  EP4713900A1 25/03/2026
Solicitante: 
MATEER CRAIG [US]
Mateer, Craig
KR_20260013454_PA

Resumen de: AU2024273429A1

Embodiments include systems and method to display a graphical user interface (GUI) to register a missing or mishandled luggage item of a passenger. The systems and methods access a memory device that has a security screening image (SSI) of the luggage item of the passenger via the GUI. The SSI being accessible by a unique identifier. The systems and method on a display device via the GUI the accessed SSI representative of the contents within a volume of space within the luggage item. The systems and method validate the unique identifier and at least one object of the contents to match the missing or mishandled luggage item with the passenger.

SYSTEM AND METHOD FOR PRODUCT CARBON FOOTPRINT (PCF) ASSESSMENT

NºPublicación:  EP4715702A1 25/03/2026
Solicitante: 
HONEYWELL INT INC [US]
Honeywell International Inc
EP_4715702_PA

Resumen de: EP4715702A1

Various embodiments described herein relate to providing and/or employing a system and a method for tracking emissions in a facility. In this regard, inventory data associated with at least one of a product and a process is collected from a plurality of data sources. As a result, a Product Carbon Footprint (PCF) value associated with the at least one of the product and the process is determined based on the inventory data and corresponding emission factors. Based on at least one change in parameters of the inventory data, the inventory data is updated in real-time. As a result, an updated PCF value is determined in real-time based on the updated inventory data. Accordingly, the updated PCF value is displayed via a user interface of a display device.

在庫管理システムおよび方法

NºPublicación:  JP2026053386A 25/03/2026
Solicitante: 
シンボティックリミテッドライアビリティカンパニー
JP_2026053386_A

Resumen de: US2025156808A1

An automated supply chain for end to end tracking of eaches, comprising: one or more distribution centers for receiving eaches and delivering the eaches to a market; one or more of pallets, cases and totes for transporting the eaches, the one or more of pallets, cases and totes comprising tracking systems; a plurality of robots at the one or more distribution centers for sorting the eaches for shipment between the one or more distribution centers and the market; a unified commerce engine (UCE) comprising at least one processor and at least one non-transitory memory including computer program code, the UCE configured to receive and store identification information from the tracking systems, the UCE tracking locations of the eaches within the pallets, cases and totes in each of the one or more distribution centers from receipt from the manufacturer to delivery to the market using the identification information.

組み込みシステム

NºPublicación:  JP2026509836A 25/03/2026
Solicitante: 
ストロングフォースティエクスポートフォリオ2018,エルエルシー
JP_2026509836_A

Resumen de: WO2024186954A2

A system may include a data classification module configured to classify data into classified data based on predefined sensitivity levels and regulatory compliance requirements. A system may include an access control module configured to manage permissions for different user roles within an enterprise, granting access to the classified data in accordance with the sensitivity levels and regulatory compliance requirements. A system may include a data formatting module configured to format classified data into formatted data with customized presentations for various enterprise departments. A system may include an integration module configured to interface with at least one of an Enterprise Resource Planning (ERP) system or a Customer Relationship Management (CRM) system to retrieve and classify the data. A system may include a user interface module configured to present the formatted data within the host application, providing a seamless user experience for accessing the embedded marketplace.

ONLINE SERVICE PROVIDER (OSP) DETERMINING A RESOURCE CODE BASED ON ONE OR MORE ATTRIBUTES OF AN ITEM ASSOCIATED WITH A RELATIONSHIP INSTANCE

NºPublicación:  EP4713798A1 25/03/2026
Solicitante: 
AVALARA INC [US]
Avalara, Inc
AU_2024271087_PA

Resumen de: AU2024271087A1

Systems and method electronically generate a resource code for an item based on attributes of the item and a proposed relationship instance associated with the item. Entities are often required to identify a resource code for items that move between jurisdictions. The systems and methods described herein allow entities to easily obtain resource codes for items moving between jurisdictions.

一种物流订单的多方联合认证方法、装置及介质

NºPublicación:  CN121723523A 24/03/2026
Solicitante: 
上海贩厘科技有限公司
CN_121723523_PA

Resumen de: CN121723523A

本发明涉及区块链技术,揭露了一种物流订单的多方联合认证方法、装置及介质,包括:将物流订单信息进行结构化提取并经由发货方、收货方、承运方进行数字签名,形成具有法律效力的合约,随后,将此合约编译为链上智能合约并部署至联盟区块链,在运输过程中,实时获取车辆的物联网数据,并由智能合约自动判断其是否符合预设规则,若不符合,立即向所有相关方告警,若符合,则生成一个附有证据链的状态更新任务,征得各个参与方数字签名确认后,驱动智能合约自动完成订单状态的最终更新。本发明可以提高物流订单多方联合认证的效率和可靠性。

汽车零配件的储备方法及电子设备

NºPublicación:  CN121724547A 24/03/2026
Solicitante: 
长城汽车股份有限公司
CN_121724547_PA

Resumen de: CN121724547A

本申请提供了汽车零配件的储备方法及电子设备,涉及数据处理技术领域,该方法包括:提取待测汽车零配件的多个储备特征;根据多个储备特征匹配待测汽车零配件在至少一个目标维度下的所属类别;将所属类别输入至预先构建的协同储备预测模型中,匹配与所属类别对应的多个储备预测子模型,以输出每个储备预测子模型预测的多个出库预测值,并根据多个出库预测值生成待测汽车零配件的储备数值。该方法能够结合汽车零配件的多种储备特征,捕捉配件的储备需求规律,进而结合协同储备预测模型中的多个储备预测子模型实现针对性的精准的储备量预测。

一种用于车辆回收的路径检索系统及方法

NºPublicación:  CN121724530A 24/03/2026
Solicitante: 
福州谷海数字科技有限公司
CN_121724530_PA

Resumen de: CN121724530A

本申请提供一种用于车辆回收的路径检索系统及方法,涉及智慧物流技术领域,通过构建回收网络拓扑并建立路径代价评估函数,对回收网络拓扑进行启发式路径检索,得到候选路径集合,对候选路径集合进行非合作博弈权重动态寻优,得到均衡权重配比;基于均衡权重配比对路径代价评估函数进行代价权重反馈更新并对候选路径集合进行路径演化,得到演化路径集合;对演化候选路径集合进行节点状态探查与代价更新决策,得到演化候选路径集合中各路径的处置代价;依据处置代价从演化路径集合中确定目标车辆的回收路径,本申请可实现基于多目标权重的博弈均衡寻优和不确定节点状态的探查决策,进而对车辆回收路径进行全局静态优化和局部动态适应。

一种油田专用仓储设备清点和设备管理装置

NºPublicación:  CN121724544A 24/03/2026
Solicitante: 
天津华云自控股份有限公司
CN_121724544_A

Resumen de: CN121724544A

本发明公开了一种油田专用仓储设备清点和设备管理装置,涉及电力电子技术领域。本发明采用ID进行设备清点和设备管理,可以通过设备上的编号,准确获得产品生产日期,生产单位,数量等信息,大大提高了工作的效率;同时支持远程控制操作,可以通过手机APP或者电脑主机对于各个场地的设备情况进行清点,省时省力;应用于油田现场货物状态清点,仓库货物清点,工作场地设备检查等场景,为用户提供快速、准确、便捷的货物清点与货物管理等功能;对电子标签进行清点数据,读写数据,读写功率比较大,可以满足大范围的设备读取操作,且支持多种操作形式,可以手持连接WIFI/蓝牙/电脑主机操作,同时可以满足无人值守远程操作的需求。

面向固井外掺料的全生产流程质量追溯方法及系统

NºPublicación:  CN121724495A 24/03/2026
Solicitante: 
宁夏亿昀特种工程材料有限公司
CN_121724495_PA

Resumen de: CN121724495A

本发明公开了面向固井外掺料的全生产流程质量追溯方法及系统,涉及数据追溯领域,包括:通过对原料实施定向预处理并建立数字工艺档案;在生产中实时监控关键工序并与溯源信息深度绑定;成品经特定工况检验合格后生成关联追溯矩阵;依托智能仓储与RFID实现精准库存管控;运用动态监测技术记录运输环境数据并纳入追溯链条;在现场通过配伍试验完成适配验证并闭合使用环节数据;最终建立全生命周期售后追溯机制,通过追溯码逆向定位问题源头,驱动持续改进。本发明的优点在于:构建从原料预处理到售后的全生命周期数字化闭环追溯体系,通过多码关联贯通各环节数据,实现质量可溯、问题可查、生产可优化,保障外掺料工况适配性与使用稳定性。

一种基于分布式账本的物品管理方法及系统

NºPublicación:  CN121724542A 24/03/2026
Solicitante: 
安徽融想供应链科技有限公司
CN_121724542_PA

Resumen de: CN121724542A

本申请提供一种基于分布式账本的物品管理方法及系统,该方法包括:对物品批次完成入库验收、质检、上架操作后,将操作记录、责任人信息、时间戳、物品属性打包形成封存区块,通过哈希算法生成唯一标识并同步到分布式账本各节点;检测物品批次封存区块存在错误封存、重复入库或需作废情况时,在封存区块上追加废弃操作记录、废弃原因、审批人信息和时间戳形成关联区块,关联区块与封存区块建立父子引用关系;将封存区块标记为无效状态,同时保留封存区块和所述关联区块在分布式账本中;在封存区块和所述关联区块中引入多维度标记,支持按多维度条件查询物品批次完整生命周期轨迹和废弃决策依据。本发明能够提升货物管理的透明度和效率。

一种基于智能终端的取件方法、智能终端与系统

NºPublicación:  CN121724532A 24/03/2026
Solicitante: 
浙江德施曼科技智能股份有限公司
CN_121724532_PA

Resumen de: CN121724532A

本申请提供一种基于智能终端的取件方法、智能终端与系统。所述取件方法包括:响应于身份验证请求,对取件对象进行身份验证;在身份验证通过后,检测到状态变更事件发生,判断所述目标对象是否与所述取件对象匹配;若匹配,则输出取件成功反馈信息;若不匹配,则输出取件错误提醒,直至新目标对象与所述取件对象匹配。本申请的技术方案在取件对象通过身份验证后,将状态变化的目标对象与当前取件对象进行匹配判定,以实现多目标对象并存场景下取件行为与目标对象的绑定,通过验证匹配准确性,对每次取件行为进行即时判定,能够在拿错时当场纠正,从而提升多目标对象并存场景下,取件的准确性与安全性,提升取件体验。

一种车辆运行工况预测方法、装置、设备、介质及产品

NºPublicación:  CN121724521A 24/03/2026
Solicitante: 
山推工程机械股份有限公司
CN_121724521_A

Resumen de: CN121724521A

本发明公开了一种车辆运行工况预测方法、装置、设备、介质及产品。该方法包括:获取车辆的传感器数据与空间定位数据,并基于所述传感器数据与所述空间定位数据构建时空序列张量;将所述时空序列张量输入目标预测模型,得到预测输出结果;所述预测输出结果包括:运行状态识别结果、运输任务起点以及运输任务终点;根据所述运行状态识别结果确定所述车辆的运行状态,以及根据所述运输任务起点和所述运输任务终点确定所述车辆的运输趟数。通过本发明的技术方案,能够解决矿山运输作业中矿卡运行状态识别困难、趟数统计误差大、GPS信号缺失导致数据不连续等问题,实现对矿卡运行状态的识别,并自动推算出每日运输趟数。

一种面向建筑行业仓库作业的多订单智能调度系统

NºPublicación:  CN121724326A 24/03/2026
Solicitante: 
广州宏穆信息科技有限公司
CN_121724326_A

Resumen de: CN121724326A

本发明涉及建筑行业智能仓库多订单调度管理系统,属于智能调度与资源优化领域。该系统包括工作组配置、出工时间配置、订单池、订单优先级评估与设置、初始化及动态调度算法、工时记录详情接口等模块,通过模块化分布式架构与API互通,结合XGBoost机器学习模型实现订单作业时间预测及优先级自动评估,并支持人工干预和必要约束设定。采用Apache Spark并行计算、回滚与增量优化机制及FastAPI微服务架构,通过Redis Streams实现事件驱动,支持订单动态变化和秒级调度响应,提高调配效率和资源利用率,适用于订单频发和高动态性的建筑仓库场景。

订单处理方法、计算机设备、可读存储介质和程序产品

NºPublicación:  CN121724540A 24/03/2026
Solicitante: 
顺丰科技有限公司
CN_121724540_PA

Resumen de: CN121724540A

本申请涉及一种订单处理方法、计算机设备、可读存储介质和程序产品,涉及物流技术领域。本申请能够准确高效地处理存在不同新鲜度需求的订单。方法:基于待处理订单的订单渠道对应的新鲜度库存配额确定目标新鲜度需求;新鲜度库存配额包括每种新鲜度层级对应的库存的配额;不同新鲜度层级表征不同效期范围;基于目标新鲜度需求和库存管理信息,得到目标新鲜度层级对应的库存的库存信息;目标新鲜度层级属于满足目标新鲜度需求的新鲜度层级;库存管理信息包括多种新鲜度层级中每种新鲜度层级对应的库存的库存信息;根据目标新鲜度层级对应的库存的库存信息,处理待处理订单;根据待处理订单的处理结果,更新订单渠道对应的新鲜度库存配额。

一种新能源设备管理方法、装置、存储介质及电子设备

NºPublicación:  CN121724415A 24/03/2026
Solicitante: 
恩益达电源科技(苏州)有限公司
CN_121724415_PA

Resumen de: CN121724415A

本申请涉及一种新能源设备管理方法、装置、存储介质及电子设备,涉及设备管理技术领域,其中方法包括:获取物流园区内至少一个AGV搬运机器人各维度的实际运行数据;若实际运行数据未处于相应的正常数据范围,则将对应的维度确定为异常维度,获取AGV搬运机器人当前的实际工作状态,并获取多个历史故障类型以及历史故障类型出现时运行数据存在异常的至少一个历史维度;根据各异常维度、各历史故障类型以及各历史维度,确定AGV搬运机器人是否存在故障发生风险;若确定AGV搬运机器人存在故障发生风险,则根据实际工作状态,确定警惕故障类型,并向运维人员的终端发送警惕故障类型相关的预警信息。本申请具有提升搬运机器人故障预警准确性的效果。

一种仓库机物料收发装置

NºPublicación:  CN121717066A 24/03/2026
Solicitante: 
美建建筑系统中国有限公司
CN_121717066_PA

Resumen de: CN121717066A

本发明涉及一种仓库机物料收发装置,包括:内设有第一称重装置的货柜、称重平台、人机交互装置、生物识别装置和控制器,控制器被配置为执行以下步骤:基于生物识别装置对操作人员进行验证;当操作人员验证通过后,基于人机交互装置接收存取物料的第一指令,其中第一指令至少包括物料类型和数量;基于物料类型在第一数据库中查询得到物料的单位质量;获取称重平台上的物料总质量作为第一质量,并与物料的单位质量相除得到物料的实际数量;将计算得到的实际数量与第一指令中数量比对,若比对通过,则数量验证通过。与现有技术相比,本发明具有便捷性高等优点。

一种物料线边库系统及其工作方法

NºPublicación:  CN121724557A 24/03/2026
Solicitante: 
中核建创新科技有限公司
CN_121724557_PA

Resumen de: CN121724557A

本发明提供的一种物料线边库系统及其工作方法,属于物料线边库技术领域,其包括:步骤1:针对物料线边库系统的基础数据采集;步骤2:在基础数据采集后,执行信息处理与展示;步骤3:在信息处理与展示后,执行人机交互;步骤4:执行人机交互后,接着执行决策。通过软硬件协同架构与闭环运作机制,实现预埋件生产过程中物料的精准管控、高效转运、全流程信息交互及质检与生产的深度协同,解决传统物料管理中库存不准、转运低效、信息断层等问题,提升生产效率与产品质量。

基于区块链与多方计算技术数据保护方法在农村电商平台

NºPublicación:  CN121724705A 24/03/2026
Solicitante: 
南昌职业大学
CN_121724705_PA

Resumen de: CN121724705A

本发明公开了基于区块链与多方计算技术数据保护方法在农村电商平台,涉及农村电商平台数据保护技术领域,用于解决平台数据隐私保护与交易安全问题;通过多方安全计算技术,确保平台数据在参与方之间进行安全计算;结合区块链技术,采用联盟链存储计算任务和交易历史记录,确保数据传输完整性。确定高价值与低价值用户,并对商户进行信誉评估。分析平台用户与商户的在线情况与交易转化率,优化农村地区的网络覆盖,提升平台在不稳定网络条件下的订单匹配和物流路径优化。最终,使用区块链存证技术确保交易信息的真实性,采用去中心化存储与数字签名保证交易透明、安全。该方案有效保障农村电商平台的数据安全性与运营效率。

一种堆垛定位控制方法、系统、装置及存储介质

NºPublicación:  CN121717167A 24/03/2026
Solicitante: 
上海月汉信息技术有限公司
CN_121717167_PA

Resumen de: CN121717167A

本发明公开了一种堆垛定位控制方法、系统、装置及存储介质,涉及仓储管理领域,该方法通过在每个装载箱上设置P2P‑SPS定位装置,结合磁簧开关触发与深度休眠机制,实现装载箱在发生堆垛接触时的智能激活。装置利用锥形导光结构的红外发射与接收模块完成上下邻接关系的精准检测,并将装载箱唯一标识及邻接信息无线传输至管理终端。管理终端基于拓扑图与遍历算法自动重建堆垛结构,生成各装载箱的垂直层级位置。该方法无需依赖外部基础设施,具有检测精度高、能耗低、抗干扰能力强和部署灵活等优点,适用于露天堆场和复杂仓储环境下的智能化堆垛管理,可显著提升装载箱定位的可靠性与运行效率。

基于缺失链路推断的冷链风险源优先筛查方法和系统

NºPublicación:  CN121724423A 24/03/2026
Solicitante: 
北京工商大学
CN_121724423_PA

Resumen de: CN121724423A

本发明公开了一种基于缺失链路推断的冷链风险源优先筛查方法和系统,涉及冷链风险源识别和筛查的技术领域。首先,基于冷链追溯数据构建初始流通网络,识别并推断缺失链路,依据三重原则补全网络;其次,对污染终端节点执行反向风险回溯,基于多路径风险累积原则计算各上游节点的初始风险值;然后,基于所述上游节点的风险值结果对所述缺失链路的传播权重进行动态修正,通过自适应机制消除因链路推断错误导致的偏高风险值,并重复执行所述风险回溯与所述链路修正过程,直至所述上游节点的风险值收敛,生成冷链风险源的优先筛查序列。

一种业务路径确定方法、装置、电子设备与存储介质

NºPublicación:  CN121724529A 24/03/2026
Solicitante: 
广东烟草河源市有限责任公司数字广东网络建设有限公司
CN_121724529_A

Resumen de: CN121724529A

本发明实施例公开一种业务路径确定方法、装置、电子设备与存储介质。方法包括:根据常用业务路径中不同属性类型的路径节点与当前业务对应的起终点从路径节点网络模型中确定候选业务路径;针对候选业务路径中的每个待定节点链路,根据待定节点链路的实时风险参数、待定节点链路中待定节点对应的属性类型与待定节点链路对应的路段属性信息确定动态运输信息;根据所有待定节点链路的动态运输信息与候选业务路径对应的车辆耗损参数确定候选业务路径对应的总运输风险评分,并根据总运输风险评分从候选业务路径中确定目标业务路径。本方法能为当前业务的业务路径选择运输业务人员常用且较为熟悉的路径及路径节点,能为用户提供更便捷、舒适的运输体验。

一种基于物联网的水陆运输调度管理方法及系统

NºPublicación:  CN121724525A 24/03/2026
Solicitante: 
安徽中凯信息产业股份有限公司
CN_121724525_PA

Resumen de: CN121724525A

本申请提供一种基于物联网的水陆运输调度管理方法及系统,涉及水陆运输调度管理领域,解决了现有技术调度决策依赖效率低下、资源调配效率低下、跨环节协同困难,以及应急响应能力不足的技术问题。该方法包括:构建水陆运输系统的数字孪生体,并将采集的实时状态数据同步至数字孪生体;基于数字孪生体的当前状态,对运力单元与港口设施的动态匹配关系进行评估,计算资源耦合度,并预测港口未来时段内的通过能力;基于环境监测数据以及历史数据,通过基于深度学习算法构建的环境突变预测模型预测环境突变事件以及对运输网络的影响强度;当资源耦合度低于预设阈值,或预测到环境突变事件时,触发由多个智能体参与的协同决策流程,得到调度方案。

仓储物流数据处理方法

NºPublicación:  CN121723152A 24/03/2026
Solicitante: 
福州为正科技有限公司
CN_121723152_PA

Resumen de: CN121723152A

本发明公开了仓储物流数据处理方法,涉及仓储物流技术领域,其技术方案要点包括以下步骤:实时采集仓储货物的退货逆向流转数据、库存积压预警数据和溯源反馈数据得到初测逆向物流数据;实时采集仓储货物在逆向流转过程的质检复核耗时和退款流程衔接时长得到预处理逆向处理数据;根据初测逆向物流数据得到初测逆向处理效率;根据仓储货物的退货原因合理性差值和逆向分拣适配度差值得到当前逆向约束特征数据,根据第一预测逆向误差值和第二预测逆向误差值对初测逆向处理效率得到实际逆向处理效率;根据实际逆向处理效率输出处理结果,效果是全面提升仓储逆向物流的管理水平与运营效率。

基于动态路径规划的头码车调度方法以及装置

NºPublicación:  CN121724302A 24/03/2026
Solicitante: 
通号城市轨道交通技术有限公司
CN_121724302_PA

Resumen de: CN121724302A

本发明提供一种基于动态路径规划的头码车调度方法以及装置,应用于轨道交通路径规划技术领域,上述方法包括:获取头码车任务对应的多个预配置路径,其中,每个预配置路径包括轨道段序列、道岔编号以及预计占用时间,每个预配置路径关联有权重参数;基于实时采集的轨道和道岔的设备状态数据,对多个预配置路径的权重参数进行更新,得到更新后的路径集合;从更新后的路径集合中选择权重最高的路径作为头码车的运行路径。本发明用以解决现有技术中头码车调度方法调度效率较低且局限性较大的缺陷,实现提高头码车调度效率,保障列车运行的连续性和稳定性。

一种基于物联网的智能仓储自动化库存管理系统及方法

NºPublicación:  CN121724546A 24/03/2026
Solicitante: 
广州市冠申实业有限公司
CN_121724546_PA

Resumen de: CN121724546A

本申请涉及仓储管理的技术领域,公开一种基于物联网的智能仓储自动化库存管理系统及方法,包括:数据采集模块;区块链存证模块;多目标优化与调度模块;库存优化决策模块;设备能效优化与环境控制模块。本申请利用多目标进化算法,能够在多个非支配解中进行选择,得到最优的解决方案,提升整体仓储操作的灵活性、可调性和效率,通过动态能耗关联规律优化环境控制设备的运行参数,不仅降低了能耗,还能确保环境安全阈值得到维持,从而实现节能与高效运行的双重目标。

一种基于微光储能的仓储货位标签显示系统

NºPublicación:  CN121724047A 24/03/2026
Solicitante: 
国网浙江省电力有限公司舟山供电公司
CN_121724047_PA

Resumen de: CN121724047A

本发明公开了一种基于微光储能的仓储货位标签显示系统,涉及仓储管理技术领域。传统电子标签依赖电网或电池供电、人员交互意图识别不准易致误唤醒及系统不稳定的问题。本发明包括硬件支撑单元、微光储能单元、标签显示单元、数据同步单元及系统控制单元;通过微光储能单元与低功耗系统控制架构,解决传统电子标签对电网或电池的依赖问题,通过数据同步单元实现显示信息与后台平台的双向一致性,通过融合人体空间位置、朝向、动作手势等多维感知信息,并引入时间一致性与可信度调制机制,有效抑制瞬时噪声和环境干扰,最终实现对目标货架标签的精准唤醒与亮度控制,从整体上提升仓储货位信息展示的可靠性、交互准确性和能源利用效率。

一种基于互联网的生鲜采购配送系统

NºPublicación:  CN121724541A 24/03/2026
Solicitante: 
北京中农食迅供应链管理有限公司
CN_121724541_PA

Resumen de: CN121724541A

本发明涉及物流信息处理技术领域,具体为一种基于互联网的生鲜采购配送系统;所述系统包括:订单采集需求分析单元接收用户通过互联网提交的采购订单数据,对采购订单数据进行解析处理,形成用户需求信息;供应资源匹配调度单元根据供应库存参数与采购周期参数,使用供应商动态优选机制计算供应资源匹配,生成供应调度结果;动态配送路径规划单元调用预设交通路径数据集合,使用配送路径规划模型计算配送路径构,生成包含配送节点序列及运输执行参数的配送任务数据;配送执行反馈监控单元用于实时监控采集配送过程中的物流位置参数与配送状态参数。本发明实现供应调度结果与配送路径的动态匹配与实时调整,保障生鲜采购与配送过程。

一种对库存精准管控的仓储管理系统

NºPublicación:  CN121724548A 24/03/2026
Solicitante: 
江苏易通数联科技有限公司
CN_121724548_PA

Resumen de: CN121724548A

本发明公开了一种对库存精准管控的仓储管理系统,该系统通过采集仓库物理结构、动态约束因子及货物信息,构建三维物理模型。同时基于存储坐标与出货口坐标规划最优运输路径,核算运输成本、当前保管成本;通过货物临期程度、出货频率等属性计算剩余价值;采用ARIMA‑LSTM融合模型预测未来保管成本;最终通过多维度参数计算出库优先度,结合预警阈值实现待报废货物自动标记。本发明解决了传统系统出库决策单一、路径成本计算粗放、中大型仓库适配性差的问题,实现库存管控精准化、出库流程高效化及运营成本最优化,提升库存周转率与仓储管理综合效益。

一种基于蚁群算法的物流调度管理方法

NºPublicación:  CN121724364A 24/03/2026
Solicitante: 
西安易云中拓软件科技有限公司
CN_121724364_PA

Resumen de: CN121724364A

本发明公开了一种基于蚁群算法的物流调度管理方法,包括如下步骤:构建容量时间窗约束的物流网络模型;蚁群搜索生成调度方案集并局部建模得到调度约束流形;将调度方案转化为车辆事件图并引入时间相位得事件相位编码;在调度约束流形上定义流形投影算子,将事件相位编码映射为可行编码并据差值设置水波参数;构建以事件相位编码为个体的水波模型,通过平移、扭转和事件子图重接产生候选编码并投影可行;依据运输成本和时间窗违约风险构建成本场、风险场并据梯度更新事件相位编码和蚁群参数;模型收敛时输出物流调度方案并生成车辆仓库指令。本发明在蚁群搜索基础上引入调度约束流形和水波优化,在容量约束下平衡成本与风险。

基于Excel的物流管理方法、装置、设备及介质

NºPublicación:  CN121724522A 24/03/2026
Solicitante: 
中建科工集团绿色科技有限公司中建科工集团有限公司
CN_121724522_PA

Resumen de: CN121724522A

本申请实施例公开了基于Excel的物流管理方法、装置、设备及介质。方法包括:构建Excel平面布局图;解析Excel平面布局图的图例区域,获取颜色与发运状态的对应关系信息;遍历Excel平面布局图的主体区域,识别主体区域中的所有箱体单元格组;提取每个箱体单元格组的当前属性信息;提取历史报告数据,历史报告数据包括历史提取的至少一个箱体单元格组的历史属性信息;对当前属性信息以及历史属性信息进行比对合并处理,得到合并后数据;根据计划日期对合并数据中的历史属性信息以及当前属性信息进行分组,生成发运计划报表。通过本方案可基于Excel平面布局图自动生成发运计划报表。

基于工艺品定制的销售管理系统

NºPublicación:  CN121724712A 24/03/2026
Solicitante: 
湖南应用技术学院
CN_121724712_PA

Resumen de: CN121724712A

本发明提供一种基于工艺品定制的销售管理系统,所述系统包括:订单管理模块:用于根据工艺品定制模块生成工艺品订单,并对生成的工艺品订单进行全生命周期管理;工艺品定制模块:用于为客户提供工艺品定制功能;生产管理模块:用于管理工艺品的生产过程;库存管理模块:用于实时监控工艺品生产原材料的库存数据;售后管理模块:用于处理客户对工艺品的反馈,并基于客户的反馈对系统信用进行分析评估;销售数据分析模块:用于收集销售数据,并对其进行分析,分析结果以图表、报表形式展现。实现客户根据需求对工艺品进行定制,降低工艺品的定制难度,同时实现订单的高效分配和跟踪,确保原材料的库存优化,提升系统运营效率。

X-RAY物料智能计数与条码匹配追溯方法及系统

NºPublicación:  CN121724549A 24/03/2026
Solicitante: 
深圳市粤宇科技有限公司
CN_121724549_PA

Resumen de: CN121724549A

本发明公开了一种X‑RAY物料智能计数与条码匹配追溯方法及系统,涉及X射线无损检测技术领域,包括启动X‑RAY检测设备,根据物料类型设定采集参数,通过多角度旋转采集组件获取覆盖物料全貌的原始图像;对原始图像进行降噪增强几何校正预处理,输出高质量图像;基于深度学习语义分割算法生成物料区域掩码图;提取物料特征分离重叠区域筛选杂质,统计实际数量;定位条码区域剔除干扰解码获取唯一标识;建立计数结果与条码的关联映射,存储数据至追溯数据库,生成追溯码支持全流程查询。本发明提升多类型物料计数精度与条码识别可靠性,适配多场景检测需求,保障追溯链条完整,提升检测效率与生产管理智能化水平。

跨境家居供应链的全链路数据追溯处理方法及系统

NºPublicación:  CN121724646A 24/03/2026
Solicitante: 
广州爆米网络技术有限公司
CN_121724646_PA

Resumen de: CN121724646A

本发明提供跨境家居供应链的全链路数据追溯处理方法及系统,涉及供应链管理技术领域,所述方法包括:步骤3,基于供应链过程数据划分多个相互关联的数据单元集,确定基准数据单元集,并获取两组不同的数据关联规则;对两组数据关联规则之间的相互作用关系进行分析,建立数据状态识别范围,在数据状态识别范围选取两个数据验证参考点;根据数据验证参考点在时间序列上的演进关系,通过计算两点间在时间与数据特征维度上的综合距离量化演进跨度,构建数据状态演变路径生成数据校准系数,形成包括时间戳与环节信息的数据链路轨迹。本发明实现跨境家居供应链全链路数据追溯,提升供应链各环节协同效率。

一种天然气资源储运的联合配置方法、装置、设备及存储介质

NºPublicación:  CN121724523A 24/03/2026
Solicitante: 
中国石油大学(北京)北京理工大学
CN_121724523_PA

Resumen de: CN121724523A

本申请公开了一种天然气资源储运的联合配置方法、装置、设备及存储介质,涉及天然气技术领域,包括:利用STL方法将天然气用户需求数据分解为季节、趋势和残差序列,利用VMD方法对残差序列进行二次分解得到若干用户需求子序列;利用目标NBEATS机器学习模型并基于预测步长对各序列进行预,对各待处理预测结果进行线性加和得到目标预测结果;将天然气供应链设定为无向网络图,并基于目标预测结果确定需求约束,利用图论算法与无向网络图构建目标联合配置模型;将企业经济效益最大化设定为目标函数,以利用模型与Gurobi求解器确定预设未来配置期内的天然气资源储运配置方案,以提高配置天然气资源储运的效率。

用于与实体共享可查找物品的位置的用户界面

NºPublicación:  CN121728419A 24/03/2026
Solicitante: 
苹果公司
CN_121728419_PA

Resumen de: CN121002523A

Some embodiments described in the present disclosure relate to one or more electronic devices that provide location information for sharing a remote locator object with an entity for a duration associated with a time-limited event. Some embodiments described in the present disclosure relate to one or more electronic devices that provide for reporting an item associated with a remote locator object to an entity as lost for assisting in retrieving the item. Some embodiments described in the present disclosure relate to one or more electronic devices that facilitate a process for providing an entity with access to one or more features associated with a remote locator object associated with an item for assisting in retrieving the item.

一种地下矿有轨运输设备的调度方法

NºPublicación:  CN121724304A 24/03/2026
Solicitante: 
武汉理工大学深圳市中金岭南有色金属股份有限公司凡口铅锌矿
CN_121724304_A

Resumen de: CN121724304A

本发明提供了一种地下矿有轨运输设备的调度方法,包括以下步骤:构建以最小化运输成本、最大化运输矿石品位和最小化运输时间为目标的调度优化模型,结合调度约束条件对所述调度优化模型进行求解,生成初始运输任务计划;基于运输路径与装卸点的资源互斥关系设置互斥资源锁机制,基于所述互斥资源锁机制对所述初始运输任务计划进行调度仿真,模拟电机车运输过程中的状态变化,动态计算各电机车的运输时间;基于所确定的运输时间优化初始运输任务计划,生成最终的调度方案。

一种基于柔性生产的跨车间调度与工艺规划集成方法

NºPublicación:  CN121724318A 24/03/2026
Solicitante: 
北京工业大学
CN_121724318_PA

Resumen de: CN121724318A

本发明公开了一种基于柔性生产的跨车间调度与工艺规划集成方法,属于智能制造领域,共包含工厂模块、锻压车间模块、跨车间运输模块和机加车间调度与工艺规划模块。工厂模块先依据所有订单的锻压、车辆运输和机加信息生成初始化调度种群,锻压车间编码信息输入锻压车间模块。锻压车间模块根据锻压车间编码信息以及订单的锻压信息进行锻压车间内的调度排产求解,跨车间运输模块根据所有订单在锻压阶段的完成顺序与时间序列进行整合分批,得到各批次的运输完成时间。将各批次的工件信息以及运输完成时间传递给机加车间调度与工艺规划模块,得到所有订单完成加工的时间与生产能耗,最终确定最优的车间分配方案以及跨车间运输方案。

货物管理方法、系统、电子设备和存储介质

NºPublicación:  CN121724535A 24/03/2026
Solicitante: 
杭州阿里巴巴海外互联网产业有限公司
CN_121724535_A

Resumen de: CN121724535A

本申请实施例提供了一种货物管理方法、一种货物管理系统、电子设备和存储介质和计算机程序产品。所述方法包括:获取待分拨货物的预设货物信息;基于所述预设货物信息对所述待分拨货物进行多模态的属性识别,获取所述待分拨货物的属性标签;基于所述属性标签和所述待分拨货物的运输目的地的法规知识,确定所述待分拨货物匹配的电子围栏;基于所述电子围栏对所述待分拨货物进行运输管理,并向预设客户端发送运输管理结果。本方法有效提高了货物属性识别的精准度,并且,相比于人工对多个仓库和库位中的货物执行清关风险评估,本方法有效提升了风险评估准确度和效率,从而提高了货物管理效率。

货物运输车辆的智能调度方法、装置、设备及介质

NºPublicación:  CN121724519A 24/03/2026
Solicitante: 
鄂尔多斯市卡尔动力科技有限公司
CN_121724519_PA

Resumen de: CN121724519A

本申请提供了一种货物运输车辆的智能调度方法、装置、电子设备及存储介质,应用于货运调度平台,依据本申请实施例,可以获取目标装载场站的地理位置并确定目标装载场站对应的货运覆盖范围;获取驾驶员持有的电子设备的定位数据位于货运覆盖范围内的候选货物运输车辆,将待运输货物的货运订单发出;接收至少一个驾驶员持有的电子设备发出的订单承接请求,并按照驾驶员的驾驶评定等级以及基于候选货物运输车辆的历史货运订单确定的当前货物运输状态,选取目标货物运输车辆;在目标货物运输车辆的驾驶员执行任务的过程中,持续采集目标货物运输车辆的运行数据,以用于等级评定。由此提高货运分配任务的精准性,提升货运调度管理的科学性和安全性。

一种功能性蛋白敷料产品的产品质量追溯管理方法

NºPublicación:  CN121724651A 24/03/2026
Solicitante: 
蓝佳堂生物医药(福建)有限公司
CN_121724651_PA

Resumen de: CN121724651A

本发明公开了一种功能性蛋白敷料产品的产品质量追溯管理方法,属于质量管理技术领域,具体包括:为各产品单元分配唯一追溯标识码并绑定生产信息;通过运输载具的传感网络采集环境时序数据,生成结构化运输特征集;基于标识码触发标准化检验,获取生物活性指标形成终点质量数据集;将两者关联构建运输‑质量映射记录并存储;基于历史记录筛选关键特征子集,并以此训练质量风险预测模型;实时提取其特征并输入模型,得到预测不合格概率值及预警等级;最终依据预警等级驱动下游系统预分配检验资源与存储策略。本发明实现了从被动追溯向主动预测的转变,能提前识别运输环节导致的质量风险并精准干预。

一种计划性运力中断货运航班扰动成本优化方法

NºPublicación:  CN121724526A 24/03/2026
Solicitante: 
飞友科技有限公司
CN_121724526_PA

Resumen de: CN121724526A

本发明公开了一种计划性运力中断货运航班扰动成本优化方法,涉及航空运输运行管理与智能调度技术领域,包括从跨部门系统中获取航班调整记录、货物运输状态更新和地面设备可用性数据,通过实时汇聚通道将这些信息同步至中央存储库,针对跨部门数据时间戳对比和数据字段完整性核查,生成初步整合的多维动态数据集;该计划性运力中断货运航班扰动成本优化方法,在计划性运力中断反复出现的业务场景下逐步降低整体扰动成本,提升航空货运运行的稳定性、可控性和跨部门协同效率。

一种基于民航信息的货运轨迹跟踪方法、装置及设备

NºPublicación:  CN121724527A 24/03/2026
Solicitante: 
中国民用航空局信息中心
CN_121724527_PA

Resumen de: CN121724527A

本发明涉及一种基于民航信息的货运轨迹跟踪方法、装置及设备,属于民航物流技术领域,该方法、装置及设备通过“信息整合‑轨迹构建‑状态细化‑业务联动”的技术逻辑,针对性解决“民航货物无连贯轨迹、航班信息不互通、状态反馈单一”的核心技术问题。

一种基于大数据的跨境电商智能补货处理方法

NºPublicación:  CN121724543A 24/03/2026
Solicitante: 
杭州积墨网络科技有限公司
CN_121724543_PA

Resumen de: CN121724543A

本发明涉及供应链管理与智能物流技术领域,公开一种基于大数据的跨境电商智能补货处理方法,包括:步骤一,实时采集平台仓储规则数据、船舶位置信息、港口拥堵信息、绕航概率信息与前置市场热度信号;步骤二,基于采集的平台仓储规则数据与前置市场热度信号,建立动态容量预测模型,计算生成目标仓库在未来预设时间窗内的虚拟可用配额;步骤三,基于采集的船舶位置信息。采用建立动态容量预测模型,结合平台仓储规则与前置市场热度计算未来虚拟可用配额的技术方案,达到预估且锁定未来可用仓储容量的技术效果,相较于现有技术中缺乏对平台仓储容量动态预估的技术方案,解决补货计划在货物到港时因容量不足而无法入仓的不足。

无着件的处理方法

NºPublicación:  CN121722932A 24/03/2026
Solicitante: 
顺丰科技有限公司
CN_121722932_PA

Resumen de: CN121722932A

本申请涉及一种无着件的处理方法,涉及物流技术领域。所述方法包括:获取无着件的无着件图文对;无着件图文对包括无着件的快件图像和托寄物信息;基于对无着件图文对和匹配库中的多个样本快件图文对的匹配处理,从多个样本快件图文对中,确定出无着件的目标匹配图文对;匹配库包括多个样本快件的样本快件图文对,每个样本快件的样本快件图文对包括样本快件的快件图像和托寄物信息;根据目标匹配图文对所属的目标样本快件的寄件信息,确定无着件对应的目标寄件记录,根据目标寄件记录,确定无着件的收件信息;根据无着件的收件信息,对无着件进行物流运输。采用本方法能够提高对无着件的物流运输准确率。

一种基于大数据分析的地铁售卖与客流预测系统

NºPublicación:  CN121724676A 24/03/2026
Solicitante: 
徐州新南湖科技有限公司
CN_121724676_PA

Resumen de: CN121724676A

本发明一种基于大数据分析的地铁售卖与客流预测系统公开了一种通过售卖终端模块实现车厢内商品的自动存储、支付和出货,通过客流采集模块获取乘客数量、流向和密度数据,通过数据传输与存储模块完成多源数据的安全传输与管理,通过大数据分析模块进行销售与客流的关联分析和需求预测,通过决策与运维模块生成补货计划和调度方案,从而实现地铁车厢内商品供应与客流需求的动态匹配和高效管理的基于大数据分析的地铁售卖与客流预测系统。其特征在于包括售卖终端模块、客流采集模块、数据传输与存储模块、大数据分析模块和决策与运维模块。

不动产市场趋势预测方法、系统、电子设备以及介质

NºPublicación:  CN121724674A 24/03/2026
Solicitante: 
北京千丁智能技术有限公司
CN_121724674_PA

Resumen de: CN121724674A

本申请涉及人工智能技术领域,公开了一种不动产市场趋势预测方法、系统、电子设备以及介质。该方法包括:获取影响不动产成交趋势的前期性数据,其中,前期性数据包括不动产挂牌价变异数据、带看成交转换数据、库存去化周期数据和指导调节数据;对不动产挂牌价变异数据、带看成交转换数据和库存去化周期数据进行指标提取,得到先导性指标数据;对指导调节数据进行文本语义分析,得到指导调节分析结果;基于先导性指标数据和指导调节分析结果进行预测,得到不动产成交趋势预测结果。该方法可以基于影响不动产成交趋势的前期性数据,有效量化出不动产的供需动态平衡信号、指导调节分析结果等,提高不动产成交趋势预测结果的精确性。

一种基于多源数据分析的油气储运漏油检测系统

NºPublicación:  CN121723053A 24/03/2026
Solicitante: 
南通大学
CN_121723053_PA

Resumen de: CN121723053A

本发明公开了一种基于多源数据分析的油气储运漏油检测系统,涉及漏油检测技术领域,构建原始传感数据集,对原始传感数据集进行预处理,生成对齐数据集,建立无泄漏状态下的管线数字孪生基线模型,生成基线特征集合,实施微扰动主动检测与动态顺应性反演,生成主动特征集合,预测潜在泄漏液体的扩散走向与地表出露时窗,生成地表佐证特征,融合多模态特征并输出泄漏事件与响应方案,本发明结合微扰动主动探测与动态反演实现高灵敏泄漏识别,通过多相渗流与遥感验证实现地下至地表的扩散闭环,利用自适应融合与动态阈值控制提升检测精度,并通过模型回灌实现自学习更新,具备实时性高、抗干扰强、可自适应优化的优点。

智能仓储物流实时货位优化方法及系统

NºPublicación:  CN121724553A 24/03/2026
Solicitante: 
成都锦城学院
CN_121724553_PA

Resumen de: CN121724553A

本申请公开了一种智能仓储物流实时货位优化方法及系统,涉及智能仓储物流技术领域,公开的智能仓储物流实时货位优化方法及系统,通过获取仓储实时数据、构建仓储动态状态图谱、生成初始分配方案、输入分布式决策网络进行并行协同评估优化、下发全局指令,解决了传统方法在高峰期的延迟和冲突问题,能够提高仓储作业效率和系统吞吐量。

一种电子信息产业链断供风险的动态评估方法及系统

NºPublicación:  CN121724552A 24/03/2026
Solicitante: 
南京邮电大学
CN_121724552_PA

Resumen de: CN121724552A

本发明的一种电子信息产业链断供风险的动态评估方法及系统,方法包括以下步骤:构建动态演化的电子信息产业链知识图谱,根据多源异构风险数据建立边权重动态演化模型,系统显著增强了对突发性、隐性断链风险的捕捉能力;从知识图谱中提取实时参数,计算求解包括节点内生脆弱性、链路拓扑依赖性以及外部环境冲击度在内的三维正交特征,建立多维断供风险动态评估指标体系,输出高风险信号,将高风险信号作为初始激扰注入知识图谱中,模拟由于库存耗尽引发的纵向短缺传导以及由于订单转移引发的横向过载挤兑,使得系统能够精准预估风险传导至终端的具体时延,为企业与管理部门提供了黄金窗口期内的科学决策依据。

路径规划方法、设备、程序产品及存储介质

NºPublicación:  CN121724528A 24/03/2026
Solicitante: 
拉扎斯网络科技(上海)有限公司
CN_121724528_PA

Resumen de: CN121724528A

本说明书提供一种路径规划方法、设备、程序产品及存储介质,该方法中深度学习模型包括编码器和解码器;编码器用于根据图结构生成包含各节点的节点嵌入的图嵌入;解码器用于在第t时间步,预测所述第t时间步的预测节点yt,以得到包含各时间步的预测节点的配送路径;方法包括:在解码器预测出所述预测节点yt之后,更新预测节点yt的预计承诺时间;基于所述预测节点yt的更新后的预计承诺时间,更新所述预测节点yt的节点嵌入以及更新图嵌入,以使所述解码器根据更新后的图嵌入和所述预测节点yt的更新后的节点嵌入,执行第t+1时间步的对预测节点yt+1的预测。

一种仓储调度仿真方法及系统

NºPublicación:  CN121723638A 24/03/2026
Solicitante: 
深圳市渐近线科技有限公司
CN_121723638_PA

Resumen de: CN121723638A

本发明涉及仓储物流调度技术领域,公开了一种仓储调度仿真方法及系统,所述方法包括:获取任务执行与叉车状态数据,构建反映任务分配与叉车运行依赖的因果关系图;对比任务数据与基准检测延误,并分析因果图定位偏差来源;根据分析结果调整叉车运行策略,生成包含实时备用注入时序的运行计划;执行计划并监控,锁定稳定调度参数;利用稳定配置及历史数据预测任务量,生成预防性策略并动态调整备用注入计划,形成自适应调整机制。本发明能够实现仓储调度中偏差来源的精准定位、策略的动态自适应调整以及整体效率的持续优化。

一种食材管理方法及系统

NºPublicación:  CN121724533A 24/03/2026
Solicitante: 
浙江绍兴苏泊尔生活电器有限公司
CN_121724533_PA

Resumen de: CN121724533A

本说明书提出一种食材管理方法及系统。食材管理方法包括:获取储物装置发送的储物装置内部存储的食材的状态信息,储物装置主动感知食材状态,智能体通过食材的状态信息准确掌握食材的新鲜度,避免食材因过期变质而浪费。同时,智能体根据食材的新鲜度判断需优先处理的食材,结合用户拥有的能够执行烹饪的至少一个烹饪设备的设备信息,生成适用于当前烹饪设备的菜谱,并主动推送推荐菜谱列表给执行目标推荐菜谱的目标烹饪设备,提醒用户合理利用即将过期的食材,从而使目标烹饪设备执行目标推荐菜谱相应的烹饪程序,实现有效的食材管理。

面单获取的方法、装置、设备和计算机可读介质

NºPublicación:  CN121724518A 24/03/2026
Solicitante: 
北京京东远升科技有限公司
CN_121724518_PA

Resumen de: CN121724518A

本公开的实施例提供一种面单获取的方法、装置、设备和计算机可读介质。在此描述的方法包括:响应于接收到包括至少一个包裹信息的订单,向面单提供端发送订单和第一面单获取请求,第一面单获取请求指示面单提供端在订单指示预定数目个包裹信息的情况下提供第一面单,第一面单包括预定数目个包裹信息;响应于在第一时间段内从面单提供端接收到第一面单,保存第一面单;以及响应于在第一时间段内从面单提供端未接收到第一面单,向面单提供端重新发送订单和第一面单获取请求。由此,可以在包裹被拣取打包之前快速获取面单,极大地减少了面单获取的时间延迟对仓库生产的影响。

面向多租户的自适应库存管理方法及装置

NºPublicación:  CN121724550A 24/03/2026
Solicitante: 
蒲惠智造科技股份有限公司
CN_121724550_PA

Resumen de: CN121724550A

本申请公开了一种面向多租户的自适应库存管理方法及装置,方法包括:接收来自目标租户的库存操作请求,该请求携带目标租户标识、操作类型;获取目标租户标识对应的目标管控模式,包括强制来源模式、弱来源模式、有来源与无来源并存模式,强制来源模式允许创建与上游订单关联的单据,弱来源模式允许创建多来源单据且自动调整流程节点,有来源与无来源并存模式同时允许有来源和无来源操作;根据目标管控模式,调整预设业务流程节点的操作权限,得到适配请求的目标业务流程节点;基于操作类型、目标业务流程节点,更新库存状态,得到库存操作执行结果。采用本申请,可适应不同规模和业务模式的中型企业需求,能适配多租户下两类单据的差异化需求。

一种面向物流领域的数据对象生成方法、设备及介质

NºPublicación:  CN121722839A 24/03/2026
Solicitante: 
临沂大学
CN_121722839_PA

Resumen de: CN121722839A

本申请实施例公开了一种面向物流领域的数据对象生成方法、设备及介质,属于数据处理技术领域,解决传统数据流通模式中数据要素难以实现安全、高效和可控的价值转化的问题。包括,将获取到的物流业务相关的原始数据接入数据沙箱,对原始数据进行脱敏与预处理,生成物流数据资源;基于预置数据质量指标与物流行业知识图谱,对物流数据资源进行加权处理,生成组态数据对象;通过预置大语言模型对物理数据资源进行解析,基于解析结果进行模型训练,将训练得到的物流数据处理模型及其相关元数据封装为模态数据对象;基于预置权限分配策略与数字对象接口协议,将组态数据对象与模态数据对象进行封装,并通过数字对象接口协议接口提供数据调用服务。

一种基于移动端的离线固定资产盘点方法

NºPublicación:  CN121724538A 24/03/2026
Solicitante: 
通号信息产业有限公司
CN_121724538_A

Resumen de: CN121724538A

本发明涉及一种基于移动端的离线固定资产盘点方法,包括:S1,基于移动端的客户端,从服务端提供的下载接口下载固定资产盘点的离线任务文件,所述离线任务文件中携带由待盘点的设备清单和历史设备信息;S2,移动端获取设备清单中指定设备的设备信息,并根据与历史设备信息的比较结果进行修改,将修改后的离线任务文件保存在移动端本地;S3,在移动端与服务端建立网络连接后,移动端将本地保存的离线任务文件上传至服务端。

一种支持断电归还的共享充电宝管理系统及方法

NºPublicación:  CN121727220A 24/03/2026
Solicitante: 
深圳博能迪科技有限公司
CN_121727220_PA

Resumen de: CN121727220A

本发明涉及共享设备技术领域,且公开了一种支持断电归还的共享充电宝管理系统及方法,包括机柜、多个充电仓、适配充电仓的充电宝及云端服务器;机柜集成主控模块、位于充电仓中的锁止机构、供电检测模块、通信模块、能源调度模块和非易失性存储模块;充电宝集成充电电池模块、双向供电接口、电量检测单元和本地存储单元;云端服务器配置反供电策略管理平台;通过供电检测模块实时监测市电状态并反馈至主控模块,当市电断电时,能源调度模块响应云端下发的调度指令,筛选符合预设条件的充电宝,控制其通过双向供电接口向机柜核心单元反向供电,主控模块启动断电归还模式,控制锁止机构锁定充电宝,完成充电宝锁定与双冗余数据存储。

一种基于数字孪生的锂矿石柔性仓储系统及其控制方法

NºPublicación:  CN121724545A 24/03/2026
Solicitante: 
广东臻毅科技有限公司
CN_121724545_PA

Resumen de: CN121724545A

本发明提供一种基于数字孪生的锂矿石柔性仓储系统及其控制方法,属于智能仓储技术领域。本发明通过构建基于计算机仿真的数字孪生模型,使得取料决策从基于粗略区域平均值的估算,转变为基于三维空间点位品位的精确计算,为下游工序提供了高度稳定的原料供给,保障了生产链的整体效益,通过将实时感知、物理仿真和优化算法进行协同集成,能提供孤立的表面或瞬时数据,将数据作为物理仿真模型的动态边界和输入,得到内部品位分布图,成为连接感知与控制的智能中枢,使得整个仓储系统从缓冲库转变为具有预测和主动规划能力的智能调度中心,通过在物理作业后利用真实数据对计算机仿真模型进行持续的闭环校正,保证了数字孪生体长期运行的保真度。

振动温度一体化变送器全生命周期数据溯源与管理方法

NºPublicación:  CN121724273A 24/03/2026
Solicitante: 
江阴信和电力仪表有限公司
CN_121724273_PA

Resumen de: CN121724273A

本发明属于工业智能监测与数据处理技术领域,具体涉及振动温度一体化变送器全生命周期数据溯源与管理方法,其方法包括:得到变送器固有属性和变送器基准参数;获得生命信用总额、预设时间内变送器工作时的实时振动值序列和实时温度值序列;计算工况修正因子、当前综合损耗率、平均损耗率及趋势因子、剩余使用寿命;基于剩余使用寿命大小,管理系统自动触发精准维护并进行事件记录;基于事件记录集合,生成分析报告和备件采购建议。本发明通过双重应力模型将物理损耗转化为可视化的数字账户余额,实现了从按时间折旧到按工况折旧的转变,提升了设备管理的科学性和安全性。

一种地质标本库房智能管理系统

NºPublicación:  CN121724539A 24/03/2026
Solicitante: 
湖北省地质科学研究院(湖北省富硒产业研究院)
CN_121724539_PA

Resumen de: CN121724539A

本发明公开了一种地质标本库房智能管理系统,涉及库房环境管理领域,包括:建档模块,用于采集地质标本的类别、编号、储存位置及适配环境参数信息,建立标本‑环境‑位置关联数据库;比对模块,用于实时采集库房内温湿度、气体成分、光照强度,与标本适配环境参数进行靶向比对;本发明通过采集地质标本相关信息与库房环境参数,建立多维度关联,通过靶向比对实时判断储存环境适宜性,分级预警及时推送关键信息,联动调控组件定向修正不适配参数,并以智能规划巡检路径并优先覆盖高风险标本,既保障标本储存环境稳定适配,减少风化损坏,延长保存寿命,又降低人工巡检与调控的盲目性,提升管理效率与精准度。

一种低碳混匀配料Block计划生成方法及系统

NºPublicación:  CN121724537A 24/03/2026
Solicitante: 
中冶南方工程技术有限公司
CN_121724537_PA

Resumen de: CN121724537A

本发明公开了一种低碳混匀配料Block计划生成方法及系统。在该方法在,获取包含物料库存、成分、价格及全生命周期碳排放因子的第一类型数据;获取包含混匀大堆计划总需求量及碳排放总量上限的第二类型数据;基于第二类型数据构建Block计划生成模型,Block计划生成模型以单个Block计划的成本与碳排放加权综合效益最大化为目标函数,并以物料种类数量范围、关键化学成分一致性、库存及碳排放总量为约束条件;将第一类型数据和第二类型数据输入至Block计划生成模型,采用粒子群优化算法对Block计划生成模型进行求解,生成物料总成本优化后的Block计划。本发明将全生命周期碳排放作为关键优化目标与约束条件,实现了混匀配料过程中经济效益与环境效益的协同优化。

一种基于ERP软件的电商平台店铺管理方法

NºPublicación:  CN121724706A 24/03/2026
Solicitante: 
浙江云枢创悦科技有限公司
CN_121724706_PA

Resumen de: CN121724706A

本发明属于电商平台店铺管理技术领域,具体公开提供的一种基于ERP软件的电商平台店铺管理方法,本发明通过流式预处理管道和预置的平台专属映射规则库,解决了新增平台或平台字段调整时需重构中间件逻辑导致的灵活性极差以及无法适配电商业务快速迭代需求的问题,避免了传统批处理的数据积压;通过将结构化订单记录发布至消息队列,业务单元之间无直接依赖,提升了方案稳定性,避免了因单一节点故障引发全链路崩溃;通过生产调度单元和采购管理单元分别实现了库存智能调度和智能补货,避免了库存积压或缺货,并且针对库存调度时分场景设定调度方案,降低了跨仓库调拨成本,解决了库存周转慢、运营成本高的问题。

电池调度方法、电子设备、电池调度系统及存储介质

NºPublicación:  CN121724363A 24/03/2026
Solicitante: 
浙江吉利控股集团有限公司吉利汽车研究院(宁波)有限公司
CN_121724363_PA

Resumen de: CN121724363A

本申请公开了一种电池调度方法、电子设备、系统、存储介质及计算机产品,涉及车辆技术领域,具体包括:确定热点区域换电站内待替换的第一标准化电池;确定第一目标无人驾驶车辆,其中,第一目标无人驾驶车辆包含用于替换第一标准化电池的第二标准化电池;控制第一目标无人驾驶车辆到达热点区域换电站,并在热点区域换电站内将第二标准化电池替换为第一标准化电池;控制第一目标无人驾驶车辆将第一标准化电池运输至非热点区域换电站。采用本申请能够平衡热点区域换电站和非热点区域换电站之间的负荷平衡,防止区域负荷失衡的情况出现,进而提升了电池的整体周转效率,防止电池资产闲置浪费。

一种基于物联网的码头运营全流程监控系统

NºPublicación:  CN121724551A 24/03/2026
Solicitante: 
上海鼎为物联技术有限公司
CN_121724551_PA

Resumen de: CN121724551A

本发明公开了一种基于物联网的码头运营全流程监控系统,涉及码头运营技术领域,包括构建由货物类型关联、多尺度箱位粒度生成、箱位粒度量化、虚拟箱位映射沙盘仿真、箱位粒度奖励及最优箱位粒度筛选组成的完整技术链路。通过分析历史翻箱作业中箱位占用变化与货物类型特征,自适应生成多种箱位划分粒度,并在虚拟沙盘中推演翻箱、箱位重构及出入场过程,结合强化学习评估不同粒度对作业连续性与稳定性的影响,最终筛选适用于当前运营阶段的最优箱位划分粒度,实现对堆场空间可操作性的动态监控与优化,解决了现有码头运营监控中难以准确刻画堆场空间可操作性、导致翻箱复杂度评估失真和作业策略稳定性不足的问题。

基于IoT的动态运输路径优化方法

NºPublicación:  CN121724531A 24/03/2026
Solicitante: 
杭州牛书科技有限公司
CN_121724531_PA

Resumen de: CN121724531A

本发明公开了基于IoT的动态运输路径优化方法,属于智能交通与运输调度技术领域,包括以下步骤:步骤1、多源数据采集;步骤2、数据预处理;步骤3、路径规划;步骤4、动态事件响应与重新规划;步骤5、多车协同调度优化。通过基于IoT的动态运输路径优化方法,能够覆盖运输路径优化的各个环节,不仅关注车辆实时位置与速度,还纳入瞬时油耗、实时载重与道路拥堵等多维数据,并深度融合遗传算法与强化学习实现路径动态调整,使路径规划更贴合实际运输场景,为运输调度提供更科学的决策依据。

一种物资铁路运输安全评估数据模型

NºPublicación:  CN121724430A 24/03/2026
Solicitante: 
中国人民解放军陆军工程大学
CN_121724430_A

Resumen de: CN121724430A

本发明公开了一种物资铁路运输安全评估软件内嵌的数据模型,具备数据管理、物资车辆运输计算、物资安全评估、结果输出、用户交互、安全防护和软件更新等功能模块。数据管理模块存储丰富的物资和车辆数据;运输计算模块能精确计算多物资种类多车型运输方案;安全评估模块可评估特情物资危险性并给出处置方法;结果输出模块提供直观结果展示;用户交互模块方便用户操作;安全防护模块保障数据安全。本发明旨在解决物资铁路运输中的安全评估和运输规划难题,提高运输效率与安全性。

一种基于GRASP与SAC的港口集装箱调度系统及方法

NºPublicación:  CN121724322A 24/03/2026
Solicitante: 
南通理工学院
CN_121724322_PA

Resumen de: CN121724322A

本发明公开了一种基于GRASP与SAC的港口集装箱调度系统及方法。该系统包括数据采集模块,用于从港口设备和环境传感器采集实时数据并进行预处理;优化算法模块,用于接收数据采集模块输出的数据并生成调度方案,或接收实时监控模块反馈的异常数据,自动启动GRASP算法和/或SAC算法,重新生成调度方案;任务调度模块,用于接收调度方案,并执行和调整具体的任务分配和设备调度操作;实时监控模块,用于监控设备状态和任务执行情况,并将异常信息传输至优化算法模块。本发明通过结合GRASP与SAC算法构建优化算法模块,各模块分工明确且紧密协作,使整个调度系统形成高效协同的整体,提高调度系统的整体效能和稳定性。

一种铁路货车的全生命周期数据处理方法及系统

NºPublicación:  CN121724520A 24/03/2026
Solicitante: 
中车长江运输设备集团有限公司
CN_121724520_PA

Resumen de: CN121724520A

本发明公开了一种铁路货车的全生命周期数据处理方法及系统,方法包括:构建铁路货车的全生命周期架构;参考碳足迹核算平台的导入规则,结合铁路货车的全生命周期架构,为每个阶段配置各自的数据采集范式和校验规则;参考各阶段的数据采集范式和校验规则对铁路货车的全生命周期数据进行采集优化,得到铁路货车的全生命周期数据管理文件;通过预先创建的数据接口将铁路货车的全生命周期数据管理文件导入碳足迹核算平台,以供碳足迹核算平台执行碳足迹核算。

一种城市低空物流片区级无人机起降场选址优化方法

NºPublicación:  CN121724524A 24/03/2026
Solicitante: 
东南大学
CN_121724524_PA

Resumen de: CN121724524A

本发明公开了一种城市低空物流片区级无人机起降场选址优化方法,首先采用基于栅格的低空出行需求分析方法得出低空出行需求,以需求覆盖率最大化和总体成本最小化为目标,建立了片区级无人机起降场选址优化模型;综合考虑数量限制、服务半径限制、容量限制及地理限制等多种约束条件,设计NSGA‑II算法进行求解,确定片区级起降场数量、起降场位置及无人机配置,并输出一系列最优解集。决策者根据需求偏好选择具体的选址方案,从而提高城市片区级起降场选址布局的覆盖效率与建设经济性。本发明解决了传统设施规划难以通过单目标或权重化处理,及各片区覆盖率不均导致整体服务水平低下的问题。

基于数字化协同平台的施工物资全周期管理方法及介质

NºPublicación:  CN121724536A 24/03/2026
Solicitante: 
浙江省建投交通基础建设集团有限公司
CN_121724536_PA

Resumen de: CN121724536A

本发明公开了基于数字化协同平台的施工物资全周期管理方法及介质,涉及物资管理技术领域。方法包括:根据需求与采购节点的业务耦合关系实施需求‑采购协同控制,生成动、静态模式对应的第一、二管理参数序列;根据仓储与消耗节点的流程约束关系实施仓储‑消耗联动控制,生成动、静态模式对应的第三、四管理参数序列;基于物资管理指标,在四个参数序列协同下对预设方案在线修正,生成优化物资管理方案。解决了传统施工物资管理中各环节协同不足,难以根据实际业务情况动态调整管理策略,导致物资调配不合理、浪费现象频发的技术问题,达到了提升物资管理的效率与精准度,以及物资管理参数与实际物资需求的适配度的技术效果。

一种酒店预定管理方法、装置、计算机设备及存储介质

NºPublicación:  CN121724181A 24/03/2026
Solicitante: 
深圳市道旅旅游科技有限公司
CN_121724181_PA

Resumen de: CN121724181A

本发明公开一种酒店预定管理方法、装置、计算机设备及存储介质,涉及酒店预定技术领域,包括:基于酒店供应商的库存预测数据和预设的价格策略,生成并发布酒店未来期权产品;响应于用户终端发送的对所述酒店未来期权产品的购买请求,接收用户支付的定金,并创建与所述用户唯一关联的期权持有记录,同时生成一个加密的数字化期权凭证;在所述期权到期日之前或约定的履约触发条件满足时,自动调用酒店库存管理接口,获取符合所述入住时间范围、适用地理区域及房型等级的可用酒店房源信息,并基于预设的多因素加权匹配算法,从所述可用酒店房源信息中为所述用户确定一目标酒店以完成履约。本发明解决了酒店收益不确定性与用户行程多变性之间的矛盾。

一种智慧库房管理方法及系统

NºPublicación:  CN121724534A 24/03/2026
Solicitante: 
华能新疆能源开发有限公司新能源东疆分公司
CN_121724534_PA

Resumen de: CN121724534A

本申请涉及库房管理技术领域,特别是涉及一种智慧库房管理方法及系统。包括:根据库房的存放设备需求设定多种备件类别;根据全部备件类别生成一级管理策略,根据一级管理策略设定多个监测子区域;获取各个监测子区域的反馈数据包,根据反馈数据包判断是否生成各个监测子区域的预警指令。基于各个备件集储存评价值,动态调整库房内的储存布局,从而对存在调度关联的备件进行集中储存,提高对于库房内各类别备件的出入库调度效率,提高新能源场站库房的管理效率。根据各个备件集的储存特征构建对应的监测子模型,实现对不同类别备件的储存监测,及时对库房内的潜在风险进行预警,保证新能源电厂备件的储存安全性。

具有非易失性弹性存储器的智能包装系统

NºPublicación:  CN121729743A 24/03/2026
Solicitante: 
西拉格国际有限公司
CN_121729743_PA

Resumen de: CN121444175A

Surgical systems and methods are provided. The surgical system includes: at least one manufacturer-sealed sterile surgical package, the at least one manufacturer-sealed sterile surgical package containing a surgical instrument; and an electronic management system in electronic communication with the at least one manufacturer-sealed sterile surgical package. The electronic management system is configured to: receive inventory data characterizing inventory information of the manufacturer-sealed sterile surgical package; updating a master management list with the received inventory data; determining a surgical inventory list for a surgical procedure with the surgical instrument based on the updated master management list, the surgical inventory list including surgical equipment required for the surgical procedure; the surgical inventory list is provided.

配送エリア管理方法及び配送エリア管理装置

NºPublicación:  JP2026052565A 24/03/2026
Solicitante: 
パナソニックオートモーティブシステムズ株式会社
JP_2026052565_A

Resumen de: JP2026052565A

【課題】自動生成された配送計画を適切に修正すること。【解決手段】本開示に係る配送エリア管理方法は、少なくとも一つの荷物を配送する少なくとも一つの配送先及び配送時間を示す配送要求情報と、少なくとも一つの荷物を少なくとも一つの配送先へ配送する配送者が使用する車両に関する情報を示す車両関連情報と、に基づき、少なくとも一つの荷物を車両で配送者が配送する、少なくとも一つの配送エリアを含む配送計画を示す配送計画情報を生成することと、生成された配送計画情報と、過去の配送計画に対する変更の履歴を示す変更履歴情報とに基づき、生成された配送計画に含まれる少なくとも一つの配送エリアのうちの見直し候補の配送エリアに関する情報を提示することと、受け付けた配送計画に対する変更指示に基づき、配送計画を修正することと、を含む。【選択図】図1

情報処理装置および情報処理方法

NºPublicación:  JP2026052594A 24/03/2026
Solicitante: 
アスクル株式会社
JP_2026052594_A

Resumen de: JP2026052594A

【課題】高次元の最適化問題を従来よりも適切に解くことができる技術を提供する【解決手段】n次元の変数で表される目的関数の最適解を求めるための情報処理装置であって、プロセッサと、プログラムを格納したメモリとを含み、前記プログラムは、前記プロセッサに、d次元(d<n)の低次元空間を前記n次元の空間に埋め込むためのランダム行列を生成するステップと、前記低次元空間の部分空間を探索空間として、ベイズ最適化手法を用いて前記目的関数の最適解を求めるステップと、を実行させるものであり、前記探索空間は、前記低次元空間における中空球または球の領域である。【選択図】図1

システム

NºPublicación:  JP2026050669A 23/03/2026
Solicitante: 
ソフトバンクグループ株式会社
JP_2026050669_A

Resumen de: JP2026050669A

【課題】実施形態に係るシステムは、余った食材や廃棄寸前の食材を効率的に必要とする団体に提供することを目的とする。【解決手段】実施形態に係るシステムは、入力部と、検索部と、取引部とを備える。入力部は、食材の情報を入力する。検索部は、入力部によって入力された情報を検索する。取引部は、検索部によって検索された食材の情報に基づいて取引を行う。【選択図】図1

システム

NºPublicación:  JP2026051090A 23/03/2026
Solicitante: 
ソフトバンクグループ株式会社
JP_2026051090_A

Resumen de: JP2026051090A

【課題】実施形態に係るシステムは、物流センターのセンター長の業務負荷を軽減し、物流センター全体の生産性を向上させることを目的とする。【解決手段】実施形態に係るシステムは、受付部と、アドバイス部と、モニタリング部と、分析部とを備える。受付部は、作業員からの質問を受け付ける。アドバイス部は、受付部によって受け付けられた質問に対してアドバイスを提供する。モニタリング部は、アドバイス部によって提供されたアドバイスに基づいて作業員の状況をモニタリングする。分析部は、モニタリング部によって収集されたデータを分析し、物流センター全体の改善点を提案する。【選択図】図1

GPSデータを活用した宅配再配達低減システム

NºPublicación:  JP2026051969A 23/03/2026
Solicitante: 
前野尚史
JP_2026051969_A

Resumen de: JP2026051969A

【課題】 受取人が不在であることによる再配達の増加は配達員にとって時間と労力の浪費であり、物流業界全体に負担を与える要因となっている。このため、配達人の効率を上げ、再配達の発生を抑えるための技術が求められている。【解決手段】 主に受取人が自らのスマホでECサイトで買い物をする場合、注文確定時に受取人のスマホのGPSデータの取得許可を求め、同意された場合それをAPIを通じて配送業者のシステムへ伝達し、配送業者は配達員が携行する専用端末でそれを共有し、配送員は配達先近くに車両を停めた際車両から荷物を取り出す前にそれと紐付けられた受取人のGPSデータを利用してその所在を確認し、不在の場合配達中止が可能となるため、配達員の負担軽減と時間短縮が実現できる。さらに、不在通知の自動化により、ユーザーとの調整がスムーズに行われ、再配達の削減が期待できる。【選択図】図1

システム

NºPublicación:  JP2026051204A 23/03/2026
Solicitante: 
ソフトバンクグループ株式会社
JP_2026051204_A

Resumen de: JP2026051204A

【課題】実施形態に係るシステムは、病院の予約や食事の配送サービスを効率的に管理することを目的とする。【解決手段】実施形態に係るシステムは、受付部と、確認・キャンセル部と、選択部と、計算部と、追跡部とを備える。受付部は、予約の受付を行う。確認・キャンセル部は、受付部によって受け付けられた予約情報に基づいて予約の確認・キャンセルを行う。選択部は、診療科目または医師の選択を行う。受付部は、注文の受付を行う。計算部は、受付部によって受け付けられた注文情報に基づいて配送ルートを計算する。追跡部は、計算部によって計算された配送ルートに基づいて配送状況を追跡する。【選択図】図1

システム

NºPublicación:  JP2026051077A 23/03/2026
Solicitante: 
ソフトバンクグループ株式会社
JP_2026051077_A

Resumen de: JP2026051077A

【課題】実施形態に係るシステムは、買主の希望に基づいて適切な商品やサービスを提供することを目的とする。【解決手段】実施形態に係るシステムは、受付部と、生成部と、提供部とを備える。受付部は、買主の希望を受け付ける。生成部は、受付部によって受け付けられた情報に基づいて適切なプランを生成する。提供部は、生成部によって生成されたプランに基づいてサービスや商品を提供する。【選択図】図1

用于从配送据点向作业现场配送电池的方法、系统以及程序

NºPublicación:  CN121713203A 20/03/2026
Solicitante: 
株式会社小松制作所
CN_121713203_PA

Resumen de: WO2025062674A1

A method according to the present disclosure is executed by a computer for delivering a battery from a plurality of delivery bases to one or more work sites where a work machine is installed. A method according to the present disclosure comprises: acquiring machine data indicating the position of a work machine at each of one or more work sites; acquiring required power data indicating an amount of required power at each of the one or more work sites; acquiring battery data indicating the position of batteries stocked in each of the plurality of delivery bases; and determining, on the basis of the machine data, the required power data, and the battery data, allocation of the delivery bases for supplying a battery to each of the one or more work sites.

信息处理方法

NºPublicación:  CN121707159A 20/03/2026
Solicitante: 
拉扎斯网络科技(上海)有限公司
CN_121707159_PA

Resumen de: CN121707159A

本申请公开了一种信息处理方法,该方法包括:接收客户端发送的用户地址;确定存在与用户地址之间的距离符合预设条件的第一目标空投点;基于第一目标空投点的信息,获取服务页面的页面信息,服务页面的页面信息至少包括第一目标空投点的信息;发送服务页面的页面信息给客户端,以使客户端显示服务页面。本申请可以自动向用户推送距离用户很近的空投点,不仅方便用户取货,而且能减少用户人为选择空投点带来的弊端。相比依赖用户选择空投点的方案,本申请用户进入无人机会场后,服务端可以不向客户端发送供用户选择空投点的页面,节省带宽,缩短商品下单过程的页面跳转链路,提高下单效率。

一种融合数字孪生的云边协同物流车辆调度系统及方法

NºPublicación:  CN121707253A 20/03/2026
Solicitante: 
智御智联(无锡)科技有限公司
CN_121707253_PA

Resumen de: CN121707253A

本申请公开了一种融合数字孪生的云边协同物流车辆调度系统及方法,涉及车辆调度技术领域,包括数字孪生模块、云平台模块以及边缘节点模块,各模块间通过蜂窝网络与边缘计算设备进行数据交互;所述数字孪生模块包括场景动态建模单元、不确定性模拟单元以及实时映射单元;所述云平台模块包括全局优化单元以及数据处理单元;所述边缘节点模块包括实时数据采集单元、数据预处理单元、指令执行单元以及本地决策单元;本申请的有益效果:数字孪生与云边协同融合,实现风险预判与实时响应的双重保障。

融合大数据与智能分拣的服装电商跨境贸易逆向物流闭环管理方法及系统

NºPublicación:  CN121707444A 20/03/2026
Solicitante: 
肇庆学院
CN_121707444_PA

Resumen de: CN121707444A

本发明公开了一种融合大数据与智能分拣的服装电商跨境贸易逆向物流闭环管理方法及系统,包括:基于机器学习的退货风险动态预测步骤,在订单生成阶段计算商品退货概率值并触发差异化的库存预置指令;基于多模态感知信息的退货商品智能识别与分拣步骤,利用RFID与机器视觉技术自动完成退货商品的SKU识别与状态质检,并执行物理分拣;基于结构化退货数据的深度分析与闭环反馈步骤,对分拣数据进行分析以识别高退货率根本原因,并自动生成修正控制指令反馈至正向供应链系统;以及基于实时供需数据匹配的退货商品智能再分销步骤。本发明通过构建预测、执行到反馈和优化的技术闭环,解决了现有技术处理效率低、数据价值无法利用的问题,实现逆向物流的智能化管理。

一种基于需求预测的医疗物资多级库房智能管理系统及方法

NºPublicación:  CN121709171A 20/03/2026
Solicitante: 
南京市口腔医院
CN_121709171_PA

Resumen de: CN121709171A

本发明提供了一种基于需求预测的医疗物资多级库房智能管理系统及方法,包括:智能识别模块,用于通过实现医疗物资的快速出入库操作;缺货预领模块,用于在库存不足时接收并记录请领申请;需求预测模块,用于采用多粒度时间分解的预测模型;动态优先级调整模块,用于构建评估体系;多目标优化分发模块,用于进行物资分配;多级库房协同调度模块,用于实时监测多级库房的库存差异;实时监控预警模块,用于对库房进行实时监控;智能分析优化模块,用于生成可视化报表。本发明全面提升了医疗物资管理的智能化水平和运营效率。系统能够在保障紧急医疗需求快速响应的同时,兼顾群体公平性和资源利用效率,显著降低了缺货风险和运营成本。

控制装置

NºPublicación:  CN121713207A 20/03/2026
Solicitante: 
食与生活伙伴有限公司
CN_121713207_PA

Resumen de: WO2026018423A1

PROBLEM Improving convenience for a customer is made possible. SOLUTION Provided is a store control device for controlling a store display device provided on a seat, wherein the store display device includes display means for displaying an order screen that a customer seated on the seat uses when ordering a product. The order screen includes a moving display region in which each of a plurality of images including images of products to be ordered are displayed in order so as to move in a predetermined direction along a lane. The store control device further includes a designated receiving means for receiving settings of a discounted product among the products to be ordered and the remaining quantity of the discounted product. When the designated receiving means receives the settings of the discounted product and the remaining quantity of a specific product, the display means displays, as a portion of the plurality of images in the moving display region on the order screen, an image promoting the discounted product and an image showing the remaining quantity of the discounted product.

基于区块链溯源的危险废物全链条智能管控系统及其方法

NºPublicación:  CN121707386A 20/03/2026
Solicitante: 
西南石油大学
CN_121707386_PA

Resumen de: CN121707386A

本发明公开了基于区块链溯源的危险废物全链条智能管控系统及其方法,该系统包括区块链溯源模块、AI识别分类模块、智能匹配推荐模块、时序预测模块和路径优化模块,通过联盟链架构实现多方协同验证,通过改进的ResNet网络实现高精度识别,通过知识图谱实现智能匹配,通过Transformer‑LSTM混合架构实现准确预测,通过深度Q网络实现动态路径优化,五个模块深度耦合形成闭环协同系统,实现危废全链条可信溯源、智能管控和安全运输,显著提升危废管理的智能化水平和安全性。

群厂备件采购与调配决策方法、装置、存储介质及设备

NºPublicación:  CN121707454A 20/03/2026
Solicitante: 
中广核核电运营有限公司
CN_121707454_PA

Resumen de: CN121707454A

本申请属于核电技术领域,尤其涉及一种群厂备件采购与调配决策方法、装置、计算机可读存储介质及电子设备。所述方法包括:获取群厂备件采购与调配决策的输入数据;基于所述输入数据,根据不同备件的物料需求计划类型及批量类型组合,分别确定各个电厂的采购数量和共享数量;通过虚拟电厂智能体基于各个电厂的采购数量和共享数量进行统筹决策,得到群厂总体采购数量;通过各个实体电厂智能体分别基于所述群厂总体采购数量进行局部决策,得到各个实体电厂的决策方案。通过本申请,先经过虚拟电厂智能体进行统筹决策,在此基础上,再经过各个实体电厂智能体进行精细化的局部决策优化,有效提高了所得结果的精准性。

基于多尺度因果感知的跨境电商自适应补货方法及系统

NºPublicación:  CN121707686A 20/03/2026
Solicitante: 
福建东西乐活科技股份有限公司
CN_121707686_PA

Resumen de: CN121707686A

本发明公开了一种基于多尺度因果感知的跨境电商自适应补货方法及系统,通过接收多源异构实时数据流,进行时间对齐与特征融合生成多维时序特征向量,并行构建并动态更新长期、中期与短期因果图;基于短期因果图进行潜在网络风潮的早期检测与生命周期预测;对短期因果图的边进行可信度评估与加权调整;基于长期因果图与中期因果图对风潮预测结果进行趋势背景校准与运营干扰过滤,生成校准后的风潮预测结果并据此选择补货决策策略;通过强化学习决策模块生成补货动作指令,执行指令并采集反馈数据,利用反馈数据对因果图与决策模块进行在线更新与优化。本发明通过多尺度因果图的协同感知与动态校准,提升了补货决策对突发市场需求的适应性与鲁棒性。

少样本多模态物资识别系统与方法

NºPublicación:  CN121708550A 20/03/2026
Solicitante: 
国网山东省电力公司宁津县供电公司国网山东省电力公司物资公司国网山东省电力公司德州供电公司
CN_121708550_PA

Resumen de: CN121708550A

本发明涉及数据处理技术领域,特别涉及一种少样本多模态物资识别系统与方法。系统由前端装置与后台管理平台构成,前端装置包括摄像头与压力传感阵列。方法包括:同步采集视频与压力数据;对关键帧目标执行少样本模板匹配得到视觉结果;依据压力净变化估计取放数量得到重量结果;对两者进行自适应加权融合输出物资类别与数量,并结合时间序列特征进行异常判定与告警,同时在后台留痕。该方案以少样本实现快速上线与扩展,在遮挡、反光等复杂环境下保持稳健识别,并通过数量估计与时序异常检测实现全过程追溯与智能管控,适用于供电所物资自动化管理。

一种安全生产仓库存量检测方法、装置

NºPublicación:  CN121708389A 20/03/2026
Solicitante: 
中国安全生产科学研究院
CN_121708389_PA

Resumen de: CN121708389A

本发明涉及计算机视觉与安全生产技术领域,具体的说是一种安全生产仓库存量检测方法、装置,旨在解决现有危化品仓库存量检测人工效率低、传统技术精度差、环境适应性弱的问题。方法包括:通过工业摄像头采集图像,经CLAHE光线归一化、高斯滤波预处理;采用改进型堆垛分割;提取堆垛轮廓、面积等特征;通过距离、形状、尺寸、物理特性多维度动态修正;按公式计算实际体积得存量,超安全阈值触发报警。装置含数据采集终端、处理器、存储器及总线。本发明实现自动化实时检测,提升检测精度与环境适应性,降低人员安全风险,适用于危化品仓储场景。

电力物资智能搬运机器人的路径优化方法、装置及其设备

NºPublicación:  CN121702410A 20/03/2026
Solicitante: 
国网浙江省电力有限公司宁波供电公司
CN_121702410_PA

Resumen de: CN121702410A

本申请公开了一种电力物资智能搬运机器人的路径优化方法、装置及其设备,该方法包括:获取包含电力仓库中搬运机器人的通行区域信息的二维栅格地图,并对二维栅格地图进行线性设施识别;在识别出线性设施时,基于使搬运机器人垂直穿过线性设施的正交方向,生成方向代价函数;基于方向代价函数,分析搬运机器人从不同方向穿过线性设施时的代价值,代价值表征搬运机器人从不同角度穿越线性设施时需要付出的时间成本、翻车成本和距离成本;在二维栅格地图中,以搬运机器人的起点至终点的累积代价值最小为优化目标,生成由连续坐标点组成的规划路径。也即,使所规划的路径同时兼顾效率与安全,从而提高搬运机器人在执行搬运作业时的平稳性。

一种基于料箱机器人的批量物料转运方法、系统、设备及介质

NºPublicación:  CN121705970A 20/03/2026
Solicitante: 
云南交通工程质量检测有限公司
CN_121705970_PA

Resumen de: CN121705970A

本申请涉及了一种基于料箱机器人的批量物料转运方法、系统、设备及介质,方法包括:获取多个料箱机器人对目标料箱的原始扫码数据,基于验证筛选算法更新原始扫码数据,得到目标扫码数据;基于料箱机器人采集转运时段内目标料箱的转运传感数据,确定目标料箱的第一转运参数,根据目标扫码数据,确定目标料箱的第二转运参数;根据第一转运参数和第二转运参数,基于准确度预测神经网络,确定目标料箱中物料转运信息的准确度参数,所述准确度参数用于在生产计划中表征物料转运过程的准确程度。

基于人工智能的植株生长及健康溯源管理方法和系统

NºPublicación:  CN121707591A 20/03/2026
Solicitante: 
嘉兴泓稼生态科技有限公司
CN_121707591_PA

Resumen de: CN121707591A

本发明提出了基于人工智能的植株生长及健康溯源管理方法和系统,涉及溯源管理技术领域,对植株信息进行标签检测和登记状态划分,获取新ID分配流程和/或原有ID关联日常管理流程;根据新ID分配流程进行植株信息的新ID分类和记录,获得新植株记录信息;根据原有ID关联日常管理流程进行日常ACDHMS数据采集,根据日常生长采集数据进行图像测量关联生长分析和生长状态判定整合后将其传输至后台存储数据;对后台存储数据进行解密和校验,进而进行生长健康评估分析,获得健康评估分析数据,生成新密钥写进RFID,本发明兼具智能化管理、精准评估与安全溯源功能,提升了植株生长健康分析处理能力。

基于大数据预测的医院药房动态库存优化系统及方法

NºPublicación:  CN121709179A 20/03/2026
Solicitante: 
泰州市第二人民医院
CN_121709179_A

Resumen de: CN121709179A

本发明提供了一种基于大数据预测的医院药房动态库存优化系统及方法,其系统包括:数据采集模块用于整合历史处方、季节特征、临床路径等多维度数据,构建多维数据库;用量预测模块用于基于多维数据库内的数据,对LSTM网络和XGBoost算法构建的融合模型进行训练得到药品用量预测模型,并结合实际用药数据对未来预设时间内的各种药品的用量进行预测;库存优化模块用于基于用量预测结果、当前药品库存数据以及药品有效期信息,生成库存药品补货建议和近效期药品调配方案;输出模块用于基于药品用量预测结果、库存药品补货建议以及近效期药品调配方案生成可视化报表,发送给药房管理人员。本发明解决了现有技术医院药房管理缺药风险高、库存积压严重的问题。

一种可扩展的实验室危险化学药品管理终端

NºPublicación:  CN121707467A 20/03/2026
Solicitante: 
微享科技有限公司
CN_121707467_PA

Resumen de: CN121707467A

本发明涉及物联网设备技术领域,具体为一种可扩展的实验室危险化学药品管理终端,所述天线和多通道射频信号读写器用于接受并识别带有射频标签的危险化学药品,所述单片机通过通讯模块对多通道射频信号读写器和精密称重装置传回的数据进行管理,所述精密称重装置、多通道射频信号读写器和温湿度传感器上均设置有可扩展端口,有益效果为:可以在通过天线、精密称重装置及多通道射频信号读写器完成对危险化学药品库存、近效期管理的同时,兼容扩展式设计和隔爆设计,大大降低了危险化学药品实验室的管理难度,实现了管理终端的广泛适用性和无源管理终端,同时可实现在线管理,大大降低管理人员的工作难度。

一种产品管理方法

NºPublicación:  CN121707463A 20/03/2026
Solicitante: 
巨石集团有限公司
CN_121707463_PA

Resumen de: CN121707463A

本申请公开了一种产品管理方法,包括产品入库管理、产品信息匹配、产品出库管理,产品入库管理包括:生成各初始产品的编号信息;基于编号信息,生成各初始产品的编号标签,将各编号标签分别设置于各初始产品上;基于各编号信息,将各初始产品进行入库,得到入库产品,并将各初始产品的编号信息录入管理系统;产品信息匹配包括:分别获取管理系统中的预设质量信息和各入库产品的检测质量信息;基于预设质量信息和各检测质量信息的比对结果,对入库产品进行分类;基于产品质量需求,确定预出库产品;产品出库管理包括:采集预出库产品的编号标签的编号信息;基于预出库产品的编号信息以及与管理系统中存储的编号信息的比对结果,确定出库产品。

一种基于大数据分析的医药供应链决策系统

NºPublicación:  CN121707453A 20/03/2026
Solicitante: 
苏州华瓴科技有限公司
CN_121707453_PA

Resumen de: CN121707453A

本发明公开了一种基于大数据分析的医药供应链决策系统,本发明涉及医药供应链管理技术领域,包括数据采集与融合模块、双循环决策引擎、以及决策输出模块;所述数据采集与融合模块,配置为接入并融合来自医药供应链上游工业企业和下游终端门店的多源异构数据。该基于大数据分析的医药供应链决策系统,通过引入双循环决策引擎与多智能体模拟验证机制,有效提升了医药供应链决策的科学性与可靠性。系统不仅能够基于实时数据生成初步策略,更重要的是通过模拟真实市场博弈环境与历史数据回溯检验两次不同机制的严格筛查,确保输出决策兼具理论可行性与实践稳健性,从而帮助上下游企业降低因决策失误导致的库存失衡与销售机会流失风险。

一种长输线路巡检路径优化算法

NºPublicación:  CN121707451A 20/03/2026
Solicitante: 
拓航科技有限公司
CN_121707451_PA

Resumen de: CN121707451A

本发明公开了一种长输线路巡检路径优化算法,涉及长输线路巡检技术领域,该方法包括以下组成部分:多源数据融合与预处理步骤、基于改进Apriori算法的时空关联规则挖掘步骤、故障发生概率预测模型构建步骤以及预测性巡检路径规划步骤;本发明通过多源数据融合与预处理,结合基于改进Apriori算法的时空关联规则挖掘,能够精准识别出长输线路各区段在不同时间、空间及气象条件下的故障发生概率,这有助于巡检人员优先关注高风险区段,动态调整巡检覆盖频次,从而在保证巡检质量的同时,显著提高巡检效率,减少不必要的巡检工作量。

一种基于深度学习的共享果蔬周转筐租赁归还系统

NºPublicación:  CN121707687A 20/03/2026
Solicitante: 
广东金满筐科技有限公司
CN_121707687_PA

Resumen de: CN121707687A

本发明公开了一种基于深度学习的共享果蔬周转筐租赁归还系统,涉及计算机技术领域,本发明提供的基于深度学习的共享果蔬周转筐租赁归还系统,通过物联网传感器网络和外部数据接口构建覆盖各运营区域的多维度实时数据基础,相较于现有依赖离线统计和局部经验规则的调拨方式,更准确地感知各网点库存水平、区域需求强度及道路通行状况的动态变化,使系统能够在更精细的时间粒度上识别潜在短缺与积压趋势;智能推荐引擎采用联邦多智能体深度强化学习与图神经网络相结合的架构,将运营区域视为相互关联的智能体,既利用图神经网络建模区域间地理相邻关系、运输连通性和历史调拨模式,又通过联邦学习在不集中原始数据的前提下共享参数更新。

一种枸杞全产业链质量安全可追溯方法及系统

NºPublicación:  CN121707582A 20/03/2026
Solicitante: 
宁夏农产品质量标准与检测技术研究所(宁夏农产品质量监测中心)
CN_121707582_PA

Resumen de: CN121707582A

本发明涉及枸杞全产业链追溯技术领域,且公开了一种枸杞全产业链质量安全可追溯方法及系统,采用分批次的方式,记录枸杞种苗以及种植时的数据信息,记录枸杞在加工时的数据信息并送检,检测枸杞内的多糖含量与甜菜碱含量进行枸杞品质分级,进行物流输送与销售时的数据云端储存,通过扫描二维码的方式调取云端储存数据,进行枸杞全产业链质量安全溯源;本发明通过对种苗的数据信息、种植时的数据信息、加工数据与检测数据以及物流输送与销售时的数据均进行采集,整体均储存在云端内,后续需要进行溯源时,当枸杞出现问题时,通过扫描二维码,可及时了解问题所在,实现对枸杞全产业链进行生产进行溯源,进而保证枸杞生产的质量与安全性。

Procédé de détermination d’une configuration de positionnement d’au moins un article au sein d’un conteneur

NºPublicación:  FR3166462A1 20/03/2026
Solicitante: 
EXOTEC PRODUCT FRANCE [FR]
Exotec Product France
FR_3166462_A1

Resumen de: FR3166462A1

L’invention se rapporte à un procédé de détermination d’une configuration de positionnement d’au moins un article (ART) au sein d’un conteneur (CNT), ledit procédé étant mis en œuvre par un dispositif électronique lors de la préparation de commandes, à un poste de préparation de commandes, d’articles à positionner au sein dudit conteneur (CNT), le procédé comprenant au moins une itération des étapes suivantes : captation (S01), préférentiellement à l’aide d’au moins un premier dispositif de capture (CAP1) positionné en amont ou au niveau du poste de préparation, d’une donnée représentative d’un volume disponible (VD) au sein dudit conteneur (CNT) ;obtention (S04) d’une liste (L1) d’articles à positionner au sein dudit conteneur (CNT) ;détermination (S05) d’un volume (V1) des articles à positionner en fonction de la liste (L1) des articles à positionner ;en fonction du volume (V1) des articles et de la donnée représentative d’un volume disponible (VD) au sein dudit conteneur (CNT), calcul (S06) de la configuration de positionnement (confP) des articles de la liste (L1) des articles. Fig. 1

一种自动化立体仓库的货位信息管理方法

NºPublicación:  CN121707468A 20/03/2026
Solicitante: 
九江科技职业大学江西一壶运营管理有限公司
CN_121707468_PA

Resumen de: CN121707468A

本发明公开了一种自动化立体仓库的货位信息管理方法,涉及仓储管理技术领域,采集立体仓库的多维度基础数据并构建货位虚拟映射体系,多维度基础数据涵盖影响货位管理的关键数据类别,建立物理场景与虚拟场景的实时对应及数据交互关系。本发明所述的一种自动化立体仓库的货位信息管理方法,构建货位虚拟映射体系,完整复刻物理仓库的核心特征与运行流程,所有货位管理策略在落地执行前,均通过虚拟体系进行多场景仿真验证。通过模拟设备跨区域作业协同效果、货位集群划分合理性及作业路径流畅度,提前发现并规避设备作业路径冲突、流程衔接不畅等潜在问题,确保策略能够快速适配实际作业场景,提升执行效率。

一种基于区块链技术的物流供应链管理方法及系统

NºPublicación:  CN121707465A 20/03/2026
Solicitante: 
湖南警察学院
CN_121707465_PA

Resumen de: CN121707465A

本发明提供一种基于区块链技术的物流供应链管理方法及系统,涉及数据处理技术领域,所述方法包括:仓储中心在货物入库时扫描溯源码并验证货物信息,验证通过后,加密存储至区块链,得到入库数据;通过入库数据,根据货物类别及库位编号建立动态库存数据库,并生成库存状态预警指标。本发明有提供一种基于区块链技术的物流供应链管理方法及系统,通过区块链的分布式存储、不可篡改特性,结合智能合约与物联网技术,实现库存的动态精准管理、物流路径的实时优化以及全链条信息的可信溯源,提升供应链协同效率,降低运营成风险。

一种基于区块链的校园商品库存管理方法

NºPublicación:  CN121707474A 20/03/2026
Solicitante: 
安徽物星科技有限公司
CN_121707474_PA

Resumen de: CN121707474A

本发明公开了一种基于区块链的校园商品库存管理方法,涉及校园商品管理技术领域,包括:在多个校园商品库存管理节点中,建立包含商品标识信息、库存数量信息、库存状态信息和生命周期信息的库存记录数据结构,并为每一个校园商品库存管理节点配置区块链上的公钥身份标识信息;在区块链外部处理环境中部署库存处理模块,生成调拨路径信息、库存预测信息和访问权限配置信息。本发明通过构建包含节点标识信息和商品生命周期信息的库存记录数据结构,并结合区块链身份注册机制,能够有效绑定库存数据与管理节点身份,实现库存信息在多个校园商品库存管理节点之间的统一登记与可信记录。

一种数据驱动的WMS仓储优化方法及系统

NºPublicación:  CN121707460A 20/03/2026
Solicitante: 
中车成都机车车辆有限公司
CN_121707460_A

Resumen de: CN121707460A

本发明公开了一种数据驱动的WMS仓储优化方法及系统,涉及仓储管理技术领域,该方法包括:在各预设统计周期结束时,获取中间库物料的WMS系统的实际库存数量和ERP系统的理论库存数量,计算库存差异率;连续采集多个统计周期的库存差异率,形成差异率时间序列;计算差异率时间序列的差异方向一致性系数和渐进趋势变化率;当差异方向一致性系数和渐进趋势变化率均超过各自阈值时,判定该物料存在系统性偏差;对存在系统性偏差的物料,根据差异率时间序列的平均值计算BOM修订系数,生成BOM修订建议值;本发明通过结合差异率平均值、统计周期数量和置信度调整系数的差异率修订技术,实现了对BOM修订幅度的自动合理约束。

无人机物流路径规划方法、装置、可读介质及电子设备

NºPublicación:  CN121707457A 20/03/2026
Solicitante: 
江西省军民融合研究院
CN_121707457_PA

Resumen de: CN121707457A

本发明公开了一种无人机物流路径规划方法、装置、可读介质及电子设备,该方法包括:采用栅格法进行空间环境建模;建立基于航程代价、高度代价和危险度代价的模型目标函数,并建立无人机路径的多维度的复合约束条件;根据无人机当前节点的位置、航向和俯仰角,生成候选方向,并根据所述候选方向计算下一个节点的位置,以获得无人机的路径段;基于建立的模型、所述模型目标函数和所述复合约束条件对无人机的路径进行优化。在满足无人机安全的前提下,进行航行总代价最小的无人机路径规划。

一种基于多智能体的全域电商供应链管理方法及系统

NºPublicación:  CN121707443A 20/03/2026
Solicitante: 
福建省中通通信有限公司
CN_121707443_PA

Resumen de: CN121707443A

本申请实施例提出了一种基于多智能体的全域电商供应链管理方法及系统,涉及电商供应链管理技术领域,方法包括获取目标区域内定义营销活动特性的参数;根据参数,计算反映客户对配送时效预期的心理时效指标;获取目标区域内与配送时效相关的外部文本数据;根据外部文本数据修正心理时效指标,得到修正时效指标;将修正时效指标附加至由营销活动产生的订单数据,得到时效订单数据;响应于时效订单数据,根据修正时效指标,确定配送调度策略;响应于时效订单数据,根据修正时效指标,确定出库顺序。本申请能够提升配送效率和客户满意度,克服了现有技术中局部优化而非全局优化的不足。

快递网点进水处理方法、电子设备及程序产品

NºPublicación:  CN121708540A 20/03/2026
Solicitante: 
顺丰科技有限公司
CN_121708540_PA

Resumen de: CN121708540A

本公开提供了一种快递网点进水处理方法、电子设备及程序产品,涉及信息处理技术领域。方法包括:获取目标快递网点的地面实时图像;获取进水识别需求信息;将所述地面实时图像和所述进水识别需求信息输入到预设视觉语言大模型,得到进水识别结果;所述进水识别结果用于指示所述目标快递网点是否进水。本公开用以解决现有技术中雨水流入快递网点无法及时发现,导致包裹被雨水浸泡的问题。

一种火电厂经营管理燃料采购配置方法

NºPublicación:  CN121707616A 20/03/2026
Solicitante: 
国家电投集团江西电力有限公司新昌发电分公司
CN_121707616_PA

Resumen de: CN121707616A

本发明涉及一种火电厂经营管理燃料采购配置方法,包括构建燃料采购预测模型,计算燃料目标采购量;基于数据库中成本数据在不同维度之间的成本比例,计算燃料目标成本预算;在满足燃料目标采购量和燃料目标成本预算的约束下,计算常用煤和低价煤的掺烧比例,且最大化常用煤的量。依据成本数据在不同维度比例,合理计算燃料目标成本预算;在满足燃料目标采购量和成本预算约束条件下,计算常用煤与低价煤的掺烧比例,且实现常用煤量的最大化;本方案在有效控制燃料成本的同时,保障了机组稳定运行及发电效率,避免因过度使用低价煤导致机组出现故障或运行效率降低,提升了火电厂资源利用效率和经营管理水平。

一种汽车维修平台智能控制系统

NºPublicación:  CN121707538A 20/03/2026
Solicitante: 
佛山职业技术学院
CN_121707538_PA

Resumen de: CN121707538A

本发明涉及工业互联网平台技术领域,公开了一种汽车维修平台智能控制系统,该系统包括:车主服务模块、维修服务模块、智能调度模块、流程同步模块、配件追溯模块、数据中枢模块以及平台管理模块等,基于工业互联网平台构建,通过数据中枢模块整合全平台业务数据,打破信息孤岛;其智能调度模块依据订单需求、技师状态与配件库存,利用核心算法实现订单与资源的自动最优匹配,取代低效人工派单;流程同步模块实时追踪并推送工单全环节状态,实现服务过程透明化;配件追溯模块对配件实施从采购到装车的全流程数字化绑定;实现了维修服务的智能调度、全程可视与源头可溯,有效解决了数据孤立、调度效率低、匹配不准及过程难以追溯的技术问题。

成品油零售系统

NºPublicación:  CN121707501A 20/03/2026
Solicitante: 
新疆容大汇鑫贸易有限公司
CN_121707501_PA

Resumen de: CN121707501A

本发明涉及成品油零售技术领域,提供了一种成品油零售系统,包括部署于加油站现场的现场服务终端、设置于本地的加油站管理节点、远程连接的云端数据服务器及用户移动终端,现场服务终端集成加油机、支付终端、车辆识别和环境监测模块,执行加油操作并采集数据;加油站管理节点汇总处理数据,实现库存、销售及安全监控;云端数据服务器聚合多站数据,配备能效评估、补货决策、数据分析及会员管理模块。本发明优点在于:通过构建现场服务终端、加油站管理节点与云端数据服务器,有效解决了传统系统存在的数据孤岛问题,实现了库存动态预警、精准销量预测、多模态支付、会员管理及立体安全监控,显著提升了运营效率、能源利用率与用户体验。

基于数据驱动的农产品供应链智慧管理方法及系统

NºPublicación:  CN121707450A 20/03/2026
Solicitante: 
西安外事学院
CN_121707450_A

Resumen de: CN121707450A

本申请涉及农产品管理技术领域,其公开了一种基于数据驱动的农产品供应链智慧管理方法及系统,其首先获取车载多维传感器原始数据流和批次基础信息,通过数据融合生成在途状态数据包;随后,利用基于生物动力学模型的数字孪生技术对数据包进行状态演算,实时计算当前时刻的品质指数;进而结合原定运输计划与市场准入品质阈值,通过前瞻性模拟识别在途风险;当识别到风险时,基于当前车辆位置、备选市场数据库及运输成本模型执行重路由决策优化,生成包含新目的地和推荐路径的最优方案。本申请能够根据农产品实时生理状态动态调整物流策略,有效降低货损并最大化供应链经济效益。

一种基于NFC模块的设备台账管理系统、设备及方法

NºPublicación:  CN121707461A 20/03/2026
Solicitante: 
武汉市中心工程检测有限公司
CN_121707461_PA

Resumen de: CN121707461A

本发明公开了一种基于NFC模块的设备台账管理系统、设备及方法,设备台账管理系统包括NFC数据交互模块触发NFC标签与读写终端的近场通信,实现设备数据的现场读取与写入;台账管理核心模块整合设备信息录入、状态更新、全生命周期记录与查询统计功能;数据同步模块实现终端与服务器的实时数据交互,支持离线缓存与网络恢复后自动同步;权限管理模块基于角色分配访问权限并记录操作日志;所数据加密模块对敏感信息与传输数据进行加密处理。该设备台账管理系统及方法能够有效简化设备台账数据录入流程,减少人工操作,提升数据采集效率,并且能够实现台账的全周期追溯和查询,数据实时更新,应用场景广泛。

物流分拣系统、图像处理方法、装置、设备、介质及产品

NºPublicación:  CN121696122A 20/03/2026
Solicitante: 
北京京东远升科技有限公司
CN_121696122_PA

Resumen de: CN121696122A

本发明实施例公开了一种物流分拣系统、图像处理方法、装置、设备、介质及产品,涉及计算机视觉技术领域,该系统的第一相机组包括至少三个相机,第二相机组包括至少一个相机,第一相机组与第二相机组配合使用获取包裹的目标图像组合;传输模块带动包裹依次经过第一相机组与第二相机组;终端在通过第一相机组获取的至少三个侧面的侧面图像识别出包裹符合补拍条件的情况下,控制第二相机组获取包裹的其他侧面的侧面图像;在根据目标图像组合确定出包裹的包裹身份标识,以及包裹包括预定类型标识或者存在异常的情况下,将目标信息关联至目标图像组合,目标信息包括包裹身份标识与分拣节点标识。本发明实施例的技术方案,可以提高包裹图像采集的效率。

一种需求不确定的选址库存优化方法及计算机设备

NºPublicación:  CN121707459A 20/03/2026
Solicitante: 
安徽大学
CN_121707459_PA

Resumen de: CN121707459A

本发明公开了一种需求不确定的选址库存优化方法及计算机设备,其中方法是结合仓库选址这一长期决策与库存优化这一短期决策的特点,规划形成两阶段深度强化学习,第一阶段快速获得每个零售商的仓库的分配结果,第二阶段基于第一阶段的分配结果,动态获取每个仓库的订货决策。本发明能够在较短时间内为零售商分配合适的仓库,并为每个仓库提供高效且可行的订货决策以支撑其优化库存,更好的解决选址库存优化问题。

一种基于预测与决策模型的钢铁行业大宗原料库存模拟仿真方法及系统

NºPublicación:  CN121706553A 20/03/2026
Solicitante: 
南京钢铁股份有限公司
CN_121706553_PA

Resumen de: CN121706553A

本发明公开了一种基于预测与决策模型的钢铁行业大宗原料库存模拟仿真方法,涉及库存管理技术领域,包括:获取目标数据,所述目标数据包括钢厂内部数据和行业外部数据;基于目标数据构建目标钢种需求量预测模型,并基于目标钢种需求量预测模型获取预测周期内目标钢种的需求量;构建采购辅助决策模型,并将预测周期内目标钢种的需求量作为输入,基于所述采购辅助决策模型输出目标补货策略。本发明通过建立多源数据融合的实时预测体系,将需求预测准确率提升至80%以上,且开发动态决策优化引擎,使库存周转率提高,订单满足率提升,库存持有成本降低,同时,构建数字孪生仿真环境,支持库存策略的预验证与优化。

基于改进遗传算法的核电施工现场预制件精益调度方法

NºPublicación:  CN121707268A 20/03/2026
Solicitante: 
中核建创新科技有限公司
CN_121707268_PA

Resumen de: CN121707268A

本发明提供的一种基于改进遗传算法的核电施工现场预制件精益调度方法,属于精益调度技术领域,其包括:针对核电施工现场预制件进行多源数据并行输入;对并行输入的多源数据进行数据预处理与数学建模;进行初始化调度方案种群;设计与实现编码方案;评估适应度函数;执行遗传操作序列;进行终止条件判断与分支;进行局部优化调整处理;输出最优调度方案;生成调度方案详情;实时调整模块运行。通过多源数据整合、数学建模、智能算法优化及实时动态调整,实现预制件调度的高效化、精准化与动态适配,解决传统人工调度模式的缺陷,提升核电施工现场预制件调度的整体水平。

一种用于钢卷仓库的多任务执行方法及钢卷仓库管理系统

NºPublicación:  CN121707456A 20/03/2026
Solicitante: 
广东永通起重机械股份有限公司
CN_121707456_PA

Resumen de: CN121707456A

本申请提供一种用于钢卷仓库的多任务执行方法及钢卷仓库管理系统。其中方法包括:中央控制终端确定包含至少两个初始任务的初始任务列表;确定各任务的任务要素;基于任务要素计算各任务的优先级;按优先级从高到低排序,将最高优先级任务确定为目标任务;根据目标任务筛选目标起重机,并为其生成最优路径及执行任务时间段;将最优路径、执行任务时间段及目标任务发送至目标起重机;到达执行时间段时,目标起重机按最优路径执行目标任务。本申请能够有效提升钢卷仓库在多任务状态下的调度灵活性与整体作业效率。任务状态下,钢卷仓库的任务调度的灵活性和整体作业效率。

一种货物堆叠管理方法、系统、电子设备及存储介质

NºPublicación:  CN121707472A 20/03/2026
Solicitante: 
上海通贸国际供应链管理有限公司
CN_121707472_A

Resumen de: CN121707472A

本发明涉及信息技术领域,提供了一种货物堆叠管理方法、系统、电子设备及存储介质。该方法包括:监测货物的形变,以确定所述货物的几何形状变化;根据所述几何形状变化,更新用于表征所述货物之间空间关系的堆叠几何模型;基于更新后的所述堆叠几何模型,调整所述货物的堆叠方案。本发明通过实时监测货物因环境因素产生的形变轨迹,并动态更新空间关系矩阵与堆叠几何模型,实现了从静态规划向动态自适应管理的跨越;利用形变矢量场对接触面坐标进行实时修正,并结合粒子群优化算法对嵌入深度进行力学层面的寻优,从而在货物发生物理维度收缩或扩张时,能够自动触发布局网格的重新映射,提升了货物堆叠在复杂环境下的长期几何稳定性和安全性。

一种基于大数据模型的订单预测方法及系统

NºPublicación:  CN121707442A 20/03/2026
Solicitante: 
广州进文领创信息科技有限公司
CN_121707442_PA

Resumen de: CN121707442A

本发明公开了一种基于大数据模型的订单预测方法及系统,包括:响应于订单预测指令的接收,实时扫描快递物品的历史物流单,获取对应的历史物流单图像,并对历史物流单图像进行特征提取,得到特征信息;计算出对应各客户数据的客户语义向量,以及对应各产品数据的产品语义向量;构建所述历史物流单图像分别对应的物流键值对;对预设订单预测模型进行训练,得到最优的订单预测模型;响应于用户所输入的当前物流单,获取对应的当前物流单图像,输入至订单预测模型中,输出得到对应当前物流单图像的物流键值对;对当前物流单图像的物流键值对进行解析,预测得到在预设时间点的客户信息和产品信息,并赋予对应该预测得到客户信息和产品信息的订单编号。

一种物料搬运方法及设备

NºPublicación:  CN121707441A 20/03/2026
Solicitante: 
杭州海康机器人股份有限公司
CN_121707441_PA

Resumen de: CN121707441A

本申请公开了一种物料搬运方法,包括:基于搬运需求确定待搬运物料;基于待搬运物料和SCM模型,匹配待搬运载具和\或库位,其中,所述SCM模型是基于物料、载具及对应库位的空间位置关系构建;将所述待搬运物料搬运至目标位置,将所述待搬运载具搬运至目标位置,用以解决针对载具嵌套场景物料管理方法复杂且效率低的问题。

自动配送方法及相关装置

NºPublicación:  CN121707449A 20/03/2026
Solicitante: 
艾摩星机器人(苏州)有限公司
CN_121707449_PA

Resumen de: CN121707449A

本申请公开了自动配送方法及相关装置,涉及物流配送技术领域。本申请公开的技术方案中,服务器获得配送订单,提取配送订单的订单信息,基于订单信息为配送订单分配运输车,基于运输车承接的配送订单的订单信息生成运输路径信息,将运输路径信息和运输车所承接的配送订单的订单信息向该运输车发送;运输车基于服务器发送的运输路径信息行驶至配送地点,获得与配送地点关联的订单信息,根据订单信息在配送地点执行装货作业和/或卸货作业,并且,在装货作业和卸货作业过程中,均是通过机械臂装置完成货物的转移,从而自动完成物流配送,显著提高物流配送的自动化和无人化程度,减少人力的使用。

一种钢铁冶金厂平面布局系统

NºPublicación:  CN121706212A 20/03/2026
Solicitante: 
北京首钢国际工程技术有限公司
CN_121706212_PA

Resumen de: CN121706212A

本发明公开一种钢铁冶金厂平面布局系统,涉及工厂布置技术领域,包括原料码头、成品码头、料场组、铁前厂组、炼铁厂、炼钢厂和轧钢厂,成品码头与原料码头并排设置,料场组与原料码头相邻,料场组包括煤料场、球团料场和矿料场,铁前厂组包括焦化厂、烧结厂和球团厂,铁前厂组与料场组相邻,炼铁厂与铁前厂组相邻,原料码头、料场组、铁前厂组和炼铁厂按照第一方向依次布置,炼钢厂与炼铁厂相邻,轧钢厂与炼钢厂和成品码头均相邻,炼铁厂、炼钢厂、轧钢厂和成品码头按照第二方向依次布置,第二方向与第一方向相反。本申请在整体上按照先进工艺流程依次顺利布置厂房的方式,实现整个生产流程的紧凑、高效和顺畅。

一种用于人工智能运维机器人的储存装置及方法

NºPublicación:  CN121707466A 20/03/2026
Solicitante: 
南京市六合区人民医院
CN_121707466_PA

Resumen de: CN121707466A

本发明公开了一种用于人工智能运维机器人的储存装置及方法,部署于数据中心或云平台,用于对多个业务系统中的目标主机进行集中运维管理。所述系统运维服务器包括资源注册模块、监控采集模块、配置管理模块、任务编排模块、告警与自愈模块、运维审计模块、接口管理模块以及身份认证与权限控制模块。资源注册模块用于接收目标主机及所属业务系统信息并生成唯一资源标识,建立资源信息库;监控采集模块基于资源标识下发监控采集策略并采集监控指标数据和运行日志;配置管理模块对当前配置与配置基线进行差异比对,在确认后下发配置模板并进行配置版本管理;任务编排模块将原子运维操作编排为包含执行顺序和回滚策略的任务执行计划。

用于智能包装与请求系统之间的可选择性地调整的数据交换的系统和方法

NºPublicación:  CN121713253A 20/03/2026
Solicitante: 
西拉格国际有限公司
CN_121713253_PA

Resumen de: CN121444175A

Surgical systems and methods are provided. The surgical system includes: at least one manufacturer-sealed sterile surgical package, the at least one manufacturer-sealed sterile surgical package containing a surgical instrument; and an electronic management system in electronic communication with the at least one manufacturer-sealed sterile surgical package. The electronic management system is configured to: receive inventory data characterizing inventory information of the manufacturer-sealed sterile surgical package; updating a master management list with the received inventory data; determining a surgical inventory list for a surgical procedure with the surgical instrument based on the updated master management list, the surgical inventory list including surgical equipment required for the surgical procedure; the surgical inventory list is provided.

用于存储和传输智能化包装元数据的系统和方法

NºPublicación:  CN121713251A 20/03/2026
Solicitante: 
西拉格国际有限公司
CN_121713251_PA

Resumen de: CN121444175A

Surgical systems and methods are provided. The surgical system includes: at least one manufacturer-sealed sterile surgical package, the at least one manufacturer-sealed sterile surgical package containing a surgical instrument; and an electronic management system in electronic communication with the at least one manufacturer-sealed sterile surgical package. The electronic management system is configured to: receive inventory data characterizing inventory information of the manufacturer-sealed sterile surgical package; updating a master management list with the received inventory data; determining a surgical inventory list for a surgical procedure with the surgical instrument based on the updated master management list, the surgical inventory list including surgical equipment required for the surgical procedure; the surgical inventory list is provided.

用于资产性能管理的方法和处理系统、以及电力系统

NºPublicación:  CN121713201A 20/03/2026
Solicitante: 
日立能源有限公司
CN_121713201_PA

Resumen de: WO2025040242A1

Techniques for performing asset performance management for assets (12, 13, 14) of an electric power system (10) are provided. A processing system (30) is operative to perform natural language processing of a query and to perform a function determined from a set of several functions supported by the processing system (30), with the function being determined based on the query.

一种地铁展销终端商品售后管理系统

NºPublicación:  CN121707571A 20/03/2026
Solicitante: 
徐州新南湖科技有限公司
CN_121707571_PA

Resumen de: CN121707571A

本发明一种地铁展销终端商品售后管理系统公开了一种通过仓位标识模块实现展销终端的唯一编号与位置识别,通过商品绑定模块实现商品与展销终端的精准匹配和扫码追溯,通过包装检测模块实现商品可视化展示与防拆封判定,通过报损处理模块完成购买后的损坏报备与证据上传,通过售后处理模块实现退换货与打折处理的自动化执行,通过售后协同模块实现地铁各站点售后中心的扫码核销与补货调度,从而实现地铁展销商品的全过程可追溯、快速售后与智能管理的地铁展销终端商品售后管理系统。其特征在于包括仓位标识模块、商品绑定模块、包装检测模块、报损处理模块、售后处理模块和售后协同模块。

基于数据分析的人工智能物流规划智能处理方法

NºPublicación:  CN121707283A 20/03/2026
Solicitante: 
江门职业技术学院
CN_121707283_PA

Resumen de: CN121707283A

本发明公开了基于数据分析的人工智能物流规划智能处理方法,主要涉及智能物流规划技术领域。包括以下步骤:从物流供应链的各个环节采集多源数据,构建特征向量集;构建深度学习神经网络模型并利用历史物流数据对所述深度学习神经网络模型进行训练,完成模型对未来物流需求的预测;根据预测的物流需求构建智能物流规划模型;采用启发式算法和元启发式算法相结合的方式对智能物流规划模型进行求解和优化;将优化后的物流规划方案转化为具体的执行指令,并监控是否存在执行异常;当监控到物流执行过程中出现异常情况时,启动异常处理机制。本发明的有益效果在于:它实现了物流资源最优配置,提升效率的同时降低了成本还保障了服务质量。

一种港口堆场的动态自适应智能调度方法

NºPublicación:  CN121707297A 20/03/2026
Solicitante: 
中建三局智能技术有限公司
CN_121707297_PA

Resumen de: CN121707297A

本发明涉及港口堆场智能调度与管控技术领域,公开了一种港口堆场的动态自适应智能调度方法,该方法基于堆场三维数字孪生模型与多目标优化调度模型,构建了包含环境异常协同诊断、调度策略动态重构、方案执行与反馈的闭环流程。通过实时采集多台设备的运行体征数据,并与设备性能基线、历史环境事件数据库进行协同分析与推理,诊断出隐蔽性物理异常;进而依据异常类型与任务属性,动态调整优化模型的权重或约束,生成自适应调度方案;最终通过执行反馈持续更新基线库与事件库,实现系统的在线学习与优化。本发明有效解决了传统调度方法在三维可视化、多目标优化及环境异常动态响应方面的不足,显著提升了港口堆场作业的智能化水平、安全性与效率。

山地物流无人车驾驶控制的学习训练加速方法

NºPublicación:  CN121706834A 20/03/2026
Solicitante: 
南京邮电大学
CN_121706834_PA

Resumen de: CN121706834A

本发明公开了山地物流无人车驾驶控制的学习训练加速方法,方法包括:根据山地物流运输需求构建智能体;所述智能体在迭代训练中根据策略参数高斯分布生成种群,并使种群中每个个体对应一组权重参数,得到权重个体;对种群中的每个所述权重个体进行适应度评估,得到每个权重个体的适应度评分;通过所述适应度评分对当前种群进行精英筛选,筛选出多样性精英集合;基于多样性精英集合更新下一轮迭代的策略参数高斯分布;重复迭代训练,直至种群的权重个体平均适应度得分达到预设阈值,能够让智能体在与环境更少的交互次数下,快速学习在山地地形中的最优驾驶控制策略,能够有效提升无人车在复杂地形中的通行效率与控制稳定性。

一种物流末端配送路径动态优化方法及系统

NºPublicación:  CN121707447A 20/03/2026
Solicitante: 
江门职业技术学院
CN_121707447_PA

Resumen de: CN121707447A

本申请涉及智慧物流技术领域,公开了一种物流末端配送路径动态优化方法及系统。方法包括:采集配送区域内的订单分布和运力数据,通过聚类算法划分订单密集区与稀疏区;根据分类结果提取订单密集区波动数据,动态调整路径规划粒度,并结合历史订单和用户消费习惯建立预测模型,输出未来需求预测;若预测值超出当前运力,则触发资源配置生成扩展方案,结合实时调度请求进行运力与任务匹配,生成优化调度序列;提取响应时间指标,通过实际响应与预测值的比对校准预测模型;基于校准后的模型和性能指标,整合区域特征数据迭代优化路径参数,形成动态路径优化机制。本申请提高了物流末端配送的路径规划准确率以及资源利用率。

一种基于规则引擎的数据质量监控与智能阻断系统、方法和产品

NºPublicación:  CN121705270A 20/03/2026
Solicitante: 
上海申雪供应链管理有限公司
CN_121705270_PA

Resumen de: CN121705270A

本申请公开了一种用于数据管理领域的基于规则引擎的数据质量监控与智能阻断系统、系统和产品,其系统包括基层网点、中间转运中心和总部数据中心。基层网点获取快递数据,进行数据合法性校验,阻断非法数据,将合法数据向中间转运中心传输;中间转运中心获取输入数据并标定第一输入链路,进行分析性校验,阻断校验不通过数据并向数据来源发送阻断反馈信号,将校验通过数据向总部数据中心传输;总部数据中心获取输入数据,标定第二输入链路,并将第二输入链路与第一输入链路关联,存储后基于预设的分析维度提供不同维度的数据报告。本申请对快递数据进行全流程覆盖的监控,阻断问题数据向下游传播,实现对快递数据的全面、便捷、高效、可靠的管控。

一种出入境车辆驾驶员智慧验放系统

NºPublicación:  CN121707445A 20/03/2026
Solicitante: 
深圳市检验检疫科学研究院
CN_121707445_PA

Resumen de: CN121707445A

本发明涉及智能检疫查验技术领域,特别涉及到一种出入境车辆驾驶员智慧验放系统,智慧验放系统包括:多台一体化验放终端,用于采集驾驶员的健康申报信息与体温数据;智能预处置子系统,用于基于所述健康申报信息与体温数据,对驾驶员进行风险分级并触发对应的处置流程;环境自适应调节子系统,用于感知外部环境变化并自动调节终端的运行状态;多终端协同调度子系统,用于监测终端负载与运行状态,并实现负载均衡与故障冗余;数据闭环优化子系统,用于汇总分析验放数据并反馈优化申报流程与核验策略;本发明通过分级化、标准化的处置流程,确保不同风险等级的驾驶员都能得到高效、精准的处置,平衡通关效率与防控安全。

一种钢材贸易签单任务自动生成与外勤协助调度方法

NºPublicación:  CN121707279A 20/03/2026
Solicitante: 
惠州市江信控股有限公司
CN_121707279_PA

Resumen de: CN121707279A

本申请属于计算机技术领域,具体涉及一种钢材贸易签单任务自动生成与外勤协助调度方法。该方法旨在解决传统签单流程依赖人工、调度效率低及应变能力弱的问题。通过实时获取企业资源计划系统中的客户订单数据,结合客户信用、库存状态与物流能力进行多维度可行性评估,自动判定并生成结构化签单任务工单;构建包含位置、负载、技能与效率四维属性的外勤人员动态资源池,采用改进的混合整数线性规划算法实现多目标优化调度,兼顾地理邻近性。本申请还集成热力图可视化与负荷预测功能,支持预部署与人工干预。通过上述方案,实现签单自动化率超97%,签单周期压缩至8小时内,整体响应时间缩短42%,异常积压率降至5%以下。

一种动态划分库位的方法

NºPublicación:  CN121707471A 20/03/2026
Solicitante: 
太仓同晟工业自动化有限公司
CN_121707471_A

Resumen de: CN121707471A

本发明涉及仓储物流智能调度技术领域,具体涉及一种动态划分库位的方法,旨在解决现有技术中固定标准单位算法无法根据订单内板件尺寸的动态特征灵活调整,导致空间利用率不足、适配性差的问题。其技术方案要点是:获取目标板件的尺寸数据集和储存载体的载体参数;通过所述尺寸数据集的统计特征动态确定标准单位初始值,所述标准单位初始值经过约束条件下的优化求解转化为用于划分库位的标准单位终值,标准单位初始值根据输入的目标板件尺寸分布特征确定,所述输入的目标板件尺寸分布特征包括集中尺寸分布模式与尺寸混合分布模式,通过分场景的动态单位计算逻辑,设计不同的单位初始值生成策略,分别以最小化空间浪费和最大化适配性为目标。

一种基于共享仓储资源的物流成本管理方法及系统

NºPublicación:  CN121707470A 20/03/2026
Solicitante: 
广东龙眼数字科技有限公司
CN_121707470_PA

Resumen de: CN121707470A

本申请属于物流仓储管理技术领域,公开了一种基于共享仓储资源的物流成本管理方法及系统,所述方法包括:获取待处理物流订单的任务属性参数,确定待处理物流订单的单体作业复杂度指标;基于单体作业复杂度指标及共享仓储系统的当前资源占用状态,预估优先执行待处理物流订单对系统内其他在列任务产生的资源竞争时滞及额外资源负荷,生成任务全局影响评价值;根据任务全局影响评价值生成资源调度指令;根据资源调度指令的执行结果,计算待处理物流订单的直接作业成本,并将由待处理物流订单引发的资源竞争时滞及额外资源负荷对应的价值量化为间接影响成本,关联至待处理物流订单的归属对象;实现了成本核算的全面性、准确性和公平性。

一种基于多设备融合的仓储数量监测方法

NºPublicación:  CN121707469A 20/03/2026
Solicitante: 
无锡中粮工程科技有限公司中粮贸易江苏有限公司
CN_121707469_PA

Resumen de: CN121707469A

本发明属于仓储数量监测技术领域,且公开了一种基于多设备融合的仓储数量监测方法,先根据仓储空间特性、存储目标类型及环境条件科学选型激光雷达作为核心感知设备,再结合按需布局与重叠冗余策略部署设备,避开通风管道、照明设备等障碍物,通过预扫描验证覆盖效果,确保盲区占比符合监测要求;对于识别出的盲区,按不同类型采用差异化插值策略,动态调整插值步长并通过历史点云特征对比校验结果,再经平滑过渡处理实现插值数据与原始有效点云的无缝衔接,有效填补监测空白;实时监测特征点稳定性并动态替换不稳定点,再结合双因子迭代优化与设备间点对点校准生成转换矩阵,将多设备点云数据统一至全局坐标系,确保空间位置精准对齐。

一种农产品冷链仓储运输用智能管理监控系统

NºPublicación:  CN121707446A 20/03/2026
Solicitante: 
上海张珏生物科技有限公司
CN_121707446_PA

Resumen de: CN121707446A

本发明涉及农产品冷链仓储领域,且公开了一种农产品冷链仓储运输用智能管理监控系统,包括对农产品存放单元、冷源设备运行状态及作业行为进行同步感知,形成具备作业关联语义的数据输入序列;对数据输入序列引入基于作业事件触发的动态采样机制,构建反映局部冷链稳定性的连续演化特征集;对连续演化特征集中呈现的温湿参数恢复轨迹与冷量响应节律进行时序解析;将风险演化片段对应的仓储区域划定为重点监测单元,构建用于描述局部冷链约束关系的运行影响关联模型;在运行影响关联模型限定的约束关系下,对感知节点采集策略、监控更新频率及冷源调度参数进行联动调整。本发明具备提高冷链运行过程的可控性的优点。

运输方案模型的生成方法和装置

NºPublicación:  CN121707671A 20/03/2026
Solicitante: 
欧冶云商股份有限公司
CN_121707671_A

Resumen de: CN121707671A

本申请提供一种运输方案模型的生成方法和装置,涉及计算机技术领域。一种运输方案模型的生成方法,包括:将待报价订单的运输订单信息发送至用户侧,生成报价记录,其中,待报价订单包括普通订单和拼单订单,拼单订单包括至少两个普通订单打包的订单;响应于当前场次投标时间截止,获取报价记录进行预处理,得到目标报价记录;对目标报价记录进行业务规则校验,根据通过业务规则校验的有效目标报价记录,构建订单‑用户报价矩阵;以最小化总运输成本为目标,构建目标函数;根据订单‑用户报价矩阵和预先设置的约束条件,求解目标函数,得到最优解,根据最优解生成运输方案模型。本申请通过算法自动筛选,效率高,适配不同场景,扩展性好。

核电备件库存参数分配方法、装置、存储介质及电子设备

NºPublicación:  CN121707455A 20/03/2026
Solicitante: 
中广核核电运营有限公司
CN_121707455_PA

Resumen de: CN121707455A

本申请属于核电技术领域,尤其涉及一种核电备件库存参数分配方法、装置、计算机可读存储介质及电子设备。所述方法包括:获取各个电厂的核电备件业务数据;根据所述核电备件业务数据构建群厂协同的核电备件库存参数分配目标函数;其中,所述核电备件库存参数分配目标函数以成本最小化和公平性偏差最小化为优化目标;对所述核电备件库存参数分配目标函数进行优化求解,得到核电备件库存参数分配结果。通过本申请,可以以成本最小化和公平性偏差最小化为优化目标,构建群厂协同的核电备件库存参数分配目标函数,所得的核电备件库存参数分配结果可以兼顾整体的成本和公平性,有效提升了整体管理效果。

基于RPA机器人的供应链数据处理系统及方法

NºPublicación:  CN121707050A 20/03/2026
Solicitante: 
上海合末数字科技有限公司
CN_121707050_PA

Resumen de: CN121707050A

本发明涉及供应链数据处理技术领域,具体涉及基于RPA机器人的供应链数据处理系统及方法,该系统与方法在新供应链订单生成时,能够自动、同步地获取供应链订单的向量集合、库存维度向量集合及RPA资源维度向量集合,实现了对订单特征、库存状态与RPA资源的统一数字化表达,订单奖励函数、库存奖励函数与技能奖励函数的独立获取机制,确保了系统能够分别聚焦于订单经济效益、库存周转效率与RPA资源优化三大核心目标。

一种基于AI的食堂物资交接验收且可溯源的管理系统及方法

NºPublicación:  CN121707662A 20/03/2026
Solicitante: 
杭州佰伦斯电子智能科技有限公司
CN_121707662_PA

Resumen de: CN121707662A

本发明涉及食品供应管理技术领域,公开了一种基于AI的食堂物资交接验收且可溯源的管理系统及方法。本发明通过基于AI视觉分析等技术对物资验收数据进行处理,生成的物资质检报告,为质量评估提供了无可争议的证据基础,紧接着通过多模态数据融合与双向核验的方法确保了单据与实物的唯一对应关系及与订单要求的一致性,然后将验收结果与处置行动固化关联,得到库存更新记录,从而形成了从验收到入库的完整、不可篡改的数据链,有利于解决现有技术存在的无法对验收决策过程进行有效监管与溯源的问题,不仅将验收决策过程变得可监管、可复核,更在后续争议发生时能提供全链路的客观证据以精准判定责任方,从而全面提升管理效果。

供应链运输效率与碳排放协同优化系统

NºPublicación:  CN121707062A 20/03/2026
Solicitante: 
杭州牛书科技有限公司
CN_121707062_PA

Resumen de: CN121707062A

本发明涉及供应链管理与绿色物流技术领域,且公开了供应链运输效率与碳排放协同优化系统,包括:多源数据采集模块、数据预处理模块、碳排放精准计算模块、双目标优化调度模块、多系统接口联动模块;通过多维度数据采集、精准碳排放量化与多目标协同优化技术,可覆盖供应链运输的车辆、货物、道路等关键环节,不仅关注运输时效,还纳入碳排放、资源利用率等要素,深入协同优化运输流程,使调度方案更精准匹配实际需求,为供应链运输管理提供更科学的依据。

基于边缘协同的物流园区月台智能管控方法及系统

NºPublicación:  CN121707440A 20/03/2026
Solicitante: 
北京中颉科技有限公司交通运输部科学研究院
CN_121707440_PA

Resumen de: CN121707440A

本发明公开了基于边缘协同的物流园区月台智能管控方法及系统,涉及园区月台管理技术领域。该方法包括:目标仓库具有多个货物存储区和多个月台,建立多个货物存储区和多个月台的距离矩阵;实时获取多个运输车辆的车辆位置信息和作业需求信息,根据多个运输车辆的车辆位置信息预测获取多个车辆到达时间;根据距离矩阵和作业需求信息生成初始车辆月台匹配方案,基于多个车辆到达时间对初始车辆月台匹配方案进行冲突检测,获取冲突检测结果;当冲突检测结果中存在冲突车辆月台对时,根据距离矩阵对初始车辆月台匹配方案进行优化,生成优化车辆月台匹配方案,进行物流园区月台管控。本发明有效提升了调度精度和资源利用效率。

一种基于机器学习的贸易商品动态库存管控系统

NºPublicación:  CN121707464A 20/03/2026
Solicitante: 
无锡微漾青年网络科技有限公司
CN_121707464_PA

Resumen de: CN121707464A

本发明公开了一种基于机器学习的贸易商品动态库存管控系统,包括如下模块:结构状态模块,用于获取各商品的库存结构状态数据并生成对应的库存结构状态向量;结构图模块,用于构建结构连接边,生成商品动态图;结构聚合模块,用于对商品邻接关系进行结构特征聚合,生成结构聚合特征;需求预测模块,用于基于改进的iTransformer,输出需求预测结果及需求可塑性参数;库存决策模块,用于执行库存决策计算,生成库存调整轨迹;执行反馈模块,用于依据库存调整轨迹生成库存控制指令并执行库存管控操作,更新库存结构状态数据。本发明通过库存结构感知的机器学习预测,实现贸易商品需求与库存调控的动态可执行管理。

一种基于大语言模型的装箱问题智能求解方法及系统

NºPublicación:  CN121707498A 20/03/2026
Solicitante: 
广东工业大学
CN_121707498_PA

Resumen de: CN121707498A

本发明公开一种基于大语言模型的装箱问题智能求解方法及系统,该方法包括以下步骤:S1、接收并预处理装箱问题的多模态输入数据,得到结构化的装箱任务数据;S2、基于所述装箱任务数据,构建包含问题定义、约束条件和输出格式的输入提示,并输入至大语言模型;S3、利用所述大语言模型生成启发式算法代码,并对所述代码进行语法、逻辑和约束符合性验证,得到可执行的启发式算法;S4、对所述可执行的启发式算法进行性能评分,基于评分结果划分策略岛屿并筛选出优质策略,保持策略多样性;S5、基于所述优质策略,结合脑启发变异机制进行多轮优化。本发明输出可视化装箱的方案中实现了对复杂约束的自适应适配与求解效率的整体提升。

一种面向复杂工序的TETO-PUSH动态调度方法

NºPublicación:  CN121707218A 20/03/2026
Solicitante: 
徐州徐工精密工业科技有限公司
CN_121707218_PA

Resumen de: CN121707218A

本发明公开一种面向复杂工序的TETO‑PUSH动态调度方法,涉及生产排产技术领域,旨在解决传统排产方法设备利用率低、排产效率低、准确性差的问题。该方法基于包含数据采集模块、排产配置模块、资源缓存模块、生产排产模块的自动排产系统实现,首先通过资源缓存模块,以key‑value等形式缓存工厂日历、设备档案、设备排产资源、设备排产结果、工艺路线、待排产计划;再通过生产排产模块依序读取待排产计划,结合设备选择算法筛选合适设备,生成或调整工序计划,同步执行同步前移、相关工序前移、统一前移算法,更新缓存数据,无符合条件设备则标记订单并回溯关联工序。本发明实现复杂工序自动化排产,排产人力资源压缩90%,计划准确率达95%,设备利用率稳定在80%以上。

一种考虑工作量均衡的混合车队配送路径规划方法

NºPublicación:  CN121707448A 20/03/2026
Solicitante: 
合肥工业大学
CN_121707448_PA

Resumen de: CN121707448A

本发明公开了一种考虑工作量均衡的混合车队配送路径规划方法,其中方法包括:精准采集与校验多维度配送数据;构建工作量均衡的混合车队车辆路径规划模型约束多维度配送数据;采用贪心策略,基于多维度配送数据,求解路径规划模型目标函数的初始解;依据初始解,基于遗传算法获得最优路径方案。本发明方法能够智能地将配送任务与最合适的车型进行匹配,这种基于车型特性的差异化路径策略,确保了高容量车辆发挥其规模效益,实现了车辆资源利用率的最大化,降低了因车辆选择不当造成的额外油耗或电耗,直接降低了运输成本,提升整体车队的协同运营效率。

一种基于声光引导与夹持传感的快递定位系统及方法

NºPublicación:  CN121706817A 20/03/2026
Solicitante: 
摩派空间(天津)有限公司
CN_121706817_PA

Resumen de: CN121706817A

本发明涉及物流管理技术领域,具体是一种基于声光引导与夹持传感的快递定位系统及方法,所述系统包括有中央处理器、货架灯条模组、夹持传感器和蜂鸣器;所述货架灯条模组设于快递货架各层,包含多个与货格一一对应的灯珠;每个所述灯珠连接一个独立二维码和一个夹持传感器,所述夹持传感器用于检测货格内包裹的物理夹持状态;所述蜂鸣器安装于每两个货架灯条模组的中间位置;本发明基于声光引导与夹持传感的快递定位系统及方法,通过双码绑定‑声光协同‑夹持动态反馈,实现分拣‑定位‑纠错全流程自动化管控。

海上风电场智能仓储管理方法、系统

NºPublicación:  CN121707462A 20/03/2026
Solicitante: 
南方海上风电联合开发有限公司
CN_121707462_PA

Resumen de: CN121707462A

本发明揭示了一种海上风电场智能仓储管理方法、系统,该方法包括:构建核心数据模型:通过中央集成中台从外部ERP系统获取并同步存货分类、物料档案、仓库档案及员工档案数据,并构建及维护用于备件管理的核心数据模型;远程授权:通过远程审批终端与中央集成中台通信连接,用于向中央集成中台提交领用与门禁授权请求,并接收待办工单与审批结果;门禁控制与出入库信息管理:通过无感出入库模块与中央集成中台通信连接,并集成有门禁远程控制模块和RFID读写器,门禁远程控制模块用于接收中央集成中台的指令控制门禁启闭,RFID读写器用于自动识别贴附有RFID标签的备件,并生成出入库信息上报至中央集成中台。如此设置,实现仓储物资的精准、自动化管控。

一种基于物联网的场站管理系统

NºPublicación:  CN121707199A 20/03/2026
Solicitante: 
江苏优阳智能科技有限公司
CN_121707199_A

Resumen de: CN121707199A

本发明公开了一种基于物联网的场站管理系统,包括物联网感知模块,包括RFID标签、温湿度传感器、重量传感器、位置传感器和摄像头,所述RFID标签识别集装箱,温湿度传感器、重量传感器和位置传感器采集货物信息,所述摄像头采集场站内图像信息;本发明的有益效果是:实现了对综合保税区场站的在场管理、仓库管理、集装箱作业以及统计分析等功能的全面集成与智能化管理,通过各模块之间的协同工作,提高了场站管理的效率、准确性和安全性;借助物联网感知模块,实现了对场站内各种设备、货物、运输工具等的全面感知和实时监控,为场站管理提供了准确、及时的信息支持,有效提高了管理的及时性和准确性。

采购订单自动生成及仓库管理方法

NºPublicación:  CN121707473A 20/03/2026
Solicitante: 
上海建工集团股份有限公司
CN_121707473_PA

Resumen de: CN121707473A

本发明提供了一种采购订单自动生成及仓库管理方法,通过“产品型号解析、BOM匹配、供应商匹配、订单生成和材料仓管的多级联动,实现从型号解析到材料仓库的全流程自动化。本发明从采购下单到材料仓库,仓储人员根据订单号即可调取订单数据,避免手工录入,上下游数据贯通,实现一站式数据传输。本发明通过预设产品型号和原材料匹配规则实现采购订单自动化生成,并与仓储系统无缝对接的一站式采购和仓库管理方法及系统。本发明通过建立产品型号与原材料/部件的预设匹配规则库,系统可自动生成采购订单,消除传统模式中人工选择原材料、核对库存、创建采购订单等耗时步骤。

煤炭漏斗车底门锁闭状态智能监测方法及系统

NºPublicación:  CN121707439A 20/03/2026
Solicitante: 
兖矿能源集团股份有限公司
CN_121707439_A

Resumen de: CN121707439A

本发明公开了煤炭漏斗车底门锁闭状态智能监测方法及系统,涉及铁路货运装备状态监测技术领域,包括:采集底门多源监测数据并预处理得到标准化数据流;通过多源信息融合模型输出锁闭状态判定结果及其置信度;构建数字孪生模型,以判定结果和置信度为边界条件进行在线一致化处理;基于一致化模型执行超前仿真,输出健康状态指数与剩余寿命预测值;综合上述信息生成维护策略,并通过敏感性分析实现闭环优化。本发明实现了对煤炭漏斗车底门锁闭状态的精准感知、可靠性评估及寿命预测一体化,同时利用超前仿真与敏感性反馈构建了“监测‑预测‑优化”的闭环系统,显著提升了状态判断的准确率与运维决策的前瞻性。

一种基于机器学习的港口船舶排队预测方法及系统

NºPublicación:  CN121707025A 20/03/2026
Solicitante: 
中远海运特种运输股份有限公司中远海运科技股份有限公司
CN_121707025_PA

Resumen de: CN121707025A

本发明公开了一种基于机器学习的港口船舶排队预测方法及系统,该方法包括:获取目标港口的气象数据和多个港口船舶的船舶数据和到达时间数据;确定所述目标港口对应的基于机器学习算法的船舶停泊预测模型;将所述气象数据、所述船舶数据和所述到达时间数据输入至所述船舶停泊预测模型,以得到所述多个港口船舶对应的预测泊位分布;根据所述预测泊位分布以及所述船舶数据和所述到达时间数据,基于延误时长预测算法,计算至少一个所述港口船舶对应的排队时长。可见,本发明能够实现基于多源数据和机器学习的精准泊位分配和排队时长预测,提升目标港口船舶调度效率和停泊管理的准确性,降低排队延误和港口拥堵风险。

工厂供应管理方法、系统及存储介质

NºPublicación:  CN121707452A 20/03/2026
Solicitante: 
内蒙古蒙牛乳业(集团)股份有限公司
CN_121707452_A

Resumen de: CN121707452A

本发明提供一种工厂供应管理方法、系统及存储介质,包括:区块链供应管理平台通过获取至少一个供应商参与方的供应商数据,并将供应商参与方的供应商数据上链存储至区块链中,供应商数据包括供应商的物料基础信息及供货特征数据;区块链供应管理平台在接收到工厂参与方发送的物料采购请求的情况下,基于区块链中上链存储的各供应商参与方的物料基础信息及供货特征数据,从至少一个供应商参与方中筛选出与物料采购请求匹配的至少一个目标供应商参与方,并发送相应的目标供应商参与方推荐列表至工厂参与方。如此本发明通过区块链供应管理平台大大简化了物料采购流程,缩短了物料采购周期,提高了物料采购效率。

检测船舶的承运人位置数据中的不准确性

NºPublicación:  CN121713043A 20/03/2026
Solicitante: 
慧咨环球(许可)有限公司
CN_121713043_PA

Resumen de: AU2024256396A1

This disclosure relates to automatically detecting inaccuracies in carrier location data of a vessel. A processor receives the carrier location data generated by a carrier and comprising multiple location data elements indicative of a port at which the vessel has berthed. The processor also receives historical vessel location data comprising vessel location coordinates. Then, the processor matches the historical vessel location data with a predefined list of port locations, to generate validation data comprising validation data elements indicative of a match between the vessel location coordinates and the port locations. The processor further determines a numerical correspondence value between carrier location data elements and validation data elements. Based on the correspondence, the processor identifies discrepancies between the carrier location data and the validation data to automatically detect the inaccuracies in the carrier location data.

一种柔性卷材的位置定位校准方法及仓储管理系统

NºPublicación:  CN121698007A 20/03/2026
Solicitante: 
泉州装备制造研究所中国科学院福建物质结构研究所
CN_121698007_PA

Resumen de: CN121698007A

本发明涉及仓储管理领域,具体涉及一种柔性卷材的位置定位校准方法及仓储管理系统;包括如下依次执行的步骤:S1:采用添加了适应入库卷材环境的物理约束的物理信息神经网络对卷材半径进行预测,获取预测半径;S2:采用定位算法,获取该入库卷材的初始位置坐标并结合该预测半径,将该入库卷材映射到数字孪生平台;S3:根据预设的物理规则对该入库卷材的初始位置进行合法性判断,若未通过该合法性判断,则执行步骤S4;S4:采用具有初始位置先验的黏菌算法在该初始位置附近搜寻符合物理规则的目标位置,S5:根据该目标位置的坐标将入库卷材重新映射到该数字孪生平台。

一种代驾用户端订单多维度状态追踪与异常预警系统

NºPublicación:  CN121707672A 20/03/2026
Solicitante: 
北京龙驹易行科技有限公司
CN_121707672_PA

Resumen de: CN121707672A

本发明涉及计算机软件技术领域,具体为一种代驾用户端订单多维度状态追踪与异常预警系统,包括:状态采集模块用于实时采集代驾订单的多维度状态数据;多维度订单追踪模块用于对多维度状态数据进行整合处理,基于时空融合算法构建订单全生命周期追踪模型,生成可视化订单状态追踪视图;异常预警模块用于识别订单异常事件并量化异常等级,生成异常预警信息;订单联动处理模块用于联动代驾平台后台,利用改进多目标粒子群优化算法,生成最优订单调整策略及应急处置方案;用户交互模块用于向代驾用户端推送订单状态追踪视图、异常预警信息及处置方案,提供用户反馈交互通道。由此,解决了现有技术中状态信息割裂、异常发现滞后等问题。

一种基于客户行为分析的客户流失预警反馈方法、系统、设备和产品

NºPublicación:  CN121707607A 20/03/2026
Solicitante: 
上海申雪供应链管理有限公司
CN_121707607_PA

Resumen de: CN121707607A

本申请涉及数据分析领域,具体涉及一种基于客户行为分析的客户流失预警反馈方法、系统、设备和产品,其方法包括S1,获取客户投递量的历史数据,得到投递量时序数据;S2,对投递量时序数据进行季节性识别,获取主要季节周期;S3,基于主要季节周期,采用STL时序分解算法,对投递量时序数据进行特性分解,获取投递量时序数据的趋势项、季节项和残差项;S4,基于获取的趋势项,将客户标记为潜在流失客户;S5,向客户经理推送预警信息,进行客户沟通,基于客户沟通的结果为客户标注消极标签;S6,对标注消极标签的客户实施用于客户挽留的运营干预策略。本申请能够实现客户流失风险的自动分析,进行准确及时的客户流失风险提醒。

构建基准比较系统数据模型的航空保障备件配置优化方法

NºPublicación:  CN121707186A 20/03/2026
Solicitante: 
中国航空综合技术研究所
CN_121707186_PA

Resumen de: CN121707186A

本发明提供一种构建基准比较系统数据模型的航空保障备件配置优化方法,涉及装备维修保障领域,其包括以下步骤:S1、确定基准比较系统构建需求;S2、依据需求综合度量装备可靠性、维修性及备件和保障设备配置方案;S3、依据度量结果开展多源数据采集,构建备件和保障设备综合优化的基准比较系统;S4、依托基准比较系统,分析优化参数,S5、根据分析结果,构建备件和保障设备综合优化模型。本发明依托装备典型任务场景,通过基于敏感性分析的方法,从定量角度确定各优化参数的可变区间,进一步基于考虑重要度等级的边际分析法,构建备件和保障设备的综合优化模型,能有效利用多源相似装备数据,使备件和保障设备的配置优化更为精准。

计及五金负荷低碳需求响应的园区低碳调度方法及系统

NºPublicación:  CN121707188A 20/03/2026
Solicitante: 
国网浙江省电力有限公司永康市供电公司国网浙江省电力有限公司金华供电公司
CN_121707188_PA

Resumen de: CN121707188A

本申请公开了一种计及五金负荷低碳需求响应的园区低碳调度方法及系统,属于电力系统调度技术领域。本申请获取园区碳排放数据和能源流数据及二者数据之间的映射关系,确定园区内各用户侧能源负荷节点碳势;确定用户侧的五金生产工序对应的负荷数据,并构建用户侧对应节点负荷数据计算的柔性负荷模型;将控制园区的能源系统运行成本最低为上层优化目标,并将控制用户侧的五金生产工序对应碳排放量最低为下层优化目标,对上层优化目标和下层优化目标进行综合求解,得到优化调度策略;根据优化调度策略,对各用户的五金生产工序对应的负荷情况进行优化调整,以此不断优化系统运行成本和碳排放量,实现五金园区综合能源系统低碳经济运行的协同优化。

用于混流车间物料的动态统筹配送系统及方法

NºPublicación:  CN121707458A 20/03/2026
Solicitante: 
江苏卓玉智能科技有限公司
CN_121707458_PA

Resumen de: CN121707458A

本发明公开了用于混流车间物料的动态统筹配送系统及方法,涉及物料配送相关技术领域,包括:交互车间基础信息,以物料配送为基准进行信息功能性简化,构建数字化车间;进行物料消耗仿真,以配送松弛度最小化确定线边最小安全库存,以工位关联度确定配送位分组;前推预设配送时间窗口,生成配送指令;结合第一配送物料,确定初始化配送策略;将初始化配送策略传输至物料配送系统,进行物料配送与协配送位的动态规划调控。解决了现有物料配送存在的混流生产模式产品型号频繁切换,进而导致物料配送难以及时、精准的进行物料供应,使得物料配送效率和灵活性不足的技术问题,实现物料需求的精准预测,达到了提高物料配送效率和灵活性的技术效果。

一种下货纸电子流转方法、系统、产品及介质

NºPublicación:  CN121708615A 20/03/2026
Solicitante: 
天津外轮理货有限公司
CN_121708615_PA

Resumen de: CN121708615A

一种下货纸电子流转方法、系统、产品及介质,涉及电数字数据处理领域,该方法包括:接收ESO平台传输的电子下货纸图像,识别表格横线位置数据构建主参考线,识别货号和装载位置数据构建辅助参考线,形成多层级参考线网络并划分货物信息区域和批注信息区域。对各区域执行特征计算,提取文字布局、墨迹浓度和笔画连贯性特征,通过预设权重融合为区域热力图。基于热力图的清晰度值、对比度值和噪声水平值计算权重系数,与热力图加权计算得到置信度分布图。根据置信度分布图匹配主参考线间文字区域,计算相邻参考线关联概率,生成批注信息与货物信息的区域关联数据,向ESO平台发送包含置信度数据和传播路径数据的关联数据。实施该方法,可以提高电子下货纸中批注信息与货物信息之间关联识别的准确性。

用于促进更新按需服务的批处理系统的服务器和方法

NºPublicación:  CN121713200A 20/03/2026
Solicitante: 
格步计程车控股私人有限公司
CN_121713200_PA

Resumen de: WO2025048711A1

Aspects concern a server comprising a processor configured to: generate a plurality of candidate batches from received orders using one or more batching parameters; evaluate each of the plurality of candidate batches using one or more predetermined batching constraints; determine one or more first candidate batches from the plurality of candidate batches that meet the one or more predetermined batching constraints; evaluate each of the one or more first candidate batches using one or more predetermined trip constraints; determine one or more second candidate batches from the one or more first candidate batches that meet the one or more predetermined trip constraints; obtain a proxy metric using a number of orders of the one or more second candidate batches and a number of the received orders; and input the proxy metric and the one or more batching parameters into the batching system, to update the batching system.

配送サービスに関する配送の需給レベル情報を提供する方法及び装置

NºPublicación:  JP2026509396A 19/03/2026
Solicitante: 
クーパンコーポレイション
JP_2026509396_A

Resumen de: TW202534588A

A method for providing information on an electronic apparatus providing a delivery service, according to an embodiment of the present invention, comprises the steps of: identifying a target area; identifying statistical information related to delivery to the target area; identifying recent information corresponding to the current time related to the delivery to the target area; identifying a delivery supply and demand level on the basis of the statistical information and the recent information; and providing information related to the delivery supply and demand level.

SYSTEM AND METHOD FOR PREDICTION-BASED IMAGING OF COMPUTING DEVICES

NºPublicación:  WO2026059632A1 19/03/2026
Solicitante: 
OPTUM INC [US]
OPTUM, INC
WO_2026059632_A1

Resumen de: WO2026059632A1

Various embodiments of the present disclosure provide methods, apparatus, systems, computing devices, computing entities, and/or the like for receiving pre-imaging data for a plurality of pre-imaged computing devices; generating, using the pre-imaging data, a plurality of data objects that respectively correspond to the plurality of pre-imaged computing devices, wherein a first data object of the plurality of data objects comprises a data construct that describes a first computing device of the plurality of pre-imaged computing devices; receiving a computing device provisioning request comprising one or more hardware specifications and application criteria; determining a computing device from the plurality of pre-imaged computing devices based at least in part on the one or more hardware specifications and the plurality of data objects; generating a custom build instruction identifying the application criteria; and transmitting the custom build instruction to the computing device.

AI駆動型統合インサイトを生成するためのシステムおよび方法

NºPublicación:  JP2026050354A 19/03/2026
Solicitante: 
イングラムマイクロインコーポレーテッド
JP_2026050354_A

Resumen de: EP4708180A1

Computerized systems and methods are described for automated AI-driven customer and vendor segmentation and personalized insights delivery. The method involves collecting real-time data, including purchasing behavior and market trends, analyzing it using AI/ML algorithms for segmentation, and delivering personalized insights through a user-friendly Single Pane of Glass User Interface (SPoG UI). Transaction details are logged for ongoing enhancement. Effectiveness of segmentation is monitored and refined based on user feedback and evolving market dynamics. Multiple data sources and analytics tools are integrated for comprehensive analysis. Users can customize segmentation parameters, and delivery options include push notifications and email alerts. The system facilitates continuous optimization and adaptation, enhancing relevance and precision.

ベンダ非依存型CTO/QTO(注文構成/見積りから注文)を行うためのシステムおよび方法

NºPublicación:  JP2026050355A 19/03/2026
Solicitante: 
イングラムマイクロインコーポレーテッド
JP_2026050355_A

Resumen de: EP4708181A1

Computerized systems and methods are described for managing vendor-agnostic configure-to-order (CTO) and quote-to-order (QTO) processes. A Real-Time Data Mesh (RTDM) is provided for aggregating, standardizing, and normalizing real-time data from various sources. A Single Pane of Glass User Interface (SPoG UI) facilitates dynamic interaction and visibility into vendor performance. An Advanced Analytics and Machine-Learning (AAML) Module analyzes product compatibility, optimizes pricing strategies, and predicts market trends. A Vendor-Agnostic CTO/QTO Integration Module (VACIM) includes a Process Standardization Engine and a Vendor Data Transformation Gateway to ensure uniformity across vendors. Methodologies within the invention automate data processing, integrate transformation gateways for data consistency, and employ rule engines driven by machine learning for decision-making, thereby streamlining vendor processes, enhancing scalability, and optimizing pricing strategies in a scalable, adaptable framework.

リアルタイム注文履行監視

NºPublicación:  JP2026050315A 19/03/2026
Solicitante: 
東芝テック株式会社
JP_2026050315_A

Resumen de: US20260073350A1

Methods and apparatus for automated order placement and fulfillment monitoring are provided. An order is received from a Point of Sale (PoS) device. One or more items in the order are identified. Responsive to receiving a confirmation of the order, a status of each item, among the one or more items in the order, is monitored. A graphical element rendered in a display interface is updated, the graphical element displaying changes in the status of each item within the order.

SYSTEM AND METHOD FOR ELECTRONIC COMMUNICATIONS AND CUSTOMER INTERACTIONS WITH RETAIL STORES

NºPublicación:  WO2026060066A1 19/03/2026
Solicitante: 
MI ITALIA INC [US]
MI ITALIA, INC
WO_2026060066_A1

Resumen de: WO2026060066A1

For each potential retail store of interest indicated by a customer in the store selection, an electronic connection is made between a computer application operated by the customer and an electronic accounting system of each retail store. The electronic accounting system is adjusted in real-time by events occurring at the retail store. Contents of the electronic accounting system are visible, accessible, and adjustable by the computer application in real time. Various other actions can occur such as displaying customer avatars and offering suggestions to customers.

MULTI-ENTITY PLATFORM USING UNIFORM LABELING OF DATA PRODUCTS AND SERVICES

NºPublicación:  US20260080358A1 19/03/2026
Solicitante: 
VENDEX SOLUTIONS INC [US]
Vendex Solutions, Inc
US_20260080358_A1

Resumen de: US20260080358A1

Systems and methods for automatically managing and utilizing the uniform labeling of data packages are disclosed. Specification information can describe many aspects of a data package, and can be analyzed to automatically identify various product attributes and service attributes usable to define the data package. Each of the individual product attributes and service attributes can be encoded into an alphanumeric code, which can be concatenated together to form a single uniform package identifier (UPID) usable to describe the associated data product. Systems and methods can automatically generate UPIDs, automatically find data packages based on search UPIDs, automatically process invoices based on UPIDs, and otherwise leverage the UPIDs to automate the collection, creation, selling, purchasing, trading, redistribution, and/or using of data packages.

INTELLIGENT INVENTORY TRACKING ACROSS SUPPLY-CHAIN NETWORKS

NºPublicación:  US20260080357A1 19/03/2026
Solicitante: 
TRACKFLY INC [US]
TrackFly, Inc
US_20260080357_A1

Resumen de: US20260080357A1

An intelligent supply-chain wide tracking and analysis system is described. In some instances, the system may receive variant data describing a variant of a product from a first client system, generate a variant profile based on the variant data, and determine a connection definition specific to the variant profile and defining a connection between the first client system and a second system. The system may provide access to a first data field containing data in the client profile from the first client system to the second client system based on the connection definition. The system may also receive an inventory value for the variant from the second client system and, using the variant profile and connection definition, provide access to the inventory value to the first client system.

Artificial Intelligence Agent Using a Machine-Learning Model and Reinforcement Learning Model to Guide Picking Process

NºPublicación:  US20260080355A1 19/03/2026
Solicitante: 
MAPLEBEAR INC [US]
Maplebear Inc
US_20260080355_A1

Resumen de: US20260080355A1

An artificial intelligence (AI) agent is disclosed that assists an entity to complete a task. The entity is assigned to complete a task. The AI agent monitors events to detect an occurrence of an event associated with the task. A machine learning model of the AI agent is prompted to generate a set of candidate actions based in part on the detected event and data about the entity. A reinforcement learning model of the AI agent scores each candidate action from the set to tailor the candidate actions to the entity. A scored action is selected as a recommended response to the event and is communicated to a client device of the entity which causes the entity to perform the selected action.

METHODS AND SYSTEM FOR TRACKING PRODUCTION BYPRODUCTS

NºPublicación:  US20260080340A1 19/03/2026
Solicitante: 
EPICOR SOFTWARE CORP [US]
Epicor Software Corporation
US_20260080340_A1

Resumen de: US20260080340A1

Embodiments of the disclosure provide systems and methods for monitoring of manufacturing processes and tracking of production byproducts. Monitoring of manufacturing processes and tracking of production by-products can comprise reading a Bill of Materials (BOM) for a product. A component cost value for a by-product can be assigned for each component of the plurality of components in the BOM for the product. A process cost value for the by-product can be calculated for each manufacturing process of a plurality of manufacturing processes to produce the product using the plurality of components. The component cost value for the by-product for each component and the process cost value for the by-product for each manufacturing process can be accumulated into a total by-product cost value for the product. The total by-product cost value for the product can be provided.

FORECASTING USING TOPOLOGICAL HIERARCHICAL DECOMPOSITION

NºPublicación:  WO2026060047A1 19/03/2026
Solicitante: 
MINED XAI LLC [US]
MINED XAI LLC
WO_2026060047_A1

Resumen de: WO2026060047A1

An example computer-implemented method for temporal data analysis and forecasting utilizes topological hierarchical decompositions to process historical and future time windows. The method receives sales data and purchase data for at least one item and generates multiple sets of historical time subsets with varying lengths, where information in shorter subsets is duplicated in longer ones. Future time windows are also generated in a similar manner. Future time windows are chronologically after a given initial time. The method creates past and future topological hierarchical decompositions and directed graph adjacency arrays. Customer attention matrices are generated for past and future windows, and matrix multiplications are performed to create self-attention arrays. These arrays are then multiplied together. The method culminates in providing a dashboard for forecasting after an initial time point, enabling comprehensive temporal data analysis and prediction.

SHOPPING CART INVENTORY CHANGE INDICATOR SYSTEM

NºPublicación:  WO2026058258A1 19/03/2026
Solicitante: 
CUST2MATE LTD [IL]
CUST2MATE LTD
WO_2026058258_A1

Resumen de: WO2026058258A1

A shopping cart system is disclosed which integrates multiple technologies for enhanced inventory management and theft detection. The system includes a barcode scanner, camera computer-vision system for real-time product recognition, a security scale to detect weight discrepancies, and an anomaly detection module for monitoring shopper behavior and identifying theft-related patterns. These components collectively improve inventory accuracy and security within retail environments.

SYSTEMS AND METHODS FOR DESIGNING CLEAN ENERGY SYSTEMS

NºPublicación:  WO2026055764A1 19/03/2026
Solicitante: 
LUMMIFY INC [CA]
LUMMIFY INC
WO_2026055764_A1

Resumen de: WO2026055764A1

Systems and methods for designing clean energy systems are disclosed that optimize a design of a clean energy system. A computer-implemented method of designing a clean energy system comprises receiving, from a user device, design parameters for the clean energy system, the design parameters including project information and an objective function to optimize a design of the clean energy system; determining available equipment from one or more equipment providers; determining an optimal system configuration and an optimal equipment selection for the clean energy system by iterating combinations of the available equipment and system configurations and calculating the objective function for each combination of equipment and system configuration; and outputting the design of the clean energy system comprising the optimal system configuration and the optimal equipment selection for display in a user interface of the user device.

BATHROOM MODULAR DEVICE, BATHROOM MANAGING SYSTEM, AND BATHROOM MANAGING METHOD

NºPublicación:  US20260076514A1 19/03/2026
Solicitante: 
KOHLER CO [US]
Kohler Co
US_20260076514_A1

Resumen de: US20260076514A1

A bathroom modular device includes a base, including a lower surface, configured to be connected to a bathroom fixture and includes a module assembly having a plurality of modules, at least one module configured to be removably connected to the lower surface of the base. A managing system includes a bathroom modular device and a server communicably connected to the modular device. The bathroom modular device includes a base configured to be connected to a bathroom fixture and comprising a lower surface. The bathroom modular device also includes a module assembly comprising a plurality of modules, at least one module configured to be removably connected to a lower surface of the base. A bathroom managing method includes receiving a detection result obtained by a sensor; determining whether the received detection result satisfies at least one condition defined by a predetermined value; and generating a notification to perform corresponding maintenance work.

SYSTEM AND METHOD FOR AUTOMATICALLY TRANSMITTING ALERT MESSAGES BASED ON TIME AND LOCATION MONITORING IN VEHICLE JOURNEY SUPERVISION

NºPublicación:  US20260079013A1 19/03/2026
Solicitante: 
SAUDI ARABIAN OIL COMPANY [SA]
Saudi Arabian Oil Company
US_20260079013_A1

Resumen de: US20260079013A1

System and method adapted to: obtain a plurality of parameters for a planned journey of a vehicle associated with a computing device; determine, based on the plurality of parameters, whether the planned journey includes at least one special condition; when the planned journey includes at least one special condition, activating journey monitoring; the journey monitoring including: obtaining a location of the vehicle; comparing the obtained location to an expected location; when the obtained location exceeds a predetermined distance from the expected location, determining, in an iterative or recursive manner, whether an updated arrival time has been received from the computing device or the vehicle, when the updated arrival time has not been received after a predetermined time period, transmitting an alert to another computing device associated with an operator; and transmitting a request for emergency services when an iteration count for the determining is exceeded.

ENVIRONMENTALLY FRIENDLY METHOD OF SUPPLYING WINE AT A DISPENSING LOCATION, WINE DISPENSING SYSTEM AND CABINET

NºPublicación:  US20260077994A1 19/03/2026
Solicitante: 
FIDUCIE DES BRAVES 2021 [CA]
FIDUCIE DES BRAVES 2021
US_20260077994_A1

Resumen de: US20260077994A1

There is described a wine supply system. The wine supply system generally has a tank in a source building, the tank containing wine; a plurality of ducts extending between the tank and a corresponding plurality of dispensing buildings remote from the source building and from one another, at least some wine being forcingly guided from the tank to the dispensing buildings via the plurality of ducts; and a temperature maintaining device disposed along the plurality of ducts outside of the source building and the plurality of dispensing buildings, the temperature maintaining device configured for at least one of heating and cooling said ducts to maintain the wine within a given temperature range.

AUTHENTICATION SYSTEM FOR USE WITH PHARMACEUTICALS

NºPublicación:  US20260081784A1 19/03/2026
Solicitante: 
I PROPERTY HOLDING CORP [US]
I-Property Holding Corp
US_20260081784_A1

Resumen de: US20260081784A1

An authentication system reads at random or in a predetermined sequence a few, typically 3 to 5, unique product identifiers inside the package to decide whether the content is authentic or not. This cross-referencing check does not require a database connection to a central repository or database. The unique product identifiers are produced when pharmaceutical products are manufactured using embossing, for example, and a product sequence is defined by physical attributes and locations of pharmaceutical products in the packaging, the product sequence then being encrypted and used to mark the packaging of the one or more packaging levels with a coding. The coding is used to authenticate the products in the packaging downstream in the supply chain.

PACKAGE SIMILARITY SEARCH FOR LOST ITEM IDENTIFICATION

NºPublicación:  US20260080660A1 19/03/2026
Solicitante: 
SICK PRODUCT & COMPETENCE CENTER AMERICAS LLC [US]
SICK Product & Competence Center Americas, LLC
US_20260080660_A1

Resumen de: US20260080660A1

A first object out of a plurality of objects that have passed an object handling system is identified. To that end, image embeddings of images of the plurality of objects are generated by a multimodal object finder model that includes at least one neural network. A first object description text describing the first object is passed to the multimodal object finder model to generate a text embedding. Using a similarity search, a most similar image embedding among the image embeddings that is most similar to the text embedding is found, and a corresponding image and/or a text is output.

SECURITY, TRACKING DEVICE, AND MORE

NºPublicación:  US20260080718A1 19/03/2026
Solicitante: 
MATEER CRAIG [US]
Mateer Craig
US_20260080718_A1

Resumen de: US20260080718A1

Various methods and systems for tracking a luggage item of a passenger are disclosed. They may include, tracking, by at least one processor, a tracking device associated with the luggage item; and loading security screening information into memory of the tracking device, after the luggage item is screened by a first baggage screening requirement to travel using a first mode of travel. The method and systems may include generating, by at least one of the at least one processor, a baggage information message that includes the security screening information to a network interface of a computing system to screen the luggage item for a security threat that is the same as or lower than a first baggage screening requirement. This may enable the bypass rescreening of the luggage item at the second baggage screening requirement to transfer travel from the first mode of travel to a second mode of travel.

DEMAND FORECASTING SYSTEM

NºPublicación:  US20260080423A1 19/03/2026
Solicitante: 
TARGET BRANDS INC [US]
Target Brands, Inc
US_20260080423_A1

Resumen de: US20260080423A1

Aspects of the present disclosure relate to a demand forecasting system. The demand forecasting system may include components for developing forecasting models, generating demand forecasts, and handling outputs of demand forecasting models. In some embodiments, the demand forecasting system may include a model training system and one or more components that can be used by the model training system to improve model performance.

SYSTEM & ARCHITECTURE FOR CONTRACTOR SUPPORT SERVICES

NºPublicación:  US20260080446A1 19/03/2026
Solicitante: 
TRI FORCE MAN APPLICATIONS LLC [US]
TRI FORCE MANAGEMENT APPLICATIONS, LLC
US_20260080446_A1

Resumen de: US20260080446A1

In one or more arrangements, a system is provided for provision of contractor support services. In one or more arrangements, the system includes a front end system providing a user interface for a contractor to access a backend system having a pricing system. In response to the contractor selecting a list of materials, the pricing system is configured to determine contractor-specific pricing for the list of materials from a plurality of supplier systems. In one or more arrangements, the backend system includes one or more contractor support systems communicatively connected to the pricing system to facilitate, for example: review of designs and specifications for a job; input, review, editing of information for configuration of parameters for job completion; determination of materials for the job; estimation of costs based on the contractor-specific pricing data; generation of bid proposals; tracking and/or management of bids, among other services.

Bulk Order Placement and On Demand Fulfillment

NºPublicación:  US20260080455A1 19/03/2026
Solicitante: 
REBUY INC [US]
Rebuy, Inc
US_20260080455_A1

Resumen de: US20260080455A1

A bulk-on-demand (BOD) platform integrates with merchant e-commerce systems to let consumers buy bulk packages but redeem individual units later. A merchant configures a BOD definition, including a bulk product identifier, permissible product variants, total and minimum redemption quantities, and variant combination rules, via a user interface. The platform subscribes to order notifications from the merchant's e-commerce backend using an authorization token, detects BOD purchases, and credits a persistent vault associated with the buyer's account. The vault stores purchased and remaining quantities with a redemption history across multiple merchants. Customers redeem units through a customer-facing application; the platform validates requested quantities and variant selections, updates the vault, generates a structured fulfillment order including shipping information, and transmits the order for fulfillment. Notifications inform customers of updated balances and available options.

INDUSTRIAL INVENTORY TRACKING

NºPublicación:  US20260080360A1 19/03/2026
Solicitante: 
IYENGAR MAANAV [US]
Iyengar Maanav
US_20260080360_A1

Resumen de: US20260080360A1

An automation module deployed in static or mobile form around an inventory facility such as a warehouse employs multiple modes of sensors for continuously gathering inventory signals indicative of a location, type and quantity of each of the types of items stored in the inventory facility. An auditing server receives the inventory signals from each of the automation modules around the inventory facility for aggregating and coalescing the inventory signals to eliminate duplicate references and compute a discrete quantity and location of each type of item in the inventory facility. The automation modules may be adhered to a vehicle such as a forklift, installed on the weight-bearing prongs of the forklift, and/or affixed to walls or exit doorways, and each automation module may gather sensor data through video, weight, Lidar, inertial/gyroscopic, GPS (Global Positioning System) and other mediums that may aid in accurate cataloging and auditing of warehouse contents.

Integrated Multi-Domain AI Camera System for Security, Workforce Analytics, Inventory Management, and Physiological Monitoring

NºPublicación:  US20260080687A1 19/03/2026
Solicitante: 
ODEH SAMUEL [US]
Odeh Samuel
US_20260080687_A1

Resumen de: US20260080687A1

An integrated artificial intelligence camera system provides multi-domain monitoring and enterprise automation from a single hardware endpoint. A camera assembly and auxiliary sensors, including at least one of depth, thermal, audio and environmental sensors, feed an edge compute module executing modular perception, identity, physiological estimation and domain-logic pipelines. The system detects and tracks persons, objects and activities; generates pseudonymous identity tokens for enrolled workers; estimates breathing rate and related wellness indicators from non-contact visual and thermal signals; and transforms these outputs into normalized event records annotated with security, inventory, workforce, payroll, physiological and compliance labels. A unified event model standardizes timestamps, device identifiers, site and zone identifiers, actor identifiers, metrics, confidence scores, policy tags and evidence references, enabling direct integration with payroll, inventory management, security incident and analytics platforms. A policy engine governs feature activation, anonymization and retention per jurisdiction and user role.

DEMAND FORECASTING SYSTEM

NºPublicación:  US20260080425A1 19/03/2026
Solicitante: 
TARGET BRANDS INC [US]
Target Brands, Inc
US_20260080425_A1

Resumen de: US20260080425A1

Aspects of the present disclosure relate to a demand forecasting system. The demand forecasting system may include components for developing forecasting models, generating demand forecasts, and handling outputs of demand forecasting models. In some embodiments, the demand forecasting system may include a model training system and one or more components that can be used by the model training system to improve model performance.

DEMAND FORECASTING SYSTEM

NºPublicación:  US20260080422A1 19/03/2026
Solicitante: 
TARGET BRANDS INC [US]
Target Brands, Inc
US_20260080422_A1

Resumen de: US20260080422A1

Aspects of the present disclosure relate to a demand forecasting system. The demand forecasting system may include components for developing forecasting models, generating demand forecasts, and handling outputs of demand forecasting models. In some embodiments, the demand forecasting system may include a model training system and one or more components that can be used by the model training system to improve model performance.

FEATURE SELECTION FOR A DEMAND FORECASTING SYSTEM

NºPublicación:  US20260080426A1 19/03/2026
Solicitante: 
TARGET BRANDS INC [US]
Target Brands, Inc
US_20260080426_A1

Resumen de: US20260080426A1

Aspects of the present disclosure relate to a demand forecasting system. The demand forecasting system may include components for developing forecasting models, generating demand forecasts, and handling outputs of demand forecasting models. In some embodiments, the demand forecasting system may include a model training system and one or more components that can be used by the model training system to improve model performance.

SYSTEMS AND METHODS FOR DEVICE INVENTORY MANAGEMENT AND TRACKING

NºPublicación:  US20260081008A1 19/03/2026
Solicitante: 
ZOLL MEDICAL CORP [US]
ZOLL Medical Corporation
US_20260081008_A1

Resumen de: US20260081008A1

An inventory management system includes a wearable cardiac device comprising an associated plurality of separate wearable cardiac device components stored as inventory at a first inventory location; a plurality of communication interface circuits associated with a corresponding one of the plurality of separate wearable cardiac device components and configured to facilitate transmission of inventory information through a network; at least one server device disposed at a central location and comprising a processor; and a memory comprising instructions that cause the processor to receive the inventory information from the plurality of communication interface circuits; receive a prescription for a patient; retrieve one or more prescription parameters based on the prescription; locate, in the inventory information, the wearable cardiac device based on the prescription parameters; determine a deployment status of the wearable cardiac device; and select the wearable cardiac device for the patient.

Managed connecting service for mass transit baggage

NºPublicación:  AU2026201478A1 19/03/2026
Solicitante: 
AIR BLACK BOX TECH LLC
Air Black Box Technologies LLC
AU_2026201478_A1

Resumen de: AU2026201478A1

Systems and methods for interlining checked bags between two unaffiliated airlines. The traveler may purchase the interlining service and be assured that the checked bags associated with that service will be automatically transferred from their first flight to their next flight. The traveler does not have to collect the checked bag, and then re-check it onto the second flight, which may allow a traveler to stay with in the security zone of the airport, where permitted by airport flow. eb e b

Training a neural database for entity matching

NºPublicación:  AU2025201913A1 19/03/2026
Solicitante: 
INTUIT INC
Intuit Inc
AU_2025201913_A1

Resumen de: AU2025201913A1

Certain aspects of the disclosure provide a method of training a neural database for entity matching. In examples, a method may include: extracting, from an electronic data repository, entity data related to a first entity that provides a good or a service; transforming the entity data into structured entity data configured to be processed by a machine learning model; processing the structured entity data with the machine learning model to generate metadata associated with the structured entity data; augmenting the structured entity data with the metadata associated with the structured entity data; and training the neural database based on the augmented structured entity data to predict one or more second entities that supply materials for the first entity and associated with the good or the service. Certain aspects of the disclosure provide a method of training a neural database for entity matching. In examples, a method may include: extracting, from an electronic data repository, entity data related to a first entity that provides a good or a service; transforming the entity data into structured entity data configured to be processed by a machine learning model; processing the structured entity data with the machine learning model to generate metadata associated with the structured entity data; augmenting the structured entity data with the metadata associated with the structured entity data; and training the neural database based on the augmented structured entity data to

SYSTEM AND METHOD FOR FACILITATING BUYING AND/OR RENTAL OF ONE OR MORE VEHICLES FOR RECREATIONAL PURPOSES

NºPublicación:  AU2025223769A1 19/03/2026
Solicitante: 
KRUZER PTY LTD
Kruzer PTY LTD
AU_2025223769_A1

Resumen de: AU2025223769A1

SYSTEM AND METHOD FOR FACILITATING BUYING AND/OR RENTAL OF ONE OR MORE VEHICLES FOR RECREATIONAL PURPOSES Abstract The present invention provides a system for facilitating buying and/or rental of one or more vehicles for recreational purposes. The system comprising one or more handheld devices associated with the one or more vehicles, a plurality of sensors operatively connected to the one or more vehicles, a user module integrated with each of the one or more handheld devices, a management module configured to monitor the one or more vehicles, manage battery status, track real-time locations, and interact with the user module, a dynamic pricing module configured to adjust fees based on predetermined factors and a communication module configured to enable communication between the handheld devices, sensors, user module, management module, and dynamic pricing module. Further, a method for facilitating buying and/or rental of one or more vehicles for recreational purposes is provided. Fig. 1 SYSTEM AND METHOD FOR FACILITATING BUYING AND/OR RENTAL OF ONE OR MORE VEHICLES FOR RECREATIONAL PURPOSES Abstract The present invention provides a system for facilitating buying and/or rental of one or more vehicles for recreational purposes. The system comprising one or more handheld devices associated with the one or more vehicles, a plurality of sensors operatively connected to the one or more vehicles, a user module integrated with each of the one or more handheld devices, a management

SYSTEM AND METHOD FOR MONITORING A PLURALITY OF ANIMALS

NºPublicación:  AU2024331471A1 19/03/2026
Solicitante: 
XSIGHTS DIGITAL PTY LTD
XSIGHTS DIGITAL PTY LTD
AU_2024331471_PA

Resumen de: AU2024331471A1

Embodiments of the invention relate to a system and method for monitoring a plurality of animals, such as farm animals. The system comprises a plurality of monitoring devices, a plurality of gateway devices, and remote computing device. The system is configured such that when the plurality of gateway devices are positioned at or in close proximity of the points of interests and the plurality of monitoring devices are attached to respective animals, data is automatically and continuously communicated from the monitoring devices to be received by one or more of the plurality of gateway devices that are within range of the first communication technology, and from the plurality of gateway devices to the remote computing device; and wherein the remote computing device is configured to analyse the received data to identify an animal of interest.

SYSTEMS AND METHODS FOR AUTONOMOUSLY DERIVING COMMODITY CONSUMPTION

NºPublicación:  AU2024219539A1 19/03/2026
Solicitante: 
KERPOWER UK LTD
Kerpower UK Ltd
AU_2024219539_A1

Resumen de: AU2024219539A1

Systems, apparatuses, methods, and computer program products are disclosed for autonomously deriving consumption of fuel. An example method includes receiving a transaction request and determining a fuel pump location associated with a fuel pump identifier. The example method further includes determining a current price of a fuel type at the fuel pump terminal based on the fuel pump location and deriving a total fuel redemption volume based on the current price of the fuel type. The example method further includes updating a fuel availability data structure associated with a user account. Systems, apparatuses, methods, and computer program products are disclosed for autonomously deriving consumption of fuel. An example method includes receiving a transaction request and determining a fuel pump location associated with a fuel pump identifier. The example method further includes determining a current price of a fuel type at the fuel pump terminal based on the fuel pump location and deriving a total fuel redemption volume based on the current price of the fuel type. The example method further includes updating a fuel availability data structure associated with a user account.20 ep e p Example Implementation of 406 Receive a user device location from a user device To User device location sufficiently proximate commodity terminal location? Transmit confirmation request to user device From 404 Confirmation response verifies authenticity of transaction request? Decline transaction r

Verfahren und System zum Ermitteln einer Beladereihenfolge von Fahrzeugen auf Ladeebenen eines Schiffes sowie Computerprogrammprodukt

NºPublicación:  DE102024126846A1 19/03/2026
Solicitante: 
BAYERISCHE MOTOREN WERKE AG [DE]
Bayerische Motoren Werke Aktiengesellschaft

Resumen de: DE102024126846A1

Die Erfindung betrifft ein computerimplementiertes Verfahren zum Ermitteln einer Beladereihenfolge von Fahrzeugen (14) auf Ladeebenen (12) eines Schiffes (10), wobei die Fahrzeuge (14) in Fahrzeugreihen angeordnet sind, das folgende Schritte aufweist: a. Ermitteln einer Ladeebene (12) für jede Fahrzeugreihe auf Basis wenigstens eines Fahrzeugparameters, wenigstens eines Ladeebenenparameters und/oder wenigstens eines Fahrzeugpositions-parameters mittels eines Optimierungsalgorithmus; und b. Ermitteln einer Beladereihenfolge für jede Fahrzeugreihe auf Basis der in Schritt a) ermittelten Ladeebenen (12) mittels eines heuristischen Algorithmus. Des Weiteren betrifft die Erfindung ein System zum Ermitteln einer Beladereihenfolge von Fahrzeugen auf Ladeebenen eines Schiffes sowie ein Computerprogrammprodukt.

Transportbox zum Transport insbesondere von Lebensmitteln, Lebensmittelrohstoffen und Fleischnebenprodukten, System zur Ordnung einer solchen Transportbox, Ortnungsnetzwerk, Verfahren zur Positionsbestimmung einer Transportbox und Verfahren zum Betrieb eines Ordnungsnetzwerks

NºPublicación:  DE102024003006A1 19/03/2026
Solicitante: 
DECKER LUDWIG [NL]
Decker, Ludwig

Resumen de: DE102024003006A1

Es wird eine Transportbox (1) zum Transport insbesondere von Lebensmitteln, Lebensmittelrohstoffen und Fleischnebenprodukten vorgeschlagen, welche einen drahtlos lokalisierbaren Chip (2) aufweist. Ferner werden ein System (100) zur Ortung einer Transportbox (1), ein Ortungsnetzwerk (200), ein Verfahren zur Positionsbestimmung einer Transportbox (1) sowie ein Verfahren zum Betrieb eines Ortungsnetzwerks (200) vorgeschlagen.

Verfahren zur landwirtschaftlichen Bewässerung als geschlossener Kreislauf

NºPublicación:  DE102024003015A1 19/03/2026
Solicitante: 
STOTZ IM UND EXP GMBH [DE]
Stotz Im- und Export GmbH
DE_102024003015_PA

Resumen de: DE102024003015A1

Verfahren zur ökologisch optimalen Bewirtschaftung von landwirtschaftlichen Nutzflächen umfassend: Düngen und Bewässern von landwirtschaftlicher Nutzfläche und Übermitteln der Orte und der Menge der Düngung und/oder Bewässerung und der Menge und des Wachstumsstadiums der bewirtschafteten Nutzpflanzen über GPS an einen Satelliten (1).

METHOD FOR ADAPTING AND/OR RENOVATING USED BUILT-IN FURNITURE, AND BUILT-IN FURNITURE

NºPublicación:  WO2026057704A1 19/03/2026
Solicitante: 
SMYRNA DESIGN GMBH [DE]
SMYRNA DESIGN GMBH
WO_2026057704_A1

Resumen de: WO2026057704A1

The invention relates to a method for adapting and/or renovating used built-in furniture, each element of the built-in furniture, each subassembly of the built-in furniture and the built-in furniture itself having an individual ID, and each ID being linked to stored data, and to built-in furniture having multiple elements and to a software program for carrying out the method.

無線タグ通信装置および無線タグ通信プログラム

Nº publicación: JP2026049978A 19/03/2026

Solicitante:

東芝テック株式会社

JP_2026049978_A

Resumen de: US20260073345A1

According to an embodiment, a wireless tag communication apparatus checks an identification code of a wireless tag read by a reading device against a box list that is a list of identification codes of wireless tags attached to shipping boxes to identify a shipping box to which the wireless tag read by the reading device is attached. Further, the wireless tag communication apparatus creates a shipping list that is a list of the identification code of the wireless tag attached to the identified shipping box and identification codes of wireless tags attached to articles put in the shipping box.

traducir