Ministerio de Industria, Turismo y Comercio LogoMinisterior
 

Neoplasias hematológicas: Leucemias, Linfomas y Mielomas

Resultados 61 resultados
LastUpdate Última actualización 15/04/2026 [06:45:00]
pdfxls
Solicitudes publicadas en los últimos 30 días / Applications published in the last 30 days
Resultados 1 a 61  

IMMUNOTHERAPY

NºPublicación:  WO2026074291A1 09/04/2026
Solicitante: 
THE CHANCELLOR MASTERS AND SCHOLARS OF THE UNIV OF OXFORD [GB]
WO_2026074291_A1

Resumen de: WO2026074291A1

The invention relates to immunotherapy, and to invariant natural killer T (iNKT) cells, and iNKT cell immunotherapy. The invention concerns CAR-iNKT cell immunotherapy, in particular, mono- and bi-specific CAR-iNKT cell immunotherapy, as well as pharmaceutical compositions comprising these iNKT cells, and to their use in therapy, as well as therapies and methods for treating, preventing, or ameliorating cancer or infection. The invention also concerns the treatment of various leukaemias, such as acute lymphoblastic leukaemia (ALL), including infant ALL.

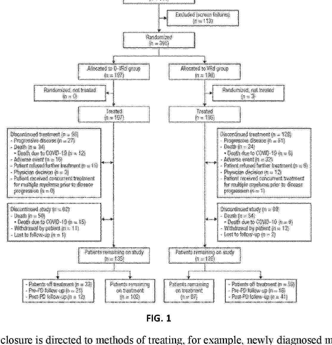
DARATUMUMAB.BORTEZOMIB, LENALIDOMIDE AND DEXAMETHASONE FOR TREATING MULTIPLE MYELOMA

NºPublicación:  AU2025316407A1 09/04/2026
Solicitante: 
JANSSEN BIOTECH INC
AU_2025316407_PA

Resumen de: AU2025316407A1

The present disclosure is directed to methods of treating, for example, newly diagnosed multiple myeloma.

CD19/C22 CAR T-CELL TREATMENT OF HIGH RISK OR RELAPSED PEDIATRIC ACUTE LYMPHOBLASTIC LEUKEMIA

NºPublicación:  US20260097122A1 09/04/2026
Solicitante: 
AUTOLUS LTD [GB]
US_20260097122_A1

Resumen de: US20260097122A1

The present disclosure relates to CD19/22 CAR T-cell products and methods for treating high risk or relapsed CD19+ or CD22+ haematological malignancies.

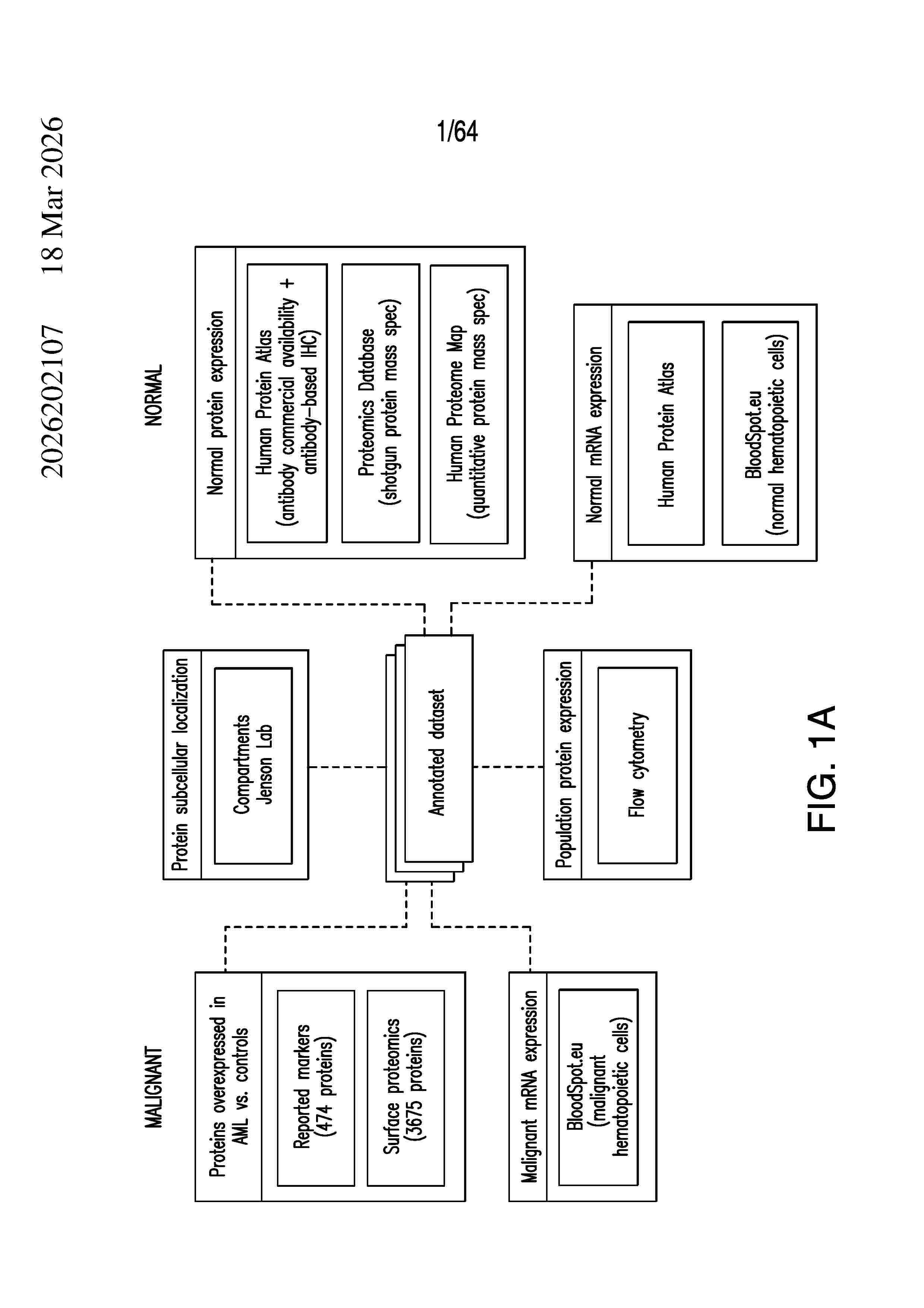
Cancer antigen targets and uses thereof

NºPublicación:  AU2026202107A1 09/04/2026
Solicitante: 
MEMORIAL SLOAN KETTERING CANCER CENTER
AU_2026202107_A1

Resumen de: AU2026202107A1

The presently disclosed subject matter provides methods and compositions for treating myeloid disorders (e.g., acute myeloid leukemia (AML)). It relates to immunoresponsive cells bearing antigen recognizing receptors (e.g., chimeric antigen receptors (CARs)) targeting AML-specific antigens. 5 ar a r

ENHANCEMENT OF CAR-T CELL EFFICACY BY INHIBITING NR2F6

NºPublicación:  AU2024339935A1 09/04/2026
Solicitante: 
MEDIZINISCHE UNIV INNSBRUCK
AU_2024339935_A1

Resumen de: AU2024339935A1

The invention relates to a modified immune cells for use in the treatment of a solid tumor in a subject, wherein the modified immune cell comprises one or more exogenous nucleic acid molecules encoding a transgenic construct targeting an antigen expressed in a cancerous cell of said solid tumor, in said immune cell, Nuclear Receptor Subfamily 2 Group F Member 6 (NR2F6) activity is inhibited (in comparison to a control immune cell), and binding of the immune cell to the antigen is associated with death of said cancerous cell expressing the antigen, and inducing a secondary immune reaction in the subject against cancerous cells of the solid tumor, wherein said secondary immune reaction is non-specific to the antigen targeted by the transgenic construct (epitope spreading). The invention relates further to a modified immune cell comprising one or more exogenous nucleic acid molecules encoding a transgenic construct targeting an antigen expressed in a cancerous cell of a solid tumor, wherein in said cell, NR2F6 activity and Casitas B-lineage lymphoma proto-oncogene-b (CBLB) activity is inhibited (compared to a control immune cell). The invention relates further to a pharmaceutical composition comprising the modified immune, suitable for the treatment of a solid tumor, comprising additionally a pharmaceutically acceptable carrier, and to an in vitro method for enhancing the cytolytic activity of a modified immune cell.

IMMUNOTOXIN-BASED TARGETED THERAPY FOR CANCER

NºPublicación:  US20260098097A1 09/04/2026
Solicitante: 
THE REGENTS OF THE UNIV OF COLORADO A BODY CORPORATE [US]
US_20260098097_A1

Resumen de: US20260098097A1

0000 Methods of treating various types of cancer, including cutaneous T-cell lymphoma, involve administering a therapeutically effective amount of a pharmaceutical composition containing a genetically engineered C-C motif chemokine receptor 4 bispecific immunotoxin, alone, or in combination with one or more additional therapeutic agents, such as a pharmaceutical composition containing an antibody-drug conjugate.

USE OF INHIBITORS OF THE N-ACETYLASPARTATE SYNTHETASE FOR THE TREATMENT OF ACUTE MYELOID LEUKEMIAS

NºPublicación:  WO2026074142A1 09/04/2026
Solicitante: 
INSTITUT NATIONAL DE LA SANTE ET DE LA RECH MEDICALE [FR]
CENTRE HOSPITALIER UNIV DE BORDEAUX [FR]
UNIV DE BORDEAUX [FR]
WO_2026074142_A1

Resumen de: WO2026074142A1

OF THE INVENTION USE OF INHIBITORS OF THE N-ACETYLASPARTATE SYNTHETASE FOR THE TREATMENT OF ACUTE MYELOID LEUKEMIAS Acute Myeloid Leukemias (AML) are characterized by the proliferation of immature blood cells, leading to suppression of normal hematopoiesis. Despite existing treatments, resistance and relapse are common. A metabolomic analysis revealed increased N-Acetyl-Aspartate (NAA) levels in leukemic cells compared to normal HSCs, with high NAA levels linked to poor prognosis. The inventors studied the gene NAT8L, responsible for NAA synthesis, and found correlations with patient survival. Using CRISPR-cas9, the inventors targeted NAT8L in AML cell lines and observed that NAA depletion improved response to treatments and increased survival in vivo. Inhibiting NAA synthetase thus represents a therapeutic strategy to enhance chemotherapy efficacy and prevent relapse in AML patients.

METHOD FOR ASSESSING CLINICAL STAGE OR PREDICTING PROGNOSIS FOR CHEMOTHERAPY IN DOG WITH LYMPHOMA

NºPublicación:  WO2026075450A1 09/04/2026
Solicitante: 
INDUSTRY ACADEMIC COOPERATION FOUNDATION GYEONGSANG NATIONAL UNIV [KR]
\uACBD\uC0C1\uAD6D\uB9BD\uB300\uD559\uAD50\uC0B0\uD559\uD611\uB825\uB2E8
WO_2026075450_A1

Resumen de: WO2026075450A1

The present invention relates to a method for assessing disease severity or a clinical stage of, or predicting prognosis for chemotherapy in, dogs suffering from lymphoma. According to the present invention, in dogs suffering from lymphoma, it has been confirmed that CD34-positive expression is associated with a higher risk of cranial mediastinal lymph node metastasis and fever compared to CD34-negative expression; and since the CD34-positive expression is classifiable as a clinical disease within the WHO clinical substages, CD34 positivity can serve as an indicator of poor prognosis. In addition, it has been confirmed that MHC class II (MHCII)-positive expression is associated with a higher risk of fever and adverse effects from chemotherapy compared to MHCII-negative expression, and thus can serve as an indicator of favorable prognosis. Accordingly, the present invention may contribute not only to preserving companion dog health and reducing medical expenses for pet owners, but also to improving the quality of veterinary consultations.

TREATMENT OF LYMPHOMAS USING AN EZH2 INHIBITOR

NºPublicación:  WO2026076264A1 09/04/2026
Solicitante: 
TREELINE BIOSCIENCES INC [US]
WO_2026076264_A1

Resumen de: WO2026076264A1

Provided here are methods of treating lymphomas for example, peripheral T-cell lymphomas (PTCLs) (e.g., nodal Tfh cell lymphomas) and/or cutaneous T-cell lymphomas (CTCLs) in a subject, by administering to the subject Compound A, or a pharmaceutically acceptable salt thereof. In some cases, the lymphomas are BCL6 positive. In some cases, the lymphomas are relapsed or refractory. In some cases, the subjects are treatment-naïve (i.e., previously untreated).

CELLS EXPRESSING CHIMERIC ANTIGEN RECEPTORS AND A GLUTAMINE TRANSPORTER, USES AND METHODS THEREOF

NºPublicación:  WO2026074086A1 09/04/2026
Solicitante: 
FUNDACION PARA LA INVESTIG MEDICA APLICADA [ES]
UNIV DE NAVARRA [ES]
WO_2026074086_A1

Resumen de: WO2026074086A1

The present invention relates to cells expressing chimeric antigen receptors against BCMA and a glutamine transporter, and uses thereof in the treatment of cancer or autoimmune diseases. The invention also relates to a method for the prognosis of multiple myeloma in a subject.

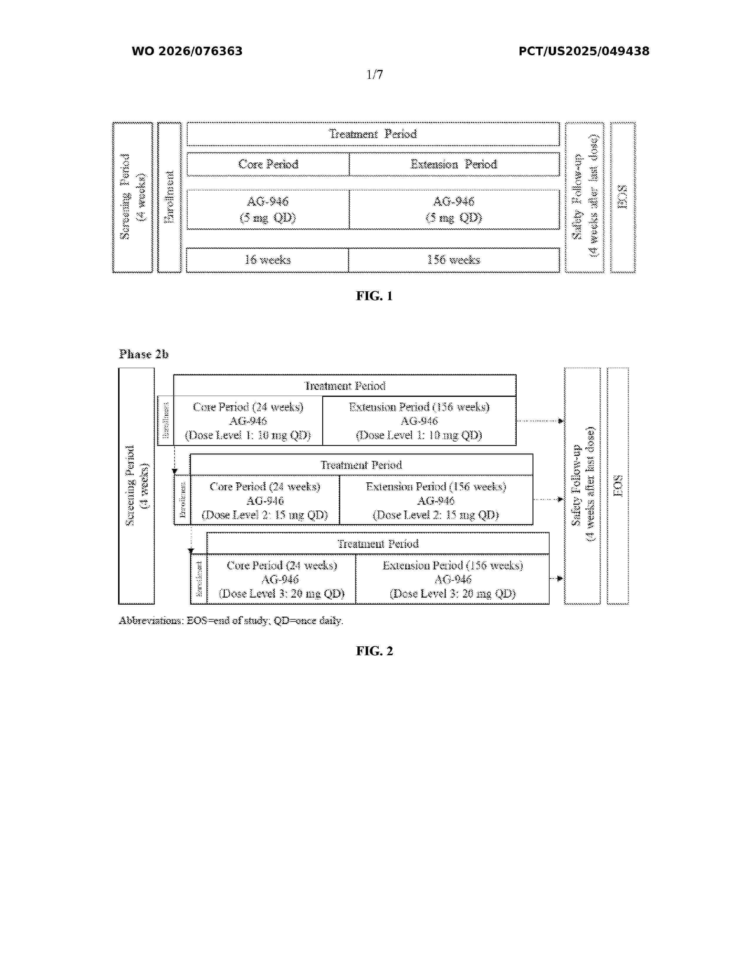
COMPOUNDS FOR TREATING MDS-ASSOCIATED ANEMIAS AND OTHER CONDITIONS

NºPublicación:  WO2026076363A1 09/04/2026
Solicitante: 
AGIOS PHARMACEUTICALS INC [US]
WO_2026076363_A1

Resumen de: WO2026076363A1

Provided herein is the use of particular dose levels or amounts of certain pyruvate kinase activators or pharmaceutically acceptable salts or compositions thereof, for treating anemia associated with low risk MDS, lower risk MDS and/or intermediate risk MDS (collectively, LRMDS) and other conditions.

METHODS FOR TREATING MULTIPLE MYELOMA

NºPublicación:  EP4719604A1 08/04/2026
Solicitante: 
JANSSEN BIOTECH INC [US]
EP_1000000_PA

Resumen de: EP1000000A1

The invention relates to an apparatus (1) for manufacturing green bricks from clay for the brick manufacturing industry, comprising a circulating conveyor (3) carrying mould containers combined to mould container parts (4), a reservoir (5) for clay arranged above the mould containers, means for carrying clay out of the reservoir (5) into the mould containers, means (9) for pressing and trimming clay in the mould containers, means (11) for supplying and placing take-off plates for the green bricks (13) and means for discharging green bricks released from the mould containers, characterized in that the apparatus further comprises means (22) for moving the mould container parts (4) filled with green bricks such that a protruding edge is formed on at least one side of the green bricks.

USE OF PHARMACEUTICAL COMPOSITION COMPRISING COMPOUND HAVING BIS(AZANYLYLIDENE) SULFONYL STRUCTURE FOR TREATING ANEMIA-RELATED DISEASES

NºPublicación:  EP4721737A1 08/04/2026
Solicitante: 
SCINNOHUB PHARMACEUTICAL CO LTD [CN]
EP_4721737_A1

Resumen de: EP4721737A1

Use of a pharmaceutical composition comprising a new compound comprising diazanylidenesulfonyl structure in the preparation of a medicament for treating anemia-related disease. The anemia-related disease can involve myelodysplastic syndrome (MDS), hemoglobinopathy, sickle cell anemia (SCD), β-thalassemia, hereditary non-spherocytic hemolytic anemia, hemolytic anemia, hereditary spherocytosis, hereditary elliptocytosis, abetalipoproteinemia, paroxysmal nocturnal hemoglobinuria, acquired hemolytic anemia, congenital anemia or anemia of chronic disease.

USE OF PHARMACEUTICAL COMPOSITION COMPRISING MITOXANTRONE LIPOSOME AND CYTARABINE IN THE TREATMENT OF ACUTE MYELOID LEUKEMIA

NºPublicación:  EP4721734A1 08/04/2026
Solicitante: 
CSPC ZHONGQI PHARMACEUTICAL TECH SHIJIAZHUANG CO LTD [CN]
EP_4721734_A1

Resumen de: EP4721734A1

0001 The use of mitoxantrone liposome combined with cytarabine, or further combined with other drugs, such as homoharringtonine or venetoclax, in the preparation of drugs used for treating acute myeloid leukemia (AML). Provided is a method of treating AML, the method comprising administering to an AML patient a pharmaceutical composition comprising mitoxantrone liposome and cytarabine, wherein the pharmaceutical composition may also comprise homoharringtonine or venetoclax.

CD19CAR T-CELL TREATMENT OF RELAPSED/REFRACTORY B-CELL ACUTE LYMPHOBLASTIC LEUKAEMIA

NºPublicación:  EP4719463A1 08/04/2026
Solicitante: 
AUTOLUS LTD [GB]
EP_1000000_PA

Resumen de: EP1000000A1

The invention relates to an apparatus (1) for manufacturing green bricks from clay for the brick manufacturing industry, comprising a circulating conveyor (3) carrying mould containers combined to mould container parts (4), a reservoir (5) for clay arranged above the mould containers, means for carrying clay out of the reservoir (5) into the mould containers, means (9) for pressing and trimming clay in the mould containers, means (11) for supplying and placing take-off plates for the green bricks (13) and means for discharging green bricks released from the mould containers, characterized in that the apparatus further comprises means (22) for moving the mould container parts (4) filled with green bricks such that a protruding edge is formed on at least one side of the green bricks.

PREDICTION OF AN OUTCOME OF A SUBJECT SUFFERING FROM ACUTE MYOLOID LEUKEMIA

NºPublicación:  EP4722388A1 08/04/2026
Solicitante: 
KONINKLIJKE PHILIPS NV [NL]
EP_4722388_PA

Resumen de: EP4722388A1

The invention relates to a method of predicting an outcome of a subject having AML, the method comprising determining or receiving the result of a determination of six or more gene expression levels selected from a gene signature, and, optionally, providing the prediction to a medical caregiver or the subject. The invention further describes an apparatus and a computer program product configured to prediction outcome of a subject having AML. In addition the invention described the use of a kit in prediction outcome of a subject having AML, and describes a therapy for use in the treatment of AML, the use comprising predicting an outcome of a subject having AML and providing a therapy adapted to the outcome.

METHODS OF TREATING T-CELL LARGE GRANULAR LYMPHOCYTIC LEUKEMIA

NºPublicación:  WO2026072990A1 02/04/2026
Solicitante: 
ABCURO INC [US]
WO_2026072990_A1

Resumen de: WO2026072990A1

The present disclosure relates to methods of treating T-cell large granular lymphocytic leukemia (T-LGLL) with antibodies, or antigen-binding fragments thereof, that specifically bind to killer cell lectin-like receptor G1 (KLRG1), and methods for maintaining remission of T-cell large granular lymphocytic leukemia in a patient.

FBXO21 MEDIATED P85a UBIQUITYLATION AS A THERAPEUTIC TARGET IN CANCER

NºPublicación:  WO2026072967A1 02/04/2026
Solicitante: 
UNIV OF UTAH RESEARCH FOUNDATION [US]
NATARAJAN AMAR [US]
WO_2026072967_A1

Resumen de: WO2026072967A1

The present disclosure is concerned with compounds and compositions for use in the prevention and treatment of cancer associated with FBOX21 mediated p85a ubiquitination such as, for example, cancer (e.g., sarcoma, a carcinoma, a hematological cancer, a solid tumor, breast cancer, cervical cancer, gastrointestinal cancer, colorectal cancer, brain cancer, skin cancer, prostate cancer, ovarian cancer, thyroid cancer, testicular cancer, pancreatic cancer, liver cancer, endometrial cancer, melanoma, a glioma, leukemia, lymphoma, chronic myeloproliferative disorder, myelodysplastic syndrome, myeloproliferative neoplasm, non-small cell lung carcinoma, renal cancer, lung cancer, colon cancer, cervical cancer, and plasma cell neoplasm (myeloma)). This abstract is intended as a scanning tool for purposes of searching in the particular art and is not intended to be limiting of the present invention.

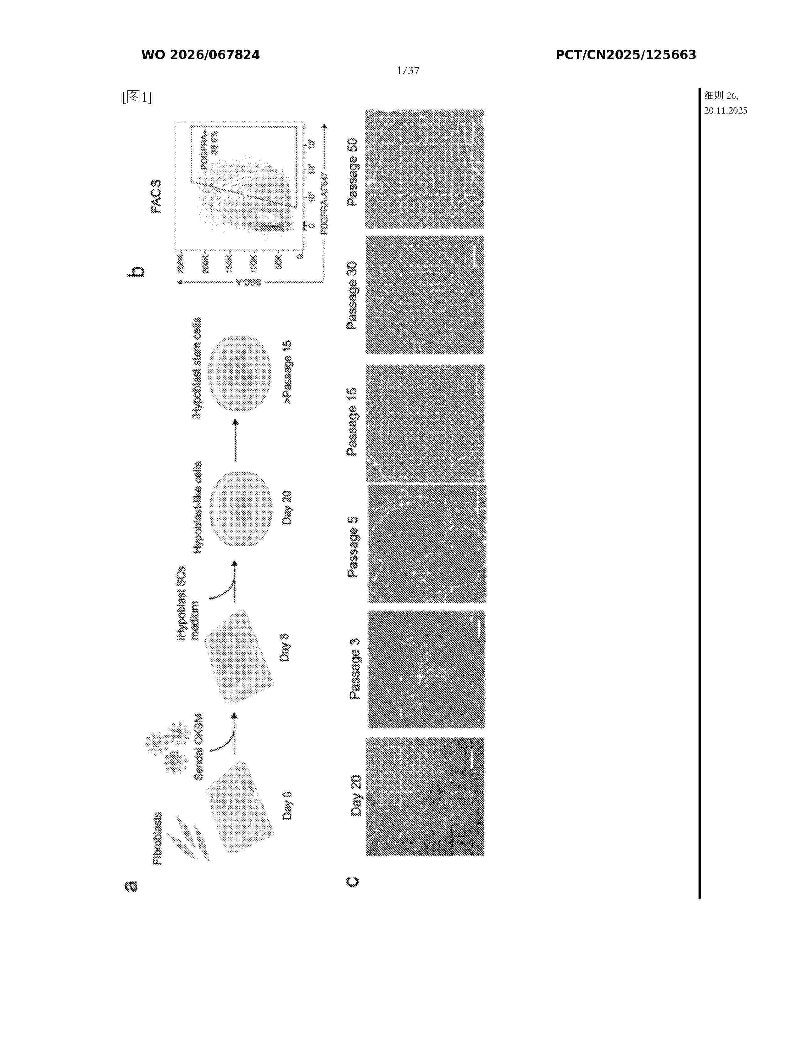
CULTURE MEDIUM FOR INDUCED HYPOBLAST STEM CELLS AND USE THEREOF

NºPublicación:  WO2026067824A1 02/04/2026
Solicitante: 
NOVAREACH INC [CN]
\u73E0\u6D77\u5E02\u6A2A\u7434\u661F\u6E90\u62D3\u754C\u751F\u7269\u6280\u672F\u6709\u9650\u516C\u53F8
WO_2026067824_A1

Resumen de: WO2026067824A1

The present invention belongs to the technical field of stem cells. Provided are a culture medium for induced hypoblast stem cells and the use thereof. Provided is a culture medium for induced hypoblast stem cells. The components of the culture medium comprise platelet-derived growth factor AA, a leukemia inhibitory factor, fibroblast growth factor 4, GSK-3α/β inhibitor CHIR99021, TGF-β type I receptor inhibitor A83-01, and bone morphogenetic protein 4. The culture medium for induced hypoblast stem cells can accurately regulate the activity of key signaling pathways such as NODAL, BMP, WNT, FGF, and JAK/STAT in the process of somatic cell reprogramming, and ensure that the properties of hypoblast stem cells are maintained in the process of somatic cell reprogramming to support the self-renewal and hypoblast lineage induction of somatic cells in the reprogramming process, thereby realizing the fate transition of somatic cells to hypoblast stem cells.

METHODS FOR TREATING MULTIPLE MYELOMA COMPRISING AN ANTI-CD38 ANTIBODY COMBINED WITH BORTEZOMIB, LENALIDOMIDE AND DEXAMETHASONE

NºPublicación:  AU2024360739A1 02/04/2026
Solicitante: 
JANSSEN BIOTECH INC
JANSSEN BIOTECH, INC
AU_2024360739_PA

Resumen de: AU2024360739A1

The present disclosure is directed to methods of treating multiple myeloma. The present disclosure is directed to methods of treating newly diagnosed multiple myeloma in a subject in need thereof, for example, by subcutaneously administering to the subject a pharmaceutical composition comprising an anti-CD38 antibody in combination with bortezomib, lenalidomide, and dexamethasone.

METHODS FOR THE TREATMENT OF MULTIPLE MYELOMA

NºPublicación:  AU2024390850A1 02/04/2026
Solicitante: 
TENEOONE INC
TENEOONE, INC
AU_2024390850_PA

Resumen de: AU2024390850A1

Methods of treating multiple myeloma by administering a bispecific antibody that binds to CD3 and BCMA to a patient in need are provided.

IMMUNE MODULATING THERAPY USING UC-MSC-CM TO INHIBIT TUMOR GROWTH

NºPublicación:  WO2026069350A2 02/04/2026
Solicitante: 
ADVANCED CENTRE FOR TREAT RESEARCH & EDUCATION IN CANCER ACTREC [IN]
OCT THERAPIES AND RES PVT LTD [IN]
WO_2026069350_A2

Resumen de: WO2026069350A2

An Umbilical cord derived mesenchymal stem cell (UC-MSC) conditioned media (UC- MSC-CM) composition of the range from 5%-100% possessing immunomodulatory effect inhibiting tumour growth when administered intraperitoneally and intravenously. MSC- CM arrests cell cycle in leukaemia cells (K-562 and HL-60), lung cancer cells (A549 and HOP-62), breast cancer cells (MDA-MB-231 and MCF-7) and cervical cancer cells (HeLa). Elevated levels of IL-6, TIM3 and TIMP2 in MSC-CM confer to its immunomodulatory function by leading to an increase in expression of activation markers, cytotoxic granules, mucosal associated invariant T cells and decreasing the inflammasome pathway activation, consequently decreasing the levels of innate immune inflammasome pathway molecules in treated xenograft tumor tissues. MSC-CM as an adjunct with IL-12 augments cytotoxic potential against cancer cell lines. Tumor inhibition effect of MSC-CM is shown by significant reduction of relative tumor volume which is expressed by fold change of genes involved in various pathways affecting xenograft tumor growth.

PROGNOSTIC AND TREATMENT RESPONSE PREDICTIVE METHOD

NºPublicación:  WO2026068605A1 02/04/2026
Solicitante: 
NATIONAL UNIV OF SINGAPORE [SG]
CLEGG RICHARD IAN [GB]
WO_2026068605_A1

Resumen de: WO2026068605A1

The present disclosure provides methods of predicting whether a subject is at risk of developing resistance to a treatment for chronic myelogenous leukaemia (CML) and/or progressing to blast crisis phase, wherein the subject has CML or has been diagnosed with CML. The present disclosure also provides methods of selecting a subject for treatment with a given therapy, wherein the subject has chronic myelogenous leukaemia (CML) or has been diagnosed with CML. The present disclosure also provides kits useful for performing said methods.

SYNTHETIC TRIPLEX PEPTIDE NUCLEIC ACID-BASED INHIBITORS FOR CANCER THERAPY

NºPublicación:  US20260092085A1 02/04/2026
Solicitante: 
UNIV OF CONNECTICUT [US]
BETH ISRAEL DEACONESS MEDICAL CENTER INC [US]
University of Connecticut,
Beth Israel Deaconess Medical Center, Inc
US_20260092085_A1

Resumen de: US20260092085A1

A novel peptide nucleic acid (PNA) oligomer capable of forming a PNA/RNA/PNA triplex when binding to its target RNA is described. An anti-micro RNA (miRNA) capable of binding miR-155 was designed based on the novel PNA oligomer and was shown to significantly decrease miR-155 expression in vitro in lymphoma cell lines. In vivo testing in xenograft mouse models resulted in reduced miR-155 expression followed by reduced tumor growth. Methods of making and using the novel PNA oligomer for targeting other coding and noncoding RNAs are described.

SOS1 INHIBITORS FOR USE IN THE TREATMENT OF PHILADELPHIA CHROMOSOME POSITIVE BLOOD CANCERS

NºPublicación:  AU2024341370A1 02/04/2026
Solicitante: 
KUMQUAT BIOSCIENCES INC
KUMQUAT BIOSCIENCES INC
AU_2024341370_PA

Resumen de: AU2024341370A1

The present disclosure provides SOS-1 inhibitors, such as bicyclic compounds or macrocyclic compounds, alone or in combination with TKI - resitant to BCR-ABL tyrosine kinase, such as dasatinib or imatinib, for use in the treatment of philadelphia chromosome positive (Ph+) blood cancer, such as CML (chronic myelogenous leukemia, also named chronic myeloid leukemia), Ph+ALL (acute lymphoblastic leukemia) and Ph+AML (acute lymphoblastic lymphoma).

MULTIMERIC IL-15 SOLUBLE FUSION MOLECULES AND METHODS OF MAKING AND USING SAME

NºPublicación:  US20260092097A1 02/04/2026
Solicitante: 
ALTOR BIOSCIENCE LLC [US]
Altor BioScience, LLC
US_20260092097_A1

Resumen de: US20260092097A1

The present invention features compositions and methods featuring ALT-803, a complex of an interleukin-15 (IL-15) superagonist mutant and a dimeric IL-15 receptor α/Fc fusion protein useful for enhancing an immune response against a neoplasia (e.g., multiple myeloma, melanoma, lymphoma) or a viral infection (e.g., human immunodeficiency virus).

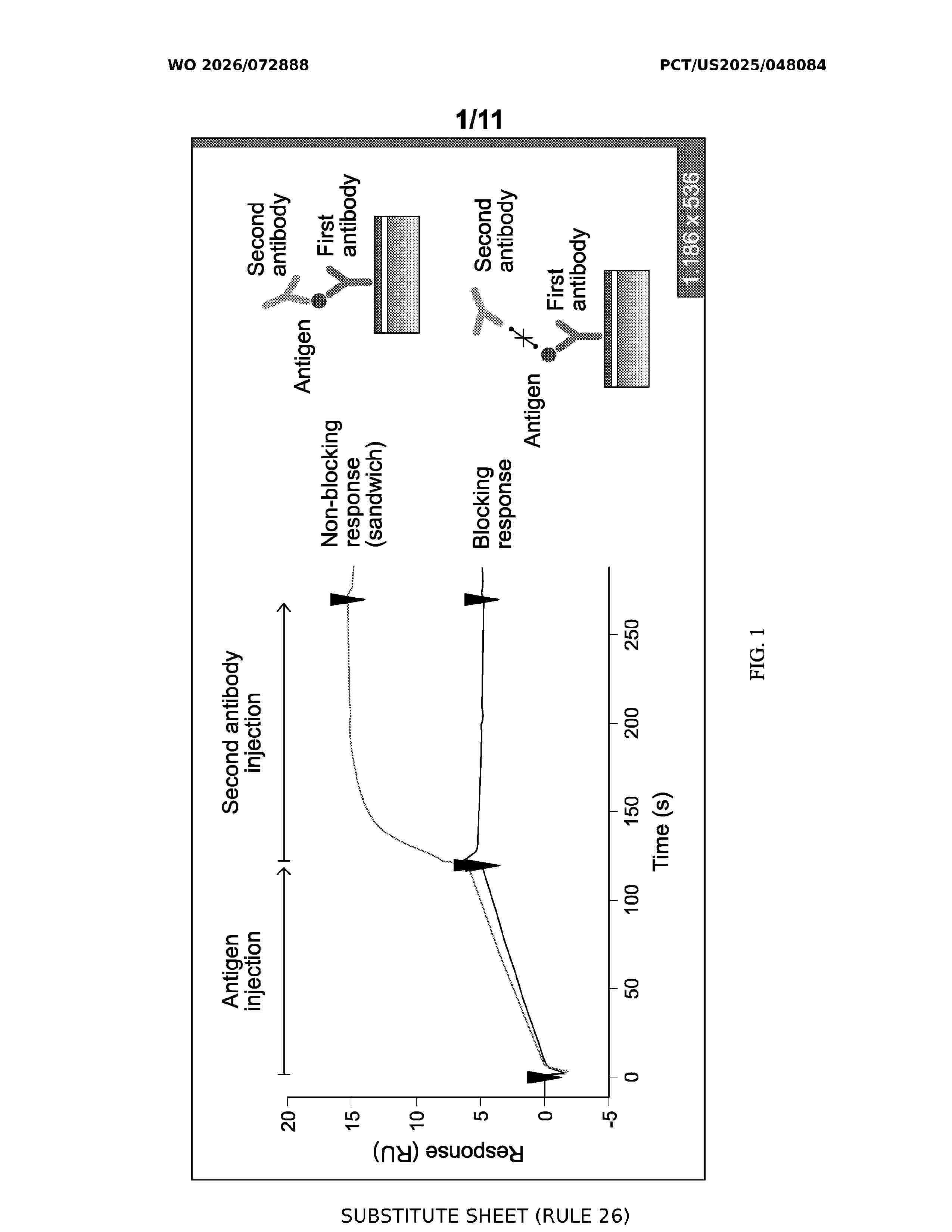
ANTIBODIES FOR MULTIPLE MYELOMA TREATMENT

NºPublicación:  WO2026072888A1 02/04/2026
Solicitante: 
THE TRUSTEES OF INDIANA UNIV [US]
LONZA WALKERSVILLE INC [US]
WO_2026072888_A1

Resumen de: WO2026072888A1

Cell surface polypeptides SEMA-4A and FCRL3 have been identified as being associated with multiple myeloma. Accordingly, these peptides represent targets for immuno-based therapeutic strategies for treating multiple myeloma. Antibodies that specifically binds to one of these polypeptides can be used to treat multiple myeloma. Accordingly, new compositions and methods utilizing novel antibodies that target SEMA-4A and FCRL3 are described.

KDM1A INHIBITORS FOR THE TREATMENT OF DISEASE

NºPublicación:  US20260085082A1 26/03/2026
Solicitante: 
IMAGO BIOSCIENCES INC [US]
Imago Biosciences, Inc
US_20260085082_A1

Resumen de: US20260085082A1

Disclosed herein are new compounds and compositions and their application as pharmaceuticals for the treatment of diseases. Methods of inhibition of KDM1A, methods of increasing gamma globin gene expression, and methods to induce differentiation of cancer cells in a human or animal subject are also provided for the treatment of diseases such as acute myelogenous leukemia.

BIOMARKER FOR MULTIPLE MYELOMA

NºPublicación:  WO2026063424A1 26/03/2026
Solicitante: 
JAPANESE FOUNDATION FOR CANCER RES [JP]
\u516C\u76CA\u8CA1\u56E3\u6CD5\u4EBA\u304C\u3093\u7814\u7A76\u4F1A
WO_2026063424_A1

Resumen de: WO2026063424A1

The present invention provides a method and the like for predicting prognosis of multiple myeloma using, as a novel biomarker, IL5RA of extracellular vesicles derived from a biological sample of a subject.

METHODS OF REDUCING THE RISK OF DEVELOPING HEMATOLOGIC MALIGNANCIES

NºPublicación:  WO2026060534A1 26/03/2026
Solicitante: 
INST DE CARDIOLOGIE DE MONTREAL [CA]
INSTITUT DE CARDIOLOGIE DE MONTR\u00C9AL
WO_2026060534_A1

Resumen de: WO2026060534A1

Disclosed are methods of reducing the risk of a subject developing hematologic malignancies and myelodysplastic syndrome, the methods comprising administering an effective amount of colchicine to the subject, wherein the subject has been determined to have a clonal hematopoiesis mutation.

COMPOSITIONS AND METHODS FOR TREATING MYELODYSPLASTIC SYNDROME WITH GLYCINE TRANSPORT INHIBITORS

NºPublicación:  WO2026064696A1 26/03/2026
Solicitante: 
DISC MEDICINE INC [US]
DISC MEDICINE, INC
WO_2026064696_A1

Resumen de: WO2026064696A1

The present embodiments are directed to methods of using glycine transporter inhibitors, such as GlyT1 inhibitors, or pharmaceutically acceptable salts, solvates or prodrugs thereof, or pharmaceutical compositions thereof, for preventing or treating MDS, and related syndromes/conditions/symptoms thereof.

ANTI-CD123 IMMUNOCONJUGATES FOR THE TREATMENT OF ACUTE MYELOID LEUKEMIA

NºPublicación:  US20260083749A1 26/03/2026
Solicitante: 
IMMUNOGEN INC [US]
ImmunoGen, Inc
US_20260083749_A1

Resumen de: US20260083749A1

Methods and uses of immunoconjugates that bind to CD123 (e.g., pivekimab sunirine) in patients with acute myeloid leukemia (AML) are provided. Such immunoconjugates can be used as monotherapies or can be used in combination with BCL-2 inhibitors (e.g., venetoclax), and/or hypomethylating agents (e.g., azacitidine or decitabine) to prepare patients with AML for hematopoietic stem cell transplant and/or to achieve complete remissions in patients with AML, including those with poor prognostic markers.

PYRAZOLYLCARBOXAMIDE COMPOUNDS AND THEIR USE IN THERAPY

NºPublicación:  US20260085073A1 26/03/2026
Solicitante: 
HOTSPOT THERAPEUTICS INC [US]
Hotspot Therapeutics, Inc
US_20260085073_A1

Resumen de: US20260085073A1

The invention provides pyrazolylcarboxamide compounds, pharmaceutical compositions, their use for inhibiting mucosa-associated lymphoid tissue lymphoma translocation protein I (MALT1), and their use in the treatment of a disease or condition, such as a proliferative disorder, inflammatory disorder, or autoimmune disorder.

DOWNREGULATING INOS TO INCREASE CAR-T KILLING

NºPublicación:  US20260083844A1 26/03/2026
Solicitante: 
H LEE MOFFITT CANCER CENTER AND RES INSTITUTE INC [US]
H. LEE MOFFITT CANCER CENTER AND RESEARCH INSTITUTE INC
US_20260083844_A1

Resumen de: US20260083844A1

Chimeric antigen receptor (CAR) T cell therapies have revolutionized the treatment of B cell malignancies, but a significant proportion of patients with large B cell lymphoma (LBCL) experience primary resistance or relapse after CAR T cell treatment. As disclosed herein, anti-inflammatory macrophages suppress CAR-T cell expansion, induce death, and reduce CAR expression. Disclosed is a method for enhancing anti-tumor efficacy of immune effector cells, such as CAR-T cells, in a subject that involves administering to the subject a nitric oxide synthase (NOS) inhibitor.

OIL-IN-WATER EMULSIONS FOR TOPICAL ADMINISTRATION AND USES THEREOF

NºPublicación:  US20260083673A1 26/03/2026
Solicitante: 
INSTITUT NATIONAL DE LA SANTE ET DE LA RECH MEDICALE [FR]
CENTRE NATIONAL DE LA RECHERCHE SCIENT [FR]
UNIV PARIS CITE [FR]
UNIV PARIS SACLAY [FR]
INSTITUT NATIONAL DE LA SANT\u00C9 ET DE LA RECHERCHE M\u00C9DICALE,
CENTRE NATIONAL DE LA RECHERCHE SCIENTIFIQUE,
UNIVERSITE PARIS CITE,
UNIVERSITE PARIS-SACLAY
US_20260083673_A1

Resumen de: US20260083673A1

Oil-in-water Pickering emulsion comprising: an oil phase comprising a first therapeutic agent, an aqueous phase, polyester nanoparticles comprising a second therapeutic agent, wherein the oil phase is in the form of droplets and is dispersed in a continuous aqueous phase, and wherein at least a portion of the nanoparticles are localized at an interface between the oil phase and the aqueous phase, characterized in that the aqueous phase comprises hyaluronan. This new emulsion allows the topical treatment of inflammatory dermatoses such as psoriasis, atopic dermatitis or prurigo, benign skin inflammations such as inflammatory acne, scalp pathologies such asalopecia, dermo-cosmetic conditions, such as very dry irritable skin, tumor pathologies such as mycosis fungoides (indolent cutaneous T lymphoma) or cutaneous mastocytosis (accumulation and abnormal proliferation of mast cells in the dermis, with intense pruritus), and fibrosing pathologies such as keloids (raised, pruritic dystrophic scars, which have the particularity of not regressing spontaneously and of being able to extend beyond the traumatic/injured area).

SUBSTITUTED BENZOFURANYL AND BENZOXAZOLYL COMPOUNDS AND USES THEREOF

NºPublicación:  US20260085064A1 26/03/2026
Solicitante: 
KARYOPHARM THERAPEUTICS INC [US]
Karyopharm Therapeutics Inc
US_20260085064_A1

Resumen de: US20260085064A1

The invention generally relates to substituted benzofuranyl and substituted benzoxazolyl compounds, and more particularly to a compound represented by Structuralor a pharmaceutically acceptable salt thereof, wherein the variables are as defined and described herein. The invention also includes the synthesis and use of a compound of Structural Formula A, or a pharmaceutically acceptable salt or composition thereof, e.g., in the treatment of cancer (e.g., mantle cell lymphoma), and other diseases and disorders.

TINOSTAMUSTINE FOR USE IN THE TREATMENT OF T-CELL PROLYMPHOCYTIC LEUKAEMIA

NºPublicación:  US20260083707A1 26/03/2026
Solicitante: 
PURDUE PHARMA L P [US]
Purdue Pharma L.P
US_20260083707_A1

Resumen de: US20260083707A1

There is provided tinostamustine or a pharmaceutically acceptable salt thereof for use in the treatment of T-cell prolymphocytic leukemia (T-PLL) in a patient in need thereof.

ANTIBODY BINDING LILRB4 AND CD3, AND USE THEREOF

NºPublicación:  EP4714975A1 25/03/2026
Solicitante: 
NANJING LEADS BIOLABS CO LTD [CN]
Nanjing Leads Biolabs Co., Ltd
EP_4714975_A1

Resumen de: EP4714975A1

The present disclosure provides an antibody capable of binding to LILRB4 and a bispecific antibody capable of binding to LILRB4 and CD3. Further provided are a nucleic acid molecule encoding the antibodies, an expression vector for use in expressing the antibodies, a host cell, and a method. The present disclosure also relates to a method for treating a solid tumor, multiple myeloma, or leukemia such as acute myeloid leukemia (AML) using the anti-LILRB4×CD3 bispecific antibody of the present disclosure.

METHODS OF TREATING MULTIPLE MYELOMA WITH BCMA INHIBITORS IN COMBINATION WITH PD1/PD-L1 INHIBITORS

NºPublicación:  WO2026059920A1 19/03/2026
Solicitante: 
REGENERON PHARMACEUTICALS INC [US]
REGENERON PHARMACEUTICALS, INC
WO_2026059920_A1

Resumen de: WO2026059920A1

The present disclosure provides methods for treating multiple myeloma. In certain embodiments, the present methods comprise administering to a subject in need thereof a BCMA inhibitor (e.g., a bispecific antibody or antigen-binding fragment thereof that binds to BCMA and CD3) in combination with a PD1 inhibitor or PD-L1 inhibitor (e.g., an anti-PD1 antibody or an anti-PD-L1 antibody). In certain embodiments, the subject has been previously treated with one or more anti-cancer therapies.

MULTIPLE MYELOMA MICROORGANOSPHERES

NºPublicación:  US20260078348A1 19/03/2026
Solicitante: 
XILIS INC [US]
Xilis, Inc
US_20260078348_A1

Resumen de: US20260078348A1

MicroOrganoSpheres (MOS) generated using cells from multiple myeloma bone marrow biopsies are provided herein, as are methods and materials for making and using such MOS.

INHIBITORS OF ENL/AF9 YEATS AND FLT3

NºPublicación:  US20260078121A1 19/03/2026
Solicitante: 
BRIDGE MEDICINES [US]
Bridge Medicines
US_20260078121_A1

Resumen de: US20260078121A1

Compounds and pharmaceutical compositions comprising compounds that inhibit ENL/AF9 YEATS and FLT3 are disclosed herein. Methods for suppressing oncogene expression in a cell, or for treating acute leukemias, using the compounds and pharmaceutical compositions comprising the compounds are also disclosed. The compounds, pharmaceutical compositions and methods can be used to inhibit key drivers of cancer and cancer stem cell survival.

METHODS AND MATERIALS FOR TARGETING C-C CHEMOKINE RECEPTOR-LIKE 2 (CCRL2)

NºPublicación:  WO2026060097A1 19/03/2026
Solicitante: 
THE JOHNS HOPKINS UNIV [US]
THE JOHNS HOPKINS UNIVERSITY
WO_2026060097_A1

Resumen de: WO2026060097A1

This document provides methods and materials for targeting C-C chemokine receptor-like 2 (CCRL2) in a subject (e.g., a mammal). For example, methods and materials provided herein can be used to treat a condition that involves the overexpression of CCRL2 such as, without limitation, a cancer (e.g., myelodysplastic syndrome or acute myeloid leukemia) or tuberculosis. Treatment can include administering an anti-CCRL2 antibody, an antibody-drug conjugate, a chimeric antigen receptor T cell, or combinations thereof.

ANTI-HUMAN TIM3 ANTIBODIES FOR IN VITRO DIAGNOSTICS

NºPublicación:  WO2026059950A1 19/03/2026
Solicitante: 
AGILENT TECH INC [US]
AGILENT TECHNOLOGIES, INC
WO_2026059950_A1

Resumen de: WO2026059950A1

The disclosure provides binding agents (e.g., antibodies) against a human Hepatitis A virus cellular receptor 2 protein (TIM3), as well as kits and methods for using the same (e.g., immunoassays) as part of a companion diagnostic and for other applications. In some aspects, the binding agents described herein may be used in assays for detecting Non-Small Cell Lung Cancer (NSCLC) and/or other types of lung cancer, Head and Neck Squamous Cell Carcinoma (HNSCC), Hepatocellular Carcinoma (HCC) or other types of liver cancer, Renal cell carcinoma, malignant melanoma, gastro-intestinal cancer, colorectal cancer, urothelial carcinoma and other types of bladder cancer, mamma carcinoma and/or other types of breast cancer, ovarian cancer, cervical cancer, prostate cancer, pancreatic cancer, lymphoma/leukemia, malignant mesothelioma, or a cancer in another organ or cell type.

COMPOSITIONS COMPRISING PRALATREXATE FOR SUBCUTANEOUS ADMINISTRATION AND METHODS OF USE THEREOF

NºPublicación:  AU2024341403A1 19/03/2026
Solicitante: 
ACROTECH BIOPHARMA INC
DILEEP JAMI
DASTAGIRI MADDURU
ACROTECH BIOPHARMA INC,
DILEEP, Jami,
DASTAGIRI, Madduru
AU_2024341403_A1

Resumen de: AU2024341403A1

The present disclosure provides compositions comprising Pralatrexate for subcutaneous administration. The present disclosure also provides methods of administering the compositions comprising Pralatrexate, as disclosed herein, for the treatment of disease (e.g., lymphoma).

RNA HELICASE INHIBITOR

NºPublicación:  AU2024328882A1 19/03/2026
Solicitante: 
THE ROYAL INSTITUTION FOR THE ADVANCEMENT OF LEARNING/MCGILL UNIV
THE ROYAL INSTITUTION FOR THE ADVANCEMENT OF LEARNING/MCGILL UNIVERSITY
AU_2024328882_PA

Resumen de: AU2024328882A1

There is provided A compound of formula I, a salt or solvate thereof as described herein, for treating MYC positive cancers including lung cancer, leukemia, breast cancer, myeloproliferative disorders, colorectal cancer, medulloblastoma, renal, hepatocellular cancer, melanoma, ovarian cancer, prostate cancer, esophageal adenocarcinoma, liposarcoma, esophageal squamous cancer, gastrointestinal stromal tumor, glioma, myxofibrosarcoma, leiomyosarcoma, neuroblastoma, synovial sarcoma, mesothelioma, gastric cancer, thyroid cancer, lymphoma, osteosarcoma, rhabdomyosarcoma, fibrosarcoma, epithelial cancer, and neural cancer.

NOVEL POLYPEPTIDE, POLYPEPTIDE DERIVATIVE AND USE THEREOF

NºPublicación:  AU2024321283A1 19/03/2026
Solicitante: 
NANJING ANJI BIOTECHNOLOGY CO LTD
NANJING ANJI BIOTECHNOLOGY CO., LTD
AU_2024321283_PA

Resumen de: AU2024321283A1

Disclosed are a novel polypeptide, a polypeptide derivative and the use thereof, which belong to the technical field of biomedicine. The present application specifically relates to a specific sequence, a discovery process, specific types of tumors to be resisted, a long-acting modification method and the use of the novel polypeptide, wherein the tumors include one or more of glioma, neuroblastoma, head and neck cancer, esophageal cancer, thyroid cancer, lung cancer, liver cancer, kidney cancer, breast cancer, cervical cancer, uterine cancer, ovarian cancer, colon cancer, small intestine cancer, ileocecal cancer, gastric cancer, bladder cancer, pancreatic cancer, prostate cancer, cholangiocarcinoma, melanoma, sarcoma, myeloma, lymphoma and leukemia; and the specific use comprises the inhibition of the proliferation and/or metastasis of the above-mentioned tumor cells. The novel polypeptide has a wide therapeutic spectrum and important therapeutic value against various tumors.

METHODS OF TREATING MULTIPLE MYELOMA WITH BCMA INHIBITORS IN COMBINATION WITH PROTEASOME INHIBITORS

NºPublicación:  WO2026059917A1 19/03/2026
Solicitante: 
REGENERON PHARMACEUTICALS INC [US]
REGENERON PHARMACEUTICALS, INC
WO_2026059917_A1

Resumen de: WO2026059917A1

The present disclosure provides methods for treating multiple myeloma. In certain embodiments, the present methods comprise administering to a subject in need thereof a BCMA inhibitor in combination with a proteasome inhibitor. In certain embodiments, the subject has been previously treated with one or more anti-cancer therapies. In certain embodiments, the proteasome inhibitor is carfilzomib.

THERAPEUTIC COMBINATIONS OF AN AKT INHIBITOR, A BCL-2 INHIBITOR, AND A GLUCOCORTICOID

NºPublicación:  WO2026057582A1 19/03/2026
Solicitante: 
ASTRAZENECA AB [SE]
ASTRAZENECA AB
WO_2026057582_A1

Resumen de: WO2026057582A1

Therapeutic combinations of an AKT inhibitor and a BCL-2 inhibitor; an AKT inhibitor and a glucocorticoid; and an AKT inhibitor, a BCL-2 inhibitor and a glucocorticoid are described. The combinations can be useful in the treatment of acute lymphoblastic leukemia (ALL).

METHODS FOR TREATING CANCER USING SUBCUTANEOUS DOSING OF MOSUNETUZUMAB IN COMBINATION WITH POLATUZUMAB VEDOTIN

NºPublicación:  US20260078198A1 19/03/2026
Solicitante: 
GENENTECH INC [US]
HOFFMANN LA ROCHE INC [US]
Genentech, Inc,
Hoffmann-La Roche Inc
US_20260078198_A1

Resumen de: US20260078198A1

The present invention relates to the treatment of subjects having a CD20-positive cell proliferative disorder (e.g., B cell proliferative disorders, such as a non-Hodgkin's lymphoma (NHL); e.g., an aggressive NHL or a relapsed and/or refractory NHL). More specifically, the invention pertains to the treatment of subjects having a B cell proliferative disorder by administering a combination of mosunetuzumab and polatuzumab vedotin.

B CELL LYMPHOMA MUTATIONS, COMPOSITIONS, AND USES TO ENHANCE ENGINEERED T CELL THERAPIES

NºPublicación:  WO2026060398A2 19/03/2026
Solicitante: 
NORTHWESTERN UNIV [US]
NORTHWESTERN UNIVERSITY
WO_2026060398_A2

Resumen de: WO2026060398A2

The present disclosure relates generally to mutations in B cell lymphoma, and methods of use of the mutations in T cell therapy.

METHODS OF TREATING MULTIPLE MYELOMA WITH BCMA INHIBITORS IN COMBINATION WITH AN IMMUNOMODULATOR

NºPublicación:  WO2026059923A1 19/03/2026
Solicitante: 
REGENERON PHARMACEUTICALS INC [US]
REGENERON PHARMACEUTICALS, INC
WO_2026059923_A1

Resumen de: WO2026059923A1

The present disclosure provides methods for treating multiple myeloma. In certain embodiments, the present methods comprise administering to a subject in need thereof a BCMA inhibitor (e.g., a bispecific antibody or antigen-binding fragment thereof that binds to BCMA and CD3) in combination with an immunomodulator. In certain embodiments, the immunomodulator is a structural or functional analogue of thalidomide (e.g., lenalidomide or pomalidomide). In certain embodiments, the subject has been previously treated with one or more anti-cancer therapies.

BIS-CHLOROETHYLAMINO DERIVATIVES FOR TREATING LEUKEMIA

NºPublicación:  WO2026057823A1 19/03/2026
Solicitante: 
ONCOPEPTIDES AB [SE]
ONCOPEPTIDES AB
WO_2026057823_A1

Resumen de: WO2026057823A1

The invention provides compounds of formula (I), that are peptidase enhanced cytotoxics for use for use in the treatment of and/or prophylaxis of BCL2 inhibitor resistant or refractory acute myeloid leukaemia (AML). (Formula)

METHODS OF TREATING MULTIPLE MYELOMA WITH BCMA INHIBITORS IN COMBINATION WITH LAG3 INHIBITORS

NºPublicación:  WO2026059921A1 19/03/2026
Solicitante: 
REGENERON PHARMACEUTICALS INC [US]
REGENERON PHARMACEUTICALS, INC
WO_2026059921_A1

Resumen de: WO2026059921A1

The present disclosure provides methods for treating multiple myeloma. In certain embodiments, the present methods comprise administering to a subject in need thereof a BCMA inhibitor (e.g., a bispecific antibody or antigen-binding fragment thereof that binds to BCMA and CD3) in combination with a LAG3 inhibitor (e.g., an anti-LAG3 antibody). In certain embodiments, the subject has been previously treated with one or more anti-cancer therapies.

T CELL LYMPHOMA MUTATIONS, COMPOSITIONS, AND USES TO ENHANCE ENGINEERED T CELL THERAPIES

NºPublicación:  WO2026060399A2 19/03/2026
Solicitante: 
NORTHWESTERN UNIV [US]
NORTHWESTERN UNIVERSITY
WO_2026060399_A2

Resumen de: WO2026060399A2

The present disclosure relates generally to mutations in T cell lymphoma, and methods of use of the mutations in T cell therapy.

METHODS OF TREATING MULTIPLE MYELOMA WITH BCMA INHIBITORS IN COMBINATION WITH CD38 INHIBITORS

NºPublicación:  WO2026059919A1 19/03/2026
Solicitante: 
REGENERON PHARMA [US]
WO_2026059919_A1

Resumen de: WO2026059919A1

The present disclosure provides methods for treating multiple myeloma. In certain embodiments, the present methods comprise administering to a subject in need thereof a BCMA inhibitor (e.g., a bispecific antibody or antigen-binding fragment thereof that bind to BCMA and CD3) in combination with a CD38 inhibitor (e.g., an anti-CD38 antibody). In certain embodiments, the subject has been previously treated with one or more anti-cancer therapies.

HUMANIZED ANTIBODY TARGETING HUMAN CD33 AND USE THEREOF

NºPublicación:  WO2026056681A1 19/03/2026
Solicitante: 
ANOBIOMED INC [CN]
\u5B89\u8BFA\u67CF\u5FB7\u751F\u7269\u533B\u836F\u79D1\u6280\uFF08\u82CF\u5DDE\uFF09\u6709\u9650\u516C\u53F8
WO_2026056681_A1

Resumen de: WO2026056681A1

Provided are a monoclonal antibody targeting human CD33 and a humanized antibody thereof, and also provided are a composition comprising the antibody, a multispecific antibody, a chimeric antigen receptor, and an antibody conjugate, which facilitate prediction, diagnosis and treatment monitoring of related diseases such as myeloid leukemia.

METHOD FOR THE MANUFACTURE OF INDIVIDUALIZED CRISPR/CAS COMPLEXES AND INDIVIDUALIZED CRISPR/CAS COMPLEXES

NºPublicación:  EP4711456A1 18/03/2026
Solicitante: 
GENCC GMBH & CO KG [DE]
GenCC GmbH & Co. KG
EP_4711456_PA

Resumen de: EP4711456A1

The present invention relates to a method for the manufacture of individualized CRISPR/Cas complexes comprising the steps a) identifying in a tumor specimen of a human cancer patient a mutation at position 38.141.150 on chromosome 3, and b) preparing for the mutation identified in a) an individualized CRISPR/Cas complex, wherein the individualized CRISPR/Cas complex comprises a guide RNA and a Cas endonuclease, wherein the CRISPR/Cas complex targets the mutation; a method, preferably an in-vitro method, for inducing cell death or impairment of cell proliferation in cancerous or pre-cancerous cells of B-cell-lymphocytes; a composition related thereto and individualized CRISPR/Cas complexes preferably for use in the treatment of B-cell-lymphoma or for inducing cell death or impairment of cell proliferation in cancerous or pre-cancerous B-cell-lymphocytes.

USE OF MICRO PEPTIDE MIAC

NºPublicación:  EP4711382A1 18/03/2026
Solicitante: 
NANJING ANJI BIOTECHNOLOGY CO LTD [CN]
Nanjing Anji Biotechnology Co., Ltd
EP_4711382_PA

Resumen de: EP4711382A1

Use of a micropeptide MIAC, which belongs to the technical field of biomedicine. The present disclosure specifically relates to use of the micropeptide MIAC in preparation of a reagent or a medicament for detecting, preventing or treating tumors. The tumors comprise one or more of solid tumors and hematologic malignancies, such as pancreatic cancer, hepatocellular carcinoma, colorectal cancer, ovarian cancer, cervical cancer, bladder cancer, melanoma, glioblastoma, neuroblastoma, glioma, osteosarcoma, lymphoma, hematologic malignancies, myeloma, cholangiocarcinoma and prostate cancer. The micropeptide MIAC has the effects of inhibiting growth, proliferation and/or migration of various tumor cells, has a wide treatment spectrum, and is suitable for diagnosing, preventing or treating various tumors, specifically malignant tumors.

LIPID COMPLEX

NºPublicación:  EP4711463A1 18/03/2026
Solicitante: 
EISAI R&D MAN CO LTD [JP]
UNIV KUMAMOTO NAT UNIV CORP [JP]
Eisai R&D Management Co., Ltd,
National University Corporation Kumamoto University
EP_4711463_A1

Resumen de: EP4711463A1

Problem A composition and a method that can be used to induce an immune response to HTLV-1 are required.Solution A lipid complex comprising at least one nucleic acid selected from: a nucleic acid comprising a polynucleotide that encodes an immunogenic fragment of human T-cell leukemia virus 1 (HTLV-1) antigenic Gag protein; a nucleic acid comprising a polynucleotide that encodes an immunogenic fragment of HTLV-1 antigenic Tax protein; and a nucleic acid comprising a polynucleotide that encodes an immunogenic fragment of HTLV-1 antigenic HBZ protein; wherein the at least one nucleic acid is encapsulated in a lipid.

PHARMACEUTICAL COMPOSITION

NºPublicación:  EP4710937A1 18/03/2026
Solicitante: 
UNIV KUMAMOTO NAT UNIV CORP [JP]
EISAI R&D MAN CO LTD [JP]
National University Corporation Kumamoto University,
Eisai R&D Management Co., Ltd
EP_4710937_PA

Resumen de: EP4710937A1

Problem The purpose is to provide a novel pharmaceutical composition that can be used to induce an immune response to HTLV-1. Solution The pharmaceutical composition of the present disclosure comprises: human T-cell leukemia virus 1 (HTLV-1) antigenic Gag protein p15 (Gag p15) or an immunogenic fragment thereof, Gag protein p19 (Gag p19) or an immunogenic fragment thereof, and/or Gag protein p24 (Gag p24) or an immunogenic fragment thereof; and a pharmaceutically acceptable carrier

ENDOTHELIAL CELLS FOR MITIGATION OF CHEMOTHERAPY-INDUCED TOXICITY

Nº publicación: EP4711444A2 18/03/2026

Solicitante:

ANGIOCRINE BIOSCIENCE INC [US]
Angiocrine Bioscience, Inc

EP_4711444_A2

Resumen de: EP4711444A2

The present invention provides compositions and methods for the mitigation of side effects of chemotherapy, for example in human subjects with hematologic malignancies (such as lymphoma, leukemia and myelodysplastic syndrome) as well as subjects with other malignancies or other conditions that may be treated with chemotherapy, such as high dose therapy (HDT) or a combination of high dose HDT and a hematopoietic stem cell transplant. The methods comprise administration of endothelial cells, such as engineered human umbilical vein endothelial cells engineered to express the adenoviral E4ORF1 protein (E4ORF1+ HUVECs), to human subjects. The side effects mitigated by the compositions and methods of the invention include, but are not limited to, oral / gastrointestinal side effects and febrile neutropenia.

traducir