Ministerio de Industria, Turismo y Comercio LogoMinisterior
 

Tecnología para la monitorización y control de Diabetes

Resultados 155 resultados
LastUpdate Última actualización 01/11/2025 [07:10:00]
pdfxls
Solicitudes publicadas en los últimos 60 días / Applications published in the last 60 days
Resultados 1 a 25 de 155 nextPage  

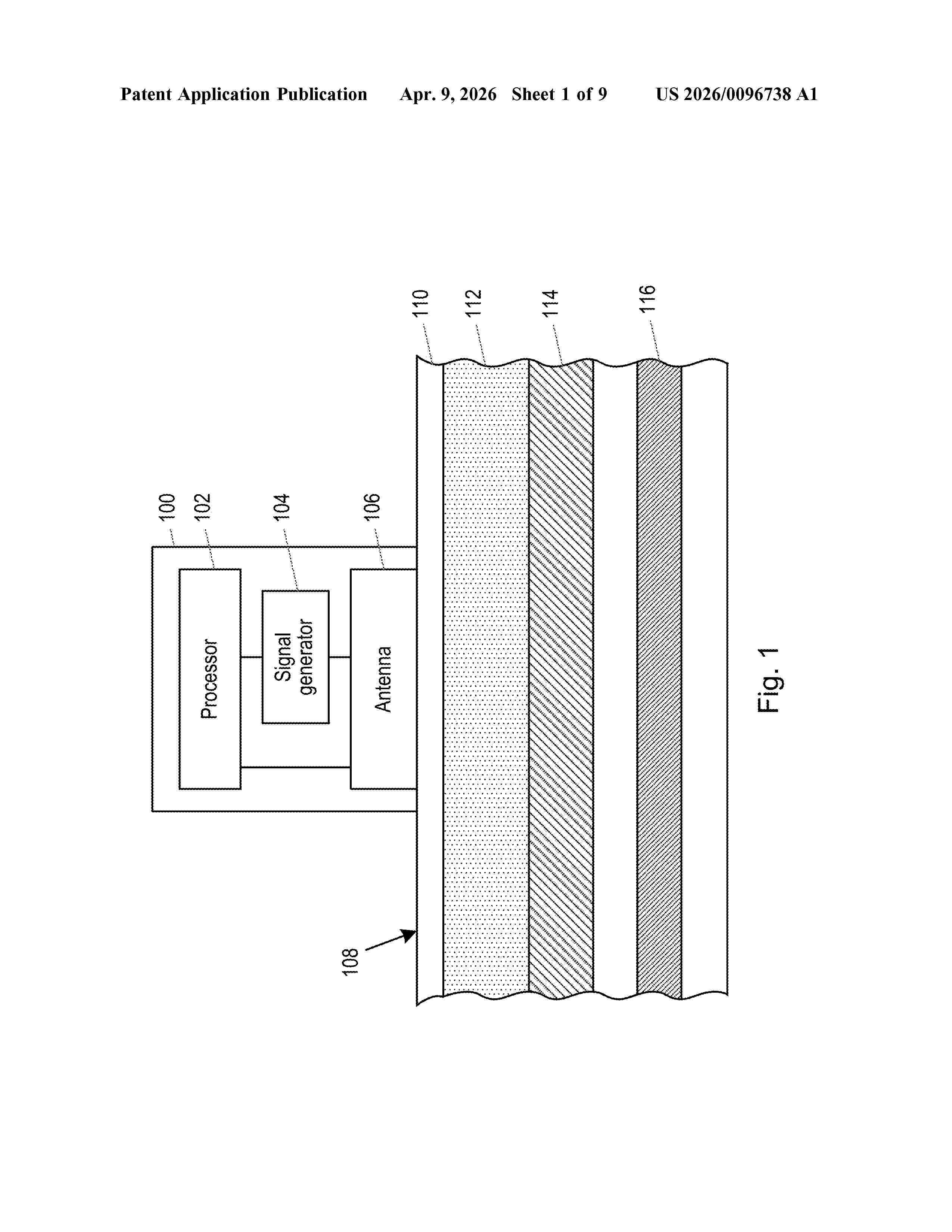
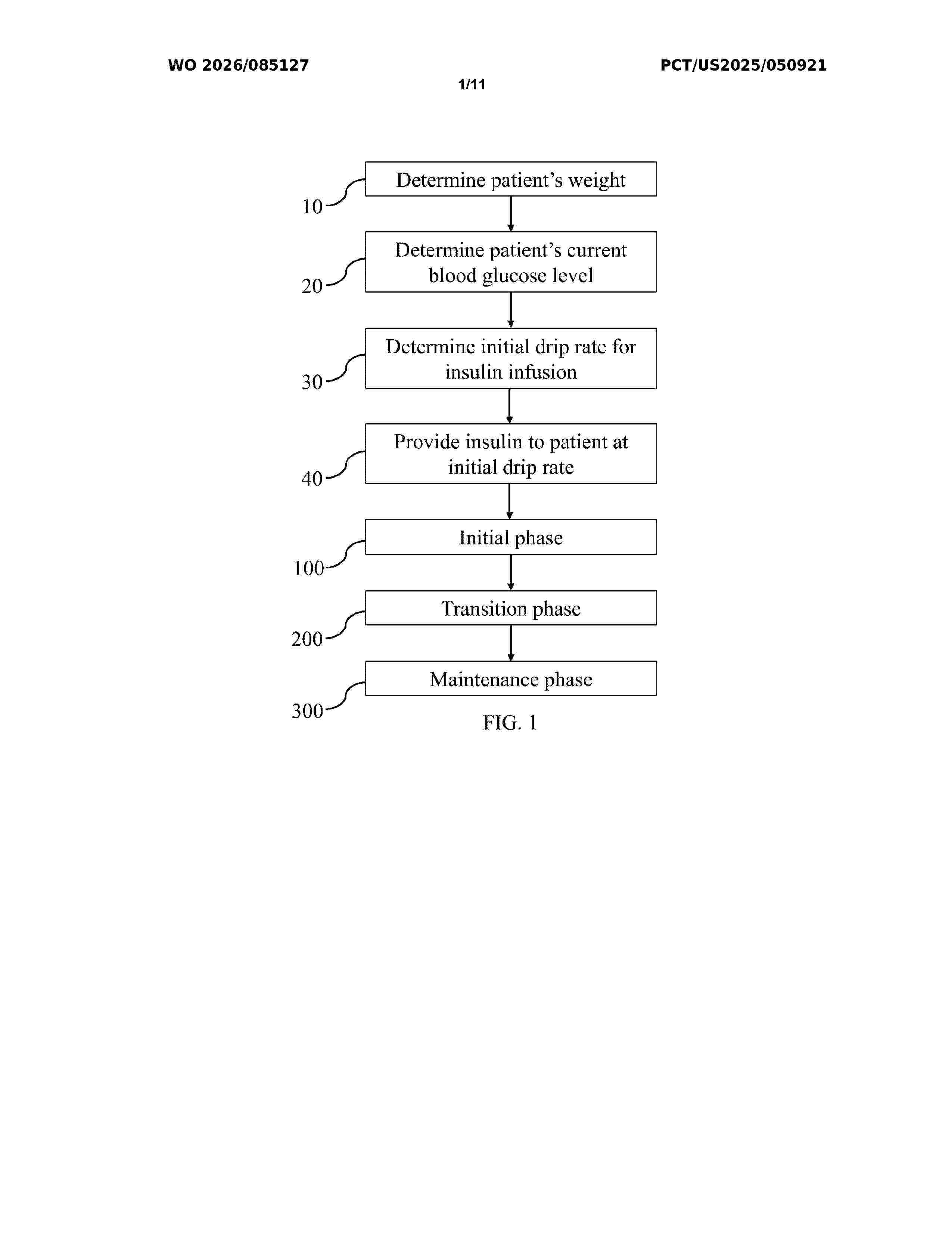
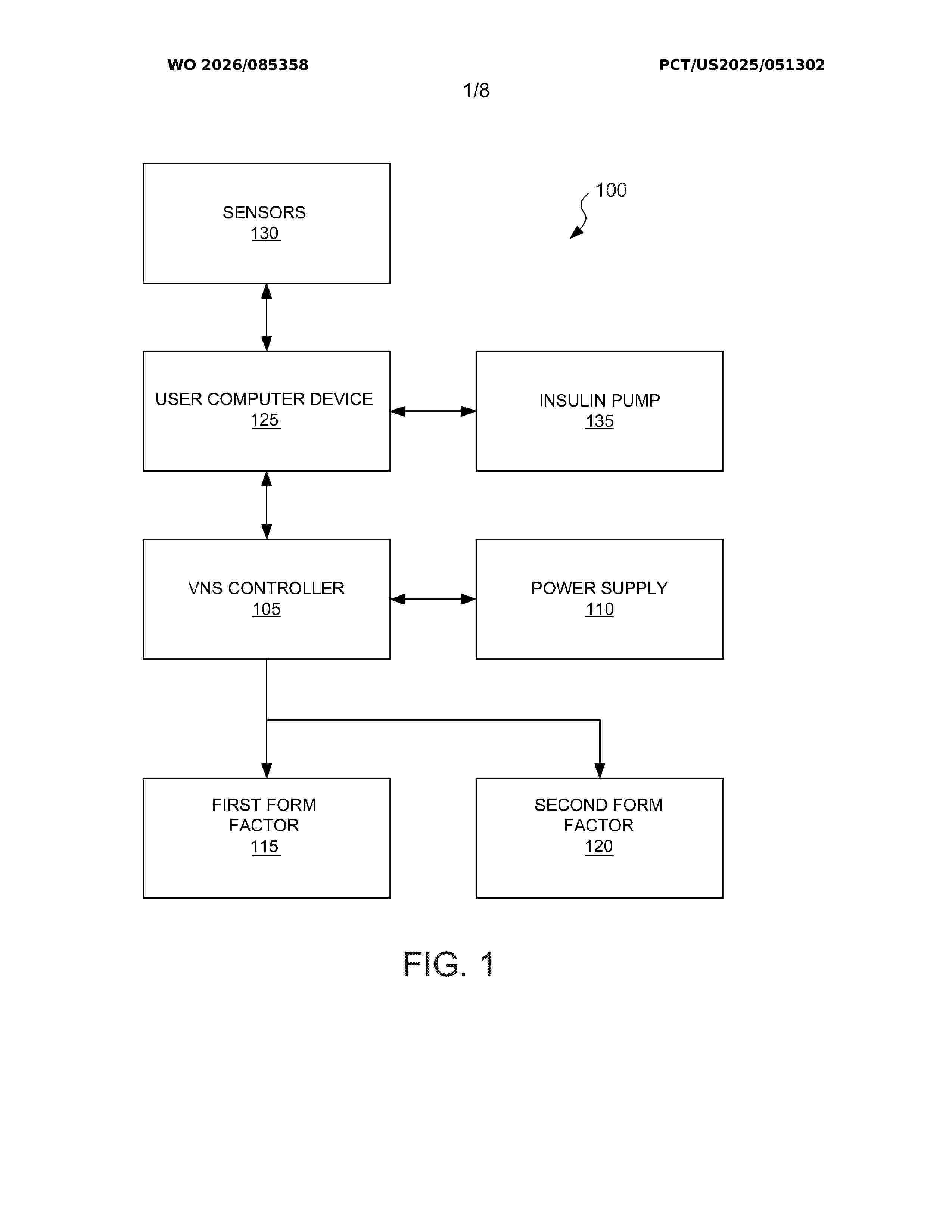
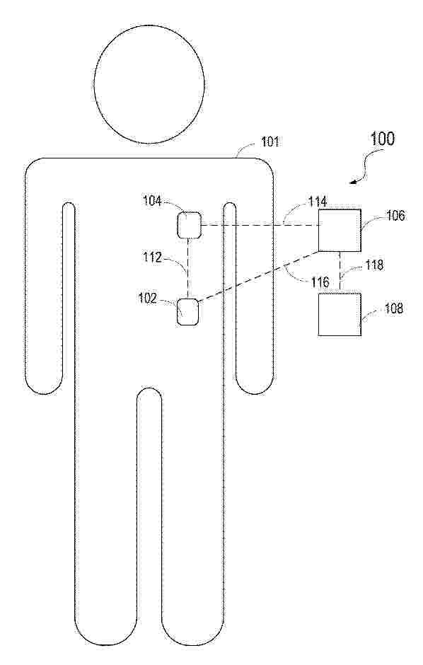
ARTIFICIALLY INTELLIGENT SYSTEM FOR MEDICATION MANAGEMENT

NºPublicación:  US2025331781A1 30/10/2025
Solicitante: 
UPDOC INC [US]
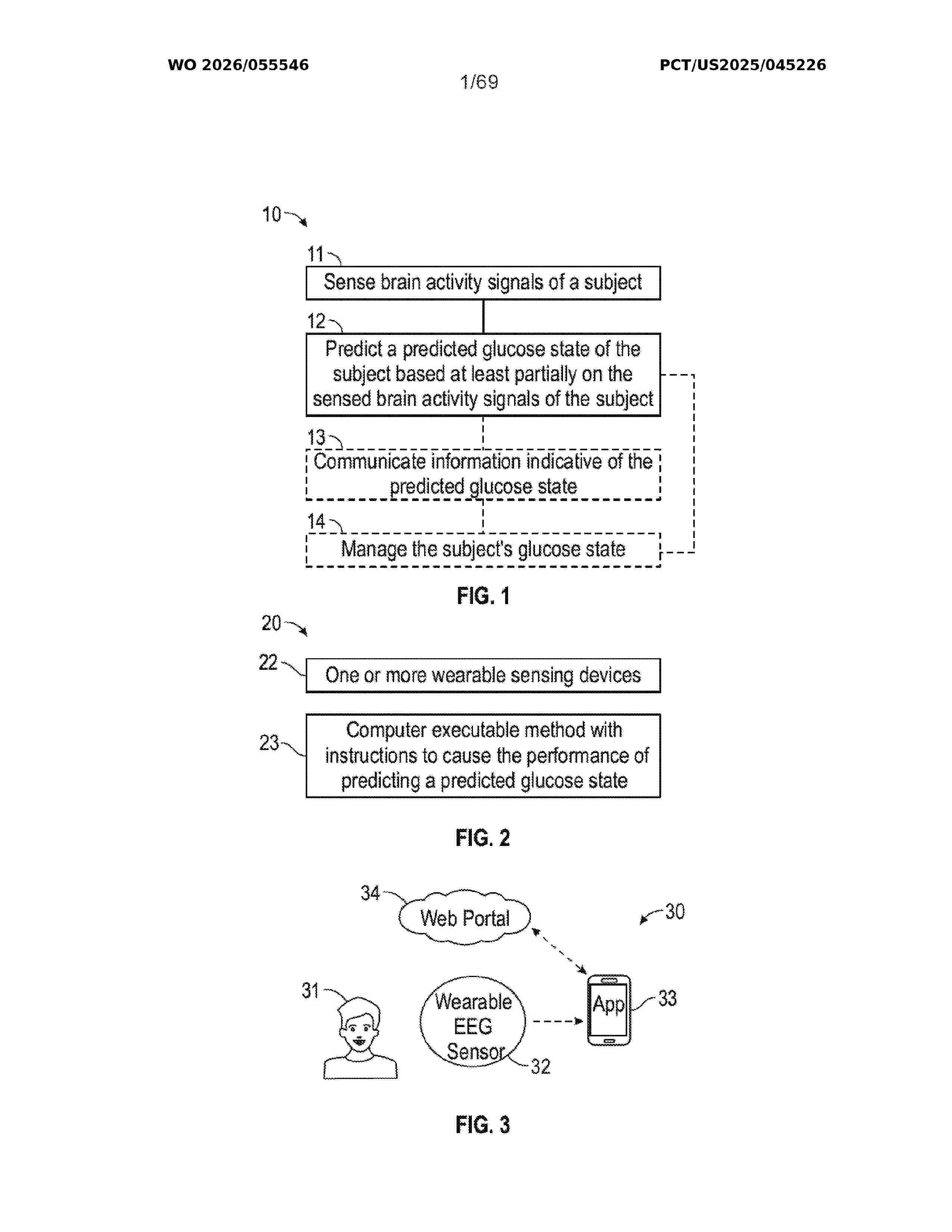
UpDoc Inc
US_2025331781_PA

Resumen de: US2025331781A1

An artificially intelligent, voice-based method for prescribing, managing and administering at least one medication for management of type 2 diabetes to a patient. Aspects of the present disclosure provide for a system and method for configuring one or more clinical algorithms according to one or more clinical protocols to configure a conversational AI model. The conversational AI model is configured to drive a conversational AI agent configured to facilitate a plurality of multi-turn conversational interactions between a patient user and the conversational agent to enable automated initiation and titration of one or more diabetes medications for the patient.

WORKING WIRE FOR A CONTINUOUS GLUCOSE MONITORING SENSOR

NºPublicación:  US2025334537A1 30/10/2025
Solicitante: 
ALLEZ HEALTH INC [US]
Allez Health Inc
US_2025334537_PA

Resumen de: US2025334537A1

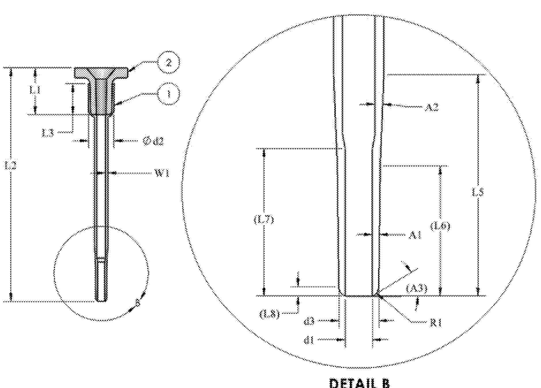
A method of manufacturing a working wire for a continuous glucose monitoring sensor includes receiving a substrate in a wound configuration. The substrate consists of a cobalt-chromium (Co—Cr) alloy. The substrate is unwound from the wound configuration. The substrate is allowed to naturally transition to a straight, linear configuration. A platinum layer is formed on the substrate. A membrane layer comprising a biological membrane is applied over the platinum layer. The working wire is formed to have a diameter in a range from 0.0025 inches to 0.005 inches. A working wire for a continuous glucose monitoring sensor includes a substrate consisting of a cobalt-chromium (Co—Cr) alloy, a platinum layer disposed on the substrate and a membrane layer comprising a biological membrane disposed over the platinum layer. A diameter of the working wire is in a range from 0.0025 inches to 0.005 inches.

SYSTEMS AND METHODS FOR PROCESSING AND TRANSMITTING SENSOR DATA

NºPublicación:  US2025338210A1 30/10/2025
Solicitante: 
DEXCOM INC [US]
Dexcom, Inc
US_2025338210_PA

Resumen de: US2025338210A1

Systems and methods for processing, transmitting and displaying data received from an analyte sensor, such as a glucose sensor, are provided. The data can be displayed on a hand-held display device having a display such as a key fob device including a user interface, such as an LCD and one or more buttons allows a user to view data, and a physical connector, such as USB port.

PROCESSING METHOD AND APPARATUS FOR PPG SIGNAL-BASED BLOOD GLUCOSE PREDICTION MODEL

NºPublicación:  WO2025222911A1 30/10/2025
Solicitante: 
LEPU MEDICAL TECH BEIJING CO LTD [CN]
\u4E50\u666E(\u5317\u4EAC)\u533B\u7597\u5668\u68B0\u80A1\u4EFD\u6709\u9650\u516C\u53F8
WO_2025222911_PA

Resumen de: WO2025222911A1

A processing method and apparatus for a PPG signal-based blood glucose prediction model. The processing method for a PPG signal-based blood glucose prediction model comprises: constructing a PPG signal-based blood glucose prediction model and recording same as a first prediction model; constructing a first original data set by means of data acquisition; performing data preprocessing on the first original data set to obtain a first training data set; performing model training on the first prediction model on the basis of the first training data set; and when the training is finished, performing blood glucose prediction for an arbitrary subject on the basis of the first prediction model. The present invention can improve user experience and enhance user's motivation for self-monitoring.

ADJUSTABLE GLUCOSE SENSOR INITIALIZATION SEQUENCES

NºPublicación:  US2025331743A1 30/10/2025
Solicitante: 
MEDTRONIC MINIMED INC [US]
MEDTRONIC MINIMED, INC
US_2025331743_PA

Resumen de: US2025331743A1

Techniques disclosed herein relate to adjustable glucose sensor initialization sequences. In some embodiments, the techniques may involve determining an initial amplitude of one or more voltage pulses of a sequence of voltage pulses applied to a working electrode of the glucose sensor that is at least partially inserted subcutaneously in a patient. The techniques may further involve determining a slope of one or more parameters of the glucose sensor. The techniques may further involve determining an updated amplitude of the one or more voltage pulses based on the slope of the one or more parameters. The techniques may further involve executing an initialization sequence using the one or more voltage pulses having the updated amplitude to the working electrode of the glucose sensor.

TEMPORALLY ALIGNING PHYSIOLOGICAL PARAMETER MEASUREMENTS

NºPublicación:  US2025331741A1 30/10/2025
Solicitante: 
MEDTRONIC INC [US]
Medtronic, Inc
US_2025331741_PA

Resumen de: US2025331741A1

A system includes an implantable medical device configured to measure blood-glucose concentration based on cardiac activity. The system further includes processing circuitry configured to generate, based on the plurality of periods, a plurality of waveforms representative of the blood-glucose concentration. The processing circuitry is further configured to identify at least one clinically significant feature that is present in each waveform. The processing circuitry is further configured to modify one or more of the plurality of waveforms such that the at least one feature is temporally aligned across the plurality of waveforms.

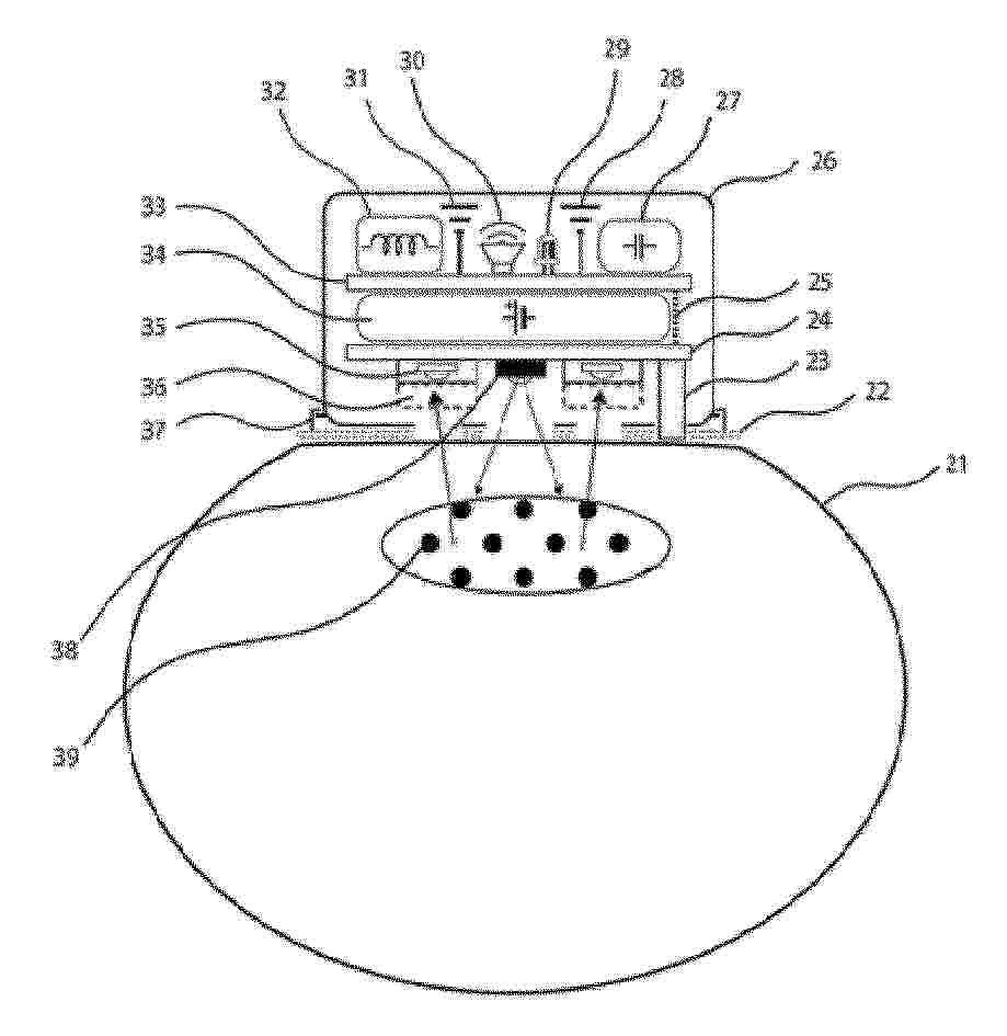
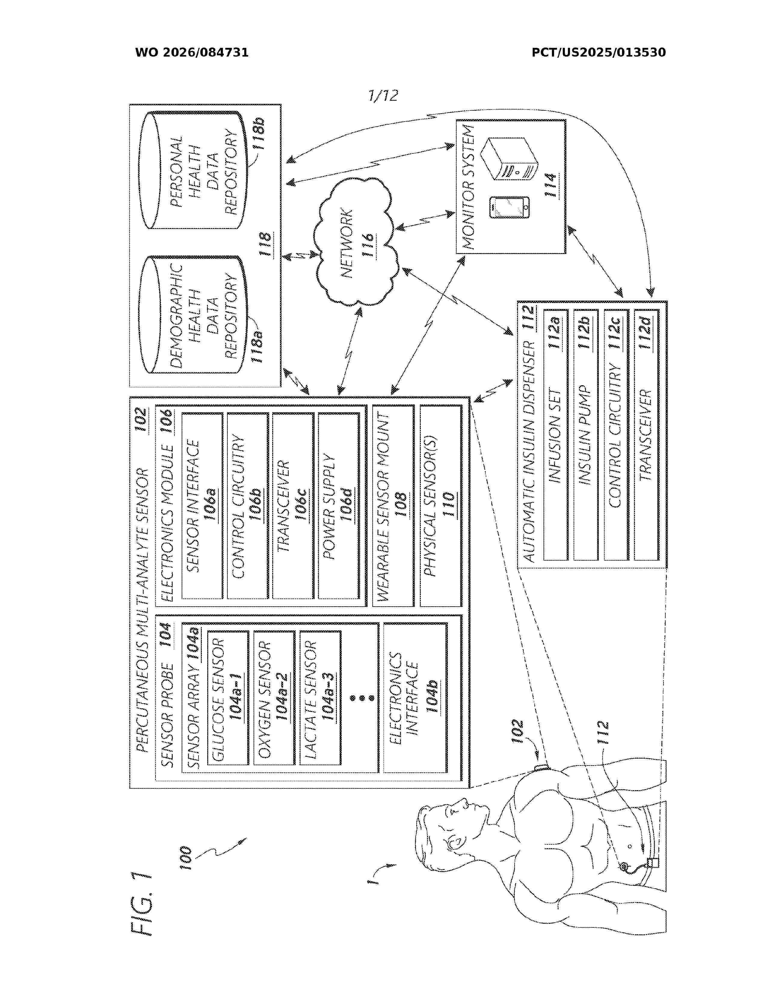
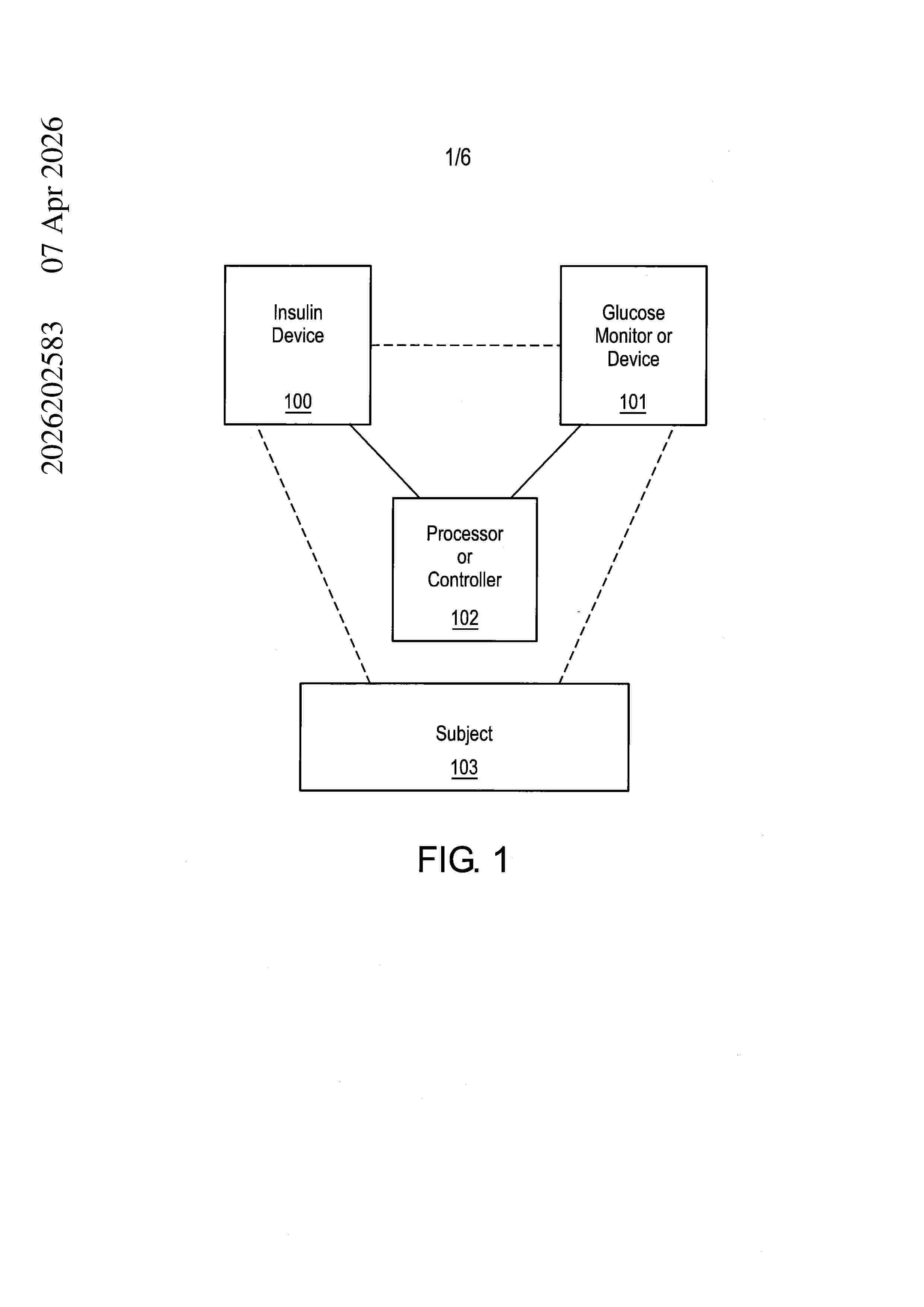
MULTI-ANALYTE SENSING AND MEDICATION CONTROL

NºPublicación:  US2025331740A1 30/10/2025
Solicitante: 
PERCUSENSE INC [US]
PercuSense, Inc
US_2025331740_PA

Resumen de: US2025331740A1

A multi-analyte sensor system is disclosed. The system includes a sensor probe that has a first set of electrodes that transduce glucose into electrical signals, a second set of electrodes that transduce lactate into electrical signals and a third set of electrodes that provide working and counter electrode functionality for the first and second set of electrodes. The system has an electronics module that electrically interfaces with the sensor probe, and includes a transceiver configured to transmit sensor data. The system also includes control circuitry communicatively coupled to the electronics module that determines a glucose state based on signals from the first set of electrodes and also determine a lactate state based on signals from the second set of electrodes. The control circuitry also generates an insulin infusion pump control signal based on signals from the first and second set of electrodes.

Estimation Method, Estimation Program, Estimation System, Determination Method, and Estimation Marker

NºPublicación:  US2025331739A1 30/10/2025
Solicitante: 
SHIMADZU CORP [JP]
SHIMADZU CORPORATION
US_2025331739_PA

Resumen de: US2025331739A1

An estimation method includes: obtaining a measurement value of advanced glycation end products of a subject; and estimating, using a correlation between a measurement value of advanced glycation end products and a blood glucose spike frequency prepared in advance, a blood glucose spike frequency of the subject based on the measurement value of advanced glycation end products of the subject obtained in the obtaining.

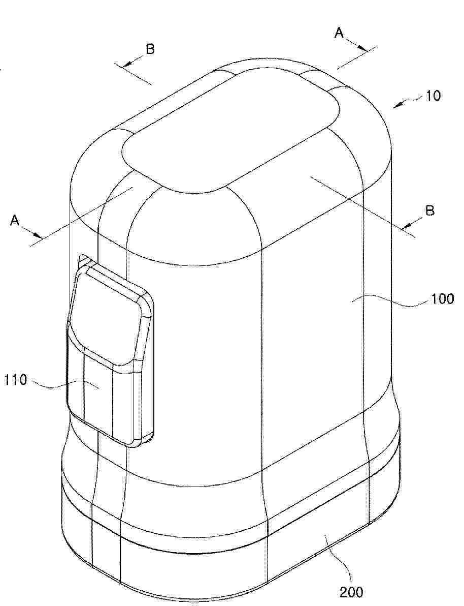
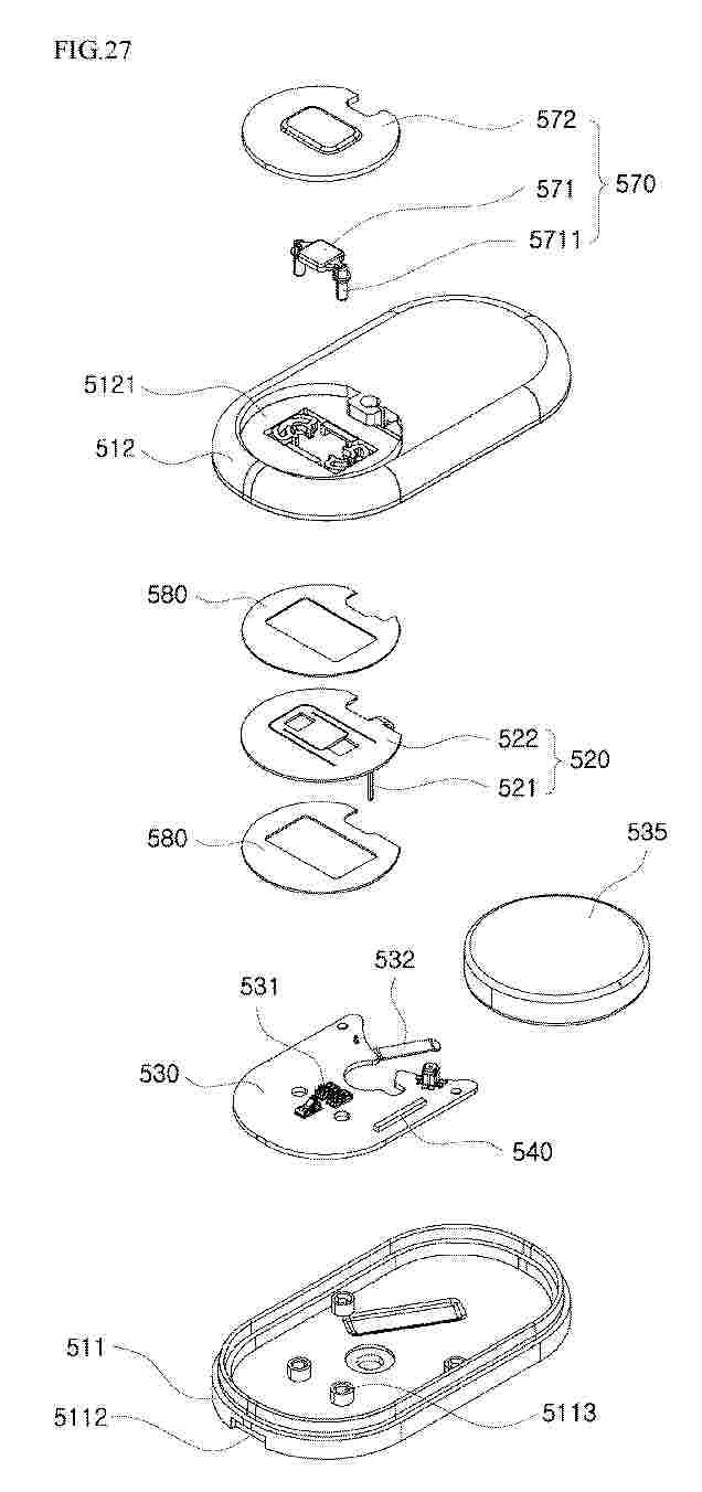
BLOOD GLUCOSE METER

NºPublicación:  US2025331738A1 30/10/2025
Solicitante: 
PHC HOLDINGS CORP [JP]
PHC Holdings Corporation
US_2025331738_PA

Resumen de: US2025331738A1

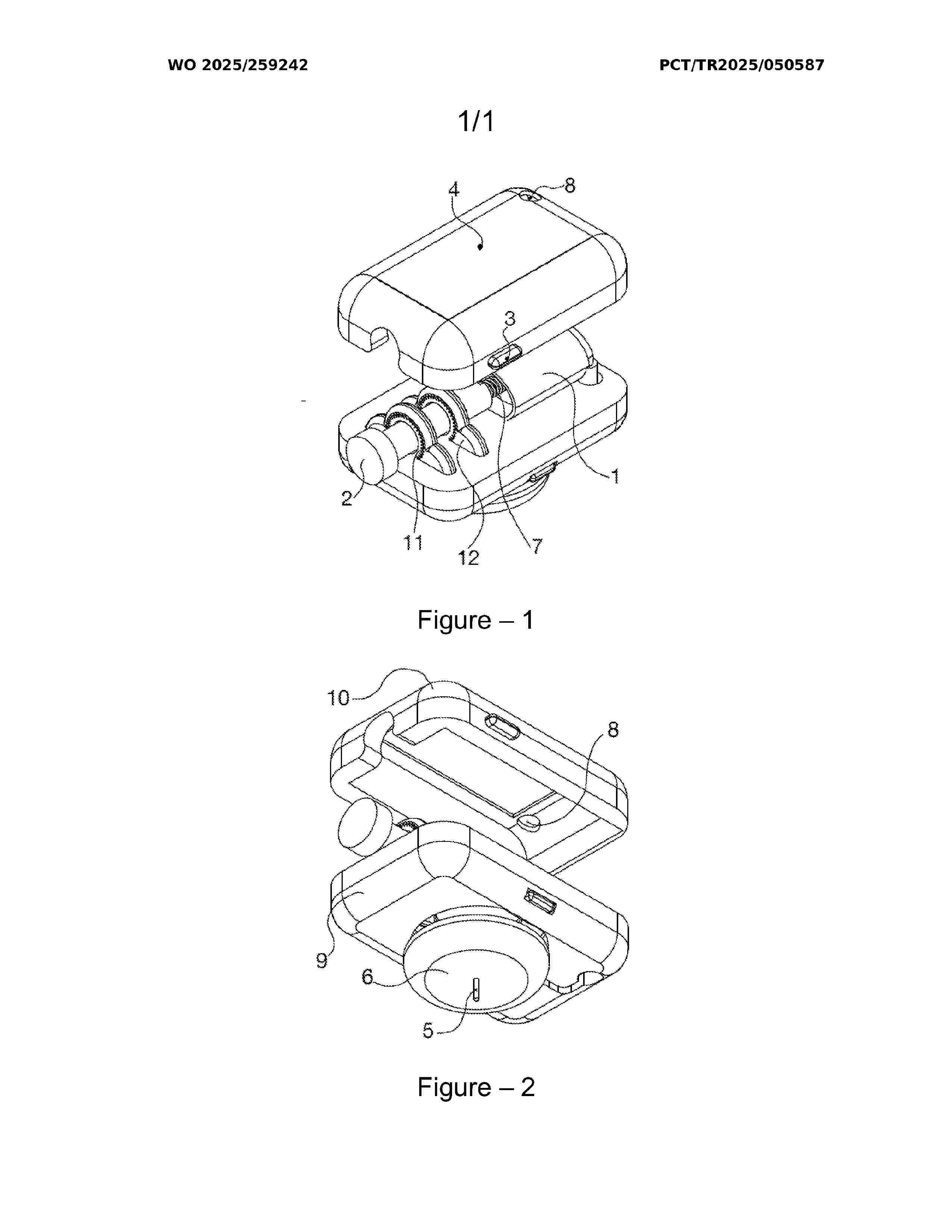
A blood glucose meter (10) comprises a main body part (11), a sensor mounting part (13), a measurement unit (14), a battery compartment (11a), a battery cover (12), a hinge (21), a lock pin (21a), and sliding surfaces (SL1, SL2). The battery cover (12) has an opening (12a) into which a jig Z is inserted during removal from the body portion (11). The hinge (21) deforms when pressed by the jig (Z) inserted through the opening (12a). The lock pin (21a) is provided at a position where it is exposed to the outside through the opening (12a), and when pressed by the jig (Z), the battery cover (12) is unlatched from the main body portion (11). When the battery cover (12) is slid along the sliding surfaces (SL1 and SL2) in a state in which the battery cover (12) is latched to the main body portion (11) by the lock pin (21a), a force in a compression direction is exerted on the hinge (21).

SYSTEMS AND METHODS FOR PROVIDING THERAPY MANAGEMENT GUIDANCE FOR DIAGNOSIS AND MANAGEMENT OF KIDNEY DISEASE

NºPublicación:  WO2025226760A1 30/10/2025
Solicitante: 
DEXCOM INC [US]
DEXCOM, INC
WO_2025226760_PA

Resumen de: WO2025226760A1

Certain aspects of the present disclosure provide a monitoring system comprising one or more memories comprising executable instructions and one or more processors in data communication with the one or more memories and configured to execute the executable instructions to calculate a first reabsorption threshold based on glucose measurements and 1,5-AG measurements of a patient over a first period of time and calculate a second reabsorption threshold based on the glucose measurements and the 1,5-AG measurements of the patient over a second period of time. The one or more processors are further configured to detect a change of the second reabsorption threshold relative to the first reabsorption threshold; determine whether the change of the second reabsorption threshold relative to the first reabsorption threshold is an increase or a decrease; and provide therapy management guidance to the patient based on the increase or the decrease.

CLOSED LOOP CONTROL OF PHYSIOLOGICAL GLUCOSE

NºPublicación:  US2025329432A1 23/10/2025
Solicitante: 
YPSOMED AG [CH]
Ypsomed AG
US_2025329432_PA

Resumen de: US2025329432A1

The present disclosure relates to systems and methods for controlling physiological glucose concentrations in a patient.

IN-VIVO BLOOD GLUCOSE MONITORING APPARATUS

NºPublicación:  WO2025218117A1 23/10/2025
Solicitante: 
JIANGSU YUWELL POCTECH BIOTECHNOLOGY CO LTD [CN]
JIANGSU YUEKAI BIOTECHNOLOGY CO LTD [CN]
ZHEJIANG POCTECH CO LTD [CN]
\u6C5F\u82CF\u9C7C\u8DC3\u51EF\u7ACB\u7279\u751F\u7269\u79D1\u6280\u6709\u9650\u516C\u53F8,
\u6C5F\u82CF\u8DC3\u51EF\u751F\u7269\u6280\u672F\u6709\u9650\u516C\u53F8,
\u6D59\u6C5F\u51EF\u7ACB\u7279\u533B\u7597\u5668\u68B0\u6709\u9650\u516C\u53F8
WO_2025218117_PA

Resumen de: WO2025218117A1

The present application relates to the technical field of medical equipment, and discloses an in-vivo blood glucose monitoring apparatus, comprising a housing, an in-vivo monitoring unit, a sealing film, and a piercing member. An accommodating cavity with a downward-facing cavity opening and an accommodating space located below the accommodating cavity are provided in the housing. The in-vivo monitoring unit comprises a sensor assembly disposed in the accommodating cavity and a transmitter assembly disposed in the accommodating space. The sealing film is disposed at the cavity opening of the accommodating cavity and used for sealing the accommodating cavity. The piercing member is disposed in the accommodating space. A piercing area and a clearance area are provided in a circumferential direction of the piercing member. The piercing member can move relative to the sealing film, enabling the piercing area to pierce the sealing film. Moreover, the pierced sealing film is stored in the accommodating cavity under the action of the clearance area. When the in-vivo blood glucose monitoring apparatus in the present application is used, the user only needs to operate the piercing member and the needle assistance unit, omitting the step of manually assembling the sensor assembly, simplifying the operation steps of the user, and thus improving the use experience of the user.

BLOOD GLUCOSE MANAGEMENT METHOD AND RELATED ELECTRONIC DEVICE

NºPublicación:  US2025325229A1 23/10/2025
Solicitante: 
HUAWEI TECH CO LTD [CN]
HUAWEI TECHNOLOGIES CO., LTD
US_2025325229_PA

Resumen de: US2025325229A1

This application discloses a blood glucose management method and a related electronic device. In the method, meal time of a diet event of a user can be determined based on a blood glucose value of the user, and when a blood glucose curve drawn based on blood glucose values of the user is displayed, the meal time and/or a blood glucose value related to the meal time are/is displayed on the blood glucose curve. In this way, the diet event of the user can be associated with blood glucose of the user, and a blood glucose change of the user before and after a meal can be highlighted. This helps the user more intuitively learn of impact of a diet on the blood glucose, and helps the user manage and control the blood glucose starting from the diet.

BLOOD GLUCOSE PREDICTION METHOD AND DEVICE BASED ON OPTICAL SIGNAL FEATURES AND METABOLIC THERMAL FEATURES

NºPublicación:  US2025325230A1 23/10/2025
Solicitante: 
LEPU MEDICAL TECH BEIJING CO LTD [CN]
LEPU MEDICAL TECHNOLOGY (BEIJING) CO., LTD
US_2025325230_PA

Resumen de: US2025325230A1

A blood glucose prediction method and device based on optical signal features and metabolic thermal features. The method comprises: acquiring first calibrated blood glucose data (1); collecting and generating first, second, third and fourth optical signals (2); collecting and generating first, second, third, fourth, fifth, sixth and seventh metabolic thermal signals (3); extracting and normalizing human optical signal features to generate first, second and third optical feature data groups (4); extracting and normalizing ambient light signal features to generate fourth optical feature data (5); extracting and normalizing metabolic thermal features to generate first, second, third, fourth, fifth, sixth and seventh metabolic thermal feature data (6); performing feature fusion to generate a first feature vector (7); predicting, on the basis of the floating blood glucose prediction model, floating blood glucose values to generate first floating blood glucose data (8); and generating first predicted blood glucose data according to the sum of the first calibrated blood glucose data and the first floating blood glucose data (9). The blood glucose prediction method and device based on optical signal features and metabolic thermal features can be used to provide a non-invasive blood glucose measurement mechanism.

RED BLOOD CELL BLOOD GLUCOSE DIAGNOSIS SYSTEM USING HIGH-FREQUENCY ULTRASOUND AND METHOD THEREOF

NºPublicación:  WO2025221009A1 23/10/2025
Solicitante: 
PUKYONG NATIONAL UNIV INDUSTRY UNIV COOPERATION FOUNDATION [KR]
\uAD6D\uB9BD\uBD80\uACBD\uB300\uD559\uAD50 \uC0B0\uD559\uD611\uB825\uB2E8
WO_2025221009_PA

Resumen de: WO2025221009A1

The present invention relates to a red blood cell blood glucose diagnosis system and method using high-frequency ultrasound, which enable efficient red blood cell blood glucose diagnosis using integrated backscatter (IB) analysis of cell membrane acoustic reflection signals of red blood cells collected using a high-frequency ultrasonic transducer. The red blood cell blood glucose diagnosis system comprises: an ultrasonic diagnosis signal processing unit for setting a diagnosis range and receiving red blood cell reflection signals reflected by applying ultrasonic signals to blood to be diagnosed; and a diagnostic signal analysis and determination unit for processing the reflected signal data received from the ultrasonic diagnostic signal processing unit and outputting glycated hemoglobin quantification and diabetes diagnosis results through integrated backscatter (IB) analysis.

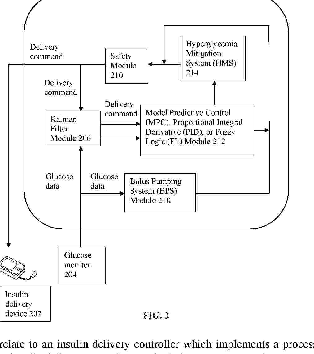
INSULIN PUMP BASED EXPERT SYSTEM

NºPublicación:  US2025325201A1 23/10/2025
Solicitante: 
TANDEM DIABETES CARE INC [US]
Tandem Diabetes Care, Inc
US_2025325201_PA

Resumen de: US2025325201A1

An apparatus comprising a pump configured to deliver insulin, an input configured to receive blood glucose data, a user interface, and a controller communicatively coupled to the pump, the input, and the user interface. The controller includes a blood glucose data module to compare the blood glucose data to a target blood glucose level for an insulin pump user. The controller is configured to present a question related to the blood glucose level via the user interface when the blood glucose level is different than the target blood glucose level, receive a response to the question via the user interface, and present a recommended user action based at least in part on the response. Other devices, systems, and methods are disclosed.

SYSTEM AND METHOD FOR WIRELESS COMMUNICATION OF GLUCOSE DATA

NºPublicación:  US2025325182A1 23/10/2025
Solicitante: 
DEXCOM INC [US]
Dexcom, Inc
US_2025325182_PA

Resumen de: US2025325182A1

Systems, devices, and methods are disclosed for wireless communication of analyte data. One such method includes, during a first interval, establishing a first connection between an analyte sensor system and a display device. During the first connection, the method includes exchanging information related to authentication between the analyte sensor system and the display device. The method includes making a determination regarding whether authentication was performed during the first interval. During a second interval, the method may include establishing a second connection between the analyte sensor system and the display device for transmission of an encrypted analyte value, and bypassing the exchanging of information related to authentication performed during the first connection. The method also includes, during the second interval, the analyte sensor system transmitting the encrypted analyte value to the display device, if the determination indicates that the authentication was performed during the first interval.

Intermittent monitoring

NºPublicación:  AU2025242195A1 23/10/2025
Solicitante: 
DEXCOM INC
Dexcom, Inc
AU_2025242195_A1

Resumen de: AU2025242195A1

INTERMITTENT MONITORING Various examples are directed to systems and methods for patient monitoring. An example method comprises receiving an estimated glucose concentration level of the patient from a continuous glucose monitoring (CGM) system for a first time period. The method may also include receiving non-glucose information relating to the patient for the first time period and determining a relationship between the estimated glucose concentration level and the non-glucose information. The method may also include receiving non-glucose information relating to the patient for a second time period and determining diabetic information about the patient for the second time period based upon the determined relationship and the non-glucose information. The method may include electronically delivering a notification about the diabetic information. INTERMITTENT MONITORING Various examples are directed to systems and methods for patient monitoring. An example method comprises receiving an estimated glucose concentration level of the patient from a continuous glucose monitoring (CGM) system for a first time period. The method may also include receiving non-glucose information relating to the patient for the first time period and determining a relationship between the estimated glucose concentration level and the non-glucose information. The method may also include receiving non-glucose information relating to the patient for a second time period and determining diabetic information

ENZYME IMMOBILIZED ADHESIVE LAYER FOR ANALYTE SENSORS

NºPublicación:  US2025327768A1 23/10/2025
Solicitante: 
DEXCOM INC [US]
Dexcom, Inc
US_2025327768_PA

Resumen de: US2025327768A1

Disclosed are devices for determining an analyte concentration (e.g., glucose). The devices comprise a sensor configured to generate a signal associated with a concentration of an analyte and a sensing membrane located over the sensor. The sensing membrane comprises an enzyme layer, wherein the enzyme layer comprises an enzyme and a polymer comprising polyurethane and/or polyurea segments and one or more zwitterionic repeating units. The enzyme layer protects the enzyme and prevents it from leaching from the sensing membrane into a host or deactivating.

METHODS AND SYSTEMS FOR INHIBITING FOREIGN-BODY RESPONSES IN DIABETIC PATIENTS

NºPublicación:  US2025325580A1 23/10/2025
Solicitante: 
MEDTRONIC MINIMED INC [US]
MEDTRONIC MINIMED, INC
US_2025325580_PA

Resumen de: US2025325580A1

Methods and devices are provided for reducing a diabetic patient's foreign body immune response, including infusion site-loss and/or occlusion. Such foreign body responses are associated with the treatment of the diabetic patient where the treatment requires subcutaneous implantation of a foreign body, such as a cannula or catheter. In certain embodiments of the invention, a response-inhibiting agent is administered to a patient at the site of cannula/catheter insertion, thereby facilitating delivery of insulin to the diabetic patient and mitigating site-loss and/or occlusion over a period of time.

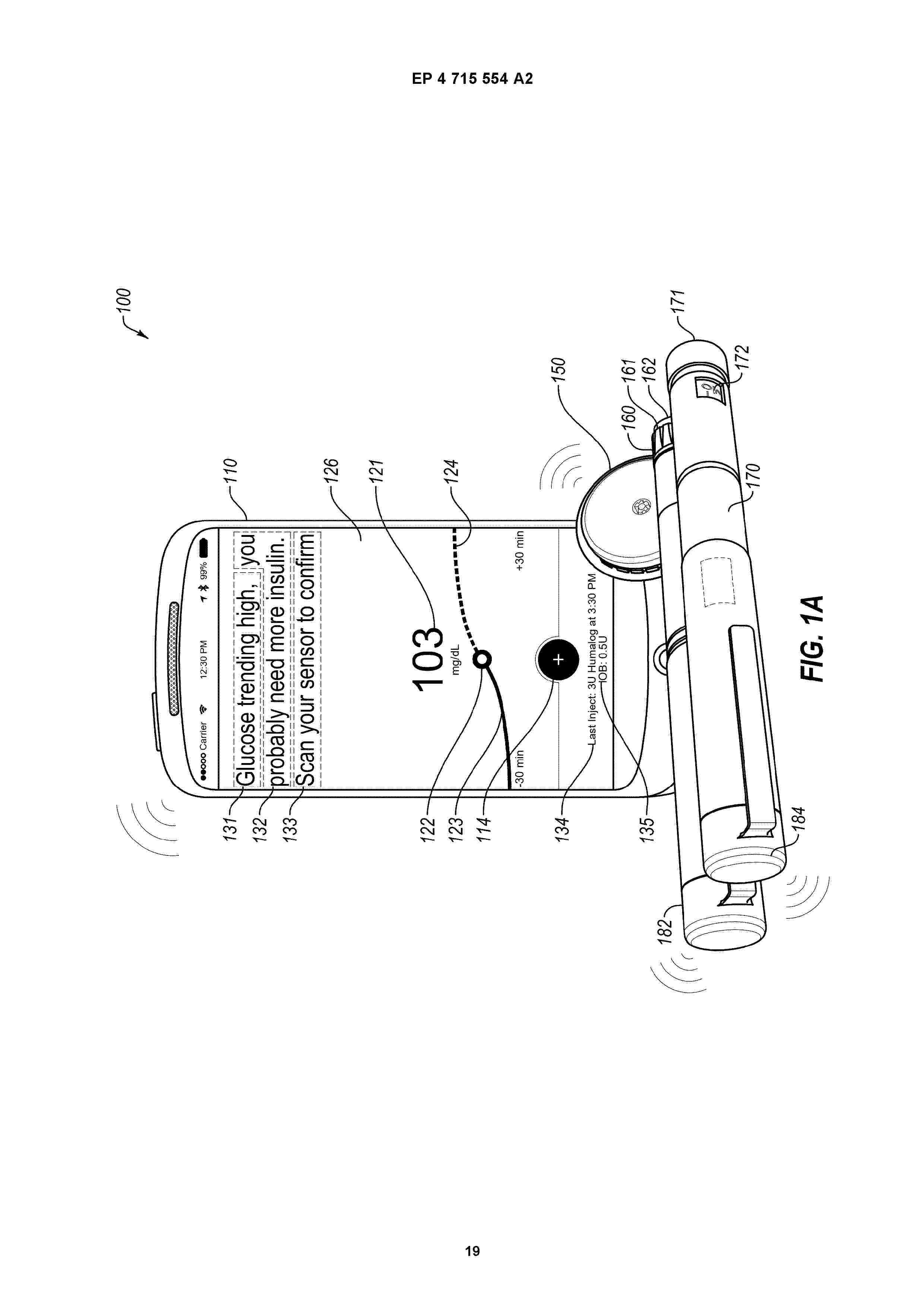
SYSTEM AND METHOD FOR MAXIMUM INSULIN PUMP BOLUS OVERRIDE

NºPublicación:  US2025325742A1 23/10/2025
Solicitante: 
TANDEM DIABETES CARE INC [US]
Tandem Diabetes Care, Inc
US_2025325742_PA

Resumen de: US2025325742A1

An ambulatory infusion pump can include a maximum bolus override procedure. When a bolus amount greater than a maximum bolus amount is requested, the pump can provide an alert indicating that the amount requested exceeds the maximum bolus amount. If the user confirms the request in response to the alert, the bolus amount can be delivered to the user. The amount delivered in response to the confirmation can be a first portion of the bolus amount. A reminder can then be provided that a second portion of the bolus amount that is a remaining portion of the requested bolus amount was also requested. If a second confirmation is received in response to the alert, the second portion of the bolus amount can also delivered to the user.

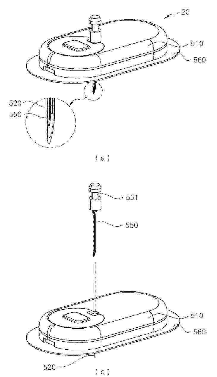
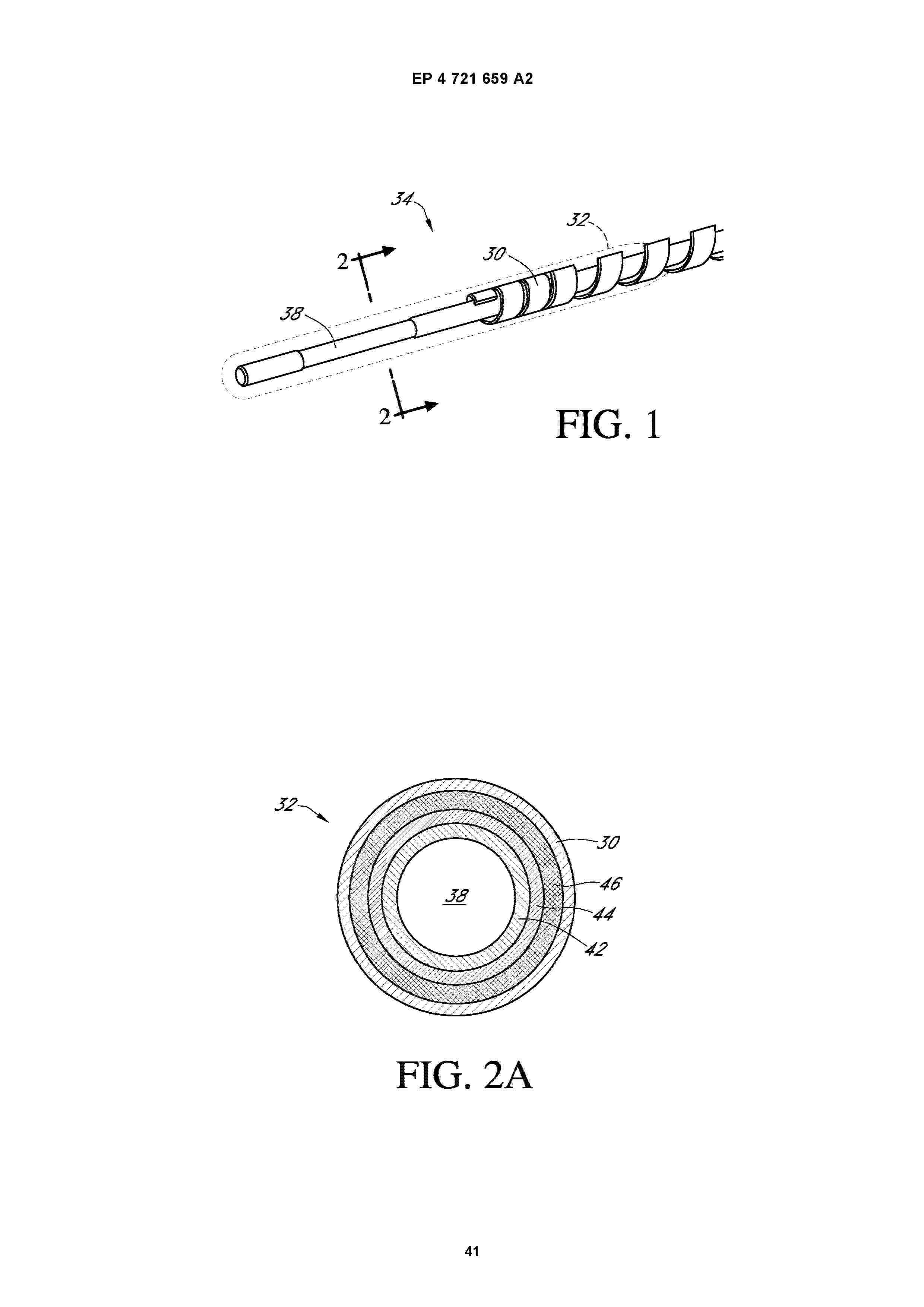
SENSOR APPLICATOR ASSEMBLY FOR CONTINUOUS GLUCOSE MONITORING SYSTEM

NºPublicación:  EP4635416A2 22/10/2025
Solicitante: 
I SENS INC [KR]
i-Sens, Inc
EP_4635416_A2

Resumen de: EP4635416A2

The present invention relates to a sensor applicator assembly for a continuous glucose monitoring system and provides a sensor applicator assembly for a continuous glucose monitoring system, which is manufactured with a sensor module assembled inside an applicator, thereby minimizing additional work by a user for attaching the sensor module to the body and allowing the sensor module to be attached to the body simply by operating the applicator, and thus can be used more conveniently. A battery is built in the sensor module and a separate transmitter is connected to the sensor module so as to receive power supply from the sensor module and be continuously used semi-permanently, thereby making the assembly economical. The sensor module and the applicator are used as disposables, thereby allowing accurate and safe use and convenient maintenance.

METHOD FOR STABILIZING CONTINUOUS BLOOD GLUCOSE MONITORING SYSTEM

NºPublicación:  EP4635409A2 22/10/2025
Solicitante: 
I SENS INC [KR]
i-Sens, Inc
EP_4635409_A2

Resumen de: EP4635409A2

The present disclosure relates to a method for stabilizing a continuous glucose monitoring system. The method for stabilizing a continuous glucose monitoring system according to an embodiment of the present invention may comprise: a step of measuring biometric information by a sensor transmitter disposed in a part of a user's body so as to measure the user's biometric information; a step of transmitting, by the sensor transmitter, data on the measured biometric information (biometric information data) to a communication terminal; a stabilization step of stabilizing, by the communication terminal, the biometric information data received from the sensor transmitter; and a step of displaying, by the communication terminal, the biometric information data after the stabilizing step is completed, so as to allow the user to identify the biometric information data received from the sensor transmitter, wherein in the stabilization step, the communication terminal variably controls the time during which the biometric information data received from the sensor transmitter is stabilized. The present disclosure has an advantage in that the time during which data measured by a sensor transmitter is stabilized can be variably controlled according to sensor transmitters, and thus accurate biometric information data can be provided to a user.

CONTINUOUS BLOOD GLUCOSE MEASUREMENT APPARATUS

NºPublicación:  EP4635406A2 22/10/2025
Solicitante: 
I SENS INC [KR]
I-SENS, INC
EP_4635406_A2

Resumen de: EP4635406A2

The present invention relates to a continuous blood glucose measurement device which is produced with an assembled body attachment unit inside an applicator so as to minimize a user's additional work of attaching the body attachment unit to the body, thereby enabling the body attachment unit to be attached to the body by simply activating the applicator, and, particularly, the present invention provides a continuous blood glucose measurement device which: is provided with a wireless communication chip in a body attachment unit so as to enable communication with an external terminal, thereby enabling simple and convenient use, without additional work of connecting a separate transmitter, and easier maintenance; and is activated by the user after the body attachment unit is attached to the body so as to enable the operation start time to be adjusted to an appropriate time according to user's needs, and to enable the operation to start in a stabilized state so that blood glucose can be measured more accurately.

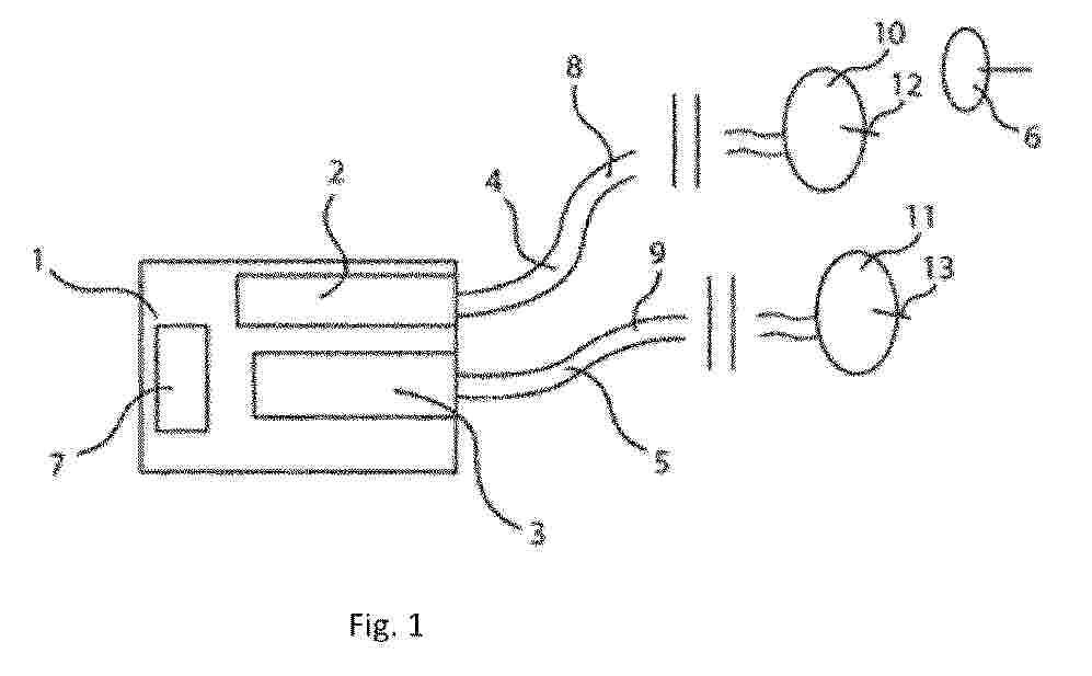
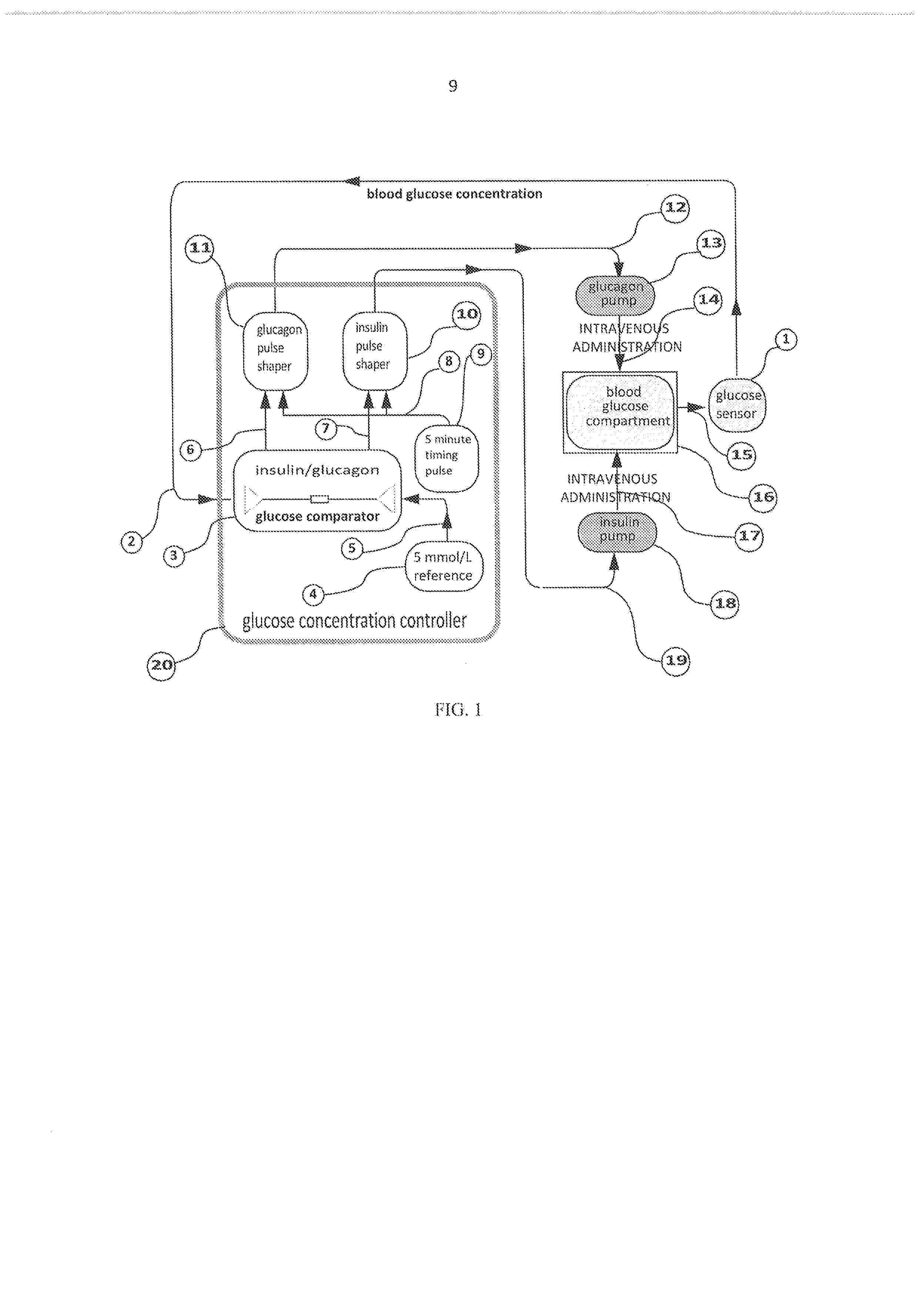
A Method and System for Closed Loop Pulse Modulated Hormone Delivery Adapted to the Specific Half-Life Properties

Nº publicación: NL1044854B1 16/10/2025

Solicitante:

IR SIMON LUCAS GOEDE [NL]
IR. SIMON LUCAS GOEDE

NL_1044854_B1

Resumen de: NL1044854B1

The invention is related to a device and method for the intravenously administered administration of hormones with the aim to regulate and control, for example, a desired euglycemic homeostatic condition for individuals suffering from diabetes type 1. The hormone dose effect on the desired condition is periodically evaluated dependent on the half-life value of the administered hormone by means of measurement of the desired concentration in plasma. In this invention an intravenous method of administration of the hormone in the form of a micro bolus is used because the commonly applied method of subcutaneous administration results in an undefined and unreliable transfer of the hormone to the blood compartment which results in problems to realize an optimal unattended closed loop control system. This invention relates to a device and method using the intravenous administration of the hormones insuli n and glucagon according to their half-life properties in order to attain automatically the desired state of glucose homeostasis using continuous glucose sensors providing the electronic device with the necessary control data. The results of the proceseed data are sent, dependent on the glucose concentration, to control a here not defi lied separate insulin and glucagon pump, which administers the hormone in the form of a micao bolus. This micro bolus is always too small to cause any risk for the user. The device and method are applieable for every individual in order to control and

traducir