Ministerio de Industria, Turismo y Comercio LogoMinisterior
 

Viticultura y Enología

Resultados 20 resultados
LastUpdate Última actualización 04/12/2025 [06:58:00]
pdfxls
Solicitudes publicadas en los últimos 30 días / Applications published in the last 30 days
Resultados 1 a 20  

SYSTEM AND METHOD FOR SELF RELEASING CHAMPAGNE CORK WITH ELECTROMECHANICAL RELEASE MECHANISM

NºPublicación:  EP4655217A2 03/12/2025
Solicitante: 
CHRISTIAN MICHAEL B [US]
Christian, Michael, B
CN_117813243_PA

Resumen de: CN117813243A

A system and method for compressing an easy-to-handle auto-release stopper/cork of a liquid bottle. The cork has an airbag designed to be inserted into the bottle and inflated, the airbag having a ribbed or smooth exterior to complete sealing of the bottle, whereby the gas release mechanism can be activated by pressing a button on the cap or via an onboard microcontroller and/or an electromechanical release scheme in the cap. Once gas is released from the top of the bladder, pressure within the container will collapse the bottom of the bladder and eject the cork assembly from the bottle.

IMPROVED WIRE SUPPORTING DEVICE FOR AGRICULTURAL POLES

NºPublicación:  EP4656034A1 03/12/2025
Solicitante: 
BORTOLUSSI FRANCO [IT]
BORTOLUSSI CLAUDIO [IT]
Bortolussi, Franco,
Bortolussi, Claudio
EP_4656034_PA

Resumen de: EP4656034A1

The present invention relates to an improved device for supporting wires for supporting vegetation of plants, preferably orchards and especially vineyards. In particular, the invention relates to a hook to be applied to an agricultural pole, that is particularly versatile, easy to use and cost-effective to produce. The invention also relates to an agricultural pole comprising such hook and to a method and a plant for supporting plants in rows comprising the implementation of said pole with hook.

Method for pumping over the grape harvest during maceration and means for pumping over a grape harvest

NºPublicación:  NZ766318A 28/11/2025
Solicitante: 
PRODUCTOS AGROVIN S A
PRODUCTOS AGROVIN S.A
ES_2960085_T3

Resumen de: NZ766318A

The invention relates to a method and equipment for the pressurised injection of air or other gases in a controlled manner into wine making tanks or similar for the purpose of efficiently breaking up the cap and extracting the polyphenolic and aromatic compounds from the skins to the liquid portion (must) after the crushing of the grapes using the method for pumping over the grape harvest during the maceration thereof. The method comprising injecting air or other gases in a controlled manner using means for pressurised injection of air or other gases arranged with diffusers having gas outlets of the means located at different heights or levels of a lower portion within the tank, wherein air is injected into the tank at least through pairs of diffusers, simultaneously striking at least two regions of a cap during operation of the injection means, the method comprising an injection cycle in which there is an injection period during which each pair of diffusers introduces gas into the tank continuously for between 1 and 10 seconds, a switching period between injection by a pair of diffusers and injection by a pair of consecutive diffusers of between 0.5 and 10 minutes, and a cycle rest period elapsing between the end of a pumping over cycle of diffusers and the start of the following pumping over cycle of between 90 and 720 minutes, wherein a cycle consists of the actuation of all the pairs of diffusers sequentially, wherein the injection means is supplied by means of a compress

TOPICAL COMPOSITIONS AND METHODS

NºPublicación:  US2025360075A1 27/11/2025
Solicitante: 
MARY KAY INC [US]
MARY KAY INC
US_2025360075_A1

Resumen de: US2025360075A1

The present invention relates generally to cosmetic compositions and methods that can be used to increase skin hydration, increase adenosine triphosphate (ATP) production in skin, increase antioxidant capacity of skin, reduce glycation of skin, or a combination thereof. In particular, topical application of the compositions to skin increases adenosine triphosphate (ATP) production in skin by at least 10%, increases antioxidant capacity of skin, and/or reduces glycation of skin by at least 50%. In particular, the compositions can include Chamomilla recutita (Matricaria) flower extract, Vitis vinifera (Grape) seed extract, hydrolyzed sodium hyaluronate, Natural Moisturizing Factors (NMF), and optionally carnosine.

METHOD FOR PRODUCING BOBBINS AND EXCHANGING EMPTY TUBES WITH BOBBINS IN A MODULAR ROVING FRAME, MODULAR ROVING FRAME SUITABLE FOR IMPLEMENTING SUCH A METHOD

NºPublicación:  WO2025243214A1 27/11/2025
Solicitante: 
MARZOLI MACHINES TEXTILE S R L [IT]
MARZOLI MACHINES TEXTILE S.R.L
WO_2025243214_PA

Resumen de: WO2025243214A1

A method for producing bobbins (10) and exchanging empty tubes (17) with bobbins (10) in a modular roving frame (100) comprising at least a first and a second production unit and an exchanger, provides for controlling a first desired production speed (vid) of the first production unit (1) and a second desired production speed (v2d) of the second production unit (1'), so that, in response to the detection of a time discrepancy (ΔT1) between a first desired production period (T1d) and a first production period (T1), the method provides for changing the first desired production speed (vid) of the first production unit (1) and/or the second desired production speed (v2d) of the second production unit (1') to determine a relative production speed change (Δv12) between the first production unit (1) and the second production unit (1'). An electronic control unit (50) for controlling a modular roving frame (100) is configured to carry out the method. Furthermore, a modular roving frame is configured to perform the aforesaid method.

TREATMENTS, METHODS, AND KITS TO PROTECT AGRICULTURAL PRODUCTS FROM WILDFIRE SMOKE

NºPublicación:  US2025359566A1 27/11/2025
Solicitante: 
COMESTAAG LLC [US]
COMESTAAG LLC
US_2025359566_A1

Resumen de: US2025359566A1

Methods, kits, and treatment compositions for treating agricultural products to reduce or preventing wildfire smoke taint or other types of taint, including treated agricultural products, are provided. One or more treatment compositions effective in reducing or preventing wildfire smoke taint are preferably applied to agricultural products such as, for example, wine grapes prior to and/or during wildfire smoke exposure.

ELECTRONIC APPARATUS AND CONTROLLING METHOD THEREOF

NºPublicación:  US2025363816A1 27/11/2025
Solicitante: 
SAMSUNG ELECTRONICS CO LTD [KR]
SAMSUNG ELECTRONICS CO., LTD
US_2025363816_PA

Resumen de: US2025363816A1

An electronic apparatus for storing wine includes a door; memory storing instructions; a camera; and at least one processor, wherein the instructions, when executed by the at least one processor, cause the electronic apparatus to acquire a captured image via the camera based on the door being open; acquire, based on the captured image, wine storage information including a shelf location where a wine object is placed and a wine location of the wine object; acquire wine feature information corresponding to the wine object; store wine information including the wine storage information and the wine feature information in the memory; and transmit the wine information to a user terminal to cause the user terminal to display at least one of the wine storage information, the wine feature information, a storage recommendation based on the wine information, or a food pairing recommendation based on the wine information.

RADIOACTIVE WASTE SUPPLYING DEVICE

NºPublicación:  EP4654220A1 26/11/2025
Solicitante: 
KOREA HYDRO & NUCLEAR POWER CO [KR]
Korea Hydro & Nuclear Power Co., Ltd
EP_4654220_PA

Resumen de: EP4654220A1

Disclosed herein is a radioactive waste supply device used in a radioactive waste vitrification facility for vitirifying radioactive waste. The radioactive waste supply device may supply radioactive waste to a vitrification melter, and may include: a main supply pipe including one end and the other end and supplying the radioactive waste from the other end toward the one end, the one end facing the vitrification melter; a sub-supply pipe including one side and the other side and disposed in the main supply pipe so that the one side is adjacent to the one end; and a dispersing portion positioned on the one side of the sub-supply pipe and allowing the radioactive waste passing through the sub-supply pipe to be dispersed and injected into the vitrification melter.

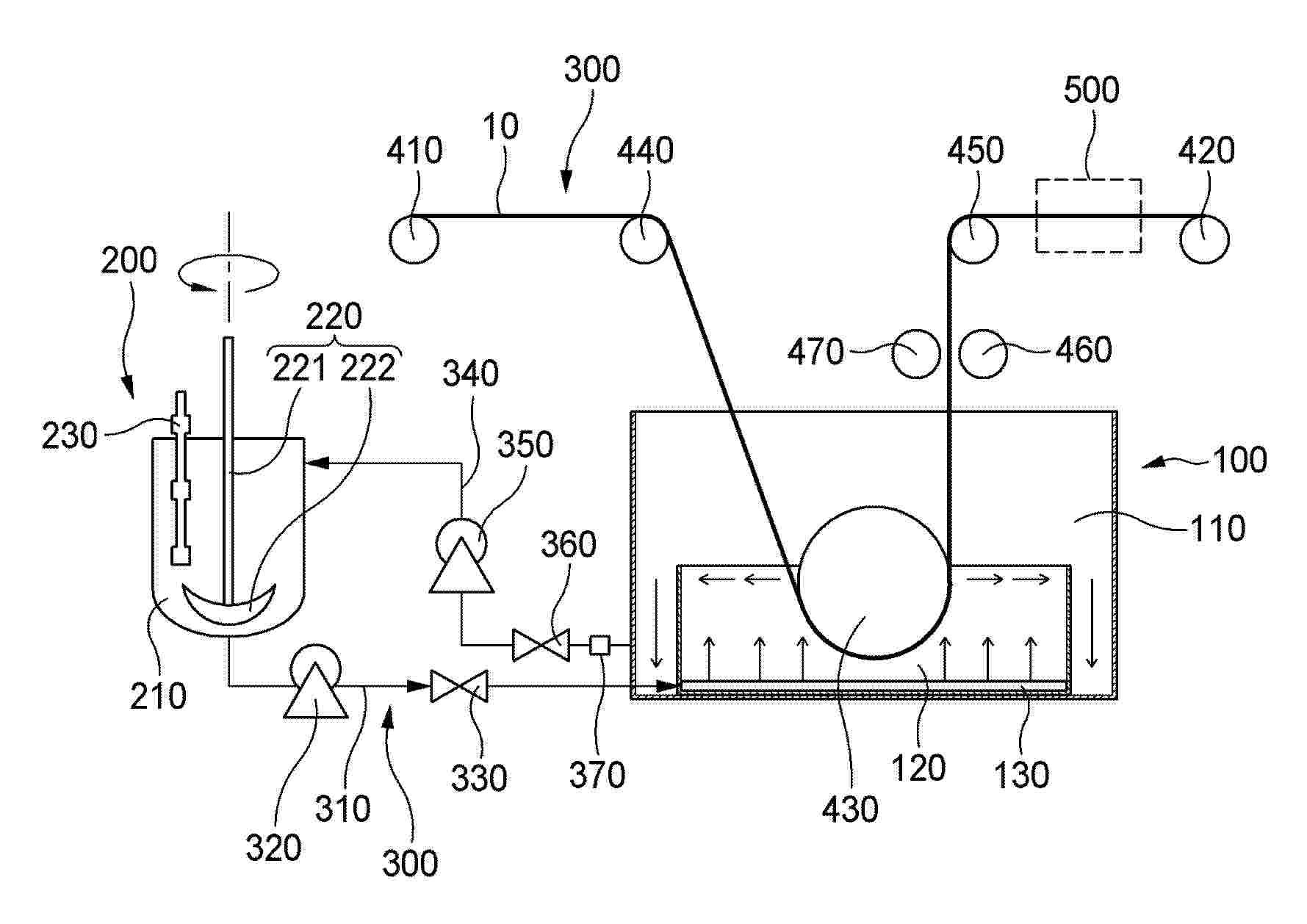
A SYSTEM AND PROCESS FOR TREATING WINE

NºPublicación:  WO2025238337A1 20/11/2025
Solicitante: 
VINALCHEMY LTD [GB]
VINALCHEMY LIMITED
WO_2025238337_PA

Resumen de: WO2025238337A1

A method for producing wine comprises dosing a flowing body of a wine product with a stream of bubbles of a gas mixture to promote aeration of the wine product during one or more stages of wine production, wherein the gas mixture comprises an inert sparging gas having between 03% and 10% by volume of oxygen (O2). A preferred system for aerating a wine product during the production of wine comprises a housing for receiving a flow of the wine product, the housing having an aeration treatment zone, a wine input port coupled to a proximal end of the aeration treatment zone, and a wine output port coupled to a distal end of the aeration treatment zone; a source of aeration gas; and, a gas introducer apparatus positioned within the aeration treatment zone and coupled to the source of aeration gas for introducing a stream of gas bubbles in the wine product as it flows through the aeration treatment zone to the wine output port, thereby to aerate the wine product.

MODULATION IN PRODUCTION OF ESTER FLAVOR COMPOUNDS IN YEAST FOR FLAVORED BEVERAGE PRODUCTION

NºPublicación:  WO2025238614A1 20/11/2025
Solicitante: 
DANSTAR FERMENT AG [CH]
DANSTAR FERMENT AG
WO_2025238614_A1

Resumen de: WO2025238614A1

The present disclosure concerns a recombinant yeast host cell for making a flavored solution obtainable or obtained by fermentation of a fermentation medium. The recombinant yeast host cell comprises an upregulated alcohol acetyltransferase 2 (ATF2) and/or an upregulated phenylpyruvate decarboxylase (ARO10); and at least one downregulated native transferase when compared to a wild-type yeast host cell. The at least one downregulated transferase is a native alcohol acetyltransferase 1 (ATF1) and/or a native ethanol acetyl-CoA transferase (EAT1). The present disclosure also concerns process for making a flavored solution which could be used to generate new flavored beverages such as beer, distilled spirits, and wines.

Device For Refilling a Final Container with Wine or Spirits, Refill Assembly Comprising such a Device and Method of Implementation

NºPublicación:  US2025353731A1 20/11/2025
Solicitante: 
SOC JAS HENNESSY ET COMPAGNIE [FR]
Soci\u00E9t\u00E9 JAS HENNESSY ET COMPAGNIE
WO_2023194691_PA

Resumen de: US2025353731A1

A device for refilling a final container with at least one wine or spirit, comprises a hollow body forming a reservoir, and, at or near a first end of the hollow body, separate first and second orifices which are in fluid communication with the reservoir. The first orifice is in fluid communication with the reservoir via a tube extending through the reservoir.

WINE BARREL

NºPublicación:  WO2025238279A1 20/11/2025
Solicitante: 
SIERRA MALDONADO RAUL [ES]
SIERRA MALDONADO, Ra\u00FAl
WO_2025238279_PA

Resumen de: WO2025238279A1

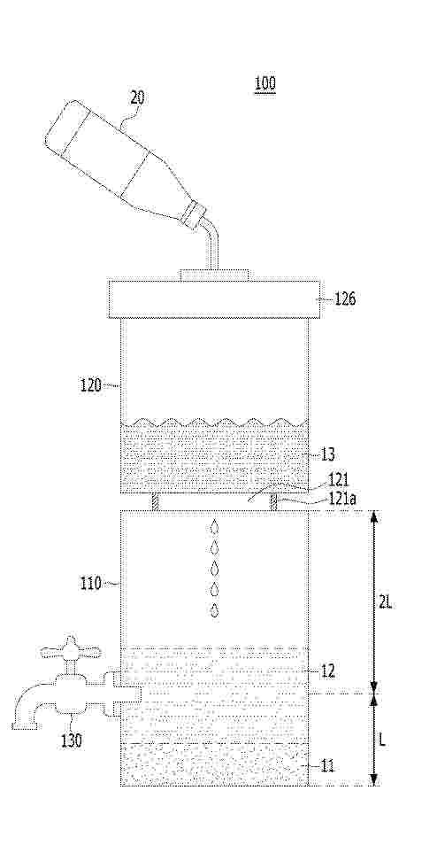
The present invention relates to a wine barrel formed by a barrel body (1) with a filling mouth (11) and comprising a removable bung (2), characterised in that the bung (2) has a longitudinal through hole (21) connected to an auxiliary vacuum tank (4).

THERMAL BOX FOR BEVERAGES

NºPublicación:  WO2025238280A1 20/11/2025
Solicitante: 
CORTES UTRERO GONZALO [ES]
CORT\u00C9S UTRERO, Gonzalo
WO_2025238280_PA

Resumen de: WO2025238280A1

The present invention relates to a thermal box for beverages comprising a box (1) that stores at least one bottle of wine, beer or other beverages in a refrigerating chamber for household or commercial use, said box (1) being equipped with a temperature control system (2).

BEVERAGE BARREL

NºPublicación:  WO2025236366A1 20/11/2025
Solicitante: 
TALOS TECH CORPORATION [CN]
\u5854\u7F57\u65AF\u79D1\u6280\u80A1\u4EFD\u6709\u9650\u516C\u53F8
WO_2025236366_PA

Resumen de: WO2025236366A1

A beverage barrel, belonging to the technical field of wine and beverage apparatuses. The beverage barrel comprises a barrel body (1), an inner bag (2), and a liquid output valve (3) mounted at a barrel mouth of the barrel body, wherein the inner bag is arranged in the barrel body in a folded state, and a bag cavity (21) of the inner bag is in communication with the liquid output valve; the inner bag is formed by aligning two rectangular plastic film sheets (22) and then fusing peripheral edges thereof; the edge of the inner bag has edge joint portions (23) formed by overlapping and fusing the two plastic film sheets; the inner bag is first folded, so that the edge joint portions are arranged in the direction of the height of the inner bag and located in the middle position of the inner bag in a transverse direction; and then each corner (24) of the inner bag is folded inward into the bag cavity, so that the inwardly recessed part forms a corner interlayer portion (25), the edge joint portions passing through the surface of each corner interlayer portion. During the filling of the beverage barrel, the inner bag can be unfolded in an orderly manner to make full use of the volume of the barrel body, so that the technical problems of unsmooth filling and difficulty in terms of fully filling present beverage barrels can be solved at a relatively low cost.

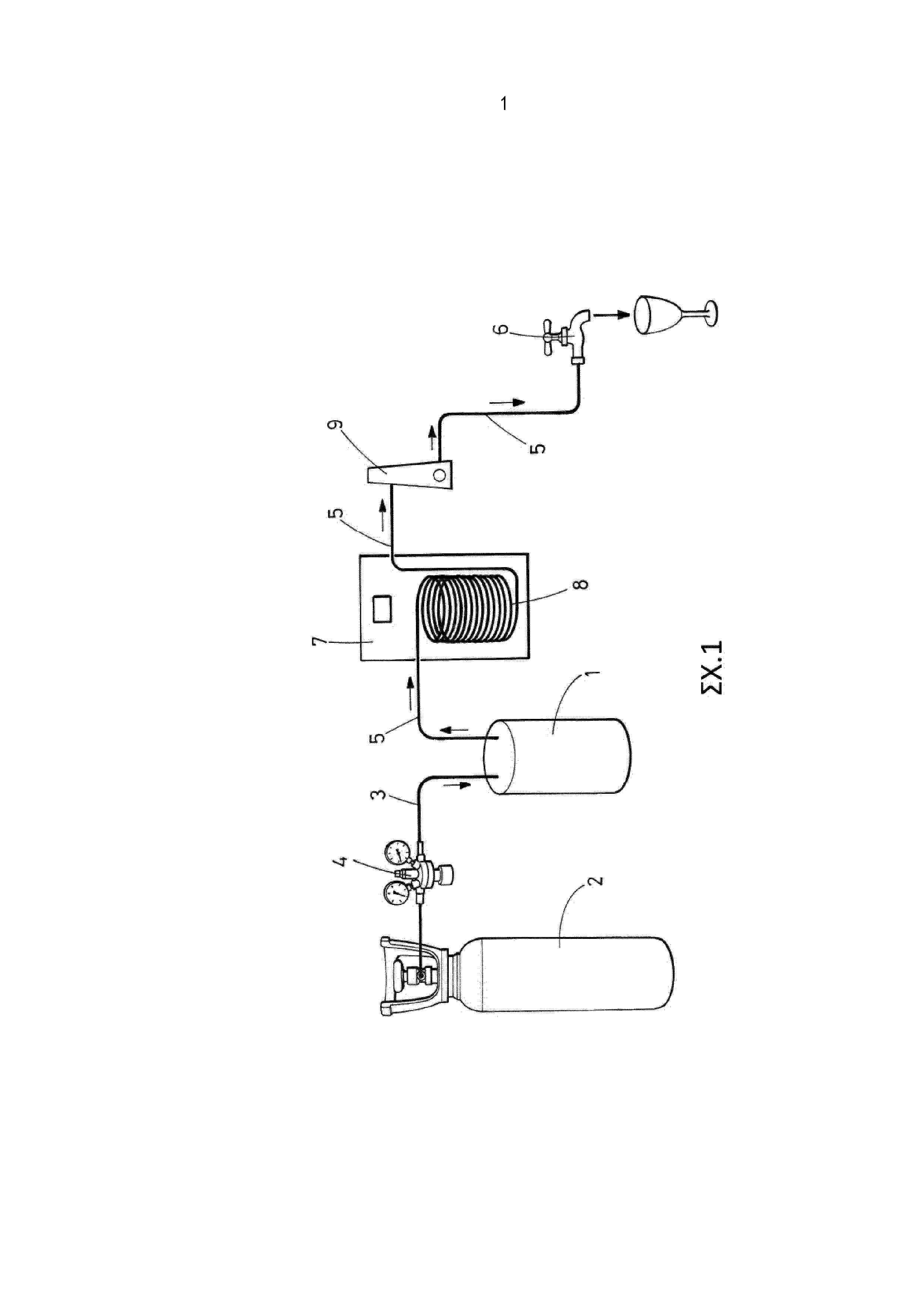
HYBRID SYSTEM FOR PRODUCING ALCOHOLIC BEVERAGES UNDER CONSTANT PRESSURE

NºPublicación:  WO2025233297A1 13/11/2025
Solicitante: 
GANTENBRINK BRUNO ALEXANDER [DE]
POPA VITALIE [MD]
GANTENBRINK, Bruno Alexander,
POPA, Vitalie
WO_2025233297_PA

Resumen de: WO2025233297A1

A system for producing alcoholic beverages under constant pressure, in particular wine or beer, and a method for producing alcoholic beverages are provided. The system comprises a first container including a first chamber for storing raw materials and/or fermented materials; a second container including a second chamber for storing raw materials, alcoholic beverages and/or gases; wherein the first container and the second container are configured for fluid communication, in particular via an opening formed in the first container; and wherein the system, in particular the first container and the second container, is configured to continuously maintain a constant pressure, during chemical processes for producing the alcoholic beverages, in particular the chemical processes comprising maceration, fermentation, malolactic fermentation and/or aging. The present invention further provides for a method for producing alcoholic beverages under constant pressure.

HYBRID SYSTEM FOR PRODUCING ALCOHOLIC BEVERAGES UNDER CONSTANT PRESSURE

NºPublicación:  EP4647483A1 12/11/2025
Solicitante: 
GANTENBRINK BRUNO ALEXANDER [DE]
POPA VITALIE [MD]
Gantenbrink, Bruno Alexander,
Popa, Vitalie
EP_4647483_PA

Resumen de: EP4647483A1

A system for producing alcoholic beverages under constant pressure, in particular wine or beer, and a method for producing alcoholic beverages are provided. The system comprises a first container including a first chamber for storing raw materials and/or fermented materials; a second container including a second chamber for storing raw materials, alcoholic beverages and/or gases; wherein the first container and the second container are configured for fluid communication, in particular via an opening formed in the first container; and wherein the system, in particular the first container and the second container, is configured to continuously maintain a constant pressure, during chemical processes for producing the alcoholic beverages, in particular the chemical processes comprising maceration, fermentation, malolactic fermentation and/or aging. The present invention further provides for a method for producing alcoholic beverages under constant pressure.

B ANTI-AGING COMPOSITION COMPRISING VITISIN B

NºPublicación:  KR20250159524A 11/11/2025
Solicitante: 
인천대학교산학협력단고려대학교세종산학협력단

Resumen de: KR20250159524A

본 발명은 비티신 B을 유효성분으로 포함하는 항노화 조성물에 관한 것으로, 상기 유효성분인 비티신 B의 경우, 노화 섬유아세포내 ROS(Reactive Oxygen Species)를 감소시키고, 세포내 미토콘드리아 질량(mitochondrial mass)을 감소시키고, 미토콘드리아 막 전위(MMP)를 증가시키고, 자가형광(autofluorescence)을 감소시키고, 자가포식을 활성화 시키는 효과를 나타내므로, 미토콘드리아에 의하여 유발되는 세포 노화를 억제하고, 따라서 상기 비티신 B은 미토콘드리아 기능 저하로 인해 유발되는 세포노화 관련 질병의 예방 또는 치료용 조성물 또는 피부노화 억제용 화장료 조성물로 사용될 수 있다.

ROTARY WINE GLASS HAVING COOLING FUNCTION

NºPublicación:  WO2025228025A1 06/11/2025
Solicitante: 
JIANGMEN RUICHENG HARDWARE & GLASS PRODUCTS CO LTD [CN]
\u6C5F\u95E8\u5E02\u777F\u57CE\u4E94\u91D1\u73BB\u7483\u5236\u54C1\u6709\u9650\u516C\u53F8
WO_2025228025_PA

Resumen de: WO2025228025A1

A rotary wine glass having a cooling function, comprising a base (1). A connecting rod (2) is rotatably connected to the top of the base (1); an electric generator (3) is mounted on the inner side of the bottom of the connecting rod (2); a motor shaft of the electric generator (3) is connected to the base (1); a control circuit board (4) electrically connected to the electric generator (3) is mounted on the top of the connecting rod (2); the control circuit board (4) is provided with an illuminating lamp bead (5) that emits light outwardly; an upper connecting seat (6) is connected to the top of the connecting rod (2); a plurality of light-transmissive holes (7) are formed in the outer side of the upper connecting seat (6); a semiconductor cooler (8) electrically connected to the control circuit board (4) is connected to the top of the upper connecting seat (6); and a glass body (9) is mounted on the top of the semiconductor cooler (8). The rotary wine glass has a simple structure, an automatic light-emitting function, an automatic cooling function and a tactile interaction feature, improves the taste of wine, achieves a good light decoration effect and a good visual atmosphere, provides the fun of tactile interaction when being rotated, meets the requirements of consumers pursuing high-quality enjoyment, and provides good consumer experience.

Method and apparatus for accelerating food oxidation rate

NºPublicación:  GB2640643A 05/11/2025
Solicitante: 
HSINJUNG LEE [GB]
Hsinjung Lee
GB_2640643_PA

Resumen de: GB2640643A

A beverage aerator comprising a microprocessor and a millimetre wave (MMW, mmWave) radio wave antenna including a polarised antenna array, where the antenna is configured by the microprocessor to control oxygen vibration. Also included is a beverage aerator comprising a microprocessor, a millimeter wave radio wave antenna and a colour sensor, where the processor uses the output of the color sensor to monitor the aeration of the beverage and control the ouput of the antenna to optimise aeration and oxidation. The polarized antenna array may comprise switchable first and second antennae having orthogonal polarisations such that the first antanna is on for a first period of time and the second antenna for a second period of time. The microprocessor may control the MMW radio wave output, preferably the frequency and polarisation, in response to a colour sensor. A white light may be controlled by the microprocessor to illuminate the beverage. The apparatus may further comprise a control panel and display, where the microprocessor provides feedback on the aeration via the display and/or a user can interact with the microprocessor to initiate, monitor or adjust the aeration process. The device is preferably a wine aerator device.

ROTARY WINE GLASS WITH REFRIGERATION FUNCTION

Nº publicación: EP4643718A1 05/11/2025

Solicitante:

JIANGMEN RUICHENG HARDWARE & GLASS PRODUCTS CO LTD [CN]
Jiangmen Ruicheng Hardware & Glass Products Co., LTD

EP_4643718_PA

Resumen de: EP4643718A1

The present invention discloses a rotary wine glass with a refrigeration function, comprising a base. The top of the base is rotationally connected with a connecting rod, the inner side of the bottom of the connecting rod is provided with a generator, the motor shaft of the generator is connected with the base, the top of the connecting rod is provided with a control circuit board electrically connected with the generator, the control circuit board is provided with a lamp bead emitting light outwards, the top of the connecting rod is connected with an upper connecting socket, the outer side of the upper connecting socket is provided with a plurality of light transmitting holes, the top of the upper connecting socket is connected with a semiconductor chilling plate electrically connected with the control circuit board, and the top of the semiconductor chilling plate is provided with a glass body. The present invention has simple structure, good lighting decoration effect and good visual atmosphere, has functions of automatic luminescence, automatic refrigeration and play, improves the taste of wine, and consumers have fun while spinning wine glasses, which satisfies the requirements of consumers who pursue high-quality enjoyment and provides good experience for consumers.

traducir