Ministerio de Industria, Turismo y Comercio LogoMinisterior
 

Energía solar de baja temperatura

Resultados 32 resultados
LastUpdate Última actualización 20/11/2025 [07:31:00]
pdfxls
Solicitudes publicadas en los últimos 45 días / Applications published in the last 45 days
Resultados 1 a 25 de 32 nextPage  

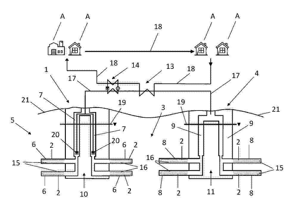
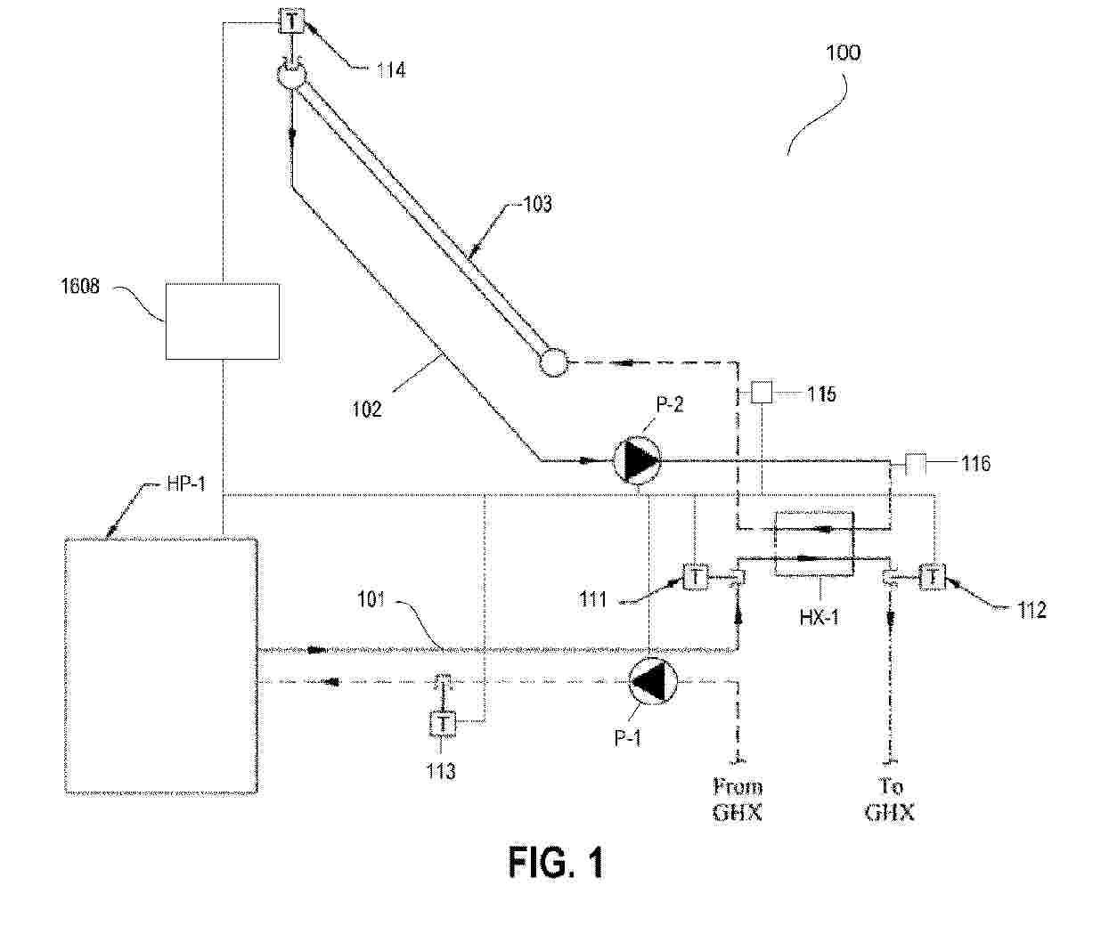
ENERGY STORAGE SYSTEM AND METHOD OF OPERATING SAME

NºPublicación:  US2025347427A1 13/11/2025
Solicitante: 
BOOY DANIEL JAMES [CA]
BOOY Daniel James
WO_2023235990_PA

Resumen de: US2025347427A1

An energy storage system and method for operating same are provided. The system comprises a first heat exchanger for heating a first heat transfer fluid in fluid communication with a ground heat exchanger and a heat pump; and a first circulation device for circulating the first heat transfer fluid. An energy collector is in fluid communication with the first heat exchanger for transferring energy collected by an energy collector to the first heat exchanger with a second heat transfer fluid circulate by a second circulation device. A controller actuates the first and second circulation devices to circulate the first and second heat transfer fluids. If temperature sensor data of the first and second heat transfer fluids entering the first heat exchanger is above a threshold valve, the controller continues to actuate first and second circulation devices to circulate the first and second heat transfer fluids.

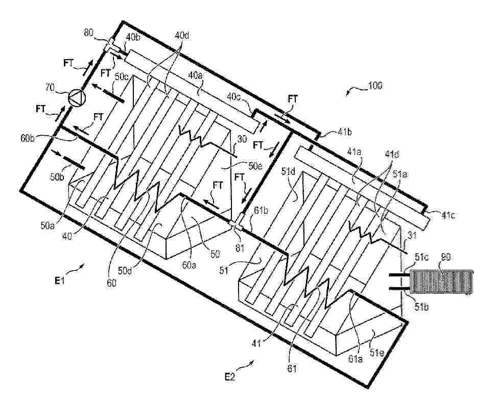
TOWER-TYPE SOLAR HEAT UTILIZATION SYSTEM

NºPublicación:  WO2025228272A1 06/11/2025
Solicitante: 
COSIN SOLAR TECH CO LTD [CN]
\u6D59\u6C5F\u53EF\u80DC\u6280\u672F\u80A1\u4EFD\u6709\u9650\u516C\u53F8
WO_2025228272_PA

Resumen de: WO2025228272A1

The present application provides a tower-type solar heat utilization system, comprising a heat utilization system and at least two tower-type solar heat collection systems, wherein at least one tower-type solar heat collection system is a characteristic tower-type solar heat collection system; each characteristic tower-type solar heat collection system further comprises a first low-temperature unit and a first low-temperature medium conveying module, and the first low-temperature unit receives, by means of a seventh pipe, a low-temperature heat storage medium outputted by a low-temperature heat storage medium output end of the heat utilization system. By using the design, the low-temperature heat storage medium outputted by the heat utilization system is conveyed in a segmented mode, so that the requirement on a driving capability of a driving device for driving the low-temperature heat storage medium in each seventh pipe to flow is reduced, and the cost is reduced.

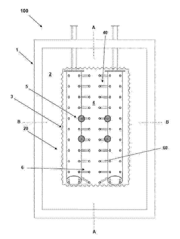
TOWER SOLAR HEAT UTILIZATION SYSTEM

NºPublicación:  WO2025228265A1 06/11/2025
Solicitante: 
COSIN SOLAR TECH CO LTD [CN]
\u6D59\u6C5F\u53EF\u80DC\u6280\u672F\u80A1\u4EFD\u6709\u9650\u516C\u53F8
WO_2025228265_PA

Resumen de: WO2025228265A1

A tower solar heat utilization system, comprising a heat utilization system, a primary heat collection system, and at least one secondary heat collection system. The primary heat collection system and each secondary heat collection system each comprise a heat collection module; each heat collection module comprises a heliostat field module (201), a heat absorption module (3), a first high-temperature heat storage unit (6), and a first high-temperature heat storage medium conveying pump module (7); a high-temperature heat storage medium outputted by the heat absorption module (3) is conveyed to the first high-temperature heat storage unit (6) through a first pipe (24); a high-temperature heat storage medium outputted by the first high-temperature heat storage unit (6) is conveyed to the heat utilization system through a second pipe (25); the distance between a high-temperature heat storage medium output end of the first high-temperature heat storage unit (6) of the primary heat collection system and a high-temperature heat storage medium input end of the heat utilization system is smaller than the distance between the high-temperature heat storage medium output end of the first high-temperature heat storage unit (6) of any secondary heat collection system and the high-temperature heat storage medium input end of the heat utilization system; and in each secondary heat collection system, when the flow rates of the high-temperature heat storage media in the first pipe (24) and th

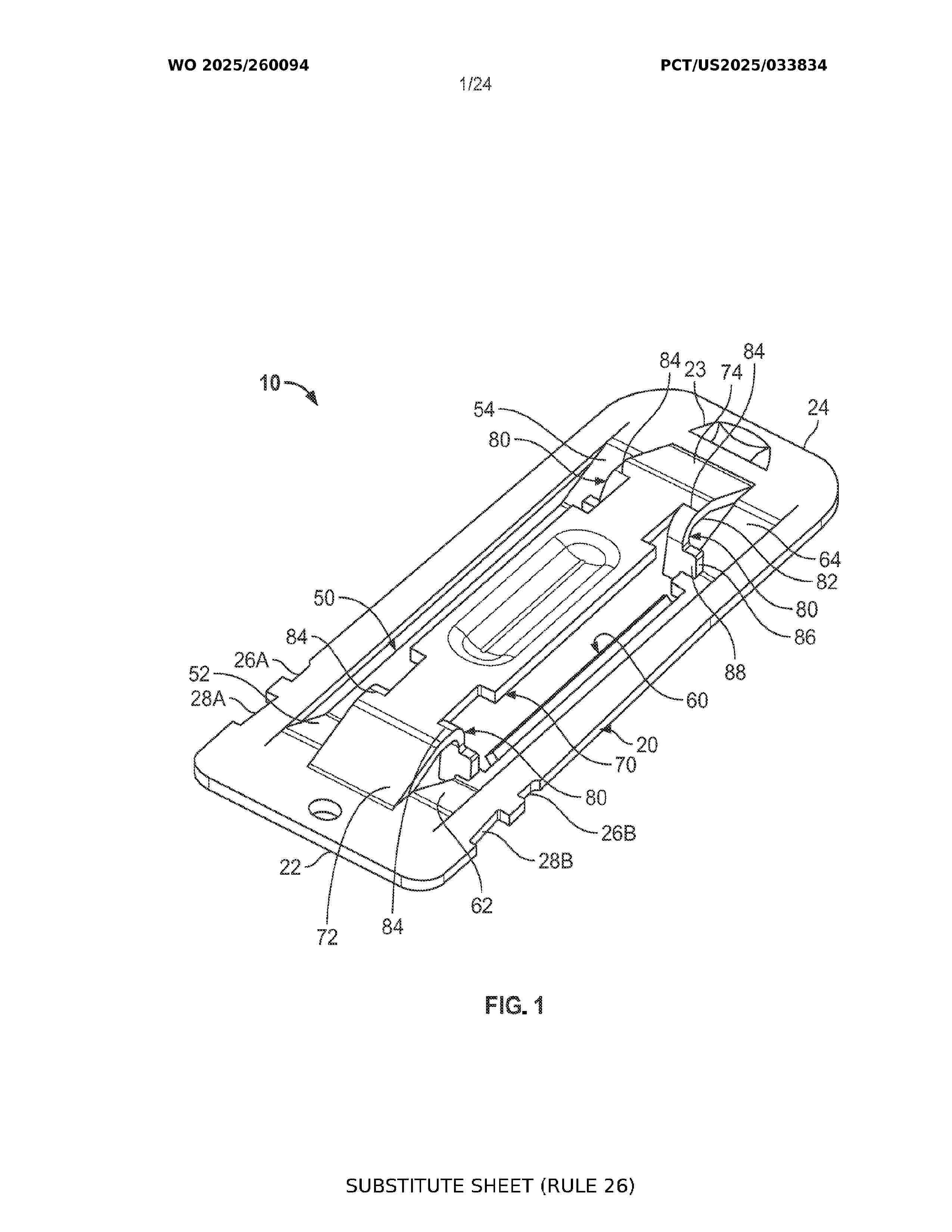
SYSTEM AND METHOD OF AGROPONIC CULTIVATION

NºPublicación:  US2025338804A1 06/11/2025
Solicitante: 
AL TAMIMI & COMPANY [AE]
AL TAMIMI & COMPANY
US_2025338804_PA

Resumen de: US2025338804A1

A grow field configured to support plant or crop cultivation, the grow field having a first end, a second end, a bottom surface and a boundary wall, a first reservoir proximate to the first end of the grow field, wherein the first reservoir is configured to produce a waste nutrient stream, a second reservoir proximate to the second end of the grow field, wherein the second reservoir is configured to act as a settling tank for the produced waste nutrient stream; an Artificial Intelligence (AI) unit in connection with the grow field, reservoirs for providing a feedback for improving a growth rate of the cultivated plants or crops; and a controller in communication with the AI unit for receiving and processing output signals from at least one sensor and sending an assessment of a plurality of monitored parameters to the AI unit, based on the processed output signals.

SOLAR POWERED OUTDOOR HEATER

NºPublicación:  WO2025229353A1 06/11/2025
Solicitante: 
SOLAR POLAR LTD [GB]
SOLAR POLAR LIMITED
WO_2025229353_PA

Resumen de: WO2025229353A1

A solar powered outdoor heater (100) comprises: a heat-collection apparatus configured to collect solar thermal energy and to heat a heat transfer liquid using the collected solar thermal energy; one or more heat-emitters, the one or more heat-emitters containing a conduit for the passage of the heat transfer liquid therethrough, and a heat-emitting surface configured to radiate thermal energy; a frame configured to support the one or more heat-emitters with the heat- emitting surface facing a heat-receiving area; and a pump (P1l, P2) which is operable to pump the heat transfer liquid through the one or more heat-emitters, so that heat is transferred from the heat transfer liquid to the heat-emitters, and the heat-emitters radiate thermal energy towards the heat-receiving area.

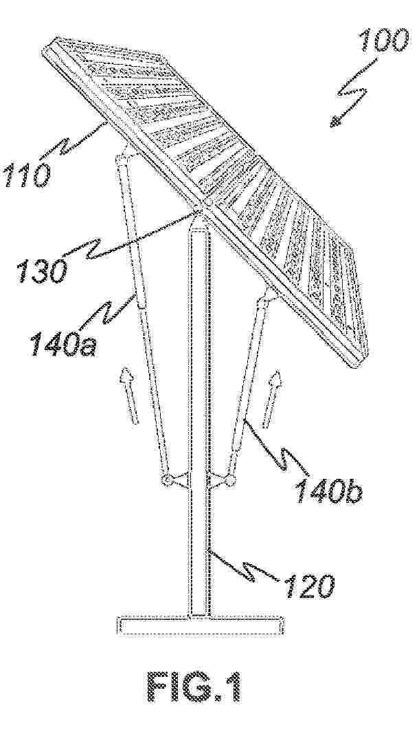
SYSTEM FOR TRACKING SOLAR PANELS TO A POSITION OF THE SUN, AND METHOD FOR PRODUCING THE SYSTEM

NºPublicación:  WO2025228484A1 06/11/2025
Solicitante: 
STABILUS GMBH [DE]
ACE STOSSDAEMPFER GMBH [DE]
STABILUS GMBH,
ACE STOSSD\u00C4MPFER GMBH
WO_2025228484_PA

Resumen de: WO2025228484A1

The invention relates to a system (100) for tracking solar panels with respect to the position of the sun, the system (100) comprising a support surface (110) for the solar panels; a column (120) for supporting the support surface (110); an axis of rotation (130), wherein the support surface (110) is mounted on the column (120) so as to be rotatable about the axis of rotation (130); and two hydraulic dampers (140), each acting linearly along a stroke axis, for damping a rotation of the support surface (110) relative to the column (120) about the axis of rotation (130), wherein the dampers (140) are connected to the support surface (110) and to the column (120) such that, when the support surface (110) rotates in a first direction of rotation, a first damper (140a) of the dampers (140) is compressed along the stroke axis thereof, while a second damper (140b) of the dampers (140) is elongated along its stroke axis. The dampers (140) damp a compression of the dampers (140) along their stroke axis with a compressive damping force and an elongation of the dampers (140) along the stroke axis thereof with a tensile damping force, wherein the compressive damping force is negligibly small compared to the tensile damping force. The invention also relates to a method for producing the system (100).

Between elements of a structure a method and system for anchoring

NºPublicación:  IL312342A 01/11/2025
Solicitante: 
PRINT A HOUSE A S P LTD [IL]
GIDEON PRESSER
PRINT A HOUSE A.S.P LTD,
Gideon Presser
IL_312342_A

Resumen de: WO2025224719A1

The present invention relates to system for rapid anchoring between elements during the building of a structure comprising: (a) a mini-sleeve (MS) comprising at least a pair of bendable outer wings, where each of said outer wings is attached, at its top side, to a side of said MS at a protruding angle; and (b) a sleeve, larger than said MS, comprising at least a pair of bendable inner wings, where each of said inner wings is attached at its bottom side to a side of said sleeve at an angle, and where said inner wings correspond to said outer wings of said MS; wherein said sleeve is anchored and stabilized, by said outer wings of said MS and said inner wings of said sleeve, when said sleeve is dressed over said MS.

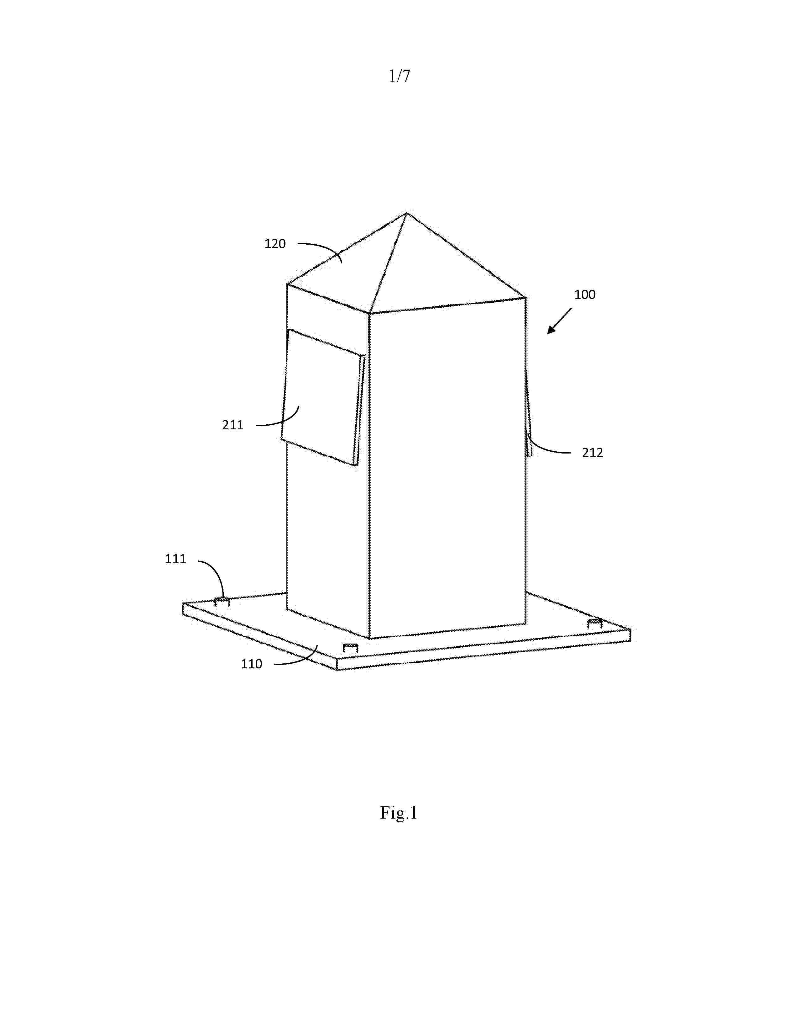
Chauffe-eau solaire monobloc pour utilisations domestiques et industrielles

NºPublicación:  MA65150A1 31/10/2025
Solicitante: 
TARIK AZHAR [MA]
Tarik Azhar
MA_65150_A1

Resumen de: MA65150A1

La présente invention se rapporte à une technologie de système monobloc pour la production de leau chaude à travers lénergie solaire thermique pour une utilisation domestique sanitaire et industrielles. Il sagit plus précisément dune nouvelle génération de chauffe-eau solaire en circuit ouvert et en circuit fermé. Cette invention présente un concept d'une tour cylindrique et vertical qui rassemble tous les composants du chauffe solaire classique dans un seul bloc en respectant les règles de l'art et le beau design ce qui offre beaucoup d'avantages en termes despace et d'intégration ainsi quen termes damélioration du rendement et d'efficacité énergétique de façon générale. Cette silhouette traduit la valeur de la présente invention qui apporte les solutions essentielles pour un développement convenable de ce marché

METAL-ORGANIC FRAMEWORK AS A MATRIX FOR POLYETHYLENE GLYCOL IN THERMAL ENERGY STORAGE AND PREPARATIONS THEREOF

NºPublicación:  US2025333631A1 30/10/2025
Solicitante: 
KING FAHD UNIV OF PETROLEUM AND MINERALS [SA]
King Fahd University of Petroleum and Minerals
US_2025333631_PA

Resumen de: US2025333631A1

The present disclosure is directed to a phase-change material (PCM) including a metal selected from cobalt and nickel and reacted units of 1,3,5-benzenetricarboxylic acid (BTC) for thermal energy storage and method of preparation thereof. The metal and the reacted units of the carboxylic acid form a metal-organic framework (MOF). The PCM further includes polyethylene glycol (PEG) present within a matrix of the MOF with a weight ratio of the metal organic framework to the polyethylene glycol from 10:1 to 1:10. The PCM of the present disclosure is in the form of agglomerated layers of wave-like sheets.

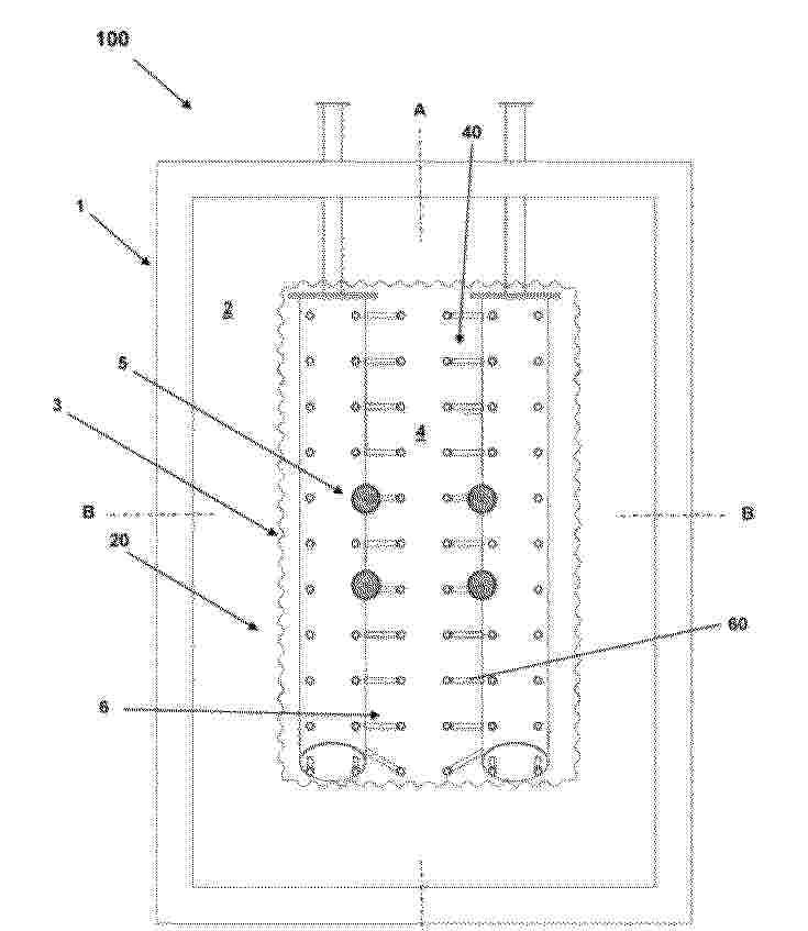
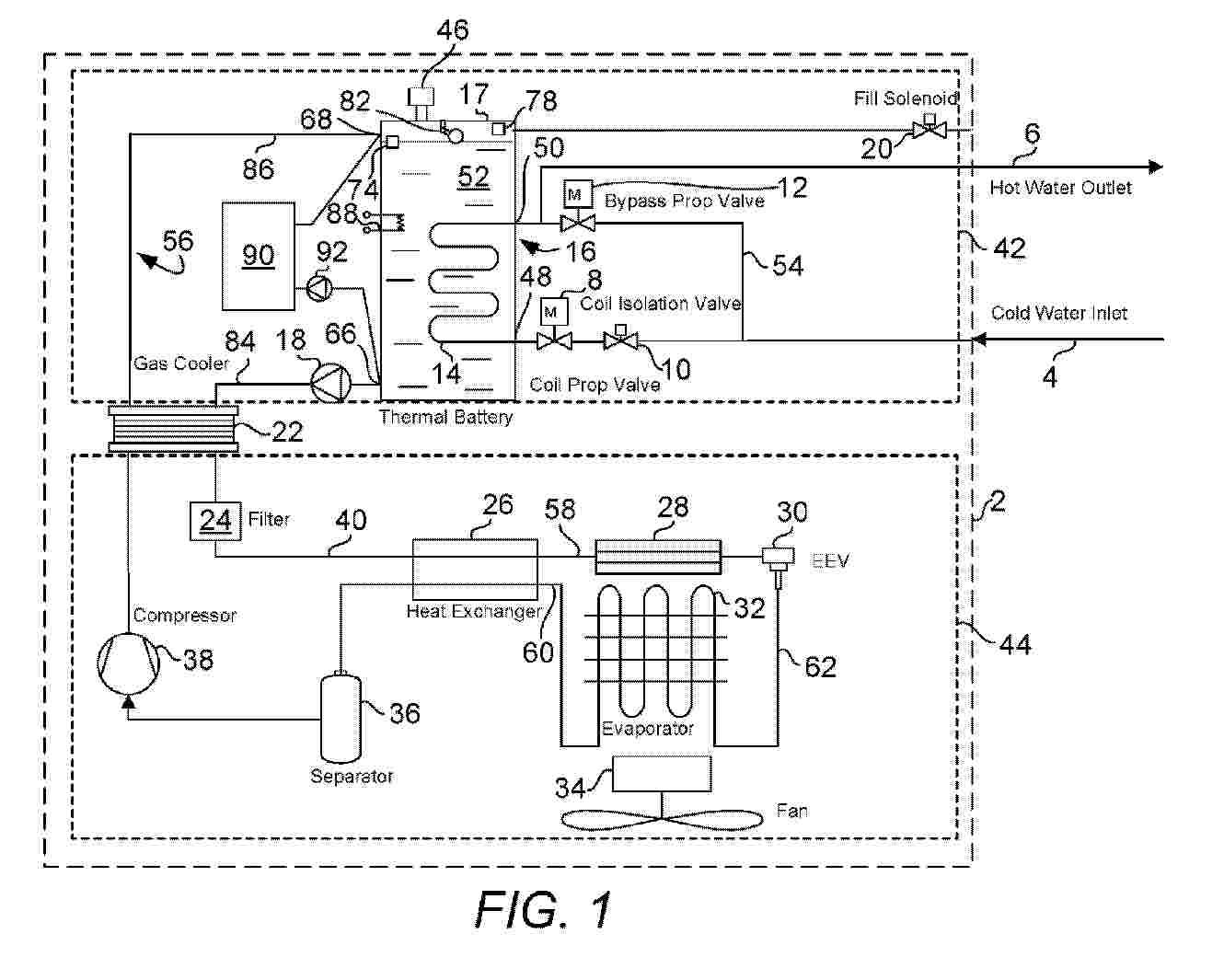
HEATING SYSTEM

NºPublicación:  US2025334351A1 30/10/2025
Solicitante: 
INTELLIHOT INC [US]
Intellihot, Inc
US_2025334351_PA

Resumen de: US2025334351A1

A heating system including at least one thermal battery including a storage container for holding a fluid, an outlet fluid conductor through which the fluid exits the storage container, an inlet fluid conductor through which the fluid enters the storage container, a first valve interposed in the outlet fluid conductor; and a second valve interposed in the inlet fluid conductor, wherein each thermal battery is configured to be thermally chargeable and dischargeable by controlling the first valve and the second valve to allow a flow of the fluid in concert and to disallow a flow in concert.

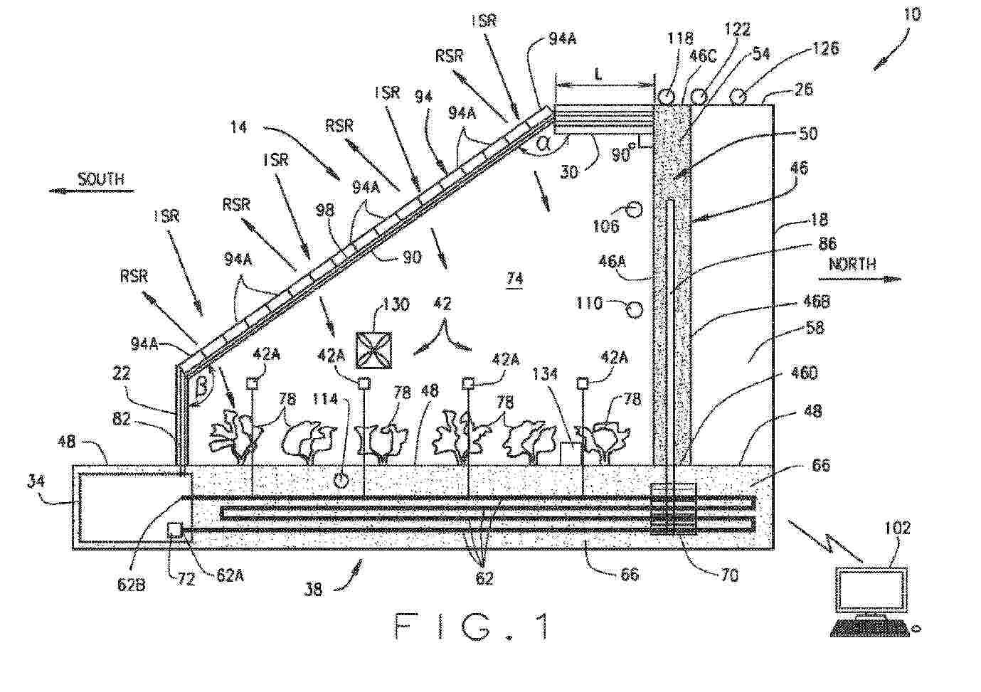
Solar absorber and greenhouse system using it

NºPublicación:  KR20250152966A 24/10/2025
Solicitante: 
주식회사파워투팜스
KR_20250152966_PA

Resumen de: WO2025220977A1

The present invention relates to a solar absorber and a greenhouse system using same and, more specifically, to a solar absorber and a greenhouse system using same, the absorber absorbing solar radiant energy so that energy can be saved during cooling, and recycling the absorbed thermal energy to perform heating so that energy costs can be saved and greenhouse management efficiency can be improved. The solar absorber provided in a cultivation space, according to the present invention, comprises: a heat absorber for absorbing radiant energy of the cultivation space; a heat absorber accommodation part in which the heat absorber is embedded; and a cooling means for supplying a cooling medium to the heat absorber accommodation part in order to cool the heat absorber and the heat absorber accommodation part.

UNIVERSAL EXPANDABILITY OF SOLAR HEATING DEVICES

NºPublicación:  WO2025220038A1 23/10/2025
Solicitante: 
DEEPALI DESIGNS AND EXHIBITS PRIVATE LTD [IN]
DEEPALI DESIGNS AND EXHIBITS PRIVATE LIMITED
WO_2025220038_PA

Resumen de: WO2025220038A1

The present invention discloses an expandable heat exchanger that contains a storage chamber/compartment (10) at the top and plurality of parallelly arranged heating tubes (9). The storage chamber (10) comprises two concentric tubes to separate the cold and hot fluid. The inner tube (8) provides passage to the cold air ingestion through the inlet port (13), into the tubular inner passage (11), the cold air directed into the heat observing tube (9). The hot (7) and cold (8) header chamber are in airtight connection with start unit (3), expandable unit (5) and exit unit (5) with the help of push fit bush assembly. The cold from all the units travels into the solar collector tube. Finally, the hot air from the collector tubes reaches back into the header compartment but in the outer shell (12), and then the hot air pumped out through the outlet port (14).

COOLING AND HEATING SYSTEM USING HEAT ABSORBER FOR GREENHOUSES

NºPublicación:  WO2025220761A1 23/10/2025
Solicitante: 
POWER2FARMS CO LTD [KR]
\uC8FC\uC2DD\uD68C\uC0AC \uD30C\uC6CC\uD22C\uD31C\uC2A4
WO_2025220761_PA

Resumen de: WO2025220761A1

The present invention relates to a cooling and heating system using a heat absorber for greenhouses, more specifically to a cooling and heating system using a heat absorber for a greenhouses that heats and cools by absorbing radiant energy when cooling is required and recycling the absorbed thermal energy when heating is required, thereby allowing energy costs to be reduced and greenhouses to be more effectively managed. The cooling and heating system using a heat absorber for greenhouses according to the present invention comprises: a greenhouse provided therein with a cultivation space; an energy absorption body installed in the greenhouse and equipped therein with a radiant energy absorption chamber; a heat absorption body, installed in the energy absorption body, for absorbing radiant energy inside the greenhouse; and a heat exchanger for subjecting the radiant energy absorbed by the heat absorption body to heat-exchange.

SOLAR ABSORBER AND GREENHOUSE SYSTEM USING SAME

NºPublicación:  WO2025220977A1 23/10/2025
Solicitante: 
POWER2FARMS CO LTD [KR]
\uC8FC\uC2DD\uD68C\uC0AC \uD30C\uC6CC\uD22C\uD31C\uC2A4
WO_2025220977_PA

Resumen de: WO2025220977A1

The present invention relates to a solar absorber and a greenhouse system using same and, more specifically, to a solar absorber and a greenhouse system using same, the absorber absorbing solar radiant energy so that energy can be saved during cooling, and recycling the absorbed thermal energy to perform heating so that energy costs can be saved and greenhouse management efficiency can be improved. The solar absorber provided in a cultivation space, according to the present invention, comprises: a heat absorber for absorbing radiant energy of the cultivation space; a heat absorber accommodation part in which the heat absorber is embedded; and a cooling means for supplying a cooling medium to the heat absorber accommodation part in order to cool the heat absorber and the heat absorber accommodation part.

HEATING SYSTEM

NºPublicación:  EP4634581A1 22/10/2025
Solicitante: 
INTELLIHOT INC [US]
Intellihot, Inc
WO_2024129535_PA

Resumen de: WO2024129535A1

A heating system including at least one thermal battery including a storage container for holding a fluid, an outlet fluid conductor through which the fluid exits the storage container, an inlet fluid conductor through which the fluid enters the storage container, a first valve interposed in the outlet fluid conductor; and a second valve interposed in the inlet fluid conductor, wherein each thermal battery is configured to be thermally chargeable and dischargeable by controlling the first valve and the second valve to allow a flow of the fluid in concert and to disallow a flow in concert.

HEATING SYSTEM

NºPublicación:  EP4634590A1 22/10/2025
Solicitante: 
INTELLIHOT INC [US]
Intellihot, Inc
WO_2024129534_PA

Resumen de: WO2024129534A1

A heating system including a thermal battery including an opening, a storage container configured to hold a first fluid therein, the opening configured to expose the first fluid to atmospheric pressure; and a fluid conductor disposed through the first fluid from an inlet point at the storage container to an outlet point at the storage container, the fluid conductor configured to receive a second fluid at a first temperature at the inlet point and to supply the second fluid at a second temperature higher than the first temperature.

Float structure

NºPublicación:  GB2640468A 22/10/2025
Solicitante: 
AQUA DOCK LTD [GB]
Aqua-Dock Limited
GB_2640468_PA

Resumen de: GB2640468A

A modular floating support structure system for supporting solar panels. The system is formed of a plurality of float elements 100, each having top and bottom walls (110 and 120, Fig 5) spaced apart by a side wall 130 extending around at least part of the periphery of the float element. The top and bottom walls each comprising respective engagement formations 160. A clamp (200, Fig 13) is configured to join first and second adjacent float elements. The clamp has a first engagement formation (260, Fig 13) configured to engage with the top-engagement formation of the first float element and also the top-engagement formation of the second float element, and a second engagement formation (260, Fig 13) configured to engage with the bottom-engagement formation of the first float element, and also the bottom-engagement formation of the second float element.

METHOD FOR MEASURING AN ADJUSTABLE MIRROR SURFACE

NºPublicación:  EP4636336A1 22/10/2025
Solicitante: 
DEUTSCH ZENTR LUFT & RAUMFAHRT [DE]
Deutsches Zentrum f\u00FCr Luft- und Raumfahrt e.V
EP_4636336_PA

Resumen de: EP4636336A1

Verfahren zur Vermessung einer Spiegelfläche (5) eines Reflektors (3), vorzugsweise eines Reflektors (3) eines Heliostaten (1) eines Solarturmkraftwerks, mit folgenden Schritten:a) Bereitstellen eines steuerbaren Fluggeräts (7), das eine Kamera (9) aufweist, und eines stationären Markers (11) mit vorgegebener Position, der von der Spiegelfläche (5) des Reflektors (3) reflektiert wird,b) Aufnahme eines Bildes der Spiegelfläche (5) des Reflektors (3) mittels der Kamera (9) an einer Position des steuerbaren Fluggeräts (7) oberhalb des Reflektors (3),c) Auswerten des Bildes und Bestimmung eines Reflexes (13) des Markers (11) auf der Spiegelfläche (5) in dem Bild,d) Abschätzen einer Position des Reflexes (13) des Markers (11) auf der Spiegelfläche (5), wobei über die abgeschätzte Position des Reflexes (13) des Markers (11) auf der Spiegelfläche (5) und die Position des steuerbaren Fluggeräts (7) ein Reflexvektor (16) , der von der abgeschätzten Position des Reflexes des Markers (11) auf der Spiegelfläche (5) hin zur Kamera (9) verläuft, abgeschätzt wird,e) Steuern des steuerbaren Fluggeräts (7) unter Berücksichtigung des abgeschätzten Reflexvektors (16) zu einer neuen Position des steuerbaren Fluggeräts (7), die weiter von der Spiegelfläche (5) entfernt ist als die vorangegangene Position des steuerbaren Fluggeräts (7),f) Aufnahme eines Bildes der Spiegelfläche (5) des Reflektors (3) mittels der Kamera (9) an der neuen Position des steuerbaren Fluggeräts (

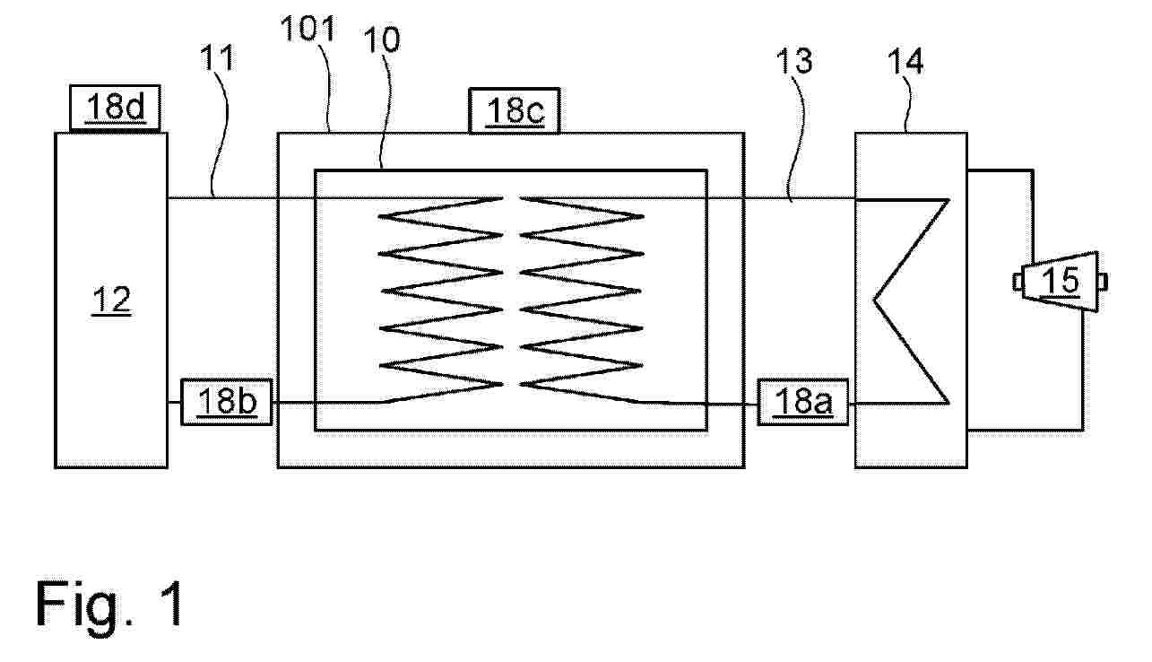
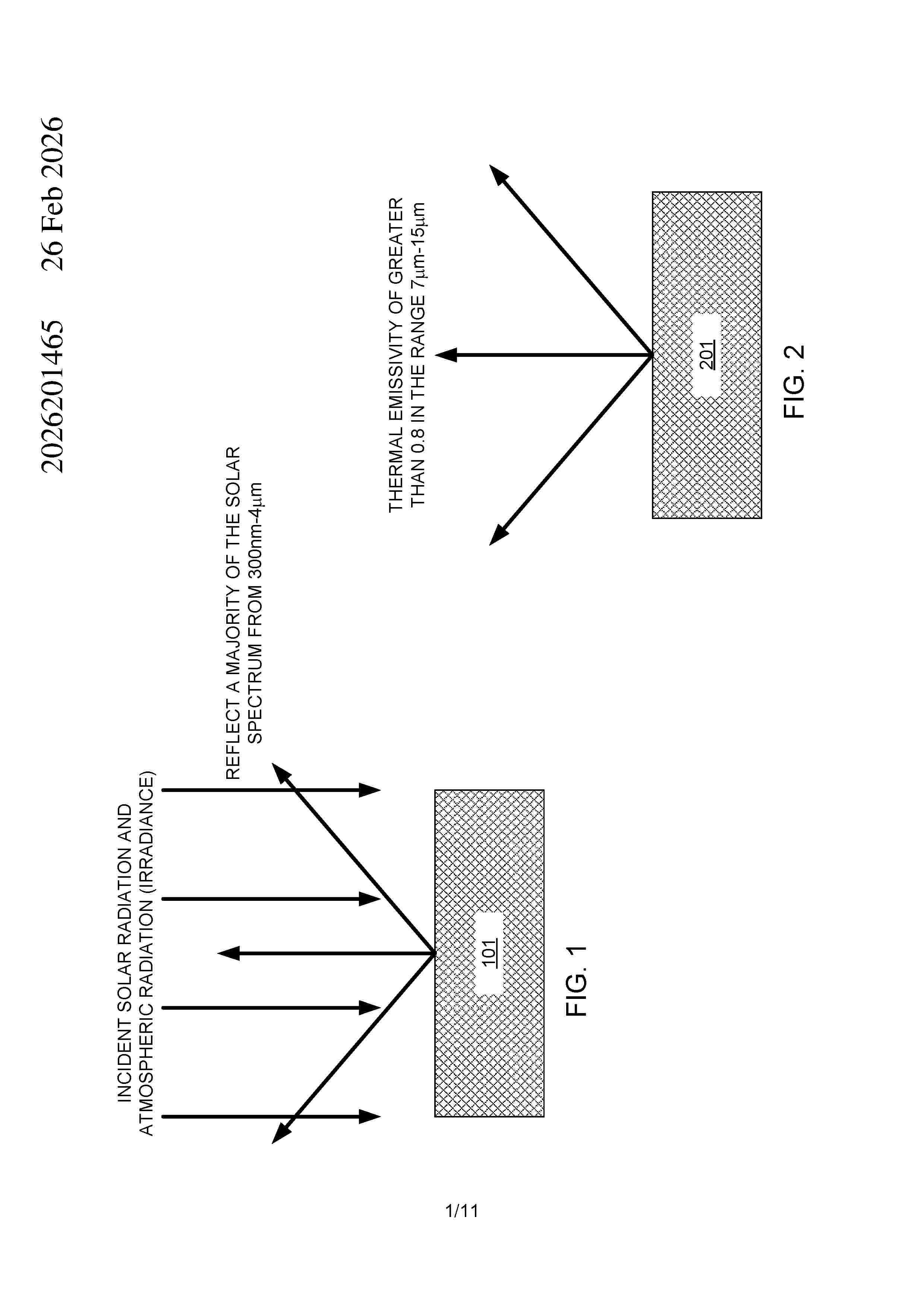
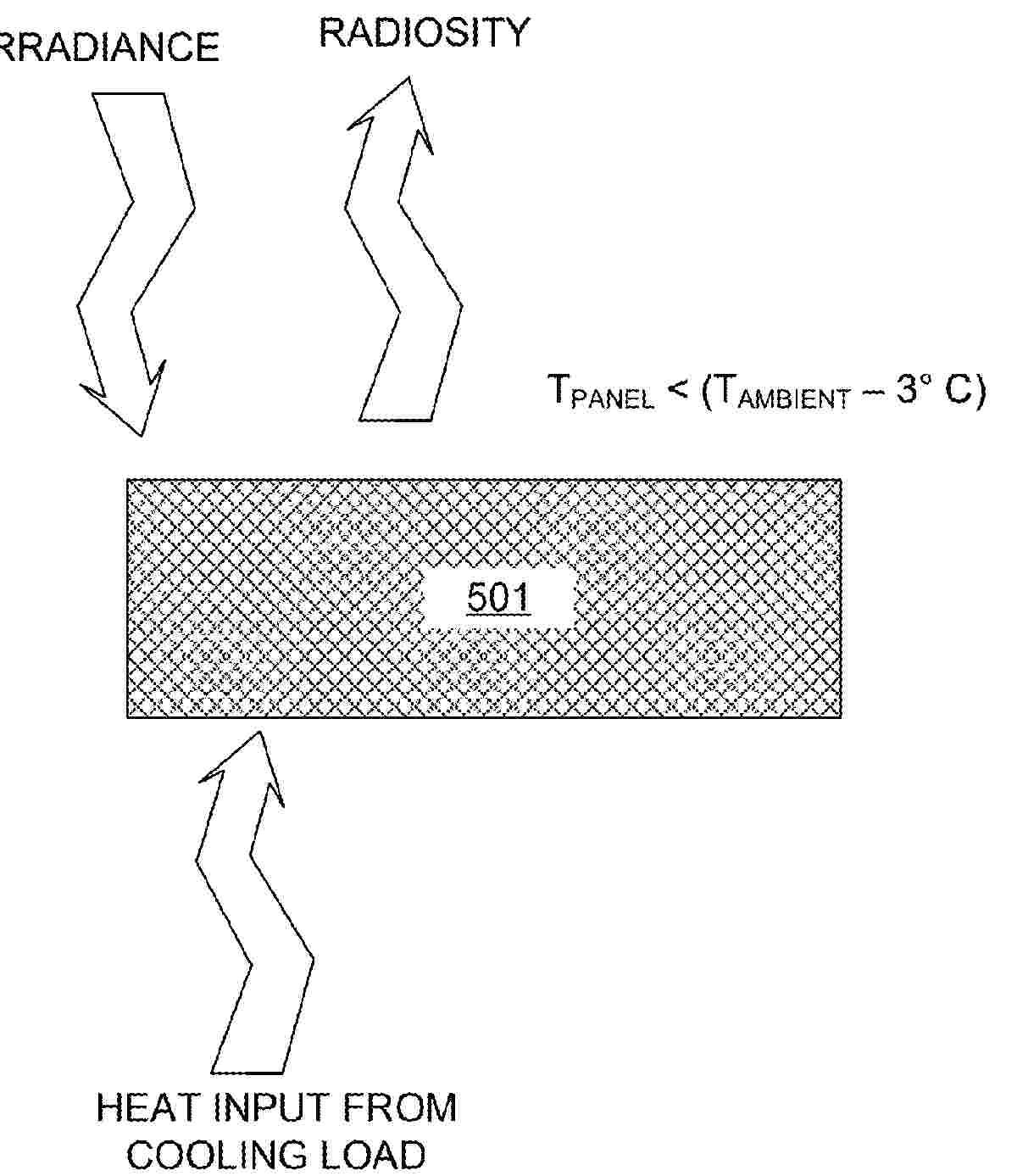
ENERGY EFFICIENT AND ADAPTIVE SPACE COOLING AND HEATING SYSTEM

NºPublicación:  US2025321027A1 16/10/2025
Solicitante: 
PURDUE RES FOUNDATION [US]
Purdue Research Foundation
US_2024328675_PA

Resumen de: US2025321027A1

A system and methods for heating and cooling are provided. The system may include an energy collector and an adaptive panel connected to the energy collector. The adaptive panel may a radiative cooling layer configured to dissipate heat from the energy collector. The radiative cooling layer may further include a thermo-responsive polymer configured to adjust transparency depending on temperature. The system may include a solar heating layer configured to absorb solar irradiation that passes through the radiative cooling layer and transfer heat to the energy collector.

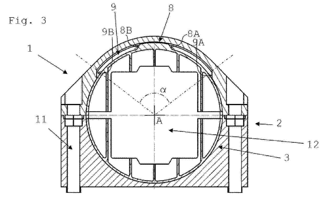
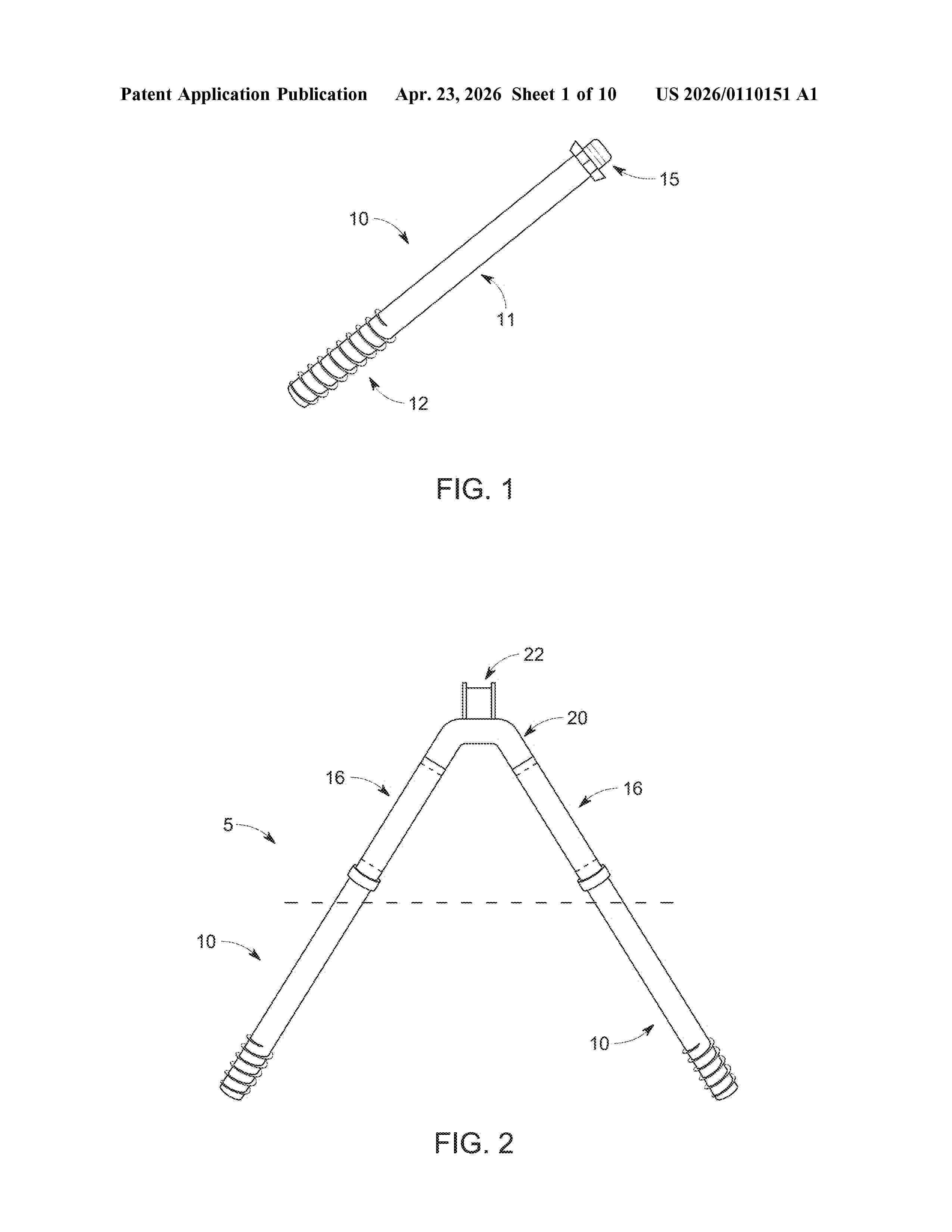
BEARING UNIT, IN PARTICULAR PEDESTAL BEARING, FOR A SOLAR TRACKING SHAFT AND SOLAR TRACKING DEVICE EQUIPPED THEREWITH

NºPublicación:  WO2025215172A1 16/10/2025
Solicitante: 
IGUS GMBH [DE]
IGUS GMBH
WO_2025215172_PA

Resumen de: WO2025215172A1

The invention relates to a bearing unit, in particular a multi-part pedestal bearing (1), for pivotably mounting, in particular, a solar tracking shaft for solar modules. The bearing cup (3) is slide-mounted in the bearing housing (2) without requiring maintenance and forms a spherical bearing in order to compensate for alignment errors of the shaft axis. According to the invention, the bearing unit (1) has at least one pivot angle limiter (8, 9), which is formed by the bearing housing (2) and the bearing cup (3), for limiting the pivot angle of the bearing cup about the bearing axis (A) in the bearing housing (2) to a predetermined angle (α).

PATENT US 11,121,667 B2

NºPublicación:  US2025321026A1 16/10/2025
Solicitante: 
PETRACHI PAOLO PIETRO [US]
Petrachi Paolo Pietro

Resumen de: US2025321026A1

A method and railing assembly for efficiently securing aluminum framed solar panels on a roof surface that does not require penetration of the roof membrane. The railing assembly comprises lightweight aluminum extrusions8. The outer rails are extruded with a single groove on the lower side, while the inner rails are for connecting these outer rails. The railing assembly low profile design, coupled with perimetral skirting elements positioned around the base, facilitates unobstructed water drainage across the aluminum components. Additionally, the assembly boasts an aerodynamic configuration that minimizes wind resistance during high wind events.

HEAT PUMP SYSTEM FOR HEATING WITH SOLAR HEATER

NºPublicación:  KR20250147996A 14/10/2025
Solicitante: 
주식회사대신에스앤비국립부경대학교산학협력단
KR_20250147996_PA

Resumen de: KR20250147996A

본 발명은 태양열 가열기 연계 난방용 히트펌프 시스템에 관한 것으로, 태양 복사열에 의해 기체 및 유체를 동시에 가열하는 태양열 가열기, 상기 태양열 가열기에 의해 가열된 기체 및 유체를 열원으로 공급받을 수 있도록 마련되며, 증발기, 압축기, 응축기, 팽창밸브를 포함하는 히트펌프부 및 상기 태양열 가열기 및 상기 히트펌프부에 의해 가열된 온수가 저장되는 온수탱크를 포함하며, 상기 태양열 가열기 연계 난방용 히트펌프 시스템은, 일사량이 기준값 미만일 경우, 상기 온수탱크에 수용된 물의 온도를 기준으로 10℃ 상승될 때까지 상기 히트펌프부는 운전되지 않고, 상기 태양열 가열기를 통해 온수가 순환되며 가열되는 제1 모드로 운전되며, 상기 온수탱크에 수용된 물이 10℃ 이상 상승되면, 상기 태양열 가열기 및 히트펌프부가 모두 운전되며, 상기 태양열 가열기에서 가열된 공기는 히트펌프부의 증발기로 이송되어 증발 열원으로 사용되고, 태양열 가열기에서 가열된 온수는 히트펌프부의 응축기로 이송되어 응축기의 유입수로 사용되는 제2 모드로 운전되는 것으로, 본 발명은 태양열 가열기를 포함하여 두 가지 열원(가열된 공기, 온수)을 동시에 생산하되, 가열된 공기는 히트펌프부의 증발기로 공급되어 증발�

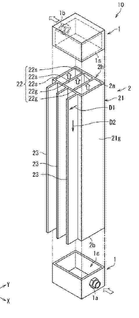
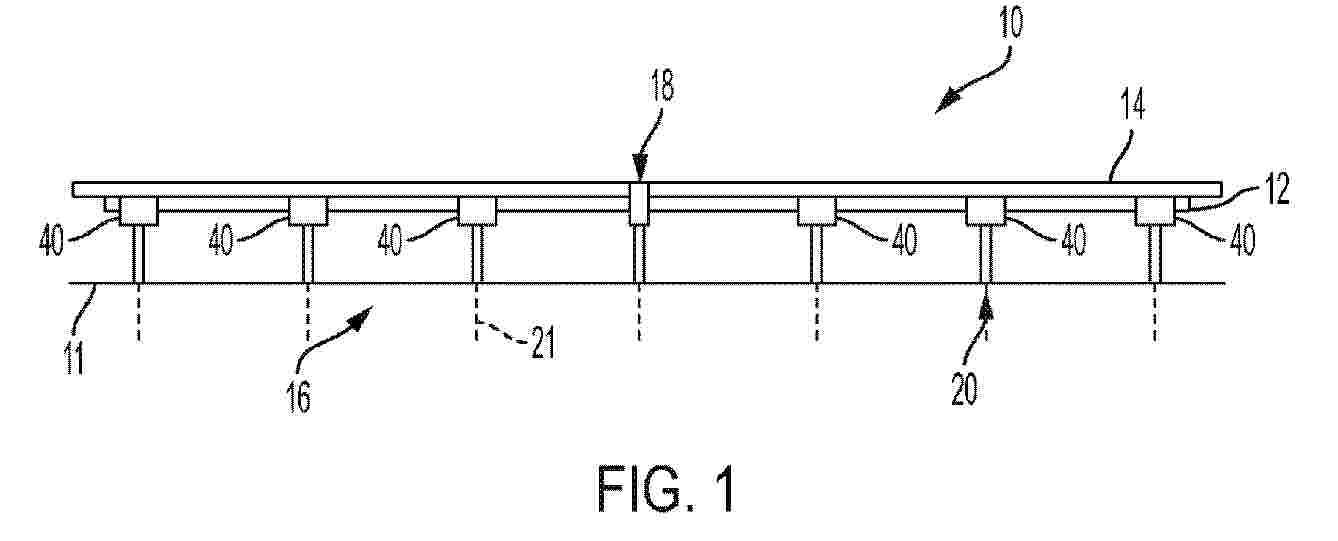
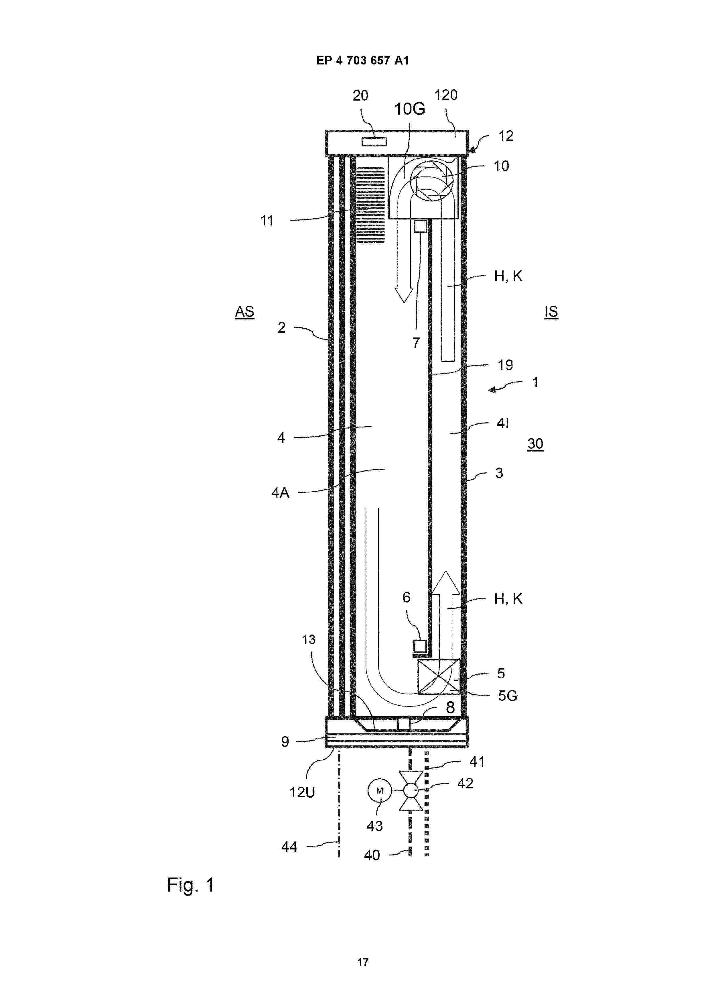
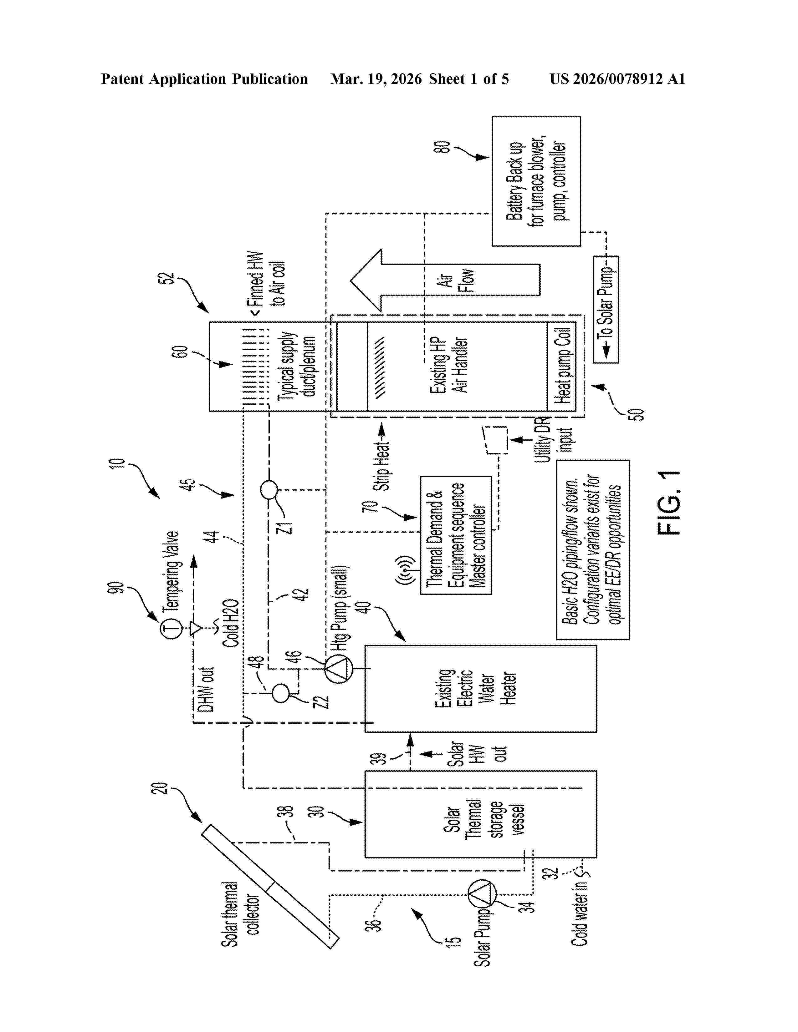
SOLAR THERMAL ENERGY COLLECTION AND STORAGE FOR HEATING BUILDINGS

NºPublicación:  US2025314387A1 09/10/2025
Solicitante: 
HOLLICK SOLAR SYSTEMS LTD [CA]
HOLLICK SOLAR SYSTEMS LIMITED
US_2025314387_PA

Resumen de: US2025314387A1

An apparatus for heating ambient air for an ASHP, the apparatus including a thermal battery and a sunlight-absorbent collector panel configured to be mounted on a building. The panel is exposed to ambient air and defines an air collection space between itself and the building when mounted on the building. The collector panel has a plurality of air inlet openings to allow the ambient air to flow into the air collection space. A panel outlet allows the collected air to flow from the air collection space to the thermal battery. The thermal battery includes battery airflow outlet in fluid communication with the ASHP and an external vent to the outside. One or more dampers control the airflow through the external vent and/or the battery airflow outlet. An air mover maintains a predefined airflow from the panel outlet to the battery airflow inlet. A controller controls the position of the one or more dampers.

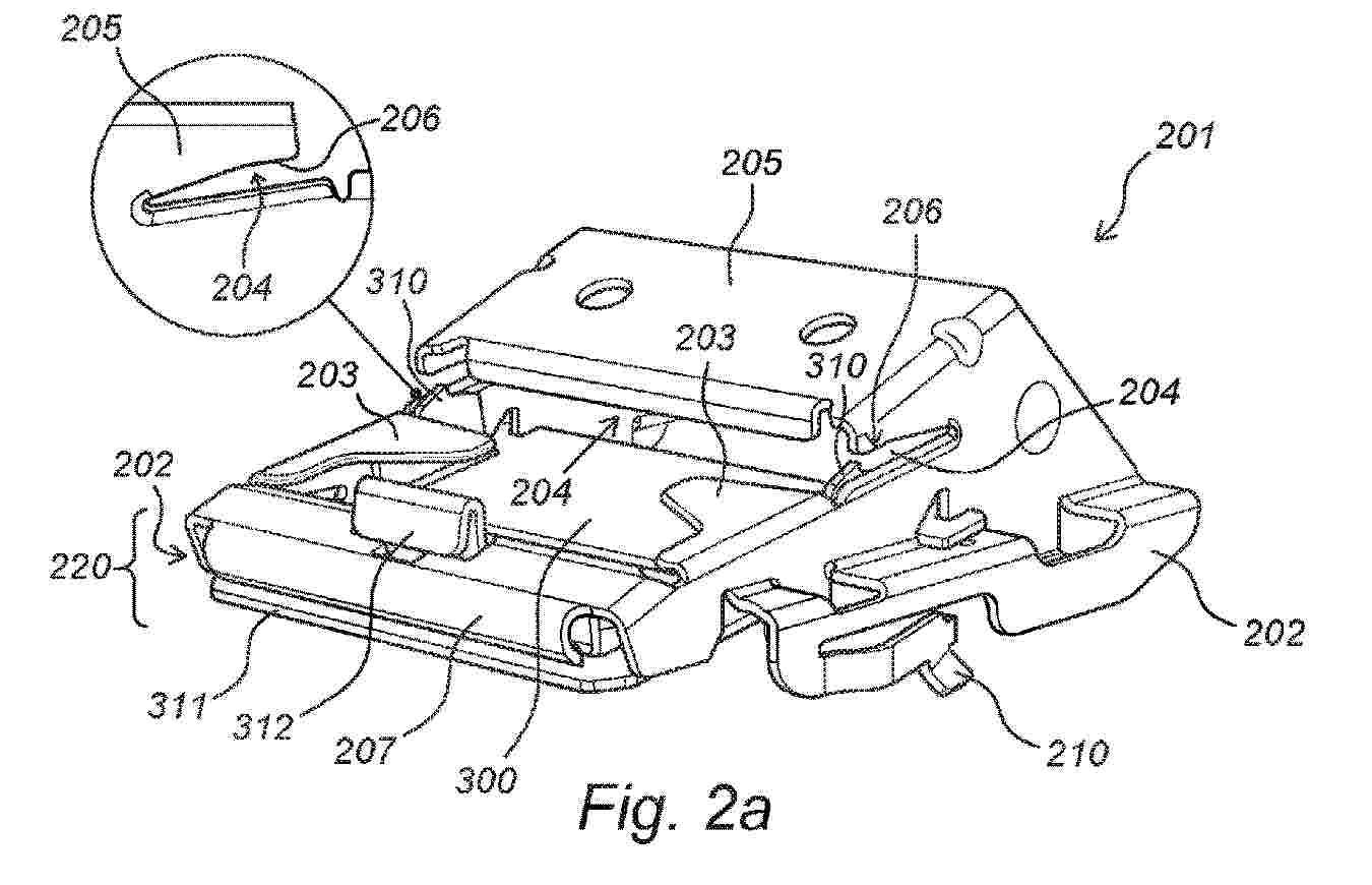
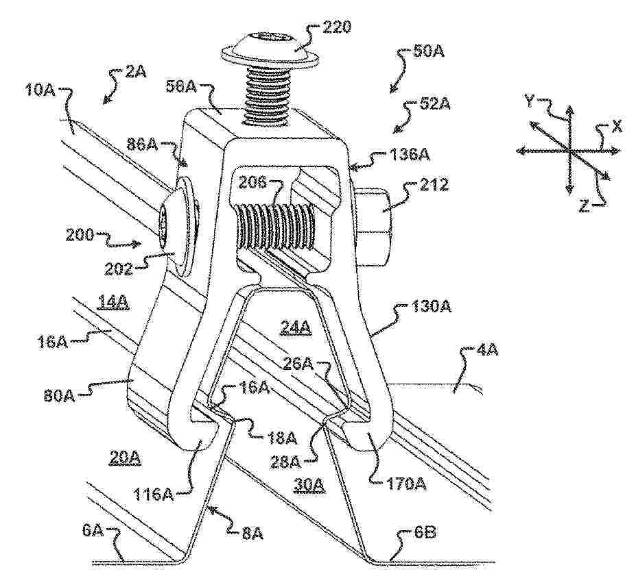
Rail-Less Solar Panel Devices and System for Roofs and the Like and Methods for Mounting Same

NºPublicación:  US2025314398A1 09/10/2025
Solicitante: 
SUNMODO CORP [US]
Sunmodo Corporation
US_2025314398_PA

Resumen de: US2025314398A1

Discussed are solar panel systems as well as devices and methods for mounting the solar panel systems to roofs and building structures. Catch clamp, mid clamp, and optionally end clamp assemblies can be preinstalled to the solar panels at the job site before placing and securing the resulting solar panel assemblies to the building structure such as a roof. After an installer places and secures a first solar panel assembly to the building structure, they can install each subsequent solar panel assemblies by attaching the leading edge of the subsequent solar panel assembly to the trailing edge of the previous solar panel assembly using a catch and catch receiver, hook and slot, tab and slot, or similar mechanism.

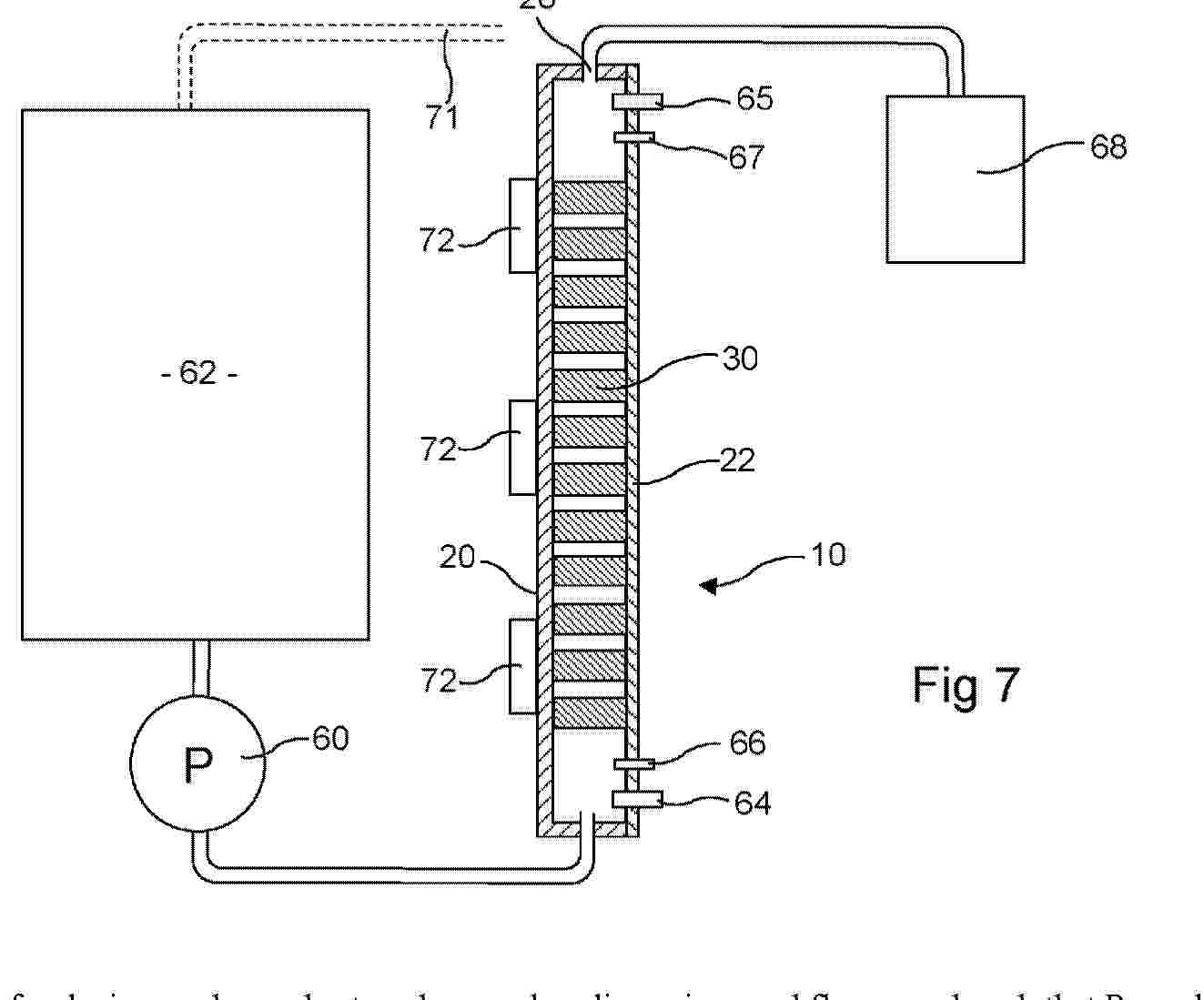
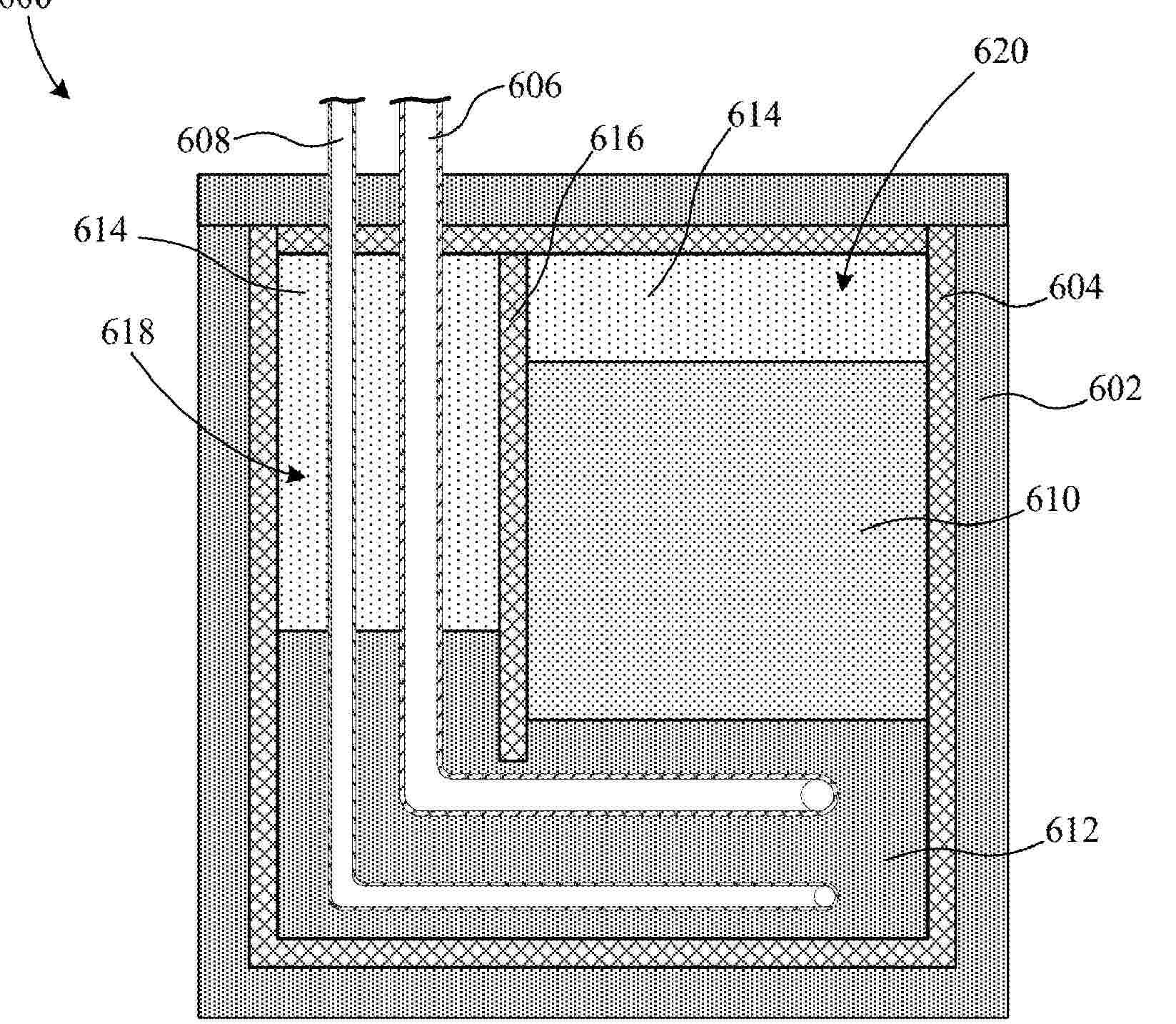
Thermal Storage Device with Immiscible Storage Media

Nº publicación: US2025314432A1 09/10/2025

Solicitante:

THERMAL STORAGE SYSTEMS [US]
Thermal Storage Systems

US_2025314432_PA

Resumen de: US2025314432A1

A thermal storage system includes a container, a thermal exchange device, a first thermal storage material, and a second thermal storage material. The first thermal exchange device is disposed in the container. The first thermal storage material is disposed in the container and is spaced apart from the thermal exchange device. The second thermal storage material is also disposed in the container in contact with the thermal exchange device. The first and second thermal storage materials are immiscible. The second thermal storage material is less reactive with the construction material of the thermal exchange device as compared to the first thermal storage material. Optionally, a second thermal exchange device can be submerged in the second thermal storage material. The first thermal exchange device is configured to supply heat to the second thermal storage material and the second thermal exchange device facilitates extraction of heat from the second thermal storage material.

traducir