Ministerio de Industria, Turismo y Comercio LogoMinisterior
 

Energía solar fotovoltaica

Resultados 165 resultados
LastUpdate Última actualización 08/12/2025 [06:55:00]
pdfxls
Solicitudes publicadas en los últimos 15 días / Applications published in the last 15 days
Resultados 1 a 25 de 165 nextPage  

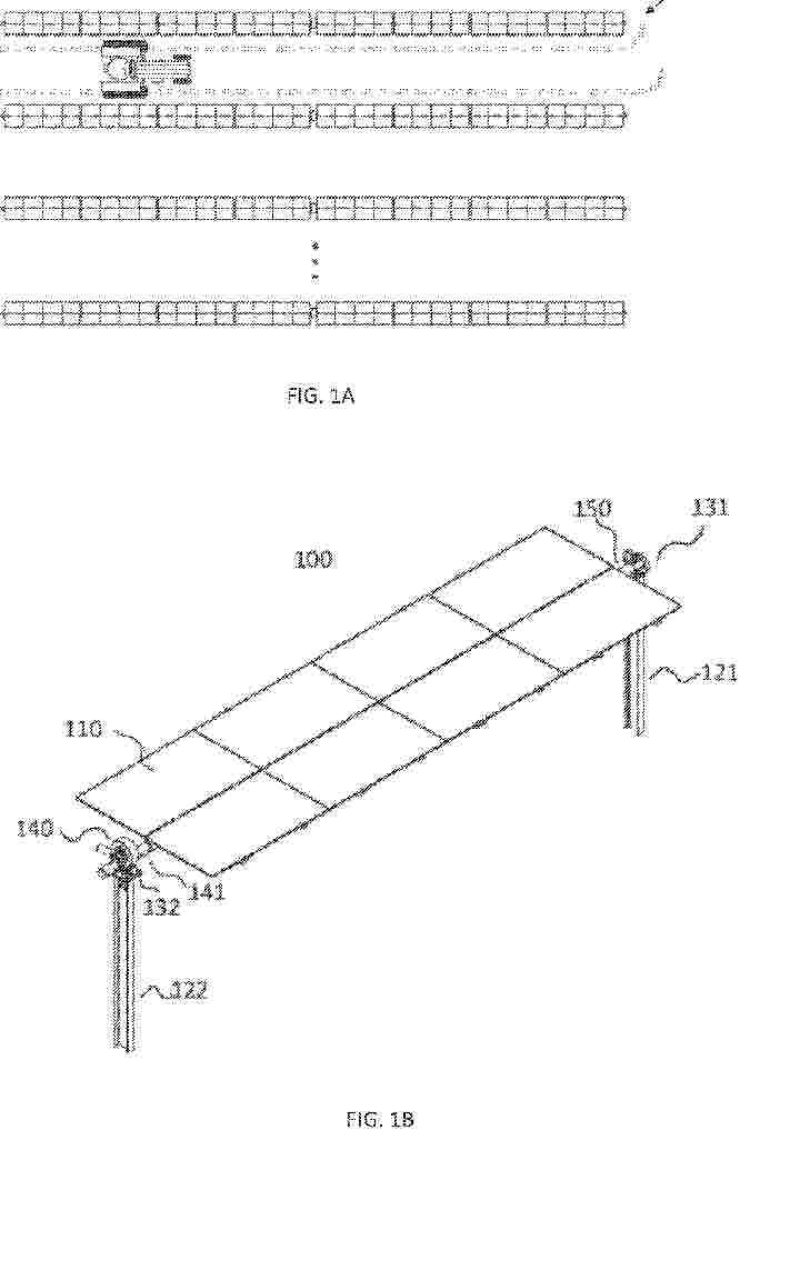
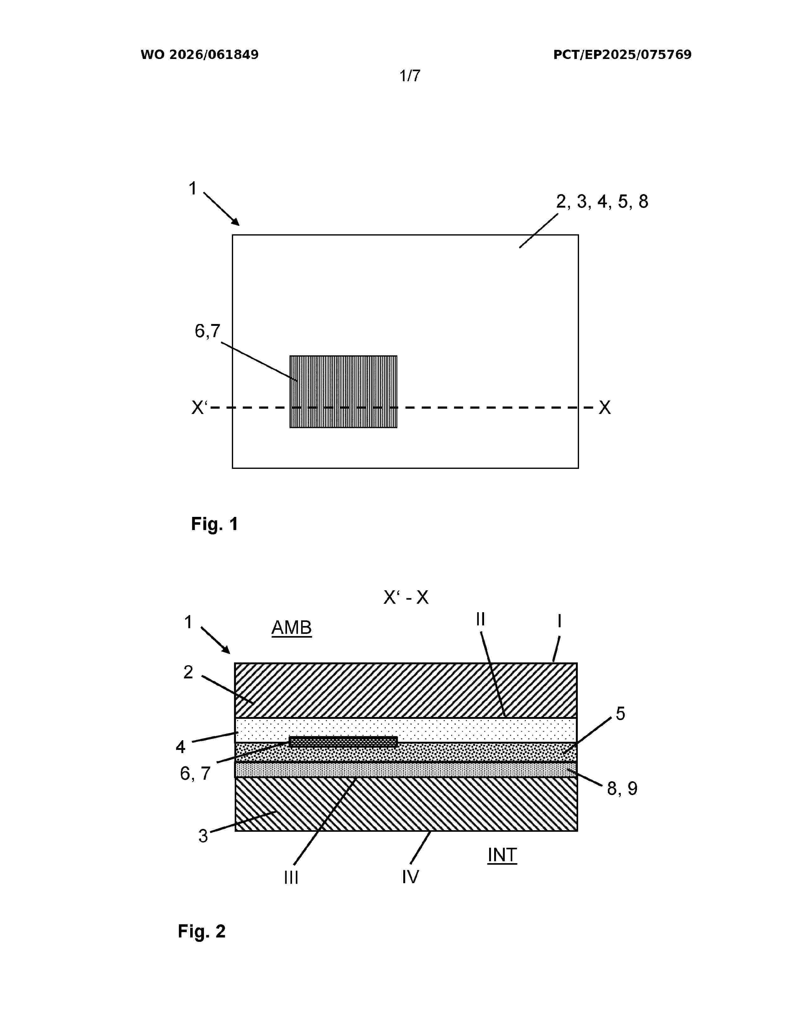
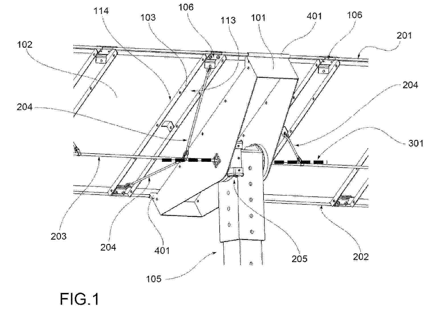
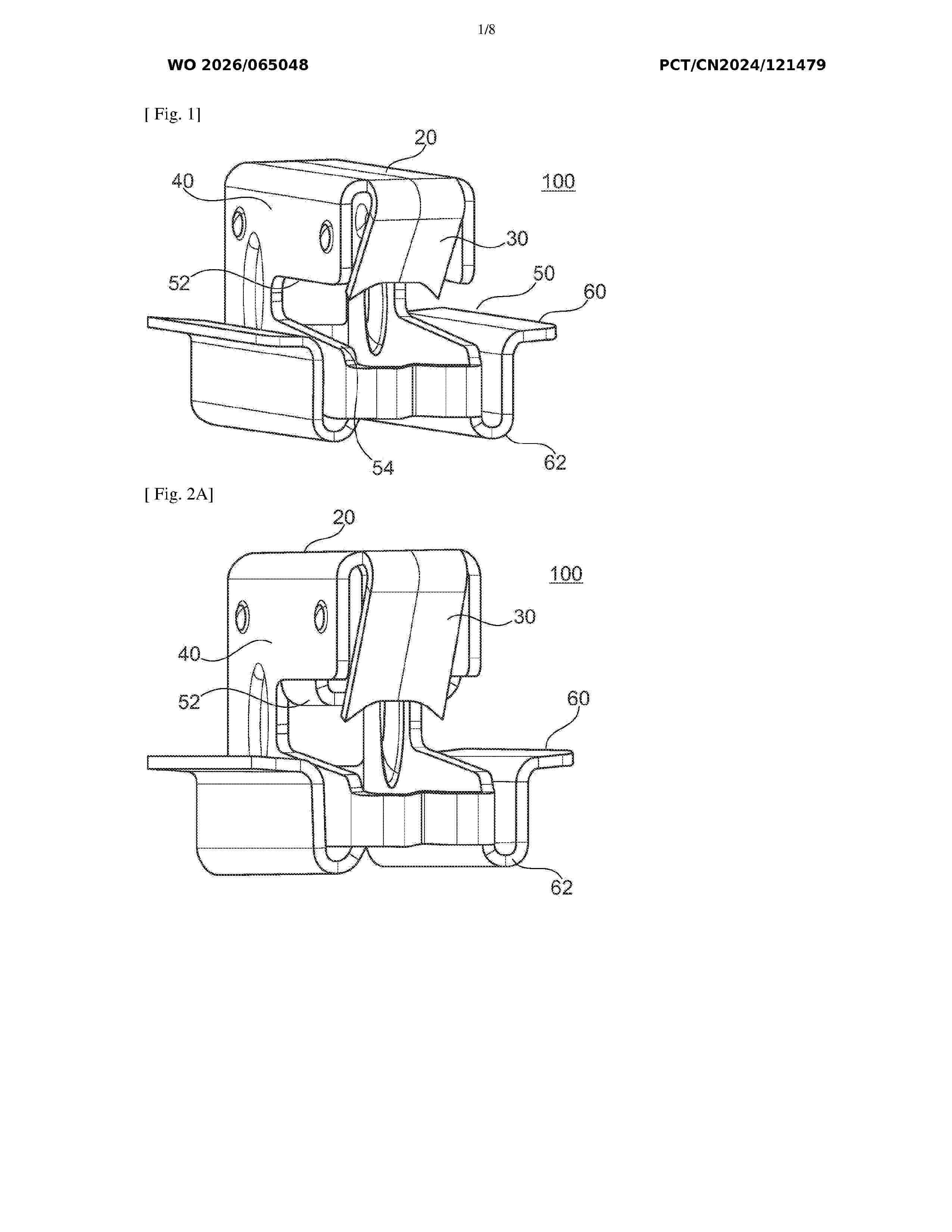
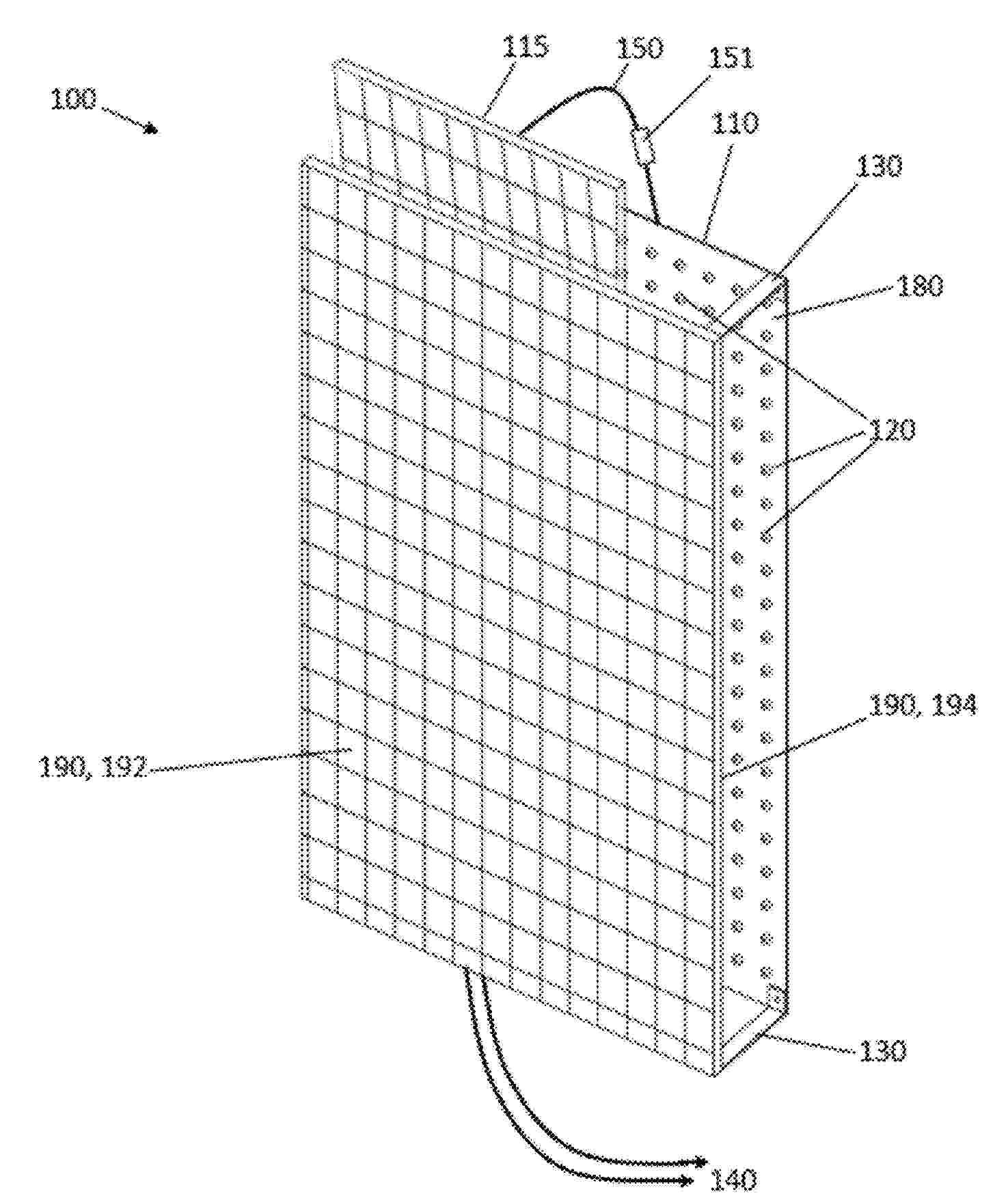
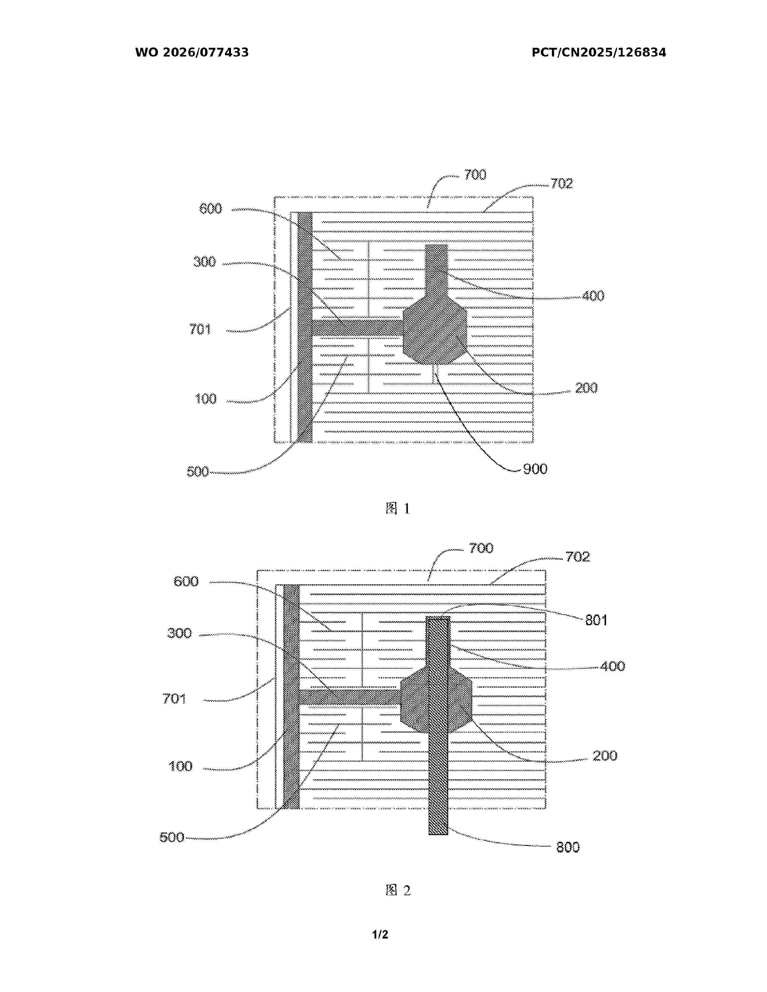
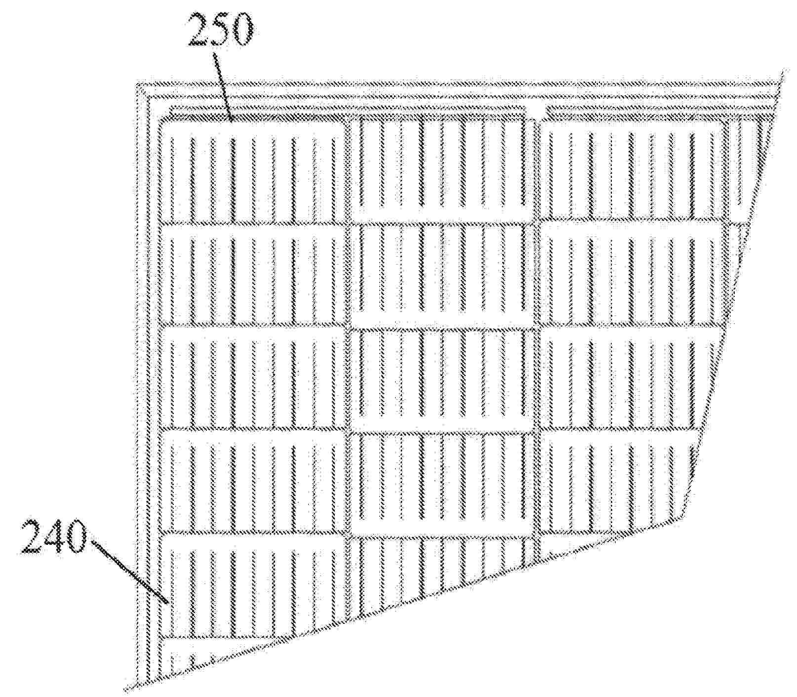
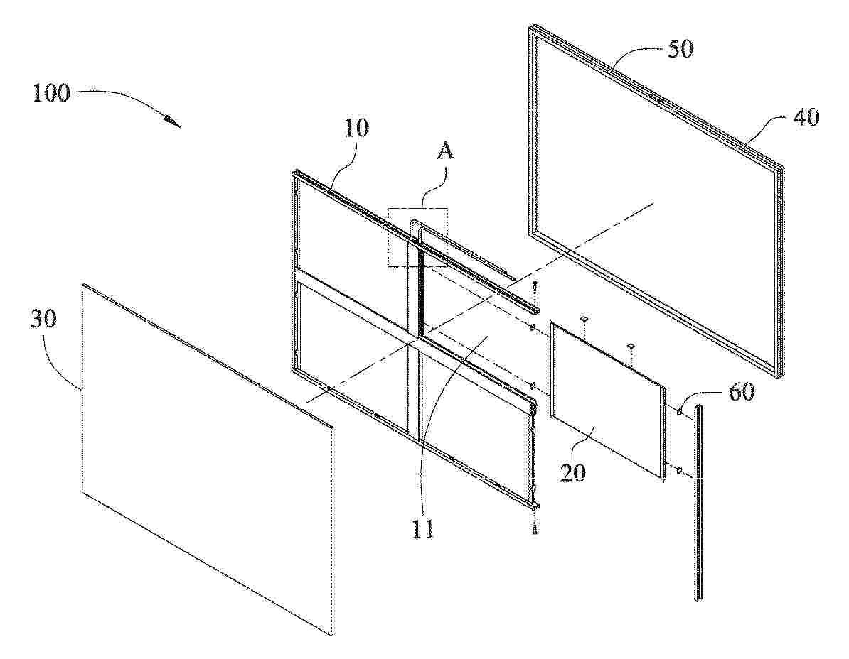
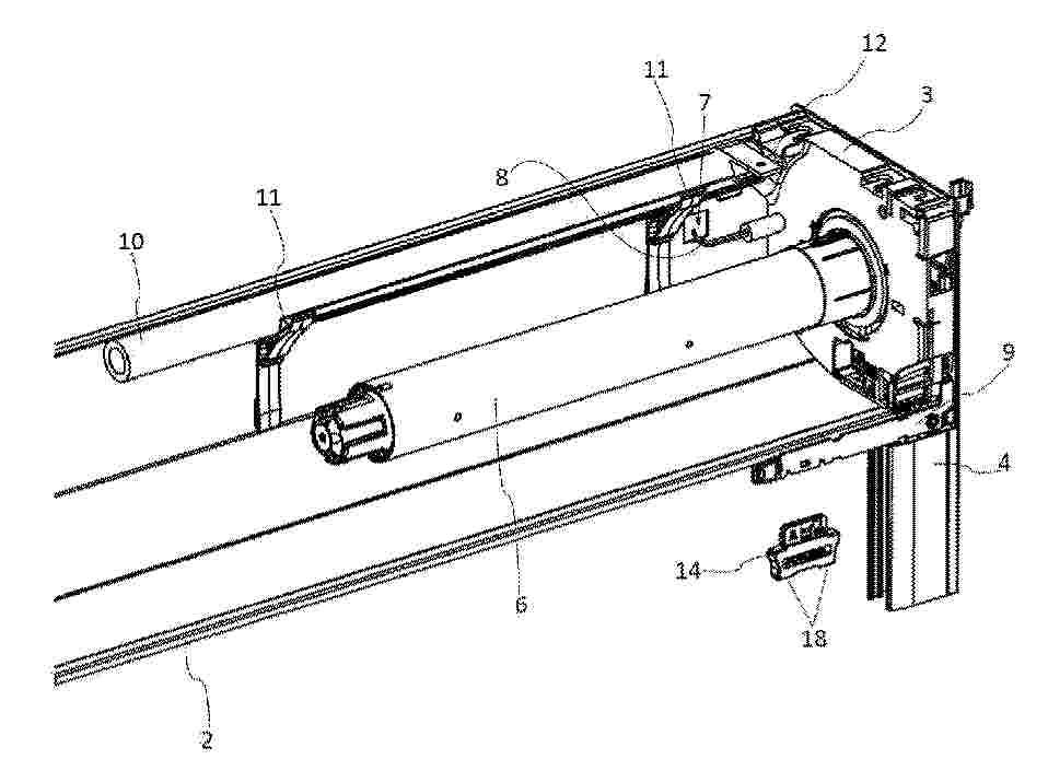
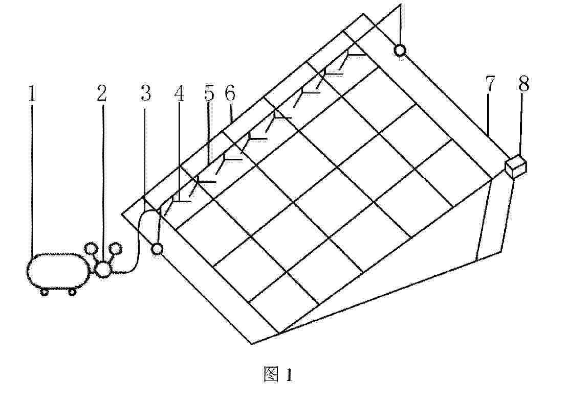
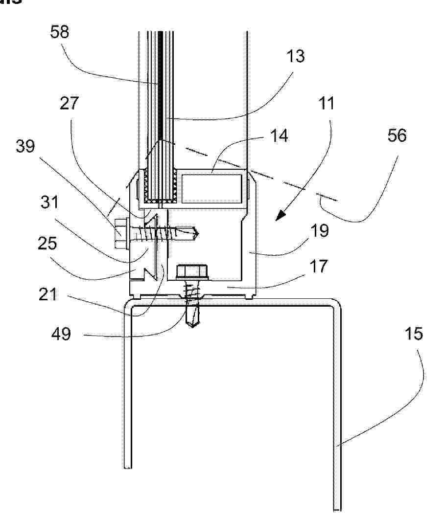
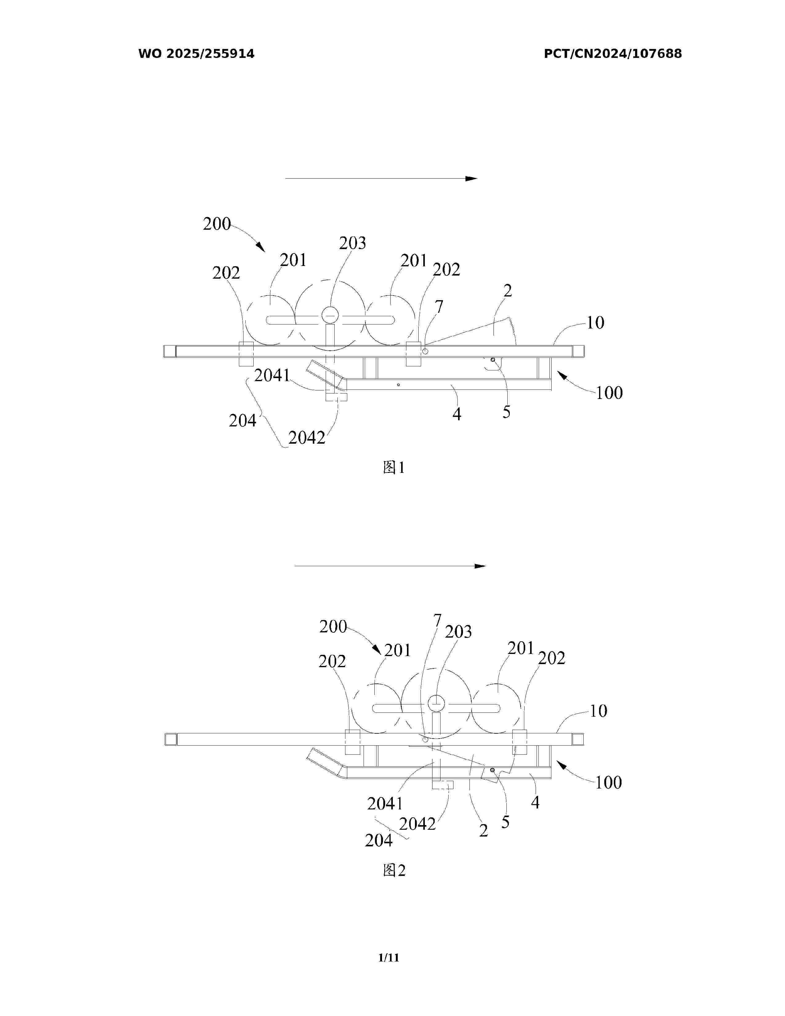
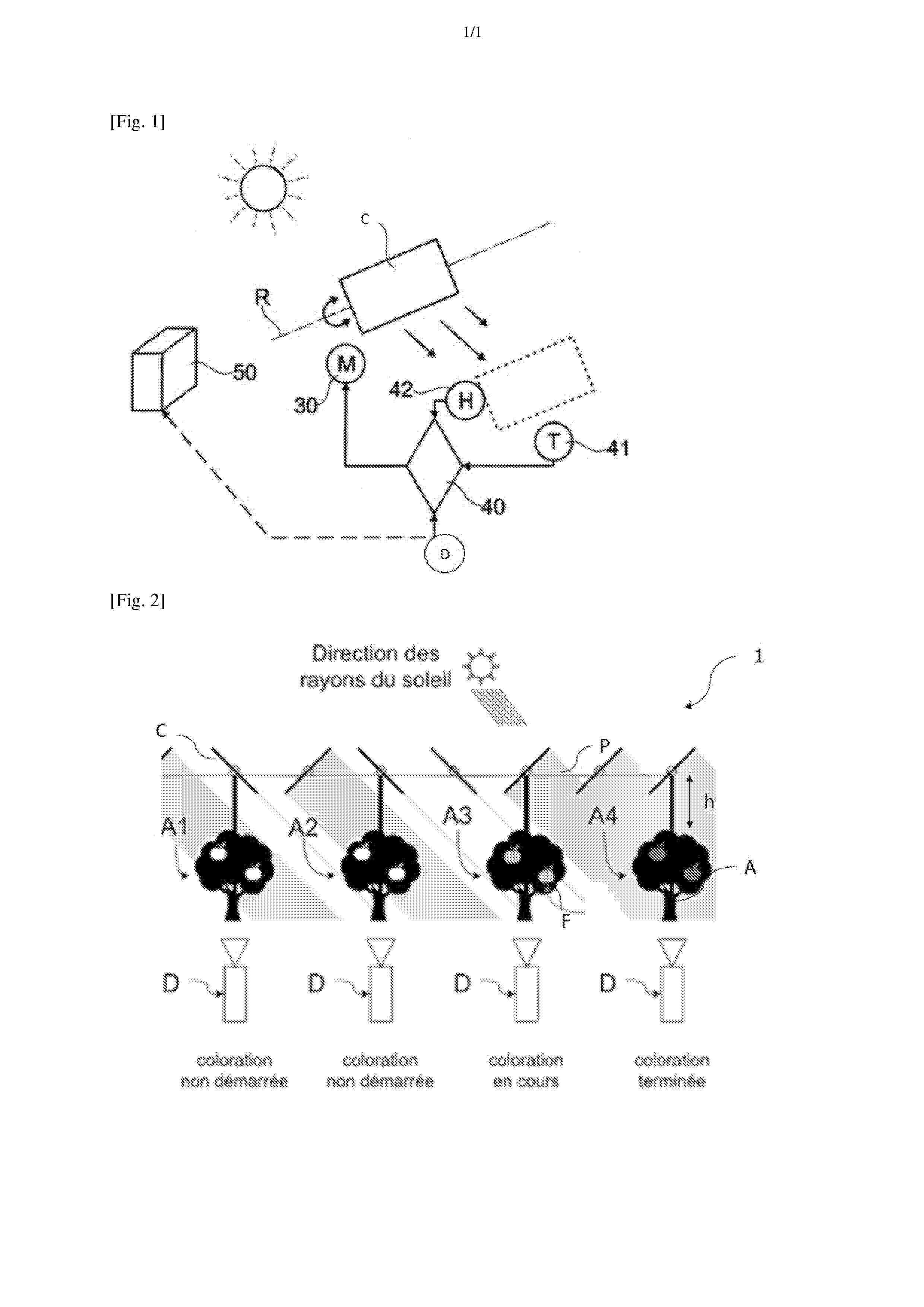
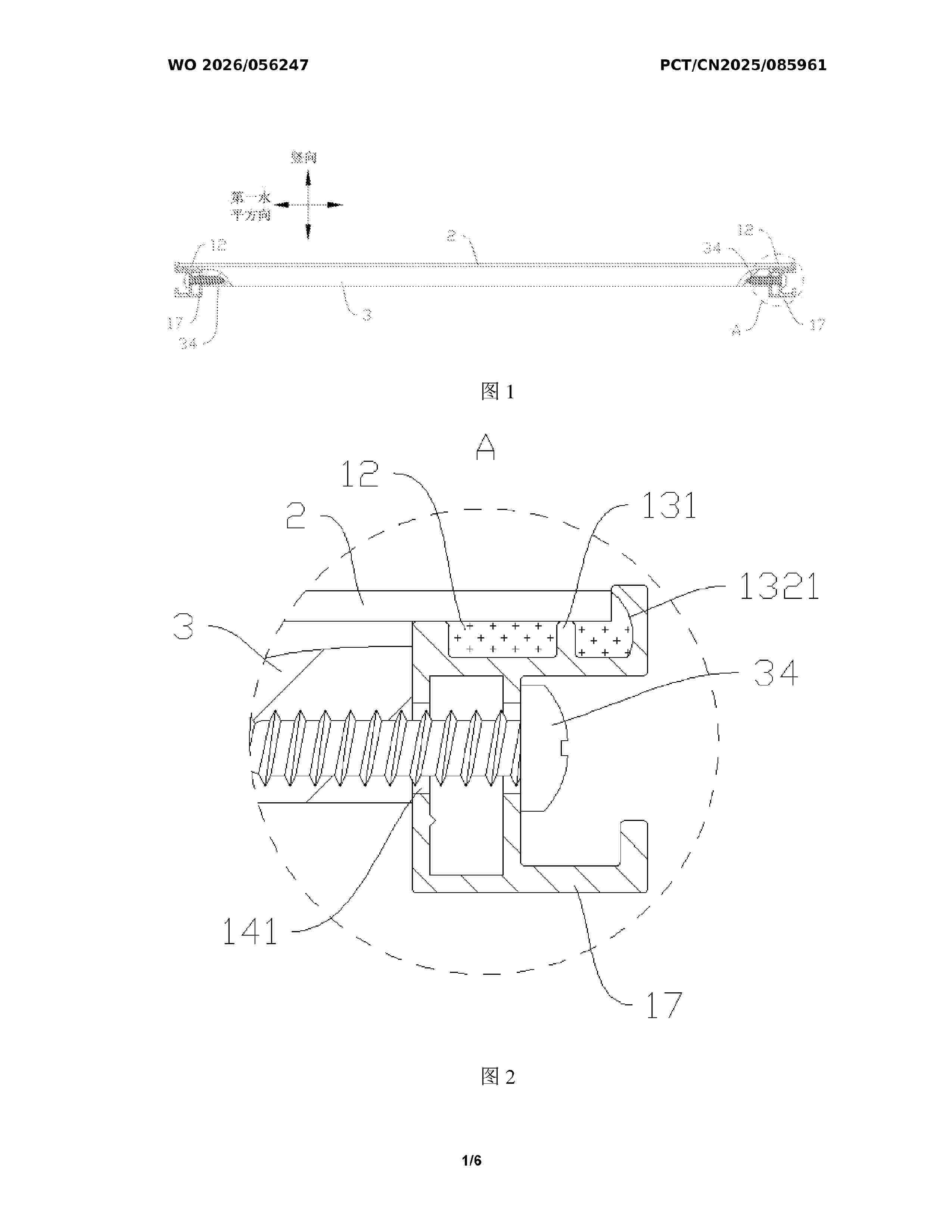
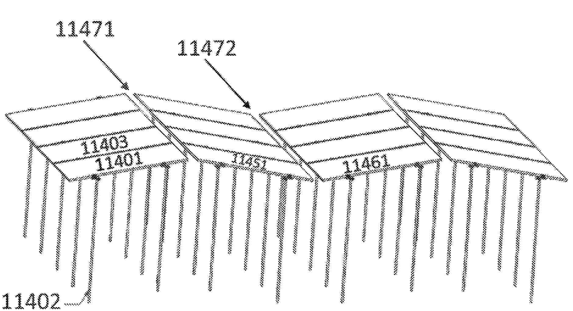
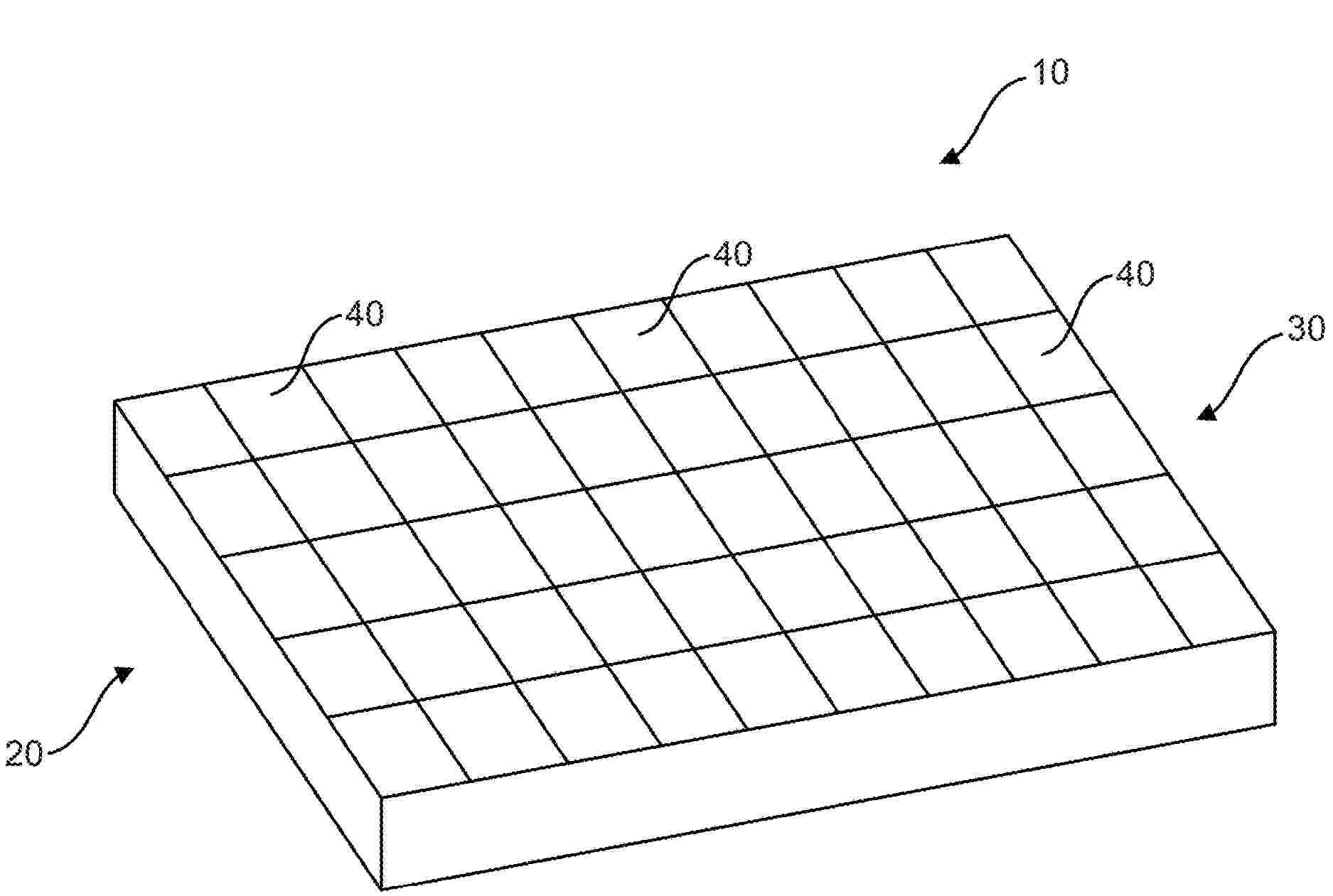
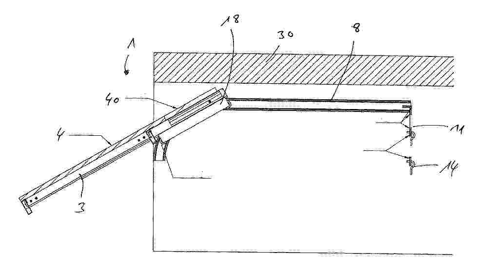
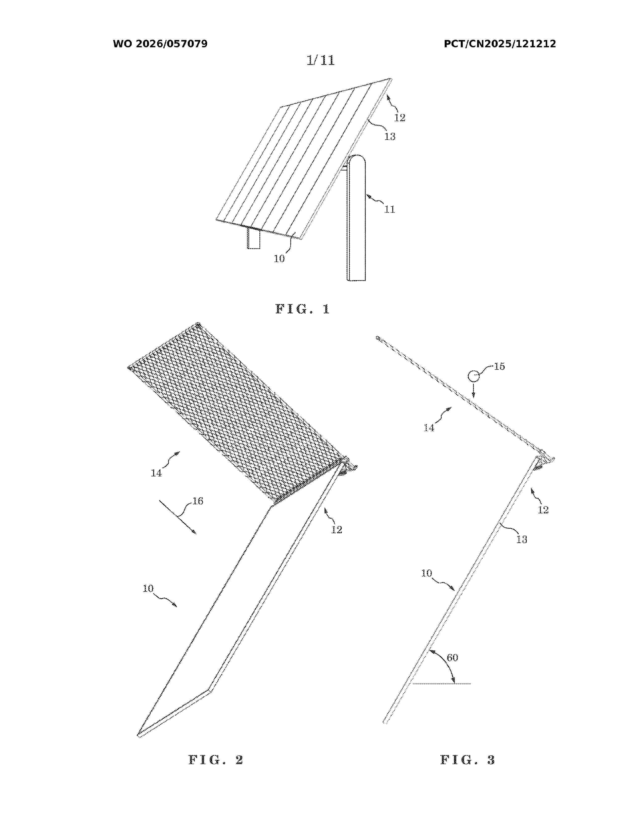
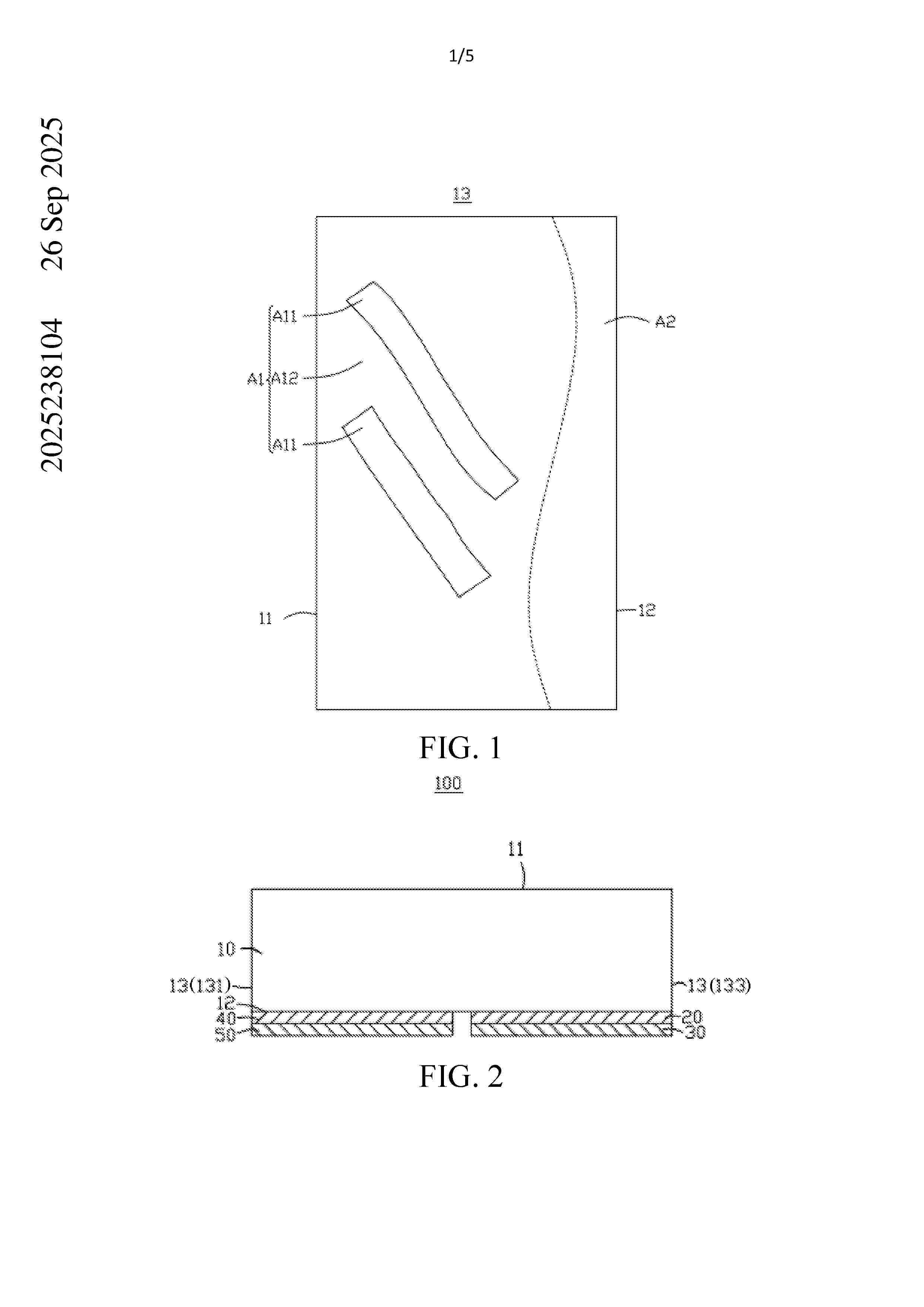
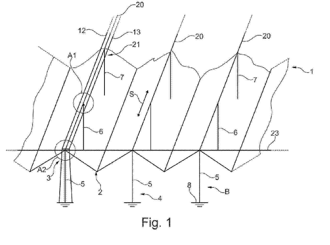
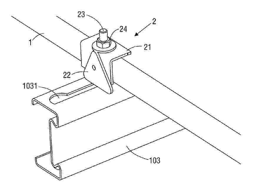
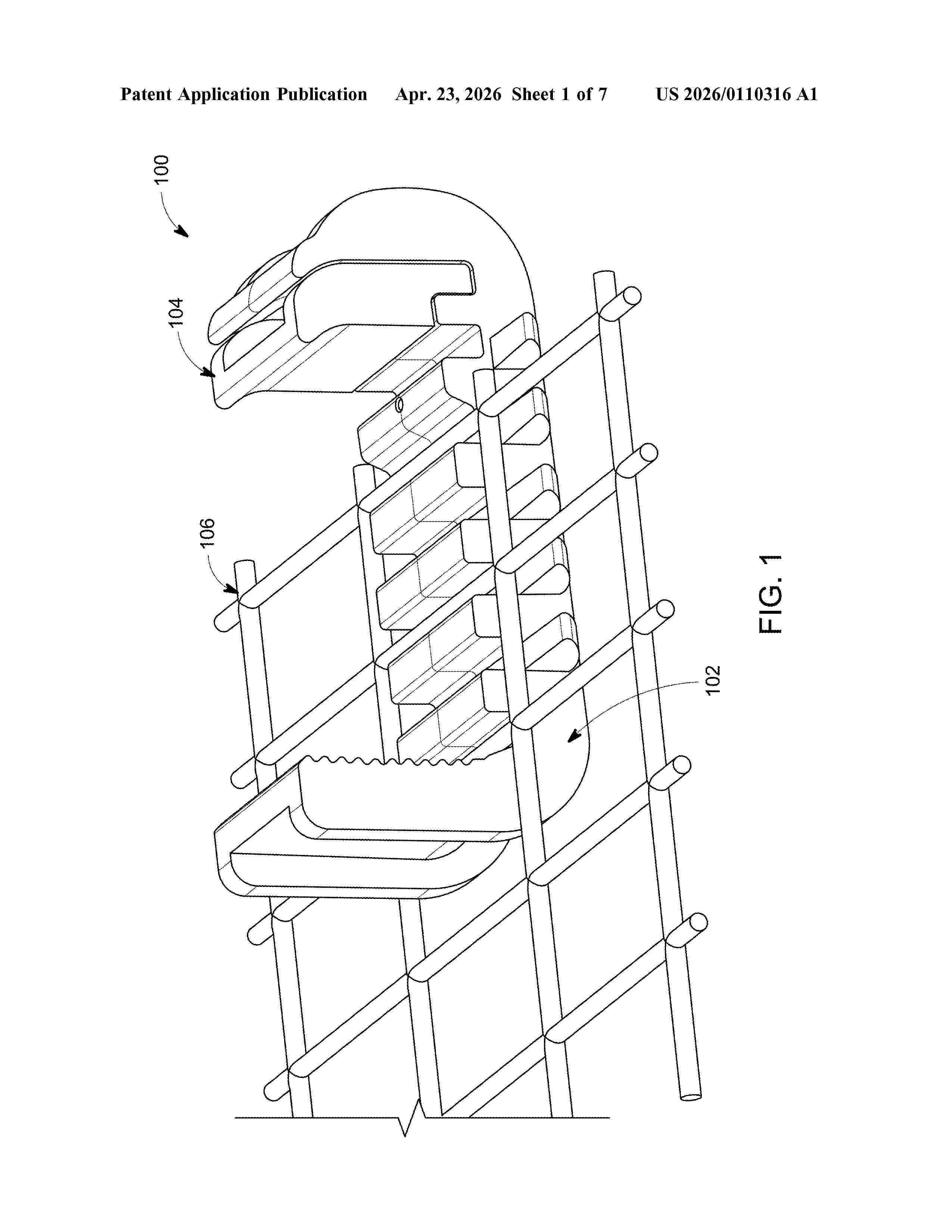
Ensemble de couverture pour couvrir une toiture d’un premier module de construction.

NºPublicación:  FR3162954A1 05/12/2025
Solicitante: 
ALTEMPO [FR]
ALTEMPO
FR_3162954_PA

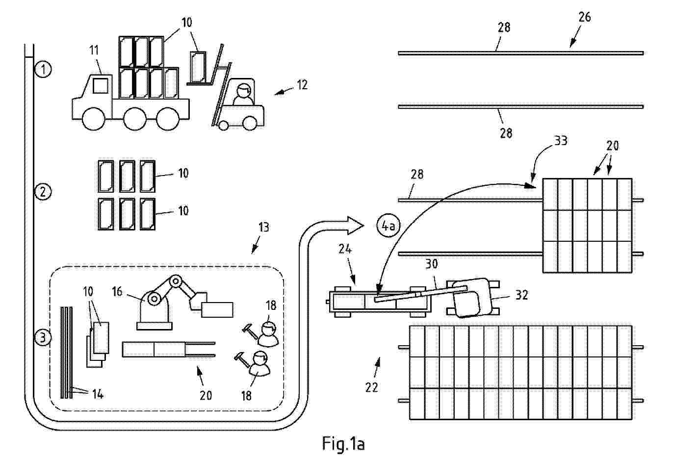
Resumen de: FR3162954A1

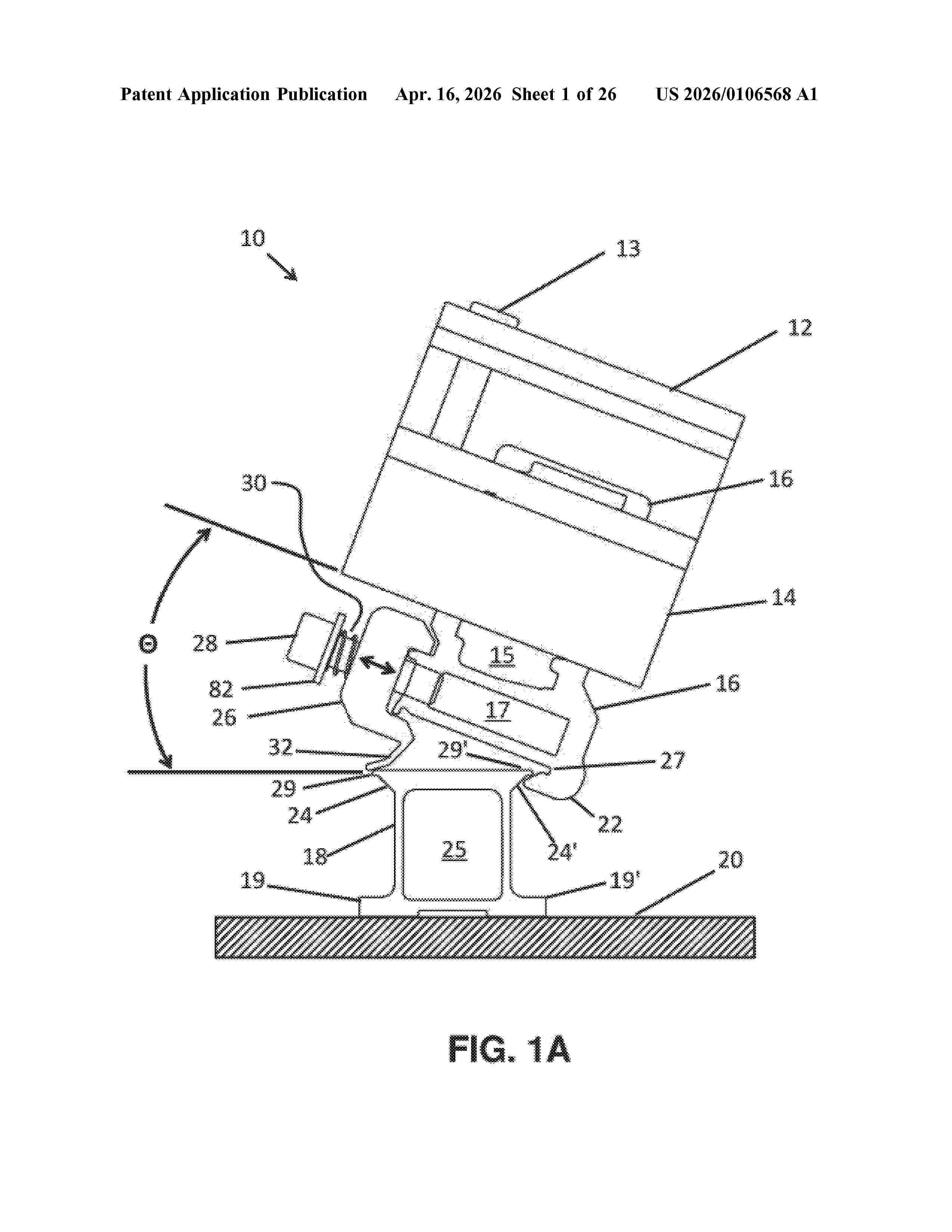
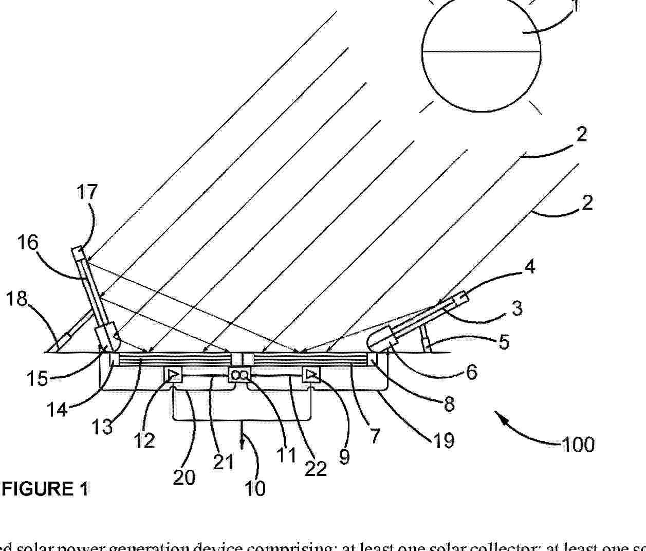
Ensemble de couverture (1) pour couvrir au moins un premier module de construction (10) ayant une toiture (10a), l’ensemble de couverture (1) comportant : - un premier panneau photovoltaïque (Pv1) pour capter de l’énergie solaire ; - un premier support (S1) du premier panneau photovoltaïque (Pv1), le premier panneau (Pv1) définissant une partie d’une surface de couverture au-dessus de la toiture (10a). Le premier support (S1) comporte une pluralité de poteaux (S1a, S1b, S1c, S1d) pour supporter le premier panneau (Pv1), un garde-corps (G) porté par certains au moins des poteaux (S1a, S1b, S1c, S1d) présente une lisse supérieure (G1) définissant une limite périphérique d’une zone centrale (Zc) de captation d’énergie où se trouve le premier panneau photovoltaïque (Pv1). FIGURE DE L’ABREGE : Fig. 1a

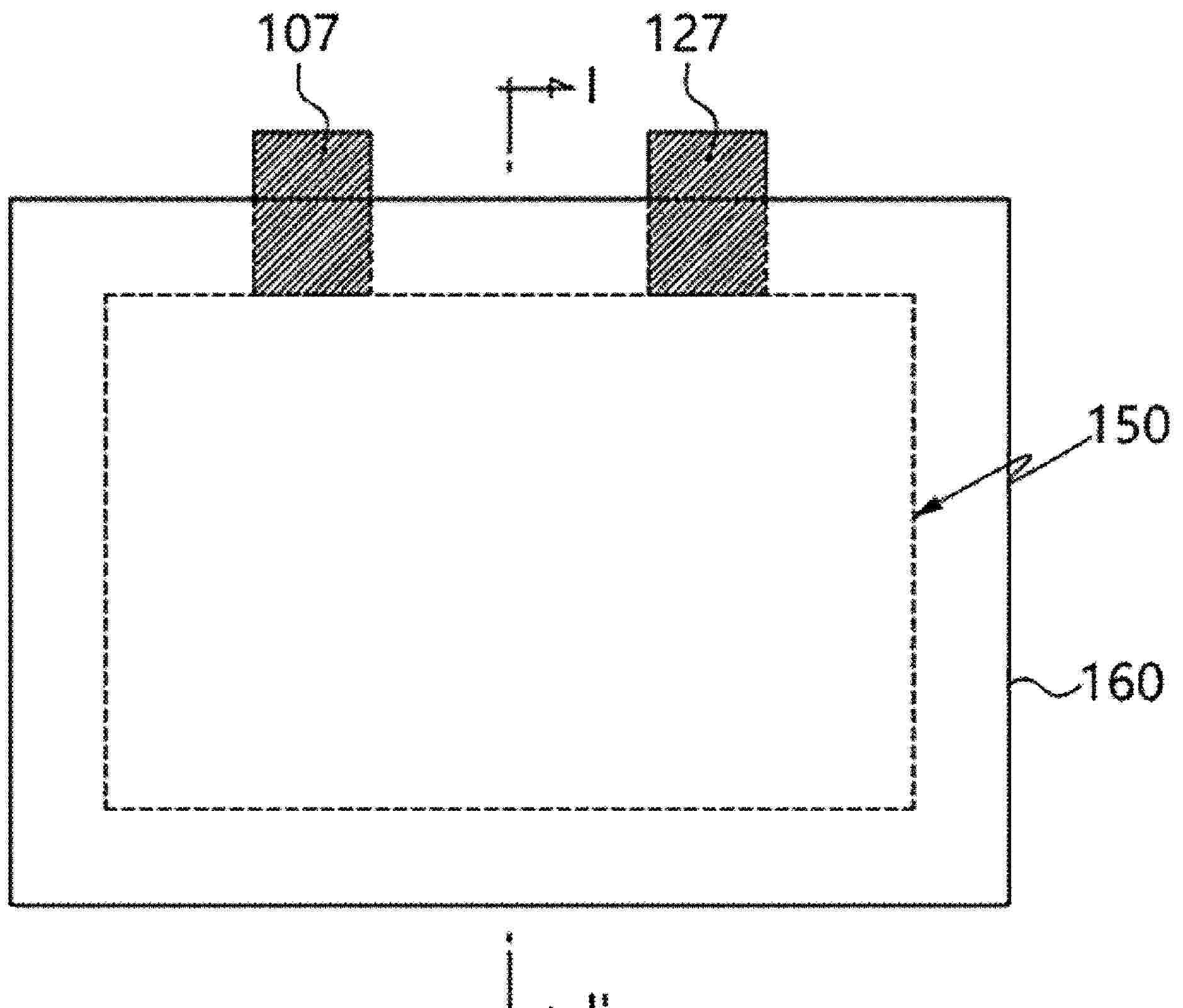
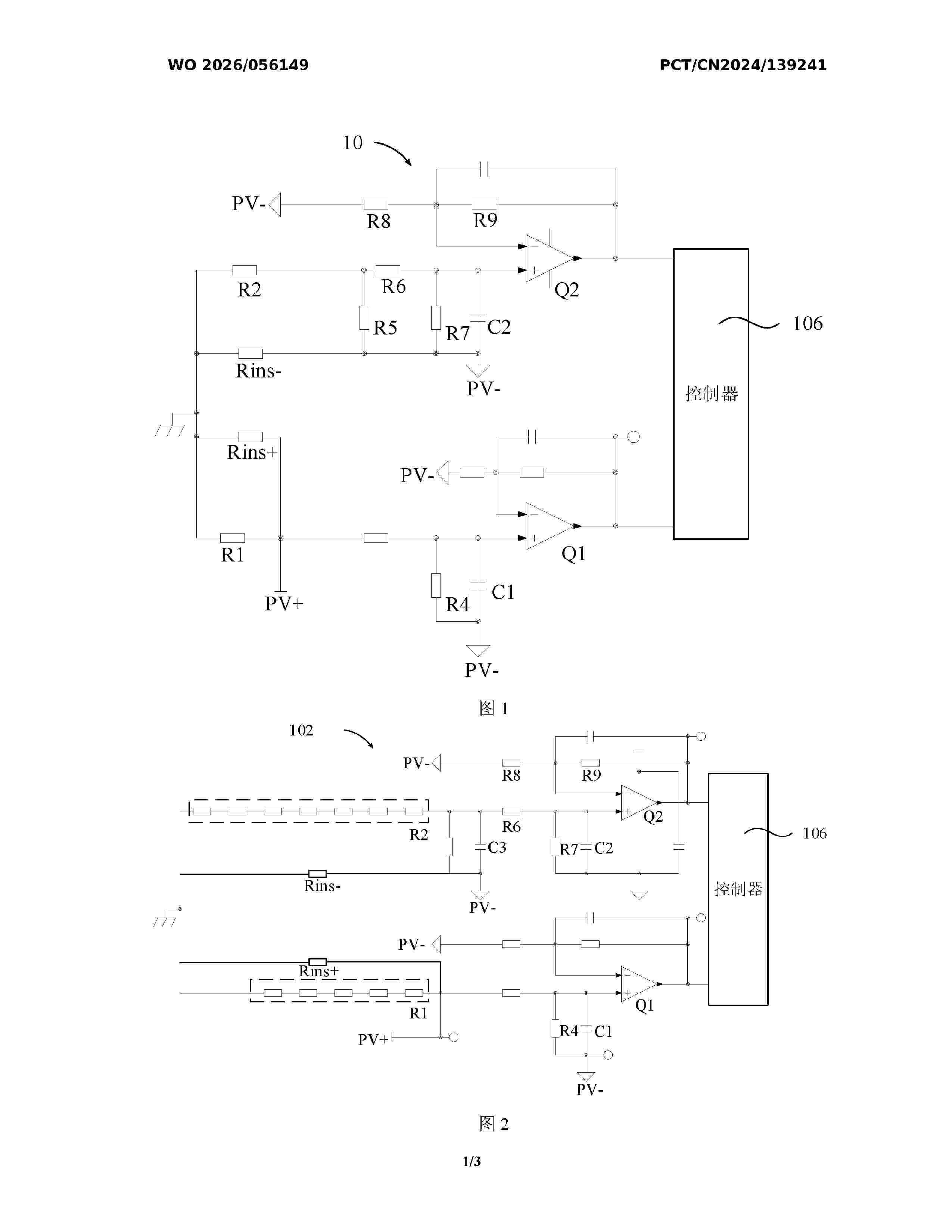
Procédé d'alerte en cas de défaillance d'un dispositif de production d'énergie et dispositif électronique associé

NºPublicación:  FR3162875A1 05/12/2025
Solicitante: 
ORANGE [FR]
ORANGE
FR_3162875_PA

Resumen de: FR3162875A1

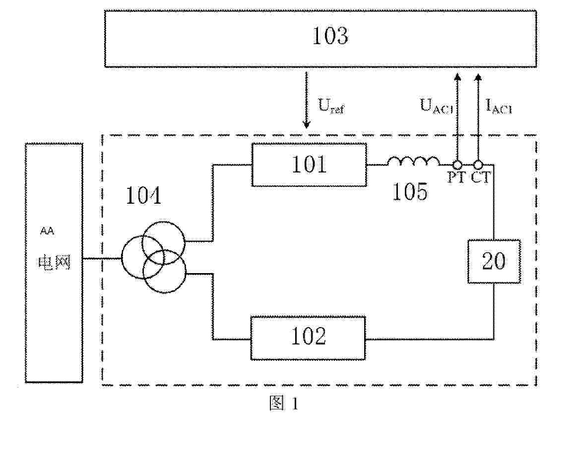
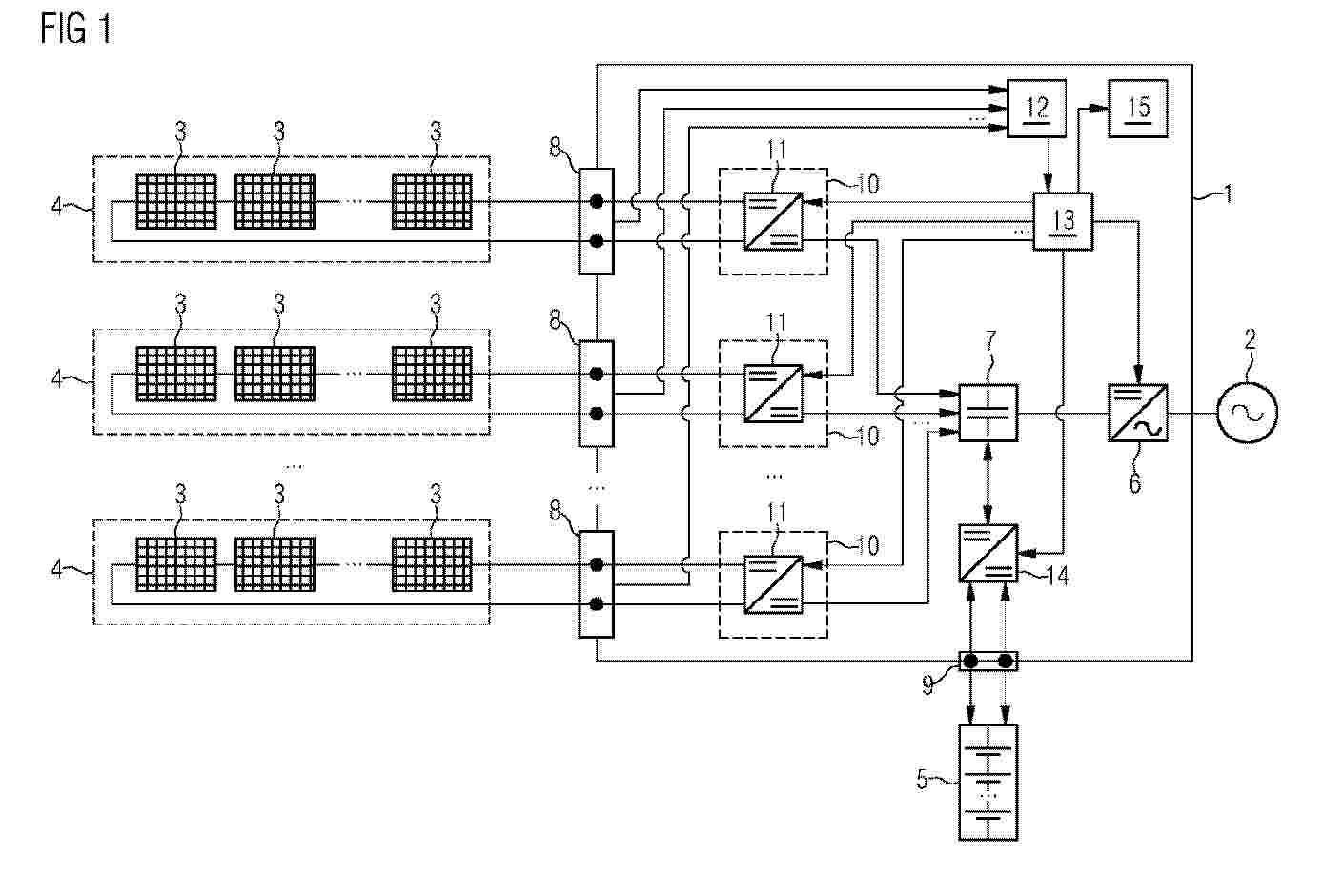
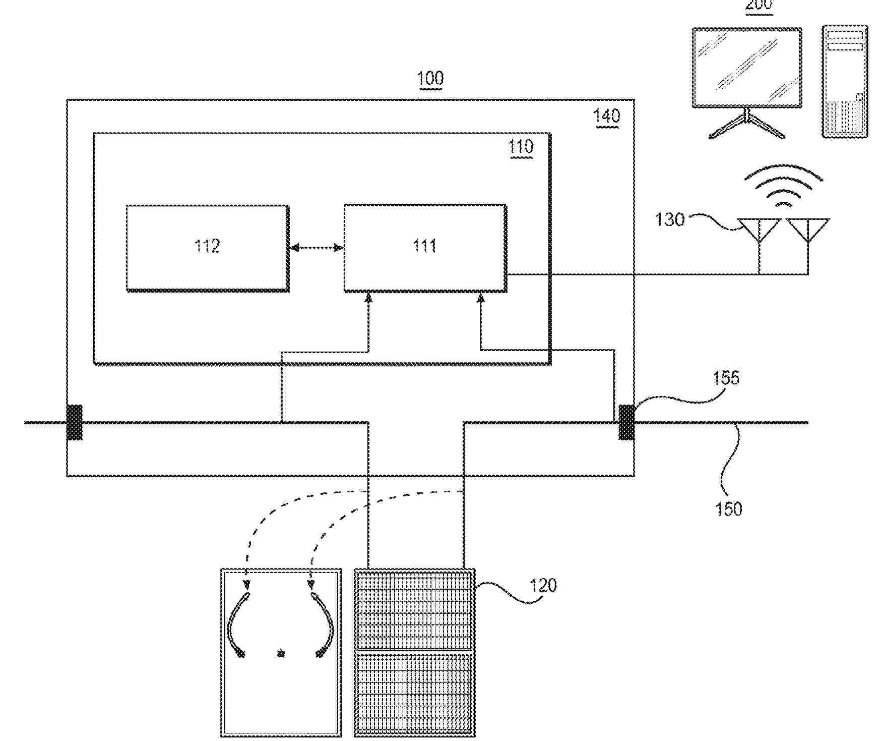
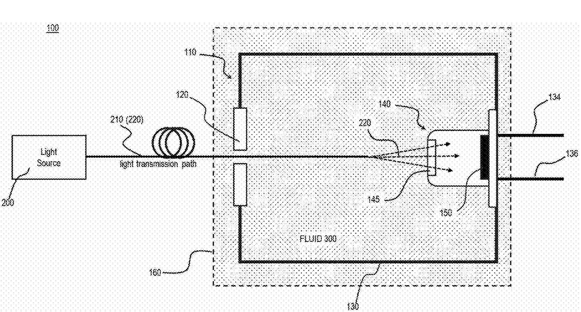
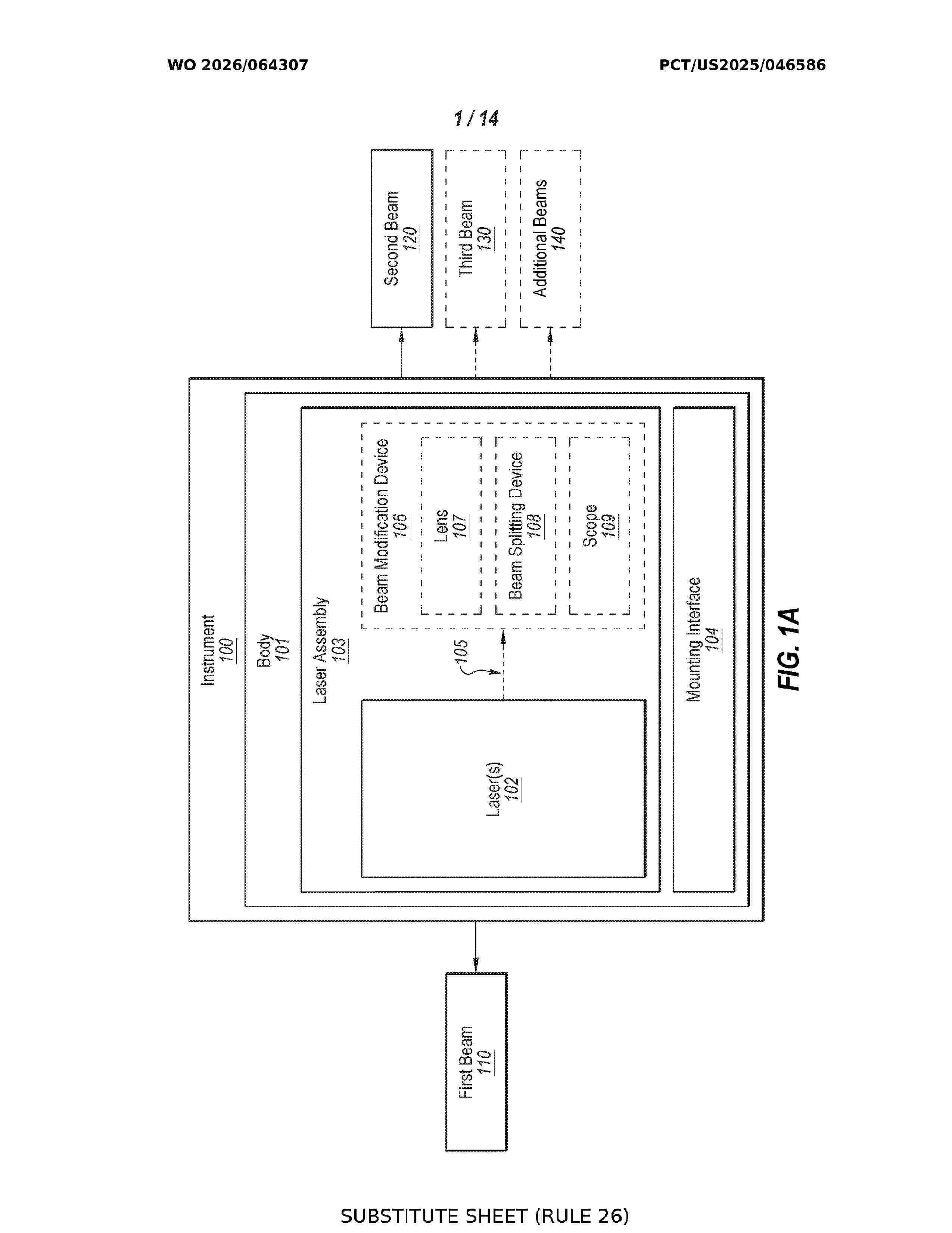
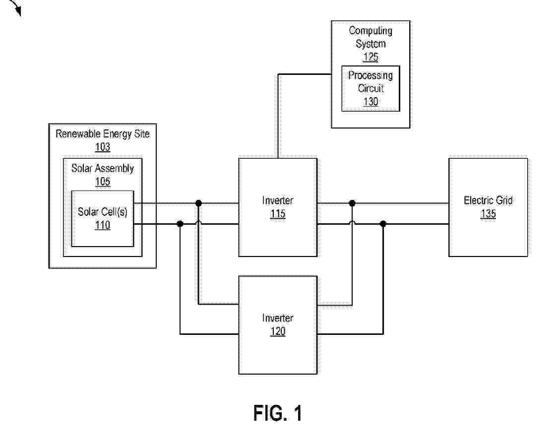
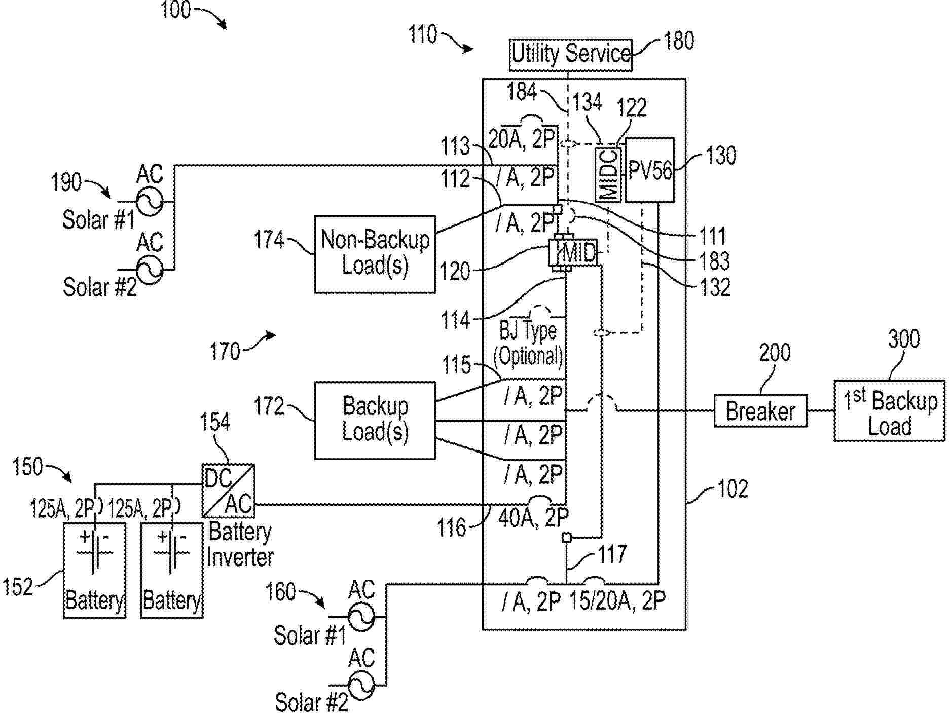
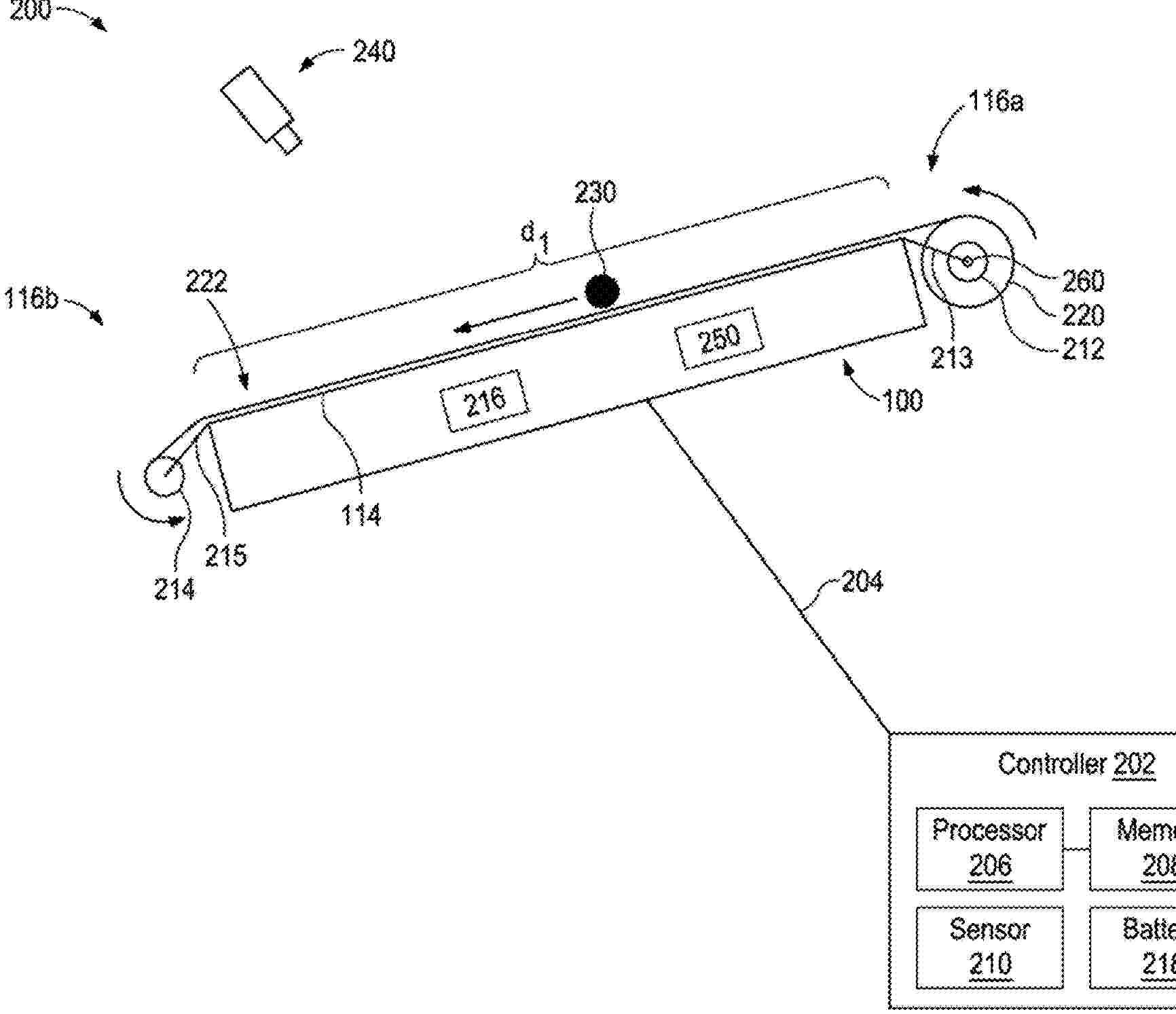
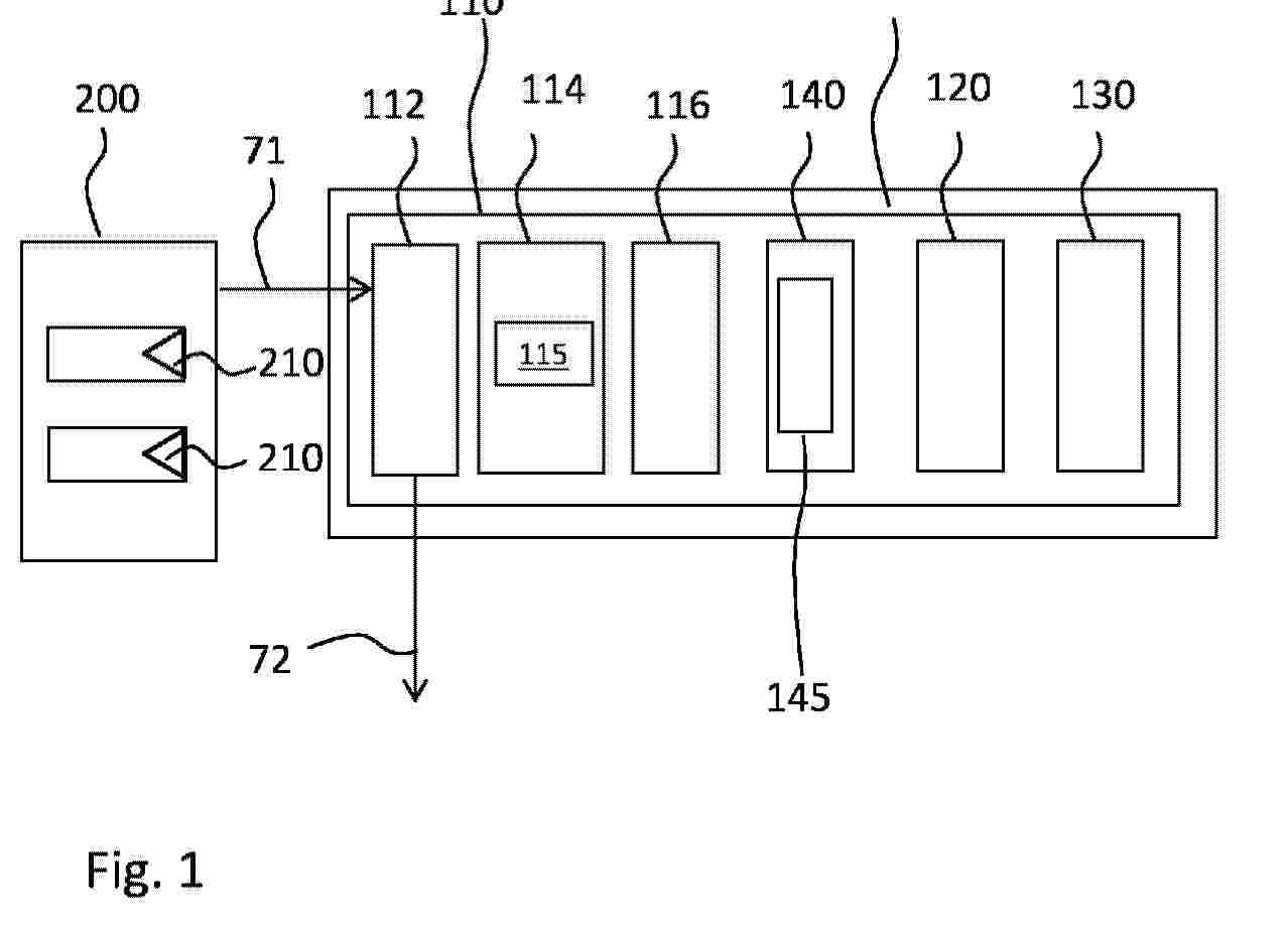
Procédé d'alerte en cas de défaillance d'un dispositif de production d'énergie et dispositif électronique associé L’invention concerne un procédé d'alerte mis en œuvre par un dispositif électronique de supervision (200) connecté à un ou plusieurs dispositifs de production d'énergie (100). Le procédé comprend : une détermination, par un modèle de classification de cause de déviations prenant en entrée un historique de déviations entre une valeur représentative d'une prédiction d'une quantité d'énergie produite par ce ou ces dispositifs de production d'énergie et une valeur représentative d'une quantité d'énergie effectivement produite par ce ou ces dispositifs de production d'énergie, d’une occurrence d’une défaillance d'au moins un composant du ou des dispositifs de production d'énergie ; et une génération d'une alerte selon laquelle au moins un composant du ou des dispositifs de production d'énergie est défaillant. Figure pour l’abrégé : Fig. 1A.

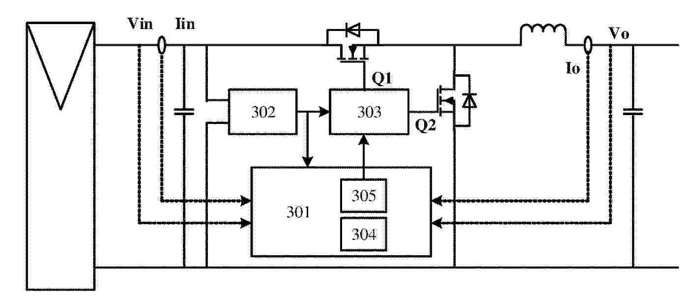
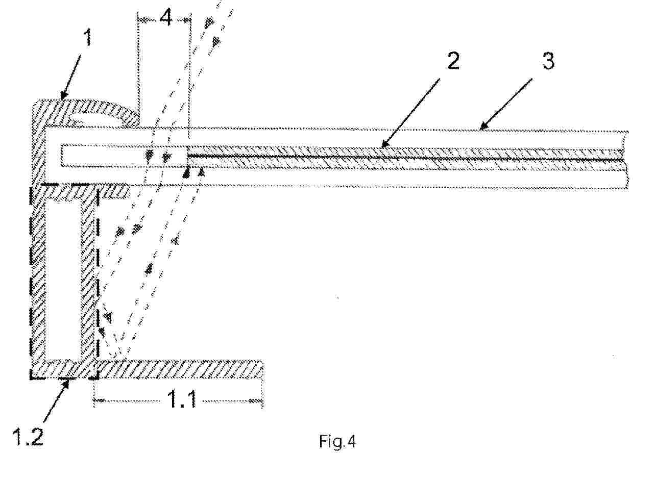
Dispositif de connexion électrique

NºPublicación:  FR3162934A1 05/12/2025
Solicitante: 
MOBASOLAR [FR]
MOBASOLAR
FR_3162934_PA

Resumen de: FR3162934A1

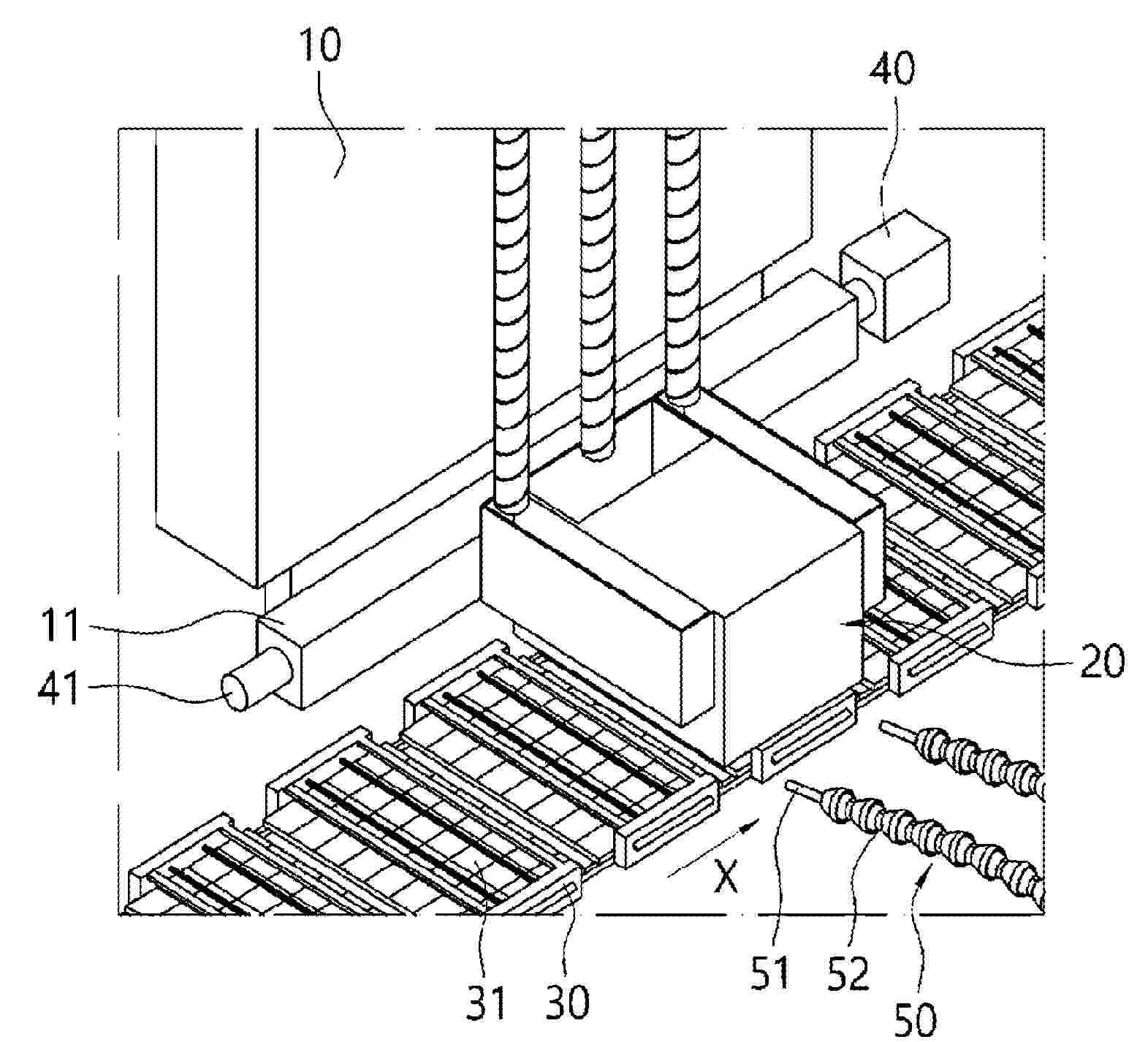
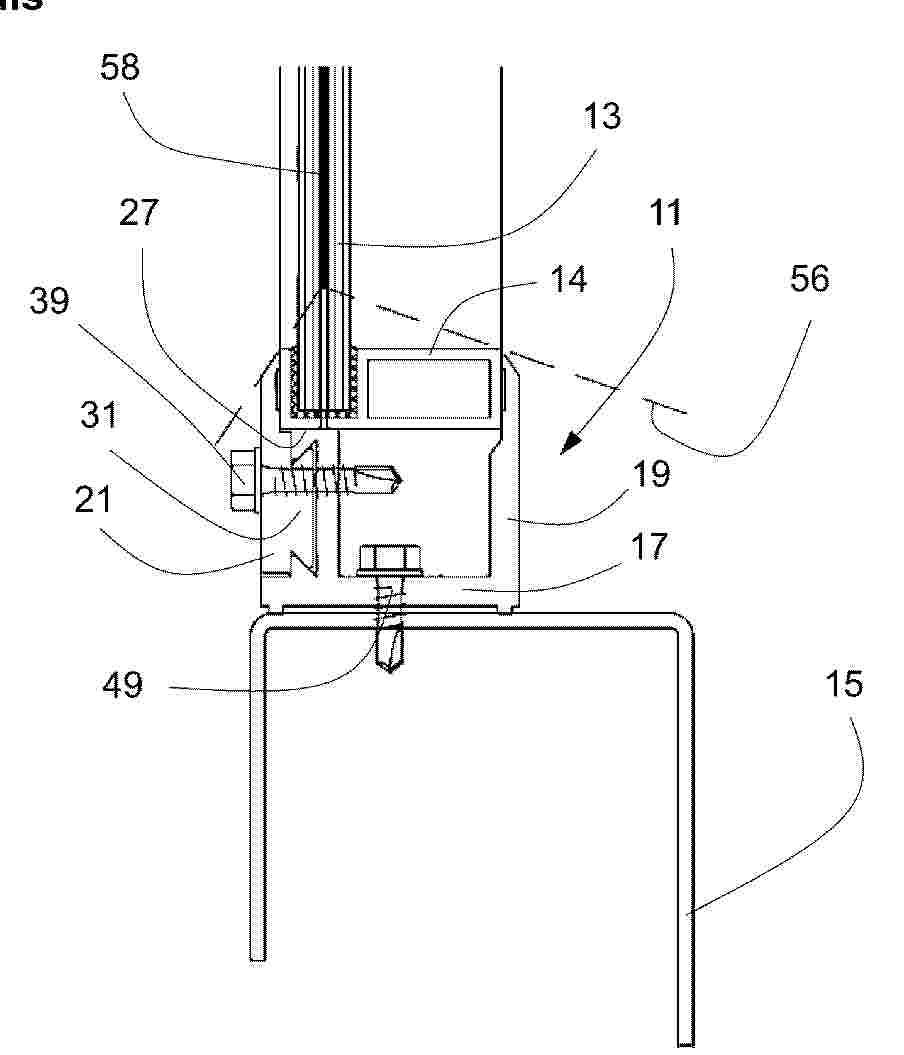
L’invention concerne un dispositif de connexion électrique (1) entre une pièce (2) et un tronçon de câble (3). Le dispositif de connexion électrique (1) est particulier en ce qu’il comporte :- une section (4), configurée pour recevoir ladite pièce (2), et assurer une fixation entre ledit dispositif (1) et ladite pièce (2), ladite section (4) comportant deux moyens de connexion électrique (5) entre ladite pièce (2) et ledit dispositif (1),- un moyen de maintien (6) dudit tronçon de câble (3) dans la section (4), et- un moyen de poinçonnage (7) configuré pour pouvoir être mis dans une position de connexion, dans lequel il pénètre le cœur du câble (3). L’invention concerne également un ensemble comportant un dispositif (1), une pièce (2) et un tronçon de câble (3), et un procédé de connexion entre une pièce (2) et un tronçon de câble (3) au moyen d’un dispositif (1). Figure pour l’abrégé : Fig 6

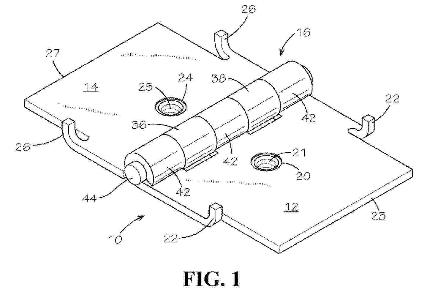
PHOTOVOLTAIC WINDOW MODULE AND BUILDING COMPRISING AT LEAST ONE SUCH PHOTOVOLTAIC WINDOW MODULE

NºPublicación:  AU2024273317A1 04/12/2025
Solicitante: 
SALERNO GUGLIELMO
SALERNO, Guglielmo
AU_2024273317_PA

Resumen de: AU2024273317A1

A photovoltaic window module (1) configured to be installed in a building (2) and to be moved around at least one hinge (3) to assume different configurations; the module comprising: a first panel (4) made of photovoltaic glass and comprising a first face (5) configured to be exposed to sunlight and a second face (6) opposite the first; a second panel (7) made of glass and comprising a first face (8) facing the second face of the first panel; an intermediate photovoltaic device in a gap between the first and the second panel; a perimeter window frame (11) to hold the panels and blind in place and to insulate the gap; at least one hinge bushing (12) coupled to the window frame and configured to be coupled to a hinge pin (13) attached to a perimeter building frame; an electrical transfer system for transferring to the building the current generated by the first panel and the intermediate photovoltaic device, wherein the electrical connection system is integrated into the window frame and into the hinge bushing so that the photovoltaic window module is of the type ready for installation and use.

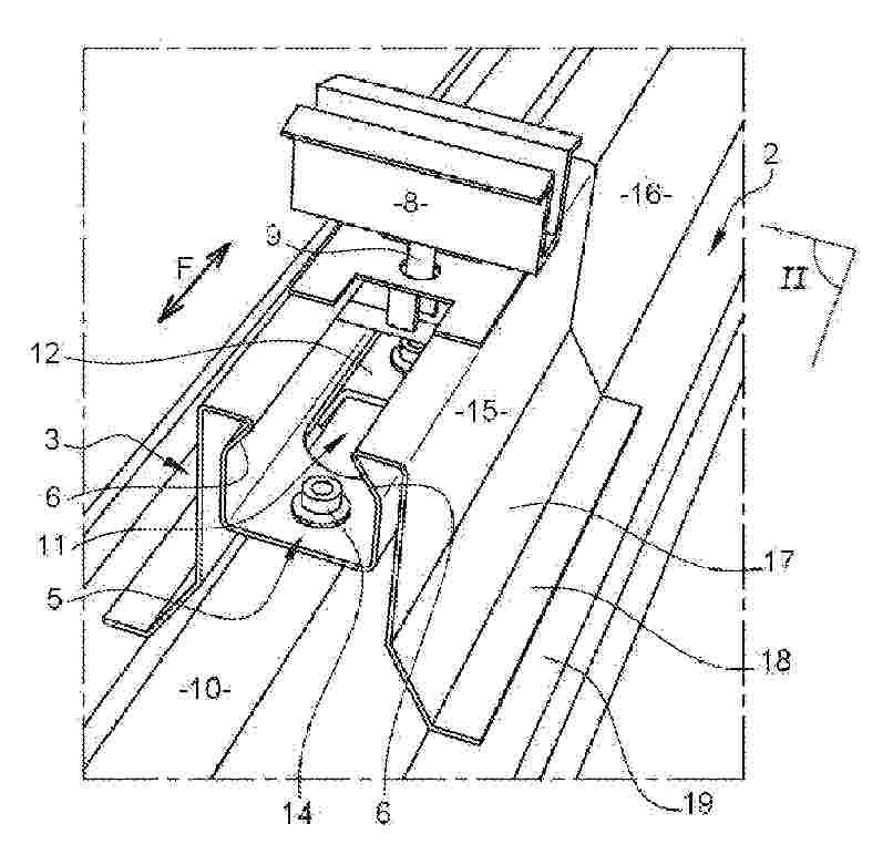
Verankerung für Photovoltaik-Freiflächenanlagen im Untergrund

NºPublicación:  DE102024115266A1 04/12/2025
Solicitante: 
RWE POWER AG [DE]
RWE Power Aktiengesellschaft

Resumen de: DE102024115266A1

Vorrichtung (1) zur Verankerung einer Photovoltaik-Anlage in einem Untergrund (3), umfassend ein Profil (4) mit einem Ankerbereich (5), wobei das Profil (4) ein erstes Ende (7) und ein dem ersten Ende (7) gegenüberliegendes zweites Ende (8) aufweist, wobei der Ankerbereich (5) an das erste Ende (7) des Profils (4) angrenzend ausgebildet ist, wobei eine distale Richtung (R) von dem zweiten Ende (8) zum ersten Ende (7) gerichtet ist, wobei das Profil (4) in dem Ankerbereich (5) zwei Schenkel (9) aufweist, wobei die Schenkel (9) jeweils einen an das erste Ende (7) des Profils (4) angrenzenden Führungsfuß (10) aufweisen, wobei die Schenkel (9) derart ausgebildet sind, dass die Führungsfüße (10) der Schenkel (9) durch entgegen der distalen Richtung (R) auf die Führungsfüße (10) einwirkende Kräfte (F) auseinandertreibbar sind.

SOLAR MODULE FRAME COUPLING ASSEMBLIES

NºPublicación:  WO2025250417A1 04/12/2025
Solicitante: 
NEXTRACKER LLC [US]
NEXTRACKER LLC
WO_2025250417_PA

Resumen de: WO2025250417A1

A method for coupling a solar module frame to a torque tube of a solar tracker using a hooked flange solar module frame coupling apparatus includes: positioning a hook portion the of frame component relative to a frame receiving receptacle at a rail; moving the hook portion of the frame from a biased, coupling configuration to a receptacle entry' configuration via contact between the hook portion and the rail; and moving the hook portion from the receptacle entry' configuration to the biased, coupling configuration to couple the frame to the rail.

SHEET METAL SOLAR MODULE FRAMES

NºPublicación:  WO2025250418A1 04/12/2025
Solicitante: 
NEXTRACKER LLC [US]
NEXTRACKER LLC
WO_2025250418_PA

Resumen de: WO2025250418A1

A solar module frame assembly includes first and longitudinal frame portions and first and second lateral frame portions. The first and second longitudinal frame portions can include an intermediate wall, a photovoltaic receptacle at one end portion of the intermediate wall, and a lower wall potion at another, opposite end portion of the intermediate wall. The lower wall portion of each of the first and second longitudinal frame portions can include one or more connecting tabs. The vertical or skewed intermediate wall can include one or more connecting tabs that are configured to engage with corresponding aperture(s) at the adjacent first and second longitudinal frame portions.

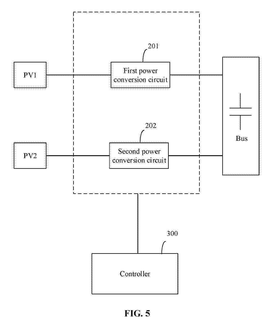
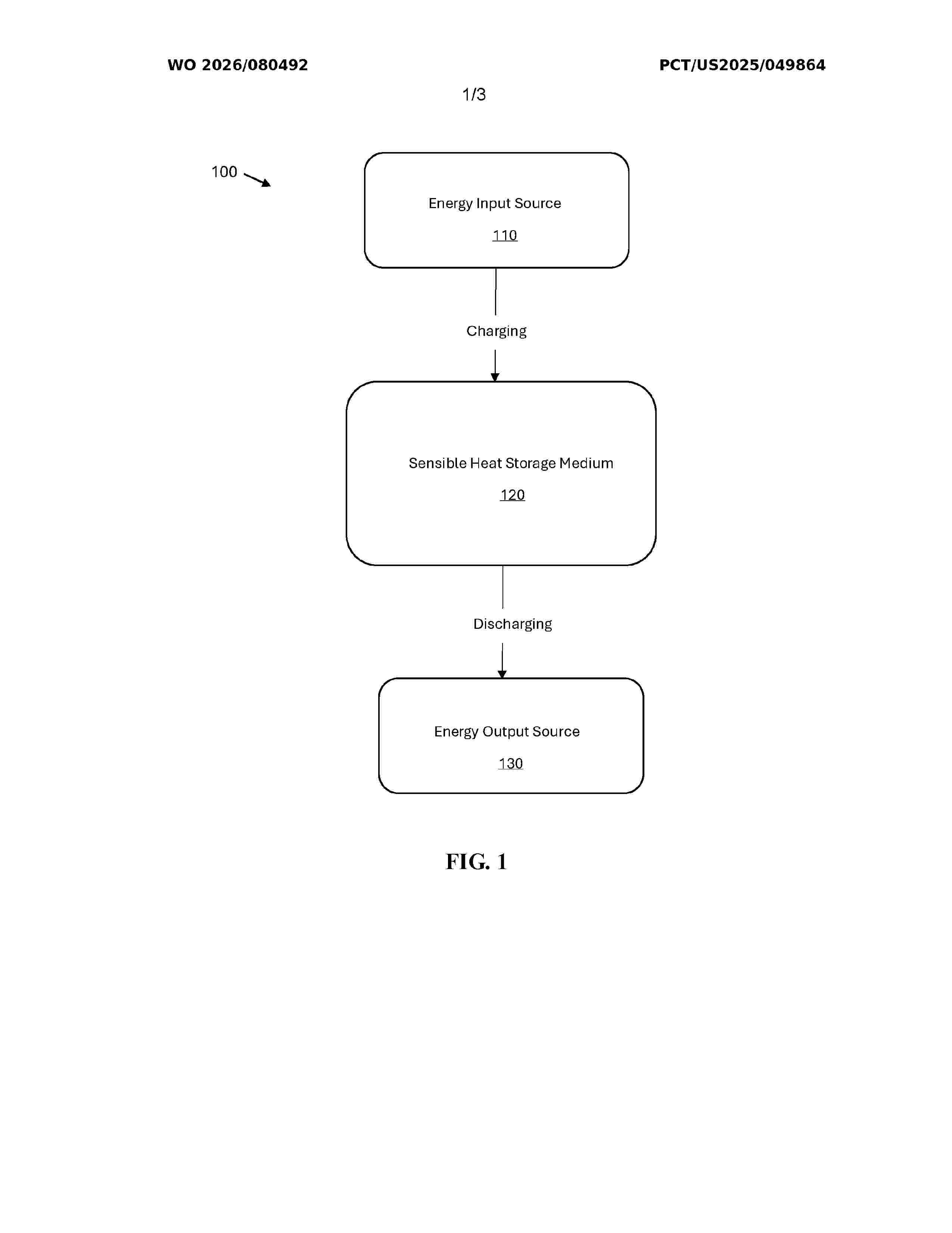
PHOTOVOLTAIC ENERGY STORAGE SYSTEM, AND ENERGY STORAGE CONTROL METHOD AND CONTROL DEVICE THEREOF

NºPublicación:  WO2025246419A1 04/12/2025
Solicitante: 
QINGDAO HAIER AIR CONDITIONER GENERAL CORP LTD [CN]
QINGDAO HAIER AIR CONDITIONING ELECTRONIC CO LTD [CN]
QINGDAO HAIER SMART TECH R & D CO LTD [CN]
HAIER SMART HOME CO LTD [CN]
\u9752\u5C9B\u6D77\u5C14\u7A7A\u8C03\u5668\u6709\u9650\u603B\u516C\u53F8,
\u9752\u5C9B\u6D77\u5C14\u7A7A\u8C03\u7535\u5B50\u6709\u9650\u516C\u53F8,
\u9752\u5C9B\u6D77\u5C14\u667A\u80FD\u6280\u672F\u7814\u53D1\u6709\u9650\u516C\u53F8,
\u6D77\u5C14\u667A\u5BB6\u80A1\u4EFD\u6709\u9650\u516C\u53F8
WO_2025246419_A1

Resumen de: WO2025246419A1

Disclosed in the present invention are a photovoltaic energy storage system, and an energy storage control method and control device thereof. The control method comprises: acquiring load prediction data and photovoltaic output power prediction data; determining a first scheduling power value of an energy storage battery; acquiring a real-time residual power level of the energy storage battery in the photovoltaic energy storage system, and comparing the real-time residual power level with a residual power level threshold; when the real-time residual power level is not lower than the residual power level threshold and the energy storage battery is in a discharging process, determining a discharging power of the energy storage battery on the basis of the first scheduling power value and the real-time residual power level of the energy storage battery; when the real-time residual power level is lower than the residual power level threshold and the energy storage battery is in a charging process, determining a charging power of the energy storage battery on the basis of the first scheduling power value and the real-time residual power level of the energy storage battery; and controlling charging and discharging of the energy storage battery on the basis of the discharging power of the energy storage battery or the charging power of the energy storage battery. By applying the present invention, efficient operation performance of the photovoltaic energy storage system can be improve

FAULT POINT POSITION DETECTION METHOD IN POWER SYSTEM, AND POWER SYSTEM

NºPublicación:  WO2025245972A1 04/12/2025
Solicitante: 
SUNGROW SHANGHAI CO LTD [CN]
\u9633\u5149\u7535\u6E90\uFF08\u4E0A\u6D77\uFF09\u6709\u9650\u516C\u53F8
WO_2025245972_PA

Resumen de: WO2025245972A1

Provided in the present application are a fault point position detection method in a power system, and a power system, which are used for accurately detecting the position of a fault point when an open-circuit fault occurs in a photovoltaic system. The method comprises: for each photovoltaic unit, sending a preset instruction to the photovoltaic unit, wherein the preset instruction is used for: returning reply information to an inverter if the photovoltaic unit receives the preset instruction, and receiving the reply information by means of the inverter and a second photovoltaic unit other than a first photovoltaic unit when the first photovoltaic unit among a plurality of photovoltaic units returns the reply information to the inverter; acquiring communication quality data; and on the basis of the communication quality data, determining, from the plurality of photovoltaic units, a unit that has a communication failure. By means of the method, the position of a fault point in a photovoltaic unit where an open-circuit fault has occurred can be accurately detected, and there is no need to check the position of the fault point manually, thereby improving the troubleshooting efficiency.

PHOTOVOLTAIC MODULE

NºPublicación:  WO2025247237A1 04/12/2025
Solicitante: 
LONGI GREEN ENERGY TECH CO LTD [CN]
\u9686\u57FA\u7EFF\u80FD\u79D1\u6280\u80A1\u4EFD\u6709\u9650\u516C\u53F8
WO_2025247237_PA

Resumen de: WO2025247237A1

The present application discloses a photovoltaic module, comprising: a plurality of cells, wherein each cell has a first side edge and a second side edge; the cell is provided with an electrode structure; the electrode structure comprises a plurality of fingers; the fingers are at least partially parallel to the first side edge; in an extension direction of the second side edge, two types of fingers having opposite polarities are alternately arranged; in an extension direction of the first side edge, each finger comprises a plurality of second notches and a plurality of connecting portions, the second notches and the connecting portions are arranged adjacent to each other, and the plurality of second notches divide the finger into a plurality of sections, wherein the second notches are of a discontinuous void structure; and a plurality of tabbing ribbons, wherein the tabbing ribbons are arranged in the extension direction of the second side edge and configured to connect adjacent cells in series, each tabbing ribbon is electrically connected to connecting portions of fingers having one polarity, and the tabbing ribbon is at least partially in contact with the surface of the cell at second notches of fingers having the other polarity. The present application can reduce the amount of insulating adhesive used, lower the insulating adhesive costs, and shorten processing time.

LIGHT-EMITTING MATERIAL, DISPLAY PANEL, AND DISPLAY APPARATUS

NºPublicación:  WO2025247351A1 04/12/2025
Solicitante: 
BOE TECH GROUP CO LTD [CN]
CHENGDU BOE OPTOELECTRONICS TECH CO LTD [CN]
\u4EAC\u4E1C\u65B9\u79D1\u6280\u96C6\u56E2\u80A1\u4EFD\u6709\u9650\u516C\u53F8,
\u6210\u90FD\u4EAC\u4E1C\u65B9\u5149\u7535\u79D1\u6280\u6709\u9650\u516C\u53F8
WO_2025247351_PA

Resumen de: WO2025247351A1

The present disclosure relates to the field of organic electroluminescent materials, and relates to a compound and a use thereof as a light-emitting material, an organic electroluminescent device, a display panel, and a display apparatus. The compound provided by the present disclosure is a compound having a structural formula of formula (I), wherein the meaning of each group is the same as that defined in the description.

CLAMP FOR PHOTOVOLTAIC MODULE AND PHOTOVOLTAIC MODULE HAVING SAME

NºPublicación:  WO2025247426A1 04/12/2025
Solicitante: 
TRINA SOLAR CO LTD [CN]
\u5929\u5408\u5149\u80FD\u80A1\u4EFD\u6709\u9650\u516C\u53F8
WO_2025247426_PA

Resumen de: WO2025247426A1

The present application relates to a clamp for a photovoltaic module and a photovoltaic module having same. The clamp comprises: a fixing plate, wherein the fixing plate is provided with a mounting hole for fixing the fixing plate on a preset mounting member; a connecting plate, wherein the connecting plate has a first end and a second end opposite to each other, the first end is connected to the fixing plate, and the connecting plate is provided with a stress relief hole; and a pressing plate, wherein the pressing plate is connected to the second end, and is configured to abut against a photovoltaic module when the fixing plate is fixed on the preset mounting member, so as to constrain the photovoltaic module between the pressing plate and the preset mounting member. The clamp in the present application can effectively release stress for fixing the photovoltaic module, thereby improving safety and the service life of the photovoltaic module.

COMPOUND, ORGANIC HOLE TRANSPORT LAYER MATERIAL, AND PEROVSKITE SOLAR CELL

NºPublicación:  WO2025246991A1 04/12/2025
Solicitante: 
CHANGCHUN INST OF APPLIED CHEMISTRY CHINESE ACADEMY OF SCIENCE [CN]
\u4E2D\u56FD\u79D1\u5B66\u9662\u957F\u6625\u5E94\u7528\u5316\u5B66\u7814\u7A76\u6240
WO_2025246991_PA

Resumen de: WO2025246991A1

Disclosed are a compound, an organic hole transport layer material, and a perovskite solar cell, relating to the technical field of perovskite solar cells. The compound has a structure represented by formula I, uses a carboxyl group, a sulfonic acid group, and a phosphoric acid group as anchor groups, and is connected to a carbon position at an active reaction site in an N-containing fused ring (the number of rings is greater than or equal to 3) by means of a double bond, thereby maintaining the long-axis rigidity of a molecule, so that the compound can be more effectively conjugated, and a functional group is introduced on the short axis of the molecule, thereby improving the overall rigidity and functionality of the compound. The use of the compound as an organic hole transport material can improve the extraction and transport of holes. The introduction of the functional group on the short axis of the molecule further improves perovskite thin film crystallization and passivates interface defects. The design of the structure of the compound in the organic hole transport material achieves more excellent HOMO energy level and valence band energy level matching between the organic hole transport material and an active layer material, thereby further improving the device efficiency and stability of perovskite cells.

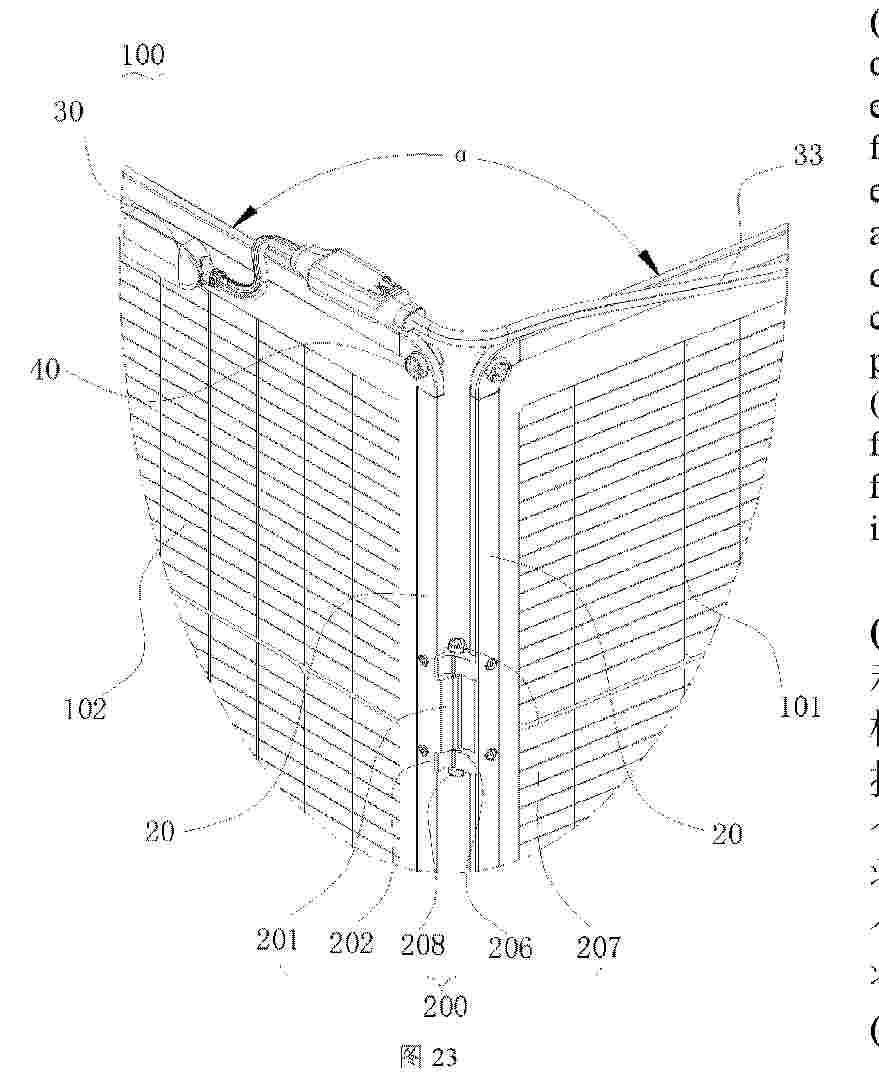
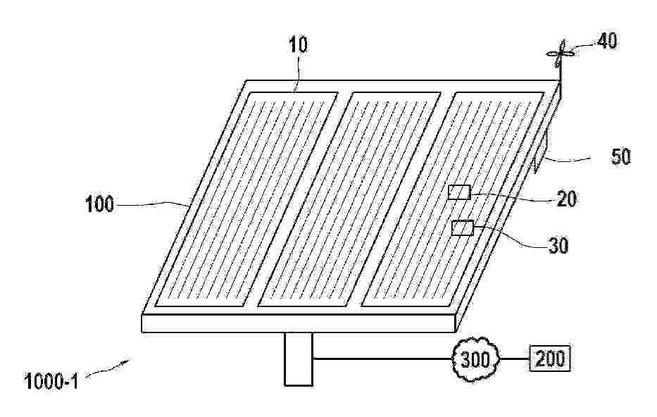
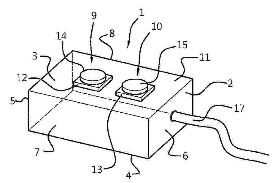
PHOTOVOLTAIC SUNSHADE

NºPublicación:  WO2025246396A1 04/12/2025
Solicitante: 
SHENZHEN HELLO TECH ENERGY CO LTD [CN]
\u6DF1\u5733\u5E02\u534E\u5B9D\u65B0\u80FD\u6E90\u80A1\u4EFD\u6709\u9650\u516C\u53F8
WO_2025246396_PA

Resumen de: WO2025246396A1

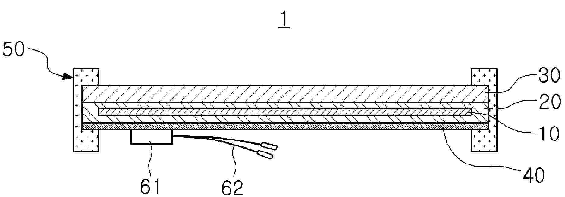
A photovoltaic sunshade. The photovoltaic sunshade (100) comprises a support (10), a photovoltaic panel (20), an electrical device (30), and a first wire (40). The photovoltaic panel (20) is arranged on the support (10). The electrical device (30) is arranged on the support (10) and is spaced apart from the photovoltaic panel (20). The first wire (40) is connected to the photovoltaic panel (20) and the electrical device (30), and the first wire (40) is at least partially arranged in the support (10). The first wire (40) is at least partially arranged in the support (10), so that the part of the wire directly exposed to the external environment can be reduced, thereby reducing the damage to the first wire (40) caused by external environmental factors, prolonging the service life of the first wire (40), and improving the durability and reliability of the photovoltaic sunshade (100). In addition, since the first wire (40) is at least partially arranged in the support (10), the exposed wiring is reduced, so that the photovoltaic sunshade (100) has a neater and more attractive appearance, and utilizes the space of the support (10) more effectively, enabling the structure of the entire photovoltaic sunshade (100) to be more compact.

INTELLIGENT REGULATION AND CONTROL SYSTEM AND METHOD FOR DISTRIBUTED PHOTOVOLTAIC POWER GENERATION CLUSTER

NºPublicación:  WO2025246246A1 04/12/2025
Solicitante: 
GUIZHOU POWER GRID CO LTD [CN]
\u8D35\u5DDE\u7535\u7F51\u6709\u9650\u8D23\u4EFB\u516C\u53F8
WO_2025246246_PA

Resumen de: WO2025246246A1

Disclosed is an intelligent regulation and control system for a distributed photovoltaic power generation cluster, relating to the technical field of distributed energy, and configured to solve the problem of low accuracy in power generation regulation and control of current photovoltaic power generation clusters. The system comprises: a data acquisition module, configured to separately acquire demand basic data, supply basic data, and fault basic data to obtain regulation and control basic data; a data analysis module, configured to analyze the regulation and control basic data to obtain regulation and control analysis data; a data processing module, configured to process the regulation and control analysis data to obtain a supply-demand balance reference value; and, an intelligent regulation and control module, configured to perform intelligent regulation and control of the photovoltaic power generation cluster on the basis of the supply-demand balance reference value. In the present invention, supply and demand for the photovoltaic power generation cluster are determined on the basis of the area value of faulty solar panels to accurately adjust the generated power of the photovoltaic power generation cluster, thereby improving energy utilization efficiency.

PHOTOVOLTAIC MOUNTING STRUCTURE AND PHOTOVOLTAIC POWER STATION

NºPublicación:  WO2025246465A1 04/12/2025
Solicitante: 
JIANG DONG FITTINGS EQUIPMENT CO LTD [CN]
JIANGSU ZHONGTIAN TECH CO LTD [CN]
\u6C5F\u4E1C\u91D1\u5177\u8BBE\u5907\u6709\u9650\u516C\u53F8,
\u6C5F\u82CF\u4E2D\u5929\u79D1\u6280\u80A1\u4EFD\u6709\u9650\u516C\u53F8
WO_2025246465_PA

Resumen de: WO2025246465A1

The present application provides a photovoltaic mounting structure and a photovoltaic power station. The photovoltaic mounting structure comprises: an embedded structure, comprising a mounting cavity and a stop structure; and a mounting assembly, the mounting assembly comprising a driving structure and support arms, wherein when the support arms extend, the support arms can match the stop structure, and when the support arms retract, the mounting assembly can be separated from the embedded structure. The mounting assembly further comprises an outer cylinder and an adjustment structure, the support arms are connected between the adjustment structure and the driving structure, and the driving structure can move toward or away from the adjustment structure relative to the outer cylinder. The driving structure comprises a first cylinder and a second cylinder, a first end of the first cylinder is threadedly engaged with the inner wall of the outer cylinder, a second end of the first cylinder is rotatably engaged with a first end of the second cylinder, and the second end of the first cylinder and the first end of the second cylinder form axial limiting. The photovoltaic mounting structure in the technical solution of the present application can solve the problem of mounting and dismounting inconvenience caused by mounting using existing mounting structures.

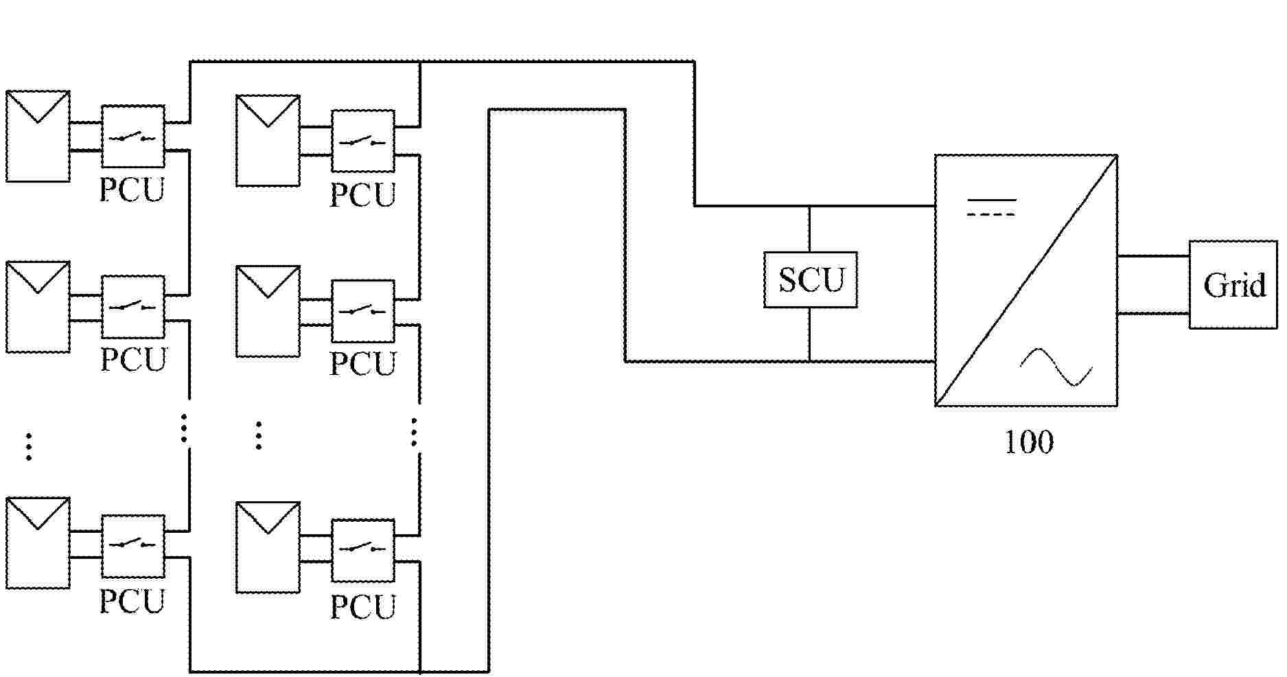
POWER CONVERSION APPARATUS, UNINTERRUPTIBLE POWER SUPPLY, AND PHOTOVOLTAIC INVERTER

NºPublicación:  WO2025246371A1 04/12/2025
Solicitante: 
HUAWEI DIGITAL POWER TECH CO LTD [CN]
\u534E\u4E3A\u6570\u5B57\u80FD\u6E90\u6280\u672F\u6709\u9650\u516C\u53F8
WO_2025246371_PA

Resumen de: WO2025246371A1

The embodiments of the present application relate to the technical field of power electronics. Disclosed are a power conversion apparatus, an uninterruptible power supply and a photovoltaic inverter, which solve the problems of low efficiency and high device costs of existing inverters. The specific solution comprises: providing a power conversion apparatus, the power conversion apparatus comprising at least one inverter circuit, which inverter circuit comprises a switch tube bridge arm, a first switch tube and an inductor, wherein the switch tube bridge arm comprises at least three switch tubes connected in series between a positive direct-current bus and a negative direct-current bus, the first switch tube is connected between a first node of the switch tube bridge arm and a connection point of positive and negative bus capacitors, the inductor is connected to a second node of the switch tube bridge arm, and the first node and the second node are located at different positions in the switch tube bridge arm.

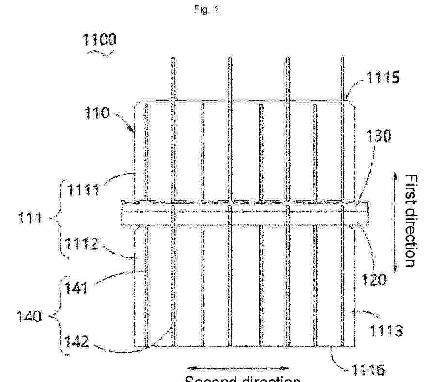
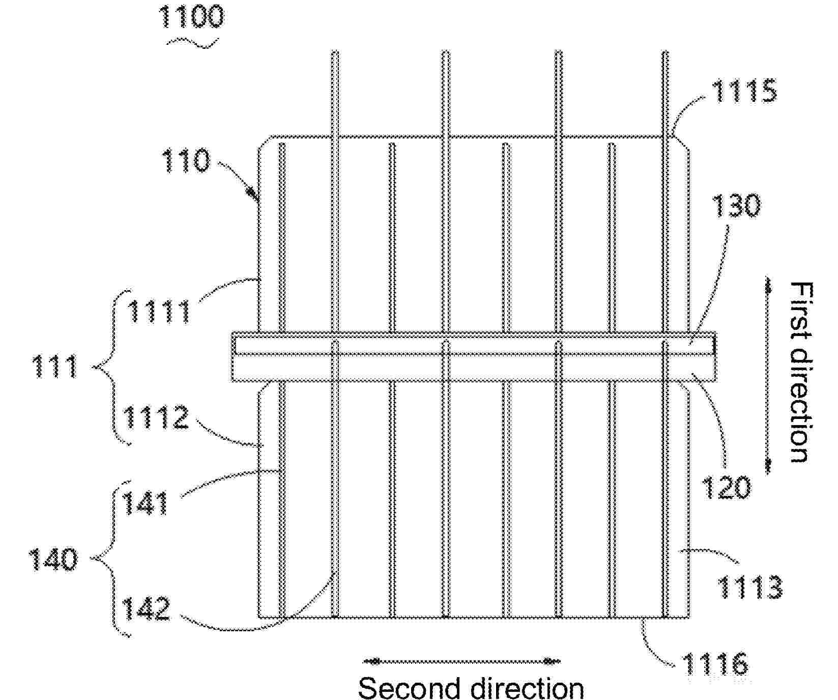
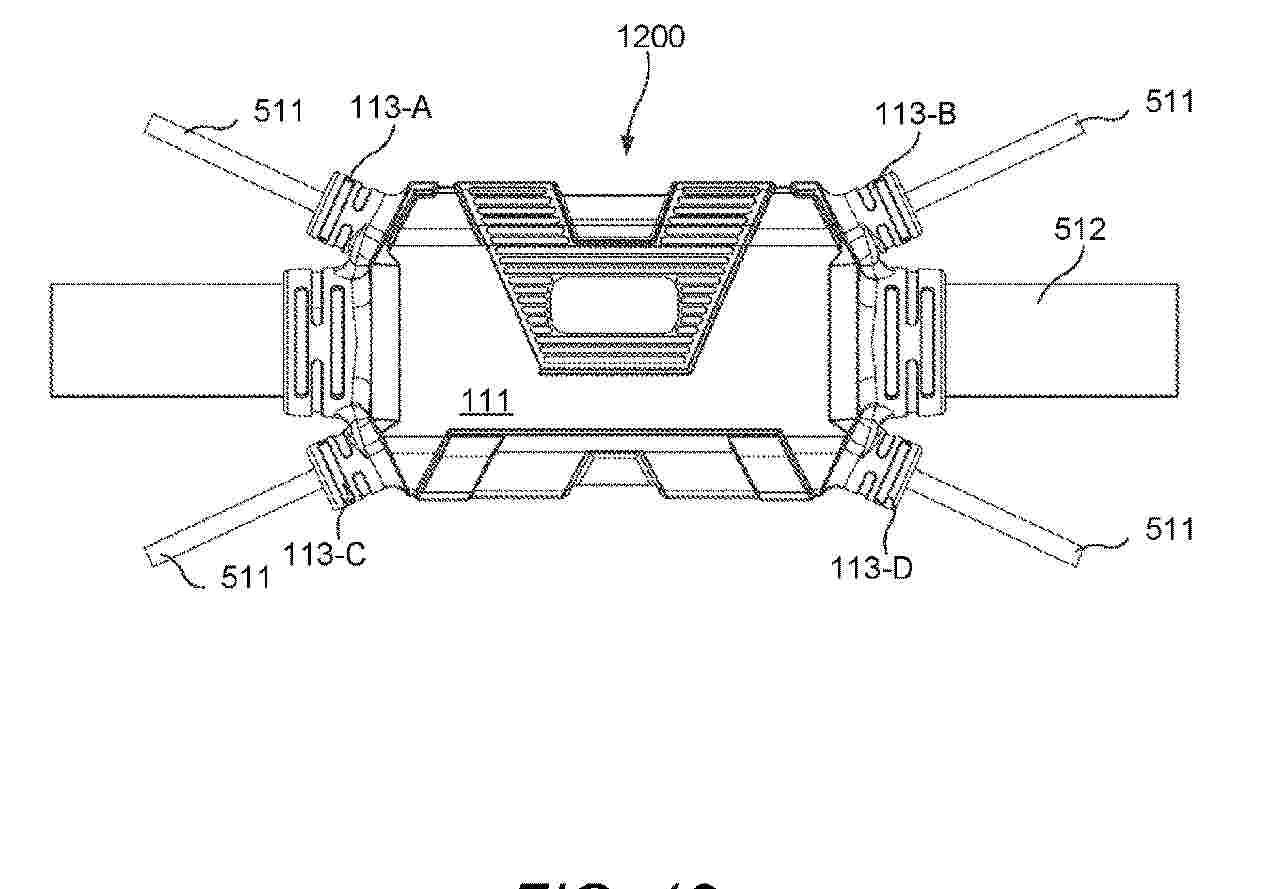
PHOTOVOLTAIC POWER STATION AND FLOATING PHOTOVOLTAIC POWER GENERATION SYSTEM THEREOF

NºPublicación:  WO2025246382A1 04/12/2025
Solicitante: 
DAS SOLAR CO LTD [CN]
\u4E00\u9053\u65B0\u80FD\u6E90\u79D1\u6280\u80A1\u4EFD\u6709\u9650\u516C\u53F8
WO_2025246382_PA

Resumen de: WO2025246382A1

A photovoltaic power station and a floating photovoltaic power generation system (1000) thereof, relating to the field of floating photovoltaic power generation. The floating photovoltaic power generation system comprises: a support unit (1100), a connection unit (1200), and a plurality of float units (1300) arranged in a preset manner. A reinforcement member (1800) is arranged among the float units. The support unit is provided on a bearing surface of the float units and is used to mount a photovoltaic assembly (1700), and at least part of the support unit is integrally formed with the float units. The connection unit comprises a first connection member (1210). The first connection member is disposed on the float units, and the first connection member connects two adjacent float units, so that the two adjacent float units are elastically connected along a first preset direction and a second preset direction, the first preset direction being perpendicular to the second preset direction. The elastic connection between two adjacent float units can cushion the impact of the water surface on the float units and enhance the stability of the connection between the two adjacent float units, thereby facilitating continuous and stable operation of the floating photovoltaic power generation system.

SOLAR CELL, SOLAR CELL MODULE AND ELECTRICAL DEVICE

NºPublicación:  US2025374742A1 04/12/2025
Solicitante: 
CONTEMPORARY AMPEREX TECH CO LIMITED [CN]
CONTEMPORARY AMPEREX TECHNOLOGY CO., LIMITED
KR_20250110912_PA

Resumen de: US2025374742A1

A solar cell, a solar cell module and an electrical device are disclosed. The solar cell includes a light absorption layer containing a plurality of perovskite compound grains. In at least one cross section of the light absorption layer perpendicular to a layer thickness direction, a number-based cumulative distribution rate of perovskite compound grains with a long diameter D of 1 μm to 6 μm is ≥90%. The light absorption layer of the present application contains perovskite compound grains with a long grain diameter of 1 μm to 6 μm in at least one cross section perpendicular to the layer thickness direction, with the number-based cumulative distribution rate of the perovskite compound grains being ≥90%.

TWO-DIMENSIONAL ORGANIC/INORGANIC HETEROJUNCTION PHOTODETECTOR AND PREPARATION METHOD THEREOF

NºPublicación:  US2025374823A1 04/12/2025
Solicitante: 
NANJING UNIV OF POSTS AND TELECOMMUNICATIONS [CN]
NANJING UNIVERSITY OF POSTS AND TELECOMMUNICATIONS
WO_2025185510_PA

Resumen de: US2025374823A1

A two-dimensional organic/inorganic heterojunction photodetector and a preparation method thereof belongs to the technical field of photoelectric devices. A few layers of two-dimensional materials are transferred to a substrate as a base material by a mechanical peeling method. A few layers of two-dimensional alloy materials are transferred to one side of the two-dimensional materials on the base material by polydimethylsiloxane (PDMS). Then, the base material is put into a tube furnace. A single organic molecular layer is epitaxially grown on the two-dimensional alloy material by controlling the heating temperature and time to form a heterojunction. Finally, a gold thin film is transferred to the organic molecular layer, so that a photodetector is manufactured. The heterojunctions formed by Van der Waals have fewer defects, which can enhance light absorption without causing carrier capture, enabling photodetectors possesses excellent detection capability, large light absorption, and enhanced photoconductivity.

AMBIPOLAR MOLECULE, PREPARATION METHOD THEREOF, AND APPLICATION THEREOF

NºPublicación:  US2025374822A1 04/12/2025
Solicitante: 
CONTEMPORARY AMPEREX FUTURE ENERGY RES INSTITUTE SHANGHAI LIMITED [CN]
CONTEMPORARY AMPEREX TECH CO LIMITED [CN]
CONTEMPORARY AMPEREX FUTURE ENERGY RESEARCH INSTITUTE (SHANGHAI)LIMITED,
CONTEMPORARY AMPEREX TECHNOLOGY CO., LIMITED
KR_20250130634_PA

Resumen de: US2025374822A1

An ambipolar molecule, a preparation method thereof, and an application thereof are disclosed. A chemical structure general formula of the ambipolar molecule provided by this application is represented by formula I:where R includes a Lewis base group, X includes at least one of a hydrogen atom and a halogen atom, and n is an integer greater than or equal to 0. The ambipolar molecule of this application possesses both a Lewis acid group and a Lewis base group, enabling such an ambipolar molecule to passivate two types of defects at perovskite grain boundaries, namely undercoordinated anions and undercoordinated cations. Thus, when used in perovskite materials, such an ambipolar molecule can significantly improve the conversion efficiency and stability of perovskite.

PEROVSKITE BATTERY AND ELECTRIC DEVICE

NºPublicación:  US2025374743A1 04/12/2025
Solicitante: 
CONTEMPORARY AMPEREX TECH CO LIMITED [CN]
CONTEMPORARY AMPEREX TECHNOLOGY CO., LIMITED
KR_20250115436_PA

Resumen de: US2025374743A1

A perovskite battery and an electric device are disclosed. The perovskite battery includes a substrate; a perovskite layer, where the perovskite layer is disposed on one side of the substrate; a passivation layer, where the passivation layer is disposed on at least one side of the perovskite layer, the passivation layer includes a passivation material, the passivation material includes anions and cations, a volume of the anions is V1, a volume of the cations is V2, and V1>V3>V2, where V3 is a volume of a largest defect in the perovskite layer; and an electrode layer, where the electrode layer is disposed on a side of the passivation layer facing away from the perovskite layer.

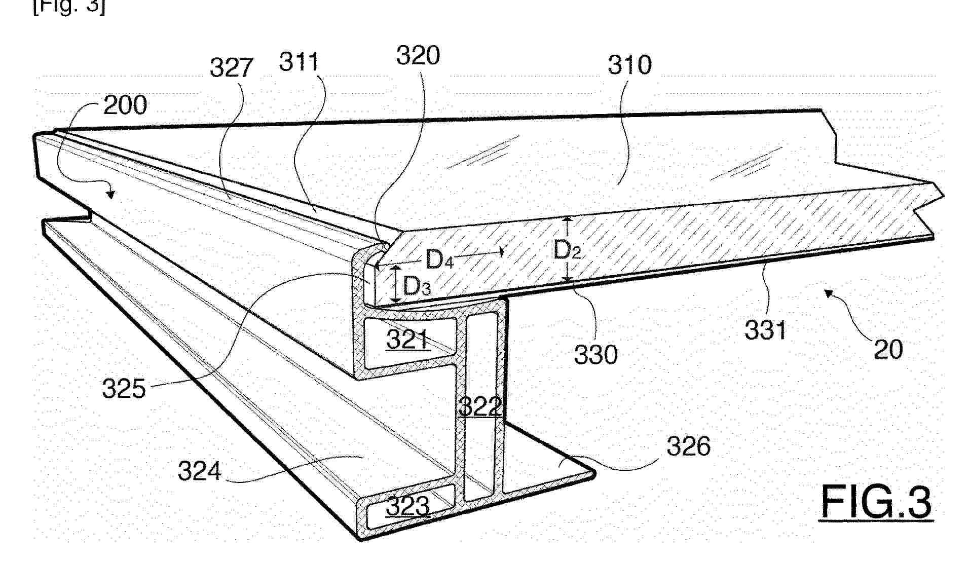
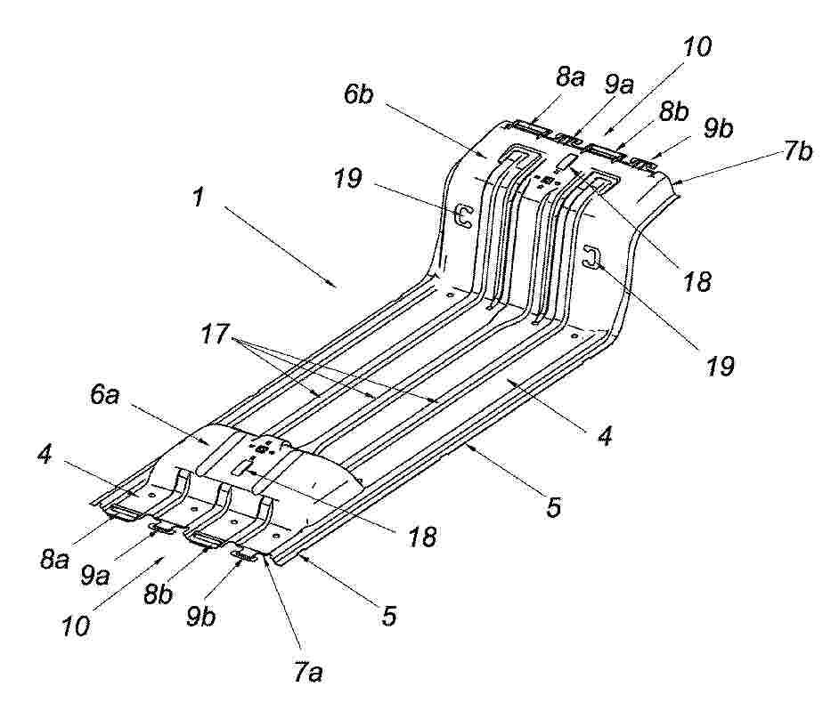
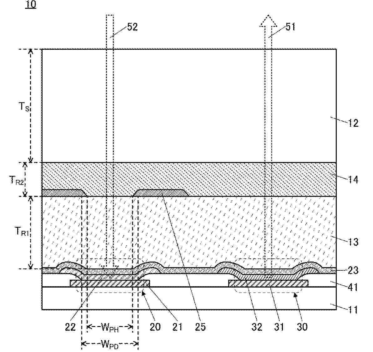
HIGH-STRENGTH STEEL COLD-FORMED PROFILE FOR PHOTOVOLTAIC MODULE FRAME AND PHOTOVOLTAIC MODULE FRAME

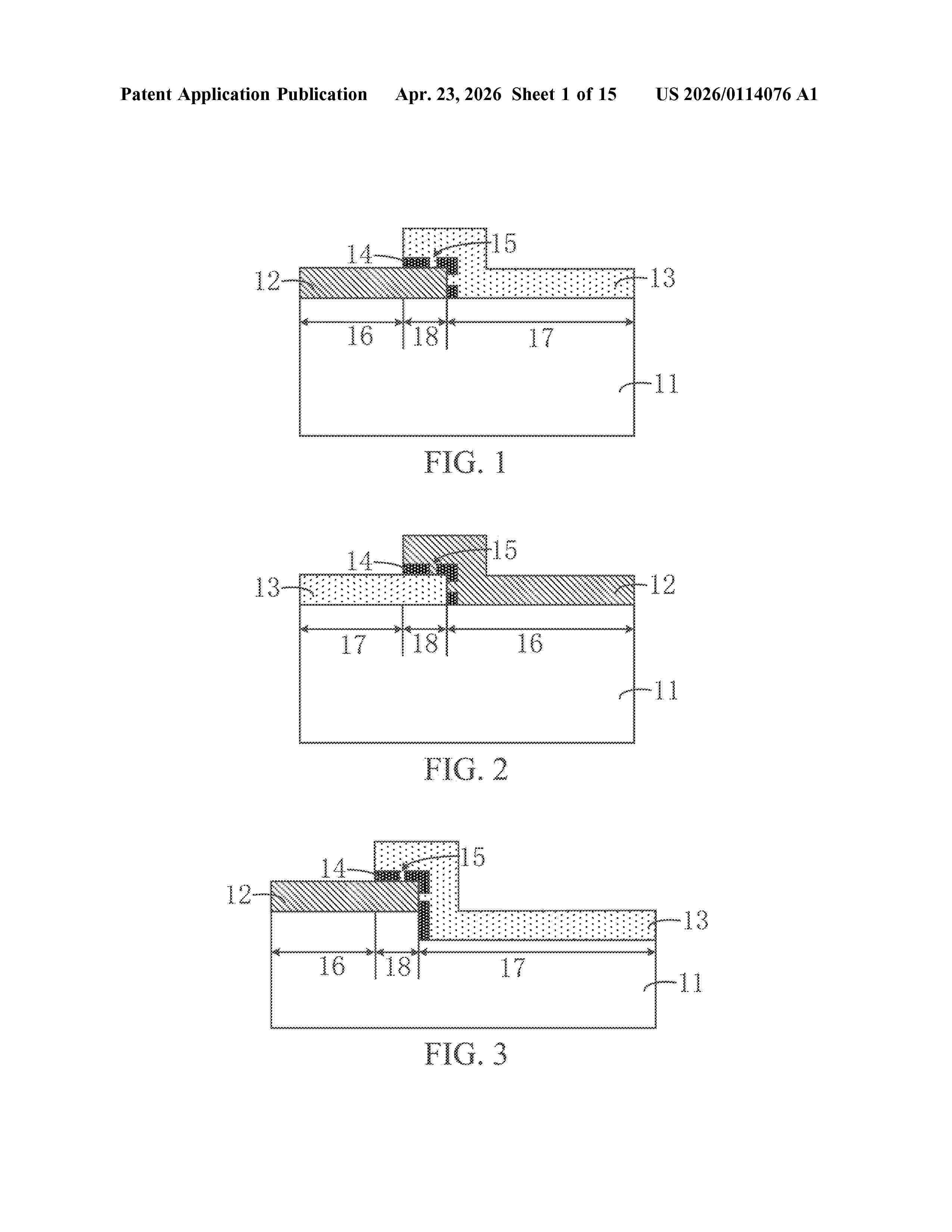
NºPublicación:  US2025373190A1 04/12/2025
Solicitante: 
JIANGSU HUISHAN NEW ENERGY GROUP CO LTD [CN]
JIANGSU HUISHAN NEW ENERGY GROUP CO., LTD
WO_2023240865_PA

Resumen de: US2025373190A1

The provided is a high-strength steel cold-formed profile for a photovoltaic module frame and a photovoltaic module frame. The photovoltaic module frame includes: a large U-shaped portion; a small U-shaped portion embedded in the large U-shaped portion; an L-shaped portion connected to a lower side of the small U-shaped portion, the large U-shaped portion, the small U-shaped portion, and the L-shaped portion forming a cavity; wherein a small upper vertical wall and a small horizontal wall of the small U-shaped portion are respectively abutted against a large upper vertical wall and an upper part of a large horizontal wall of the large U-shaped portion; and the small horizontal wall of the small U-shaped portion and the large horizontal wall of the large U-shaped portion are fastened and connected at their overlapping part by a predetermined interlayer welding structure.

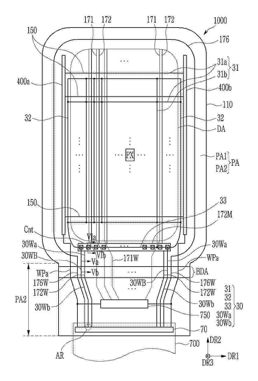
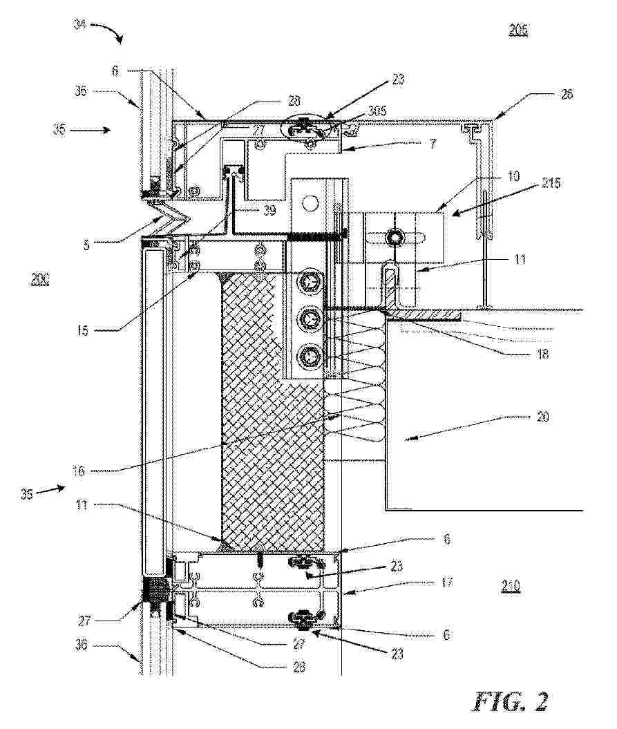
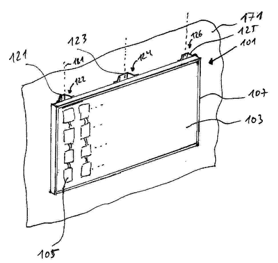
WINDOW FOR A BUILDING OR STRUCTURE

NºPublicación:  US2025373193A1 04/12/2025
Solicitante: 
CLEARVUE TECH LTD [AU]
ClearVue Technologies Ltd
JP_2025520731_PA

Resumen de: US2025373193A1

The disclosure provides a window for a building or structure. The window comprises a first panel being at least largely transmissive for visible light and having opposite first and second major surfaces. The first major surface is a light receiving surface. The first panel also includes a luminescent material and/or a light scattering material. The window also includes a plurality of solar cells facing the second major surface of the first panel and being positioned along and in proximity of an edge of the first panel, and a frame supporting the first panel directly or indirectly. The first major surface of the first panel is directly exposed to a space that is exterior to the window.

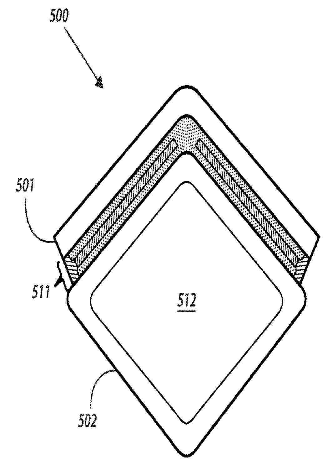
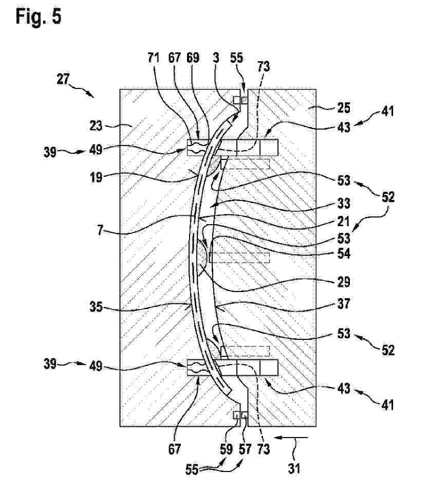
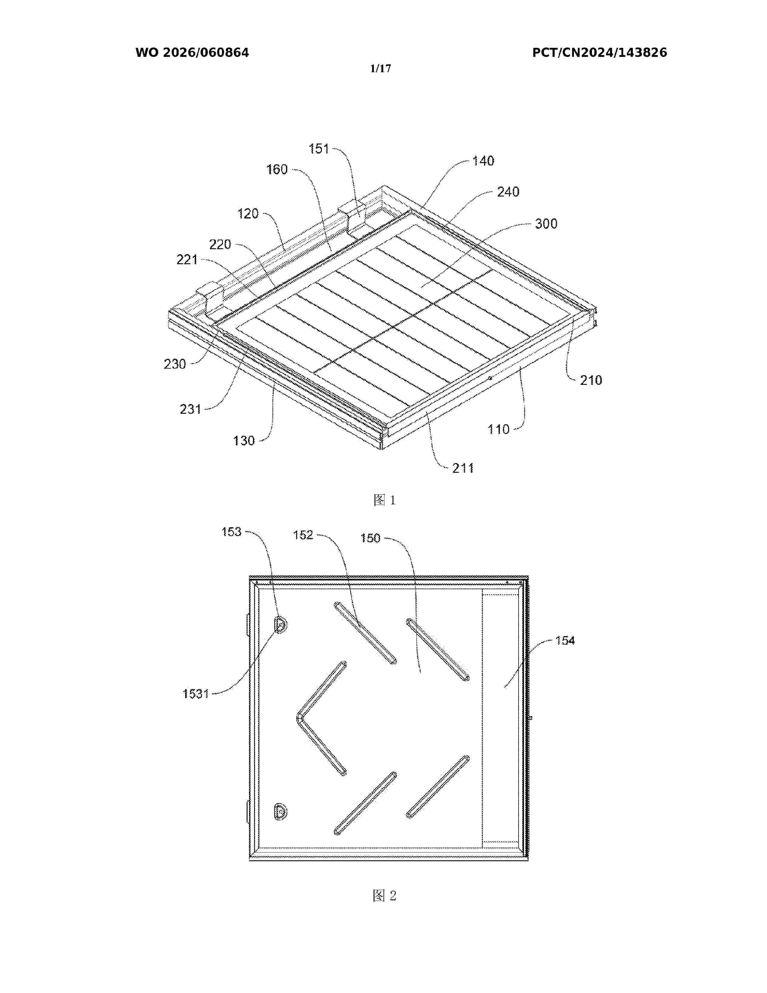
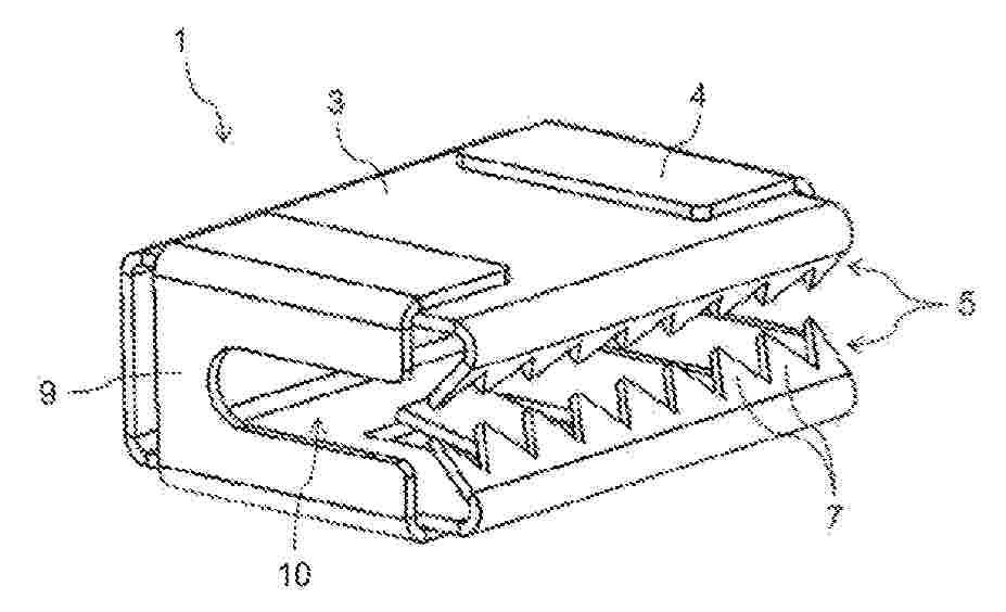
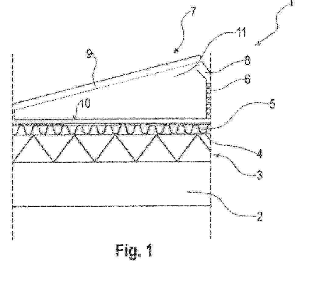
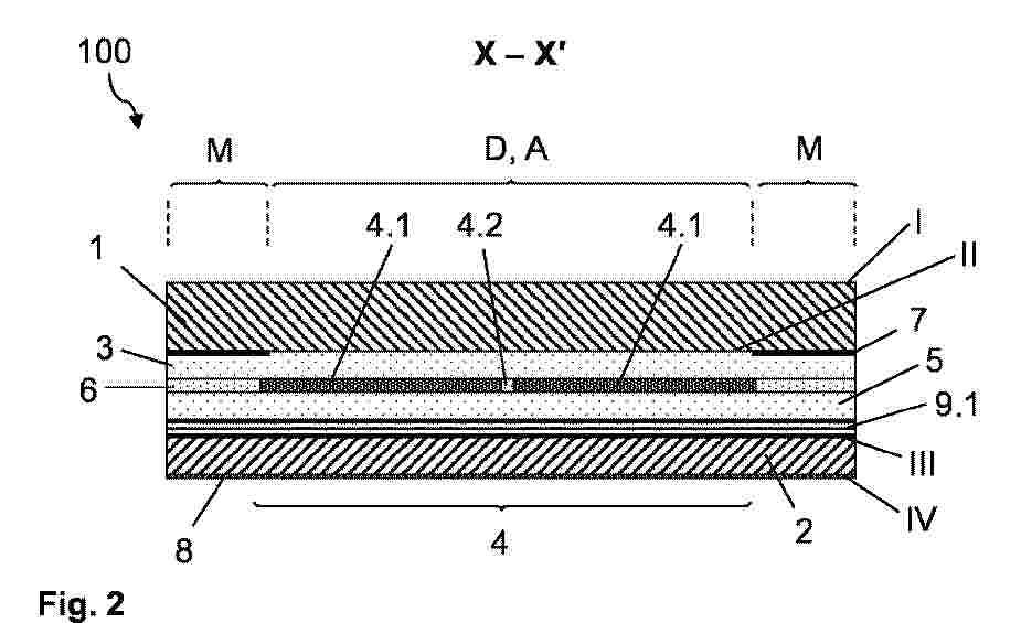
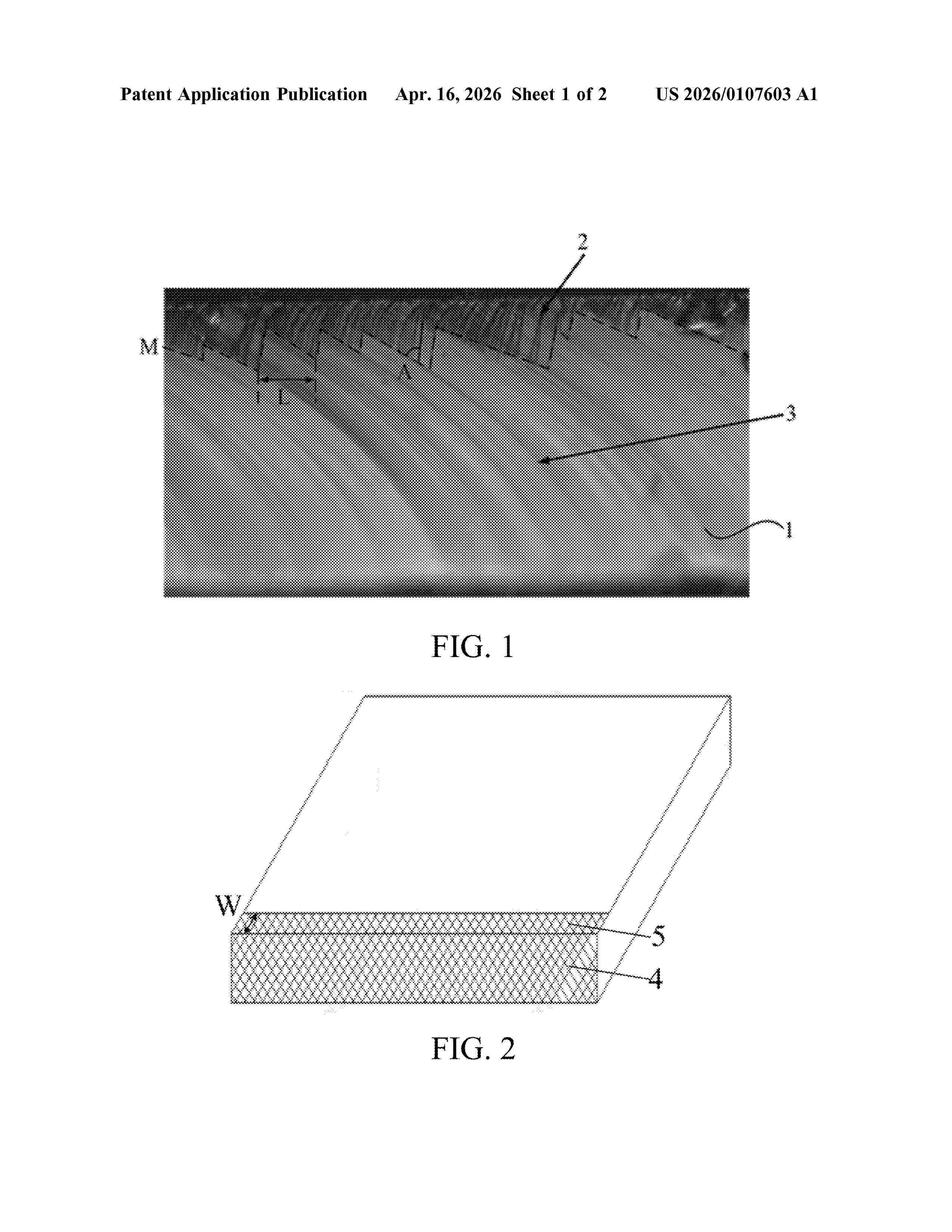
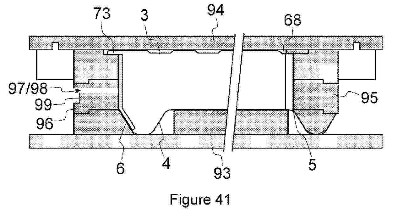
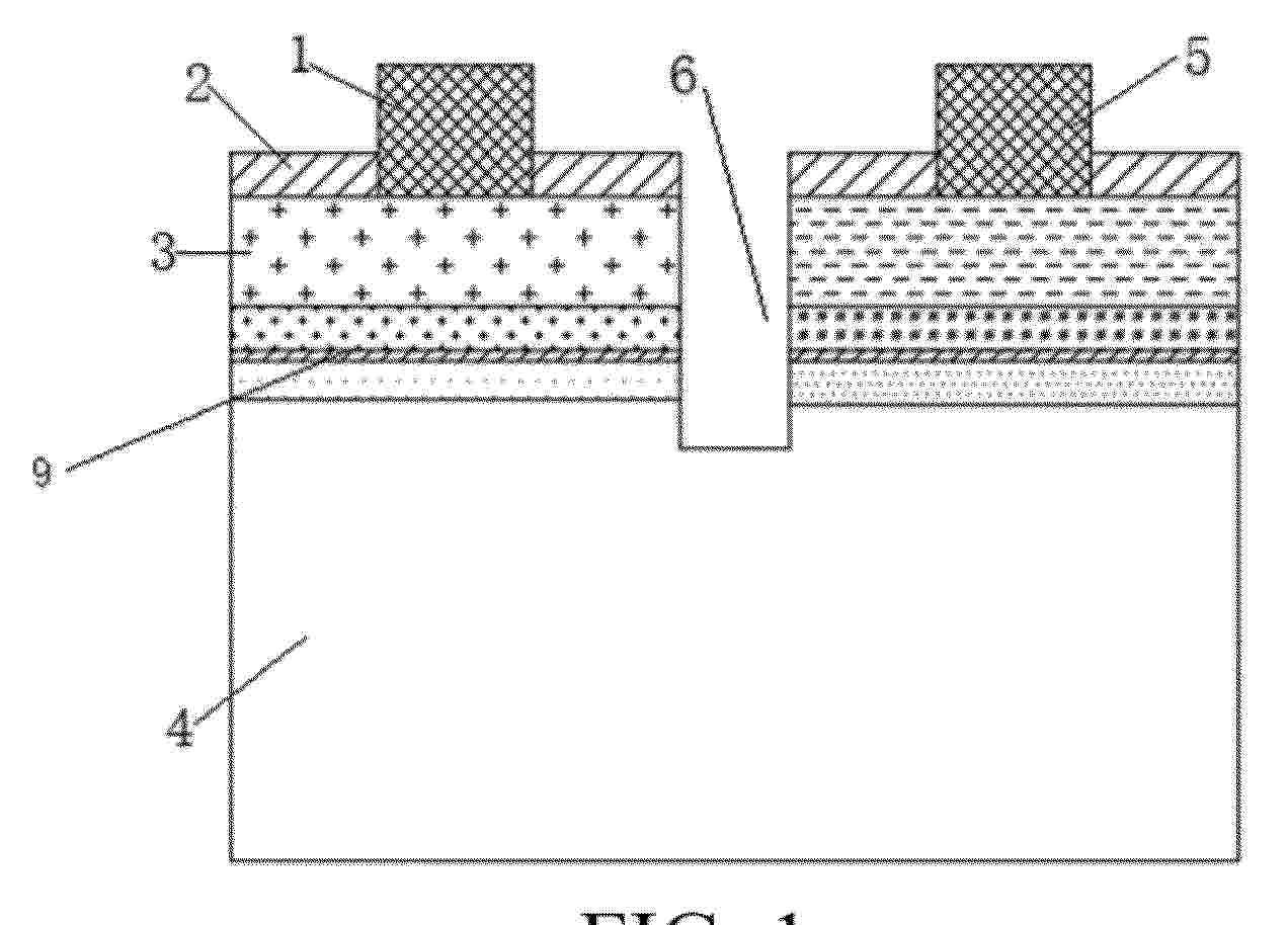
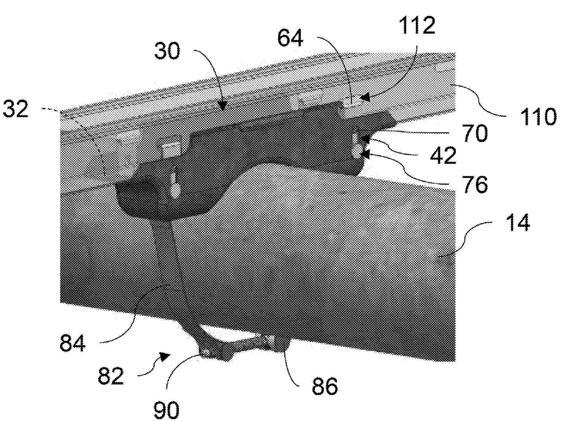
SELF-CLEANING PHOTOVOLTAIC ROOF TILE

Nº publicación: US2025373198A1 04/12/2025

Solicitante:

ML SYSTEM SPOLKA AKCYJNA [PL]
ML SYSTEM Spolka Akcyjna

PL_441605_A1

Resumen de: US2025373198A1

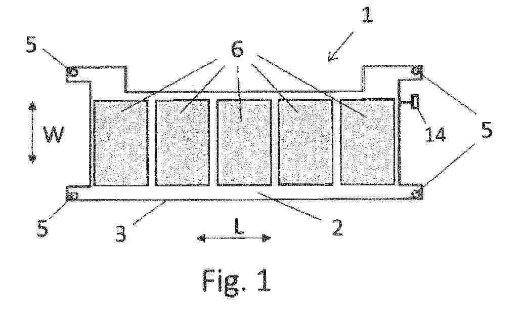
A self-cleaning photovoltaic roof tile including an upper transparent glass plate (4), the upper surface of which is coated with a coloured ceramic coating (5) printed thereon, with a thickness of <45 μm, which is coated with a self-cleaning hydrophobic layer (6) with a thickness of 300 nm and 800 nm, and a lower transparent glass plate (7) with an identical profile, the lower surface of which is coated with the coloured ceramic coating (8), wherein between the lower surface of the upper glass plate (4) and the upper surface of the lower glass plate (7) there is at least one monocrystalline cell (9) located above their lower sides (2), and additionally both glass plates (4, 7) together with a monocrystalline cell (9) placed between them, with electric wires (11), are laminated together by a laminating foil (10).

traducir