Ministerio de Industria, Turismo y Comercio LogoMinisterior
 

Pilas de combustible

Resultados 630 resultados
LastUpdate Última actualización 03/10/2025 [06:49:00]
pdfxls
Solicitudes publicadas en los últimos 15 días / Applications published in the last 15 days
Resultados 1 a 630  

BIPOLAR PLATE STRUCTURE, METHOD OF MANUFACTURING SAME, AND FLOW BATTERY

NºPublicación:  AU2024374500A1 02/10/2025
Solicitante: 
VRB ENERGY INC
VRB ENERGY INC
AU_2024374500_A1

Resumen de: AU2024374500A1

The present application provides a bipolar plate structure and a manufacturing method therefor, and a flow battery. The bipolar plate structure comprises a bipolar plate body, wherein each of two side surfaces of the bipolar plate body comprises a coverage area that is covered by an electrode and a circumferential edge area that is not covered by the electrode, the circumferential edge area is covered by a shell, the shell is made of modified polypropylene, and the modified polypropylene is formed by blending and modifying polypropylene-grafted maleic anhydride, maleic anhydride grafted with an ethylene-octylene copolymer, and polypropylene. Since the edge area of the body of the bipolar plate structure of the present application is covered by the shell having enhanced mechanical properties, ageing resistance, oxidation resistance and other performance, the leakage problem is avoided, and the overall performance and system stability of a flow battery are improved.

Katalysator zur selektiven Oxidation von Kohlenstoffmonoxid in Anwesenheit von Wasserstoff

NºPublicación:  DE102024108549A1 02/10/2025
Solicitante: 
FREUDENBERG CARL KG [DE]
Carl Freudenberg KG

Resumen de: DE102024108549A1

Die vorliegende Erfindung betrifft einen Katalysator, der Folgendes umfasst:i) einen Katalysatorträger, der aus einem Material besteht, der ausgewählt ist aus der Gruppe umfassend Zeolithe, Ceroxid, CeO2, Magnesiumoxid, MgO, Zirkondioxid, ZrO2, Siliciumdioxid, SiO2, Titandioxid, TiO2, und Aluminiumoxid, Al2O3, Mischungen und Mischoxide davon,ii) Mangan-promotiertes Ruthenium auf dem Katalysatorträger geträgert, wobei Mangan in einem Bereich von 0.01 Gew.-% bis 40 Gew.-%, basierend auf das Gewicht des Katalysators, und Ruthenium in einem Bereich von 0.01 Gew.-% bis 20 Gew.-%, basierend auf das Gewicht des Katalysators, vorliegen. Ein solcher Katalysator weist eine ausgezeichnete Selektivität für die Oxidation von Kohlenstoffmonoxid in Gegenwart von Wasserstoff in einem breiten Temperaturbereich auf. Daher kann dieser Katalysator in ein Verfahren zum Aufreinigen von Wasserstoff eingesetzt werden, der Verunreinigungen durch Kohlenstoffmonoxid enthält.

ELECTROLYSER CELL UNITS WITH FLAT SEPARATOR, AND A METHOD FOR MANUFACTURING AN ELECTROLYSER CELL UNIT

NºPublicación:  AU2024250115A1 02/10/2025
Solicitante: 
CERES INTELLECTUAL PROPERTY COMPANY LTD
CERES INTELLECTUAL PROPERTY COMPANY LIMITED
AU_2024250115_PA

Resumen de: AU2024250115A1

The present application relates to an electrolyser cell unit having a cell layer (1314) comprising an electrochemically active cell area (1350), the cell layer (1314) having a first side (1315a) and a second side (1315b). The cell unit defines a first fluid flow region (1360) for delivery of fuel to the first side (1315a) of the cell layer (1314) and a second fluid flow region (1365) for exhaust of a fluid from said second side (1315b) of the cell layer (1314). The cross-sectional area of the second fluid flow region (1365) is smaller than the cross-sectional area of the first fluid flow region (1360).

COMBINED HYDROGEN SUPPLY AND FUEL CELL PROCESSES FOR INCREASED EFFICIENCY OF ELECTRICITY GENERATION

NºPublicación:  AU2024274080A1 02/10/2025
Solicitante: 
HALLIBURTON ENERGY SERVICES INC
HALLIBURTON ENERGY SERVICES, INC
AU_2024274080_PA

Resumen de: AU2024274080A1

Provided are methods and systems for combining hydrogen supply and fuel cell processes for increased efficiency of electricity generation. The method may include decomposing methane to produce at least hydrogen, introducing at least a portion of the hydrogen to a fuel cell to generate at least electricity and heat, and capturing at least a portion of the heat from the fuel cell to reduce an electricity requirement for the methane decomposition. The system may include a methane preheater, a reaction system, a hydrogen storage system, a hydrogen fuel cell, and a heat recovery unit. The reaction system may comprise one or more reaction chambers containing a liquid base fluid, carrier droplets and a catalyst, wherein the reaction system is configured to decompose methane. The heat recovery unit may be configured to supply waste heat from the hydrogen fuel cell to the methane preheater.

FUEL CELL INSTALLATION COMPRISING A SOLID OXIDE FUEL CELL SYSTEM AND METHOD OF OPERATING THE SAME

NºPublicación:  AU2024234821A1 02/10/2025
Solicitante: 
TECHNIP ENERGIES FRANCE
TECHNIP ENERGIES FRANCE
AU_2024234821_PA

Resumen de: AU2024234821A1

The invention relates to a fuel cell installation (10) comprising: - a solid oxide fuel cell unit (30) comprising a first inlet for introducing a heated fuel feed flow (50), a second inlet for introducing a heated oxygen-rich gas flow (52), a first outlet for recovering an anodic gas flow (18), and a second outlet for recovering a cathodic gas flow (20), - a first heat exchanger system (42) for heating a fuel feed flow and a second heat exchanger system (44) for heating the oxygen-rich gas flow, each heat exchanger system comprising an enclosure (420, 440) defining a vertical circulation pipe (422, 442) and a tube bundle system arranged in the circulation pipe. Each of the first and second outlet emerges at the bottom of the circulation pipe of the first, respectively second, heat exchanger system so that the anodic, respectively cathodic, gas flow circulates from bottom to top in crossflow through the or each tube bundle (74) of the first, respectively second, heat exchanger system.

POROUS PTFE MEMBRANE

NºPublicación:  US2025303330A1 02/10/2025
Solicitante: 
DONALDSON COMPANY INC [US]
Donaldson Company, Inc
JP_2025004137_A

Resumen de: US2025303330A1

A porous polytetrafluoroethylene (PTFE) membrane including a nonwoven web having a microstructure of substantially only microfibrils fused at crossover points, said membrane having a percent balance of orthogonal dimensions that is within 10%.

GAS COMPRESSION SYSTEM AND METHOD FOR RECOVERING HYDROGEN

NºPublicación:  US2025305493A1 02/10/2025
Solicitante: 
BURCKHARDT COMPRESSION AG [CH]
BURCKHARDT COMPRESSION AG
JP_2025517339_PA

Resumen de: US2025305493A1

Gas compression system having a compressor for compressing hydrogen, a recovery device(s) for recovering hydrogen escaping as leakage gas during compression, and a leakage gas return line to return recovered leakage gas into a stage in the gas compression system upstream of the compressor and/or into a suction line of a compressor stage of the compressor. The compressor has a leakage gas discharge line for discharging leakage gas. Each recovery device is fluidically connectable to the discharge and return lines and has a metal hydride reservoir(s) heat-coupled to a respective heat exchanger. Each hydride reservoir has a hydride-forming metal alloy(s) which, when heat is supplied or dissipated through the respective heat exchanger, provides cyclic de- or absorption of leakage gas. Each recovery device increases leakage gas pressure in the discharge line to at least the pressure in the upstream stage and/or the suction pressure in the suction line.

Ultra-Low-Cost Luffa Aluminum-Air Fuel Cell

NºPublicación:  US2025309410A1 02/10/2025
Solicitante: 
LAFE OLURINDE EBENEZER [US]
FUEL CELLS GLOBAL LTD [US]
Lafe Olurinde Ebenezer,
Fuel Cells Global LTD

Resumen de: US2025309410A1

A method and apparatus for generating electricity using an electrochemical cell with an aluminum wire as the anode, carbonized luffa sponge as air-cathode, a bioplastic electrolyte, and a common polyethylene sheet as membrane separator. The invention teaches the use of inexpensive materials, and simplified fuel cell construction.

CELL UNIT MANUFACTURING METHOD FOR FUEL CELL AND CELL UNIT MANUFACTURING APPARATUS FOR FUEL CELL

NºPublicación:  US2025309309A1 02/10/2025
Solicitante: 
HONDA MOTOR CO LTD [JP]
Honda Motor Co., Ltd
CN_120727866_PA

Resumen de: US2025309309A1

A cell unit manufacturing method for a fuel cell including disposing a membrane electrode structure of a cell unit above an upper surface of a table by engaging or fitting a positioned portion provided on an outer edge of a frame member of the membrane electrode structure with a positioning member formed in a rod shape, the positioning member being protruding movably upward and downward from the upper surface of the table; mounting a positioning frame on the positioning member to push the positioning member while positioning the positioning frame using the positioning member; mounting the separator on the membrane electrode structure while positioning an outer edge of a separator of the cell unit using a positioning portion provided on the positioning frame; and welding the membrane electrode structure and the separator in a state where the membrane electrode structure and the separator are positioned.

MANUFACTURING DEVICE FOR MEMBRANE ELECTRODE ASSEMBLY FOR FUEL CELL

NºPublicación:  US2025309292A1 02/10/2025
Solicitante: 
HONDA MOTOR CO LTD [JP]
HONDA MOTOR CO., LTD
CN_120716182_PA

Resumen de: US2025309292A1

A manufacturing device for a membrane electrode assembly for a fuel cell joins a membrane electrode laminate, having electrodes with gas diffusion layers arranged on both surfaces of an electrolyte membrane, with a frame member integrally joined to a circumferential edge of the electrolyte membrane, to have a membrane electrode assembly. The manufacturing device for a membrane electrode assembly for a fuel cell includes: a mold having a fixed die and a movable die to be moved between a compressing position and a separated position with respect to the fixed die; and a moving mechanism to move the movable die. For the mold, the manufacturing device includes: a heating means to heat the mold; and a humidified gas supply means to supply humidified gas to a surface of the mold.

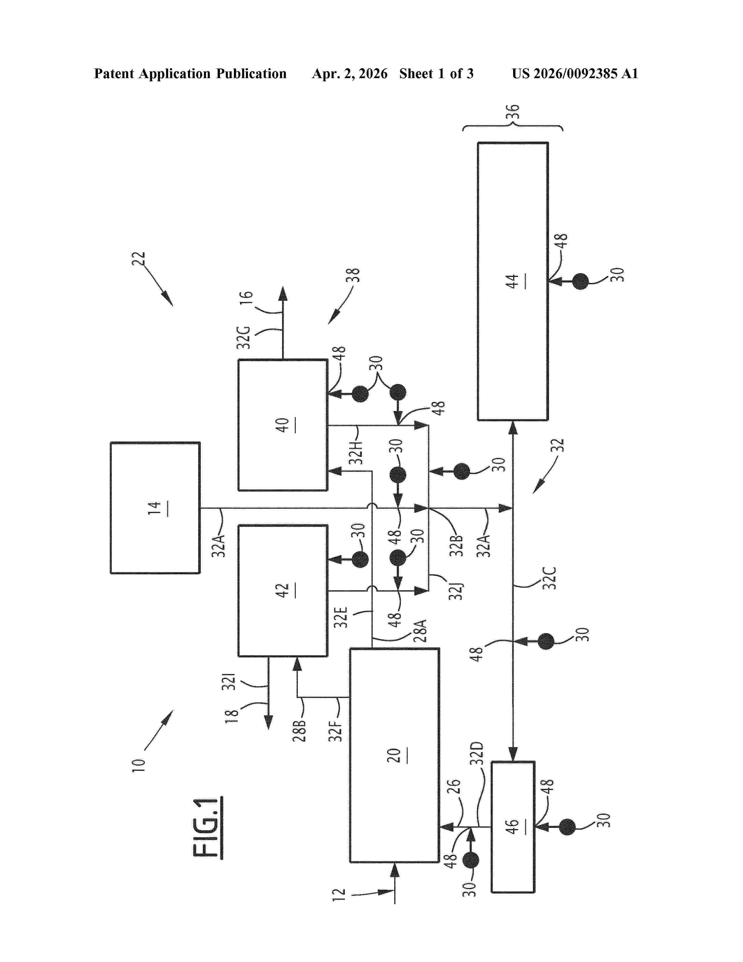
HYBRID FUEL CELL SYSTEM AND OPERATING METHOD THEREOF

NºPublicación:  US2025309295A1 02/10/2025
Solicitante: 
CARRIER CORP [US]
Carrier Corporation

Resumen de: US2025309295A1

A hybrid fuel cell system is disclosed. The hybrid fuel cell comprises a fuel cell adapted to supply power to a load. The hybrid fuel cell further comprises an Electrical Air Compressor (EAC) unit operatively coupled with the fuel cell. Also, the hybrid fuel cell comprises an auxiliary power source connected to the EAC unit via a Direct Current to Alternative Current (DC-AC) converter. Furthermore, the hybrid fuel cell comprises a converter circuit configured to perform at least one of enable the auxiliary power source to supplement the fuel cell to provide collective power supply to a load during the initialization phase of the fuel cell, enable the fuel cell to provide either the input power supply or a supplement power supply to the EAC unit during an operational phase of the fuel cell, or enable the fuel cell to charge the auxiliary power source.

FUEL CELL SYSTEM

NºPublicación:  US2025309299A1 02/10/2025
Solicitante: 
YANMAR HOLDINGS CO LTD [JP]
Yanmar Holdings Co., Ltd
CN_120709440_PA

Resumen de: US2025309299A1

A fuel cell system includes: a housing having a module installation compartment in which a fuel cell module is installed; and a double wall portion with an inner wall and an outer wall. The housing has the outer wall. The module installation compartment has the inner wall. The inner wall has a pressure release part. When a pressure in the module installation compartment reaches a predetermined pressure lower than a pressure capacity of the outer wall, the pressure release part releases the pressure.

SOLID OXIDE FUEL CELL HAVING LAMINATED ANODE AND ELECTROLYTE LAYERS AND METHOD OF MAKING THEREOF

NºPublicación:  US2025309305A1 02/10/2025
Solicitante: 
BLOOM ENERGY CORP [US]
Bloom Energy Corporation
TW_202315198_PA

Resumen de: US2025309305A1

A solid oxide fuel cell (SOFC) includes a ceramic electrolyte having a thickness of 100 microns or less, an anode laminated to a first side of the electrolyte. and a cathode located on a second side of the electrolyte opposite to the first side.

FUEL CELL APPARATUS

NºPublicación:  US2025309298A1 02/10/2025
Solicitante: 
HONDA MOTOR CO LTD [JP]
Honda Motor Co., Ltd
CN_120727880_PA

Resumen de: US2025309298A1

A fuel cell apparatus including a fuel cell, a piping unit including a gas supply path for anode gas and a gas discharge path for anode gas, a hydrogen sensor detecting a hydrogen gas contained in the anode gas, and a gas collection cover covering an upper side of the piping unit and forming a storage space having a recessed shape toward the upper side. The gas collection cover includes a side wall covering a periphery of the storage space, and an upper wall closing an opening at an upper end portion of the side wall, the upper wall has a recessed portion formed in a recessed shape toward the upper side, and is provided with a through-hole around the recessed portion communicating the storage space with an external space, and the hydrogen sensor is provided at a bottom portion of the recessed portion.

IMPACT RECEIVING STRUCTURE OF FUEL CELL STACK AND METHOD FOR MOUNTING IMPACT RECEIVER OF FUEL CELL STACK

NºPublicación:  US2025309314A1 02/10/2025
Solicitante: 
HONDA MOTOR CO LTD [JP]
HONDA MOTOR CO., LTD
CN_120727896_PA

Resumen de: US2025309314A1

Provided is a method for disposing a buffer member in a stack case with high accuracy without damaging the buffer member due to contact between the buffer member and a side surface of a stacked cell. A structure of a fuel cell stack includes a stacked cell configured by stacking a plurality of power generation cells, a stack case in which the stacked cell is accommodated, and a buffer member disposed at an inner wall corner of the stack case. Herein, the buffer member includes a resin member disposed to face the inner wall corner, and an elastic member disposed between the resin member and an inner wall surface of the stack case. The elastic member is fitted into and held by a groove provided on the inner wall surface of the stack case.

FUEL CELL STACK

NºPublicación:  US2025309316A1 02/10/2025
Solicitante: 
HONDA MOTOR CO LTD [JP]
Honda Motor Co., Ltd
CN_120727900_PA

Resumen de: US2025309316A1

A fuel cell stack including a cell stacked body, a case surrounding the cell stacked body, a closing part disposed adjacent to the cell stacked body and attached to the case to close an opening in an end surface of the case, and partition members to divide a space inside the case and outside the cell stacked body into subspaces including a first and second spaces. A first air port of one of an air inlet and air outlet is provided in the closing part, a second air port of another the air inlet and air outlet is provided in the case to communicate with either the first space or the second space, and the closing part includes a passage forming portion configured to form a communication flow path connecting the first air port, the first space and the second space.

FUEL CELL SYSTEM

NºPublicación:  US2025309317A1 02/10/2025
Solicitante: 
AISIN CORP [JP]
AISIN CORPORATION
CN_120727909_PA

Resumen de: US2025309317A1

A fuel cell system including a power generation module having a substantially rectangular parallelepiped shape, the power generation module including a fuel cell stack generating power by supplying fuel gas to an anode and oxidant gas to a cathode, and a module case that insulates and houses the fuel cell stack, the module case having a fuel gas inlet leading to an inlet of the anode, a fuel off-gas outlet leading to an outlet of the anode, and an oxidant gas inlet leading to an inlet of the cathode; a fuel supply including a fuel supply line connected to the fuel gas inlet of the power generation module and a fuel blower provided in the fuel supply line; and an oxidant supply, wherein the fuel gas inlet and the fuel off-gas outlet are on a same surface of the power generation module, and the fuel supply faces the same surface.

FUEL CELL MANIFOLD STRUCTURE

NºPublicación:  US2025309315A1 02/10/2025
Solicitante: 
HONDA MOTOR CO LTD [JP]
HONDA MOTOR CO., LTD
CN_120727907_PA

Resumen de: US2025309315A1

Each of unit cells includes a fluid passage which is provided between a membrane electrode structure and a separator; and a connection passage which connects a communication hole and a fluid passage. A fluid manifold is extended in a laminate direction of the unit cells of the laminated cell stack to allow communication holes formed to open in the respective unit cells to communicate with one another, and supplies a fluid to each unit cell. The fluid manifold includes: an inlet portion which is provided with an inlet through which the fluid is allowed flow into one end communicating with an outside of a stack case; and a closed portion on another end which is located on an opposite side from the inlet portion. Then, the inlet portion is provided with a biasing portion which biases the fluid flowing into the fluid manifold to the connection passage side.

FUEL CELL STACK

NºPublicación:  US2025309312A1 02/10/2025
Solicitante: 
HONDA MOTOR CO LTD [JP]
Honda Motor Co., Ltd
CN_120727899_PA

Resumen de: US2025309312A1

A fuel cell stack including a cell stacked body, a housing surrounding the cell stacked body, a restriction member including a first end surface contacting an outer side surface of the cell stacked body through an opening formed in a side wall of the housing to restrict a movement of the cell stacked body, a support member supporting a second end surface of the restriction member to cover the opening, and a pressing member pressing the support member toward a surface of the side wall. The housing includes an outer side wall extending parallel to the side wall at a predetermined distance from the surface of the side wall on an outside of the side wall, and the pressing member is interposed between the outer side wall and support member such that the restriction member applies a predetermined pressing force to the cell stacked body.

REGENERATIVE FUEL CELL SYSTEM AND METHOD OF OPERATING THE SAME

NºPublicación:  US2025309307A1 02/10/2025
Solicitante: 
HONDA MOTOR CO LTD [JP]
HONDA MOTOR CO., LTD
CN_120727873_PA

Resumen de: US2025309307A1

A regenerative fuel cell system includes a water electrolysis device, a hydrogen compression device, and a fuel cell. The regenerative fuel cell system further includes external relief valves including a first one between an oxygen supply path for supplying oxygen gas from the water electrolysis device to the fuel cell and a vacuum space, a second one between a second hydrogen supply path for supplying hydrogen gas from the hydrogen compression device to the fuel cell and a vacuum space, a third one between a hydrogen discharge path through which hydrogen gas not pressurized in the hydrogen compression device flows and a vacuum space, and a fourth one between a first hydrogen supply path through which hydrogen gas supplied from the water electrolysis device to the hydrogen compression device flows and a vacuum space.

Cationic Viologen Derivatives and Use Thereof in Redox Flow Batteries

NºPublicación:  US2025309306A1 02/10/2025
Solicitante: 
THE GOVERNING COUNCIL OF THE UNIV OF TORONTO [CA]
The Governing Council of the University of Toronto

Resumen de: US2025309306A1

The present application provides cationic viologen derivatives, referred to as transquats, and compositions and uses thereof. The transquats undergo cycles of reduction and oxidation processes in water and are useful in various applications, for example, as electrolytes in Aqueous Redox Flow Batteries (ARFBs). The transquat compounds of the present application have the structure of Formula I

FUEL CELL STACK

NºPublicación:  US2025309308A1 02/10/2025
Solicitante: 
HONDA MOTOR CO LTD [JP]
Honda Motor Co., Ltd
CN_120727902_PA

Resumen de: US2025309308A1

A fuel cell stack including a cell stacked body having power generation cells, a guide part protruding from inner wall of a case toward the cell stacked body, a positioning portion provided on an edge portion of the power generation cell to position the power generation cell relative to the case. The positioning portion includes first and second protruding portions from first and second edge portions of the power generation cell, the guide part includes a first guide part provided on one side in a first direction of the first protruding portion and a second guide part on the other side in the first direction of the second protruding portion, and the first and second guide parts include a first and second abutting surface abutting a first and second end surface of the first and second protruding portions.

FUEL CELL STACKS WITH CONFIGURABLE ORIENTATIONS

NºPublicación:  US2025309311A1 02/10/2025
Solicitante: 
ROBERT BOSCH GMBH [DE]
Robert Bosch GmbH

Resumen de: US2025309311A1

A method of operating a fuel cell stack. The method includes, in a first state, communicating a first reactant into a first orifice in a first fuel cell and a first product out of a second orifice in the first fuel cell to form a first flow path. The method further includes transitioning the first fuel cell from the first state into a second state. The method also includes, in a second state, communicating the first reactant into the second orifice in the first fuel cell and the second product out of the first orifice in the first fuel cell to form a second flow path opposite the first flow path.

FUEL CELL STACK AND FUEL CELL STACK PRODUCTION METHOD

NºPublicación:  US2025309313A1 02/10/2025
Solicitante: 
HONDA MOTOR CO LTD [JP]
HONDA MOTOR CO., LTD
CN_120727895_PA

Resumen de: US2025309313A1

A fuel cell stack includes a multilayered cell, a stack case, and an end unit. The fuel cell stack further includes a shock-absorbing member which is disposed between the stack case and the multilayered cell and which receives an impact relative to the multilayered cell. The shock-absorbing member has an end inserted in the stack case and includes a first step portion at the end of the shock-absorbing member for positioning the shock-absorbing member in a vertical direction with respect to a fastening hole provided in the end unit. The end unit includes a second step portion for positioning the shock-absorbing member in a horizontal direction and the second step portion is in contact with the shock-absorbing member. The fuel cell stack further includes a fastening member, the first step portion engages with the second step portion, and the fastening hole is fastened with the fastening member for positioning the end unit and the shock-absorbing member.

POWER GENERATION CELL AND FUEL CELL STACK

NºPublicación:  US2025309310A1 02/10/2025
Solicitante: 
HONDA MOTOR CO LTD [JP]
Honda Motor Co., Ltd
CN_120727865_PA

Resumen de: US2025309310A1

A membrane electrode structure including a membrane electrode assembly and a frame member made of resin supporting the membrane electrode assembly, the membrane electrode structure having an electrolyte membrane and an electrode, and a separator made of metal, disposed facing the membrane electrode structure, the separator being configured to form a flow path for a reaction gas to flow between the membrane electrode structure and the separator. The frame member includes a first region having an outer edge portion of the frame member, a second region located inside the first region, and a protruding portion provided in the first region and extending outward beyond an outer edge of the separator, and a thickness of the frame member in the first region where the protruding portion is located, is larger than a thickness of the frame member in the second region.

FUEL CELL STACK

NºPublicación:  US2025309284A1 02/10/2025
Solicitante: 
HONDA MOTOR CO LTD [JP]
Honda Motor Co., Ltd
CN_120727901_PA

Resumen de: US2025309284A1

A fuel cell stack including a cell stacked body, first and second end units, a cooling medium discharge flow path, and a tube arranged in the cooling medium discharge flow path. The second end unit includes a first end surface facing the cooling medium discharge flow path and a second end surface opposite to the first end surface, a through-hole is formed penetrating the second end unit to communicate with a second opening of the tube on downstream side of the cooling medium discharge flow path, the first and second end units include first and second support portions supporting peripheral portions of the first and second ends of the tube, the second support portion includes a tapered portion formed on an inner peripheral surface of the through-hole, and the tapered portion is formed to gradually narrow toward the second end surface of the second end unit.

MANUFACTURING METHOD AND MANUFACTURING APPARATUS OF FUEL CELL MEMBRANE ELECTRODE STRUCTURE

NºPublicación:  US2025309285A1 02/10/2025
Solicitante: 
HONDA MOTOR CO LTD [JP]
Honda Motor Co., Ltd
CN_120727841_PA

Resumen de: US2025309285A1

A manufacturing method of a fuel cell membrane electrode structure configured to attach a gas diffusion layer to an assembly part in which a catalyst coated membrane having an electrode catalyst layer provided on a surface of an electrolyte membrane is supported by a resin frame member. The manufacturing method includes the steps of: placing the assembly part on a base; applying an adhesive to the assembly part placed on the base along a bonding position between the catalyst coated membrane and the resin frame member; placing the gas diffusion layer on the assembly part to which the adhesive is applied; and pressing the gas diffusion layer placed on the assembly part along the bonding position and injecting a curing accelerator to the adhesive applied to the assembly part along the bonding position through the gas diffusion layer.

FUEL CELL STACK AND ASSEMBLING METHOD OF FUEL CELL STACK

NºPublicación:  US2025309282A1 02/10/2025
Solicitante: 
HONDA MOTOR CO LTD [JP]
Honda Motor Co., Ltd
CN_120727903_PA

Resumen de: US2025309282A1

A fuel cell stack including a cell stacked body including power generation cells, a housing surrounding the cell stacked body, and a fixed member fixed to the housing to face an outer surface of the cell stacked body. Each of the power generation cells includes a unitized electrode assembly including a membrane electrode assembly and a frame member having a flexibility and supporting an edge portion of the membrane electrode assembly, and a separator disposed to face the unitized electrode assembly to form a flow path between the separator and the unitized electrode assembly, an edge portion of the frame member includes a protruding portion protruding outward from an edge portion of the separator, and the protruding portion includes a bent end portion bent toward the edge portion of the separator and sandwiched between the fixed portion and the edge portion of the separator.

FUEL CELL STRUCTURE

NºPublicación:  US2025309283A1 02/10/2025
Solicitante: 
HONDA MOTOR CO LTD [JP]
HONDA MOTOR CO., LTD
CN_120727863_PA

Resumen de: US2025309283A1

A fuel cell structure includes a tunnel portion which is formed in the separator, bypasses the seal portion, and allows the communication hole and the fluid channel to communicate with each other. The tunnel portion includes tunnel bodies extending from the communication hole toward the fluid channel, a joint channel which joins ends of the tunnel bodies together so as to allow for fluid communication through the ends, and openings which allow the joint channel and the fluid channel to communicate with each other. The tunnel bodies include an end tunnel body connected to an end of the joint channel. The end tunnel body is connected to the joint channel at an acute angle and a connection portion between the joint channel and the end tunnel body is curved in an arc.

METHOD FOR MANUFACTURING MEMBRANE ELECTRODE ASSEMBLY

NºPublicación:  US2025309291A1 02/10/2025
Solicitante: 
HONDA MOTOR CO LTD [JP]
HONDA MOTOR CO., LTD
CN_120719310_PA

Resumen de: US2025309291A1

In a first stacked body providing step, a first stacked body, in which a first ionomer material having an ion exchange capacity of less than a predetermined value and a first electrode are stacked, is provided. In a second stacked body providing step, a second stacked body, in which a second ionomer material having an ion exchange capacity of equal to or greater than the predetermined value and a second electrode are stacked, is provided. In a substrate providing step, an electrolyte substrate is provided. In a swelling step, the first stacked body, the second stacked body, and the electrolyte substrate are caused to swell. In a joining step, the electrolyte substrate and the first ionomer material of the first stacked body are joined together, and the electrolyte substrate and the second ionomer material of the second stacked body are joined together.

FUEL CELL SYSTEM

NºPublicación:  US2025309289A1 02/10/2025
Solicitante: 
AISIN CORP [JP]
AISIN CORPORATION
CN_120727874_PA

Resumen de: US2025309289A1

A fuel cell system including a power generator including a fuel cell stack that generates power with fuel gas and oxidant gas, the fuel gas supplied to an anode, the oxidant gas supplied to a cathode, and a fuel supply line connected to a fuel inlet leading to the anode, a circulation system including a fuel off-gas line connected to a fuel off-gas outlet leading to an outlet of the anode, a heat exchanger in the fuel off-gas line, and a recirculation line downstream of the heat exchanger in the fuel supply line and the fuel supply line; and a condensed water line branching from the downstream of the heat exchanger discharging condensed water from the fuel off-gas and condensed by the heat exchanger, wherein the recirculation line is connected to the fuel supply line above a branch point between the fuel off-gas line and the condensed water line.

FUEL CELL SYSTEM, VEHICLE, AND METHOD OF MEASURING IMPEDANCE

NºPublicación:  US2025309297A1 02/10/2025
Solicitante: 
SUBARU CORP [JP]
SUBARU CORPORATION
WO_2024189886_PA

Resumen de: US2025309297A1

A fuel cell system includes a fuel cell, a power storage, an alternating-current load source, and a measuring unit. The power storage is configured to store electric power. The alternating-current load source is coupled on a path between the fuel cell and a load. The measuring unit is configured to measure an impedance of the fuel cell. The measuring unit is configured to determine a correction value with respect to a reference impedance value in a state where a load current does not flow from the fuel cell to the load, the correction value taking into consideration a generation of a noise due to the load current, and measure the impedance of the fuel cell, based on the determined correction value.

MANUFACTURING METHOD FOR MEMBRANE ELECTRODE ASSEMBLY AND MEMBRANE-ELECTRODE ASSEMBLY

NºPublicación:  US2025309279A1 02/10/2025
Solicitante: 
HONDA MOTOR CO LTD [JP]
HONDA MOTOR CO., LTD
CN_120727888_PA

Resumen de: US2025309279A1

A manufacturing method for a membrane electrode assembly includes: a placing-frame-member step of placing a frame member on a suction plate; a placing-electrode-catalyst-layer step of placing an electrode catalyst layer on the frame member so as to have a circumferential edge of the electrode catalyst layer overlapped with a margin of an opening of the frame member; a placing-electrolyte-membrane step of placing an electrolyte membrane on an opposite side of the electrode catalyst layer to the frame member; and a peeling-protective-sheet step of peeling a protective sheet. A circumferential edge of the electrolyte membrane is placed beyond that of the electrode catalyst layer. A two-layer portion of the frame member and electrolyte membrane and a three-layer portion of the frame member, electrode catalyst layer, and electrolyte membrane are sequentially formed in the placing-electrolyte-membrane step from the circumferential edge of the electrolyte membrane to the margin of the opening.

SYSTEMS FOR ROUTING OF FUEL CELL BYPRODUCTS OF A VEHICLE

NºPublicación:  US2025309294A1 02/10/2025
Solicitante: 
DAIMLER TRUCK NORTH AMERICA LLC [US]
Daimler Truck North America LLC
EP_4624019_PA

Resumen de: US2025309294A1

In some examples of this technology, a vehicle is disclosed that includes a fuel cell exhaust system for routing of fuel cell byproducts of the vehicle. The vehicle includes at least two fuel cells. Each of the at least two fuel cells have an exhaust port through which byproducts of fuel cell operation flow. The vehicle includes at least two outlet couplers respectively coupled, at a first end, to the exhaust port of each of the fuel cells. The vehicle includes at least two water separators respectively coupled, at an inlet end, to a second end of each of the at least two outlet couplers. The vehicle includes at least two vertical exhaust pipes respectively coupled to a top side of each of the at least two water separators. The water separators separate water from steam produced by the fuel cells.

FUEL CELL STACK AND WELDING METHOD

NºPublicación:  US2025309286A1 02/10/2025
Solicitante: 
HONDA MOTOR CO LTD [JP]
Honda Motor Co., Ltd
CN_120727867_PA

Resumen de: US2025309286A1

A fuel cell stack including a joined separator, and a membrane electrode structure including a membrane electrode assembly disposed between a pair of the joined separators, the membrane electrode assembly including an electrolyte membrane and an electrode. The joined separator includes a first metal separator and a second metal separator welded together along a welding line, and the second metal separator includes a convex portion formed along the welding line so as to protrude toward the first metal separator.

FUEL CELL SYSTEM

NºPublicación:  US2025309288A1 02/10/2025
Solicitante: 
AISIN CORP [JP]
AISIN CORPORATION
CN_120727871_PA

Resumen de: US2025309288A1

A fuel cell system including a power generator including a fuel cell stack generating power with fuel and oxidant gas and oxidant gas, a combustor that combusts combustible gas introduced from a combustion gas inlet, and a fuel supply line connected to a fuel inlet leading to an anode of the generator, and a circulation system including a fuel off-gas line connected to a fuel off-gas outlet leading to an outlet of the anode, a heat exchanger in the fuel off-gas line, a combustion gas line branching from a downstream of the heat exchanger in the fuel off-gas line and connected to the combustion gas inlet, a recirculation line branching from downstream of the heat exchanger in the fuel off-gas line and connected to the fuel supply line, and a pressure control valve adjusting a pressure of the recirculation line distributing the fuel off-gas at a predetermined distribution ratio.

MANUFACTURING METHOD OF FUEL CELL SEPARATOR

NºPublicación:  US2025309281A1 02/10/2025
Solicitante: 
HONDA MOTOR CO LTD [JP]
Honda Motor Co., Ltd
CN_120727861_PA

Resumen de: US2025309281A1

A manufacturing method of a fuel cell separator including pressing a separator substrate having a first surface and a second surface and made of a metal, into an uneven shape to form a gas flow path on the first surface for allowing a reaction gas to flow and a cooling flow path on the second surface for allowing a cooling medium to flow, roughening the second surface to increase a surface roughness of the second surface, and forming a coating having corrosion resistance on the first surface and the second surface after the roughening.

ELECTROCHEMICAL HYDROGEN COMPRESSION SYSTEM

NºPublicación:  US2025309290A1 02/10/2025
Solicitante: 
HONDA MOTOR CO LTD [JP]
HONDA MOTOR CO., LTD
CN_120727870_PA

Resumen de: US2025309290A1

An electrochemical hydrogen compression system comprises a hydrogen compression stack having a unit cell including an electrolyte membrane, an anode disposed on one surface of the electrolyte membrane, and a cathode disposed on another surface of the electrolyte membrane, and that supplies a hydrogen gas to the anode, and delivers from the cathode the hydrogen gas which has been compressed, an electrical power source device that applies a voltage to the hydrogen compression stack, a hydrogen supply device that supplies the hydrogen gas to the hydrogen compression stack, a storage device that stores the hydrogen gas output from the hydrogen compression stack, and a return flow path that returns the hydrogen gas output from the hydrogen compression stack to the hydrogen supply device, wherein a hydrogen storage tank that stores the hydrogen gas is provided in the return flow path.

FUEL CELL STACK AND MANUFACTURING METHOD OF FUEL CELL STACK

NºPublicación:  US2025309287A1 02/10/2025
Solicitante: 
HONDA MOTOR CO LTD [JP]
Honda Motor Co., Ltd
CN_120727904_PA

Resumen de: US2025309287A1

A fuel cell stack including a cell stacked body having cell units, a housing, and a positioning member supported by an inner side surface of the housing. The cell unit includes a membrane electrode structure including a membrane electrode assembly and a film member made of resin, and a separator disposed facing the membrane electrode structure and provided with a positioning portion. The film member includes an exposed portion extending outward beyond the positioning portion, the cell unit includes a reinforcing member bonded to the exposed portion, the reinforcing member includes a first positioned portion positioned by the positioning portion and a second positioned portion engaged with or fitted to the positioning member, and an edge of the second positioned portion is positioned at the same position as an outer edge of the film member, or protrudes outward beyond the outer edge of the film member.

ELECTRODE COMPOSITIONS

NºPublicación:  US2025305167A1 02/10/2025
Solicitante: 
COMMONWEALTH SCIENT AND INDUSTRIAL RESEARCH ORGANISATION [AU]
Commonwealth Scientific and Industrial Research Organisation
JP_2025511759_A

Resumen de: US2025305167A1

The present disclosure relates to electrode compositions, in particular electrode compositions comprising hybrid electrode particles, which can be used in solid oxide electrochemical cells. The present disclosure also relates to processes for preparing hybrid electrode particles. The present disclosure also relates to electrodes, including sintered electrodes, comprising the electrode compositions, and to solid oxide electrochemical cells comprising the electrode compositions.

MEMBRANE

NºPublicación:  US2025305160A1 02/10/2025
Solicitante: 
JOHNSON MATTHEY HYDROGEN TECH LIMITED [GB]
JOHNSON MATTHEY HYDROGEN TECHNOLOGIES LIMITED
JP_2025525301_PA

Resumen de: US2025305160A1

An electrolyte membrane comprising a recombination catalyst layer. The membrane has a thickness of less than or equal to 100 μm and is a single coherent polymer film comprising a plurality of ion conducting polymer layers. The recombination catalyst layer comprises particles of an unsupported recombination catalyst dispersed in an ion conducting polymer and the layer has a thickness in the range of and including 5 to 30 μm. Catalyst coated membranes (CCMs) incorporating the electrolyte membranes are also provided, together with methods of manufacturing the electrolyte membranes.

FLEXIBLE ELECTRICAL CONDUCTOR COMPRISING ELEMENTS CONNECTED TO ONE ANOTHER BY TIG WELDING, AND METHOD FOR MANUFACTURING SUCH A FLEXIBLE ELECTRICAL CONDUCTOR

NºPublicación:  US2025308724A1 02/10/2025
Solicitante: 
COMMISSARIAT A LENERGIE ATOMIQUE ET AUX ENERGIES ALTERNATIVES [FR]
COMMISSARIAT A L'ENERGIE ATOMIQUE ET AUX ENERGIES ALTERNATIVES
JP_2025520035_PA

Resumen de: US2025308724A1

A flexible electrical conductor including an assembly comprising a flexible conductive core made of a first metal material and a sheath covering the conductive core and made of a second metal material having an electrical resistivity higher than the electrical resistivity of the first metal material; a first connection strip formed at least in part by the second metal material and connected to a first end of the assembly, wherein, at the first end of the assembly, the sheath and the first connection strip are bonded by TIG welding, and the conductive core and the first connection strip are bonded by fillet-brazing or soldering.

ELECTRICALLY CONDUCTIVE MEMBER, ELECTROCHEMICAL CELL DEVICE, MODULE, AND MODULE HOUSING DEVICE

NºPublicación:  US2025309481A1 02/10/2025
Solicitante: 
KYOCERA CORP [JP]
KYOCERA Corporation
CN_118985056_PA

Resumen de: US2025309481A1

An electrically conductive member includes a first portion and a second portion having a resistivity different from that of the first portion. An electrochemical cell device includes an electrically conductive member and an electrochemical cell connected to the electrically conductive member. The electrochemical cell includes a first part connected to the first portion, and a second part connected to the second portion. A temperature of the first part is higher than a temperature of the second part. A resistivity of the first portion is larger than a resistivity of the second portion.

Systems and Methods for Improved Hydrogen Energy and Energy Aggregation

NºPublicación:  US2025309300A1 02/10/2025
Solicitante: 
OREQA HYDROGEN TECH INC [US]
Oreqa Hydrogen Technologies, Inc

Resumen de: US2025309300A1

A hydrogen storage assembly includes an enclosure substantially encompassing an electrolyzer, a hydrogen storage system, a hydrogen fuel cell, an electrochemical energy storage module, a power conversion system, and a control system. The electrolyzer is configured to separate, via electrolysis, water into hydrogen gas that is stored in the hydrogen storage system; the hydrogen fuel cell is configured to convert the stored hydrogen gas into electrical energy and water. The electrochemical energy storage module is configured to function as an energy buffer; the power conversion system is configured to convert the produced electrical energy to a desired form. The control system is configured to control the storage and distribution of the stored hydrogen and electrical energy in an optimized manner to achieve predefined financial and energy-use objectives.

MANUFACTURING DEVICE OF LAMINATED STRUCTURE BODY AND METHOD THEREOF

NºPublicación:  US2025309303A1 02/10/2025
Solicitante: 
HONDA MOTOR CO LTD [JP]
HONDA MOTOR CO., LTD
CN_120727864_PA

Resumen de: US2025309303A1

A manufacturing device of a laminated structure body has: a pair of crimping members disposed to face with each other; a cushion material having flexibility and conductivity on a portion of at least one crimping member of the pair of crimping members facing the other crimping member; a crimping device to hold, press, and crimp a plurality of laminated sheet-shaped members between the one crimping member and the other crimping member so as to constitute a laminated structure body; and, a short-circuit inspection circuit that detects presence or absence of a short-circuit spot in the laminated structure body during a process where the crimping device crimps the plurality of sheet-shaped members in one piece to constitute the laminated structure body.

POWER GENERATION CELL

NºPublicación:  US2025309304A1 02/10/2025
Solicitante: 
HONDA MOTOR CO LTD [JP]
Honda Motor Co., Ltd
CN_120727890_PA

Resumen de: US2025309304A1

A power generation cell including a membrane electrode assembly disposed to cover an opening of a frame, and a first and second separators disposed facing the membrane electrode assembly. The membrane electrode assembly includes an electrolyte membrane, first and second electrode catalyst layers, and first and second gas diffusion layers. The first separator includes first ribs to form partition walls for flow paths for first gas, the second separator includes second ribs to form partition walls for flow paths for second gas having lower pressure than the first gas, an end of the first gas diffusion layer along the first gas is positioned on an inner side closer to center of the opening, compared to an end of the second gas diffusion layer along the second gas, and is positioned on the inner side of ends of the plurality of second ribs.

SEPARABLE SECONDARY BATTERY STACK

NºPublicación:  US2025309367A1 02/10/2025
Solicitante: 
BYD COMPANY LTD [CN]
BYD COMPANY LIMITED
WO_2024139442_PA

Resumen de: US2025309367A1

A separable secondary battery stack includes a positive electrode module, a negative electrode module, and an electrolyte module. Every two of the positive electrode module, the negative electrode module, and the electrolyte module are mutually connected by means of a conveying channel in a loop; and the conveying channel is used for conveying an electrolyte.

POWER SUPPLY SYSTEM, METHOD FOR CONSTRUCTING A POWER SUPPLY SYSTEM AND USE OF THE POWER SUPPLY SYSTEM

NºPublicación:  US2025309411A1 02/10/2025
Solicitante: 
WILO SE [DE]
WILO SE
AU_2023274395_PA

Resumen de: US2025309411A1

The invention relates to a power supply system comprising a modular combination of a hydrogen generation unit, a hydrogen usage unit and a control or regulation unit for controlling or regulating the operation of the hydrogen generation unit and the hydrogen usage unit.

FUEL CELL SYSTEM AND METHOD OF CONTROLLING SAME

NºPublicación:  US2025309296A1 02/10/2025
Solicitante: 
HYUNDAI MOTOR COMPANY [KR]
KIA CORP [KR]
Hyundai Motor Company,
Kia Corporation

Resumen de: US2025309296A1

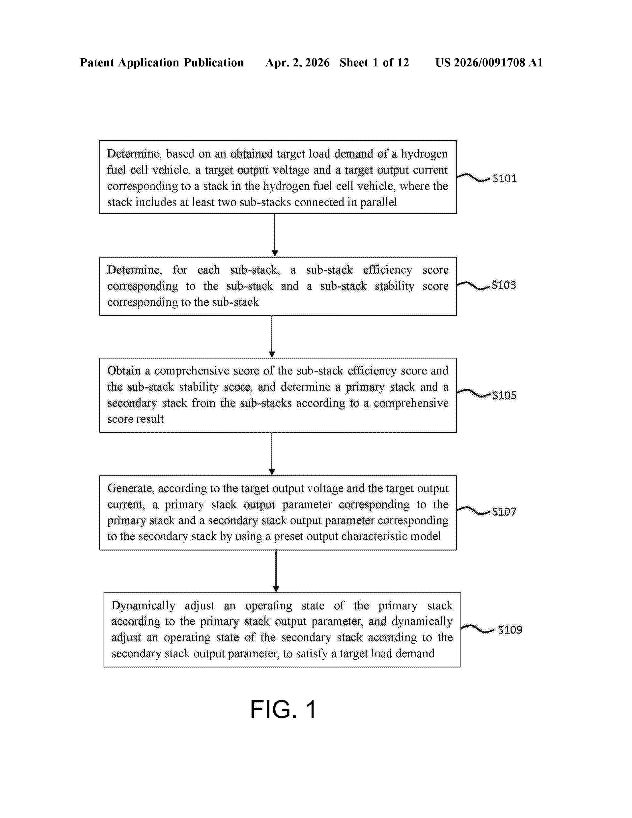
A system and a method of controlling the fuel system are introduced. The fuel cell system may comprise a hydrogen tank configured to store hydrogen a fuel cell configured to receive, based on a state of the hydrogen tank, the hydrogen from the hydrogen tank a sensor configured to measure at least one of an output current or an output voltage of the fuel cell and a processor configured to determine the state of the hydrogen tank, wherein the state is associated with an amount of hydrogen filled in the hydrogen tank determine, based on the output voltage of the fuel cell, a purity level of the hydrogen stored in the hydrogen tank, wherein the output voltage is obtained based on the state of the hydrogen tank and open, based on the purity level of the hydrogen being unsatisfactory, a purge valve for discharging residual hydrogen from the fuel cell.

GAS-LIQUID SEPARATOR AND FUEL CELL SYSTEM

NºPublicación:  US2025309302A1 02/10/2025
Solicitante: 
HYUNDAI MOTOR COMPANY [KR]
KIA CORP [KR]
HYUNDAI MOTOR COMPANY,
KIA CORPORATION
CN_120709433_PA

Resumen de: US2025309302A1

The present disclosure relates to a gas-liquid separator including a first pipe member, a second pipe member configured to communicate with the first pipe member and connected to an upper end of the first pipe member based on a gravitational direction, and a gas-liquid separation member provided in the first pipe member and the second pipe member so that droplets contained in air, which moves upward along the first pipe member and the second pipe member, come into contact with the gas-liquid separation member, thereby advantageously and effectively capturing droplets from air discharged from a fuel cell stack.

ENERGY GENERATION SYSTEM

NºPublicación:  US2025309293A1 02/10/2025
Solicitante: 
HYUNDAI MOTOR COMPANY [KR]
KIA CORP [KR]
Hyundai Motor Company,
Kia Corporation

Resumen de: US2025309293A1

An embodiment of the present disclosure relates to an energy generation system including a first energy generation part configured to generate electrical energy on the basis of an electrochemical reaction of a target fluid, and a second energy generation part configured to operate by receiving water discharged from the first energy generation part and generate electrical energy on the basis of a potential difference made by a movement and evaporation of the water, thereby obtaining an advantageous effect of improving energy generation efficiency.

VEHICLE FRAME FOR FUEL CELL AND VEHICLE INCLUDING THE SAME

NºPublicación:  US2025303839A1 02/10/2025
Solicitante: 
HYUNDAI MOTOR COMPANY [KR]
KIA CORP [KR]
HYUNDAI MOTOR COMPANY,
KIA CORPORATION
CN_223370952_U

Resumen de: US2025303839A1

A vehicle frame for a fuel cell includes a first frame, a second frame, and a support frame interconnecting the first frame and the second frame and provided with a fluid tank and a battery mounted thereon. The fluid tank includes a pair of fluid tanks on outer sides of the first frame and the second frame in a width direction, and the battery is disposed between the pair of fluid tanks.

2020225222

NºPublicación:  AU2025230732A1 02/10/2025
Solicitante: 
ACHINIBAHJEECHIN INTELLECTUAL PROPERTY LLC
Ach\u00EDnibahjeechin Intellectual Property, LLC
JP_2024155934_PA

Resumen de: AU2025230732A1

Abstract A system for controlling an electrochemical production process includes a variable controllable power circuit and an electrolytic cell. The cell includes two electrodes and operates in different possible states dependent on the potential difference across the electrodes. The system includes a power circuit controller that causes the power circuit to apply a given potential difference across the electrodes to initiate operation of the cell in the state associated with the given potential difference. The possible states include a production state associated with a first non-zero potential difference in which a product of interest is produced, and an idle state associated with a second non-zero potential difference in which the product of interest is not produced. A monitoring and control subsystem maintains a predefined set of production process conditions, including a predefined operating temperature range, while the cell operates in both the production state and the idle state. Abstract A system for controlling an electrochemical production process includes a variable controllable power circuit and an electrolytic cell. The cell includes two electrodes and operates in different possible states dependent on the potential difference across the electrodes. The system includes a power circuit controller that causes the power circuit to apply a given potential difference across the electrodes to initiate operation of the cell in the state associated with the given potenti

Anordnung elektrochemischer Zellen und Verfahren zum Betrieb eines Stapels elektrochemischer Zellen

NºPublicación:  DE102024108733A1 02/10/2025
Solicitante: 
SCHAEFFLER TECHNOLOGIES AG [DE]
Schaeffler Technologies AG & Co. KG

Resumen de: DE102024108733A1

Eine Anordnung (1) elektrochemischer Zellen (2), insbesondere Elektrolysezellen, umfasst eine mehrere, jeweils in einem Zylinder (15, 16) geführte Kolben (18) aufweisende hydraulische Kompressionsvorrichtung (7), welche zur Ausübung einer Druckkraft auf die gestapelten Zellen (2) ausgebildet ist. Die Zylinder (15, 16) sind durch mindestens eine zum Druckausgleich vorgesehene Querverbindung (12, 13) miteinander verbunden.

Verfahren zur Herstellung eines Kühlers

NºPublicación:  DE102024003247A1 02/10/2025
Solicitante: 
MERCEDES BENZ GROUP AG [DE]
Mercedes-Benz Group AG

Resumen de: DE102024003247A1

Die Erfindung betrifft ein Verfahren zur Herstellung eines Kühlers (1) aus mehreren Bauteilen (2, 3), wobei- zumindest eines der Bauteile (2, 3) als wellenförmiges Bauteil (2) mit einem wellenförmigen Querschnitt ausgebildet ist und- das zumindest eine wellenförmige Bauteil (2) im Bereich von an Wellentälern und/oder Wellenbergen ausgebildeten ebenen Anlagebereichen (A1 bis A3) an dem zumindest einen weiteren Bauteil (3) angelegt wird und anschließend in den Anlagebereichen (A1 bis A3) mit diesem unter Ausbildung von Schweißnähten (S1 bis S3) verschweißt wird.Erfindungsgemäß ist vorgesehen, dass- die Schweißnähte (S1 bis S3) in einem Laserstrahlschweißverfahren erzeugt werden, indem eine Anzahl von Laserstrahlen (LS) am jeweiligen Anlagebereich (A1 bis A3) auf eine Oberfläche zumindest eines der Bauteile (2, 3) geführt wird, und- eine Gesamtbreite (bL) der Anzahl von Laserstrahlen (LS) derart gewählt wird, dass diese am jeweiligen Anlagebereich (A1 bis A3) an einer Auftreffposition auf der Oberfläche des zumindest einen Bauteils (2, 3) mindestens dem 1,1-Fachen einer Breite (bF) des Anlagebereichs (A1 bis A3) entspricht.

Brennstoffzellensystem und Fahrzeug mit dem Brennstoffzellensystem

NºPublicación:  DE102024109017A1 02/10/2025
Solicitante: 
BAYERISCHE MOTOREN WERKE AG [DE]
Bayerische Motoren Werke Aktiengesellschaft

Resumen de: DE102024109017A1

Die hier offenbarte Technologie betrifft erfindungsgemäß ein Brennstoffzellensystem (10), aufweisend eine Brennstoffzelle (11) mit einer Anode (12) und einer Kathode (13), einen Kathodeneinlasspfad (14) zum Leiten von Kathodengas in die Kathode (13), einen Kathodenauslasspfad (15) zum Leiten von Prozessgas aus der Kathode (13) in die Umgebung des Brennstoffzellensystems (10), wobei im Kathodeneinlasspfad (14) ein Kompressor (16) zum Komprimieren des Kathodengases angeordnet, wobei im Kathodenauslasspfad (15) eine durch Prozessgas antreibbare Turbine (17) angeordnet ist, und eine Überlastkupplung (18) für eine überlastgeregelte Drehmomentübertragung zwischen dem Kompressor (16) und der Turbine (17). Die erfindungsgemäße Technologie betrifft ferner ein Fahrzeug (100) mit dem Brennstoffzellensystem (10).

Einsatz Ketazin-basierter Redoxspezies in Elektrolyten für Redox-Flow-Batterien

NºPublicación:  DE102024108919A1 02/10/2025
Solicitante: 
FORSCHUNGSZENTRUM JUELICH GMBH [DE]
Forschungszentrum J\u00FClich GmbH

Resumen de: DE102024108919A1

Die vorliegende Erfindung betrifft eine Elektrolytlösung für eine Redox-Flow-Batterie mit organischen Verbindungen aus einer spezifischen Gruppe an Ketazinen nach der folgenden Formel I:als Redoxsystem. Des Weiteren betrifft die vorliegende Erfindung ein Verfahren zum Betreiben einer elektrisch wiederaufladbaren Redox-Flow-Batterie sowie die Verwendung organischer Verbindungen nach der Formel I und deren Oligomere und Polymere als Redoxsystem zur Speicherung und Freisetzung elektrischer Energie.

Dichtvorrichtung für Brennstoffzelle

NºPublicación:  DE102024108741A1 02/10/2025
Solicitante: 
EKPO FUEL CELL TECH GMBH [DE]
ELRINGKLINGER AG [DE]
EKPO Fuel Cell Technologies GmbH,
ElringKlinger AG

Resumen de: DE102024108741A1

Die Erfindung betrifft eine Dichtvorrichtung (10) zum Einsatz in einer Brennstoffzelle (20) mit einem ersten Dichtabschnitt (1) und einem zweiten Dichtabschnitt (2), die auf gegenüberliegenden Seiten einer Membrane (3), insbesondere einer Subgasket, anordbar sind und die einen Mediumfluss entlang der Membrane (3) verhindern können, wobei zumindest einer der beiden Dichtabschnitte (1, 2) zum Toleranzausgleich mehrere nebeneinander angeordnete Dichtlippen (2.1) aufweist.

Verfahren zum Ermitteln eines Alterungsfaktors, Ermittlungsvorrichtung, Computerprogrammprodukt und Speichermedium

NºPublicación:  DE102024109010A1 02/10/2025
Solicitante: 
BAYERISCHE MOTOREN WERKE AG [DE]
Bayerische Motoren Werke Aktiengesellschaft

Resumen de: DE102024109010A1

Die hier offenbarte Technologie betrifft erfindungsgemäß ein Verfahren zum Ermitteln eines Alterungsfaktors, basierend auf welchem ein Alterungszustand einer Brennstoffzelle ermittelbar ist, aufweisend die Schritte: Bereitstellen einer Neu-Polarisationskurve (11) einer Neu-Brennstoffzelle, Bereitstellen einer Schaden-Polarisationskurve (12) einer Schaden-Brennstoffzelle, Ermitteln des Alterungsfaktors basierend auf der Neu-Polarisationskurve (11) und der Schaden-Polarisationskurve (12). Die Technologie betrifft ferner eine Ermittlungsvorrichtung (10) und ein Computerprogrammprodukt (30) zum Ausführen des Verfahrens sowie ein computerlesbares Speichermedium (40), auf welchem das Computerprogrammprodukt (30) gespeichert ist.

FLOW BATTERY

NºPublicación:  AU2024374499A1 02/10/2025
Solicitante: 
VRB ENERGY INC
VRB ENERGY INC
AU_2024374499_A1

Resumen de: AU2024374499A1

Provided in the present application is a flow battery. In the flow battery, the opposite sides of any adjacent frames are provided with a main engagement protruding portion, a main engagement recessed portion, a first electrolyte inlet channel, a first electrolyte outlet channel, a second electrolyte inlet channel and a second electrolyte outlet channel, wherein the main engagement protruding portion engages with the main engagement recessed portion to form a main sealing engagement path; the first electrolyte inlet channel, a first cavity and the first electrolyte outlet channel are in communication with one another; the second electrolyte inlet channel, a second cavity and the second electrolyte outlet channel are in communication with one another; and at least one of the first electrolyte inlet channel, the first electrolyte outlet channel, the second electrolyte inlet channel and the second electrolyte outlet channel is separated by means of the main sealing engagement path. Between adjacent frames, at least one of the first electrolyte inlet channel, the first electrolyte outlet channel, the second electrolyte inlet channel and the second electrolyte outlet channel is separated by means of the main sealing engagement path, thereby providing advantages such as simple production processes, low production costs and good sealing effects.

FUEL CELL SYSTEM

NºPublicación:  EP4625554A2 01/10/2025
Solicitante: 
AISIN CORP [JP]
Aisin Corporation
EP_4625554_PA

Resumen de: EP4625554A2

A fuel cell system (10) includes: a power generation module (30) having a substantially rectangular parallelepiped shape, the power generation module (30) including a fuel cell stack (31) that generates power by fuel gas supplied to an anode and oxidant gas supplied to a cathode, and a module case (35) that has a heat insulating property and houses the fuel cell stack (31), the module case (35) being formed with a fuel gas inlet (GI) leading to an inlet of the anode, a fuel off-gas outlet (FO) leading to an outlet of the anode, and an oxidant gas inlet (AI) leading to an inlet of the cathode; a fuel supply system (40) including a fuel supply line (41) connected to the fuel gas inlet (GI) of the power generation module (30) and a fuel blower (43) provided in the fuel supply line (41); and an oxidant supply system (50) that supplies the oxidant gas to the oxidant gas inlet (AI) of the power generation module (30), wherein the fuel gas inlet (GI) and the fuel off-gas outlet (FO) are provided on a same surface of the power generation module (30), and the fuel supply system (40) is installed so as to face the same surface.

FUEL CELL SYSTEM

NºPublicación:  EP4625556A2 01/10/2025
Solicitante: 
AISIN CORP [JP]
Aisin Corporation
EP_4625556_PA

Resumen de: EP4625556A2

A fuel cell system (10) includes: a power generation module (30) including a fuel cell stack (31) that generates power with fuel gas and oxidant gas, the fuel gas being at least one of hydrogen gas and ammonia gas supplied to an anode, the oxidant gas being supplied to a cathode, a combustion unit (32) that combusts combustible gas introduced from a combustion gas inlet (CI), and a module case (35) that has a heat insulating property and houses the fuel cell stack (31) and the combustion unit (32); a fuel supply system (40) including a fuel supply line (41) and a fuel blower (43), the fuel supply line (41) being connected to a fuel inlet leading to an inlet of the anode of the power generation module (30) and a fuel supply source (1), the fuel blower (43) being provided in the fuel supply line (41); and a circulation system (60) including a fuel off-gas line (61) connected to a fuel off-gas outlet (FO) leading to an outlet of the anode of the power generation module (30), a heat exchanger (62) provided in the fuel off-gas line (61), a combustion gas line (64) branching from a downstream side of the heat exchanger (62) in the fuel off-gas line (61) and connected to the combustion gas inlet (CI) of the power generation module (30), a recirculation line (63) branching from the downstream side of the heat exchanger (62) in the fuel off-gas line (61) and connected to the fuel supply line (41), and a pressure control valve (OF) provided in the recirculation line (63) and adjusting

SYSTEMS FOR ROUTING OF FUEL CELL BYPRODUCTS OF A VEHICLE

NºPublicación:  EP4624019A1 01/10/2025
Solicitante: 
DAIMLER TRUCK NORTH AMERICA LLC [US]
Daimler Truck North America LLC
EP_4624019_PA

Resumen de: EP4624019A1

In some examples of this technology, a vehicle is disclosed that includes a fuel cell exhaust system for routing of fuel cell byproducts of the vehicle. The vehicle includes at least two fuel cells. Each of the at least two fuel cells have an exhaust port through which byproducts of fuel cell operation flow. The vehicle includes at least two outlet couplers respectively coupled, at a first end, to the exhaust port of each of the fuel cells. The vehicle includes at least two water separators respectively coupled, at an inlet end, to a second end of each of the at least two outlet couplers. The vehicle includes at least two vertical exhaust pipes respectively coupled to a top side of each of the at least two water separators. The water separators separate water from steam produced by the fuel cells.

FUEL CELL SYSTEM

NºPublicación:  EP4625555A2 01/10/2025
Solicitante: 
AISIN CORP [JP]
Aisin Corporation
EP_4625555_PA

Resumen de: EP4625555A2

A fuel cell system (10) includes: a power generation module (30) including a fuel cell stack (31) that generates power with fuel gas and oxidant gas, the fuel gas being at least one of hydrogen gas and ammonia gas supplied to an anode, the oxidant gas being supplied to a cathode, and a module case (35) that has a heat insulating property and houses the fuel cell stack (31); a fuel supply system (40) including a fuel supply line (41) and a fuel blower (43), the fuel supply line (41) being connected to a fuel inlet (GI) leading to an inlet of the anode of the power generation module (30) and a fuel supply source (1), the fuel blower (43) being provided in the fuel supply line (41); a circulation system (60) including a fuel off-gas line (61) connected to a fuel off-gas outlet (FO) leading to an outlet of the anode of the power generation module (30), a heat exchanger (62) provided in the fuel off-gas line (61), and a recirculation line (63) connected to a downstream side of the heat exchanger (62) in the fuel supply line (41) and the fuel supply line (41); and a condensed water line (68) that branches from the downstream side of the heat exchanger (62) in the fuel off-gas line (61) and discharges condensed water obtained by water vapor contained in the fuel off-gas being condensed by the heat exchanger (62), wherein the recirculation line (63) is connected to the fuel supply line (41) at a position above a branch point (J2) between the fuel off-gas line (61) and the condensed w

FUEL CELL SYSTEM

NºPublicación:  EP4625557A2 01/10/2025
Solicitante: 
YANMAR HOLDINGS CO LTD [JP]
Yanmar Holdings Co., Ltd
EP_4625557_PA

Resumen de: EP4625557A2

The risk of breakage of a housing when an explosion occurs in a module installation compartment is reduced, without excessively increasing the pressure capacity of the housing.A fuel cell system includes: a housing having a module installation compartment in which a fuel cell module is installed; and a double wall portion with an inner wall and an outer wall. The housing has the outer wall. The module installation compartment has the inner wall. The inner wall has a pressure release part. When a pressure in the module installation compartment reaches a predetermined pressure lower than a pressure capacity of the outer wall, the pressure release part releases the pressure.

SPIRAL WOUND WATER EXCHANGERS, POWER GENERATORS COMPRISING THE SAME, AND METHODS OF USE THEREOF

NºPublicación:  EP4625558A1 01/10/2025
Solicitante: 
HONEYWELL INT INC [US]
Honeywell International Inc
EP_4625558_PA

Resumen de: EP4625558A1

Spiral wound water exchangers, power generators comprising the same, and methods of use thereof are provided. The methods include providing a first stream of air having a first humidity to a spiral wound water exchanger, providing a second stream of hydrogen having a second humidity to the spiral wound water exchanger, flowing the air and the hydrogen through the spiral wound water exchanger, wherein water is transported from the air to the hydrogen as the air and the hydrogen flow through the spiral wound water exchanger, expelling a third stream of air having a third humidity from the spiral wound water exchanger, and expelling a fourth stream of hydrogen having a fourth humidity from the spiral wound water exchanger, wherein the third humidity is less than the first humidity and the fourth humidity is greater than the second humidity.

CELL STACK ASSEMBLY

NºPublicación:  EP4625685A1 01/10/2025
Solicitante: 
LG ENERGY SOLUTION LTD [KR]
LG Energy Solution, Ltd
EP_4625685_PA

Resumen de: EP4625685A1

Disclosed herein relates to a cell stack assembly with an insulating cover having a structure capable of separating each busbar.The cell stack assembly of the present invention includes: a cell stack including a plurality of cells from which electrode leads are drawn out; a busbar frame assembly including a plurality of busbars electrically connected to electrode leads of the cell stack, a busbar frame supporting the busbar, and ribs spanning between the busbars, and coupled to the cell stack; and an insulating cover coupled to the busbar frame to cover the busbar frame assembly, wherein the insulating cover includes a separation wall member formed at a location corresponding to a rib of the busbar frame assembly.

A process and apparatus for sustainable water fuelled vehicle

NºPublicación:  GB2639690A 01/10/2025
Solicitante: 
RODOLFO ANTONIO M GOMEZ [AU]
Rodolfo Antonio M Gomez
GB_2639690_PA

Resumen de: GB2639690A

A sustainable water fuelled process and apparatus where a Unipolar electrolysis of water is described and the hydrogen and oxygen are stored before feeding a hydrogen fuel cell which is capable of providing sufficient electricity to provide power to a drive a vehicle, power a generator etc, after supplying electricity to the Unipolar electrolyser and the storage of the hydrogen and oxygen.

POROUS CARBON SUPPORT AND CATALYST FOR FUEL CELL

NºPublicación:  EP4625552A1 01/10/2025
Solicitante: 
THE CARBON STUDIO INC [KR]
The Carbon Studio Inc
EP_4625552_PA

Resumen de: EP4625552A1

The present disclosure relates to a porous carbon body and, more specifically, to a porous carbon body that satisfies the surface area properties of pores with a size of 2-5 nm, the surface area properties of pores with a size of 2-100 nm, and physical properties in an overlapping graph of a first pore volume distribution graph obtained from nitrogen adsorption isotherms and a second pore volume distribution graph obtained from nitrogen desorption isotherms.

SEPARABLE SECONDARY BATTERY STACK

NºPublicación:  EP4625572A1 01/10/2025
Solicitante: 
BYD CO LTD [CN]
BYD Company Limited
EP_4625572_PA

Resumen de: EP4625572A1

A separable secondary battery stack, including a positive electrode module, a negative electrode module, and an electrolyte module. Every two of the positive electrode module, the negative electrode module, and the electrolyte module are mutually connected by means of a conveying channel to form a loop; and the conveying channel is used for conveying an electrolyte.

POROUS CARBON SUPPORT AND CATALYST FOR FUEL CELL

NºPublicación:  EP4625551A1 01/10/2025
Solicitante: 
THE CARBON STUDIO INC [KR]
The Carbon Studio Inc
EP_4625551_PA

Resumen de: EP4625551A1

The present invention relates to a porous carbon body, and more specifically, to a porous carbon body satisfying the following three physical properties: a surface area physical property of pores having a size of 2 nm to 5 nm; a surface area physical property of pores having a size of 2 nm to 100 nm; and a physical property relating to a delta graph which is a graph of the values of a nitrogen desorption isotherm minus the values of a nitrogen adsorption isotherm in a nitrogen adsorption-desorption isotherm according to relative pressure..

A hydrogen storage system and method of use

NºPublicación:  GB2639679A 01/10/2025
Solicitante: 
UNIV BRISTOL [GB]
The University of Bristol
GB_2639679_PA

Resumen de: GB2639679A

A hydrogen storage system 10 for producing, storing, releasing and utilising hydrogen, the system comprising: an electrolyser 12; a hydrogen storage bed 14 comprising a hydrogen storage material disposed therein; and a fuel cell 16. When the system assumes a loading condition, hydrogen is produced by the electrolyzer and loaded into the hydrogen storage bed. When the system assumes an unloading condition hydrogen stored in the H2 storage bed is unloaded and directed towards the fuel cell for producing electricity. A filter may be located between the storage bed and electrolyser, or between the storage bed and fuel cell. The storage bed material may comprise a hydridable metal, optionally depleted uranium. The storage bed may comprise a hydrogen storage body and a thermal transfer element comprising a fin element, e.g. a helical fin, that may allow the redistribution and expansion of the hydrogen storage material within the body.

ELECTRIC POWER GENERATION PLANNING METHOD FOR FUEL CELL DEVICE, ELECTRIC POWER GENERATION PLANNING DEVICE FOR FUEL CELL DEVICE, AND ELECTRIC POWER GENERATION SYSTEM

NºPublicación:  EP4625560A1 01/10/2025
Solicitante: 
PANASONIC IP MAN CO LTD [JP]
Panasonic Intellectual Property Management Co., Ltd
EP_4625560_PA

Resumen de: EP4625560A1

A power generation planning method for a fuel cell device according to the present disclosure includes: receiving a power generation plan for a fuel cell device; storing the received power generation plan for the fuel cell device; and if a next power generation plan is not received and a remaining period of the stored power generation plan is shorter than a predetermined period, using data of the stored power generation plan to add a power generation plan so that the remaining period of the power generation plan is equal to or longer than the predetermined period.

PORTABLE LIGHT ELECTRICITY PRODUCTION DEVICE AND METHOD OF PRODUCING ELECTRICITY

NºPublicación:  EP4623129A1 01/10/2025
Solicitante: 
ARIEL SCIENT INNOVATIONS LTD [IL]
Ariel Scientific Innovations Ltd
WO_2024110962_PA

Resumen de: WO2024110962A1

A portable electricity production device is disclosed. The devoice comprising: a container comprising: a reservoir comprising hydride salt powder; a selective membrane covering the container and configured to allow an entrance of water molecules into the container and restricts the exit of hydrogen molecules from escaping the container; a first membrane exchange assembly (ME A) electrode attached to an inner side of the selective membrane facing the reservoir; and a outer electrode attached to an outer side of the selective membrane, opposite to the inner electrode, and exposed to the oxygen in the air, wherein the selective membrane is further configured to transfer either protons or hydroxide anions from the inner electrode to the outer electrode.

METHOD FOR CONTROLLING FUEL CELL DEVICE, CONTROL DEVICE, AND FUEL CELL SYSTEM

NºPublicación:  EP4625559A1 01/10/2025
Solicitante: 
PANASONIC IP MAN CO LTD [JP]
Panasonic Intellectual Property Management Co., Ltd
EP_4625559_PA

Resumen de: EP4625559A1

According to the present disclosure, a method for controlling a fuel cell device includes receiving a voltage measured at the time of power generation of the fuel cell device and determining whether the degradation level of the fuel cell device is normal based on a comparison of the voltage and a first threshold value that decreases with increasing operational amount of the fuel cell device and that corresponds to the operational amount of the fuel cell device at the measurement time of the voltage.

METAL FIBER

NºPublicación:  EP4624071A1 01/10/2025
Solicitante: 
MAX PLANCK GESELLSCHAFT [DE]
Max-Planck-Gesellschaft zur F\u00F6rderung der Wissenschaften e.V
EP_4624071_A1

Resumen de: EP4624071A1

The present invention relates to a metal fiber having an anisotropic surface texture, comprising: a first end region on a first end of the metal fiber having a smooth surface; and a second end region on a second end of the metal fiber having a non-smooth surface.

FORMIC ACID ENERGY STORAGE SYSTEM AND RELATIVE METHOD

NºPublicación:  EP4623472A1 01/10/2025
Solicitante: 
NUOVO PIGNONE TECNOLOGIE SRL [IT]
NUOVO PIGNONE TECNOLOGIE - S.R.L
AU_2023384328_PA

Resumen de: AU2023384328A1

Energy storage system (1000) for producing, storing and consuming energy comprising an electrochemical reduction CO2 cell unit (110) configured to receive electrical energy, in particular from a renewable energy source, and to perform electrochemical reduction process to produce formic acid (CH2O2), a formic acid storage unit configured to store formic acid (CH2O2) in liquid state received from electrochemical reduction CO2 cell unit (110), a formic acid fuel cell unit (130) configured to perform electrochemical oxidation process producing electrical energy from formic acid (CH2O2) received from the formic acid storage unit (120) and a control unit (180) configured to control supply of formic acid (CH2O2) to and from the formic acid storage unit (120). The energy storage system (1000) is also configured to perform a closed-loop recirculation of carbon dioxide (CO2) from the formic acid storage unit (130) to the electrochemical reduction CO2 cell unit (110).

FUEL CELL

NºPublicación:  EP4623475A1 01/10/2025
Solicitante: 
SYMBIO FRANCE [FR]
SYMBIO FRANCE
KR_20250114021_PA

Resumen de: CN120266301A

A fuel cell is provided with: a substrate (11); a stack (20) against the substrates (11); and a compression system comprising: a support plate (30) movable and resting on the stack (20); the spring (50) abuts against the supporting plate (30); and a flange (40) which abuts against the spring (50). In order to stabilize the fuel cell particularly over time, the fuel cell comprises a first sliding connection (70) for guiding the sliding of the support plate (30) relative to the base plate (11) and pulling plates (60) which are separated from each other and have anchors which fasten them to the base plate (11) and to the flange (40), the first sliding connection (70) being provided for guiding the sliding of the support plate (30) relative to the base plate (11), and the pulling plates (60) being provided for guiding the sliding of the support plate (30) relative to the base plate (11). The stack (20) is held in a compressed state between the base plate (11) and the support plate (30) by means of an anchor under the action of a spring (50).

HEATABLE MUFFLER FOR THE EXHAUST GAS SECTION OF A FUEL CELL SYSTEM

NºPublicación:  EP4623474A1 01/10/2025
Solicitante: 
CONTITECH TECHNO CHEMIE GMBH [DE]
ContiTech Techno-Chemie GmbH
DE_102022212596_PA

Resumen de: WO2024109994A1

The invention relates to a muffler (1) for the exhaust gas section of a fuel cell system (2), comprising a muffler device (20) for reducing the sound of the exhaust gas flow (S), a water separating device (30) arranged upstream of the muffler device (20) for separating water from the exhaust gas flow (S), a water collecting chamber (40) which at least partly surrounds at least the water separating chamber (31), and which is fluidically connected to the water separating chamber (31) via a discharge opening (41) such that water separated from the exhaust gas flow (S) can flow out of the water separating chamber (31) and into the water collecting chamber (40) where the water can be collected, and a heating device for heating at least one part of a wall (43) which delimits the water collecting chamber (40).

MUFFLER FOR AN EXHAUST GAS SECTION OF A FUEL CELL SYSTEM

NºPublicación:  EP4623473A2 01/10/2025
Solicitante: 
CONTITECH TECHNO CHEMIE GMBH [DE]
ContiTech Techno-Chemie GmbH
CN_120226176_PA

Resumen de: CN120226176A

The invention relates to a muffler (1) for an exhaust section of a fuel cell system (2), comprising: a cavity (10); a silencing device (20) arranged in the cavity (10) for reducing the noise of the exhaust flow (S); a water separation device (30), which is arranged in the chamber (10) upstream of the sound attenuation device (20), for removing water from the exhaust gas flow (S), the water separation device (30) having: a baffle element (32), which is arranged in the water separation chamber (31), for radially widening the exhaust gas flow (S) flowing in through the inlet opening (11); and a funnel-shaped guide element (33) located downstream of the baffle element (32) for radially narrowing the exhaust gas flow (S) widened by the baffle element (32).

HIGHLY REINFORCED IONOMER MEMBRANES FOR HIGH SELECTIVITY AND HIGH STRENGTH

NºPublicación:  EP4625561A2 01/10/2025
Solicitante: 
GORE & ASS [US]
W L GORE & ASS G K [JP]
W. L. Gore & Associates, Inc,
W. L. Gore & Associates G.K
EP_4625561_PA

Resumen de: EP4625561A2

Embodiments are directed to composite membranes having: increased volume of the microporous polymer structure relative to the total volume of the PEM; decreased permeance and thus increased selectivity; and lower ionomer content. An increased amount of polymers of the microporous polymer structure is mixed with a low equivalent weight ionomer (e.g., < 460 cc/mole eq) to obtain a composite material having at least two distinct materials. Various embodiments provide a composite membrane comprising a microporous polymer structure that occupies from 13 vol% to 65 vol% of a total volume of the composite membrane, and an ionomer impregnated in the microporous polymer structure. The acid content of the composite membrane is 1.2 meq/cc to 3.5 meq/cc, and/or the thickness of the composite membrane is less than 17 microns. The selectivity of the composite membrane is greater than 0.05 MPa/mV, based on proton conductance and hydrogen permeance.

FUEL CELL SYSTEM

NºPublicación:  EP4625553A1 01/10/2025
Solicitante: 
AISIN CORP [JP]
Aisin Corporation
EP_4625553_PA

Resumen de: EP4625553A1

A fuel cell system (10) includes: a plurality of power generation modules (30) each including a fuel cell stack (31) and a module case (35), the fuel cell stack (31) generating power with fuel gas supplied to an anode and oxidant gas supplied to a cathode, the module case (35) having a heat insulating property and housing the fuel cell stack (31); a plurality of fuel supply systems (40) including a plurality of fuel supply lines (41), respectively, each of the fuel supply lines (41) supplying the fuel gas to corresponding one of the plurality of power generation modules (30); a plurality of circulation systems (60) including a plurality of recirculation lines (63), respectively, each of the recirculation lines (63) causing fuel off-gas discharged from corresponding one of the plurality of power generation modules (30) to pass through corresponding one of heat exchangers (62) and then to be recirculated to corresponding one of the fuel supply lines (41); a plurality of condensed water tanks (66) each storing condensed water obtained by condensation in corresponding one of the heat exchangers (62) of water vapor contained in the fuel off-gas in corresponding one of the plurality of circulation systems (60); and a frame (21) that supports the plurality of power generation modules (30), the plurality of fuel supply systems (40), and the plurality of condensed water tanks (66), wherein the plurality of condensed water tanks (66) are installed in a space defined below installation

燃料电池膜电极以及具有该膜电极的燃料电池和用电设备

NºPublicación:  CN120727887A 30/09/2025
Solicitante: 
罗伯特·博世有限公司
CN_120727887_PA

Resumen de: CN120727887A

本公开涉及燃料电池膜电极以及具有该膜电极的燃料电池系统和用电设备。该燃料电池膜电极包括质子交换膜、被设置在质子交换膜的阴极侧的阴极催化剂层。该燃料电池膜电极还包括阴极气体扩散层,被设置在阴极催化剂层的外侧,阴极气体扩散层的外侧表面具有与双极板接触的第一区域和未与双极板接触的第二区域。此外,该燃料电池膜电极还包括疏水层,被设置在阴极气体扩散层的外侧,其中疏水层具有疏水特性,并且疏水层覆盖第二区域中的至少一部分区域。这种方式能够保留膜电极中的水分,提高燃料电池的性能和使用寿命,还能够节省成本。

加湿装置和燃料电池系统

NºPublicación:  CN120727872A 30/09/2025
Solicitante: 
罗伯特·博世有限公司
CN_120727872_PA

Resumen de: CN120727872A

本申请提出了一种用于燃料电池系统的加湿装置,其包括:管构件,其被配置成用于连接在用于向电堆供给空气的阴极供气管线上,并且包括限定用于空气的流动通道的管壁和延伸穿过管壁的孔口;以及超声雾化器,其被设置在管构件的孔口处,并且被配置成用于在被启动时通过将来自管构件的外部的水雾化来将水经由孔口引入流动通道中。本申请还提出了包括前述加湿装置的燃料电池系统。根据本申请的加湿装置使得能精确控制进入阴极的空气相对湿度,以将燃料电池系统的电堆中的含水量精确地维持在期望的水平,从而确保燃料电池系统可靠和高效运行。

一种SOFC电堆用导电陶瓷连接体及其制备方法

NºPublicación:  CN120715214A 30/09/2025
Solicitante: 
山东工业陶瓷研究设计院有限公司
CN_120715214_PA

Resumen de: CN120715214A

本发明属于SOFC电堆技术领域,具体地说涉及一种SOFC电堆用导电陶瓷连接体及其制备方法,制备方法包括以下步骤:将碳化锆粉体、金属及金属氧化物粉体混合,得到混合粉体;将所述混合粉体填充进成型模具中,对成型模具进行烧结处理,成型后得到导电陶瓷连接体。

燃料电池系统及其开机控制方法和装置

NºPublicación:  CN120727878A 30/09/2025
Solicitante: 
未势能源科技有限公司
CN_120727878_PA

Resumen de: CN120727878A

本发明提供了一种燃料电池系统及其开机控制方法和装置,本发明的燃料电池系统开机控制方法包括接收到系统开机指令时,获取电堆中阴极侧的压力;将获取的所述阴极侧的压力与预设压力范围进行比较;在获取的所述阴极侧的压力不位于所述预设压力范围时,开启与所述阴极侧连接的空气排气管路上的排气控制阀;在获取的所述阴极侧的压力位于所述预设压力范围时,关闭所述排气控制阀;在关闭所述排气控制阀后,控制燃料电池系统按照预设的开机流程启动。本发明的燃料电池系统开机控制方法,有助于减少燃料电池系统开机时的故障率,也有助于提升燃料电池系统的寿命,而具有很好的实用性。

一种氢能燃料电池电堆固定结构及其工作方法

NºPublicación:  CN120727906A 30/09/2025
Solicitante: 
苏州工学院
CN_120727906_PA

Resumen de: CN120727906A

本发明公开了一种氢能燃料电池电堆固定结构,包括电池箱和电堆,电堆位于电池箱内,包括若干并列布置的单电池,电堆两端极板的外侧为端板,端板外侧为缓冲挡板,缓冲挡固接有若干记忆金属弹片,记忆金属弹片波浪形结构并与端板抵接,缓冲挡板通过固定组件连接将电堆压紧,缓冲挡板通过补偿结构与电池箱的内壁连接,补偿结构包括弹簧和固定支杆,固定支杆与缓冲挡板滑配,其滑动时拉伸或压缩弹簧,电堆设压力传感器,记忆金属弹片设加热器,压力传感器检测电堆中的压紧力并通过控制器控制加热器加热使记忆金属弹片随压紧力变化而变形。本发明还公开了氢能燃料电池电堆固定结构的工作方式,本发明能够确保压紧力在合理范围,降低外部振动激励。

燃料电池结构参数的确定方法、装置、设备、存储介质和产品

NºPublicación:  CN120722193A 30/09/2025
Solicitante: 
清华大学
CN_120722193_PA

Resumen de: CN120722193A

本申请涉及一种燃料电池结构参数的确定方法、装置、设备、存储介质和产品。所述方法包括:根据燃料电池的设计需求信息,确定燃料电池中双极板的目标脊背宽度;根据目标脊背宽度和燃料电池的输出性能,从多个扩散层厚度中确定燃料电池的目标扩散层厚度;根据双极板的目标脊背宽度和目标扩散层厚度,确定燃料电池的结构参数。采用本方法能够可以在既保证双极板的脊背宽度,又保证扩散层的厚度的条件下,使得燃料电池的整体传质能力最优,从而提升目标工况下的输出性能。

一种磺化/羧酸化四酚单体、聚合物、交换膜、制备及应用

NºPublicación:  CN120717942A 30/09/2025
Solicitante: 
西安建筑科技大学
CN_120717942_A

Resumen de: CN120717942A

本发明公开了一种磺化/羧酸化四酚单体、聚合物、交换膜、制备及应用,以四酚原料、含磺酸基团/羧酸基团的化合物、有机溶剂为原料,通过生成内酰胺反应制备磺化/羧酸化四酚单体;以磺化/羧酸化四酚单体、多氟单体、有机溶剂及催化剂为原料,通过亲核取代共聚制备磺化/羧酸化自具微孔聚合物;以磺化/羧酸化自具微孔聚合物为原料制备自具微孔聚合物阳离子交换膜。本发明提供的自具微孔聚合物阳离子交换膜具有广阔的用途,尤其是,在离子筛分以及液流电池领域可以作为隔膜来使用。

固体燃料电池尾气热能梯级回用系统

NºPublicación:  CN120727886A 30/09/2025
Solicitante: 
苏州工学院
CN_120727886_PA

Resumen de: CN120727886A

本发明涉及固体燃料电池技术领域,公开了固体燃料电池尾气热能梯级回用系统,该系统包含:尾气组分分析、热交换拓扑构建、相变蓄热控制、余压发电适配、梯级调度决策及回用效能监控模块。尾气组分分析模块通过质谱检测生成组分浓度分布图谱;热交换拓扑构建模块据图谱建立多级换热器网络并优化参数;相变蓄热控制模块部署相变材料阵列、划分温控区域并生成蓄热数据;余压发电适配模块采集压力信号拟合涡轮机特性以生成发电参数;梯级调度决策模块通过动态规划算法构建模型并生成调度指令;回用效能监控模块实时追踪状态并校正参数。系统实现尾气热能、压力能及可燃组分梯级回收,提升能效与稳定性,适用于固体燃料电池尾气处理。

全钒液流电池碳毡电极表面负载锆金属原子的改性方法

NºPublicación:  CN120727845A 30/09/2025
Solicitante: 
安徽海螺洁能科技有限公司安徽海螺融华储能科技有限公司
CN_120727845_A

Resumen de: CN120727845A

本发明涉及电池加工技术技术领域,公开了全钒液流电池碳毡电极表面负载锆金属原子的改性方法,包括对碳毡进行预处理清洗过程,通过乙醇、氯化锆、氯化铋和氯化锡配置氯化物溶液,以及通过乙醇、抗坏血酸、异抗坏血酸钠、柠檬酸和草酸配置抗坏血酸溶液;将氯化物溶液和抗坏血酸溶液混合并搅拌均匀后得到混合溶液;加热混合溶液后,将预处理后的碳毡浸入上述混合溶液中取出烘干,得到耐腐蚀、高转换效率和结构稳定的碳毡电极;本发明有效阻挡电解液对碳基体的侵蚀,从结构上抑制了碳基体的化学降解,降低HER过电位,提升电池的能量转换效率,以及简化电极改性流程和增强改性层的长期稳定性。

一种复合石墨双极板及其制备方法

NºPublicación:  CN120716002A 30/09/2025
Solicitante: 
三峡新能源吉木萨尔发电有限公司中国三峡新能源(集团)股份有限公司
CN_120716002_A

Resumen de: CN120716002A

本发明属于液流电池技术领域,公开了一种复合石墨双极板及其制备方法,利用超声波分散机对树脂粉末、石墨烯、分散剂在水和醇所构成的混合分散溶剂中完成均匀分散,得到树脂‑石墨烯分散液;在造粒机中对流态化膨胀石墨完成树脂‑石墨烯分散液均匀喷淋,经热空气烘干后得到膨胀石墨‑石墨烯‑树脂预聚体;铺粉,预扎压,得到低密度双极板坯料板;真空热模压,骤冷定型,脱模,得到具有特定流道结构的复合石墨双极板成品。通过湿法造粒工艺,实现树脂粉末在导电石墨材料表面均匀分布,有效弥补树脂粉末团聚缺陷,协同均匀性引入导电石墨烯以填补石墨材料堆积间隙空白,双极板具备良好力学特性和导电性的同时,有效提升双极板制造良品率和生产效率。

一种燃料电池用导热型密封材料及其制备方法

NºPublicación:  CN120718546A 30/09/2025
Solicitante: 
山东力合新材料科技有限公司
CN_120718546_A

Resumen de: CN120718546A

本发明公开了一种燃料电池用导热型密封材料及其制备方法,通过齐聚体接枝改性与粉体表面化学键合双重改性工艺,协同丙烯酸酯交联网络,解决现有有机硅密封胶强度低、耐腐蚀性差的问题。该密封材料通过改性导热粉体表面的活性基团在固化过程中与密封材料中单体发生化学反应,形成化学键,对固化物原位增强,从而提高密封材料的物理机械性能,导热系数达2.7‑3.1W/(m·K),剪切强度>14MPa,耐水性、耐酸碱腐蚀性均得到显著提升,适用于车载燃料电池等严苛环境。

薄膜器件及其制造方法

NºPublicación:  CN120731363A 30/09/2025
Solicitante: 
三井金属矿业株式会社
CN_120731363_PA

Resumen de: TW202443144A

This method for manufacturing a thin film device (10) comprises: a step for obtaining a structure (90) by forming, on a substrate (11), a laminate structure formed by laminating a first electrode layer (31), a ceramic layer (50), a second electrode layer (41), a third insulating layer (123), and a heater layer (61) in this order; and a step for removing an unnecessary portion in the structure (90) and forming a bridge structure (20) comprising a stage (21) which supports the laminate structure, and one or a plurality of bridges 22 extending from a peripheral edge of the stage 21.

一种针对氢燃料电池侦测信息的管控平台与方法

NºPublicación:  CN120727885A 30/09/2025
Solicitante: 
国网河北省电力有限公司石家庄市栾城区供电分公司国网河北省电力有限公司石家庄供电分公司国家电网有限公司
CN_120727885_PA

Resumen de: CN120727885A

一种针对氢燃料电池侦测信息的管控平台与方法,经由解析侦测期间各个工作特征间关联度,同步的依据所取得的工作特征的关联度解析取得工作特征的关键度系数,同步的依据侦测为持续阶段的特点,取得构造单立工作特征的信息点域,且依据所取得的信息点域解析信息失真性系数,且联合工作特征间关联度等系数取得工作信息是失真信息的几率,且依据此对ISODATA方法所取得的信息失真系数执行校准,就极大的改善了运用该方法取得失真侦测值的正确度,同步的能在侦测时,即时找出相应氢燃料电池工作参数的失真性,更深入的解析取得氢燃料电池的工作特征量。且能依据侦测值即时解析,对氢燃料电池执行维护,确保氢燃料电池工作的性能。

一种声磁双物理场耦合制备有机液流电池电极的方法和有机液流电池

NºPublicación:  CN120727850A 30/09/2025
Solicitante: 
南方科技大学中盐盐穴综合利用股份有限公司
CN_120727850_PA

Resumen de: CN120727850A

本发明公开了一种声磁双物理场耦合制备有机液流电池电极的方法和有机液流电池,涉及电极和液流电池技术领域。所述方法包括以下步骤:对碳基材料进行纯化处理,将纯化处理后的所述碳基材料浸渍于磁性材料溶液中;向所述磁性材料溶液施加磁场,再向所述磁性材料溶液施加超声场,经声磁双物理场处理后,得到负载磁性材料的碳基材料;取出所述负载磁性材料的碳基材料,清洗、干燥,得到有机液流电池电极。本发明的有益效果是通过磁性材料对碳基材料表面进行修饰,提高了亲水性和导电性,相比于原始碳基材料,本发明的电极对于活性分子的催化性能和电化学性能更好,且能量效率、电压效率以及对电解液利用率都有所提高。

一种燃料电池-锂电池混合功率动态分配系统及介质

NºPublicación:  CN120728036A 30/09/2025
Solicitante: 
畔星科技(浙江)有限公司
CN_120728036_PA

Resumen de: CN120728036A

本发明涉及燃料电池混合供电技术领域,具体为一种燃料电池‑锂电池混合功率动态分配系统及介质,包括燃料电池电堆、锂电池储能模块、三通阀冷却子系统、动态功率补偿模块和中央处理器,利用燃料电池电堆的实时温度场数据,动态控制冷却路径,利用燃料电池废热数据通过热交换器对锂电池储能模块进行选择性预热,并且监测母线电压、负载电流及电池状态,执行基于热约束的功率分配,在预测到过热风险时,将功率请求从燃料电池动态地重新分配给锂电池储能模块,在进行功率分配计算时,将冷却系统的运行模式及对应的寄生能耗作为动态变量进行优化,生成优化功率分配方案。本发明通过智能热管理与动态功率分配,延长电池使用寿命。

一种岛屿用多功能高效SOFC发电管理方法及系统

NºPublicación:  CN120727883A 30/09/2025
Solicitante: 
上海中弗新能源科技股份有限公司
CN_120727883_PA

Resumen de: CN120727883A

本发明涉及一种岛屿用多功能高效SOFC发电管理方法及系统,涉及发电技术领域,其包括:加热柴油以挥发成柴油蒸汽并采集加热参数信息;根据加热参数信息生成吸入控制信息;基于吸入控制信息控制预设的微界面重整器吸入水蒸气与柴油蒸汽并进行裂解重整以生成混合气体;采集混合气体的温度检测值及混合情况信息;根据温度检测值及混合情况信息生成热送控制信息;基于热送控制信息输送混合气体至预设的SOFC电堆以进行发电。本发明具有减少岛屿发电时产生的空气污染的效果。

钛金属双极板的高耐蚀导电复合涂层、制备方法及双极板

NºPublicación:  CN120719263A 30/09/2025
Solicitante: 
洛阳船舶材料研究所中国船舶集团有限公司第七二五研究所洛阳双瑞精铸钛业有限公司
CN_120719263_PA

Resumen de: CN120719263A

本发明实施例提供一种钛金属双极板的高耐蚀导电复合涂层、制备方法及双极板,所述复合涂层由内至外包括:钛混合底层、梯度过渡的碳氮化钛中间层及非晶碳面层。钛混合底层厚度为0.2μm~0.5μm,由高功率脉冲磁控溅射结合15kV~25kV高压脉冲靶台偏压,通过钛离子注入与沉积形成;碳氮化钛中间层厚度为0.3μm~0.5μm,由高功率脉冲磁控溅射在氮气与乙炔反应气氛中沉积,氮原子含量从靠近钛混合底层向外的方向递减;非晶碳面层,其厚度为0.5μm~1μm,由阳极层离子源辅助高功率脉冲磁控溅射在钛金属双极板表面沉积。本发明技术方案,能够实现金属双极板基体表面多层结构高耐蚀导电复合涂层的制备,满足氢燃料电池钛金属双极板高耐蚀导电需求,提高氢燃料电池性能、寿命及可靠性。

高熵合金材料及其制备方法、催化剂及其应用

NºPublicación:  CN120719192A 30/09/2025
Solicitante: 
清华大学
CN_120719192_A

Resumen de: CN120719192A

本申请涉及催化技术领域,公开了高熵合金材料及其制备方法、催化剂及其应用,包括第一金属元素与第二金属元素,所述第一金属元素包括Pt,所述第二金属元素包括Ni、Co、Mg、Bi、Sn中的至少4种,所述高熵合金材料的Pt‑Pt键配位数为0.9‑1.5。由此,有利于本申请提出的高熵合金材料在作为催化剂高效催化MOR反应的同时,具有单原子Pt抗CO中间体中毒的能力,具有较高的催化能力。

一种高温SOFC电堆阳极涂层及其制备方法

NºPublicación:  CN120727836A 30/09/2025
Solicitante: 
成都烁克科技有限公司
CN_120727836_PA

Resumen de: CN120727836A

本申请公开了一种高温SOFC电堆阳极涂层及其制备方法,涉及固体氧化物燃料电池技术领域。一种高温SOFC电堆阳极涂层,按质量百分比计,所述阳极涂层的原料包括:氧化镍50%‑60%、钇稳定氧化锆30%‑40%、氧化铈5%‑10%、纳米碳纤维1%‑3%、粘结剂2%‑5%和余量水。本申请的阳极涂层具有高催化活性、优异的耐久性和高度匹配的热膨胀性,且Ni颗粒在阳极涂层中保持良好的分散性,从而解决了传统Ni‑YSZ涂层在高温运行下存在的Ni团聚、碳沉积和热膨胀失配问题。

一种催化材料、甲烷燃料驱动的固体氧化物燃料电池重整催化层及制备方法与应用

NºPublicación:  CN120714642A 30/09/2025
Solicitante: 
南方科技大学
CN_120714642_PA

Resumen de: CN120714642A

本发明公开了一种催化材料、甲烷燃料驱动的固体氧化物燃料电池重整催化层及制备方法与应用,涉及催化剂和电池技术领域。催化材料的化学式为LaCoxNi0.5‑xAl0.5O3,x=0~0.5,采用溶胶‑凝胶法等方法制备得到。本发明还提供一种包括该催化材料的甲烷燃料驱动的固SOFC电池重整催化层,该催化材料负载在SOFC电池阳极侧。并提供了该催化层在SOFC电池的应用。本发明通过将该催化材料应用于SOFC阳极侧,形成催化层,该催化层的存在使得甲烷+二氧化碳燃料可以在SOFC电池内部进行高转化率的重整反应,提升甲烷SOFC的功率输出能力,减少阳极催化剂的碳沉积,增加电池长时间高功率输出的稳定性。

用于电化学电池的膜电极组件以及电化学电池

NºPublicación:  CN120731518A 30/09/2025
Solicitante: 
罗伯特·博世有限公司
CN_120731518_PA

Resumen de: WO2024175356A1

The invention relates to a membrane-electrode arrangement (1) for an electrochemical cell, in particular for a fuel cell or an electrolytic cell, having a membrane (2) which is arranged between two transport layers (3, 4) and, in at least one edge region (5), between two frame parts (6.1, 6.2) of a frame (6), the transport layer (3, 4) and the frame part (6.1, 6.2) at least of one side having a common connection region (7, 8) over which the membrane (2) extends. According to the invention, in at least one connection region (7, 8), preferably in an anode-side connection region (7), the transport layer (3) and the frame part (6.1) each have a flattened, bevelled, rounded and/or arcuate edge geometry (9, 10) on their side facing the membrane (2) in order to form a relief space (11) for the membrane (2). The invention also relates to an electrochemical cell having a membrane-electrode arrangement (1) according to the invention.

燃料电池系统和用于以高压运行燃料电池系统的运行方法

NºPublicación:  CN120731520A 30/09/2025
Solicitante: 
罗伯特·博世有限公司
CN_120731520_PA

Resumen de: WO2024165312A1

The invention relates to a fuel cell system (100) for converting energy. The fuel cell system (100) comprises: - a fuel cell stack (101) and - a computing unit (103). The computing unit (103) is configured so as to switch the fuel cell system (100) to an intermittent operation, wherein in the intermittent operation, the fuel cell system (100) is configured so as to switch repeatedly between a dry operation (211) of the fuel cell stack (101) and a humid operation (207) of the fuel cell stack (101), and, in the dry operation (211), set a degree of humidity in the fuel cell stack (101) which is reduced in comparison to the humid operation (207) and, in the humid operation (211), set a degree of humidity in the fuel cell stack (101) which is increased in comparison to the dry operation (207). The computing unit (103) is configured so as to only activate the intermittent operation when the pressure of an air mass flow supplied to the fuel cell stack (101) lies above a specified pressure threshold.

一种应用于电解液的空气直接冷却系统

NºPublicación:  CN223401631U 30/09/2025
Solicitante: 
大连融科储能技术发展有限公司
CN_223401631_U

Resumen de: CN223401631U

本实用新型属于全钒液流电池系统领域,公开了一种应用于电解液的空气直接冷却系统。包括开式冷却系统和闭式冷却系统。本实用新型利用空气作为冷却介质,电解液通过流经储罐的空气直接冷却。

燃料电池系统

NºPublicación:  CN120727871A 30/09/2025
Solicitante: 
株式会社爱信
CN_120727871_PA

Resumen de: CN120727871A

本发明涉及燃料电池系统,其提高系统的发电效率。燃料电池系统具备:包含燃料电池堆、使被从燃烧气体入口导入的可燃气体燃烧的燃烧部以及收纳它们的模块壳体的发电模块;燃料供给系统;以及循环系统。燃料供给系统包含燃料供给管路、以及燃料鼓风机。循环系统包含:与发电模块的燃料废气出口连接的燃料废气管路、设置在燃料废气管路的热交换器、从燃料废气管路的热交换器的下游侧分支并与燃烧气体入口连接的燃烧气体管路、从燃料废气管路的热交换器的下游侧分支并与燃料供给管路连接的回流管路、以及通过调整回流管路的压力而将通过热交换器之后的燃料废气以规定的分配比向燃烧气体管路和回流管路分配的调压阀。

一种氢燃料电池的保温装置

NºPublicación:  CN120727868A 30/09/2025
Solicitante: 
佛山市飞驰汽车科技有限公司
CN_120727868_PA

Resumen de: CN120727868A

本发明属于氢燃料电池技术领域,具体涉及一种氢燃料电池的保温装置,集成了热管理模块、高效的隔热层和温控装置,热管理模块通过循环管路与燃料电池堆体紧密相连,能迅速吸收并传导多余热量,实现高效热管理;隔热层包覆在燃料电池堆体外部,采用先进的保温材料,有效阻止了热量向外部环境的散失;而温控装置则实现了与热管理模块及燃料电池堆体的化联动,能够根据燃料电池堆体的实际温度实时调节热管理模块的工作状态,确保燃料电池堆体始终保持在最佳工作温度范围内,此装置不仅提高了能源利用效率,延长了燃料电池寿命,还为氢燃料电池在各种复杂工况下的稳定运行提供了有力保障。

一种燃料电池的故障检测方法、装置、设备、存储介质及程序产品

NºPublicación:  CN120727881A 30/09/2025
Solicitante: 
滇西应用技术大学珠宝学院上海汉翱新能源科技有限公司
CN_120727881_PA

Resumen de: CN120727881A

本发明实施例公开了一种燃料电池的故障检测方法、装置、设备、存储介质及程序产品。包括:获取待检测燃料电池的工作参数;其中,所述工作参数包括内部参数及外部参数,将所述至少一个关键特征输入第一故障检测神经网络,输出所述燃料电池的故障检测结果;其中,所述故障检测结果包括故障类型及故障程度。本发明实施例提供的燃料电池的故障检测方法,通过对包含内部参数和外部参数的工作参数进行预设统计学处理,以获得关键特征,并基于关键特征和第一故障检测神经网络确定燃料电池的故障检测结果,不仅可以降低神经网络模型的数据处理量,且可以提高燃料电池故障检测的准确性。

燃料电池系统

NºPublicación:  CN120727875A 30/09/2025
Solicitante: 
株式会社爱信
CN_120727875_PA

Resumen de: CN120727875A

本发明涉及燃料电池系统,其从燃料废气中很好地除去水蒸汽并且实现系统的小型化。燃料电池系统具备:包含燃料电池堆和模块壳体的多个发电模块;包含向多个发电模块供给燃料气体的多个燃料供给管路的多个燃料供给系统;包含在使从多个发电模块排出的燃料废气在各个热交换器中通过之后,向对应的燃料供给管路回流的多个回流管路的多个循环系统;存积在多个循环系统中通过由对应的热交换器冷凝燃料废气所含的水蒸汽而得到的冷凝水的多个冷凝水箱;以及支承多个发电模块、多个燃料供给系统以及多个冷凝水箱的框架。多个冷凝水箱设置于划分在框架中的比多个发电模块的设置位置靠下方的空间内。

一种基于陶瓷3D打印的扁管式SOFC梯度阳极及其制备方法

NºPublicación:  CN120727843A 30/09/2025
Solicitante: 
北京理工大学
CN_120727843_PA

Resumen de: CN120727843A

本发明公开了一种基于陶瓷3D打印的扁管式SOFC梯度阳极及其制备方法,涉及燃料电池制造技术领域。所述方法包括按照质量比计称取原料,制备SOFC阳极浆料;将SOFC阳极浆料加载至DLP打印机的液槽中,导入梯度模型并通过分层控制曝光参数进行打印,得到阳极生坯;将阳极生坯经酒精清洗后,进行梯度烧结,即得基于陶瓷3D打印的扁管式SOFC梯度阳极。本发明通过一体化成型和梯度烧结,获得兼具高传质效率、机械强度、电化学性能的梯度阳极,解决了传统工艺中层间结合力不足和烧结变形问题。

一种新型液流电池组装线用电堆压紧机构

NºPublicación:  CN223401632U 30/09/2025
Solicitante: 
东莞市冠逸自动化科技有限公司
CN_223401632_U

Resumen de: CN223401632U

本实用新型公开了一种新型液流电池组装线用电堆压紧机构,包括地轨线,地轨线的一侧设有压紧台,压紧台的顶部固定连接有四个定位柱,定位柱的顶部连接有固定顶台,固定顶台的底部设有压紧板,固定顶台的顶部固定安装有伺服气缸,伺服气缸的输出端与压紧板的顶部连接,地轨线的中部设有主轨,地轨线与压紧台之间设有行走小车,压紧台的顶部设有电堆座,压紧台的表面设有车导轨,压紧板的边角均固定连接有导向滑套,导向滑套与定位柱的表面滑动连接,本实用新型一种新型液流电池组装线用电堆压紧机构,整个电堆压紧机构能够自动将电堆产品运输到压紧台进行压紧作业,便于配合整个液流电池组装线的自动化加工,提高加工效率。

一种用于燃料电池系统的氢气流量比例阀

NºPublicación:  CN223399366U 30/09/2025
Solicitante: 
宁波太平洋电控系统有限公司江苏太平洋精锻科技股份有限公司
CN_223399366_U

Resumen de: CN223399366U

本实用新型公开了一种用于燃料电池系统的氢气流量比例阀,涉及阀门技术领域,包括阀体第一复合轴承和第二复合轴承,所述阀体的内部安装有骨架,且骨架上饶有漆包线,所述骨架上还装有左插针和右插针,且左插针和右插针装配成线圈总成,所述阀体的内部中下方安装有阀芯,且阀芯的下侧安装有硫化橡胶,所述阀芯的上侧安装有磁芯。该用于燃料电池系统的氢气流量比例阀,前轭铁处第一复合轴承和第二复合轴承的应用,采用了标准件,能降低加工难度,保证了磁芯在工作时无卡滞,提高了比例阀性能的稳定性,比例阀体积小型化,复合轴承导向及减摩设计,提高比例阀工作寿命,隔磁套结构能优化弹簧导向,提高弹簧的使用寿命,从而保证比例阀的可重复性。

电化学氢气压缩装置、氢气多级加压系统和氢气供应系统

NºPublicación:  CN223397811U 30/09/2025
Solicitante: 
南方科技大学
CN_223397811_U

Resumen de: CN223397811U

本申请属于电化学压缩机技术领域,更具体地说,是涉及一种电化学氢气压缩装置、氢气多级加压系统和氢气供应系统。电化学氢气压缩装置包括EHC电堆,所述EHC电堆包括依次堆叠设置的阳极、交换膜以及阴极;第一管路系统,所述第一管路系统用于为所述阳极提供氢气;第二管路系统,所述第二管路系统用于提供水并润湿所述交换膜以及用于输出所述阴极产生的氢气。本申请提供的电化学氢气压缩装置,省去了外部气化加湿系统和单独的控温设备,简化了结构、降低了成本,解决了现有采用进气管路中的气化加湿出现水蒸气冷凝而引起阳极水淹的问题,提高了电化学氢气压缩装置的稳定性和性能。

一种车载氢系统和燃料电池汽车

NºPublicación:  CN223396062U 30/09/2025
Solicitante: 
亚普汽车部件股份有限公司
CN_223396062_U

Resumen de: CN223396062U

本实用新型公开了一种车载氢系统和燃料电池汽车,包括氢系统框架、容纳腔、减压阀以及多个储氢瓶;储氢瓶的两端分别设有连接端,氢系统框架上设有连接板,连接端与连接板分别对应连接;位于中部的储氢瓶的瓶口处设有瓶口TPRD,位于边侧的储氢瓶的瓶口通过接头和高压管路与瓶口TPRD连接,瓶口TPRD还与容纳腔连接,容纳腔的瓶口通过高压管路与减压阀连接,且容纳腔的瓶口处设有瓶阀,以控制容纳腔与减压阀之间的连通,减压阀将高压氢气减压至燃料电池所需要的压力并供给至燃料电池系统。本实用新型满足安全法规的基础上,可以实现减少瓶阀及TPRD的数量,有效简化布局,提升装配效率及降低成本的作用。

一种高温固体氧化物燃料电池电堆电解质阳极涂层及其制备方法

NºPublicación:  CN120727837A 30/09/2025
Solicitante: 
成都烁克科技有限公司
CN_120727837_PA

Resumen de: CN120727837A

本申请公开了一种高温固体氧化物燃料电池电堆电解质阳极涂层及其制备方法,涉及固体氧化物燃料电池技术领域。一种高温固体氧化物燃料电池电堆电解质阳极涂层,按重量份计,所述阳极涂层的原料包括:氧化镍50份‑60份、掺钆氧化锆30份‑40份、三氧化二铁5份‑8份和粘结剂2份‑5份。本申请的阳极涂层导电率优异,且1000小时运行后衰减率仅2.5%,热稳定性高,热膨胀系数与YSZ电解质接近,热膨胀高度匹配,兼具高导电率、优异的抗氧化性和长期稳定性,并优化了热膨胀匹配性,从而解决了传统Ni‑YSZ涂层热膨胀失配、抗氧化性不足以及长期稳定性差的问题。

一种燃料电池系统的温度控制方法

NºPublicación:  CN120727882A 30/09/2025
Solicitante: 
上海氢通能源集团有限公司
CN_120727882_PA

Resumen de: CN120727882A

本申请涉及燃料电池系统技术领域,公开了一种燃料电池系统的温度控制方法,包括将动力电池的SOC划分为全力加热区间、动态调整区间以及缓慢加热区间;S2、获取实际环境温度和动力电池的实际SOC;S3、判断实际环境温度是否达到低温阈值;S4、若实际环境温度达到低温阈值,则判断动力电池的实际SOC所处状态区间;S5、根据动力电池的实际SOC所处状态区间调整对燃料电池的加热强度;S6、根据天气预报对未来时段的气温预测获取未来时段环境温度;S7、若未来时段的环境温度达到低温阈值,则执行步骤S4和步骤S5;本申请在保证低温环境下对燃料电池的加热效率的同时,充分利用能源,且提高了系统的稳定性。

固体氧化物型电解电池系统

NºPublicación:  CN120731293A 30/09/2025
Solicitante: 
株式会社爱信
CN_120731293_PA

Resumen de: WO2024195700A1

This solid oxide-type electrolytic cell system is provided with: a solid oxide-type electrolytic cell; a combustion unit that burns fuel electrode off-gas from a fuel electrode of the solid oxide-type electrolytic cell; a case having heat insulation properties and housing the solid oxide-type electrolytic cell and the combustion part; a water/steam supply unit for supplying water or steam to a fuel supply line connected to the fuel electrode; a preheating unit that is provided in the case and that preheats the water or steam flowing in the fuel supply line by means of combustion heat from the combustion unit; a condensing unit that is provided outside the case and that condenses the steam contained in the fuel electrode off-gas from the fuel electrode; and a recirculation line for combustion for recirculating, by driving a pump, a part of the fuel electrode off-gas that has passed through the condensing unit, and supplying the recirculated fuel electrode off-gas to the combustion unit.

燃料电池系统

NºPublicación:  CN120727874A 30/09/2025
Solicitante: 
株式会社爱信
CN_120727874_PA

Resumen de: CN120727874A

本发明涉及燃料电池系统,其在使燃料废气通过热交换器并向燃料供给管路回流的系统中,从回流到燃料供给管路的燃料废气中高效地除去冷凝水。燃料电池系统具备:包含燃料电池堆的发电模块、燃料供给系统、循环系统以及冷凝水管路。燃料供给系统包含:与和阳极的入口连结的发电模块的燃料入口及燃料供给源连接的燃料供给管路、以及燃料鼓风机。循环系统包含:连接在与阳极的出口连结的发电模块的燃料废气出口的燃料废气管路、热交换器、与燃料供给管路的热交换器的下游侧和燃料供给管路连接的回流管路。冷凝水管路从燃料废气管路的热交换器的下游侧分支,并排出冷凝水。回流管路在比燃料废气管路与冷凝水管路的分支点靠上方的位置与燃料供给管路连接。

燃料电池堆

NºPublicación:  CN120727900A 30/09/2025
Solicitante: 
本田技研工业株式会社
CN_120727900_PA

Resumen de: CN120727900A

本发明提供一种燃料电池堆(100)具备:电池层叠体(10)、包围电池层叠体(10)的壳体(30)、与电池层叠体(10)的端面紧贴而配置的封闭部(40)、以及多个分隔构件(50),其以将壳体(30)的内侧面(301)与电池层叠体(10)的外侧面(110)之间的空间分割成多个空间(SP11SP14)的方式延伸。在封闭部(40)设置空气取入口(430),在壳体(30)设置空气排出口(62~64)。封闭部(40)具有形成将空气取入口(430)、多个空间(SP11~SP14)、空气排出口(62~64)连通起来的连通流道(PA1~PA3)的通道形成部(425~427)。

电解液储罐

NºPublicación:  CN223401630U 30/09/2025
Solicitante: 
寰泰储能科技股份有限公司
CN_223401630_U

Resumen de: CN223401630U

本实用新型提供了一种电解液储罐,包括罐体、集气部、气流管道和氯气处理部,集气部设置在罐体侧边,集气部包括至少两条集气管,每条集气管的进气口都连通至罐体,所有的集气管的出气口都连通至气流管道,且所有的集气管都处于不同的高度,每个集气管上都设置有阀门,气流管道的进气口连通至所有集气管的出气口,气流管道的出气口连通至氯气处理部的进气口,氯气处理部具有氯气吸收剂。本实用新型能够及时处理全钒液流电池的副产物氯气,减少电解液储罐正压危险。

燃料电池系统

NºPublicación:  CN120727909A 30/09/2025
Solicitante: 
株式会社爱信
CN_120727909_PA

Resumen de: CN120727909A

本发明涉及一种燃料电池系统,其实现燃料电池系统的小型化。燃料电池系统具备:近似长方体状的发电模块,其包含燃料电池堆和模块壳体,并在模块壳体形成有与阳极的入口连结的燃料气体入口、与阳极的出口连结的燃料废气出口以及与阴极的入口连结的氧化剂气体入口;燃料供给系统,其包含与发电模块的燃料气体入口连接的燃料供给管路和设置在燃料供给管路的燃料鼓风机;以及氧化剂供给系统,其向发电模块的氧化剂气体入口供给氧化剂气体。在发电模块的同一表面具有燃料气体入口以及燃料废气出口,燃料供给系统设置为与该同一表面相对。

电化学式氢升压系统

NºPublicación:  CN120727870A 30/09/2025
Solicitante: 
本田技研工业株式会社
CN_120727870_PA

Resumen de: CN120727870A

本发明提供一种电化学式氢升压系统。电化学式氢升压系统(10、100)具有氢升压堆(16)、电源装置(28)、氢供给装置(14)、存储装置(24)和返回流道(94),其中,氢升压堆具有单体电池,该单体电池包含电解质膜、设置于电解质膜的一表面的阳极电极和设置于电解质膜的另一表面的阴极电极,所述氢升压堆中,向阳极电极供给氢气,由阴极电极将升压的所述氢气导出;电源装置对所述氢升压堆施加电压;氢供给装置向所述氢升压堆供给氢气;存储装置存储由所述氢升压堆导出的所述氢气;返回流道将由所述氢升压堆导出的所述氢气向所述氢供给装置回流,在所述返回流道上设置有存储所述氢气的氢存储罐。据此,能够抑制电化学式氢升压系统的氢制造效率的降低。

发电电池

NºPublicación:  CN120727890A 30/09/2025
Solicitante: 
本田技研工业株式会社
CN_120727890_PA

Resumen de: CN120727890A

本发明提供一种发电电池,具备:膜电极结构体,其具有膜电极接合体和支承膜电极接合体的周缘部的框构件;以及第一隔板和第二隔板,它们分别与膜电极结构体的第一表面和第二表面相向地配置。第一隔板和第二隔板具有朝向膜电极接合体突出设置并相互大致平行地延伸的、分别形成第一气体和比第一气体低压的第二气体的多个发电用流道的隔壁的多个第一流道肋和多个第二流道肋。膜电极接合体的第一气体扩散层的沿着第一气体的流动方向的端部位于比膜电极接合体的第二气体扩散层的沿着第二气体的流动方向的端部靠内侧的位置,并且位于比第二流道肋的端部靠内侧的位置。

发电电池和燃料电池堆

NºPublicación:  CN120727865A 30/09/2025
Solicitante: 
本田技研工业株式会社
CN_120727865_PA

Resumen de: CN120727865A

本发明提供一种发电电池,具备:膜电极结构体(2),其具有包括电解质膜和电极的膜电极接合体(20)以及支承膜电极接合体(20)的树脂制的框构件(21、22);以及金属制的隔板(3),其以在与膜电极结构体(2)之间形成供反应气体流动的流道的方式,与膜电极结构体(2)相向地配置。框构件(21、22)的外缘部具有比隔板(3)的外缘部(3e)向外侧突出的突出部(22a),并且构成为包括突出部(22a)的外缘的第一区域(AR1)的厚度比第一区域(AR1)的内侧的第二区域(AR2)的厚度厚。

燃料电池堆

NºPublicación:  CN120727899A 30/09/2025
Solicitante: 
本田技研工业株式会社
CN_120727899_PA

Resumen de: CN120727899A

本发明提供一种燃料电池堆(100),具备电池层叠体(10)、包围电池层叠体(10)的壳体(30)、一端面经由在壳体的侧壁(300)设置的开口(305)与电池层叠体的外侧面抵接而限制电池层叠体在与规定方向正交的方向上移动的限制构件(50)、设置为支承限制构件(50)的另一端面并且覆盖开口的支承构件(56)、将支承构件(56)朝向侧壁(300)的表面按压的按压构件(57)。壳体(30)在侧壁(300)的外侧具有从侧壁的表面隔开规定距离与侧壁大致平行地延伸的外侧侧壁(310),按压构件以限制构件对电池层叠体施加规定的按压力的方式夹设在外侧侧壁与支承构件之间。

膜电极构造体的制造方法及膜电极构造体

NºPublicación:  CN120727888A 30/09/2025
Solicitante: 
本田技研工业株式会社
CN_120727888_PA

Resumen de: CN120727888A

本发明的课题在于提供在保护片剥离时能够仅剥离保护片的膜电极构造体的制造方法及膜电极构造体。膜电极构造体的制造方法具有下述工序:将框状部件载置于吸附板上的框状部件载置工序;以电极催化剂层的外周缘部与框状部件的开口的缘部重叠的方式将电极催化剂层载置于框状部件的电极催化剂层载置工序;将电解质膜载置于电极催化剂层的与框状部件相反一侧的电解质膜载置工序;以及在层叠电解质膜之后剥离保护片的保护片剥离工序。电解质膜的外周缘部配置在比电极催化剂层的外周缘部靠外侧。在电解质膜载置工序中,从电解质膜的外周缘部到开口的缘部依次形成框状部件与电解质膜层叠的双层部以及框状部件、电极催化剂层及电解质膜层叠的三层部。

燃料电池用隔板的制造方法

NºPublicación:  CN120727861A 30/09/2025
Solicitante: 
本田技研工业株式会社
CN_120727861_PA

Resumen de: CN120727861A

本发明提供一种燃料电池用隔板的制造方法,包括:对具有第一表面(3Rb)和第二表面(3Ra)的金属制的隔板基材(3a)进行冲压加工而形成凹凸状,以使在第一表面(3Ra)形成供反应气体流动的气体流道(PAa),在第二表面(3Ra)形成供冷却介质的冷却流道(PAw)的冲压工序;以增大第二表面(3Ra)的表面粗糙度的方式对第二表面(3Ra)进行粗化加工的粗化工序;以及在第一表面(3Rb)和粗化工序后的第二表面(3Ra)形成具有耐腐蚀性的皮膜的成膜工序。

再生型燃料电池系统及其运转方法

NºPublicación:  CN120727873A 30/09/2025
Solicitante: 
本田技研工业株式会社
CN_120727873_PA

Resumen de: CN120727873A

本发明涉及再生型燃料电池系统及其运转方法。再生型燃料电池系统(10)具有水电解装置(12)、氢升压装置(18)以及燃料电池(22),在所述再生型燃料电池系统中,在从所述水电解装置(12)向所述燃料电池(22)供给氧气的氧供给路(43)与真空空间之间、以及从所述氢升压装置(18)向所述燃料电池(22)供给氢气的第二氢供给路(44)、在所述氢升压装置(18)中没有参与升压的氢气流动的氢排出路(35)以及从所述水电解装置(12)向所述氢升压装置(18)供给的氢气流动的第一氢供给路(32)与所述真空空间之间具备外部开放阀(81~84)。

层叠构造体的制造装置及制造方法

NºPublicación:  CN120727864A 30/09/2025
Solicitante: 
本田技研工业株式会社
CN_120727864_PA

Resumen de: CN120727864A

本发明提供在制造膜电极构造体时能够同时进行电解质膜的短路检查以能够实现制造时间缩短和成本降低的层叠构造体的制造装置及制造方法。包括相对配置的一对压接部件(21)和在作为一对压接部件(21)中至少一个的常温压接部件(22)中的面向作为另一个加热压接部件(23)的部位具有柔软性和导电性的缓冲件(24),还包括:压接机构(20A),其将层叠的多个片状部件夹持在常温压接部件(22)加热压接部件(23)之间并按压以进行压接,构成为膜电极构造体(10);以及短路检查电路(30),其在将多个片状部件压接为一体而构成为膜电极构造体(10)的工序中检测膜电极构造体(10)内有无短路部位。

燃料电池堆及燃料电池堆的制造方法

NºPublicación:  CN120727895A 30/09/2025
Solicitante: 
本田技研工业株式会社
CN_120727895_PA

Resumen de: CN120727895A

本发明抑制层叠单电池与缓冲部件接触并将层叠单电池配置在电池组壳体内。燃料电池堆(100)包括层叠单电池(1)、电池组壳体(30)和末端单元(20)。燃料电池堆(100)在电池组壳体(30)与层叠单电池(1)之间还具备层叠单电池(1)的碰撞承受用的缓冲部件(40),缓冲部件(40)在插入于电池组壳体(30)的前端设有与设置于末端单元的紧固孔(24)进行上下方向定位的第1层差部(41),末端单元(20)在与缓冲部件(40)抵接的位置设有进行该缓冲部件(40)的左右方向定位的第2层差部(25),第1层差部(41)与第2层差部(25)嵌合,紧固孔(24)由紧固部件(50)紧固,进行末端单元(20)和缓冲部件(40)的定位。

燃料电池电堆及其组装方法、燃料电池

NºPublicación:  CN120727898A 30/09/2025
Solicitante: 
舍弗勒技术股份两合公司
CN_120727898_PA

Resumen de: CN120727898A

本申请提供燃料电池电堆及其组装方法、燃料电池。燃料电池电堆包括:沿第一方向(X)堆叠在一起的多个堆叠层;以及紧固单元(12)。紧固单元(12)包括至少一个紧固杆(14)、支撑板(15)以及缓冲板(16),紧固杆(14)形成为长条状并且沿第一方向(X)延伸,支撑板(15)和缓冲板(16)具有绝缘性并且形成为板状,紧固杆(14)包括主体部(141)和两个端部,两个端部分别固定于在第一方向上最靠外侧的两个堆叠层,以从第一方向(X)上的两侧对多个堆叠层进行夹持,支撑板(15)和缓冲板(16)位于紧固杆(14)的主体部(141)与堆叠层之间。

一种燃料电池系统控制方法、装置、设备及介质

NºPublicación:  CN120727877A 30/09/2025
Solicitante: 
未势能源科技有限公司
CN_120727877_A

Resumen de: CN120727877A

本申请公开了一种燃料电池系统控制方法、装置、设备及介质,应用于燃料电池技术领域,包括确定燃料电池系统处于紧急停机状态时,控制氢气喷射比例阀关闭,控制排气排水阀开启以使阳极系统开始泄压;在阳极系统泄压过程中,基于阳极系统的当前氢气压力确定阴极系统的目标空气压力,基于目标空气压力控制背压阀开度以使实际空气压力满足目标空气压力,以及基于尾排处的当前氢气流量确定目标空气流量,基于目标空气流量控制空气压缩机转速以使实际空气流量满足目标空气流量,从而实现了基于氢气压力和流量变化对空气压力和流量的动态调节,避免了燃料电池系统紧急停机过程中由于氢空腔压差超标导致质子交换膜损伤继而造成电堆损坏或寿命衰减问题。

新型铁基络合物及在电化学储能中的应用

NºPublicación:  CN120718072A 30/09/2025
Solicitante: 
国科大杭州高等研究院
CN_120718072_PA

Resumen de: CN120718072A

本发明提供一系列具有氧化还原活性的新型金属基络合物,所述新型铁基络合物的结构式如下式所示:其中,为取代或未取代的5‑12元的含氮杂芳环、取代或未取代的5‑12元的含氧杂芳环、取代或未取代的5‑12元的含硫杂芳环、碳卡宾结构;M1选自下组:Fe(II)、Fe(III);x、y选自下组:0‑20;新型铁基络合物为电中性。本发明还研究这些新型金属基络合物在水系液流电池等电化学储能系统中的应用。

燃料电池的歧管构造

NºPublicación:  CN120727907A 30/09/2025
Solicitante: 
本田技研工业株式会社
CN_120727907_PA

Resumen de: CN120727907A

本发明的课题为,能够通过简单构造使发电效率提高。单位电池(4)具有设于膜电极构造体(5)与隔膜(6)之间的流体通路(20)、和将连通孔(7)与流体通路(20)连接的连接路(13)。流体歧管(10)使开口形成于各单位电池(4)的连通孔(7)连通并在层叠电池堆栈(2)的单位电池(4)的层叠方向上延伸,向各个单位电池(4)供给流体(H)。流体歧管(10)具有在与堆栈外壳(3)的外部连通的一端(10a)设有使流体(H)流入的入口(11a)的入口部(11)、和位于与入口部(11)为相反侧的另一端(10b)的封闭部(12)。并且,入口部(11)设有使流入流体歧管(10)的流体(H)向连接路(13)侧偏斜的偏斜部(9)。

一种氢燃料电池的冷却水路的加热保温装置及方法

NºPublicación:  CN120727869A 30/09/2025
Solicitante: 
佛山市飞驰汽车科技有限公司
CN_120727869_PA

Resumen de: CN120727869A

本发明属于汽车加热保温技术领域,具体涉及一种氢燃料电池的冷却水路的加热保温装置及方法,通过设置节温阀、小循环水路、加热器组件以及精确的温度传感器及电子控制组件,旨在实现在各种工况下对冷却液进行智能化、精细化的温度管理,尤其是在低温停车阶段,通过水泵持续以最小功率模式运行,并结合能量管理组件合理调配车载电池或其他储能设备的能量供给,确保冷却水路内的液体保持流动并得到适度加热,防止结冰现象的发生,同时优化了整个系统的能效比和环境适应性。采用了节能的加热保温方式,通过精确的加热控制手段和成本较低的设备实现对燃料电池汽车各个部件的加热保温,从而提高了燃料电池汽车的能效和性能。

一种全钒液流电池及其双极板、单电池与电堆

NºPublicación:  CN120727862A 30/09/2025
Solicitante: 
江苏亨通储能科技有限公司
CN_120727862_PA

Resumen de: CN120727862A

本发明提供了一种全钒液流电池及其双极板、单电池与电堆,所述双极板的一侧表面设置有叶脉式流道;所述叶脉式流道包括呈镜像对称的两个单侧通道,每个单侧通道包括入口流道、四条分支流道及出口流道;入口流道出口连通至四条分支流道的入口,四条分支流道的出口连通至出口流道的入口;由远离两个所述单侧通道的对称轴线的方向至靠近对称轴线的方向,四条所述分支流道分别为第一流道、第二流道、第三流道与第四流道;本发明提供的全钒液流电池的双极板,通过设置叶脉式流道,能够显著降低电解液流动的压降损失,实现电解液在电极表面的均匀流量分配,同时具备对动态流量变化的自适应调节能力。

燃料电池电堆的活化方法、装置、车辆及存储介质

NºPublicación:  CN120716533A 30/09/2025
Solicitante: 
中国第一汽车股份有限公司
CN_120716533_PA

Resumen de: CN120716533A

本申请涉及燃料电池技术领域,特别涉及一种燃料电池电堆的活化方法、装置、车辆及存储介质。该方法包括:基于当前车辆的发动机运行与静置时间加权值,判断出发动机满足预设的健康状态检测条件的情况下,基于燃料电池电堆的当前健康状态,判断燃料电池电堆是否满足预设活化条件;在燃料电池电堆满足预设活化条件的情况下,判断出整车散热能力满足预设的电池SOC状态检测条件时,获取动力电池SOC状态,并基于动力电池SOC状态对燃料电池电堆执行低温活化操作。由此,解决了现有技术的阴极饥饿法由于对控制器的精度有较高的要求,难以精准控制,易对电堆造成不可逆损坏的问题,有效提升电堆性能和寿命。

燃料电池的排水系统及其控制方法、控制装置及电子设备

NºPublicación:  CN120727876A 30/09/2025
Solicitante: 
中国第一汽车股份有限公司
CN_120727876_PA

Resumen de: CN120727876A

本发明涉及燃料电池技术领域,公开了一种燃料电池的排水系统及其控制方法、控制装置及电子设备,其中,系统包括:储水腔体,储水腔体底部设置有排水阀;液位传感器,液位传感器设置在储水腔体内部;排氢阀,排氢阀设置在储水腔体侧壁,排氢阀的设置位置高于液位传感器的设置位置。本发明的排水系统,能够解决燃料电池系统运行过程中的储水状态不明,排水阀开启、关闭时长不定造成的排水时氢气损失的问题,可以实现排水阀长时液封,可以有效降低排水阀开启时间过长导致的氢气浪费的情况,有效降低阳极压力波动次数,使储水腔体内的液位始终处于合理范围内,有效降低材料成本。

一种高耐久性燃料电池系统及方法

NºPublicación:  CN120727894A 30/09/2025
Solicitante: 
山东国创燃料电池技术创新中心有限公司
CN_120727894_PA

Resumen de: CN120727894A

本发明涉及一种高耐久性燃料电池系统及方法,包括电堆系统,电堆系统的燃料进口和燃料出口接入燃料循环系统,电堆系统的空气出口与燃烧器连接,燃烧器通过连接管路与燃气循环管路连接,燃烧器的尾气排出管连接至空气预热器的热侧接口,尾气排出管与通过第一引射管路与第一引射器的引射接口连接,第一引射器的出口连接至空气预热器的冷侧进口,第一引射器的进口通过第一阀门与风机连接,空气预热器的冷侧出口连接至电堆的空气进口,电堆系统的空气出口还通过第二引射管路与第二引射器连接,第二引射器的出口与空气预热器的冷侧进口连接,进口通过第二阀门与风机连接,本发明的系统耐久性好。

一种等离子体处理的柔性石墨板及其制备方法

NºPublicación:  CN120717810A 30/09/2025
Solicitante: 
浙江天能氢能源科技有限公司
CN_120717810_PA

Resumen de: CN120717810A

本发明公开了一种等离子体处理的柔性石墨板及其制备方法,涉及质子交换膜燃料电池技术领域。本发明通过激发等离子体处理气体,对模压得到的预制板进行前处理,利用等离子体清理因模压而产生的细小石墨颗粒,同时对柔性石墨板进行表面氧化,生成含氧官能团,提高表面的润湿性,降低水接触角,促进浸渍树脂渗透,从而降低柔性石墨板的气孔率和提升物理强度。

液流电池堆封装设计方法及液流电池堆

NºPublicación:  CN120724707A 30/09/2025
Solicitante: 
南方科技大学
CN_120724707_PA

Resumen de: CN120724707A

本申请公开一种液流电池堆封装设计方法及液流电池堆,该方法包括:建立液流电池堆模型,液流电池堆模型至少包括:两个极板、设置于相邻的两个极板之间的隔膜、分别设置于两个极板远离隔膜的一侧的正负极电池片、分别设置于正负极电池片远离隔膜的一侧的两个异型永磁体;计算异型永磁体的磁化强度;根据磁化强度分别计算异型永磁体的磁化电流体密度和异型永磁体的表面磁化电流面密度;根据磁化电流体密度和表面磁化电流面密度计算两个异型永磁体之间的初始磁场力;根据预设的条件修正初始磁场力,以使得液流电池堆模型受到的夹紧力达到封装要求。本申请在保证液流电池堆性能的前提下,能够给液流电池堆提供均匀的夹紧力,提高液流电池堆的稳定性。

一种具有可调节式喷嘴的燃料电池引射器

NºPublicación:  CN120720286A 30/09/2025
Solicitante: 
浙江天能氢能源科技有限公司
CN_120720286_PA

Resumen de: CN120720286A

本发明公开了一种具有可调节式喷嘴的燃料电池引射器,包括引射器主体,引射器主体具有引射腔,引射器主体的一端具有用于安装喷嘴的喷嘴安装孔,所述喷嘴上设有安装支架,所述引射器主体上设有驱动机构,所述驱动机构驱动所述安装支架沿所述引射器主体的轴向移动从而调节所述喷嘴安装在所述喷嘴安装孔内的深度。本申请燃料电池引射器通过驱动机构驱动整个喷嘴结构沿所述引射器主体的轴向移动从而调节所述喷嘴安装在所述喷嘴安装孔内的深度,以调整喷嘴出口与引射器喉部之间的距离,达到最佳距离值,提高引射器工作范围,保证燃料电池引射器处于最优工作状态。

燃料电池装置

NºPublicación:  CN120731519A 30/09/2025
Solicitante: 
罗伯特·博世有限公司
CN_120731519_PA

Resumen de: WO2024175617A1

The invention relates to a fuel cell device having a first fuel cell unit (14) and at least one further fuel cell unit (16, 18, 20, 22), which can be operated independently of one another, a gas supply unit (24) which has at least one central fuel supply line (26, 32) comprising at least one first gas outlet (28, 34) and a further gas outlet (30, 36) for supplying the fuel cell units (14, 16, 18, 20, 22) with a first gas, in particular fuel (12) and/or hydrogen. According to the invention, the fuel cell device has a first coupling unit (38) for releasably connecting the first fuel cell unit (14) to the first gas outlet (28, 34) of the central fuel supply line (26, 32) and at least one further coupling unit (40, 42, 44, 46) for releasably connecting the at least one further fuel cell unit (16, 18, 20, 22) to the further gas outlet (30, 36) of the at least one central fuel supply line (26), wherein the coupling units (38, 40, 42, 44, 46) each have closing elements (48, 50) for directly closing the gas outlets (28, 30, 34, 36).

燃料电池阳极压力与排氢协同控制方法、装置、车辆、介质和产品

NºPublicación:  CN120727884A 30/09/2025
Solicitante: 
中国第一汽车股份有限公司
CN_120727884_PA

Resumen de: CN120727884A

本申请涉及能源控制技术领域,特别涉及一种燃料电池阳极压力与排氢协同控制方法、装置、车辆、介质,其中,方法包括:获取当前时刻阳极侧氮气浓度、阳极入口压力、比例阀开度和排氢阀开度;根据当前时刻的阳极入口压力、比例阀开度和排氢阀开度,估计当前时刻的阳极侧排氢流量和预测下一时刻的阳极入口压力;若当前时刻的阳极侧氮气浓度大于第一浓度阈值,则根据当前时刻的阳极侧排氢流量控制排氢阀执行排氢动作,并以当前时刻的阳极侧排氢流量作为前馈信号,根据当前时刻的阳极入口压力和下一时刻的阳极入口压力对比例阀进行比例积分控制。由此,解决了相关技术排氢固定、压力控制依赖传感器,难应对动态工况,易致氢气浪费和压力波动等问题。

一种适用于高原电动农机的移动充电设备及蓄放电方法

NºPublicación:  CN120716498A 30/09/2025
Solicitante: 
昆明理工大学
CN_120716498_PA

Resumen de: CN120716498A

本发明公开了一种适用于高原电动农机的移动充电设备及蓄放电方法,包括:半挂式车身、储能车厢、光伏发电与集热装置、太阳能光伏板、蓄电池组、集热装置、电解水制氢池、储氢罐、锅炉装置、汽轮发电机组以及燃料电池发电系统,本发明通过集成太阳能发电与集热、固体氧化物电解水制氢、汽轮机组发电、燃料电池发电等技术,实现对电动农机的便捷补能。该设备为高效、环保的能源供应平台,能够实现自动化控制和远程管理,提高操作的便捷性和效率。同时,采用汽轮机发电和燃料电池技术替代传统柴油发电机,降低污染物排放,符合绿色能源和可持续发展的需求。此外,设备在闲置时可充当储能设备,实现能源的削峰填谷,以促进农业现代化和可持续发展。

一种高功率密度抗积碳固体氧化物燃料电池片及其制备方法

NºPublicación:  CN120727856A 30/09/2025
Solicitante: 
上海中弗新能源科技股份有限公司
CN_120727856_A

Resumen de: CN120727856A

本发明属于燃料电池材料技术领域,具体涉及一种高功率密度抗积碳固体氧化物燃料电池片及其制备方法。该电池片包括阳极层、电解质层和阴极层,其中阳极层为掺杂有SrTiO3和Ni1Cu2的Ni/YSZ复合材料,电解质层为Y2O3、Rb5BiMo4O16和ZrO2制备的复合材料,阴极层为LnBaCo2O5.5+δ稀土钙钛矿材料。本发明通过协同优化各层材料组成及制备工艺,显著提升了电池片的氧离子电导率、气密性和抗积碳能力,实现了高温条件下的高功率密度输出和长期稳定运行。

一种耐高电位腐蚀复合涂层及其制备方法与应用

NºPublicación:  CN120719296A 30/09/2025
Solicitante: 
中国科学院宁波材料技术与工程研究所
CN_120719296_PA

Resumen de: CN120719296A

本发明公开了一种耐高电位腐蚀复合涂层及其制备方法与应用。所述耐高电位腐蚀复合涂层包括依次形成于作为基体的金属双极板表面的金属过渡层、类石墨非晶碳层和SnO2封孔层;其中,所述SnO2封孔层通过原子层沉积的方式制备得到。本发明提供的耐高电位腐蚀复合涂层通过在非晶碳涂层表面沉积SnO2层,起到封闭非晶碳缺陷的作用,该耐高电位腐蚀复合涂层在1.6V的高电位腐蚀下具有优异的耐腐蚀防护性能。

一种电解液在线修复装置及方法

NºPublicación:  CN120727891A 30/09/2025
Solicitante: 
四川化工集团有限责任公司成都工程分公司
CN_120727891_PA

Resumen de: CN120727891A

本发明涉及电解液修复技术领域,具体涉及一种电解液在线修复装置及方法。该装置用于修复价态失衡的钒电池电解液,该装置包括第一储罐、修复电堆和流向调节组件;所述第一储罐用于盛装修复液;所述修复电堆包括由隔膜分离的正极侧和负极侧;在所述正极侧设置有第一接口和第二接口,所述第一接口和所述第二接口均连接至所述第一储罐;所述负极侧连接至钒电池储能系统中盛装待修复电解液的第二储罐;所述流向调节组件用于调整所述修复液在所述正极侧内的流向。该装置通过优化碳毡结构和修复液循环方式,能够促进修复电堆中反应气体的排出,进而确保钒电池电解液的修复效率。

一种氢能源电堆壳体结构

NºPublicación:  CN120727905A 30/09/2025
Solicitante: 
杭州卡涞复合材料科技有限公司
CN_120727905_PA

Resumen de: CN120727905A

本发明属于技术领域,尤其涉及一种氢能源电堆壳体结构;包括:壳体本体,其上设有通风槽;空气引导部,设置在壳体本体内;防水组件,设置在空气引导部的前方;其中,空气引导部包括多个彼此间隔设置的百叶窗组件,相邻的百叶窗组件之间限定有用于引入空气的流入路径;防水组件包括设置在空气引导部前方的挡板,以及设置在挡板上的通孔。挡板结构与百叶窗组件的倾斜设置,阻挡雨水直接侵入壳体内部,避免电子设备因雨水或冷凝水损坏。壳体通过一体成型的复合结构,大幅度减轻重量,提升壳体抗冲击性能、密封性、绝缘和耐腐蚀。本发明提供一种能够在确保通风性能的同时,最大限度地减少外部雨水通过通风孔流入的氢能源电堆壳体结构。

一种模块化装配式氢燃料电池

NºPublicación:  CN120727908A 30/09/2025
Solicitante: 
协氢(上海)新能源科技有限公司协氢(池州)氢能科技有限公司
CN_120727908_PA

Resumen de: CN120727908A

本发明涉及燃料电池技术领域,具体是涉及一种模块化装配式氢燃料电池,包括至少两个燃料电池模块,模块包括电池堆、下端板和上端板,电池堆设有流体输入通道与流体输出通道,下端板设有连通流体输入通道的第一流体腔,周侧设下连接槽,嵌装用于连接相邻下端板的下连接条,其上设连通相邻第一流体腔的下流体连通口,上端板设有连通流体输出通道的第二流体腔,周侧设上连接槽,嵌装用于连接相邻上端板的上连接条,其上设连通相邻第二流体腔的上流体连通口,氢气与氧气依次经第一流体腔、流体输入通道、电池堆反应腔、第二流体腔及流体输出通道流动,通过上连接条和下连接条实现模块间稳固连接及工作流体通路的连续性,避免额外复杂管路布置。

一种盐包水型半固态悬浮液及其制备方法和应用

NºPublicación:  CN120727892A 30/09/2025
Solicitante: 
深圳大学
CN_120727892_PA

Resumen de: CN120727892A

本发明提供了一种盐包水型半固态悬浮液及其制备方法和应用。本发明的盐包水型半固态悬浮液,组分包括固态活性物、固体导电碳和盐包水型电解液,所述盐包水型电解液包括电解质、水和共溶剂,所述盐包水型电解液的浓度≥10mol/L,所述共溶剂为1,3‑二氧戊环,所述水和共溶剂的体积比为1:1~3。其中,共溶剂分子的加入改变了盐包水型电解液的体相和界面结构,能够同时保持宽的电化学稳定窗口,具有不易燃性和耐低温性。

一种高透氧的膜电极及其制备方法

NºPublicación:  CN120727889A 30/09/2025
Solicitante: 
上海交通大学
CN_120727889_PA

Resumen de: CN120727889A

本发明涉及一种高透氧的膜电极及其制备方法,膜电极包括质子交换膜,以及质子交换膜两侧设置的阳极催化层和阴极催化层,阳极催化剂浆料包括质量比为1:(1~10):(10~1000)的阳极催化剂、离聚物和分散溶剂;所述阴极催化剂浆料包括质量比为1:(1~10):(1~10):(10~1000)的阴极催化剂、离聚物、离子液体和分散溶剂。与现有技术相比,本发明针对燃料电池催化层内多孔碳载体的氧气传质困难问题,通过将离子液体与离聚物预先混合再制备浆料进行喷涂制备膜电极的方法,减弱离聚物薄膜在催化剂表面形成的紧密结构,提高离聚物薄膜分布的均匀性,显著降低局域氧气传质阻力,提高燃料电池在大电流密度下的性能。

一种液流电池用硬质电极及制备方法

NºPublicación:  CN120719527A 30/09/2025
Solicitante: 
嘉兴博合新材料有限公司
CN_120719527_PA

Resumen de: CN120719527A

本发明公开了一种液流电池用硬质电极及制备方法。本发明将石墨化好的石墨毡或者石墨布裁切成片,然后直接通过CVI工艺沉积无定形碳,使其硬度达到邵氏硬度50‑70度;在连续炉中通入氧化性气体或氧化性气体和氮气的混合气,使其表面接枝亲水官能团和促进电化学活性团能团,使得其硬度保持邵氏硬度≥40度,且具有优异的亲水性。本发明有效解决了现有液流电池电极织物制备工艺需要高压缩来降低接触电阻,高压缩对电极会造成较大破坏,也可能造成质子膜的损伤,同时柔性织物机械稳定性较差,长期使用存在风险和安全隐患的技术问题。

一种能量梯级利用的氨燃料电池发电的双燃料超燃冲压发动机

NºPublicación:  CN120720140A 30/09/2025
Solicitante: 
哈尔滨工业大学
CN_120720140_PA

Resumen de: CN120720140A

本发明提出了一种能量梯级利用的氨燃料电池发电的双燃料超燃冲压发动机,属于飞行器热防护与发电技术领域,解决高超声速飞行由于来流马赫数高难以使用传统机载发电系统,以及燃料分解气涡轮的再生冷却通道中的结焦问题。本发明氨和航煤在超燃冲压发动机燃烧室中产生高温燃气,推动发动机产生推力;燃烧室的高温废热通过再生冷却通道进行回收,加热燃料,并使一部分氨分解,分解气驱动涡轮发电机产生电能。本发明是一种能量梯级利用的发电系统,充分考虑实际使用温度和压力等因素,有效提高能源利用效率,减少能源的浪费,并实现能量的合理适配,从而提高整个系统的发电效率,大大满足高超飞行器上的电能需求。

一种高温SOFC电堆阴极涂层及其制备方法

NºPublicación:  CN120727835A 30/09/2025
Solicitante: 
成都烁克科技有限公司
CN_120727835_PA

Resumen de: CN120727835A

本申请公开了一种高温SOFC电堆阴极涂层及其制备方法,涉及固体氧化物燃料电池技术领域。一种高温SOFC电堆阴极涂层,按重量份计,阴极涂层的原料包括:锶掺杂镧钴铁氧化物60份‑70份、钆掺杂氧化铈20份‑30份、纳米氧化锆5份‑10份、分散剂20份‑30份和粘结剂2份‑5份。本申请通过锶掺杂镧钴铁氧化物提供电子导电、钆掺杂氧化铈提供离子导电、纳米氧化锆提供结构支撑,各组分的复合优化了电荷传输路径,解决了传统高温SOFC电堆阴极涂层热膨胀系数与电解质不匹配、长期运行稳定性不足的问题,提升了SOFC电堆的整体性能和使用寿命。

一种高压固体氧化物燃料电池电堆系统

NºPublicación:  CN120727897A 30/09/2025
Solicitante: 
成都烁克科技有限公司
CN_120727897_PA

Resumen de: CN120727897A

本申请公开了一种高压固体氧化物燃料电池电堆系统,属于燃料电池技术领域。本申请的电堆系统包括外部的耐压容器、耐压容器内部设置的电堆以及用于固定电堆的支撑结构;其中,电堆包括平板式单电池片、连接板、密封层以及气体歧管。本申请通过对气体歧管的扩口改进、对平板式单电池片数量和面积优化、对密封层进行双层设计等,解决了现有技术中气体分布不均、压力管理不善以及材料降解等方面的难题。

一种燃料电池发电系统及控制方法

NºPublicación:  CN120727893A 30/09/2025
Solicitante: 
山东国创燃料电池技术创新中心有限公司
CN_120727893_PA

Resumen de: CN120727893A

本发明涉及一种燃料电池发电系统及控制方法,包括电堆系统,电堆系统的燃气进口和燃气出口接入燃气侧管路系统中,电堆系统的空气进口通过空气进管连接至空气预热器的冷侧出口,空气出口连接至燃烧器的空气进口,燃烧器的通过第一管路连接至空气预热器的热侧进口,还通过第二管路连接至燃气侧管路系统,空气预热器的冷侧进口与引射器的气体出口连接,引射器的气体进口与风机通过空气管路连接,引射器的引射气体接口通过引射管路连接至空气预热器热侧出口的尾气排出管,采用本发明的发电系统可降低风机寄生功耗,提高系统的净效率,同时降低了空气预热器的设计难度和成本。

一种燃料电池用超薄金属波纹板PVD涂层装夹辅具

NºPublicación:  CN223397794U 30/09/2025
Solicitante: 
重庆创新燃料电池技术产业研究院有限公司
CN_223397794_U

Resumen de: CN223397794U

本实用新型公开了一种燃料电池用超薄金属波纹板PVD涂层装夹辅具,包括夹具本体,所述夹具本体由单根钢丝折弯制得;所述夹具本体包括吊挂结构、支撑结构和防护结构;所述吊挂结构具有向下弯曲的挂耳,所述支撑结构具有向上弯曲的支撑部,所述挂耳和支撑部错位设置,所述吊挂结构和支撑结构构成主体,所述防护结构在竖直方向上位于挂耳和支撑部之间,所述防护结构位于支撑部的上方,所述防护结构与主体形成闭环。本燃料电池用超薄金属波纹板PVD涂层装夹辅具具有制造简单,成本低,能够减少金属双极板变形的优点。

氮/硼掺杂非贵金属基材料及其合成方法和在微生物燃料电池中的应用

NºPublicación:  CN120727846A 30/09/2025
Solicitante: 
南京理工大学
CN_120727846_PA

Resumen de: CN120727846A

本发明公开了一种氮/硼掺杂非贵金属基材料及其合成方法和在微生物燃料电池中的应用。所述方法以碳纤维刷为基底,尿素和硼氢化钠分别为氮源和碳源,通过水热法合成氮/硼掺杂非贵金属基材料。本发明利用氧化石墨烯与FeCoNi‑LDH之间的静电作用实现紧密结合,使得FeCoNi‑LDH纳米片均匀分散在碳纤维刷表面,解决LDHs易团聚、导电性能差的问题;硼/氮共掺杂过程,通过调节复合材料的电子结构构建出高效的电子传输通道,赋予材料优异的电子传输能力和氧还原性能。在以氮/硼掺杂非贵金属基材料为阴极构建的MFC测试中,输出电压、最大功率密度是商业Pt/C以及空白碳纤维刷的数倍,在微生物燃料电池领域具有广泛的应用前景。

燃料电池冷启动控制方法、装置、车辆、存储介质和程序产品

NºPublicación:  CN120727879A 30/09/2025
Solicitante: 
中国第一汽车股份有限公司
CN_120727879_PA

Resumen de: CN120727879A

本申请涉及燃料电池技术领域,特别涉及一种燃料电池冷启动控制方法、装置、车辆、存储介质和程序产品,其中,方法包括:获取燃料电池的电堆出口温度和环境温度;计算电堆出口温度和环境温度的温度差值;根据温度差值控制燃料电池执行冷启动动作,若在燃料电池执行冷启动动作过程中温度差值大于第一温度阈值,则控制加热器加热冷却水路。由此,解决了相关技术中缺乏对电堆状态的实时调控、冷热冲击剧烈、缓慢不稳定等问题。

一种聚合物、改性的阴离子交换膜及其制备方法与应用

NºPublicación:  CN120718249A 30/09/2025
Solicitante: 
清华大学
CN_120718249_PA

Resumen de: CN120718249A

本发明涉及新材料技术领域,尤其涉及一种聚合物、离子交换膜及其制备方法与应用。聚合物具有通式I所示的化合物:;R为;n为主链中未季胺化的哌啶含量,n=0~1;z=n/2。本发明通过采用气‑固反应方法引入封端剂,即通过膜与汽化的封端剂反应。该法对聚合物分子链具有定位效应,使得封端反应发生时,静态的聚合物链与动态的封端剂处于定位定点反应,以防止聚合物链高度运动而自交联。此外,还通过优化封端剂调控三嗪网络交联位点的空间结构,实现同时提升薄膜的稳定性和OH‑电导率的目的。

固体氧化物型电解电池系统

NºPublicación:  CN120731294A 30/09/2025
Solicitante: 
株式会社爱信
CN_120731294_PA

Resumen de: JP2024132659A

To make it possible to stably supply steam for electrolysis even as a means of utilizing highly variable waste heat, while also improving energy efficiency.SOLUTION: A solid oxide electrolysis cell system comprises a solid oxide electrolysis cell, a heat storage part that stores waste heat from the outside system, and a steam generation part that is provided in a fuel supply line from a water source to a fuel electrode of the solid oxide electrolysis cell and generates steam using the heat stored in the heat storage part, and a heat exchange part that is provided downstream of the steam generation part in the fuel supply line and heats the steam using the waste heat from the solid oxide electrolysis cell.SELECTED DRAWING: Figure 1

燃料电池用膜电极结构体的制造方法和制造装置

NºPublicación:  CN120727841A 30/09/2025
Solicitante: 
本田技研工业株式会社
CN_120727841_PA

Resumen de: CN120727841A

本发明提供一种燃料电池用膜电极结构体的制造方法,在由树脂框构件(21)支承有催化剂覆盖膜(50)的组装件(70)安装气体扩散层(25b),所述催化剂覆盖膜(50)在电解质膜(23)的表面设置有电极催化剂层(25a)而成,所述制造方法包括如下工序:在基台(210)载置组装件(70);在载置在基台(210)的组装件(70),沿着催化剂覆盖膜(50)与树脂框构件(21)之间的接合位置涂敷粘接剂;将气体扩散层(25b)载置在涂敷有粘接剂的组装件(70);以及沿着接合位置对载置在组装件(70)的气体扩散层(25b)进行按压,并且经由气体扩散层(25b),沿着接合位置,向涂敷在组装件(70)的粘接剂喷射固化促进剂。

用于燃料电池电堆的限位结构

NºPublicación:  CN223401636U 30/09/2025
Solicitante: 
重庆国鸿氢能科技有限公司
CN_223401636_U

Resumen de: CN223401636U

本实用新型涉及燃料电池技术领域,公开了用于燃料电池电堆的限位结构,包括底板,所述底板的顶部左侧固定连接有安装座,所述安装座的顶部固定连接有用于为装置提供动力的驱动组件,所述底板的顶部固定连接有挡板,所述挡板的内部前后两侧均固定连接有限位杆,所述限位杆的外部滑动连接有多个隔板,多个所述隔板的底部均固定连接有固定轴一,所述固定轴一的外部转动连接有两个转动板二。本实用新型中,通过液压杆的输出端带动其中一个隔板进行运动,使隔板在运动时通过转动板二和转动环一的配合带动剩余的隔板进行运动,进而能够使隔板对不同尺寸大小燃料电池电堆来调整间距,对其进行限位,继而增加了装置的使用灵活性。

燃料电池密封极板以及燃料电池

NºPublicación:  CN223401627U 30/09/2025
Solicitante: 
冠驰新能科技(南京)有限公司
CN_223401627_U

Resumen de: CN223401627U

本公开提供了一种燃料电池密封极板以及燃料电池。该燃料电池密封极板包括燃料电池极板、密封垫和胶粘限位体。燃料电池极板上设置有密封槽和第一限位沟槽,第一限位沟槽设置于密封槽之下且连通于密封槽。密封垫设置于密封槽中,密封垫靠近密封槽的槽底壁的表面上设置有与第一限位沟槽对位的第二限位沟槽,胶粘限位体填充于第一限位沟槽和第二限位沟槽中。通过胶粘限位体的粘接和限位作用,即使在较高压力的气体环境中运行时,密封垫也不易产生侧向移位,密封可靠性较好。密封垫与密封槽之间也难以分离,具有较好的密封耐久性。

一种金属半电池以及其组装工装

NºPublicación:  CN223401624U 30/09/2025
Solicitante: 
浙江锋源氢能科技有限公司锋源氢能(广州)有限公司
CN_223401624_U

Resumen de: CN223401624U

本实用新型涉及电池电堆技术领域,本实用新型要解决的技术问题是密封效果差。为了解决上述技术问题,本实用新型提供了一种金属半电池以及其组装工装。本实用新型包括:双极板包括相互连接的阳极板和阴极板;阳极板中远离阴极板的一侧设有阳极密封槽;阴极板中远离阳极板的一侧设有阴极密封槽;UV胶层填充在阳极密封槽中;膜电极通过UV胶层与阳极板粘接;膜电极靠近阳极板的一侧中,与阳极密封槽对应的位置处设有向阳极板凸出的密封凸起,密封凸起的宽度小于阳极密封槽的宽度;密封件,设于阴极密封槽中;密封件中远离阳极板的一侧的表面向外凸出形成密封球头,多个密封球头间隔设置,密封球头与密封凸起的位置对应。本实用新型密封效果好。

一种大型全钒液流储能电站SOC均衡恢复控制系统

NºPublicación:  CN223401629U 30/09/2025
Solicitante: 
杭州德海艾科能源科技有限公司
CN_223401629_U

Resumen de: CN223401629U

本申请涉及钒液流电池技术领域,尤其涉及一种大型全钒液流储能电站SOC均衡恢复控制系统,其包括至少两个液流电池模块、储能变流器和电池管理系统;液流电池模块包括电堆组、正极电解液储罐、负极电解液储罐、变频泵和并联在电堆组两端的SOC传感器。工作时,通过电池管理系统BMS控制系统,实时评估各个电池模块的SOC;当BMS系统监测到电堆组之间的SOC差值过大时,一般是为5%。BMS系统通过控制电堆组的变频泵的频率,调节流经电堆组的电解液的流量,从而调整电堆组的内阻,调节在各个电堆组上的充放电功率。

燃料电池堆和燃料电池堆的制造方法

NºPublicación:  CN120727904A 30/09/2025
Solicitante: 
本田技研工业株式会社
CN_120727904_PA

Resumen de: CN120727904A

本发明提供一种燃料电池堆,具备层叠多个电池单元(1a)而构成的电池层叠体(10)和限制电池层叠体(10)的位置的定位构件(45)。电池单元(1a)具有:膜电极结构体(2),其具有膜电极接合体(20)以及支承膜电极接合体(20)的树脂制的膜构件;以及金属制的隔板(3),其与膜电极结构体(2)相向地配置,在外缘设置有定位部(36)。电池单元(1a)还具有粘贴在从隔板(3)露出的露出部(26)的树脂制的加强构件(52),加强构件(52)具有由定位部(36)定位的第一被定位部(56)和与定位构件(45)卡合或嵌合的第二被定位部(55),第二被定位部(55)的边缘位于与膜构件(21)的外缘(21e)相同的位置或比膜构件的外缘向外侧突出地设置。

燃料电池用膜电极构造体的制造装置

NºPublicación:  CN120716182A 30/09/2025
Solicitante: 
本田技研工业株式会社
CN_120716182_PA

Resumen de: CN120716182A

本发明提供能够在抑制框部件的热变形的同时高效地对膜电极构造体进行加热压接的燃料电池用膜电极构造体的制造装置。燃料电池用膜电极构造体的制造装置(A)将在电解质膜(2)的两个面上配置有具有气体扩散层(31)的电极(3)的膜电极接合体(1)和与电解质膜(2)的外周缘一体接合的框部件(4)接合而得到膜电极接合体(1)。燃料电池用膜电极构造体的制造装置(A)包括具有固定模(52)和能够在压接位置及分离位置相对于固定模(52)可动的可动模(51)的模具(5)以及使可动模(51)可动的可动机构(6)。模具(5)包括对模具(5)进行加热的加热机构(7)和向模具(5)的表面供给加湿气体的加湿气体供给机构(8)。

燃料电池装置

NºPublicación:  CN120727880A 30/09/2025
Solicitante: 
本田技研工业株式会社
CN_120727880_PA

Resumen de: CN120727880A

本发明提供一种燃料电池装置,具备:燃料电池(10);管道单元(2),其包括向燃料电池(10)供给阳极气体的气体供给通道(a1)和供从燃料电池(10)排出的阳极气体流动的气体排出通道(a2);氢传感器(3),其检测阳极气体中包含的氢气;以及气体收集盖(4),其覆盖管道单元(2)的上方,朝向上方形成凹状的贮存空间(400)。气体收集盖(4)具有覆盖贮存空间(400)的周围的侧壁(42)和封闭侧壁(42)的上端部的开口的上壁(41),上壁(41)具有朝向上方形成为凹状的凹部(411),并且在凹部(411)的周围开设将贮存空间(400)和外部空间连通起来的通孔(410a),氢传感器(3)设置在凹部(411)的底部。

燃料电池构造

NºPublicación:  CN120727863A 30/09/2025
Solicitante: 
本田技研工业株式会社
CN_120727863_PA

Resumen de: CN120727863A

本发明提供能够以简单的构成抑制滞留水逆流的燃料电池构造。隔膜(3)形成有绕过密封部(8)而将连通孔(4)与流体通路(7)连通的通道部(10)。通道部(10)具有从连通孔(4)朝向流体通路(7)延伸设置的多个通道主体(11)和将多个通道主体(11)的前端部(12)彼此能够流通地连结的连结通路(13)。另外,通道部(10)具有将连结通路(13)与流体通路(7)连通的多个开口部(14)。多个通道主体(11)中的与连结通路(13)的端部(13a)连结的端部通道主体(15)相对于连结通路(13)以锐角连接。并且,连结通路(13)与端部通道主体(15)的连接部(16)弯曲为弧状。

燃料电池用电池单元的制造方法和燃料电池用电池单元的制造装置

NºPublicación:  CN120727866A 30/09/2025
Solicitante: 
本田技研工业株式会社
CN_120727866_PA

Resumen de: CN120727866A

本发明提供一种燃料电池用电池单元的制造方法,包括以下工序:将设置在框构件(21)的外缘部的被定位部(23a)卡合或嵌合在从工作台(50)的上表面(511)以能够上下移动的方式突出的棒状的定位构件(52),在工作台(50)的上表面(511)的上方配置膜电极结构体(2);由定位构件(52)定位的同时以推动定位构件(52)的方式在定位构件(52)搭载定位用框架(60);在由设置在定位用框架(60)的定位部(65a)对隔板(3)的外缘部进行定位的同时将隔板(3)搭载在膜电极结构体(2);以及对被定位的膜电极结构体(2)和隔板(3)进行焊接。

一种燃料电池气体增湿系统

NºPublicación:  CN223401628U 30/09/2025
Solicitante: 
陕西氢能研究院有限公司
CN_223401628_U

Resumen de: CN223401628U

本实用新型涉及燃料电池技术领域,且公开了一种燃料电池气体增湿系统。本实用新型的燃料电池气体增湿系统,包括:内筒和外筒,外筒套于内筒外,内筒一端设有第一底面,内筒筒壁中间设有第二底面,第一底面设有供水管路以及出气管路,第二底面设有进气管路,进气管路贯穿内筒的第一底面以及外筒顶部与外接气源管路连通,第二底面还设有气体分布器,气体分布器与第二底面连通,内筒充填有填料层,填料层充填于第二底面之上,外筒底部装有水,水的液面高于所述内筒的筒壁。本实用新型提高水和气之间传质传热效率,以确保气体的增湿效果,从而确保质子膜处于合适的水合状态,保持较高的电导性能,使燃料电池稳定高效工作。

一种电池电堆组装用定位工装

NºPublicación:  CN223401634U 30/09/2025
Solicitante: 
上海电气集团股份有限公司
CN_223401634_U

Resumen de: CN223401634U

本实用新型公开了一种电池电堆组装用定位工装,包括:底板;定位组件,定位组件的下端固定设置于底板上,定位组件的内侧形成有一容置空间,容置空间用于容置电池电堆;滑动组件,滑动组件可沿高度方向滑动地设置于定位组件上,滑动组件与电池电堆的外缘滑动接触;锁定组件,锁定组件设置于定位组件上,锁定组件用于锁定滑动组件的位置。通过对本实用新型的应用,提供了一种用于将电缆与外部管段进行位置锁定的固定装置,尤其适用于海上电缆与J形管段的配合安装,尽可能降低了电缆的脱落风险,牢固可靠;且本实用新型有利于后期的维修,降低维修施工成本,减少了施工过程的安全风险。

一种基于生态技术的焚烧厂垃圾渗沥液处理系统

NºPublicación:  CN223397549U 30/09/2025
Solicitante: 
安徽工程大学
CN_223397549_U

Resumen de: CN223397549U

本实用新型提供了一种基于生态技术的焚烧厂垃圾渗沥液处理系统,属于处理垃圾渗滤液及其资源化利用的技术领域,包括供水系统、渗滤池系统和人工湿地系统与微生物燃料电池系统耦合成的CW‑MFC系统,且供水系统、渗滤池系统和CW‑MFC系统之间设置有水管,每个所述水管上均设置有蠕动泵,通过本发明,实现了构建一套将渗滤池系统和人工湿地微生物燃料电池系统结合的垃圾渗沥液处理系统,利用渗滤池内高比表面积的填料和定殖在基质上的微生物,将高浓度的污染物降解并去除大量的悬浮物,使其出水再进入人工湿地微生物燃料电池系统,来将剩余难降解污染物的净化处理,充分发挥了各系统对不同污染物的分级降解和充分利用,达到以电能的方式对能源物质的回收。

便于快速定位的液流电池组装线用电堆螺杆安装机构

NºPublicación:  CN223401633U 30/09/2025
Solicitante: 
东莞市冠逸自动化科技有限公司
CN_223401633_U

Resumen de: CN223401633U

本实用新型公开了便于快速定位的液流电池组装线用电堆螺杆安装机构,包括操作机壳,操作机壳的一侧设有电气箱,操作机壳与电气箱之间设有输送线,输送线一侧的一端设有安装机构,输送线另一侧的一端安装有取放机构,安装架两侧的底端分别与两个定位台的一侧固定连接,本实用新型便于快速定位的液流电池组装线用电堆螺杆安装机构,通过设置取放机构和安装机构,夹持件通过两个夹持板从电堆螺杆的两侧进行夹持固定,而后通过转盘转移方向放置安装机构上,安装机构上第一凹槽和第二凹槽相互配合对电堆螺杆进行有序分开堆叠安装,避免出现电堆螺杆与电堆螺杆相互摩擦出现损伤,保证了后续电堆螺杆的使用。

燃料电池堆和焊接方法

NºPublicación:  CN120727867A 30/09/2025
Solicitante: 
本田技研工业株式会社
CN_120727867_PA

Resumen de: CN120727867A

本发明提供一种燃料电池堆,具备一对接合隔板(12、12)和膜电极结构体(11),膜电极结构体(11)配置于一对接合隔板(12、12)之间,具有包括电解质膜和电极的膜电极接合体(110)。接合隔板(12)由沿着焊接线焊接的第一金属隔板(12a)和第二金属隔板(12b)构成,第二金属隔板(12b)具有向沿着焊接线形成的第一金属隔板(12a)突出的凸部(120)。

燃料电池堆以及燃料电池堆的组装方法

NºPublicación:  CN120727903A 30/09/2025
Solicitante: 
本田技研工业株式会社
CN_120727903_PA

Resumen de: CN120727903A

本发明提供一种燃料电池堆,具备:层叠多个发电电池(1)而构成的电池层叠体(10)、包围电池层叠体(10)的壳体(30、40)、面向电池层叠体(10)的外侧面而固定在壳体(30、40)的固定构件(45)。发电电池(1)具有膜电极结构体(2)和隔板(3),膜电极结构体(2)具有膜电极接合体(20)和支承膜电极接合体(20)的缘部的具有挠性的框构件(21)。框构件(21)的缘部(2e)具有比隔板(3)的缘部(3e)向外侧突出的突出部(22),突出部(22)具有向隔板(3)的缘部(3e)弯曲并夹在固定构件(45)与隔板(3)的缘部(3e)之间的弯曲端部(251)。

燃料电池堆

NºPublicación:  CN120727902A 30/09/2025
Solicitante: 
本田技研工业株式会社
CN_120727902_PA

Resumen de: CN120727902A

本发明提供一种燃料电池堆,具备:将发电电池层叠而构成的电池层叠体(10)、从壳体(30)的内壁向电池层叠体(10)突出的引导部(50)、与引导部(50)对应地设置在发电电池的缘部并相对于壳体(30)定位发电电池的定位部。定位部具有分别从与壳体(30)的内壁相向的发电电池的第一缘部(101)和第二缘部(102)向内壁突出设置的第一凸部(331、351)和第二凸部(332、352),引导部(50)包括设置在第一凸部(331、351)的第一方向和第二方向中任一方侧的第一引导部和设置在第二凸部(332、352)的第一方向和第二方向中的任一另一方侧的第二引导部。

燃料电池组的冲击承受构造及燃料电池组的冲击承受安装方法

NºPublicación:  CN120727896A 30/09/2025
Solicitante: 
本田技研工业株式会社
CN_120727896_PA

Resumen de: CN120727896A

本发明的缓冲部件不会由于缓冲部件与层叠单电池的侧面接触而破损并将缓冲部件高精度地设置于电池组壳体。燃料电池组(100)的冲击承受构造包括:层叠单电池(1),其由多个发电单电池(10)层叠构成;电池组壳体(30),收容层叠单电池(1);以及缓冲部件(120),其配置于电池组壳体(30)的内壁角部(37),缓冲部件(120)具有:树脂部件(121),其与内壁角部(37)相对配置;以及弹性部件(122),其配置在该树脂部件(121)与电池组壳体(30)的内壁面(38)之间,弹性部件(122)嵌入到设置于电池组壳体(30)的内壁面(38)的槽部(39)中并保持。

燃料电池堆

NºPublicación:  CN120727901A 30/09/2025
Solicitante: 
本田技研工业株式会社
CN_120727901_PA

Resumen de: CN120727901A

本发明提供一种燃料电池堆,具备:电池层叠体(101);一对端部单元(102),其配置于电池层叠体(101)的两端部;冷却介质排出流道(PA2),其在规定方向上贯穿电池层叠体(101)而设置,以排出导入到多个发电电池(1)的冷却介质;以及大致圆筒形状的管体(7),其配置于冷却介质排出流道(PA2),分别在一端部和下端部设置有分别与冷却介质排出流道(PA2)的上游侧和下游侧连通的开口。在端部单元(102)开设与管体(7)的下游侧的开口连通并贯穿端部单元(102)的通孔(102g),端部单元(102)具有支承管体(7)的第一端部的周缘部和第二端部的周缘部的第一支承部(201)和第二支承部(202),第二支承部(202)在通孔(102g)的周面具有形成为朝向通孔(102g)的出口成为尖细的锥形部(521)。

一种氢燃料电池石墨双极板加工设备

NºPublicación:  CN223401625U 30/09/2025
Solicitante: 
平顶山市博翔碳素有限公司
CN_223401625_U

Resumen de: CN223401625U

本实用新型涉及石墨双极板技术领域,且公开了一种氢燃料电池石墨双极板加工设备,包括外壳,所述外壳的内壁固定装配有限位壳,所述限位壳的内壁开设有移动槽,所述限位壳的内壁固定装配有电动推杆一,所述电动推杆一的伸缩端固定装配有移动块,所述移动块的两侧皆固定装配有限位块,所述移动块的底部固定装配连接杆。通过控制器发出信号,使电机接收到信号后的动力输出轴进行转动,通过电机带动齿轮进行转动,且齿轮与齿条啮合传动,使齿轮在转动时会带动齿条和限位杆在放置块的内壁移动,通过放置块在移动时会带动夹持板对石墨双极板本体的四周夹持,从而实现对石墨双极板本体进行固定,避免在放置时出现掉落的情况。

一种锌基液流电池的结构

NºPublicación:  CN223401626U 30/09/2025
Solicitante: 
中国科学院大连化学物理研究所
CN_223401626_U

Resumen de: CN223401626U

本实用新型涉及锌基液流电池,包括依次叠合的正极集流体、隔膜、负极集流体,所述正极集流体与隔膜之间留有空隙,所述隔膜与负极集流体之间留有空隙,使所述隔膜的正负极侧均为空腔结构,即正极空腔和负极空腔。在保证电池面容量及搁置性能的同时,降低电池极间距,进一步提升电池性能。

一种氢燃料电池的双极板及氢燃料电池

NºPublicación:  CN223401623U 30/09/2025
Solicitante: 
浙江锋源氢能科技有限公司锋源氢能(广州)有限公司
CN_223401623_U

Resumen de: CN223401623U

本实用新型涉及一种氢燃料电池的双极板及氢燃料电池,包括基板,其上设置有歧管区、过桥区、分配区以及活化区;所述活化区用于所述气体的催化和反应;所述活化区包括流道单元,所述流道单元包括多个沿第一方向延伸设置的气体流道,每个气体流道包括沿第一方向依次设置的平直区域、弯折区域、第一变径区域以及第二变径区域,第一方向与基板的长度方向同向,相邻的两个气体流道的平直区域相互平行,相邻的两个气体流道的弯折区域的弯折方向相互平行。本实用新型的双极板能提升电堆的性能,对于相同片数的电堆,采用变径流道的电堆功率更高。并且本实用新型的双极板能够降低面内发电偏差,使得电化学反应更均匀,电堆一致性更好,从而有效提高使用寿命。

一种液流电池电堆组装结构

NºPublicación:  CN223401635U 30/09/2025
Solicitante: 
辽宁卓仑科技有限公司
CN_223401635_U

Resumen de: CN223401635U

本实用新型公开了一种液流电池电堆组装结构,包括:第一端板、第二端板、单电池组、固定柱以及介质循环组件;第一端板开设有若干定位孔,第一端板一侧连接有控温组件,第二端板一侧连接有进液管以及出液管;若干单电池组均位于第一端板以及第二端板之间;若干固定柱贯穿于第一端板、第二端板以及若干电池组,固定柱一端连接有固定螺母;介质循环组件连接于单电池组两侧,介质循环组件与控温组件相连接。通过通过第一端板以及第二端板作为两端的紧固件,将若干组电池组连接于第一端板以及第二端板之间,介质循环组件能够将用于控制温度的液体介质进行循环,随后通过控温组件对电堆内进行控温,减轻电堆的重量。

Method for the production of energy (primarily electric energy) with the use of fission material lithium(6)-deuteride embedded in lithium(7)-deuteride matrix

NºPublicación:  HUP2400156A1 28/09/2025
Solicitante: 
SZOEKE TAMAS [HU]
PAPP ARPAD LASZLO [HU]
Szoeke Tamas,
Papp Arpad Laszlo

一种氢燃料电池空气路流量检测控制系统及方法

NºPublicación:  CN120709427A 26/09/2025
Solicitante: 
氢质氢离(北京)氢能科技有限公司
CN_120709427_PA

Resumen de: CN120709427A

本发明涉及氢燃料电池领域,尤其涉及一种氢燃料电池空气路流量检测控制系统及方法。系统包括固定式氢燃料电池发电站空气集中供给模块以及电堆模块。所述方法包括S1、获取不同电流下电堆入口压力需求和电堆入口流量需求Qm对应关系;S2、对压力传感器Pn‑2进行解耦控制,使得流量达到Qm,同时压力达到目标压力b;S3、对压力传感器Pn‑3和空气流量的控制,在电堆入口前段流阻平衡调节作用下达到目标流量系数,同时保持流量达到Qm。本发明通过空气压力控制实现流量控制,满足全量程的流量控制需求,避免使用高压空气流量计或空气流量控制器成本高的问题;此发电站实现了功能分区及模块化布置,集成度更高便于维修。

一种燃料电池系统的怠速控制方法、装置、设备及介质

NºPublicación:  CN120709424A 26/09/2025
Solicitante: 
一汽解放汽车有限公司
CN_120709424_PA

Resumen de: CN120709424A

本申请实施例公开了一种燃料电池系统的怠速控制方法、装置、设备及介质,涉及燃料电池系统技术领域。其中,该方法包括:若接收到用于指示燃料电池系统进入怠速运行状态的指令,则控制目标附件进入使能状态;将目标附件在使能状态下的总运行功率确定为电堆运行功率,并基于该电堆运行功率对电堆进行控制;将电堆单电池的电压安全值与实际值的差值输入比例积分控制器中,得到空气进堆截止阀开度,并根据所述空气进堆截止阀开度对空气进堆截止阀以及空气旁通阀进行控制;根据实际进入电堆的空气量确定喷氢阀的占空比,并根据该占空比对喷氢阀进行控制。本技术方案的燃料电池系统在怠速运行状态下,在对外输出功率为0的同时降低了所消耗的燃料量。

一种高温可逆固体氧化物电池电极材料及其制备方法与应用

NºPublicación:  CN120709397A 26/09/2025
Solicitante: 
中国地质大学(武汉)上海氢器时代科技有限公司
CN_120709397_PA

Resumen de: CN120709397A

本发明公开了一种高温可逆固体氧化物电池电极材料及其制备方法与应用。该电极材料的化学式为La1‑xCaxFe1‑y‑zCoyNizO3‑δ,其中0.1≤x≤0.5,0.1≤y≤0.3,0.1≤z≤0.3,δ为氧空位含量,δ=0~0.1;采用溶胶凝胶法制备。本发明引入Fe‑Co‑Ni三种过渡金属的协同设计,提升了材料的离子导电性和电子传导性,这样的双重导电材料降低了界面电阻,实现了较高的功率输出及较低的极化阻抗。该材料与GDC复合之后作为可逆固体氧化物电池阳极材料在800℃的工作温度下最大输出功率可达1.60W/cm2,欧姆阻抗为0.11Ωcm2,其作为电解池时,电解水制氢时,在800℃、1.3V下对应的电解电流密度为2.18A/cm2。

隔板和隔板的制造方法

NºPublicación:  CN120709407A 26/09/2025
Solicitante: 
丰田自动车株式会社日本金属株式会社
CN_120709407_PA

Resumen de: US2025300192A1

A separator formed of stainless steel for a fuel cell includes a coolant contact surface that is configured to come into contact with a coolant and a gas contact surface that is configured to come into contact with gas. The coolant contact surface has a conductive passive film. The gas contact surface has a corrosion-resistant metal intermediate layer on a base material, and a conductive layer on the corrosion-resistant metal intermediate layer.

钛合金双极板表面微观缺陷的预处理方法、系统及双极板

NºPublicación:  CN120709388A 26/09/2025
Solicitante: 
洛阳船舶材料研究所中国船舶集团有限公司第七二五研究所洛阳双瑞精铸钛业有限公司
CN_120709388_PA

Resumen de: CN120709388A

本发明实施例提供一种钛合金双极板表面微观缺陷的预处理方法、系统及双极板,通过超声除油清洗,将厚度0.1mm~0.15mm的轧制成形钛合金双极板依次置于工业脱脂剂中超声清洗10min~30min,再于蒸馏水中超声漂洗10min~30min;超声振动辅助电化学复合抛光,将经上述处理的钛合金双极板作为阳极,石墨板或钛板作为阴极,浸入含H2SO4和HF的电化学抛光液中,施加频率20kHz~40kHz的超声振动,在阴阳极间距30mm~50mm、电压30V~60V、抛光液温度10℃~25℃条件下处理5s~60s;将抛光后双极板经蒸馏水超声漂洗10min~30min后,于60℃~100℃真空干燥30min~60min。本发明技术方案,能够实现钛金属双极板表面的微观缺陷快速消除或弱化,得到表面更平整、微观缺陷更少的钛合金双极板表面,提高后续高耐蚀导电功能涂层的综合性能。

一种燃料电池堆全生命周期故障库建立及诊断方法

NºPublicación:  CN120709428A 26/09/2025
Solicitante: 
安徽瑞氢动力科技有限公司
CN_120709428_PA

Resumen de: CN120709428A

本发明公开了一种燃料电池堆全生命周期故障库建立及诊断方法,属于氢燃料电池技术领域所述方法包括:在电堆初始状态下采集电堆数据以定义电堆初始无故障状态;进行电堆故障敏感性试验,并采集试验过程中的电堆数据以构建电堆初始状态综合故障库;对电堆进行耐久试验,过程中每隔固定时间采集电堆数据以构建电堆过程状态综合故障库;在电堆耐久试验至电堆寿命终止时,采集此时的电堆数据以构建电堆寿命终止状态综合故障库。本发明对电堆全生命周期状态进行采集,并建立相应故障库,为后期根据诊断结果进行电堆工况调整、恢复及返修等工作提供方便,进而提升电堆的使用寿命。

一种基于纳米乳萃取的连续式制备硫酸氧钒电解液的方法

NºPublicación:  CN120698502A 26/09/2025
Solicitante: 
重庆大学成都先进金属材料产业技术研究院股份有限公司
CN_120698502_PA

Resumen de: CN120698502A

本发明公开了一种基于纳米乳液体系的连续式制备硫酸氧钒电解液的方法,构建“离心萃取—离心洗涤—改进型填料塔还原反萃—连续复型”的集成式流程,从而实现从原料液中高效提取钒、产品纯度控制和萃取剂的循环使用,最终获得满足国标一等品要求的硫酸氧钒电解液产品。

气液分离器和燃料电池系统

NºPublicación:  CN120709433A 26/09/2025
Solicitante: 
现代自动车株式会社起亚株式会社
CN_120709433_PA

Resumen de: CN120709433A

本公开涉及一种气液分离器和燃料电池系统。该气液分离器包括:第一管构件;第二管构件,被配置为与第一管构件相通,并连接到第一管构件的基于重力方向的上端;以及气液分离构件,设置在第一管构件和第二管构件中,使得沿第一管构件和第二管构件向上移动的空气中含有的液滴与气液分离构件接触,从而从燃料电池堆排放的空气中有利且有效地捕获液滴。

一种燃料电池系统的停机吹扫方法及燃料电池系统

NºPublicación:  CN120709416A 26/09/2025
Solicitante: 
安徽瑞氢动力科技有限公司
CN_120709416_PA

Resumen de: CN120709416A

本发明公开了一种燃料电池系统的停机吹扫方法及燃料电池系统,涉及燃料电池技术领域,通过检测汽车燃料发动机系统停机前发动机功率和电堆交流阻抗值,控制电堆的阴极吹扫模式时间和阳极吹扫模式时间,从而控制进入电堆的空气和氢气含量,进而将电堆在停机前消耗空气和氢气并将水汽排出,降低电堆内湿度,增加电堆的使用寿命,整个吹扫方法需要的结构简单,制造成本低,实用性更高。

燃料电池单体及其制备方法、燃料电池堆及用电设备

NºPublicación:  CN120709434A 26/09/2025
Solicitante: 
广州汽车集团股份有限公司
CN_120709434_PA

Resumen de: CN120709434A

本申请实施例提供一种燃料电池单体及其制备方法、燃料电池堆及用电设备,所述制备方法中,通过阴极胶膜及阳极胶膜,将阴极板、膜电极及阳极板通过分步热压贴合的方式组合为一体,可以通过简单模具和工艺控制使得一体化电池单体的密封区域厚度达到微米级别,能够有效改善由于厚度不均导致的气密泄露以及接触不良等问题,从而提高电池单体一体化制备的合格率,更有利于燃料电池电堆组装的一致性,同时有效降低单电池的重量和厚度。

一种液氢电加热气化系统

NºPublicación:  CN120701898A 26/09/2025
Solicitante: 
北京航天石化技术装备工程有限公司北京航天动力研究所
CN_120701898_PA

Resumen de: CN120701898A

本发明公开了一种液氢电加热气化系统,包括液氢储罐、电加热装置和排气管路。液氢储罐内部设置竖直放置的隔离板,将储液罐内腔分为储液区和沸腾气化区;隔离板顶部和底部设有开有孔洞或槽道,使得储液区和沸腾气化区的液相联通、气相联通。电加热装置设置于沸腾气化区,自动跟随沸腾气化区内液氢液面升降,上表面始终低于液面。排气管路设置于液氢储罐内腔,用于将氢气排出液氢储罐。本发明可实现液氢局部快速升温、沸腾气化,达到快速供应气氢目的。

一种基于门舒特金界面聚合反应的耐酸聚季铵膜及其制备方法与应用

NºPublicación:  CN120699303A 26/09/2025
Solicitante: 
华中科技大学
CN_120699303_PA

Resumen de: CN120699303A

本发明公开了一种基于门舒特金界面聚合反应的耐酸聚季铵膜制备方法,包括以下步骤:将胺单体溶解在水相溶剂中形成水相溶液;将溴甲基单体溶解在有机相溶剂中形成有机相溶液;将基膜浸泡在水相溶液中一段时间后,移除所述水相溶液,并去除所述基膜表面残留的水相溶液;将所述有机相溶液涂覆在基膜表面,在50~90℃高温下界面聚合反应1~15min,以在所述基膜上制备得到聚季铵膜;采用有机溶剂冲洗所述聚季铵膜表面去除残余反应物,然后在烘箱中热处理,得到所述耐酸聚季铵膜。

车载储氢系统控制方法及相关设备

NºPublicación:  CN120701894A 26/09/2025
Solicitante: 
东风汽车集团股份有限公司
CN_120701894_PA

Resumen de: CN120701894A

本申请公开了一种车载储氢系统控制方法及相关设备,涉及新能源车辆技术领域,该方法包括:实时检测针对车载储氢系统的状态触发信号;基于状态触发信号,确定车载储氢系统的系统工作状态;根据系统工作状态,执行对应的阀门控制指令。本申请通过标准化系统状态与实时信号检测,能够实现车载储氢系统的智能化控制与自动化运行,具备高适应性、易维护性和良好的扩展兼容性。

一种燃料电池系统控制方法、装置、设备及介质

NºPublicación:  CN120709418A 26/09/2025
Solicitante: 
未势能源科技有限公司
CN_120709418_A

Resumen de: CN120709418A

本申请公开了一种燃料电池系统控制方法、装置、设备及介质,应用于燃料电池技术领域,包括在燃料电池系统热关机过程中,控制打开燃料电池系统中冷却系统内的散热回路以使经由燃料电池系统中阳极系统内的氢气循环泵的传热水套的传热回路与散热回路连通,并按照流入氢气循环泵的当前氢气温度,控制散热回路对传热回路中的冷却液进行降温,以使流经传热水套的当前冷却液温度与流入氢气循环泵的当前氢气温度之间的温度差降低至目标范围,从而可以有效解决热关机后氢气循环泵结冰问题,保证燃料电池系统在低温环境下能够顺利启动,进而可以提高燃料电池系统的冷启动性能。

一种A位高熵固体氧化物燃料电池阴极材料及其制备方法和应用

NºPublicación:  CN120709395A 26/09/2025
Solicitante: 
山东科技大学山东博通铝业科技股份有限公司
CN_120709395_PA

Resumen de: CN120709395A

本发明公开了一种A位高熵固体氧化物燃料电池阴极材料及其制备方法和应用,提供了一种具有钙钛矿相的A位高熵固体氧化物燃料电池阴极材料Pr0.2M0.2La0.2Ba0.2Sr0.2Co0.8Fe0.2O3‑δ。制备方法包括:S1称取多元素的金属硝酸盐混合得到第一混合溶液;S2将乙二胺四乙酸溶于氨水中,得到第二混合溶液;将第一混合溶液、第二混合溶液和柠檬酸混合形成混合前体溶液;S3将混合前体溶液进行第二加热处理并调节pH值,形成凝胶前体;S4将凝胶前体进行预烧处理、第三热处理和煅烧处理,得到高级粉末前体,再进行球磨和过筛处理,得到A位高熵固体氧化物燃料电池阴极材料。该阴极材料稳定性高、与阻挡层GDC化学相容性好,为O2/O‑/O2‑提供了优质的传质通道和活性位点,在中低温下具有良好的电化学性能。

一种氨基量子点掺杂醋酸纤维素基相转化膜及其制备方法和应用

NºPublicación:  CN120695665A 26/09/2025
Solicitante: 
湖北工程学院
CN_120695665_PA

Resumen de: CN120695665A

本发明公开了一种氨基量子点掺杂醋酸纤维素基相转化膜及其制备方法和应用,涉及高分子材料分离膜技术领域,制备方法包括以下步骤:将醋酸纤维素和溶剂混合,依次进行搅拌、超声、过滤、静置脱泡处理,得到醋酸纤维素铸膜液;将所述醋酸纤维素铸膜液在支撑板上刮平为液膜,进行滞空处理,再将其置于凝固浴中进行非溶剂致相转化处理,得到醋酸纤维素膜;将所述醋酸纤维素膜与碱性水溶液混合,进行水解处理,得到水解处理后的醋酸纤维素膜;将所述水解后的醋酸纤维素膜与氨基量子点溶液混合,进行吸附反应,洗涤,冷冻干燥,得到所述氨基量子点掺杂醋酸纤维素基相转化膜。本发明制得的相转化膜具有较高的截留率和通量,可用作高性能分离膜材料。

一种微生物燃料电池及其利用电池阳极室脱氮除磷的方法

NºPublicación:  CN120709437A 26/09/2025
Solicitante: 
合肥工业大学
CN_120709437_A

Resumen de: CN120709437A

本发明涉及水污染控制与资源化利用技术领域,更具体地说,它涉及一种微生物燃料电池及其利用电池阳极室脱氮除磷的方法。一种微生物燃料电池,所述微生物燃料电池的阳极为以铁丝为支架的碳毡,阴极为碳刷,在所述阳极室接种厌氧污泥。提出基于微生物燃料电池协同生物化学反应对尿液中氮磷的同步回收系统,以实现高效脱氮与磷回收。发明整合了微生物燃料电池发电、脱氮与磷回收三重功能,形成“污染治理‑能源再生‑资源高值化”的创新技术路径,为磷回收和废水处理提供了解决方案。

考虑可逆质子交换膜燃料电池寿命衰退的多电堆轮值方法

NºPublicación:  CN120709431A 26/09/2025
Solicitante: 
西安交通大学
CN_120709431_PA

Resumen de: CN120709431A

本发明公开了一种考虑可逆质子交换膜燃料电池寿命衰退的多电堆轮值方法,涉及电氢能源系统的控制技术领域。在对可逆质子交换膜燃料电池的多电堆进行功率分配的情况下,若轮值时间达到预设时长,以可逆质子交换膜燃料电池所在的电氢能源系统的日收益最大为目标,对多电堆的功率进行寻优,确定电堆的最佳功率;分别获取每个电堆在历史轮值时段的寿命损耗,将多个电堆按照寿命损耗进行排序;根据电堆的最佳功率,计算各电堆的工作功率,并分别获取每个工作功率下的电压变化率;基于多个电堆的排序,按照寿命损耗越大的电堆分配电压变化率越小的工作功率的原则,为每个电堆分配工作功率。该方法解决了多电堆的短板效应,能够使多个电堆的寿命均衡。

一种联合涡流管能量回收的电氢热综合能源系统

NºPublicación:  CN120702120A 26/09/2025
Solicitante: 
浙江大学
CN_120702120_PA

Resumen de: CN120702120A

本发明公开了一种联合涡流管能量回收的电氢热综合能源系统,该系统包括电网、锂电池、一级涡流管以及与一级涡流管的冷端和热端分别连接的冷端二级涡流管和热端二级涡流管;锂电池将来自电网的电力输送至电解槽制氢,所得氢气经压缩机与储氢罐输入一级涡流管,并在其热端设置阀门以控制供氢模式。在热端二级涡流管的热端引入合成氨装置,满足化工园区多样化燃料需求,对热端二级涡流管的热端产生的热量进行回收;在热端二级涡流管的冷端连接氢燃料电池,产生的电能为化工园区供电。在冷端二级涡流管的冷端进行冷量回收,在其热端收集氢气并以掺氢天然气形式供给用户。本系统可极大提升能源利用效率和灵活性,增强能源自给并减少外部能源依赖。

基于聚苯并咪唑的高温质子交换膜及其制备方法和应用

NºPublicación:  CN120709436A 26/09/2025
Solicitante: 
安徽理工大学
CN_120709436_PA

Resumen de: CN120709436A

本申请提供了一种基于聚苯并咪唑的高温质子交换膜及其制备方法和应用。所述高温质子交换膜包括基体材料和掺杂材料,所述基体材料为聚苯并咪唑,所述掺杂材料为磺化聚苯胺。本申请提供的高温质子交换膜,通过优化共混组分和工艺,提高其磷酸掺杂膜的高温质子交换膜电池性能。

车辆级空气旁通阀泄漏检测方法、装置、设备和存储介质

NºPublicación:  CN120709426A 26/09/2025
Solicitante: 
未势能源科技有限公司
CN_120709426_PA

Resumen de: CN120709426A

本申请涉及一种车辆级空气旁通阀泄漏检测方法、装置、设备和存储介质。该方法包括:断开除空气旁通管路以外的连接至尾排的空气管路,阻止干扰气流进入尾排;断开电堆的出气管,并保持电堆的出气管处于开放排空状态;在尾排处安装已标定好的第一空气流量计;保持燃料电池系统关机,越权控制空气旁通阀关闭,越权控制第一空气截止阀打开至预设开度,并越权控制空压机运行至预设转速;读取第一空气流量计上的稳定气体流量值,该气体流量值即为空气旁通阀的泄漏量。本申请无需从车辆上拆卸阀门进行单独的泄漏排查,因而能够极大地降低泄漏排查成本,避免维修成本的浪费,提高客户的用车体验。

一种甲烷裂解制氢耦合固体氧化物燃料电池的发电系统

NºPublicación:  CN120709432A 26/09/2025
Solicitante: 
南昌航空大学
CN_120709432_PA

Resumen de: CN120709432A

本发明涉及一种甲烷裂解制氢耦合固体氧化物燃料电池的发电系统,其特征在于,包括固体氧化物燃料电池发电模块、甲烷裂解制氢模块、补燃模块、空气预热模块;甲烷气体经过所述甲烷裂解制氢模块制得氢气,制得的氢气经过三通阀分别送入固体氧化物燃料电池发电模块和补燃模块参与反应,所述空气预热模块将空气预热后送入固体氧化物燃料电池发电模块参与反应,所述补燃模块将氢气与空气反应后产生的高温气体送入甲烷裂解制氢模块用于给甲烷裂解制氢模块提供热量。本发明通过将甲烷直接裂解制氢工艺与固体氧化物燃料电池发电系统结合,用于克服甲烷制氢耦合固体氧化物燃料电池发电系统工艺流程繁琐,系统复杂,碳排放较高、耗水量大等问题。

一种基于多尺度孔包覆结构电极及其制备方法与应用

NºPublicación:  CN120709404A 26/09/2025
Solicitante: 
三峡新能源吉木萨尔发电有限公司中国三峡新能源(集团)股份有限公司
CN_120709404_PA

Resumen de: CN120709404A

本发明属于液流电池技术领域,公开了一种基于多尺度孔包覆结构电极及其制备方法与应用,该电极通过将具有不同长径比的碳纳米管分散液制备成催化浆料,并均匀涂覆在电极两侧。该设计充分发挥了不同长径比碳纳米管的独特优势,形成了连续、均匀的导电通道,从而显著提升了电极的导电性能和催化活性。此外,在分散液共混和涂覆过程中,不同长径比碳纳米管之间发生堆叠和搭接,产生了多尺度的孔道结构:微米级的大孔道为电解质的高速流动提供了宏观通道,而纳米级孔隙则为电化学反应提供了更多的活性位点。将该多尺度孔包覆结构电极应用于全钒液流电池时,显著提升了电池的充放电性能及循环稳定性。

一种粘结剂辅助金属催化剂改性电极材料及其制备方法和用途

NºPublicación:  CN120709402A 26/09/2025
Solicitante: 
中国科学院过程工程研究所河南国科资环产业技术开发有限公司
CN_120709402_PA

Resumen de: CN120709402A

本发明涉及一种粘结剂辅助金属催化剂改性电极材料及其制备方法和用途,所述粘结剂辅助金属催化剂改性电极材料包括改性石墨毡和负载于改性石墨毡上的金属催化剂,所述改性石墨毡与金属催化剂之间通过粘结剂连接;所述粘结剂的化学结构式中含有极性基团;所述改性石墨毡中含有含氧官能团。本发明提供的粘结剂辅助金属催化剂改性电极材料提高了铬离子对的电化学活性,进而提高了铁铬液流电池的能量效率和电压效率。粘结剂的引入不仅可以固定催化剂,也可增强石墨毡的机械强度,减少循环过程中的纤维断裂或脱落,延长电极使用寿命。

一种直接硼氢化钠燃料电池阳极催化剂及其制备和应用

NºPublicación:  CN120709399A 26/09/2025
Solicitante: 
杭州电子科技大学
CN_120709399_PA

Resumen de: CN120709399A

本发明公开了一种直接硼氢化钠燃料电池阳极催化剂,以纳米碳材料为活性组分的载体,活性组分分布在纳米碳材料表面形成三维负载型的微观结构;活性组分为Pt、Au、Pd三者组成的合金纳米颗粒。本发明还公开该催化剂的制备方法,以纳米碳材料为碳热载体,碳热载体与Pt、Au、Pd的金属前驱体混合,负载于导电基体上,通过碳热冲击法制得所述催化剂。导电基体为泡沫镍或碳布,前者时,催化剂原位形成于泡沫镍上,可直接作为直接硼氢化钠燃料电池的阳极使用。本发明利用Pt、Au和Pd的多元金属内部的电子转移结构实现三者协同催化,再协同纳米碳载体的分散作用,提升了催化剂的催化选择性和催化性能,并显著提高了库仑效率。

燃料电池冷却系统及燃料电池控温方法

NºPublicación:  CN120709410A 26/09/2025
Solicitante: 
财团法人车辆研究测试中心
CN_120709410_PA

Resumen de: CN120709410A

本发明提供一种燃料电池冷却系统,其用于低温物流车,且包含第一及第二热交换模组、冷却泵组件、电磁阀组件与电子控制单元,第一及第二热交换模组分别用以与车外及低温货厢内的空气热交换,冷却泵组件用以使冷却液循环,电磁阀组件电性连接电子控制单元;以电子控制单元进行一燃料电池控温方法,首先接收燃料电池系统的输出功率调整信息,据以计算冷却液的预估温度、判断预估温度是否超出预先储存的温度区间,从而控制电磁阀组件,决定冷却液通过第一热交换模组降温后,是否通过第二热交换模组降温,借以控制燃料电池系统的工作温度。

燃料电池的给料排渣智能系统及给料排渣控制方法

NºPublicación:  CN120709412A 26/09/2025
Solicitante: 
华中科技大学
CN_120709412_PA

Resumen de: CN120709412A

本发明提供一种燃料电池的给料排渣智能系统及给料排渣控制方法,属于燃料电池技术领域,该系统包括:燃料电池,包括由下到上依次设置的:残渣室、设置有熔融电解质的反应室和燃料室;系统包括:给料推杆,第一端位于燃料室外侧,第二端穿过燃料室到达反应室;分布轮,设置于反应室内且位于给料推杆下方;刮渣板,设置于残渣室内;凸轮,设置于给料推杆的第一端;控制装置,用于基于燃料电池的负载信号确定燃料给料量,并基于燃料给料量确定凸轮的转角,且基于转角控制凸轮转动,驱动给料推杆按照燃料给料量向反应室补充燃料,且在燃料电池的输出电流衰减达到目标条件的情况下,控制刮渣板工作。本发明可解决燃料电池的发电效率低的问题。

一种阴极供气系统

NºPublicación:  CN120709415A 26/09/2025
Solicitante: 
中汽创智科技有限公司
CN_120709415_PA

Resumen de: CN120709415A

本申请公开了一种阴极供气系统,应用于燃料电池,该系统包括:空气压缩装置,包括通过输入气体管路与燃料电池的电堆连通的压缩空气出口;设置于输入气体管路上的冷却器,用于将压缩空气出口输出的压缩后空气的压缩后温度冷却至工作温度;设置在空气压缩装置与冷却器之间的输入气体管路上的第一气液换热器;与电堆通过输出气体管路连通的气体回收装置;输出气体管路上设置有第二气液换热器;用于驱动换热介质在第一气液换热器、第二气液换热器之间流动的循环泵。本申请通过在压缩后空气和待回收气体之间进行能量交换,降低了压缩后空气温度,提高了待回收气体的温度,实现了既降低冷却器的能量消耗又增加待回收气体中可回收的能量的有益效果。

一种燃料电池膜含水量表征系统及方法

NºPublicación:  CN120703169A 26/09/2025
Solicitante: 
同济大学
CN_120703169_PA

Resumen de: CN120703169A

本发明公开一种燃料电池膜含水量表征系统及方法,属于燃料电池技术领域。该方法通过搭建由气体供应装置、气体预冷装置、恒温水域、控制器、高低温环境箱以及电化学工作站组成的阻抗测试平台,开展冷启动变工况阻抗测试试验与含水量标定试验,建立“工况‑阻抗”及“工况‑含水量”数据集。借助高斯过程回归模型对数据集进行拟合与预测,并经试验验证和修正,获取高精度变工况“阻抗‑含水量”数据集。本发明有效解决现有膜含水量表征方法无法应对变工况条件的问题,实现膜含水量与变工况精准映射,为变工况条件下燃料电池内部含水状态表征研究提供有力技术支撑。

基于界面扰流强化太阳能液流电池性能的方法

NºPublicación:  CN120709421A 26/09/2025
Solicitante: 
金博源新能源科技(苏州)有限公司
CN_120709421_PA

Resumen de: CN120709421A

本发明涉及电池制造技术领域,公开了基于界面扰流强化太阳能液流电池性能的方法,包括:根据光电极基底类型和传质需求安装界面扰流装置,规划主通道与分支微通道组成的混合流道,对平板基底电极进行双阶段处理并设置宏观导流结构,根据实时采集太阳能液流电池中电解液的浓度、流速和温度的数据信息,调整混合流道内温度调控装置的运行状态以及混合流道的阀门开合度,记录工况参数组合并建立运行数据库。本发明通过扰流装置安装、流道规划、基底处理、多参数调控及数据建库等手段,强化太阳能液流电池电极电解液界面上的传质,同时根据电池工况动态优化运行参数,提升太阳能液流电池性能。

金属支撑固体氧化物电池镍铁支撑体、全电池及制备方法

NºPublicación:  CN120709408A 26/09/2025
Solicitante: 
天津大学
CN_120709408_PA

Resumen de: CN120709408A

本发明属于固体氧化物电池技术领域,公开了金属支撑固体氧化物电池镍铁支撑体、全电池及制备方法。该金属支撑固体氧化物电池镍铁支撑体,在还原性气氛下,为镍铁合金材质,通过双层流延相转化工艺制备形成具有梯度孔隙分布的梯度孔隙结构,梯度孔隙结构为包含指状孔道层和皮肤层的复合结构。本发明相比陶瓷材料具有更高的机械强度与导热性,能够更好地承受热冲击和机械应力,尤其适合高温和快速热循环的工作环境,使它能够在50℃/min的快速升温条件下保持良好的结构稳定性。

一种基于氢气泄漏的锌溴液流电池故障识别方法、系统、设备及介质

NºPublicación:  CN120709429A 26/09/2025
Solicitante: 
西安热工研究院有限公司华能赫章风力发电有限公司
CN_120709429_PA

Resumen de: CN120709429A

本发明属于液流电池储能技术领域,公开了一种基于氢气泄漏的锌溴液流电池故障识别方法、系统、设备及介质,识别方法包括,获取锌溴液流电池负极储液罐中电解液的实测pH值;基于pH‑SOC标准曲线,根据当前充放电状态的荷电状态值,获取对应的标准pH值;计算所述实测pH值与标准pH值的pH偏差;若pH偏差在设定阈值范围内,则锌溴液流电池系统发生氢气泄漏故障,否则,锌溴液流电池系统正常。通过实时对比实测pH值与标准曲线的偏差,能够快速识别异常析氢反应,实现锌溴液流电池析氢副反应的早期预警与主动防护,适用于大规模储能系统的电池健康管理。

燃料电池堆活化方法和活化装置、存储介质

NºPublicación:  CN120709419A 26/09/2025
Solicitante: 
北京卡文新能源汽车有限公司
CN_120709419_A

Resumen de: CN120709419A

本申请公开了一种燃料电池堆活化方法和活化装置、存储介质,所述方法包括:对目标燃料电池堆加载预设恒流电流,开始活化目标燃料电池堆,并在目标燃料电池堆的电流密度达到第一预设电流密度后,调整进入目标燃料电池堆阴极的湿度,直至进入第一预设湿度范围;调整进入目标燃料电池堆阴极的湿度,直至进入至第二预设湿度范围且持续第三预设时长;按照预设阈值增大电流密度,并在每个电流密度下施加目标阈值的压力脉冲,直至电流密度增大至目标电流密度;在确定目标燃料电池堆的电压变化达到预设条件的情况下,停止加载恒流电流并停止施加压力脉冲,以终止活化目标燃料电池堆。本申请的方法,能够提升活化过程的效率,且降低了膜电极的损伤。

用于燃料电池的引射器、控制方法及燃料电池

NºPublicación:  CN120709414A 26/09/2025
Solicitante: 
北京卡文新能源汽车有限公司
CN_120709414_PA

Resumen de: CN120709414A

本申请公开了一种用于燃料电池的引射器、控制方法及燃料电池,所述引射器包括,第一壳体、第一流道、第二壳体及回流阀,第一壳体内形成有第一腔体以及与第一腔体连通的敞开口,第一壳体上设置有与第一腔体连通设置有氢气出口,第一壳体上设置有回流通道,回流通道的出口连通至第一腔体,第一流道收容于第一腔体内,第一流道的一端与氢气出口连通,第一流道另一端延伸至敞开口且设置与敞开口敞开方向相同的流道出口,第二壳体内形成有第二流道,第二流道的进口分别与敞开口和流道出口连通,回流阀设置于回流通道且回流阀的开度可调以控制回流气体的流量,可以提高引射器的兼容性,以适配不同功率的燃料电池发动机。

一种高能燃料电池的封装检测方法及装置

NºPublicación:  CN120709423A 26/09/2025
Solicitante: 
上海镁源动力科技有限公司
CN_120709423_PA

Resumen de: CN120709423A

本发明公开了一种高能燃料电池的封装检测方法及装置,高能燃料电池包括罐体、设置在罐体内部的螺旋电极管和透气缸以及罐体底部的陶瓷柱,方法包括:获取并核对高能燃料电池的质检信息;根据高能燃料电池的质检信息,提取高能燃料电池的待检测图像;结合待检测图像,分析螺旋电极管和透气缸的位置关系、陶瓷柱的数量,给出第一检测结果;根据第一检测结果,优化螺旋电极管的位置,控制高能燃料电池的封装,并给出封装检测数据;结合预先构建的燃料电池三维模型,分析封装检测数据,给出封装检测结果,完成对高能燃料电池的封装检测。通过对燃料电池封装前后的质量进行监测分析,保证了燃料电池的使用可靠性和稳定性。

一种全钒液流电池正极电解液及其应用

NºPublicación:  CN120709438A 26/09/2025
Solicitante: 
重庆新型储能材料与装备研究院重庆大学
CN_120709438_PA

Resumen de: CN120709438A

本发明公开了一种全钒液流电池正极电解液及其应用,全钒液流电池正极电解液中含有复合添加剂;所述复合添加剂由磷酸钠和/或十六烷基三甲基溴化铵组成;其中,在所述全钒液流电池正极电解液中,磷酸钠的浓度为0~0.05mol/L,十六烷基三甲基溴化铵的浓度为0~0.5mmol/L。

钨基纳米颗粒材料及制备方法和应用

NºPublicación:  CN120698505A 26/09/2025
Solicitante: 
中国科学院海洋研究所
CN_120698505_PA

Resumen de: CN120698505A

本发明涉及微生物燃料电池领域,具体涉及一种钨基纳米颗粒材料及制备方法和在制备微生物燃料电池阳极中的应用。制备方法为以Na2WO4·2H2O和C2H2O4·H2O为原料,在硫脲存在下于酸性环境中进行水热反应,反应后干燥即获得钨基纳米颗粒材料。所得纳米花或纳米棒状结构的钨基纳米颗粒材料。钨基纳米材修饰的碳纸复合电极作为阳极的MFCs电池电压达到0.556V(R=1000Ω),平均最大功率密度高达2.32W·m‑2,因此钨基纳米材修饰的碳纸复合电极作为阳极所组装的器件具有优异的功率输出,为MFC的商业化应用提供了可能性,应用前景好。

一种具有防护结构的氢燃料电池

NºPublicación:  CN120709413A 26/09/2025
Solicitante: 
广州德松机电设备有限公司
CN_120709413_PA

Resumen de: CN120709413A

本发明公开了一种具有防护结构的氢燃料电池,涉及氢燃料电池技术领域,包括电池堆本体、储氢壳和电动伸缩杆部件,所述电池堆本体的正面安装有储氢壳,所述电池堆本体的外侧安装有防护框,所述电动伸缩杆部件的输出端安装有推杆,所述推杆的一端贯穿储氢壳的正面内壁,所述推杆的一端安装有压力传感器部件,所述压力传感器部件的输入端设置有挤压机构。本发明通过储氢壳可以储存氢气,避免使用外接的氢气罐造成的设备整体体积大的问题,电动伸缩杆部件带动压板向后移动对氢气进行挤压,避免氢气含量减少造成氢气无法排出进入到电池堆本体中,使储氢壳中氢气能够充分被利用,且防护框能够减少外界冲击对储氢壳和电池堆本体的伤害。

氢动力系统、车辆和氢动力系统的控制方法

NºPublicación:  CN120697539A 26/09/2025
Solicitante: 
北汽福田汽车股份有限公司
CN_120697539_PA

Resumen de: CN120697539A

本公开涉及一种氢动力系统、车辆和氢动力系统的控制方法,氢动力系统包括供氢管路,供氢管路上依次连接有储氢装置、压力调节组件和动力件,供氢管路上旁接有可开闭地抽气组件,抽气组件连接在压力调节组件和动力件之间,抽气组件连接有储气罐,且储气罐可通断地与供氢管路连接。在供氢管路上增设了可开闭的抽气组件,通过抽气组件与压力调节组件的协同工作,可快速响应动力件的压力需求变化提升氢动力系统的响应速度。不仅能够避免传统系统因调节滞后导致的管路压力骤增,从而紧急泄压造成的氢气浪费,提升系统的工作稳定性和氢气利用率,同时还可以提升氢动力系统适应的压力调节范围,提升系统的通用性。

一种质子交换膜燃料电池流道及质子交换膜燃料电池

NºPublicación:  CN120709409A 26/09/2025
Solicitante: 
中国三峡新能源(集团)股份有限公司
CN_120709409_PA

Resumen de: CN120709409A

本公开提供了一种质子交换膜燃料电池流道及质子交换膜燃料电池,包括设置在双极板上的阴极流道和阳极流道,阴极流道为变周期三维波浪形流道,和/或,阳极流道为变周期三维波浪形流道,变周期三维波浪型流道的出口段的周期小于变周期三维波浪型流道的入口段的周期。采用本技术方案,将阴极流道和/或阳极流道设计为变周期三维波浪形流道,并且将变周期三维波浪型流道的出口段的周期设置为小于变周期三维波浪型流道的入口段的周期,能够提高氧气催化层方向的扩散速度、使得氧气的分布更加均匀、电化学反应更加充分,从而提高电池的性能。

一种多尺度孔包覆催化剂结构电极及其制备方法与应用

NºPublicación:  CN120709403A 26/09/2025
Solicitante: 
三峡新能源吉木萨尔发电有限公司中国三峡新能源(集团)股份有限公司
CN_120709403_A

Resumen de: CN120709403A

本发明属于液流电池技术领域,公开了一种多尺度孔包覆催化剂结构电极及其制备方法与应用,将模板剂、造孔剂、碳源分散或溶解于去离子水中,并进行冷冻干燥制备;将冷冻干燥后的的混合料通过惰性气体氛围保护下,在300~450℃下进行预碳化与造孔剂分解,在700~1500℃下进行高温碳化与模板剂的热分解细化,得到待刻蚀碳物料;将待刻蚀碳物料与酸液接触进行脱模板剂处理,抽滤并使用去离子水清洗后进行干燥。本发明考虑了目前钒液流用电极材料面临的活性不足、钒离子扩散缓慢等问题,首次提出了通过电极表面的多尺度孔结构,以提升电极反应和离子扩散动力学,进而显著改善钒液流电池的能量转换效率与电解液利用率。

燃料电池系统

NºPublicación:  CN120709440A 26/09/2025
Solicitante: 
洋马控股株式会社
CN_120709440_PA

Resumen de: CN120709440A

本发明提供一种燃料电池系统。不必使壳体的耐压过度增大,就降低在万一在模块设置分区内发生了爆炸时壳体破损的可能性。燃料电池系统具备:壳体,具有设置燃料电池模块的模块设置分区;和双层壁部,具有内壁及外壁。壳体具有外壁。模块设置分区具有内壁。内壁具有压力释放部。在模块设置分区内的压力达到低于外壁的耐压的规定压力时,压力释放部释放压力。

一种ZIF-L衍生Fe-N-C氧还原催化剂及其制备方法和应用

NºPublicación:  CN120709387A 26/09/2025
Solicitante: 
中南大学
CN_120709387_PA

Resumen de: CN120709387A

本发明属于电化学催化技术领域,具体公开了一种ZIF‑L衍生Fe‑N‑C氧还原催化剂及其制备方法和应用,制备方法包括以下步骤:以水作为溶剂制备水系MOF材料ZIF‑L,在ZIF‑L生长过程中引入三价铁源,得到Fe‑ZIF‑L前驱体;Fe‑ZIF‑L前驱体经煅烧后得到Fe‑N‑C氧还原催化剂。本发明以水为溶剂制备ZIF‑L,并在ZIF‑L生长过程中直接掺杂多种廉价铁源制备Fe‑ZIF‑L前驱体,避免了传统方法中有机溶剂的使用,显著降低了制备成本,同时减少了环境污染,具有良好的经济性和环境可持续性。

燃料电池用膜加湿器

NºPublicación:  CN120712665A 26/09/2025
Solicitante: 
可隆工业株式会社
CN_120712665_PA

Resumen de: WO2024172568A1

The present invention relates to a membrane humidifier for a fuel cell. The membrane humidifier comprises: a housing having an inlet, which is formed on one side thereof and through which wet gas is introduced, and an outlet, which is formed on the other side thereof and through which the wet gas introduced through the inlet is discharged; a first cap which is coupled to the one side of the housing and through which external air is introduced; a plurality of hollow fiber membranes which are disposed in the housing and through which the external air introduced through the first cap flows, the wet gas humidifying the external air by contacting the outer surfaces of the hollow fiber membranes; a spraying unit which uses air pressure to move the wet gas introduced through the inlet toward the outlet under predetermined conditions; and a second cap which is coupled to the other side of the housing and through which the external air, humidified while flowing along the hollow fiber membranes, is discharged.

燃料电池的进氢循环系统和车辆

NºPublicación:  CN120709411A 26/09/2025
Solicitante: 
北汽福田汽车股份有限公司
CN_120709411_PA

Resumen de: CN120709411A

本申请涉及燃料电池技术领域,特别涉及一种燃料电池的进氢循环系统和车辆,该系统包括第一引射器、第一比例阀组、第二引射器、第二比例阀组和氢气循环泵,第一引射器通过第一比例阀组与储氢罐相连,第二引射器通过第二比例阀组与储氢罐相连,第二引射器和第一引射器的出口与燃料电池的进氢口分别相连,燃料电池的出氢口通过氢气循环泵与第一引射器相连构成第一供氢通路,出氢口还与第一引射器相连构成第二供氢通路,出氢口通过氢气循环泵与第二引射器相连构成第三供氢通路;在运行中,根据储氢罐的供氢压力、进氢循环系统的实际计量比和需求计量比切换三个通路的通断状态。该系统实现了气‑液氢进氢循环共平台设计,降低了系统成本和集成复杂度。

燃料电池内部液态水产生及排出的模拟系统

NºPublicación:  CN120709422A 26/09/2025
Solicitante: 
北京怀柔实验室上海神力科技有限公司清华大学
CN_120709422_PA

Resumen de: CN120709422A

本申请公开了一种燃料电池内部液态水产生及排出的模拟系统,涉及燃料电池技术领域,该模拟系统包括模拟燃料电池、注水泵、空压机和控制器,通过控制器控制注水泵向模拟燃料电池中模拟阳极流场端板的进水口注入水,使注入的水先填满模拟阳极流道,再均匀地从超滤膜和碳纸渗透过去,到达模拟阴极流道,等效表征实际燃料电池内部液态水的产生及渗透到阴极流道的过程;同时,通过控制器控制空压机向模拟燃料电池中模拟阴极流场端板的进气口注入空气,等效表征实际燃料电池阴极端注入空气以及阴极端反应外多余空气将阴极流道内液态水吹扫排出的过程;如此,该模拟系统可用于观测燃料电池内部液态水的产生及输运特性,为燃料电池双极板流道设计做指导。

用于基于模型运行冷却剂系统的方法、控制单元和燃料电池系统

NºPublicación:  CN120712664A 26/09/2025
Solicitante: 
罗伯特·博世有限公司
CN_120712664_PA

Resumen de: WO2024165623A1

The invention relates to a method for model-based operation, in particular open-loop and/or closed-loop control, of a coolant system (10), preferably for operation of an electrochemical energy converter, preferably of a fuel cell system (100) or of an electrolyzer, comprising: - determining a temperature range (T1(i), T2(i)) for at least one subsystem of the coolant system (10), - approximating a temperature-dependent specific heat capacity (cp(T)) of a coolant of the coolant system (10) for the determined temperature range (T1(i), T2(i)), - determining a specific enthalpy (h) of the coolant as a function (h(T)) of a temperature (T) on the basis of the approximation step, - operating the coolant system (10) on the basis of the determination step.

一种氢燃料电池测试短堆结构

NºPublicación:  CN120709441A 26/09/2025
Solicitante: 
安徽瑞氢动力科技有限公司
CN_120709441_PA

Resumen de: CN120709441A

本发明公开了一种氢燃料电池测试短堆结构,包括进气端板、堆芯以及盲端端板,所述堆芯设置进气端板和盲端端板之间,所述进气端板和盲端端板之间通过设置在周围的一组螺杆结构相连,所述盲端端板和堆芯之间设有弹簧结构,所述弹簧结构位于一组螺杆结构内侧。在短堆上浮动端板和盲端端板之间增加了弹簧结构,可以真实模拟长堆堆芯的受力状态,避免组装力衰减给堆芯性能和密封带来的影响;短堆盲端端板上均匀分布了顶紧螺栓,可根据组装力大小任意调整组装力,堆芯受力比较均匀,保证堆芯活性区域有足够的接触;进气端板上加工螺纹孔,利用进气端板上的螺纹孔,直接旋紧螺栓即可实现电堆的固定,组装操作简便。

燃料电池系统

NºPublicación:  CN120709439A 26/09/2025
Solicitante: 
本田技研工业株式会社
CN_120709439_PA

Resumen de: US2025300207A1

A fuel cell system includes: a fuel cell stack constituted by stacking a plurality of power generation cells; an injector configured to inject fuel gas to be supplied to the fuel cell stack; a pressure sensor configured to detect a pressure of the fuel gas to be supplied to the fuel cell stack; and a control unit configured to set an injection cycle of the injector and to control the injector to inject the fuel gas in the injection cycle. The control unit controls the injector to inject the fuel gas earlier than lapse of the injection cycle when a pressure difference between the pressure detected by the pressure sensor and a target pressure becomes equal to or larger than a predetermined value.

一种用于盐蚀电极活化的装置

NºPublicación:  CN120709420A 26/09/2025
Solicitante: 
山东奥氢动力科技有限公司
CN_120709420_PA

Resumen de: CN120709420A

本发明涉及电极活化的技术领域,特别是涉及一种用于盐蚀电极活化的装置,其通过升降结构,对多个电极进行整体升降,避免溶液干扰,方便电极取放,安全性好;包括净化箱、控制器主体、电缆一和电缆二;还包括电极架、两个齿条一、两个轮架、两个齿轮和两个齿条二,电极架用于装载多个电极,电极架上设置与电缆一和电缆二电性连接的结构,电极架的左右两侧均竖直安装齿条一,两个轮架分别安装在净化箱的活化腔室的左右内壁上,两个齿轮分别转动安装在两个轮架上,两个齿条一分别与两个齿轮啮合,两个齿条二分别竖直滑动安装在净化箱的活化腔室的左右内壁上,两个齿条二分别与两个齿轮啮合。

一种三维波纹膜组件及其制备方法

NºPublicación:  CN120709406A 26/09/2025
Solicitante: 
郑州永泽环保设备有限公司
CN_120709406_PA

Resumen de: CN120709406A

本发明公开了一种三维波纹膜组件及其制备方法,有效地降低了浓差极化层厚度,包括:具有周期性波浪结构的膜基体,所述波浪结构的波纹方向与预定流体流向呈非平行夹角;所述膜基体上分布有跨尺度孔隙,所述跨尺度孔隙包括宏观波纹谷底孔隙、介观波纹峰顶孔隙及微观纳米纤维交织孔隙;所述膜基体由聚合物基底构成,所述聚合物基底包括动态共价网络及离子传导基团,本发明结构新颖,构思巧妙,操作简单方便,有效地达到了降低能耗目的,增加了膜组件的自修复功能,增加了离子传输效率,降低了膜污染的速率,达到了更好的抗污染性能。

燃料电池空气温湿度控制系统及其控制方法、燃料电池

NºPublicación:  CN120709417A 26/09/2025
Solicitante: 
一汽解放汽车有限公司
CN_120709417_PA

Resumen de: CN120709417A

本发明提供了一种燃料电池空气温湿度控制系统及其控制方法、燃料电池。该控制系统包括:空压机、气液混合蒸发装置和气辅助超微雾化喷射器,气液混合蒸发装置的进口端与空压机的一个出口连通设置,气液混合蒸发装置的出口靠近燃料电池电堆设置;气辅助超微雾化喷射器的一个进口端与空压机的另一个出口连通设置,气辅助超微雾化喷射器的喷雾出口与气液混合蒸发装置连通设置;其中,燃料电池电堆的第一出口端通过水汽分离器与储水箱的进水口连通,储水箱的出水口与气辅助超微雾化喷射器的另一个进口连通。本申请解决了现有技术中燃料电池系统不能精准控制燃料电池空气温湿度的问题。

Système propulsif pourvu d’une pile à combustible à puissance thermique régulée et aéronef comportant un tel système

NºPublicación:  FR3160393A1 26/09/2025
Solicitante: 
SAFRAN [FR]
SAFRAN
FR_3160393_PA

Resumen de: FR3160393A1

Système propulsif comportant au moins une turbomachine (1) et un dispositif de production d’électricité (3) comportant une pile à combustible à haute température reliée à un circuit électrique (4) ; la turbomachine (1) et le dispositif de production d’électricité (3) étant alimentés par un hydrocarbure via un premier organe d’injection d’hydrocarbure (15) et un deuxième organe d’injection d’hydrocarbure (321) respectivement, le dispositif de production d’électricité (3) comprenant un organe (32) de transformation de l’hydrocarbure en combustible, ledit organe de transformation (32) étant relié au deuxième organe d’injection d’hydrocarbure (321), à un organe d’injection d’eau (322) et à un organe d’injection d’air (323), le système propulsif comprenant au moins une unité électronique de commande (7) reliée aux organes d’injection (15, 321, 322, 323) pour commander ceux-ci de manière à réguler une puissance thermique du dispositif de production d’électricité (3) en fonction d’un ratio air/eau dépendant de l’hydrocarbure. FIGURE DE L’ABREGE : Fig. 1

Ensemble propulsif pour aéronef comprenant une turbomachine à gaz et une pile à combustible et procédé associé

NºPublicación:  FR3160394A1 26/09/2025
Solicitante: 
SAFRAN POWER UNITS [FR]
SAFRAN HELICOPTER ENGINES [FR]
SAFRAN POWER UNITS,
SAFRAN HELICOPTER ENGINES
FR_3160394_PA

Resumen de: FR3160394A1

Un ensemble propulsif (1) pour aéronef comprenant une turbomachine à gaz (3), comprenant un étage de compression (31) et une chambre de combustion (32) alimentée avec un flux d’air comprimé (A) issu de l’étage de compression (31), au moins une pile à combustible (4) alimentée par un flux d’air d’alimentation (FA), et un dispositif d’alimentation en air (5) de la pile à combustible (4). Le dispositif d’alimentation (5) en air est configuré pour : recevoir, d’une part, une partie du flux d’air comprimé (A) issu de l’étage de compression (31), ci après « flux d’air auxiliaire » (A2), et, d’autre part, un flux d’air extérieur (B) issu de l’environnement extérieur à la turbomachine à gaz (3) ; et mélanger le flux d’air auxiliaire (A2) et le flux d’air extérieur (B), de manière à former un flux d’air d’alimentation (FA) comprimé pour alimenter la pile à combustible (4). Figure de l’abrégé : Figure 1

一种氮硫共掺杂Fe基双原子催化剂、制备方法及其应用

NºPublicación:  CN120709394A 26/09/2025
Solicitante: 
中国海洋大学中国科学院青岛生物能源与过程研究所
CN_120709394_PA

Resumen de: CN120709394A

本发明属于催化剂领域,具体涉及一种氮硫共掺杂Fe基双原子催化剂、制备方法及其应用。本发明以六亚甲基四胺和2,4‑二羟基苯甲酸为硬模板,油酸钠、P123及分子量4000的聚乙二醇为软模板,混合均匀后水热反应制备HBP,负载Fe离子,再与硫脲通过高温煅烧进行氮硫掺杂,获得了氮硫掺杂的空心碳碗负载的Fe基双原子催化剂,在碱性条件下展现出优异的ORR催化活性以及在锌空气电池中表现出优异的应用性能。

一种燃料电池系统的功率控制方法

NºPublicación:  CN120709430A 26/09/2025
Solicitante: 
佛山市清极能源科技有限公司
CN_120709430_PA

Resumen de: CN120709430A

本发明涉及燃料电池功率控制技术领域,具体公开一种燃料电池系统的功率控制方法,其包括步骤:当需要对燃料电池系统拉载功率或降载功率时,通过引入一个虚拟目标功率(P1或P3)和动态调整电堆电流控制环路的积分常数Ki,在接近目标功率的关键阶段主动地放缓电流的变化速率,从而规避或显著削弱由电堆特性引发的电流超调现象,提高燃料电池系统系统运行的稳定性,并降低噪音。

异氰酸酯参与的交联型聚芳基阴离子交换膜、其制备方法及应用

NºPublicación:  CN120699213A 26/09/2025
Solicitante: 
宿迁时代储能科技有限公司
CN_120699213_PA

Resumen de: CN120699213A

本发明提供一种异氰酸酯参与的交联型聚芳基阴离子交换膜、其制备方法及应用。本发明使用一种或多种芳香化合物作为聚合物单体主链,在超强酸的催化作用下与氮杂环羰基化合物缩合得到聚合物中间体,引入长链羟基结构作为交联反应位点,成膜过程中添加二异氰酸酯结构完成交联。本发明制备的交联型聚芳基阴离子交换膜具有极优的空间尺寸稳定性和膜骨架稳定性,较强的机械性能、较强的耐氧化还原性、较强的抗溶胀性、极佳的耐腐蚀性以及较长的使用寿命的优点,本发明异氰酸酯参与的交联型聚芳基阴离子交换膜在液流电领域具有良好的应用前景和大规模推广潜力。

一种基于微胶囊封装热响应玻璃陶瓷修复剂及其制备方法和在SOFC电解质自修复的应用、固体氧化物燃料电池

NºPublicación:  CN120698812A 26/09/2025
Solicitante: 
安徽奇瑞绿能生态科技有限公司
CN_120698812_PA

Resumen de: CN120698812A

本发明提供了一种基于微胶囊封装热响应玻璃陶瓷修复剂及其制备方法和在SOFC电解质自修复的应用、固体氧化物燃料电池,修复剂包括纳米多孔Al2O3微胶囊和封装于纳米多孔Al2O3微胶囊中的玻璃陶瓷修复剂;其中,玻璃陶瓷修复剂包括低温流动玻璃相和离子导电陶瓷相;电解质裂纹扩展时,微胶囊破裂释放修复剂;玻璃相在SOFC运行温度下熔融流动填充裂纹,随后晶化形成与电解质相容的MgAl2O4‑CeO2复相陶瓷,恢复致密结构。与现有技术相比,本发明修复剂与SOFC电解质材料兼容、能在运行温度下触发修复、且不损伤电极层的微裂纹自修复技术,能够实时修复无需停机,裂纹产生后自动触发修复。

多酸共价交联型芳香类质子交换膜及其制备方法和应用

NºPublicación:  CN120709435A 26/09/2025
Solicitante: 
长春理工大学长春理工大学重庆研究院
CN_120709435_A

Resumen de: CN120709435A

本发明涉及燃料电池质子交换膜设计合成技术领域,具体涉及一种多酸共价交联型芳香类质子交换膜及其制备方法和应用。该质子交换为聚1,2‑二苯乙烷‑靛红接枝了3‑溴丙烷基磺酸钠和6‑溴‑1‑己烯,再与Dawson型多酸{P2W17‑SH}发生巯基‑烯点击化学反应后得到;其中,3‑溴丙烷基磺酸钠和6‑溴‑1‑己烯的接枝发生在聚1,2‑二苯乙烷‑靛红的不同重复单元,Dawson型多酸{P2W17‑SH}与接枝6‑溴‑1‑己烯引入的乙烯基侧链发生巯基‑烯点击化学反应。本发明制备的质子交换膜有效地解决了燃料电池燃料渗透、成本高昂、多酸溶出、尺寸稳定性以及电导率和溶胀之间的权衡等问题。

燃料電池用セパレータの製造方法

NºPublicación:  JP2025139300A 26/09/2025
Solicitante: 
トヨタ自動車株式会社
JP_2025139300_A

Resumen de: JP2025139300A

【課題】十分なガス不透過性及び導電性を有しながら多層構造を有しない燃料電池用セパレータを、短い成形時間で製造することができる、燃料電池用セパレータの製造方法を提供する。【解決手段】燃料電池用セパレータの製造方法は、熱可塑性樹脂、球状黒鉛、及び炭素繊維を混合して混合材を作製する工程であって、前記混合材が、前記混合材の総体積を基準として37体積%以上45体積%未満の量の前記熱可塑性樹脂を含む、工程と、前記混合材を加熱して軟化させる工程と、軟化した前記混合材をプレスしながら冷却して成形体を得る工程と、を含む。【選択図】なし

ガスタンクの交換方法

NºPublicación:  JP2025139185A 26/09/2025
Solicitante: 
トヨタ自動車株式会社
JP_2025139185_PA

Resumen de: US2025290605A1

The method comprises: a first step of supplying the gas in the first tank body to the gas consuming device through the first gas supply pipe by bringing the first gas tank into the first state; a second step of bringing the first gas tank from the first state to the second state after the first step has been followed by a reduction in the amount of the gas in the first tank body to less than a predetermined reference amount; and a third step of bringing the first gas tank from the second state to the third state after the gas in the first gas supply pipe has been consumed by the gas consuming device and the pressure of the gas in the first gas supply pipe has been reduced to less than the predetermined reference pressure after the second step.

可逆燃料電池システム及びその運転方法

NºPublicación:  JP2025139499A 26/09/2025
Solicitante: 
国立大学法人九州大学
JP_2025139499_PA

Resumen de: JP2025139499A

【課題】システム構成を簡素化でき、システムの運転に必要な水素の過剰消費を防ぐことができる可逆燃料電池システムを提供する。【解決手段】燃料極と、空気極と、固体電解質とを有し、水電解と発電を可逆的に行うことができる固体酸化物形可逆燃料電池と、水素及び/又は水蒸気を含む燃料ガスを前記燃料極に供給する燃料供給部と、酸素を含むガスを前記空気極に供給する酸素供給部と、水電解モードと発電モードに切り換える制御部と、を有し、前記燃料供給部が、燃料貯蔵装置と、第1燃料配管と、第2燃料配管とを有し、水電解モード及び発電モードのいずれにおいても燃料ガスの流通方向が同一である可逆燃料電池システム。【選択図】図2

一种氢气电磁阀连接结构以及电磁阀

NºPublicación:  CN223388111U 26/09/2025
Solicitante: 
浙江洁利尔液压科技有限公司
CN_223388111_U

Resumen de: CN223388111U

本实用新型公开了一种氢气电磁阀连接结构以及电磁阀,包括前厄、尾厄、隔磁套,尾厄上开设有装配槽,前厄与隔磁套相互扣接,前厄与隔磁套之间设置有第一密封圈,尾厄的端部可拆卸式连接于装配槽内,尾厄与隔磁套之间设置有第二密封圈,通过此种方式,尾厄与隔磁套螺纹连接、隔磁套远离尾厄的一端扣压于契合槽内,采用螺纹连接和扣压方式替代传统的焊接工艺,不仅简化了生产工艺,降低了生产成本,还避免了焊接过程中可能出现的缺陷,如焊缝开裂、气孔等,从而显著提高了产品的良品率。

一种燃料电池堆堆叠压装设备

NºPublicación:  CN223390571U 26/09/2025
Solicitante: 
湖北魔方新能源科技有限公司
CN_223390571_U

Resumen de: CN223390571U

本实用新型提供一种燃料电池堆堆叠压装设备,涉及燃料电池堆技术领域,包括设备机罩骨架,设备机罩骨架的顶部一端设有警报器,设备机罩骨架的侧面正面设有设备HMI控制系统,设备HMI控制系统的底部设有按钮开关,设备HMI控制系统的顶部设有压机控制系统,设备机罩骨架的底部设有支撑垫脚,设备机罩骨架的内部设有电堆横移机构,电堆横移机构的顶部设有电堆支撑底板,电堆支撑底板的顶部设有电堆堆叠工装,设备机罩骨架的顶部设有电堆压机机构,采用控制系统对其它机构的控制,实现了使操作更方便,降低了人工劳动强度,提高工作效率,整体结构清洁无污染,有效保护环境。

一种多功能集成的歧管结构

NºPublicación:  CN223390572U 26/09/2025
Solicitante: 
亿创氢能源科技(张家港)有限公司
CN_223390572_U

Resumen de: CN223390572U

本申请公开了一种多功能集成的歧管结构,包括安装于电堆端板的第一歧管与第二歧管,所述第一歧管上形成有密封连接于所述电堆端板的第一混合空气端口、第一冷却液端口、第一氢气端口,所述第一混合空气端口与第一冷却液端口处分别设置有空气入温度传感器与冷却入温压传感器,所述第一混合空气端口连通于干空气入口与湿空气入口的合并,所述第一冷却液端口连通于冷却入口,所述第一氢气端口连通于氢气出口。本实用新型集成多个功能件,燃料电池系统整体集成度提高且具有流体分配功能,功能齐全,同时实现对压力与温度的监测功能。

分离式换热器和燃料电池热电联供系统

NºPublicación:  CN223388996U 26/09/2025
Solicitante: 
济南绿动氢能科技有限公司国家电投集团氢能科技发展有限公司
CN_223388996_U

Resumen de: CN223388996U

本实用新型的实施例提出一种分离式换热器和燃料电池热电联供系统。其中,所述的分离式换热器包括高温换热器、低温换热器和尾液集液装置。所述低温换热器与所述高温换热器分离式设置,所述高温换热器具有能换热的尾排冷凝通道和工质气化通道,所述尾排冷凝通道的尾排进口用于与电池的尾排管连通;所述低温换热器具有能换热的冷却水通道和工质液化通道,所述工质液化通道和所述工质气化通道通过管道连通以形成工质冷却循环通道,所述工质冷却循环通道内循环有有机相变工质,所述有机相变工质的沸点低于预设温度。因此,根据本实用新型的实施例的分离式换热器具有提升热量回收率和布设灵活性高的优点。

一种液流电池抗低温提高效率的结构

NºPublicación:  CN223390568U 26/09/2025
Solicitante: 
辽宁卓仑科技有限公司
CN_223390568_U

Resumen de: CN223390568U

本实用新型公开了一种液流电池抗低温提高效率的结构,包括:端板、加热机构、单电池组、连接螺栓、保温座组件、保温布以及尼龙绒带;三组加热机构均位于一对端板之间;单电池组位于一对加热机构之间;连接螺栓贯穿于一对端板,连接螺栓两对旋接有螺母;保温座组件连接于一对端板底部;保温布两端均设置有尼龙钩带;若干尼龙绒带设置于端板一侧。通过一对端板装配若干单电池组组成液流电池电堆的主要结构,同时加热机构穿插的放置于端板与单电池组之间,能够有效的将热量向单电池组内传递,提高温度,保温座组件能够将暖风从电堆的下方吹至上方,使电堆的底部热量提高,这对于电池的性能和寿命至关重要。

複合粉体、疑似触媒層、及び、燃料電池の製造方法

NºPublicación:  JP2025139045A 26/09/2025
Solicitante: 
株式会社豊田中央研究所
JP_2025139045_PA

Resumen de: JP2025139045A

【課題】触媒層のドライ成膜に用いることが可能な流動性の高い複合粉体、この複合粉体を含む疑似触媒層、及び、この複合粉体を用いた燃料電池の製造方法を提供すること。【解決手段】複合粉体は、電極触媒と、前記電極触媒の表面の全部又は一部を被覆する被膜とを備えている。前記電極触媒は、担体と、前記担体表面に担持された触媒粒子とを備えている。前記被膜は、アイオノマと糖質の混合物からなる膜、又は、前記アイオノマと前記糖質を含む多層膜からなる。疑似触媒層は、このような複合粉体からなる。燃料電池の製造方法は、電解質膜の少なくとも一方の表面に複合粉体をドライ成膜することにより、疑似膜電極接合体(前記糖質を含む膜電極接合体)を得る工程と、前記疑似膜電極接合体を用いて、疑似燃料電池(前記糖質を含む燃料電池)を構成する工程と、前記疑似燃料電池から前記糖質を除去し、燃料電池を得る工程とを備えている。【選択図】図3

燃料電池システム

NºPublicación:  JP2025139089A 26/09/2025
Solicitante: 
トヨタ自動車株式会社
JP_2025139089_PA

Resumen de: JP2025139089A

【課題】本明細書は、並列に接続された複数のFCスタックを有するFCシステムにおいて、夫々のFCスタックの最適な出力電流を決定する技術を提供する。【解決手段】本明細書が開示するFCシステムのコントローラは、夫々のFCスタックの出力電流/電圧の履歴に基づいて夫々のFCスタックの最新の電流電圧特性を特定する。コントローラは、夫々のFCスタックに対して、次の演算を実行する。(1)パラメータとしての仮出力電流を定める。(2)最新の電流電圧特性を用いて仮出力電流に対する仮出力電圧を算出し、仮出力電流に仮出力電圧を乗じて仮出力電力を算出する。(3)理論起電圧から仮出力電圧を引いた仮損失電圧に仮出力電流を乗じて仮発熱量を算出する。コントローラは、複数のFCスタックの総出力電力が目標出力電力に一致し、かつ、複数のFCスタックの総発熱量が最小となるように夫々の前記燃料電池スタックの目標出力電流を定める。【選択図】図4

燃料電池車の冷却装置

NºPublicación:  JP2025139521A 26/09/2025
Solicitante: 
トヨタ自動車株式会社
JP_2025139521_PA

Resumen de: US2025293275A1

A cooling device for a fuel cell vehicle that includes a fuel cell stack. The cooling device includes a condenser, a radiator and a fan that are stored in a front storage room of the vehicle. The condenser, the radiator and the fan are arranged in this order of description as seen in a longitudinal direction of the vehicle, which is a direction away from a front side of the vehicle toward a rear side of the vehicle. The condenser is smaller than the radiator in area as seen in the longitudinal direction. The condenser and the radiator are located relative to each other, such that a center position of the condenser is within the radiator as seen in the longitudinal direction, and such that the center position of the condenser is offset from a center position of the radiator toward an upper side of the vehicle.

燃料電池システム

NºPublicación:  JP2025139031A 26/09/2025
Solicitante: 
株式会社SUBARU
JP_2025139031_PA

Resumen de: JP2025139031A

【課題】過給機の劣化を抑制してアイドリング時や低温環境下での始動時などに燃料電池を低ストイキ制御で低電圧駆動することが可能な燃料電池システムを提供する。【解決手段】本開示の一形態における燃料電池システムは、コンプレッサーと燃料電池とを接続して酸化剤ガスが流通するガス供給流路と、燃料電池とタービンとを接続して排ガスが流通するガス排気流路と、ガス排気流路から分岐すると共にガス供給流路へ合流する排ガス還流路と、排ガス還流路に設けられて排ガスを送風する還流用ブロワと、排ガス還流路に設けられて排ガス還流路の開閉を行う還流用バルブと、還流用ブロワの駆動制御および還流用バルブの開閉制御を行う制御装置と、を含み、制御装置は、コンプレッサーの駆動が停止している期間に還流用バルブを開弁すると共に還流用ブロワを介して排ガスを燃料電池に供給する制御を実行する。【選択図】 図1

双极板结构以及燃料电池

NºPublicación:  CN223390567U 26/09/2025
Solicitante: 
上海清积能源科技有限公司
CN_223390567_U

Resumen de: CN223390567U

本申请公开了一种双极板结构以及燃料电池,双极板结构包括:第一极板以及第二极板。第一极板设有第一流场区,第一流场区设有多个第一气体流道;第二极板设有第二流场区,第二流场区设有多个第二气体流道,第一流场区与第二流场区之间限定出密封腔,第一气体流道位于第一极板远离密封腔的一侧,第二流场区位于第二气体流道远离密封腔的一侧;其中,流场区沿第一方向延伸设置的两个边缘处均设置有多个扰流凸起,以在多个扰流凸起之间限定出气体扰流流道以及液体扰流流道,气体扰流流道位于极板远离密封腔的一侧,液体扰流流道与密封腔连通。本申请的双极板结构能够提高燃料电池的反应效率。

一种用于氢燃料电池动力系统的多级引射器及氢燃料电池动力系统

NºPublicación:  CN223387647U 26/09/2025
Solicitante: 
江苏大学
CN_223387647_U

Resumen de: CN223387647U

本实用新型提供了一种用于氢燃料电池动力系统的多级引射器及氢燃料电池动力系统,所述多级引射器包括一级引射器、二级引射器和三级引射器。一级引射器壳体上设置有射流管和回流管,右侧为开口状态。二级引射器具有二级混合内腔,其左侧与一级引射器的右侧对接,其上设置有用于连通一级混合内腔和二级混合内腔的毛细气流通道,二级混合内腔中设置有网孔隔板,其右侧为开口状态。三级引射器具有三级混合内腔,其左侧与二级引射器的右侧对接,三级混合内腔的左侧为开口状态,内部设置有分流器,右侧的壳体上设置有出气管。本实用新型通过设置一级引射器、二级引射器和三级引射器来对射流气体和回流气体进行多级混合,从而提高引射器的混合效率。

一种固体氧化物燃料电池堆加压装置

NºPublicación:  CN223390573U 26/09/2025
Solicitante: 
华中科技大学
CN_223390573_U

Resumen de: CN223390573U

本实用新型提供了一种固体氧化物燃料电池堆加压装置,属于电池加工技术领域。该一种固体氧化物燃料电池堆加压装置包括操作台和加压调高机构,操作台顶部的左侧安装有电动推杆,电动推杆的右侧安装有推板,操作台顶部的右侧安装有支撑座,调高槽开设在推板与支撑座内侧的顶部,调高槽的内部活动连接有调高板,推板与支撑座的顶部均固定连接有位于调高槽外侧的稳定座,通过设置加压调高机构,可以在推板与支撑座使用时,为使用者提供对推板与支撑座施力加压高度进行调整的介质,以便推板与支撑座的加压高度满足电池加压需求,避免推板与支撑座使用时出现难以进行调整的情况,因此提高了推板与支撑座的加压适应性和灵活性。

一种燃料电池低温吹扫改进装置

NºPublicación:  CN223390569U 26/09/2025
Solicitante: 
氢质氢离(北京)氢能科技有限公司
CN_223390569_U

Resumen de: CN223390569U

本实用新型涉及燃料电池领域,具体为一种燃料电池低温吹扫改进装置。其包括空压机、中冷器、增湿器、旁通阀、电机和膨胀机;中冷器输入端与空压机输出端连通;增湿器具有干气入口、干气出口、湿气入口和湿气出口,增湿器干气入口与中冷器输出端连通,干气出口与电堆模块输入端连通,电堆模块输出端与增湿器湿气入口连通;旁通阀连通在空压机和电堆模块输入端之间管路旁通的支管上;膨胀机输入端与增湿器湿气出口回路和旁通阀回路汇合的管路连通;电机连接空压机和膨胀机;尾排与膨胀机输出端连通。本实用新型能够最大程度的防止管道结冰,杜绝因冰渣引起的膨胀机涡轮损坏,保证系统低温正常运行。

燃料电池封装结构

NºPublicación:  CN223390574U 26/09/2025
Solicitante: 
江苏新氢动力科技有限公司
CN_223390574_U

Resumen de: CN223390574U

本实用新型提出一种燃料电池封装结构,包括:底座、支架和盖体,其中,底座上设有多个隔板,隔板上开设有第一通槽,一个隔板上安装有风扇;支架安装在底座上;盖体与支架之间设有两个缓冲胶条,一个缓冲胶条与盖体连接,另一个缓冲胶条与支架连接;盖体与支架之间通过连接组件相连,连接组件包括两个第一连接部件和两个第二连接部件。本实用新型实施例的燃料电池封装结构,能够自适应燃料电池堆的变形,保证燃料电池堆的散热和封装效果。

水素同位体分離システム

NºPublicación:  JP2025139312A 26/09/2025
Solicitante: 
本田技研工業株式会社
JP_2025139312_PA

Resumen de: JP2025139312A

【課題】構成の簡素化及び配置スペースの増大抑制を達成することができる水素同位体分離システムを提供する。【解決手段】水素同位体分離システム10は、イオン交換膜15a、アノード15b及びカソード15cを有する燃料電池セル15を備える。水素同位体分離システム10は、アノード15bに軽水を含む重水を供給するアノード供給路10a、重水タンク11及びアノード側加湿器14Aと、カソード15cに軽水を含む不活性ガスを供給するカソード供給路10b、窒素タンク12及びカソード側加湿器14Cとを備える。水素同位体分離システム10は、燃料電池セル15のアノード15bの排出側に設けられるアノード側凝縮分離器16と、燃料電池セル15のカソード15cの排出側に設けられるカソード側凝縮分離器17と、冷媒回路30とを備える。冷媒回路30は、アノード側凝縮分離器16を冷却した後の冷媒によってカソード側凝縮分離器17を冷却する。【選択図】図1

ガスケット

NºPublicación:  JP2025139389A 26/09/2025
Solicitante: 
NOK株式会社
JP_2025139389_PA

Resumen de: WO2025192504A1

A gasket (1) is a gasket that is compressed to seal the space between a pair of opposing members. The gasket (1) is provided with an annular adhesive portion (10) and an annular seal portion (20). The seal portion (20) prevents the adhesive portion (10) from being exposed to the sealed space.

一种RSOC系统-甲醇重整与合成的集成系统

NºPublicación:  CN223390570U 26/09/2025
Solicitante: 
稀陶能源技术(合肥)有限公司
CN_223390570_U

Resumen de: CN223390570U

本实用新型公开了一种RSOC系统‑甲醇重整与合成的集成系统,包括RSOC系统、甲醇合成系统和甲醇重整系统;所述RSOC系统包括RSOC电堆,所述RSOC电堆设置燃料极入口、燃料极出口、空气极入口和空气极出口;所述甲醇重整系统的出口与所述燃料极入口连接,所述燃料极出口分别连接储水罐和储气罐的入口;所述储水罐和储气罐的出口还与所述燃料极入口连接,所述燃料极出口连接所述甲醇合成系统的入口,所述甲醇合成系统的出口连接储液罐,所述储液罐的出口与所述甲醇重整系统的入口连接。本方案中RSOC系统与甲醇合成系统、甲醇重整系统进行集成,通过甲醇作为氢的存储介质,降低了存储成本,并形成用氢与制氢的循环系统。

一种固体氧化物燃料电池单元表面的分布式测温方法

NºPublicación:  CN120709425A 26/09/2025
Solicitante: 
岭南师范学院
CN_120709425_PA

Resumen de: CN120709425A

本申请涉及温度测量技术领域,公开一种固体氧化物燃料电池单元表面的分布式测温方法,方法包括:在固体氧化物燃料电池表面上制备PDC薄膜温度传感器阵列,实现固体氧化物燃料电池表面温度的分布测量;其中:PDC薄膜温度传感器阵列包括过渡层、绝缘层、敏感层、导线层、焊盘、保护层以及引线连接结构;过渡层设置于固体氧化物燃料电池阴极、阳极或者电解质的上方,绝缘层覆盖于过渡层的上方,敏感层、导线层和焊盘均设置于绝缘层的上方,敏感层包括多个温度敏感单元构成的阵列,引线连接结构通过焊盘与导线层连接,保护层覆盖于敏感层和导线层的上方。本申请可减少工艺步骤、提高薄膜传感器与固体氧化物燃料电池材料的兼容性。

一种燃料电池电堆低温冷启动的试验装置及方法

NºPublicación:  CN120703607A 26/09/2025
Solicitante: 
武汉达安科技有限公司国家市场监督管理总局认证认可技术研究中心
CN_120703607_PA

Resumen de: CN120703607A

本发明公开了一种燃料电池电堆低温冷启动的试验装置及方法,涉及燃料电池测试领域,装置包括:控温回路、燃料电池电堆试验台、燃料气体预冷装置、阀门组件以及环境仓,其中,燃料电池电堆试验台包括用于输送燃料气体至燃料电池电堆的第一接口,以及用于收集燃料电池电堆的燃料气体的第二接口,燃料气体预冷装置连通第一接口与燃料电池电堆,以及连通第一接口与第二接口,阀门组件包括用于设于燃料气体预冷装置与燃料电池电堆之间的第一阀门、设于燃料电池电堆与第二接口之间的第二阀门、设于燃料气体预冷装置与第二接口之间的第三阀门,控温回路和燃料电池电堆位于环境仓内。本发明可以提供更贴合实际的电堆在燃料电池整车上的冷启动条件。

燃气轮机-燃料电池的混合动力系统及其双工质循环方法

NºPublicación:  CN120701460A 26/09/2025
Solicitante: 
清华大学中国航发沈阳发动机研究所
CN_120701460_PA

Resumen de: CN120701460A

本发明公开了一种燃气轮机‑燃料电池的混合动力系统及其双工质循环方法,属于燃气涡轮发动机新型混合动力领域,其中,系统包括无碳燃料储罐、固体氧化物燃料电池和燃气涡轮发动机,无碳燃料储罐分别与固体氧化物燃料电池、燃气涡轮发动机、换热器连接,以对无碳燃料进行换热,并将得到高温无碳燃料分别供入至固体氧化物燃料电池和燃气涡轮发动机中进行反应;燃气涡轮发动机与固体氧化物燃料电池连接,以为固体氧化物燃料电池的反应过程提供氧化剂,并将固体氧化物燃料电池的反应生成物供入至燃气涡轮发动机中,与航空煤油进行双燃料燃烧。该系统利用冷却介质强化冷却换热及防止结焦,提高发动机联合循环热效率和推进效率。

INTERCONNECTOR, AND ELECTROCHEMICAL CELL

NºPublicación:  WO2025196951A1 25/09/2025
Solicitante: 
NGK INSULATORS LTD [JP]
\u65E5\u672C\u788D\u5B50\u682A\u5F0F\u4F1A\u793E
JP_7618109_B1

Resumen de: WO2025196951A1

This interconnector comprises a body, a first oxide layer, and a second oxide layer. The body has a first primary surface and a second primary surface. The second primary surface is the surface opposite the first primary surface. The first oxide layer is disposed on the first primary surface. The second oxide layer is disposed on the second primary surface. The second oxide layer has a thickness different from the first oxide layer.

ELECTROCHEMICAL CELL

NºPublicación:  WO2025196946A1 25/09/2025
Solicitante: 
NGK INSULATORS LTD [JP]
\u65E5\u672C\u788D\u5B50\u682A\u5F0F\u4F1A\u793E
JP_7659706_B1

Resumen de: WO2025196946A1

An electrolysis cell (1) is provided with a gas container (3) and a cell body part (2). An internal space (3a) of the gas container (3) has a gas supply chamber (a1) connected to a gas supply hole (15), a gas discharge chamber (a2) connected to a gas discharge hole (16), and a gas circulation chamber (a3) connected to communication holes (11) and disposed between the gas supply chamber (a1) and the gas discharge chamber (16). In a plan view of a first main surface (12) of a metal support (10), a welded part (30) includes a first constricted part (31) for partitioning between the gas circulation chamber (a3) and the gas supply chamber (a1).

INTERCONNECTOR AND ELECTROCHEMICAL CELL

NºPublicación:  WO2025196952A1 25/09/2025
Solicitante: 
NGK INSULATORS LTD [JP]
\u65E5\u672C\u788D\u5B50\u682A\u5F0F\u4F1A\u793E
JP_7621564_B1

Resumen de: WO2025196952A1

This interconnector comprises a body part and a plurality of oxide layers. The body part has a first main surface, a second main surface, and a plurality of protrusions. The second main surface faces the opposite side from the first main surface. Each protrusion is formed on the first main surface. The oxide layers are disposed on side surfaces of the protrusions. At least one oxide layer has a thickness distribution which induces warpage such that the body part swells towards the second main surface side.

ELECTROCHEMICAL CELL

NºPublicación:  WO2025196936A1 25/09/2025
Solicitante: 
NGK INSULATORS LTD [JP]
\u65E5\u672C\u788D\u5B50\u682A\u5F0F\u4F1A\u793E
JP_7659705_B1

Resumen de: WO2025196936A1

An electrolytic cell (1) comprises: a metal support (10) having a plurality of communication holes (11) formed in a first main surface (12); and a cell body part (20). The cell body part (20) has a gas diffusion layer (5) disposed on the first main surface (12) of the metal support (10), and a hydrogen electrode layer (6) disposed on the gas diffusion layer (5). v The gas diffusion layer (5) has a through-hole (51) that is continuous with the communication hole (11). The through-hole (51) has a gap space (51a) that enters a gap between the first main surface (12) and the hydrogen electrode layer (6).

PHYSICAL QUANTITY MEASUREMENT SYSTEM, PHYSICAL QUANTITY MEASUREMENT METHOD, PROGRAM, AND INTEGRATION SYSTEM

NºPublicación:  WO2025197285A1 25/09/2025
Solicitante: 
PANASONIC INTELLECTUAL PROPERTY MAN CO LTD [JP]
\u30D1\u30CA\u30BD\u30CB\u30C3\u30AF\uFF29\uFF30\u30DE\u30CD\u30B8\u30E1\u30F3\u30C8\u682A\u5F0F\u4F1A\u793E

Resumen de: WO2025197285A1

The present disclosure addresses the problem of reducing error when estimating the pressure loss of a mixed gas inside a flow path. A physical quantity measurement system (1) comprises: a flow path, through which a mixed gas flows; and an estimation unit (206). The estimation unit (206) estimates the pressure loss inside the flow path. The estimation unit (206) estimates pressure loss using the Reynolds number, the flow velocity of the mixed gas, the viscosity of the mixed gas, the viscosity of a reference gas, and the pressure of the mixed gas.

ELECTROCHEMICAL CELL

NºPublicación:  WO2025196937A1 25/09/2025
Solicitante: 
NGK INSULATORS LTD [JP]
\u65E5\u672C\u788D\u5B50\u682A\u5F0F\u4F1A\u793E
JP_7657379_B1

Resumen de: WO2025196937A1

An electrolytic cell (1) is provided with: a metal support (10) having a plurality of communication holes (11) formed on a first main surface (12) thereof; and a cell body (20). The cell body (20) has a gas diffusion layer (5) disposed on the first main surface (12) of the metal support (10), and a hydrogen electrode layer (6) disposed on the gas diffusion layer (5). The gas diffusion layer (5) has a body section (5a) sandwiched in a gap between the metal support (10) and the hydrogen electrode layer (6), and a projecting part (5b) projecting from the body section (5a) into a communication hole (11). The projecting part (5b) covers part of the inner peripheral surface (14) of the communication hole (11).

POWER SUPPLY SYSTEM AND POWER DISTRIBUTION CONTROL METHOD FOR FUEL CELL AND SECONDARY BATTERY IN POWER SUPPLY SYSTEM

NºPublicación:  WO2025197228A1 25/09/2025
Solicitante: 
KK TOYOTA CHUO KENKYUSHO [JP]
DENSO CORP [JP]
TOYOTA JIDOSHA KK [JP]
\u682A\u5F0F\u4F1A\u793E\u8C4A\u7530\u4E2D\u592E\u7814\u7A76\u6240,
\u682A\u5F0F\u4F1A\u793E\u30C7\u30F3\u30BD\u30FC,
\u30C8\u30E8\u30BF\u81EA\u52D5\u8ECA\u682A\u5F0F\u4F1A\u793E

Resumen de: WO2025197228A1

This power supply system is provided with a fuel cell (11) and a secondary battery (10) as power supply sources. The power supply system comprises: a power distribution control unit (A) (12) for distributing the output power of each of the batteries in order to supply required power P1 to an electric load; an impedance acquisition unit (B) (13) for acquiring an impedance R1 at a plurality of frequencies for the fuel cell (11); and an arithmetic unit (C) for extracting a material transport resistance R2 of the fuel cell (11) on the basis of the specific impedance R1, and performing a specific calculation based on the magnitude of the resistance R2 to obtain power P2 to be supplied by the fuel cell (11) and power P3 to be supplied by the secondary battery (10). The power distribution control unit (A) controls the output of each of the batteries on the basis of the calculation result of the arithmetic unit (C).

REDOX FLOW BATTERIES HAVING ELECTROLYTE DISTRIBUTORS WITH INTEGRATED CHANNELS AND METHOD OF MANUFACTURE THEREOF

NºPublicación:  WO2025196356A1 25/09/2025
Solicitante: 
CONSEJO SUPERIOR DE INVESTIG CIENTIFICAS CSIC [ES]
FUNDACION AGENCIA ARAGONESA PARA LA INVESTIG Y EL DESARROLLO ARAID [ES]
CONSEJO SUPERIOR DE INVESTIGACIONES CIENT\u00CDFICAS (CSIC),
FUNDACI\u00D3N AGENCIA ARAGONESA PARA LA INVESTIGACI\u00D3N Y EL DESARROLLO (ARAID)

Resumen de: WO2025196356A1

The present invention discloses a battery formed by at least one cell or cell stack incorporating flow distributors (1) that house the electrodes (3), polymer membranes (5), bipolar plates (4) and current collector plates (7) that are embedded in a resin block (10) that ensures sealing tightness. The present invention further discloses a method for manufacturing said battery.

BIOMASS-DERIVED GRADED POROUS ASYMMETRIC COORDINATION MONATOMIC CARBON-BASED ELECTROCATALYST, AND PREPARATION METHOD THEREFOR AND USE THEREOF

NºPublicación:  WO2025194884A1 25/09/2025
Solicitante: 
GUANGZHOU INST OF ENERGY CONVERSION CHINESE ACADEMY OF SCIENCES [CN]
\u4E2D\u56FD\u79D1\u5B66\u9662\u5E7F\u5DDE\u80FD\u6E90\u7814\u7A76\u6240
CN_119601686_PA

Resumen de: WO2025194884A1

Disclosed in the present invention are a biomass-derived graded porous asymmetric coordination monatomic carbon-based electrocatalyst, and a preparation method therefor and the use thereof. The preparation method for the biomass-derived graded porous asymmetric coordination monatomic carbon-based electrocatalyst comprises the following steps: (1) stirring and mixing de-alkalized lignin with a transition metal salt, a nitrogen-containing compound and a template, i.e., magnesium oxide, in a solvent until uniform, so as to obtain a suspension, wherein the transition metal comprises iron and zinc; (2) heating, evaporating and drying off the suspension, so as to obtain a lignin/metal ion/nitrogen-containing compound/template mixed precursor; and (3) subjecting the mixed precursor to high-temperature pyrolysis under the protection of an inert gas, cooling same, and then sequentially washing and drying same, so as to obtain a monatomic carbon-based electrocatalyst. The monatomic carbon-based electrocatalyst provided in the present invention has graded pores of micropores, mesopores and macropores, a surface nanosheet and an asymmetric coordination structure of Fe-N3O at the same time, and can be applied to fuel cells and metal-air cells.

PREPARATION METHOD FOR 3/4-VALENT VANADIUM SULFATE-HYDROCHLORIC ACID ELECTROLYTE

NºPublicación:  WO2025195199A1 25/09/2025
Solicitante: 
GUIZHOU ZHIXI TECH CO LTD [CN]
\u8D35\u5DDE\u5FD7\u559C\u79D1\u6280\u6709\u9650\u516C\u53F8
CN_118398922_PA

Resumen de: WO2025195199A1

The present invention provides a preparation method for a 3/4-valent vanadium sulfate-hydrochloric acid electrolyte, comprising the following steps: adding hydrochloric acid into a 4-valent vanadium sulfate electrolyte to prepare a 4-valent vanadium sulfate-hydrochloric acid electrolyte; preparing a (4+x)-valent vanadium sulfate electrolyte; using the (4+x)-valent vanadium sulfate electrolyte and the 4-valent vanadium sulfate-hydrochloric acid electrolyte respectively as positive and negative electrode electrolytes of an all-vanadium redox flow battery to perform charging electrolysis, to obtain a (4+y)-valent vanadium sulfate electrolyte and a 3-valent vanadium sulfate-hydrochloric acid electrolyte at positive and negative electrodes, respectively; and adding oxalic acid into the obtained (4+y)-valent vanadium sulfate electrolyte for reduction to re-obtain the (4+x)-valent vanadium sulfate electrolyte, wherein the re-obtained (4+x)-valent vanadium sulfate electrolyte can be further used to prepare the 3-valent vanadium sulfate-hydrochloric acid electrolyte. The preparation method for a 3/4-valent vanadium sulfate-hydrochloric acid electrolyte provided by the present invention features high efficiency and low costs, and the obtained 3/4-valent vanadium sulfate-hydrochloric acid electrolyte has a high concentration and a wide operating temperature range.

FUEL CELL MODULE, HIGH-VOLTAGE ASSEMBLY METHOD AND VEHICLE

NºPublicación:  WO2025194615A1 25/09/2025
Solicitante: 
DONGFENG MOTOR GROUP CO LTD [CN]
\u4E1C\u98CE\u6C7D\u8F66\u96C6\u56E2\u80A1\u4EFD\u6709\u9650\u516C\u53F8
CN_118899497_PA

Resumen de: WO2025194615A1

A fuel cell module, a high-voltage assembly method and a vehicle. The fuel cell module comprises a case, a fuel cell stack, a high-voltage assembly and a low-voltage assembly. One side of the case is provided with an outer protruding portion; the high-voltage assembly comprises a copper bar assembly and a through terminal electrically connected to each other, the copper bar assembly is electrically connected to a current collector plate of the fuel cell stack and located in the outer protruding portion, and the through terminal is mounted on the outer protruding portion; and the low-voltage assembly is electrically connected to a stack core of the fuel cell stack, and the low-voltage assembly is located outside an inner cavity of the case and arranged side by side with the outer protruding portion. The outer protruding portion is provided to mount the high-voltage assembly, so that the high-voltage assembly can be mounted without using tooling; the space beside the outer protruding portion is used to mount the low-voltage assembly, so that the size of the fuel cell module is reduced, and the volume power density is increased; additionally, the outer protruding portion made of a metal material can effectively realize high-voltage and low-voltage electromagnetic shielding.

PREPARATION METHOD FOR CATALYST LAYER SLURRY, CATALYST LAYER, MEMBRANE ELECTRODE, AND FUEL CELL

NºPublicación:  WO2025194618A1 25/09/2025
Solicitante: 
DONGFENG MOTOR GROUP CO LTD [CN]
\u4E1C\u98CE\u6C7D\u8F66\u96C6\u56E2\u80A1\u4EFD\u6709\u9650\u516C\u53F8
CN_118412476_A

Resumen de: WO2025194618A1

A preparation method for a catalyst layer slurry, a catalyst layer, a membrane electrode, and a fuel cell. The preparation method for the catalyst layer slurry comprises: wetting solid catalyst particles, and then mixing the solid catalyst particles with a solvent, to obtain a first mixed solution; adding a perfluorosulfonic acid resin solution into the first mixed solution, to obtain a second mixed solution; adding a dispersing agent into the second mixed solution, and dispersing, to obtain a catalyst layer slurry, the dispersing agent being a dispersing agent having steric hindrance, and able to form a Van der Waals force with the perfluorosulfonic acid resin. Adding a dispersant having steric hindrance during a catalyst layer slurry preparation process can prevent entanglement of Nafion, causing the catalyst particles to be uniformly wrapped by Nafion, thereby obtaining catalyst particles having a good dispersion effect and high dispersion efficiency, and effectively solving the problems of uneven catalyst particle size, reduced active sites, an unreasonable catalyst layer structure, decreased electrochemical performance of a membrane electrode, and low slurry dispersion process efficiency due to catalyst particle agglomeration.

PACKAGING ASSEMBLY, FUEL CELL MODULE, ASSEMBLING STRUCTURE COMPRISING PACKAGING ASSEMBLY, AND ASSEMBLING METHOD FOR FUEL CELL MODULE

NºPublicación:  WO2025194617A1 25/09/2025
Solicitante: 
DONGFENG MOTOR GROUP CO LTD [CN]
\u4E1C\u98CE\u6C7D\u8F66\u96C6\u56E2\u80A1\u4EFD\u6709\u9650\u516C\u53F8
CN_118899500_PA

Resumen de: WO2025194617A1

A packaging assembly, a fuel cell module, an assembling structure comprising the packaging assembly, and an assembling method for the fuel cell module. The packaging assembly comprises a case and a plurality of insulating supporting members arranged in the case; the plurality of insulating supporting members are distributed at intervals and arranged between the case and a fuel cell stack of a fuel cell module, the plurality of insulating supporting members are at least distributed on side surfaces of the fuel cell stack and can support the side surfaces of the fuel cell stack and resist inter-layer sliding of the fuel cell stack, and the plurality of insulating supporting members achieve full coating of the fuel cell stack in all directions, thereby achieving the full-coating anti-sliding effect of a stack core, so that the middle collapse of the fuel cell stack can be prevented, thus improving the consistency of the high-power fuel cell stack during use. The insulating supporting members located on two adjacent side surfaces of the fuel cell stack are provided with through grooves running through in the stacking direction of the fuel cell stack, the openings of the through grooves face the fuel cell stack, the through grooves can be used for installing and fixing positioning rods used during assembling of the fuel cell stack, and the positioning rods can improve the assembling precision of the fuel cell stack, thus improving the consistency of high-power fuel cell stacks dur

FUEL CELL MODULE AND VEHICLE

NºPublicación:  WO2025194616A1 25/09/2025
Solicitante: 
DONGFENG MOTOR GROUP CO LTD [CN]
\u4E1C\u98CE\u6C7D\u8F66\u96C6\u56E2\u80A1\u4EFD\u6709\u9650\u516C\u53F8
CN_118899499_PA

Resumen de: WO2025194616A1

A fuel cell module and a vehicle. In the fuel cell module, an insulating support assembly is provided between a housing and a fuel cell stack; the insulating support assembly is in contact with all parts of the fuel cell stack, and can provide support for side surfaces of the fuel cell stack, resisting interlayer slippage in the fuel cell stack. The insulating support assembly comprises a plurality of insulating support members distributed spaced apart from each other, the insulating support members being components independent of the housing and the fuel cell stack; compared with the anti-sagging structure in which the housing directly abuts against the fuel cell stack, the plurality of independent insulating support members facilitate easier installation, and the assembly difficulty of the fuel cell stack is low. The plurality of insulating support members are at least distributed at each corner of the fuel cell stack, and the insulating support members distributed at each corner of the fuel cell stack are simultaneously in contact with two adjacent side surfaces of the fuel cell stack, such that the plurality of insulating support members fully enclose the fuel cell stack from all directions, thereby achieving an anti-slippage effect through full enclosure of a battery core. As the housing is usually made of metal material and cannot be directly used to support the battery core, the insulating support assembly is used to enable the housing to support the battery core, whil

FASTENING ASSEMBLY, FUEL CELL MODULE AND VEHICLE

NºPublicación:  WO2025194613A1 25/09/2025
Solicitante: 
DONGFENG MOTOR GROUP CO LTD [CN]
\u4E1C\u98CE\u6C7D\u8F66\u96C6\u56E2\u80A1\u4EFD\u6709\u9650\u516C\u53F8
CN_118899498_PA

Resumen de: WO2025194613A1

A fastening assembly, a fuel cell module and a vehicle. The fastening assembly comprises a housing and two or more cross beams arranged in the housing, wherein the two or more cross beams are located at one end of the housing, and two ends of each of the two or more cross beams are both limited by means of the housing, such that the housing applies a fastening force in a stacking direction onto a fuel cell stack by means of the cross beams, thereby achieving enclosure packaging. A press-fitting force of a pressing machine is transferred by means of several cross beams arranged at one end of the stack, and the several cross beams that are distributed at intervals form a limiting surface to jointly apply the fastening force to the stack, thus ensuring uniform stress distribution across the stack. Since the cross beams are distributed at intervals, gaps between the cross beams can be configured to allow a pressing head of the pressing machine to pass through same, without affecting a press-fitting operation of the pressing machine.

膜加湿器用半透膜

NºPublicación:  JP2025531727A 25/09/2025
Solicitante: 
ヘンクストエス・イー
JP_2025531727_PA

Resumen de: CN119789903A

The invention relates to a semipermeable membrane (10), in particular for use in a membrane humidifier of a fuel cell system, comprising: a) a carrier layer (12) comprising a composite material comprising at least one plastic and at least one silicon-containing porous filler embedded in the plastic, and b) a cover layer (14) arranged on the carrier layer (12), the capping layer comprises at least one organosilicon compound.

電気化学セル用セパレータプレート及び燃料電池

NºPublicación:  JP2025531942A 25/09/2025
Solicitante: 
シンビオ・フランス
JP_2025531942_PA

Resumen de: CN120283316A

The invention relates to a partition plate (21) comprising, on a first side: a plurality of corrugated channels (49) for circulating a first reaction gas, the plurality of corrugated channels (49) having respective ends (50), the ends (50) each extending along a same first direction (D1) and forming corrugations having a same specific period (T1); and a plurality of inclined channels (56) each extending along a second direction (D2) intersecting the first direction (D1), an end (50) of each of the plurality of corrugated channels (49) being connected to one of the plurality of inclined channels (56) at a junction point (58); the joint points (58) define projection points (p) projecting onto a straight line (D) parallel to the first direction (D1), projecting in a third direction (D3) perpendicular to the first direction (D1), the projection points (p) being regularly spaced apart from each other along the first direction (D1) and being separated from each other by a constant gap equal to a multiple of the specific period (T1).

固体酸化物型燃料電池の燃料極、固体酸化物型燃料電池と、固体酸化物型燃料電池の製造方法

NºPublicación:  JP2025531936A 25/09/2025
Solicitante: 
インスティテュート・フォー・アドバンスト・エンジニアリング
JP_2025531936_PA

Resumen de: KR20240043652A

A fuel electrode of a solid oxide fuel cell comprises: a first sub-electrode layer formed on one side of an electrolyte of the solid oxide fuel cell, wherein the first sub-electrode layer includes a plurality of first structures having yttria-doped barium zirconate (BZY, BaZr_xY_yO_z) as a core and nickel (Ni) formed on a surface of the core; a second sub-electrode layer formed on the first sub-electrode layer, wherein the second sub-electrode layer includes a plurality of second structures having BZY as a core and Ni formed on a surface of the core; and a third sub-electrode layer formed on the second sub-electrode layer, wherein the third sub-electrode layer includes a plurality of third structures having BZY as a core and Ni formed on a surface of the core. A weight percentage of the first structures in the first sub-electrode layer is less than a weight percentage of the second structures in the second sub-electrode layer, and a weight percentage of the second structures in the second sub-electrode layer is less than a weight percentage of the third structures in the third sub-electrode layer.

空気加湿器

NºPublicación:  JP2025138607A 25/09/2025
Solicitante: 
マーレインターナショナルゲゼルシャフトミットベシュレンクテルハフツング
JP_2025138607_PA

Resumen de: US2025286088A1

A humidifier for humidifying dry fresh air using humid exhaust air may include a housing and a humidifier block disposed in the housing. The housing may include a fresh air inlet for supplying dry fresh air, a fresh air outlet for evacuating humidified fresh air, an exhaust air inlet for supplying humid exhaust air, and an exhaust air outlet for evacuating dehumidified exhaust air. The humidifier block may include a membrane stack through which a fresh air flow and an exhaust air flow are flowable for humidifying the dry fresh air via the humid exhaust air. The membrane stack may include membranes impermeable to air and permeable to moisture. The humidifier block may include two end plates that are respectively braced against a respective end face of the membrane stack via at least one elastic seal preloaded in a lengthwise direction of the humidifier block.

燃料電池システム

NºPublicación:  JP2025138216A 25/09/2025
Solicitante: 
大阪瓦斯株式会社
JP_2025138216_PA

Resumen de: JP2025138216A

【課題】発電効率の最適化を図ることができる燃料電池システムを提供する。【解決手段】燃料電池システム100は、内部空間に、発電する複数の燃料電池セルCが積層されて構成されるセルスタック14及びセルスタック14から排出されるオフガスを燃焼させて内部空間の温度を上昇させる燃焼部15を有するホットモジュール1と、ホットモジュール1の動作を制御する制御部10と、を備え、制御部10は、ホットモジュール1を、燃料利用率を所定値に維持した状態でホットモジュール1を運転させる通常運転モードと、燃料利用率の値を段階的に変化させ、最も高い値を示す発電効率から算出される燃料利用率の値を取得し、取得した燃料利用率の値を通常運転モードにおける燃料利用率の値として決定する燃料利用率確認モードとを切り替え可能に構成される。【選択図】図1

メソポーラスカーボン担体の製造方法及びメソポーラスカーボン担体、並びに電極材料、電極、膜電極接合体及び固体高分子形燃料電池

NºPublicación:  JP2025138243A 25/09/2025
Solicitante: 
国立大学法人九州大学
JP_2025138243_PA

Resumen de: JP2025138243A

【課題】容易に粉砕可能で、小粒径のメソポーラスカーボンを得ることができるメソポーラスカーボン担体の製造方法を提供する。【解決手段】以下の工程を有するメソポーラスカーボン担体の製造方法。工程(1):含水有機溶媒中、フェノール類(A)と、アルデヒド類(B)と、界面活性剤(C)とを、熱消失性ポリマー(D)の共存下で重合反応させる工程工程(2):得られた溶液から溶媒を留去して得られた乾燥物を不活性ガス雰囲気下、熱処理してメソポーラスカーボン塊状物を得る工程工程(3):得られたメソポーラスカーボン塊状物を粉砕する工程【選択図】図3

電極触媒及び触媒層

NºPublicación:  JP2025138447A 25/09/2025
Solicitante: 
株式会社豊田中央研究所
JP_2025138447_PA

Resumen de: JP2025138447A

【課題】低電位安定性が高く、かつ、高い触媒活性を示す電極触媒、及び、このような電極触媒を備えた触媒層を提供すること。【解決手段】電極触媒は、担体と、前記担体の表面に担持された触媒粒子とを備えている。前記担体は、多孔質の一次粒子が数珠状に融着している構造(連珠状構造)を備えた、Nbがドープされた酸化スズ系粒子からなり、前記触媒粒子は、Pt系粒子からなる。電極触媒は、前記触媒粒子の担持量が4.5mgcat/m2support以上であるものが好ましい。触媒層は、このような電極触媒と、アイオノマとを備えている。【選択図】図8

BATTERY POWER GENERATOR

NºPublicación:  WO2025198536A1 25/09/2025
Solicitante: 
VFLOWTECH PTE LTD [SG]
VFLOWTECH PTE LTD

Resumen de: WO2025198536A1

Disclosed is a battery power generator (100) that is provided with first and second battery power units (102A and 102B) The battery power generator (100) is further provided with first through fourth pumps (202-208) that are adapted to pump the electrolyte in the first and second battery power units (102A and 102B). The first and second battery power units (102A and 102B) include a skid frame (314). The skid frame (314) is provided with a plurality of castor wheels (316) that are disposed at the bottom of the skid frame (314). The plurality of castor wheels (316) facilitates movement of the skid frame (314) to insert the first and second battery power units (102A and 102B) in a container (104) or to remove the first and second battery power units (102A and 102B) from the container (104).

SYSTEM AND METHOD FOR REINSTATING THE VALANCE OF ELECTROLYTE IN VANADIUM REDOX FLOW BATTERIES

NºPublicación:  WO2025198534A1 25/09/2025
Solicitante: 
VFLOWTECH PTE LTD [SG]
VFLOWTECH PTE LTD

Resumen de: WO2025198534A1

System and method for reinstating valance of electrolyte in vanadium redox flow batteries are provided Fructose is a viable reducing agent to reduce VO2 + to rebalance a vanadium redox flow battery system regardless of its size. Examples and techniques are provided that show that fructose reacts with VO2 + irreversibly and that given enough time, the reaction will go to completion. Thus, this will allow the imbalanced system to be balance precisely to the desired valance of vanadium electrolyte of V+3.5

SYSTEM AND METHOD TO BALANCE CHARGE FOR MULTI TANK SYSTEM VANADIUM REDOX FLOW BATTERY AND OPERATION TOGETHER WITH LITHIUM BATTERY IN HYBRID INTEGRATION

NºPublicación:  WO2025198530A1 25/09/2025
Solicitante: 
LIV ENERGY VENTURE PTE LTD [SG]
LIV ENERGY VENTURE PTE. LTD

Resumen de: WO2025198530A1

A system and method for balancing the state of charge (SOC) in a multi-tank Vanadium Redox Flow Battery (VRFB) system, particularly in hybrid integration with Lithium Batteries (LiB), is disclosed It addresses SOC imbalance issues in VRFB systems utilizing multiple hydraulically disconnected electrolyte tanks, thereby improving round-trip efficiency by eliminating the need for intermediate DC-DC converters. A small-scale DC-DC converter operating in droop control mode facilitates charge balancing between VRFB clusters during both charging and discharging. the invention provides a droop control method for hybrid energy storage systems (ESS) consisting of VRFB and LiB in both DC and AC coupled configurations. This method dynamically adjusts droop coefficients and voltage/frequency reference levels based on real-time charging and discharging requirements, ensuring optimal power distribution and SOC balance across multiple battery clusters. The system enhances overall efficiency, reliability, and cost-effectiveness of hybrid energy storage solutions by leveraging the complementary strengths of VRFB and LiB technologies.

SPLIT SERPENTINE FLOW FIELD PLATE, SYSTEM AND METHOD

NºPublicación:  WO2025198535A1 25/09/2025
Solicitante: 
VFLOWTECH PTE LTD [SG]
VFLOWTECH PTE LTD

Resumen de: WO2025198535A1

A split serpentine flow field plate designed to improve electrolyte distribution in flow batteries is provided The flow field plate includes an inlet port for receiving a first electrolyte, multiple inlets (first, second, third, and fourth) to distribute the electrolyte to corresponding quadrants, and a drain canal to collect reacted electrolyte from each quadrant and direct it to an outlet port. Each quadrant features a serpentine-like flow channel. The design aims to overcome limitations of traditional serpentine flow fields, such as unfavourable pressure drop and uneven electrolyte distribution, thereby enhancing the efficiency of charge-discharge cycles in flow batteries.

SYSTEMS AND METHODS FOR PROCESSING EXHAUST FROM FUEL CELL AND COMBUSTION SOURCES

NºPublicación:  WO2025199097A1 25/09/2025
Solicitante: 
CARBONQUEST INC [US]
CARBONQUEST, INC

Resumen de: WO2025199097A1

Systems and methods for processing fuel cell exhaust, combustion exhaust, and/or combinations of fuel cell exhaust and combustion exhaust are provided. The systems can include exhaust processing assemblies.

ENGINE SYSTEM, AND A METHOD TO CONTROL RECIRCULATION OFAMMONIA WITHIN AN ENGINE SYSTEM

NºPublicación:  WO2025198891A1 25/09/2025
Solicitante: 
CUMMINS INC [US]
CUMMINS INC

Resumen de: WO2025198891A1

An engine system includes an engine, a hydrogen generation system, an emission control system, and a heater. The engine receives a fluid mixture of fuel and air and provides an exhaust based on combustion of the fluid mixture. The hydrogen generation system receives ammonia from at least an ammonia source, generates hydrogen from the ammonia, and provides the hydrogen to the engine. The emission control system includes an ammonia recirculation unit that receives the exhaust from the engine and dissolves remaining ammonia in the exhaust into aqueous ammonia, and a hydrogen control unit that receives the exhaust from the ammonia recirculation unit, converts remaining hydrogen in the exhaust into water, and outputs remaining nitrogen in the exhaust. The heater receives the aqueous ammonia from the ammonia recirculation unit, heats the aqueous ammonia to generate dry ammonia, and provides the dry ammonia to the hydrogen generation system.

HUMIDIFIER FOR FUEL CELL

NºPublicación:  WO2025198250A1 25/09/2025
Solicitante: 
KOLON IND INC [KR]
\uCF54\uC624\uB871\uC778\uB354\uC2A4\uD2B8\uB9AC \uC8FC\uC2DD\uD68C\uC0AC

Resumen de: WO2025198250A1

The present invention relates to a humidifier for a fuel cell, the humidifier comprising: a humidification module; a first cap coupled to one end of the humidification module; and a second cap coupled to the other end of the humidification module, wherein the humidification module includes a mid-case, at least one cartridge, and a partition part dividing the interior of the mid-case into an inflow space and an outflow space, the cartridge includes an inner case, a compartment part, and a plurality of hollow fiber membrane bundles received in each of multiple sub-cartridges, and the compartment part includes differential pressure reduction holes in communication with the inflow space and the outflow space.

FUEL CELL SYSTEM

NºPublicación:  WO2025198053A1 25/09/2025
Solicitante: 
KYOCERA CORP [JP]
\u4EAC\u30BB\u30E9\u682A\u5F0F\u4F1A\u793E

Resumen de: WO2025198053A1

This fuel cell system includes a plurality of power generation units and a control unit. The plurality of power generation units is electrically connected in series. The power generation units include a fuel cell. The fuel cell generates power using fuel gas and air. The fuel gas is supplied from a first supply system. Air is supplied from a second supply system. The control unit checks the state of at least one of the first supply system and the second supply system when the difference between the voltages in each of the plurality of power generation units exceeds a voltage threshold.

FUNCTIONALIZED PERFLUORINATED POLYMERS AND METHODS OF PREPARATION

NºPublicación:  WO2025198699A1 25/09/2025
Solicitante: 
ROCKYTECH LTD [CO]
ROCKYTECH, LTD

Resumen de: WO2025198699A1

Provided herein are functionalized perfluorinated polymers, each comprising a polymeric chain that comprises two or more repeating units, each repeating unit comprising the structure of Formula (I). Also provided herein are methods of their preparation.

HUMIDIFIER FOR FUEL CELL WITH EASY CARTRIDGE REPLACEMENT

NºPublicación:  WO2025198439A1 25/09/2025
Solicitante: 
KOLON IND INC [KR]
\uCF54\uC624\uB871\uC778\uB354\uC2A4\uD2B8\uB9AC \uC8FC\uC2DD\uD68C\uC0AC

Resumen de: WO2025198439A1

The present invention relates to a humidifier for a fuel cell with easy cartridge replacement. The humidifier for a fuel cell comprises: a mid-case including an exhaust gas inlet through which exhaust gas discharged from a fuel cell stack is introduced and an exhaust gas outlet for discharging the exhaust gas; and a cartridge disposed inside the mid-case and comprising an inner case and a humidification membrane disposed inside the inner case. The mid-case comprises a first mid-case having a space into which the cartridge is inserted, and a second mid-case coupled to the first mid-case so as to be opened and closed with respect to the first mid-case.

FUEL CELL SYSTEM

NºPublicación:  WO2025197931A1 25/09/2025
Solicitante: 
KYOCERA CORP [JP]
\u4EAC\u30BB\u30E9\u682A\u5F0F\u4F1A\u793E

Resumen de: WO2025197931A1

This fuel cell system includes a power conversion device and a plurality of fuel cells electrically connected in parallel to the power conversion device. The power conversion device controls a combined current value that is drawn from the plurality of fuel cells to the power conversion device, on the basis of a voltage difference between a closed circuit voltage value of at least one fuel cell, among the plurality of fuel cells, that is generating power and an open circuit voltage value of at least one fuel cell that has not started to generate power.

FUEL CELL GAS DIFFUSION LAYER SUBSTRATE AND PRODUCTION METHOD FOR SAME

NºPublicación:  WO2025197783A1 25/09/2025
Solicitante: 
AISIN CORP [JP]
\u682A\u5F0F\u4F1A\u793E\u30A2\u30A4\u30B7\u30F3

Resumen de: WO2025197783A1

This fuel cell gas diffusion layer substrate production method includes a laser irradiation step for irradiating a laser at a composite fiber sheet in which carbon fibers and resin fibers are bound by an adhesive resin and carbonizing the resin fibers and the adhesive resin. The composite fiber sheet may also include graphite, in which case the resulting fuel cell gas diffusion layer substrate 1 has a structure in which the carbon fibers 2 and the graphite 4 are dispersed in a carbonized part (a matrix that comprises a carbon material) 6.

FUEL CELL STACK AND METHOD OF ASSEMBLING FUEL CELL STACK

NºPublicación:  WO2025197441A1 25/09/2025
Solicitante: 
HONDA MOTOR CO LTD [JP]
\u672C\u7530\u6280\u7814\u5DE5\u696D\u682A\u5F0F\u4F1A\u793E

Resumen de: WO2025197441A1

This fuel cell stack comprises: a cell laminate configured by alternately laminating a plurality of membrane electrode assemblies and a plurality of separators in a predetermined direction; a pair of end units arranged adjacent to the two ends of the cell laminate in the predetermined direction; and a positioning guide member. Each of the plurality of membrane electrode assemblies has a rim-shaped frame made of resin for supporting an outer edge of an assembly including an electrolyte membrane and an electrode. The plurality of separators comprise a first and second separator arranged at one end and the other end in the predetermined direction, and an intermediate separator arranged between the first and second separators. The second separator and the intermediate separator each have a bonded part bonded to a single frame adjacent to a surface on one side of each of the second separator and the intermediate separator. Positioning parts are provided to the frame and to the first separator.

EVALUATING DEVICE AND EVALUATING METHOD

NºPublicación:  WO2025197980A1 25/09/2025
Solicitante: 
NAT INSTITUTE FOR MATERIALS SCIENCE [JP]
\u56FD\u7ACB\u7814\u7A76\u958B\u767A\u6CD5\u4EBA\u7269\u8CEA\u30FB\u6750\u6599\u7814\u7A76\u6A5F\u69CB

Resumen de: WO2025197980A1

This evaluating device comprises: a first holder (41) which holds a first sample (61) of an electrode catalyst and in which a first supply hole (41g) for supplying a first gas to the first sample (61) is formed; a second holder (42) which holds an electrolyte membrane (55); a pressing unit (4) which presses the electrolyte membrane (55) against the first sample (61) with a force in a direction reducing a gap between the first holder (41) and the second holder (42); and a characteristic measuring unit (75) that measures an electrochemical characteristic of the first sample (61) or the electrolyte membrane (55) in a state in which the electrolyte membrane (55) is pressed against the first sample (61) and the first gas is supplied to the first sample (61).

MOLD AND COMPOSITE MEMBER FOR ELECTROCHEMICAL DEVICE

NºPublicación:  WO2025197368A1 25/09/2025
Solicitante: 
SUMITOMO RIKO COMPANY LTD [JP]
\u4F4F\u53CB\u7406\u5DE5\u682A\u5F0F\u4F1A\u793E

Resumen de: WO2025197368A1

The present invention addresses the problem of providing: a mold which has high durability and is capable of suppressing burrs from a gasket; and a composite member for an electrochemical device. This mold (5) is provided with a first mold (5D) and a second mold (5U). A base material (2) is disposed in the first mold (5D). The second mold (5U) is disposed so as to face the first mold (5D) in the Y direction, and has a cut-off part (50) and a cavity recess part (51) that is disposed on the inner side of the cut-off part (50) in the X-direction and that partitions a cavity (5M) for molding a gasket (4). The cut-off part (50) has: a planar top surface (500) that protrudes toward the base material (2) side with respect to a parting line (PL) and extends in the X direction; a protruding inner side surface (501) that is disposed on the inner side of the top surface (500) in the X-direction; and a protruding outer side surface (502) that is disposed on the outer side of the top surface (500) in the X-direction. The width (W2) in the X-direction between the protruding inner side surface (501) and the protruding outer side surface (502) narrows in the direction from the parting line (PL) toward the top surface (500).

FUEL CELL

NºPublicación:  WO2025197371A1 25/09/2025
Solicitante: 
HONDA MOTOR CO LTD [JP]
\u672C\u7530\u6280\u7814\u5DE5\u696D\u682A\u5F0F\u4F1A\u793E

Resumen de: WO2025197371A1

The present invention is provided with: a membrane electrode assembly (C1) in which a pair of electrodes are disposed on both membrane surfaces of an electrolyte membrane; a separator (C2) made of a plate-shaped member; and a bipolar plate (BP) which is composed of a pair of separators (C2) overlapped and joined in the plate thickness direction and which is laminated in the plate thickness direction alternately with the membrane electrode assembly (C1). The bipolar plate (BP) is provided with a cell voltage measurement unit (20) having a connection terminal (21) on the periphery of each separator (C2), the connection terminal being connectable to an external connector. The cell voltage measurement unit (20) is provided with a reinforcement rib (23) at least at a peripheral portion thereof that is connected to the connection terminal (21), the reinforcement rib protruding in the plate thickness direction of the bipolar plate (BP).

CURRENT DENSITY DISTRIBUTION CONTROL APPARATUS AND FUEL BATTERY

NºPublicación:  WO2025197087A1 25/09/2025
Solicitante: 
SUBARU CORP [JP]
\u682A\u5F0F\u4F1A\u793E\uFF33\uFF35\uFF22\uFF21\uFF32\uFF35

Resumen de: WO2025197087A1

This current density distribution control apparatus for controlling the current density distribution of a fuel battery in which a plurality of fuel battery cells are stacked comprises a current control device disposed in each of a plurality of regions resulting from dividing a power generation region of the fuel battery, the current control apparatus having a current measurement unit that measures a current value in the region. The current density distribution control apparatus has an electronic load device that controls a current value of output current on the basis of the current value measured by the current measurement unit, and a heat transfer structure for guiding heat of the electronic load device to a cooling water flow path provided in a separator of the fuel battery cells.

Spannvorrichtung für das Laserschweißen von Bipolarplatten

NºPublicación:  DE102024202577A1 25/09/2025
Solicitante: 
BOSCH GMBH ROBERT [DE]
Robert Bosch Gesellschaft mit beschr\u00E4nkter Haftung

Resumen de: DE102024202577A1

Die vorliegende Erfindung betrifft eine Spannvorrichtung für das Laserschweißen von Bipolarplatten aus zwei geprägten dünnen Blechen für Brennstoffzellen. Die Spannvorrichtung umfasst einen Elektromagneten und ein prozesstechnisches Zusatzelement mit einem Kontaktbereich. Dabei ist das prozesstechnische Zusatzelement auf dem Elektromagneten angeordnet und eingerichtet, die geprägten Bleche durch elektromagnetische Spannkräfte des Elektromagneten auf dem Kontaktbereich zu fixieren.

Zelllage für ein elektrochemisches Aggregat

NºPublicación:  DE102024202809A1 25/09/2025
Solicitante: 
BOSCH GMBH ROBERT [DE]
Robert Bosch Gesellschaft mit beschr\u00E4nkter Haftung

Resumen de: DE102024202809A1

Die Erfindung betrifft eine Zelllage (100) für einen elektrochemischen Zellenstapel (10, 60), insbesondere einen Brennstoffzellenstapel (10) oder einen Elektrolysezellenstapel (60), wenigstens umfassend einen Zellrahmen (120) zum radialen (Rr) Fluiddichten eines elektrochemisch aktiven Bereichs im Zellenstapel (10, 60), sowie eine innerhalb des Zellrahmens (120) eingerichtete Membran (136) für eine elektrochemische Funktion des Zellenstapels (10, 60), dadurch gekennzeichnet, dass die Membran (136) an/in einem Dichtrahmen (131) fluiddicht eingerichtet ist, wobei der Dichtrahmen (131) fluiddicht innerhalb des Zellrahmens (120) eingerichtet ist.

Zelllage für ein elektrochemisches Aggregat

NºPublicación:  DE102024202808A1 25/09/2025
Solicitante: 
BOSCH GMBH ROBERT [DE]
Robert Bosch Gesellschaft mit beschr\u00E4nkter Haftung

Resumen de: DE102024202808A1

Die Erfindung betrifft eine Zelllage (100) für einen elektrochemischen Zellenstapel (10, 60), insbesondere einen Brennstoffzellenstapel (10) oder einen Elektrolysezellenstapel (60), wenigstens umfassend einen Zellrahmen (120) zum radialen (Rr) Fluiddichten eines elektrochemisch aktiven Bereichs im Zellenstapel (10, 60), sowie eine innerhalb des Zellrahmens (120) eingerichtete Membran (131) für eine elektrochemische Funktion des Zellenstapels (10, 60), und die Membran (131) als eine Membran-Dichtungs-Einrichtung (130) ausgebildet ist, wobei die Membran (131) Bestandteil einer Membran-Dichtungs-Einrichtung (130) ist, und die Membran (131) an/in ihrem radial (Ra) äußeren Umfangsabschnitt (133) eine vollständig in Umfangsrichtung (Ur) der Zelllage (100) umlaufende Membrandichtung (132) aufweist, welche fluiddichtend bezüglich des Zellrahmens (120) einrichtbar oder eingerichtet ist.

Verfahren zum Betreiben einer Stackanordnung sowie Stackanordnung

NºPublicación:  DE102024202635A1 25/09/2025
Solicitante: 
BOSCH GMBH ROBERT [DE]
Robert Bosch Gesellschaft mit beschr\u00E4nkter Haftung

Resumen de: DE102024202635A1

Die Erfindung betrifft ein Verfahren zum Betreiben einer Stackanordnung (1), umfassend mindestens einen Stack (2) sowie mindestens eine an den Stack (2) angeschlossene Medien- und/oder Kühlleitung (3). Erfindungsgemäß wird eine Flüssigkeit, die im Betrieb der Stackanordnung (1) aufgrund von Leckage und/oder Kondensation anfällt, in einer unterhalb des mindestens einen Stacks (2) und der mindestens einen Medien- und/oder Kühlleitung (3) angeordneten Wanne (4) aufgefangen und mit Hilfe mindestens eines Füllstandssensors (5, 6) erfasst wird.Die Erfindung betrifft ferner eine Stackanordnung (1), die zur Durchführung des erfindungsgemäßen Verfahrens geeignet bzw. nach dem Verfahren betreibbar ist.

Anode Side Integrated Flow Channel Module and Anode Subsystem for Dual-Stack Fuel Cell System

NºPublicación:  US2025300201A1 25/09/2025
Solicitante: 
ROBERT BOSCH GMBH [DE]
BOSCH HYDROGEN POWERTRAIN SYSTEMS CHONGQING CO LTD [CN]
Robert Bosch GmbH,
Bosch Hydrogen Powertrain Systems (Chongqing) Co., Ltd
DE_102025109305_PA

Resumen de: US2025300201A1

An integrated flow channel module of an anode subsystem for a dual-stack fuel cell system includes (i) a first side surface configured to be sealed and connected to an end cover of a stack, (ii) multiple groups of channels recessed from the first side surface along the thickness direction of the integrated flow channel module, the multiple groups of channels being configured to be fluidically connected to a first and second ejector of the anode subsystem and a water separation recycling pump to form a first flow path for recycling the fuel discharged from anode outlets of a first and second stack back to anode inlets of the first and second stacks, and (iii) a group of distribution channels formed inside the integrated flow channel module, the group of distribution channels being configured to fluidically connect a fuel source of the anode subsystem to the first and second ejectors to form a second flow path for distributing the fuel from the fuel source between the first and second ejectors. An anode subsystem for a dual-stack fuel cell system including the integrated flow channel module is also disclosed.

CARBON DIOXIDE PROCESS APPARATUS, CARBON DIOXIDE PROCESS METHOD, AND MANUFACTURING METHOD OF CARBON COMPOUND

NºPublicación:  US2025296047A1 25/09/2025
Solicitante: 
HONDA MOTOR CO LTD [JP]
HONDA MOTOR CO., LTD
CN_120662223_PA

Resumen de: US2025296047A1

A carbon dioxide process apparatus includes: a recovery device that includes a carbon dioxide absorption portion which dissolves carbon dioxide in an electrolytic solution of a strong alkali and absorbs the carbon dioxide; an electrochemical reaction device to which the electrolytic solution in which the carbon dioxide is dissolved by the carbon dioxide absorption portion is supplied and which electrochemically reduces the carbon dioxide; an anion exchange type fuel cell that supplies electric energy to the electrochemical reaction device; a carbon dioxide concentration gas supply passage that supplies a carbon dioxide concentration gas generated by the fuel cell to the electrolytic solution which is discharged from the recovery device and before being supplied to the electrochemical reaction device; and a hydrogen supply passage that supplies hydrogen generated by the electrochemical reaction device to the fuel cell.

SEPARATOR FOR FUEL CELL AND SINGLE CELL FOR FUEL CELL

NºPublicación:  US2025300196A1 25/09/2025
Solicitante: 
TOYOTA BOSHOKU KK [JP]
TOYOTA BOSHOKU KABUSHIKI KAISHA
CN_120690896_PA

Resumen de: US2025300196A1

A separator is configured to be stacked on a power generating unit and a frame, which is made of a plastic and surrounds a peripheral portion of the power generating unit, thereby forming a single cell of a fuel cell. The separator includes a through-hole configured to allow a reactant gas to flow in a thickness direction of the separator, a gas passage configured to allow the reactant gas to flow in a planar direction of the separator, and a rib that is configured to support the frame and surrounds the through-hole over an entire circumference. At least one groove-shaped connecting passage is formed in a top surface of the rib to connect the through-hole and the gas passage to each other. The depth of the connecting passage is less than the thickness of the rib.

Verfahren zum Betreiben eines Multi-Stack-Systems, Steuergerät

NºPublicación:  DE102024202705A1 25/09/2025
Solicitante: 
BOSCH GMBH ROBERT [DE]
Robert Bosch Gesellschaft mit beschr\u00E4nkter Haftung

Resumen de: DE102024202705A1

Die Erfindung betrifft ein Verfahren zum Betreiben eines Multi-Stack-Systems (9), das mehrere Stacks (4.1, 4.2) und ein Kühlsystem (1) zum Abführen der Abwärme der Stacks (4.1, 4.2) umfasst, wobei im Startfall, insbesondere bei einem Kalt- und/oder Gefrierstart, eine zu einem definierten Zeitpunkt (ttarget) geforderte und die maximale elektrische Leistung (Pmax) eines einzelnen Stacks (4.1, 4.2) überschreitende elektrische Leistung (P) durch mehrere Stacks (4.1, 4.2) bereitgestellt wird, indem die Stacks (4.1, 4.2) über das Kühlsystem (1) thermisch gekoppelt werden und die Abwärme eines bereits aufgewärmten ersten Stacks (4.1) zum Aufwärmen mindestens eines weiteren Stacks (4.2) verwendet wird, und wobei zur Sicherstellung einer elektrischen Leistung (PStack2) des mindestens einen weiteren Stacks (4.2) zum Zeitpunkt (ttarget) folgende Schritte ausgeführt werden:a) Bestimmen einer Mindesttemperatur (Tmin), die der mindestens eine weitere Stack (4.2) zum Erbringen einer elektrischen Leistung (PStack2) benötigt,b) Bestimmen einer Aufwärmrate (dPStack2/dt), die der mindestens eine weitereStacks(4.2) zum Erreichen der Mindesttemperatur (Tmin) zum Zeitpunkt (ttarget) benötigt undc) Anpassen mindestens eines Betriebsparameters des Kühlsystems (1) zur Sicherstellung der benötigten Aufwärmrate.Die Erfindung betrifft ferner ein Steuergerät für ein Multi-Stack-System (9) zur Ausführung von Schritten eines erfindungsgemäßen Verfahrens.

THERMISCHES KREISLAUFSYSTEM FÜR EIN KRAFTFAHRZEUG

NºPublicación:  DE102024202721A1 25/09/2025
Solicitante: 
STELLANTIS AUTO SAS [FR]
STELLANTIS AUTO SAS

Resumen de: DE102024202721A1

Die vorliegende Entwicklung betrifft ein thermisches Kreislaufsystem (10) für ein Kraftfahrzeug (1), umfassend:- einen ersten fluidführenden Kreislauf (20), welcher zur Temperierung einer Stromerzeugungseinrichtung (25) ausgebildet und thermisch mit der Stromerzeugungseinrichtung (25) gekoppelt ist,- einen zweiten fluidführenden Kreislauf (30), welcher mit einer Batterie (34) und/oder mit einem Elektromotor (35) des Kraftahrzeugs (1) thermisch gekoppelt oder koppelbar ist, und- einen Wärmetauscher (50), welcher sowohl mit dem ersten fluidführenden Kreislauf (20) und mit dem zweiten fluidführenden Kreislauf (30) thermisch gekoppelt ist und welcher zum Transfer thermischer Energie vom zweiten fluidführenden Kreislauf (30) zum ersten fluidführenden Kreislauf (20) ausgestaltet ist.

Sortieren von flächigen Objekten für die Herstellung von galvanischen Zellen

NºPublicación:  DE102024108235A1 25/09/2025
Solicitante: 
GIESECKE & DEVRIENT CURRENCY TECHNOLOGY GMBH [DE]
Giesecke+Devrient Currency Technology GmbH

Resumen de: DE102024108235A1

Die Erfindung betrifft das Sortieren von flächigen Objekten, die zur Herstellung von galvanischen Zellen, insbesondere von elektrochemischen Energiespeichern oder -wandlern, verwendet werden. Dabei werden flächige Objekte entlang eines Transportwegs zu mindestens zwei Zwischenstationen transportiert, der sich sich an mindestens einer Verzweigungseinrichtung derart verzweigt, dass die flächigen Objekte wahlweise zu einer ersten oder zweiten Zwischenstation transportiert werden können. Zum Sortieren der flächigen Objekte, werden jeweils folgende Schritte durchgeführt:- Zurverfügungstellen mindestens einer Objekteigenschaft des jeweiligen flächigen Objekts und- Auswählen einer der Zwischenstationen für das jeweilige flächige Objekt in Abhängigkeit der Objekteigenschaft/en des jeweiligen flächigen Objekts, um das jeweilige flächige Objekt der ausgewählten Zwischenstation zuzuordnen, und- Transportieren des jeweiligen flächigen Objekts entlang des Transportwegs zu der ausgewählten Zwischenstation, wobei das jeweilige flächige Objekt durch die Verzweigungseinrichtung zu der ausgewählten Zwischenstation geleitet wird.

METHOD FOR REMAINING BELOW A LOWER HYDROGEN EXPLOSION LIMIT IN AN EXHAUST OF A FUEL CELL UNIT

NºPublicación:  US2025300208A1 25/09/2025
Solicitante: 
ROBERT BOSCH GMBH [DE]
Robert Bosch GmbH
KR_20250007591_PA

Resumen de: US2025300208A1

The invention relates to a method for preventing an automatically continued ignition of hydrogen in an exhaust (150) of a fuel cell unit, in particular of a fuel cell vehicle, when the fuel cell unit is started, characterized in that, when at least one start condition of the fuel cell unit is met, reactive hydrogen is removed from a cathode- side and/or exhaust-side gas of the fuel cell unit until, when the fuel cell unit is started, an actual level of a hydrogen concentration in the exhaust (150) is below the lower hydrogen explosion limit, and the method is preferably carried out only when an initial level of the hydrogen concentration of the cathode-side and/or exhaust-side gas in the fuel cell unit is above the lower hydrogen explosion limit for the exhaust (150).

SEPARATOR OF FUEL CELL

NºPublicación:  US2025300195A1 25/09/2025
Solicitante: 
TOYOTA JIDOSHA KK [JP]
TOYOTA JIDOSHA KABUSHIKI KAISHA
CN_120690880_PA

Resumen de: US2025300195A1

The separator includes a plurality of grooves for evacuating from the gas diffusion layer in the fuel cell to form a plurality of gas flow paths, a plurality of ribs for separating a plurality of gas flow paths in contact with the gas diffusion layer, and at least one first groove for evacuating from the gas diffusion layer and communicating only with the first flow path and extending toward the second flow paths on a contact surface in contact with the gas diffusion layer of at least one rib for separating the adjacent first and second flow paths of the plurality of gas flow paths.

STARTUP CONTROL METHOD OF FUEL CELL SYSTEM

NºPublicación:  US2025300202A1 25/09/2025
Solicitante: 
HYUNDAI MOTOR COMPANY [KR]
KIA CORP [KR]
Hyundai Motor Company,
Kia Corporation
CN_120690886_PA

Resumen de: US2025300202A1

A startup control method of a fuel cell system includes initiating hydrogen supply to an anode, determining whether an opening degree of an air control valve (ACV having received a cut-off command, is less than or equal to a designated reference opening degree, driving an air compressor to supply bypass air, if the opening degree of the ACV is less than or equal to the reference opening degree, determining whether execution of startup cathode oxidation depletion (COD) is necessary, and if so, initiating the execution of the startup COD, and determining, depending on an integral value Q of current supplied from a fuel cell stack to a resistive electrical load, and an operating point in a current-voltage plane of a COD circuit, whether designated basic COD control, control focused on protection of the fuel cell system, or control focused on quick startup is necessary.

REGENERATIVE FUEL CELL SYSTEM

NºPublicación:  US2025300205A1 25/09/2025
Solicitante: 
HONDA MOTOR CO LTD [JP]
HONDA MOTOR CO., LTD
CN_120674524_PA

Resumen de: US2025300205A1

When executing a depressurizing process of a hydrogen compression device and a water electrolysis device, on-off valves that supply a hydrogen gas or an oxygen gas to a fuel cell are placed in an opened state, and further, a set pressure of supply pressure reducing valves are adjusted to a value that is lower than a set pressure of bypass pressure reducing valves. Gas remaining in gas depressurizing regions is supplied, via the bypass pressure reducing valves, to the fuel cell.

INTER-CONNECTOR AND ELECTROCHEMICAL CELL

NºPublicación:  US2025300194A1 25/09/2025
Solicitante: 
NGK INSULATORS LTD [JP]
NGK INSULATORS, LTD
JP_7621564_B1

Resumen de: US2025300194A1

The present inter-connector includes a body and a plurality of oxide layers. The body includes a first principal surface, a second principal surface, and a plurality of protrusions. The second principal surface faces an opposite side from the first principal surface. The protrusions are provided on the first principal surface. Each of the plurality of oxide layers is disposed on a lateral surface of each of the plurality of protrusions. At least one of the plurality of oxide layers has a thickness distributed to induce the inter-connector to be warped to bulge at the body toward the second principal surface.

Vorrichtung und Verfahren zum Speichern und Bereitstellen von Energie mittels eines zur Umgebung hin fluidisch dichten Stoffkreislaufs umfassend Wasser und einen Elektrolyseur

NºPublicación:  DE102024108210A1 25/09/2025
Solicitante: 
BAYERISCHE MOTOREN WERKE AG [DE]
Bayerische Motoren Werke Aktiengesellschaft

Resumen de: DE102024108210A1

Die Erfindung betrifft eine Vorrichtung zum Speichern und Bereitstellen von Energie, mit einem fluidisch durchströmbaren, zur Umgebung hin fluidisch dichten Stoffkreislauf, mit einem Elektrolyseur (2) zum Aufspalten von aus einem Wassertank (1) stammenden Wasser mittels elektrischer Energie (8) und einem sich stromab des Elektrolyseurs (2) fluidisch anschließenden Sauerstofftank (3) für einen bei der Aufspaltung entstehenden Sauerstoff und einem sich stromab von dem Elektrolyseur (2) fluidisch anschließenden Wasserstofftank (4) für einen bei der Aufspaltung entstehenden Wasserstoff, mit wenigstens einer sich stromab des Wasserstofftanks (4) und des Sauerstofftanks (3) fluidisch anschließenden Umsetzungseinrichtung (5) zur exothermen Rekombination des Wasserstoffs und des Sauerstoffs zu Wasser, und mit wenigstens einem sich stromab der wenigstens einen Umsetzungseinrichtung (5) fluidisch anschließendem Wärmeübertrager (6) zum Bereitstellen wenigstens eines Teils einer Energie aus der Rekombination als Prozesswärme für einen Prozesskreislauf (7). Zudem umfasst die Erfindung ein Verfahren zum Speichern und Bereitstellen von Energie.

SEPARATOR UND VERFAHREN ZUR HERSTELLUNG DES SEPARATOR

NºPublicación:  DE102025110832A1 25/09/2025
Solicitante: 
NIPPON KINZOKU CO LTD [JP]
TOYOTA MOTOR CO LTD [JP]
NIPPON KINZOKU CO., LTD,
TOYOTA JIDOSHA KABUSHIKI KAISHA

Resumen de: DE102025110832A1

Ein Separator gebildet aus rostfreiem Stahl für eine Brennstoffzelle, welche eine Kühlmittelkontaktoberfläche beinhaltet die so konfiguriert ist, um mit einem Kühlmittel in Kontakt zu kommen und eine Gaskontaktoberfläche die so konfiguriert ist, um mit einem Gas in Kontakt zu kommen. Die Kühlmittelkontaktoberfläche weist einen leitfähigen Passivfilm auf. Die Gaskontaktoberfläche weist eine korrosionsbeständige Metallzwischenschicht auf dem Basismaterial und eine leitfähige Schicht auf der korrosionsbeständigen Metallzwischenschicht auf.

Kühlanlage, Brennstoffzellensystem und Kraftfahrzeug

NºPublicación:  DE102024108011A1 25/09/2025
Solicitante: 
MAHLE INT GMBH [DE]
MAHLE International GmbH

Resumen de: DE102024108011A1

Die Erfindung betrifft eine Kühlanlage (6) für einen Brennstoffzellenstapel (5) eines Brennstoffzellensystems (4), insbesondere eines Kraftfahrzeugs (1), und umfasst einen von einem Luftstrom (14) und von einem Kühlmittel (15) durchströmbaren Wärmeübertrager (13) zum Kühlen des Kühlmittels (15), einen Vorlauf (16) zum Abführen des Kühlmittels (15) vom Wärmeübertrager (13), mit einem Rücklauf (17) zum Zuführen des Kühlmittels (15) zum Wärmeübertrager (13) und eine Wasserzuführeinrichtung (20) zum Zuführen von flüssigem Wasser (21) zu einer Außenseite (22) des Wärmeübertragers (13) zum Erzeugen einer Verdampfungskühlung, wobei die Wasserzuführeinrichtung (20) einen Wasserspeicher (23) zum Speichern des flüssigen Wassers (21) aufweist.Die Kühlleistung lässt sich verbessern, wenn die Wasserzuführeinrichtung (20) zumindest eine Mischeinrichtung (26) zum Erzeugen eines Luft-Wassertropfen-Gemischs (27) aus dem flüssigen Wasser (21) und aus Druckluft (28) aufweist, wenn die Mischeinrichtung (26) einen Druckluftanschluss (29) zum Zuführen der Druckluft (28) aufweist, und wenn die Wasserzuführeinrichtung (20) wenigstens eine Zuführdüse (36) zum Zuführen des Luft-Wassertropfen-Gemischs (27) als Sprühstrahl (37) zur Außenseite (22) des Wärmeübertragers (13) aufweist.

FUEL CELL SYSTEM

NºPublicación:  US2025300207A1 25/09/2025
Solicitante: 
HONDA MOTOR CO LTD [JP]
Honda Motor Co., Ltd
CN_120709439_PA

Resumen de: US2025300207A1

A fuel cell system includes: a fuel cell stack constituted by stacking a plurality of power generation cells; an injector configured to inject fuel gas to be supplied to the fuel cell stack; a pressure sensor configured to detect a pressure of the fuel gas to be supplied to the fuel cell stack; and a control unit configured to set an injection cycle of the injector and to control the injector to inject the fuel gas in the injection cycle. The control unit controls the injector to inject the fuel gas earlier than lapse of the injection cycle when a pressure difference between the pressure detected by the pressure sensor and a target pressure becomes equal to or larger than a predetermined value.

FUEL CELL SYSTEM

NºPublicación:  US2025300204A1 25/09/2025
Solicitante: 
TOYOTA JIDOSHA KK [JP]
TOYOTA JIDOSHA KABUSHIKI KAISHA

Resumen de: US2025300204A1

The fuel cell system may include a fuel cell, a hydrogen gas supply path for supplying hydrogen gas to an anode of the fuel cell, a pump for sending off-gas discharged from the anode of the fuel cell to the hydrogen gas supply path, a pressure sensor for measuring a pressure in the hydrogen gas supply path, and a control device. The control device may acquire the amplitude of the frequency component corresponding to the drive frequency of the pump from the time-series data of the measurement value by the pressure sensor, and determine that an abnormality has occurred in the pump when the acquired amplitude is lower than the threshold value.

FUEL CELL SYSTEM

NºPublicación:  US2025300206A1 25/09/2025
Solicitante: 
HONDA MOTOR CO LTD [JP]
Honda Motor Co., Ltd
CN_120674537_PA

Resumen de: US2025300206A1

Fuel cell system includes: fuel cell stack configured to generate power by anode/cathode gas in anode/cathode flow path: anode/cathode supply flow path supplying anode/cathode gas to anode/cathode flow path; anode/cathode discharge flow path discharging anode/cathode off-gas from anode/cathode flow path; combining portion combining anode/cathode off-gas flowing through anode/cathode discharge flow path; discharge pipe guiding combined gas combined in combining portion to outside; anode discharge valve configured to control flow of anode off-gas toward combining portion; and control unit configured to control opening and closing of anode discharge valve. Control unit: acquires hydrogen concentration of combined gas; and controls opening and closing of anode discharge valve to repeat opening/closing operation of opening for opening time based on hydrogen concentration and closing in case where power generation amount of fuel cell stack is equal to or less than power generation threshold.

FUEL GAS SUPPLY SYSTEM

NºPublicación:  US2025300198A1 25/09/2025
Solicitante: 
TOYOTA JIDOSHA KK [JP]
TOYOTA JIDOSHA KABUSHIKI KAISHA

Resumen de: US2025300198A1

The fuel gas supply system includes a fuel tank that stores fuel gas, a fuel gas supply pipe that connects the fuel tank and a gas supply destination to which the fuel gas is supplied, an upstream strainer that is provided in the fuel gas supply pipe, and a downstream strainer that is entirely mesh-shaped and is provided in a fuel gas supply pipe that is downstream of the upstream strainer. The upstream strainer has a pocket portion having a mesh portion defined by a plurality of first openings and a wall portion having a plurality of second openings that are larger in size than the first openings. When the upstream strainer is viewed along the axial direction of the upstream strainer, the plurality of first openings and the plurality of second openings do not overlap.

Fuel Cell System and Control Method Thereof

NºPublicación:  US2025300203A1 25/09/2025
Solicitante: 
HYUNDAI MOTOR COMPANY [KR]
KIA CORP [KR]
Hyundai Motor Company,
Kia Corporation

Resumen de: US2025300203A1

The system may comprise a fuel cell stack, a hydrogen supply line configured to be coupled to an anode side of the fuel cell stack and supply hydrogen to the fuel cell stack, a hydrogen supply valve, associated with the hydrogen supply line, configured to adjust an amount of hydrogen supplied to the fuel cell stack, and a controller configured to determine, based on a pressure boost request to boost a hydrogen supply pressure, a front-end hydrogen pressure at a front end of the hydrogen supply valve, determine, based on the determined front-end hydrogen pressure, an opening command value of the hydrogen supply valve, and control, based on the determined opening command value, an opening degree of the hydrogen supply valve to boost the hydrogen supply pressure.

STAPELVERTEILER

NºPublicación:  DE102025110552A1 25/09/2025
Solicitante: 
TOYODA GOSEI KK [JP]
TOYODA GOSEI CO., LTD

Resumen de: DE102025110552A1

Ein Stapelverteiler weist auf: eine erste Endplatte eines Paars von Endplatten, die ein Zelllaminat in einer Dickenrichtung zwischen diesen aufnehmen; und ein Rohrbauteil, das aus einem thermoplastischen Harz ausgebildet ist und an der ersten Endplatte angebracht ist. Die erste Endplatte weist auf: einen Plattenkörper, der aus einem Material mit hoher Festigkeit gebildet ist und ein Durchgangsloch aufweist, das in der Dickenrichtung durch diesen geht und in Verbindung mit einem Fluidströmungsloch des Zelllaminats steht; und einen Harzteil, der aus einem thermoplastischen Harz ausgebildet ist und mit dem Plattenkörper integriert ist. Der Harzteil weist einen Beschichtungsteil auf, der aufweist: einen röhrenförmigen Teil, der in Kontakt mit einer Innenumfangsfläche, die das Durchgangsloch in dem Plattenkörper festlegt, angeordnet ist; und einen Flanschteil, der auf einer Außenseite in der Dickenrichtung von einem äußeren Ende des Plattenkörpers in der Dickenrichtung freiliegt. Der Plattenkörper und der Beschichtungsteil weisen eine Begrenzungsstruktur zum Begrenzen einer Verformung des Flanschteils in der Dickenrichtung nach außen auf.

ANODENSEITIGES, INTEGRIERTE STRÖMUNGSKANÄLE AUFWEISENDES MODUL EINES DOPPELSTAPEL-BRENNSTOFFZELLENSYSTEMS UND ANODENSUBSYSTEM

NºPublicación:  DE102025109305A1 25/09/2025
Solicitante: 
BOSCH HYDROGEN POWERTRAIN SYSTEMS CHONGQING CO LTD [CN]
Bosch Hydrogen Powertrain Systems (Chongqing) Co., Ltd
CN_222214214_U

Resumen de: DE102025109305A1

Diese Anmeldung betrifft ein integrierte Strömungskanäle aufweisendes Modul eines Anodensubsystems für ein Doppelstapel-Brennstoffzellensystem, umfassend: eine zur Bildung einer dichten Verbindung mit der Zellenstapel-Endkappe konfigurierte erste Seitenfläche; mehrere von der ersten Seitenfläche in Dickenrichtung des integrierte Strömungskanäle aufweisenden Moduls eingelassene Kanalgruppen, wobei die mehreren Kanalgruppen so konfiguriert sind, dass sie mit der ersten und der zweiten Strahlpumpe sowie der Wasserabscheider-Rezirkulationspumpe des Anodensubsystems fluidisch verbunden sind, um einen der Rezirkulation des aus den Anodenausgängen des ersten und des zweiten Zellenstapels ausgestoßenen Brennstoffs zurück zu den Anodeneingängen des ersten und des zweiten Zellenstapels dienenden ersten Strömungsweg zu bilden; sowie eine im Inneren des integrierte Strömungskanäle aufweisenden Moduls herausgebildete Gruppe Verteilungskanäle, wobei die Gruppe Verteilungskanäle so konfiguriert ist, dass sie für eine fluidische Verbindung der Brennstoffquelle des Anodensubsystems mit der ersten und der zweiten Strahlpumpe sorgt, um einen zur Verteilung des von der Brennstoffquelle stammenden Brennstoffs zwischen der ersten und der zweiten Strahlpumpe dienenden zweiten Strömungsweg zu bilden. Ferner wird ein dieses integrierte Strömungskanäle aufweisende Modul umfassendes Anodensubsystem für ein Doppelstapel-Brennstoffzellensystem bereitgestellt.

VERFAHREN ZUM ERKENNEN EINES ÜBERFLUTUNGSFEHLERS EINES BRENNSTOFFZELLENSTAPELS

NºPublicación:  DE102025124953A1 25/09/2025
Solicitante: 
BOSCH GMBH ROBERT [DE]
Robert Bosch Gesellschaft mit beschr\u00E4nkter Haftung

Resumen de: DE102025124953A1

Die vorliegende Offenbarung schlägt ein Verfahren zum Identifizieren eines Überflutungsfehlers eines Brennstoffzellenstapels basierend auf dem Strom einer Umwälzpumpe, ein Verfahren zum Steuern eines Brennstoffzellensystems basierend auf dem Strom einer Umwälzpumpe, ein Brennstoffzellensystem, ein computerlesbares Speichermedium und ein Computerprogrammprodukt vor. Die Umwälzpumpe ist konfiguriert, den Abfluss vom Anodenauslass des Brennstoffzellenstapels zum Anodeneinlass zu pumpen, wobei der Ablass nicht umgesetztes Brenngas und flüssiges Wasser umfasst, wobei die Umwälzpumpe eine rotierende Komponente umfasst und die von dem flüssigen Wassergebildeten Tropfen auf d die rotierende Komponente prallen. Das Verfahren umfasst die folgenden Schritte, die während des Betriebs in Echtzeit ausgeführt werden: Erhalten eines Stromsignals der Umwälzpumpe; Verarbeiten des erhaltenen Stromsignals, um aus dem Stromsignal die Stromschwankungssignal-Komponente zu extrahieren, die der vorab bestimmten charakteristischen Frequenz FZentspricht; Integrieren des Absolutwerts der extrahierten Stromschwankungssignal-Komponente über die Zeit, um ein Integrationsergebnis zu erhalten; und Vergleichen des Integrationsergebnisses mit einem vorab bestimmten Schwellenwert T, wobei bei Überschreiten des Schwellenwerts T durch das Integrationsergebnis erkannt wird, dass im Brennstoffzellenstapel ein Überflutungsfehler aufgetreten ist oder unmittelbar bevorsteht. Mittels dieses Verfahrens kö

Method for Forming a Polar Plate of a Fuel Cell, and Associated Forming Plant

NºPublicación:  US2025300191A1 25/09/2025
Solicitante: 
SYMBIO FRANCE [FR]
SYMBIO FRANCE
JP_2025519279_PA

Resumen de: US2025300191A1

The present method of forming a polar plate comprises:a stamping step:implemented by a stamping press, which includes a stamping tool mounted on a slider moved by vertical reciprocating movement; andduring which a network of channels for circulating fluids is stamped on the strip; anda downstream step subsequent to the stamping step and implemented by a downstream press;wherein:once the channel network is stamped on the strip, while the strip is held clamped in the stamping tool, a reference mark is formed on the strip by means of a marking tool carried by the slider; andduring the downstream step, the strip is positioned with respect to the downstream press by means of positioning members mounted on the downstream press and which cooperate with the reference mark.

ELECTROCHEMICAL CELL

NºPublicación:  US2025297391A1 25/09/2025
Solicitante: 
NGK INSULATORS LTD [JP]
NGK INSULATORS, LTD
JP_7659706_B1

Resumen de: US2025297391A1

An electrochemical cell includes a gas container and a cell body portion. The gas container includes a metal support having a plurality of communication holes formed through a main surface thereof, a gas supply hole, and a gas discharge hole, a flow path member defining an internal space between the metal support and the flow path member, and a welded portion sealing a gap between the metal support and the flow path member. The internal space includes a gas supply chamber in communication with the gas supply hole, a gas discharge chamber in communication with the gas discharge hole, and a gas distribution chamber disposed between the gas supply chamber and the gas discharge chamber. When viewed in a plan view of the main surface, the welded portion includes a narrowing portion for dividing the gas distribution chamber from the gas supply chamber or the gas discharge chamber.

ELECTROCHEMICAL CELL

NºPublicación:  US2025297383A1 25/09/2025
Solicitante: 
NGK INSULATORS LTD [JP]
NGK INSULATORS, LTD
JP_7657379_B1

Resumen de: US2025297383A1

An electrochemical cell includes a metal support having a plurality of connecting holes formed in a principal surface and a cell body disposed on the principal surface. The cell body has a gas diffusion layer disposed on the principal surface, a first electrode layer disposed on the gas diffusion layer, a second electrode layer and an electrolyte layer disposed between the first electrode layer and the second electrode layer. The gas diffusion layer has a body portion located in a gap between the metal support and the first electrode layer and a protruding portion protruding from the body portion to the connecting holes. The protruding portion covers a portion of an inner circumferential surface of the connecting hole.

INTER-CONNECTOR AND ELECTROCHEMICAL CELL

NºPublicación:  US2025297376A1 25/09/2025
Solicitante: 
NGK INSULATORS LTD [JP]
NGK INSULATORS, LTD
JP_7618109_B1

Resumen de: US2025297376A1

The present inter-connector includes a body, a first oxide layer, and a second oxide layer. The body includes a first principal surface and a second principal surface. The second principal surface is opposite to the first principal surface. The first oxide layer is disposed on the first principal surface. The second oxide layer is disposed on the second principal surface. The second oxide layer is different in thickness from the first oxide layer.

SEPARATOR AND METHOD FOR MANUFACTURING THE SEPARATOR

NºPublicación:  US2025300192A1 25/09/2025
Solicitante: 
TOYOTA JIDOSHA KK [JP]
NIPPON KINZOKU CO LTD [JP]
TOYOTA JIDOSHA KABUSHIKI KAISHA,
NIPPON KINZOKU CO., LTD
CN_120709407_PA

Resumen de: US2025300192A1

A separator formed of stainless steel for a fuel cell includes a coolant contact surface that is configured to come into contact with a coolant and a gas contact surface that is configured to come into contact with gas. The coolant contact surface has a conductive passive film. The gas contact surface has a corrosion-resistant metal intermediate layer on a base material, and a conductive layer on the corrosion-resistant metal intermediate layer.

LOW WEIGHT HYDROGEN DISTRIBUTION SYSTEM AND COMPONENTS

NºPublicación:  US2025297346A1 25/09/2025
Solicitante: 
POPPE POTTHOFF GMBH [DE]
Poppe + Potthoff GmbH
EP_4415084_PA

Resumen de: US2025297346A1

The present disclosure relates to a hydrogen-carrying component for a fuel distribution system of an energy conversion system which can be operated at a pressure range from at least 0.1 MPa, comprising a base body, at least one gas conduit in the main body, at least one gas inlet and at least one gas outlet, which are in fluid communication via the at least one gas conduit, the base body being substantially made of a tempered steel having the following composition: 0.18 to 0.45% by weight of carbon, 0.15 to 0.40% by weight of silicon, 0.4 to 1.0% by weight of manganese, 0.4 to 1.2% by weight of chromium, 0.08 to 0.35% by weight of molybdenum, at most 0.035% by weight of phosphorus, at most 0.04% by weight of sulfur, iron and smelting-related steel accompanying elements; wherein the tempered steel has the following properties: a tensile strength in the range from 650 MPa to 950 MPa; a yield strength or a 0.2% elasticity limit in the range from 500 MPa to 850 MPa; and an elongation at break in the range from 12% to 35%.The disclosure also relates to a hydrogen distribution system, an energy conversion plant, and a drive system for vehicles.

WORKING VEHICLE

NºPublicación:  US2025296454A1 25/09/2025
Solicitante: 
KUBOTA CORP [JP]
Kubota Corporation
JP_2024095106_PA

Resumen de: US2025296454A1

A working vehicle a vehicle body to which a working device is connectable, a cabin to store an operator's seat provided on the vehicle body, a traveling device to support the vehicle body and allow the vehicle body to travel, a drive device to drive the traveling device, and a tank to store gas to drive the drive device. The tank is provided below the cabin.

WORKING VEHICLE

NºPublicación:  US2025296429A1 25/09/2025
Solicitante: 
KUBOTA CORP [JP]
Kubota Corporation
JP_2024095102_PA

Resumen de: US2025296429A1

A working vehicle includes a vehicle body, a traveling device to support the vehicle body, a driving motor to drive the traveling device, a fuel cell to supply electricity to the driving motor, a first radiator to cool a refrigerant to be circulated through a cooling passage of a heat-producing component including the driving motor by heat exchange with outside air, a second radiator to cool a refrigerant to be circulated through a cooling passage of the fuel cell by heat exchange with outside air, a housing to cover the fuel cell, the first and second radiators, a first passage to allow air for heat-exchange of the first radiator to pass by the fuel cell and out of the housing, and a second passage to allow air for heat-exchange of the second radiator to pass by the fuel cell and out of the housing.

GREEN ENERGY TRANSPORTATION SYSTEM AND TRANSPORTATION METHOD USING GREEN HYDROGEN

NºPublicación:  US2025296837A1 25/09/2025
Solicitante: 
KIKKAWA YOSHITSUGI [JP]
Kikkawa Yoshitsugi
JP_2024069688_PA

Resumen de: US2025296837A1

There is provided a transportation system that can efficiently transport renewable energy from power generation facilities in remote locations to hydrogen energy consumption areas with low environmental impact. The system includes a power generator that generates and stores electricity using renewable energy, a water electrolyzer that generates hydrogen by electrolyzing water using the electricity generated by the power generator, a methane synthesizer that generates methane using the hydrogen generated and recycled CO2 as raw materials through the Sabatier reaction, a methane transportation means that transports the generated methane to the hydrogen energy consumption site without emitting CO2 into the atmosphere, a hydrogen production and carbon capture unit that produces hydrogen by autothermal reforming method using the transported methane and separately prepared oxygen as raw materials, and a CO2 transportation means that transports the recycled CO2 without emitting CO2 into the atmosphere to the site where the methane synthesizer is installed.

WADING CONTROL METHOD OF FUEL CELL VEHICLE AND WADING SYSTEM OF FUEL CELL VEHICLE

NºPublicación:  US2025296481A1 25/09/2025
Solicitante: 
HYUNDAI MOTOR COMPANY [KR]
KIA CORP [KR]
Hyundai Motor Company,
Kia Corporation

Resumen de: US2025296481A1

Proposed is a wading control method of a fuel cell vehicle. The wading control method includes determining, by a controller, whether a fuel cell vehicle requires a wading function, when it is determined that the wading function is required, determining, by the controller, a driving available distance based on a battery state of charge (SOC), determining, by the controller, whether wading is possible, and closing, by the controller, one or more of an air cut-off valve and an air pressure control valve in preparation for performing the wading function.

ELECTROLYTE STORAGE TANK

NºPublicación:  AU2024315381A1 25/09/2025
Solicitante: 
VRB ENERGY INC
VRB ENERGY INC
AU_2024315381_PA

Resumen de: AU2024315381A1

An electrolyte storage tank, comprising a tank body (1) having an inner cavity (10). A liquid inlet and a liquid outlet which are communicated with the inner cavity are formed in the tank body; the tank body is formed by pouring acid-resistant concrete; a steel reinforcement framework (4) is pre-embedded in the tank body; and the inner cavity of the tank body is configured to store an electrolyte.

FLOW BATTERY BIPOLAR PLATE AND CURRENT COLLECTING PLATE

NºPublicación:  AU2024340971A1 25/09/2025
Solicitante: 
VRB ENERGY INC
VRB ENERGY INC
AU_2024340971_PA

Resumen de: AU2024340971A1

The present disclosure provides a flow battery bipolar plate and current collecting plate. The bipolar plate or the current collecting plate comprises a supporting layer, and the supporting layer comprises a first surface in contact with an electrode and a second surface opposite thereto; the supporting layer is provided with holes penetrating through the first surface and the second surface; a conductive filler is disposed in the holes; the first surface is provided with a first area and a second area, the first area surrounding all the holes, and the second area being the remaining area of the first surface; the second surface is provided with a third area and a fourth area, the third area surrounding all the holes, and the fourth area being the remaining area of the second surface; and the resistivity of the first area is less than that of the second area. The present disclosure optimizes the bipolar plate or the current collecting plate while ensuring the physical strength thereof, thereby greatly improving the corrosion resistance, electrical properties and mechanical properties thereof.

METHODS AND SYSTEMS FOR REDUCING CROSSOVER IN REDOX FLOW BATTERIES

NºPublicación:  AU2024239686A1 25/09/2025
Solicitante: 
XL BATTERIES INC
XL BATTERIES, INC
AU_2024239686_PA

Resumen de: AU2024239686A1

The disclosure provides redox flow batteries that have long-duration or long-lifetime for energy storage applications. The water-soluble perylene diimide based molecules can be used as energy storage materials in the anode chambers. The water-soluble ferrocene- based molecules can be used as energy storage materials in the cathode chambers. The redox flow batteries have negligible crossover rates across the membranes.

ELECTROCHEMICAL DEVICE

NºPublicación:  AU2024263964A1 25/09/2025
Solicitante: 
SOLYDERA SA
SOLYDERA SA
AU_2024263964_PA

Resumen de: AU2024263964A1

An electrochemical device including: - at least one electrochemical cell, - two fluid lines, - a pre-heating unit for preheating at least one of the fluids before feeding the at least one fluid to the system, a load device for electrically oading the at least one electrochemical cell, - temperature sensors, - pressure sensors for detecting a pressure and/or a differential pressure, the device comprises a control management system. The control management system : - is configured to keep a temperature gradient between the inlet side and the exhaust side of at least one fluid line below a predefined system critical temperature gradient and/or to control a minimum temperature and/or a maximum temperature cross the electrochemical device compared with a pre-defined temperature reference; and/or - is configured to control the di f ferential pressure between the two fluid lines; and/or - is configured to control the pressure drop of at least one fluid line; and/or - is configured to control at least one maximum pressure and/or at least one minimum pressure of the fluid in the electrochemical device compared to a pre-defined pressure reference.

ELECTRODE CATALYST LAYER AND MEMBRANE ELECTRODE ASSEMBLY

NºPublicación:  AU2024244659A1 25/09/2025
Solicitante: 
TOPPAN HOLDINGS INC
TOPPAN HOLDINGS INC
AU_2024244659_PA

Resumen de: AU2024244659A1

An electrode catalyst layer 2 comprises catalyst particles 12, an ionomer 13, and ionomer-adsorbing carbon fibers 14α. The ionomer-adsorbing carbon fibers 14α may have an ionomer adsorption amount of 10 mg or larger per g of the ionomer-adsorbing carbon fibers, may have a diameter within the range of 50 nm to 1 μm, and may be hydrophilized vapor-phase growth carbon fibers (VGCF).

BALANCE-OF-PLANT FOR ELECTRO-SYNTHETIC OR ELECTRO-ENERGY LIQUID-GAS CELLS OR CELL STACKS

NºPublicación:  AU2024202934A1 25/09/2025
Solicitante: 
HYSATA PTY LTD
HYSATA PTY LTD
AU_2024202934_PA

Resumen de: AU2024202934A1

Disclosed in one example is gas pressure equalisation systems (400-401), and method of operation, for an electro-synthetic or electro-energy liquid-gas cell or cell stack (210). The gas pressure equalisation systems (400-401) comprise a first pressure equalisation tank (410) for partially containing a first liquid (470) and a first gas. The first gas is positioned above a liquid first level (471). A first gas conduit (430) is provided for the transfer of the first gas between the cell or cell stack (210) and the first pressure equalisation tank (410). In another example, a second pressure equalisation tank (420) may be additionally provided for partially containing a second liquid (473) and a second gas positioned above a liquid second level (472). A second gas conduit (440) is then provided for the transfer of the second gas between the cell or cell stack (210) and the second pressure equalisation tank (420).

BLOWER FILTER ASSEMBLY

NºPublicación:  US2025296023A1 25/09/2025
Solicitante: 
WATT FUEL CELL CORP [US]
WATT FUEL CELL CORP
JP_2025517306_PA

Resumen de: US2025296023A1

An apparatus having an air consuming mechanism therein. The apparatus has a housing having an air consuming mechanism such as a fuel cell mounted therein. At least one blower assembly is in fluid communication with an air intake and supplies air to the air consuming mechanism. The blower intake has a filter, such as an N95 filter. The blower and filter have attachment structures adapted to releasably engage with each other.

LOOK AHEAD ENERGY MANAGEMENT AND CONTROL SYSTEMS AND METHODS TO IMPROVE FUEL CELL SYSTEM PERFORMANCE, DURABILITY, AND LIFE

NºPublicación:  US2025300209A1 25/09/2025
Solicitante: 
CUMMINS INC [US]
CUMMINS INC
CN_114914484_PA

Resumen de: US2025300209A1

The subject matter described herein generally relates to look ahead energy management and control systems and methods for detecting, incorporating, and leveraging look ahead technology data to improve the performance, durability, and life of fuel cell systems.

PATTERNED NANOPARTICLE STRUCTURES

NºPublicación:  US2025300156A1 25/09/2025
Solicitante: 
UNIV OF MASSACHUSETTS [US]
UNIVERSITY OF MASSACHUSETTS
US_2023352206_PA

Resumen de: US2025300156A1

Aspects relate to patterned nanostructures having a feature size not including film thickness of below 5 microns. The patterned nanostructures are made up of nanoparticles having an average particle size of less than 100 nm. A nanoparticle composition, which, in some cases, includes a binder, is applied to a substrate. A patterned mold used in concert with electromagnetic radiation function to manipulate the nanoparticle composition in forming the patterned nanostructure. In some embodiments, the patterned mold nanoimprints a pattern onto the nanoparticle composition and the composition is cured through UV or thermal energy. Three-dimensional patterned nanostructures may be formed. A number of patterned nanostructure layers may be prepared and joined together. In some cases, a patterned nanostructure may be formed as a layer that is releasable from the substrate upon which it is initially formed. Such releasable layers may be arranged to form a three-dimensional patterned nanostructure for suitable applications.

SYSTEMS AND METHODS FOR LOW-COST REDOX FLOW BATTERIES

NºPublicación:  AU2024233222A1 25/09/2025
Solicitante: 
XL BATTERIES INC
XL BATTERIES, INC
AU_2024233222_PA

Resumen de: AU2024233222A1

The disclosure provides batteries that have long-duration or long-lifetime for energy storage applications. In one aspect, the disclosure provides perylene diimide molecules that are water soluble and can be used as energy storage materials. In operation, the perylene diimide molecules are oxidized in an anode chamber and the electrons released in the oxidation process flow to the cathode chamber where they reduce a molecule in the cathode chamber. The perylene diimide molecules in accordance with many embodiments are highly compatible with polymeric materials that are inexpensive and easy to process, hence allowing for significantly reduced manufacturing costs.

SPIRAL WOUND WATER EXCHANGERS, POWER GENERATORS COMPRISING THE SAME, AND METHODS OF USE THEREOF

NºPublicación:  US2025300197A1 25/09/2025
Solicitante: 
HONEYWELL INT INC [US]
HONEYWELL INTERNATIONAL INC
CN_120690883_PA

Resumen de: US2025300197A1

Spiral wound water exchangers, power generators comprising the same, and methods of use thereof are provided. The methods include providing a first stream of air having a first humidity to a spiral wound water exchanger, providing a second stream of hydrogen having a second humidity to the spiral wound water exchanger, flowing the air and the hydrogen through the spiral wound water exchanger, wherein water is transported from the air to the hydrogen as the air and the hydrogen flow through the spiral wound water exchanger, expelling a third stream of air having a third humidity from the spiral wound water exchanger, and expelling a fourth stream of hydrogen having a fourth humidity from the spiral wound water exchanger, wherein the third humidity is less than the first humidity and the fourth humidity is greater than the second humidity.

MARINE THERMAL AND ELECTRICAL BATTERY

NºPublicación:  US2025300200A1 25/09/2025
Solicitante: 
LONE GULL HOLDINGS LTD [US]
Lone Gull Holdings, Ltd

Resumen de: US2025300200A1

Embodiments disclosed herein comprise a wave energy converter (WEC) that includes a buoyant chamber with a tube depending from the buoyant chamber. In an embodiment, a battery is coupled to the WEC. In an embodiment, the battery includes a first tank for storing an oxidizing gas and a precursor fluid, and a second tank for storing a fuel. In an embodiment the battery further includes a fuel cell fluidically coupled to the first tank and the second tank, and a reaction pipe fluidically coupled to the first tank and the second tank.

SIZE-SIEVING ENHANCED ZINC-IODINE FLOW BATTERY SYSTEM FOR MITIGATING WATER/HYDRATED ION CLUSTER MIGRATION

NºPublicación:  US2025300193A1 25/09/2025
Solicitante: 
CITY UNIV OF HONG KONG [HK]
City University of Hong Kong

Resumen de: US2025300193A1

The present invention relates to a size-sieving enhanced zinc-iodine flow battery system for mitigating water/hydrated ion cluster migration. The zinc-iodine flow battery system includes an anolyte; a catholyte; an anode configured to be in contact with the anolyte; a cathode configured to be in contact with the catholyte; and a separator interposed between the anode and the cathode. The IMS-based membranes with selective transport of ions/molecules can address the longstanding issues of polyiodide cross-over and water migration. This improvement enables the development of long-duration hybrid Zn-based flow batteries.

FUEL CELL HYDROGEN GAS CIRCUIT DEVICE AND CONTROL METHOD THEREOF

NºPublicación:  US2025300199A1 25/09/2025
Solicitante: 
SHANDONG UNIV OF SCIENCE AND TECHNOLOGY [CN]
SHANDONG UNIVERSITY OF SCIENCE AND TECHNOLOGY
CN_117936840_PA

Resumen de: US2025300199A1

A fuel cell hydrogen gas circuit device and a control method thereof are provided. The device includes a hydrogen cylinder, a hydrogen pressure stabilizing chamber, an injector, a hydrogen-water separator, and a hydrogen circulation pump. The hydrogen cylinder is connected to the first inlet of the injector through the hydrogen pressure stabilizing chamber, and the outlet of the injector is connected to the inlet of the fuel cell stack. The outlet of the fuel cell stack is connected to the hydrogen-water separator, and the gas outlet of the hydrogen-water separator is connected to the second inlet of the injector. The hydrogen-water separator is also connected to the inlet of the hydrogen circulation pump, and the outlet of the hydrogen circulation pump is connected to the inlet and outlet of the fuel cell stack through pipelines. It can effectively alleviate hydrogen starvation under loading conditions, water flooding, and platinum degradation.

FUEL CELL SYSTEM, FUEL CELL PLANT AND PROCESS FOR PRODUCTION OF SYNTHESIS GAS

NºPublicación:  US2025297379A1 25/09/2025
Solicitante: 
AVL LIST GMBH [AT]
AVL List GmbH
JP_2025523341_PA

Resumen de: US2025297379A1

The present invention relates to an electrolysis system (10), an electrolysis plant (30) with an electrolysis system (10) and a synthesis system (20) and a method (1000) for generating synthesis gas by means of the electrolysis system (10).

SEPARATOR FÜR BRENNSTOFFZELLE UND EINZELZELLE FÜR BRENNSTOFFZELLE

NºPublicación:  DE102025110136A1 25/09/2025
Solicitante: 
TOYOTA BOSHOKU KK [JP]
TOYOTA BOSHOKU KABUSHIKI KAISHA
CN_120690896_PA

Resumen de: DE102025110136A1

Ein Separator ist so konfiguriert, dass er sich auf einer Stromerzeugungseinheit und einem Rahmen, der aus einem Kunststoff besteht und einen Umfangsabschnitt der Stromerzeugungseinheit umgibt, stapeln lässt, wodurch eine Einzelzelle einer Brennstoffzelle ausgebildet wird. Der Separator weist ein Durchgangsloch, das so konfiguriert ist, dass es einem Reaktionsmittelgas ermöglicht, in einer Dickenrichtung des Separators zu strömen, einen Gasdurchlass, der so konfiguriert ist, dass er dem Reaktionsmittelgas ermöglicht, in einer planaren Richtung des Separators zu strömen, und eine Rippe auf, die so konfiguriert ist, dass sie den Rahmen stützt und das Durchgangsloch über einem gesamten Umfang umgibt. In einer Deckfläche der Rippe ist mindestens ein nutförmiger Verbindungsdurchlass ausgebildet, um das Durchgangsloch und den Gasdurchlass miteinander zu verbinden. Die Tiefe des Verbindungsdurchlasses ist geringer als die Dicke der Rippe.

Stackanordnung, Verfahren zum Betreiben einer Stackanordnung

NºPublicación:  DE102024202630A1 25/09/2025
Solicitante: 
BOSCH GMBH ROBERT [DE]
Robert Bosch Gesellschaft mit beschr\u00E4nkter Haftung

Resumen de: DE102024202630A1

Die Erfindung betrifft eine Stackanordnung (1) für eine Elektrolyseanlage oder ein Brennstoffzellensystem, umfassend mindestens einen Stack (2) sowie ein Gehäuse (3), in dem der mindestens eine Stack (2) aufgenommen ist. Erfindungsgemäß ist bzw. sind in einem zwischen dem mindestens einen Stack (2) und dem Gehäuse (3) verbleibenden Freiraum (4) ein schüttfähiges Füllmaterial (5) und/oder ein aufblasbarer, flexibler Balg angeordnet.Die Erfindung betrifft ferner ein Verfahren zum Betreiben einer erfindungsgemäßen Stackanordnung (1).

STACK OF ELECTROCHEMICAL CELLS, ESPECIALLY SOLID ELECTROLYTE CELLS, AND METHOD FOR STACKING ELECTROCHEMICAL CELLS

NºPublicación:  WO2025198484A2 25/09/2025
Solicitante: 
HYDROGENTECH SPOLKA Z OGRANICZONA ODPOWIEDZIALNOSCIA [PL]
HYDROGENTECH SPOLKA Z OGRANICZONA ODPOWIEDZIALNOSCIA
PL_448045_A1

Resumen de: WO2025198484A2

The subject-matter of the present invention is a stack of electrochemical cells comprising a plurality of electrochemical cells (C) stacked on top of each other, an inlet gas manifold (1) having a supply connector (3), an outlet gas manifold (2) having a discharge connector (4), seals (8), conductive connectors connecting electrically adjacent electrochemical cells (C) in the stack. Accordingto the invention, the electrochemical cells (C) in the stack are arranged in a defined order from a cell (C1 ) with the highest flow resistance through an at least one reactant flow channel to a cell (Cn) with the lowest flow resistance through the at least one reactant flow channel, wherein the cell (C1) with the highest flow resistance is placed closest to the supply connector (3) of the inlet gas manifold (1) while the cell (Cn) with the lowest flow resistance is placed at the location furthest from the supply connector (3) of the inlet gas manifold (1).

HYBRID SEAL FOR STACK OF ELECTROCHEMICAL CELLS, ESPECIALLY SOLID ELECTROLYTE CELLS, STACK OF ELECTROCHEMICAL CELLS AND METHOD FOR MANUFACTURING A STACK OF ELECTROCHEMICAL CELLS

NºPublicación:  WO2025198483A1 25/09/2025
Solicitante: 
HYDROGENTECH SPOLKA Z OGRANICZONA ODPOWIEDZIALNOSCIA [PL]
HYDROGENTECH SPOLKA Z OGRANICZONA ODPOWIEDZIALNOSCIA
PL_448042_A1

Resumen de: WO2025198483A1

The invention relates to a hybrid seal for a stack of electrochemical cells, especially solid electrolyte cells, comprising a first seal (2) configured to be placed on either an anode current lead (6) or a cathode current lead (7), and a second seal (3) configured to be placed around either a gas inlet opening (9) or a gas outlet opening (10), wherein said second seal (3) comprises a connecting hole (8) which together with either the gas inlet opening (9) or the gas outlet opening (10) form either a gas inlet manifold or a gas outlet manifold, respectively, when a plurality of cells (8) is stacked one on top of the other. The invention also relates to a stack of electrochemical cells and a method for manufacturing thereof.

PLANT AND METHOD FOR PRODUCING A HALF-CELL FOR SOLID STATE FUEL CELLS

NºPublicación:  WO2025196626A1 25/09/2025
Solicitante: 
PETROCERAMICS S P A [IT]
PETROCERAMICS S.P.A

Resumen de: WO2025196626A1

A method (100) for producing a half-cell (1), in particular formed by a double ceramic layer consisting of an electrode (4) and an electrolyte (5) coupled to each other, for a solid state fuel cell, comprises a process (200) for producing a green electrode body (2); a process (300) for producing a green electrolyte body (3); a coupling step (400), in which the green electrode body (2) and the green electrolyte body (3) are coupled together; and a sintering step (500), following the coupling step (400), in which the green electrode body (2) and the green electrolyte body (3) coupled together are sintered so as to make the half-cell (1) formed by the coupled electrode (4) and electrolyte (5).

ELECTROLYTE STORAGE TANK FOR A REDOX FLOW BATTERY SYSTEM

NºPublicación:  WO2025198474A1 25/09/2025
Solicitante: 
ELESTOR B V [NL]
ELESTOR B.V

Resumen de: WO2025198474A1

The present invention relates to an innovative combined electrolyte storage tank for a redox flow battery system. The electrolyte storage tank for a redox flow battery system according to the present invention comprises a closed loop of liquid electrolyte and gaseous electrolyte between the redox flow battery system and the electrolyte storage tank. An object of the present invention is to develop a redox flow battery system wherein the amount of parasitic power for the flow battery system is drastically reduced and wherein the requirements for additional equipment, such as the use of demi water for gaseous electrolyte humidification, are reduced as well.

PATTERNING INORGANIC SUBSTRATES USING SACRIFICIAL MOLD

NºPublicación:  WO2025199011A1 25/09/2025
Solicitante: 
CORNING INCORPORATED [US]
CORNING INCORPORATED

Resumen de: WO2025199011A1

A method (100) of patterning an inorganic substrate (22) includes depositing a sacrificial material (202, 202a, 202b) on a separable carrier (201). The sacrificial material (202, 202a, 202b) may include a first surface (210, 30) and a second surface (212, 40) opposite the first surface (210, 30) and a patterning feature (205) including an aspect ratio greater than or equal to 0.1. The method (100) may further include depositing a slurry (203, 203a, 203b) such that the slurry (203, 203a, 203b) is positioned on the sacrificial material (202, 202a, 202b) or the sacrificial material (202, 202a, 202b) is positioned on the slurry (203, 203a, 203b). The slurry (203, 203a, 203b) includes an inorganic powder, a binder, and a solvent. The method (100) further includes curing the slurry (203, 203a, 203b) to evaporate the solvent, thereby forming a green body.

SORTING PLANAR OBJECTS FOR THE PRODUCTION OF GALVANIC CELLS

NºPublicación:  WO2025196274A1 25/09/2025
Solicitante: 
GIESECKE DEVRIENT CURRENCY TECH GMBH [DE]
GIESECKE+DEVRIENT CURRENCY TECHNOLOGY GMBH
DE_102024108235_PA

Resumen de: WO2025196274A1

The invention relates to the sorting of planar objects that are used to produce galvanic cells, in particular electrochemical energy stores or electrochemical energy transducers. In the process, planar objects are transported along a transport path to at least two intermediate stations, said transport path branching in such a way at at least one branching device that the planar objects can be selectively transported to a first or second intermediate station. In order to sort the planar objects, the following steps are carried out in each case: - providing at least one object property of the respective planar object, and - selecting one of the intermediate stations for the respective planar object depending on the object property/properties of the respective planar object, in order to assign the respective planar object to the selected intermediate station, and - transporting the respective planar object along the transport path to the selected intermediate station, with the respective planar object being guided to the selected intermediate station by the branching device.

ELECTROCHEMICAL CELL

NºPublicación:  WO2025196425A1 25/09/2025
Solicitante: 
CERES POWER LTD [GB]
CERES POWER LIMITED

Resumen de: WO2025196425A1

An electrochemical cell is disclosed having a first electrolyte layer comprising a material having a composition Ce(1-x-y) PrxLnyO(2-δ), wherein Ln is selected from at least one rare earth metal, 0.1 ≤ x ≤ 0.7. 0 ≤ y ≤ 0.2, and δ is the degree of oxygen deficiency. Methods of 5 producing such electrochemical cells are also disclosed.

FUEL CELL SYSTEM

NºPublicación:  WO2025194193A1 25/09/2025
Solicitante: 
AVL LIST GMBH [AT]
AVL LIST GMBH

Resumen de: WO2025194193A1

The present invention relates to a fuel cell system (100) for generating electric current, having at least one fuel cell stack (110), the fuel cell stack (110) having an air side (120) and a fuel side (130) and the air side (120) having an air supply section (122) for supplying supply air (ZL) to the air side (120) and an exhaust air discharge section (124) for discharging exhaust air (AL) from the air side (120), and furthermore the fuel side (130) having a fuel supply section (132) for supplying fuel (BS) to the fuel side (130) and an exhaust gas discharge section (134) for discharging exhaust gas (AG) from the fuel side (130), a compressor device (140) being arranged in the air supply section (122) for compressing the supply air (ZL), a supply air/exhaust air heat exchanger (150) being arranged downstream of this compressor device (140) for transferring heat from the supply air (ZL) to the exhaust air (AL).

VALVE DEVICE FOR SELECTIVELY OPENING AND CLOSING LINES IN A FLOW BATTERY, AND FLOW BATTERY COMPRISING A VALVE DEVICE

NºPublicación:  WO2025196314A1 25/09/2025
Solicitante: 
CMBLU ENERGY AG [DE]
CMBLU ENERGY AG

Resumen de: WO2025196314A1

The invention relates to a valve device (1) for selectively opening and closing two lines (111) in a flow battery (100). The flow battery may be a redox flow battery, a semi-solid flow battery, or a solid flow battery. The flow battery comprises two valves (2), each of which is designed to selectively open and close an electrolyte-conducting line, and the valve device further comprises a drive (3), said drive being coupled, as a common drive, to both valves in order to control the valve position of both valves.

PREDICTIVE MAINTENANCE OF HYDROGEN-ENERGY SYSTEMS

NºPublicación:  WO2025196220A1 25/09/2025
Solicitante: 
UNIV DE TECHNOLOGIE DE BELFORT MONTBELIARD [FR]
CENTRE NATIONAL DE LA RECHERCHE SCIENT [FR]
UNIV MARIE ET LOUIS PASTEUR [FR]
ECOLE NAT SUPERIEURE DE MECANIQUE ET DES MICROTECHNIQUES [FR]
UNIVERSIT\u00C9 DE TECHNOLOGIE DE BELFORT-MONTB\u00C9LIARD,
CENTRE NATIONAL DE LA RECHERCHE SCIENTIFIQUE,
UNIVERSIT\u00C9 MARIE ET LOUIS PASTEUR,
ECOLE NATIONALE SUP\u00C9RIEURE DE M\u00C9CANIQUE ET DES MICROTECHNIQUES
EP_4621890_PA

Resumen de: WO2025196220A1

The disclosure notably relates to a computer-implemented method for predictive maintenance of a system. The system comprises a hydrogen energy component, a cooling circuit, at least one actuator of the cooling circuit and at least one sensor collecting operating data during an operating of the system. The method comprises, during the operating of the system, the following three steps. The method comprises a first step of obtaining the operating data collected by to the at least one sensor. The method comprises a second step of estimating that a current state of the system is the fault state. The method comprises a third step of predicting a future state of the system. Such a method forms an improved solution for predicting maintenance of the system comprising the hydrogen energy component.

EFFICIENT CATALYST FOR HYDROGEN GENERATION FROM AMMONIA

NºPublicación:  WO2025196629A1 25/09/2025
Solicitante: 
ECOLE POLYTECHNIQUE FED DE LAUSANNE EPFL [CH]
ECOLE POLYTECHNIQUE FEDERALE DE LAUSANNE (EPFL)

Resumen de: WO2025196629A1

This invention relates to a catalyst, in particular a catalyst for producing hydrogen from ammonia, catalyst comprising a ternary metal imide of formula (I): X2Y(NH)2, wherein X is a metal selected from a group consisting of alkali metals and alkaline earth metals, and Y is a metal selected from a group consisting of transition metals and lanthanides.

PROCESS FOR REMOVAL OF NH3 FROM A GAS STREAM

NºPublicación:  WO2025195922A1 25/09/2025
Solicitante: 
UMICORE AG & CO KG [DE]
UMICORE AG & CO. KG

Resumen de: WO2025195922A1

The present invention relates to a method of producing a fuel gas composition. The method comprises providing a feed gas composition comprising H2 and NH3, monitoring the concentration of NH3 in the feed gas composition; providing an oxidising gas comprising NO and at least one of: O2, NO2, and NO2 + O2; mixing the feed gas composition with the oxidising gas to provide a catalysis gas composition; providing a NOx reducing reactor having a catalysis gas inlet and a fuel outlet, and a selective reduction catalyst between the catalysis gas inlet and the fuel outlet; applying the catalysis gas composition to the catalysis gas inlet and passing the catalysis gas composition through the selective reduction catalyst; obtaining the fuel gas composition at the fuel outlet. The method can remove NH3 to improve an H2-based fuel.

BIPOLAR PLATE FOR METAL-AIR/LIQUID BATTERIES

NºPublicación:  WO2025198740A1 25/09/2025
Solicitante: 
RTX CORP [US]
RTX CORPORATION
US_2025293265_PA

Resumen de: WO2025198740A1

A bipolar plate for a battery includes a metal sheet that has a first side and a second, opposite side. The metal sheet is folded so as to form a series of loops on the second side. The loops are spaced apart to define flow field passages therebetween on the second side. Each of the loops is bonded along an edge at the first side so as to enclose an internal passage.

BIPOLAR PLATE ELEMENT HAVING A FLOW-DISRUPTION STRUCTURE

NºPublicación:  WO2025195804A1 25/09/2025
Solicitante: 
EKPO FUEL CELL TECH GMBH [DE]
EKPO FUEL CELL TECHNOLOGIES GMBH
DE_102024107605_PA

Resumen de: WO2025195804A1

The invention relates to a plate element, in particular a bipolar plate element, for an electrochemical system, which can be a fuel cell system, for example, the plate element comprising the following: an operating-fluid distribution structure on a first of the two main surfaces of the plate element, the operating-fluid distribution structure having at least one operating-fluid distribution channel; and a flow-disruption structure on the first main surface of the plate element between the operating-fluid distribution structure and an edge of the plate element.

METHOD FOR OPERATING A MULTI-STACK SYSTEM, AND CONTROL DEVICE

NºPublicación:  WO2025195643A1 25/09/2025
Solicitante: 
ROBERT BOSCH GMBH [DE]
ROBERT BOSCH GMBH
DE_102024202705_PA

Resumen de: WO2025195643A1

The invention relates to a method for operating a multi-stack system (9) comprising a plurality of stacks (4.1, 4.2) and a cooling system (1) for dissipating the waste heat of the stacks (4.1, 4.2), wherein, in the event of a start, in particular in the event of a cold start and/or a frozen start, an electrical power (P) that is required at a defined time (ttarget) and that exceeds the maximum electrical power (Pmax) of an individual stack (4.1, 4.2) is provided by a plurality of stacks (4.1, 4.2) by virtue of the stacks (4.1, 4.2) being thermally coupled via the cooling system (1) and the waste heat of an already heated first stack (4.1) being used to heat at least one further stack (4.2), and wherein the following steps are carried out in order to ensure an electrical power (PStack2) of the at least one further stack (4.2) at the time (ttarget): a) determining a minimum temperature (Tmin) required by the at least one further stack (4.2) in order to provide an electrical power (PStack2), b) determining a heating rate (dPStack2/dt) required by the at least one further stack (4.2) in order to reach the minimum temperature (Tmin) at the time (ttarget), and c) adapting at least one operating parameter of the cooling system (1) in order to ensure the required heating rate. The invention also relates to a control device for a multi-stack system (9) for carrying out steps of a method according to the invention.

A STACK ASSEMBLY WITH A LOAD APPLYING MECHANISM

NºPublicación:  WO2025195650A1 25/09/2025
Solicitante: 
SOLYDERA SA [CH]
SOLYDERA SA
EP_4621892_PA

Resumen de: WO2025195650A1

The present invention refers to a stack assembly (27) for a solid oxide fuel cell (SOFC) or solid oxide electrolyser (SOE)device. The assembly (27) comprises: - a housing, - at least one stack arrangement (1) mounted within said housing, the at least one stack arrangement (1) comprising: - a base plate (3), - a top plate (2), - a stack (S) mounted between said base plate (3) and said top plate (2), - at least one sealing element disposed in the at least one stack arrangement (1) to provide a fluid-tight stack assembly (27), - a load applying mechanism with a first tightening unit (5) adapted to apply a tightening load to the at least one stack arrangement (1) in stacking direction. The load applying mechanism comprises a second tightening unit (4) adapted to apply a tightening load to said manifold section of the stack (S). The first tightening unit (5) and the second tightening unit (4) are independent of each other.

SOLENOID VALVE

NºPublicación:  WO2025194185A1 25/09/2025
Solicitante: 
MSG MECHATRONIC SYSTEMS GMBH [AT]
MSG MECHATRONIC SYSTEMS GMBH
AT_18496_U1

Resumen de: WO2025194185A1

The invention relates to a solenoid valve (1), in particular for electrically continuously adjustable shock absorbers of a vehicle, having a valve body (2) which separates a working chamber (3) from a compensating chamber (4) and has an aperture (6) which can be closed by a slide (5) and connects the working chamber (3) to the compensating chamber (4), having an energisable coil (8) that is arranged on a coil former (7), a pole tube (9) which is arranged at least in regions within the coil former (7), and a magnet armature (11) which is mounted movably in the pole tube (9) with respect to a longitudinal axis (10) of the coil (8), wherein the magnet armature (11) acts on the slide (5), with the result that the aperture (6) of the valve body (2) can be reversibly closed by means of a movement of the magnet armature (11). In order to be able to achieve a desired characteristic particularly precisely and at the same time to ensure easy production, according to the invention a pin is provided which is mounted movably in the valve body (2), which pin is acted on by the magnet armature (11), on the one hand, and by a working pressure of the working chamber (3), on the other hand, even in the closed state of the valve.

Stapelaufbau aus einer Vielzahl von Einzelzellen

NºPublicación:  DE102024202607A1 25/09/2025
Solicitante: 
BOSCH GMBH ROBERT [DE]
Robert Bosch Gesellschaft mit beschr\u00E4nkter Haftung

Resumen de: DE102024202607A1

Die Erfindung bezieht sich auf einen Stapelaufbau (10) aus einer Vielzahl übereinanderliegend angeordneter Einzelzellen (16), mit einer oberen Endplatte (12) und einer unteren Endplatte (14). Die Einzelzellen (16) sind über Medienkanäle (64) innerhalb des Stapelaufbaus (10) ausgehend von Medienanschlüssen (28) mit Medien wie H2und Luft beaufschlagt. Der Stapelaufbau (10) stützt sich über mindestens eine Spannfeder (18) auf einer Querbrücke (34) ab, die ihrerseits über mehrere, mindestens ein Torsionselement (42) enthaltende Halteelemente (54) an der unteren Endplatte (14) des Stapelaufbaus (10) fixiert sind. Darüber hinaus bezieht sich die Erfindung auf die Verwendung des Stapelaufbaus (10) in Brennstoffzellen für Fahrzeugantriebe elektrisch angetriebener Fahrzeuge oder in stationär angeordneten Elektrolyseuren.

Verfahren zur Herstellung einer elektrisch leitfähigen Kontaktschicht auf einem oxidationsbelasteten Bauteil sowie Bauteil einer elektrochemischen Zelle

NºPublicación:  DE102024202847A1 25/09/2025
Solicitante: 
SIEMENS ENERGY GLOBAL GMBH & CO KG [DE]
Siemens Energy Global GmbH & Co. KG

Resumen de: DE102024202847A1

Es wird ein Verfahren zur Herstellung einer elektrisch leitfähigen Kontaktschicht auf einem oxidationsbelasteten Bauteil vorgeschlagen, bei dem ein Bauteils umfassend eine Legierung (27) auf Titanbasis, die als Legierungselement zumindest ein Edelmetall in einer Titanmatrix (33) aufweist, bereitgestellt wird. Es wird ein Ätzmittel auf einer Oberfläche (35) des Bauteils angewendet, wobei Material der Titanmatrix (33) selektiv abgetragen wird. Dabei wird von Material des Legierungselements derart freigelegt, dass oberflächennah eine elektrisch leitfähige Kontaktschicht (29) ausgebildet wird, die das Edelmetall aufweist. Die Kontaktschicht (29) kann wahlweise als eine poröse Schicht ausgebildet sein mit einer über den Ätzprozess einstellbaren Porosität.Das Verfahren ist anwendbar zur Herstellung einer Kontaktschicht auf oxidationsbelasteten Bauteilen einer elektrochemischen Zelle, wie etwa Bauteile einer Elektrolysezelle (1) oder einer Brennstoffzelle, insbesondere eine Bipolarplatte (21a, 21b) oder eine Gasdiffusionslage (11a, 11b) mit einer Legierung (27) auf Titanbasis.

VALVE DEVICE FOR SELECTIVELY OPENING AND CLOSING LINES IN A FLOW BATTERY, AND FLOW BATTERY HAVING A VALVE DEVICE

NºPublicación:  WO2025195611A1 25/09/2025
Solicitante: 
CMBLU ENERGY AG [DE]
CMBLU ENERGY AG

Resumen de: WO2025195611A1

The invention relates to a valve device (1) for selectively opening and closing two lines (111) in a flow battery (100). The flow battery may be a redox flow battery, a semi-solid flow battery, or a solid flow battery, and the flow battery comprises two valves (2), each of which is designed to selectively open and close an electrolyte-conducting line. The valve device further comprises a drive (3), said drive being coupled, as a common drive, to both valves in order to control the valve position of both valves.

BATERIAS DE FLUJO REDOX CON DISTRIBUIDORES DE ELECTROLITOS CON CANALES INTEGRADOS Y METODO DE FABRICACION DE LA MISMA

NºPublicación:  ES3036837A1 24/09/2025
Solicitante: 
CONSEJO SUPERIOR DE INVESTIG CIENTIFICAS CSIC [ES]
FUNDACION AGENCIA ARAGONESA PARA LA INVESTIG Y EL DESARROLLO ARAID [ES]
Consejo Superior de Investigaciones Cient\u00EDficas (CSIC),
Fundaci\u00F3n Agencia Aragonesa para la Investigaci\u00F3n y el Desarrollo (ARAID)

Resumen de: WO2025196356A1

The present invention discloses a battery formed by at least one cell or cell stack incorporating flow distributors (1) that house the electrodes (3), polymer membranes (5), bipolar plates (4) and current collector plates (7) that are embedded in a resin block (10) that ensures sealing tightness. The present invention further discloses a method for manufacturing said battery.

A STACK ASSEMBLY WITH A LOAD APPLYING MECHANISM

NºPublicación:  EP4621892A1 24/09/2025
Solicitante: 
SOLYDERA SA [CH]
SolydEra SA
EP_4621892_PA

Resumen de: EP4621892A1

The present invention refers to a stack assembly (27) for a solid oxide fuel cell (SOFC) or solid oxide electrolyser (SOE)device. The assembly (27) comprises:- a housing,- at least one stack arrangement (1) mounted within said housing,the at least one stack arrangement (1) comprising:- a base plate (3),- a top plate (2),- a stack (S) mounted between said base plate (3) and said top plate (2),- at least one sealing element disposed in the at least one stack arrangement (1) to provide a fluid-tight stack assembly (27),- a load applying mechanism with a first tightening unit (5) adapted to apply a tightening load to the at least one stack arrangement (1) in stacking direction.The load applying mechanism comprises a second tightening unit (4) adapted to apply a tightening load to said manifold section of the stack (S). The first tightening unit (5) and the second tightening unit (4) are independent of each other.

RECYCLING OF CATALYST COATED MEMBRANE COMPONENTS

NºPublicación:  EP4619460A1 24/09/2025
Solicitante: 
JOHNSON MATTHEY PLC [GB]
Johnson Matthey Public Limited Company
KR_20250096695_PA

Resumen de: CN119948093A

A method of recovering a fluorinated polymer from a membrane comprising the fluorinated polymer, the fluorinated polymer comprising a fluorinated polymer backbone and a plurality of groups represented by the formula-SO3Z wherein Z is hydrogen, the method comprising: contacting the membrane with an agent providing a source of cations to form a fluorinated polymer salt wherein Z is a cation, wherein the agent is maintained at a temperature sufficiently low such that the membrane remains in a solid, undispersed form; removing excess unreacted reagent from the solid fluorinated polymer salt; and after removing the excess reagent, dispersing the solid fluorinated polymer salt in a solvent.

CELL FRAME FOR PRESSURIZED ELECTROLYSER CELL STACK AND ELECTROLYSER CELL STACK COMPRISING A NUMBER OF SUCH CELL FRAMES

NºPublicación:  EP4619569A2 24/09/2025
Solicitante: 
GREEN HYDROGEN SYSTEMS AS [DK]
Green Hydrogen Systems A/S
AU_2023381476_PA

Resumen de: AU2023381476A1

A cell frame adapted for use in a pressurised electrolyser cell stack is provided. From an inner circumferential rim of the cell frame, a circumferential radial shelf with inwardly tapering thickness is provided, such that an annular space between a circumferential radial shelf and a neighbouring circumferential radial shelf is provided when cell frames are stacked in alignment with each other, and that outwardly of the circumferential radial shelf, a mobility link is provided which connects the radial shelf to the remaining cell frame.

SOLID ELECTROCHEMICAL CELL STACK

NºPublicación:  EP4620046A1 24/09/2025
Solicitante: 
TNO [NL]
Nederlandse Organisatie voor Toegepast-Natuurwetenschappelijk Onderzoek TNO
KR_20250115387_PA

Resumen de: CN120226171A

The present disclosure relates to an electrochemical cell stack comprising solid state electrochemical cells (20), an electrically conductive separator (30); and a sealing element (40). The separator comprises: a central portion (31) having an oppositely recessed support surface (32) supporting the solid oxide cell, and a contact surface (34) opposite the recessed support surface contacting an adjacent solid state electrochemical cell; and a boundary portion (36) providing a relatively elevated top (37) and upstanding side walls (38). A sealing element (40) extends between an elevated top surface of the boundary portion and an opposing support surface (39) of an adjacent bulkhead. The spacing distance between the concave support surface and the contact surface of the adjacent separator, defined by the combined height of the sealing element and the upstanding side wall, is matched to the thickness of the solid state electrochemical cell.

A HYDROGEN REMOVAL ARRANGEMENT FOR A FUEL CELL SYSTEM

NºPublicación:  EP4620047A1 24/09/2025
Solicitante: 
VOLVO TRUCK CORP [SE]
VOLVO TRUCK CORPORATION
WO_2024104596_PA

Resumen de: WO2024104596A1

The disclosure relates to a hydrogen removal arrangement (1) for a hydrogen powered system (100), wherein the hydrogen powered system (100) comprises a hydrogen powered system compartment (110) comprising one or more hydrogen consumers (112) and a hydrogen tank compartment (120) for storing one or more hydrogen tanks (122, 124), the hydrogen removal arrangement (1) comprising: - a duct member (10), - a first motorized fan (20) associated with the duct member (10) for extracting ventilation air (A) through the duct member (10), - a hydrogen oxidation catalyst (30) provided in the duct member (10) for oxidizing hydrogen, - a first temperature sensor (40) for measuring a first temperature of the hydrogen oxidation catalyst (30) during use, and - a control unit (50) for controlling a speed of the first motorized fan (20). The disclosure also relates to a method, a hydrogen powered system (100) and a vehicle (200).

FUEL CELL REFORMER AND FUEL CELL SYSTEM INCLUDING SAME

NºPublicación:  EP4620906A1 24/09/2025
Solicitante: 
MICO POWER LTD [KR]
MICO POWER LTD
EP_4620906_A1

Resumen de: EP4620906A1

The present invention provides a fuel cell reformer and a fuel cell system including the fuel cell reformer that includes a housing including a flow path for guiding a flow of fuel in the housing, an inlet formed on a lower surface to communicate with the flow path and receiving the fuel from an outside, and an outlet formed on an upper surface to discharge hydrogen, which is generated by fuel reformation performed by a catalyst and flows along the flow path, to the outside; a catalyst accommodated in the flow path of the housing to reform the fuel flowing along the flow path to generate the hydrogen; and anti-separation plates respectively provided at the inlet and the outlet of the housing to prevent the catalyst accommodated in the flow path from being separated through the inlet and the outlet, wherein multiple slots are formed within a dimension that allows normal shape implementation, a partition wall member is provided in the middle of each of the multiple slots, and the multiple slots have a physical equal space distribution structure.

FUEL CELL SEPARATOR AND METHOD FOR PRODUCING FUEL CELL SEPARATOR

NºPublicación:  EP4621889A1 24/09/2025
Solicitante: 
PLASMA ION ASSIST CO LTD [JP]
Plasma Ion Assist Co., Ltd
EP_4621889_PA

Resumen de: EP4621889A1

A fuel cell separator including a passivation metal layer and a conductive carbon film stacked on a surface of an aluminum metal base material, in which the fuel cell separator includes an alloy layer including an aluminum metal of the aluminum metal base material and a passivation metal of the passivation metal layer at a bonding interface between the aluminum metal base material and the passivation metal layer.

ELECTROCHEMICAL CELL, ELECTROCHEMICAL CELL DEVICE, MODULE, AND MODULE-ACCOMMODATING DEVICE

NºPublicación:  EP4621891A1 24/09/2025
Solicitante: 
KYOCERA CORP [JP]
Kyocera Corporation
EP_4621891_A1

Resumen de: EP4621891A1

An electrochemical cell includes a metal plate and an element portion. The metal plate includes a first surface, and a second surface positioned opposite to the first surface. The element portion is positioned on the first surface, and includes a first electrode layer, a solid electrolyte layer, and a second electrode layer. The metal plate includes:a first portion that allows gas to flow between the first surface and the second surface; anda second portion positioned around the first portion. The solid electrolyte layer is positioned to overlap the first portion in plan view.

COMPOSITE ION EXCHANGE MEMBRANES AND METHODS OF MAKING THE SAME

NºPublicación:  EP4619570A2 24/09/2025
Solicitante: 
OHMIUM INTERNATIONAL INC [US]
Ohmium International, Inc
US_2025084226_PA

Resumen de: US2025084226A1

The present disclosure provides composite ion exchange membranes and methods of making the same. The composite ion exchange membranes of the present disclosure include a first layer comprising a first ion-conducting membrane; a second layer comprising a gas-blocking membrane; and a third layer comprising a second ion-conducting membrane.

GASKET AND GASKET DEVICE

NºPublicación:  EP4621105A1 24/09/2025
Solicitante: 
NOK CORP [JP]
NOK Corporation
EP_4621105_PA

Resumen de: EP4621105A1

A gasket device (30) includes: a first gasket (40) made of an elastic body; and a separator (32) having a pair of surfaces (32a, 32b) facing away from each other. The first gasket (40) is in an annular shape and attached to the surface (32a) of the separator (32) in such a manner as to surround an opening (40a). Moreover, the first gasket (40) includes an annularly extending lip (45) projecting in a direction that the surface (32a) of the separator (32) faces. The lip (45) has different heights on a side of the opening (40a) and an opposite side to the side of the opening (40a).

GASKET MOLDING METHOD, SEALING METHOD, GASKET, COMPOSITE BODY AND FUEL CELL

NºPublicación:  EP4620649A1 24/09/2025
Solicitante: 
THREE BOND CO LTD [JP]
ThreeBond Co., Ltd
EP_4620649_A1

Resumen de: EP4620649A1

The present invention is a gasket molding method for molding a gasket on a workpiece, the gasket molding method including, in the stated order: an application step of applying an active energy ray curable liquid having a structural viscosity ratio of 1.5 or more and 4.0 or less into a cavity of a molding die; a bonding step of bonding the molding die coated with the active energy ray curable liquid and the workpiece to each other; a curing step of curing the applied active energy ray curable liquid by irradiation with an active energy ray; and a mold release step of pulling off the cured active energy ray curable liquid from the molding die together with the workpiece, in which the application step includes an overlapping region of application trajectories. Accordingly, there is provided a gasket molding method by which mixing of air bubbles in an overlapping region of application trajectories is suppressed.

CONTINUOUS REACTORS OF FORMATE-BICARBONATE CYCLE FOR HYDROGEN STORAGE AND RELEASE

NºPublicación:  EP4619340A1 24/09/2025
Solicitante: 
HYDRO X LTD [IL]
Hydro X Ltd
CN_120548298_PA

Resumen de: AU2023380310A1

A continuous process for releasing hydrogen using the dehydrogenation reaction of the formate - bicarbonate cycle, comprising continuously feeding an aqueous solution of formate and a heterogeneous catalyst to a dehydrogenation reactor to form bicarbonate and hydrogen, directing the hydrogen for use as a fuel hydrogen, removing a flowable effluent continuously from the dehydrogenation reactor at a rate equal to the feeding rate, and directing the effluent into a product tank, discharging a material from the product tank and separating the catalyst from the material, washing and refreshing the catalyst and returning the refreshed catalyst to the dehydrogenation reactor, wherein bicarbonate is collected in a solid form from the product tank.

PREDICTIVE MAINTENANCE OF HYDROGEN-ENERGY SYSTEMS

NºPublicación:  EP4621890A1 24/09/2025
Solicitante: 
UNIV DE TECHNOLOGIE DE BELFORT MONTBELIARD [FR]
CENTRE NAT RECH SCIENT [FR]
UNIV FRANCHE COMTE [FR]
ECOLE NAT SUPERIEURE DE MECANIQUE ET DES MICROTECHNIQUES [FR]
Universit\u00E9 de Technologie de Belfort-Montb\u00E9liard,
Centre National de la Recherche Scientifique,
Universit\u00E9 de Franche-Comt\u00E9,
\u00C9cole Nationale Sup\u00E9rieure de M\u00E9canique et des Microtechniques
EP_4621890_PA

Resumen de: EP4621890A1

The disclosure notably relates to a computer-implemented method for predictive maintenance of a system. The system comprises a hydrogen energy component, a cooling circuit, at least one actuator of the cooling circuit and at least one sensor collecting operating data during an operating of the system. The method comprises, during the operating of the system, the following three steps. The method comprises a first step of obtaining the operating data collected by to the at least one sensor. The method comprises a second step of estimating that a current state of the system is the fault state. The method comprises a third step of predicting a future state of the system. Such a method forms an improved solution for predicting maintenance of the system comprising the hydrogen energy component.

REVERSE ELECTRODIALYSIS OR PRESSURE-RETARDED OSMOSIS CELL AND METHODS OF USE THEREOF

NºPublicación:  EP4619641A1 24/09/2025
Solicitante: 
NANA RAHUL S [US]
FERIA RAFAEL A [US]
Nana, Rahul S,
Feria, Rafael A
CN_120513347_PA

Resumen de: MX2025005543A

A method and system of generating electrical power or hydrogen from thermal energy is disclosed. The method includes separating, by a selectively permeable membrane, a first saline solution from a second saline solution, receiving, by the first saline solution and/ or the second saline solution, thermal energy from a heat source, and mixing the first saline solution and the second saline solution in a controlled manner, capturing at least some salinity-gradient energy as electrical power as the salinity difference between the first saline solution and the second saline solution decreases. The method further includes transferring, by a heat pump, thermal energy from the first saline solution to the second saline solution, causing the salinity difference between the first saline solution and the second saline solution to increase. The method may include a process of membrane distillation, electrodialysis, and/or salt decomposition for further energy efficiency and power generation.

GAS DIFFUSION ELECTRODE, MEMBRANE-ELECTRODE ASSEMBLY AND ELECTROLYTIC DEVICE

NºPublicación:  EP4619568A2 24/09/2025
Solicitante: 
MELICON GMBH [DE]
Melicon GmbH
DE_102022130553_PA

Resumen de: WO2024105239A2

The invention relates to a gas diffusion electrode (4, 5) for a membrane-electrode assembly (1) for use in a fuel cell or in an electrolytic device, comprising a composite of a plurality of layered expanded metal layers (6, 7, 8), wherein: an outer expanded metal layer (6) located at one end of the composite rests, via its surface remote from the composite, against the membrane (2) of the membrane-electrode assembly (1); the surface of this outer expanded metal layer (6) that is remote from the composite is provided with an electrically conductive coating; the coating is made of iridium and/or an iridium-containing compound; exclusively the surface of this outer expanded metal layer (6) that is remote from the composite is coated with iridium and/or an iridium-containing compound; and a surface, which is remote from the composite, of a second outer expanded metal layer (8) located at the other end of the composite is coated with platinum and/or a platinum-containing compound.

空气供给系统及具有其的燃料电池发动机

NºPublicación:  CN223378190U 23/09/2025
Solicitante: 
潍柴巴拉德氢能科技有限公司

Resumen de: CN223378190U

本实用新型提供了一种空气供给系统及具有其的燃料电池发动机。空气供给系统包括:增压器,具有压端入口和压端出口;中冷器,与压端出口连通;增湿器,位于中冷器和电堆结构之间,以用于对进入电堆结构的空气进口内的气体进行加湿;第一管路,第一管路的两端与中冷器的出气口和空气进口连通,增湿器设置在第一管路上;第一旁通阀,设置在第一管路上且与增湿器并联;旁通管路,旁通管路的两端分别与中冷器的出气口和电堆结构的空气出口连通;其中,旁通管路与增湿器并联设置。本实用新型解决了现有技术中的空气供给系统在小流量点下易发生喘振的问题。

引射器及具有其的氢气系统

NºPublicación:  CN223378188U 23/09/2025
Solicitante: 
潍柴巴拉德氢能科技有限公司

Resumen de: CN223378188U

本实用新型提供了一种引射器及具有其的氢气系统。引射器包括:引射组件,包括壳体和压力调整装置,壳体具有第一、第二进气口、第一、第二腔体、连通口以及排气口,第一进气口用于通入一次流氢气,第二进气口用于通入二次流氢气;第一腔体通过连通口与第二腔体连通;压力调整装置的至少部分可活动地设置在连通口处,以遮挡或者避让连通口,进而调整连通口处的气体流量或者流速;泄压阀,设置在排气口处,排气口与电堆结构的氢气入口连通;在排气口处的气压大于或等于预设气压值时,泄压阀开启。本实用新型解决了现有技术中引射器的引射范围不能够覆盖电堆结构需要的所有工况的问题。

用于燃料电池的介质排放装置以及燃料电池

NºPublicación:  CN223378185U 23/09/2025
Solicitante: 
未势能源科技有限公司
CN_223378185_U

Resumen de: CN223378185U

本实用新型公开了一种用于燃料电池的介质排放装置以及燃料电池,本实用新型涉及介质排放技术领域,介质排放装置包括:装置主体,装置主体内形成有介质排放流道,装置主体具有介质出口和多个介质入口,介质排放流道连通介质出口和每个介质入口,至少一个介质入口用于与燃料电池的排液结构直接连接,至少一个介质入口用于与燃料电池的排氮结构直接连接,至少一个介质入口用于与燃料电池的泄压结构直接连接。通过将排液结构、排氮结构、泄压结构均与介质排放流道连通,能够将排液结构、排氮结构、泄压结构集成于介质排放装置,从而能够减小介质排放装置的空间占用,提升燃料电池的紧凑性和集成度,进而提升燃料电池的整体性能。

一种燃料电池单片电压采集装置

NºPublicación:  CN223378194U 23/09/2025
Solicitante: 
北京氢璞创能科技有限公司
CN_223378194_U

Resumen de: CN223378194U

本实用新型公开了一种燃料电池单片电压采集装置,涉及燃料电池技术领域,包括双极板和探针板,还包括探针,其一端安装在所述探针板上,开设在所述双极板的冷却面一侧的探针槽;所述探针延伸至探针槽内的一端设置有弯曲部,且弯曲部的一端呈夹角形式设置有尖端,本设计的一种燃料电池单片电压采集装置,采取不锈钢探针设计,利用其自身的弹性将其弯曲部深入到探针槽内与其配合,可以实现简洁高效的支撑结构,同时解决了探针虚接、振动中易脱落等问题,且安装方便;同时可以满足实际工况中各个方向的振动需求,既能满足探针可以与极板进行良好的接触,又能满足车辆各个方向的振动需求,同时,可以解决因装堆导致的累积公差的影响。

一种空冷电堆系统的封装结构

NºPublicación:  CN223378184U 23/09/2025
Solicitante: 
江苏兴邦能源科技有限公司
CN_223378184_U

Resumen de: CN223378184U

本实用新型公开了一种空冷电堆系统的封装结构,涉及空冷燃料电池技术领域。本实用新型包括封装罩壳和设置在封装罩壳上的两个调整机构和配置机构。本实用新型通过设置调整机构,在冷启动时,可通过启动辅助加热组件,从而加速空冷电堆系统能快速达到所需温度,减少损耗,紧接着,还可以通过启动液压缸一,液压缸一将配合U型块、连接杆一,从而使得多个转块能够转动,带动其上的页扇调整开合角度,避免大量冷空气进入系统,影响冷启动,当高功率运行时,可通过调整页扇较大的开合角度,并同时启动电机,电机将带动转轴和扇叶转动,同时,扇叶在转动时,可将封装罩壳外的风吸入到封装罩壳内对空冷电堆系统进行冷却,来提高散热效率。

一种用于燃料电池的水分离器

NºPublicación:  CN223366473U 23/09/2025
Solicitante: 
曼胡默尔滤清器(上海)有限公司
CN_223366473_U

Resumen de: CN223366473U

本申请提供了一种用于燃料电池的水分离器,包括分离主体、底板和盖板。所述分离主体包括分离单元、进气空腔以及分离主体侧面设置混合气体进口。所述进气空腔中设置有挡板。所述底板包括积液腔和侧面设置的排液口。所述盖板上侧设置有混合气体出口。所述分离主体、底板、盖板分别为一体成型的结构。所述水分离器用于对燃料电池运行时产生的混合气体中的水汽进行处理。通过挡板的设置,一方面降低了水分离器的流阻,另一方面使进入各个分离单元的气体流量分配更加均匀,增大了气体接触面积,提升了分离效率。

셀 스택의 조립 장치 및 방법

NºPublicación:  KR20250139353A 23/09/2025
Solicitante: 
섀플러테크놀로지스아게운트코카게
KR_20250139353_PA

Resumen de: WO2024193749A1

A device for assembling a cell stack (7), in particular fuel cell stack, comprises a handling device (2) including a gripper (6) and a positioning and pressure system (10), which is designed for compressing a partially finished cell stack (7). The positioning and pressure system (10) comprises a lifting device (11) which is provided for receiving the cell stack (7) at any manufacturing stage, and a lateral fixing device (12) which is located above the lifting device (11) and is constructed from a plurality of assemblies (13, 14), wherein said assemblies (13, 14) are provided for bearing against the cell stack (7) in the vertical and horizontal direction and are adjustable and fixable in the two directions mentioned.

一种用于燃料电池的连接结构及燃料电池

NºPublicación:  CN223378197U 23/09/2025
Solicitante: 
北京长征天民高科技有限公司
CN_223378197_U

Resumen de: CN223378197U

本实用新型提供了一种用于燃料电池的单膜巡检连接结构及燃料电池,属于燃料电池技术领域,包括插接针以及插接针固定件,插接针部分结构通过插拔方式与电堆本体连接;插接针固定件上设有可拆卸连接部,可拆卸连接部具有第一使用状态以及第二使用状态,第一状态下插接针与可拆卸连接部接触,插接针5与插接针固定件连接固定,第二使用状态下可拆卸连接部与插接针由接触变为分离。本实用新型提供的一种用于燃料电池的单膜巡检连接结构及燃料电池,本实用新型提供的一种用于燃料电池的单膜巡检连接结构及燃料电池的有益效果在于:与现有技术相比,本实用新型一种用于燃料电池的单膜巡检连接结构及燃料电池,该连接结构的安装过程简单,不需要使用到胶水,能极大地节省时间。

一种液流电池及单电池

NºPublicación:  CN223378195U 23/09/2025
Solicitante: 
寰泰储能科技股份有限公司
CN_223378195_U

Resumen de: CN223378195U

本实用新型涉及一种液流电池及单电池。该单电池包括两个半电池,每个半电池包括沿厚度方向依次叠放的端板、双极板和电极;至少一个半电池还包括第一螺杆,设置在端板上,第一螺杆的尾端贯穿端板中央并与双极板接触,当第一螺杆转动时推抵双极板沿厚度方向压缩电极。本实用新型提出了一种液流电池及单电池,具备更宽的电极压缩比调控范围,提升测试精度和效率。

碳载体、金属负载的催化剂、电极和电池

NºPublicación:  CN120693208A 23/09/2025
Solicitante: 
日清纺控股株式会社
CN_120693208_PA

Resumen de: JP2024115732A

To provide a carbon carrier simultaneously realizing durability and catalytic activity of a metal carrier catalyst, a metal carrier catalyst, an electrode, and an electric cell.SOLUTION: A carbon carrier is for carrying a catalyst metal particle. The carbon carrier has a BET specific surface area of 300 m2/g or more, real density is 2.1 g/cm3 or more, and has a carbon structure showing, in a Raman spectrum obtained by Raman spectroscopy, one or more characteristics selected from a group of characteristics (i) to (iii): (i) a half width at half maximum of G-band having a peak top in a vicinity of Raman shift 1580 cm-1 is 37 cm-1 or less; (ii) a half width at half maximum of D-band having a peak top in a vicinity of Raman shift 1340 cm-1 is 38 cm-1 or less; and (iii) a half width at half maximum of 2D-band having a peak top in a vicinity of Raman shift 2700 cm-1 is 57 cm-1 or less.SELECTED DRAWING: None

燃料电池系统和用于干燥燃料电池系统的干燥方法

NºPublicación:  CN120693708A 23/09/2025
Solicitante: 
罗伯特·博世有限公司
CN_120693708_PA

Resumen de: WO2024170383A1

The invention relates to a drying method (100, 200) for drying a fuel cell system (300), the drying method (100, 200) comprising: - setting the temperature of a temperature-control medium for temperature-controlling the fuel cell system (300) to a dryness value that is higher than in a non-drying operation.

一种多孔碳材料改性石墨毡的制备方法及应用

NºPublicación:  CN120690871A 23/09/2025
Solicitante: 
杭州德海艾科能源科技有限公司
CN_120690871_PA

Resumen de: CN120690871A

本发明涉及钒液流电池领域,尤其涉及一种多孔碳材料改性石墨毡的制备方法及应用。包括将高分子树脂、造孔剂、溶剂、催化剂混合制备催化剂树脂浆料;将表面活性剂、无机盐、去离子水混合制备凝固浴;将石墨毡浸渍催化剂树脂浆料后进行非溶剂诱导相分离,制备非对称石墨毡前驱体;将非对称石墨毡前驱体进行石墨化处理,制备多孔石墨包覆的石墨毡;最后,将多孔石墨包覆的石墨毡进行氧化处理、活化处理,制备多孔碳材料改性石墨毡。本发明通过,非溶剂诱导相分离的方法,将催化剂包覆固定在石墨毡纤维表面和纤维之间的多孔结构中,石墨化后得到含催化剂多孔石墨负载的改性石墨毡,显著提升了电池电压效率、能量效率。

催化剂组合物和固体高分子型燃料电池的催化剂层

NºPublicación:  CN120693706A 23/09/2025
Solicitante: 
日产化学株式会社
CN_120693706_PA

Resumen de: WO2024181304A1

A catalyst composition according to the present invention comprises a hydrocarbon-based ionomer, a catalyst, and a catalyst carrier, wherein the hydrocarbon-based ionomer includes a polymer compound having a structure represented by general formula (I), and the mass ratio of the hydrocarbon-based ionomer to carbon in the catalyst carrier is 0.10-1.20. (In general formula (I), n is 1-2, o is 1-3, p is 0-3, o+p≤4, ring A is a benzene ring or a naphthalene ring, and B and C are each independently a group in which at least one group that is selected from the group consisting of alkyl groups, alkyl groups having an ether bond, cycloalkyl groups, and aromatic groups bonds to the ring A via a single heteroatom, or a heterocyclic ring which has a heteroatom that bonds to the ring A.)

用于基于模型运行冷却剂系统的方法、控制单元和燃料电池系统

NºPublicación:  CN120693583A 23/09/2025
Solicitante: 
罗伯特·博世有限公司
CN_120693583_PA

Resumen de: WO2024170395A1

The invention relates to a method for the model-based operation, in particular control, of a control section (Σp(·)), preferably in the form of a sub-system of a coolant system (100), preferably for the operation of an electrochemical energy converter, comprising the following steps: determining a control variable (y(k)) and time derivatives (Formula (I), (I), Formula (II), (II),..., y(n)) of the control variable (y(k)) up to a system order (n) of an augmented section model (Σm,aug(·)) of the control section (Σp(·)); determining an actual control variable (u act(k)) of an actuator (Σa(·)) of the control section (Σp(·)); providing a requested compensation term and/or correction term (dreq(k)) according to the determination.

聚苯胺复合钨基材料及其制备方法和应用

NºPublicación:  CN120690872A 23/09/2025
Solicitante: 
中国科学院海洋研究所
CN_120690872_PA

Resumen de: CN120690872A

本发明涉及微生物燃料电池领域,具体涉及一种聚苯胺复合钨基材料及制备方法和应用。制备方法,将经钨基材料修饰的碳纸电极置入苯胺溶液,并滴加过硫酸铵溶,持续搅拌使聚苯胺原位均匀生长,反应后干燥即获得聚苯胺复合钨基半导体改性碳纸。本发明利用聚苯胺纳米结构增加了电极的比表面积,有利于微生物与电极之间的电荷转移和电池的储能。因此聚苯胺复合钨基半导体改性的碳纸复合电极作为阳极所组装的器件具有优异的功率输出,为微生物燃料电池阳极提供了一种有前途的选择。

一种燃料电池的控制方法、装置、车辆和存储介质

NºPublicación:  CN120690885A 23/09/2025
Solicitante: 
长城汽车股份有限公司
CN_120690885_PA

Resumen de: CN120690885A

本申请提供了一种燃料电池的控制方法、装置、车辆和存储介质,该方法应用于燃料电池控制技术领域,该方法包括:在车辆的燃料电池进行行车活化的过程中,若满足预设停止活化条件,则向燃料电池控制器发送停止活化请求,以控制燃料电池在预设时长内停止进行行车活化,并且在当前驾驶循环内记录停止活化请求的累计发送次数,然后基于累计发送次数,判断当前是否满足禁止燃料电池进行行车活化的第一预设条件,在满足第一预设条件的情况下,再向燃料电池控制器发送禁止活化指令,以禁止燃料电池进行行车活化。该方法能够避免燃料电池行车活化被频繁打断造成的燃料电池损坏,能够有效地保证燃料电池的安全性。

一种燃料电池系统的湿度控制方法、燃料电池系统和用电设备

NºPublicación:  CN120690890A 23/09/2025
Solicitante: 
海亿新能(临海)科技有限公司武汉海亿新能源科技有限公司
CN_120690890_PA

Resumen de: CN120690890A

本发明涉及燃料电池系统技术领域,具体提供了一种燃料电池系统的湿度控制方法、燃料电池系统和用电设备。该方法包括:获取燃料电池系统的实际输出电流以及多元关系模型;根据实际输出电流以及多元关系模型,确定与实际输出电流对应的各组氢气理论入堆相对湿度和空气理论入堆相对湿度;确定燃料电池系统分别在各组氢气理论入堆相对湿度和空气理论入堆相对湿度下的参考输出功率;选取最大的参考输出功率所对应的一组氢气理论入堆相对湿度和空气理论入堆相对湿度,作为氢气入堆目标相对湿度和空气入堆目标相对湿度;利用氢气入堆目标相对湿度和空气入堆目标相对湿度,对燃料电池系统进行湿度控制,能够更加有效地对空气路和氢气路进行湿度控制。

一种双季铵化QPVBC/QBPEI阴离子交换膜及其制备方法和应用

NºPublicación:  CN120682514A 23/09/2025
Solicitante: 
湖北工程学院
CN_120682514_PA

Resumen de: CN120682514A

本发明涉及高分子材料技术领域,公开了一种双季铵化QPVBC/QBPEI阴离子交换膜及其制备方法和应用,包括:将4‑乙烯基苄氯、偶氮类引发剂和自由基聚合反应溶剂进行自由基聚合,接着淬冷,沉降和干燥,得到聚4‑乙烯基苄氯;将聚4‑乙烯基苄氯、第一季铵化试剂和第一有机溶剂进行季铵化,然后固化,得到季铵化的聚4‑乙烯基苄氯;将支化聚乙烯亚胺、第二季铵化试剂和第二有机溶剂进行冷凝回流,接着旋蒸和烘干,得到季铵化的支化聚乙烯亚胺;将季铵化的聚4‑乙烯基苄氯、季铵化的支化聚乙烯亚胺和第三有机溶剂进行搅拌和交联反应,得到双季铵化QPVBC/QBPEI阴离子交换膜。本发明的双季铵化QPVBC/QBPEI阴离子交换膜具有优异的阴离子传输能力,在燃料电池领域具有潜在应用价值。

基于动态电堆模型的质子交换膜燃料电池模型参数辨识方法及系统

NºPublicación:  CN120690888A 23/09/2025
Solicitante: 
华中科技大学
CN_120690888_PA

Resumen de: CN120690888A

本发明公开一种基于动态电堆模型的质子交换膜燃料电池模型参数辨识方法及系统。包括:构建各电堆子模型;基于所述各电堆子模型之间的数据传递过程,建立质子交换膜燃料电池模型;根据电堆基准数据,确定所述质子交换膜燃料电池模型的待辨识参数;获取台架测试数据,将所述台架测试数据作为所述质子交换膜燃料电池模型的输入信号;选取电堆输出电压和阴极进口流量作为对比数据,以模型计算值和台架测试值之间的累积误差值为目标函数,对所述待辨识参数进行迭代优化,获得所述待辨识参数的最优解。具有操作简单、成本低、运算速度快的优点,能够广泛应用于大功率质子交换膜燃料电池的数字化建模仿真和控制策略开发。

燃料电池氮气排放的控制方法、装置及电子设备

NºPublicación:  CN120690887A 23/09/2025
Solicitante: 
宁波大学浙江省白马湖实验室有限公司
CN_120690887_PA

Resumen de: CN120690887A

本申请提供一种燃料电池氮气排放的控制方法、装置及电子设备,涉及电池技术领域。其中,所述方法包括:确定燃料电池对应的第一时长、第二时长及氮气量与输出电压间的目标关系;基于所述目标关系,将所述第一时长及所述第二时长进行拆分,以确定目标排氮周期;基于所述目标排氮周期,对燃料电池的氮气排放进行控制。由此,通过结合第一时长、第二时长及氮气量与输出电压间的目标关系,确定出的排氮目标周期更为准确与可靠,以较短的时间间隔对排氮阀的开关状态进行控制,从而可以实现对氮气排放的快速响应和灵敏调节,避免因氮气长时间积聚或持续排放引起输出电压的大幅波动,进而提高系统的整体运行效率。

零碳数据中心的多联供系统

NºPublicación:  CN120692813A 23/09/2025
Solicitante: 
中国三峡新能源(集团)股份有限公司
CN_120692813_PA

Resumen de: CN120692813A

本申请提供一种零碳数据中心的多联供系统,涉及多联供系统技术领域,用于降低数据中心的碳排放。零碳数据中心的多联供系统包括:氧化偶联析氢子系统、固体氧化物燃料电池发电子系统、三效吸收式制冷循环子系统、卡林那循环子系统、加湿除湿脱盐子系统,氧化偶联析氢子系统用于将制取的氢气提供给固体氧化物燃料电池发电子系统,固体氧化物燃料电池发电子系统用于给数据中心提供电力,三效吸收式制冷循环子系统吸收固体氧化物燃料电池发电子系统的余热,以将三效吸收式制冷循环子系统生成的冷能提供给数据中心制冷,卡林那循环子系统吸收三效吸收式制冷循环子系统的余热,以对氧化偶联析氢子系统提供电力。

燃料电池装置以及用电装置

NºPublicación:  CN120690897A 23/09/2025
Solicitante: 
中国第一汽车股份有限公司
CN_120690897_PA

Resumen de: CN120690897A

本发明公开了一种燃料电池装置以及用电装置,涉及燃料电池技术领域,燃料电池装置包括:壳体、透气膜、电堆、进气机构和吹扫流路,壳体限定出第一腔室和第二腔室,透气膜位于第一腔室和第二腔室之间,以使第一腔室内的气体可通过透气膜流入第二腔室,且壳体形成有与第二腔室连通的出气口,电堆设于第一腔室内,进气机构与电堆连通以向电堆供空气,吹扫流路的进口端与进气机构连通,吹扫流路的出口端与第二腔室连通,吹扫流路选择性地导通或隔断进口端和出口端。根据本申请的燃料电池装置,可以实现吹扫流路选择性地吹扫第二腔室的效果,可以实现间歇吹扫第二腔室的效果,可以降低燃料电池装置的吹扫能耗。

PCEC质子导体电解质及其制备和在生物质热解气高湿连续式原位加氢提质中的应用

NºPublicación:  CN120682018A 23/09/2025
Solicitante: 
东南大学
CN_120682018_PA

Resumen de: CN120682018A

本发明涉及一种PCEC质子导体电解质及其制备和在生物质热解气高湿连续式原位加氢提质中的应用,质子导体电解质由PCEC燃料极支撑体及其表面依次设置的BZCY质子导体层和NCO质子导体层,其中,BZCY质子导体层与NCO质子导体层的接触面构成NiO‑BZCY/BZCY/NCO的原位保护界面结构,所述的NCO质子导体层的材料A2B2O7型萤石结构氧化物Nd2Ce2O7,所述的BZCY质子导体层的材料包括ABO3型钙钛矿结构氧化物BaZrxCeyY1‑x‑yO3‑δ(BZCY),0≤x+y+z≤1,y≠0。NCO与BZCY质子导体的分别合成、旋涂构建异质界面、PCEC生坯成型及高温烧结,通过优化涂覆工艺与烧结条件,形成具有高致密性和优异界面协同效应的PCEC单电解池。与现有技术相比,本发明具有更高的电化学稳定性、抗水汽腐蚀能力以及长周期运行性能,展示出广阔的工业化应用潜力。

电池堆和电池包

NºPublicación:  CN120690895A 23/09/2025
Solicitante: 
丰田自动车株式会社
CN_120690895_PA

Resumen de: CN120690895A

提供能够抑制导电性构件的变形的电池堆和电池包。本发明的电池堆是在电池模块的第1方向的端部处经由粘接构件配置有导电性构件的电池堆,在从作为与第1方向正交的方向的第2方向观察时,导电性构件具有第1平板部、第2平板部以及位于第1平板部与第2平板部之间的连接部,第1平板部位于在第1方向上比第2平板部靠电池模块侧的位置,位于第1平板部与电池模块之间的粘接构件的杨氏模量比位于第2平板部与电池模块之间的粘接构件的杨氏模量小。

一种燃料电池车用输氢管路及其监测方法

NºPublicación:  CN120690881A 23/09/2025
Solicitante: 
中国汽车技术研究中心有限公司中汽研汽车检验中心(天津)有限公司
CN_120690881_PA

Resumen de: CN120690881A

本申请提供了一种燃料电池车用输氢管路及其监测方法,通过依次设置内层屏障、缓冲层、增强层、外防护层和数据采集系统;其中,内层屏障用于容纳氢气,缓冲层设置于内层屏障外周,用于保护内层屏障,增强层设置于缓冲层外周,用于增强输氢管路的强度和承压能力,外防护层设置于增强层外周,用于防止外部环境的侵蚀,数据采集系统布置于输氢管路内,用于采集输氢管路的安全参数;本申请利用缓冲层、增强层分别吸收内部冲击力和抵抗外部冲击力,从而提高了内层屏障内氢气的安全性、降低了氢气泄露的概率,并且利用数据采集系统实时采集输氢管路的安全参数,以在氢气泄露时及时发现和定位,以降低氢气泄露所带来的危害。

一种燃料电池的双极板涂层及其制备方法和应用

NºPublicación:  CN120690878A 23/09/2025
Solicitante: 
山东国创燃料电池技术创新中心有限公司
CN_120690878_PA

Resumen de: CN120690878A

本发明涉及一种燃料电池的双极板涂层及其制备方法和应用,所述双极板涂层包括依次层叠设置在双极板基底表面上的过渡层、耐蚀层和导电层;所述耐蚀层包括依次层叠设置的第一子层、第二子层和第三子层;所述第一子层包括NbN层,所述第二子层包括NbSiN层,所述第三子层包括NbN层。本发明提供的双极板涂层在双极板基底的表面上设置过渡层、耐蚀层和导电剂,多种层结构相互协同,共同提高了双极板涂层的耐腐蚀性和导电性,以及优化了涂层的机械性能,其中,耐蚀层中设置依次层叠的NbN层、NbSiN层和NbN层形成了复合防护体系,显著提高了涂层的耐腐蚀性能和机械性能。

基于数据中心的空气捕碳方法及其系统

NºPublicación:  CN120679308A 23/09/2025
Solicitante: 
碳究者(北京)科技有限公司
CN_120679308_PA

Resumen de: CN120679308A

本发明涉及二氧化碳捕集利用与封存技术领域,具体公开一种基于数据中心的空气捕碳方法及其系统。所公开的空气捕碳系统,包括:二氧化碳捕集装置中相互连接的吸收器和再生电解槽;吸收器从空气中,使用吸收剂捕集CO2生成电解溶液,并将电解溶液输送至再生电解槽中电解产生混合气和氢气,分别经压缩器压缩存储;且再生电解槽电解产生的溶液输送至吸收器中,作为吸收剂;还包括氢燃料电池和冷量分配设备,氢燃料电池通过氢气电化学反应产生电能;冷量分配设备通过循环液对机房进行冷却;氢燃料电池依次与吸收器、再生电解槽和数据中心电连接。本发明能够利用清洁能源提供电能,直接供给系统;系统内部可以高效的协同,资源循环,实现零碳排放。

一种基于直接氨氧化阳极的固体氧化物燃料电池制备及性能预测方法

NºPublicación:  CN120690874A 23/09/2025
Solicitante: 
福州大学
CN_120690874_PA

Resumen de: CN120690874A

本发明涉及一种基于直接氨氧化阳极的固体氧化物燃料电池制备及性能预测方法,阳极材料为白钨矿结构铬酸基氧化物,其化学式为SrCr1‑xNixO4+δ,其中0≤x≤0.4,0<δ<1,通过B位Ni掺杂诱导高温还原条件下原位析出纳米级金属Ni颗粒,且Ni颗粒分布均匀、无团聚;采用溶胶‑凝胶法结合梯度焙烧工艺合成所述阳极材料,以控制Ni掺杂并实现Ni颗粒的原位可控析出;基于所述阳极材料的混合导电特性与Ni颗粒分布规律,建立氨分解‑电荷转移耦合基元反应动力学方程,定量预测不同Ni掺杂量下的电池性能。该方法提高直接氨固体氧化物燃料电池在高温下的电化学性能,以及实现在实验前对阳极材料的预筛选和人为难以达到的实验条件的性能预测。

一种抗积碳电解质浆料制备方法及应用

NºPublicación:  CN120690892A 23/09/2025
Solicitante: 
江苏唯氢动力科技有限公司
CN_120690892_PA

Resumen de: CN120690892A

本发明提供一种抗积碳电解质浆料制备方法及应用。所述抗积碳电解质浆料制备方法包括:S1.准备电解质溶质、溶剂、抗积碳添加剂和分散剂;S2.将电解质溶质和溶剂按照一定比例加入到搅拌容器中,在温度为20‑50℃,该温度区间可有效平衡溶解速率与溶质稳定性,搅拌速度为200‑500r/mi n的条件下搅拌10‑30mi n,该转速既能避免局部浓度过高,又可防止过度搅拌引入过多气泡,使电解质溶质充分溶解;S3.将抗积碳添加剂和分散剂加入到上述溶解后的溶液中,继续搅拌20‑40mi n。本发明提供的抗积碳电解质浆料制备方法及应用可有效解决燃料电池运行中电解质浆料的积碳问题。

碳载体、金属负载的催化剂、电极和燃料电池

NºPublicación:  CN120693213A 23/09/2025
Solicitante: 
日清纺控股株式会社
CN_120693213_PA

Resumen de: JP2024115734A

To provide a carbon carrier improving power generation performance of a fuel cell in a low humidity driving condition, a metal carrier catalyst, an electrode, and a fuel cell with improved power generation performance in a low humidity driving condition.SOLUTION: A carbon carrier is for carrying a catalyst metal particle. The carbon carrier has an oxygen content of 2.6 wt.% or more, and has a carbon structure showing, in a Raman spectrum obtained by Raman spectroscopy, one or more characteristics selected from a group of characteristics (i) to (v): (i) a half width at half maximum of G-band having a peak top in a vicinity of Raman shift 1580 cm-1 is 37 cm-1 or less; (ii) a half width at half maximum of D-band having a peak top in a vicinity of Raman shift 1340 cm-1 is 38 cm-1 or less; (iii) a half width at half maximum of 2D-band having a peak top in a vicinity of Raman shift 2700 cm-1 is 57 cm-1 or less; (vi) a ratio of intensity of the D-band to intensity of the G-band is 1.6 or more; and (v) a ratio of intensity of the 2D-band to the intensity of the G-band is 0.3 or more.SELECTED DRAWING: None

一种改性液流电池碳毡的制备方法及应用

NºPublicación:  CN120690865A 23/09/2025
Solicitante: 
宿迁海岳新材料技术有限公司
CN_120690865_A

Resumen de: CN120690865A

本发明涉及液流电池电极材料技术领域,具体为一种改性液流电池碳毡的制备方法及应用,制备方法包括将预氧毡进行乙醇洗涤,以去除预氧毡表面的杂质和油污,然后进行干燥处理,得到洗净的预氧毡;将洗净的预氧毡浸渍于无机盐溶液中,使预氧毡充分吸收无机盐溶液,然后进行干燥处理,得到含有无机盐的预氧毡;将含有无机盐的预氧毡依次进行碳化和石墨化热处理,同时无机盐在高温下发生反应,形成特定的结构,得到石墨毡;将石墨毡经过活化处理,得到改性液流电池碳毡成品。本发明工艺简单可控,所得改性碳毡具有较低的电阻率,并且可有效提升液流电池的电压效率,具有重要的工业应用价值。

一种气体扩散层材料的制备方法

NºPublicación:  CN120683749A 23/09/2025
Solicitante: 
上海唐锋能源科技有限公司
CN_120683749_PA

Resumen de: CN120683749A

本发明涉及一种气体扩散层材料的制备方法,属于电化学技术领域。本发明将可烧蚀模板纤维与普通碳纤维按一定比例混合均匀,利用纤维成网技术将混合纤维抄造成碳纸原纸,然后再经过改性树脂浸渍,热压固化,碳化石墨化等工序后得到的气体扩散层材料的基底层。和传统气体扩散层材料制备工艺不同的是,本发明的基底层不经过疏水处理,直接在表面涂覆疏水微孔层。

一种混合动力船舶及电能分配控制方法

NºPublicación:  CN120681317A 23/09/2025
Solicitante: 
东风汽车集团股份有限公司
CN_120681317_PA

Resumen de: CN120681317A

本申请涉及一种混合动力船舶及电能分配控制方法,混合动力船舶设置动力电池组与直流母线电连接,同时配置风力发电组与光伏发电组,并分别经AC‑DC转换设备、升压DC‑DC转换设备一连接电能分配模块三、电能分配模块四,且电能分配模块三、四均与动力电池组和直流母线相连,该技术手段改变了传统混合动力船舶利用风能或光能收集电解产生氢气并以氢气形式储能需多次能量转化的方式,直接将风力发电组和光伏发电组产生的电能经转换设备后,通过电能分配模块输送至动力电池组进行存储或直接供给直流母线使用,减少了能量转化环节,显著提升能量利用率,有效解决了传统方案能量利用率低下、无法满足船舶对能源高效利用实际需求的技术问题。

一种燃料电池冷热冲击测试系统及方法

NºPublicación:  CN120686111A 23/09/2025
Solicitante: 
武汉达安科技有限公司国家市场监督管理总局认证认可技术研究中心
CN_120686111_PA

Resumen de: CN120686111A

本发明公开了一种燃料电池冷热冲击测试系统及方法,涉及燃料电池测试技术领域,包括:换热器、加热组件、制冷组件和吹扫组件,换热器与被测燃料电池连接形成第一循环回路,加热组件、制冷组件和吹扫组件与换热器连接分别形成第二循环回路、第三循环回路和第四循环回路;使用第一循环回路和第二循环回路对被测燃料电池进行一次热冲击测试,再使用第四循环回路对换热器进行一次吹扫;使用第一循环回路和第三循环回路对被测燃料电池进行一次冷冲击测试,再使用第四循环回路对换热器进行一次吹扫;如此重复,直至测试结束。本发明每进行一次热冲击测试或冷冲击测试后,都对换热器进行一次吹扫,提高燃料电池冷热冲击测试时冷热切换速度。

燃料电池用氢气引射器和氢气循环系统

NºPublicación:  CN120684439A 23/09/2025
Solicitante: 
郑州轻工业大学
CN_120684439_PA

Resumen de: CN120684439A

本发明属于电池技术领域,涉及一种燃料电池用氢气引射器,包括混合室、缓冲室、射流进气口、排液孔、引射室、多个射流孔;第一喷嘴,一端位于缓冲室外,第一喷嘴的另一端穿过缓冲室侧壁后位于引射室内,第一喷嘴位于引射室内的部分为渐缩管状结构,第一喷嘴的侧面靠近渐缩管状结构的位置沿其周向均匀开设有多个第一弧形旋流槽,每个第一弧形旋流槽沿着第一喷嘴的长度方向设置,多个第一弧形旋流槽的位置与多个射流孔的位置一一对应。本发明能够使得进入引射室内未反应的氢气形成旋流,使得水蒸气在离心力的作用下被分离,减少了未反应的氢气中水蒸气的含量,避免了过多水蒸气增加氢气进入电极的阻力而导致的水淹现象,提高了燃料电池的性能。

一种基于SOC与SOH的全钒液流电池互联通信均流控制方法

NºPublicación:  CN120691539A 23/09/2025
Solicitante: 
合肥工业大学
CN_120691539_PA

Resumen de: CN120691539A

本发明公开了一种基于SOC与SOH的全钒液流电池互联通信均流控制方法,包括有n个全钒液流电池储能模块,全钒液流电池储能模块包括有全钒液流电池,n个全钒液流电池分别通过双向DC/DC变换器接入直流母线构成并联系统,采用双闭环控制结构实现动态分配各全钒液流电池储能模块的输出电流,本发明改善母线电压稳定性和提升功率分配精度方面的有效性,充分考虑储能系统的SOC和SOH的差异,动态调整各模块负载分配和稳定母线电压,使得并联系统中SOH较大的储能模块输出功率更多、放电深度更大,提升能量利用率,延长全钒液流电池系统寿命,提高均流精度和系统运行的稳定性与可靠性。

一种提高液流电池一致性的生产方法

NºPublicación:  CN120690893A 23/09/2025
Solicitante: 
大力储能技术湖北有限责任公司
CN_120690893_PA

Resumen de: CN120690893A

本发明提出了一种提高液流电池一致性的生产方法,包括:将碳毡卷材按照目标尺寸进行分切,得到目标尺寸的碳毡片材;对每片碳毡进行厚度检测,测量出每片碳毡的厚度平均值和极值;根据厚度平均值对所有的碳毡进行分类;为每一类碳毡选取对应厚度的密封垫片,保证碳毡的压缩比在目标范围内;将每一类碳毡与对应厚度的密封垫片组装成电堆;对电堆进行充放电检测,并监测电堆中各个单电池的电压数据;根据各单电池的电压数据计算电堆一致性;根据电堆的一致性剔除不合格电堆。本发明通过对碳毡厚度进行检测,根据厚度对碳毡进行分类,并为不同类别的碳毡匹配对应厚度的密封垫片,可以有效控制电堆中每个单电池的厚度一致性,从而提升了电堆的一致性。

一种双极板冷却板及其设计方法

NºPublicación:  CN120690879A 23/09/2025
Solicitante: 
安徽瑞氢动力科技有限公司
CN_120690879_PA

Resumen de: CN120690879A

本发明公开了一种双极板冷却板及其设计方法,具有:双极板,其包括阴极板和阳极板,阴极板和阳极板围合成双极板;冷却流场,阴极板和阳极板之间形成冷却流场;冷却流场包括位于两侧的一次流区域和位于中部附近的二次流区域;一次流区域为分支结构;二次流区域为平行结构,通过精细化的流道过流截面尺寸,控制冷却剂在冷却流场中均匀流动,从而实现高效换热,使提供适宜的反应发生时的温度条件,从而提高燃料电池电堆发电时的效率。

基于支化型特格勒碱结构的离子交换膜及其应用

NºPublicación:  CN120682430A 23/09/2025
Solicitante: 
西湖大学
CN_120682430_PA

Resumen de: CN120682430A

本发明提供了一种基于支化型特格勒碱结构的离子交换膜及其应用,具体地,本发明提供了一种如下式(I)、式(II)、或式(III)所示的化合物,所述化合物可用于制备高传导性与高离子选择性的离子交换膜。

电化学式氢升压系统

NºPublicación:  CN120690884A 23/09/2025
Solicitante: 
本田技研工业株式会社
CN_120690884_PA

Resumen de: CN120690884A

本发明提供一种电化学式氢升压系统。电化学式氢升压系统(10)具有氢升压堆(16)、氢供给装置(14)和PSA装置(22),其中,所述氢升压堆将向阳极电极供给的氢气作为通过电解质膜由阴极电极升压后的高压氢气排放;所述氢供给装置通过氢供给流道(60)向所述氢升压堆(16)的所述阳极电极供给所述氢气;所述PSA装置具有对从所述氢升压堆(16)排放的所述高压氢气进行除湿的多个吸附塔(24),具有返回流道(94),使用于所述吸附塔(24)的再生的再生氢气向所述氢供给流道(60)或所述氢供给装置(14)回流。据此,能够抑制电化学式氢升压系统的氢制造效率的降低。

燃料电池系统的启动控制方法

NºPublicación:  CN120690886A 23/09/2025
Solicitante: 
现代自动车株式会社起亚株式会社
CN_120690886_PA

Resumen de: CN120690886A

本公开提供一种燃料电池系统的启动控制方法,包括:发起向阳极的氢气供应,确定接收到切断命令的空气控制阀(ACV)的开度是否小于或等于指定的基准开度,如果ACV的开度小于或等于基准开度,则驱动空气压缩机以供应旁路空气,确定是否需要执行启动阴极氧化消耗(COD),如果是,则发起执行启动COD,并且根据从燃料电池堆供应到电阻性电负载的电流的积分Q值和在COD电路的电流‑电压平面中的运行点来确定是否需要指定的基本COD控制、以保护燃料电池系统为主的控制或以快速启动为主的控制。

改进的先进氢燃料电池

NºPublicación:  CN120693710A 23/09/2025
Solicitante: 
鲁道夫·安东尼奥··戈麦斯
CN_120693710_A

Resumen de: US2025293278A1

An advanced hydrogen fuel cell system in which the anode cell includes an acidic electrolyte and the cathode cell includes an alkaline electrolyte, operation of improved advanced hydrogen fuel cell system yields an increase in the generation of fuel cell voltage in comparison to known hydrogen fuel cell. In addition, the advanced hydrogen fuel cell system is compatible with water electrolysis processes, in particular unipolar electrolysis of water that further increases the energy output of the system and efficiency.

一种工业级燃料电池双向温控传热方法及装置

NºPublicación:  CN120690889A 23/09/2025
Solicitante: 
华能兰州热电有限责任公司西安热工研究院有限公司西安西热节能技术有限公司
CN_120690889_A

Resumen de: CN120690889A

本发明提供的一种工业级燃料电池双向温控传热方法及装置,所述工业级燃料电池为双极板燃料电池,包括以下步骤:当双极板燃料电池堆需要冷却时,利用低温储能罐中的流体工质吸收双极板燃料电池内的热量,升温后的流体工质将热量传递至高温储能罐中进行储存,降温后的流体工质返回至低温储能罐;当双极板燃料电池需要加热时,利用低温储能罐中的流体工质吸收高温储能罐中的热量,升温后的流体工质将热量传递至双极板燃料电池对其进行加入粉,降温后的流体工质返回至低温储能罐;本发明在高产热工况下瞬时吸收多余热量,而在冷启动或低温环境时反向供热,不仅延长电池寿命,还省去了辅助加热器及其配套电力系统。

螺旋缠绕式水交换器、包括其的电力发生器以及螺旋缠绕式水交换器的使用方法

NºPublicación:  CN120690883A 23/09/2025
Solicitante: 
霍尼韦尔国际公司
CN_120690883_PA

Resumen de: CN120690883A

提供了螺旋缠绕式水交换器、包括其的电力发生器以及螺旋缠绕式水交换器的使用方法。该方法包括:向螺旋缠绕式水交换器提供具有第一湿度的第一空气流;向该螺旋缠绕式水交换器提供具有第二湿度的第二氢气流;使该空气和该氢气流过该螺旋缠绕式水交换器,其中当该空气和该氢气流过该螺旋缠绕式水交换器时,水从该空气运输到该氢气;从该螺旋缠绕式水交换器排出具有第三湿度的第三空气流;以及从该螺旋缠绕式水交换器排出具有第四湿度的第四氢气流,其中第三湿度小于第一湿度并且第四湿度大于第二湿度。

用于干燥燃料电池堆的干燥方法

NºPublicación:  CN120693709A 23/09/2025
Solicitante: 
罗伯特·博世有限公司
CN_120693709_PA

Resumen de: WO2024170382A1

The present invention relates to a drying method (100) for drying a fuel cell system (201). The drying method (200) comprises: - a first drying phase (103), in which a refrigerant temperature of refrigerant flowing through the fuel cell stack (201) is adjusted to a first refrigerant temperature target value and is maintained, and - a second drying phase (111), in which the refrigerant temperature is adjusted to a second refrigerant temperature target value, the first refrigerant temperature target value being higher than the second refrigerant temperature target value. )

一种液流电池隔膜的制备工艺

NºPublicación:  CN120679715A 23/09/2025
Solicitante: 
寿光市联盟石油化工有限公司
CN_120679715_A

Resumen de: CN120679715A

本发明提供一种液流电池隔膜的制备工艺,属于离子交换树脂成型结构的制造技术领域;所述制备方法包括浆料制备、涂布、烘干;所述浆料制备的方法为,将磺化聚醚醚酮进行球磨,得到粒径为10~20μm的粉末,然后加入到六氟异丙醇中,在60~90℃下搅拌至澄清,然后加入γ‑氨丙基三乙氧基硅烷与磷酸锆,混合均匀后,静置1~2h,得到浆料;本发明的液流电池隔膜长时间存放不出现褶皱、变形,质子交换率为0.071~0.075S/cm,拉伸强度为35.5~37.8MPa,热分解温度为299~305℃。

一种燃料电池催化层及其制备方法

NºPublicación:  CN120690866A 23/09/2025
Solicitante: 
浙江天能氢能源科技有限公司
CN_120690866_PA

Resumen de: CN120690866A

本发明公开了一种燃料电池催化层及其制备方法,涉及氢燃料电池膜电极领域。本发明采用梯度化分层喷涂铂基催化剂和离聚物,在质子交换膜上实现催化剂层‑离聚物层‑催化剂层或者是离聚物层‑催化剂层‑离聚物层的夹层式结构,实现单层催化剂和离聚物不同载量均匀分布;通过催化剂和离聚物交替分层制备高孔隙催化层,溶剂蒸汽退火进一步优化了离聚物在催化剂层表面的分布形式,优化离聚物和催化剂三相界面,减缓离聚物在催化剂表面的过度分布及堵塞气体传输孔隙,进而提升膜电极性能。

多层复合质子交换膜及其制备方法和应用

NºPublicación:  CN120690891A 23/09/2025
Solicitante: 
河北金力新能源科技股份有限公司
CN_120690891_PA

Resumen de: CN120690891A

本发明公开了一种多层复合质子交换膜及其制备方法和应用,多层复合质子交换膜,包括:基膜、两层对位芳纶涂层和两层全氟磺酸涂层,两层对位芳纶涂层为第一对位芳纶涂层和第二对位芳纶涂层,两层全氟磺酸涂层为第一全氟磺酸涂层和第二全氟磺酸涂层,其中:多层复合质子交换膜为夹层结构,夹层结构从上至下依次为第一全氟磺酸涂层、第一对位芳纶涂层、基膜、第二对位芳纶涂层和第二全氟磺酸涂层,每层对位芳纶涂层中包括:对位芳纶和陶瓷,每层全氟磺酸涂层中包括:全氟磺酸树脂。本发明制备的多层复合质子交换膜具有较高的质子电导率,同时具有较优异的氢气阻隔性能。

一种扁管式固体氧化物燃料电池金属连接体的双层防护涂层及其制备方法和应用

NºPublicación:  CN120683588A 23/09/2025
Solicitante: 
北京理工大学
CN_120683588_PA

Resumen de: CN120683588A

本发明公开了一种扁管式固体氧化物燃料电池金属连接体的双层防护涂层及其制备方法和应用,涉及防护涂层技术领域。所述双层防护涂层包括基体上依次叠层设置的第一防护涂层和第二防护涂层;所述第一防护涂层的材质为尖晶石类氧化物;第二防护涂层的材质为钙钛矿类氧化物。本发明通过双层防护涂层既能有效提升防护涂层的电导率,又能与金属连接体保持较好的接触性与高的致密性,从而起到更好防护效果,有效抑制高温条件下金属连接体中Cr的挥发。

燃料电池的隔膜

NºPublicación:  CN120690880A 23/09/2025
Solicitante: 
丰田自动车株式会社
CN_120690880_PA

Resumen de: CN120690880A

本发明提供一种在与隔膜的凸缘对置的气体扩散层的面正下方向也使气体有效地扩散的技术。隔膜(12a)具备:多个槽(14a),在燃料电池中从气体扩散层(10a)退避而形成多个气体流路(9a);及多个凸缘(16a),与气体扩散层(10a)抵接而将多个气体流路(9a)隔开,在将多个气体流路(9a)中的相邻的第一流路(100)及第二流路(102)隔开的至少一个凸缘(16a)的与气体扩散层(10a)抵接的抵接面(20a)具备从气体扩散层(10a)退避且仅与第一流路(100)连通而朝向第二流路(102)延伸的至少一个第一槽(30)。

阴离子交换树脂及其制备方法和应用

NºPublicación:  CN120682428A 23/09/2025
Solicitante: 
中国石油化工股份有限公司中石化石油化工科学研究院有限公司
CN_120682428_PA

Resumen de: CN120682428A

本发明涉及阴离子交换树脂制备领域,公开了一种阴离子交换树脂及其制备方法和应用。所述阴离子交换树脂具有式(1)所示的结构式:式(1),其中,R1为联芳基;R2为‑CH3、‑CH2CH3、‑CF3和‑CH2CF3中的至少一种;R3为C1‑C6的烷基;X为卤素。采用本发明所述阴离子交换树脂制得的膜材料具有较高的耐热碱稳定性。

一种燃料电池超低铂载量有序化结构膜电极的制备方法

NºPublicación:  CN120690875A 23/09/2025
Solicitante: 
同济大学
CN_120690875_PA

Resumen de: CN120690875A

本发明公开了一种燃料电池超低铂载量有序化结构膜电极的制备方法,属于质子交换膜燃料电池技术领域。所述膜电极包括质子交换膜、有序化离聚物阵列结构催化层和气体扩散层。通过溶液浇筑和热压转印方法在质子交换膜上形成有序化离聚物阵列结构,并通过喷涂方法在有序化离聚物阵列结构间填充催化剂浆料,利用有序化离聚物阵列结构设计增加了催化剂和离聚物的接触面积,降低了电子质子传输、水气传输的阻力。在提高电子质子传输能力、改善水气传输效率的同时,减少催化剂用量,降低了铂担载量,显著提高了超低铂载量膜电极的性能。此外,此制备方法中涉及到的有序化离聚物结构形成过程中不牺牲模板,可以实现低成本、高效率、可批量放大连续化制备。

热再生电池与电化学氢泵耦合系统和方法

NºPublicación:  CN120690894A 23/09/2025
Solicitante: 
重庆大学
CN_120690894_PA

Resumen de: CN120690894A

本发明公开的热再生电池与电化学氢泵耦合系统和方法,包括电化学氢泵、热再生电池和热再生反应器,电化学氢泵用于对含有氢的焦炉煤气进行氢气的提纯;热再生电池用于依靠通入的电解液进行产生电能,并输送给电化学氢泵;热再生反应器与电化学氢泵和热再生电池连接,能通过进入热再生反应器的高温的焦炉煤气将热再生电池输出的阳极废弃电解液加热,使阳极废弃电解液重整发生破络合反应后生成阳极电解液,再输送给热再生电池阳极,并将降温后的焦炉煤气输送给电化学氢泵进行氢气的提纯。采用系统和方法,能实现对焦炉煤气中氢气的高效、精准提纯,同时还通过废热利用能降低能耗和降低成本。

一种集成式燃料电池氢气循环系统

NºPublicación:  CN120690882A 23/09/2025
Solicitante: 
西安交通大学
CN_120690882_PA

Resumen de: CN120690882A

本申请公开了一种集成式燃料电池氢气循环系统,涉及氢燃料电池技术领域。不仅使旋涡氢泵间歇式工作,延长了旋涡氢泵的使用寿命,还减小了分水器的体积,并使系统不必采用供氢加热器,减少了系统的体积,降低了系统的成本。该系统包括壳体、旋涡氢泵和弹簧气阀;旋涡氢泵连接在壳体上;壳体包括二次流入口通道、排水通道、泵前通道、泵后通道和出口通道;二次流入口通道通过泵前通道与旋涡氢泵的入口连通;出口通道通过泵后通道与旋涡氢泵的出口连通;泵前通道与泵后通道之间通过旁通通道连通;弹簧气阀设置在旁通通道内;壳体内设有一次流入口管,一次流入口管的入口端位于二次流入口通道内,出口端位于泵后通道内。

一种应用涡流管的高寒地区含氢综合能源系统

NºPublicación:  CN120684817A 23/09/2025
Solicitante: 
浙江大学
CN_120684817_PA

Resumen de: CN120684817A

本发明公开了一种应用涡流管的高寒地区含氢综合能源系统及调度方法,所述系统中包括电解槽、压缩机、储氢罐、涡流管、热端换热器、储热罐、冷端换热器、储冷罐、氢燃料电池以及需求侧。所述需求侧包括高寒地区用氧环境、高寒地区用氢环境以及掺氢天然气用户。所述综合能源系统中在电解槽中制得的氧气直接送入氧气需求侧,氢气通过加压存储进入涡流管中,在涡流管中进行能量分离,实现冷、热氢气分流,并可以通过调度更改涡流管的不同氢气流量,实现氢能的高效分配,并提高整体经济性。本发明提出的综合能源系统可以极大提升能源利用效率和灵活性,适应高寒地区特殊地理环境需求,增强能源自给与应急保障能力。

燃料电池用分隔件及燃料电池的单电池

NºPublicación:  CN120690896A 23/09/2025
Solicitante: 
丰田纺织株式会社
CN_120690896_PA

Resumen de: CN120690896A

一种燃料电池用分隔件,通过与发电部和包围发电部的外周部的树脂制的框架重合来构成燃料电池的单电池。分隔件具有:贯通孔,其以供反应气体沿着分隔件的板厚方向流动的方式构成;气体流路,其以供反应气体沿着分隔件的面方向流动的方式构成;以及肋部,其以支承框架的方式构成且遍及整周地包围贯通孔。在肋部的顶面形成有连接贯通孔与气体流路的槽状的至少一个连接流路。连接流路的深度比肋部的板厚小。

一种氢燃料电池汽车加氢控制方法及系统

NºPublicación:  CN120684649A 23/09/2025
Solicitante: 
昆山氢元科技有限公司
CN_120684649_PA

Resumen de: CN120684649A

本发明公开了一种氢燃料电池汽车加氢控制方法及系统,属于氢燃料电池汽车技术领域。包括以下步骤:S1、在氢燃料电池汽车下线之后、进行加氢操作之前,对燃料电池系统中的氢瓶实施抽真空作业;S2、判断氢瓶的压力是否达到预定的绝对压力值,若没有达到,则继续对氢瓶实施抽真空作业;S3、在氢瓶的压力达到预定的绝对压力值时,将纯度大于99.97%的氢气充入氢瓶中;S4、检测氢瓶中的氢气纯度是否大于99.97%,若没有达到,则计算此时的纯度与99.97%的差值,当差值小于0.02%时,则继续将纯度大于99.97%的氢气充入氢瓶中,当差值大于0.02%时,先放空氢瓶,随后进行步骤S1‑S3的操作;S5、在氢瓶中的氢气纯度大于99.97%时,补充了氢气的车辆即可进入后续的调试环节。

一种燃料电池石墨双极板用单板浸渍工装

NºPublicación:  CN223378181U 23/09/2025
Solicitante: 
上海弘枫实业有限公司

Resumen de: CN223378181U

本实用新型公开了一种燃料电池石墨双极板用单板浸渍工装,其特征在于,包括:一曲型板件结构,所述曲型板件结构包括水平部,与所述水平部相连的弯折部,以及与所述弯折部相连的竖部;在所述水平部和所述竖部上均设置有若干凹槽,在所述凹槽设置有带稳定卡槽的卡槽条。本实用新型的燃料电池石墨双极板用单板浸渍工装可以避免紧贴活性区域,使得紧贴位置无法有效浸渍从而导致泄露。

一种集储水和消声功能的氢燃料尾排储水消声器

NºPublicación:  CN223378193U 23/09/2025
Solicitante: 
郑州精益达汽车零部件有限公司

Resumen de: CN223378193U

本实用新型提供一种集储水和消声功能的氢燃料尾排储水消声器,其尾排内部结构为:一型分腔板、二型分腔板、五型分腔板横向平行设置,一型分腔板朝向进气管倾斜设置并位于尾排壳体通孔上方;二型分腔板和五型分腔板上开有小孔;三型分腔板、四型分腔板、二型分腔板形成谐振腔;进气管穿过尾排壳体的壁伸入一型分腔板和尾排壳体的壁之间的位置;出气管穿过尾排壳体的壁,再穿过五型分腔板,伸入三型分腔板和五型分腔板之间的位置;储水箱具有水箱本体,开设有水箱盖板通孔的水箱盖板焊接在与水箱本体上,尾排固定连接在储水箱上,尾排壳体通孔位于水箱盖板通孔上方。本实用新型解决燃料电池系统尾排噪声过大的问题,也能收集尾排中的水分。

一种燃料电池散热器管道连接结构

NºPublicación:  CN223378187U 23/09/2025
Solicitante: 
浙江西海新能源有限公司

Resumen de: CN223378187U

本实用新型公开了一种燃料电池散热器管道连接结构,属于燃料电池散热连接技术领域。本实用新型包括主散热器,主散热器的背面固定连接后壳,后壳的左侧设置有主散热器控制接口,主散热器正面左侧的下方连通第一进水接口管。本实用新型通过连接固定结构将装置与电池进行固定,使电池的表面与装置表面贴合,通过进水管道向主散热器和辅助散热器内部注入冷却水,通过冷却水对电池散发的热量进行吸收,冷却水经过环形散热管散发热量,同时将热量传导到导热环加快散发,以此达到了通过设置主散热器和辅助散热器的相配合设置,向散热器内部注入冷却水,使冷却水循环对电池散发的热量进行吸收,加快热量散发,提高散热效果的效果。

一种氢燃料电池气体加湿系统

NºPublicación:  CN223378191U 23/09/2025
Solicitante: 
苏州汉翱新能源科技有限公司

Resumen de: CN223378191U

本实用新型涉及电池制造技术领域,具体涉及一种氢燃料电池气体加湿系统,包括加湿系统,加湿系统由气源处理模块、压力控制模块、气体升温模块、多流道加湿腔体、安全模块、以及气体保温模块组成;多流道加湿腔体内包括有多流道加湿装置、加热筒、冷凝器以及回流模块。相较于现有技术,本申请通过在加湿通道内壁设置有减速板,增加了氢气与加湿介质的接触时间和接触面积,进一步提升加湿效率和均匀性,进而整体确保气流在通道内均匀稳定流动,从而实现最佳的加湿效果并提升系统的整体性能。

一种电堆安装夹具

NºPublicación:  CN223372158U 23/09/2025
Solicitante: 
中广核研究院有限公司中国广核电力股份有限公司

Resumen de: CN223372158U

本实用新型公开了一种电堆安装夹具,包括:第一夹臂、第二夹臂、转轴和紧固件,所述第一夹臂和第二夹臂相对设置形成用于放置电堆的夹取空间,所述第一夹臂的一端和所述第二夹臂的一端通过所述转轴转动连接以增大或减小所述夹取空间,所述第一夹臂的另一端和所述第二夹臂的另一端皆设置有用于夹取所述电堆的夹取件;所述紧固件的两端分别与所述第一夹臂的一端和所述第二夹臂的一端连接以实现对所述第一夹臂和所述第二夹臂的固定锁紧。本实用新型通过设置第一夹臂和第二夹臂,并在第一夹臂和第二夹臂上设置用于夹取电堆的夹取件,从而实现电堆的自由夹取和搬运,结构简单,操作方便,且无需额外配置吊件或吊装点,通用性强。

一种用于电池密封结构组装的装置

NºPublicación:  CN223378196U 23/09/2025
Solicitante: 
北京长征天民高科技有限公司

Resumen de: CN223378196U

本实用新型提供了一种用于电池密封结构组装的装置,属于燃料电池技术领域,包括压板以及底座,底座上设有用于与密封件连接的活动连接件,当底座与压板配合限制双极板时,活动连接件可在受力条件下将密封件安装于双极板上。本实用新型提供的一种用于电池密封结构组装的装置,通过先使用压板与底座对双极板进行限位固定,并且在该过程中活动连接件固定密封件,且密封件与双极板上的安装位置对应,然后在外力作用下可将密封件安装于双极板上。该种用于电池密封结构组装的装置可以简便、高效率完成燃料电池双极板两侧密封件的粘贴,具有成品率高、效率高的特点。

极板和燃料电池

NºPublicación:  CN223378183U 23/09/2025
Solicitante: 
广州汽车集团股份有限公司

Resumen de: CN223378183U

本实用新型公开了一种极板和燃料电池,极板包括:极板主体,具有沿第一方向依次设置的进气区、反应区和排气区,反应区的底面上设有至少一列沿第一方向间隔排布且具有横向曲率和纵向曲率的多个锯齿结构,在由排气区朝向进气区的方向上,锯齿结构朝向远离反应区的底面倾斜延伸且在第二方向上的宽度逐渐减少,锯齿结构与反应区的底面之间共同限定出排液流道。根据本实用新型的极板,在排液流道的毛细作用下,进入排液流道内的水可以沿着多个排液流道自主地朝向靠近排气区的方向流动并排出,从而可以避免水在反应区内堵塞气体流动通道,以降低极板的水淹风险。

电堆模块及燃料电池系统

NºPublicación:  CN223378198U 23/09/2025
Solicitante: 
未势能源科技有限公司
CN_223378198_U

Resumen de: CN223378198U

本实用新型涉及燃料电池技术领域,具体提供了一种电堆模块及燃料电池系统。本实用新型的电堆模块包括堆芯总成,以及分别封盖于堆芯总成前后两端的气口端板和盲端板;气口端板上设有供氢气进出的氢气入口和氢气出口,以及供空气进出的空气入口和空气出口,且堆芯总成内部设有分别连通氢气入口、氢气出口、空气入口和空气出口的气路歧管;与氢气出口连通的气路歧管向着盲端板延伸布置,且盲端板上设有连通该气路歧管的排液口。本实用新型的电堆模块,在盲端板上开设排液口,当堆芯总成发生盲端板靠下的倾斜时,积存到氢气出口的气路歧管的盲端的水可通过排液口排出到外部,从而解决了电堆模块内部的歧管中易出现积水的情况。

增湿系统及具有其的燃料电池发动机

NºPublicación:  CN223378189U 23/09/2025
Solicitante: 
潍柴巴拉德氢能科技有限公司
CN_223378189_U

Resumen de: CN223378189U

本实用新型提供了一种增湿系统及具有其的燃料电池发动机。增湿系统包括:空压机;总管路,与空压机的出气口连通;第一支管路,两端分别与总管路、电堆结构的电堆入口连通;热交换装置,包括箱体和换热结构,箱体具有进气口、进液口及出口;从出气口排出的气体经由进气口进入换热结构内,以通过换热结构与经由进液口进入箱体内的液体进行热量交换;第二支管路,两端分别与总管路、进气口连通;气液分离装置,气液分离装置的排液口与进液口连通;中冷器,设置在第一支管路上;出口与第一支管路连通,出口与第一支管路的连通位置位于出气口与中冷器之间。本实用新型解决了现有技术中用于质子交换膜燃料电池发动机的增湿装置的体积较大的问题。

一种液流电池电解液的注射机构

NºPublicación:  CN223378192U 23/09/2025
Solicitante: 
钜能储能科技(辽宁)有限公司
CN_223378192_U

Resumen de: CN223378192U

本实用新型公开了一种液流电池电解液的注射机构,包括储罐以及电堆,所述储罐以及电堆之间通过上料管路以及下料管路连通,所述上料管路上设置有驱动泵机;所述驱动泵机包括驱动电机;所述驱动电机的驱动端的一侧连接有驱动泵壳,本实用新型涉及液流电池技术领域,该液流电池电解液的注射机构,设置在电堆与储罐之间,针对全钒液流电池的电解液具有酸性腐蚀性的问题,设置了可以快速拆换的驱动泵壳以及驱动桨叶,同时在驱动泵壳的上水侧以及下水侧设置了分体式的液流流量监控装置,能够及时检测漏液问题,并进行报警,同时采用了模块化设计的方式,一方面提高拆换维护的效率,另一方面降低电解液渗漏对电池的损坏作用。

热管理系统及具有其的燃料电池发动机

NºPublicación:  CN223378186U 23/09/2025
Solicitante: 
潍柴巴拉德氢能科技有限公司
CN_223378186_U

Resumen de: CN223378186U

本实用新型提供了一种热管理系统及具有其的燃料电池发动机。热管理系统包括:主换热回路,包括依次连接的过滤装置、水泵及电堆结构;中冷回路,与电堆结构并联,中冷回路包括依次连接的加热装置和中冷器;出口回路,包括第一管路和设置在第一管路上的三通阀,三通阀的进液口与电堆结构的冷却液出口连通,三通阀的一个出液口与过滤装置连通;支换热回路,包括第二管路和设置在第二管路上的换热器,第二管路的入口端与冷却液出口连通,第二管路的出口端与过滤装置连通;过滤装置与燃料电池发动机的散热器的出口连通,过滤装置的补液口与燃料电池发动机的膨胀水箱连通。本实用新型解决了现有技术中热管理系统的整体体积较大、维护难度较大的问题。

飞轮制氢设备及飞轮脱碳系统

NºPublicación:  CN223373248U 23/09/2025
Solicitante: 
深能智慧能源科技有限公司

Resumen de: CN223373248U

本实用新型提供了一种飞轮制氢设备及飞轮脱碳系统,包括:飞轮装置,依次连接的发电单元、电解水制氢装置、储氢装置和氢燃料电池,飞轮装置和氢燃料电池分别与发电单元的输出端相连;发电单元用于为电解水制氢装置输出第一电源;氢燃料电池用于对储氢装置中的一部分氢气进行化学能转换,输出第二电源,飞轮装置用于当第一电源和/或第二电源故障时,输出第三电源,还用于调节第一电源和/或第二电源;所述电解水制氢装置用于对水进行电解,将电解产生的氢气输送至所述储氢装置储存:该设备可以利用飞轮惯性输出特性,保证供电稳定性,从而提高制氢效率,减少投资成本,使得电解水制氢装置小型化和移动化。

燃料电池系统的燃烧室喷嘴及燃烧室

NºPublicación:  CN223375792U 23/09/2025
Solicitante: 
北京有恒能动科技有限公司

Resumen de: CN223375792U

本实用新型涉及燃料电池系统的燃烧室喷嘴,包括内筒体和外筒体,外筒体同轴套设于内筒体外,内筒体的外径小于外筒体的内径,二者之间的环形空间构成旋流阴极尾气进气通道,内筒体内同轴设有钝体,钝体呈筒状,其出气端设有端板,端板上密布有通孔,钝体的外径小于内筒体的内径,钝体与内筒体之间的环形空间构成旋流阳极尾气进气通道,钝体的轴孔构成直流阳极尾气进气通道,钝体内的出气端侧设有节流孔板。本实用新型还涉及采用所述燃烧室喷嘴的燃烧室。本实用新型采用旋流扩散结合钝体稳焰的燃烧方式,实现了燃烧室在气体成分变化复杂、余气系数多变、燃烧热值极低情况下的稳定燃烧,提高了燃烧火焰的稳定性且燃烧室的出口温度分布均匀。

Hybrid sealing of double-sided solid oxide fuel cell stacks

NºPublicación:  PL448042A1 22/09/2025
Solicitante: 
HYDROGENTECH SPOLKA Z OGRANICZONA ODPOWIEDZIALNOSCIA [PL]
HYDROGENTECH SP\u00D3\u0141KA Z OGRANICZON\u0104 ODPOWIEDZIALNO\u015ACI\u0104
PL_448042_A1

Resumen de: PL448042A1

Przedmiotem zgłoszenia jest uszczelnienie hybrydowe stosów dwustronnych stałotlenkowych ogniw paliwowych, które charakteryzuje się tym, że składa się z: uszczelek zewnętrznych (1, 3) umieszczonych na wyprowadzeniach prądowych strony anodowej (6) ogniw DFC (8) i okalających uszczelki wewnętrzne (2), przy czym każda uszczelka zewnętrzna (1), ogniwa DFC (8), posiada na swej powierzchni dwa podłużne otwory (5) przechodzące na wylot przez powierzchnię uszczelki zewnętrznej (1), uszczelek wewnętrznych (2), umieszczonych wokół kolektorów gazowych wlotowych (9) i wylotowych (10), mających postać kanałów, dla kolejnych ogniw DFC (8) w stosie, przy czym uszczelki wewnętrzne (2) cechują się mniejszą podatnością na odkształcenia w porównaniu do uszczelek zewnętrznych (1), a także z zintegrowanych konektorów prądowych, w postaci taśm metalowych (4), przy czym taśmy metalowe (4) są przełożone przez otwory (5) w wybranych uszczelkach zewnętrznych i wyprofilowane równolegle do powierzchni uszczelki zewnętrznej (1) po stronie wyprowadzenia prądowego strony anodowej (6) ogniw DFC (8), natomiast po stronie wyprowadzenia prądowego strony katodowej (7) ogniw DFC (8) taśmy są wyprofilowane równolegle do powierzchni ogniwa DFC (8) oraz łączą wyprowadzenia prądowe strony katodowej (7) pomiędzy dwoma stronami czynnymi ogniwa DFC (8).

DFC fuel cell stack

NºPublicación:  PL448045A1 22/09/2025
Solicitante: 
HYDROGENTECH SPOLKA Z OGRANICZONA ODPOWIEDZIALNOSCIA [PL]
HYDROGENTECH SP\u00D3\u0141KA Z OGRANICZON\u0104 ODPOWIEDZIALNO\u015ACI\u0104
PL_448045_A1

Resumen de: PL448045A1

Przedmiotem zgłoszenia jest stos ogniw paliwowych dwustronnych DFC składający się z przynajmniej dwóch ogniw paliwowych dwustronnych (1), ułożonych jedno na drugim, przy czym ogniwa oddzielone są od siebie uszczelnieniami (2), zaś przez każde ogniwo przechodzą przynajmniej dwa kanały (3, 4), z których przynajmniej jeden (3) doprowadza mieszankę zawierającą paliwo oraz z których przynajmniej jeden (4) odprowadza produkty reakcji utleniania zachodzącej w ogniwach (1), a kolejno ułożone ogniwa (1) oraz otwory w uszczelkach (2) tworzą zbiorcze kanały dostarczające paliwo oraz usuwające produkty utleniania (8, 9), który charakteryzuje się tym, że ogniwa (1) ułożone są naprzemiennie jedno na drugim, tak że z jednej strony stosu występują kolejno po sobie powierzchnie przyłączeniowe anodowe i katodowe sąsiednich ogniw (1) oraz że ujścia (5, 6) kanałów (8, 9) doprowadzających mieszankę zawierającą paliwo odprowadzających produkty reakcji utleniania umieszczone są na tej samej powierzchni bocznej stosu (7). Parametry oporu przepływu paliwa przez kolejne ogniwa paliwowe, maleją wraz ze wzrostem odległości danego ogniwa (1) od ujścia kanałów (5, 6).

燃料电池电堆的故障诊断方法及装置

NºPublicación:  CN120674535A 19/09/2025
Solicitante: 
中国第一汽车股份有限公司
CN_120674535_PA

Resumen de: CN120674535A

本申请涉及燃料电池技术领域,特别涉及一种燃料电池电堆的故障诊断方法及装置,其中,方法包括:检测目标车辆的燃料电池电堆的当前工况,并获取燃料电池电堆的实际平均单体电压、实际单体电压偏差和多个运行特征状态量,以确定多个运行特征状态量对应的诊断参数;根据实际平均单体电压和实际单体电压偏差判断燃料电池电堆是否存在故障,并在燃料电池电堆存在故障的情况下,基于多个运行特征状态量及其对应的诊断参数,诊断燃料电池电堆的实际故障原因。由此,解决了相关技术中燃料电池的故障诊断方法诊断时间过长,无法满足燃料电池车辆的瞬态故障识别需求,且难以精准定位燃料电池故障原因,无法支撑针对性的故障解决方案生成等问题。

磺化二胺单体、磺化聚酰亚胺共聚物、质子交换膜、制备方法及应用

NºPublicación:  CN120664993A 19/09/2025
Solicitante: 
上海交通大学江苏引领者新材料有限公司
CN_120664993_PA

Resumen de: CN120664993A

本发明公开了一种磺化二胺单体、磺化聚酰亚胺共聚物、质子交换膜、制备方法及应用。本发明提供的磺化二胺单体具有磺化芳香侧链,该单体的结构特征在于磺酸基团连接于芳香侧链上,主链采用四联苯结构,赋予材料优异的化学稳定性。本发明的磺化聚酰亚胺共聚物与现有磺化聚酰亚胺材料相比,本发明制备的磺化聚酰亚胺共聚物更易形成稳定的亲‑疏水微相分离结构,所制备的质子交换膜在高温、低相对湿度条件下展现出优异的质子导电性与长期耐久性,在质子交换膜燃料电池等电化学能源领域具有广泛的应用前景和重要的实用价值。

エネルギーシステム

NºPublicación:  JP2025136111A 19/09/2025
Solicitante: 
株式会社フジタ
JP_2025136111_PA

Resumen de: JP2025136111A

【課題】水電解装置を備えたエネルギーシステムにおいて、貯湯タンク層の温度境界層を維持しながら、水電解装置の作動で生じた排熱を有効利用すること。【解決手段】エネルギーシステムは、水電解装置と、水電解装置の作動により生じた熱を取得する水回路と、貯湯タンクと、を含み、貯湯タンクは、上部に所定の温度以上の温度を有する第1温度領域の水を貯蔵し、下部に第1温度領域よりも低い温度を有する第2温度領域の水を貯蔵し、第1温度領域の水と、第2温度領域の水とは、連続して設けられ、下部出口から供給された水回路中の水を水電解装置の作動で生じた熱により加熱し、水回路中の水の温度に基づいて、水回路中の水を上部入口または下部入口のいずれかを介して貯湯タンクに戻す。【選択図】図1

燃料電池装置

NºPublicación:  JP2025136030A 19/09/2025
Solicitante: 
大阪瓦斯株式会社
JP_2025136030_PA

Resumen de: JP2025136030A

【課題】停電時の利便性が高い燃料電池装置を提供する。【解決手段】燃料電池装置100は、筐体10の温度を検出する温度検出部18と、温度検出部18によって検出された筐体10の温度が、予め設定された第1温度以下となった場合に加温装置15を作動させる加温装置制御部16と、単位時間当たりに使用可能な余剰電力量を算出する余剰電力量算出部19と、を備え、加温装置制御部16は、自立状態において、筐体10の温度が第1温度よりも高く、且つ、前記余剰電力量が閾値以上であると判定した場合には、筐体10の温度が第1温度よりも高い状態で加温装置15を作動させる事前加温運転モードに切り替える。【選択図】図1

ホットメルト接着シート

NºPublicación:  JP2025137703A 19/09/2025
Solicitante: 
日東シンコー株式会社
JP_2025137703_PA

Resumen de: JP2025008174A

To provide a hot melt adhesive sheet capable of simultaneously realizing: an adhesive layer sufficiently embedding an outer edge of a solid electrolyte membrane of a polymer electrolyte fuel cell, after adhering the adhesive layer onto the solid electrolyte membrane; and a prevention of uneven thickness of the adhesive layer.SOLUTION: A hot melt adhesive sheet 10 includes an adhesive layer 10b formed with a hot melt adhesive, laminated at least on one side of a base material 10a. The hot melt adhesive includes a cross-linked product of an adhesive composition including a cross-linking agent. The adhesive composition includes a polyester resin, an epoxy resin and an isocyanate-based cross-linking agent. The epoxy resin includes a bisphenol type epoxy resin and a rubber-modified epoxy resin. The bisphenol type epoxy resin has an epoxy equivalent of 450 to 1000 g/eq, inclusive.SELECTED DRAWING: Figure 1

車載用制御装置

NºPublicación:  JP2025136430A 19/09/2025
Solicitante: 
トヨタ自動車株式会社
JP_2025136430_PA

Resumen de: JP2025136430A

【課題】燃料電池による発電電力を外部に給電する際に水素残量が所定残量未満に至ったときに対処する。【解決手段】本開示の車載用制御装置は、燃料電池と、燃料電池に水素を供給する水素タンクと、燃料電池による発電電力を負荷に供給する電力ラインに接続された二次電池と、電力ラインに接続され、燃料電池による発電電力を用いて直流電力による外部給電を行なう直流電力給電器と、電力ラインに接続され、交流電力による外部給電を行なう交流電力給電器と、を備える車両に搭載され、燃料電池と直流電力給電器と交流電力給電器とを制御する車載用制御装置であって、直流電力給電器により外部給電を行なっている最中に水素タンクの水素残量が所定残量未満に至ったときには、直流電力給電器による外部給電を停止すると共に交流電力給電器による外部給電を行ない、直流電力給電器による外部給電から交流電力給電器による外部給電に切り替えた旨を報知する。【選択図】図1

一种锌掺杂亚纳米级铂基催化剂及其制备方法与应用

NºPublicación:  CN120674510A 19/09/2025
Solicitante: 
厦门大学
CN_120674510_PA

Resumen de: CN120674510A

一种锌掺杂亚纳米级铂基催化剂及其制备方法与应用,属于质子交换膜燃料电池技术领域。将铂前驱体、过渡金属元素前驱体、锌前驱体与小分子还原剂以及催化剂载体加入到装有苯甲醇和乙二醇混合溶剂的容器中;将上述混合物于超声仪中超声均匀,然后加热反应;洗涤离心后用酸溶液处理,再次洗涤离心,最后干燥制得催化剂。催化剂尺寸均一且分散均匀;工艺简洁高效;通过改变铂与过渡金属的摩尔比以及锌的掺入量,可合成多种铂基催化剂;催化剂在旋转圆盘电极上和燃料电池膜电极上均展现出优异的催化性能。锌元素掺杂进入铂金属间隙,通过晶格膨胀实现纳米颗粒尺寸的减小和Pt电子结构的优化,减弱ORR过程中中间体的吸附。

一种氢燃料电池用集成湿热交换的一体式空气冷却增湿器

NºPublicación:  CN120674526A 19/09/2025
Solicitante: 
氢质氢离(北京)氢能科技有限公司
CN_120674526_PA

Resumen de: CN120674526A

本发明涉及氢燃料电池领域,具体为一种氢燃料电池用集成湿热交换的一体式空气冷却增湿器,其包括:壳体,壳体内部从左往右依次设置冷却水腔、干空气腔、湿空气腔、干空气腔和冷却水腔,两个干空气腔上分别设置干空气出口和干空气进口,两个冷却水腔上分别设置冷却水进口和冷却水出口,湿空气腔上下两端分别设置湿空气进口和湿空气出口;散热管,两端分别连通两个冷却水腔;以及膜管,套在散热管外,膜管两端连通两个干空气腔。本发明尺寸大幅减小。冷却水与高温干空气可实现逆向流动,提升换热效率。可实现空气冷却与增湿同时进行,保证湿热均衡。冷却管道集成在膜管中间,可提升膜管结构强度。外壳满足绝缘要求,并降低振动失效风险。

燃料气中含CO的多工况高温燃料电池寿命测试方法、系统

NºPublicación:  CN120674536A 19/09/2025
Solicitante: 
中国电建集团华东勘测设计研究院有限公司
CN_120674536_PA

Resumen de: CN120674536A

本发明涉及一种燃料气中含CO的多工况高温燃料电池寿命测试方法、系统。适用于。本发明所采用的技术方案是:一种燃料气中含CO的多工况高温燃料电池寿命测试方法,包括:获取多个时间点下燃料电池的伏安特性曲线、电压电流,以及燃料电池的阻抗信息;获取该多个时间点下燃料电池阳极和阴极尾气的尾气组分和各组分占比;基于多个时间点下燃料电池的伏安特性曲线、电压电流和燃料电池的阻抗信息,确定伏安特性、电压电流和阻抗随时间的变化,进而确定燃料电池的寿命老化速率;基于燃料电池的寿命老化速率,以及多个时间点下燃料电池阳极和阴极尾气的尾气组分和各组分占比,确定燃料电池性能衰减的原因。

一种氢能管理系统及其控制方法

NºPublicación:  CN120674529A 19/09/2025
Solicitante: 
永安行科技股份有限公司
CN_120674529_PA

Resumen de: CN120674529A

本发明提供了一种氢能管理系统及其控制方法,包括,响应于对制/充氢装置的充氢指令,控制制/充氢装置进入充氢模式;读取储氢装置的可读/写存储器以获取储氢装置的初始氢气含量并显示于第一显示模块;充氢增量每间隔充氢增量阈值时,获取储氢装置的当前氢气含量写入可读/写存储器,充氢时间每间隔充氢时间阈值时,读取可读/写存储器获取当前氢气含量显示于第一显示模块;充氢增量达到预设充氢阈值,控制制/充氢装置停止对储氢装置充入氢气,获取当前氢气含量与已充氢次数写入可读/写存储器反馈至服务器,控制制/充氢装置退出充氢模式。采用本发明技术方案后,可以对氢能装置进行实时监控、精准控制以及进行校准,提升氢能管理效率。

電気化学反応セルスタック

NºPublicación:  JP2025135912A 19/09/2025
Solicitante: 
森村SOFCテクノロジー株式会社
JP_2025135912_PA

Resumen de: JP2025135912A

【課題】スタック外へのガスの漏出を抑制する。【解決手段】電気化学反応セルスタックは、空気極と、電解質層と、燃料極とがこの順に重なっている単セルと、燃料ガスが流通する燃料ガス流通空間、および酸化剤ガスが流通する酸化剤ガス流通空間の少なくとも一方に厚み方向に隣り合う、板状をなす複数のセパレータと、を備え、複数のセパレータが、単セルを支持し、燃料ガス流通空間と酸化剤ガス流通空間とを隔てる単セル用セパレータと、燃料ガス流通空間または酸化剤ガス流通空間を外部空間から隔てる部材であって、単セルに電気的に接続され、単セルにおいて生成された電気エネルギーを外部に出力するか、または単セルに外部から電気エネルギーを入力するための端子とは異なる部材である外部セパレータと、を含み、外部セパレータの剛性が単セル用セパレータの剛性よりも高い。【選択図】図5

一种过渡金属-铋复合电极的制备方法及其应用

NºPublicación:  CN120674511A 19/09/2025
Solicitante: 
同济大学
CN_120674511_PA

Resumen de: CN120674511A

本发明属于液流电池能源存储领域,公开了一种过渡金属‑铋复合电极的制备方法及其应用,过渡金属‑铋复合电极的制备方法包括电极预处理、电解液配制、预吸附处理和电沉积步骤,(1)电极预处理为:将碳基电极浸入酸性预处理液中,于30‑60℃超声处理1‑60min,超纯水清洗干净;(2)电解液配制为:按摩尔比ASO4:Bi2O3:Na3C6H5O7:NaBr=2:4:15:150溶于1M的HCl溶剂中,搅拌至澄清;(3)预吸附处理:将预处理后的电极浸入电解液中超声5‑15min,在碳基电极表面形成离子吸附层;(4)电沉积:在惰性气氛保护下,于20‑60℃电位沉积,得到A‑Bi复合电极;其中,A为Cu、Ni、Fe或Mn。通过优化电解液配方、酸性预处理及惰性气氛保护工艺,显著提升了电极的液流性能与稳定性。

内置参比电极及其制备方法和燃料电池

NºPublicación:  CN120674533A 19/09/2025
Solicitante: 
中汽研新能源汽车检验中心(天津)有限公司
CN_120674533_PA

Resumen de: CN120674533A

本发明属于电池测试领域,具体涉及一种内置参比电极及其制备方法和燃料电池。内置参比电极包括参比电极以及设置在所述的参比电极外侧的绝缘层;所述的参比电极两端延伸出所述的绝缘层的部分分别为内接电极以及外接电极;所述的内接电极的端头部分设置有催化剂涂层;本发明设计的内置参比电极,通过参比电极涂敷的催化剂、包裹的绝缘层和合适的插入位置,实现了在电池内部内置参比电极,区别于传统需要将参比电极引出在外部测量。

二氧化碳处理装置、处理方法以及碳化合物的制造方法

NºPublicación:  CN120662223A 19/09/2025
Solicitante: 
本田技研工业株式会社
CN_120662223_PA

Resumen de: US2025296047A1

A carbon dioxide process apparatus includes: a recovery device that includes a carbon dioxide absorption portion which dissolves carbon dioxide in an electrolytic solution of a strong alkali and absorbs the carbon dioxide; an electrochemical reaction device to which the electrolytic solution in which the carbon dioxide is dissolved by the carbon dioxide absorption portion is supplied and which electrochemically reduces the carbon dioxide; an anion exchange type fuel cell that supplies electric energy to the electrochemical reaction device; a carbon dioxide concentration gas supply passage that supplies a carbon dioxide concentration gas generated by the fuel cell to the electrolytic solution which is discharged from the recovery device and before being supplied to the electrochemical reaction device; and a hydrogen supply passage that supplies hydrogen generated by the electrochemical reaction device to the fuel cell.

一种燃料电池总成

NºPublicación:  CN223363163U 19/09/2025
Solicitante: 
安徽瑞氢动力科技有限公司
CN_223363163_U

Resumen de: CN223363163U

本实用新型涉及燃料电池领域,具体来说是一种燃料电池总成,包括假电池本体,所述假电池本体上设有阳极直通流道以及气体通道;所述气体通道内设有水流挡板;本实用新型通过在假电池本体;也就是假电池本体的气体通道内设置挡板结构,方便对从气体通道流动的阳极气体进行的阻挡分离,减少后续进入电堆内气体中的含水量,也就是通过水流挡板的设置,可以以有效的阻挡随着阳极气体进入的随壁面流动的液态水,可以有效将这部分液态水分离出来,液态水随着假电池中的阳极气体进入阳极直通流道直接到达出口,减小对内部单电池的影响以改善燃料电池电堆的单体一致性。

一种全钒液流电池系统及不停机容量恢复装置

NºPublicación:  CN223363174U 19/09/2025
Solicitante: 
中国科学院大连化学物理研究所
CN_223363174_U

Resumen de: CN223363174U

本申请公开了一种全钒液流电池系统及不停机容量恢复装置,属于液流电池领域。本申请在现有全钒液流电池系统基础上增加了旁通管路,并配套设计了用于控制改进型全钒液流电池系统的不停机容量恢复装置,通过设置电池系统充电、电解液温度阈值区间、放电能量阈值,并控制正负极回路及回液旁路,将电解液液面高的一极电解液转移至电解液液面低的一极电解液中,使两极电解液体积恢复至初始状态。本申请可在不停泵、不停止充放电过程中快速完成调节,实现容量的恢复。

Plaque de pile à combustible

NºPublicación:  FR3160274A1 19/09/2025
Solicitante: 
AIR LIQUIDE [FR]
L'AIR LIQUIDE, SOCIETE ANONYME POUR L'ETUDE ET L'EXPLOITATION DES PROCEDES GEORGES CLAUDE
FR_3160274_PA

Resumen de: FR3160274A1

Plaque (1) de pile à combustible destinée à venir au contact d’un Assemblage Membrane Electrodes, la plaque (1) comprenant une face réactive (11) comprenant une zone réactive (2) destinée à faire face à l’Assemblage Membrane Electrodes, une bande de serrage (9), une portion amincie (3) et une zone périphérique d’étanchéité (12), la zone réactive (2) comportant des canaux de circulation pour un réactif, la bande de serrage (9) étant configurée pour entourer au moins partiellement la zone réactive (2) en étant destinée au serrage de l’Assemblage Membrane Electrodes, la zone périphérique d’étanchéité (12) étant configurée pour entourer la bande de serrage (9) en étant destinée à former conjointement avec l’Assemblage Membrane Electrodes, une étanchéité de la pile vis-à-vis du réactif, la portion amincie (3) étant disposée entre la zone périphérique d’étanchéité (12) et la bande de serrage (9). Figure d’abrégé : Fig. 2

FUEL CELL POWER GENERATION MODULE

NºPublicación:  KR20250137941A 19/09/2025
Solicitante: 
현대자동차주식회사기아주식회사
KR_20250137941_PA

Resumen de: US2025293361A1

A fuel cell power generation module includes an accommodation frame defining a first accommodation space, and a first shelf that supports an electric part including a fuel cell, and supported by the accommodation frame to be extracted from the first accommodation space forward thereof.

FUEL CELL SYSTEM

NºPublicación:  KR20250137942A 19/09/2025
Solicitante: 
현대자동차주식회사기아주식회사
KR_20250137942_PA

Resumen de: KR20250137942A

본 발명은 연료전지 시스템에 관한 것으로, 연료전지 스택, 연료전지 스택에서 배출되는 습윤공기를 매개로 연료전지 스택으로 공급되는 공기를 가습하는 가습기, 가습기에 연결되며 가습기에 선택적으로 세정수를 공급하는 세정수 공급라인, 및 가습기에 연결되며 세정수를 가습기의 외부로 배출하는 세정수 배출라인을 포함하는 것에 의하여, 내구성 및 안정성을 향상시키는 유리한 효과를 얻을 수 있다.

Residual Ammonia Purification Device for Ammonia Reformed Hydrogen for Fuel Cells

NºPublicación:  KR20250137909A 19/09/2025
Solicitante: 
주식회사빈센
KR_20250137909_PA

Resumen de: KR20250137909A

본 발명의 실시예에 따른 연료전지용 암모니아 개질 수소의 잔존 암모니아 정제장치는 암모니아가 포함된 수소가 유입되는 수소 유입부 및 내부에 저장된 물과 암모니아의 반응으로 개질된 개질수소가 배출되는 개질수소 배출부가 형성된 챔버; 상기 챔버에 구비되어, 상기 물과 암모니아의 반응에 따른 암모늄이온이 포함된 물의 pH값을 감지하는 농도감지센서; 상기 챔버에 구비되어, 상기 물의 배출이 가능한 밸브; 및 상기 농도감지센서가 감지하는 pH값이 기 설정된 pH설정값인 경우, 상기 밸브를 개방시켜 상기 물을 배출시키도록, 상기 밸브의 제어가 가능한 제어부;를 포함한다.

METHOD OF MANUFACTURING CATALYST AND ELECTRODE USING SUPERCRITICAL FLUID

NºPublicación:  KR20250137786A 19/09/2025
Solicitante: 
한국과학기술연구원
KR_20250137786_PA

Resumen de: US2025286083A1

The present disclosure relates to a method for preparing a catalyst and an electrode using a supercritical fluid. A method for preparing an ink slurry according to the present disclosure allows the preparation of an ink slurry with improved dispersibility in large quantities in a simple and environmentally friendly manner.

电堆

NºPublicación:  CN223363173U 19/09/2025
Solicitante: 
未势能源科技有限公司
CN_223363173_U

Resumen de: CN223363173U

本实用新型提供了一种电堆,电堆具有排水流道以及相互连通的进气歧管流道和出气歧管流道,电堆具有盲端侧,排水流道包括第一子流路和第二子流路,第一子流路的一端与进气歧管流道位于盲端侧的一端连通,第一子流路的另一端与出气歧管流道的出口侧连通,第二子流路的一端与第一子流路连通,第二子流路的另一端与出气歧管流道位于盲端侧的一端连通,第一子流路的流通面积在其与第二子流路的交汇处变小。本实用新型提供的技术方案,通过排水流道和现有电堆的结合实现对电堆内部积水的负压抽吸和排出,避免了现有技术中歧管流道内水不易被排出、易堵塞的问题,保证了电堆再启动的可靠性。

一种热箱

NºPublicación:  CN223363167U 19/09/2025
Solicitante: 
烟台鏊润能源科技有限公司
CN_223363167_U

Resumen de: CN223363167U

本实用新型公开了一种热箱,涉及高温固体氧化物电池电堆技术领域,包括箱体,箱体内设置有空腔,空腔能够容纳电堆,空腔的腔壁内设有保温层,箱体包括至少两个壁板,各壁板之间可拆卸连接形成箱体,箱体用于供高温固体氧化物电堆在高温环境下利用氢作为燃料发电,各壁板之间可拆卸连接,能够很方便的对热箱内部的电堆和高温设备进行维修和更换,也能够很方便的对箱体的各壁板分别进行更换,在空腔的腔壁内设有保温层,提高了热箱的保温性能。

一种可调节的燃料电池中、长堆封装结构

NºPublicación:  CN223363171U 19/09/2025
Solicitante: 
氢质氢离(北京)氢能科技有限公司
CN_223363171_U

Resumen de: CN223363171U

本实用新型涉及燃料电池领域,具体为一种可调节的燃料电池中、长堆封装结构,其包括后金属板和前金属板,后金属板和前金属板之间通过多个长度调节螺栓连接并进行长度调节,后金属板和前金属板之间夹有燃料电池堆;还包括复合连杆,复合连杆两端分别与后金属板以及前金属板连接,复合连杆设置多个,复合连杆内侧弹性挤压燃料电池堆。本实用新型可通过螺栓上的螺纹调节整堆的长度。然后依据不同的电堆宽度和高度选择复合连杆的上绝缘材质与其适配,由于复合连杆上两端有腰孔,通过紧固法兰螺母与后金属板连接,紧固螺钉与前金属板连接,可适应不同电堆的长、宽、高,而且避免了电芯的塌腰和绝缘问题。

一种用于小功率燃料电池气水分离器装置

NºPublicación:  CN223363165U 19/09/2025
Solicitante: 
苏州氢澜科技有限公司
CN_223363165_U

Resumen de: CN223363165U

本实用新型公开了一种用于小功率燃料电池气水分离器装置,包括:下体和上盖,设置在上盖一侧的分离组件,以及设置在下体一侧的冷却组件,上盖的底部与下体的顶部固定连接,下体内开设有储水容腔,分离组件包括:进气管,设置在进气管圆周外壁的密封圈,设置在储水容腔内的丝网层,设置在下体底部的排气排水阀,分离组件的设置,能够实现高效的气水分离效果,储水容腔的容积设置使得氢气流速在进入后迅速降低,便于较大液滴在重力作用下快速沉降,此外,丝网层的目设置,能够有效捕获了‑um的小液滴,进一步提高分离效率。装置本体的分离机制保证从氢气出口排出的气体中基本不含小液滴,从而确保了燃料电池性能的稳定和优化。

一种蒸发重整集成一体化装置及燃料电池系统

NºPublicación:  CN223351639U 19/09/2025
Solicitante: 
山东国创燃料电池技术创新中心有限公司
CN_223351639_U

Resumen de: CN223351639U

本实用新型涉及一种蒸发重整集成一体化装置及燃料电池系统,包括环形的外壳,外壳内设有第一竖向隔板,第一竖向隔板将外壳内空间分隔成蒸发腔和重整腔,重整腔内设有隔板组件以将重整腔分隔成混合腔和反应腔,反应腔内设有第一横向隔板以将反应腔分隔成催化剂腔和位于催化剂腔上方的出气腔,蒸发腔通过隔板组件设有的第一扩散孔与混合腔连通,催化剂腔通过底部的第二扩散孔与混合腔连通,催化剂腔通过第一横向隔板的第三扩散孔与出气腔连通,催化剂腔内置入有催化剂,外壳顶部设有与出气腔连通的出气口,外壳设有与蒸发腔连通的进水口和与混合腔连通的进气口,本实用新型的重整器蒸发腔换热效果好。

储能电站及液流储能罐箱

NºPublicación:  CN223363170U 19/09/2025
Solicitante: 
中集安瑞环科技股份有限公司
CN_223363170_U

Resumen de: CN223363170U

本实用新型提供了一种储能电站及液流储能罐箱。液流储能罐箱包括框架、储液罐、进液管和出液管。储液罐固定在框架内,框架的顶部和底部均设置有角件,以能够固定在运输车上、以及能够相互固定并堆叠,方便液流储能罐箱的运输和安装。储液罐用于盛装电解液,电解液能够随液流储能罐箱一起运输,电解液不需要单独运输。电解液不需要多次转运,有效的减少了电解液泄露的概率,安全性高。同时减少了对环境造成的污染。液流储能罐箱能够通过角件相互堆叠,减小储能电站的占用面积。储能电站的结构,能够通过添加液流储能罐箱,并将液流储能罐箱的堆叠,实现储能电站储能容量的扩容,提高储能电站建设效率,降低成本,实现大型液流储能电站的便捷运输和安装。

一种甲酸制氢燃料发电系统

NºPublicación:  CN223357402U 19/09/2025
Solicitante: 
厦门固洛潽能源科技有限公司厦门大学
CN_223357402_U

Resumen de: CN223357402U

本实用新型公开了一种甲酸制氢燃料发电系统,包括制氢箱体、设置于制氢箱体内的裂解反应单元、换热单元、过滤单元、发电单元、控制单元以及位于制氢箱体外侧的提纯单元;制氢箱体内设有第一层板、第二层板和第三层板;通过裂解反应单元使甲酸在催化剂的作用下制得混合气体;通过过滤单元得到富氢气体,通过提纯单元进行提纯后得到高纯度氢气,实现对发电单元供氢发电;通过在制氢箱体内设置多个层板,并将多个制氢工作单元有序安装在多个层板上,使制氢系统的多个工作单元紧密排布在制氢箱体内,使制氢系统整体结构更加紧凑,缩小了整体结构的体积,减少了制氢系统的占地面积,无需在限定的大面积场景也能够使用,便携性更强,使用更加方便。

一种双极板结构及质子交换膜燃料电池

NºPublicación:  CN223363162U 19/09/2025
Solicitante: 
苏州云帆氢能科技有限公司
CN_223363162_U

Resumen de: CN223363162U

本实用新型属于电池技术领域,公开了一种双极板结构及质子交换膜燃料电池,双极板结构用于质子交换膜燃料电池,双极板结构包括极板本体及多孔网,极板本体具有朝向膜电极设置的第一表面和第二表面,多孔网安装于极板本体的第一表面和/或第二表面,多孔网为覆盖膜电极设置的导电件。该双极板结构能够实现对膜电极的良好支撑,增强气体的扩散性,有利于提高膜电极的性能,还能够避免在长时间使用后膜电极边框由于软化嵌入进流道内部的现象,有利于提升膜电极的性能,从而提高了质子交换膜燃料电池的耐久性。

一种盘式汽水分离器

NºPublicación:  CN223351248U 19/09/2025
Solicitante: 
苏州市华昌能源科技有限公司
CN_223351248_U

Resumen de: CN223351248U

本实用新型公开了一种盘式汽水分离器,包括柱形的且具有螺旋形内腔的主体、设于主体外侧周面的进气部、设于主体上端面的出气部、设于主体下端面的排液部,进气部、出气部和排液部分别与主体连通;螺旋形内腔中的各圈等高设置,且各圈自外而内的螺旋半径逐渐减小,进气部与螺旋形内腔的最外圈连通,出气部和排液部分别与螺旋形内腔的最内圈连通。本实用新型盘式汽水分离器,通过在柱形的主体中设置各圈高度相同的螺旋形内腔,整体流阻较小,且在相同的空间中延长了汽水分离路径,提高了汽水分离效率;螺旋形内腔的螺旋半径自外而内逐渐减小,使液态水在分离过程中受到的离心力逐渐变大,能够进一步提高汽水分离效率。

撬装式液流储能电站

NºPublicación:  CN223363169U 19/09/2025
Solicitante: 
中集安瑞环科技股份有限公司
CN_223363169_U

Resumen de: CN223363169U

本公开属于液流储能技术领域,具体涉及一种撬装式液流储能电站,撬装式液流储能电站包括罐体及积液件,框架具有容置空间;框架的底部设有镂空区,镂空区与容置空间相通;罐体设置于容置空间内;积液件设置于镂空区,并与框架连接;积液件上设有顶部开口的积液槽;其中,罐体在框架的底部上的正投影位于积液槽内,积液槽用于收集罐体泄漏的液体。本公开通过在罐体底部设置积液件,以用于收集罐体泄漏的液体,减少或避免因液体外漏而造成的环境污染、以及造成人身损害的问题。

一种液流电池单元

NºPublicación:  CN223363161U 19/09/2025
Solicitante: 
大力储能技术湖北有限责任公司
CN_223363161_U

Resumen de: CN223363161U

本实用新型提出了一种液流电池单元,包括板框以及设置在板框上的双极板,双极板上覆盖有流道板组成;所述板框中设有朝向于流道板方向的定位结构,流道板上开设有配合于定位结构的适配结构。该液流电池单元,通过在板框中设置朝向流道板方向的定位结构,以及在流道板上开设有配合定位结构的适配结构,可以有效地对流道板进行精确定位。这种设计减少了因流道板材料收缩导致的尺寸偏差问题,从而提高了装配的精度和效率。

一种储能集装箱

NºPublicación:  CN223363172U 19/09/2025
Solicitante: 
河北建投中航塞罕绿能科技开发有限公司河北建投钒晟储能科技有限公司
CN_223363172_U

Resumen de: CN223363172U

本实用新型涉及一种储能集装箱,包括外壳和位于外壳内的电堆、逆变器、控制装置、冷却系统和电气配件,电堆的底部设有支撑装置,支撑装置包括底座和支撑座,底座的上端面设有凹槽,电堆位于凹槽内,底座的下底面固定设有若干移动装置,支撑座上设有滑槽,移动装置可滑动地位于滑槽内,滑槽的两端设有卡件,底座的前后端面设有把手。本实用新型的储能集装箱,在储能集装箱中的电堆底部安装支撑装置,该装置可便于维修人员对电堆进行维修或更换等操作,且占用较小的空间即可通过简单的操作完成上述操作。

一种集装箱式液流电池储能装置

NºPublicación:  CN223363168U 19/09/2025
Solicitante: 
大力储能技术湖北有限责任公司
CN_223363168_U

Resumen de: CN223363168U

本实用新型提出了一种集装箱式液流电池储能装置,包括箱体,所述箱体内设有正极储罐、负极储罐、至少一个电堆、电解液循环管道和电解液循环泵,所述电堆的正极、负极分别与正极储罐、负极储罐通过对应的电解液循环管道和电解液循环泵连接;所述箱体内还设有与电堆连接的BMS组件和PCS组件,所述BMS组件用于监测及控制电堆的运行工况,所述PCS组件用于控制电堆的充放电过程。本实用新型通过将正极储罐、负极储罐、电堆、循环管道、循环泵、BMS组件、PCS组件集成安装在箱体内,通过内部合理且紧凑的布局,提高了系统集成度,减少了系统外围设备的安装及土建施工,整套系统主体框架采用标准集装箱制作,便于产品标准化、方便运输及吊装,缩短项目工期。

燃料电池膜电极组件贴合治具

NºPublicación:  CN223363164U 19/09/2025
Solicitante: 
山东国创燃料电池技术创新中心有限公司
CN_223363164_U

Resumen de: CN223363164U

本实用新型属于燃料电池技术领域,公开了燃料电池膜电极组件贴合治具,该燃料电池膜电极组件贴合治具包括治具本体,治具本体设置于边框远离膜电极的一侧,治具本体开设有第一密封槽和活性凹槽,第一密封槽环设于活性通道的开口,第一密封槽用于卡接第一密封件,第一密封件能够容纳于第一密封槽内,位于活性通道的膜电极在活性凹槽槽底所在平面的正投影位于活性凹槽内,完成膜电极组件的密封贴合,治具本体对贴合过程中的带有第一密封件的边框进行高度补偿及贴合过程中的定位,避免第一密封件错位或受力不均而导致密封不良。

一种电解液速热装置

NºPublicación:  CN223363166U 19/09/2025
Solicitante: 
中国长江三峡集团有限公司
CN_223363166_U

Resumen de: DE202024105102U1

Schnellheizvorrichtung für Elektrolyt, dadurch gekennzeichnet, dass sie Folgendes umfasst:eine Rohrbaugruppe (1), wobei die Rohrbaugruppe (1) einen Elektrolyteinlass an einem Ende und einen Elektrolytauslass am anderen Ende aufweist;eine Heizbaugruppe (2), wobei die Heizbaugruppe (2) in der Rohrbaugruppe (1) vorgesehen ist und ein Heizgerät (21) umfasst, wobei das Heizgerät (21) Folgendes umfasst: einen Heizkörper (211) und mehrere Heizblechen (212), die an der Außenwand des Heizkörpers (211) vorgesehen sind;und eine Strömungsgeschwindigkeitssteuerbaugruppe, wobei die Strömungsgeschwindigkeitssteuerbaugruppe ein erstes an dem Elektrolyteinlass angeordnetes Strömungsgeschwindigkeitssteuerelement (31) und ein zweites an dem Elektrolytauslass angeordnetes Strömungsgeschwindigkeitssteuerelement (32) umfasst, und die Heizbaugruppe (2) zwischen dem ersten Strömungsgeschwindigkeitssteuerelement (31) und dem zweiten Strömungsgeschwindigkeitssteuerelement (32) angeordnet ist.

一种离子传导膜及其制备方法、应用

NºPublicación:  CN120674521A 19/09/2025
Solicitante: 
湖南大学
CN_120674521_PA

Resumen de: CN120674521A

本发明公开了一种离子传导膜及其制备方法、应用。其制备方法包括如下步骤:将聚苯并咪唑类聚合物与聚芳基哌啶溶解在有机溶剂中,得到铸膜液;将铸膜液浇铸成膜后,得到离子传导膜。本发明中采用聚芳基哌啶与聚苯并咪唑类聚合物进行共混制备得到离子传导膜,可以提高聚苯并咪唑类离子传导膜的吸酸和吸水能力,进而有利于质子的传递;而且采用聚芳基哌啶与聚苯并咪唑类聚合物共混的方法制备离子传导膜,不仅保留了聚苯并咪唑类聚合物优异的离子选择性,还大幅提升了膜的质子传导率。

一种非等比高熵尖晶石型质子陶瓷燃料电池阴极材料及其制法与应用

NºPublicación:  CN120674516A 19/09/2025
Solicitante: 
江苏科技大学江苏科技大学海洋装备研究院
CN_120674516_PA

Resumen de: CN120674516A

本发明公开了一种非等比高熵尖晶石型质子陶瓷燃料电池阴极材料及其制法与应用,电池阴极材料化学式为(MnFeCo)(3‑x‑y‑z)/3NixZnyCuzO4,其中,0

一种燃料电池水冷型汽水分离器

NºPublicación:  CN120674527A 19/09/2025
Solicitante: 
安徽瑞氢动力科技有限公司
CN_120674527_PA

Resumen de: CN120674527A

本发明公开了一种燃料电池水冷型汽水分离器,涉及燃料电池设备技术领域,包括设置在燃料电池的阳极进口处的冷凝箱,所述冷凝箱内设有对混合气体进行冷却的冷却组件,所述冷凝箱上设有供混合气体进入的气体进口,所述冷凝箱上设有供混合气体流出的气体出口。混合气体通过气体进口进入冷凝箱中,冷凝箱中的冷却组件对冷凝箱中的混合气体进行冷凝工作,从而使得混合气体在冷却中进行水汽分离,冷凝后的混合气体通过气体出口从冷凝箱中排出进入燃料电池堆的阳极中进行工作,降低进入燃料电池堆的阳极中混合气体中的水汽含量,从而使得燃料电池的效率更高,实用性更高。

燃料电池故障诊断与恢复方法、装置、设备及介质

NºPublicación:  CN120674534A 19/09/2025
Solicitante: 
中国第一汽车股份有限公司
CN_120674534_A

Resumen de: CN120674534A

本申请涉及燃料电池技术领域,特别涉及一种燃料电池故障诊断与恢复方法、装置、设备及介质,其中,方法包括:获取目标燃料电池在预设诊断周期下的单体电压和偏移差;获取目标燃料电池在预设诊断周期下的实际电流,并根据实际电流计算第一至第四诊断基准值;根据平均单体电压、偏移差、第一至第四诊断基准值判断目标燃料电池的故障等级;获取目标燃料电池的当前运行参数,根据当前运行参数与故障等级判断是否出现预设故障类型;在发生任一预设故障时,获取当前故障的实际持续时间,根据实际持续时间调控第一至第三优先级恢复策略中的至少一项。由此,解决了现有燃料电池故障诊断方法诊断进度低,且无法依据诊断结果进一步给出恢复策略等问题。

具有三周期极小曲面结构的固态电解质和固体氧化物燃料电池及其制备方法

NºPublicación:  CN120674541A 19/09/2025
Solicitante: 
江淮前沿技术协同创新中心上海应用技术大学
CN_120674541_PA

Resumen de: CN120674541A

本发明公开了一种具有三周期极小曲面结构的固态电解质和固体氧化物燃料电池及其制备方法,所述固态电解质具有三周期极小曲面结构,所述三周期极小曲面结构为P‑cell结构、IWP结构或者Neovius结构。本发明提供的固态电解质,气体更方便流入结构内部发生电化学反应,能够大幅增加电极‑电解质的界面接触面积,可以提供更多三相边界(TPB),促进氧还原(阴极)和燃料氧化(阳极)反应,提升单位面积的电化学活性,降低极化阻抗。

电解电堆、双极板和钒电解液价态调整装置

NºPublicación:  CN120674528A 19/09/2025
Solicitante: 
中国恩菲工程技术有限公司中国有色工程有限公司
CN_120674528_PA

Resumen de: CN120674528A

本发明提出一种电解电堆、双极板和钒电解液价态调整装置。本发明电解电堆包括:两个端板和电解槽组,两个端板在第一方向上位于电解槽组的两侧,电解槽组包括阴极板,阴极板由碳材料制成;阳极板,阳极板由金属材料制成;离子交换膜,阴极板、离子交换膜和阳极板沿第一方向依次设置,阴极板与离子交换膜限定出阴极电解液室,阳极板与离子交换膜限定出阳极电解液室,其中电解槽组具有正极液进入通道、正极液排出通道、负极液进入通道和负极液排出通道,正极液进入通道和正极液排出通道与阳极电解液室连通,负极液进入通道和负极液排出通道与阴极电解液室连通。根据本发明的电解电堆使用寿命长、导电性好、成本低和耐腐蚀。

基于燃料电池的氢气变压循环系统

NºPublicación:  CN120674525A 19/09/2025
Solicitante: 
大连森阳氢能源科技有限公司
CN_120674525_A

Resumen de: CN120674525A

本发明提供了一种基于燃料电池的氢气变压循环系统,属于燃料电池流体循环的技术领域,适用于电堆,包括气循环单元、水循环单元和控制单元,气循环单元包括罐A和罐B,罐A的出气口和罐B的出气口与电堆的氢气入口连通,罐A的进气口和罐B的进气口与电堆的氢气出口连通,罐A的进水口和罐B的进水口与电堆的冷却水出口连通;水循环单元包括依次连接的换热器和循环水泵,换热器分别与罐A的出水口和罐B的出水口连通,换热器连通于电堆的冷却水入口和电堆的冷却水出口;控制单元与罐A和罐B连接,用于控制所述罐A和所述罐B两者的出气口、进气口、进水口开闭。本发明中循环氢气增压范围宽、适应更宽功率范围的变化要求和降低了寄生功率。

一种双极板成型工艺

NºPublicación:  CN120674520A 19/09/2025
Solicitante: 
苏州新弘能新能源科技有限公司
CN_120674520_A

Resumen de: CN120674520A

本发明公开了一种双极板成型工艺,属于双极板制造技术领域,包括Fe‑O微合金化钛合金原料制备、采用冲压成型工艺制备双极板胚材、成形后的双极板胚材利用UCM超声波清洗去除油污,利用CCD视觉检测厚度均匀性、采用磁控溅射与离子源复合PVD镀膜机进行涂层沉积得到双极板。本发明中微量Y元素的添加通过选择性吸附在晶界,降低晶界能并抑制有害杂质偏聚,从而提高材料的晶界结合强度。这种晶界净化效应与Fe‑O合金的相变增塑形成协同作用,使材料在保持高韧性的同时,提高抗拉强度,满足双极板的机械强度要求。

一种燃料电池的活化方法、装置、车辆和存储介质

NºPublicación:  CN120663807A 19/09/2025
Solicitante: 
长城汽车股份有限公司
CN_120663807_PA

Resumen de: CN120663807A

本申请提供了一种燃料电池的活化方法、装置、车辆和存储介质,该方法应用于车辆领域,该方法包括:在车辆的燃料电池需要进行活化的情况下,判断车辆的动力电池是否存在用于存储燃料电池在活化过程中转化得到的电能的存储空间;若动力电池存在用于存储燃料电池在活化过程中转化得到的电能的存储空间,则判断是否满足当前工况对应的预设活化条件;若满足预设活化条件,则控制燃料电池进行活化。该方法能够在控制燃料电池活化的同时,避免能源浪费。

一种环状氮氧自由基类正极电解液及中性水系有机液流电池

NºPublicación:  CN120674519A 19/09/2025
Solicitante: 
西安交通大学
CN_120674519_PA

Resumen de: CN120674519A

本发明公开了一种环状氮氧自由基类正极电解液及中性水系有机液流电池,属于有机液流电池技术领域。该正极电解液将现有支持电解质中的卤素离子(如氯离子)替换为硫酸根离子和双(三氟甲磺酰)亚胺离子等阴离子组成的无机盐,避免了氯离子在充放电过程中引发的析出副反应。硫酸盐和双(三氟甲磺酰)亚胺盐不仅具有更宽的电化学稳定窗口,而且其阴离子对自由水结构具有调控作用,有利于形成更稳定的溶剂化水环境,减少H+和OH‑的强溶剂化行为,抑制电解液中水的分解反应,提高体系对pH波动的耐受能力,拓宽电解液的工作电位窗口,提升液流电池在中性或近中性条件下的运行稳定性与电化学性能。该方案为构建高稳定性、高安全性的水系有机液流电池提供了新的材料设计思路和应用基础。

一种水系多硫化物液流电池负极生物炭浆料的制备方法及其产品和应用

NºPublicación:  CN120674509A 19/09/2025
Solicitante: 
东南大学
CN_120674509_PA

Resumen de: CN120674509A

本发明公开了一种水系多硫化物液流电池负极生物炭浆料的制备方法及其产品和应用。所述方法包括如下步骤:(1)以生物质为原料,经活化剂活化和高温热解,制备具有高比表面积和多级孔结构的多孔生物炭;(2)将所述多孔生物炭与金属前驱体和氮源混合后高温热解,构建负载金属单原子的催化碳材料;(3)将所述催化碳材料与多硫化物水溶液、分散剂按比例混合,经搅拌和超声分散,获得催化多孔生物炭浆料负极。本发明制备方法简便、环境友好,所得浆料为半固态悬浮体系,可承载溶解态与非溶解态硫物种,克服传统液相体系受限于溶解穿梭等问题,进一步提高了电池的能量密度与活性物质利用效率,适用于高性能液流储能装置。

基于氮化硼-氧化锆复合固态电解质的双离子传导膜

NºPublicación:  CN120674542A 19/09/2025
Solicitante: 
中国第一汽车股份有限公司
CN_120674542_PA

Resumen de: CN120674542A

本发明提供一种基于氮化硼‑氧化锆复合固态电解质的双离子传导膜,原材料包括如下组分,六方氮化硼纳米片12xg,氧化锆纳米颗粒8xg,质子导体5xg,粘结剂150xg,硅烷偶联剂800xml,x>0;其制备方法为:原材料预处理;溶液共混制备复合浆料;球磨至特定粒径;离聚物嫁接形成共价键;流延成膜;膜片堆叠热压交联;活化处理,得到双离子传导膜。本发明双离子传导膜可实现高离子迁移率,实现氧离子电导率0.12 S/cm@800℃,还能使机械强度达到500MPa以上,同时还具备优异的界面稳定性,显著增强电解质层的结构稳定性与抗蠕变能力,延长燃料电池运行寿命。

一种燃料电池双极板涂层及其制备方法

NºPublicación:  CN120666300A 19/09/2025
Solicitante: 
嘉兴敏惠汽车零部件有限公司
CN_120666300_PA

Resumen de: CN120666300A

本发明提供了一种燃料电池双极板涂层及其制备方法,涉及燃料电池技术领域,该燃料电池双极板涂层,包括在双极板基材上依次沉积的金属底层、过渡层和表面层,金属底层为Ti、Cr、Zr、Nb、Ta、W、Mo中的一种,过渡层由金属Ti、Cr、Zr、Nb、Ta、W、Mo对应离子中的一种或多种,表面层由非金属成分C、N、Si中的一种组成。通过各层的协同作用,显著提升了燃料电池双极板的导电性、耐腐蚀性、机械强度和长期稳定性。

燃料电池系统

NºPublicación:  CN120674537A 19/09/2025
Solicitante: 
本田技研工业株式会社
CN_120674537_PA

Resumen de: CN120674537A

本发明提供一种燃料电池系统,具备:燃料电池堆,其利用阳极流道的阳极气体和阴极流道的阴极气体进行发电;阳极供给流道,其向阳极流道供给阳极气体;阴极供给流道,其向阴极流道供给阴极气体;阳极排出流道,其供从阳极流道排出的阳极排出流体流动;阴极排出流道,其供从阴极流道排出的阴极排出流体流动;流体合流部,其使流经阳极排出流道的阳极排出流体和流经阴极排出流道的阴极排出流体合流;排出管,其将在流体合流部合流了的合流流体导向外部;阳极排出阀,其控制阳极排出流体朝向流体合流部的流动;以及控制部,其控制阳极排出阀的开闭。控制部取得合流流体的氢浓度,在燃料电池堆的发电量为规定的发电阈值以下的情况下,以重复进行打开基于氢浓度的规定的打开时间后关闭的开闭动作的方式控制阳极排出阀的开闭。

再生型燃料电池系统

NºPublicación:  CN120674524A 19/09/2025
Solicitante: 
本田技研工业株式会社
CN_120674524_PA

Resumen de: CN120674524A

本发明涉及再生型燃料电池系统。在执行氢升压装置(18)和水电解装置(12)的卸压处理时,使向燃料电池(22)供给氢气或者氧气的开闭阀(47、48、49、50)为打开的状态,并且将供给用减压阀(51、52)的设定压力调整为比旁通用减压阀(56、58)的设定压力低的值。在气体卸压区域(81、82)残存的气体经由旁通用减压阀(56、58)被供给至燃料电池(22)。

一种多堆燃料电池混合动力系统分层能量管理方法

NºPublicación:  CN120674668A 19/09/2025
Solicitante: 
西南交通大学
CN_120674668_PA

Resumen de: CN120674668A

本发明公开一种多堆燃料电池混合动力系统分层能量管理方法,包括步骤:获取系统各燃料电池、各锂电池与各超级电容衰退状态与实时最大效率;利用解耦式特征聚类神经网络,将相似衰退程度与最大效率的燃料电池、锂电池与超级电容划分至一个区域,从而将系统整体划分为若干区域;以燃料电池瞬时效率、系统等效氢耗、各动力单元瞬时衰退速率、锂电池与超级电容SOC和燃料电池运行温度构建嵌套型深度强化学习控制器,实现各区域最优能量管理;对所有区域的能量管理结果进行系统级协调调度,通过中央功率协调模块实现跨区域功率平衡与边界条件约束。本发明实现多堆混合动力系统系统在轨道交通车辆等大功率、高可靠性应用场景下的高效运行与寿命保护。

一种基于氢燃料电池的冷却系统

NºPublicación:  CN120674523A 19/09/2025
Solicitante: 
邢台恒金科技有限责任公司
CN_120674523_PA

Resumen de: CN120674523A

本发明公开了一种基于氢燃料电池的冷却系统,属于氢燃料电池领域,所述冷却系统包括冷却箱和封盖,所述冷却箱的内部固定连接有隔板,所述隔板的顶部放置有氢燃料电池本体,所述冷却箱的内侧设置有调节组件,所述调节组件的一侧设置有固定板,所述封盖的中部设置有散热组件;该基于氢燃料电池的冷却系统,通过设置散热组件,可以在氢燃料电池冷却的过程中,不仅能够配合进气口和散热口对氢燃料电池本体进行吹风式散热降温,而且也能够对回流管内部的高温冷却液进行降温,同时配合导热组件和金属固定板,可以利用冷却液对氢燃料电池本体的表面进行流动吸热降温,加快了吸热的速度,从而提高了氢燃料电池的冷却效果。

一种基于非对称性掺杂的电催化剂及其制备工艺

NºPublicación:  CN120674517A 19/09/2025
Solicitante: 
深圳大学
CN_120674517_PA

Resumen de: CN120674517A

本发明公开了一种基于非对称性掺杂的电催化剂及其制备工艺,涉及电催化技术领域,其技术要点为:本发明通过选择六方晶系等非立方结构材料,利用其非对称八面体位点的空间差异性,引入非金属元素进行间隙掺杂,定向调控局域电子结构,形成高活性催化位点;同时,非对称结构可引入非对称性晶格应力效应,在单一催化剂表面形成差异化活性位点,优化对反应中间体(如*HCOO、*CO)的吸附强度,抑制CO毒化作用,实现催化活性与稳定性的协同优化;解决了现有技术中对称性位点掺杂活性不足、金属掺杂稳定性差、非立方晶系材料设计缺失等问题。

基于硫化镉二氧化钛复合光阳极的光催化燃料电池及应用

NºPublicación:  CN120674507A 19/09/2025
Solicitante: 
东江环保股份有限公司
CN_120674507_PA

Resumen de: CN120674507A

本发明涉及基于硫化镉二氧化钛复合光阳极的光催化燃料电池及应用,涉及新型光电极材料制备技术领域,电池采用连续离子沉积法制备具有特定层数的CdS量子点修饰TiO2光阳极,通过与铂阴极、离子交换膜构成协同系统。光阳极中CdS量子点层数与粒径的精确控制,构建高效异质结结构,最大化提升可见光利用与电荷分离效率;利用含羧基有机物燃料在光阳极表面形成化学键合作用,显著加速电子传输路径;实现有机废水降解与电能同步输出的双重功能,并保持长期运行稳定性。该技术为工业有机废水资源化处理提供高效低耗解决方案。

一种氢动力车热管理系统

NºPublicación:  CN120674522A 19/09/2025
Solicitante: 
安徽瑞氢动力科技有限公司
CN_120674522_PA

Resumen de: CN120674522A

本发明公开了一种氢动力车热管理系统,包括固态储氢瓶,所述固态储氢瓶包括储氢瓶内胆、绝缘加热膜以及储氢瓶外壳;所述绝缘加热膜贴在储氢瓶内胆上,所述储氢瓶外壳和储氢瓶内胆之间形成换热腔体,储氢瓶外壳上设有与腔体相连通的进水口和出水口。将固态储氢瓶的瓶身做层状功能结构,内胆层用于形成容器用来储氢,内胆层外包覆绝缘加热膜,在低温启动前先使用电加热给氢瓶加热;最外层与内单层之间形成内腔,用于流通外部进入的热流体,可以持续的给氢瓶补充因释放氢气需要的热量,使氢瓶保持在最佳的工作温度状态;其利用系统余热和电加热结合方式解决低温下固态储氢瓶氢气释放能力弱的问题;并且结构紧凑,容易实现,安全可靠。

一种改性纳米氧化铈及其制备方法和应用

NºPublicación:  CN120674538A 19/09/2025
Solicitante: 
武汉绿动氢能能源技术有限公司国家电投集团氢能科技发展有限公司
CN_120674538_PA

Resumen de: CN120674538A

本申请属于燃料电池技术领域,具体涉及一种改性纳米氧化铈及其制备方法和应用。本申请所述改性纳米氧化铈包括纳米氧化铈和包覆纳米氧化铈的导电材料层。本申请的有益效果包括:本申请所述改性纳米氧化铈中的抗氧化剂纳米氧化铈被导电材料包裹,在制备质子交换膜浆料时,纳米氧化铈可在质子交换膜浆料中均匀分布且其含量可精准控制,能更有效的消耗质子交换膜内各位置生产的自由基,减少自由基对质子膜中磺酸基团和碳氟主链的氧化降解,延缓质子交换膜变薄、穿孔或质子传导率下降的问题。同时,纳米氧化铈的储水能力可缓解膜脱水导致的脆化和裂纹,延长质子交换膜在极端工况下的寿命。

一种燃料电池系统的动态协同控制方法

NºPublicación:  CN120674531A 19/09/2025
Solicitante: 
武汉理工大学
CN_120674531_PA

Resumen de: CN120674531A

本发明公开了一种燃料电池系统的动态协同控制方法,包括以下步骤:以最小化燃料消耗成本、最大化燃料电池寿命为目标构建多目标优化函数,根据燃料电池的实时状态对多目标优化函数进行求解,得到燃料电池的最优功率参考轨迹;基于燃料电池的状态和扰动源构建扰动模型,将多维度的扰动模型压缩为多面体可行域,得到扰动源的作用范围;根据扰动源的作用范围计算鲁棒预测控制模型的管域半径,根据设定的安全裕度对管域半径进行收缩;将最小化功率轨迹跟踪误差、控制量变化惩罚和管域违反惩罚作为鲁棒预测控制模型的优化目标,通过收缩后的管域半径约束鲁棒预测控制模型,鲁棒预测控制模型输出燃料电池的电流密度指令。

贵金属催化剂及其筛选方法和膜电极

NºPublicación:  CN120662548A 19/09/2025
Solicitante: 
苏州擎动动力科技有限公司
CN_120662548_PA

Resumen de: CN120662548A

一种贵金属催化剂及其筛选方法和膜电极,属于氢燃料电池领域。贵金属催化剂的筛选方法包括:贵金属催化剂选自铂单质催化剂、金单质催化剂、钯单质催化剂、铂碳催化剂、金碳催化剂或钯碳催化剂,根据贵金属催化剂的XRD谱图,获得贵金属的(111)晶面对应的衍射峰的第一半高宽、以及获得通过高斯函数拟合的(111)晶面对应的衍射峰的第二半高宽,根据第一半高宽和第二半高宽的差值小于0.4度,筛选出符合XRD谱图要求的贵金属催化剂。其中,该筛选方法能够低成本、快速筛选获得大颗粒贵金属粒子很少,粒径较为均一的贵金属催化剂,且该贵金属催化剂具有较好的催化活性和耐久性。

一套用于扁管式固体氧化物燃料电池集流体表面处理工艺的制具

NºPublicación:  CN120666417A 19/09/2025
Solicitante: 
北京理工大学
CN_120666417_PA

Resumen de: CN120666417A

本发明公开了一套用于扁管式固体氧化物燃料电池集流体表面处理工艺的制具,涉及固体氧化物燃料电池技术领域。该制具包括碱洗工装、电泳工装以及浸渍工装;碱洗工装包括碱洗槽,两个第一阴极板,以及两个第一阴极板之间设置的集流网兜;电泳工装包括电泳槽,两个第二阴极板,两个第二阴极板之间水平设置的阳极板;阳极板底部设置有多个挂钩;浸渍工装包括浸渍槽,浸渍槽内设置的浸渍网兜。本发明通过网兜式碱洗和浸渍工装结构,消除前处理和浸渍工段中机械应力引起的集流体形变;并采用挂钩式电泳工装,实现异形集流体的稳定夹持与浆料均匀覆盖。

空气电极材料及其制备方法、质子陶瓷电池及其制备方法

NºPublicación:  CN120664602A 19/09/2025
Solicitante: 
广东电网有限责任公司广州供电局
CN_120664602_PA

Resumen de: CN120664602A

本发明提供了一种空气电极材料及其制备方法、质子陶瓷电池及其制备方法,上述空气电极材料的制备方法包括:首先,按照化学计量比将水溶性钡盐、水溶性非钡金属盐和去离子水混合均匀后加入络合剂,经调pH值处理后得到混合溶液;其次,对混合溶液进行油浴加热处理,得到前驱体凝胶;再次,对前驱体凝胶进行加热干燥处理,粉粹后得到前驱体粉末;最后,对前驱体粉末进行高温煅烧处理,得到空气电极材料;本发明采用溶胶凝胶法制备的空气电极材料应用于制备的质子陶瓷电池在组装完成且正式工作前,空气电极层与电解质层仅相邻而未紧密接触,以使质子陶瓷电池后续可通过热电耦合诱导空气电极层实现自烧结,从而简化制备步骤并降低制作成本。

含氢综合能源系统多目标协同优化调度方法

NºPublicación:  CN120675186A 19/09/2025
Solicitante: 
中国石油大学(华东)
CN_120675186_PA

Resumen de: CN120675186A

本发明提供了一种含氢综合能源系统多目标协同优化调度方法,通过建立含电解制氢、氢制甲烷、氢转电、碳捕集、储氢以及热电掺氢的氢能多元化利用模型,充分消纳富余的风电新能源;在此基础上,兼顾经济性和低碳性,建立以总运行成本最小和碳排放量最小为目标的含氢综合能源系统多目标优化调度模型,结合ε‑约束法和TOPSIS决策法求解模型,促进综合能源系统量质协同运行。在燃气掺氢比固定的情况下,随着CHP机组掺氢比的提高,总成本和碳排放量呈现下降趋势,当掺氢比达到最高20%时,IES的经济效益和环境效益表现最佳。相比于传统IES的优化调度问题,多目标优化更能促进IES的量质协同运行,提升综合能源系统的整体性能,可广泛应用推广。

千瓦级SOFC热电联供系统的气热电平衡管控方法和系统

NºPublicación:  CN120674530A 19/09/2025
Solicitante: 
北京京能数字科技有限公司北京高新技术创业投资有限公司
CN_120674530_PA

Resumen de: CN120674530A

本发明公开一种千瓦级SOFC热电联供系统的气热电平衡管控方法和系统,属于固体氧化物燃料电池领域,所述方法包括:根据SOFC电堆、换热器、重整器和催化燃烧器的结构参数与设计工况设定初始运行参数,并通过集成控制器生成模块启停协调指令,控制各模块在启停过程中的温度和压力变化;通过传感器实时监测系统运行数据,采用多维数据融合算法进行实时诊断,识别过燃、过空、飞温等异常状态;根据诊断结果,通过多变量动态调控策略调整燃料流量、空气流量及换热功率等,以控制堆温波动并生成飞温预警信号。该方法通过优化气热电平衡管控,提升了SOFC热电联供系统的整体稳定性与效率。

片、密封材、燃料电池、电解池、片的制造方法及密封材的制造方法

NºPublicación:  CN120677047A 19/09/2025
Solicitante: 
霓佳斯株式会社
CN_120677047_PA

Resumen de: TW202440320A

Provided are a sheet and a sealing material that are based on clay and have excellent water resistance in a high-temperature environment. The sheet includes swellable clay and non-swellable clay. The swellable clay includes a first component and a second component that has a different structure from the first component. The non-swellable clay is one in which the ions of the first component and second component have been exchanged in a dispersion medium and that is non-swellable by heating. The sheet includes the first component, second component, and optionally a third component. The first component is a swellable clay in which Li has been substituted between layers. The second component is Na-montmorillonite or K-montmorillonite. The third component is a filler. In the sheet, when the total weight of the first component, second component, and third component is taken as 100 wt%, the content of the first component is from 25 wt% to 80 wt%, the content of the second component is from 10 wt% to 50 wt%, and the content of the third component is from 0 wt% to 80 wt%.

担持触媒の形態の触媒システム

NºPublicación:  JP2025137523A 19/09/2025
Solicitante: 
ブリュッヒャーゲーエムベーハー
JP_2025137523_A

Resumen de: US2023372920A1

The invention relates to a method for the production of a catalyst system comprising a catalytically active component, in particular a supported catalyst, and to a catalyst system as such. The present invention also relates to uses of the catalyst system according to the invention and further to protective materials as well as filters and filter materials which are produced using the catalyst system according to the invention or which comprise such a catalyst system.

再生方法および燃料電池システム

NºPublicación:  JP2025531473A 19/09/2025
Solicitante: 
ロベルト・ボッシュ・ゲゼルシャフト・ミト・ベシュレンクテル・ハフツング
JP_2025531473_A

Resumen de: CN119948655A

The invention relates to a regeneration method (100) for regenerating a contaminated fuel cell stack (201). The regeneration method (100) comprises:-introducing (101) a repair agent into the fuel cell stack (201); flushing (103) the repair agent from the fuel cell stack (201), the repair agent comprising a moving anion or a precursor of a moving anion.

セルスタック、セルスタックシステムの製造方法、ホットモジュール、及び、ガス製造装置

NºPublicación:  JP2025137317A 19/09/2025
Solicitante: 
日本特殊陶業株式会社
JP_2025137317_PA

Resumen de: JP2025137317A

【課題】 セルスタックの上流側と下流側との圧力損失の調整に係る労力を大幅に低減する。【解決手段】 セルスタック1は、固体電解質層12と空気極14と燃料極16とを含む電気化学単セル10を複数含んでおり、燃料室にガスを供給する第1供給路と、燃料室からガスを排出する第1排出路と、空気室にガスを供給する第2供給路と、空気室からガスを排出する第2排出路と、を備える。セルスタック1には、生成されるガスの種類に応じて区別される複数の運転モードのそれぞれでセルスタック1を運転した場合における、第1供給路の端部から第1排出路の端部までの第1圧力損失量と、第2供給路の端部から第2排出路の端部までの第2圧力損失量と、の少なくとも一方を運転モード毎に含む圧損特性情報が、外部から視認可能な位置に掲載されている。【選択図】 図1

プレス金型

NºPublicación:  JP2025135786A 19/09/2025
Solicitante: 
トヨタ紡織株式会社
JP_2025135786_PA

Resumen de: US2025281967A1

A press die assembly includes a fixed die and a movable die. The fixed die includes a fixed-side forming section that includes a first forming surface, and multiple metal fixed-side support blocks arranged in a planar direction. The fixed-side support blocks support the fixed-side forming section from a side opposite to the first forming surface. The movable die includes a movable-side forming section that includes a second forming surface that faces the first forming surface, and multiple metal movable-side support blocks arranged in the planar direction. The movable-side support blocks support the movable-side forming section from a side opposite to the second forming surface. The Young's moduli of the fixed-side support blocks increase with increasing proximity to a central portion of the first forming surface. The Young's moduli of the movable-side support blocks increase with increasing proximity to a central portion of the second forming surface.

微生物燃料電池用電極、微生物燃料電池、及び微生物燃料電池システム

NºPublicación:  JP2025135731A 19/09/2025
Solicitante: 
セイコーエプソン株式会社
JP_2025135731_PA

Resumen de: US2025286082A1

A electrode for MFCs includes: a non-conductive fiber; a conductive material having conductivity; and a binder configured to bind the conductive material to the fiber.

一种基于压电微调的燃料电池电堆堆芯压力补偿系统

NºPublicación:  CN120674545A 19/09/2025
Solicitante: 
上海空间电源研究所
CN_120674545_PA

Resumen de: CN120674545A

一种基于压电微调的燃料电池电堆堆芯压力补偿系统,包括:主体框架,包括沿轴向依次层叠设置的前端板、浮动端板和固定盲端板;其中,所述电堆堆芯设置在所述前端板和浮动端板之间;分层式压电执行模块,包括多组可控的波纹弹簧单元,沿周向设置于所述固定盲端板和所述浮动端板之间,且每组所述波纹弹簧单元的轴向压缩量可调;柔性压力传感器阵列,设置于所述浮动端板和所述电堆堆芯之间,用于采集电堆堆芯受到的压紧力在平面内的压紧力分布数据;动态协调控制器,设置于所述主体框架外部,分别连接所述柔性压力传感器阵列与所述分层式压电执行模块。本发明能够对电堆堆芯所受到的压紧力进行动态补偿,有效延长燃料电池的使用寿命。

复合型质子交换膜、其制备方法及其应用

NºPublicación:  CN120674539A 19/09/2025
Solicitante: 
北京理工大学
CN_120674539_PA

Resumen de: CN120674539A

本公开涉及燃料电池用复合型高温质子交换膜,该复合型高温质子交换膜由超支化聚苯基喹喔啉和线性聚苯基喹喔啉复合得到,其中所述超支化聚苯基喹喔啉中的孔隙结构增加了自由体积,提高了磷酸掺杂水平和磷酸保留能力,进而促进质子传导,并且所述线性聚苯基喹喔啉高分子聚合物的溶解性好,具有良好的成膜性能,可增强复合膜材料的机械性能和抗溶胀能力。本发明所制备的复合型高温质子交换膜同时具有改进的磷酸掺杂水平、质子传导性能、燃料电池性能和机械性能。本公开还涉及所述燃料电池用复合型高温质子交换膜的制备方法及其在高温质子交换膜燃料电池中的应用。

一种无酶生物燃料电池阴极、阳极及其制备方法与应用

NºPublicación:  CN120674543A 19/09/2025
Solicitante: 
青岛大学
CN_120674543_PA

Resumen de: CN120674543A

本发明属于生物燃料电池技术领域,涉及一种无酶葡萄糖生物燃料电池及其制备方法。本发明以负载PtNPs@噬菌体的电极为生物阳极,以负载具有漆酶活性的NiOOH NFs的电极为生物阴极构建无酶葡萄糖生物燃料电池,利用PtNPs@噬菌体对葡萄糖的电氧化活性以及NiOOH NFs优异的催化氧还原能力来提高生物燃料电池的产电性能,通过杜邦Nafion117膜将燃料电池隔成阳极室和阴极室,以满足阴极和阳极不同的电解质要求。采用本发明制备的生物阳极和生物阴极,不仅可以大幅提高生物燃料电池的性能和稳定性,而且具有成本低,操作简单等优点。

CdS/TiO2基光催化燃料电池构建及其在处理有机物废水方面的应用

NºPublicación:  CN120674508A 19/09/2025
Solicitante: 
东江环保股份有限公司
CN_120674508_PA

Resumen de: CN120674508A

本发明涉及光催化燃料电池技术领域,具体公开了CdS/TiO2基光催化燃料电池构建及其在处理有机物废水方面的应用。通过制备TiO2光阳极基底,采用化学沉积法在基底表面形成CdS纳米颗粒层构建异质结,并进行光阳极改性;将非贵金属催化剂材料涂覆于FTO玻璃导电基底上制备光阴极;组装双室电池系统,添加电解质溶液并连接外电路。本发明拓展光谱响应范围至可见光区,提高光能利用率;优化光生载流子分离与传输,增强光催化氧化能力;采用非贵金属催化剂降低成本;电池在降解有机物的同时产生电能,实现能量回收,具有显著的环境效益与经济价值。

一种气流分配装置及模组

NºPublicación:  CN120674544A 19/09/2025
Solicitante: 
潮州三环(集团)股份有限公司
CN_120674544_PA

Resumen de: CN120674544A

本发明公开了一种气流分配装置及模组,该气流分配装置包括主体部以及隔离装置,主体部具有与废气排出结构以及相对设置的第一侧面与第二侧面,第一侧面设置有第一供应区,第二侧面设置有第二供应区,第一供应区与第二供应区之间设置有隔离装置,以分隔第一供应区与第二供应区,第一供应区具有第一燃料供应结构,第一燃料供应结构的两端分别与第一电堆的第一燃料进口以及燃料源连通,第二供应区具有第二燃料供应结构,第二燃料供应结构的两端分别与第二电堆的第二燃料进口以及燃料源连通。本发明可以有效地减小由于制造过程中产生的加工误差对燃气分配的影响,保证了燃料供给的纯净度和稳定性,有助于维持各电堆间的一致性和可靠性。

燃料電池用セパレータ・ガス拡散層複合体、燃料電池用セパレータ・ガス拡散層複合体の製造方法、燃料電池用ガス拡散層、及び燃料電池用ガス拡散層の製造方法

NºPublicación:  JP2025135787A 19/09/2025
Solicitante: 
トヨタ紡織株式会社
JP_2025135787_PA

Resumen de: JP2025135787A

【課題】セパレータの製造工程が簡単にすることができる。【解決手段】板状のセパレータ11と、炭素繊維不織布からなり、セパレータ11の一側の面に重ね合わされているガス拡散層12とを備える。ガス拡散層12のうちセパレータ11に対向する対向面13には、反応ガスが流れる溝流路14が設けられている。【選択図】図1

回収処理方法、および、回収処理システム

NºPublicación:  JP2025137114A 19/09/2025
Solicitante: 
株式会社東芝
JP_2025137114_PA

Resumen de: JP2025137114A

【課題】溶解性が異なる複数種の回収対象成分を効率的に回収する回収処理方法等を提供する。【解決手段】実施形態の回収処理方法において、第1処理工程では、回収処理対象について還元処理と酸化処理とを実行することによって回収処理対象から第1の回収対象成分を処理溶液に溶解させると共に、回収処理対象に外力を加えることによって回収処理対象から第2の回収対象成分を処理溶液に固体状態で剥離させる剥離処理を行う。第2処理工程では、第1処理工程において第1の回収対象成分が溶解すると供に、第2の回収対象成分が剥離した前記処理溶液について固液分離処理を行うことによって、第1の回収対象成分を含む液体成分と、第2の回収対象成分を含む固体成分とに分離する。【選択図】図1

固体高分子形燃料電池の触媒担体用炭素材料、固体高分子形燃料電池用触媒層、及び燃料電池

NºPublicación:  JP2025136138A 19/09/2025
Solicitante: 
日本製鉄株式会社
JP_2025136138_PA

Resumen de: JP2025136138A

【課題】発電性能と共に、更に耐久性に優れた固体高分子形燃料電池の触媒担体用炭素材料、並びに、それを利用した固体高分子形燃料電池用触媒層及び燃料電池を提供することである。【解決手段】下記要件(A1)及び(B1)を満たす、多孔質賦活カーボンブラックからなる固体高分子形燃料電池の触媒担体用炭素材料、並びに、それを利用した固体高分子形燃料電池用触媒層及び燃料電池。(A1)前記多孔質賦活カーボンブラックを2000℃で1時間の熱処理した後のBET比表面積S1finと、前記熱処理前のBET比表面積Siniと、の比(S1fin/Sini)が、0.9以上である。(B1) 前記熱処理前のBET比表面積Siniが、600m2/g以上である。【選択図】図1

エネルギー制御システム

NºPublicación:  JP2025136110A 19/09/2025
Solicitante: 
株式会社フジタ
JP_2025136110_PA

Resumen de: JP2025136110A

【課題】低温排熱および発電装置の余剰電力を効率的に活用できるエネルギーシステムを提供する。【解決手段】エネルギー制御システムは、再生可能エネルギーを用いて電力を発生させる発電装置と、電力を蓄積する蓄電池と、電力を用いて水素を生成する水電解装置と、水電解装置により生成された水素を貯蔵する水素タンクと、水素タンクから送られる水素を用いて発電する燃料電池と、水電解装置および燃料電池の少なくともいずれかの作動で生じた熱を取得する水回路と、水回路を加熱する加熱ヒータと、水回路中の水を貯蔵する貯湯タンクと、制御装置と、を備え、制御装置は蓄電池の蓄電量又は水素タンクの蓄積水素量に応じて水電解装置および燃料電池の少なくともいずれかを作動させ、水回路を、水電解装置の作動で生じた熱により加熱し、発電装置の作動状態および水回路中の水の温度に応じて加熱ヒータにより水回路を加熱して貯湯タンクに入れるように制御する。【選択図】図1

PVDF复合全氟磺酸质子交换膜及其制备方法和应用

NºPublicación:  CN120674540A 19/09/2025
Solicitante: 
河北金力新能源科技股份有限公司
CN_120674540_PA

Resumen de: CN120674540A

本发明公开了一种PVDF复合全氟磺酸质子交换膜及其制备方法和应用,该PVDF复合全氟磺酸质子交换膜为层状结构,所述层状结构从上至下依次为:第一全氟磺酸层、聚偏氟乙烯膜和第二全氟磺酸层,第一全氟磺酸层包括:全氟磺酸树脂和钛酸亚铁,第二全氟磺酸层包括:全氟磺酸树脂和钛酸亚铁,聚偏氟乙烯膜包括:聚偏氟乙烯和离子液体,本发明的PVDF复合全氟磺酸质子交换膜具有良好的力学性能、质子传导率、吸水率和水解稳定性。

一种Pt-TiO2(R)-H催化剂及其制备方法和用途

NºPublicación:  CN120662295A 19/09/2025
Solicitante: 
江苏大学
CN_120662295_PA

Resumen de: CN120662295A

本发明提供了一种Pt‑TiO2(R)‑H催化剂及其制备方法和用途,包括如下步骤:在水热反应釜内衬中制备碱性的TiO2溶胶,其中TiO2溶胶中含有平均粒径为75~100nm的TiO2(R);在TiO2溶胶中加入氯铂酸溶液,使Pt相对TiO2的质量分数为1.5~2.5wt%;将水热反应釜内衬置于不锈钢外套中,放置恒温烘箱中进行水热反应;水热反应结束后,依次经离心和洗涤后,通过真空干燥后得到催化剂粉末前驱体;将得到的催化剂粉末前驱体,置于马弗炉焙烧,后在管式炉中的还原性气氛中进行活化,得到催化剂。本发明可降低现有贵金属‑氧化物型催化剂的工作温度,提高低温区间的产氢速率。

一种基于自适应步进式PI控制的燃料电池系统氢气压力控制方法

NºPublicación:  CN120674532A 19/09/2025
Solicitante: 
唐山锐唯新能源科技有限公司
CN_120674532_PA

Resumen de: CN120674532A

本发明公开了一种基于自适应步进式PI控制的燃料电池系统氢气压力控制方法,包括构建氢气路动态模型,变步长步进调制与动态参数调整,本发明采用变步长步进调制机制与动态参数修正策略,优化了燃料电池氢压控制的问题。通过实时比较反馈压力与目标值的偏差,动态切换调节步长:偏差较大时快速逼近目标值,接近阈值时切换精细调节模式。结合比例阀前压力与电堆电流的耦合参数在线修正步长系数,消除压力过冲现象。该设计确保压力响应全程平滑收敛,有效改善氢压振荡导致的电堆结构损伤。

Verfahren zur Herstellung einer elektrochemischen Zelle, elektrochemische Zelle

NºPublicación:  DE102024202286A1 18/09/2025
Solicitante: 
BOSCH GMBH ROBERT [DE]
Robert Bosch Gesellschaft mit beschr\u00E4nkter Haftung

Resumen de: DE102024202286A1

Die Erfindung betrifft ein Verfahren zur Herstellung einer elektrochemischen Zelle, insbesondere einer Elektrolysezelle oder einer Brennstoffzelle, aufweisend eine Membran (1) sowie beidseits der Membran (1) angeordnete Lagen (2), von denen mindestens eine Lage (2) eine poröse Struktur und eine der Membran (1) zugewandte Oberfläche (3) aufweist. Erfindungsgemäß wird in die Oberfläche (3) und/oder in hieran angrenzende Innenflächen (4) der porösen Struktur eine lineare und/oder punktuelle Vertiefungen (5) ausbildende Strukturierung, insbesondere Mikrostrukturierung, eingebracht, durch welche die Benetzbarkeit der Oberfläche (3) und/oder der Innenflächen (4) bereichsweise verändert werden.Die Erfindung betrifft ferner eine elektrochemische Zelle, insbesondere eine Elektrolysezelle oder eine Brennstoffzelle.

Verfahren und Vorrichtung zum Einstellen eines Ventils in einem Brennstoffzellensystem, Fahrzeug, Computerprogrammprodukt und Speichermedium

NºPublicación:  DE102024107318A1 18/09/2025
Solicitante: 
BAYERISCHE MOTOREN WERKE AG [DE]
Bayerische Motoren Werke Aktiengesellschaft

Resumen de: DE102024107318A1

Die hier offenbarte Technologie betrifft erfindungsgemäß ein Verfahren zum Einstellen eines Ventils (11), aufweisend: Variieren eines elektrischen Ansteuerstroms, mit welchem das Ventil (11) angesteuert wird, Zerlegen des variierenden Ansteuerstroms in einen gemittelten Stromteil und in einen variierenden Stromteil, Ermitteln einer gemittelten Ventilposition basierend auf dem gemittelten Stromteil und Einstellen des Ventils (11) basierend auf der gemittelten Ventilposition. Die Technologie betrifft ferner eine Vorrichtung (10) und ein Computerprogrammprodukt (30) zum Ausführen des Verfahrens sowie ein computerlesbares Speichermedium (40), auf welchem das Computerprogrammprodukt (30) gespeichert ist.

METHOD FOR CONTROLLING AN ANODE PRESSURE IN A FUEL CELL SYSTEM, FUEL CELL SYSTEM, VEHICLE, COMPUTER PROGRAM PRODUCT AND STORAGE MEDIUM

NºPublicación:  WO2025190457A1 18/09/2025
Solicitante: 
BAYERISCHE MOTOREN WERKE AG [DE]
BAYERISCHE MOTOREN WERKE AKTIENGESELLSCHAFT
WO_2025190457_PA

Resumen de: WO2025190457A1

The technology disclosed here relates, according to the invention, to a method for controlling an anode pressure in a fuel cell system (10), wherein the fuel cell system (10) comprises a fuel cell (11) having an anode (12) and a cathode (13), a pressure sensor (21, 22) and a fuel sensor (24, 25), and the method has the following steps: determining an anode pressure by means of the pressure sensor (21, 22), determining a fuel concentration in and/or at the anode (12) by means of the fuel sensor (24, 25), and controlling the anode pressure on the basis of the determined fuel concentration. The technology further relates to a fuel cell system (10), a vehicle (100), a computer program product (30) for carrying out the method, and a computer-readable storage medium (40) on which the computer program product (30) is stored.

METHOD FOR OPERATING AN AIR SYSTEM FOR SUPPLYING AT LEAST ONE STACK WITH AIR, CONTROL DEVICE

NºPublicación:  WO2025190700A1 18/09/2025
Solicitante: 
BOSCH GMBH ROBERT [DE]
ROBERT BOSCH GMBH
WO_2025190700_PA

Resumen de: WO2025190700A1

The invention relates to a method for operating an air system (1) for supplying at least one stack (4) with air, wherein the air system (1) has a supply air path (2) for a stack inlet air mass flow, an exhaust air path (3) for a stack outlet air mass flow, and a cooling air path (4) for a cooling air mass flow. The cooling air mass flow is used to cool an air compressor module (5) comprising at least one compressor (6) integrated into the supply air path (2) for compressing a fresh air mass flow drawn into the supply air path (2) from the surrounding environment, from which fresh air mass flow all the air mass flows located in the air system (1) are fed, and from which the cooling air mass flow branches off, is fed via the cooling air path (4) to the air compressor module (5) for cooling, is expanded in the meantime and is then introduced into the stack outlet air mass flow. According to the invention, the stack inlet air mass flow is determined from the difference between the fresh air mass flow and the cooling air mass flow and optionally further air mass sub-flows to be deducted, which are branched off from the supply air path (2) downstream of the compressor (6), wherein the cooling air path (4) is modelled as a throttle point on the basis of the expansion occurring there, and the cooling air mass flow is determined computationally on the basis of this modelling by means of a throttle equation. The invention also relates to a control device that is designed to carry out s

METHOD FOR CHARACTERISING A FIRST POWER UNIT OF AN ENERGY SYSTEM

NºPublicación:  WO2025190609A1 18/09/2025
Solicitante: 
BOSCH GMBH ROBERT [DE]
ROBERT BOSCH GMBH
WO_2025190609_PA

Resumen de: WO2025190609A1

The invention relates to a method for characterising a first power unit of an energy system, wherein the energy system has a plurality of power units for providing electrical power; and wherein the power unit has a fuel cell system and/or an electrical energy store, and wherein the energy system is electrically coupled to an electrical load; and the energy system is designed to provide the electrical load with dynamic power for operation, comprising: determining (S1) a current power requirement of the electrical load; providing (S2) a power operating point for the first power unit during the characterisation; providing (S3) the current power requirement of the load by means of the plurality of power units, wherein the first power unit is controlled to provide the electrical power of the power operating point in a stationary manner; and characterising (S4) the first power unit, wherein the first unit provides the electrical power in a stationary manner in accordance with the power operating point.

FUEL CELL ASSEMBLY

NºPublicación:  WO2025190517A1 18/09/2025
Solicitante: 
AIR LIQUIDE [FR]
L'AIR LIQUIDE, SOCIETE ANONYME POUR L'ETUDE ET L'EXPLOITATION DES PROCEDES GEORGES CLAUDE
WO_2025190517_PA

Resumen de: WO2025190517A1

The invention relates to a fuel cell assembly (26) comprising a first fuel cell plate (1) intended to come into contact with a membrane electrode assembly, the first plate (1) comprising a reactive face (11) that comprises a reactive zone (2), a clamping band (9), a thinned portion (3) and a peripheral sealing zone (12), wherein the reactive zone (2) comprises flow channels for a reactant, wherein the clamping band (9) is configured to at least partially surround the reactive zone (2) by being designed to clamp the membrane electrode assembly, wherein the peripheral sealing zone (12) is configured to surround the clamping band (9) by being designed to form, together with the membrane electrode assembly, a seal for the cell against the reactant, and wherein the thinned portion (3) is arranged between the peripheral sealing zone (12) and the clamping band (9).

ELEKTROCHEMISCHE ZELLE

NºPublicación:  DE102025109365A1 18/09/2025
Solicitante: 
DENSO CORP [JP]
DENSO CORPORATION

Resumen de: DE102025109365A1

Eine elektrochemische Zelle konfiguriert, um eine mechanische Verschlechterung einer Luftelektrodenschicht zu unterdrücken, wodurch Spannungsschwankungen in der Zelle unterdrückt werden. Die elektrochemische Zelle (1) ist aus einer Brennstoffelektrodenschicht (2), einer Festkörperelektrolytschicht (3) und einer Luftelektrodenschicht (4) in dieser Reihenfolge aufgebaut. Die Luftelektrodenschicht (4) eine Vielzahl von Katalysatorteilchen für die Luftelektrode (41), die aus einem Katalysatormaterial, das Elektronenleitfähigkeit und Sauerstoffionenleitfähigkeit aufweist, gebildet ist, eine Vielzahl von Elektrolytteilchen für die Luftelektrode (42), die aus einem Festkörperelektrolytmaterial, das Sauerstoffionenleitfähigkeit aufweist, gebildet ist, und zumindest eine Pore (43), beinhaltet. Das Katalysatormaterial weist einen linearen Wärmeausdehnungskoeffizienten bei 700°C in einem Bereich von größer als 15×10-6/K und kleiner als 30×10-6/K auf. Wenn ein erster Gesamtoberflächenbereich der Katalysatorteilchen für die Luftelektrode SKatist und ein zweiter Gesamtoberflächenbereich eines Schnittstellenabschnitts, in dem eine erste Oberfläche der Katalysatorteilchen für die Luftelektrode mit einer zweiten Oberfläche der Elektrolytteilchen für die Luftelektrode (42) in Kontakt ist, SKat-Eleist, weist die Luftelektrode einen Wert von SKat-Ele/SKatvon 0,6 oder größer auf.

Abgassystem für eine Brennstoffzelle, Brennstoffzellensystem und Verfahren

NºPublicación:  DE102024107012A1 18/09/2025
Solicitante: 
BAYERISCHE MOTOREN WERKE AG [DE]
Bayerische Motoren Werke Aktiengesellschaft

Resumen de: DE102024107012A1

Die hier offenbarte Technologie betrifft erfindungsgemäß ein Abgassystem 30 für eine Brennstoffzelle 20, wobei in einer Abgasleitung 40 eine Energieaufnahmeeinrichtung 50 zur Aufnahme von Energie enthalten ist und ein Katalysator 80 zur vorherigen Aufoxidation von gasförmigem Brennstoff führt. Damit kann die Leistung der Energieaufnahmeeinrichtung 50 verbessert werden. Die hier offenbarte Technologie betrifft erfindungsgemäß ferner ein Brennstoffzellensystem 10 mit einem solchen Abgassystem 30 sowie ein zugehöriges Verfahren.

Regelung der Feuchte des Wasserstoffgases am Anoden-Eingang eines Brennstoffzellensystems

NºPublicación:  DE102024202427A1 18/09/2025
Solicitante: 
BOSCH GMBH ROBERT [DE]
Robert Bosch Gesellschaft mit beschr\u00E4nkter Haftung
CN_120657170_PA

Resumen de: DE102024202427A1

Ein Brennstoffzellensystem (2) umfasst wenigstens eine Brennstoffzelle (4) mit einer Anode (10) und einer Kathode (12), eine Wasserstoffzuleitung (6), die mit dem Eingang der Anode (10) gekoppelt ist, um der wenigstens einen Brennstoffzelle (4) Wasserstoff zuzuführen, eine Anodenabgasleitung (8), die mit dem Ausgang der Anode (10) gekoppelt ist, um Abgase von der wenigstens einen Brennstoffzelle (4) abzuführen, und einen Wasserabscheider (20), der in der Anodenabgasleitung (8) angeordnet ist Der Wasserabscheider (20) und die Anodenabgasleitung (8) sind in einem ersten thermischen Bereich (T1) angeordnet, und die Wasserstoffzuleitung (6) ist in einem zweiten thermischen Bereich (T2) angeordnet, wobei die Temperaturen des ersten thermischen Bereiches (T1) und des zweiten thermischen Bereiches (T2) unabhängig voneinander einstellbar sind.

Sulfoniertes Polyphenyl (phenylen)äther-Randomcopolymer, sein Herstellungsverfahren und seine Anwendung

NºPublicación:  DE102025109738A1 18/09/2025
Solicitante: 
LEE HSU FENG [TW]
Lee, Hsu-Feng
CN_120647917_PA

Resumen de: DE102025109738A1

Die vorliegende Erfindung bezieht sich auf ein sulfoniertes Polyphenyl (phenylen) äther-Randomcopolymer, sein Herstellungsverfahren und seine Anwendung, der chemische allgemeine Formel des sulfonierten Polyphenyl(phenylen)äther-Randomcopolymers ist wie nachfolgend:wobei drei Polyphenylringmonomer X, Y und Z in Randomcopolymerisationsweise verwendet sind, um die Position der Sulfonierung zu konrollieren. Die Segmente X und Y können sulfoniert werden, um hydrophile Segmente mit einer Wiederholungszahl n zu erhalten, während es unmöglich ist, die Substituente R4und R5in den Segmenten Z zu sulfonieren, sodass hydrophobe Segmente mit einer Wiederholungszahl 1-n gebildet werden. Durch die Kontolle des Polymerisationsäquivalenzverhältnisses der Segmente Z in dem Polyphenylringmonomer ist eine Feinjustierung des Verhältnisses von den hydrophilen Segmenten zu den hydrophoben Segmenten erreicht , und dadurch ist weiter die Ionenaustauschkapazität des sulfonierten Copolymers wirkungsvoll kontrolliert. Durch eine genaue Feinjustierung des Verhältnisses von den hydrophilen Segmenten zu den hydrophoben Segmenten kann die Ionenaustauschkapazität der in jedem Batch produzierten Copolymer innerhalb eines Bereich von einem bestimmten Wert kontrolliert werden. Das erfindungsgemäße Copolymer weist eine gute mechanische Eigenschaften, eine optimale Stabilität der Größe des Membrans, eine gute Protonenleitfähigkeit und eine kontrollierbare Ionenaustauschkapazität auf.

Verfahren zum Regeln eines Anodendrucks in einem Brennstoffzellensystem, Brennstoffzellensystem, Fahrzeug, Computerprogrammprodukt und Speichermedium

NºPublicación:  DE102024107319A1 18/09/2025
Solicitante: 
BAYERISCHE MOTOREN WERKE AG [DE]
Bayerische Motoren Werke Aktiengesellschaft

Resumen de: DE102024107319A1

Die hier offenbarte Technologie betrifft erfindungsgemäß ein Verfahren zum Regeln eines Anodendrucks in einem Brennstoffzellensystem (10), wobei das Brennstoffzellensystem (10) eine Brennstoffzelle (11) mit einer Anode (12) und einer Kathode (13), einen Drucksensor (21, 22) und einen Brennstoffsensor (24, 25) umfasst und das Verfahren die folgenden Schritte aufweist: Ermitteln eines Anodendrucks mittels des Drucksensors (21, 22), Ermitteln einer Brennstoffkonzentration in und/oder an der Anode (12) mittels des Brennstoffsensors (24, 25) und Regeln des Anodendrucks basierend auf der ermittelten Brennstoffkonzentration. Die Technologie betrifft ferner ein Brennstoffzellensystem (10), ein Fahrzeug (100) und ein Computerprogrammprodukt (30) zum Durchführen des Verfahrens sowie ein computerlesbares Speichermedium (40), auf welchem das Computerprogrammprodukt (30) gespeichert ist.

MONOLITHIC INTERCONNECT, METHOD OF MAKING SAME, AND ELECTROCHEMICAL CELL INCLUDING SAME

NºPublicación:  WO2025193231A1 18/09/2025
Solicitante: 
GE INFRASTRUCTURE TECHNOLOGY LLC [US]
GE INFRASTRUCTURE TECHNOLOGY LLC
WO_2025193231_PA

Resumen de: WO2025193231A1

The present application relates to a monolithic interconnect (100), a methods of making monolithic interconnect (100), and to an electrochemical cell including such monolithic interconnects (100). The monolithic interconnect (100) is useful in a variety of articles and industrial applications..

SHUTDOWN CONTROL METHOD FOR A FUEL CELL, PROGRAM PRODUCT, READABLE MEDIUM, SHUTDOWN CONTROL DEVICE AND FUEL CELL SYSTEM

NºPublicación:  WO2025189395A1 18/09/2025
Solicitante: 
BOSCH GMBH ROBERT [DE]
CHANG YAFEI [CN]
WANG KAI [CN]
ZHANG HANYANG [CN]
ROBERT BOSCH GMBH,
CHANG, Yafei,
WANG, Kai,
ZHANG, Hanyang
WO_2025189395_PA

Resumen de: WO2025189395A1

The present disclosure relates to a shutdown control method for a fuel cell, wherein the shutdown control method at least comprises the following steps: after obtaining a shutdown instruction for the fuel cell, purging the fuel cell with a purge gas; applying a test current to the fuel cell, detecting an output voltage of the fuel cell, and calculating a high-frequency resistance of the fuel cell based on the test current and the output voltage; adjusting the test current by gradually decreasing it in such a manner that the output voltage is maintained within a preset voltage range, wherein the preset voltage range has a maximum value less than or equal to a voltage threshold; stopping purging when the high-frequency resistance reaches a resistance target value, and finishing shutdown of the fuel cell. As a result, less water is generated through the gradually reduced applied test current during the purging process. The disclosure further relates to a corresponding computer program product, readable medium, a shutdown control device and a fuel cell system. The duration of the shutdown purging process can be shortened and performance degradation of the fuel cell caused by high output voltage can be reliably avoided.

Verfahren zum Betreiben eines Energiesystems

NºPublicación:  DE102024202422A1 18/09/2025
Solicitante: 
BOSCH GMBH ROBERT [DE]
Robert Bosch Gesellschaft mit beschr\u00E4nkter Haftung

Resumen de: DE102024202422A1

Es wird ein Verfahren zum Betreiben eines Energiesystems, mit einem Brennstoffzellen-Stack und einem elektrischen Energiespeicher, aufweisend: Bestimmen eines Funktions-Status des zumindest einen Brennstoffzellen-Stacks (110); Aktivieren einer Limit-Lade-/Entlade-Strategie des Energiesystems, wenn der Funktions-Status des zumindest einen Brennstoffzellen-Stacks ein eingeschränkter Funktions-Status (220) ist, um eine Energiereserve des Energiesystems zu erhöhen; und/oderAktivieren eines Limit-Betriebs-Bereichs des elektrischen Energiespeichers (132), wenn der Funktions-Status des zumindest einen Brennstoffzellen-Stacks der eingeschränkte Funktions-Status (220) ist, um die erhöhte Energiereserve bereitzustellen.

MEMBRANELEKTRODENANORDNUNG

NºPublicación:  DE102024112423A1 18/09/2025
Solicitante: 
GM GLOBAL TECH OPERATIONS LLC [US]
GM Global Technology Operations LLC
CN_120657181_PA

Resumen de: DE102024112423A1

Eine Membranelektrodenanordnung umfasst einen Kathodenabschnitt mit einer Kathodenelektrode und einen Anodenabschnitt, der von dem Kathodenabschnitt abgewandt angeordnet ist und eine Anodenelektrode enthält. Außerdem enthält die Membranelektrodenanordnung eine Polymerelektrolytmembran, die sich zwischen dem Kathodenabschnitt und dem Anodenabschnitt erstreckt. Darüber hinaus umfasst die Membranelektrodenanordnung ein oder mehrere darin angeordnete Metalloxide, wobei die Metalloxide so konfiguriert sind, dass sie mit Wasserstoffperoxid innerhalb der Membranelektrodenanordnung reagieren. Zusätzlich enthält die Membranelektrodenanordnung ein oder mehrere darin angeordnete Metallkationen, wobei die Metallkationen so konfiguriert sind, dass sie mit in der Membranelektrodenanordnung angeordneten Hydroxylradikalen reagieren.

BRENNSTOFFZELLENANORDNUNG

NºPublicación:  DE102024107154A1 18/09/2025
Solicitante: 
MAXEKART AACHEN GMBH [DE]
MAXeKART Aachen GmbH

Resumen de: DE102024107154A1

Die Erfindung betrifft eine Brennstoffzellenanordnung (10), mit einer Brennstoffzelleneinrichtung (12), welche eine Vielzahl an in einer Stapelrichtung (18) aufeinander gestapelte Brennstoffzellen (16) umfasst, welche jeweils durch eine obere Bipolarplatte (20) und eine untere Bipolarplatte (20) begrenzt sind, wobei an wenigstens eine der Bipolarplatten (20) der jeweiligen Brennstoffzelle (16) eine elektrisch leitende Anschlusslasche (36) anschließt, welche relativ zu der Bipolarplatte (20) umgebogen ist, wobei über die Anschlusslasche (36) eine Spannung der jeweiligen Brennstoffzelle (16) gemessen werden kann, und mit einer Spannungsmesseinrichtung (14), welche für jede Anschlusslasche (36) wenigstens ein an der jeweiligen Anschlusslasche (36) anliegendes Kontaktelement (44) und wenigstens eine Leiterplatte (42) umfasst, an welcher wenigstens eines der Kontaktelemente (44) gehalten ist, welche in einer Überdeckungsrichtung (40) zwischen den Anschlusslaschen (36) und den jeweiligen von den Anschlusslaschen (36) seitlich überdeckten Brennstoffzellen (16) angeordnet ist und welche in der Überdeckungsrichtung (40) in Überdeckung mit den Anschlusslaschen (36) angeordnet ist.

Verfahren zur Kontrolle einer Abgasrezirkulation in einem Brennstoffzellensystem, Steuereinheit und Brennstoffzellensystem

NºPublicación:  DE102024202406A1 18/09/2025
Solicitante: 
BOSCH GMBH ROBERT [DE]
Robert Bosch Gesellschaft mit beschr\u00E4nkter Haftung

Resumen de: DE102024202406A1

Die Erfindung betrifft ein Verfahren zur Kontrolle, insbesondere Regelung, Steuerung, Detektion, Diagnose und/oder Überprüfung, einer Abgasrezirkulation (EGR) in einem Brennstoffzellensystem (100) mit mindestens einem Brennstoffzellenstack (101), wobei der mindestens eine Brennstoffzellenstack (101) ein Luftsystem (10) aufweist,wobei in dem Luftsystem (10) zwischen einem Zuluftpfad (11) zu dem mindestens einen Brennstoffzellenstack (101) und einem Abgaspfad (12) von dem mindestens einen Brennstoffzellenstack (101) ein Abgasrezirkulationspfad vorgesehen ist,wobei bei der Abgasrezirkulation (EGR) zumindest ein Teil eines, insbesondere feuchten, Abgases (L2) von dem Abgaspfad (12) in den Zuluftpfad (11) geleitet wird,wobei das Verfahren mithilfe von einem Durchflusssensor (S), bevorzugt heißfilmbasierten Luftmassenmesser (HFM), durchgeführt wird,wobei der mindestens eine Durchflusssensor (S) stromaufwärts und/oder stromabwärts einer Mischstelle (M) angeordnet wird, die an einer Einmündung des Abgasrezirkulationspfads in den Zuluftpfad (11) gebildet wird.

カーボン担体、燃料電池用電極触媒層及び燃料電池用電極触媒

NºPublicación:  JP2025135232A 18/09/2025
Solicitante: 
トヨタ自動車株式会社
JP_2025135232_A

Resumen de: JP2025135232A

【課題】本開示は、高い発電性能を有する燃料電池を得ることが可能な、燃料電池用電極触媒層及び燃料電池用電極触媒、該触媒層及び触媒を製造する際に用いることが可能なカーボン担体を提供することを目的とする。【解決手段】本実施形態の一態様のカーボン担体は、平均一次粒子径が150nm以上であり、マクロ孔モード直径が84nm以下である。また、本実施形態の一態様の燃料電池用電極触媒層は、カーボン担体にPt又はPt合金が担持された燃料電池用電極触媒を含む燃料電池用電極触媒層であり、前記燃料電池用電極触媒層の断面の空隙断面積0μm2超、0.03μm2以下の累計空隙断面積が0.065μm2以上である。【選択図】なし

異常診断装置

NºPublicación:  JP2025135283A 18/09/2025
Solicitante: 
大阪瓦斯株式会社
JP_2025135283_PA

Resumen de: JP2025135283A

【課題】燃料電池装置で発生する異常の内容を適切に診断できる異常診断装置の提供。【解決手段】異常診断装置が、空気ブロアの回転速度と、空気流量測定器の測定値とを参照して、空気ブロアの回転速度が所定回転速度以下である状態が所定期間連続しているという第1判定条件が満たされ、且つ、空気流量測定器の測定値が目標空気流量より設定値以上小さいという第2判定条件が満たされる場合、空気ブロアの動作不良が発生していると判定する。【選択図】図3

燃料電池システム

NºPublicación:  JP2025135454A 18/09/2025
Solicitante: 
大阪瓦斯株式会社
JP_2025135454_PA

Resumen de: JP2025135454A

【課題】濾過部の詰まりを好適に解消できる燃料電池システムを提供する。【解決手段】改質用水としての水から濾過によって不純物を除去する濾過部25と、水供給路13と、を備え、水供給路13は、改質用水タンク4と濾過部25とを繋ぐ第1供給路31と、濾過部25と電池冷却水タンク3とを繋ぐ第2供給路32と、を有しており、水供給ポンプ14は、第2供給路32に設けられていると共に、濾過部25から電池冷却水タンク3へ向かう方向に水を送る正方向動作と、電池冷却水タンク3から濾過部25へ向かう方向に水を送る逆方向動作と、が可能であり、制御装置Cは、燃料電池1を発電運転させる発電処理と、水供給ポンプ14に逆方向動作を実行させる逆方向処理と、を互いに重複しないタイミングで行うように構成されている。【選択図】図3

電気化学反応装置及び通電体

NºPublicación:  JP2025135613A 18/09/2025
Solicitante: 
株式会社神鋼環境ソリューション
JP_2025135613_PA

Resumen de: JP2022182694A

To provide an apparatus with reduced weight in which an electrochemical reaction is performed, such as an electrochemical reaction apparatus.SOLUTION: Provided is an electrochemical reaction apparatus comprising a reaction part in which an electrochemical reaction is performed and an energizing part in which power is supplied to or received from the reaction part. The energizing part has an energizer abutting on the reaction part. The reaction part has an abutting surface abutting on the energizer. The energizer is composed of a polymer composition containing an electronically conductive polymer. Also provided is the energizer used in such a reactor.SELECTED DRAWING: Figure 4

異常診断装置

NºPublicación:  JP2025135287A 18/09/2025
Solicitante: 
大阪瓦斯株式会社
JP_2025135287_PA

Resumen de: JP2025135287A

【課題】燃料電池装置で発生する異常の内容を適切に診断できる異常診断装置の提供。【解決手段】異常診断装置が、出力電圧が所定の低下状態であるという第1判定条件が満たされ、且つ、所定の目標原燃料流量に対する原燃料流量の乖離量が設定値以上であるという第2判定条件が満たされる場合、原燃料供給路を介した原燃料の供給系統の異常、又は、ホットモジュールの異常が発生していると判定する。【選択図】図3

異常診断装置

NºPublicación:  JP2025135289A 18/09/2025
Solicitante: 
大阪瓦斯株式会社
JP_2025135289_PA

Resumen de: JP2025135289A

【課題】燃料電池装置で発生する異常の内容を適切に診断できる異常診断装置の提供。【解決手段】異常診断装置が、空間温度測定器が測定する外側容器内空間の温度が所定の高温状態であるという第1判定条件が満たされ、且つ、空間温度測定器が測定する外側容器内空間の温度の変化速度が設定値以上である、或いは、発電停止中に第1判定条件が満たされたという第2判定条件が満たされる場合、空間温度測定器の異常が発生していると判定する。【選択図】図3

異常診断装置

NºPublicación:  JP2025135284A 18/09/2025
Solicitante: 
大阪瓦斯株式会社
JP_2025135284_PA

Resumen de: JP2025135284A

【課題】燃料電池装置で発生する異常の内容を適切に診断できる異常診断装置の提供。【解決手段】施異常診断装置が、空気流量測定器の測定値と目標空気流量とが乖離しているという第1判定条件が満たされ、且つ、大空気流量状態及び小空気流量状態の両方が現れるという第2判定条件が満たされ、且つ、判定期間に、原燃料流量測定器の測定値が所定の目標原燃料流量よりも大きく且つ目標原燃料流量に対する原燃料流量測定器の測定値の燃料乖離量が設定燃料乖離値以上となる大燃料流量状態、及び、原燃料流量測定器の測定値が目標原燃料流量よりも小さく且つ燃料乖離量が設定燃料乖離値以上となる小燃料流量状態の両方が現れるという第3判定条件が満たされる場合、内側空間から排気口を介して行われる、燃焼部での燃焼により発生したガスを含む排出ガスの排気の不良が発生していると判定する。【選択図】図3

異常診断装置

NºPublicación:  JP2025135285A 18/09/2025
Solicitante: 
大阪瓦斯株式会社
JP_2025135285_PA

Resumen de: JP2025135285A

【課題】燃料電池装置で発生する異常の内容を適切に診断できる異常診断装置の提供。【解決手段】異常診断装置が、熱交換温度測定器が測定する熱交換器温度が所定の高温状態にあるという第1判定条件が満たされ、且つ、熱交換温度測定器が測定する熱交換器温度が排出ガス温度測定器が測定する排出ガスの温度より高いという第2判定条件が満たされる場合、熱交換温度測定器の異常が発生していると判定する。【選択図】図3

異常診断装置

NºPublicación:  JP2025135288A 18/09/2025
Solicitante: 
大阪瓦斯株式会社
JP_2025135288_PA

Resumen de: JP2025135288A

【課題】燃料電池装置で発生する異常の内容を適切に診断できる異常診断装置の提供。【解決手段】異常診断装置が、燃料電池装置の起動異常が発生しているという第1判定条件が満たされ、且つ、原燃料ブロアの出力と原燃料流量測定器によって測定される原燃料流量との相関関係に基準値以上の乖離があるという第2判定条件が満たされる場合、原燃料流量測定器の異常が発生していると判定する。【選択図】図3

PYRIDINIUM COMPOUNDS WITH LOW REDUCTION POTENTIALS AND PERSISTENT RADICAL STATES

NºPublicación:  WO2025193667A1 18/09/2025
Solicitante: 
UNIV MICHIGAN STATE [US]
BOARD OF TRUSTEES OF MICHIGAN STATE UNIVERSITY
WO_2025193667_PA

Resumen de: WO2025193667A1

A series of pyridinium compounds having a low reduction potential and a highly persistent radical state are utilized as anolytes in redox flow, thin-film metal-organic hybrid and all-organic batteries.

HOT WATER SUPPLY SYSTEM USING FUEL CELL MODULE

NºPublicación:  WO2025193037A1 18/09/2025
Solicitante: 
MICO POWER LTD [KR]
\uC8FC\uC2DD\uD68C\uC0AC \uBBF8\uCF54\uD30C\uC6CC
WO_2025193037_PA

Resumen de: WO2025193037A1

The present invention provides a hot water supply system using a fuel cell module, the hot water supply system comprising: a fuel cell module including an exhaust gas heat exchanger; a hot water storage tank which is connected to the exhaust gas heat exchanger provided in the fuel cell module by a first circulation line for guiding fluid flow, and which draws in and stores hot water heated by exchanging heat with exhaust gas in the exhaust gas heat exchanger; a radiator which is connected to the hot water storage tank by a second circulation line for guiding fluid flow and draws in the hot water discharged from the hot water storage tank and radiates the heat of the hot water to cool and discharge as cooled hot water; a circulation pump which is connected to the radiator by a third circulation line for guiding fluid flow and returns the cooled hot water discharged from the radiator to the exhaust gas heat exchanger of the fuel cell; and a proportional control valve provided on the third circulation line connecting the circulation pump and the exhaust gas heat exchanger to adjust the flow rate of the cooled hot water flowing into the exhaust gas heat exchanger by adjusting the degree of opening of the valve in accordance with the temperature of the hot water discharged from the exhaust gas heat exchanger.

CELL UNIT

NºPublicación:  WO2025192600A1 18/09/2025
Solicitante: 
NOK CORP [JP]
\uFF2E\uFF2F\uFF2B\u682A\u5F0F\u4F1A\u793E
WO_2025192600_PA

Resumen de: WO2025192600A1

This cell unit (2) comprises: a base material (10) that defines a first surface (13) and a second surface (14) that face each other back to back; a hole (15) that penetrates the base material (10) from the first surface (13) to the second surface (14); a film (21) that is disposed in the hole (15) and partitions the hole (15) into a first space (17) on the first surface (13) side and a second space (18) on the second surface (14) side; and an annular outer peripheral member (32) disposed around the outer peripheral surface (11a) of the base material (10).

CELL UNIT

NºPublicación:  WO2025192602A1 18/09/2025
Solicitante: 
NOK CORP [JP]
\uFF2E\uFF2F\uFF2B\u682A\u5F0F\u4F1A\u793E
WO_2025192602_PA

Resumen de: WO2025192602A1

A cell unit (2) comprises: a base material (10) that defines a first surface (11) and a second surface (12) facing each other; a hole (13) that penetrates from the first surface (11) to the second surface (12); a film (21) that is disposed in the hole (13) and partitions the hole (13) into a first space (15) on the first surface (11) side and a second space (16) on the second surface (12) side; a first flow path (40) that is formed on the base material (10) and serves for introducing a first fluid into the first space (15); a second flow path (42) that is formed on the base material (10) and serves for taking out a second fluid from the second space (16); a first gasket (50) disposed on the first surface (11) and surrounding the first space (15) and the first flow path (40); and a second gasket (51) disposed on the first surface (11) and surrounding the second flow path (42) on the outside of the first gasket (50).

WORK VEHICLE

NºPublicación:  WO2025192620A1 18/09/2025
Solicitante: 
KUBOTA KK [JP]
\u682A\u5F0F\u4F1A\u793E\u30AF\u30DC\u30BF
WO_2025192620_PA

Resumen de: WO2025192620A1

The present invention provides a work vehicle (1) capable of appropriately discharging water and air generated when a fuel cell (60) generates power. The present invention includes: a driver seat (DS); a fuel cell (60); and a discharge pipe (61) for discharging, to the outside, exhaust gas and wastewater generated in conjunction with the generation of power by the fuel cell (60). The discharge pipe (61) is disposed between the driver seat (DS) and the fuel cell (60).

TIN OXIDE POWDER, METHOD FOR PRODUCING SAME, AND ELECTRODE CATALYST FOR FUEL CELL

NºPublicación:  WO2025192311A1 18/09/2025
Solicitante: 
MITSUI MINING & SMELTING CO LTD [JP]
\u4E09\u4E95\u91D1\u5C5E\u9271\u696D\u682A\u5F0F\u4F1A\u793E
WO_2025192311_PA

Resumen de: WO2025192311A1

The present invention addresses the problem of providing a tin oxide powder that, when used as a carrier of a catalyst, is capable of improving the durability of the carrier. This tin oxide powder is composed of an aggregation of tin oxide secondary particles configured from aggregates of primary particles of tin oxide. The tin oxide powder has pores having a diameter of 10 nm or less and pores having a diameter greater than 10 nm. The tap density of the tin oxide powder is 1.0 g/cm3 or greater. When a log differential pore volume distribution in a pore diameter range of 1-300 nm is measured using a nitrogen adsorption method, it is preferable to have a first peak at 1-10 nm and a second peak at greater than 10 nm but not greater than 300 nm.

GASKET

NºPublicación:  WO2025192504A1 18/09/2025
Solicitante: 
NOK CORP [JP]
\uFF2E\uFF2F\uFF2B\u682A\u5F0F\u4F1A\u793E
WO_2025192504_PA

Resumen de: WO2025192504A1

A gasket (1) is a gasket that is compressed to seal the space between a pair of opposing members. The gasket (1) is provided with an annular adhesive portion (10) and an annular seal portion (20). The seal portion (20) prevents the adhesive portion (10) from being exposed to the sealed space.

PROTON CONDUCTOR, METHOD FOR PRODUCING SAME, PROTON CONDUCTOR COMPOSITE FILM, AND METHOD FOR PRODUCING SAME

NºPublicación:  WO2025192524A1 18/09/2025
Solicitante: 
TOKYO METROPOLITAN PUBLIC UNIV CORPORATION [JP]
\u6771\u4EAC\u90FD\u516C\u7ACB\u5927\u5B66\u6CD5\u4EBA
WO_2025192524_PA

Resumen de: WO2025192524A1

Provided is a method for producing a proton conductor, the method comprising: hydrolyzing and polycondensing a compound represented by formula (1) and a compound represented by formula (2) so as to form a siloxane bond, thereby obtaining a precursor 1 that has an -SH group and a group represented by formula (3); oxidizing the -SH group of the precursor 1 so as to obtain a precursor 2 that has a sulfonic acid group and a group represented by formula (3); and subsequently crosslinking the precursor 2 by means of polyvalent metal ions. Formula (1): R1 s(OR2)3-sSi-Q1-SH, Formula (2): R3 t(OR4)3-tSi-Q2-P(=O)R5 u(OR6)2-u, Formula (3): -P(=O)R5 u(OR6)2-u

ELECTROCHEMICAL ELEMENT, ELECTROCHEMICAL ELEMENT ROLL, AND METHOD FOR MANUFACTURING ELECTROCHEMICAL ELEMENT

NºPublicación:  WO2025192158A1 18/09/2025
Solicitante: 
NITTO DENKO CORP [JP]
\u65E5\u6771\u96FB\u5DE5\u682A\u5F0F\u4F1A\u793E
WO_2025192158_PA

Resumen de: WO2025192158A1

An electrochemical element according to one embodiment of the present invention comprises, in the following order, a glass film capable of transmitting gas, an electrode layer, and an electrolyte layer, wherein the bending radius is greater than 20 mm and equal to or less than 200 mm, and the thickness of the glass film is 20-200 μm inclusive.

HUMIDIFYING MEMBRANE MODULE FOR FUEL CELL, HOLLOW FIBER MEMBRANE FOR HUMIDIFYING FUEL CELL, METHOD FOR PRODUCING HOLLOW FIBER MEMBRANE FOR HUMIDIFYING FUEL CELL, AND METHOD FOR HUMIDIFYING FUEL CELL

NºPublicación:  WO2025191928A1 18/09/2025
Solicitante: 
NOK CORP [JP]
\uFF2E\uFF2F\uFF2B\u682A\u5F0F\u4F1A\u793E
WO_2025191928_PA

Resumen de: WO2025191928A1

The present invention provides, for example, a humidifying membrane module for a fuel cell, comprising a hollow fiber membrane which has excellent durability. Provided are, for example: a hollow fiber membrane (40) for humidifying a fuel cell, comprising a cylindrical braid (41) and a porous membrane (42) that is provided to the outer peripheral side of the braid (41); a humidifying membrane module (1) for a fuel cell, comprising the hollow fiber membrane (40); and a method for humidifying a fuel cell using the hollow fiber membrane (40).

HYDROGEN CONSUMPTION DEVICE AND HYDROGEN CONSUMPTION SYSTEM

NºPublicación:  WO2025192387A1 18/09/2025
Solicitante: 
TOYOTA MOTOR CO LTD [JP]
\u30C8\u30E8\u30BF\u81EA\u52D5\u8ECA\u682A\u5F0F\u4F1A\u793E
WO_2025192387_PA

Resumen de: WO2025192387A1

This hydrogen consumption device comprises hydrogen consumption equipment to which a detachable hydrogen tank is connected and which consumes hydrogen in the hydrogen tank. An oxygen concentration reduction mechanism for reducing the concentration of oxygen mixed in hydrogen and supplying said hydrogen to the hydrogen consumption equipment is disposed in hydrogen supply piping between the hydrogen tank and the hydrogen consumption equipment.

ELECTROLYTIC CELL AND FUEL BATTERY CELL

NºPublicación:  WO2025191855A1 18/09/2025
Solicitante: 
NGK INSULATORS LTD [JP]
\u65E5\u672C\u788D\u5B50\u682A\u5F0F\u4F1A\u793E
WO_2025191855_PA

Resumen de: WO2025191855A1

An electrolytic cell (1) is provided with: a hydrogen electrode layer (6); an oxygen electrode layer (9); and an electrolyte layer (7) disposed between the hydrogen electrode layer (6) and the oxygen electrode layer (9). The hydrogen electrode layer (6) includes, in order from the electrolyte layer (7) side, a first layer (61), a second layer (62), and a third layer (63). Each of the first layer (61), the second layer (62), and the third layer (63) includes pores and is composed of nickel and a ceramic material having oxide-ion conductivity. The content of the ceramic material in the first layer (61) is greater than the content of the ceramic material in the second layer (62), and the content of the ceramic material in the second layer (62) is greater than the content of the ceramic material in the third layer (63).

REDOX FLOW BATTERY SYSTEM AND METHOD FOR OPERATING REDOX FLOW BATTERY

NºPublicación:  WO2025192118A1 18/09/2025
Solicitante: 
SUMITOMO ELECTRIC INDUSTRIES [JP]
\u4F4F\u53CB\u96FB\u6C17\u5DE5\u696D\u682A\u5F0F\u4F1A\u793E
WO_2025192118_PA

Resumen de: WO2025192118A1

This redox flow battery system comprises: a battery cell to which a positive electrode electrolyte and a negative electrode electrolyte are supplied; a measurement device that measures the state of charge of each of the positive electrode electrolyte and the negative electrode electrolyte; and a control device that controls charging and discharging of the battery cell. The control device comprises a first control unit that performs charging until the state of charge of the positive electrode electrolyte reaches a first upper limit value or until the state of charge of the negative electrode electrolyte reaches a second upper limit value. The first upper limit value is set in advance so as to maximize energy density, and the second upper limit value is set in advance so as to maximize energy density.

FUEL CELL SYSTEM OPERATING CONDITION DETECTION METHOD, AUTOMATIC TEST METHOD, AND TEST SYSTEM

NºPublicación:  WO2025190417A1 18/09/2025
Solicitante: 
SHANGHAI XCMG INTELLIGENT TECH CO LTD [CN]
JIANGSU XCMG CONSTRUCTION MACHINERY RES INSTITUTE LTD [CN]
\u4E0A\u6D77\u5F90\u5DE5\u667A\u80FD\u79D1\u6280\u6709\u9650\u516C\u53F8,
\u6C5F\u82CF\u5F90\u5DE5\u5DE5\u7A0B\u673A\u68B0\u7814\u7A76\u9662\u6709\u9650\u516C\u53F8
WO_2025190417_PA

Resumen de: WO2025190417A1

Disclosed in the present invention are a fuel cell system operating condition detection method, an automatic test method, and a test system. The fuel cell system operating condition detection method comprises: firstly, on the basis of main operating conditions of a fuel cell system, selecting a current, a hydrogen inlet pressure, an air inlet pressure, a coolant inlet temperature and a coolant outlet temperature as determination references for operating condition detection; then, performing interpolation on the basis of the current value of the current, so as to acquire control target values of the remaining parameters; and finally, determining a system state on the basis of signal features of the current combined with whether the remaining parameters are within threshold ranges of the control target values, so as to complete operating condition identification. The method is applicable to a fuel cell test system, and has the advantages of facilitating calculation, requiring no training, allowing online operation, involving an automatic test sequence, etc. An automatic test procedure can also avoid the problem of the next group of new test conditions being automatically triggered due to latency-induced erroneous determination during operating condition detection, thereby improving the stability and reliability of the system.

IONIC POLYNORBORNENE CROSSLINKED ANION EXCHANGE MEMBRANE AND PREPARATION METHOD THEREFOR AND USE THEREOF

NºPublicación:  WO2025189896A1 18/09/2025
Solicitante: 
BEIJING CLEANWAY MEMBRANE TEC CO LTD [CN]
\u5317\u4EAC\u6E05\u73AE\u819C\u79D1\u6280\u6709\u9650\u516C\u53F8
WO_2025189896_PA

Resumen de: WO2025189896A1

The present invention provides an ionic polynorbornene crosslinked anion exchange membrane and a preparation method therefor and a use thereof. The membrane prepared in the present invention has a smooth and transparent surface, has excellent conductivity, stability and mechanical properties, and can be applied to the fields of fuel cells, electrolyzed water, electrodialysis, acid recovery, etc. The preparation method of the present invention is simple to operate, and fewer polymerization catalysts can be used when combined with a chain transfer agent, thereby reducing costs; and scale-up production and roll-to-roll continuous preparation can be achieved, providing a guarantee for industrial production and application of membranes.

FLOW BATTERY

NºPublicación:  WO2025189604A1 18/09/2025
Solicitante: 
VRB ENERGY OPERATIONS BEIJING CO LTD [CN]
VRB ENERGY INC [GB]
\u5317\u4EAC\u666E\u80FD\u4E16\u7EAA\u79D1\u6280\u6709\u9650\u516C\u53F8,
VRB\u80FD\u6E90\u516C\u53F8
WO_2025189604_A1

Resumen de: WO2025189604A1

Provided in the present application is a flow battery. In the flow battery, the opposite sides of any adjacent frames are provided with a main engagement protruding portion, a main engagement recessed portion, a first electrolyte inlet channel, a first electrolyte outlet channel, a second electrolyte inlet channel and a second electrolyte outlet channel, wherein the main engagement protruding portion engages with the main engagement recessed portion to form a main sealing engagement path; the first electrolyte inlet channel, a first cavity and the first electrolyte outlet channel are in communication with one another; the second electrolyte inlet channel, a second cavity and the second electrolyte outlet channel are in communication with one another; and at least one of the first electrolyte inlet channel, the first electrolyte outlet channel, the second electrolyte inlet channel and the second electrolyte outlet channel is separated by means of the main sealing engagement path. Between adjacent frames, at least one of the first electrolyte inlet channel, the first electrolyte outlet channel, the second electrolyte inlet channel and the second electrolyte outlet channel is separated by means of the main sealing engagement path, thereby providing advantages such as simple production processes, low production costs and good sealing effects.

BIPOLAR PLATE STRUCTURE AND MANUFACTURING METHOD THEREFOR, AND FLOW BATTERY

NºPublicación:  WO2025189603A1 18/09/2025
Solicitante: 
VRB ENERGY OPERATIONS BEIJING CO LTD [CN]
VRB ENERGY INC [GB]
\u5317\u4EAC\u666E\u80FD\u4E16\u7EAA\u79D1\u6280\u6709\u9650\u516C\u53F8,
VRB\u80FD\u6E90\u516C\u53F8
WO_2025189603_PA

Resumen de: WO2025189603A1

The present application provides a bipolar plate structure and a manufacturing method therefor, and a flow battery. The bipolar plate structure comprises a bipolar plate body, wherein each of two side surfaces of the bipolar plate body comprises a coverage area that is covered by an electrode and a circumferential edge area that is not covered by the electrode, the circumferential edge area is covered by a shell, the shell is made of modified polypropylene, and the modified polypropylene is formed by blending and modifying polypropylene-grafted maleic anhydride, maleic anhydride grafted with an ethylene-octylene copolymer, and polypropylene. Since the edge area of the body of the bipolar plate structure of the present application is covered by the shell having enhanced mechanical properties, ageing resistance, oxidation resistance and other performance, the leakage problem is avoided, and the overall performance and system stability of a flow battery are improved.

ELECTROCHEMICAL CELL

NºPublicación:  US2025293267A1 18/09/2025
Solicitante: 
DENSO CORP [JP]
Denso Corporation
US_2025293267_PA

Resumen de: US2025293267A1

An electrochemical cell is disposed of a fuel electrode layer, a solid electrolyte layer, and an air electrode layer, in this order. The air electrode layer includes a plurality of catalyst particles for an air electrode which is composed of a catalyst material, a plurality of electrolyte particles for the air electrode which is composed of a solid electrolyte material, and at least one pore. The catalyst material has a coefficient of linear thermal expansion at 700° C. within a range of greater than 15x10−6/K and less than 30x10−6/K. When a first total surface area of the catalyst particles is Scat, and a second total surface area of an interface portion where a first surface of the catalyst particles is in contact with a second surface of the electrolyte particles is Scat-ele, the air electrode lay has a value of Scat-ele/Scat of 0.6 or more.

MULTI-ELEMENT CATALYST INCLUDING INTERMETALLIC ALLOY NANOPARTICLES AND METHOD FOR PREPARING THE SAME

NºPublicación:  US2025288978A1 18/09/2025
Solicitante: 
KOREA INST SCI & TECH [KR]
KOREA INSTITUTE OF SCIENCE AND TECHNOLOGY
US_2025288978_PA

Resumen de: US2025288978A1

The present disclosure relates to a multi-element catalyst and a method for preparing the same. The multi-element catalyst of the present disclosure, wherein a noble metal and a transition metal form an intermetallic crystal structure and are supported on a carbon support with strong binding force, can exhibit excellent durability, stability, and catalytic activity.

METHOD FOR PRODUCING PELLETS, PELLETS AND ION EXCHANGE FILM

NºPublicación:  US2025289918A1 18/09/2025
Solicitante: 
AGC INC [JP]
AGC Inc
US_2025289918_A1

Resumen de: US2025289918A1

A pellet of a fluorinated polymer having groups convertible to ion exchange groups such that the fluorinated polymer has ion exchange capacity of at least 1.1 milliequivalent/g dry resin upon conversion of the convertible groups to ion exchange groups is provided. The pellet has a visible light transmittance of from 30 to 60% in a light wavelength range of 400 to 700 nm. An ion exchange membrane obtained by melt extrusion of the pellet is also provided.

CARBON DIOXIDE CAPTURE AND CARBON RESOURCE UTILIZATION SYSTEM, FOR FUEL CELL, USING BOIL-OFF GAS GENERATED FROM LIQUEFIED NATURAL GAS

NºPublicación:  US2025289716A1 18/09/2025
Solicitante: 
LOWCARBON CO LTD [KR]
LOWCARBON CO., LTD
US_2025289716_PA

Resumen de: US2025289716A1

Proposed is a carbon dioxide capture and carbon resource utilization system, for a fuel cell, using boil-off gas (BOG) generated from liquefied natural gas. The system includes a liquefied natural gas storage configured to store liquefied natural gas (LNG), a hydrocarbon reformer configured to react boil-off gas generated from liquefied natural gas storage with water input from outside, thereby generating a gas mixture containing hydrogen and carbon dioxide, a fuel cell configured to generate electric power by receiving hydrogen, a reactor configured to capture carbon dioxide by reacting carbon dioxide with a basic alkali mixture solution and to collect a reaction product containing the captured carbon dioxide and to separate a carbon dioxide reaction product and a waste solution from the reaction product, and a hydrogen generator configured to generate hydrogen and to supply the generated hydrogen to the fuel cell.

Fuel Cell Auxiliary Power Generation System for a Vehicle

NºPublicación:  US2025289348A1 18/09/2025
Solicitante: 
BWR INNOVATIONS LLC [US]
BWR Innovations LLC
US_2025289348_PA

Resumen de: US2025289348A1

A vehicle power system including a fuel cell auxiliary power unit for providing clean, efficient power to a vehicle. The system generally includes a fuel cell with a first DC output and a heat output, a pressure vessel adapted to contain and provide pressurized hydrogen to the fuel cell, an electrical storage unit with a DC input coupled to the first DC output of the fuel cell. The electrical storage unit also has a second DC output. An inverter is coupled to the second DC output of the electrical storage unit to receive power, the inverter having a first AC output. The system can provide heat, AC power, and DC power to the vehicle.

SYSTEMS AND METHODS FOR INITIATING POWER GENERATION

NºPublicación:  US2025293516A1 18/09/2025
Solicitante: 
TOYOTA MOTOR ENGINEERING & MFG NORTH AMERICA INC [US]
Toyota Motor Engineering & Manufacturing North America, Inc
US_2023213905_PA

Resumen de: US2025293516A1

Systems, methods, and other embodiments described herein relate to safely activating a fuel cell (FC) within a generator. In one embodiment, a method includes initiating a test for sensitive systems of a generator during a standby status using backup power including a battery. The method also includes powering an FC and a direct current (DC) converter on a first bus within the generator by increasing an operational voltage on a second bus using the battery. The method also includes, upon successfully completing the test and powering the FC and the DC converter, energizing a load inverter by switching power flow from the battery to the FC after completing a non-critical sequence that controls support systems of the generator for a generating status, wherein the DC converter stabilizes voltage energy between the FC directly connected on the first bus above a minimum voltage and output energy to the second bus.

ELECTRODE

NºPublicación:  US2025293266A1 18/09/2025
Solicitante: 
DENSO CORP [JP]
DENSO CORPORATION
CN_120657145_PA

Resumen de: US2025293266A1

An electrode includes electrolyte particles and Ni-based particles. The electrolyte particles contain Gd-doped CeO2 (GDC) and/or Gd- and La-doped CeO2 (La-GDC). The Ni-based particles are composed of core-shell particles in which a surface of a core composed of Ni or a Ni-based alloy is partially or fully covered by a shell composed of a composite oxide containing NiO or Ni.

FUEL CELL POWER GENERATION MODULE

NºPublicación:  US2025293361A1 18/09/2025
Solicitante: 
HYUNDAI MOTOR CO LTD [KR]
KIA CORP [KR]
HYUNDAI MOTOR COMPANY,
Kia Corporation
US_2025293361_PA

Resumen de: US2025293361A1

A fuel cell power generation module includes an accommodation frame defining a first accommodation space, and a first shelf that supports an electric part including a fuel cell, and supported by the accommodation frame to be extracted from the first accommodation space forward thereof.

BIPOLAR PLATE FOR METAL-AIR/LIQUID BATTERIES

NºPublicación:  US2025293265A1 18/09/2025
Solicitante: 
RTX CORP [US]
RTX CORPORATION

Resumen de: US2025293265A1

A bipolar plate for a battery includes a metal sheet that has a first side and a second, opposite side. The metal sheet is folded so as to form a series of loops on the second side. The loops are spaced apart to define flow field passages therebetween on the second side. Each of the loops is bonded along an edge at the first side so as to enclose an internal passage.

Advanced Hydrogen Fuel Cell

NºPublicación:  US2025293278A1 18/09/2025
Solicitante: 
GOMEZ RODOLFO ANTONIO M [AU]
Gomez Rodolfo Antonio M
AU_2024203128_B1

Resumen de: US2025293278A1

An advanced hydrogen fuel cell system in which the anode cell includes an acidic electrolyte and the cathode cell includes an alkaline electrolyte, operation of improved advanced hydrogen fuel cell system yields an increase in the generation of fuel cell voltage in comparison to known hydrogen fuel cell. In addition, the advanced hydrogen fuel cell system is compatible with water electrolysis processes, in particular unipolar electrolysis of water that further increases the energy output of the system and efficiency.

MEMBRANE ELECTRODE ASSEMBLY

NºPublicación:  US2025293279A1 18/09/2025
Solicitante: 
GM GLOBAL TECH OPERATIONS LLC [US]
GM Global Technology Operations LLC
CN_120657181_PA

Resumen de: US2025293279A1

A membrane electrode assembly includes a cathode portion including a cathode electrode and an anode portion disposed opposite the cathode portion and including an anode electrode. Additionally, the membrane electrode assembly includes a polymer electrolyte membrane extending between the cathode portion and the anode portion. Moreover, the membrane electrode assembly includes one or more metal oxides disposed therein with the metal oxides configured to react with hydrogen peroxide within the membrane electrode assembly. Additionally, the membrane electrode assembly includes one or more metal cations disposed therein with the metal cations configured to react with hydroxyl radicals disposed within the membrane electrode assembly.

COOLING DEVICE FOR FUEL CELL VEHICLE

NºPublicación:  US2025293275A1 18/09/2025
Solicitante: 
TOYOTA JIDOSHA KK [JP]
TOYOTA JIDOSHA KABUSHIKI KAISHA

Resumen de: US2025293275A1

A cooling device for a fuel cell vehicle that includes a fuel cell stack. The cooling device includes a condenser, a radiator and a fan that are stored in a front storage room of the vehicle. The condenser, the radiator and the fan are arranged in this order of description as seen in a longitudinal direction of the vehicle, which is a direction away from a front side of the vehicle toward a rear side of the vehicle. The condenser is smaller than the radiator in area as seen in the longitudinal direction. The condenser and the radiator are located relative to each other, such that a center position of the condenser is within the radiator as seen in the longitudinal direction, and such that the center position of the condenser is offset from a center position of the radiator toward an upper side of the vehicle.

FLOW BATTERY

NºPublicación:  US2025293280A1 18/09/2025
Solicitante: 
VRB ENERGY INC [KY]
VRB Energy Inc
CN_118231722_PA

Resumen de: US2025293280A1

Provided herein is a flow battery, provided with a primary mating protrusion, a primary mating recess, a first liquid inlet channel, a first liquid outlet channel, a second liquid inlet channel, and a second liquid outlet channel on opposite sides of any adjacent frames, wherein the primary mating protrusion and the primary mating recess form a primary seal mating line, the first liquid inlet channel, a first cavity, and the first liquid outlet channel are communicated, and the second liquid inlet channel, a second cavity and the second liquid outlet channel are communicated; and at least one of the first liquid inlet channel, first liquid outlet channel, second liquid inlet channel, and second liquid outlet channel is produced by separation by the primary seal mating line. At least one of the first liquid inlet channel, first liquid outlet channel, second liquid inlet channel, and second liquid outlet channel is separated between adjacent frames by the primary seal mating line, having advantages such as a simple production process, a low production cost, and a good sealing effect.

ELECTRIC POWER SUPPLY SYSTEM

NºPublicación:  US2025293276A1 18/09/2025
Solicitante: 
HONDA MOTOR CO LTD [JP]
HONDA MOTOR CO., LTD

Resumen de: US2025293276A1

A control device calculates a required startup power as an electric power required to start a fuel cell system (referred to as an “FCS”). The control device sets priorities indicating order of startups on the plurality of FCSs according to the temperature and the required startup power of each of the FCSs, and a remaining capacity of a battery, and start the plurality of FCSs in accordance with the priorities.

BIPOLAR PLATE STRUCTURE, METHOD OF MANUFACTURING SAME, AND FLOW BATTERY

NºPublicación:  US2025293271A1 18/09/2025
Solicitante: 
VRB ENERGY INC [KY]
VRB Energy Inc
CN_118198401_PA

Resumen de: US2025293271A1

The present application provides a bipolar plate structure, a method of manufacturing the same, and a flow battery. The bipolar plate structure includes a bipolar plate body, both side surfaces of which each include a covered region covered by an electrode and a circumferential edge region not covered by the electrode, wherein the circumferential edge region is covered by a housing made of a modified polypropylene, and the modified polypropylene is prepared by blending and modifying polypropylene-graft-maleic anhydride, poly(ethylene-octene)-graft-maleic anhydride and polypropylene. The bipolar plate structure of the present application avoids leakage problems, and enhances the overall performance of the flow battery and system stability due to the edge region of the bipolar plate body being covered by the housing with enhanced mechanical performance, aging resistance, oxidation resistance, etc.

BIPOLAR PLATE BULK MOLDING COMPOUND MATERIAL CHOICE

NºPublicación:  US2025293273A1 18/09/2025
Solicitante: 
LOCKHEED MARTIN ENERGY LLC [US]
LOCKHEED MARTIN ENERGY, LLC
AU_2023269129_PA

Resumen de: US2025293273A1

Provided are flow plate assemblies that comprise a flow plate—such as a bipolar plate—disposed within a frame. The frame can include one or more channels or manifolds to distribute active material to channels formed in the flow plate engaged with the frame. The assemblies can themselves be assembled into an electrochemical cell stack.

FRAMING ASSEMBLY FOR AN ELECTROCHEMICAL CELL AND METHOD OF USING THE SAME

NºPublicación:  US2025293274A1 18/09/2025
Solicitante: 
HYDROGENICS CORP [CA]
HYDROGENICS CORPORATION
CN_120657163_PA

Resumen de: US2025293274A1

A frame assembly includes an electrochemical cell, a frame, and a reinforcement system. The electrochemical cell includes a first catalyst layer, a second catalyst layer spaced apart from the first catalyst layer, and a membrane located between the first catalyst layer and the second catalyst layer. The frame includes an upper frame arranged above the membrane and a lower frame arranged below the membrane. The reinforcement system is configured to increase a mechanical stability of the electrochemical cell.

METAL BEAD SEAL BUCKLING LOAD AND PRESSURE UNIFORMITY WITH AN ENFORCEMENT LAYER

NºPublicación:  US2025293272A1 18/09/2025
Solicitante: 
GM GLOBAL TECH OPERATIONS LLC [US]
GM Global Technology Operations LLC
CN_120657157_PA

Resumen de: US2025293272A1

A bipolar plate includes an anode plate and a cathode plate. The anode plate has an interior side and an exterior side opposite the interior side. The cathode plate has an interior side and an exterior side opposite the interior side. The interior side of the cathode plate faces the interior side of the anode plate. The bipolar plate includes a bead region. A portion of the interior side of the anode plate at the bead region is spaced from a portion of the interior side of the cathode plate at the bead region. An enforcement layer is disposed between the interior side of the anode plate and the interior side of the cathode plate at the bead region. The enforcement layer is configured to resist compression forces experienced at the exterior side of the anode plate and the exterior side of the cathode plate at the bead region.

METHOD OF SHAPING BIPOLAR PLATES

NºPublicación:  US2025293270A1 18/09/2025
Solicitante: 
GM GLOBAL TECH OPERATIONS LLC [US]
GM Global Technology Operations LLC
CN_120657147_PA

Resumen de: US2025293270A1

A method of preparing a bipolar plate for a fuel cell includes placing a sheet in a bipolar plate forming apparatus, deforming a first region the sheet in a first stage between a first die and a first punch, the first stage forming one or more walls and one or more apexes, deforming a second region of the sheet in a second stage between a second die and a second punch, the second region being arranged laterally on either side of the of the first region, the second stage forming at least one first flat and at least one second flat on either side of the one or more walls, and deforming a third region of the sheet in a third stage between a third die and a third punch, the third region being arranged laterally between the first region and the second region.

CORE/SHELL CATALYSTS HAVING A PALLADIUM-CORE SURROUNDED BY A PLATINUM-SHELL FOR HIGH TEMPERATURE POLYMER EXCHANGE MEMBRANE FUEL CELLS

NºPublicación:  US2025293268A1 18/09/2025
Solicitante: 
TOYOTA MOTOR ENGINEERING & MFG NORTH AMERICA INC [US]
TOYOTA JIDOSHA KK [JP]
Toyota Motor Engineering & Manufacturing North America, Inc,
Toyota Jidosha Kabushiki Kaisha

Resumen de: US2025293268A1

A core/shell catalyst, and, a phosphoric acid or a phosphonated ionomer contacting the core/shell catalyst in a fuel cell. The core/shell catalyst comprises a core surrounded by a shell, the core comprising palladium or a palladium-M1 alloy, the shell comprising a platinum-M2 alloy. M1 is chosen from scandium, titanium, vanadium, chromium, manganese, iron, cobalt, nickel, copper or zinc; and M2 is gold or silver. High-temperature polymer electrolyte membrane fuel cells (HT-PEMFCs, with phosphoric-acid-contained polymer matrix) employing a core/shell catalyst, and, a phosphoric acid or a phosphonated ionomer contacting the core/shell catalyst are disclosed.

Apparatus for Controlling Fuel Cell and Method Thereof

NºPublicación:  US2025293277A1 18/09/2025
Solicitante: 
HYUNDAI MOTOR COMPANY [KR]
KIA CORP [KR]
Hyundai Motor Company,
Kia Corporation

Resumen de: US2025293277A1

An apparatus for controlling a fuel cell includes a fuel cell with an anode and a cathode, an oxygen tank that supplies oxygen to the cathode, and a processor. The processor enables the fuel cell, in response to a request to enable the fuel cell with preset electric power being less than a reference value of a stack included in the fuel cell, adjusts an internal pressure of a cathode to a preset pressure by adjusting an amount of oxygen supplied from the oxygen tank to the cathode while driving an air compressor included in the fuel cell, based on enabling of the fuel cell, and controls at least one of driving of the air compressor or a pressure of oxygen based on that the electric power being less than the reference value and more than the preset electric power while the fuel cell outputs the electric power by the preset pressure.

CARBON-AIR SECONDARY BATTERY

NºPublicación:  AU2024234465A1 18/09/2025
Solicitante: 
INST OF SCIENCE TOKYO
INSTITUTE OF SCIENCE TOKYO
AU_2024234465_PA

Resumen de: AU2024234465A1

Provided is a carbon-air secondary battery with which a large amount of stored electricity can be ensured, charge/discharge efficiency is high, and cycle characteristics are favorable. A secondary battery 1 has: a reactor 20 in which a negative electrode 21 is installed, which is separated from the outside by an electrolyte 23, and which is configured to store carbon deposited during charging; and a structure 60 that surrounds the reactor 20 and minimizes heat loss from the reactor 20 due to radiative heat transfer. During charging, carbon dioxide is electrolyzed on the surface of the negative electrode 21, carbon is precipitated on the negative electrode side which is a closed system, and oxygen is produced at the positive electrode 22 from oxide ions that are produced at the negative electrode 21 and that have permeated through the electrolyte 23. During discharging, oxide ions are produced from oxygen at the positive electrode 22, and carbon and/or carbon monoxide are electrochemically oxidized on the surface of the negative electrode 21 to produce carbon dioxide.

気体検知器のためのカバー

NºPublicación:  JP2025135097A 18/09/2025
Solicitante: 
トヨタ自動車株式会社
JP_2025135097_PA

Resumen de: US2025283861A1

A cover for a gas detector mounted on a ceiling surface includes a flat plate portion disposed along the ceiling surface and to which the gas detector is fixed, and a collar portion extending so as to surround the gas detector in the flat plate portion and inclined downward as the distance from the gas detector increases. At least one of the flat plate portion and the collar portion is provided with a plurality of through holes, and the plurality of through holes are arranged so as to surround the gas detector.

燃料電池冷却システム

NºPublicación:  JP2025135170A 18/09/2025
Solicitante: 
トヨタ自動車株式会社
JP_2025135170_PA

Resumen de: US2025286094A1

A fuel cell cooling system includes a first cooling channel, a fuel cell, a second cooling channel, radiator, an intercooler, an intermediate heat exchanger including a first heat exchange channel and a second heat exchange channel, a parallel channel, and a valve. During power generation by the fuel cell, when the temperature of the coolant in the first cooling channel is lower than a first reference value, a first operation is performed in which coolant is circulated in the first cooling channel over a path passing through the fuel cell and the first heat exchange channel, and also coolant is circulated in the second cooling channel over a path passing through the radiator, the parallel channel and the intercooler. When the temperature of the coolant in the first cooling channel is higher than the first reference value, a second operation is performed.

燃料電池冷却システム

NºPublicación:  JP2025135164A 18/09/2025
Solicitante: 
トヨタ自動車株式会社
JP_2025135164_PA

Resumen de: US2025286093A1

In the fuel cell cooling system, a first cooling flow path, a fuel cell, a second cooling flow path, a radiator, an intercooler, an intermediate heat exchanger, and a bypass flow path, and during power generation of the fuel cell, when the temperature of the refrigerant in the first cooling flow path is lower than the first reference value, a first operation for circulating the refrigerant in the second cooling flow path is performed in a path passing through the intermediate heat exchanger, the intercooler, and the bypass flow path, and when the temperature of the refrigerant in the first cooling flow path is higher than the first reference value, a second operation for circulating the refrigerant in the second cooling flow path is performed in a path passing through the intermediate heat exchanger, the intercooler, and the radiator.

異常診断装置

NºPublicación:  JP2025135291A 18/09/2025
Solicitante: 
大阪瓦斯株式会社
JP_2025135291_PA

Resumen de: JP2025135291A

【課題】燃料電池装置で発生する異常の内容を適切に診断できる異常診断装置の提供。【解決手段】異常診断装置が、水情報測定器によって改質用水の電気伝導度が所定の高伝導度状態であることが測定されているという第1判定条件が満たされ、且つ、水情報測定器で測定される電気伝導度が改質用水の水質悪化の指標となる所定の閾値以上であるという第2判定条件が満たされる場合、改質用水の水質悪化が発生していると判定する。【選択図】図3

燃料電池冷却システム

NºPublicación:  JP2025135167A 18/09/2025
Solicitante: 
トヨタ自動車株式会社
JP_2025135167_PA

Resumen de: US2025286085A1

In the fuel cell cooling system, a first cooling channel, a fuel cell, a second cooling channel, a radiator, a heater, a heater core, and an intermediate heat exchanger are provided, and the second cooling channel includes a bypass channel provided in parallel to the radiator, and during power generation of the fuel cell, the coolant is circulated in the first cooling channel on a path through the fuel cell and the intermediate heat exchanger, and the coolant is circulated in the second cooling channel on a path through the intermediate heat exchanger, the heater, the heater core, and the bypass channel, thereby performing a first operation of heating air by the heater core. In the first operation, the temperature of the coolant in the second cooling channel is unlikely to decrease.

燃料電池冷却システム

NºPublicación:  JP2025135165A 18/09/2025
Solicitante: 
トヨタ自動車株式会社
JP_2025135165_PA

Resumen de: US2025286087A1

The fuel cell cooling system includes first and second cooling flow paths, a fuel cell, an ion exchanger, a radiator, and an intermediate heat exchanger. When the temperature of the refrigerant in the first cooling flow path is lower than a reference value during power generation of the fuel cell, a first operation is performed to circulate the refrigerant in the first cooling flow path along a route in which the refrigerant that has passed through the intermediate heat exchanger flows through the fuel cell and the ion exchanger in parallel and circulate the refrigerant in the second cooling flow path along a route in which the refrigerant passes through the intermediate heat exchanger and the radiator, and when the temperature of the refrigerant in the first cooling flow path is higher than the reference value during the power generation in the fuel cell, a second operation is performed.

異常診断装置

NºPublicación:  JP2025135286A 18/09/2025
Solicitante: 
大阪瓦斯株式会社
JP_2025135286_PA

Resumen de: JP2025135286A

【課題】燃料電池装置で発生する異常の内容を適切に診断できる異常診断装置の提供。【解決手段】異常診断装置が、燃焼部での失火の発生回数が所定の多数状態であるという第1判定条件が満たされ、且つ、内側温度測定器が測定する内側空間の温度、改質器温度測定器が測定する改質器の温度、又は、排出ガス温度測定器が測定する排出ガスの温度がそれぞれの測定上下限の範囲から逸脱しているという第2判定条件が満たされる場合、制御装置に異常があると判定する。【選択図】図3

メタノール改質触媒

NºPublicación:  JP2025135550A 18/09/2025
Solicitante: 
日本化薬株式会社
JP_2025135550_A

Resumen de: JP2025135550A

【課題】経時的な性能変化が少なく、特に活性低下が少なく、高温反応させても触媒の破損がないため反応成績の長期安定性が高いメタノール改質触媒を提供する。【解決手段】メタノールを改質して水素を製造するための触媒であって、(A)活性成分を有し、以下式(I)で表される振とう強度が30%以上であるメタノール改質触媒。振とう強度(%)=(振とう試験後1mmメッシュを通過しない触媒重量)/(振とう試験前の触媒重量)×100(I)【選択図】なし

異常診断装置

NºPublicación:  JP2025135290A 18/09/2025
Solicitante: 
大阪瓦斯株式会社
JP_2025135290_PA

Resumen de: JP2025135290A

【課題】燃料電池装置で発生する異常の内容を適切に診断できる異常診断装置の提供。【解決手段】異常診断装置が、振動測定器によって改質用水ポンプの正常振動が測定されないという第1判定条件が満たされ、且つ、水情報測定器の出力が正常であるという第2判定条件が満たされ、且つ、振動測定器及び信号伝送線の少なくとも一方の断線が発生しているという第3判定条件が満たされる場合、振動測定器及び信号伝送線の少なくとも一方の断線という異常が発生していると判定する。【選択図】図3

Verfahren zur Charakterisierung eines ersten Leistungs-Aggregats eines Energiesystems

NºPublicación:  DE102024202367A1 18/09/2025
Solicitante: 
BOSCH GMBH ROBERT [DE]
Robert Bosch Gesellschaft mit beschr\u00E4nkter Haftung

Resumen de: DE102024202367A1

Es wird ein Verfahren zur Charakterisierung eines ersten Leistungs-Aggregats eines Energiesystems, wobei das Energiesystem eine Vielzahl von Leistungs-Aggregate zur Bereitstellung von elektrischer Leistung aufweist; und wobei das Leistung-Aggregat einen Brennstoffzellen-System und/oder einen elektrischen Energiespeicher aufweist und wobei das Energiesystem elektrisch mit einem elektrischen Verbraucher gekoppelt ist; und das Energiesystem, eingerichtet ist, dem elektrischen Verbraucher eine dynamische Leistung zum Betrieb bereitzustellen, aufweisend:Bestimmen eines aktuellen Leistungsbedarfs des elektrischen Verbrauchers (S1); Bereitstellen eines Leistungs-Betriebspunkts für das erste Leistungs-Aggregat während der Charakterisierung (S2);Bereitstellen des aktuellen Leistungsbedarfs des Verbrauchers mittels der Vielzahl der Leistungs-Aggregate (S3), wobei das erste Leistungs-Aggregat gesteuert wird, die elektrische Leistung des Leistungs-Betriebspunkts stationär bereitzustellen; undCharakterisieren des ersten Leistungs-Aggregats (S4), wobei das erste Aggregat die elektrische Leistung stationär, entsprechend dem Leistungs-Betriebspunkt bereitstellt.

ELEKTRODE

NºPublicación:  DE102025109819A1 18/09/2025
Solicitante: 
DENSO CORP [JP]
DENSO CORPORATION
CN_120657145_PA

Resumen de: DE102025109819A1

Eine Elektrode beinhaltet Elektrolytteilchen und Ni-basierte Teilchen. Die Elektrolytteilchen enthalten Gd-dotiertes CeO2(GDC) und/oder Gd- und La-dotiertes CeO2(La-GDC). Die Ni-basierten Teilchen sind aus Kern-Hülle-Teilchen zusammengesetzt, in welchen eine Oberfläche eines Kerns, der aus Ni oder einer Ni-basierten Legierung zusammengesetzt ist, teilweise oder vollständig durch eine Hülle bedeckt ist, die aus einem Verbundoxid zusammengesetzt ist, das NiO oder Ni enthält.

Verfahren zum Betreiben eines Luftsystems, Luftsystem sowie Brennstoffzellensystem

NºPublicación:  DE102024202408A1 18/09/2025
Solicitante: 
BOSCH GMBH ROBERT [DE]
Robert Bosch Gesellschaft mit beschr\u00E4nkter Haftung

Resumen de: DE102024202408A1

Die Erfindung betrifft ein Verfahren zum Betreiben eines Luftsystems (1) mit einem Zuluftpfad (2), über den mindestens einem Brennstoffzellenstapel (3) Luft zugeführt wird, und einem Abluftpfad (4), über den die aus dem mindestens einen Brennstoffzellenstapel (3) austretende Luft abgeführt wird, wobei die Luft im Zuluftpfad (2) mit Hilfe eines Luftverdichtungssystems (5), das mindestens eine Verdichtungsstufe sowie mindestens eine in den Abluftpfad (4) integrierte Turbine (6) als Antrieb umfasst, verdichtet wird. Die Erfindung zeichnet sich dadurch aus, dassa) ein Volllast-Luftmassenstrom definiert wird,b) die Turbinen-Schluckgrenze durch entsprechende Auslegung auf einen maximalen reduzierten Luftmassenstrom gelegt wird, der vorzugsweise 10-50%, weiterhin vorzugsweise 20-40%, unterhalb des Volllast-Luftmassenstroms liegt,c) im Volllastbetrieb die Turbine (6) mit einem reduzierten Luftmassenstrom betrieben wird, der einen definierten Mindestabstand zum maximalen reduzierten Luftmassenstrom und damit zur Schluckgrenze einhält, und der darüberhinausgehende Luftmassenstrom über einen Bypasspfad (7) zur Umgehung der Turbine (6) geführt wird.Die Erfindung betrifft ferner ein Luftsystem (1) sowie ein Brennstoffzellensystem (10) mit einem erfindungsgemäßen Luftsystem (1).

Plattenelement, Bipolarplatte, Plattenanordnung und elektrochemisches System

NºPublicación:  DE102024107605A1 18/09/2025
Solicitante: 
EKPO FUEL CELL TECH GMBH [DE]
EKPO Fuel Cell Technologies GmbH

Resumen de: DE102024107605A1

Die Erfindung betrifft ein Plattenelement, insbesondere Bipolarplattenelement, für ein elektrochemisches System, das z. B. ein Brennstoffzellsystem sein kann, wobei das Plattenelement Folgendes aufweist: eine Betriebsfluidverteilstruktur an einer ersten der beiden Hauptoberflächen des Plattenelements, wobei die Betriebsfluidverteilstruktur wenigstens einen Betriebsfluidverteilkanal umfasst, und eine Strömungsstörstruktur an der ersten Hauptoberfläche des Plattenelements zwischen der Betriebsfluidverteilstruktur und einem Rand des Plattenelements.

VERFAHREN ZUR FORMUNG VON BIPOLARPLATTEN

NºPublicación:  DE102024113178A1 18/09/2025
Solicitante: 
GM GLOBAL TECH OPERATIONS LLC [US]
GM Global Technology Operations LLC
CN_120657147_PA

Resumen de: DE102024113178A1

Ein Verfahren zur Herstellung einer Bipolarplatte für eine Brennstoffzelle umfasst das Einlegen eines Blechs in eine Vorrichtung zur Umformung von Bipolarplatten, das Verformen eines ersten Bereichs des Blechs in einer ersten Stufe zwischen einer ersten Matrize und einem ersten Stempel, wobei in der ersten Stufe eine oder mehrere Wände und ein oder mehrere Scheitelpunkte gebildet werden, das Verformen eines zweiten Bereichs des Blechs in einer zweiten Stufe zwischen einer zweiten Matrize und einem zweiten Stempel, wobei der zweite Bereich seitlich auf beiden Seiten des ersten Bereichs angeordnet ist, wobei in der zweiten Stufe mindestens eine erste Abflachung und mindestens eine zweite Abflachung auf beiden Seiten der einen oder mehreren Wände gebildet werden, und das Verformen eines dritten Bereichs des Blechs in einer dritten Stufe zwischen einer dritten Matrize und einem dritten Stempel, wobei der dritte Bereich seitlich zwischen dem ersten Bereich und dem zweiten Bereich angeordnet ist.

Verfahren zum Betreiben eines Luftsystems zur Versorgung mindestens eines Stacks mit Luft, Steuergerät

NºPublicación:  DE102024202335A1 18/09/2025
Solicitante: 
BOSCH GMBH ROBERT [DE]
Robert Bosch Gesellschaft mit beschr\u00E4nkter Haftung

Resumen de: DE102024202335A1

Die Erfindung betrifft ein Verfahren zum Betreiben eines Luftsystems (1) zur Versorgung mindestens eines Stacks (4) mit Luft, wobei das Luftsystem (1) einen Zuluftpfad (2) für einen Stackeinlassluftmassenstrom, einen Abluftpfad (3) für einen Stackauslassluftmassenstrom und einen Kühlluftpfad (4) für einen Kühlluftmassenstrom aufweist, wobei mit dem Kühlluftmassenstrom ein Luftverdichtermodul (5) gekühlt wird, das mindestens einen in den Zuluftpfad (2) integrierten Kompressor (6) zum Verdichten eines aus der Umgebung in den Zuluftpfad (2) angesaugten Frischluftmassenstroms umfasst, aus dem sich alle im Luftsystem (1) befindlichen Luftmassenströme speisen und von dem der Kühlluftmassenstrom abgezweigt, über den Kühlluftpfad (4) dem Luftverdichtermodul (5) zur Kühlung zugeführt, derweil entspannt und anschließend in den Stackauslassluftmassenstrom eingeleitet wird. Erfindungsgemäß wird der Stackeinlassluftmassenstrom aus der Differenz des Frischluftmassenstroms und des Kühlluftmassenstroms sowie optional weiterer in Abzug zu bringender Teilluftmassenströme, die aus dem Zuluftpfad (2) stromab des Kompressors (6) abgezweigt werden, bestimmt, wobei der Kühlluftpfad (4) anhand der dort auftretenden Entspannung als Drosselstelle modelliert und der Kühlluftmassenstrom basierend auf dieser Modellierung rechnerisch über eine Drosselgleichung ermittelt wird.Die Erfindung betrifft ferner ein Steuergerät, das dazu eingerichtet ist, Schritte eines erfindungsgemäßen V

Verfahren zum Betreiben eines Brennstoffzellensystems, Brennstoffzellensystem, Fahrzeug, Computerprogrammprodukt und Speichermedium

Nº publicación: DE102024107316A1 18/09/2025

Solicitante:

BAYERISCHE MOTOREN WERKE AG [DE]
Bayerische Motoren Werke Aktiengesellschaft

Resumen de: DE102024107316A1

Die hier offenbarte Technologie betrifft erfindungsgemäß ein Verfahren zum Betreiben eines Brennstoffzellensystems (10), wobei das Brennstoffzellensystem (10) eine Brennstoffzelle (11) mit einer Anode (12) und einer Kathode (13), wenigstens einen Drucksensor (21, 22) zum Ermitteln eines Anodengasdrucks der Anode (12) und ein Purge-Ventil (18) umfasst, aufweisend die Schritte: Erkennen einer Fehlfunktion des wenigstens einen Drucksensors (21, 22) und Durchführen eines Notbetriebs basierend auf der erkannten Fehlfunktion, wobei der Notbetrieb mit einer Not-Purgerate durchgeführt wird, wobei die Not-Purgerate höher als eine Normal-Purgerate, mit welcher ein Normalbetrieb des Brennstoffzellensystems (10) durchgeführt wird, eingestellt wird. Die Technologie betrifft ferner ein Brennstoffzellensystem (10), ein Fahrzeug (100) und ein Computerprogrammprodukt (30) zum Durchführen des Verfahrens sowie ein computerlesbares Speichermedium (40), auf welchem das Computerprogrammprodukt (30) gespeichert ist.

traducir