Ministerio de Industria, Turismo y Comercio LogoMinisterior
 

Blockchain

Resultados 125 resultados
LastUpdate Última actualización 02/04/2026 [07:49:00]
pdfxls
Solicitudes publicadas en los últimos 30 días / Applications published in the last 30 days
previousPage Resultados 275 a 125 de 125  

METHOD AND SYSTEM FOR INSPECTING BATTERY CELL

NºPublicación:  US20260079104A1 19/03/2026
Solicitante: 
SAMSUNG SDI CO LTD [KR]
SAMSUNG SDI CO., LTD
US_20260079104_A1

Resumen de: US20260079104A1

A method of inspecting a battery cell includes: irradiating, by a light source device, an electromagnetic wave toward the battery cell including an electrode assembly and an electrolyte; generating, by a sensing device, reflected wave data by sensing a reflected wave from the battery cell; and generating electrolyte impregnation data indicating a degree to which the electrode assembly is impregnated with the electrolyte based on the reflected wave data.

SYSTEMS AND METHODS FOR INSPECTING STRUCTURAL INTEGRITY OF BATTERY PACK

NºPublicación:  US20260079064A1 19/03/2026
Solicitante: 
GM GLOBAL TECH OPERATIONS LLC [US]
GM GLOBAL TECHNOLOGY OPERATIONS LLC
US_20260079064_A1

Resumen de: US20260079064A1

A system configured to assess structural integrity of a battery pack component. The system includes: a tub configured to receive the battery pack component therein; a cover configured to sit on the tub and the battery pack component within the tub, and form a seal against both the tub and the battery pack component, thereby defining a reservoir between the tub, the cover, and the battery pack component; a pump configured to pump a gas into the reservoir through an inlet at the tub; and a sensor configured to detect a leak of the gas through the battery pack component from the reservoir, the leak corresponding to an area of the battery pack component having structural irregularities.

METHYL ACETATE SOLVENT FOR ENERGY STORAGE DEVICE

NºPublicación:  US20260081232A1 19/03/2026
Solicitante: 
TESLA INC [US]
Tesla, Inc
US_20260081232_A1

Resumen de: US20260081232A1

An electrolyte solution may include a solvent comprising: methyl acetate, ethylene carbonate. A device may include a lithium salt component.

SECONDARY BATTERY, BATTERY PACK, AND VEHICLE

NºPublicación:  US20260081231A1 19/03/2026
Solicitante: 
KK TOSHIBA [JP]
KABUSHIKI KAISHA TOSHIBA
US_20260081231_A1

Resumen de: US20260081231A1

In general, according to an embodiment, a secondary battery includes a positive electrode, a negative electrode, and an electrolyte. The negative electrode contains a niobium-containing oxide. In hard X-ray photoelectron spectroscopy on a surface of the negative electrode, a ratio B/A of an area B in a range of 680 eV or more and 695 eV or less to an area A in a range of 200 eV or more and 215 eV or less is 1.1 or more and 4.3 or less. The electrolyte contains a lithium salt and a first carboxylate ester. A content of the first carboxylate ester is 70 mass % or more and 95 mass % or less with respect to 100 mass % of the electrolyte excluding the lithium salt.

BATTERY ENCLOSURE AND ENERGY STORAGE SYSTEM INCLUDING THE SAME

NºPublicación:  US20260081285A1 19/03/2026
Solicitante: 
LG ENERGY SOLUTION LTD [KR]
LG ENERGY SOLUTION, LTD
US_20260081285_A1

Resumen de: US20260081285A1

A battery enclosure can include an enclosure including a base fixed to an installation surface, and a battery rack being fixed to the base and configured to accommodate at least one battery. The battery rack includes at least one column extending a vertical direction. The base includes at least one horizontal beam and at least one vertical beam. The horizontal beam includes a fixture configured to fix the battery enclosure to the installation surface, and the fixture is provided at a position corresponding to a position of the column included in the battery rack. The fixture includes a middle fixture provided on the horizontal beam and a corner fixture positioned adjacent to an end of the horizontal beam or an end of the vertical beam.

SYSTEMS AND METHODS FOR IN-LINE LEAK DETECTION OF BATTERY CELLS

NºPublicación:  US20260081237A1 19/03/2026
Solicitante: 
GM GLOBAL TECH OPERATIONS LLC [US]
GM GLOBAL TECHNOLOGY OPERATIONS LLC
US_20260081237_A1

Resumen de: US20260081237A1

A system configured to test battery cells. The system includes: a movable platform; a plurality of test stations movable by the movable platform, each one of the plurality of test stations configured to cooperate with a pallet on which the battery cells are seated, each one of the plurality of test stations including probes that are movable into cooperation with the battery cells and configured to inject gas into each one of the battery cells; and a camera adjacent to the movable platform and configured to detect leakage of the gas out from within any of the battery cells.

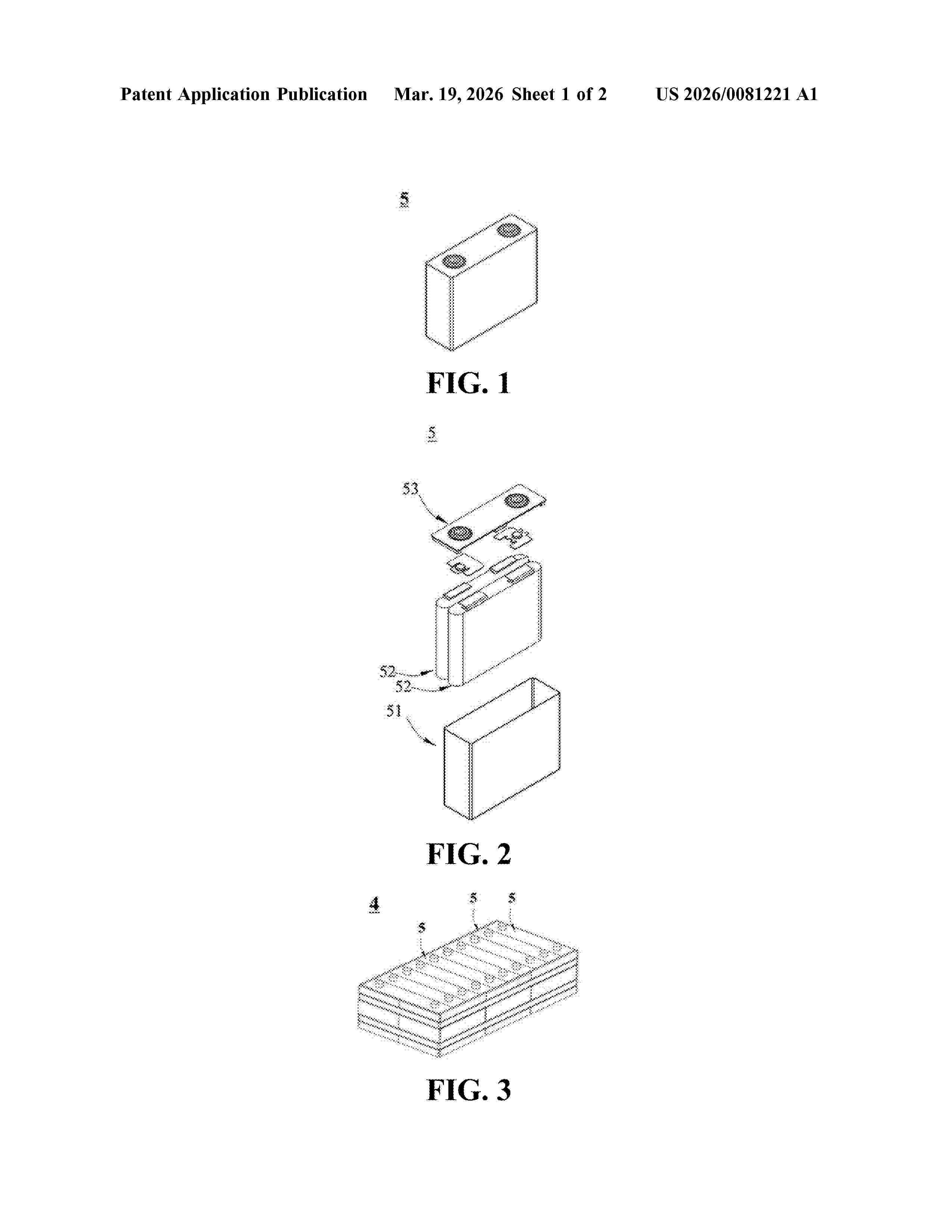
SECONDARY BATTERY AND ELECTRICAL APPARATUS

NºPublicación:  US20260081221A1 19/03/2026
Solicitante: 
CONTEMPORARY AMPEREX TECH CO LIMITED [CN]
CONTEMPORARY AMPEREX TECHNOLOGY CO., LIMITED
US_20260081221_A1

Resumen de: US20260081221A1

A secondary battery and an electrical apparatus are disclosed. The secondary battery includes a negative electrode plate and a non-aqueous electrolyte solution. The negative electrode plate includes a negative electrode active material. The volume average particle size Dv50 of the negative electrode active material is 6-20 μm. The non-aqueous electrolyte solution includes an additive and a non-aqueous solvent. The additive includes a cyclic sulfate compound represented by Formula (I). The non-aqueous solvent includes ethylene carbonate.

ELECTROLYTIC SOLUTION, AND POWER STORAGE ELEMENT USING SAME

NºPublicación:  US20260081230A1 19/03/2026
Solicitante: 
PANASONIC INTELLECTUAL PROPERTY MAN CO LTD [JP]
Panasonic Intellectual Property Management Co., Ltd
US_20260081230_A1

Resumen de: US20260081230A1

Electrolytic solution contains non-aqueous solvent and electrolyte salt dissolved in the non-aqueous solvent. The non-aqueous solvent contains a first compound, and the first compound is at least one type selected from a group including 1,3-diethyl-4-methyl-1-cyclobutene and a fluoro-substituted compound of the 1,3-diethyl-4-methyl-1-cyclobutene. An electricity storage element is configured using this electrolytic solution.

SULFUR ELECTRODE AND METHOD FOR MANUFACTURING SAME

NºPublicación:  US20260081159A1 19/03/2026
Solicitante: 
SK ON CO LTD [KR]
SK On Co., Ltd
US_20260081159_A1

Resumen de: US20260081159A1

A sulfur electrode and a method for manufacturing the same are disclosed. The method for manufacturing the sulfur electrode includes: growing carbon fibers on a surface of stainless steel; connecting the stainless steel on which the carbon fibers are grown to a cathode of a current controller in an aqueous solution in which sulfur ions are dissolved; and forming a sulfur thin film on each of surfaces of the carbon fibers grown on the surface of the stainless steel and in each of spaces between the carbon fibers by controlling a current of the current controller.

LAMINATING DEVICE FOR LAMINATING MULTILAYER ENDLESS WEBS FOR PRODUCING ENERGY CELLS

NºPublicación:  US20260081135A1 19/03/2026
Solicitante: 
KOERBER TECH GMBH [DE]
K\u00D6RBER TECHNOLOGIES GMBH
US_20260081135_A1

Resumen de: US20260081135A1

The invention relates to a laminating apparatus for a multilayer continuous web composed of at least one separator web and at least one electrode for producing energy cells, with a pressing device which laminates the multilayer continuous web by exerting a compressive force, wherein the pressing device has two pressing surfaces, with which it comes into contact with different sides of the continuous web, and the pressing surfaces are temperature-controlled differently.

METHOD OF MANUFACTURING ELECTRODE-LAMINATED BODY MODULE

NºPublicación:  US20260081161A1 19/03/2026
Solicitante: 
TOYOTA JIDOSHA KK [JP]
TOYOTA JIDOSHA KABUSHIKI KAISHA
US_20260081161_A1

Resumen de: US20260081161A1

A method of manufacturing an electrode laminated-body module of the present disclosure includes (a) producing an electrode laminated body by laminating a positive-electrode active material layer, a separator, and a negative-electrode active material layer in the stated order, and (b) injecting an electrolytic solution into an electrode laminated-body module including the electrode laminated body and an exterior body. In (a), at least one of the positive-electrode active material layer, the separator, and the negative-electrode active material layer has an ethylene carbonate layer on at least a part of a front surface thereof.

POSITIVE ELECTRODE ACTIVE MATERIAL, ELECTRODE, AND BATTERY

NºPublicación:  US20260081155A1 19/03/2026
Solicitante: 
TOYOTA MOTOR CO LTD [JP]
TOYOTA JIDOSHA KABUSHIKI KAISHA
US_20260081155_A1

Resumen de: US20260081155A1

A positive electrode active material comprises powder. The powder includes secondary particles. Each of the secondary particles includes primary particles. Each of the primary particles includes an olivine-type phosphate compound. In an SEM image of the powder, a proportion of the secondary particles each having an open pore to the secondary particles each having a maximum Feret diameter of 5 μm or more is 40% or more.

ELECTRODE SHEET MANUFACTURING APPARATUS AND METHOD FOR MANUFACTURING ELECTRODE SHEET

NºPublicación:  US20260081134A1 19/03/2026
Solicitante: 
SAMSUNG SDI CO LTD [KR]
SAMSUNG SDI CO., LTD
US_20260081134_A1

Resumen de: US20260081134A1

An electrode sheet manufacturing apparatus and a method for manufacturing an electrode sheet include a coating portion configured to apply an electrode slurry on a base material to form a coating layer, an attachment portion configured to attach a tape to the base material in a region where the coating layer is not formed, a pressing portion configured to press the coating layer and/or the tape, and a removal portion configured to remove the tape from the base material.

POSITIVE ELECTRODE ACTIVE MATERIAL, ELECTRODE, BATTERY, AND METHOD OF PRODUCING POSITIVE ELECTRODE ACTIVE MATERIAL

NºPublicación:  US20260081157A1 19/03/2026
Solicitante: 
TOYOTA MOTOR CO LTD [JP]
TOYOTA JIDOSHA KABUSHIKI KAISHA
US_20260081157_A1

Resumen de: US20260081157A1

A positive electrode active material comprises tertiary particles. Each of the tertiary particles includes secondary particles. Each of the secondary particles includes primary particles. Each of the primary particles includes an olivine-type phosphate compound. In at least part of the tertiary particle, a vacant space is formed between the secondary particles.

CARBON-COATED FAST-IONIC CONDUCTOR-MODIFIED POSITIVE ELECTRODE MATERIAL AND PREPARATION METHOD THEREFOR

NºPublicación:  US20260081172A1 19/03/2026
Solicitante: 
GUIZHOU ZHENHUA E CHEM INC [CN]
GUIZHOU ZHENHUA E CHEM CO LTD [CN]
GUIZHOU ZHENHUA YILONG E CHEM CO LTD [CN]
GUIZHOU ZHENHUA E-CHEM INC,
Guizhou Zhenhua E-CHEM Co., Ltd,
Guizhou Zhenhua Yilong E-CHEM Co., Ltd
US_20260081172_A1

Resumen de: US20260081172A1

A positive electrode material has a chemical general formula of LiaNixCoyMnzO2·cA·dB, in which 1.00≤a≤1.20, 0.00

ALL-SOLID-STATE BATTERY

NºPublicación:  US20260081171A1 19/03/2026
Solicitante: 
TDK CORP [JP]
TDK Corporation
US_20260081171_A1

Resumen de: US20260081171A1

An all-solid-state battery includes a positive electrode layer, a solid electrolyte layer, and a negative electrode layer. A negative electrode mixture layer of the negative electrode layer contains either one or both of a negative electrode active material and a carbon material, a first phase in contact with at least a part of the negative electrode active material and the carbon material, and a second phase in contact with at least a part of the first phase. The first and second phases contain a Li element and an X element which is at least one halogen element selected from the group consisting of F, Cl, Br, and I. An X element concentration in the first phase is higher than in the solid electrolyte layer. An X element concentration in the second phase is lower than the in the first phase and in the solid electrolyte layer.

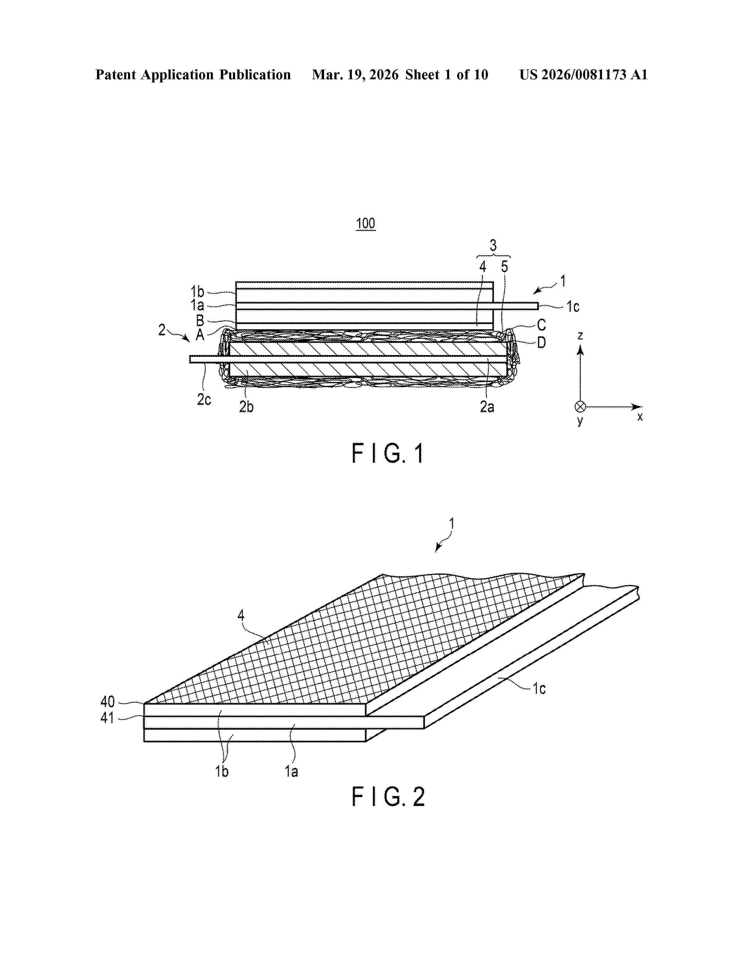
STACK, BATTERY, AND BATTERY PACK

NºPublicación:  US20260081173A1 19/03/2026
Solicitante: 
KK TOSHIBA [JP]
KABUSHIKI KAISHA TOSHIBA
US_20260081173_A1

Resumen de: US20260081173A1

According to one embodiment, a stack includes a first active material-containing layer provided in at least a surface of a first current collector and a first film covering at least a part of a surface of the first active material-containing layer including inorganic material particles having a median diameter D50 of 0.6 μm or less and a polymer. The first film has an average pore diameter of 0.5 μm or less, and satisfies formula (1) of 0

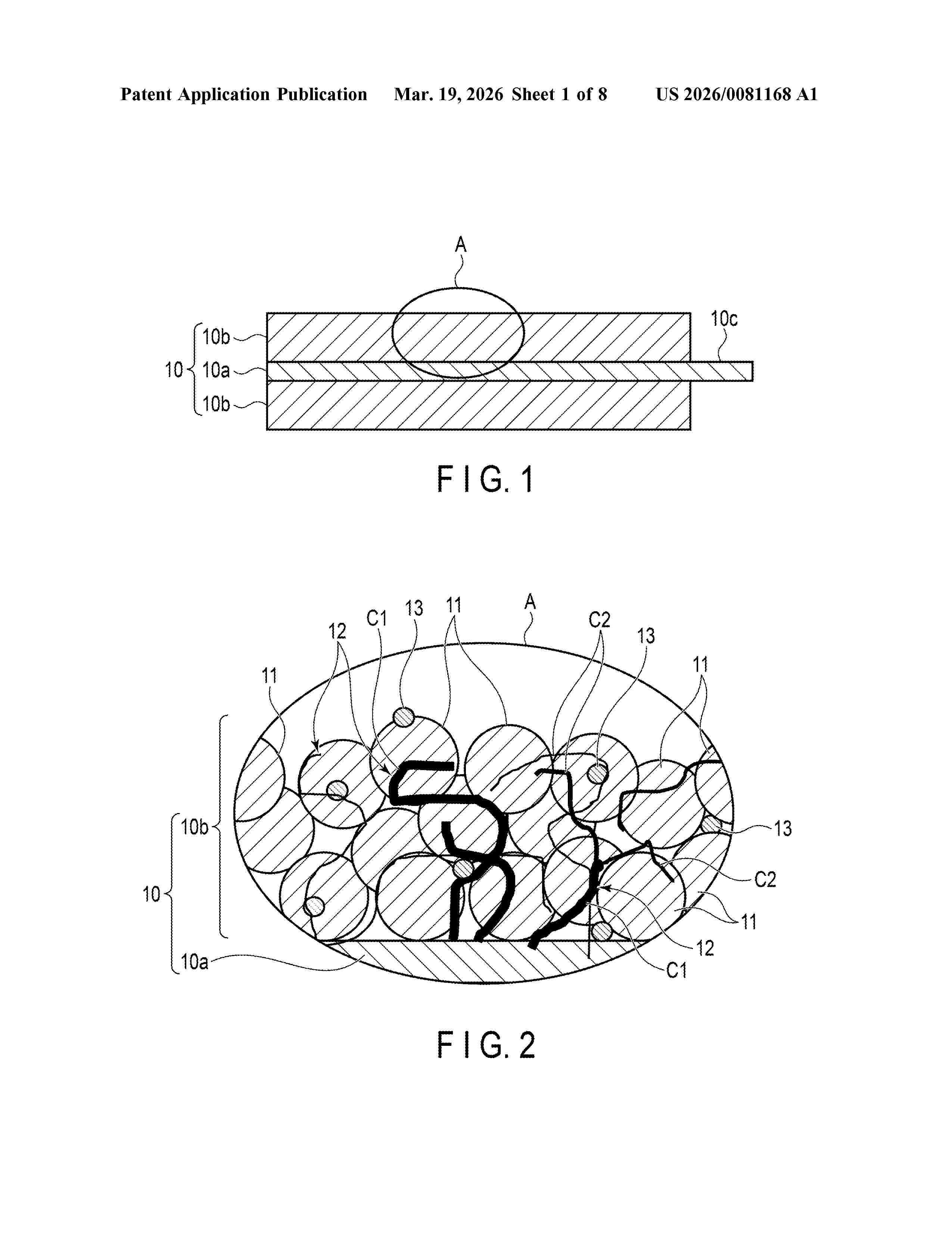
ELECTRODE, SECONDARY BATTERY, BATTERY PACK, AND VEHICLE

NºPublicación:  US20260081168A1 19/03/2026
Solicitante: 
KK TOSHIBA [JP]
KABUSHIKI KAISHA TOSHIBA
US_20260081168_A1

Resumen de: US20260081168A1

According to one embodiment, provided is an electrode including a plurality of active material particles and fibrous carbon. The fibrous carbon includes a first portion having a fiber diameter W1 within a range of 60 nm or more and 500 nm or less and a second portion having a fiber diameter W2 smaller than the fiber diameter W1. At least part of the second portion is in contact with plurality of the active material particles.

NICKEL MANGANESE COBALT COMPOSITE HYDROXIDE, METHOD FOR PRODUCING NICKEL MANGANESE COBALT COMPOSITE HYDROXIDE, LITHIUM NICKEL MANGANESE COBALT COMPOSITE OXIDE, AND LITHIUM ION SECONDARY BATTERY

NºPublicación:  US20260081148A1 19/03/2026
Solicitante: 
SUMITOMO METAL MINING CO LTD [JP]
SUMITOMO METAL MINING CO., LTD
US_20260081148_A1

Resumen de: US20260081148A1

A nickel manganese cobalt composite hydroxide, which is a precursor of a positive electrode active material, and which is composed of secondary particles to which primary particles containing a nickel, a manganese, and a cobalt are aggregated, or composed of the primary particles and the secondary particles, wherein a sodium content contained in the nickel manganese cobalt composite hydroxide is less than 0.0005% by mass, and a void ratio of particles of the nickel manganese cobalt composite hydroxide is 20% to 50%.

LITHIUM-ION BATTERY

NºPublicación:  US20260081220A1 19/03/2026
Solicitante: 
SHENZHEN CAPCHEM TECH CO LTD [CN]
SHENZHEN CAPCHEM TECHNOLOGY CO., LTD
US_20260081220_A1

Resumen de: US20260081220A1

A lithium-ion battery, comprising a positive electrode, a negative electrode and a non-aqueous electrolyte. The negative electrode comprises a negative electrode material layer containing a silicon-based material, and a phosphorus-containing inactive material layer is formed on the surface of the negative electrode material layer. The non-aqueous electrolyte includes a lithium salt, an organic solvent and an additive of the compound represented by structural formula 1, where n is 0 or 1, X is selected from formula 2 or formula 3, R1 and R2 are each independently selected from H, halogen, an unsubstituted or halogen-substituted hydrocarbon group with 1-5 carbon atoms, formula 4, formula 5, and formula 6, and at least one sulfur atom is present in X, R1 or R2.

SECONDARY BATTERY AND ELECTRICAL APPARATUS

NºPublicación:  US20260081224A1 19/03/2026
Solicitante: 
CONTEMPORARY AMPEREX TECH CO LIMITED [CN]
CONTEMPORARY AMPEREX TECHNOLOGY CO., LIMITED
US_20260081224_A1

Resumen de: US20260081224A1

A secondary battery and an electrical apparatus are disclosed. The secondary battery includes a non-aqueous electrolyte solution containing a cyclic sulfate compound. An electrical apparatus including the secondary battery is also described.

ELECTROLYTE AND LITHIUM SECONDARY BATTERY INCLUDING THE SAME

NºPublicación:  US20260081218A1 19/03/2026
Solicitante: 
SAMSUNG SDI CO LTD [KR]
THE TRUSTEES OF COLUMBIA UNIV IN THE CITY OF NEW YORK [US]
SAMSUNG SDI CO., LTD,
THE TRUSTEES OF COLUMBIA UNIVERSITY IN THE CITY OF NEW YORK
US_20260081218_A1

Resumen de: US20260081218A1

The present disclosure relates to an electrolyte, and a lithium secondary battery including the electrolyte. An electrolyte according to the present disclosure may include a copolymer of an acrylic monomer and a fluoroacrylic monomer, and the fluoroacrylic monomer may include 7 or more fluorine atoms. A lithium secondary battery may include a cathode, an anode including an anode current collector, and an electrolyte according to the present disclosure disposed between the cathode and the anode.

COMPOSITION BASED ON AT LEAST ONE FLUOROPOLYMER AND AT LEAST ONE HYDROPHILIC POLYMER FOR SEPARATOR COATING

NºPublicación:  US20260081217A1 19/03/2026
Solicitante: 
ARKEMA FRANCE [FR]
Arkema France
US_20260081217_A1

Resumen de: US20260081217A1

The present invention relates to a composition comprising a polymer P1 comprising monomer units derived from vinylidene fluoride and a polymer P2 comprising monomer units derived from a monomer M2 of formula R1R2C═C(R3)C(O)R wherein the substituents R1, R2 and R3 are, independently from each other, selected from the group consisting of H and C1-C5alkyl; R is selected from the group consisting of —NHC(CH3)2CH2C(O)CH3 or —OR′ with R′ selected from the group consisting of C1-C18 alkyl optionally substituted by one or more —OH group(s) or a five- or six-membered heterocycle comprising at least one nitrogen atom in its cyclic chain, characterised in that the difference between the melting temperature and the crystallisation temperature of the composition is greater than or equal to 40° C.

NON-AQUEOUS ELECTROLYTE SOLUTION, SECONDARY BATTERY AND ELECTRICAL APPARATUS

NºPublicación:  US20260081223A1 19/03/2026
Solicitante: 
CONTEMPORARY AMPEREX TECH CO LIMITED [CN]
CONTEMPORARY AMPEREX TECHNOLOGY CO., LIMITED
US_20260081223_A1

Resumen de: US20260081223A1

A non-aqueous electrolyte solution includes additives, the additives include a first additive and a second additive, in which, the first additive is any one or more cyclic sulfate compounds having a structure shown in a general formula (I), and the second additive is any one or more cyclic carbonate compounds having a structure shown in a general formula (III) or general formula (IV),

COMPOUND FOR A SOLID-STATE BATTERY ELECTROLYTE

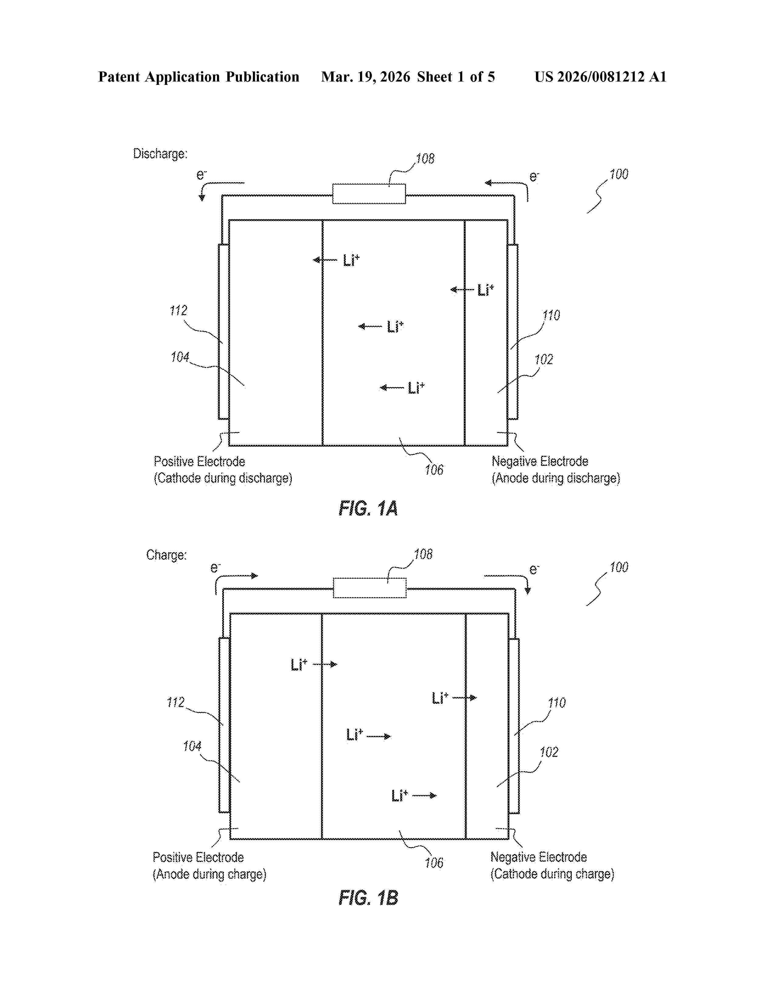
Nº publicación: US20260081212A1 19/03/2026

Solicitante:

MICROSOFT TECH LICENSING LLC [US]
Microsoft Technology Licensing, LLC

US_20260081212_A1

Resumen de: US20260081212A1

Disclosed herein is the compound (NaxLi3-x)(3-y)/3Y1-yZryCl6, where x is greater than 0 and less than 3 and where y is greater than 0 and less than 1. Where x=1 and y=0.75, the compound is Na0.75Li1.5Y0.25Zr0.75Cl6. The compound is usable as an effective solid electrolyte for a solid-state battery. The solid electrolyte can utilize lithium ions and/or sodium ions as charge carriers.

traducir