Ministerio de Industria, Turismo y Comercio LogoMinisterior
 

Alerta

Resultados 84 resultados
LastUpdate Última actualización 19/03/2026 [07:47:00]
pdfxls
Resultados 1 a 25 de 84 nextPage  

METHODS AND COMPOSITIONS FOR DETECTING VIRULENT AND AVIRULENT ESCHERICHIA COLI STRAINS

NºPublicación:  US20260071283A1 12/03/2026
Solicitante: 
THE FLORIDA STATE UNIV RESEARCH FOUNDATION INC [US]
The Florida State University Research Foundation, Inc
US_20260071283_PA

Resumen de: US20260071283A1

Disclosed herein are methods for detecting virulent Shiga toxin-producing E. coli (STEC) strains O26, O103, O121, and O111 in a biological sample comprising the steps of: (i) enriching the bacterial concentration of the biological sample to result in an enriched sample; (ii) isolating DNA from said enriched biological sample; and (iii) detecting virulent strain in said isolated DNA sample via real-time PCR and a melt curve assay. Also disclosed are primers for said assay, as well as kits comprising said primers.

DIGITAL PCR ASSAY FOR THE DETECTION OF ENTEROHEMORRHAGIC ESCHERICHIA COLI

NºPublicación:  US20260062763A1 05/03/2026
Solicitante: 
THE FLORIDA STATE UNIV RESEARCH FOUNDATION INC [US]
The Florida State University Research Foundation, Inc
US_20260062763_PA

Resumen de: US20260062763A1

The present disclosure relates primer pairs, probes, kits, and methods of use thereof to detect virulent strains of Shiga toxin-producing Escherichia coli (E. coli) (STEC).

BIOSENSOR, METHOD FOR OBTAINING THE BIOSENSOR, METHOD FOR DETECTING PSEUDOMONAS AERUGINOSA AND DETECTION KIT USING THE SENSOR FOR THE RAPID DETECTION OF P. AERUGINOSA

NºPublicación:  WO2026047265A1 05/03/2026
Solicitante: 
UNIV POLITECNICA DE VALENCIA [ES]
FUNDACION PARA LA INVESTIGACION DEL HOSPITAL UNIV Y POLITECNICO LA FE DE LA COMUNIDAD VALENCIANA [ES]
CONSORCIO CENTRO DE INVESTIG BIOMEDICA EN RED [ES]
UNIVERSITAT POLITECNICA DE VALENCIA,
FUNDACI\u00D3N PARA LA INVESTIGACI\u00D3N DEL HOSPITAL UNIVERSITARIO Y POLIT\u00C9CNICO LA FE DE LA COMUNIDAD VALENCIANA,
CONSORCIO CENTRO DE INVESTIGACI\u00D3N BIOM\u00C9DICA EN RED
WO_2026047265_PA

Resumen de: WO2026047265A1

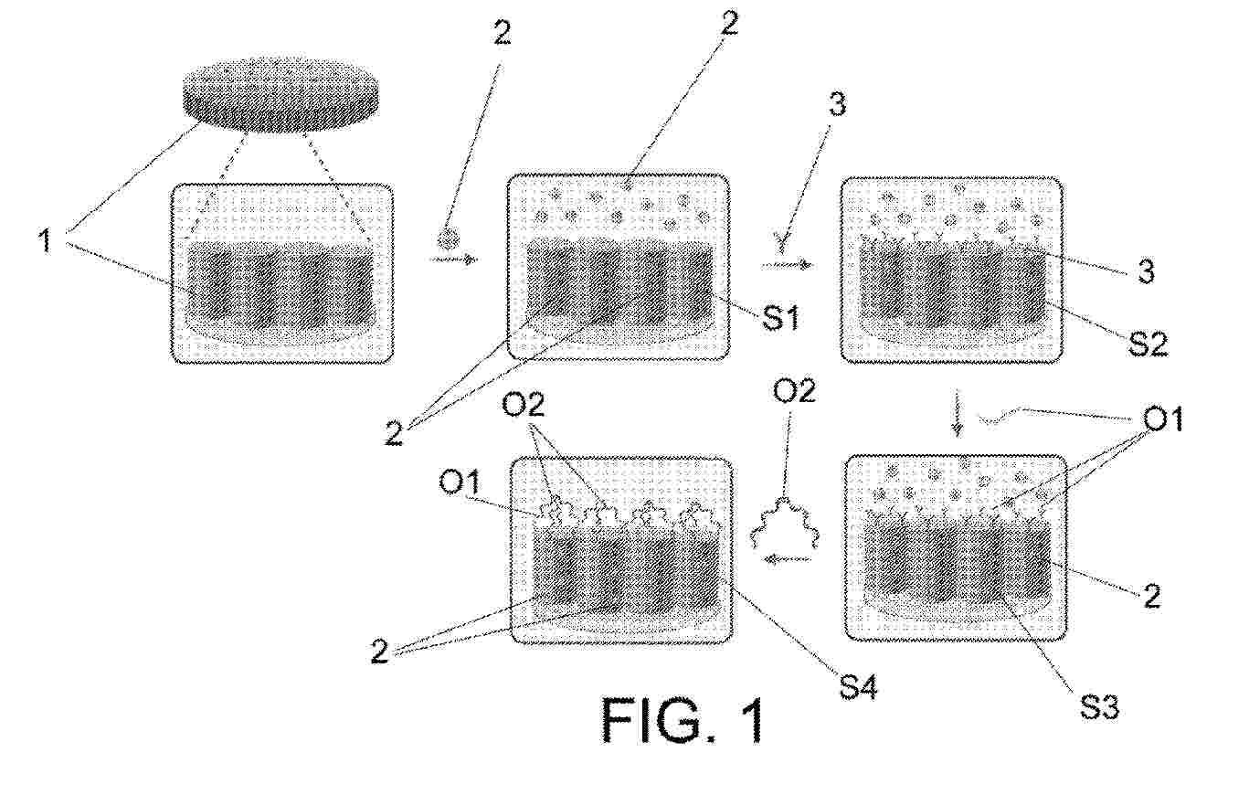
The present invention relates to a biosensor, a method for obtaining same and the use thereof to detect Pseudomonas aeruginosa in clinical samples from patients, based on the use of molecular gates on porous organic-inorganic hybrid supports that allow specific and selective recognition of bacterial DNA. The molecular gate developed comprises an oligonucleotide sequence complementary to a specific region of the DNA of this bacterium. The external surface of the porous support is chemically modified to provide reactive groups capable of bonding with short-sequence oligonucleotides (O1) designed to act as an anchor and to subsequently bond oligonucleotides (O2) specific for the recognition of P. aeruginosa. In the presence of P. aeruginosa genomic DNA, the oligonucleotides (O2) are capable of specific recognition by complementarity and of detaching from the pore surface, leading to the release of a fluorescent indicator.

METHOD FOR DETECTING AND CONFIRMING SHIGA TOXIN-PRODUCING ESCHERICHIA COLI AND/OR ENTEROHAEMORRHAGIC E. COLI

NºPublicación:  AU2024308641A1 12/02/2026
Solicitante: 
BIOMERIEUX
BIOMERIEUX
AU_2024308641_A1

Resumen de: WO2025003119A1

The invention relates to a method for detecting and confirming at least one Shiga toxin-producing Escherichia Coli (STEC) which may be present in a sample comprising enterobacteria, comprising the following steps: - performing lysis of the sample, enabling lysis of the STECs in order to obtain a solution comprising the nucleic acids thereof; - bringing the solution of nucleic acids into contact with primers, making it possible to amplify at least the stx1 and/or stx2 gene or gene fragment; - if at least one of the stx1 and/or stx2 genes or gene fragments is amplified, part of the sample is deposited on an agar reaction medium comprising ■ at least one toxin inducer, ■ at least one agglutinating conjugate formed by at least one binding partner specific to the STX1 protein and/or at least one binding partner specific to the STX2 protein, which binding partner(s) is (are) coupled to a nanoparticle; - detecting and confirming the presence of at least one STEC by the appearance of a halo on the agar around the STEC.

REACTION MEDIUM AND METHOD FOR DETECTING SHIGA TOXIN-PRODUCING E. COLI AND/OR ENTEROHAEMORRHAGIC E. COLI

NºPublicación:  AU2024307553A1 12/02/2026
Solicitante: 
BIOMERIEUX
BIOMERIEUX
AU_2024307553_A1

Resumen de: WO2025003117A1

The present invention relates to a gelled reaction medium for detecting, identifying, and/or isolating at least one Shiga toxin-producing strain of E. coli, the reaction medium comprising: - at least one toxin inducer, - at least one agglutinating conjugate comprising at least one specific binding partner of STX1 and/or at least one specific binding partner of STX2, coupled to a nanoparticle; - a concentration gradient of a compound for inhibiting non-target bacteria. The present invention also relates to the associated method for detecting and/or isolating Shiga toxin-producing E. coli which is likely to be present in a sample comprising enterobacteria.

Method for detecting and identifying shiga toxin producing escherichia coli and/or enterohemorrhagic escherichia coli

NºPublicación:  CN121443757A 30/01/2026
Solicitante: 
BIOMERIEUX INC
\u751F\u7269\u6885\u91CC\u57C3\u516C\u53F8
CN_121443757_A

Resumen de: CN121443757A

The present invention relates to a method for detecting and identifying at least one Shiga toxin-producing Escherichia coli (STEC) that may be present in a sample containing enterobacteria, said method comprising the following steps:-lysing the sample in order to lyse the STEC, thereby obtaining a solution comprising the nucleic acids thereof; -contacting said nucleic acid solution with primers to allow amplification of at least the stx1 and/or stx2 genes or gene fragments; -if amplified to at least one of the stx1 and/or stx2 genes or gene fragments, placing a portion of the sample onto an agar reaction medium comprising: at least one toxin inducer, at least one agglutination conjugate, at least one agglutination conjugate, at least one poison inducer, at least one poison inducer, at least one poison inducer, at least one poison inducer, at least one poison inducer, and at least one poison inducer. The binding partner is formed by at least one binding partner specific to the STX1 protein and/or at least one binding partner specific to the STX2 protein, and the binding partner is coupled with the nanoparticle; -detecting and confirming the presence of at least one STEC by the presence of a halo on the agar around said STEC.

Biosensor for detecting pseudomonas aeruginosa and preparation method thereof

NºPublicación:  CN121431842A 30/01/2026
Solicitante: 
CHINA ACAD OF QUALITY INSPECTION & TESTING SCIENCES
\u4E2D\u56FD\u8D28\u91CF\u68C0\u9A8C\u68C0\u6D4B\u79D1\u5B66\u7814\u7A76\u9662
CN_121431842_PA

Resumen de: CN121431842A

The invention discloses a multivalent aptamer fluorescent biosensor for detecting pseudomonas aeruginosa and a preparation method of the multivalent aptamer fluorescent biosensor, sequence template design is carried out based on an aptamer (F23), a long multivalent ligand with repeated aptamer units is synthesized through RCA rolling circle amplification, and through the synergistic effect between the aptamer units and a formed'capture net ', the fluorescent biosensor is used for detecting the pseudomonas aeruginosa. The binding efficiency with the target pseudomonas aeruginosa is remarkably improved, and the sensitivity of a detection system is enhanced.

Multi-drug resistance gene detection system and method based on suspension array technology and application

NºPublicación:  CN121428129A 30/01/2026
Solicitante: 
HUAZHONG AGRICULTURAL UNIV
\u534E\u4E2D\u519C\u4E1A\u5927\u5B66
CN_121428129_PA

Resumen de: CN121428129A

The invention discloses a multi-drug-resistance gene detection system and method based on a suspension array technology and application. The multi-drug-resistance gene detection system comprises coding microspheres, a primer group, a fluorescence labeled anti-Tag ssDNA molecule and phycoerythrin. The invention constructs a detection method aiming at a plurality of bacteria and drug-resistant genes by a suspension array technology, designs a plurality of pairs of specific primers of bacteria and drug-resistant genes with Tag labels, captures Tag labeled products after multiple PCR amplification by anti-Tag fixed on a suspension array, realizes accurate detection, and has the advantages of high specificity, high sensitivity, high sensitivity and high sensitivity. According to the present invention, with the kit, the four types of bacteria (E. coli, A. brumanni, K. pneumonae and P. aeruginosa) and the eight types of drug-resistant genes (blaKPC-2-like, blaNDM-like, blaOXA-48-like, blaOXA-23-like, blaIMP-like, blaVIM-like, blaCMY-2-like and blaADC-68-like) can be simultaneously detected in the same reaction system, such that the reagent consumption is reduced, the cost is reduced, and the detection time is shortened.

Dual MIRA detection method for type A clostridium botulinum and staphylococcus aureus for portable reagent card incubator and application of dual MIRA detection method

NºPublicación:  CN121406806A 27/01/2026
Solicitante: 
INST OF ANIMAL HUSBANDRY AND VETERINARY MEDICINE ANHUI ACADEMY OF AGRICULTURAL SCIENCES
\u5B89\u5FBD\u7701\u519C\u4E1A\u79D1\u5B66\u9662\u755C\u7267\u517D\u533B\u7814\u7A76\u6240
CN_121406806_PA

Resumen de: CN121406806A

The invention belongs to the technical field of biological detection, and particularly relates to a dual MIRA detection method for type A clostridium botulinum and staphylococcus aureus for a portable reagent card incubator. The double colloidal gold type MIRA method established by the invention has good specificity on type A clostridium botulinum and staphylococcus aureus, and has no cross reaction with six strains such as pasteurella multocida, klebsiella pneumoniae and salmonella. The lowest detection limits of the method on the staphylococcus aureus and the A-type clostridium botulinum are 2.94 * 100 copies/mu L and 2.27 * 100 copies/mu L respectively. The optimized double colloidal gold type MIRA method can be successfully applied to a reagent card incubator. The detection method disclosed by the invention has the advantages of good specificity, high sensitivity, simplicity in operation, short time consumption and the like.

Nucleic acid combination product, kit and method for detecting various respiratory tract pathogenic bacteria

NºPublicación:  CN121406811A 27/01/2026
Solicitante: 
SANSURE BIOTECH INC
\u5723\u6E58\u751F\u7269\u79D1\u6280\u80A1\u4EFD\u6709\u9650\u516C\u53F8
CN_121406811_PA

Resumen de: CN121406811A

The invention discloses a nucleic acid combination product, a kit and a method for detecting various respiratory tract pathogenic bacteria. The nucleic acid combination product comprises a primer pair and a probe, wherein the sequences of the primer pair and the probe are respectively shown as SEQ ID NO: 1-SEQ ID NO: 24. The nucleic acid combination product realizes synchronous detection of various pathogens through a one-tube eight-color fluorescent PCR, freeze-drying and ultrasonic direct diffusion method technology, significantly reduces experimental operation steps, shortens detection time, reduces the complexity of result interpretation, and has strong anti-interference capability and high sensitivity.

High-flux real-time fluorescent quantitative PCR (polymerase chain reaction) chip for detecting soil transmission pathogenic bacteria and detection method thereof

NºPublicación:  CN121380410A 23/01/2026
Solicitante: 
RES CENTER FOR ECO ENVIRONMENTAL SCIENCES CHINESE ACADEMY OF SCIENCES
\u4E2D\u56FD\u79D1\u5B66\u9662\u751F\u6001\u73AF\u5883\u7814\u7A76\u4E2D\u5FC3
CN_121380410_A

Resumen de: CN121380410A

The invention discloses a high-flux real-time fluorescent quantitative PCR (polymerase chain reaction) chip for detecting soil-transmitted pathogenic bacteria and a detection method of the high-flux real-time fluorescent quantitative PCR chip. The chip comprises a primer composition consisting of 64 pairs of primer pairs which are designed for specific genes of 47 species and 7 genera of soil-propagated plant pathogenic fungi, 8 species of soil-propagated plant pathogenic bacteria and two reference genes. On the basis of a high-flux quantitative PCR (HT-qPCR) technology, a novel chip capable of simultaneously detecting 47 species and 7 genera of soil-transmitted plant pathogenic fungi and 8 species of soil-transmitted plant pathogenic bacteria is established, and a powerful tool is provided for evaluating potential risks of soil-transmitted plant pathogens in an environment. The method is applied to pathogenic bacteria spread in soil, the abundance and distribution of the pathogenic bacteria spread in the soil can be detected and analyzed, the defects of low-flux amplification of traditional single-gene qPCR and high cost of metagenomics are overcome, and the method has wide application prospects.

Salmonella typhimurium fluorescence detection method based on double signal amplification

NºPublicación:  CN121380294A 23/01/2026
Solicitante: 
JIANGNAN UNIV
RUGAO COMPREHENSIVE INSPECTION AND TESTING CENTER
\u6C5F\u5357\u5927\u5B66,
\u5982\u768B\u5E02\u7EFC\u5408\u68C0\u9A8C\u68C0\u6D4B\u4E2D\u5FC3

Resumen de: CN121380294A

The invention discloses a salmonella typhimurium fluorescence detection method based on dual signal amplification, and relates to the technical field of microbiological detection.The method comprises the specific steps that firstly, SNA1 and SNA2 probes are constructed, related chains are co-modified on the surfaces of gold nanoparticles through a freezing method, and part of sequences are closed; then preparing an Apt.-F compound; then incubating the sample and the compound; then starting a dual signal amplification reaction; and finally, detecting the fluorescence intensity by using a fluorospectro photometer, and quantifying the salmonella typhimurium according to the relationship between the fluorescence intensity and the bacterium concentration. According to the invention, two kinds of functionalized SNA probes are constructed, the aptamer and DNAzyme are arranged, a dual signal amplification pathway is established, target bacteria are accurately identified through the aptamer, a trigger chain is released to start chain replacement, a fluorophore is released, the detection sensitivity is improved, the probe design is optimized to ensure specificity, the process is simplified, and rapid quantification is realized; an efficient scheme is provided for trace pathogenic bacterium detection.

Escherichia coli colorimetric detection method established based on aptamer enhanced octahedral Ag2O nanoparticle simulation oxidase activity

NºPublicación:  CN121380277A 23/01/2026
Solicitante: 
GUIYANG CUSTOMS COMPREHENSIVE TECH CENTER GUIZHOU INTERNATIONAL TRAVEL HEALTH CARE CENTER GUIYANG CU
\u8D35\u9633\u6D77\u5173\u7EFC\u5408\u6280\u672F\u4E2D\u5FC3\uFF08\u8D35\u5DDE\u56FD\u9645\u65C5\u884C\u536B\u751F\u4FDD\u5065\u4E2D\u5FC3\u3001\u8D35\u9633\u6D77\u5173\u53E3\u5CB8\u95E8\u8BCA\u90E8\uFF09
CN_121380277_PA

Resumen de: CN121380277A

The invention discloses an Escherichia coli colorimetric detection method established based on aptamer enhanced octahedral Ag2O nanoparticle simulation oxidase activity, which is characterized by comprising the following steps: (1) fully and uniformly mixing dispersion liquid of octahedral Ag2O NPs and P12-55 aptamer solution, and then incubating; (2) adding a test sample into the mixed solution, and continuing incubation; and (3) adding TMB and a NaAc buffer solution, carrying out ultraviolet/visible spectrum analysis at room temperature, recording absorbance values of the test sample and the blank sample at 652nm, and calculating the change of the absorbance values to obtain a detection result.

Reaction culture medium and method for detecting shiga toxin-producing escherichia coli and/or enterohemorrhagic escherichia coli

NºPublicación:  CN121399274A 23/01/2026
Solicitante: 
BIOMERIEUX INC
\u751F\u7269\u6885\u91CC\u57C3\u516C\u53F8
CN_121399274_A

Resumen de: CN121399274A

The present invention relates to a gelling reaction medium for the detection, identification and/or isolation of at least one Shiga toxin-producing Escherichia coli strain, the reaction medium comprising:-at least one toxin-inducing agent,-at least one agglutination conjugate, -a nanoparticle comprising at least one specific binding partner of STX1 and/or at least one specific binding partner of STX2 conjugated to the nanoparticle,-a concentration gradient of a compound for inhibiting non-target bacteria. The invention also relates to related methods of detecting and/or isolating Shiga toxin-producing Escherichia coli that may be present in a sample containing intestinal bacteria.

CRISPR (clustered regularly interspaced short palindromic repeats)-based food-borne pathogenic bacterium crRNA (ribonucleic acid), kit, multiple detection method and application

NºPublicación:  CN121380063A 23/01/2026
Solicitante: 
INST OF MILITARY MEDICINE ACADEMY OF MILITARY SCIENCES OF PLA
\u4E2D\u56FD\u4EBA\u6C11\u89E3\u653E\u519B\u519B\u4E8B\u79D1\u5B66\u9662\u519B\u4E8B\u533B\u5B66\u7814\u7A76\u9662
CN_121380063_PA

Resumen de: CN121380063A

The invention discloses CRISPR (clustered regularly interspaced short palindromic repeats)-based food-borne pathogenic bacterium crRNA (crRNA), a kit, a multiple detection method and application, and belongs to the technical field of food safety detection. Specific genes of salmonella typhimurium (invA), staphylococcus aureus (femB), listeria monocytogenes (hly) and vibrio parahaemolyticus (toxR) are used as target genes for detection, an RPA primer and crRNA are designed for each gene, a quadruple RPA-CRISPR reaction system is established, the dual technical advantages of RPA amplification and a CRISPR system are combined, the detection sensitivity of the method is smaller than 10 copies/L, the detection time is greatly shortened, and the detection efficiency is greatly improved. And visual detection is realized through a blue light detector.

Semi-solid culture medium for rapid detection of escherichia coli as well as detection method and application of semi-solid culture medium

NºPublicación:  CN121344143A 16/01/2026
Solicitante: 
SHANDONG VOCATIONAL COLLEGE OF LIGHT IND
\u5C71\u4E1C\u8F7B\u5DE5\u804C\u4E1A\u5B66\u9662
CN_121344143_PA

Resumen de: CN121344143A

The invention relates to the technical field of Escherichia coli detection, and particularly discloses a semisolid culture medium for rapid detection of Escherichia coli and a detection method and application thereof, the semisolid culture medium comprises the following components by weight: 4.2-5.8 g/L of agar; 8.5 to 11.5 g/L of tryptone; the semi-solid culture medium comprises the following components: 3.2 to 4.8 g/L of beef extract, 6.5 to 9.5 g/L of lactose, 1.2 to 2.2 g/L of D-glucose, 4.2 to 5.8 g/L of sodium chloride, 42000 to 58000 mu g/L of penicillin, 0.12 to 0.28 g/L of cholate, 0.06 to 0.14 g/L of disodium EDTA (Ethylene Diamine Tetraacetic Acid), 0.12 to 0.22 g/L of L-cysteine, 1.2 to 2.8 g/L of yeast extract, 0.005 to 0.015 g/L of vitamin B and an acid-base indicator, the semisolid culture medium and the detection method thereof provided by the invention not only solve the core pain point of the existing escherichia coli detection method in the technical level, but also reduce the operation cost and improve the benefit for enterprises in the economic level, promote the standardization and high efficiency of the food microorganism detection technology in the industry level, and have practicability and industrial popularization value.

Immunomagnetic bead with thermomagnetic dual response, preparation method of immunomagnetic bead and application of immunomagnetic bead in detection of food-borne pathogenic bacteria

NºPublicación:  CN121347803A 16/01/2026
Solicitante: 
INST OF MICROBIOLOGY GUANGDONG ACADEMY OF SCIENCES GUANGDONG DETECTION CENTER OF MICROBIOLOGY
GUANGDONG HUANKAI BIOTECHNOLOGY CO LTD
\u5E7F\u4E1C\u7701\u79D1\u5B66\u9662\u5FAE\u751F\u7269\u7814\u7A76\u6240\uFF08\u5E7F\u4E1C\u7701\u5FAE\u751F\u7269\u5206\u6790\u68C0\u6D4B\u4E2D\u5FC3\uFF09,
\u5E7F\u4E1C\u73AF\u51EF\u751F\u7269\u79D1\u6280\u6709\u9650\u516C\u53F8
CN_121347803_PA

Resumen de: CN121347803A

The invention discloses an immunomagnetic bead with thermomagnetic dual response, a preparation method of the immunomagnetic bead and application of the immunomagnetic bead in detection of food-borne pathogenic bacteria. The preparation method comprises the following steps: (1) preparation of the magnetic core; (2) construction of the inorganic shell layer; (3) introduction of the temperature-sensitive polymer layer; (4) surface functionalization and streptavidin coupling; organic combination of the thermal response polymer and the magnetic core-shell structure is realized for the first time, so that the immunomagnetic bead has dual response capabilities of temperature control gathering and scattering and magnetic field separation. Under a low-temperature condition, the magnetic beads are kept in a dispersed state, so that target combination is facilitated; after the temperature is raised, the polymer is subjected to hydrophobic collapse, particles are gathered, and rapid capture is realized through a magnetic field, so that the detection efficiency and the binding stability are greatly improved.

High-sensitivity aquatic pathogenic bacteria nucleic acid detection platform and method based on DNAzyme collaborative mechanism

NºPublicación:  CN121344161A 16/01/2026
Solicitante: 
HAINAN UNIV
\u6D77\u5357\u5927\u5B66
CN_121344161_PA

Resumen de: CN121344161A

The invention belongs to the technical field of gene detection, and particularly relates to a high-sensitivity aquatic pathogenic bacterium nucleic acid detection platform and method based on a DNAzyme collaborative mechanism. According to the invention, through the synergistic effect of hD or multiple DNAzyme, the secondary structure of the target ssDNA is effectively and competitively dissociated, and the steric hindrance of the secondary structure on the combination of DNAzyme is eliminated, so that the detection sensitivity reaches an extremely low level of 1 CFU/mL; according to the invention, a chain intrusion coordination mechanism (hD or adjacent multiple DNAzyme) is systematically introduced in DNAzyme detection for the first time, the limitation of an ssDNA secondary structure on the detection sensitivity is broken through, and a general solution is provided for the detection of complex targets. The detection platform disclosed by the invention shows high specificity on vibrio parahaemolyticus and does not have cross reaction; in practical prawn sample detection, the detection rate reaches 100%, and the result is completely consistent with the qPCR gold standard. The whole detection process can be completed within 2 hours, and a complex DNA purification step is not needed. The collaborative mechanism can be widely applied to detection scenes of other pathogenic bacteria or nucleic acid targets, and has extremely high platform ductility.

Composite amplification system and detection kit for respiratory tract pathogenic bacteria and drug-resistant genes

NºPublicación:  CN121344222A 16/01/2026
Solicitante: 
PEKING UNION MEDICAL COLLEGE HOSPITAL CAMS
BEIJING MICROREAD GENE TECH CO LTD
\u4E2D\u56FD\u533B\u5B66\u79D1\u5B66\u9662\u5317\u4EAC\u534F\u548C\u533B\u9662,
\u5317\u4EAC\u9605\u5FAE\u57FA\u56E0\u6280\u672F\u80A1\u4EFD\u6709\u9650\u516C\u53F8
CN_121344222_PA

Resumen de: CN121344222A

The invention belongs to the technical field of molecular detection, and particularly relates to a detection kit for respiratory tract pathogenic bacteria and drug-resistant genes based on a capillary electrophoresis detection platform and application of the detection kit. Compared with a traditional method, the method has the advantages that common respiratory tract infection pathogenic bacteria and drug-resistant genes are covered, detection sites are more comprehensive, specificity is higher, sensitivity is better, reliability is higher, and batch detection capacity is achieved.

Method for detecting escherichia coli O157 based on CRISPR technology

NºPublicación:  CN121320581A 13/01/2026
Solicitante: 
CHINA CUSTOMS SCIENCE AND TECH RESEARCH CENTER
BEIJING XUNSHI TECH CO LTD
\u4E2D\u56FD\u6D77\u5173\u79D1\u5B66\u6280\u672F\u7814\u7A76\u4E2D\u5FC3,
\u5317\u4EAC\u8FC5\u8BC6\u79D1\u6280\u6709\u9650\u516C\u53F8
CN_121320581_PA

Resumen de: CN121320581A

The invention provides a method for detecting escherichia coli O157 based on a CRISPR (clustered regularly interspaced short palindromic repeats) technology. The method comprises the following steps: S1, amplifying a sample to be detected to obtain an amplification product; amplification of the to-be-detected sample is to amplify the to-be-detected sample by using the RPA amplification primer group; s2, contacting the amplification product with Cas protein, sgRNA and a single-stranded nucleic acid detector, and detecting a detectable signal generated by cutting the single-stranded nucleic acid detector by the Cas protein, so as to detect the escherichia coli O157, the sequences of the RPA amplification primer group are as shown in SEQ ID No.2 and SEQ ID No.7, and the sequence of a target region hybridized with target nucleic acid in the sgRNA is as shown in SEQ ID No.9. The method disclosed by the invention has the advantages of good inclusiveness, strong specificity, high sensitivity and the like, and has a wide application prospect.

Rapid detection kit and detection method for vibrio parahaemolyticus based on one-tube method RPA-CRISPR/Cas12a

NºPublicación:  CN121320591A 13/01/2026
Solicitante: 
INSTITUTE OF QUALITY STANDARD AND TESTING TECH FOR AGRO PRODUCTS FUJIAN ACADEMY OF AGRICULTURAL SCIE
\u798F\u5EFA\u7701\u519C\u4E1A\u79D1\u5B66\u9662\u519C\u4E1A\u8D28\u91CF\u6807\u51C6\u4E0E\u68C0\u6D4B\u6280\u672F\u7814\u7A76\u6240
CN_121320591_PA

Resumen de: CN121320591A

The invention relates to a rapid vibrio parahaemolyticus detection kit based on a one-tube method RPA-CRISPR/Cas12a and a detection method of the rapid vibrio parahaemolyticus detection kit. A specific RPA (recombinase polymerase amplification) primer and CRISPR crRNA (clustered regularly interspaced short palindromic repeats) are designed by taking a ToxR gene of vibrio parahaemolyticus as According to the established one-tube method RPA-CRISPR/Cas12a detection system, the risk of aerosol pollution caused by a cover opening process is effectively avoided. The method disclosed by the invention is high in specificity, and has no cross reaction with related vibrios such as vibrio vulnificus, vibrio alginolyticus, vibrio cholerae, vibrio harveyi and vibrio anguillarum, and other aquatic pathogenic bacteria such as pseudomonas aeruginosa and pseudomonas plecoglossicida; the sensitivity is high, and the lowest detection limit of genome DNA is as low as 1 pg/mu L; the detection is rapid, and the whole process of nucleic acid amplification and fluorescence detection only needs about 30 minutes. The kit and the method do not need complex instruments and equipment, are simple to operate, are suitable for on-site rapid detection of aquatic product samples in a base layer, and have important application values in early screening, epidemiological investigation and comprehensive prevention and control of vibrio parahaemolyticus.

Method for detecting pathogenic bacteria in toothpaste, method for extracting and purifying nucleic acid from toothpaste and kit and phase change filtering assembly thereof

NºPublicación:  CN121320585A 13/01/2026
Solicitante: 
CHONGQING DENCARE CORP
\u91CD\u5E86\u767B\u5EB7\u53E3\u8154\u62A4\u7406\u7528\u54C1\u80A1\u4EFD\u6709\u9650\u516C\u53F8
CN_121320585_PA

Resumen de: CN121320585A

The invention relates to the technical field of detection of pathogenic bacteria in oral care products, in particular to a method for detecting pathogenic bacteria in toothpaste, a method for extracting and purifying nucleic acid from the toothpaste and a kit and a phase change filtering assembly thereof. The pathogenic bacterium detection method comprises the following steps: carrying out cracking treatment on a toothpaste sample, and treating the cracked toothpaste sample by using a phase change filtering assembly; carrying out column purification on the dissolved sample subjected to gel filtration to obtain an eluent; and carrying out PCR (Polymerase Chain Reaction) detection on the eluent. According to the technical scheme, the technical problem that in the prior art, a method for rapidly and accurately detecting the microorganisms in the oral care product in an anti-matrix interference mode does not exist can be solved. According to the technical scheme, triple purification of cracking, phase change filtration and column purification is carried out, and a complex toothpaste formula is adapted. Compared with the prior art, the microbiological detection method provided by the technical scheme has the advantages that the detection efficiency, accuracy and suitability are remarkably improved, the microbiological safety of the oral care product is guaranteed, and the method has ideal popularization and application values.

Primer probe set, detection reagent and application of primer probe set in detection of virulent pathogenic bacteria

NºPublicación:  CN121320595A 13/01/2026
Solicitante: 
GUANGZHOU CITY BIOTRON BIOTECHNOLOGY CO LTD
\u5E7F\u5DDE\u5E02\u5B9D\u521B\u751F\u7269\u6280\u672F\u6709\u9650\u516C\u53F8
CN_121320595_A

Resumen de: CN121320595A

The invention relates to the field of biological detection, in particular to a primer probe set, a detection reagent and application of the primer probe set and the detection reagent in detection of virulent pathogenic bacteria. The invention provides a primer probe group. The primer probe group comprises a primer probe group used for amplifying bacillus anthracis, Francisella tularensis, bacillus plague, rhinotrichum-like bacteria, brucella, vibrio cholerae, salmonella typhimurium and staphylococcus aureus, wherein the primer probe group is used for amplifying bacillus anthracis, Francisella tularensis, bacillus plague, rhinotrichum-like bacteria, brucella, vibrio cholerae and salmonella typhimurium. The invention establishes a primer probe combination for rapidly and sensitively detecting various virulent pathogenic bacteria and a kit thereof, aiming at eight virulent pathogenic bacteria such as bacillus anthracis, Francisella tularensis, bacillus plague, rhinotrichum, vibrio cholerae, brucella, salmonella typhimurium and staphylococcus aureus. The kit is stored in a freeze-dried state, adaptive sample lysate can directly expand different types of samples, and the kit has the advantages of being good in specificity, high in sensitivity, short in detection time, good in accuracy, good in stability after redissolution and good in compatibility.

Rapid detection method for listeria monocytogenes RAA-CRISPR/Cas12a

NºPublicación:  CN121294692A 09/01/2026
Solicitante: 
NINGXIA UNIV
\u5B81\u590F\u5927\u5B66
CN_121294692_PA

Resumen de: CN121294692A

The invention belongs to the technical field of microbiological detection, and particularly relates to a rapid detection method for listeria monocytogenes RAA-CRISPR/Cas12a and application of the rapid detection method for the listeria monocytogenes RAA-CRISPR/Cas12a. According to the present invention, based on the combination of the recombinase polymerase amplification (RAA) and the CRISPR-Cas12a system, the ultra-sensitive and rapid detection of the Listeria monocytogenes is achieved through the constant temperature nucleic acid amplification and the specific gene recognition; the sensitivity reaches 3.6 CFU/mL (bacterial liquid) and 3.78 copies/L (genome DNA); the detection time is shortened to 26 minutes, and the method can be applied to rapid detection of various environmental samples.

Hybridoma cell strain for detecting Lijiang pseudomonas as well as antibody and application of hybridoma cell strain

Nº publicación: CN121294364A 09/01/2026

Solicitante:

YUNNAN INST OF TOBACCO AGRICULTURE SCIENCE
WENSHAN STATE COMPANY OF YUNNAN TOBACCO CO LTD
LINCANG COMPANY OF YUNNAN TOBACCO COMPANY
\u4E91\u5357\u7701\u70DF\u8349\u519C\u4E1A\u79D1\u5B66\u7814\u7A76\u9662,
\u4E91\u5357\u7701\u70DF\u8349\u516C\u53F8\u6587\u5C71\u5DDE\u516C\u53F8,
\u4E91\u5357\u7701\u70DF\u8349\u516C\u53F8\u4E34\u6CA7\u5E02\u516C\u53F8

CN_121294364_PA

Resumen de: CN121294364A

The invention discloses a hybridoma cell strain for detecting Lijiang pseudomonas as well as an antibody and application of the hybridoma cell strain. The hybridoma cell strain comprises a Hybrid cell line FL5391-19 hybridoma cell strain and/or a Hybrid cell line FL5391-14 hybridoma cell strain, and the hybridoma cell strain comprises a hybridoma cell line FL5391-19 hybridoma cell strain and a hybridoma cell line FL5391-14 hybridoma cell strain. The hybridoma cell line FL5391-19 hybridoma cell strain is preserved in the China Center for Type Culture Collection, the preservation number is CCTCC NO: C2025248, and the preservation date is August 13, 2025; the hybridoma cell line FL5391-14 is preserved in the China Center for Type Culture Collection, the preservation number is CCTCC (China Center for Type Culture Collection) NO: C2025247, and the preservation date is August 13, 2025. By utilizing the specific monoclonal antibody pair, not only can the Lijiang pseudomonas be detected with high specificity, but also the cichorium intybus pseudomonas and the capsicum pseudomonas with similar genetic relationship can be detected in a cross manner, so that the coverage detection on the main pathogenic bacteria of the tobacco bacterial black spot is realized.

traducir