Ministerio de Industria, Turismo y Comercio LogoMinisterior
 

Alerta

Resultados 463 resultados
LastUpdate Última actualización 04/02/2026 [07:16:00]
pdfxls
Solicitudes publicadas en los últimos 15 días / Applications published in the last 15 days
Resultados 1 a 25 de 463 nextPage  

一种噪声场景下的风电机组塔筒裂纹识别方法

NºPublicación:  CN121452130A 03/02/2026
Solicitante: 
昆明理工大学
CN_121452130_PA

Resumen de: CN121452130A

本申请涉及信号处理技术领域,尤其涉及一种噪声场景下的风电机组塔筒裂纹识别方法。通过对采集的风电机组的塔筒振动信号进行幅值增量处理后,采用滑窗拟合法进行信号拟合,将拟合信号重构为振动信号后基于振动信号对风电机组的塔筒进行裂纹识别,实现噪声场景下的风电机组塔筒裂纹的有效识别。旨在解决对噪声场景下的风电机组塔筒裂纹的有效识别的问题。

风力涡轮机塔架装配系统和装配方法

NºPublicación:  CN121464276A 03/02/2026
Solicitante: 
西门子歌美飒可再生能源公司
CN_121464276_PA

Resumen de: WO2025011938A1

The present invention relates to a wind turbine tower assembly system (17) for assembling a wind turbine tower (4). The wind turbine tower assembly system (17) comprises an assembly support system (1) for temporarily securing a wedge flange adapter (2) of the wind turbine tower (4) to a first tower segment (3) of the wind turbine tower (4). The assembly support system (1) comprises an alignment pin (5) for being inserted into a first flange bolt hole (6) of the first tower segment (3) in a way that a pin head section (7) of the alignment pin (5) protrudes from an upper end (8) of the first flange bolt hole (6) and a pin main section (9) of the alignment pin (5) is arranged within the first flange bolt hole (6). The pin head section (7) is configured for being inserted into an intermediate flange bolt hole (10) of the wedge flange adapter (2). The assembly support system (1) further comprises a holding device (11) for being attached to the first tower segment (3) for preventing the alignment pin (5) from falling off the first flange bolt hole (6). The invention also relates to a method for assembling a wind turbine tower (4).

高速轴风轮锁紧装置及风力发电机

NºPublicación:  CN121452137A 03/02/2026
Solicitante: 
远景能源有限公司
CN_121452137_PA

Resumen de: CN121452137A

本申请公开了一种高速轴风轮锁紧装置及风力发电机,其中,高速轴风轮锁紧装置包括安装座、锁紧结构、锁销和摩擦部,锁紧结构设于安装座上,锁紧结构的一侧开设有刹车槽,刹车槽用于容纳刹车盘的至少部分,且允许刹车盘在刹车槽内转动,锁紧结构上还开设有至少两个锁孔,锁孔均穿过刹车槽;至少两个锁销与锁孔对应设置,并分别可拆卸的设于锁紧结构上;摩擦部夹设于锁紧结构与安装座之间,用于增加锁紧结构与安装座之间的摩擦力;锁销具有锁死状态和解锁状态,在锁死状态下,至少一个锁销从锁孔穿入刹车槽,并穿过刹车盘上的销孔;在解锁状态下,所有锁销均脱离锁孔。本申请提供的技术方案,可以提高高速轴锁紧装置锁紧可靠性。

一种基于调节能力评估的风电机组综合控制方法及系统

NºPublicación:  CN121461502A 03/02/2026
Solicitante: 
辽宁东科电力有限公司
CN_121461502_PA

Resumen de: CN121461502A

一种基于调节能力评估的风电机组综合调频控制方法及系统,属于风电并网调频技术领域。方法包括:根据风速区间划分风电机组运行状态,量化评估不同风速区对频率下降/上升扰动的调频能力;基于转子动能评估系数设计自适应虚拟惯量控制策略;结合超速控制与虚拟惯量控制提出综合调频策略,通过叠加调频转速信号和惯量响应功率信号实现动态响应;建立风电场与常规电厂的三级协调控制架构,根据风电调频能力系数(η)动态调整火电机组调频参数。本发明解决了风电机组调频能力动态评估与精准调用问题,在充分释放风电调频潜力的同时保障系统频率稳定性和机组安全。

一种飞轮混动式海上浮式变速恒频风力发电系统

NºPublicación:  CN121452123A 03/02/2026
Solicitante: 
山东理工大学
CN_121452123_PA

Resumen de: CN121452123A

本发明公开了一种飞轮混动式海上浮式变速恒频风力发电系统,涉及风力发电技术领域,包括叶轮、发电机、飞轮混动机构、滤波补偿机构和控制单元;高速旋转的飞轮具有陀螺效应,飞轮旋转产生的稳定力矩可以用来抵抗风、浪、流等水平荷载作用,降低浮式风机的摇摆。同时飞轮混动机构和滤波补偿机构可确保发电机在变速风况下获得恒定的同步转速,无需变流器即可实现恒频并网,提高系统的稳定性与电能质量。

一种风机叶片净空距离监测方法、装置、设备及介质

NºPublicación:  CN121452948A 03/02/2026
Solicitante: 
北京开拓航宇导控科技有限公司
CN_121452948_PA

Resumen de: CN121452948A

本发明公开了一种风机叶片净空距离监测方法、装置、设备及介质,属于风机监测技术领域,包括:将监测设备安装在风机塔筒预设位置,获取风机叶片运动图像;采用深度学习网络对所述风机叶片运动图像进行处理,识别叶尖在风机叶片运动图像中的位置坐标;结合所述倾角仪角度和北斗卫星定位数据,根据预先标定的参数将所述叶尖位置坐标转换为实际空间坐标;计算各叶尖到风机塔筒的净空距离;对各叶片净空距离进行滤波处理,计算各叶片净空距离的差异值,以所述差异值中的最大值作为叶轮不平衡度。本发明通过多传感器融合的动态补偿技术,解决了叶片与塔筒相对晃动对净空距离测量精度的影响问题。

一种具有浮动防护功能的海上风电桩基

NºPublicación:  CN121452122A 03/02/2026
Solicitante: 
郴州润阳振博建筑工程有限公司
CN_121452122_PA

Resumen de: CN121452122A

本发明公开了一种具有浮动防护功能的海上风电桩基,包括风电机组和基座,所述基座顶面中心固定安装有固定座,所述风电机组底端固定安装于所述固定座内壁,所述固定座外壁与基座之间焊接有加强筋,所述风电机组外壁滑动连接有浮座,所述浮座外壁等距设置有若干组抗扰板,所述抗扰板一侧壁设置有插板。本发明通过设置的浮座用来保护风电机组外壁,且浮座可根据海水的涨退自动在风电机组外壁外壁滑动以对其进行保护,与此同时,浮座两侧的滑杆会在导座上进行滑动来自动调节位置,止推块用于限制滑杆滑出导座,浮座外壁设置的抗扰板可将波浪进行缓冲,其S状弯曲的结构可将冲击过来的波浪进行逐层缓冲,以减少波浪对浮座和风电机组外壁的破坏。

基于无人机的风电机组叶片防雷智能检测系统及方法

NºPublicación:  CN121452128A 03/02/2026
Solicitante: 
华电(宁夏)能源有限公司新能源分公司
CN_121452128_PA

Resumen de: CN121452128A

本发明公开一种基于无人机的风电机组叶片防雷智能检测系统及方法,该系统包括无人机平台、力位混合控制组件、电气测量单元和地面数据处理单元。无人机搭载检测机构飞行至叶片接闪器位置,通过力传感反馈实现稳定接触,并由恒流源施加测试电流,测量导通电阻并实时回传数据。地面单元对多点测量结果进行滤波、补偿与判定,生成导通状态报告。本发明可在无人值守条件下自动完成防雷通道检测,具有检测精度高、环境适应性强、安全性好、效率高等优点,适用于陆上及海上风电机组的快速巡检与状态评估。

一种风电机组叶根螺栓状态监测方法、系统、设备及介质

NºPublicación:  CN121452134A 03/02/2026
Solicitante: 
运达智服新能源技术(浙江)有限公司
CN_121452134_PA

Resumen de: CN121452134A

本申请公开了一种风电机组叶根螺栓状态监测方法、系统、设备及介质,所属的技术领域为风电机组技术领域。所述风电机组叶根螺栓状态监测方法包括:利用所述数据采集装置可以发射超声并采集实测超声回波声时和叶轮方位角;获取预设配置信息和环境温度;将超声回波声时、叶轮方位角、预设配置信息和环境温度输入边缘计算单元的大数据模型,以使大数据模型输出轴力修正值;根据超声回波声时、基准声时、叶根螺栓的最小应力截面积和超声波应力系数计算螺栓轴力增量;将叶根螺栓的轴力离线检测值、螺栓轴力增量和轴力修正值相加,得到叶根螺栓的轴力绝对值。本申请能够在风电机组工作过程中准确监测叶根螺栓的轴力。

一种风力发电状态监测和预警方法及系统

NºPublicación:  CN121452129A 03/02/2026
Solicitante: 
华能新疆木垒新能源有限公司
CN_121452129_PA

Resumen de: CN121452129A

本发明公开了一种风力发电状态监测和预警方法及系统,其包括:获取并分析风力发电机的历史运行数据,确定与发电相关的运行参数,提取其特征,并基于特征和预设神经网络模型构建风力发电机的发电预测模型进行预测,得到发电预测数据;对发电预测数据进行分析确定异常参数,并对其分析确定异常参数特征;基于异常参数特征对各异常参数的异常程度进行评估得到异常程度评估值,并基于其综合确定风力发电机的状态系数,以此确定风力发电机的预警策略。本发明能够在故障发生之前,精准预警潜在风险,评估设备的状态,为运维团队提供科学的决策支持,从而最大限度地减少非计划停机时间、提升发电可用率、延长设备寿命,低运维成本、保障电网稳定运行。

基于多模态数据的新能源场站设备智能诊断方法及系统

NºPublicación:  CN121456636A 03/02/2026
Solicitante: 
北京华能新锐控制技术有限公司
CN_121456636_PA

Resumen de: CN121456636A

本发明实施例提供了一种基于多模态数据的新能源场站设备智能诊断方法及系统,其通过分别提取振动信号和热红外成像图的专属特征,并对两者进行跨模态深度融合以打破不同数据模态间的信息壁垒,充分挖掘并建模振动特征与温度分布特征之间潜在的、复杂的相互依赖关系。通过构建能够反映设备真实状态的、信息更全面的多模态融合特征,显著提高了故障诊断模型的准确性和对早期微弱故障的识别灵敏度,为新能源场站设备提供更加精准可靠的智能诊断与预警。

一种可调节叶片角度的减喘振低噪音风机叶片

NºPublicación:  CN121452111A 03/02/2026
Solicitante: 
浙江兴益风机电器有限公司
CN_121452111_PA

Resumen de: CN121452111A

本发明涉及风机叶片调节技术领域,提供了一种可调节叶片角度的减喘振低噪音风机叶片,包括:轮毂本体,还包括:调节组件,设置在所述轮毂本体的内壁,所述调节组件包括:多个通孔,设置在所述轮毂本体的外表面,本发明在使用时,在低流量和高背压工况时,离心力较小,利用螺旋弹簧的弹力带动驱动块和两个限位杆向固定柱方向进行移动,便于风电机叶片的攻角增大,有利于提升风能和气流捕获效率,避免低流速下气流分离;在高流量和低背压工况时,离心力大于螺旋弹簧的预紧力,限位块沿着滑轨向风电机叶片的叶尖方向进行滑动,使得风电机叶片的攻角减小,有利于防止攻角过大导致的气流分离与回流,便于从根源抑制喘振。

一种全尺寸风机叶片雷电附着点的模拟试验方法及系统

NºPublicación:  CN121452133A 03/02/2026
Solicitante: 
苏州安规电磁科技有限公司苏州泰思特电子科技有限公司
CN_121452133_PA

Resumen de: CN121452133A

本发明公开了一种全尺寸风机叶片雷电附着点的模拟试验方法及系统,涉及发电设备防雷技术领域,方法包括:将全尺寸风机叶片通过绝缘方式固定于测试场地;在所述叶片与一电极平板之间建立高压‑接地回路;调整所述叶片至一预设的空间姿态;通过控制电极平板与叶片的相对空间关系,使得所述叶片整体或当前测试区域处于一个近似均匀的电场环境中;施加冲击电压,并同步记录所述叶片表面的放电附着点及先导发展过程,能够真实、全面评估现代大型风机叶片防雷系统性能。

用于叶轮的电缆连接装置及叶轮

NºPublicación:  CN121461215A 03/02/2026
Solicitante: 
华电电力科学研究院有限公司
CN_121461215_PA

Resumen de: CN121461215A

本发明涉及风力发电技术领域,公开了一种用于叶轮的电缆连接装置及叶轮,电缆连接装置包括:电缆管,内部设有多个管腔,管腔用于容纳电缆线;管套,可滑动且不可转动地套装在电缆管的第一端,适于相对电缆管滑动,管套具有背离电缆管的平面端,平面端上开设有多个通孔,通孔与管腔一一对应设置;第一球铰链,设于电缆管的第二端,用于连接电缆管和叶轮的轮毂;第二球铰链,设于平面端上,用于连接管套和叶轮的叶片。在叶片做变桨运动时,电缆管和管套做伸缩运动,同时第一球铰链和第二球铰链可以支持电缆管和管套进行360度自由转动,电缆线始终位于管腔和通孔中,进而避免叶轮和轮毂之间的电缆出现甩断或拉断的情况,提高电缆连接的可靠性。

风力发电机组塔筒的异常振动检测方法

NºPublicación:  CN121452131A 03/02/2026
Solicitante: 
吉电(滁州)章广风力发电有限公司
CN_121452131_PA

Resumen de: CN121452131A

本发明涉及振动监测技术领域,具体为风力发电机组塔筒的异常振动检测方法,包括以下步骤:获取塔筒振动信号与持续时间,识别特征参数,采集差异工况下三次振动序列分析变化幅度,验证事件完成与幅度范围输出有效信号生成控制记录,基于记录调整基准值更新执行参数,填入控制指令激活触发信号写入接口,得到塔筒异常振动检测自动化控制信息集。本发明中,通过对振动事件触发信号与持续时间的统计分析,实现塔筒运行状态下的连续波动追踪,增强振动变化的动态可比性与异常识别的实时准确性,排除短时干扰造成的误判,使检测结果自适应环境变化,形成闭环控制,实现自动化异常预警与连续监测,提升振动检测的稳定性与响应效率。

基于AI算法的风电设备控制方法、系统及可读存储介质

NºPublicación:  CN121452117A 03/02/2026
Solicitante: 
鄂尔多斯市蒙电投能源有限公司
CN_121452117_PA

Resumen de: CN121452117A

本申请公开一种基于AI算法的风电设备控制方法、系统及可读存储介质,其中,风电设备控制方法,包括设备数据采集步骤,响应边缘传感器采集到的设备参数,动态更新设备参数集;气候数据采集步骤,响应气象传感器采集的数据,实时更新气象信息集;数字孪生搭建步骤,实时调用设备参数集和气象数据集,搭建数字孪生场站;湍流识别步骤,调用数字孪生场站中的设备参数集、气象信息集,生成实时更新的湍流数据集;设备状态感知步骤,调用设备参数集的信息,进行风力发电设备的数据监测,动态更新设备状态集;设备控制步骤,基于风险情况和调控策略实现对风力发电设备各节点的调控;可实现根据环境预先进行风力发电设备调整的效果。

基于加速效应的多源数据驱动风电设备寿命预测方法

NºPublicación:  CN121457022A 03/02/2026
Solicitante: 
智信能源科技有限公司
CN_121457022_PA

Resumen de: CN119494440A

The invention provides a wind power equipment service life prediction method and system based on multi-source data and an acceleration effect, and relates to the field of wind power equipment service life prediction.The wind power equipment service life prediction method comprises the steps that operation environment data and degradation fault information of wind power equipment are collected, and a wind power equipment basic performance degradation model is constructed; performing mechanism analysis on blade crack propagation data in the degradation fault information, and constructing a first wind power equipment accelerated degradation model based on a primary acceleration stress, a secondary acceleration stress and a comprehensive acceleration equation; constructing a wind power equipment state multi-source data set based on the degradation fault information, and performing data updating on the first wind power equipment accelerated degradation model according to the wind power equipment state multi-source data set, a Bayesian function and an EM algorithm to obtain a second wind power equipment accelerated degradation model; and according to the degradation process multi-condition hypothesis function and the second wind power equipment accelerated degradation model, a wind power equipment multi-stage degradation process model is constructed to predict the residual life of the wind power equipment, the self-adaptive capability of the accelerated degradation model is enhance

一种磁吸式风机塔筒外壁缺陷一体化处理爬壁机器人及其作业方法

NºPublicación:  CN121452140A 03/02/2026
Solicitante: 
苏州融海微机器人有限公司
CN_121452140_PA

Resumen de: CN121452140A

本发明为一种磁吸式风机塔筒外壁缺陷一体化处理爬壁机器人及其作业方法,包括车壳体,车壳体的顶部通过六自由度机械臂连接有缺陷处理机构,车壳体的底部设置有磁吸附模块,车壳体通过磁吸附模块与塔筒壁面形成磁吸附配合,且车壳体上固定安装有被动柔性机构和行走驱动机构,被动柔性机构与行走驱动机构共同传动连接有用于壁面行走的行走轮。本发明创新性地采用Halbach阵列、多变形磁单元及锥形极靴复合结构,经90°梯度充磁叠加磁场,吸附力较传统提升50%,适配塔筒曲面且保障重载稳定行走;同时以6轴柔性机械臂集成检测、打磨、喷涂一体化模块,精简布局、降低负载,规避高空移动风险,兼顾作业灵活性与安全性。

可发泡热塑性组合物、热塑性泡沫及其制备方法

NºPublicación:  CN121464174A 03/02/2026
Solicitante: 
霍尼韦尔国际公司
CN_121464174_PA

Resumen de: WO2024254034A1

Disclosed are foam articles comprising a thermoplastic, closed-cell foam having at least a first surface and comprising: (i) thermoplastic polymer cell walls comprising at least about 0.5% by weight of ethylene furanoate moi eties and optionally one or more co-monomer moieties; and (ii) blowing agent comprising HFC-152a contained in at least a portion of said closed cells.

风电机组健康状态评估方法、装置、介质及电子设备

NºPublicación:  CN121452132A 03/02/2026
Solicitante: 
国能信控技术股份有限公司
CN_121452132_PA

Resumen de: CN121452132A

本公开涉及一种风电机组健康状态评估方法、装置、介质及电子设备,涉及风力发电领域,该方法包括:获取风电机组的多级运行健康状态的评估指标体系;该评估指标体系至少包括整机、多个大部件,及每个大部件对应的多个测点指标;获取该风电机组的实时运行数据;根据该实时运行数据中的测点数据,确定第一大部件对应的隶属度矩阵;该第一大部件为该多个大部件中的任一大部件;根据该第一大部件对应的多个测点指标的权重和该隶属度矩阵确定该第一大部件的指标融合矩阵;根据该多个大部件的指标融合矩阵确定该风电机组整机的健康度。通过对风电机组的关键大部件及主要测点进行多级分析,能够实现多层级、准确稳定的风电机组健康状态评估。

一种用于预测性维护的变桨系统故障诊断方法、系统、设备及介质

NºPublicación:  CN121452127A 03/02/2026
Solicitante: 
内蒙古京能巴音风力发电有限公司三峡陆上新能源投资有限公司中国长江三峡集团有限公司
CN_121452127_PA

Resumen de: CN121452127A

本公开涉及变桨系统维护技术领域,提供了一种用于预测性维护的变桨系统故障诊断方法、系统、设备及介质,所述方法包括首先按预设周期对返场变桨系统的关键特征进行检测,获取实际检测数据,并对各数据依次进行故障分析与标记,基于标记结果,对各关键特征单点状态及系统整体情况进行初步判定,随后,按风险优先级对检测数据编号整合,构建实际检测数据库,并与历史数据库对比,根据对比结果进行二次判定,最后,综合两次判定结果对各关键特征进行关联标记,输出最终的预测性维护方案。本公开通过结合实时检测、历史数据对比与关联分析,实现了故障的精准定位与评估,提升了变桨系统维护的预测性和可靠性。

组装用于风力涡轮机的传动系的方法、风力涡轮机及其组装套件

NºPublicación:  CN121464277A 03/02/2026
Solicitante: 
远景能源有限公司
CN_121464277_PA

Resumen de: AU2023464646A1

The present invention relates to a method of assembling a drivetrain for a wind turbine, and a wind turbine and an assembly kit thereof. First fixture elements are secured to first planet carrier of the first gear stage and second fixture elements are secured to the gearbox housing. The respective gear stages of the gearbox unit are pre-assembled, where the first planet carrier is fixed relative to the gearbox housing via the first and second fixture elements. The first ring gear is further fixed relative to the gearbox housing by fastener elements. The pre-assembled gearbox unit is then aligned with the main shaft and moved into position relative to each other. The gearbox housing is mounted to the main bearing housing, and the first planet carrier is released and moved axially into position relative to the flange of the main shaft. The first planet carrier is then mounted to the flange and the first and second fixture elements are re-moved.

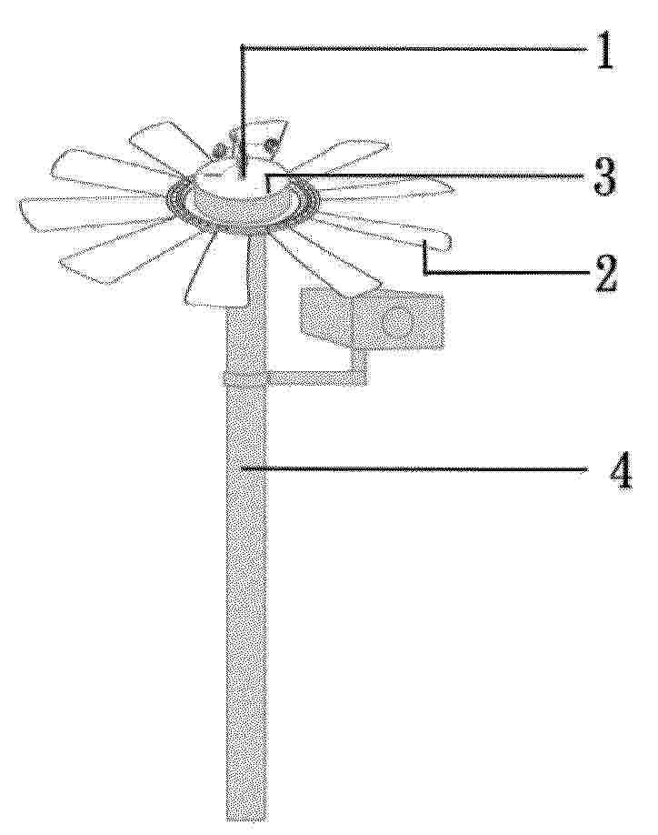
用于风力发电机组的电缆防护装置及风力发电机组

NºPublicación:  CN121461189A 03/02/2026
Solicitante: 
华能陇东能源有限责任公司
CN_121461189_PA

Resumen de: CN121461189A

本发明公开了用于风力发电机组的电缆防护装置及风力发电机组,包括固定架、扭转支撑结构和可转动设置于所述扭转支撑结构上的线缆固定机构;所述扭转支撑结构固定安装于所述固定架,所述线缆固定机构包括限位组件和设置于所述限位组件内部的包裹组件;所述包裹组件包括包裹套和芯体,所述芯体固定安装于所述包裹套内部,且芯体与包裹套之间形成若干用于容纳线缆的容纳腔,本发明通过包裹套与限位筒之间的径向间隙,适配电缆的径向微动;正六边形截面限制周向偏移角度,避免过度扭转;边裙与限位环配合限制轴向窜动,防止部件分离;配合扭转支撑结构的转动功能,全方位适配电缆随风机运行产生的复杂动态变化,减少拉扯、挤压损伤。

一种风力发电机散热机舱及风力发电机组

NºPublicación:  CN121452141A 03/02/2026
Solicitante: 
华能陇东能源有限责任公司
CN_121452141_PA

Resumen de: CN121452141A

本发明涉及风力发电机技术领域,具体地说,涉及一种风力发电机散热机舱及风力发电机组。其包括固定体和散热体,散热体包括舱体壳、风冷结构、冷却结构、泵动结构。本发明中,空气沿着风道流动时,桨叶转动进而带动往复丝杆同步转动,使得与往复丝杆螺纹连接的中筒做往复运动,中筒进而带动压缩板在中转阀内往复活动,当中转阀内容积增大时,第一抽吸油管内的冷却液被抽入中转阀内,当中转阀内容积缩小时,中转阀内的冷却液被推动流入第二抽吸油管,实现冷却液在整个系统中的循环流动;在中筒做往复运动时,第二支架带动竖板,进而带动刮板刮除附着杂质,从而避免形成隔热层,能够确保散热器的导热与散热效率,避免风力发电机组的散热效率下降。

分片式风电塔筒法兰校正装置、校正结构及校正方法

Nº publicación: CN121452121A 03/02/2026

Solicitante:

十九冶(西昌)建设有限公司中国十九冶集团有限公司

CN_121452121_PA

Resumen de: CN121452121A

本发明涉及风电设备领域,尤其涉及一种快速实现两个分片之间塔筒法兰位置校正的分片式风电塔筒法兰校正装置、校正结构及校正方法,包括:驱动端,驱动端与塔筒法兰的第一法兰侧边紧贴设置;固定端,固定端与塔筒法兰的第二法兰之间可拆卸连接;第一法兰的第一端面与第二法兰的第二端面之间紧贴设置,驱动端的驱动方向为将第一法兰的第一端面驱动至与第二法兰的第二端面对齐。本发明尤其适用于分片式风电塔筒现场安装之中。

traducir