Ministerio de Industria, Turismo y Comercio LogoMinisterior
 

Alerta

Resultados 360 resultados
LastUpdate Última actualización 26/04/2026 [07:10:00]
pdfxls
Solicitudes publicadas en los últimos 15 días / Applications published in the last 15 days
Resultados 1 a 25 de 360 nextPage  

制造翼梁帽的方法、相应地制造的翼梁帽和包括所述翼梁帽的风力涡轮机叶片

NºPublicación:  CN121925336A 24/04/2026
Solicitante: 
西门子歌美飒可再生能源创新与技术有限公司
CN_121925336_PA

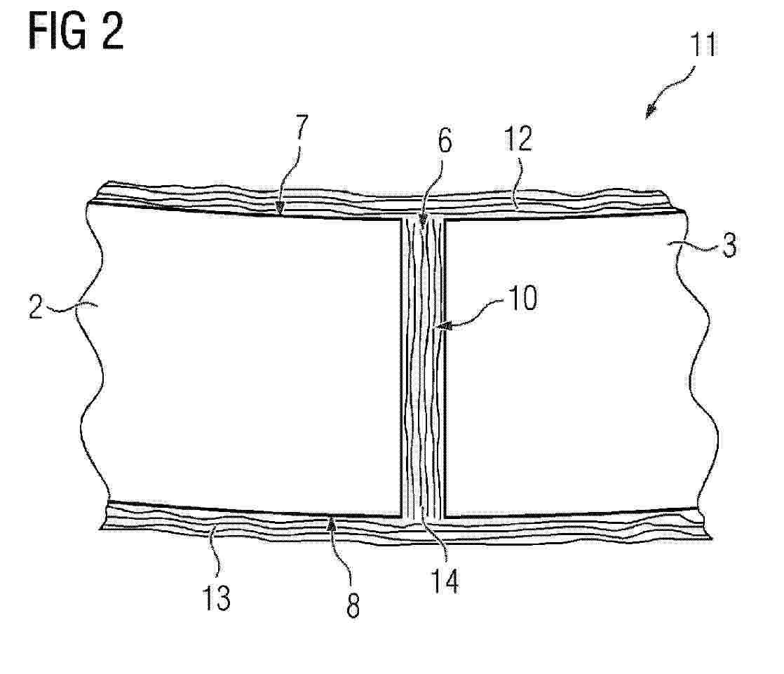
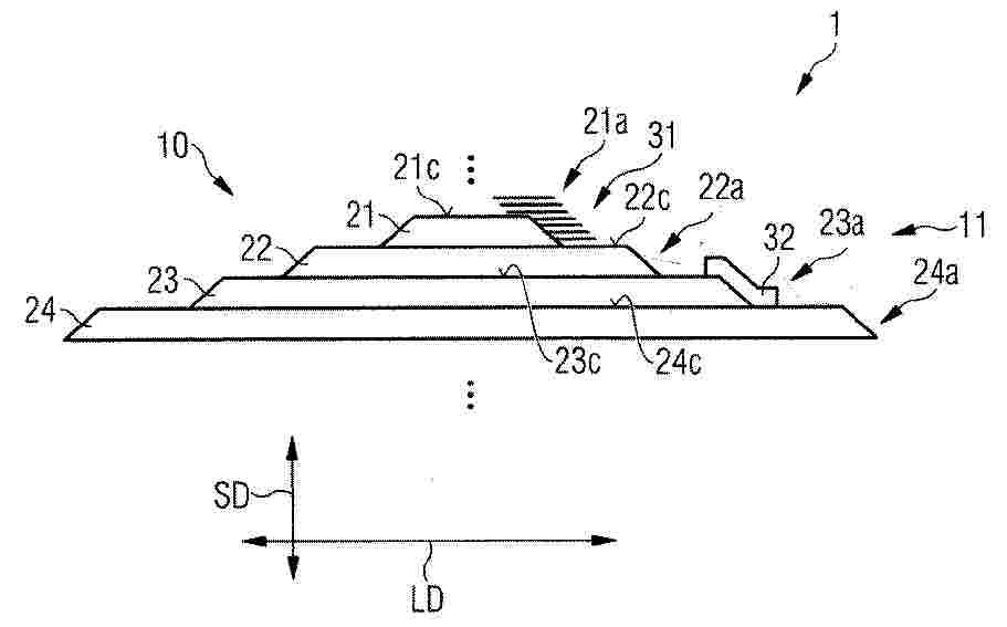
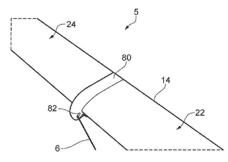
Resumen de: EP4530049A1

A method of producing a spar cap or a part thereof comprises providing a plurality of structural elements (30) each comprising fibres and a weldable resin; arranging at least two of the structural elements (30) side by side, thereby forming a first layer (40); arranging at least two further structural elements (30) side by side, thereby forming a second layer (42); placing a resistive element (50) between the first and second layers (40, 42); and while pressing the first and second layers (40, 42) together, energising the resistive element (50) such that the weldable resin softens or melts, thereby joining the first and second layers (40, 42) of structural elements (30). The structural elements (30) may be pultrusion planks.Also disclosed is a spar cap obtainable by this method as well as a wind turbine blade comprising such spar cap.

BARREL AND BOLT CONNECTING DEVICE, WIND TURBINE AND CONNECTING METHOD

NºPublicación:  WO2026082993A1 23/04/2026
Solicitante: 
AEROBLADE S A U [ES]
ACCIONA GENERACION RENOVABLE S A [ES]
WO_2026082993_A1

Resumen de: WO2026082993A1

The invention relates to an improved barrel and bolt connecting device, the purpose of which is to reduce the bending moment generated in the T-bolt connection by means of both components, with the structure of the two parts combining to enhance the connection under high bending loading and, in this way, the durability and performance of the connection are increased.

WINDMILL GENERATOR WITH LINEAR TO ROTARY ACTUATOR

NºPublicación:  US20260110290A1 23/04/2026
Solicitante: 
HENRY INVEST GROUP LLC [US]
US_20260110290_A1

Resumen de: US20260110290A1

A wind-based power generation system includes a windmill having a wheel assembly, a gearbox coupled to the wheel assembly and configured to convert rotational motion of the wheel assembly into a reciprocal motion, and a shaft coupled to the gearbox and driven in a reciprocal motion. The wind-based power generation system also includes a crank system comprising a linkage and a pitman arm, the linkage and pitman arm configured to convert the reciprocal motion of the shaft into a rotational motion that drive a generator to produce electric power that may be used or stored.

ROBOTIC APPLICATOR DEVICE AND METHOD FOR APPLYING A PROTECTOR TO A LEADING EDGE OF A WIND TURBINE BLADE

NºPublicación:  US20260110287A1 23/04/2026
Solicitante: 
VESTAS WIND SYSTEMS AS [DK]
US_20260110287_A1

Resumen de: US20260110287A1

0000 A robotic applicator device (40) for applying a protector (48) to a leading edge (30) of a wind turbine blade (20) includes a main frame (42), a drive (44) coupled to the main frame (42), and a plurality of stations (46) carried by the main frame (42) configured to apply the protector (48) to the leading edge (30) of the wind turbine blade (20). The stations (46) include a dispensing station (50) configured to hold and dispense a material (64) that forms the protector (48), an adhesive station (52) configured to apply adhesive (66) to an adherend surface (68) of the dispensed protector material (64) and/or the leading edge (30), an applicator station (54) configured to place the adherend surface (68) of the protector (48) onto the leading edge (30) of the wind turbine blade (20), and a curing station (56) configured to cure the adhesive (66) so as to bond the protector (48) to the leading edge (30). A method for applying the protector (48) to the leading edge (30) of the wind turbine blade (20) is also disclosed.

A LIFTING ARRANGEMENT AND METHOD FOR INSTALLING A COMPONENT OF A WIND TURBINE

NºPublicación:  US20260109578A1 23/04/2026
Solicitante: 
VESTAS WIND SYSTEMS AS [DK]
US_20260109578_A1

Resumen de: US20260109578A1

A lifting arrangement for installing and uninstalling a component (16) of a wind turbine (15) is disclosed. The lifting arrangement comprises main yoke (1) being configured to be attached to a main crane (25), and a hoisting mechanism (2, 11) attached to the main yoke (1). The hoisting mechanism (2, 11) is configured to have a component (16) to be installed or uninstalled attached thereto and to move the component (16) relative to the main yoke (1). At least one connecting part (12) is each configured to establish 2024/067929 a pretensioned connection between the main yoke (1) and a nacelle (14) of the wind turbine (15). The pretension of the at least one connecting part (12) is provided by operating a main crane (25) having the main yoke (1) attached thereto. Methods for installing and uninstalling a component (16) in a nacelle (14), using the lifting arrangement, are also disclosed.

PREVENTING BLADE TOWER STRIKE OF A WIND TURBINE

NºPublicación:  US20260110291A1 23/04/2026
Solicitante: 
SIEMENS GAMESA RENEWABLE ENERGY AS [DK]
US_20260110291_A1

Resumen de: US20260110291A1

A method of estimating a position of at least a part of a rotor blade of a rotor of a wind turbine during operation of the wind turbine is provided. The rotor blade is deflected due to a deflection motion of the rotor blade towards a tower of the wind turbine and the position is indicative of the deflection. The method includes measuring a first parameter indicative of an absolute and/or a relative position of at least a second part of the rotor blade or of a further rotor blade of the rotor. The method further includes measuring second parameters indicative of an absolute and/or a relative position of at least a third part of the rotor blade or of the further rotor blade of the rotor. The method further includes estimating a state of the rotor blade and deriving the position from the estimated state of the rotor blade.

TOOTH FOR A TOOTHED TORQUE TRANSMISSION ASSEMBLY, AND METHOD FOR MANUFACTURING SUCH A TOOTH

NºPublicación:  US20260110353A1 23/04/2026
Solicitante: 
FLENDER GMBH [DE]
US_20260110353_A1

Resumen de: US20260110353A1

A tooth for a toothed torque transmission assembly includes a tooth flank designed for torque exchange with a counter flank of a meshing partner. The tooth flank includes a periodically extending tooth flank correction including a sinusoidal corrugation having a locally extending period length T, wherein a development of the sinusoidal corrugation of the periodically extending tooth flank correction defines a center line. The periodic tooth flank correction is overlaid with a spatial microstructure having a local maxima and/or a local minima and a shortest distance t of t

METHOD FOR INSTALLING A WIND TURBINE TOWER

NºPublicación:  US20260110288A1 23/04/2026
Solicitante: 
SIEMENS GAMESA RENEWABLE ENERGY AS [DK]
US_20260110288_A1

Resumen de: US20260110288A1

A method for installing a wind turbine tower is provided, wherein the tower includes a tower fastening portion and a tower through hole in the tower fastening portion, including: providing a vessel with a vessel fastening portion and a vessel through hole in the vessel fastening portion, landing the tower onto the vessel with the tower through hole at the vessel through hole, positioning a stud in the tower through hole and the vessel through hole, wherein the stud includes an upper portion protruding from the tower through hole in an upward direction and a lower portion protruding from the vessel through hole in a downward direction, fastening the tower fastening portion to the vessel fastening portion by a lower fastening element attached to the lower portion and an upper fastening element attached to the upper portion, wherein the lower fastening element and the upper fastening element are both detachable from the stud in a non-destructive way.

PILE FOUNDATION CONNECTION DEVICE FOR TENSION-LEG FLOATING WIND TURBINE PLATFORM

NºPublicación:  WO2026082200A1 23/04/2026
Solicitante: 
JIANGSU ASIAN STAR ANCHOR CHAIN CO LTD [CN]
\u6C5F\u82CF\u4E9A\u661F\u951A\u94FE\u80A1\u4EFD\u6709\u9650\u516C\u53F8
WO_2026082200_A1

Resumen de: WO2026082200A1

The present invention relates to the technical field of mooring connection of tension-leg floating wind turbine platforms. Disclosed is a pile foundation connection device for a tension-leg floating wind turbine platform. The pile foundation connection device comprises a bottom connection mechanism and a steel cable protection mechanism, wherein the bottom connection mechanism comprises a welding back plate, a tongue plate is provided on the welding back plate, the upper end of the tongue plate is connected to a steel cable socket by means of a pin shaft, and a steel cable is connected to the steel cable socket, such that the steel cable is capable of two rotational degrees of freedom; both ends of the tongue plate are locked and fixed by means of locking mechanisms; and the steel cable protection mechanism is located on one side of a pile foundation, and the steel cable is placed on the steel cable protection mechanism after the steel cable is connected, so as to prevent over-bending damage to the steel cable when same is pre-laid on the seabed. The present invention features a simple structure, a reliable performance and convenient operation, and can adapt to underwater quick connection; and the entire operation process only requires the assistance of one ROV, thereby simplifying the tie-back installation procedure of mooring lines and anchoring devices for a tension-leg wind turbine platform, and reducing the mooring and installation costs of the tension-leg wind turbine p

METHOD AND SYSTEM FOR CONTROLLING ACTIVE POWER OF WIND POWER PLANT, AND DEVICE AND STORAGE MEDIUM

NºPublicación:  WO2026082177A1 23/04/2026
Solicitante: 
SHANGHAI ELECTRIC WIND POWER GROUP CO LTD [CN]
\u4E0A\u6D77\u7535\u6C14\u98CE\u7535\u96C6\u56E2\u80A1\u4EFD\u6709\u9650\u516C\u53F8
WO_2026082177_A1

Resumen de: WO2026082177A1

Provided in the present disclosure are a method and system for controlling an active power of a wind power plant, and a device and a storage medium. The method comprises: performing first amplitude-limiting processing on an acquired initial active power target value, so as to obtain an active power reference value; acquiring a proportional control parameter and an integral control parameter of PI control on the basis of the active power reference value and an actual active power feedback value; performing anti-windup threshold parameter fuzzy adjustment on the basis of a response time and a response time variation between a current execution cycle and the execution cycle preceding the current execution cycle, so as to acquire an anti-windup threshold parameter; and performing PI control on an active power on the basis of the proportional control parameter, the integral control parameter and a current integral value, so as to acquire an active power given value. In the present disclosure, a control mode centered on an anti-windup threshold parameter fuzzy regulator and adaptive switching of an integral windup limit value is added on the basis of a PI controller, so as to realize active power anti-windup control for a wind power plant, and the occurrence frequency of integral windup of the PI controller is reduced by means of amplitude limiting processing, thereby optimizing the adaptive PI controller.

ROTOR SAIL

NºPublicación:  WO2026082996A1 23/04/2026
Solicitante: 
NORSEPOWER OY LTD [FI]
WO_2026082996_A1

Resumen de: WO2026082996A1

The present disclosure relates to a rotor sail (100) comprising a rotor (110) having a lengthwise axis, an outer surface surrounding the lengthwise axis, a first end and a second end opposite to the first end, and the rotor having a first radius. A first end plate (114) is attached concentrically around the outer surface at the first end of the rotor. The first end plate includes a first circular edge having a second radius equal to the first radius of the rotor, a second circular edge having a third radius greater than the first radius, and a first slanted lateral surface extending between the first circular edge and the second circular edge, wherein the slanted lateral surface faces the second end and has an angle between 5 to 45 degrees in respect to a plane defined by the second circular edge.

CRUSHER FOR A ROTOR BLADE OF A ROTOR OF A WIND TURBINE

NºPublicación:  WO2026083000A1 23/04/2026
Solicitante: 
SP TEAM OY [FI]
WO_2026083000_A1

Resumen de: WO2026083000A1

The application relates to a crusher (100) for a rotor blade of a rotor of a wind turbine according to an embodiment. The crusher comprises a cutting blade (215), a cutting blade counter structure (216), and a power transmission system (230). The cutting blade is configured to move towards the counter structure so that the cutting blade moves in an overlapping manner with respect to the counter structure. The power transmission system is configured to move the cutting blade towards the counter structure to cut the interposed rotor blade and away from the counter structure. The crusher further comprises a protective container (102) that can be transported by a transport vehicle, designed to protect the cutting blade, the counter structure, and the power transmission system installed inside (104) the protective container, as well as to collect crushing waste generated during the crushing of the rotor blade.

SCANNING SYSTEMS, METHODS, AND DEVICES WITH SLIDABLE AXIS MOBILITY CONTROL

NºPublicación:  US20260109046A1 23/04/2026
Solicitante: 
GMA WERKSTOFFPRUFUNG GMBH [DE]
US_20260109046_A1

Resumen de: US20260109046A1

0000 Systems, methods, and devices include a robotic scanning device for performing a test scan on a target surface. The robotic scanning device has a sliding axis-based mobility system, which includes one or more slide rails slidably coupled together by a control housing. A first pair of actuatable coupling feet extend from the first slide rail; and a second pair of actuatable coupling feet extend from the second slide rail, thus forming a four-foot configuration. A scanning system disposed on the sliding axis-based mobility system can collect, receive, and transmit scanning information (e.g., ultrasonic data). Moreover, the robotic scanning device includes an integrated computing device including a control system operable to perform various mobility maneuvers. The mobility maneuvers can involve movements generated by controlled actuation of the sliding axis-based mobility system, causing the slide rails to move, and attaching and detaching the actuatable coupling feet to the target surface.

ENERGY TRANSPORT SYSTEM USING PRESSURISED FLUIDS

NºPublicación:  WO2026082989A1 23/04/2026
Solicitante: 
MUNOZ SAIZ MANUEL [ES]
WO_2026082989_A1

Resumen de: WO2026082989A1

The present invention relates to an energy transport system using pressurised fluids, comprising: pneumatic compressors or hydraulic pumps; fluid storage chambers or tanks at the discharge point and others at the receiving point; pipes for transporting or transferring the pressurised fluids; pressure sensors; fluid flow or pressure regulators and shut-off valves; multi-stage turbines actuated by the fluids, said turbines driving the electric generators or alternators; and a microprocessor controlling its operation. The materials used are stainless steels, reinforced concrete and corrosion-resistant plastic polymers, such as polyethylene. The compressors are driven mechanically or by means of electric motors powered by the power generators of wind turbines, water turbines or photovoltaic panels. The fluids used are carbon dioxide, ammonia, biofuels, synthetic fuels, natural gas, methane, biomethane, alcohols, water and mixtures thereof, and especially air.

OPTIMIZATION OF TOWER DESIGNS

NºPublicación:  WO2026083437A1 23/04/2026
Solicitante: 
KEC INTERNATIONAL LTD [IN]
WO_2026083437_A1

Resumen de: WO2026083437A1

The present relates to methods and systems for optimizing tower design The system (100) includes a geometry module (210) to receive from a user, input data comprising plurality of parameters to model an initial geometry of a tower indicative of one or more physical parameters. A load case generation module (212) is configured to generate load cases for testing the initial geometry. An iteration module (214) is configured to apply each load case to assess the initial geometry to withstand loads. Based on this assessment, a design alteration module (216) may sequentially alter at least one physical parameter of the initial geometry to obtain a plurality of tower designs. The load case generation module (212) determines a set of load cases corresponding to each design, which may be applied iteratively to the respective designs. An optimization analysis module (218) may identify an optimized design based on outputs corresponding to execution of the load cases on each of the plurality of designs.

SYSTEM TO GENERATE ELECTRICAL ENERGY FROM RENEWABLE ENERGY SOURCES AND METHOD THEREOF

NºPublicación:  WO2026083343A1 23/04/2026
Solicitante: 
BHARAT PETROLEUM CORPORATION LTD [IN]
WO_2026083343_A1

Resumen de: WO2026083343A1

The present disclosure discloses a system (102) and a method (200) for generating electrical energy from one or more renewable energy sources. The system (102) includes one or more energy generation units (104) having one or more horizontal axis wind turbines (HAWTs) (104-1) mounted at a predetermined location to capture wind energy, and one or more vertical axis wind turbines (VAWTs) (104-2) positioned in proximity of the HAWTs (104-1) to harness generated wind energy and environmental wind currents for producing electrical energy. The system (102) further includes one or more solar photovoltaic (PV) arrays (104-3) configured to receive solar energy and convert it into electrical energy. One or more energy storage units (106) are operatively coupled to store the generated electrical energy. A power management unit (108) regulates the flow of stored electrical energy and facilitates its utilization for one or more energy utilization tasks.

ROTOR FÜR WINDKRAFTANLAGEN UND ENTSPRECHENDE WINDKRAFTANLAGE

NºPublicación:  DE102025105470A1 23/04/2026
Solicitante: 
WEG EQUIPAMENTOS ELETRICOS S/A [BR]
DE_102025105470_PA

Resumen de: DE102025105470A1

Die vorliegende Erfindung betrifft einen Windkraftanlagen-Rotor (100), umfassend eine Welle (200), auf der Welle (200) montierte Rotorträger (300), eine Vielzahl von auf den Rotorträgern (300) montierten Blechpaketen (400), wobei zwischen den Blechpaketen (400) eine Vielzahl von Abstandshalterprofilen (500, 1500, 2500) angeordnet ist, die eine Vielzahl von Radialkanälen (600) zwischen axial benachbarten Blechpaketen (400) bildet. Die vorliegende Erfindung betrifft weiterhin eine Windkraftanlage, die mindestens einen erfindungsgemäßen Rotor (100) umfasst.

WIND TURBINE BLADE AND RAPID MAINTENANCE METHOD FOR WIND TURBINE BLADE

NºPublicación:  AU2023472641A1 23/04/2026
Solicitante: 
ENVISION ENERGY LTD COMPANY
AU_2023472641_PA

Resumen de: AU2023472641A1

A wind turbine blade, comprising a first blade layer (11), an original inner core layer (10) and a second blade layer (12) which are stacked, a repair through hole (16) being formed in the second blade layer, a damage removal hole (15) being formed in the original inner core layer, and the damage removal hole being communicated with the repair through hole and extending to the inner surface of the first blade layer. A recovery structure layer (17) connected to the second blade layer is provided at the repair through hole. One or more repair core members (14) are provided in the damage removal hole. By means of continuous filling and curing of adhesives, the one or more repair core members are connected to each other, and the repair core members are connected to the first blade layer, so as to form a repaired inner core layer. During maintenance of the power wind turbine blade in a wind farm, the device can achieve short maintenance time, simple operation, stable maintenance quality, excellent structural performance after maintenance, and lower maintenance cost. Also disclosed is a rapid maintenance method for a wind turbine blade.

METHOD FOR OPERATING A WIND TURBINE AND WIND TURBINE

NºPublicación:  AU2024361768A1 23/04/2026
Solicitante: 
NORDEX ENERGY SPAIN S A U
NORDEX ENERGY SE & CO KG
AU_2024361768_PA

Resumen de: AU2024361768A1

According to an embodiment, the method is for operating a wind turbine (100) having a rotatable component (1 to 4) and N drives (di) for rotating the rotatable component by exerting torques, wherein N ≥ 2. The method comprises a step of providing first information (I1) which is representative of at least one operation parameter (P_i) of each drive. In a further step, second information (I2) is determined depending on the first information. The second information is representative of an operation parameter average (Pa, Pa_I, Pa_II) averaged over at least two drives. Third information (I3) is determined depending on the first and the second information, wherein the third information is representative of whether the operation parameter of at least one drive differs from the operation parameter average by more than a defined threshold (T). If this is the case, a first measure (M1) is executed. The first measure is configured to cause maintenance of the at least one drive. Additionally or alternatively, the first measure is configured to cause a change of the operation of the wind turbine.

Vibration absorber arrangement for reducing the transmission of vibrations

NºPublicación:  US20260110289A1 23/04/2026
Solicitante: 
WOELFEL ENG GMBH CO KG [DE]
US_20260110289_A1

Resumen de: US20260110289A1

0000 The invention relates to a vibration damper assembly (40; 140) for an elongate first component (10; 30), which is arranged at a connecting end (11; 31) in a longitudinal direction (LD) of the first component (10; 30) for mechanical connection to a second component (20). The vibration damper assembly (40; 140) comprises at least two damper groups (41a, 41b, 41c, 41d, 41e ) which are arranged in an end section (12; 32) of the first component (10; 30) with the connection end (11; 31) and are spaced apart from one another in the longitudinal direction (LD), wherein each of the damper groups (41a, 41b, 41c, 41d, 41e ) comprises a plurality of individual vibration dampers (42a, 42b, 42c, 42d, 42e ) which are arranged distributed on a circumferential wall (14) of the first component (10; 30) in a circumferential direction (CD). In order to reduce the problems caused by tonalities in wind energy installations (1) in a simple and cost-effective way, the damper groups have different natural frequencies from each other. The invention also relates to a wind energy installation (1).

DAMPING DEVICE, DAMPING SYSTEM, TOWER SYSTEM AND METHOD

NºPublicación:  US20260110187A1 23/04/2026
Solicitante: 
NORDEX ENERGY SE & CO KG [DE]
US_20260110187_A1

Resumen de: US20260110187A1

0000 In an embodiment a damping device includes a first rope configured to be connected to a tower and a first frame configured to be supported in a stationary manner on ground, to be coupled to the first rope, and to keep the first rope under tension.

INCREASED - EFFICIENCY ROTOR ON A VERTICAL AXIS OF ROTATION

NºPublicación:  EP4728182A1 22/04/2026
Solicitante: 
KOMAROW TOMASZ [PL]
WO_2024258303_PA

Resumen de: WO2024258303A1

Increased - efficiency rotor on a vertical axis of Rotation consists of two coaxial discs (1) permanently connected by rotor blades (2) and an axial profile (3) with the number of side walls equal to the number of blades (2). The blades (2) form vertical, narrowing flow gaps (4) with the edge of the axial profile (3).

A METHOD AND ARRANGEMENT FOR CONTROLLING HEATING OF A WIND TURBINE BLADE

NºPublicación:  EP4728184A1 22/04/2026
Solicitante: 
WICETEC OY [FI]
WO_2024256752_PA

Resumen de: WO2024256752A1

A method for controlling at least one heating element of at least one wind turbine blade, the method comprising at least obtaining thermal properties relating to at least a first position on the at least one wind turbine blade and at least a second position on the at least one wind turbine blade, wherein said first position is associated with a first layer of a layer structure model representing the wind turbine blade and said second position is associated with a second layer of the layer structure model, obtaining a target temperature or a target temperature range for at least one target position on the at least one wind turbine blade, wherein said target position is associated with any layer of the layer structure model, obtaining one or more environmental parameters, and controlling at least one switching device provided in connection with the at least one heating element of the wind turbine blade to approach the target temperature or target temperature range at the target position based on the obtained environmental parameters and the obtained thermal properties and by utilizing a heat transfer model associated with the layer structure model.

A WIND TURBINE BLADE ASSEMBLY

NºPublicación:  EP4728178A1 22/04/2026
Solicitante: 
ANYTIME POWER LTD [IE]
WO_2024256684_PA

Resumen de: WO2024256684A1

The present invention is concerned with a wind turbine blade assembly, and in particular to a blade assembly including a primary blade having a leading edge and a trailing edge between which are defined a pressure side and a suction side, and an array of auxiliary blades mounted in spaced relationship to the pressure side, trailing the leading edge and extending substantially parallel to a longitudinal axis of the primary blade.

SEMI-SUBMERSIBLE FLOAT FOR AN OFFSHORE WIND TURBINE

Nº publicación: EP4727835A1 22/04/2026

Solicitante:

SAIPEM SA [FR]

FR_3149859_PA

Resumen de: WO2024256782A1

The invention relates to a semi-submersible float (2) for an offshore wind turbine, comprising at least three vertical columns (4, 6), one of which is intended to receive a wind turbine mast, the vertical columns being connected together by pontoons (8) each formed by a plurality of planar panels (81 to 84) which are assembled together at edges (10) extending longitudinally between two columns, the edges of the pontoons being rounded and connected at each of their longitudinal ends to a column via a transition piece (12).

traducir