Ministerio de Industria, Turismo y Comercio LogoMinisterior
 

Alerta

Resultados 462 resultados
LastUpdate Última actualización 08/12/2025 [07:02:00]
pdfxls
Solicitudes publicadas en los últimos 15 días / Applications published in the last 15 days
previousPage Resultados 225 a 250 de 462 nextPage  

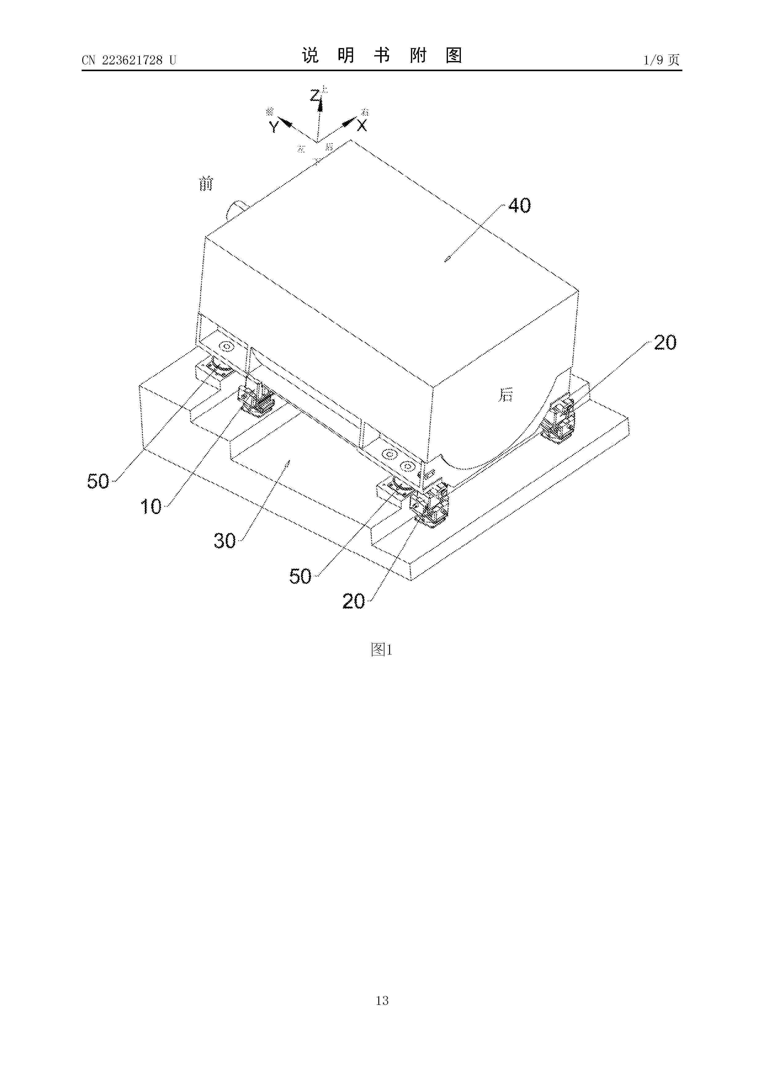
一种风力发电机对中调节装置

NºPublicación:  CN223621728U 02/12/2025
Solicitante: 
运达能源科技集团股份有限公司
CN_223621728_U

Resumen de: CN223621728U

本实用新型公开一种风力发电机对中调节装置,涉及风力发电设备领域,两个第一调节模组支撑发电机较高的一端,第二调节模组支撑发电机较低的一端;第一调节模组和第二调节模组通过X轴驱动组件提供动力、X轴引导组件提供导向,使发电机沿X轴调节位置;第二调节模组的Y轴驱动组件提供动力,并通过第一调节模组和第二调节模组的Y轴引导组件提供导向,使发电机沿Y轴调节位置;并由第一调节模组和第二调节模组的Z轴驱动组件调节发电机的高度,实现发电机的三个维度调节;该装置的集成度提升,结构得到简化,借助更少的人力完成发电机对中调节。

用于检测偏航制动器上连接螺栓的装置及风电机组

NºPublicación:  CN121047745A 02/12/2025
Solicitante: 
湖南能源集团新能源投资有限公司
CN_121047745_PA

Resumen de: CN121047745A

本发明公开了一种用于检测偏航制动器上连接螺栓的装置及风电机组,涉及风电设备检修技术领域,该装置包括装置本体、旋拧机构、推拉组件和扭矩检测件,装置本体用于设置在机舱内侧下方。旋拧机构设置在装置本体上,旋拧机构下端具有旋拧头。推拉组件设置在装置本体上,并与旋拧机构传动连接。扭矩检测件设置在装置本体上,并与旋拧机构连接。推拉组件驱动至少部分旋拧机构下移预设位移,使旋拧头与连接螺栓对接。旋拧机构通过旋拧头对连接螺栓施加扭力。扭矩检测件通过旋拧头检测施加到连接螺栓的扭矩,以判断连接螺栓是否松动或断裂。根据本发明公开的装置,能够代替人工检测连接螺栓的松紧状态,大幅减少了后期检修的成本。

一种组合式吊运装置及其叶片吊运装配方法

NºPublicación:  CN121044458A 02/12/2025
Solicitante: 
中国电建集团贵阳勘测设计研究院有限公司
CN_121044458_PA

Resumen de: CN121044458A

本发明涉及风机安装技术领域,更具体地说,特别涉及一种组合式吊运装置及其叶片吊运装配方法。本发明包括约束模块和吊梁模块,约束模块与叶片固定,所述吊梁模块设置在所述约束模块上方,约束模块包括底部框架,底部框架的底部安装有底轮,所述底部框架的四角位置设有呈矩阵分布的卷轮,所述卷轮基于电机驱动,每个所述卷轮上卷绕有吊索,所述吊梁模块包括吊钩和滑座,所述卷轮用于释放出等长吊索,并将所述吊索勾挂在上方的所述吊钩上,所述滑座用于找到固定叶片的约束模块的重心,使约束模块的重心与吊点统一。本发明对叶片的限位固定更加稳固可靠,提高吊运安全,且有利于实现小幅度高精度的位置调整,并覆盖周向角度及前后角度的调整。

热虹吸效应磁悬浮风光发电装置及智能控制方法

NºPublicación:  CN121047720A 02/12/2025
Solicitante: 
湖南准能机械科技有限公司
CN_121047720_PA

Resumen de: CN121047720A

本发明公开了热虹吸效应磁悬浮风光发电装置及智能控制方法,属于新能源路灯技术领域。热虹吸效应磁悬浮风光发电装置,包括有锥形底座,所述锥形底座的外侧表面铺贴有若干个吸热砖,所述吸热砖朝向锥形底座的一端连接有导热片,且所述锥形底座的上端表面连接有主体组件,所述主体组件的上端内腔中连接有风力发电组件,使风机实现超低风速启动,不仅如此,蜂窝状吸热砖与柱体内壁碳化硅涂层协同捕获太阳能与设备余热,使柱体内部与外界形成较高温差;锥形输气腔的收缩结构与导流鳍片螺旋状分布使气流旋转加速,从而提高气体流速,这样即使在静稳天气,仅靠温差驱动的气流仍可维持风机运转,填补传统风机的“风能空白区”。

一种散热型风力发电机机组

NºPublicación:  CN121047724A 02/12/2025
Solicitante: 
华能共和光伏发电有限公司
CN_121047724_PA

Resumen de: CN121047724A

本发明涉及风力发电技术领域,且公开了一种散热型风力发电机机组,包括:支撑件,支撑件上表面中心设有叶片件,内腔下部中心设有发电件,发电件上表面安装有与叶片件相连接的传动件;支撑件外表面上部四周设有横截面为喇叭形的导流件,导流件内腔中心滑动设有过滤件,过滤件两侧均设有与导流件内壁滑动连接的导向件,导流件内壁与导向件外端之间设有复位件;支撑件内壁上部四周转动连接有第一转动件,其与导向件内端位置相对应,相邻第一转动件之间相连接,端部同轴连接有驱动件,且与支撑件内壁转动连接,该机组中,过滤件可在第一转动件、驱动件和复位件作用下往复运动抖落杂质,防止堵塞。

一种磁吸式脚踏

NºPublicación:  CN223621731U 02/12/2025
Solicitante: 
嵊州为众磁业有限公司
CN_223621731_U

Resumen de: CN223621731U

本实用新型公开一种磁吸式脚踏,包括固定架和设置于固定架上的磁体、踏板,所述固定架上开设有与踏板位置对应的定位孔与固定孔,所述踏板上设有插接于固定孔的插条和转动设置的支撑架,所述插条贯穿固定孔并设置有抵接固定架的卡块,所述支撑架的插杆插接固定于定位孔。在固定架上设置具有高强度磁吸力的磁体,并通过将可拆卸的踏板水平固定于固定架上,即通过磁体与踏板相配合,确保作业人员能稳固的站立在塔壁上进行作业,以减少因不稳定支撑而造成安全事故,进而提高了作业人员在作业时的安全性和作业效率,且通过可拆卸的踏板设置,使得作业人员能更快速的装卸进入和退出作业区域。

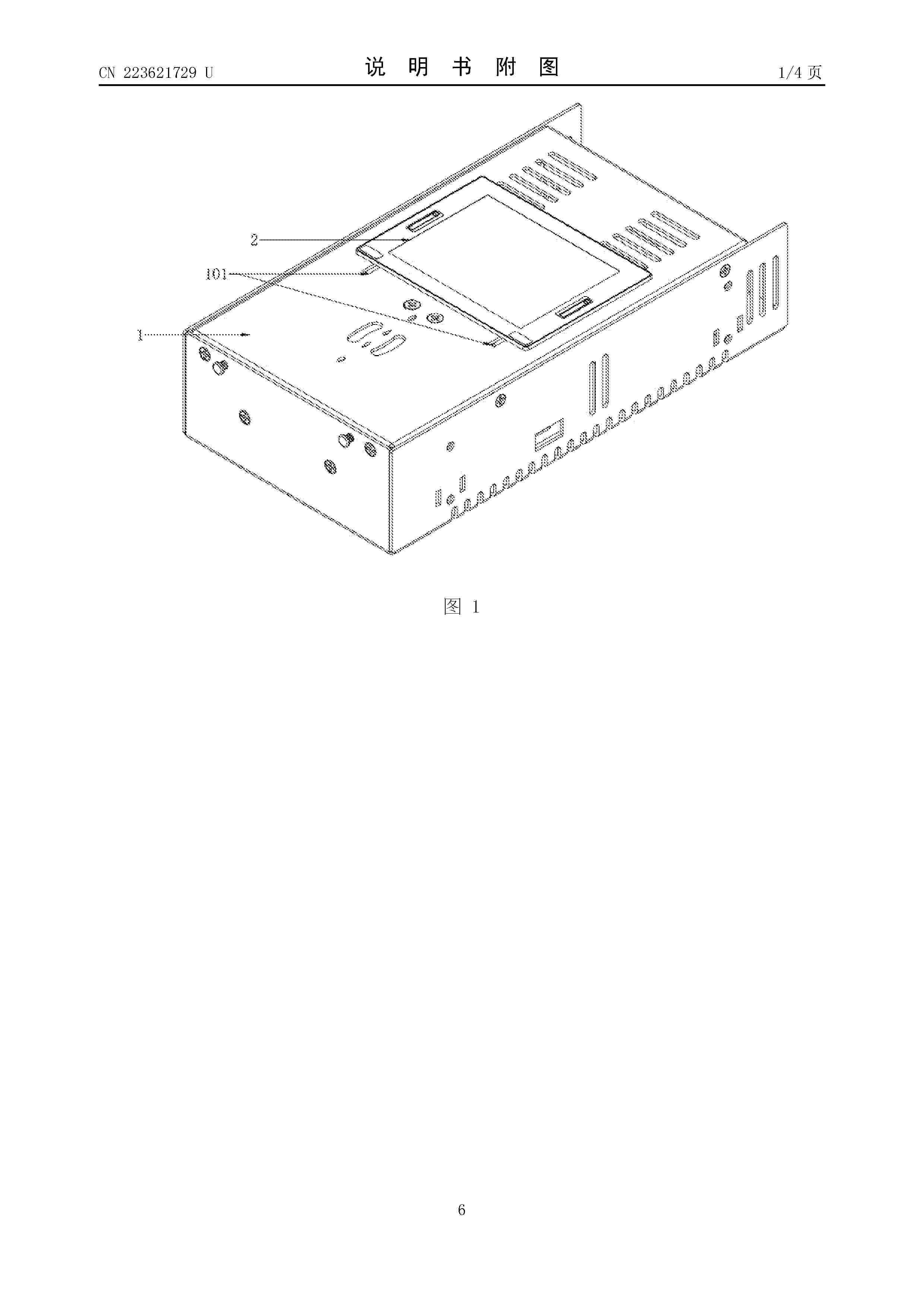
一种风电变桨驱动器状态显示装置

NºPublicación:  CN223621729U 02/12/2025
Solicitante: 
展铖科技(江苏)有限公司
CN_223621729_U

Resumen de: CN223621729U

本实用新型公开了一种风电变桨驱动器状态显示装置,包括变桨驱动器壳体以及用于和变桨驱动器壳体平行安装的LED显示屏,所述变桨驱动器壳体的内部设置有供LED显示屏装入的装配腔,所述LED显示屏的一侧外壁上设置有至少两个相互对称的T型弹性销,所述变桨驱动器壳体的一侧内壁上安装有和T型弹性销同心并供T型弹性销插接的内螺纹导柱。本实用新型通过将LED显示屏的背部预先对接至风电变桨驱动器壳体表面装配腔处,使得LED显示屏的显示面与风电变桨驱动器壳体的延伸平面处于平行状态,并采用T型弹性销与内螺纹导柱自行连接的设计方案,使得显示屏自然朝向运维人员,显示内容更容易被观察到。

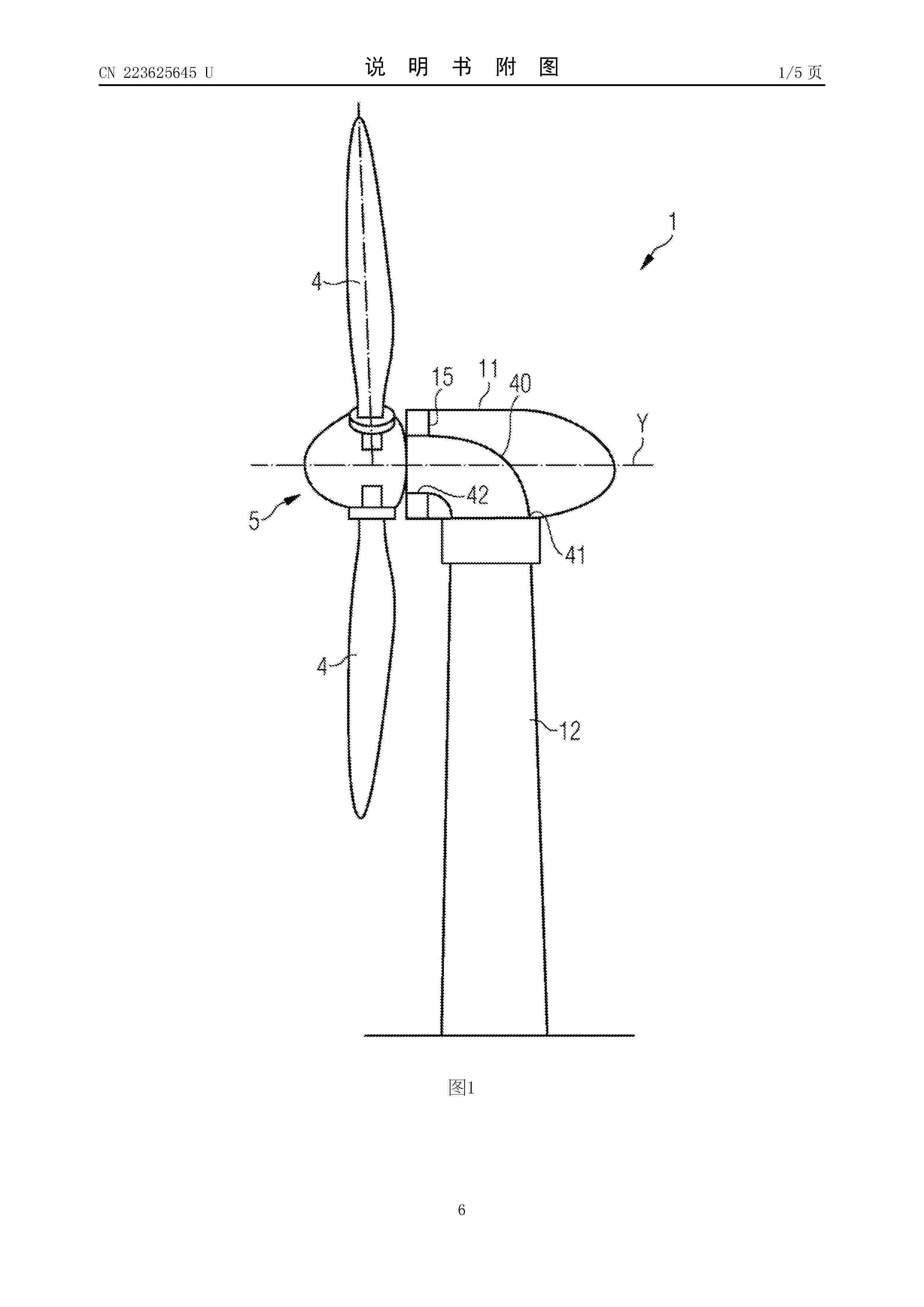
风力涡轮机和用于风力涡轮机的机舱

NºPublicación:  CN223625645U 02/12/2025
Solicitante: 
西门子歌美飒可再生能源公司
CN_223625645_U

Resumen de: WO2023198610A1

It is disclosed a bedframe (40) for a nacelle (11) of a wind turbine (1), the nacelle (11) including an electric generator (15). The bedframe (40) extends between a first bedframe end (41) and a second bedframe end (42), the first bedframe end (41) being configured for connecting the bedframe (40) to a tower (12) of the wind turbine (1), the second bedframe end (42) being configured for connecting the bedframe (40) to a rotor (30) of the electric generator (15). The bedframe (40) includes at least one connecting device (43, 44) for connecting a stator (20) of the electric generator (15) to the bedframe (40) between the first bedframe end (41) and the second bedframe end (42).

偏航执行机构

NºPublicación:  CN223621721U 02/12/2025
Solicitante: 
内蒙古京能文贡乌拉风力发电有限公司
CN_223621721_U

Resumen de: CN223621721U

本申请公开了一种偏航执行机构,涉及风力发电技术领域。其技术要点是:包括塔筒安装法兰,塔筒安装法兰的上侧设有偏航轴承,偏航轴承的外圈与风力发电机的塔筒顶部连接,偏航轴承的内圈与机舱底座固定连接;机舱底座上还安装有多个驱动电机,驱动电机通过驱动小齿轮与外齿圈相啮合,风力发电机的塔筒内侧设有环形制动盘,环形制动盘上设有多个制动钳;驱动电机包括电机主体、辅助制动单元和减速器。在需要刹停塔筒顶部的机舱时,本申请可通过辅助制动单元和制动钳两种方式协同工作来将机舱刹停,这样可降低制动钳的负担,从而提高制动钳内摩擦片的使用寿命,降低其更换频率。

一种风机叶轮组装调试用叶片支撑与调平装置

NºPublicación:  CN223621724U 02/12/2025
Solicitante: 
中国电建集团贵州工程有限公司
CN_223621724_U

Resumen de: CN223621724U

本申请公开了一种风机叶轮组装调试用叶片支撑与调平装置,包括:对风机叶片进行支撑的承载框;承载框底部通过滑动柱可滑动安装有承重板,滑动柱可带着承载框在承重板上进行平面移动,承重板底部安装有可升降调节的液压油缸。风机叶片安装到承载框上获得支撑,液压油缸带着风机叶片升起至与风机轮毂的安装口高度对应,而后滑动柱带着承载框支撑风机叶片在承重板上进行平面移动调节,使风机叶片与风机轮毂的安装口对接,解决了现有技术不能带着叶片在同一高度处进行平面移动调节,来对接风机轮毂安装口的问题。

一种风渔融合装置及控制方法

NºPublicación:  CN121040416A 02/12/2025
Solicitante: 
中国长江三峡集团有限公司
CN_121040416_PA

Resumen de: CN121040416A

本申请提供了一种风渔融合装置及控制方法,涉及风渔融合技术领域,该装置包括单桩基础、风电机组、J型管、养殖网箱和提升机构;风电机组布置在单桩基础的顶部;J型管设置于单桩基础内;养殖网箱可滑动布置在所述单桩基础外;提升机构设置于所述单桩基础上,用于驱动所述养殖网箱沿所述单桩基础的长度方向滑动。本申请能够将海上风力发电与海洋养殖一体化集成,实现了海上风电单桩基础结构和空间的共享;能够适配具有不同水深需求的养殖产品,同时也便于将养殖网箱提升至水面上,便于在水面上获取养殖产品;能够将海缆限制在单桩基础内,保护海缆安全的同时保证了养殖网箱沿单桩基础的无障碍升降。

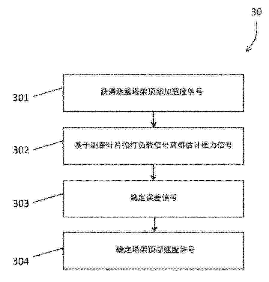
基于叶片拍打负载估计风力涡轮机塔架的顶部在前后方向上的速度

NºPublicación:  CN121057889A 02/12/2025
Solicitante: 
维斯塔斯风力系统集团公司
CN_121057889_PA

Resumen de: WO2024183868A1

The invention estimates a velocity of a top of a tower of a wind turbine that has a rotor and a plurality of rotor blades. The invention involves obtaining a measured acceleration indicative of tower top acceleration in the fore-aft direction. The invention involves obtaining an estimated thrust force experienced by the rotor, and providing this estimate as input to a defined observer model describing motion of the tower top. The invention involves determining an error based on a difference between the measured acceleration and an estimated acceleration obtained using the observer model, and providing the error as input to the observer model as part of a feedback loop. The invention involves estimating, using the observer model, velocity of the tower top in the fore-aft direction. The estimated thrust force is obtained based on measured flap loading on the rotor blades.

一种风力发电机组桁架式塔架净空控制方法及设备

NºPublicación:  CN121047718A 02/12/2025
Solicitante: 
中车山东风电有限公司
CN_121047718_PA

Resumen de: CN121047718A

本发明提供一种风力发电机组桁架式塔架净空控制方法及设备,涉及风力发电机组桁架式塔架、净空控制领域,本发明通过三光束激光雷达的测距值,结合雷达安装角度、雷达安装位置、机舱仰角、机舱位移和塔架半径计算叶片净空,根据三光束叶片净空、叶片长度、偏航角度、桁架式塔架类型和偏航误差控制机组分别进入正常发电模式、净空保护模式、偏航保护模式和停机保护模式。净空控制方法满足桁架式塔架净空需求、灵活度高、简单有效,提高了桁架式塔架净空计算准确性和风力发电机组的安全性。

基于多模态光纤传感监测的风机运行状态识别方法及系统

NºPublicación:  CN121047750A 02/12/2025
Solicitante: 
香港中文大学(深圳)
CN_121047750_PA

Resumen de: CN121047750A

本发明提供一种基于多模态光纤传感监测的风机运行状态识别方法及系统,通过获取分布式光纤传感器采集的连续传感信号,对连续传感信号进行时空关联滤波,生成多物理场微变特征向量集,将多物理场微变特征向量集输入预训练的耦合响应建模网络,通过其中的时空交叉注意力机制对应变场微变特征向量和温度场微变特征向量进行关联建模,生成动态响应指纹图谱;调用历史故障数据库中的故障演化路径集合,将动态响应指纹图谱进行相似度匹配,生成运行状态偏离度指数;查询预设的健康状态评估策略库,确定风机整体健康状态等级及对应的潜在故障风险概率,生成包含故障区域定位坐标的运行状态评估结果。本发明可以提升风机运行状态识别的准确性。

一种分段预应力混凝土塔架过渡段转换机构

NºPublicación:  CN223621725U 02/12/2025
Solicitante: 
中国安能集团第一工程局有限公司安能集团第一工程局云南投资建设有限公司
CN_223621725_U

Resumen de: CN223621725U

本实用新型公开了一种分段预应力混凝土塔架过渡段转换机构,涉及风机施工技术领域,包括塔架基础平台、混凝土塔架段、钢塔架、钢混过渡组件、钢过渡组件;混凝土塔架段安装在塔架基础平台上,钢混过渡组件包括混凝土过渡筒段、钢垫板、钢绞线预埋孔;钢过渡组件包括钢过渡筒段、上法兰盘、下法兰盘、过渡平台、预穿孔、预应力钢绞线束,过渡平台与钢混过渡筒段连接;混凝土过渡筒段与混凝土塔架段连接,钢过渡筒段与钢塔架连接,混凝土过渡筒段与钢过渡筒段与塔架基础平台之间通过预应力钢绞线束连接,从而将多组混凝土塔架段与钢塔架连接成整体,使得混凝土塔架应力均匀,提高混凝土塔架段的抗裂性能避免在风机运行过程中混凝土塔架段发生开裂。

一种风力发电机塔筒内筒加固施工机

NºPublicación:  CN223620086U 02/12/2025
Solicitante: 
富伦特流体工业设备(大连)有限公司
CN_223620086_U

Resumen de: CN223620086U

本实用新型涉及风力发电机的技术领域,特别是涉及一种风力发电机塔筒内筒加固施工机,其不仅方便了带动加固件移动到塔筒内筒,方便了施工,而且可以使用不同直径尺寸的内筒,提高了装置的适用性;包括移动小车;还包括驱动机构、升降机构、旋转机构、支撑机构和吸附机构,驱动机构安装在移动小车上,升降机构安装在驱动机构上并配合驱动机构带动加固件提升到指定高度,旋转机构安装在升降机构上并带动加固件旋转,支撑机构安装在旋转机构上并将加固件输送到塔筒内壁,吸附机构安装在支撑机构上并对加固件进行固定。

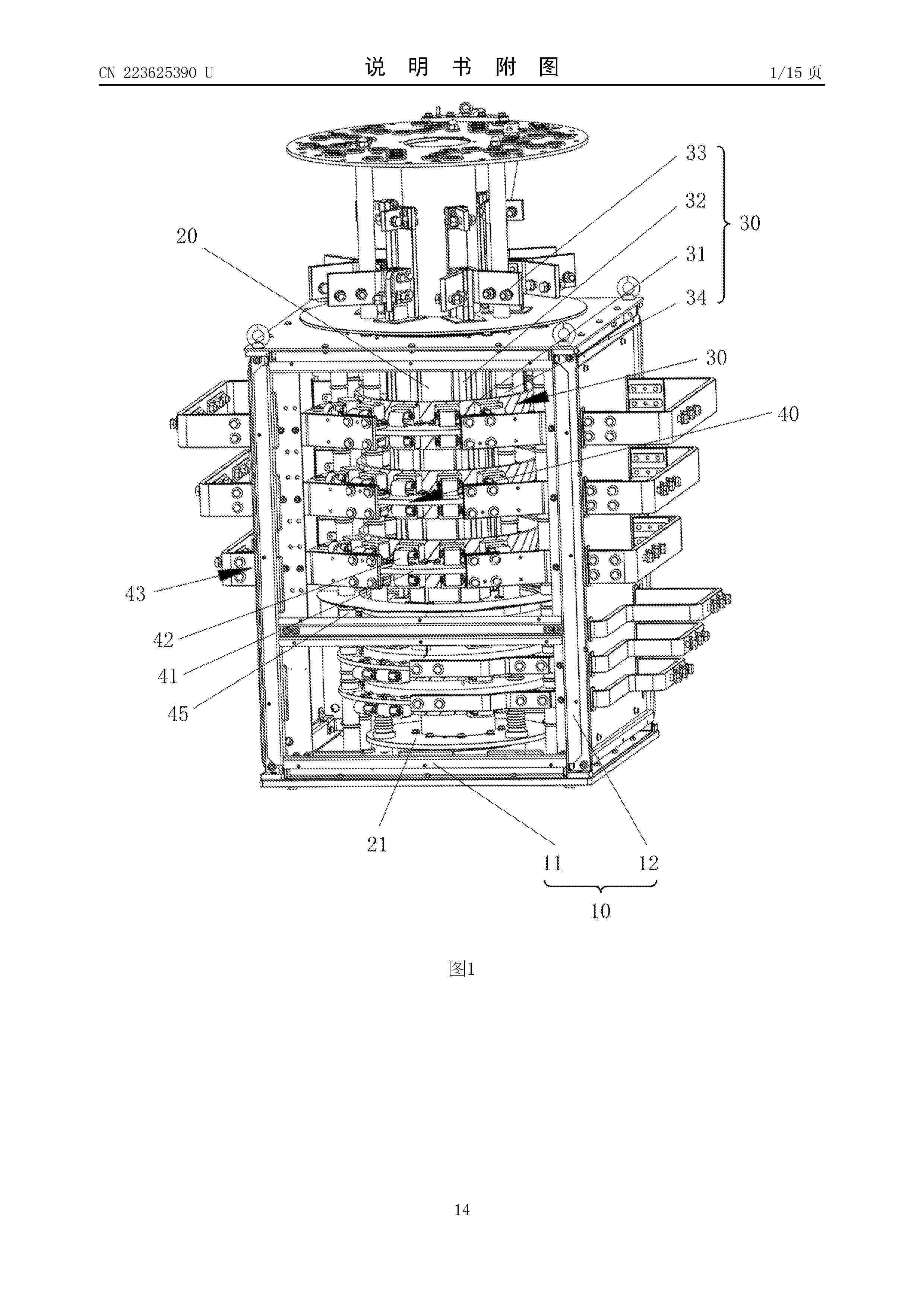
集电装置和风力发电机组

NºPublicación:  CN223625390U 02/12/2025
Solicitante: 
天津领航智控有限责任公司
CN_223625390_U

Resumen de: CN223625390U

本实用新型提供一种集电装置和风力发电机组。其中,所述集电装置包括:支撑座、转轴、转子端连接组件以及定子端连接组件,其中,转轴可转动地设置在支撑座上;至少一个导电连接结构,导电连接结构包括:转子端连接组件和定子端连接组件,转子端连接组件包括至少一对并联的电滑环组,电滑环组固定在转轴的径向外侧,用于电连接机舱内的输电线缆,并能够跟随转轴转动;定子端连接组件固定在支撑座上,位于转子端连接组件的径向外侧,一端与电滑环组的径向外侧滑动接触以电连接,另一端沿电滑环组的径向延伸。根据本申请的集电装置,能够满足大电流的输送需求、电气间隙、爬电距离等安全要求的情况下,使得内部部件的布置更为紧凑。

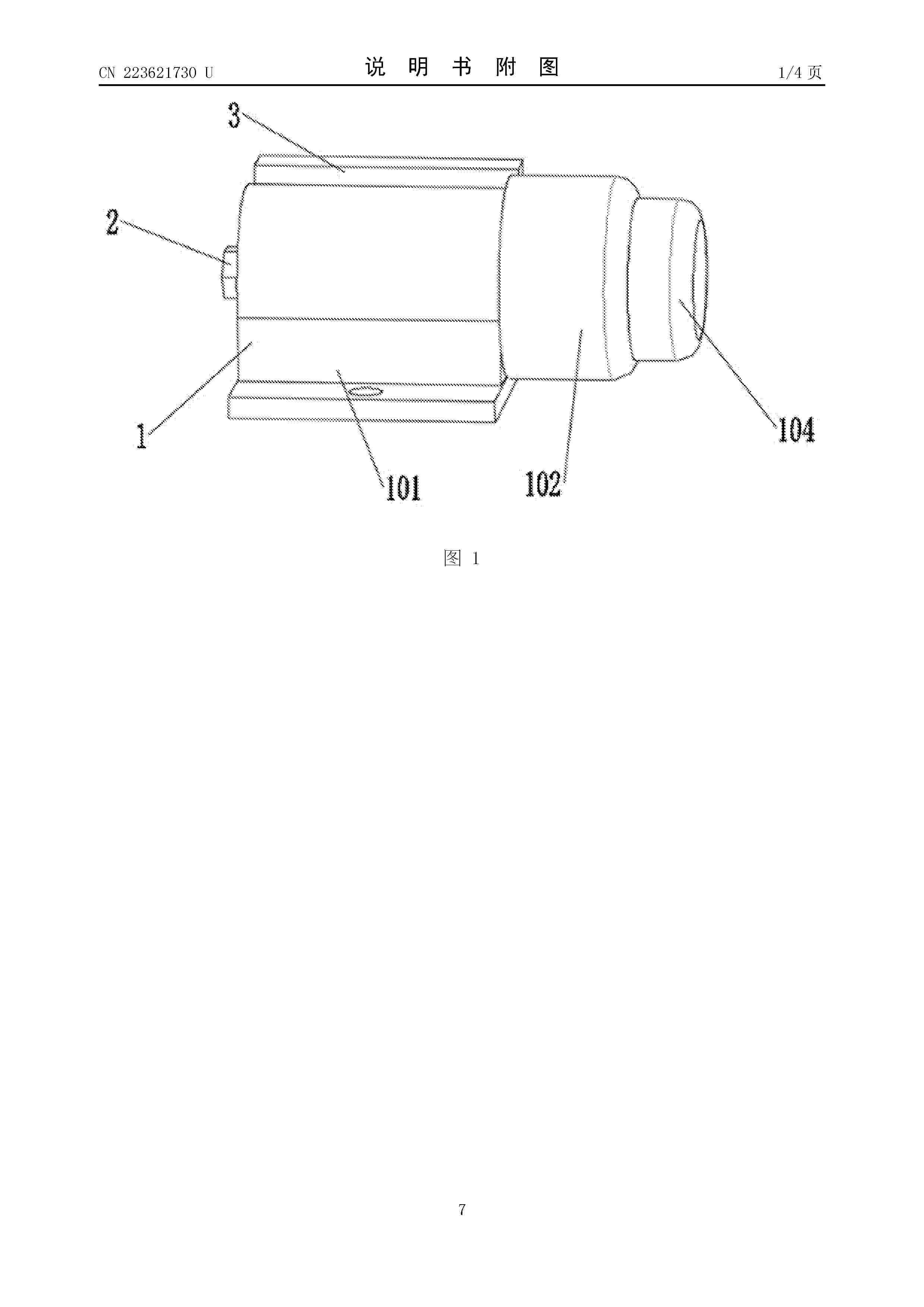
风电叶片振动监测装置

NºPublicación:  CN223621730U 02/12/2025
Solicitante: 
金杰融和电力有限公司
CN_223621730_U

Resumen de: CN223621730U

本申请涉及风电叶片监测技术领域,公开了一种风电叶片振动监测装置,包括触碰机构,所述触碰机构包括安装座,所述安装座的右侧螺纹连接有连接座,所述连接座的内部固定连接有第一弹簧,所述第一弹簧的一端固定连接有按钮,所述按钮的表面固定连接有限位板。本申请通过当受到振动作用力时,按钮会压缩第一弹簧,使按钮在连接座内滑动,限位板在限位槽内滑动起到限位作用,进而带动触碰杆从光纤光栅式传感器的中间穿过触碰,以将感受到的振动信息进行捕捉。当第一弹簧回弹效果失效后,转动连接座将其与安装座分离,再对第一弹簧进行更换,减少了设备因弹簧故障而停机维修的时间,提高了风电设备的运行效率。

一种新能源汽车用车载补能风力发电机

NºPublicación:  CN121047725A 02/12/2025
Solicitante: 
浙江三新科技有限公司
CN_121047725_PA

Resumen de: CN121047725A

本发明涉及一种新能源汽车用车载补能风力发电机,包括补能风力发电机,补能风力发电机包括发电机和风力叶轮,风力叶轮和发电机之间设有自动变速器;自动变速器包括变速器外壳,变速器外壳的中、前部通过轴承连接有动力输入轴,动力输入轴的前端伸出变速器外壳与风力叶轮固接在一起;变速器外壳内的动力输入轴上插套固定有动力输入轴套,动力输入轴的后端成型有动力输入盘,动力输出轴套的前端成型有动力输出盘,动力输出盘通过轴承连接在动力输入轴套的后端,动力输入盘和动力输出盘之间插设有传动滚轮。本风力发电机设计了自动变速器,基于自动变速器能给予发电机额定转速,实现风力发电机应用于新能源汽车上,风力发电机发电为新能源汽车补能。

一种自适应柔性护裙式风机基础防冲刷系统

NºPublicación:  CN121047305A 02/12/2025
Solicitante: 
山东渤海一号风电有限公司浙江大学
CN_121047305_PA

Resumen de: CN121047305A

本发明公开了一种自适应柔性护裙式风机基础防冲刷系统,具体涉及海洋工程领域,包括风机基柱,所述风机基柱的外侧固定连接有柔性护裙本体,所述柔性护裙本体由聚酯纤维基布与氟碳涂层复合制成,环绕基础设置且下缘呈波浪褶皱形态;所述柔性护裙本体的底部通过链条固定连接有一组呈圆周排布的配重块,所述柔性护裙本体的底部通过柔性的铰接件铰接有一组呈圆周排布且与一组配重块间隔排列的沉积袋,所述沉积袋的袋体孔隙率为40‑60%。通过波浪褶皱式护裙下缘设计配合间隔分布的配重‑沉积袋复合结构,首次实现“材料自适应释放+沉积自增稳”双重防护机制;能自由适配海床的不同形状,达到装置维护成本体低、安装方便、修复容易以及稳定性强的效果。

一种风力发电机振动远程监控装置

NºPublicación:  CN121047741A 02/12/2025
Solicitante: 
中国电建集团北京勘测设计研究院有限公司
CN_121047741_PA

Resumen de: CN121047741A

本发明公开了一种风力发电机振动远程监控装置,涉及风力发电机技术领域,包括主体、电力转换装置、用于连接主体和电力转换装置的主轴以及监控组件,所述监控组件包括监控环和磁环,所述磁环套设在主轴的外壁上,所述监控环与磁环位于同一水平面上,所述监控环与主轴间隙连接;本发明中,通过设置由监控环、磁环、滑块等部件构成的监控组件,使得能够基于磁环与磁块之间的斥力变化,实时、灵敏地捕捉主轴的振动情况,相比复杂电子监测系统,降低了故障概率,提高了运行可靠性,且便于安装维护,且磁环与磁块采用非接触式监测,使得监测过程不会对主轴的正常旋转和风力发电机运行产生额外干扰。

基于风功率曲线的变桨系统状态分析方法及相关装置

NºPublicación:  CN121047739A 02/12/2025
Solicitante: 
华能江西清洁能源有限责任公司
CN_121047739_PA

Resumen de: CN121047739A

本发明属于状态分析技术领域,公开了一种基于风功率曲线的变桨系统状态分析方法及相关装置;其中,所述基于风功率曲线的变桨系统状态分析方法包括获取风电机组变桨系统的运行过程数据,通过风功率曲线将运行过程数据按照风速变化划分工况阶段,获取风电机组变桨系统的历史运行过程数据,对历史运行过程数据进行预处理,根据预处理后的历史运行过程数据和工况阶段构建变桨系统状态分析模型,将运行过程数据输入变桨系统状态分析模型,通过变桨系统状态分析模型计算得到风电机组变桨系统的运行状态分析结果;本发明能够更精确地反映风电机组在不同风速条件下的运行状态,进一步提升风电机组的运行效率和可靠性。

WIND TURBINE ROTOR, WIND TURBINE ROTOR MODULE, WIND PANEL WITH THE WIND TURBINE ROTOR MODULE, METHOD FOR MANUFACTURING THE WIND TURBINE ROTOR

NºPublicación:  MX2025009667A 01/12/2025
Solicitante: 
VP SYSTEM SP Z O O [PL]
VP SYSTEM SP Z O.O
CN_120958233_PA

Resumen de: MX2025009667A

The subject-matter of the invention is a wind turbine rotor (1) for the wind turbine with a vertical axis of rotation, the rotor comprising a plurality of rotor blades (2) equally spaced from one another. The rotor is essentially in the shape of a longitudinally pleated tube, whose pleats are blades (2), and each blade (2) is formed by a shorter wall (3) and a longer wall (4), with said shorter walls (3) and longer walls (4) of the blades (2) defining an inner space (14) of the wind turbine rotor (1), and the cross-section of the rotor (1) forms a closed figure. The subject-matter of the invention is also a wind turbine rotor (1) module com prising the wind turbine rotor (1) of the invention and a wind panel comprising at least three wind turbine rotor (1) modules of the invention. Further, the subject-matter of the invention is a method for manufacturing the wind turbine rotor (1) of the invention.

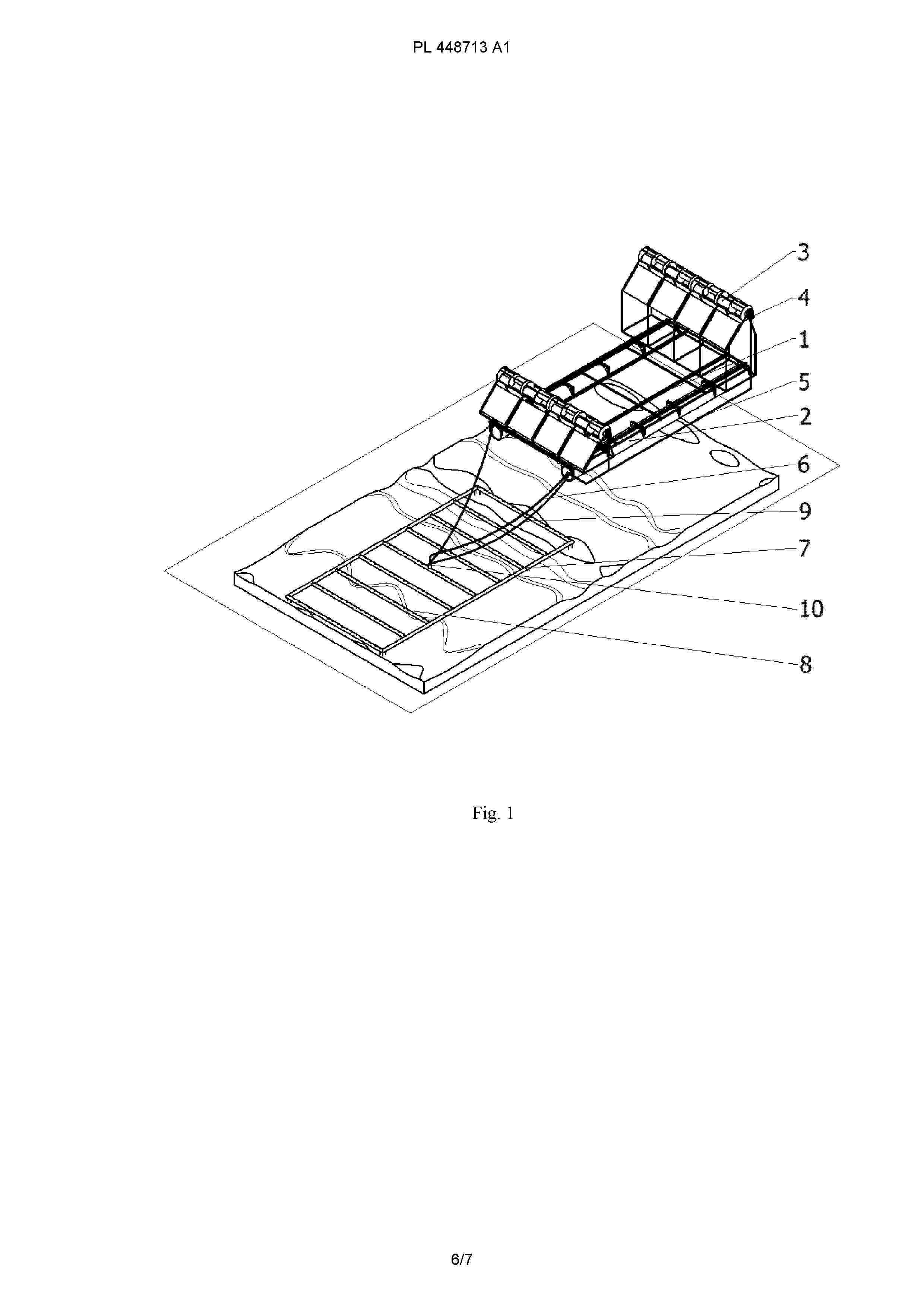
Device for aerating water reservoirs

NºPublicación:  PL448713A1 01/12/2025
Solicitante: 
POLITECHNIKA GDANSKA [PL]
POLITECHNIKA GDA\u0143SKA
PL_448713_A1

Resumen de: PL448713A1

Przedmiotem zgłoszenia jest urządzenie do napowietrzania zbiorników wodnych zawierające sprężarkę, dyfuzor i wirnik charakteryzujące się tym, że składa się z platformy pływającej (1) zawierającej pływaki (2), na której umieszczono dwa wirniki Savoniusa (3) w położeniu poziomym oraz sprężarkę (4), która jest napędzana bezpośrednio przez każdy z wirników Savoniusa (3). Platforma pływająca (1) jest połączona poprzez układ rur (5) oraz węży (6), z rusztem napowietrzającym (7) umieszczonym na dnie zbiornika wodnego, gdzie ruszt napowietrzający (7) wyposażony jest w dyfuzory (8). Ruszt napowietrzający (7) połączony jest z platformą pływającą (1) poprzez pływaki (2) za pomocą układu łańcuchów (9).

LINEAR NETWORK OF WIND TURBINE BLADE ARRAYS

Nº publicación: MX2025009964A 01/12/2025

Solicitante:

AIRIVA RENEWABLES INC [US]
AIRIVA RENEWABLES, INC

WO_2024177726_A1

Resumen de: MX2025009964A

A linear network of wind turbine blade arrays has a plurality of wind turbine blade arrays. Each of the wind turbine blade arrays has a frame with a top structure and a bottom structure. The top structure is spaced from the bottom structure with first and second opposite vertical side structures. The top structure includes a top enclosure and the bottom structure includes a bottom enclosure. A plurality of shafts are spaced apart from one another along and extending between the top structure and the bottom structure. Each shaft is configured to rotate about a respective shaft axis within the frame. A blade formation for each shaft is arranged and configured to interact with moving air to cause rotation movement of the respective shaft. At least one generator is operatively connected to at least one shaft. The generator is mounted in one of the top enclosure and bottom enclosure.

traducir