Ministerio de Industria, Turismo y Comercio LogoMinisterior
 

Alerta

Resultados 434 resultados
LastUpdate Última actualización 22/01/2026 [07:11:00]
pdfxls
Solicitudes publicadas en los últimos 15 días / Applications published in the last 15 days
Resultados 1 a 434  

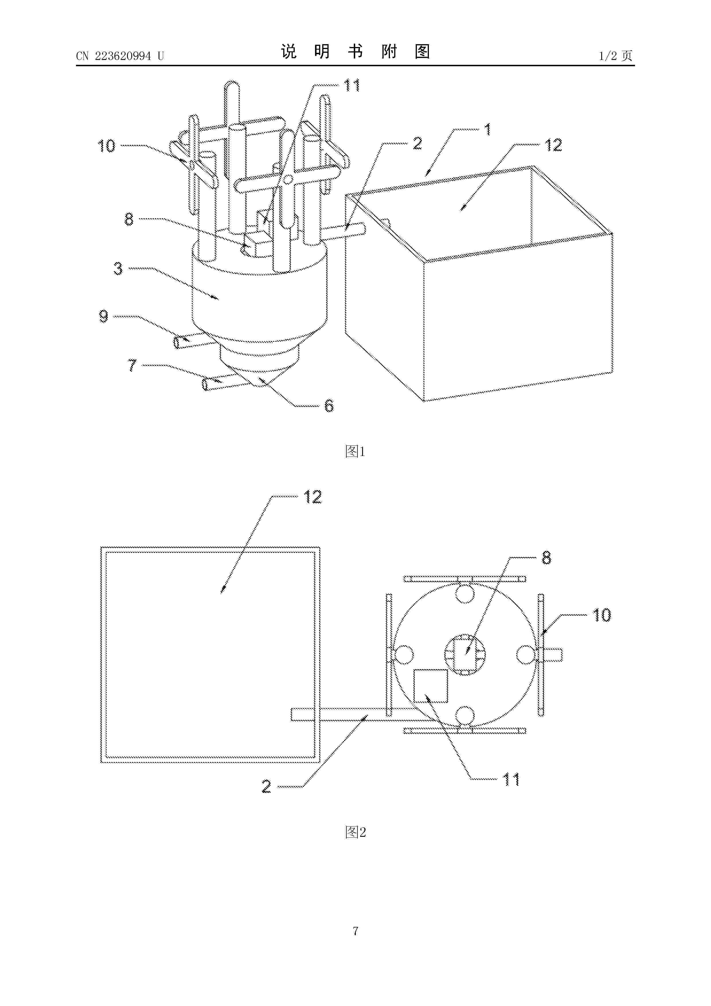
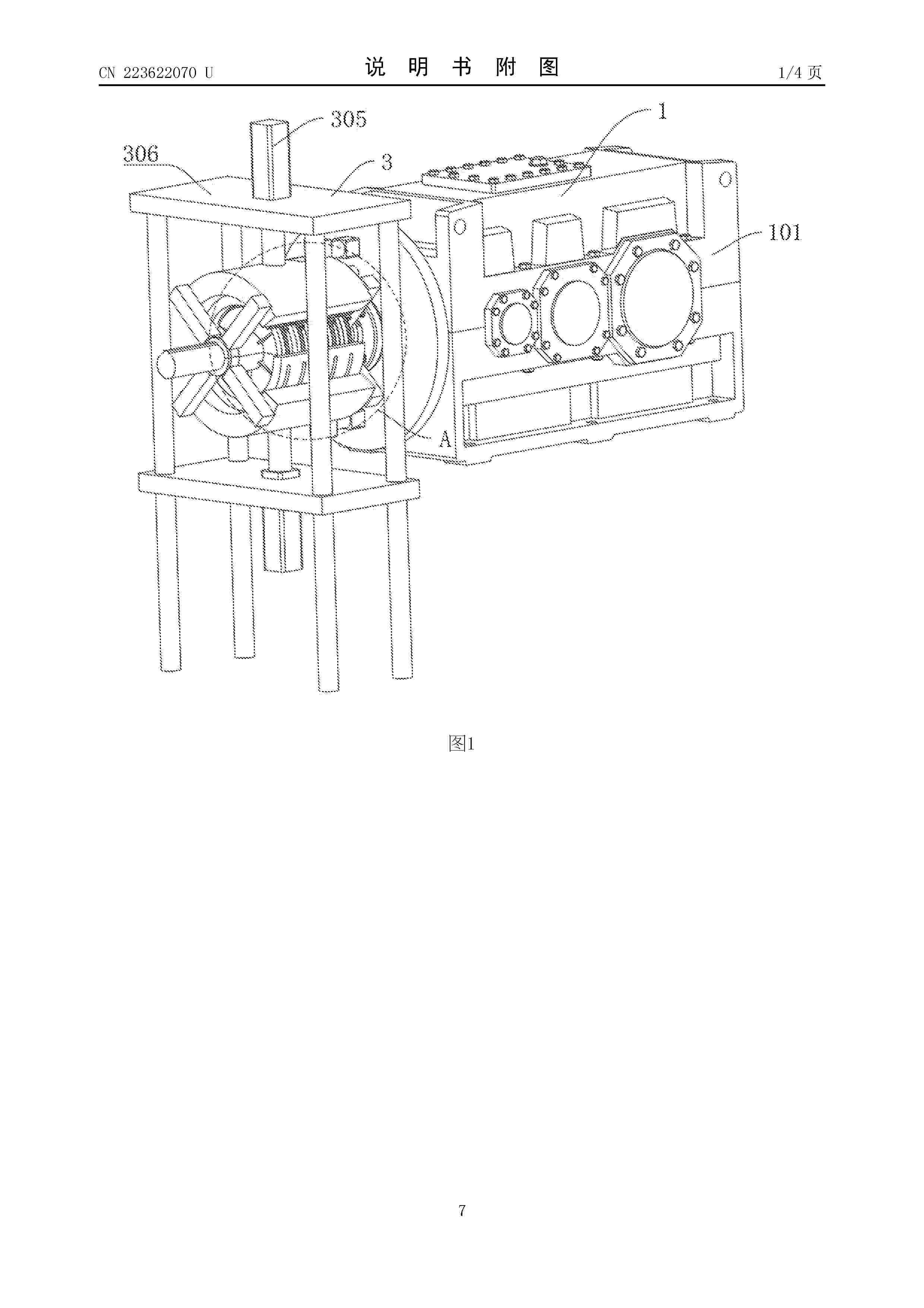
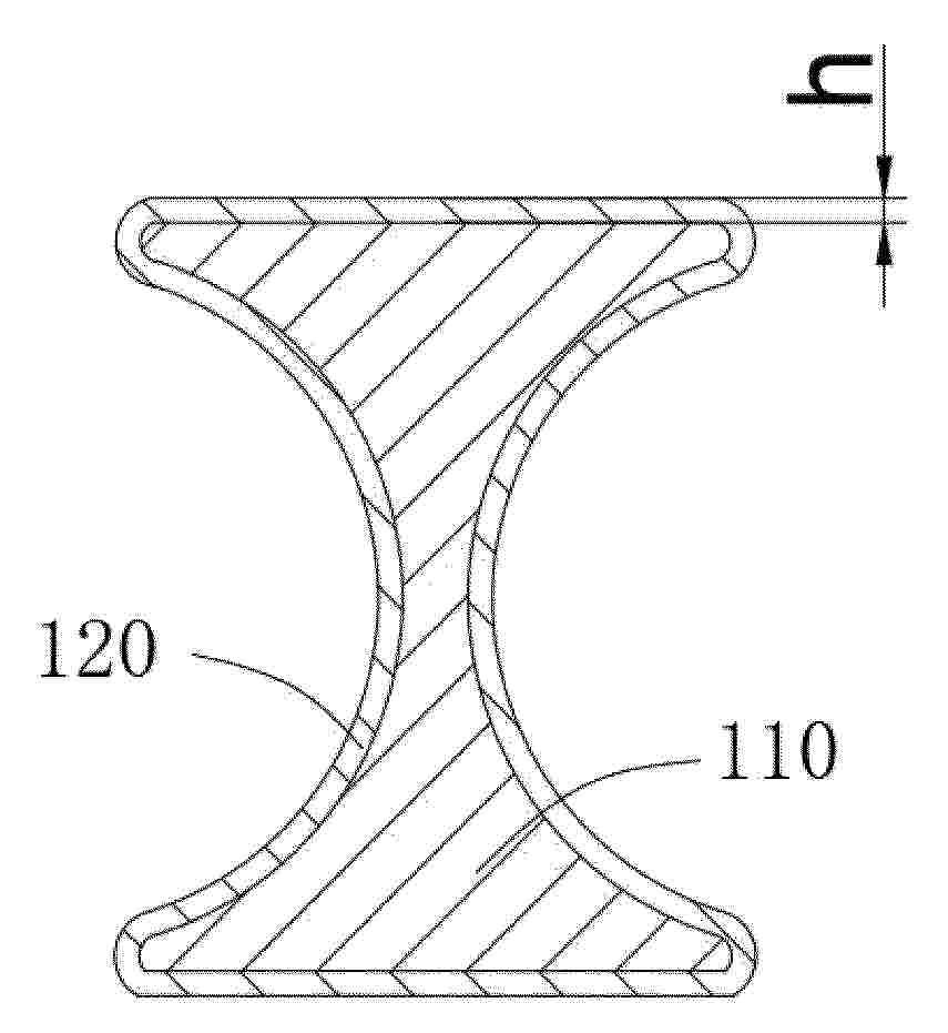
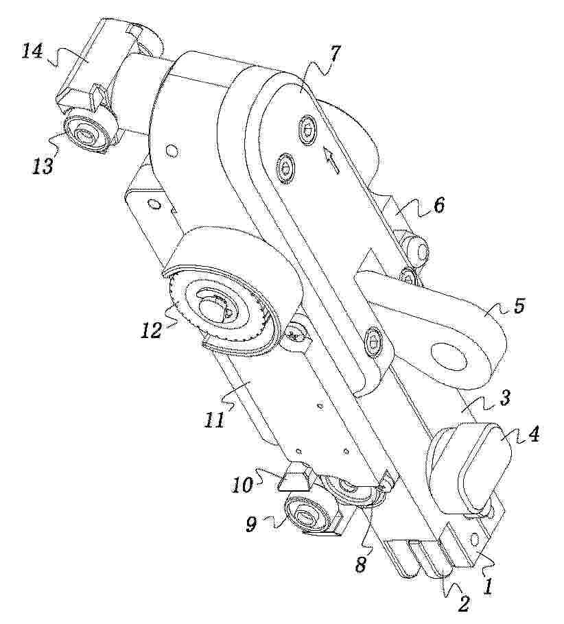
Segmentierte Gleitlagerung und Windkraftanlage

NºPublicación:  DE102024120562A1 22/01/2026
Solicitante: 
SCHAEFFLER TECHNOLOGIES AG [DE]
Schaeffler Technologies AG & Co. KG

Resumen de: DE102024120562A1

Eine segmentierte Gleitlagerung (1), insbesondere einer Windkraftanlage (10), umfasst ein zumindest abschnittsweise sphärisch gekrümmtes Rotationsteil (2), welches eine Mehrzahl an gehäuseseitigen Gleitlagersegmenten (11) kontaktiert. Zwischen einer ersten Reihe (8) an als Gleitlagersegmenten vorgesehenen Gleitlagerpads (11) und einer hierzu parallelen zweiten Reihe (9) an Gleitlagerpads (11) ist ein Montageraum (13) zur Anbringung mindestens einer weiteren Reihe (14) an Gleitlagerpads (11) gebildet.

BEND STIFFENER ELEMENT, SUPPORT BODY AND STRUCTURE

NºPublicación:  EP4681302A1 21/01/2026
Solicitante: 
ADVANCED INNERGY LTD [GB]
Advanced Innergy Ltd
CN_121175893_PA

Resumen de: WO2024194615A1

A method and apparatus for locating an elongate flexible member at a desired location with respect to an aperture in a wall of a structure are disclosed. The apparatus comprises: a support body comprising a through passageway that extends through the support body from a first end of the support body to a further end of the support body; and a bend stiffener element securable at the first end; wherein a longitudinal axis of the bend stiffener element, for at least a portion of a whole length of the bend stiffener element, is curved.

A PITCH CONTROLLED WIND TURBINE

NºPublicación:  EP4680854A1 21/01/2026
Solicitante: 
VESTAS WIND SYS AS [DK]
VESTAS WIND SYSTEMS A/S
CN_121079501_PA

Resumen de: WO2024193779A1

A pitch controlled wind turbine has a tower, a nacelle mounted on the tower, a hub mounted rotatably on the nacelle, and at least three wind turbine blades. Each wind turbine blade extends between a root end connected to the hub via a pitch mechanism, and a tip end. The wind turbine has at least three blade connecting members, each blade connecting member extending from a connection point on one wind turbine blade towards a connection point on a neighbouring wind turbine blade. The connection point on a given wind turbine blade is arranged at a distance from the root end and at a distance from the tip end of the wind turbine blade. Each wind turbine blade has a leading edge, a leading edge extension, and a blade shell defining a suction side and a pressure side around the blade. The leading edge extension extends forward of the leading edge, and the connection point of the respective wind turbine blade is located forward of the leading edge and adjacent the pressure side on the leading edge extension. Each wind turbine blade has a respective fairing extending over at least the leading edge extension, wherein the fairing has a profile which is twisted nose down with respect to a profile of the blade shell adjacent the fairing.

METHOD FOR CONTROLLING A WIND POWER PLANT, COMPUTER PROGRAM PRODUCT AND WIND POWER PLANT

NºPublicación:  EP4681306A1 21/01/2026
Solicitante: 
SIEMENS GAMESA RENEWABLE ENERGY AS [DK]
Siemens Gamesa Renewable Energy A/S
CN_120814135_PA

Resumen de: CN120814135A

A method for controlling a wind power plant (1), the wind power plant (1) comprising one or more generator devices (14) and a grid building component (5) electrically connected to an output terminal (17) of the one or more generator devices (14), the wind power plant (1) comprising an electrical power grid and/or being electrically connected to an electrical power grid (4), and the method comprises: a) determining (S4) a frequency deviation (Delta F) of a current frequency (FC) of the respective electrical power grid (4) from a nominal frequency (FN), b) determining (S6) a droop characteristic (27, 28) of the grid building component (5) based on a current power output (PGC) of the one or more generator devices (14), and c) controlling (S7) the power output (PB) of the grid building component (5) based on the determined frequency deviation (Delta F) and the determined droop characteristic (27, 28). Therefore, the frequency regulation of the power grid can be improved.

SPREADER BEAM, CRANE AND VESSEL

NºPublicación:  EP4680560A1 21/01/2026
Solicitante: 
TEMPORARY WORKS DESIGN ENG B V [NL]
BARGE MASTER IP B V [NL]
Temporary Works Design Engineering B.V,
Barge Master IP B.V
WO_2024189076_PA

Resumen de: WO2024189076A1

The invention relates to a spreader beam (50) for distributing a lifting force of a hoisting crane (20) over a load (31) to be lifted. The spreader beam comprises at the first end (52a), a first lug (53a) for attachment to a first elongate hoisting assembly (54a); at the second end (52b), a second lug (53b) for attachment to a second elongate hoisting assembly (54b); a first mechanical linkage (57a) arranged at the first end of the spreader beam and having a first actuator (59a); and a second mechanical linkage (57b) arranged at the second end of the spreader beam and having a second actuator (59b). The first and second lugs are mounted to the first respectively second linkage. The first and second actuators are configured to act on the first respectively second linkage for moving the first respectively second lug relative to the beam. The first and second adjustment mechanisms are configured to be operative independently from each other.

PORTABLE FAN

NºPublicación:  EP4682388A2 21/01/2026
Solicitante: 
SHENZHEN JISU TECH CO LTD [CN]
Shenzhen Jisu Technology Co., Ltd
EP_4682388_A2

Resumen de: EP4682388A2

A portable fan includes: a housing, having an air inlet portion and an air outlet portion; a mix-flow fan, arranged inside the housing and configured to rotate to generate an airflow; a booster, arranged inside the housing and surrounding a periphery of the mix-flow fan. The mix-flow fan has an air inlet side disposed near the air inlet portion of the housing; the air inlet side has a first air inlet area; the booster has an air inlet opening disposed near the air inlet portion of the housing, the air inlet opening has a second air inlet area, the air is capable of being intaken to the mix-flow fan by passing through the air inlet opening of the booster and the air inlet side of the mix-flow fan sequentially. The first air inlet area is slightly smaller than the second air inlet area.

REINFORCEMENT SYSTEM FOR A TOWER OF A WIND TURBINE, TOWER OF A WIND TURBINE AND METHOD OF REINFORCING A TOWER OF A WIND TURBINE

NºPublicación:  EP4680818A1 21/01/2026
Solicitante: 
NORDEX ENERGY SPAIN SAU [ES]
Nordex Energy Spain S.A.U
CN_121079474_PA

Resumen de: MX2025010935A

The present invention relates to a reinforcement system for a tower (1) of a wind turbine that avoids the appearance or propagation of cracks or openings in the surface of a concrete element of the tower of the wind turbine once the tower is subjected to post-tensioning forces, exerting a radial compression force to the concrete element, wherein the invention also relates to a tower (1) of a wind turbine comprising at least one reinforcement system (2,3) and to a method of reinforcing a tower of a wind turbine.

SPAR CAP, WIND TURBINE BLADE AS WELL AS METHOD OF MANUFACTURING A SPAR CAP

NºPublicación:  EP4680855A1 21/01/2026
Solicitante: 
SIEMENS GAMESA RENEWABLE ENERGY INNOVATION & TECHNOLOGY SL [ES]
Siemens Gamesa Renewable Energy Innovation & Technology, S.L
CN_121079502_PA

Resumen de: WO2024235624A1

Spar cap, wind turbine blade as well as method of manufacturing a spar cap The invention relates to a spar cap (1), a wind turbine blade (200) and a method of manufacturing a spar cap (1) for a wind turbine blade (200). The spar cap (1) comprises a plurality of plate-shaped pultruded main bodies (21, 22, 23, 24) which are arranged one above the other in a stacking direction (SD) to form a main body stack (10). Furthermore, the spar cap (1) comprises at a first end face (11) of the main body stack (10) a first main body end (21a) of a first main body (21) of the plurality of main bodies (21, 22, 23, 24) which is arranged offset in the longitudinal direction (LD) of the spar cap (1) relative to a first main body end (22a) of a second main body (22) of the plurality of main bodies (21, 22, 23, 24) on an upper side of the second main body (22) in such a manner that a transition portion is formed by the second main body (22) between the first main body end (21a) of the first main body (21) and the first main body end (22a) of the second main body (22), wherein the second main body (22) is arranged adjacent to the first main body (21). In addition, the spar cap comprises at least a first stiffening body (31, 32), wherein the at least one first stiffening body (31, 32) is arranged at least at the first main body end (21a) of the first main body (21) and at least partially at an upper side (22c) of the second main body (22) in the transition portion formed by the second main body (22

TRANSPORT SYSTEM FOR A ROTOR BLADE OF A WIND TURBINE

NºPublicación:  EP4680857A1 21/01/2026
Solicitante: 
NORDEX ENERGY SPAIN SAU [ES]
Nordex Energy Spain, S.A.U
AU_2024236576_PA

Resumen de: AU2024236576A1

According to an embodiment, the transport system comprises a root support element (10) which is configured to be connected to the root end (31) of a rotor blade (3). Furthermore, the transport system comprises a clamping element (20) which is configured to clamp a section (32) of the rotor blade distant from the root end. The transport system enables the transport of a rotor blade for a wind turbine with the pressure side (33) of the rotor blade up when the root end of the rotor blade is connected to the root support element and when the section of the rotor blade is clamped in the clamping element.

TENDON FOR A TENSION LEG PLATFORM AND TENSION LEG PLATFORM INCLUDING SUCH TENDON

NºPublicación:  EP4680521A1 21/01/2026
Solicitante: 
CABIN AIR GROUP BV [NL]
Cabin Air Group B.V
CN_121100091_PA

Resumen de: AU2024234263A1

A tendon (224) for a tension leg platform (202), TLP, is provided. The TLP comprises a foundation (206), connectable to a bottom (208) of a body of water, and a buoyant hull (216). The tendon has a length, a proximal end (223), and a distal end (225). The tendon comprises a proximal end fitting at the proximal end and a distal end fitting at the distal end. The tendon is connectable with the proximal end fitting to the hull and with the distal end to the foundation to provide a pulling force on the hull. The length of the tendon is at least 300 meters. The tendon comprises basalt fibres for transferring the pulling force from the proximal end fitting to the distal end fitting.

WIND POWER GENERATION APPARATUS

NºPublicación:  EP4682376A1 21/01/2026
Solicitante: 
JEON YOUNG JUNE [KR]
Jeon, Young June
EP_4682376_PA

Resumen de: EP4682376A1

A wind power generation apparatus of the present invention comprises: a frame part including a plurality of upper horizontal frames each being connected by one end and the other end thereof so as to be arranged in a pentagonal structure, a plurality of upper support frames each having one end connected to each vertex of the upper horizontal frames and having the other ends gathered together in the upward direction and connected, side frames each having one end connected to each vertex of the upper horizontal frames and arranged in the downward direction, a plurality of lower horizontal frames each being connected by one end and the other end thereof so as to be arranged in a pentagonal structure, being arranged to be spaced apart below the upper horizontal frames, and having respective vertices to which each of the other ends of the side frames is connected, and a plurality of lower support frames each having one end connected to each vertex of the lower horizontal frames and having the other ends gathered together in the downward direction and connected; a rotary shaft to which the other ends of the upper support frames and the other ends of the upper support frames are connected, and which rotates integrally with the frame part by means of the wind; and a generator for generating electricity by means of the rotation of the rotary shaft.

TORQUE TRANSMISSION SYSTEM FOR A SLIP RING UNIT OF A WIND TURBINE AND METHOD OF ASSEMBLY OF A SLIP RING UNIT

NºPublicación:  EP4682377A1 21/01/2026
Solicitante: 
GENERAL ELECTRIC RENOVABLES ESPANA SL [ES]
General Electric Renovables Espa\u00F1a S.L
EP_4682377_PA

Resumen de: EP4682377A1

The present disclosure is related to a torque transmission system (203) for a slip ring unit (200) The slip ring unit (200) is configured for being mounted along a rotational axis (30) of the wind turbine rotor (18). The slip ring unit (200) comprises an encoder, a rotating part (201) configured for connection to a rotating component of the wind turbine and a static part (202) configured for connection to a static component of the wind turbine. The torque transmission system (203) is configured for connecting the rotating part (201) of the slip ring unit (200) to the rotating component of the wind turbine while having a degree of freedom in an axial and/or in a radial direction. Furthermore, the torque transmission system (203) is configured to prevent relative displacement between the rotating part (201) of the slip ring unit (200) and the rotating component of the wind turbine in a tangential direction. The present disclosure also relates to methods (100) of assembly of a slip ring unit (200) in a wind turbine.

TRANSPORT SYSTEM FOR WIND TURBINE COMPONENTS

NºPublicación:  EP4680858A1 21/01/2026
Solicitante: 
SIEMENS GAMESA RENEWABLE ENERGY AS [DK]
Siemens Gamesa Renewable Energy A/S
CN_121311677_PA

Resumen de: TW202509347A

The present invention relates to a transport system (1) for a wind turbine component (2), comprising a base platform (3) for providing a support area for supporting the wind turbine component (2), a carrier device (4) for carrying the base platform (3) and a lifting device (5) for lifting the base platform (3), wherein the base platform (3) comprises a plurality of first adapters (6) and the lifting device (5) comprises a plurality of second adapters (7), wherein the first adapters (6) are configured for engaging with the second adapters (7) for holding the base platform (3) at the lifting device (5), wherein the lifting device (5) is arranged at the carrier device (4). The first adapters (6) are arranged at opposite side surfaces (8) of the base platform (3). The invention also relates to a method for handling a wind turbine component (2).

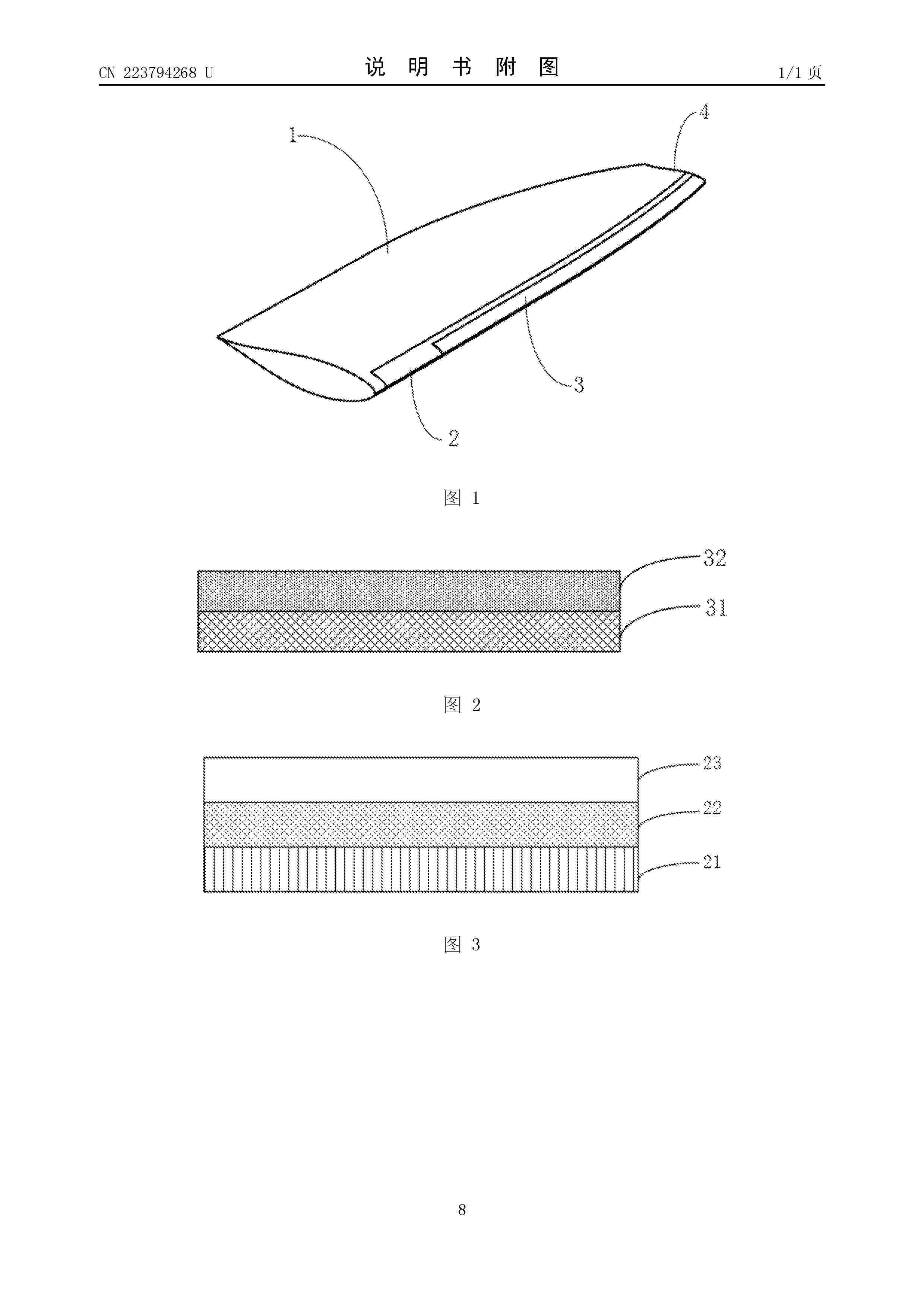
SEGMENTED WIND TURBINE BLADE, METHOD FOR ASSEMBLING A SEGMENTED WIND TURBINE BLADE AND WIND TURBINE

NºPublicación:  EP4680856A1 21/01/2026
Solicitante: 
SIEMENS GAMESA RENEWABLE ENERGY AS [DK]
Siemens Gamesa Renewable Energy A/S
CN_121241199_PA

Resumen de: WO2024251471A1

A segmented wind turbine blade (30) is provided. The segmented wind turbine blade comprises at least a first blade segment (10) and a second blade segment (20). The segmented wind turbine blade further comprises a first recess (11) formed on the outer contour of the first blade segment (10), and a first protruding cap (12) protruding from the cross-section of the second blade segment (20). The first protruding cap (12) is flush with the outer contour of the second blade segment (20). The first recess (11) is configured for housing the first protruding cap (12), and the first recess (11) and the first protruding cap (12) are configured to be connected to each other such as to assemble the first segmented blade (10) and the second segmented blade (20) to form the segmented wind turbine blade (30).

USE OF HYDROXY SUBSTITUTED URONES AS CURE ACCELERATORS

NºPublicación:  EP4680659A1 21/01/2026
Solicitante: 
HEXCEL COMPOSITES LTD [GB]
Hexcel Composites Limited
GB_2628339_A

Resumen de: GB2628339A

An accelerator for the curing of resins comprising a urone compound containing at least 2 orthohydroxyphenyl urea units wherein the urea units are coupled via a divalent or multivalent bridging group consisting of a linear, branched or cyclo aliphatic hydrocarbon which is optionally hetero interrupted. Also disclosed is use of the accelerator as an accelerator for curatives for epoxy resins; a composition comprising the urone with an epoxy, a polyisocyanate and a phenolic resin. Further disclosed is a moulding material comprising the composition in combination with a fibrous reinforcement material; a prepreg comprising the moulding material; a stack of prepregs. Also disclosed is a process to produce an article comprising curing the prepreg; and a process for the production of wind turbine components, and aerospace components.

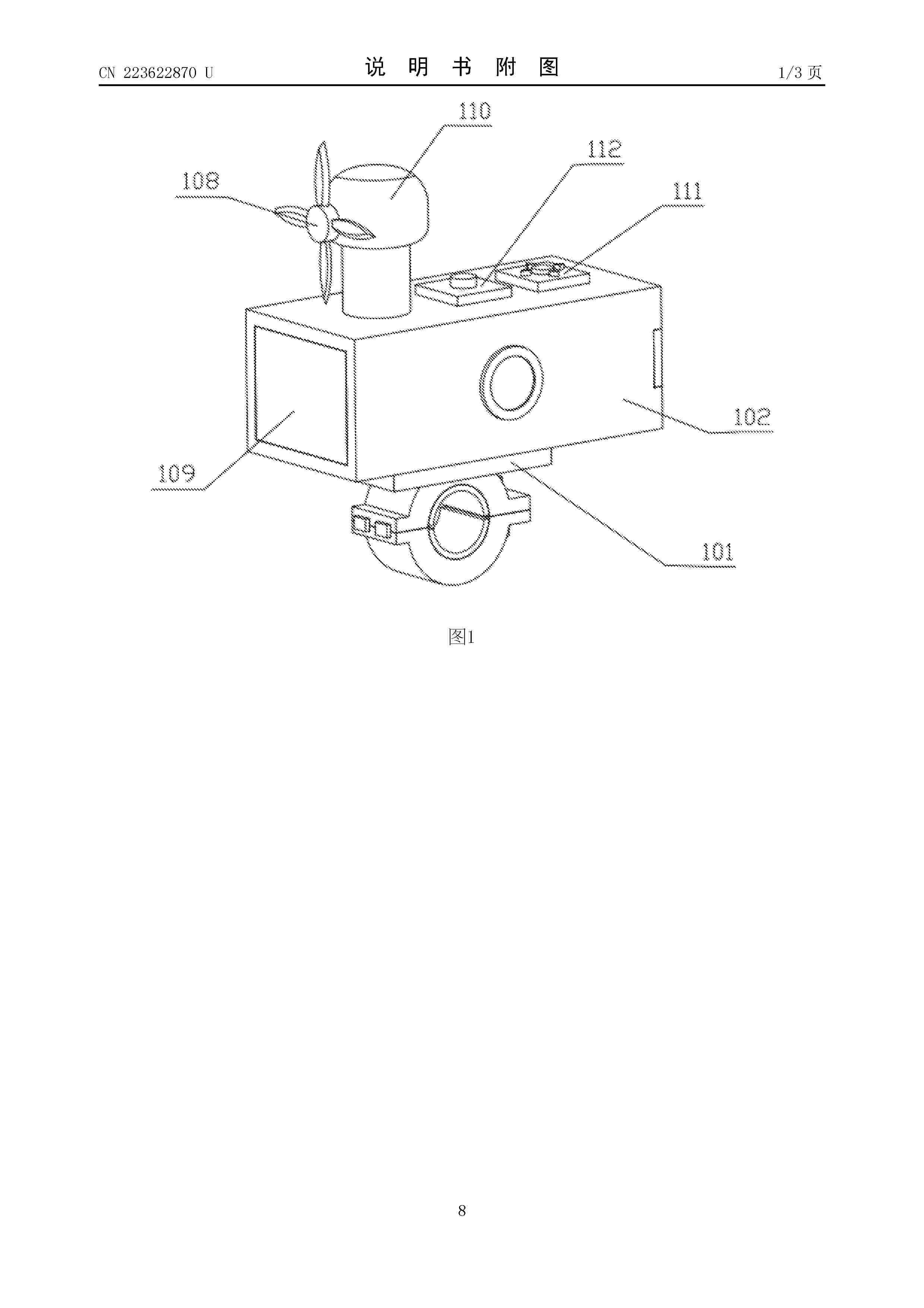
一种多风机叶片风机头的风力发电装置

NºPublicación:  CN121363510A 20/01/2026
Solicitante: 
河北华创九维机电设备有限公司
CN_121363510_PA

Resumen de: CN121363510A

本发明公开了一种多风机叶片风机头的风力发电装置,涉及风力发电技术领域。该多风机叶片风机头的风力发电装置,包括:风力发电仓,所述风力发电仓的内部装配有用于进行风力发电的发电机组,所述风力发电仓的底部装配有用于支撑的底座;多组叶片,所述多组叶片具有倾角且装配在风力发电仓的侧面位置。该多风机叶片风机头的风力发电装置,风力较大时,多组叶片快速转动,带动通过螺栓装配在多组叶片输出端的液压仓一快速转动,配合液压仓二、弧形弹性伸缩杆、滑动块、挤压弧杆、受力杆一、顶杆、弹簧二、缓冲仓、弹簧一、缓冲杆、缓冲板和橡胶块,即可在该情况下进行相应的缓冲操作,降低造成损坏的可能性。

基于转矩转速协同的风力发电机转子翻身驱动控制方法

NºPublicación:  CN121363508A 20/01/2026
Solicitante: 
西安辰安电气有限公司
CN_121363508_PA

Resumen de: CN121363508A

本发明涉及风力发电机驱动控制技术领域,公开了一种基于转矩转速协同的风力发电机转子翻身驱动控制方法,包括:在作业前控制电机执行正反向准静态微动,采集平均电磁转矩;利用转矩算术和与差分离纯重力与摩擦分量,修正重力模型增益并配置摩擦补偿;结合实时角度计算前馈转矩,叠加摩擦补偿与速度环反馈生成电流指令;在负载转矩与转速同向时抑制积分分量,本发明利用物理对称性解耦重力与摩擦,消除模型参数误差,避免变极性负载过死点时的积分滞后与转速失控隐患,确保百吨级转子翻身过程的平稳与安全。

一种风机变桨控制方法及系统

NºPublicación:  CN121363507A 20/01/2026
Solicitante: 
大唐平阴清洁能源开发有限公司
CN_121363507_A

Resumen de: CN121363507A

本发明公开了一种风机变桨控制方法及系统,涉及风力发电技术领域;获取目标区域内各风机的运行功率和运行时间得到运行数据集,对运行数据进行聚类得到运行异常参数;获取目标地区的环境数据并结合运行异常参数得到风机变化参数;根据风机变化参数对目标风机进行磨损判断,若目标风机磨损异常则进行变桨控制。对运行数据进行聚类分析,快速识别运行异常参数,为风机的健康状态提供初步诊断,结合环境数据计算风机变化参数,使异常判断更加精准且贴近实际运行环境,基于风机变化参数进行磨损判断,并进行变桨控制优化风机运行状态。可以有效预防风机故障,延长设备使用寿命,还能优化风机运行效率,提升风电场的整体性能和可靠性。

一种叶片同步吊装设备

NºPublicación:  CN121361725A 20/01/2026
Solicitante: 
中国电建集团贵州工程有限公司
CN_121361725_PA

Resumen de: CN121361725A

本发明涉及风力发电技术领域,尤其是一种叶片同步吊装设备,包括:连接体以及固定于所述连接体下方的框架;在所述框架的内部滑动连接有两个臂节,两个所述臂节之间安装有同步驱动组件;其中,在所述臂节的远端设置有两个检测调节机构,两个所述检测调节机构用于对叶片上的绑带进行升、降,本发明中通过采用在两个臂节的端部采用检测调节机构的设计,在连接叶片上的绑带时,可由检测调节机构对两端的绑带的受力值进行检测,如此可保证两个臂节能够同步的对叶片进行稳定性受力提升,以确保叶片的吊装稳定性。

故障处理方法及装置、设备、存储介质、程序产品

NºPublicación:  CN121363515A 20/01/2026
Solicitante: 
远景能源有限公司
CN_121363515_PA

Resumen de: CN121363515A

本申请涉及风力发电技术领域,公开一种故障处理方法,包括:在风力发电机发生故障时获取故障信息,解析故障信息确定故障的风险类型。根据故障的风险类型,判断风力发电机是否满足复位条件,并在风力发电机满足复位条件时,向风力发电机下发复位指令,以使风力发电机执行复位指令恢复运行。方法中,在风力发电机发生故障时,可以根据故障的风险,选择是否复位风力发电机,从而减少风力发电机复位后故障重复发生的情况,避免引发安全事故,以保证风力发电机的安全性。本申请还公开一种故障处理装置及设备、存储介质、程序产品。

一种浮体结构、海上发电风机及其制作安装方法

NºPublicación:  CN121361556A 20/01/2026
Solicitante: 
中国华电科工集团有限公司华电中光新能源技术有限公司
CN_121361556_PA

Resumen de: CN121361556A

本发明公开了一种浮体结构、海上发电风机及其制作安装方法。其中,海上发电风机的制作安装方法包括步骤:将若干个钢管一对一地穿过第二固定件的多个安装通孔,采用螺栓连接法兰板与第二固定件;将若干个钢管的底部一对一地插入至第三固定件的多个安装孔中,采用螺栓连接法兰板与第三固定件;将若干个钢管的顶部一对一地插入至第一固定件的多个安装孔中,采用螺栓连接法兰板与第一固定件,以制作一组浮体组合。本发明在保证浮体强度的前提下,有效简化了浮体结构,降低了安装制作难度,降低了制造成本。此外,还可以有效提高风机高度,避免浮体结构连接件全部处于海平面以下,也可避免风机叶片与海面距离过近,大幅减少了风机防腐成本。

一种基于流致晃动的压电-摩擦电混合发电装置及方法

NºPublicación:  CN121367416A 20/01/2026
Solicitante: 
上海大学
CN_121367416_PA

Resumen de: CN121367416A

本发明公开了一种基于流致晃动的压电‑摩擦电混合发电装置及方法,本装置包括流致晃动模块,所述流致晃动模块通过包括底座,所述底座上设有可沿底座转动的转动杆,所述转动杆上设有悬臂梁,所述悬臂梁的内端设于转动杆上,所述悬臂梁上设有压电模块,所述压电模块包括压电片,所述压电片连接有第一收集电路;所述悬臂梁的外端设有固‑液摩擦纳米发电模块,所述固‑液摩擦纳米发电模块包括容体,所述容体内设有摩擦液、摩擦层和电极,所述电极连接有第二收集电路。

由较小的风力涡轮机组成的风力涡轮机

NºPublicación:  CN121368675A 20/01/2026
Solicitante: 
萨沙·阿兰杰洛维奇
CN_121368675_PA

Resumen de: RS20230145A1

A wind turbine composed of a series of smaller wind turbines comprises a number of smaller wind turbines (2) placed in a structure that as a whole forms a larger wind turbine. The wind that enters this structure encounters smaller wind turbines (2). The entire structure resembles a post-and-beam structure for a single building, and it can be covered with wire on the outside to prevent birds or animals from getting inside. In this way, the wind enters the cage where a series of wind turbines await it, with the help of which its kinetic energy is converted into electrical energy, so it resembles a windmill cage.

用于维护和/或安装浮动式海上风力涡轮机塔架的方法

NºPublicación:  CN121368676A 20/01/2026
Solicitante: 
解决风力服务有限公司
CN_121368676_PA

Resumen de: WO2024256518A1

The invention relates to a method for the maintenance of an floating offshore structure (1), said structure comprising a submersible hull (3), and wherein said method comprises the use of an auxiliary vessel (7) comprising at least one floating element (8) in which the relative operating depth between said submersible hull (3) and the auxiliary vessel (7) is adjusted until the auxiliary vessel (7) is in contact with the hull (3) and is supported or hangs thereon through bearing and/or hanging points (13, 13') resting on/from support points (14), the auxiliary vessel (7) and the hull (3) being integrally coupled. Advantageously, said integral coupling allows performing maintenance, installation and/or repair operations of the offshore structure (1) safely and efficiently, both for maintenance personnel and for the systems themselves involved in the mentioned operations.

适用于风机塔筒的抑振装置及风力发电机组

NºPublicación:  CN121363517A 20/01/2026
Solicitante: 
浙江华东新能科技有限公司
CN_121363517_PA

Resumen de: CN121363517A

本发明涉及风力发电技术领域,公开了适用于风机塔筒的抑振装置及风力发电机组,包括:支撑机构,适于与塔筒连接;功能平台,设置于支撑机构的上方;阻尼结构,连接于支撑机构和功能平台之间;弹性结构,连接于功能平台的外周壁和塔筒的内壁之间。本发明抑振装置形成调谐质量阻尼系统,由功能平台提供系统质量、弹性结构提供系统刚度、阻尼结构提供系统阻尼,通过调整功能平台的质量以及弹性结构的刚度,实现抑振装置自振频率与塔筒自振频率接近,通过阻尼结构实现耗能,实现塔筒振动的抑制作用;使用塔筒的功能平台用作结构抑振控制措施,无需额外设置平台用于安装各种抑振装置,无需改变塔筒原有整体布置方案,提高抑振装置的适用性和经济性。

一种成对筋板的风电机组转换装置

NºPublicación:  CN121363513A 20/01/2026
Solicitante: 
浙江华东新能科技有限公司
CN_121363513_PA

Resumen de: CN121363513A

本发明公开了一种成对筋板的风电机组转换装置,包括连接筒,连接筒连接钢塔筒段和混凝土塔筒段,提供转换支撑功能,连接筒的内部同轴设置有第一锚固法兰,第一锚固法兰上沿周向间隔均布有多个第一开孔,第一开孔用于供钢绞线穿过进行张拉;第一锚固法兰沿轴向的相对下端面设置有多个第一筋板,第一筋板焊接固定于连接筒的内壁面;第一锚固法兰沿轴向的相对上端面设置有多个第二筋板,第二筋板焊接固定于连接筒的内壁面;多个第一筋板和多个第二筋板沿周向依次交替间隔均布,第一锚固法兰位于每个第一筋板和与该第一筋板相邻的第二筋板之间的部分设置有一个第一开孔,本发明实现无需扩大连接筒的内径尺寸即可显著增加钢绞线的布置数量。

风电机状态实时监测与诊断方法、系统、设备及介质

NºPublicación:  CN121363516A 20/01/2026
Solicitante: 
华能大庆让胡路区清洁能源有限公司
CN_121363516_PA

Resumen de: CN121363516A

本申请提供了一种风电机状态实时监测与诊断方法、系统、设备及介质,该方法包括:通过分布式监测网络实时采集风电机组关键部件的状态参数;对数据进行清洗、对齐与特征提取,并构建可视化监测界面;基于提取的特征构建整机与子系统层级的预警模型,实现故障自动识别与定位;根据故障类型自动匹配预置的故障处理方案。本申请通过多源数据融合、深度学习模型与故障树推理相结合,显著提升了故障诊断的准确率与响应速度,实现了风电机组状态的实时监测、智能诊断与运维决策支持,有效降低运维成本与非计划停机时间。

一种增压节能式离心风机

NºPublicación:  CN121363542A 20/01/2026
Solicitante: 
浙江欧盾风机有限公司
CN_121363542_PA

Resumen de: CN121363542A

本发明涉及气体机械技术领域,公开了一种增压节能式离心风机,包括限位环,所述限位环的内部固定连接有驱动电机,所述驱动电机的输出端固定设置有叶轮架,所述叶轮架的内部设置有扇叶,所述叶轮架的外壁设置有保护组件和传动组件,所述传动组件的外壁固定连接有摩擦片,所述摩擦片的外壁设置有圆齿轮,所述圆齿轮的齿端啮合连接有环形齿条,所述环形齿条的外壁固定连接有连接框。通过驱动电机带动叶轮架与第一锥齿轮、第二锥齿轮的联动设计,结合摩擦片、圆齿轮和环形齿条的机械传动,实现了进风管进风口大小的自动调节,可根据叶轮转速实时调整导流板的开合,优化进风量和风压,有效降低湍流损失,提高风机工作效率和性能。

一种集成风光电热降碳的燃煤机组低碳优化系统

NºPublicación:  CN121363461A 20/01/2026
Solicitante: 
西安热工研究院有限公司西安西热节能技术有限公司
CN_121363461_PA

Resumen de: CN121363461A

本发明公开了一种集成风光电热降碳的燃煤机组低碳优化系统,包括燃煤发电子系统、风力发电子系统、光伏发电子系统及风光电热降碳子系统,其中,风力发电子系统的输出端及光伏发电子系统的输出端与风光电热降碳子系统的电源接口相连接,风光电热降碳子系统的出口与燃煤发电子系统相连接,该系统能够实现深度清洁降碳。

一种集三种发电方法为一体机械的风光一体发电机

NºPublicación:  CN121367436A 20/01/2026
Solicitante: 
南昌市周静新能源有限公司
CN_121367436_PA

Resumen de: CN121367436A

一种集三种发电方法为一体机械的风光一体发电机。本发明专利申请是集风力发电方法的机械设备、太阳能光伏发电方法的机械设备、电‑电发电方法的机械设备为一种集三种发电方法为一体机械的风光一体发电机。本发明独创的一体机械是为解决风力发电受自然条件限制,存在不稳定性缺陷问题。为实现风力发电为主、光伏发电为辅共存于一体机械的目标。采用风力发电方法为主、光伏发电方法为辅、电‑电发电方法为助的独创自主设计方法、创新结构技术方案、自有制造工艺流程的自主制造可再生新型清洁能源发电设备,为未来风力发电成为主流能源、全民发电、终结煤电三个技术预见的实现提供可再生风力发电为主的清洁能源实用发电新设备。

一种双螺旋风力发电机矩阵风巢结构

NºPublicación:  CN121363504A 20/01/2026
Solicitante: 
矩阵汽车有限公司
CN_121363504_PA

Resumen de: CN121363504A

本发明属于风力发电机领域,尤其是一种双螺旋风力发电机矩阵风巢结构,针对现有面临单机成本高、空间利用率不足、低风速适应性弱等行业痛点的问题,现提出如下方案,其所述装置本体内设有集风组件,所述集风组件的数量为多个,且集风组件呈阵列布置,本发明通过增加集风组件,利用集风组件呈阵列布置,能够形成矩阵风巢结构,通过模块化、阵列化的布局逻辑,将双螺旋风力发电机作为核心单元,按照“成行成列”的复制摆放原则构建规模化发电系统。与传统单机分散式风电模式相比,本装置能够规避空间利用率不足、低风速适应性弱等行业痛点,满足使用的需求。

一种轮毂法兰锁紧装置

NºPublicación:  CN121363505A 20/01/2026
Solicitante: 
宁夏国运新能源股份有限公司中铁十六局集团第五工程有限公司
CN_121363505_PA

Resumen de: CN121363505A

本发明涉及风力发电机制动技术领域,且公开了一种轮毂法兰锁紧装置,包括风机轮毂,所述风机轮毂上环绕开设有部件孔,所述风机轮毂的一侧开设有前孔且另一侧开设有主轴孔,复位部安装在所述前孔内,主伞齿轮安装在所述复位部上,连携部安装在所述复位部内,锁止部设置在所述复位部上,限位部安装在所述复位部上,变桨部安装在部件孔内,驱动部安装在主轴孔内,所述复位部包括有前安装板,所述前安装板安装在前孔内壁,所述前安装板的一侧安装有电磁铁并转动连接有定位套,所述前安装板的另一侧安装有光伏板,采用叶片与轮毂机械结构耦合替代传统分区独立制动,解决了转速差异导致的制动不同步问题,降低制动冲击载荷。

一种环境空气监测装置

NºPublicación:  CN121364135A 20/01/2026
Solicitante: 
刘红艳
CN_121364135_PA

Resumen de: CN121364135A

本发明公开了一种环境空气监测装置,涉及空气监测技术领域。本发明包括检测盒、控制盒和支撑安装柱,检测盒上设有空气流动通道,检测盒在空气流动通道两侧壁内设有监测组件,监测组件包括多组颗粒物检测的颗粒监测组件和多组有毒气体检测的毒气体监测组件,控制盒内设有蓄电池腔和控制腔,蓄电池腔内蓄电池给控制腔内控制器供电,控制器与颗粒监测组件和毒气体监测组件电性连接,检测盒底部转动安装在支撑安装柱上。本发明检测盒自动旋转来适应风力方向,实现最佳进气,设置多种针对颗粒和特定有毒气体进行针对检测的监测组件,可以精准进行检测,解决了现有的检测数据精度不高,对于有毒气体没有针对进行监测等问题。

一种转矩震荡的抑制方法、装置、系统、设备及介质

NºPublicación:  CN121367425A 20/01/2026
Solicitante: 
维谛新能源有限公司
CN_121367425_PA

Resumen de: CN121367425A

本发明公开一种转矩震荡的抑制方法、装置、系统、设备及介质,用以在抑制风力发电设备的转矩震荡,提高风力发电设备的运行稳定性。其中,所述方法包括:获取风力发电设备中电机的转速信号;从所述转速信号中提取转速波动信号;基于预先设置的调节系数和所述转速波动信号,确定转矩调节值,并利用所述转矩调节值调节所述电机的转矩。

一种风电场的辅助决策方法、装置、电子设备及介质

NºPublicación:  CN121365731A 20/01/2026
Solicitante: 
运达能源科技集团股份有限公司
CN_121365731_PA

Resumen de: CN121365731A

本发明公开了一种风电场的辅助决策方法、装置、电子设备及介质,涉及人工智能与风电运维技术领域,本方案通过实时获取风电场的多源异构信息,并将其转换为结构化的Markdown格式文档,以从风电领域知识库与案例库中提取对应的知识片段,最后将知识片段拼接为提示模板并输入预训练大语言模型中,即可得到预训练大语言模型输出的辅助决策内容,相比于传统依赖人工的经验,更加准确,且依靠风电领域知识库与案例库和预训练大语言模型,最终输出的辅助决策内容更加贴合风电场的实际问题,错误率更低,效率更高。

一种风机螺栓松动监测装置

NºPublicación:  CN121363514A 20/01/2026
Solicitante: 
中国能源建设集团山西电力建设有限公司山西电建华鼎机械工程有限公司
CN_121363514_PA

Resumen de: CN121363514A

本发明提供了一种风机螺栓松动监测装置。该一种风机螺栓松动监测装置包括螺栓、快速安装组件、监测组件、预警显示组件、自锁组件和远程提醒组件,快速安装组件用于快速对监测装置进行安装,监测组件用于检测螺栓的位移情况,预警显示组件用于实现显示螺栓的连接状态,自锁组件用于锁定预警显示组件的状态,远程提醒组件设置在预警显示组件上,且用于远程提醒螺栓的状态,本发明的一种风机螺栓松动监测装置通过各个结构的设置实现对螺栓松动情况的实时监测,降低了事故风险,同时,自锁组件避免了因螺栓短暂归位而导致遗漏风险,从而大大提高了对螺栓的运维效率。

一种风电机变桨轴承组件

NºPublicación:  CN223814132U 20/01/2026
Solicitante: 
河北新天科创新能源技术有限公司
CN_223814132_U

Resumen de: CN223814132U

本实用新型涉及风机变桨技术领域,尤其为一种风电机变桨轴承组件,包括外侧环和内侧环,所述外侧环一侧设置有内侧环,所述外侧环和内侧环之间滚动连接有滚珠,所述滚珠的两侧均设置有缓冲组件,两侧的所述缓冲组件分别与外侧环和内侧环呈固定连接;所述滚珠的两侧均设置有弧形部,所述弧形部的外侧分别与外侧环和内侧环呈固定连接;本实用新型将传统的设置在外侧环和内侧环内部的左右分布的滚珠腔改变为上下分布的滚珠腔,此时在外侧环和内侧环发生来回颤动时,能有效减轻外侧环和内侧环与滚珠的作用力,有效保证轴承的正常使用寿命。

一种风电塔筒的扰流机构

NºPublicación:  CN223814131U 20/01/2026
Solicitante: 
扬州丰盛机电有限公司
CN_223814131_U

Resumen de: CN223814131U

本实用新型属于扰流机构领域,具体涉及一种风电塔筒的扰流机构,包括塔筒,所述塔筒的外侧转动连接有扰流条,所述塔筒的外侧下部通过轴承连接有转动环,所述塔筒的外侧下部固定连接有防护罩,所述防护罩的内部通过轴承安装有齿轮,所述转动环的外侧开设有多个呈环形分布的齿槽。本实用新型通过在塔筒的外侧加设转动环、驱动电机和连接座等结构,在风力较大时,可以通过驱动电机带动转动环进行转动,转动环在转动的过程中可以同时带动三根扰流条在塔筒的外侧表面进行转动,扰流条在风力吹拂在表面后可以对气流进行切割扰动,从而可以有效的提升扰动混乱程度,可以有效的提升扰流强度,提升塔筒的安全性。

野外作业电源车的发电储能集成装置

NºPublicación:  CN223816010U 20/01/2026
Solicitante: 
苏州江南航天机电工业有限公司
CN_223816010_U

Resumen de: CN223816010U

本实用新型涉及一种野外作业电源车的发电储能集成装置,包括方舱、发电模组、储能模组和集成框架,方舱固设于电源车的载车上;发电模组包括柴油发电模组和风电模组,储能模组、柴油发电模组和风电模组设置于集成框架内,集成框架设置于方舱内的底板上,柴油发电模组和风电模组分别与储能模组连接;风电模组包括底座、伸缩杆和风扇发电部,底座固设于方舱内,伸缩杆的两端分别连接底座和风扇发电部,伸缩杆沿方舱的高度方向设置,方舱的顶部设置有容许伸缩杆和风扇发电部进出的开口。本实用新型中的储能模组、柴油发电模组和风电模组集成设置于集成框架内,集成框架固定在方舱内,因集成程度高,因而利于安装和测试,节约了人力和时间。

一种风力发电机塔筒底座锚板孔定位装置

NºPublicación:  CN223814130U 20/01/2026
Solicitante: 
青岛诚兴新能源环保科技有限公司
CN_223814130_U

Resumen de: CN223814130U

本实用新型提供一种风力发电机塔筒底座锚板孔定位装置,包括:上壳、以及活动槽,所述上壳内侧设有用于对内定位座进行固定限位的上固定环,所述上固定环内侧设有用于对风力发电机塔筒底座进行定位的内定位座,所述内定位座上端设有若干组用于与活动座进行活动限位嵌合的安装嵌座,所述安装嵌座上端设有用于调节定位位置的活动座,与现有技术相比,本实用新型具有如下的有益效果:通过使用夹持柱来对风力发电机塔筒底座进行多面夹持,通过使用内嵌座来对风力发电机塔筒底座底部的内径进行夹持调节,通过使用安装嵌座以及活动座来便于工作人员确定夹持角度、夹持件数量以及多面稳定效果,通过使用若干组活动栓来对夹持柱位置进行限定。

一种免电池GPS定位器

NºPublicación:  CN223815438U 20/01/2026
Solicitante: 
上海钛仕科技有限公司
CN_223815438_U

Resumen de: CN223815438U

本实用新型提出一种免电池GPS定位器,包括导风通道S1、微型叶轮S2、微型发电机S3、微电能采集存储单元和GPS及无线通信单元;其中微型叶轮S2和微型发电机S3之间通过金属轴承连接,导风通道S1外形特征是上下表面平整,两侧呈流线型收窄,入口横截面是矩形,出口收缩为直径为圆形。所述定位器进一步包括一个出风引导结构,包裹在所述金属轴承和微型发电机S3外围,其内层通过支撑结构将微型发电机S3包裹固定在中间,内外层之间为中空结构,用于引导空气流出,出风引导通道的横截面为流线型逐渐放大结构。

利用压缩空气平抑功率波动的风力发电装置及其控制方法

NºPublicación:  CN121363509A 20/01/2026
Solicitante: 
明阳智慧能源集团股份公司
CN_121363509_PA

Resumen de: CN121363509A

本发明公开了一种利用压缩空气平抑功率波动的风力发电装置及其控制方法,包括风轮、主轴、空压机、储能装置、流量调节装置、膨胀机、发电机和飞轮,所述空压机通过主轴与风轮同轴连接,所述储能装置与空压机连接,所述膨胀机与储能装置连接,所述发电机与膨胀机的输出轴连接,且储能装置配套设置有流量调节装置,通过流量调节装置调节储能装置传输至膨胀机的压缩空气流量,所述飞轮设置于膨胀机的输出轴上。本发明能够高效稳定地将风能转换为电能,减少能量损耗,稳定压缩空气释放压力,并有效解决热管理问题,从而实现风力发电的高效、稳定运行。

一种漂浮式风电塔架拉索一体化安装方法

NºPublicación:  CN121363512A 20/01/2026
Solicitante: 
明阳智慧能源集团股份公司
CN_121363512_PA

Resumen de: CN121363512A

本发明公开了一种漂浮式风电塔架拉索一体化安装方法,包括步骤,S1、组装底段塔架、漂浮式风电的浮式基础和多个浮筒;S2、搭建主操作平台和辅助操作平台,分别设置主、辅助导向装置以及主、辅助张紧装置;S3、通过双机抬吊方式将两个斜塔依次移动至底段塔架的左右两侧;S4、完成两个斜塔与底段塔架顶端的铰接;S5、完成主拉索与斜塔和主张紧装置的连接以及辅助拉索与斜塔和辅助张紧装置的连接;S6、将两个斜塔、两个主拉索和两个辅助拉索同步提升至预设高度,完成底段塔架与斜塔的对接、两个主拉索以及两个辅助拉索的对接。本发明能够有效解决现有双机头风机塔架拉索安装施工周期长、难度大、施工效率低、高空作业时间长、成本高等问题。

一种基于人工智能算法的区间化风机偏航优化方法

NºPublicación:  CN121363506A 20/01/2026
Solicitante: 
国电投南通新能源有限公司国家电投集团江苏电力有限公司
CN_121363506_A

Resumen de: CN121363506A

本发明公开了一种基于人工智能算法的区间化风机偏航优化方法,包括以下步骤:S1、对各个与风机偏航相关的传感器和通信硬件进行设置并校准,对风电场运行监测系统进行建立处理,集成传感器数据采集、传输与存储模块,本发明的有益效果是:根据风速、风向进行联合分区划分处理,形成多个优化子区间,并针对每个子区间统计历史数据中不同风向的频率,结合风机历史功率输出数据,分析偏航角调整对功率的影响,进而计算每个子区间的最佳偏航角,这种精细化的分区和计算方式,能够使风机在不同风况下准确调整偏航角,更有效地捕捉风能,从而提高发电效率。

一种风电设备专用降温风机

NºPublicación:  CN223814129U 20/01/2026
Solicitante: 
山东德鼓风机有限公司
CN_223814129_U

Resumen de: CN223814129U

本实用新型涉及风力发电技术领域,公开了一种风电设备专用降温风机,包括基座,所述基座顶部固定连接有发电机,所述发电机输出端固定连接有传动轴,所述传动轴外壁固定连接有叶片,所述发电机侧壁固定连接有固定块,所述固定块侧壁固定连接有固定框,所述固定框内部设置有固定组件;所述固定组件包括夹块,所述夹块转动连接在所述固定框内部,所述夹块侧壁固定连接有拉框件。本实用新型中,通过降温机边框对夹块进行挤压,使得夹块在固定框内部转动同时压缩弹簧一,从而达到了将风电设备的降温风机进行固定的效果,解决了降温风机安装到风电设备上难以拆卸的问题,提高了降温风机的适用性。

一种风机叶片叶根夹紧机构

NºPublicación:  CN121363572A 20/01/2026
Solicitante: 
惠阳航空螺旋桨有限责任公司
CN_121363572_PA

Resumen de: CN121363572A

本发明涉及夹紧机构技术领域,且公开了一种风机叶片叶根夹紧机构,包括上、下卡箍,二者连接处装压紧板,压紧板间旋接压紧螺栓,构成稳固安装基座;吊挂螺栓与连接螺栓设于上、下卡箍表面,吊挂螺栓表面旋接锁紧螺母,其输出端经旋转轴装抱紧件,抱紧件内壁有弹簧垫圈,可增强对叶片的抱紧力度,减少调角后叶片偏移,连接螺栓输出端经旋转轴装调节箍;限位块设于上、下卡箍表面,吊挂螺栓与连接螺栓均贯穿限位块,限位块表面装安装板,安装板贯穿限位块装有限位箍,调节时限位块可限制二者位移幅度,避免带动其他已调节部件变动,实现叶片角度独立调节,提高调角效率,保障叶片角度稳定性和一致性,避免重复调角。

与风力涡轮机机舱相关的改进

NºPublicación:  CN121368677A 20/01/2026
Solicitante: 
维斯塔斯风力系统有限公司
CN_121368677_PA

Resumen de: WO2025002521A1

A wind turbine nacelle having a base frame comprising a nacelle mounting ring including a mounting face adapted to be mountable to a wind turbine tower. The nacelle mounting ring has an open central aperture that, in use, conjoins an interior volume of the nacelle and an interior volume of the tower, wherein the mounting face defines a mounting plane. The wind turbine nacelle includes at least one electrical cabinet that is movably coupled, either directly or indirectly, to the base frame at a coupling point or, more simply, 'coupling', to move between a first and a second position. The coupling point is located within a cylindrical volume defined by and concentric with a diameter of the nacelle mounting ring, and which extends upwards from the mounting plane by a perpendicular distance corresponding to 80% of the diameter of the nacelle mounting ring and which extends downwards from the mounting plane by a perpendicular distance corresponding to 20% of the diameter of the nacelle mounting ring.

一种用于新能源风力发电机的状态监测方法及装置

NºPublicación:  CN121363518A 20/01/2026
Solicitante: 
华电电力科学研究院有限公司
CN_121363518_PA

Resumen de: CN121363518A

本发明涉及风力发电技术领域,公开了一种用于新能源风力发电机的状态监测方法及装置,本申请通过分析声波在叶片材料中的传播时延变化,建立了声速衰减与结冰厚度的直接物理关联,通过计算不同叶片区段(叶尖、叶中、叶根)的时延梯度比值,利用声波传播路径差异的空间特性,直接推导出结冰发生的轴向位置。相较于传统基于温度阈值或振动幅值的监测手段,声波时延对材料边界层的微观变化极为敏感,能够捕捉结冰初期形成的微小结构改变。

风筝系统和用于操作风筝系统的方法

NºPublicación:  CN121368557A 20/01/2026
Solicitante: 
天帆集团股份有限公司
CN_121368557_PA

Resumen de: AU2024276287A1

A kite system comprising a kite (14), comprising a gondola (25) and comprising a line tree (24), wherein the kite (14) is joined to the gondola (25) by means of the line tree (24). The line tree (24) comprises a branching block (27, 28). The branching block (27, 28) is connected to the gondola (25) by means of a control cable (35, 36). The line tree (24) comprises a first cable section (48), which extends between the branching block (27, 28) and a first attachment point (61) of the kite (14). The line tree (24) comprises a second cable section (49), which extends between the branching block (27, 28) and a second attachment point (62) of the kite (14). The length of the control cable (35, 36) between the gondola (25) and the branching block (27, 28) is changed by a control mechanism (39). The length of the first cable section (48) between the branching block (27, 28) and the first attachment point (61) is changed by a trimming mechanism (40). The invention also relates to a method for operating a kite system.

一种高稳定性海洋风电浮式船舶结构

NºPublicación:  CN121361549A 20/01/2026
Solicitante: 
南通驰鼎海洋科技有限公司
CN_121361549_PA

Resumen de: CN121361549A

本发明公开了一种高稳定性海洋风电浮式船舶结构,涉及船舶技术领域;为了解决稳定性问题;具体包括船身、搭载于船身顶部的风力发电机构以及设置于船身的平衡机构,所述平衡机构包括对称设置于船身底部的两个气囊,气囊的顶部固定且连通有通气管,对置的两个所述通气管通过调压组件连接,且所述船身的中心处底部通过船锚连接于海底。本发明通过设置平衡机构,首先利用两个对置的气囊为船身提供浮力,其次当风力发电机构受力对船身施加扭转力时,能通过对电磁铁通入电流的控制来实现对两个气囊的充气和吸气功能,最后通过两个气囊对船身支撑具有浮力差的特点提供反向扭力来平衡扭力,从而保证了船身的稳定,增加了装置的可靠性。

一种折合式风力发电设备

NºPublicación:  CN121363511A 20/01/2026
Solicitante: 
河北辉鸿电气科技有限公司
CN_121363511_PA

Resumen de: CN121363511A

本发明公开了一种折合式风力发电设备,涉及折合式风力发电设备技术领域,包括调节风扇装置,调节风扇装置包括发电机,发电机自由端固定安装有圆环一,圆环一圆周面固定安装有转动件一,转动件一圆周面转动安装有风扇叶片,风扇叶片侧面固定安装有转动件二,人工调节发电机转动,发电机以转动件四为圆心转动,发电机带动圆环一、转动件一、风扇叶片、转动件二、圆环二、转动件三、传动板转动,转动到合适角度后卡扣卡住防止发电机转动,拨动细杆,此时没有细杆三角块限位后圆环二在弹簧一作用下滑动,操作便捷,需发电时人工调节发电机,经转动件三、传动板等联动使风扇叶片展开,借助风力发电,仅需人工调节和组弹簧即可完成核心操作。

鱼塘风光互补发电增氧机

NºPublicación:  CN121359703A 20/01/2026
Solicitante: 
张浩轩
CN_121359703_PA

Resumen de: CN121359703A

本发明名称为鱼塘风光互补发电增氧机。属于渔业机械技术领域。它主要是解决现有鱼塘增氧机存在需要接电源、耗电量大、增氧效果差和容易伤鱼的问题。它的主要特征是:包括风光互补发电装置、蓄电池、电机、连杆、偏心轮、空压机和储气罐;电机、偏心轮和空压机固定于储气罐的上方;连杆连接于偏心轮与空压机之间;电机与偏心轮驱动连接;空压机的底部设有排气阀,排气阀与储气罐之间通过导管连接;风光互补发电装置用导线与蓄电池接通,蓄电池与电机之间用导线接通;储气罐设有排气口,排气口与排气管接通。本发明具有可节省能源、降低养鱼成本、提高增氧效果、鱼不受增氧机惊吓的特点,主要用于鱼塘增氧。

用于行星传动装置的传动轴

NºPublicación:  CN121368690A 20/01/2026
Solicitante: 
弗兰德有限公司
CN_121368690_PA

Resumen de: WO2024213479A1

The invention relates to a transmission shaft (32) for a planetary transmission, having a first coupling point (30) for introducing a torque and a second coupling point (52) for outputting the torque, wherein a path of a torque flow extending from the first coupling point to the second coupling point is formed and the axial portions of the path along which the torque flow flows are greater than an axial distance between the first coupling point and the second coupling point, wherein a freely oscillating shaft end is formed in a common axial subregion in which the torque flow flows on different radii in opposite axial directions. Due to the extended path of the torque flow (54), the stiffness and the natural frequency of an oscillatory overall system having the transmission shaft (32) can be reduced, thereby allowing disruptive oscillations in a planetary transmission to be reduced.

一种续航能力强的对讲机及其方法

NºPublicación:  CN121367507A 20/01/2026
Solicitante: 
泉州亨鹭达电子科技有限公司
CN_121367507_PA

Resumen de: CN121367507A

本发明属于对讲机技术领域,尤其是一种续航能力强的对讲机及其方法,针对现有对讲机续航能力差,现提出以下方案,包括对讲机本体,所述对讲机本体的一侧设置有充电宝本体,充电宝本体上设置有插口,此插口可进行充电和放电两种功能,对讲机本体的一侧设置有佩戴夹,佩戴夹位于充电宝本体的正上方,对讲机本体的两侧相对设置有快速拆装组件。本发明公开的一种续航能力强的对讲机及其方法具有利用发电续航组件中通过驱动风扇的风力发电和手摇杆的人力发电的相结合,从而满足在不同情况下对讲机本体的充电需求,极大提高续航能力的同时,保证工作通讯的正常和协调效率,提高了团队应急响应能力的效果。

Vertical axis wind turbine

NºPublicación:  PL449262A1 19/01/2026
Solicitante: 
OLEJNICKI TOMASZ [PL]
OLEJNICKI TOMASZ
PL_449262_A1

Resumen de: PL449262A1

Zgłoszenie dotyczy konstrukcji silnika wiatrowego, który przystosowany jest do pracy przy niskich wiatrach. Trzy skrzydła w postaci ekranów powracających do pozycji pracy są ustawione w linii wiatru, co sprawia, że nie powodują oporów zmniejszających sprawność ekranów pracujących. Silnik wiatrowy o pionowej osi obrotu osadzony na osi ułożyskowanej w tulei stojana charakteryzuje się tym, że posiada trzy skrzydła (6) zamocowane w ramach (4) obrotowo na półosi (5) usytuowanej tak, że oś obrotu skrzydła (6) znajduje się na 1/4 długości jego podstawy od strony zewnętrznej w kierunku osi obrotu wirnika, gdzie jedna z krawędzi ram (4) jest styczna do osi (1) wirnika, a wewnątrz każdej z ram (4) usytuowany jest hamulec (7) skrzydła (6) w postaci umieszczonej pionowo taśmy ze sprężystego materiału, zaś pomiędzy zewnętrznymi wierzchołkami ram (4) a zewnętrznymi wierzchołkami osadzonego w niej skrzydła (6) umieszczone są elastyczne liny (9) ograniczające maksymalny wychył skrzydła (6) do 90°, zaś w dolnej części osi (1), poniżej ułożyskowanej tulei (2) zamocowane jest koło zębate (10), z którym sprzężona jest przekładnia zębata (11) połączona z prądnicą (12) talerzową.

一种改性竹材增强单板层积材风电叶片腹板及其制备方法

NºPublicación:  CN121340656A 16/01/2026
Solicitante: 
南京林业大学
CN_121340656_A

Resumen de: CN121340656A

一种改性竹材增强单板层积材风电叶片腹板及其制备方法,属于风电复合材料技术领域。该制备方法包括:将4‑6年生毛竹制成特定尺寸的径向竹篾并编织成竹帘;配制包含环氧树脂、酚醛树脂、硅烷偶联剂KH‑560和纳米氧化铝的复合树脂浸渍液;对竹帘进行真空加压浸渍处理;沥胶后进行预固化;将预固化竹帘按0°/90°正交方向铺放多层,层间涂布树脂胶黏剂;最后经热压固化、养护及机械加工得到腹板产品。该方法通过树脂浸渍改性和正交铺层设计,有效改善了竹材的各向异性、尺寸稳定性和界面结合性能。所制得的腹板具有高比强度、高刚度、良好的抗疲劳性能和较低的密度,综合性能满足风电叶片的使用要求,同时成本较低且环境友好。

一种集风型涵道式风力发电机

NºPublicación:  CN121345718A 16/01/2026
Solicitante: 
湖南爱泊客智能装备有限责任公司
CN_121345718_PA

Resumen de: CN121345718A

本发明为一种集风型涵道式风力发电机,整体呈伞形的装配式集风导流罩能大幅增加的捕风面积;采用连续螺旋式多层叶片的前叶轮/后叶轮风能利用率更高;通过装配式集风导流罩、外置发电机、连续螺旋式多层叶片举措得以实现风力发电机组整机高度的降低,以达到降低耗材及成本;连续螺旋式多层叶片的前叶轮/后叶轮取代了超长异形叶片能解决风电场选址难/转运难/物流成本高的问题;控制单元依据所采集的风向/风速数据执行不同的运行模式,保护运行模式时铰接式对开门将涵道后唇口予以关闭对主动防护型涵道式风力发电单元实施保护;在涵道式风机舱体内分别设置弧形防护网和防护网对鸟禽动物起到更好的保护作用,减小生态影响。

风力涡轮机叶片

NºPublicación:  CN121358946A 16/01/2026
Solicitante: 
维斯塔斯风力系统有限公司
CN_121358946_PA

Resumen de: WO2024240318A1

Aspects of the present disclosure relates to a wind turbine blade. The blade comprises a main reinforcement structure, the main reinforcement structure comprising a main windward reinforcement structure and a main leeward reinforcement structure; a rear reinforcement structure, the rear reinforcement structure comprising a rear windward reinforcement structure and a rear leeward reinforcement structure; and a trailing edge reinforcement structure arranged between the rear reinforcement structure and a trailing edge of the blade. The main windward reinforcement structure and the main leeward reinforcement structure comprise layers of pultruded fibres of a first material. The rear windward reinforcement structure and/or the rear leeward reinforcement structure comprise layers of pultruded fibres of a second material, the pultruded fibres of the first material having a Young's modulus greater than the pultruded fibres of the second material. The trailing edge reinforcement structure comprises fibres aligned with the trailing edge of the blade.

在多部件风力涡轮机塔架中安装工作升降机的方法

NºPublicación:  CN121358949A 16/01/2026
Solicitante: 
维斯塔斯风力系统有限公司
CN_121358949_PA

Resumen de: WO2024260524A1

A method of installing a service lift (22) in a wind turbine tower (12) is provided. The wind turbine tower (12) includes an upper tower portion (32) that is configured to be connected to a lower tower portion (30) to form the wind turbine tower (12). The method includes providing an upper tower stand (36) at a tower pre- assembly site (34) and providing the upper tower stand (36) with the service lift (22). The method includes connecting the upper tower portion (30) of the wind turbine tower (12) to the upper tower stand (36) so that the upper tower portion (30) is supported on the upper tower stand (36), and connecting the service lift (22) in the upper tower stand (36) to the upper tower portion (30) of the wind turbine tower (12) so that the service lift (22) is operational within the upper tower portion (30). The method further includes operating the service lift (22) within the upper tower portion (30) of the wind turbine tower (12) and securing the service lift (22) to the upper tower portion (30) at a location vertically spaced from the upper tower stand (36) for subsequent assembly of the wind turbine tower (12).

与风力涡轮机变桨系统有关的改进

NºPublicación:  CN121358947A 16/01/2026
Solicitante: 
维斯塔斯风力系统有限公司
CN_121358947_PA

Resumen de: WO2024260522A1

A linear actuator for a pitch system of a wind turbine, comprising an actuator body and an actuator rod which is movable linearly with respect to the actuator body along an actuator axis. In one example, the linear actuator is in the form of a hydraulic actuator or 'ram' such that the actuator body is a hydraulic cylinder and the actuator rod is a cylinder rod. The actuator rod has a rod end and a rod end coupling attached to the rod end. The rod end coupling comprises a housing that receives the rod end, wherein at least one interference element is received in a recess in a circumferential part of the rod end. The at least one interference element is constrained in a radial direction within the recess by the housing, wherein the recess is shaped to prevent axial movement of the interference element in an outward axial direction away from the actuator body thereby to prevent axial movement of the housing in the outward axial direction and wherein the rod end coupling further comprises a connector bearing, wherein the housing bears against the connector bearing which prevents axial movement of the housing in an inner axial direction towards the actuator body relative to the actuator rod.

用于制造分段式风力涡轮机转子叶片所用的半壳体的方法和用于制造风力涡轮机转子叶片的方法

NºPublicación:  CN121358945A 16/01/2026
Solicitante: 
德国恩德布雷德技术中心有限公司
CN_121358945_PA

Resumen de: WO2024245768A1

The invention concerns a method for manufacturing a half-shell comprising the following steps: - providing a plurality of first connection elements (154) and second connection elements (156), - providing an intermediate connection piece (162) having a U-shaped cross-section (164), - fixing the intermediate connection piece (162) to the first and second connection elements (154, 156) such that a rigid sub-unit (176) is formed, - arranging the rigid sub-unit (176) in a mold (178) for the half-shell (150a, 150b) of the wind turbine rotor blade (110), and - manufacturing the half-shell (150a, 150b) in which the rigid sub-unit (176) is embedded, such that a first flange laminate (180) and a second flange laminate (182) are formed which are interconnected by the intermediate connection piece (162). The invention also concerns a method for manufacturing a wind turbine rotor blade.

风电机组机舱罩及风电机组

NºPublicación:  CN121345732A 16/01/2026
Solicitante: 
华锐风电科技(集团)股份有限公司
CN_121345732_PA

Resumen de: CN121345732A

本发明公开一种风电机组机舱罩及风电机组,该机舱罩包括前罩体、后罩体、金属框架和隔板组件,金属框架的前后端面分别与前罩体和后罩体连接,隔板组件与金属框架连接,以将机舱内部空间分隔为前舱室和后舱室;前罩体和后罩体分别设有各自的进出风口,使得前舱室和后舱室各自具有独立的空气流动路径。该机舱罩通过隔板组件将机舱内部空间分隔为两个独立舱室,并在前后舱室分别开设进风口和出风口以形成各自独立的散热路径,能有效避免各出风口“抢风”现象,提高机组散热效率。

一种基于可调节对浪向浮子的漂浮式波浪能发电系统、风浪能混合发电系统及控制方法

NºPublicación:  CN121345705A 16/01/2026
Solicitante: 
华中科技大学
CN_121345705_PA

Resumen de: CN121345705A

本发明属于新能源发电装置技术领域,具体为一种基于可调节对浪向浮子的漂浮式波浪能发电系统、风浪能混合发电系统及控制方法。波浪能发电系统包括漂浮式平台以及设置于漂浮式平台上的若干个波浪能发电装置;每个波浪能发电装置包括振荡浮子、回转调节控制器、驱动轴以及与驱动轴相配合的发电机构;振荡浮子与漂浮式平台活动连接;振荡浮子的迎浪面积可调;回转调节控制器与振荡浮子活动连接,用于调节振荡浮子的对浪方向;驱动轴与振荡浮子固定连接,用于在振荡浮子随波浪运动下而运动,进而驱动发电机构运动将机械能转化为电能。本发明通过角度调节,能够在高效能量捕获的情况下,减小系统疲劳载荷。

一种风电机组的浆距角控制方法、装置及风电机组

NºPublicación:  CN121345717A 16/01/2026
Solicitante: 
中船海装风电有限公司
CN_121345717_PA

Resumen de: CN121345717A

本申请提供了一种风电机组的浆距角控制方法、装置及风电机组,用于在最大功率点跟踪区对风电机组的桨距角进行动态精细化修正,以提高低风速发电量。该方法包括:在风电机组的当前风速位于最大功率点跟踪区内时,基于风电机组的当前风速和有功功率变化率,确定风电机组当前所处的风速阶段;在风速阶段为第一风速阶段时,根据风电机组的当前有功功率和理论有功功率确定功率误差比值,根据功率误差比值所处的区间选择确定风电机组的第一目标桨距角并进行风电机组的浆距角控制;在风速阶段为第二风速阶段时,根据风电机组的当前有功功率和理论有功功率的功率误差进行PID计算,确定风电机组的第二目标桨距角并进行风电机组的浆距角控制。

一种海上风电螺栓健康在线监测预警系统及控制方法

NºPublicación:  CN121345724A 16/01/2026
Solicitante: 
华北电力大学(保定)
CN_121345724_PA

Resumen de: CN121345724A

本发明公开了一种海上风电螺栓健康在线监测预警系统,包括超声波发射接收器,用于向螺栓底端发射超声波信号并接收从螺栓底端反射会的超声波信号;温度传感器,用于测量环境温度;数据采集器,用于将收集到的超声波信号和温度信号发送至单端转差分电路;单端转差分电路,用于将输入的单端信号转换为差分信号;AD转换器,用于将差分信号转换为数字信号;螺栓状态监测主机,用于接收超声波信号和温度信号并进行滤波处理和温度补偿;数据传输模块,用于将数据发送至数据分析预警模块;数据分析预警模块,用于对接收的数据进行分析并根据分析结果进行螺栓健康状态的判断和预警。本发明能够改进现有技术的不足,实现对海上风电螺栓的全面健康监测。

制造风力涡轮机的电力发电机的方法、模块化组件、风力涡轮机的电力发电机及风力涡轮机

NºPublicación:  CN121359355A 16/01/2026
Solicitante: 
西门子歌美飒可再生能源创新与技术有限公司
CN_121359355_PA

Resumen de: WO2024251557A1

Method for manufacturing an electric generator for a wind turbine, modular assembly, electric generator for a wind turbine, and wind, turbine Method for manufacturing an electric generator (7) for a wind turbine (1), comprising the following steps: - providing a modular assembly (15) comprising a plurality of rotor modules (16, 17, 18), a plurality of rotor shafts (25), a plurality of stator modules (29, 30, 31), and a plurality of carrier components (36), - manufacturing a rotor (10) of the electric generator (7) by mounting at least one of the rotor modules (16, 17, 18) to one of the rotor shafts (25), - mounting the rotor (10) to at least one of the carrier components (36) such that the rotor can rotate around a rotation axis (6), - mounting at least one of the stator modules ((2299, 30, 31) to this carrier component (36) such that this stator module (29, 30, 31) or these stator modules (29, 30 31) realize a stator (11) of the electric generator (7).

用于风力涡轮的滑环单元的转矩传输系统及滑环单元的组装方法

NºPublicación:  CN121356255A 16/01/2026
Solicitante: 
通用电气可再生能源西班牙有限公司
CN_121356255_PA

Resumen de: CN121356255A

本公开涉及一种用于滑环单元(200)的转矩传输系统(203)。滑环单元(200)构造用于沿着风力涡轮转子(18)的旋转轴线(30)安装。滑环单元(200)包括编码器、构造用于连接于风力涡轮的旋转构件的旋转部分(201),以及构造用于连接于风力涡轮的静止构件的静止部分(202)。转矩传输系统(203)构造用于将滑环单元(200)的旋转部分(201)连接于风力涡轮的旋转构件,同时具有轴向方向和/或径向方向上的自由度。此外,转矩传输系统(203)构造成防止滑环单元(200)的旋转部分(201)与风力涡轮的旋转构件之间在切向方向上的相对位移。本公开还涉及在风力涡轮中组装滑环单元(200)的方法(100)。

一种用于风力发动机的安装调节装置

NºPublicación:  CN121345722A 16/01/2026
Solicitante: 
兰西晟晖发电有限公司
CN_121345722_PA

Resumen de: CN121345722A

本发明涉及风力发电技术领域,具体的是一种用于风力发动机的安装调节装置,包括固定座,固定座上端通过连接机构安装有浮动平台,浮动平台上安装有紧固机构;本发明通过设置紧固机构固定机舱周向分布的螺栓,将机舱螺栓的分布中心与浮动平台的中心对齐,吊装机舱至塔座时,利用定位部使浮动平台中心与塔座顶部中心自动对齐,从而实现机舱螺栓分布中心与塔座中心的快速对齐,且通过锁定部与定位孔配合对浮动平台的位置进行锁定,并精确控制浮动平台的周向方位,使机舱螺栓与塔座螺栓孔一一对齐、机舱初始朝向符合设计要求,进而减少吊机反复调整时间,提高安装效率。

一种风力发电与光伏发电一体化装置

NºPublicación:  CN121356441A 16/01/2026
Solicitante: 
江西亚威电气有限公司
CN_121356441_PA

Resumen de: CN121356441A

本发明涉及风力和光伏发电技术领域。且公开了一种风力发电与光伏发电一体化装置。该装置包括支撑组件、传动组件及光伏发电系统,支撑组件上固定连接传动组件与光伏发电系统,且两者相互啮合。支撑组件设有底座连接件、支撑柱、风叶连接座及三片式风叶组件,实现风能捕获;光伏发电系统含移动柱、光伏安装座组件及三个环状分布的光伏组件,光伏安装座组件配备往复圆柱杆与柱状连接头,光伏组件通过连接件与活动连接部连接光伏板。传动组件的齿轮组与移动柱齿槽适配,驱动移动柱升降,配合往复圆柱杆带动光伏板向中心折叠呈类锥状。本装置实现风光互补发电,提升能源利用率,通过精准传动与折叠防护结构,有效抵御恶劣天气,避免光伏板损耗,且结构集成化高、调节灵活,适用于各类户外场景,延长装置使用寿命。

一种基于振动的多维度风机叶片自诊断装置及方法

NºPublicación:  CN121345727A 16/01/2026
Solicitante: 
鄂尔多斯应用技术学院内蒙古工业大学
CN_121345727_PA

Resumen de: CN121345727A

本发明公开了一种基于振动的多维度风机叶片自诊断装置及方法,具体涉及风机叶片诊断技术领域,包括固定座、自诊断组件和限位组件;固定座通过螺栓可拆卸安装在多维度风机上;自诊断组件布置于固定座上;自诊断组件包括连接座、连接槽、连接块、弹簧A和振动传感器;连接座通过限位组件与固定座连接;连接座远离固定座一侧开设有连接槽;连接块滑动穿设于连接槽内并与多维度风机叶片接触;若干个弹簧A呈线性阵列设于连接槽内,且弹簧A两端分别与连接槽内壁和连接座固定连接;振动传感器固设于连接座上;本发明结构设计合理,不仅可以自动实现对多维度风机叶片的诊断,诊断效率较高,还可以适用于不同厚度的多维度风机叶片,适应性较强。

太阳能热气流协同驱动的垂直轴风力发电机及其驱动方法

NºPublicación:  CN121345714A 16/01/2026
Solicitante: 
武汉为微新能源科技有限公司
CN_121345714_PA

Resumen de: CN121345714A

本发明公开了太阳能热气流协同驱动的垂直轴风力发电机及其驱动方法,涉及新能源发电技术领域,包括太阳能加热气流系统、带气流通道动力臂的垂直轴风力机、无干涉传输组件及传动组件。太阳能加热气流系统通过集热管与聚光板协同加热形成上升气流,经烟囱效应增压加速;无干涉传输组件实现热气流低损耗输送;垂直轴风力机通过动力臂气流通道、小风轮‑导流叶轮组合与叶片捕风形成三动力耦合,实现0.25m/s以下超低风速启动;传动组件将动能转化为电能。本发明通过结构优化与方法创新,解决了传统风机启动风速高、驱动单一、热气流利用不足的问题,具备全时段稳定发电、维护便捷、多场景适配的优势,可广泛应用于低风速分布式发电场景。

一种半直驱风电机组用轴系驱动装置及其使用方法

NºPublicación:  CN121356257A 16/01/2026
Solicitante: 
东方电气风电股份有限公司
CN_121356257_PA

Resumen de: CN121356257A

本发明公开了一种半直驱风电机组用轴系驱动装置及其使用方法,属于风能发电技术领域。该装置主要包括转接盘组件、驱动盘组件、回转支承、反力臂组件及伺服电机驱动的驱动系统。其核心在于:转接盘组件由多个不同尺寸的模块化转接盘构成同轴预装组合体,通过拆卸外侧转接盘来适配不同发电机接口,实现一套装置多机型通用;反力臂组件通过可滑动的摇臂轴和可转动的摇臂实现多自由度调节,便于与发电机定子端盖快速对中连接;驱动系统采用小齿轮端部加装调心滚子轴承的创新结构,有效解决了悬臂齿轮副受载后啮合不均的技术难题。本申请具有通用性强、安装便捷、可靠性高和维护成本低等优点,显著提升了风电机组轴系驱动作业的效率和经济效益。

风力发电机叶片电加热材料的防雷设计方法、装置

NºPublicación:  CN121345729A 16/01/2026
Solicitante: 
国网湖南省电力有限公司湖南防灾科技有限公司国网湖南省电力有限公司防灾减灾中心国家电网有限公司
CN_121345729_PA

Resumen de: CN121345729A

本申请实施例提供一种风力发电机叶片电加热材料的防雷设计方法、风力发电机叶片、装置及存储介质。方法包括:根据所在机组雷暴日比例和电极引线截面积,确定电极引线绝缘层的目标厚度和目标绝缘电阻等级;根据所述目标厚度和目标绝缘电阻等级,制备或选用电极引线;将所述电极引线布设于叶片内腔中,并使其远离风机接地引下线,且所述电极引线采用双绞线方式走线;在电加热材料的电源端口设置SPD,并采用基于所在机组雷暴日天数确定所述SPD的数量,并将多个SPD进行并联连接。本方案配置足够数量的SPD,确保闯入的雷电流能被安全导入大地,显著提升了加装电加热材料后的风力发电机叶片在面对雷电,尤其是感应雷时的安全性与可靠性。

一种电梯井道风力发电装置

NºPublicación:  CN121345720A 16/01/2026
Solicitante: 
中奥电梯有限公司
CN_121345720_PA

Resumen de: CN121345720A

本发明公开了一种电梯井道风力发电装置,属于电梯设备领域。包括电梯轿厢;发电装置,其设置在电梯轿厢上,发电装置包括固定在电梯轿厢上的发电机,发电机具有旋转轴,且在旋转轴上固定有垂直轴风轮,电梯轿厢上固定有支撑架,支撑架上固定有导风罩;防尘装置,其设置在导风罩上;吹除装置,其设置在导风罩上。本申请的一种电梯井道风力发电装置,通过集成发电、防尘、吹除装置,解决垂直轴风轮因灰尘附着的效率与稳定性问题。发电装置的风轮配合导风罩捕气流,防尘装置以滤网滤尘、清洁刷清滤网减尘附风轮,吹除装置吹扫拨刷除毛絮保防尘性能。三者配合避免风轮积尘致重增、失衡与气动破坏,降摩擦阻力,防卡顿,保障装置稳运行、延寿命。

一种风力发电机用的偏航齿圈总成

NºPublicación:  CN121345735A 16/01/2026
Solicitante: 
嘉兴荣硕机械有限公司
CN_121345735_PA

Resumen de: CN121345735A

本发明公开了一种风力发电机用的偏航齿圈总成,涉及风力发电机偏航系统应用领域,包括齿圈、安装罩以及齿轮箱,所述齿圈内壁活动安装有安装罩,所述安装罩外壁安装有多组齿轮箱,多组所述齿轮箱内部均安装有吸附板,多组所述吸附板内部均设有电磁板。本发明通过设置有吸附板,齿圈与多组偏航齿轮长期使用后,磨损产生的碎屑混入润滑油中,多组吸附板内部的电磁板长期处于通电状态,故多组吸附板产生磁力,混入润滑油中的铁屑受磁力影响向吸附板方向进行位移,然后沾附在吸附板上端外壁,避免了铁屑与润滑油混合后对齿圈和多组偏航齿轮造成损伤,并提升了润滑油的使用效果,从而提升了齿圈总成的使用寿命。

一种用于风电齿轮箱的润滑结构、齿轮箱及风电设备

NºPublicación:  CN121345733A 16/01/2026
Solicitante: 
中车戚墅堰机车车辆工艺研究所股份有限公司
CN_121345733_PA

Resumen de: CN121345733A

本披露公开了一种用于风电齿轮箱的润滑结构、齿轮箱及风电设备,润滑结构包括:主供油件,其包括沿其轴向延伸的主油路以及与主油路连通并径向向外侧旋转部件供油的多个通油孔;第一供油组件,包括第一支撑件以及进油管,进油管一端与第一支撑件的内腔及通油孔连通;第二供油组件,包括套设于主供油件的二级进油环,套设于二级进油环外侧的第二支撑件,且二级进油环与主供油件之间形成围绕主供油件的二级油路,二级油路一方面与通油孔连通,另一方面与第二支撑件的内腔连通。其通过在齿轮箱内部中空区域设置主供油件以及第一供、第二供油组件并将的油路连通,能够避免或降低风电齿轮箱润滑进油结构中由供油组件相对旋转产生的摩擦磨损。

引下线断点检测中的长度-频率双因子补偿方法及装置

NºPublicación:  CN121347918A 16/01/2026
Solicitante: 
国华(神木)新能源有限公司
CN_121347918_PA

Resumen de: CN121347918A

本说明书实施例提供了一种引下线断点检测中的长度‑频率双因子补偿方法及装置引下线断点检测中的长度‑频率双因子补偿方法及装置,其中,方法包括:从叶片根部向引下线注入一组高频电磁脉冲信号;通过高速数据采集装置在信号注入端口同步采集双路关键波形,其中,所述具体包括:入射脉冲原始波形和反射混合信号;对所述反射混合信号中的弱反射脉冲进行长度补偿和频率补偿;将进行了补偿后的弱反射脉冲进行因子补偿处理,重构为可识别脉冲;根据进行因子补偿处理后的可识别脉冲的时间特征量,计算断点距离。

一种水下曲面主动自适应吸附清洗机器人

NºPublicación:  CN121341368A 16/01/2026
Solicitante: 
浙江大学
CN_121341368_PA

Resumen de: CN121341368A

本发明公开了一种水下曲面主动自适应吸附清洗机器人,包括机架、控制舱体、传感器系统、水下推进系统以及四个伯努利吸盘;伯努利吸盘包括连接壳体、伯努利吸盘盘面和吸盘动力源;连接壳体通过旋转法兰轴承及转轴与机架可转动连接;连接壳体和机架之间连接有主动推杆;通过主动推杆实现伯努利吸盘主动的角度自适应;控制舱体通过声波测距仪完成对于工作曲面的重建,并计算出每个伯努利吸盘需要转动的角度,再通过控制每个主动推杆的长度使对应的伯努利吸盘转动至计算出的角度,最终控制吸盘动力源使机器人贴附在工作表面。本发明能够适应大部分的异形曲面,实现复杂多变的曲面上进行爬壁清洗工作,并且对吸附曲面的表面材料没有强制性的要求。

一种量化控制风能发电直用技术方法

NºPublicación:  CN121345719A 16/01/2026
Solicitante: 
江苏航道风能科技有限公司
CN_121345719_PA

Resumen de: CN121345719A

本发明公开了一种量化控制风能发电直用技术方法,涉及风能发电技术领域。本发明通过移除塔顶发电机、增速机构,简化叶片结构,彻底解决传统风塔“头重脚轻”的结构缺陷,风塔在极端环境下的抗风、抗负荷能力大幅增强的同时,在液压系统、常规发电机及EMS电控系统的协同作用下,减少了复杂机构长期运行期间易于出现的故障点,极大程度的降低了整体故障率,安全可靠性显著增加;通过在设备端采用常规发电机、无需变桨与高增速结构,显著降低了设备采购与维护成本的同时,在建设端多采用的风塔结构与基础轻量化,有效的降低了建筑成本,且在运行端有效的降低了弃风率,并显著提升了风能利用率,同时省去电网调平与大量储能成本。

一种基于风力发电机组齿轮箱的动平衡检测装置

NºPublicación:  CN121347057A 16/01/2026
Solicitante: 
中国三峡新能源(集团)股份有限公司黑龙江分公司宾县大个岭风力发电有限公司
CN_121347057_PA

Resumen de: CN121347057A

本发明提供一种基于风力发电机组齿轮箱的动平衡检测装置,涉及动平衡检测技术领域,包括:主传动轴,所述主传动轴的侧面卡接有联轴器,所述转轴的外表面转动连接有支撑架,所述支撑架的内壁设有触发机构,所述支撑架的侧壁转动连接有一号转动辊,所述一号转动辊远离支撑架的一端固定连接有支板,所述支板远离一号转动辊的一端固定连接有二号转动辊,所述二号转动辊的内部设有平衡机构,通过触发机构与转轴的联动设计,当转轴发生偏向运动时,金属块与触发块接触,快速触发电信号传输,实现对失衡状态即时检测,平衡机构根据失衡程度自动调整配重,从而实现了失衡状态的即时检测,且通过增加反方向离心力抵消偏向力,实现动态平衡精准校正的效果。

风电基础模具

NºPublicación:  CN223805571U 16/01/2026
Solicitante: 
内蒙古中维电力工程有限公司
CN_223805571_U

Resumen de: CN223805571U

本申请公开了一种风电基础模具,包括两个半圆底板,半圆底板的上端面分别设置有第一固定柱和第二固定柱,第一固定柱用于与孔板相插接,孔板两端分别设置有第一插孔,第二固定柱用于与第一侧壁板底端的第二插孔相插接,多个第一侧壁板在两个半圆底板上端围绕成浇注腔,两个半圆底板的中心处开设有预留孔,预留孔内穿插有桩孔管;请通过第二固定柱在两个连接的半圆底板上端面插接多个第一侧壁板围绕成浇注腔,可向浇注腔内浇注混凝土,一方面混凝土受到重力作用下压模具底板紧贴底面提高了模具底部的稳定性,且浇注模具通过多个组件拼接而成,相比于一体成型的浇注模具减小了模具运输时所占用的空间,有益于提高模具的转运效率。

一种机舱齿轮箱油液更换装置

NºPublicación:  CN223806598U 16/01/2026
Solicitante: 
华能吉林新能源开发有限公司通榆分公司华能吉林发电有限公司
CN_223806598_U

Resumen de: CN223806598U

本实用新型涉及机舱齿轮箱技术领域,公开了一种机舱齿轮箱油液更换装置,包括机舱齿轮箱本体、第一进料口和第一出料口,所述机舱齿轮箱本体上方的一侧设有第一进料口,所述机舱齿轮箱本体下方的右侧设有第一出料口,所述机舱齿轮箱本体的外侧设有滑动装置,所述滑动装置包括连接板、固定槽和滑板,所述机舱齿轮箱本体的外侧设有连接板,所述连接板的内侧设有固定槽,所述固定槽的内部设有滑板;本实用新型以便将使用后的油液进行循环使用,节约资源,同时便于装置将机舱齿轮箱本体内部使用后的油液进行更换,操作简单便利,节省油液的更换时间。

一种风力发电机齿轮箱油冷循环散热结构

NºPublicación:  CN223806602U 16/01/2026
Solicitante: 
吴致渺
CN_223806602_U

Resumen de: CN223806602U

本实用新型公开了一种风力发电机齿轮箱油冷循环散热结构,包括:通过输油管连接在风力发电机齿轮箱的右侧用于润滑油抽取的第一循环泵,所述第一循环泵的右侧通过固定连接组件安装连接有冷循环散热组件。本实用新型的有益效果如下:通过设置有固定连接组件,让装置可以牢固将风力发电机齿轮箱和冷循环散热组件进行连接,安装方便的同时,方便冷循环散热组件、冷却液循环组件相配合的冷却循环,通过设置有冷循环散热组件,让润滑油可以通过第一热交换管进行循环,配合冷却液循环组件实现热交换,进行冷却散热,通过设置有冷却液循环组件,让冷却液可以在冷循环散热组件内进行循环,实现热交换增加冷循环散热组件的散热效果。

一种风电齿轮箱轴承润滑结构

NºPublicación:  CN223806608U 16/01/2026
Solicitante: 
国华(河北)新能源有限公司
CN_223806608_U

Resumen de: CN223806608U

本实用新型涉及一种风电齿轮箱轴承润滑结构。采用的技术方案是:包括齿轮箱,齿轮箱内置主轴,主轴的右端与磁力连轴器的一端固定套装,磁力连轴器包括内转子,内转子外部的箱体壳外围活动套装外转子,外转子的右端固定插装转轴,转轴通过轴承固定套装在机架上,转轴的右端与抽液泵的转轴固定连接,抽液泵的后端固定安装在机架上,抽液泵右端上部的排油口密封连接注液管,注液管的左端与齿轮箱上的润滑管口连通,抽液泵左端下部的进油口通过管道与下部的储油箱连通,储油箱安装在机架上。本实用新型的有益效果:磁力传动,无须外接动力源,节能的同时,解决传统轴封渗漏的问题,抽液泵的转速与主轴同步,润滑流量随齿轮箱负载的改变实现自动调节。

一种垂直轴风机伸缩式叶片及垂直轴风机

NºPublicación:  CN223806236U 16/01/2026
Solicitante: 
武汉理工大学
CN_223806236_U

Resumen de: CN223806236U

本实用新型公开了一种垂直轴风机伸缩式叶片及垂直轴风机,包括主杆和沿主杆周向均匀布置的多个叶片,叶片与主杆之间连接有上连杆和下连杆,上连杆设置于下连杆的上方,上连杆的两端分别与主杆和叶片铰接,下连杆的两端分别与主杆和叶片铰接,下连杆或叶片通过活动连杆连接有驱动机构;驱动机构通过活动连杆带动下连杆或叶片摆动,使叶片可通过上连杆和下连杆的连接沿主杆上下摆动。本实用新型能有效增强风机对不同风速环境的适应性,延长风机使用寿命,保障运行稳定性,减少空间需求与操作难度,降低维护成本与难度,提高整体经济性与便捷性。

一种风力发电装置的叶片角度调节机构

NºPublicación:  CN223806233U 16/01/2026
Solicitante: 
北京汇通聚原风电技术集团有限公司
CN_223806233_U

Resumen de: CN223806233U

本实用新型涉及风力发电技术领域,尤其涉及一种风力发电装置的叶片角度调节机构,包括装置架、三个叶片座、三个叶片、安装壳和调节机构,调节机构包括三个锥齿轮、主动齿轮、驱动组件、三个连接杆、环形滑轨和第二减速组件,当风速较高,需要增大叶片角度时,驱动组件运作,带动主动齿轮转动,由于三个锥齿轮与主动齿轮相啮合,三个锥齿轮转动,进而带动三个叶片座转动,从而实现对叶片角度的增大,同时,三个叶片转动,带动第二减速组件在环形滑轨内转动,第二减速组件可进一步对叶片转速进行限制,解决了风力发电装置组成部件较多,结构较为复杂,增加后期运维难度和运维成本的问题。

一种便携型系留式浮空发电装置

NºPublicación:  CN223806237U 16/01/2026
Solicitante: 
武汉船舶职业技术学院
CN_223806237_U

Resumen de: CN223806237U

本实用新型涉及浮空发电技术领域,具体为一种便携型系留式浮空发电装置,包括浮空气囊,所述浮空气囊内形成进气风道,所述进气风道内壁通过连接结构可拆卸安装有风力发电机,所述风力发电机的输出轴固定有风机扇叶;连接结构设置于风力发电机外壳以及所述浮空气囊尾端内壁之间,其包括固定于风力发电机的外壳上的两组固定杆,每组所述固定杆的外端共同连接有固定环,所述浮空气囊的内壁固定有与每根固定杆对应的卡接头,两组所述卡接头相对设置;连接件设置于相对的一对卡接头之间。先通过将固定环和固定杆的连接处卡入卡接头内,再通过固定套筒和活动套筒分别将两组固定环和固定杆的连接处抵接于对应卡接头内,安装方式简单快捷。

垂直轴风力机及包含该风力机的风力发电装置

NºPublicación:  CN223806235U 16/01/2026
Solicitante: 
郝占宁
CN_223806235_U

Resumen de: CN223806235U

本实用新型公开了一种垂直轴风力机及包含该风力机的风力发电装置,垂直轴风力机包括柱轴、垂轴叶轮、叶轮支架、绕流弧板;叶轮支架上穿设转动设有柱轴,叶轮支架的正面固定有绕流弧板,绕流弧板的凹面朝向柱轴,叶轮支架上安装有置于柱轴侧部的垂轴叶轮;风力发电装置包括发电机、储能电池。优点:利用绕流弧板有利于降低垂轴叶轮整体的风阻,提高垂轴叶轮顺风转动的速度,有效提高风能转化效率和输出功率。

一种易于安装的垂直风力发电机

NºPublicación:  CN223806234U 16/01/2026
Solicitante: 
内蒙古涵宝建筑工程有限公司
CN_223806234_U

Resumen de: CN223806234U

本实用新型公开了一种易于安装的垂直风力发电机,包括支撑组件、螺杆组件、基座、连接组件和塔体,所述支撑组件的底端两侧设置有螺杆组件,所述支撑组件的顶端设置有基座,且基座的顶部设置有连接组件,所述连接组件的顶端设置有塔体,所述连接组件包括第二承载座、第二引孔、卡杆和卡槽。该易于安装的垂直风力发电机,杆体嵌入地下,由两侧杆体穿插,增加放置加固时的稳定性,随后通过第二承载座嵌入在第一承载座的槽孔内,同时卡杆与固定块相接触,由于卡槽的设置,当对第二承载座进行转动时,使其卡合在固定块边侧,配合穿插紧固件完成锁紧操作,整体采用嵌入转动的方式,搭配紧固件进行固定,便于后续安装。

一种基于新能源驱动的农业灌溉设备

NºPublicación:  CN223798964U 16/01/2026
Solicitante: 
河北农百乐农业科技有限公司
CN_223798964_U

Resumen de: CN223798964U

本实用新型涉及一种基于新能源驱动的农业灌溉设备,其包括农业灌溉设备,其还包括:储能装置以及分别与所述储能装置电性连接的风力发电装置、光能发电装置、油发电装置;其中,所述风力发电装置设置在所述农业灌溉设备的顶部,所述光能发电装置设置在所述农业灌溉设备的桁架上,所述油发电装置和所述储能装置均设置在所述农业灌溉设备的卷管部下方的支撑框架上。本实用新型集成风力发电、光能发电和油发电于农业灌溉设备上,适应不同环境条件,提高供电稳定性;减少对传统燃油发电的依赖,降低运行成本和减少环境污染,经济环保;且可用于不同环境条件下的农业灌溉,尤其适合偏远地区或无稳定电力供应的场景,适用性强。

一种风力发电机组集电环室碳粉清理收集结构

NºPublicación:  CN223806241U 16/01/2026
Solicitante: 
赵嘉琦
CN_223806241_U

Resumen de: CN223806241U

本实用新型公开了一种风力发电机组集电环室碳粉清理收集结构,涉及风力发电技术领域,包括集电环室主体,集电环室主体的一侧面通过螺栓固定连接有第一封闭板,所述集电环室主体的内壁转动连接有转轴,且第一封闭板与转轴转动连接,所述集电环室主体的底面连通有排风筒,所述转轴的外表面安装有集电环组件。本实用新型能够使得风力发电机组集电环室内部的碳粉被顺畅的清理排放,从而增强集电环整体运行的稳定性与可靠性,并为风力发电机组的高效、安全运行筑牢根基,同时有效削减因碳粉大量积聚而引发的诸如电气短路、部件磨损加剧等各类故障风险,大幅降低运维成本与因故障导致的停机时间,进而提升风力发电机组的经济效益与运行效益。

一种便携微型发电装置

NºPublicación:  CN223806238U 16/01/2026
Solicitante: 
福建德普柯发电设备有限公司
CN_223806238_U

Resumen de: CN223806238U

一种便携微型发电装置,包括主体为一个同轴的壳体结构,该壳体包括外筒体和内筒体,外筒体大致呈圆筒形,其前端加工或模塑成型为锥形收缩的进风口,该锥形结构作为集风罩,能够有效聚集并加速自然气流,提升低风速下的风能通量,内筒体同轴心且固定地设置于外筒体的内部,两者之间保留一个均匀的环形间隙,由于本实用新型通过创造性地采用“双层筒体”结构,通过外筒体前端的锥形进风口对自然气流进行压缩加速,显著提高了低风速下的风能通量,同时,主叶轮采用与之匹配的流线型锥面,大幅降低了进气阻力,这一复合气动优化设计,从根本上解决了传统裸露叶轮装置在微风环境下难以启动或效率极低的问题,使得装置在微弱气流中即可有效工作。

风电机组齿轮箱动态密封结构

NºPublicación:  CN223806604U 16/01/2026
Solicitante: 
甘肃省特种设备检验检测研究院(甘肃省特种设备检验检测集团)
CN_223806604_U

Resumen de: CN223806604U

本实用新型公开了风电机组齿轮箱动态密封结构,包括齿轮箱本体,所述齿轮箱本体一侧对称固定连接有固定框,两个所述固定框一侧均设置有第一凹槽,一个所述固定框一侧固定连接有第一电机,所述第一电机的输出端固定连接有双向螺纹杆,所述双向螺纹杆外侧对称螺纹连接有第一移动块,所述第一移动块一侧固定连接有收集框,一个所述收集框底部一侧固定连接有收集管,本实用新型通过设置收集框,启动第一电机,可以带动双向螺纹杆转动,可以带动两个第一移动块移动,从而可以带动两个收集框移动,可以将两个收集框合并,轻微泄漏时会将油甩至收集框内部,随后通过收集管运至外侧,方便快捷。

低質量密度流体のエネルギー・パワーを高質量密度流体エネルギー・パワーに変換する質量密度変換装置に連結する原動機とその原動機に結合する発電システム

NºPublicación:  JP2026006664A 16/01/2026
Solicitante: 
大木康次
JP_2026006664_PA

Resumen de: JP2026006664A

【課題】主要装置全体を小型化できる発電システムを提供する。【解決手段】高質量密度流体のエネルギー・パワーの機械原動力変換は、高質量密度であるため、変換装置の小型化が容易に出来る。そのため、大規模に集めた低質量密度流体と高質量密度流体を、高質量密度流体が静的・動的な高接触角を有するチャネル表面上で、衝突させ、流体同士のエネルギー・パワー変換効率を向上させる。【選択図】図1

迎角制御装置

NºPublicación:  JP2026006673A 16/01/2026
Solicitante: 
上野康男
JP_2026006673_PA

Resumen de: JP2026006673A

【課題】垂直軸風車における回転翼の迎角を無動力で外部からの操作なしで、吹く風の方向及び風力で操作し得る垂直軸風車の迎角制御装置を提供する。【解決手段】回転翼2の上端部に回転翼の翼弦に並行でやや上方を向いた支持軸3を設け、支持軸には回動自在で通常上方を向いた縦長のヒレ状部材4を取り付ける。ヒレ状部材には上方に中立点を持つスプリング6が取り付けられている。スプリングは各方向に自在に曲がり得るワイヤースプリングであり,中間点に回転翼のスパン方向及び回転円周の内側から外側に移動可能な中間支持部材7を有する。【選択図】図3

一种风电机组塔筒巡检攀爬辅助装置

NºPublicación:  CN121341905A 16/01/2026
Solicitante: 
神华(故城)新能源有限责任公司
CN_121341905_PA

Resumen de: CN121341905A

本发明属于风电机组塔筒巡检领域,提供了一种风电机组塔筒巡检攀爬辅助装置,包括升降机构,所述升降机构上挂设有长度调节组件,所述长度调节组件的左右两端均安装有止坠组件;本发明通过工作人员身上的安全绳与外壳底面的牵引头绑定后,启动升降机构拉动长度调节组件向上滑动,同时止坠组件在爬梯上向上滑动,即拉动工作人员沿着爬梯向上滑动,工作人员无需攀爬爬梯,解决了攀爬爬梯费时费力的问题,同时提高工作人员的工作效率。

一种适应曲面的作业装置和作业机器人

NºPublicación:  CN223801163U 16/01/2026
Solicitante: 
慧兮(北京)科技有限公司
CN_223801163_U

Resumen de: CN223801163U

本申请提供了一种适应曲面的作业装置和作业机器人,能够根据曲面的变化来调整作业装置相对曲面的形态和位置,提高作业装置在曲面上的作业效果。其中,这种适应曲面的作业装置包括:移动组件,所述移动组件包括安装架、滑块和牵引部,所述安装架沿第一方向延伸,所述滑块与所述安装架连接,所述牵引部用于牵引所述滑块在所述安装架上沿所述第一方向移动;作业组件,所述作业组件与所述滑块活动连接,设置于所述移动组件沿第二方向的一侧,所述第二方向垂直于所述第一方向;转动组件,所述转动组件连接所述作业组件和所述滑块,用于控制所述作业组件绕所述滑块旋转。

一种公路隧道通风风机振动监测装置

NºPublicación:  CN223806239U 16/01/2026
Solicitante: 
云南宣会高速公路有限公司云南省交通规划设计研究院股份有限公司
CN_223806239_U

Resumen de: CN223806239U

本实用新型涉及公路隧道风机振动监测技术领域,提出了一种公路隧道通风风机振动监测装置,包括强磁底座、单片机、振动检测传感器、无线传输模块及电源,单片机、振动检测传感器及电源设于壳体内部,无线传输模块位于壳体顶部内侧。装置通过强磁底座固定在风机电机外壳处,拆装便捷,振动检测传感器采集振动数据并通过单片机处理后,经无线传输模块传输至远程终端。单片机采用STM32F103C8T6,振动检测传感器采用MPU6050,无线传输模块采用SX1278 LoRa,电源采用18650锂电池,并通过集成在单片机上的MCP1703A电源管理芯片实现稳压供电。装置具有高效采集、高精度检测、远程传输、便捷安装和抗振动干扰强等优点,适用于公路隧道通风风机的振动监测及远程维护管理。

一种风力发电机组叶片清洗装置

NºPublicación:  CN223806240U 16/01/2026
Solicitante: 
三峡新能源海上风电运维江苏有限公司
CN_223806240_U

Resumen de: CN223806240U

本实用新型提供了一种风力发电机组叶片清洗装置,包括箱体,箱体内设有第一腔体、第二腔体及供水驱动机构;第一腔体、第二腔体分别通过第一管道、第二管道与供水驱动机构相连,供水驱动机构与箱体外的喷头相连,箱体外侧安装有肩带;将第一腔体内注入清洁剂、将第二腔体内注入清水,随后工作人员通过肩带将本申请装置背于背部,并通过起重设备送至风电机组叶片附近进行清洗作业。相对于现有技术,箱体是背于工作人员背部,携带更为方便,且清洁剂和清水是同时装入箱体内并由喷头向外喷出的,通过喷头喷出清水即可对叶片或清洗刷进行清理,不会对箱体内清水造成二次污染,清洗更为方便。

一种风电塔筒同心度控制方法及系统

NºPublicación:  CN121345716A 16/01/2026
Solicitante: 
中国电建集团昆明勘测设计研究院有限公司
CN_121345716_PA

Resumen de: CN121345716A

本发明涉及结构工程技术领域,尤其涉及一种风电塔筒同心度控制方法及系统。该方法包括以下步骤:获取风电塔筒安装基准数据;根据风电塔筒安装基准数据确定环片圆心偏移量,得到环片偏移数据;基于环片偏移数据进行同心度检测,生成同心度初始数据;根据同心度初始数据进行偏差分析,得到偏差数据;基于偏差数据识别出偏差异常环片,得到异常环片数据;根据异常环片数据进行环口变形检测,得到环口变形数据;根据环口变形数据进行稳定性分析,得到稳定性数据。本发明基于结构工程技术提高风电塔筒安装精度和同心度控制率。

适用于变桨系统中开关电源的稳压控制方法及系统

NºPublicación:  CN121356298A 16/01/2026
Solicitante: 
华能山东发电有限公司蓬莱风电分公司北京华能新锐控制技术有限公司
CN_121356298_A

Resumen de: CN121356298A

本发明实施例提供了一种适用于变桨系统中开关电源的稳压控制方法及系统,其通过在反馈网络中注入一个已知的、叠加了交直流分量的特定信号,并利用数字锁相解调技术对该网络在激励下的响应信号进行精密分析,旨在精确地量化出反馈链路因温漂和器件老化而产生的实际增益偏差。通过计算漂移校正系数并对反馈采样值进行实时数字校正,能够有效消除因元器件参数漂移引入的静态电压误差,从而显著提升了开关电源输出电压的精度与稳定性,保障了整个变桨系统控制的长期可靠性。

一种风力发电机组传动链结构

NºPublicación:  CN121345734A 16/01/2026
Solicitante: 
赫库勒贸易(上海)有限公司
CN_121345734_PA

Resumen de: CN121345734A

本发明涉及风力发电机组技术领域,具体为一种风力发电机组传动链结构,包括主轴、前三排滚柱轴承、主机架、后三排滚柱轴承和齿轮箱集成结构,前三排滚柱轴承和后三排滚柱轴承设置在主机架的两端内部。本发明采用三排滚柱轴承替代传统单列锥轴承,通过三排滚柱的密集布局显著增加轴承的径向承载面积和刚性,解决单列锥轴承因结构薄弱、径向尺寸小导致的滚道或者滚柱易损问题,有效抵抗风力波动引起的偏载冲击,轴承运行径向游隙≤0mm,消除内部间隙,减少滚柱与滚道的冲击磨损,使用寿命大大提升,轴承内外圈通过法兰螺栓直连,避免过盈装配应力,降低失效风险,轴承外圈与齿轮箱内齿圈、内圈与行星架直接紧固,传动效率大大提升。

一种风力发电机故障溯源方法及装置

NºPublicación:  CN121350315A 16/01/2026
Solicitante: 
中电建新能源集团股份有限公司
CN_121350315_PA

Resumen de: CN121350315A

本发明涉及发电机故障检测技术领域,具体公开了一种风力发电机故障溯源方法及装置,所述方法包括获取风力发电机的故障类型、故障位置及故障时间,根据故障类型、故障位置及故障时间确定数据采集范围;在风力发电机的数据库中查询数据采集范围内的数据,构建并简化样本集;统计同一故障类型的简化后的样本集,比对统计到的样本集,确定特征位置;构建特征位置与故障类型的映射关系,同步确定映射强度;当检测到故障类型时,根据映射强度读取特征位置,生成检测表单。本发明在面对故障类型时,能够快速定位到相关位置,根据相关位置的重要程度确定检测顺序,将全局式溯源过程转换为了有顺序的溯源过程,极大地提高了溯源效率。

风储协同控制方法、装置、设备、存储介质及程序产品

NºPublicación:  CN121356004A 16/01/2026
Solicitante: 
华电电力科学研究院有限公司
CN_121356004_PA

Resumen de: CN121356004A

本申请涉及风力发电技术领域,公开了风储协同控制方法、装置、设备、存储介质及程序产品,该方法包括:获取目标风电场的运行数据,并对运行数据进行湍流多时间尺度分析,得到表征不同时间尺度波动特性的湍流特征参数;基于湍流特征参数,通过多目标优化算法求解以风机等效疲劳载荷、储能设备寿命损耗及电网调频要求为优化目标的多目标优化问题,生成协同控制策略;执行协同控制策略,对风电机组和储能系统进行协同控制。本申请通过先对风电场运行数据进行湍流多时间尺度分析以获取湍流特征参数,再采用多目标优化算法进行协同决策,有效解决了相关技术无法在复杂湍流工况下同时保证风机疲劳寿命、储能设备寿命及电网频率稳定性的问题。

一种抗雷击的陆上风电叶片防雷结构

NºPublicación:  CN121345728A 16/01/2026
Solicitante: 
大唐(长顺)新能源有限公司
CN_121345728_PA

Resumen de: CN121345728A

本发明涉及防雷装置技术领域,公开了一种抗雷击的陆上风电叶片防雷结构,包括安装座、扇叶和安装块,所述安装块的外壁设置有自动伸缩机构,所述自动伸缩机构用于在高速转动时伸出导电结构,所述安装块的内壁设置有快速安装机构,所述快速安装机构用于快速固定安装在对应所述扇叶的外侧,所述扇叶的内部设置有防电弧加固机构,所述防电弧加固机构用于防止电弧点燃所述扇叶的内部。通过低转速时,复位弹簧的回弹力主导,三角导电块收缩以减少风阻,高转速时,离心力克服弹簧力,推动三角导电块伸出以扩大接闪范围,从而可根据转速动态调节接闪范围,兼顾低转速时的运行效率与高转速时的防雷可靠性。

一种海上风电设备用变压器安装装置

NºPublicación:  CN121341810A 16/01/2026
Solicitante: 
国网山东省电力公司巨野县供电公司
CN_121341810_PA

Resumen de: CN121341810A

本发明涉及海上风力发电设备安装领域,本发明公开了一种海上风电设备用变压器安装装置,包括由吊装板、吊绳机构、牵引钢丝绳、对接机构、第一防坠机构和第二防坠机构组成的吊装连接器本体,所述吊装连接器本体用于将海上风电设备用变压器本体与吊装装置的吊钩相连接。其通过设置有对接机构,而对接机构通过对接柱、T型锁块与锁止环的配合,实现与变压器吊耳的快速连接;因对接柱斜角设计便于插入连接孔,T型锁块横向限位配合锁止环双向挤压吊耳,替代传统绳结或卸扣固定方式,操作时间从传统30分钟左右缩短至5分钟内,提升吊装效率,尤其适用于海上作业平台、塔筒内等狭小空间及风浪晃动场景作业,适配海上风电设备用变压器的高效安全安装。

用于风电机组主轴总成装配的支撑装置

NºPublicación:  CN121345721A 16/01/2026
Solicitante: 
华锐风电科技(集团)股份有限公司
CN_121345721_PA

Resumen de: CN121345721A

本发明公开了一种用于风电机组主轴总成装配的支撑装置,包括主体框架、多个可调支撑部件和多个移动垫板,可调支撑部件包括角度调节组件、高度调节组件和连接板组件,角度调节组件通过球铰连接实现上下端面之间的角度调节,高度调节组件通过螺纹连接实现高度调节,连接板组件与主体框架连接,高度调节组件底部与角度调节组件连接,顶部与连接板组件连接;移动垫板通过滑槽与主体框架可移动连接,并且能够通过压板与主体框架紧固连接。该支撑装置能够在地面倾斜不平的场地提供水平的支撑面,并且适用于不同尺寸的主轴总成装配。

一种利用自行走、升降式起重装置更换海陆风机零件的施工方法

NºPublicación:  CN121341874A 16/01/2026
Solicitante: 
茁善机械(上海)有限公司
CN_121341874_PA

Resumen de: CN121341874A

本发明公开了一种利用自行走、升降式起重装置更换海陆风机零件的施工方法,包括装置本体,装置本体包括风机塔筒、风机机舱、风机机舱盖、第一提升装置、第二提升装置和起重装置,第一提升装置和第二提升装置结构相同,风机机舱安装在风机塔筒顶部,风机机舱盖安装在风机机舱顶部,第一提升装置位于风机塔筒左侧,第二提升装置位于风机塔筒右侧;第一提升装置包括第一船体、第一夹钳、第一提升座、第二提升座、第一自提升卷扬机、第二自提升卷扬机、第一导向装置、第一钢丝绳固定装置、第二导向装置、第二钢丝绳固定装置、第一液压伸缩杆和第一压紧滚轮。该种装置可以大幅提升吊装灵活性,可快速适配海陆不同风机作业场景,显著降低整体吊装成本。

一种风力发电机故障识别方法及系统

NºPublicación:  CN121345723A 16/01/2026
Solicitante: 
中电建新能源集团股份有限公司
CN_121345723_PA

Resumen de: CN121345723A

本发明适用于故障识别技术领域,提供了一种风力发电机故障识别方法及系统,包括以下步骤:采集多维度监测数据;构建时空图网络,根据监测位置确定节点Vi,根据物理连接确定实线边Ep,根据数据关联确定虚线边Ed,计算任意两个节点Vi和Vj的关联权重Wij;构建双层邻接矩阵,包括物理连接矩阵Ap和数据关联矩阵Ad,确定融合矩阵M;计算每个节点Vi的故障特征指标Fi;对所有节点的故障特征指标进行分析,得到故障预警信息。本发明将物理连接和数据关联进行融合,充分利用了风力发电机的物理结构和监测数据之间的关联信息,提高了故障识别的效果。

用于模块化抽水蓄能水力发电的系统和方法

NºPublicación:  CN121358948A 16/01/2026
Solicitante: 
能源未来公司
CN_121358948_A

Resumen de: CN121358948A

一种模块化抽水蓄能水力发电系统可以包括竖井,该竖井具有与第二端相对定位的第一端。蓄水池连接到竖井的第一端。竖井的第二端被配置成位于地表面下方。竖井的第二端具有第一隔室和第二隔室。第一隔室容纳具有与第二隔室水力连通的入口的泵组件。第二隔室被配置为蓄水。管道具有连接到泵组件的第一端,第一端与延伸穿过竖井的第一端的盖的第二端相对定位。管道的第二端与蓄水池水力连通。泵组件的管道将水从竖井的第二端的第二隔室转移至蓄水池。

一种垂直轴风力发电机降噪装置

NºPublicación:  CN121345715A 16/01/2026
Solicitante: 
深圳市瑞能时代科技有限公司
CN_121345715_PA

Resumen de: CN121345715A

本发明涉及风力发电机降噪装置技术领域,尤其涉及一种垂直轴风力发电机降噪装置,包括叶轮组件以及同轴罩于所述叶轮组件外的环状整流罩;所述环状整流罩为若干块导流片围绕形成、且呈上宽下窄的半封闭环状结构;所述导流片沿所述环状整流罩的圆周方向均匀排列;所述导流片沿所述环状整流罩的径向朝外的一侧边为迎风边,沿所述环状整流罩的径向朝内的一侧边为导风边;所述迎风边与竖直方向之间的夹角为6°~12°;所述迎风边与导风边的连接线与所述环状整流罩的外周面之间的切向角为25°~55°。本发明涉及风力发电设备领域,尤其是一种垂直轴风力发电机降噪装置,采用本发明提供的技术方案能够显著降低发电机运转时产生的噪音。

一种漂浮型波浪发电装置

NºPublicación:  CN121345704A 16/01/2026
Solicitante: 
海南蝶飞科技有限公司
CN_121345704_PA

Resumen de: CN121345704A

本发明公开了一种漂浮型波浪发电装置,包括漂浮组件、多轨道摇摆发电组件、配重限位组件,所述多轨道摇摆发电组件设置于所述漂浮组件内,所述漂浮组件的下端与所述配重限位组件连接。与现有技术相比,本发明利用海浪和潮汐的物理作业,内部装有多条发电轨道组,在通过海浪或者海风施加推力形成杠杆原理,让其内部不停处于平衡状态下产生一高一低的状态下,带有配重的发电机组上的齿轮随轨道在重力与速度加惯性的作用下往复滚动运转,其齿轮组件转动带动产生动能开始发电,本发明适用于大海环境,不管浪大浪小都事宜,是效率高。环保节能,成本低,不易损坏,维修便捷,成本低。

一种模块化设计的漂浮式风机基础及施工方法

NºPublicación:  CN121341359A 16/01/2026
Solicitante: 
广西蓝水海洋工程有限公司
CN_121341359_PA

Resumen de: CN121341359A

本发明公开了一种模块化设计的漂浮式风机基础及施工方法,涉及漂浮式风机基础技术领域,解决了漂浮式风机基础通常都采用整体设计,施工周期较长,建造效率较低,且难以根据海水的水深调节风机基础在海水中的水深位置的问题。一种模块化设计的漂浮式风机基础及施工方法,包括中心浮体,所述中心浮体的外侧设有三个外围浮体,三个所述外围浮体将中心浮体包围在中心呈三角形状,所述外围浮体的顶端均设有支撑柱,所述外围浮体之间均连接有连接杆。本发明通过空气泵控制配重块的水腔内部的海水量,从而调节三个外围浮体的自重,进而调节中心柱与海平面的相对位置距离,方便装置对不同海水状况进行调节,适应不同水深条件,水深适应性好。

一种瞬变风力发电机限速装置

NºPublicación:  CN121356249A 16/01/2026
Solicitante: 
新乡航空工业集团有限公司
CN_121356249_PA

Resumen de: CN121356249A

本发明属于航空电机系统技术领域,具体涉及一种瞬变风力发电机限速装置;由叶轮、壳体、轴承、定子组件、转子组件、散热环、能耗电阻、端盖组成;其中,端盖、轴承、定子组件固定在壳体上,轴承固定在转子组件上,壳体、端盖为两个轴承提供支撑,轴承为转子组件提供支撑,所述散热环安装于转子组件上,所述能耗电阻安装于壳体上。本发明所设计的限速装置中定子组件引出线与能耗电阻并联,能耗电阻与开关串联,开关安装于控制组件上,在低风速下开关断开,能耗电阻不工作,高风速下转速超过限定值后通过接通控制开关提升发电机负载,降低风轮转速,确保转速在安全范围内,为系统提供稳定电能输出,维持发电机稳定运行。

风力发电机形变故障检测方法、装置、设备及存储介质

NºPublicación:  CN121345725A 16/01/2026
Solicitante: 
中国长江三峡集团有限公司
CN_121345725_PA

Resumen de: CN121345725A

本申请公开了一种风力发电机形变故障检测方法、装置、设备及存储介质,属于风力发电机领域。该方法包括:获取目标风力发电机的多源状态数据,将目标风力发电机的多源状态数据输入已训练的风力发电机故障检测模型,得到已训练的风力发电机故障检测模型输出的目标风力发电机的形变故障数据;其中,已训练的风力发电机故障检测模型是分别采用迁移学习框架和元学习框架对预设的初始风力发电机故障检测模型进行训练得到的。本申请通过分别采用迁移学习框架和元学习框架对初始风力发电机故障检测模型进行训练,解决了跨风电场或者风力发电机的迁移问题和目标风力发电机小样本问题,从而提高了风力发电机形变故障检测的准确性。

一种风力发电叶片多途径环境能量采集及自适应能量管理装置

NºPublicación:  CN121345726A 16/01/2026
Solicitante: 
常州思瑞电力科技有限公司
CN_121345726_PA

Resumen de: CN121345726A

本发明公开了一种风力发电叶片多途径环境能量采集及自适应能量管理装置,通过压电振动、光伏及电容/电场感应三种环境能量的融合采集,实现节点长期自供电和自适应监测功能。多源能源供电提高节点可靠性和监测连续性,可在不同环境条件下执行低功耗基础监测或高功耗数据采样任务,显著提升风机叶片健康监测的精度和稳定性。

一种风电齿轮箱油泵电机

NºPublicación:  CN121345981A 16/01/2026
Solicitante: 
张宇杰
CN_121345981_PA

Resumen de: CN121345981A

本发明属于风电设备技术领域,且公开了一种风电齿轮箱油泵电机,包括固定底板,所述固定底板的顶面依次固定安装有油泵电机本体和连接件,所述油泵电机本体的端部活动连接有连接组件,所述连接组件的底部固定安装有活动组件,所述连接组件包括转轴,所述转轴的内腔设置有清理单元,所述油泵电机本体的端部与转轴固定连接。本发明通过设置转轴和清理单元等结构的配合,之后手拿手持件,拉动手持件,使得手持件将齿轮箱磨损产生的金属颗粒等污染物带出,之后将滤网表面的齿轮箱磨损产生的金属颗粒等污染物进行清理,避免齿轮箱磨损产生的金属颗粒等污染物进入油泵,加速泵体内部件的磨损,导致效率下降甚至卡死失效的情况。

一种半潜式海上风电平台

NºPublicación:  CN121341360A 16/01/2026
Solicitante: 
中车科技创新(北京)有限公司中车大连机车车辆有限公司大连理工大学宁波研究院
CN_121341360_PA

Resumen de: CN121341360A

本申请公开了一种半潜式海上风电平台,包括平台主体、释放机构和压载块,释放机构设置于平台主体的底部,压载块连接于释放机构,释放机构包括滑轨、刚性拉杆、第一锁止机构和第二锁止机构,滑轨设置于平台主体的底部,且自平台主体的中心径向辐射延伸布置,多个滑轨围绕平台主体的中心线间隔分布,刚性拉杆与滑轨一一对应布置,且刚性拉杆的第一端滑动连接于滑轨,刚性拉杆的第二端铰接于压载块。相比于传统的半潜式海上风电平台采用柔性绳索系留压载块的方式,本申请所提供的半潜式海上风电平台的安全性和可靠性得到大幅提升。

一种风机叶片移动运行平台

NºPublicación:  CN121341309A 16/01/2026
Solicitante: 
武汉理工大学
CN_121341309_PA

Resumen de: CN121341309A

本申请公开了一种风机叶片移动运行平台,风机叶片维修设备技术领域,包括装载基台;支撑臂,装载基台的前端两侧和后端两侧均设置有支撑臂,支撑臂包括依次设置的第一驱动组、第二驱动组以及第一吸盘构件,第一驱动组使支撑臂能够沿前后方向摆动,第二驱动组使支撑臂能够沿上下方向摆动,第二驱动组的一端连接第一驱动组,第二驱动组的另一端设置有第一吸盘构件;行走模块,装载基台的左右两侧均设置有行走模块,行走模块包括第二吸盘构件以及能够循环转动的履带件,履带件的外侧间隔设置有若干件第二吸盘构件。本申请的风机叶片移动运行平台能够提高作业的灵活性和安全性,满足复杂曲面高空作业需求。

一种风电叶片表面除冰装置及方法

NºPublicación:  CN121345731A 16/01/2026
Solicitante: 
中核华辰建筑工程有限公司
CN_121345731_PA

Resumen de: CN121345731A

本发明涉及风电叶片技术领域,具体的说是一种风电叶片表面除冰装置及方法,包括立柱和设置在立柱上的风叶本体,风叶本体内端安装有两个垂直的叶片腹板,其中一个叶片腹板与风叶本体之间均安装有若干个支撑件,支撑件顶端边缘处均安装有若干个电磁驱动器,电磁驱动器电磁输出端均设置有电磁线圈,电磁线圈分别环形缠绕在风叶本体内表面,风叶本体外表面均设置有若干个磁流变液夹片,且若干个磁流变液夹片位于风叶本体尖端部分是分段式分布的,靠近风叶本体尖端处电磁线圈均为设置为锥形螺纹段,远离风叶本体尖端处电磁线圈均设置为平缓弧形段,本发明能让磁流变液快速变硬发力,精准破除尖端顽固冰层,解决了传统装置除冰效果微弱的痛点。

风机叶片电加热除冰控制方法、装置及系统

NºPublicación:  CN121345730A 16/01/2026
Solicitante: 
国网湖南省电力有限公司湖南防灾科技有限公司国网湖南省电力有限公司防灾减灾中心国家电网有限公司
CN_121345730_PA

Resumen de: CN121345730A

本申请实施例提供一种风机叶片电加热除冰控制方法、装置及系统。方法包括:当叶片覆冰时,启动所有加热区域的电加热膜进行加热,其中,在叶片表面敷设电加热膜,电加热膜包括多个独立的加热区域,每个加热区域包括位于四周的高功率加热膜和位于中心的低功率加热膜,且每个加热区域的高功率加热膜和低功率加热膜能够独立控制;每隔预定时间通过监控设备判断每个加热区域的冰层脱落状态,其中,在风机塔筒靠近叶片位置布置至少一台监控设备,监控设备具备激光透雾和镜头加热功能,用于监控叶片覆冰状态;根据每个加热区域的冰层脱落状态调整相应加热膜的加热功率。

一种风电塔筒用阻尼结构及储能风电塔筒

NºPublicación:  CN121345372A 16/01/2026
Solicitante: 
国能辽宁新能源开发有限公司
CN_121345372_PA

Resumen de: CN121345372A

本发明涉及一种风电塔筒用阻尼结构及储能风电塔筒,属于风电塔筒技术领域,塔体、机舱、叶轮,所述塔体由三节标准化的塔段组合而成,最上侧的所述塔段的内壁设有用于抵抗晃动的抵抗组件,所述抵抗组件包括固定安装在最上侧所述塔段内壁的连接底架,而最上侧的所述塔段内壁位于连接底架的上方固定安装有两个第一工字钢,且两个第一工字钢的底面均通过两个连接组件安装有连接绳缆,本发明改变传统调谐质量块固定重量的问题,并且本装置能通过调谐质量块的重量来自动调整连接阻尼杆的推力,保证装置在使用过程中晃动频率与风电塔筒一致的效果,利用晃动产生的反作用力抵抗风电塔筒的晃动问题,增大装置的使用性能。

AIR INTAKE DAMPER

NºPublicación:  US20260016243A1 15/01/2026
Solicitante: 
NISSENS COOLING SOLUTIONS AS [DK]
NISSENS COOLING SOLUTIONS A/S
US_20260016243_PA

Resumen de: US20260016243A1

There is an air intake damper. The damper has a first air intake conduit having a first longitudinal axis and having an upstream end and a downstream end. The first air intake conduit has a first intake area, in which the first intake area is substantially perpendicular to the first longitudinal axis. Partitions extend across the first intake area, in which each partition has at least an upstream end and a downstream end and has an first surface and/or an second surface. In a first position, two adjacent partitions are positioned to define a first fluid communication channel having an upstream end and a downstream end extending along the first air intake conduit. The fluid communication channel in a direction extending along the first longitudinal axis has at least one bend so that an imaginary straight line extending from the upstream end to the downstream end will intersect at least the first surface and/or the second surface of at least one partition.

LIFTING SYSTEM FOR WEIGHING A WIND TURBINE BLADE

NºPublicación:  WO2026012577A1 15/01/2026
Solicitante: 
LM WIND POWER AS [DK]
LM WIND POWER A/S
WO_2026012577_PA

Resumen de: WO2026012577A1

A root end lifting beam (50) for securing a root end (17) of a wind turbine blade (10) during a weighing operation, the root end lifting beam (50) comprising an elongated beam body (52) comprising a first end (54) and a second end (56), a first anchoring bracket (60,60') and a second anchoring bracket (62, 621), wherein the first anchoring bracket (60,60' ) is attached to the first end of the elongated beam body and the second anchoring bracket (62, 621) is attached to the second end of the elongated beam body, the first and second anchoring brackets being configured to attach to opposite sides of the root end (17) of the wind turbine blade, and a lifting point (72) located along the elongated beam body, the lifting point (72) being configured for allowing attachment thereto by a lifting hook (82) of a lifting apparatus, such as a crane or gantry.

SYSTEMS, METHODS, AND DEVICES FOR BLADE PITCH ADJUSTMENT

NºPublicación:  US20260015991A1 15/01/2026
Solicitante: 
KW WIND ENERGY LTD [CA]
KW WIND ENERGY LTD
US_20260015991_PA

Resumen de: US20260015991A1

Described herein are systems, devices, and methods for a blade pitch adjustment device, comprising: a hub connectible to a wind turbine, the hub engageable with at least one blade device each at a blade connection portion, each blade connection portion permitting adjustment of the pitch of the blade device. Each blade device can be rotatably engaged with the hub where the adjustment of the pitch of each blade device is by simultaneous rotation of each blade device.

WIND TURBINE ASSEMBLIES AND DEPLOYMENT METHODS

NºPublicación:  US20260015993A1 15/01/2026
Solicitante: 
KNIGHT JOHN R [US]
KNIGHT JONATHAN [US]
Knight John R,
Knight Jonathan
US_20260015993_PA

Resumen de: US20260015993A1

Wind energy assemblies and deployment methods are provided that include a telescoping mast, an energy conversion system, and a carriage assembly. The telescoping mast has a top and a bottom, a mast roller system, and a plurality of mast sections. At least one of the mast sections is an internal mast section, and at least one of the mast sections is an external mast section. The energy conversion system is mounted to the top of the telescoping mast and includes a steering system, a wind instrument mast, a drive assembly, a rotor hub, a disc brake, and a plurality of blades extending from the rotor hub. The carriage assembly supports the telescoping mast. The mast roller system enables the at least one internal mast section to be pulled out from the at least one external mast section, thereby facilitating extension of the telescoping mast. A hydraulic ram assembly may be provided to rotate the telescoping mast to a vertical position.

Suction Anchors and Their Methods of Manufacture

NºPublicación:  US20260015811A1 15/01/2026
Solicitante: 
RCAM TECH INC [US]
RCAM Technologies, Inc
US_20260015811_PA

Resumen de: US20260015811A1

In a general aspect, suction anchors are presented for securing structures to an underwater floor. The suction anchors include a tubular body formed at least in part of cementitious materials and having a closed end and an open end. The tubular body includes an edge defining an opening for the open end. The edge is configured to penetrate the underwater floor. The suction anchors also include a port configured to fluidly-couple a cavity within the tubular body to an exterior of the tubular body. The suction anchors additionally include a pad eye extending from an outer surface of the tubular body and configured to couple to a mooring line. In another aspect, methods of manufacturing the suction anchors are also presented.

ELECTROLYSIS SYSTEM

NºPublicación:  US20260015742A1 15/01/2026
Solicitante: 
SIEMENS ENERGY GLOBAL GMBH & CO KG [DE]
Siemens Energy Global GmbH & Co. KG
US_20260015742_PA

Resumen de: US20260015742A1

The invention relates to an electrolysis system including an electrolysis plant and a power supply source with a direct voltage output and including a central supply line, wherein the central supply line is connected to the direct voltage output of the power supply source such that a direct current can be fed to the central supply line, where a central DC high-performance strand designed for the direct voltage is provided, to which high-performance strand the electrolysis plant is connected via the central supply line, wherein at least the power supply source and the DC high-performance strand are designed as a network insulated from ground. The invention also relates to the use of an insulated DC network in an electrolysis system.

PROPELLER

NºPublicación:  US20260015071A1 15/01/2026
Solicitante: 
SHARROW ENG LLC [US]
Sharrow Engineering LLC
US_20260015071_PA

Resumen de: US20260015071A1

A propeller having a plurality of blades extending radially outward from a hub, the blades forming a loop. Each loop can have an intake portion, an exhaust portion and a tip portion extending radially outward from the hub and a gap between the intake root and the exhaust root.

SEMI-SUBMERSIBLE TRIMARAN FLOATING OFFSHORE WIND VESSEL WITH TURRET MOORING

NºPublicación:  US20260015065A1 15/01/2026
Solicitante: 
TRIVANE LTD [GB]
TRIVANE LTD
US_20260015065_PA

Resumen de: US20260015065A1

A floating structure (1) having three buoyant bodies (3,5,7) for supporting a horizontal axis wind turbine (6) and wind turbine tower (27). The floating structure (1) is provided with a geostationary mooring system that permits it to weathervane in order to head the wind turbine (6) into the wind, and has a wind turbine tower mount (29) for supporting the wind turbine tower (27). A central buoyant body (3) is located partially above water during assembly and tow out from port and is ballasted so that it is underwater when moored offshore, such that the floating structure (1) becomes a semi-submersible. The three buoyant bodies (3,5,7) are ship-shaped in form which reduces loads in the mooring system, and are made from stiffened flat plates, which are easier for many yards and fabrication shops to make, compared to cylindrical hulls.

Unbemanntes Luftfahrzeug für zerstörungsfreie Prüfungen und automatische Reparaturen von Windturbinenblättern

NºPublicación:  CH721962A2 15/01/2026
Solicitante: 
AEROTHECIRT [CH]
Aerothecirt
CH_721962_PA

Resumen de: CH721962A2

Die vorliegende Erfindung betrifft ein unbemanntes Luftfahrzeug, das für die zerstörungsfreie Prüfung und automatisierte Reparatur von Windturbinenblättern bestimmt ist. Das UAV RBIR 700 integriert mehrere fortschrittliche Technologien zur zerstörungsfreien Prüfung, darunter hochauflösende Sensoren zur photothermischen Infrarotspektroskopie, zur Phased-Array-Ultraschallprüfung, zur Mikrowellenbildgebung und zur hochauflösenden visuellen Prüfung sowie einen automatisierten Reparaturmechanismus. Diese innovative Lösung reduziert die Wartungskosten, erhöht die Sicherheit, erhöht die Turbinenverfügbarkeit und gewährleistet konsistente, qualitativ hochwertige Inspektionen und Reparaturen. (Figur 2)

Système de génération d'électricité comprenant une turbine comportant au moins un logement interne logeant au moins un générateur électrique

NºPublicación:  CH721949A2 15/01/2026
Solicitante: 
GEORGES MUGNIER [FR]
Georges Mugnier
CH_721949_PA

Resumen de: CH721949A2

L'invention concerne un système de génération d'électricité à turbine (2) comprenant: - une turbine (20) comportant au moins un logement interne (201, 202) délimité par des parois (200, 200') de la turbine, - deux générateurs électriques (21, 22) comprenant un stator (210, 220) et un rotor (211, 221), ledit au moins un logement interne (201, 202) de la turbine logeant ledit générateur électrique (21, 22) et la turbine (20) étant configurée pour entraîner un mouvement en rotation du rotor (211, 221) dudit générateur électrique (21, 22) de sorte que le générateur électrique (21, 22) génère de l'énergie alimentant un élément de stockage d'énergie (212, 222) à partir du mouvement de la turbine. L'invention vise à rendre le système de génération d'électricité (2) plus compact en intégrant un alternateur comme générateur électrique (21, 22) à l'intérieur d'une paroi latérale (200) de la turbine (20), ladite paroi latérale (200) pouvant porter des aubes ou ailettes sur sa surface externe. L'invention concernent également un moyen de locomotion, notamment un véhicule intégrant ledit système pour alimenter une batterie d'un moteur ou d'un dispositif embarqué.

WIND TURBINE ASSEMBLIES AND DEPLOYMENT METHODS

NºPublicación:  WO2026015252A1 15/01/2026
Solicitante: 
UPRISE ENERGY LLC [US]
UPRISE ENERGY, LLC
WO_2026015252_PA

Resumen de: WO2026015252A1

Wind energy assemblies and deployment methods are provided that include a telescoping mast, an energy conversion system, and a carriage assembly. The telescoping mast has a top and a bottom, a mast roller system, and a plurality of mast sections. At least one of the mast sections is an internal mast section, and at least one of the mast sections is an external mast section. The energy conversion system is mounted to the top of the telescoping mast and includes a steering system, a wind instrument mast, a drive assembly, a rotor hub, a disc brake, and a plurality of blades extending from the rotor hub. The carriage assembly supports the telescoping mast. The mast roller system enables the at least one internal mast section to be pulled out from the at least one external mast section, thereby facilitating extension of the telescoping mast. A hydraulic ram assembly may be provided to rotate the telescoping mast to a vertical position.

BLADE DEVICE FOR NEW RENEWABLE POWER GENERATION

NºPublicación:  WO2026014806A1 15/01/2026
Solicitante: 
KIM YONG SUK [KR]
\uAE40\uC6A9\uC11D
WO_2026014806_PA

Resumen de: WO2026014806A1

The present invention relates to a blade device for renewable power generation and, more specifically, to a blade device for renewable power generation, which comprises: a wheel hub connecting the upper end of a pair of support units disposed to be spaced from each other; a wheel rim unit having a plurality of spokes formed on both sides of the wheel hub along the circumference, and having a wheel formed to have an inner circumferential surface coupled to the end of the spokes; and a plurality of rotary blade units connected along the circumference of the wheel to be rotated by rotation of the wheel rim unit and wind power, thereby generating a current.

METHOD AND SYSTEM FOR GENERATING WIND POTENTIAL IN AN AIRFLOW PRODUCED BY THE FORCE OF WATER

NºPublicación:  WO2026012526A1 15/01/2026
Solicitante: 
VEJARANO FERNANDEZ RODRIGO [CO]
VEJARANO FERNANDEZ, Rodrigo
WO_2026012526_PA

Resumen de: WO2026012526A1

The aim of the invention is to supply kinetic energy in the form of an airflow as wind potential that can be used to move a wind turbine connected to an electric generator. The invention provides a system that generates wind potential by varying the height level of a liquid column, making use of the pressure exerted by the atmosphere on the top of the descending liquid column. In the same way, the pressure exerted by the top of the ascending liquid column on the atmosphere can be used.

CONCRETE TRANSITION SECTION AND PRODUCTION PROCESS THEREFOR, AND WIND TURBINE GENERATOR

NºPublicación:  WO2026012156A1 15/01/2026
Solicitante: 
SHANGHAI FENGLING RENEWABLES CO LTD [CN]
\u4E0A\u6D77\u98CE\u9886\u65B0\u80FD\u6E90\u6709\u9650\u516C\u53F8
WO_2026012156_PA

Resumen de: WO2026012156A1

A concrete transition section, comprising: a concrete cylinder (1), an upper anchor plate (2), a lower anchor plate (4) and anchor bolts (5). The upper anchor plate (2) is arranged on the top surface of the concrete cylinder (1); the lower anchor plate (4) is arranged on a variable cross section of the concrete cylinder (1); a plurality of upper anchor holes of the upper anchor plate (2), a plurality of main anchor holes of the concrete cylinder (1) and a plurality of lower anchor holes of the lower anchor plate (4) are communicated on a one-to-one basis, so as to allow the corresponding anchor bolts (5) to pass through; and the lower ends of the anchor bolts (5) are connected to the lower anchor plate (4), and the upper ends of the anchor bolts (5) are configured to be connected to a wind turbine nacelle (3). The concrete transition section can ensure the stability of the wind turbine nacelle. In addition, the cooperation of the concrete cylinder and the anchor bolts can ensure that the concrete transition section has certain compression resistance to bear the wind turbine nacelle, and have high safety performance. In addition, also involved are a production process for a concrete transition section and a wind turbine generator.

CONTROL METHOD AND APPARATUS FOR GRID-FORMING DOUBLY-FED WIND TURBINE GENERATOR, GENERATOR, AND MEDIUM

NºPublicación:  WO2026011606A1 15/01/2026
Solicitante: 
BEIJING GOLDWIND SCIENCE & CREATION WINDPOWER EQUIPMENT CO LTD [CN]
\u5317\u4EAC\u91D1\u98CE\u79D1\u521B\u98CE\u7535\u8BBE\u5907\u6709\u9650\u516C\u53F8
WO_2026011606_A1

Resumen de: WO2026011606A1

The present application relates to the technical field of wind power generation, and discloses a control method and apparatus for a grid-forming doubly-fed wind turbine generator, a generator, and a medium. In embodiments of the present application, a current reference value of a grid connection point is determined on the basis of measurement parameters of the grid connection point in combination with an internal potential parameter of a grid-forming doubly-fed wind turbine generator and a virtual impedance reference value, a voltage reference value of a grid-side converter is further determined on the basis of the current reference value of the grid connection point, and the grid-side converter is modulated on the basis of the voltage reference value, thereby implementing closed-loop control of the grid-side converter, such that a difference between an output voltage value and the voltage reference value of the grid-side converter is less than a preset threshold.

SYSTEMS, METHODS, AND DEVICES FOR BLADE PITCH ADJUSTMENT

NºPublicación:  WO2026011265A1 15/01/2026
Solicitante: 
KW WIND ENERGY LTD [CA]
KW WIND ENERGY LTD
WO_2026011265_PA

Resumen de: WO2026011265A1

Described herein are systems, devices, and methods for a blade pitch adjustment device, comprising: a hub connectible to a wind turbine, the hub engageable with at least one blade device each at a blade connection portion, each blade connection portion permitting adjustment of the pitch of the blade device. Each blade device can be rotatably engaged with the hub where the adjustment of the pitch of each blade device is by simultaneous rotation of each blade device.

Wind-powered computing buoy

NºPublicación:  AU2025283585A1 15/01/2026
Solicitante: 
LONE GULL HOLDINGS LTD
Lone Gull Holdings, Ltd
AU_2025283585_A1

Resumen de: AU2025283585A1

WIND-POWERED COMPUTING BUOY Disclosed is a novel type of computing apparatus which is integrated within a buoy that obtains the energy required to power its computing operations from winds that travel across the surface of the body of water on which the buoy floats. Additionally, these self-powered computing buoys utilize their close proximity to a body of water in order to significantly lower the cost and complexity of cooling their computing circuits. Computing tasks of an arbitrary nature are supported, as is the incorporation and/or utilization of computing circuits specialized for the execution of specific types of computing tasks. And, each buoy’s receipt of a computational task, and its return of a computational result, may be accomplished through the transmission of data across satellite links, fiber optic cables, LAN cables, radio, modulated light, microwaves, and/or any other channel, link, connection, and/or network. ec - e c

Reservoir-regulating digital load control

NºPublicación:  AU2025283459A1 15/01/2026
Solicitante: 
LONE GULL HOLDINGS LTD
Lone Gull Holdings, Ltd
AU_2025283459_A1

Resumen de: AU2025283459A1

Disclosed is a floating, self-regulating hydroelectric computer network comprising a water turbine, a hull adapted to float at a surface of a body of water and confine a water reservoir and impel a flow of pressurized water to the water turbine, an electrical generator operatively coupled to the water turbine, a power-conditioning module operatively connected to the electrical generator, an electrical load bus, a plurality of computers operatively connected to the power-conditioning module via the electrical load bus, a phased-array antenna operatively networked with the plurality of computers to transmit data from the plurality of computers to satellites, and a load manager configured to alter a rate of program execution of the plurality of computers. ec e c

USE OF COATING COMPOSITIONS FOR WIND TURBINE BLADES

NºPublicación:  AU2025279612A1 15/01/2026
Solicitante: 
HEMPEL AS
Hempel A/S
AU_2025279612_A1

Resumen de: AU2025279612A1

22280430_1 (GHMatters) P117839.AU.1 The present invention relates to coating compositions for wind turbine blades. The compositions are particularly useful as topcoats for wind blades and for Leading Edge Protection (LEP). The invention also relates to a wind blade coated with a coating composition of the invention and to a method for application of the coating composition and to a method for repairing and/or replacing the existing coating layer on a wind blade by application of a coating composition of the invention. The invention also relates to a kit of parts comprising the base composition and the curing agent used in the coating composition. The coating composition used for coating a wind blade comprises a base composition comprising a polyetheraspartic ester having the formula (I) below 10 wherein each R represents a linear or branched C1-C10 alkyl residue, such as a linear or branched C1- C6 alkyl residue, such as for example a methyl, ethyl, propyl or butyl residue; and wherein X is a polyether. The coating composition further comprises a curing agent. 15 (I) ec e c

POWER GENERATOR

NºPublicación:  AU2024384975A1 15/01/2026
Solicitante: 
MOUNTAIN N MEADOW HOLDINGS INC
MOUNTAIN N MEADOW HOLDINGS, INC
AU_2024384975_PA

Resumen de: AU2024384975A1

The present invention combines at least one power pod having at least one Permanent Magnet Power Generator in combination with the wind, water turbines/generators and solar panels into a self-sustaining package to provide enhanced power output with little impact on the environment. In alternative embodiments, a single electric motor having an internal dynamo powered by permanent magnets, whereby operation of the motor causes the dynamo to produce power. Alternatively, the pod may include a motor having an internal alternator having rotating field coils which are rotated as the motor rotates. In addition, a small direct current dynamo may be operated by rotation of the motor to supply the DC current to the rotating field coils. This construction allows the rotating motor to produce output energy in addition to providing the rotational horsepower to rotate a gen-set or the like.

CONCRETE SEGMENT OF AN UPPER CONCRETE SECTION OF A WIND TURBINE TOWER, MOULD CONFIGURED TO CAST SUCH A CONCRETE SEGMENT AND METHOD OF ASSEMBLING A WIND TURBINE COMPRISING SUCH A CONCRETE SEGMENT

NºPublicación:  AU2024312103A1 15/01/2026
Solicitante: 
NORDEX ENERGY SPAIN S A U
NORDEX ENERGY SPAIN, S.A.U
AU_2024312103_PA

Resumen de: AU2024312103A1

The object of the invention is a concrete segment of a section of a wind turbine tower which minimizes the undesirable local effects in the connection area between adjacent concrete sections, a section comprising at least two concrete segments, a set comprising two adjacent sections and a joint disposed between the two adjacent sections, a tower comprising at least one set, a mould configured to cast a concrete segment and a method of assembling a wind turbine.

SUPPORT STRUCTURE FOR AN OFFSHORE WIND TURBINE AND PROCESS TO INSTALL SAID SUPPORT STRUCTURE

NºPublicación:  AU2024314546A1 15/01/2026
Solicitante: 
TOTALENERGIES ONETECH
TOTALENERGIES ONETECH
AU_2024314546_PA

Resumen de: AU2024314546A1

The present invention relates to a support structure (1) for an offshore wind turbine, said support structure (1) comprising: - a first structure part (A) destined to be fixed to the seabed (Sb), said first structure part (A) comprising at least three dummy legs (3) distributed regularly on a first circle (X1) having as center a longitudinal axis (Y) of the support structure (1) and extending along said longitudinal axis (Y) of the support structure (1), said dummy legs (3) comprising a lower extremity (3a) designed to face the seabed (Sb) and an upper extremity (3b) opposed to the lower extremity (3a), the first structure part (A) also comprising at least three anchor devices (5) to the seabed (Sb) linked to the at least three dummy legs (3), - a second structure part (B) comprising at least three structure legs (4) comprising a lower extremity (Ba) facing the first structure part (A) and an upper extremity (Bb) configured to be placed above the sea level (Sl), wherein at least one anchor device (5) of the first structure part (A) is positioned angularly between two adjacent dummy legs (3) on a second circle (X2) having as center the longitudinal axis (Y) of the support structure (1), and wherein at least one of the dummy legs (3) of the first structure part (A) and/or of the structure legs of the second structure part (B) are at least partially filled with a solid ballast (10).

SET OF CONCRETE SEGMENTS OF ADJACENT SECTIONS OF A WIND TURBINE TOWER, AND METHOD OF ASSEMBLING A WIND TURBINE

NºPublicación:  AU2024312549A1 15/01/2026
Solicitante: 
NORDEX ENERGY SPAIN S A U
NORDEX ENERGY SPAIN, S.A.U
AU_2024312549_PA

Resumen de: AU2024312549A1

The object of the invention is a set of concrete segments of adjacent sections of a wind turbine tower which minimizes the undesirable local effects in the connection area of the upper concrete section and the adapter, and in the connection area of the upper concrete section and the section disposed immediately below, and also a set of sections comprising at least two concrete segments of the upper concrete section and at least two concrete segments of the section disposed immediately below, a tower comprising at least a set of sections and a method of assembling a wind turbine.

STEEL PLATE OF A CONCRETE SECTION OF A WIND TURBINE TOWER, SUBSET OF A WIND TURBINE TOWER, WIND TURBINE AND METHOD OF ASSEMBLING A WIND TURBINE TOWER

NºPublicación:  AU2024311360A1 15/01/2026
Solicitante: 
NORDEX ENERGY SPAIN S A U
NORDEX ENERGY SPAIN, S.A.U
AU_2024311360_PA

Resumen de: AU2024311360A1

The object of the invention is a steel plate of a section of a wind turbine tower which reinforces the upper part of the section of the tower of the wind turbine, and also a subset of a wind turbine tower comprising the steel plate, the wind turbine comprising the subset and a method of assembling of a wind turbine comprising the steel plate.

Elektroakustisches Messsystem und Verfahren zur Detektion und Dickenmessung von Eisbeladungen auf aerodynamischen Strukturen

NºPublicación:  DE102024119835A1 15/01/2026
Solicitante: 
CP MAX ROTORTECHNIK GMBH & CO KG [DE]
LEIBNIZ INST FUER FESTKOERPER UND WERKSTOFFFORSCHUNG DRESDEN E V IFW DRESDEN E V [DE]
cp.max Rotortechnik GmbH & Co.KG,
Leibniz-Institut f\u00FCr Festk\u00F6rper- und Werkstoffforschung Dresden e.V. (IFW Dresden e.V.)
DE_102024119835_PA

Resumen de: DE102024119835A1

Die Erfindung bezieht sich auf das technische Gebiet der Windkraftanlagentechnik und betrifft ein Messsystem zur Detektion und Dickenmessung von Eisbeladungen auf aerodynamischen Strukturen. Die Aufgabe besteht in der Angabe eines Messsystems zur Detektion und Dickenmessung von Eisbeladungen, das einfach, kabellos und energieautark ist und eine Detektion und Messung der Eisdicke auf aerodynamischen Strukturen ermöglicht. Zur Lösung der Aufgabe wird ein elektroakustisches Messsystem, umfassend mindestens eine elektromagnetische Wellen aussendende und empfangende Sende- und Empfangseinheit und mindestens eine auf und/oder in der aerodynamischen Struktur angeordnete Sensoreinheit, wobei die Sensoreinheit eine Antenne und ein akustisches Oberflächenwellenbauelement aufweist, das ein piezoelektrisches Substrat, eine aus mindestens einem Reflektorelement bestehende Reflektorstruktur und/oder mindestens eine interdigitale Reflektorstruktur, bestehend aus einem interdigitalen Reflektorelement, und eine auf dem piezoelektrischen Substrat angeordnete interdigitale Wandlerstruktur umfasst, wobei die Reflektorstruktur zur Oberfläche der aerodynamischen Struktur beabstandet angeordnet ist. Das elektroakustische Messsystem kann beispielsweise bei Rotorblättern von Windkraftanlagen eingesetzt werden.

Vertikal-Photovoltaik-System für Windräder

NºPublicación:  DE102024002299A1 15/01/2026
Solicitante: 
RAEBSCH HELMUTH [DE]
Raebsch, Helmuth
DE_102024002299_A1

Resumen de: DE102024002299A1

Ausrüstung von Windkraftanlagen mit einem Vertikal-Photovoltaik-System am Trägerkorpus mit partielloptimierender Ausrichtung.

LIGHTNING PROTECTION SYSTEM

NºPublicación:  WO2026012560A1 15/01/2026
Solicitante: 
VESTAS WIND SYSTEMS AS [DK]
VESTAS WIND SYSTEMS A/S
WO_2026012560_PA

Resumen de: WO2026012560A1

A method of manufacturing a lightning protection system for a wind turbine blade, the method comprising: providing a first metal layer; and constructing a metal reinforcing part directly onto the first metal layer using an additive manufacturing technique so as to create an electrical connection between the first metal layer and the metal reinforcing part, wherein a portion of the first metal layer extends laterally beyond the metal reinforcing part.

PARTIAL LOAD OPERATION USING WIND SENSING

NºPublicación:  WO2026012559A1 15/01/2026
Solicitante: 
VESTAS WIND SYSTEMS AS [DK]
VESTAS WIND SYSTEMS A/S
WO_2026012559_PA

Resumen de: WO2026012559A1

The present disclosure describes a wind turbine that considers upstream wind speed and delays in the wind turbine dynamics when operating in partial load. The wind turbine includes an electrical generator, a rotor, a wind sensor, and a controller. The controller measures, at a first time and using the wind sensor, a first speed of wind upstream of the rotor. The wind will reach the rotor at a second time after the first time. The controller determines a final speed of the rotor and a reference and dispatches, at a third time between the first time and the second time, the reference to the electrical generator to adjust a speed of the rotor towards the final speed. An amount of time between the third time and the second time is sufficient for the speed of the rotor to transition to the final speed by the second time.

DRONE ACCESS SYSTEM FOR WIND TURBINE

NºPublicación:  WO2026012558A1 15/01/2026
Solicitante: 
VESTAS WIND SYSTEMS AS [DK]
VESTAS WIND SYSTEMS A/S
WO_2026012558_PA

Resumen de: WO2026012558A1

UAV Wind Turbine Access System. Aspects of the present invention relate to a wind turbine system comprising a tower and a nacelle mounted to the tower, further comprising an access opening configured to permit access to an interior space of the wind turbine system, wherein the access opening has a computer-controlled access hatch, wherein the computer-controlled access hatch comprises: a movable hatch closure element that covers a hatch opening, an access control system configured to control the closure element between open and closed positions, wherein the controller is configured to be responsive to an access request message. A method of retrofitting the system and a method of allowing access to the wind turbine are also provided.

METHODS OF HOISTING WIND TURBINE BLADE REPAIR VEHICLES AND WIND TURBINE BLADE REPAIR VEHICLE HOISTING SYSTEMS

NºPublicación:  WO2026012557A1 15/01/2026
Solicitante: 
BLADEROBOTS AS [DK]
BLADEROBOTS A/S
WO_2026012557_PA

Resumen de: WO2026012557A1

A method of hoisting a robotic maintenance device (36) to a wind turbine blade (24) to repair the wind turbine blade (24) includes wrapping a rope (46) in a loop around a wind turbine blade (24) and positioning a repair vehicle assembly (38) beneath the loop. The repair vehicle assembly (38) includes a tool platform (42) for a robotic maintenance device (36) capable of repairing a wind turbine blade (24). The repair vehicle assembly (38) includes two winches (44) secured to the platform. The winches (44) are configured to receive the rope (46). The method includes operably coupling the rope (46) to the winches (44) and operating at least one winch (44) to wind in the rope (46). The repair vehicle assembly (38) is lifted toward the wind turbine blade (24). The method includes operating one winch (44) to wind in the rope (46) while operating the other winch (44) to let out the rope (46). The repair vehicle assembly (38) is moved around a circumference of the wind turbine blade (24) to be on the leading edge (32) of the blade (24).

CENTERING SLEEVE, CENTERING FASTENER, ROTOR BLADE OF A WIND TURBINE, AND METHOD OF MOUNTING A ROTOR BLADE TO A HUB OF A WIND TURBINE

NºPublicación:  WO2026012555A1 15/01/2026
Solicitante: 
VESTAS WIND SYSTEMS AS [DK]
VESTAS WIND SYSTEMS A/S
WO_2026012555_PA

Resumen de: WO2026012555A1

The present invention generally relates to a centering sleeve, a centering fastener with such a centering sleeve, a rotor blade of a wind turbine, and a method of mount- ing a rotor blade to a hub of a wind turbine using at least one such centering fastener In some illustrative embodiments herein, a centering sleeve 100 for a stud bolt of a rotor blade of a wind turbine is provided, wherein the centering sleeve comprises a cylindrically shaped sleeve body 101 formed of a material being softer than the stud bolt it is intended for use with.

WIND TURBINE GEARBOX AND METHOD OF MOUNTING A WIND TURBINE GEARBOX

NºPublicación:  WO2026012659A1 15/01/2026
Solicitante: 
SIEMENS GAMESA RENEWABLE ENERGY INNOVATION & TECH S L [ES]
SIEMENS GAMESA RENEWABLE ENERGY INNOVATION & TECHNOLOGY, S.L
WO_2026012659_PA

Resumen de: WO2026012659A1

The invention relates to wind turbine gearbox (7) for transmitting torque from a rotor (4) to a generator (9) comprising a planet carrier (20), at least three planet shafts (30), at least three planet wheels (40) mounted on the planet shafts (30), a hollow wheel (45) and at least three pairs of elastic elements (34), wherein the planet wheels (40) mesh with the hollow wheel (45). The pairs of elastic elements (34) are mounted in the planet carrier (20), and both ends of each planet shaft (30) are mounted in at least one elastic element (34) and each elastic element (34) is mounted in the planet carrier (20).

WIND POWER PLANT AND CONTROL METHOD THEREOF

NºPublicación:  US20260015992A1 15/01/2026
Solicitante: 
WINDFIN B V [NL]
WINDFIN B.V
US_20260015992_PA

Resumen de: US20260015992A1

Method for controlling a wind power plant for generating and delivering electrical energy to an electrical grid (2), the wind power plant (1) comprising a wind turbine (3) configured to be selectively connected to the electrical grid (2), the method comprising controlling the wind turbine (3) among a plurality of operational modes on the basis of different weather conditions.

浮体式洋上風力発電設備におけるコンクリート製浮体部の建造方法

NºPublicación:  JP2026003706A 14/01/2026
Solicitante: 
戸田建設株式会社
JP_2026003706_PA

Resumen de: WO2026004793A1

Problem To improve the efficiency of assembly work by saving labor required for tensioning and anchoring work of PC steel material in a method of constructing a concrete floating body. Solution PC steel materials 19 are sorted in advance into a group of PC steel rods 20 to be used for temporarily assembling precast cylindrical bodies in order, and a group of PC steel strands 23 to be used for introducing predetermined tension after completing temporary assembly of a concrete floating body. In a temporary assembly step of a concrete floating body 4A, the temporary assembly of the concrete floating body 4A is completed by assembling all precast cylindrical bodies 15 while introducing tension to the PC steel rods 20 and anchoring the group of PC rods 20, each time the precast cylindrical bodies 15 are connected sequentially, and installing a floating body bottom part 29 on the endmost part. In a tension introduction step, the PC steel strands 23 are inserted in the longitudinal direction over the entire length of the concrete floating body 4A, and introduction of tension to the PC steel strands 23 and anchoring are performed for the group of PC steel strands 23.

異常判定装置、異常判定システム、異常判定方法、及び異常判定プログラム

NºPublicación:  JP2026003754A 14/01/2026
Solicitante: 
JFEエンジニアリング株式会社
JP_2026003754_PA

Resumen de: JP2026003754A

【課題】風車ブレードの異常を判定するシステムを低コストで構築すること。【解決手段】異常判定装置4は、風車ブレードの異常を判定するプロセッサ43を備える。プロセッサ43は、風車ブレードを撮像することで生成された時系列で連続する複数の撮像画像を取得し、撮像画像内の風車ブレードにおける特定の位置を特定し、複数の撮像画像に対してそれぞれ特定された特定の位置に基づいて、周波数解析によって風車ブレードの固有振動数を算出し、固有振動数に基づいて、風車ブレードの異常を判定する。【選択図】図4

PACKING TABLE FOR MANUFACTURING OF A JOINING ADAPTER TO BE USED IN A METHOD FOR JOINING AN OUTBOARD BLADE SECTION TO AN INBOARD BLADE SECTION OF A LONGITUDINALLY SPLIT WIND TURBINE BLADE AND METHOD FOR MANUFACTURING OF A JOINING ADAPTER

NºPublicación:  EP4676705A1 14/01/2026
Solicitante: 
SIEMENS GAMESA RENEWABLE ENERGY AS [DK]
Siemens Gamesa Renewable Energy A/S
CN_121100049_PA

Resumen de: WO2024223204A1

Packing table for manufacturing of a joining adapter to be used in a method for joining an outboard blade section to an inboard blade section of a longitudinally split wind turbine blade and method for manufacturing of a joining adapter The packing table (1) comprises a three dimensionally shaped material layup surface (11) having a shape that corresponds to an inner contour of respective joining interfaces (311,321) of the blade sections (31,32) to be joined and has a center plane (C) oriented normally with respect to a longi¬ tudinal axis (L) of the wind turbine blade, wherein an axial position of the center plane (C) corresponds to a center of the joining zone (3). The shape of an inboard portion (111) of the material layup surface (11) corresponds with an inner contour of the joining interface (311) of the inboard blade section (31) and the shape of an outboard portion (112) of the material layup surface (11) corresponds with an inner contour of the joining interface (321) of the outboard blade section (32 ). The packing table (1) according to the invention allows to provide a process optimization in the manufacturing of a joining adapter (2) and thus facilitates the joining of blade sections (31,32) of longitudinally split wind turbine blades.

FLOATING PLATFORM

NºPublicación:  EP4678528A1 14/01/2026
Solicitante: 
GAZELLE WIND POWER LTD [IE]
GAZELLE WIND POWER LIMITED
EP_4678528_PA

Resumen de: EP4678528A1

A floating platform (1) comprising a pedestal frame (100) configured to serve as a support for a structure, wherein the pedestal frame (100) is attached to a bottom plate (200) by means of a plurality of pillars (300) such that, in operating condition, the pedestal frame (100) is supported by the bottom plate (200) by means of the pillars (300), wherein the floating platform (1) comprises a plurality of immersion floats (400) projecting from the bottom plate (200) to an intermediate distance between the bottom plate (200) and the maximum height above the bottom plate (200) of the pillars (300). It also includes a geometry that allows the platform to be manufactured exclusively with flat panels.

PERFORMANCE TESTING OF A POWER PLANT DEVICE

NºPublicación:  EP4677223A1 14/01/2026
Solicitante: 
SIEMENS GAMESA RENEWABLE ENERGY AS [DK]
Siemens Gamesa Renewable Energy A/S
WO_2024230990_PA

Resumen de: WO2024230990A1

A method of testing a power plant device (2) in a power plant (1), the power plant (1) comprising the power plant device (2) and one or more wind turbines (3) configured to electrically connect to the power plant device (2), the power plant (1) suitable for connecting to an electrical grid (G) external to the power plant (1), the method comprising: a) generating a voltage by the one or more wind turbines (3) in a condition where the power plant (1) is disconnected from the electrical grid (G); b) controlling the generated voltage by the one or more wind turbines (3) to emulate one or more grid conditions at the power plant device (2); and c) measuring the performance of the power plant device (2) under the one or more emulated grid conditions in a condition where the one or more wind turbines (3) are electrically connected to the power plant device (2) and the power plant (1) is disconnected from the electrical grid (G).

MACHINE FOR CUTTING FABRIC

NºPublicación:  EP4676702A1 14/01/2026
Solicitante: 
MORGAN TECNICA S P A [IT]
Morgan Tecnica S.p.A
CN_120835822_PA

Resumen de: MX2025009976A

Machine (1 ) for automatic cutting of fabric comprising: - a cutting plane (7) at an upper face (8) of a box (3) and comprising a plurality of pass- through openings; - a suction system (9) for drawing air from the interior (4) of the box; - a turbine (30) located downstream of the suction system and structured to extract energy from the exhaust air flow generated by the suction system and convert it into rotational mechanical energy; - an electric generator (40) mechanically coupled to the turbine (30) and structured to convert the rotational mechanical energy of the turbine into electrical energy.

FLOW DEVICE, WHICH IS EXTERNALLY OR PASSIVELY POWERED, FOR A LIQUID OR GASEOUS MEDIUM, COMPRISING AN IMPELLER WHICH IS MOUNTED IN A HOUSING AND THROUGH WHICH THE MEDIUM CAN FLOW IN THE AXIAL DIRECTION, AND USE OF SUCH A FLOW DEVICE

NºPublicación:  EP4677232A1 14/01/2026
Solicitante: 
VANIER STEPHANE [DE]
Vanier, St\u00E9phane
WO_2024165109_A1

Resumen de: WO2024165109A1

The invention relates to a flow device, which is externally or passively powered, for a liquid or gaseous medium, consisting of a housing that is equipped with an impeller through which the medium can flow in the axial direction. The impeller can be rotated by an external drive or by the medium, wherein the impeller comprises an annular body with impeller vanes, said annular body being supported in the housing on the outer circumference of the annular body and having an axially central passage. A swirl combined with a pressure gradient which increases from the outer circumference to the axially central passage of the impeller is applied to the medium.

ADJUSTABLE BUSBAR SUPPORT DEVICE, METHOD AND WIND TURBINE GENERATOR

NºPublicación:  EP4677707A1 14/01/2026
Solicitante: 
SIEMENS GAMESA RENEWABLE ENERGY AS [DK]
Siemens Gamesa Renewable Energy A/S
CN_121153181_PA

Resumen de: WO2024183939A1

Adjustable busbar support device (1) for supporting at least one busbar (2), comprising: • at least one adjustable busbar support (3) with a receiving section (9) configured to support a busbar (2), wherein a width of the receiving section (9) is adjustable in a width direction (100) of the busbar cross section; and • an adjustable frame (4) to support all busbar supports (3), wherein the frame (4) comprises a top plate (5) and a bottom plate (6) extending in the width direction (100), and lateral fastening members (7, 8) extending in a thickness direction (200) and mechanically connecting the top plate (5) and the bottom plate (6), wherein all busbar supports (3) are mechanically connected to and between the top plate (5) and the bottom plate (6) by means of the fastening members (7, 8), wherein the frame (4) comprises adjustment means to adjust the lateral position of at least one of the fastening members (8) and therewith the width of the receiving section (9) of all busbar supports (3).

POWER PLANT WITH VERTICAL AXIS WIND TURBINES

NºPublicación:  EP4677216A1 14/01/2026
Solicitante: 
ENERGYPIER AG [CH]
Energypier AG
WO_2024184746_PA

Resumen de: WO2024184746A1

The invention concerns a power plant with vertical axis wind turbines. Said vertical axis wind turbines (10) (VAWT) comprise a rotor (15) with rotating blades (16), mounted on a main shaft (14), said main shaft (14) defining a lower end (14a) and an upper end, the lower end (14a) of the main shaft (14) being attached to a base structure (17), said base structure (17) being anchored through a foundation (12'). According to the invention, the power plant (100) further comprises a civil engineering work (20) and a mechanical attachment (18) between the upper end (14b) of the main shaft (14) and a portion of the civil engineering work.

IMPROVEMENTS RELATING TO COOLING OF ELECTRICAL GENERATORS IN WIND TURBINES

NºPublicación:  EP4679682A2 14/01/2026
Solicitante: 
VESTAS WIND SYS AS [DK]
VESTAS WIND SYSTEMS A/S
EP_4679682_PA

Resumen de: EP4679682A2

In a first aspect of the invention there is provided a generator for a wind turbine defining a central generator axis. The generator comprises a stator support frame and an environmental conditioning module removably attached to the stator support frame. The environmental conditioning module comprises a heat exchanger and an air mover supported by a module housing. The environmental conditioning module further comprises fluid interface connections associated with the heat exchanger, the fluid interface connections being releaseably connectable to a fluid supply system associated with the heat exchanger, and electrical interface connections associated with the air blower, the electrical interface connections being releaseably connectable to an electrical supply system associated with the air mover.

PORTABLE BLADELESS FAN

NºPublicación:  EP4678922A2 14/01/2026
Solicitante: 
SHENZHEN JISU TECH CO LTD [CN]
Shenzhen Jisu Technology Co., Ltd
EP_4678922_A2

Resumen de: EP4678922A2

A portable fan, including: a housing, having an air inlet portion at a rear side of the housing and an air outlet portion at a front side of the housing, wherein the air inlet portion and the air outlet portion are fluidly connected with each other inside the housing; a mix-flow fan, arranged inside the housing and configured to rotate about a rotation shaft to generate an airflow; a booster, arranged inside the housing and surrounding a periphery of the mix-flow fan; wherein the booster has a booster surface facing towards the mix-flow fan; and along a direction from the air inlet portion to the air outlet portion of the housing, the booster surface is extending curved.

ESTIMATING VELOCITY IN A FORE-AFT DIRECTION OF A TOP OF A WIND TURBINE TOWER BASED ON BLADE FLAP LOADS

NºPublicación:  EP4677219A1 14/01/2026
Solicitante: 
VESTAS WIND SYS AS [DK]
VESTAS WIND SYSTEMS A/S
CN_121057889_PA

Resumen de: WO2024183868A1

The invention estimates a velocity of a top of a tower of a wind turbine that has a rotor and a plurality of rotor blades. The invention involves obtaining a measured acceleration indicative of tower top acceleration in the fore-aft direction. The invention involves obtaining an estimated thrust force experienced by the rotor, and providing this estimate as input to a defined observer model describing motion of the tower top. The invention involves determining an error based on a difference between the measured acceleration and an estimated acceleration obtained using the observer model, and providing the error as input to the observer model as part of a feedback loop. The invention involves estimating, using the observer model, velocity of the tower top in the fore-aft direction. The estimated thrust force is obtained based on measured flap loading on the rotor blades.

METHOD FOR THE MASS PRODUCTION OF FLOATS FOR OFFSHORE WIND TURBINES

NºPublicación:  EP4676826A1 14/01/2026
Solicitante: 
SAIPEM SA [FR]
SAIPEM S.A
KR_20250155585_PA

Resumen de: CN120731167A

The invention relates to a method for the large-scale production of floats (2) for offshore wind turbines, each float being formed by the assembly of two to six steel unit giant blocks (B-1, B-2), the method comprising, in order: manufacturing the giant blocks on a dedicated building surface; transporting the giant blocks from the building surface by marine shipping and storing the giant blocks in a storage area (Z-1, Z-2) of a production surface (10) different from the building surface, the same giant blocks being stored on the same storage area; and a final pipelined manufacturing of the floats, comprising, for each float, the following steps in sequence: a step of preparing the giant blocks, a step of assembling and preliminarily welding the giant blocks together in an assembly and preliminary welding zone (Z-3), and a step of assembling and preliminarily welding the giant blocks together in the assembly and preliminary welding zone (Z-3). The assembly and preliminary welding area (Z-3) is different from and adjacent to the storage area, followed by a step of final welding of the giant blocks together in a final welding area (Z-4), and followed by a step of completing the float in a completion area (Z-5), wherein the floating giant blocks and floats move between different regions according to translational motion during manufacturing.

COUNTERWEIGHT FOR SEMI-SUBMERSIBLE FLOAT OF OFFSHORE WIND TURBINE AND INSTALLATION METHOD THEREFOR

NºPublicación:  EP4677222A1 14/01/2026
Solicitante: 
SAIPEM SA [FR]
SAIPEM S.A
KR_20250153848_PA

Resumen de: WO2024184604A1

The invention relates to a counterweight (2) for a semi-submersible float of an offshore wind turbine, which can be configured to be in a sinking state or a floating state, comprising a counterweight main structure (4) made of a material making it sink when immersed in water, and a plurality of airbags (6, 6') detachably attached to the main structure so as to make the counterweight float when the airbags are inflated. The invention also relates to a method for installing such a counterweight.

ELONGATE STRUCTURE AND CONSTRUCTION/ASSEMBLY METHOD

NºPublicación:  EP4677220A1 14/01/2026
Solicitante: 
OSBIT LTD [GB]
Osbit Limited
KR_20250160159_PA

Resumen de: WO2024184625A1

Apparatus and a method of providing a wind turbine (WT) are disclosed. The method comprises the steps of: at a lift position location, erecting a wind turbine portion that comprises at least one elongate tower and a nacelle member on an upper end region of the elongate tower and at least one blade member, by providing a lower tower section at the lift position location, lifting the lower tower section vertically via at least one lift support thereby providing a lifted tower section, urging at least one incoming further tower section to the lift position location, to a position under a preceding tower section, and securing a top region of the incoming further tower section to a lower region of a lifted preceding tower section; whereby lifting tower sections comprises providing tower sections, one-by-one, to the lift position location that is at a desired position proximate to at least one lift support, gripping an incoming tower section via at least one lift beam mounted on respective climber elements movable with respect to each lift support, and via the climber elements raising the gripped tower section upwards to a raised position.

GAIN-ADJUSTED COLLECTIVE PITCH CONTROL FOR REDUCING FORE-AFT OSCILLATION AMPLITUDE OF A WIND TURBINE TOWER

NºPublicación:  EP4677218A1 14/01/2026
Solicitante: 
VESTAS WIND SYS AS [DK]
VESTAS WIND SYSTEMS A/S
CN_121127675_PA

Resumen de: WO2024183867A1

The invention relates to controlling a wind turbine that has a tower and a rotor with a plurality of pitch-adjustable rotor blades. The invention involves obtaining a thrust force signal indicative of an estimation of thrust force experienced by the rotor, and obtaining a collective pitch offset signal for reducing oscillation of a top of the tower in a fore-aft direction of the wind turbine. The invention involves determining a gain based on the thrust force signal, applying the gain to the collective pitch offset signal to obtain a gain-adjusted collective pitch offset signal, and controlling the rotor blades in accordance with the gain- adjusted collective pitch offset signal.

WIND TURBINE SPINNING RESERVE WITH SELECTABLE CONFIDENCE LEVEL

NºPublicación:  EP4678909A1 14/01/2026
Solicitante: 
VESTAS WIND SYS AS [DK]
VESTAS WIND SYSTEMS A/S
EP_4678909_PA

Resumen de: EP4678909A1

Control techniques for controlling a reliability of a spinning reserve of a wind turbine to be tailored to a user's reliability preference are disclosed. In one aspect, a control technique includes operating a wind turbine in a spinning reserve mode to provide a spinning reserve; calculating an available power of the wind turbine when operating in the spinning reserve mode; defining a reliability band around the calculated available power; selecting a reliability factor that defines a probability that a reliable available power within the reliability band is below the real available power; determining the reliable available power based on the selected reliability factor and the reliability band; determining a power setpoint for the wind turbine based on a difference between a desired spinning reserve and the determined reliable available power; and controlling the wind turbine to operate in the spinning reserve mode in accordance with the power setpoint.

CONTROL OF A MULTI WINDING SET GENERATOR

NºPublicación:  EP4677737A1 14/01/2026
Solicitante: 
SIEMENS GAMESA RENEWABLE ENERGY AS [DK]
Siemens Gamesa Renewable Energy A/S
CN_121312057_PA

Resumen de: WO2025233054A1

It is described a method of controlling a generator (116) having a multi-stator-segment stator (101) comprising a first stator-segment (102a, S1) having a first multi phase winding set (104) and at least one second stator-segment (103a, S1) having least one second multi phase winding set (105), the method comprising: receiving first input signals (118_1) indicating an operation point of the first winding set (104); receiving second input signals (118_ 2) indicating an operation point of the second winding set (105); determining a first harmonic reference current (120_1) of at least one harmonic based on the first input signals; determining a second harmonic reference current (120_ 2) of at least one harmonic based on the second input signals; controlling the first winding set (104) based on the first harmonic reference current (120_1); controlling the second winding set (105) based on the second harmonic reference current (120_ 2).

MOUNTING DEVICE, MOUNTING SYSTEM AND MOUNTING METHOD FOR VORTEX GENERATORS

NºPublicación:  EP4676683A1 14/01/2026
Solicitante: 
SIEMENS GAMESA RENEWABLE ENERGY AS [DK]
Siemens Gamesa Renewable Energy A/S
WO_2024212199_PA

Resumen de: WO2024212199A1

The invention relates to a mounting device, a mounting system and a mounting method for vortex generators. The mounting device comprises: a mounting template having, a pressing surface, and two lateral surfaces located on both sides of the pressing surface; a plurality of annular seals attached to the two lateral surfaces, the annular seals being configured to abut against the surface of the blade during mounting the vortex generators, so as to form a plurality of closed chambers among the two lateral surfaces, the annular seals and the surface of the blade; and a pressure source device connected to the chambers, and configured to apply vacuum pressure into the chambers during mounting the vortex generators such that the pressing surface presses the base plates against the surface of the blade, so as to adhere the base plates onto the surface of the blade.

MOUNTING DEVICE, MOUNTING SYSTEM AND MOUNTING METHOD FOR VORTEX GENERATORS

NºPublicación:  EP4676682A1 14/01/2026
Solicitante: 
SIEMENS GAMESA RENEWABLE ENERGY AS [DK]
Siemens Gamesa Renewable Energy A/S
WO_2024212198_PA

Resumen de: WO2024212198A1

The invention relates to a mounting device, a mounting system and a mounting method for vortex generators. The mounting device comprises: a mounting template, on a bottom surface, having a pressing surface for abutting against the base plates of the vortex generators and applying compressive force to the base plates, and an annular surface surrounding the pressing surface, cavities being formed in the pressing surface to receive fins of the vortex generators; an annular seal attached to the annular surface with the annular seal surrounding and spaced apart from the pressing surface, and configured to abut against the surface of the blade during mounting the vortex generators such that a closed annular chamber surrounding the pressing surface and the base plates is formed among the annular surface, the annular seal and the surface of the blade; a pressure source device connected to the annular chamber via a pressure port located on the annular surface, and configured to apply vacuum pressure into the annular chamber such that the pressing surface presses the base plate against the surface of the blade, so as to adhere the base plate onto the surface of the blade.

WIND TURBINE GEARBOX AND METHOD OF MOUNTING A WIND TURBINE GEARBOX

NºPublicación:  EP4678910A1 14/01/2026
Solicitante: 
SIEMENS GAMESA RENEWABLE ENERGY INNOVATION & TECHNOLOGY SL [ES]
Siemens Gamesa Renewable Energy Innovation & Technology S.L
EP_4678910_PA

Resumen de: EP4678910A1

The invention relates to a wind turbine gearbox (7), for transmitting torque from a rotor (4) to a generator (9), comprising a planet carrier (20), at least three planet shafts (34) comprising a fixed side (36) and a free side (37),at least three planet wheels (40) mounted on the planet shafts (34), and a hollow wheel (45) of at least 1.8m in diameter, wherein the planet wheels (40) mesh with the hollow wheel (45). The planet carrier (20) comprises a first part (22) and a second part (23) connected to each other. According to the invention, the fixed side (36) of each planet shaft (34) is fixed to the first part (22) of the planet carrier (20) by a rigid connection.

WIND TURBINE GEARBOX AND METHOD OF MOUNTING A WIND TURBINE GEARBOX

NºPublicación:  EP4678911A1 14/01/2026
Solicitante: 
SIEMENS GAMESA RENEWABLE ENERGY INNOVATION & TECHNOLOGY SL [ES]
Siemens Gamesa Renewable Energy Innovation & Technology S.L
EP_4678911_PA

Resumen de: EP4678911A1

The invention relates to wind turbine gearbox (7) for transmitting torque from a rotor (4) to a generator (9) comprising a planet carrier (20), at least three planet shafts (30), at least three planet wheels (40) mounted on the planet shafts (30), a hollow wheel (45) and at least three pairs of elastic elements (34), wherein the planet wheels (40) mesh with the hollow wheel (45). The pairs of elastic elements (34) are mounted in the planet carrier (20), and both ends of each planet shaft (30) are mounted in at least one elastic element (34) and each elastic element (34) is mounted in the planet carrier (20).

CONDITION MONITORING ARRANGEMENT

NºPublicación:  EP4679052A1 14/01/2026
Solicitante: 
SIEMENS GAMESA RENEWABLE ENERGY AS [DK]
Siemens Gamesa Renewable Energy A/S
EP_4679052_PA

Resumen de: EP4679052A1

The invention describes a method of monitoring the condition of a fluid-film bearing (20) arranged to support the generator of a direct-drive wind turbine (2), which method comprises providing a hydrophone (10) configured to convert acoustic noise to an output signal (10D); immersing the hydrophone (10) in the lubricating fluid (205) of the fluid-film bearing (20); providing access to the hydrophone output signal (10D) at the exterior of the fluid-film bearing (20); and evaluating the hydrophone output signal (10D) to determine the condition of the fluid-film bearing (20). The invention further describes a condition monitoring arrangement (1) of a fluid-film bearing (20); and a direct-drive wind turbine (2) comprising a fluid-film bearing (20) and such a condition monitoring arrangement (1).

MONITORING THE OPERATION OF A WIND TURBINE

NºPublicación:  EP4677224A1 14/01/2026
Solicitante: 
SIEMENS GAMESA RENEWABLE ENERGY AS [DK]
Siemens Gamesa Renewable Energy A/S
WO_2024236105_PA

Resumen de: WO2024236105A1

A method of monitoring an operation of a wind turbine is provided. The wind turbine (100) is an upgraded wind turbine that comprises at least one performance enhancing upgrade (90) that increases the energy production of the wind turbine (100) compared to the wind turbine without the performance enhancing upgrade (90). The method monitors an additional active power output (dP) of the upgraded wind turbine (100) that is caused by the performance enhancing upgrade (90), wherein the monitoring compares an active power output (Pmeas) of the upgraded wind turbine (100) to an estimated active power output (Pest) of a reference wind turbine that corresponds to the upgraded wind turbine without the at least one performance enhancing upgrade (90).

FILM APPLICATION METHOD FOR LARGE WIND TURBINE BLADES, AND DEVICE

NºPublicación:  EP4676714A1 14/01/2026
Solicitante: 
SIEMENS GAMESA RENEWABLE ENERGY AS [DK]
Siemens Gamesa Renewable Energy A/S
CN_121263293_PA

Resumen de: WO2024240510A1

Method for applying a film (3) to an outer surface (2) of a wind turbine blade (1) or an inner surface of a casting mold for a wind turbine blade (1), the method comprising: providing a wind turbine blade (1) or a casting mold for a wind turbine blade (1); providing a film (3) on a film roll (8); applying the film (3) from the film roll (8) to the out- er surface (2) of the wind turbine blade (1) or to an inner surface of the casting mold for the wind turbine blade (1); smoothening the applied film (3).

METHOD FOR PRODUCING AT LEAST A PART OF A ROOT OF A WIND TURBINE ROTOR BLADE, ROOT OF A WIND TURBINE ROTOR BLADE, AND WIND TURBINE ROTOR BLADE

NºPublicación:  EP4676730A1 14/01/2026
Solicitante: 
SIEMENS GAMESA RENEWABLE ENERGY AS [DK]
Siemens Gamesa Renewable Energy A/S
CN_121079195_PA

Resumen de: WO2024231153A1

Method for producing at least a part of a root of a wind turbine rotor blade, wherein at least two precast root segments (1, 2, 3) are arranged next to each other and at least one layer of a reinforcement fabric (12, 13) is arranged at an outside (8) and at an inside (7) of the root segments (1, 2, 3), respectively, which reinforcement layers (12, 13) bridge a gap (6) between two neighbouring root segments (1, 2, 3), whereafter a resin (14) is applied for embedding the reinforcement layers (12, 13) and for filling the gap (6), which resin (14) is cured, wherein for providing a reinforcement means (9) in the final root (11), a preformed reinforcement element (10), which is permeable for the resin (14) and which comprises several fiber mats (15) is arranged in the gap (6) and is embedded in the resin (14) penetrating through the reinforcement element (10).

POWER TRAIN PORTION OF A WIND TURBINE

NºPublicación:  EP4677221A1 14/01/2026
Solicitante: 
SIEMENS GAMESA RENEWABLE ENERGY AS [DK]
Siemens Gamesa Renewable Energy A/S
CN_121195113_PA

Resumen de: WO2024245661A1

It is described a power train portion (1) of a wind turbine (26), comprising: an electrical generator (5) including: a stator (6) having plural teeth (7) with slots (8) in between and having at least one multiphase stator winding set at least partly arranged in the slots (8) forming plural coils (10a, 10b, 10c); a rotor (11) having plural permanent magnets (12a, 12b, 12c) mounted and being rotatably supported relative to the stator (6); a hub (28) with plural mounting sites (32) for plural rotor blades (29), the hub (28) being coupled to the rotor (11), wherein when the hub (28) is rotated to at least one predetermined azimuthal position, oonnee (10a) of the coils (10a, b, c) and one (12a) of the magnets (12a, b,c) have a predetermined circumferential relative position (23a, 23b, 23c,... ).

METHOD FOR RETROFITTING SECURING MEANS FOR SECURING MOUNTING INSERTS EMBEDDED IN A ROOT OF WIND TURBINE BLADE

NºPublicación:  EP4677215A1 14/01/2026
Solicitante: 
SIEMENS GAMESA RENEWABLE ENERGY INNOVATION & TECHNOLOGY SL [ES]
Siemens Gamesa Renewable Energy Innovation & Technology S.L
CN_121241198_PA

Resumen de: WO2024230995A1

Method for retrofitting securing means for securing mounting inserts (14) embedded in a root (5) of a wind turbine blade (4), which mounting inserts (14) each comprise at least one stud (16) extending axially from the root (5), wherein the blade (4) being installed at a hub (2) of a wind turbine (1), characterized by the steps: - drilling at least one hole (19, 20, 21, 24, 25, 26) perpendicular to the mounting insert (14) from at least one root surface (7, 23), until the hole (19, 20, 21, 24, 25, 26) extends into or through the mounting insert (14) - threading the hole (19, 20, 21, 24, 25, 26) at least in the region where the hole extends into or through the mounting insert to adapt it for receiving a threaded bolt (38) - arranging a reinforcement plate (27) at the root surface (7, 23), which reinforcement plate comprises at least one opening (28, 29, 30) which corresponds with the hole (19, 20, 21, 24, 25, 26) - arranging the threaded bolt (38) through the opening (28, 29, 30) and screwing the bolt (38) into the threaded hole (19, 20, 21, 24, 25, 26) for fixating insert (14) to the plate (27).

INFUSION ASSEMBLY

NºPublicación:  EP4676722A1 14/01/2026
Solicitante: 
SIEMENS GAMESA RENEWABLE ENERGY AS [DK]
Siemens Gamesa Renewable Energy A/S
CN_121263296_PA

Resumen de: TW202502519A

The invention describes an infusion assembly (1) for forming a resin-infused joint between two hollow elongate precast sections (21, 22), comprising an outer vacuum arrangement comprising an outer vacuum bag (11) adapted to be attached to the exterior surfaces of the precast sections (21, 22); an inner vacuum arrangement comprising an inner vacuum bag (12) adapted to be attached to the interior surfaces of the precast sections (21, 22); and an overpressure arrangement comprising a pressurized air supply (15) and one or more inflatable bags (14, 141, 142) configured to exert an overpressure (Pover) against the inner vacuum bag (12) during a resin infusion procedure. The invention further describes a method of connecting precast sections (21, 22) of a wind turbine rotor blade using such an infusion assembly (1).

FLOATING PLATFORMS THAT INCLUDE VERTICALLY ARRANGED MOORING SYSTEMS

NºPublicación:  EP4676821A1 14/01/2026
Solicitante: 
MODEC INT INC [US]
Modec International Inc
KR_20250160349_PA

Resumen de: WO2024186911A1

Offshore floating platform systems and processes for mooring same, In some embodiments, the offshore floating platform system can include a hull structure configured to float on a surface of a body of water, one or more anchors configured to be secured to a seabed, and one or more mooring lines configured to be connected to the hull structure at a first end thereof and to the anchor at a second end thereof. When the one or more anchors are secured to the seabed and the one or more mooring lines are connected to the hull structure and a corresponding anchor, the mooring lines can be substantially vertical and a peak response period of the offshore floating platform system in a pitch or a roll direction can be greater than a peak spectral period of a wave spectrum on the surface of the body of water.

OPERATION OF A WIND TURBINE

NºPublicación:  EP4677217A1 14/01/2026
Solicitante: 
GENERAL ELECTRIC RENOVABLES ESPANA SL [ES]
General Electric Renovables Espa\u00F1a S.L
KR_20250159651_PA

Resumen de: CN120752433A

The invention relates to a method for determining a thrust limit for a wind turbine and a method for operating a wind turbine. A method includes determining an operating state of a blade load monitoring system of a wind turbine. In addition, the method includes adjusting a thrust threshold of the wind turbine based at least in part on the operating condition of the blade monitoring system. Further, the method includes operating the wind turbine such that a thrust load on a rotor of the wind turbine is maintained at or below the adjusted thrust threshold. A control system adapted to maintain a thrust load at or below a thrust threshold and a wind turbine comprising such a control system are also provided.

一种多场景适应型叶片与轮毂快速对接装置

NºPublicación:  CN121322307A 13/01/2026
Solicitante: 
中国电建集团贵州工程有限公司
CN_121322307_PA

Resumen de: CN121322307A

本发明涉及风电塔筒安装技术领域,尤其是一种多场景适应型叶片与轮毂快速对接装置,由起吊机构和防摆机构组成,所述起吊机构用于起吊叶片,以及配合所述防摆机构驱使所述叶片与轮毂进行对接;其中,在所述轮毂的安装端可拆卸连接有导向结构,所述轮毂通过所述导向结构与所述叶片快速对接;所述防摆机构包括移动架,所述移动架设置在所述叶片的下方,在所述移动架的载面安装有卷扬组件,以及位于卷扬组件两侧还安装有支撑组件,一方面能够提高叶片悬空时的稳定性,使叶片在无风或者有风的作业环境中都能够保持良好的稳定性,在防摆机构的牵引下,能够配合导向件加快螺杆与连接孔之间对接的准确性。

可折叠叶片的海上漂浮式风机

NºPublicación:  CN121322289A 13/01/2026
Solicitante: 
哈尔滨工业大学(深圳)(哈尔滨工业大学深圳科技创新研究院)国网山东省电力公司经济技术研究院
CN_121322289_PA

Resumen de: CN121322289A

本发明涉及一种可折叠叶片的海上漂浮式风机,属于海上漂浮式风机技术领域,包括:轮毂,所述轮毂安装有的三个风机叶片;所述风机叶片,包括以轮毂轴线为轴线圆周均匀分布和三个风机叶片处同一角度重叠的两种状态;所述以轮毂轴线为轴线圆周均匀分布状态到三个风机叶片处同一角度重叠状态通过风机叶片重力作为驱动力。利用重力驱动的被动折叠原理,避免了复杂的主动驱动机构,降低系统复杂度,同时缩短响应时间,使风机在极端工况下能够快速收拢叶片,减少漂浮基础和塔架的倾覆风险,降低运行维护成本。

A LIFTING DEVICE

NºPublicación:  FI20245881A1 13/01/2026
Solicitante: 
NORSEPOWER OY LTD [FI]
Norsepower Oy Ltd
FI_20245881_PA

Resumen de: FI20245881A1

Disclosed is a lifting device (100) for hoisting and lowering a wind propulsion device. The wind propulsion device comprises an internal part (120) and an external part (130). The lifting device comprises: a guide piece (102) positioned at an end of the wind propulsion device for distributing forces when the wind propulsion device is hoisted or lowered, the guide piece having a first side (104) in contact with the end of the wind propulsion device, a second side (106), and an opening (108) in the guide piece; and a lifting means (110), adapted to pass through said opening (108) and detachably attachable to the internal part of the wind propulsion device for hoisting or lowering the wind propulsion device, characterized in that the lifting means comprises at least one branch (112) by use of which the lifting means is attached to the wind propulsion device.

Metodo y sistema generador de potencial eólico en flujo de aire conseguido por empuje de agua

NºPublicación:  CO2024009118A1 13/01/2026
Solicitante: 
VEJARANO FERNANDEZ RODRIGO [CO]
Vejarano Fernandez, Rodrigo

Resumen de: CO2024009118A1

La invención tiene como objeto suministrar energía cinética en forma flujo de aire, como potencial eólico aprovechable para mover una turbina eólica que está conectada a un generador eléctrico. Se proporciona un sistema que genera potencial eólico a través de la variación de nivel o altura de una columna de líquido, con el respectivo aprovechamiento de la presión ejercida por la atmósfera sobre la parte superior de la columna de líquido en descenso. Del mismo modo se puede aprovechar la presión ejercida por la parte superior de una columna de líquido en ascenso, sobre la atmósfera.

一种风力发电叶片托运用夹持装置

NºPublicación:  CN223794273U 13/01/2026
Solicitante: 
瓜州天润风电有限公司
CN_223794273_U

Resumen de: CN223794273U

本实用新型公开了一种风力发电叶片托运用夹持装置,包括支板、底座、轨道、夹持机构、支架、双头丝杆、手柄、带螺母座、滑槽、电磁吸块、支座、绑带、收展机构、电机座、旋转电机、传动齿轮、从动齿轮、传动轮、传动带、从动轮、调角机构、调角电机、转板和支杆。本实用新型属于风力发电叶片夹持技术领域,通过转动手柄带动双头丝杆转动,带动两组带螺母座相背移动并使电磁吸块抵靠住风力发电叶片根部圆筒内壁,再开启电源使电磁吸块与其磁吸固定,开启调角电机可带动固定后的风力发电叶片转动调整角度;通过开启旋转电机带动两端的从动轮相背转动,带动缠绕的绑带两端持续收卷,从而使绑带上的展开段紧固绑缚住调角后待托运的风力发电叶片。

带有检测装置的轮毂导流罩支架、安装及检测方法

NºPublicación:  CN121322318A 13/01/2026
Solicitante: 
国华能源投资有限公司国华(宁夏)新能源有限公司
CN_121322318_PA

Resumen de: CN121322318A

本发明公开了一种带有检测装置的轮毂导流罩支架、安装及检测方法,通过在导流罩支架安装应变片,通过工控机接入互联网,安装远程控制软件,通过采集应变数据,实现远程观察、分析,通过应变数据分析导流罩支架开裂的原因,进行结构优化,做优化前、后的应变数据对比,解决风机轮毂导流罩支架开裂的问题,提高风机的安全可靠性。本发明的主要技术方案为:一种带有检测装置的轮毂导流罩支架,包括导流罩支架,导流罩支架包括多根连接筋;多个应力检测件,应力检测件设置于连接筋上,且多个应力检测件在导流罩支架上分散布设;信号处理器,应力检测件与信号处理器连接,用于将导流罩支架的应力信息传送给信号处理器。本发明主要用于导流罩支架优化。

一种双向绑定的风电塔筒移动检测机器人系统及应用方法

NºPublicación:  CN121322317A 13/01/2026
Solicitante: 
中国电力工程顾问集团有限公司中国海洋大学
CN_121322317_PA

Resumen de: CN121322317A

本发明涉及风电塔筒检测技术领域,尤其涉及一种双向绑定的风电塔筒移动检测机器人系统及应用方法,该系统包括:两个绑定组件和两个移动检测机器人,两个移动检测机器人分别吸附在风电塔筒的两个侧面上,两个绑定组件分别从风电塔筒的另外两个侧面上将两个移动检测机器人进行绑定;绑定组件包括钢丝绳、不锈钢环、卷轴和盘式电机;不锈钢环固定于一个移动检测机器人上,卷轴固定于另一个移动检测机器人上,钢丝绳的一端与不锈钢环连接,另一端与卷轴连接并卷绕在卷轴上,卷轴用于通过旋转调节两个移动检测机器人之间钢丝绳的长度,盘式电机与卷轴连接,用于带动卷轴旋转。上述技术方案能够降低移动检测机器人的坠落风险。

变桨系统的负载均衡控制方法及系统

NºPublicación:  CN121322300A 13/01/2026
Solicitante: 
华能陕西靖边电力有限公司华能山东发电有限公司蓬莱风电分公司北京华能新锐控制技术有限公司
CN_121322300_PA

Resumen de: CN121322300A

本发明实施例提供了一种变桨系统的负载均衡控制方法,其通过持续获取叶片桨根弯矩和转子方位角信号,精确预处理得到挥舞方向弯矩的1P谐波信息,并基于此实时更新各叶片在不同方位角下的累积磨损情况,从而建立一个动态的磨损图谱,进一步基于磨损图谱,主动计算出主动均衡变桨偏移量,智能地将载荷从磨损较重的区域引导至磨损较轻的区域,结合传统的IPC修正量和集体变桨指令,最终形成精细化的叶片变桨角度。通过这样的方式,避免了变桨轴承等关键部件在特定方位角上长期承受过高的局部应力,实现了各滚动体或滚道的均匀磨损,从而显著降低了局部疲劳损伤,延长了风力发电机组变桨轴承及相关部件的使用寿命。

一种垂直轴风力发电机恒功率运行控制方法

NºPublicación:  CN121322292A 13/01/2026
Solicitante: 
奥铄动力科技(天津)有限公司
CN_121322292_PA

Resumen de: CN121322292A

一种垂直轴风力发电机恒功率运行控制方法,垂直轴风力发电机包括:发电机叶片及发电机主轴;发电机叶片由小叶片与格栅支撑架组成的,所述格栅支撑架与发电机主轴固定连接,所述小叶片通过格栅支撑架上的小叶片支撑轴与格栅支撑架转动连接,所述小叶片支撑轴的中心轴线与发电机主轴的中心轴线相互平行,且小叶片沿发电机主轴的径向设置有若干,各组旋转半径差值相同;恒功率运行控制方法包括:通过风速传感器、风向传感器、转速传感器、功率传感器实时采集工况数据;根据采集的工况数据划分低风速区间、中高风速区间、高风速区间,针对不同区间对应配置扇叶迎风角度调节策略;基于功率偏差动态调节电机负载扭矩,使风机输出功率稳定在阈值内。

风力发电机电动变桨限位保护装置

NºPublicación:  CN223794270U 13/01/2026
Solicitante: 
神华(康保)新能源有限责任公司
CN_223794270_U

Resumen de: CN223794270U

本实用新型公开了风力发电机电动变桨限位保护装置,包括第一变桨结构、第二变桨结构、安装座和第三变桨结构,安装座上三角位置设有第一变桨结构、第二变桨结构和第三变桨结构,第一变桨结构、第二变桨结构、第三变桨结构结构相同,安装座用于第一变桨结构、第二变桨结构、第三变桨结构的支撑限位;第一变桨结构,能够进行摆动调节,改变叶片的位置,步进电机通过蜗杆控制涡轮转动,使得叶片进行摆动调节,且转动盘上通过第二对接铰架与液压从动杆连接,液压从动杆底部与第一对接铰架铰接设置,进行限位保护。本实用新型为风力发电机电动变桨限位保护装置,通过结构的设置,实现限位保护的目的。

一种风力发电机组风轮叶片疲劳加载试验装置

NºPublicación:  CN223796383U 13/01/2026
Solicitante: 
江苏众胜致远新能源科技有限公司
CN_223796383_U

Resumen de: CN223796383U

本实用新型公开了一种风力发电机组风轮叶片疲劳加载试验装置,包括:夹持部件,所述夹持部件包括下底板、下夹板、上底板和上夹板;调节部件,所述调节部件包括压板、液压装置、液压杆、支撑杆、伸缩杆和延伸板,所述上底板外表面的两端对称连接有延伸板,液压装置位于延伸板的上表面,液压杆连接在液压装置底端的中部,支撑杆连接在液压杆底端的中部,压板连接在两个延伸板之间的顶部。以解决上述装置在使用时,风轮叶片疲劳加载试验装置往往只能针对特定类型或规格的叶片,而不同类型和规格的风轮叶片在形状、尺寸、结构及承载能力等方面存在较大差异,导致缺乏通用性,导致试验设备的重复建设和资源浪费的问题。

一种风电机组高等级故障优先使用市电变桨装置

NºPublicación:  CN223794271U 13/01/2026
Solicitante: 
内蒙古华电辉腾锡勒风力发电有限公司
CN_223794271_U

Resumen de: CN223794271U

本实用新型属于风电领域,提供了一种风电机组高等级故障优先使用市电变桨装置,变桨装置的变桨系统硬件设计部分包括主控系统、变桨控制器、运行切换控制继电器、看门狗模块、蓄电池收桨回路、伺服收桨回路、收桨模块,通过对变桨控制柜EFC回路的设计,设置三个独立的运行切换控制继电器12K3、13K3、14K3,同时优化主控、变桨系统程序及控制策略,最终可实现优先使用工作电源执行变桨动作,而变桨电池备用电源仅在工作电源丢失的情况下进行供电收桨,且改造后不影响机组原有安全功能,同时大大提高了机组变桨系统供电稳定性、可靠性,以及机组安全运行的稳定性。

用于风电塔筒的清洁装置

NºPublicación:  CN223794277U 13/01/2026
Solicitante: 
华北电力大学
CN_223794277_U

Resumen de: CN223794277U

本实用新型涉及用于风电塔筒的清洁装置。所述清洁装置包括:基架,所述基架配置成可套设在所述风电塔筒上;升降组件,所述升降组件可活动地设置于所述基架,用于驱动所述基架沿所述基架的中心轴线上升或下降;安装支架,所述安装支架设置于所述基架,所述安装支架沿所述基架径向的尺寸是可调节的;和清扫组件,所述清扫组件布置于所述安装支架,用于清洁所述风电塔筒。本实用新型的清洁装置可根据风电塔筒的直径自行调整自身的尺寸,能够满足不同尺寸的风电塔筒的清洁需要。

偏航制动装置及风电机组

NºPublicación:  CN121322551A 13/01/2026
Solicitante: 
三一重能股份有限公司
CN_121322551_PA

Resumen de: CN121322551A

本申请提供一种偏航制动装置及风电机组,涉及风力发电技术领域。本申请提供的偏航制动装置包括摩擦盘、上卡钳体、第一摩擦片、下卡钳体以及制动组件,第一摩擦片设置于上卡钳体,下卡钳体上具有安装腔;制动组件包括第二摩擦片、碟簧、限位块、止推螺母、顶杆、缸体以及活塞,第二摩擦片设置于安装腔的顶部开口处,碟簧和限位块设置于安装腔中,且碟簧套设于限位块的第一端,止推螺母的第一端旋接于安装腔的底部开口;缸体可拆卸连接于推螺母的第二端,活塞设置于缸体内,止推螺母具有安装孔,顶杆安装于安装孔,顶杆设置于限位块和活塞之间,缸体的第二端具有进油口。本申请提供一种偏航制动装置及风电机组,结构简单、安装难度小。

一种易于安装的预制混凝土基础管桩结构

NºPublicación:  CN121321635A 13/01/2026
Solicitante: 
广西万凯新材料科技有限公司
CN_121321635_PA

Resumen de: CN121321635A

本发明涉及风电平台基础管桩结构技术领域,具体提供了一种易于安装的预制混凝土基础管桩结构,包括多个基础管桩,多个基础管桩垂直插入地面,多个基础管桩外周滑动设置有锚固套,通过设置连接架将多个锚固套连接成一个整体,确保所有的锚固套始终处于同一水平面,其外周与锚固套内的单向滑动组件接触,锚固套从周向限制管桩偏移,确保多个基础管桩相互平行,多个基础管桩打桩完毕后,向上移动连接架带动所有锚固套同步上升,直至锚固套上端越过所有基础管桩顶端,无论单个基础管桩长度是否一致,锚固套始终保持同一水平面,自动补偿基础管桩长度差异,避免传统安装中因基础管桩长短不一导致的平台倾斜。

一种3D打印的风电塔筒及其建造方法

NºPublicación:  CN121322309A 13/01/2026
Solicitante: 
贵州金元智慧能源有限公司
CN_121322309_PA

Resumen de: CN121322309A

本发明属于风力发电技术领域,具体涉及一种3D打印的风电塔筒及其建造方法。风电塔筒,包括外壁结构、内壁结构、内部加强结构和混凝土填充层,内部加强结构位于外壁结构与内壁结构之间,其中,内部加强结构包括轴向筋、设置于轴向筋上的螺旋筋和/或分叉筋;混凝土填充层填充于外壁结构、内壁结构与内部加强结构之间。外壁结构、内壁结构及内部加强结构均采用3D打印一体化成型,实现了风电塔筒的高集成度机械自动化制造,有效避免了传统工艺中多部件拼接带来的连接薄弱点,也解决了现有3D打印技术植筋难题;在打印形成的空腔内直接进行混凝土填充,使混凝土与加强结构等打印骨架协同受力,显著提升塔筒的整体强度、抗疲劳性能和耐久性。

风力发电机组的偏航预测控制方法、系统、介质和设备

NºPublicación:  CN121322303A 13/01/2026
Solicitante: 
中广核工程有限公司深圳中广核工程设计有限公司
CN_121322303_PA

Resumen de: CN121322303A

本发明涉及风力发电机组的偏航预测控制方法、系统、介质和设备,包括:构建风力发电机组的Y方向动态特性孪生模型;构建风力发电机组的X方向动态特性孪生模型;对X方向动态特性孪生模型和Y方向动态特性孪生模型进行集成,获得极限动力学特性模型;获取风力发电机组的当前状态数据和极限参数;根据当前状态数据、极限参数和极限动力学特性模型进行预测,获得风力发电机组的极限风速;根据极限风速和风力发电机组的实际风速对风力发电机组进行偏航控制。通过本发明可以预测风力发电机组未来时域的可承受最大风况极限,并确定未来时域的偏航控制作用,保证在最小化功率损失下,机组安全运行。

一种具备线体规整结构的叶片在线监测系统

NºPublicación:  CN223792701U 13/01/2026
Solicitante: 
广东省风力发电有限公司湖南分公司
CN_223792701_U

Resumen de: CN223792701U

本实用新型公开了一种具备线体规整结构的叶片在线监测系统,包括外观在线监测机构,所述外观在线监测机构包括安装框架,所述安装框架底端的中部开设有安装槽,且安装槽内壁的顶端嵌入CCD检测传感器;线体规整机构,所述线体规整机构包括固定在安装框架背面上部的支座,所述支座的一侧布设有规整柱,且规整柱外表面的前后端阻尼套设有限位环,前端所述限位环的一侧对称套设有支柱,所述支柱的一端栓接有限位绳索,且限位绳索的一端设有套柱,并套设延伸至后端所述限位环的一侧内。本实用新型在满足导线规整的同时,可无需根据所收卷导线的多少更换不同直径规整柱,适用性强,满足需求,提升使用效果。

塔筒折弯板的加强连接结构

NºPublicación:  CN223794272U 13/01/2026
Solicitante: 
江苏振江新能源装备股份有限公司
CN_223794272_U

Resumen de: CN223794272U

本实用新型公开的塔筒折弯板的加强连接结构:相邻两个塔筒折弯板之间通过T型钢进行紧固连接;T型钢由加强长板和连接长板一体连接构成,加强长板设置在连接长板的中部、加强长板与连接长板互相垂直设置;T型钢的连接长板在加强长板两侧分别开设有多个通孔,塔筒折弯板的侧边在连接长板通孔对应位置处也开设有相应的通孔,有第一紧固螺栓同时穿过连接长板的通孔和塔筒折弯板的对应通孔后通过第一螺母锁紧。该加强连接结构,通过特殊结构的T型钢将相邻两个塔筒折弯板紧固连接后,T型钢的加强长板位于相邻两个塔筒折弯板的拼缝处,能够用来承载装配应力,起到类似“支撑”的作用,来有效提升拼装而成的塔筒主体的强度。

一种风机主轴废油收集装置

NºPublicación:  CN223794276U 13/01/2026
Solicitante: 
李海栋
CN_223794276_U

Resumen de: CN223794276U

本实用新型涉及风机收集废油技术领域,尤其涉及一种风机主轴废油收集装置,包括有风机主轴,所述风机主轴为本装置的装配载体;还包括集油管等,所述风机主轴的轴承周向分布的多个废油脂排出小孔处均连通有集油管,多个所述集油管均连通至同一个环形的集油环上,所述集油环的外壁开设有一圈开口的滑槽,所述风机主轴安装处的机体正下方固定设置有安装板,所述安装板上固设有支杆。本实用新型通过集油管、集油环和导流管道的设计,将多个轴承排出的废油脂统一收集至一个位置,减少维护人员频繁拆卸和清理的工作量,并且利用负压抽油件在导流管道内产生负压,有效避免因废油粘稠度过高而导致的管道堵塞问题。

一种风电预测功率数据采集传输装置

NºPublicación:  CN223794275U 13/01/2026
Solicitante: 
北京因乎智电科技有限公司
CN_223794275_U

Resumen de: CN223794275U

本实用新型涉及一种风电预测功率数据采集传输装置,涉及风电检测领域,包括单片机、安装在叶片上的应变片以测量叶片在风荷载作用下的应变情况、安装在叶片上的陀螺仪以测量叶片的旋转角度和角速度、安装在外罩上的激光雷达以测量近地面到高空风场的垂直剖面数据,应变片、陀螺仪和激光雷达通过信号调理电路与单片机相连以向单片机传输测量数据,本实用新型具有能够实时采集各类信息进行汇总分析,为后续进行更为准确的电功率预测提供有效基础资料的优点。

一种海上风电叶片及其前缘防护系统

NºPublicación:  CN223794268U 13/01/2026
Solicitante: 
运达能源科技集团股份有限公司
CN_223794268_U

Resumen de: CN223794268U

本申请公开了一种海上风电叶片的前缘防护系统,由于包括设置于叶片本体的前缘防护区域的保护漆层,保护漆层上面还设置有保护膜层,且保护膜层仅设置于与叶片本体的叶尖相隔预设间距以内的部位,因此在靠近叶尖的高线速度区域利用保护漆层和保护膜层进行双重加强防护,更好地降低前缘腐蚀程度,即使保护膜层脱落失效也能由保护漆层进行保护,提升叶片前缘防护寿命,而保护膜层的面积少于保护漆层的面积,因此可节省材料成本,可见该前缘防护系统能解决现有海上风电叶片单一采用前缘保护漆带来的叶尖区域防护性能弱、防护寿命短的问题以及单一采用前缘保护膜带来的成本高、粘接可靠性差的问题。本申请还公开了一种海上风电叶片,具有同样的优点。

风力发电机组水冷系统稳压及动态感知装置与方法

NºPublicación:  CN121335060A 13/01/2026
Solicitante: 
三峡珠江发电有限公司三峡新能源阳江发电有限公司
CN_121335060_PA

Resumen de: CN121335060A

风力发电机组水冷系统稳压及动态感知装置与方法,属于风力发电技术领域,旨在解决当前风力发电机组水冷系统面临压力稳定性欠佳、可靠性偏低以及运维成本居高不下等技术难题。本发明采用高位水箱稳压系统来替代传统压力膨胀罐,利用高度差产生恒定静压,无需额外能源,且能自动适应水温变化,维持系统压力稳定;同时引入智能化控制架构,实时采集并处理水箱液位数据,建立液位变化趋势模型,实现潜在故障的提前预警;此外,还基于液位数据统计制定个性化维护计划,优化作业安排,显著提升了水冷系统的压力稳定性与设备可靠性,大幅降低了运维成本,增强了环境适应性,提高了发电量与经济效益,为风力发电技术的长期稳定发展提供了坚实有力的支持。

内轴式增速传动气动限速梯形翼电控制动的垂直轴风力机

NºPublicación:  CN121322291A 13/01/2026
Solicitante: 
梁北岳
CN_121322291_PA

Resumen de: CN121322291A

本发明公开了一种内轴式增速传动气动限速梯形翼电控制动的垂直轴风力机,涉及风力发电领域,包括轴承外座、内轴式的风力机主轴、阻流板、轴承外座及其连接盘、机座,所述风力机主轴为内轴式,即内转子,内轴上固定支臂,所述支臂外端固定有叶片,所述叶片包括梯形叶片和矩形‑梯形组合叶片。本发明通过在叶片上安装可收放阻流板的方法,在大风及高转速时张开阻流板,让风轮减速,使风轮的风能获取率下降,从而控制输出功率,克服在中高风速时停机的弊病,可以继续运转发电,增加发电时长,叶片主体采用金属骨架加蒙皮的结构,使叶片整体既保持了必须的刚度、强度,又实现轻量化,更重要的是,便于设计任何形式的阻流板机构安装在叶片的空腔中。

一种基于风力发电和原电池技术的列车轨道防锈装置

NºPublicación:  CN121320964A 13/01/2026
Solicitante: 
中国铁路设计集团有限公司广东省铁路建设投资集团有限公司中南大学
CN_121320964_PA

Resumen de: CN121320964A

本发明涉及轨道交通设施防护技术领域,具体涉及一种基于风力发电和原电池技术的列车轨道防锈装置,包括依次连接的风能捕获模块、能量存储模块和防锈模块,所述风能捕获模块和能量存储模块配合向防锈模块供电;防锈模块包括槽体、网状阳极和阴极连接点,所述槽体设置在轨道的下方,槽体内设有电解液,所述网状阳极悬挂在槽体的上部位置,所述阴极连接点沿着轨道长度方向等距设置;所述网状阳极连接所述能量存储模块,所述网状阳极和轨道在电解液中形成闭合回路。本发明装置将垂直轴风力发电技术、混合储能技术和阴极保护技术进行改进集成,形成适用于沿海高盐、高湿、强风特殊环境的综合解决方案。

一种具有旋转耗能内导管架的自适应海上风机导管架基础及消能方法

NºPublicación:  CN121321637A 13/01/2026
Solicitante: 
河海大学
CN_121321637_PA

Resumen de: CN121321637A

本发明涉及一种具有旋转耗能内导管架的自适应海上风机导管架基础及消能方法,导管架基础本体包括外部支撑结构以及内部旋转结构;外部支撑结构包括若干主立柱以及外层交叉横架,每根桩腿表面固定一根主立柱,主立柱数与桩腿数匹配,相邻主立柱之间通过外层交叉横架连接;内部旋转结构包括若干旋转立柱以及若干内层交叉横架,在每根桩腿表面且位于主立柱内侧可转动设置一根旋转立柱,旋转立柱数与桩腿数匹配,每个内层交叉横架的底边均固定在旋转立柱上,顶角朝向内部旋转结构中心,且每根旋转立柱上安装两个内层交叉横架;当转动相邻的旋转立柱时,位于旋转立柱上两个相邻的内层交叉横架顶角能够拼接形成连接。本发明实现了常规水流扰动耗能与极端天气下的自动拼接防护,有效提升了基础结构的抗灾能力与自适应性能。

一种用于消除风电地面试验平台薄壁筒影响的拖动控制方法

NºPublicación:  CN121325994A 13/01/2026
Solicitante: 
上海电力大学华北电力大学中国电力科学研究院有限公司国网福建省电力有限公司电力科学研究院
CN_121325994_A

Resumen de: CN121325994A

本发明涉及一种用于消除风电地面试验平台薄壁筒影响的拖动控制方法,包括:建立全尺寸风电地面试验平台扭转方向的轴系模型和实际风电机组的轴系模型;以被测风电机组与实际风电机组的发电机转速及转矩一致为前提,结合轴系模型计算得出拖动电机的参考转矩;根据参考转矩控制拖动电机的状态,带动被测风电机组发电机旋转,完成全尺寸风电地面试验平台的模拟。与现有技术相比,本发明能够实现全尺寸风电地面试验平台拖动电机输出转矩的控制,确保被测风电机组与实际风电机组的运行工况基本一致,提升全尺寸风电地面试验平台扭转方向上模拟程度的准确性。

自适应浮式风力发电塔筒的调谐磁流体阻尼器及工作方法

NºPublicación:  CN121322572A 13/01/2026
Solicitante: 
福州大学福建理工大学
CN_121322572_PA

Resumen de: CN121322572A

本发明公开了一种自适应浮式风力发电塔筒的调谐磁流体阻尼器,调谐磁流体阻尼器安装在塔筒内部,包括阻尼器本体和与阻尼器本体连接的控制系统;阻尼器本体包括非磁体密闭水箱、自动气阀、导流板、电磁单元,非磁体密闭水箱内部充有磁流体且留有10%‑20%的气腔;控制系统包括多轴惯性传感器、监测单元、控制单元;工作方法如下:第一步、传感器采集振动信号,控制单元分解振动信号;第二步、通过算法计算所需阻尼力矢量,发出电流分布信号;第三步、动态调整电流方向与强度,生成空间梯度磁场;第四步、利用磁场传感器反馈闭环校正实际磁场强度。本发明基于磁场对磁流体的调控机制,可实现频率自适应调谐,提高了控制精度,缩短了响应时间。

一种用于车载风能回收系统的自适应聚能入口装置

NºPublicación:  CN121322306A 13/01/2026
Solicitante: 
汇风永恒(海南)科技研发中心(有限合伙)
CN_121322306_PA

Resumen de: CN121322306A

本发明公开了一种用于车载风能回收系统的自适应聚能入口装置,包括壳体,壳体内设有滤网和调节部件;调节部件含驱动件、联动环、驱动环及多个通过连杆机构连接的叶片,驱动件含电机,电机连接连接杆,驱动环顶部第一齿轮与连接杆上第二齿轮啮合。本装置可自适应调节叶片角度,滤网拆装便捷、过滤效果好,驱动传动稳定,提升聚能效率,降低堵塞风险,维护方便,适配车载复杂工况。

叶根预制填充件结构及其制造方法以及风力发电叶片

NºPublicación:  CN121322290A 13/01/2026
Solicitante: 
远景能源有限公司
CN_121322290_PA

Resumen de: CN121322290A

本申请公开了一种叶根预制填充件结构及其制造方法以及风力发电叶片,其中,叶根预制填充件结构包括本体部和包覆层,包覆层覆设于本体部的外表面,包覆层的材料与本体部的材料不同,且包覆层的界面性能大于本体部的界面性能。本申请提供的技术方案,由于包覆层界面性能大于本体部的界面性能,且包覆层覆设于本体部外表面,因此叶根预制填充件结构在与叶片基体结合时,包覆层能够更好地与叶片基体材料粘结,提高整体的界面粘结力,减少界面脱粘、应力集中等问题的发生,从而增强叶片结构的稳定性,延长叶片使用寿命。

一种结合滑模观测器和双边累积和算法的双馈感应发电机故障检测方法

NºPublicación:  CN121322316A 13/01/2026
Solicitante: 
湖南科技大学
CN_121322316_PA

Resumen de: CN121322316A

本发明公开了一种结合滑模观测器和双边累积和算法的双馈感应发电机故障检测方法,包括以下步骤:基于一种新型趋近律结合双馈感应发电机状态方程,设计双馈感应发电机转子电流滑模观测器;采用李雅普诺夫稳定性理论,对所设计的新型趋近律进行稳定性和收敛性分析;结合优化的双边累积和算法设计双馈感应发电机故障检测方法。引入转子电流传感器故障、输入干扰电压故障、电压跌落故障和定子匝间短路故障,利用滑模观测器估计的双馈感应发电机转子电流值与实际转子电流输出值比较得到的残差值来验证所设计的滑模观测器在不同双馈感应发电机故障下的转子电流跟踪性能,同时验证所设计的基于优化的双边累积和算法的双馈感应发电机故障检测方法的可靠性。本发明提出的一种结合滑模观测器和双边累积和算法的双馈感应发电机故障检测方法,具有跟踪精度高、故障状态表征准确的特点,同时能够有效将微弱故障特征转化为数字信号输出,对双馈感应发电机的故障进行检测。

一种考虑声传播衰减补偿的风力发电机叶片早期损伤监测方法

NºPublicación:  CN121322315A 13/01/2026
Solicitante: 
安徽中科昊音智能科技有限公司
CN_121322315_PA

Resumen de: CN121322315A

本发明公开了一种考虑声传播衰减补偿的风力发电机叶片早期损伤监测方法,涉及故障诊断领域,本发明包括以下步骤:在风力发电机叶片的待监测空腔内安装至少一个拾音器;针对每个所述拾音器,在其安装位置进行离线频率响应标定,获取并存储该拾音器的本地频率响应函数;在风力发电机运行期间,通过所述拾音器持续采集所述待监测空腔内的原始声信号;对原始声信号进行频谱分析;基于预存的本地频率响应函数,对原始频谱进行逆向均衡补偿;基于补偿后频谱,计算用于表征叶片损伤状态的特征指标;将特征指标与预设的报警阈值进行比较,生成损伤报警信号。本发明消除了因安装位置导致的高频衰减差异,显著降低了漏检率。

一种免爬器升降车

NºPublicación:  CN121317594A 13/01/2026
Solicitante: 
库珀新能源股份有限公司
CN_121317594_PA

Resumen de: CN121317594A

本发明涉及一种免爬器升降车。包括免爬器车体,在其上可拆卸安装有导向型称重装置,在导向型称重装置上安装有踏板装置;导向型称重装置包括与免爬器车体可拆卸连接的传感固定座,在传感固定座上可拆卸连接有称重传感器和活动安装座,在活动安装座和免爬器车体之间可拆卸连接有多组滑轨副;滑轨副包括在活动安装座的背面安装的直线导轨,还包括在免爬器车体上安装的滑块;活动安装座包括用于安装直线导轨的安装座本体,在安装座本体的顶部设置有防坠卡接部,防坠卡接部在竖直方向的投影部分覆盖滑块在竖直方向的投影。本发明解决了传统方案测量误差大、结构复杂及安全隐患问题,具有提高称重精度、简化结构并增强安全性的优点。

吊装方法、吊装装置及风力发电设备

NºPublicación:  CN121317512A 13/01/2026
Solicitante: 
远景能源有限公司
CN_121317512_PA

Resumen de: CN121317512A

本申请公开一种吊装方法、吊装装置及风力发电设备,该吊装方法中,在牵引件的第一端将目标物体吊装至目标位置的同时,牵引件的第二端同步下放到预设位置,并与另一个目标物体连接,当第一端完成目标物体的吊装并进行下放时,第二端可以在同一时间将另一个目标物体吊装至目标位置,从而实现循环吊装。这样,在牵引件的一端空载下放时,可以利用牵引件的另一端进行吊装,有效地提高在高层建筑中起吊目标物体的吊装效率。并且,建筑越高/吊装次数越多,该吊装方法的效率提升越显著。

多重调谐质量阻尼器耦合的海上风机振动控制方法及系统

NºPublicación:  CN121322298A 13/01/2026
Solicitante: 
中国电力科学研究院有限公司
CN_121322298_PA

Resumen de: CN121322298A

一种多重调谐质量阻尼器耦合的海上风机振动控制方法及系统,方法包括建立海上风电机组的全局坐标系以及对应每个塔筒、基础、机舱和各调谐质量阻尼器安装点处建立局部坐标系,并确定各坐标系之间的转换关系;构建多体动力学模型,将塔筒和基础离散为多个刚性单元,通过弹性铰链连接,考虑弯曲刚度和阻尼;将机舱简化为集中质量刚体,考虑机舱偏心质量分布带来的附加弯矩;将各调谐质量阻尼器建模为质量‑弹簧‑阻尼系统;通过力与力矩平衡方程,将各部件动力学行为耦合为一个整体系统,获取得到矩阵形式的微分方程,优化多重调谐质量阻尼器的参数,控制海上风电机组的振动。本发明能够提高振动控制的精度和效率,为TMD参数的优化设计提供依据。

风力发电机的故障诊断方法、装置及计算机程序产品

NºPublicación:  CN121327531A 13/01/2026
Solicitante: 
华能重庆奉节风电有限责任公司中国华能集团清洁能源技术研究院有限公司
CN_121327531_PA

Resumen de: CN121327531A

本申请公开了一种风力发电机的故障诊断方法、装置及计算机程序产品,涉及故障诊断技术领域,该方法包括:根据风力发电机的历史故障数据确定低维特征向量集合;根据聚类算法对低维特征向量集合中的低维特征向量进行聚类,得到多个向量簇,获取对多个向量簇进行打标后得到的故障标签数据;根据风力发电机的当前故障数据生成当前低维特征向量,根据聚类算法确定当前低维特征向量所属的目标向量簇;根据故障标签数据确定目标向量簇对应的目标故障标签,根据目标故障标签确定风力发电机的故障。将目标向量簇的故障标签确定为目标故障标签,获取目标故障标签对应的故障诊断结果。采用上述技术方案,解决了如何提高风力发电机的故障诊断效率的问题。

一种基于事件触发的风力发电机组变桨控制方法

NºPublicación:  CN121322301A 13/01/2026
Solicitante: 
哈尔滨工业大学
CN_121322301_PA

Resumen de: CN121322301A

本发明属于风力发电机组控制技术领域,具体涉及一种基于事件触发的风力发电机组变桨控制方法,有效改善了系统的响应性能,优化控制信号更新逻辑,降低系统资源消耗,同时保障功率稳定性与机组安全性,通过LMI框架保证闭环系统的鲁棒稳定性,结合阈值触发机制优化控制逻辑,兼顾资源节约与性能需求。同时,轻量化观测器设计,基于LMI方法设计状态观测器,在非全状态可测条件下实现高精度跟踪,为闭环控制提供可靠支撑。这种方法将LMI鲁棒性与事件触发机制结合,为大型风电机组节能降耗与延长设备寿命提供了理论支持,同时为事件触发控制在复杂工业场景中的工程化应用提供了参考路径。

一种风电机组健康状态智能诊断方法及系统

NºPublicación:  CN121322313A 13/01/2026
Solicitante: 
国华爱依斯(黄骅)风电有限公司
CN_121322313_PA

Resumen de: CN121322313A

本申请涉及一种风电机组健康状态智能诊断方法及系统。所述方法包括:获取包括动态响应、热力学状态、电气参数及环境参数的多维度运行数据,构建多维度运行特征矩阵;利用预训练的基于注意力机制的特征筛选模型计算潜在故障关联特征;基于预设故障模式库,采用支持向量机分类算法进行故障分类处理,获得潜在故障模式;根据预设风险量化规则计算各故障模式的风险分数;从预设维护规则库匹配并优化维护操作集合,形成风电维护项目;依据风险分数确定维护优先级并生成维护优先序列。采用本方法能够实现风电机组故障的精准识别、风险量化与维护决策智能化,提升运维效率与设备可靠性。

具有涡流耦合功能的磁悬浮风力发电机组

NºPublicación:  CN121332997A 13/01/2026
Solicitante: 
华能吉林新能源开发有限公司
CN_121332997_PA

Resumen de: CN121332997A

本发明公开了一种具有涡流耦合功能的磁悬浮风力发电机组,涉及风力发电技术领域;所述磁悬浮风力发电机组包括同轴设置的电机转轴以及传动转轴,其中所述电机转轴与所述传动转轴之间通过涡流耦合装置传动连接,所述电机转轴远离所述涡流耦合装置的一端连接发电组件,所述传动转轴远离所述涡流耦合装置的一端设置有叶片组件;磁悬浮装置,所述磁悬浮装置设置于所述传动转轴的中部,所述磁悬浮装置用于使所述传动转轴处于悬浮状态;其中所述磁悬浮装置包括转子组件和定子组件,所述定子组件与所述转子组件之间留有第一间隙。本发明提供的技术方案能够实现降低风力发电机组的起动风速,以及提高风力发电机组的输出功率。

转动配合结构及行星齿轮机构

NºPublicación:  CN121322615A 13/01/2026
Solicitante: 
南京高速齿轮制造有限公司
CN_121322615_PA

Resumen de: CN121322615A

本发明属于风电齿轮箱技术领域,公开了一种转动配合结构及行星齿轮机构,该转动配合结构设置于安装件和转动件之间,包括支撑件和配合件,支撑件连接于安装件,支撑件具有第一外周面;配合件铸造成型于支撑件,配合件具有内周面和第二外周面,第二外周面用于与转动件配合,配合件套设于支撑件且内周面与第一外周面贴靠。该转动配合结构能够实现安装件和转动件之间的转动配合,并且配合件直接铸造成型于支撑件,通无需借助工具或其他设备费力装配,降低了制造难度,同时铸造成型增强了配合件与支撑件的连接强度,提升了该转动配合结构在高载荷工况下的可靠性。

一种风电机组偏航控制方法、系统、设备和可读存储介质

NºPublicación:  CN121322295A 13/01/2026
Solicitante: 
特变电工新疆新能源股份有限公司
CN_121322295_PA

Resumen de: CN121322295A

本发明实施例公开一种风电机组偏航控制方法、系统、设备和可读存储介质,包括:根据风向数据库,对风向角度进行预测,得到风向角度预测序列。根据功率预测数据、风电机组特性参数和风向角度预测序列,得到目标偏航调节角度。根据目标偏航调节角度,调节风轮角度,以使得风电机组的输出功率值大于或等于功率预测数据。本方法能够有效地提高风电机组的发电效率。而且本方法还能够适应不同的风向波动频率和幅度,通过精确预测风向变化并结合模型预测控制策略,实现风电机组偏航的优化控制,提高风能利用效率,减少偏航系统的机械磨损,增强风电机组的整体稳定性和可靠性。

漂浮式风机平台及其安装方法

NºPublicación:  CN121317042A 13/01/2026
Solicitante: 
中车科技创新(北京)有限公司中车大连机车车辆有限公司
CN_121317042_PA

Resumen de: CN121317042A

本申请公开了一种漂浮式风机平台及其安装方法,涉及海上风电技术领域,包括浮体平台、压载件、连接机构和系泊系统;浮体平台包括中心立柱和多个围绕中心立柱分布的侧柱组件,侧柱组件包括侧立柱、旁通浮体和过渡件,侧立柱通过过渡件与旁通浮体的一端连接,旁通浮体的另一端与中心立柱连接;压载件通过连接机构连接于浮体平台的下方,且连接机构能够带动压载件朝向靠近或远离浮体平台的方向移动;系泊系统与过渡件连接。本申请通过连接机构使得压载件能够在用于运输的收缩位置和用于在位工作的伸展位置之间切换,以兼顾漂浮式风机平台的稳定性和运输的便捷性。此外,漂浮式风机平台的浮体平台采用模块化设计,提高了漂浮式风机平台的装配效率。

结合叶片覆冰检测的气热除冰方法

NºPublicación:  CN121322321A 13/01/2026
Solicitante: 
华能湖北新能源有限责任公司华能枣阳新能源有限责任公司
CN_121322321_PA

Resumen de: CN121322321A

本发明提供一种结合叶片覆冰检测的气热除冰方法,通过结冰趋势预测模型分析时序数据,当结冰概率超过预设阈值时,启动冰层厚度传感器阵列获取冰层厚度数据并生成二维冰厚分布图;并根据二维冰厚分布图生成并执行热气流的定向分配路径,通过调节气流导向机构的状态,使热空气的流动与所述分配路径相匹配,改变了固定流道导致的热能分布不均的问题,以解决气热除冰技术在恶劣天气条件下导热效率不高、除冰效果差以及温度失控的问题。

高柔韧性导电薄膜防雷层的压接制备方法及风机叶片

NºPublicación:  CN121316283A 13/01/2026
Solicitante: 
国网湖南省电力有限公司湖南防灾科技有限公司国网湖南省电力有限公司防灾减灾中心国家电网有限公司
CN_121316283_PA

Resumen de: CN121316283A

本申请实施例提供一种高柔韧性导电薄膜防雷层的压接制备方法、导电薄膜防雷层及风机叶片。方法包括:基材表面活化处理:对聚酰亚胺基铜箔进行等离子体活化处理,以提升表面能,增强胶粘剂浸润性;分段压接工艺实施:将活化后的基材置于热压设备中,通过梯度压力与温度控制进行分段压接,实现气泡排除与界面固化平衡;延展性微结构成型:采用辊压机在所述导电薄膜的金属层表面压制形成周期性的六边形纹路微结构的成品导电薄膜;动态工况性能验证:对成品导电薄膜进行机械拉伸与雷电流冲击测试,验证其在模拟叶片运行形变下的结构完整性与电气稳定性。

基于多源数据的风电机组低速级轴承缺陷诊断与预警方法

NºPublicación:  CN121322312A 13/01/2026
Solicitante: 
西安热工研究院有限公司华能湖北新能源有限责任公司
CN_121322312_PA

Resumen de: CN121322312A

本发明属于风电机组状态监测与故障诊断技术领域,涉及一种基于多源数据的风电机组低速级轴承缺陷诊断与预警方法。包括以下步骤:获取轴承的振动、温度、载荷及工况数据。对振动信号降噪并提取振动峭度;由温度数据构建三维温度场并计算梯度熵;由载荷数据计算非对称指数;由工况数据获得转速调制因子;融合上述特征构造复合特征向量,并输入至预训练的深度置信网络模型中;该模型输出轴承的缺陷等级和剩余使用寿命概率分布;根据输出结果与动态预警阈值,触发多级预警并生成诊断决策。本发明实现了轴承早期缺陷的精准识别与故障演化趋势的智能预警,显著提升诊断准确率与运维决策时效性。

一种风能与太阳能结合的海上风力电能存储系统

NºPublicación:  CN121322304A 13/01/2026
Solicitante: 
国电投南通新能源有限公司
CN_121322304_PA

Resumen de: CN121322304A

本发明公开了一种风能与太阳能结合的海上风力电能存储系统,包括固定安装于海底的海底固定装置,海底固定装置设有多个且分布于海底不同区域;包括气囊单体,每个海底固定装置的上方均通过牵引绳与一个气囊单体的下面连接;包括位于海面上的牵引装置,每个海底固定装置均对应一个牵引装置,且海底固定装置的牵引绳绕过海底固定装置后再与牵引装置连接,牵引装置通过牵引绳控制对应气囊单体在海中的深度;包括空气压缩机组和管路控制系统,本发明根据暗流类型使气囊单体及时避开暗流区域,及时避险,减少暗流对气囊单体的损伤,从而有效地抵抗暗流灾害。

一种风电叶片防护除冰装置及风电装置

NºPublicación:  CN121322322A 13/01/2026
Solicitante: 
三峡新能源四子王风电有限公司三峡陆上新能源投资有限公司中国长江三峡集团有限公司
CN_121322322_PA

Resumen de: CN121322322A

本发明属于风力发电技术领域,提出一种风电叶片防护除冰装置及风电装置,其中风电叶片防护除冰装置,包括除冰组件、若干防冰组件、供电模块、控制模块和覆冰传感器;除冰组件、若干防冰组件和覆冰传感器均与控制模块和供电模块电连接;实现了覆冰传感器检测结冰情况;若干防冰组件集中安装在叶片本体的叶尖处,除冰组件部分穿过若干防冰组件设置在叶片本体的内部;控制模块用于根据覆冰检测装置的检测结果控制除冰组件对叶片本体外侧的结冰进行加热除冰和/或若干防冰组件来实现防止叶片本体结冰,进而保证了叶片本体的气动特性,提高了经济效益。

风叶异常状态监测诊断方法、系统、设备及存储介质

NºPublicación:  CN121322314A 13/01/2026
Solicitante: 
中广核(北京)新能源科技有限公司
CN_121322314_PA

Resumen de: CN121322314A

本申请提供了一种风叶异常状态监测诊断方法、系统、设备及存储介质,涉及风力发电机风叶异常状态监测诊断领域。该方法包括:获取风叶的状态数据,并将状态数据进行预处理,得到预处理后的状态数据;基于预处理后的历史状态数据构建历史状态对照数据集;对预处理后的当前状态数据进行特征提取,得到关键特征数据集,并基于历史状态对照数据集对关键特征数据集中的关键特征数据进行异常检测,得到关键特征数据中的异常特征数据;基于异常特征数据进行风叶异常状态分析,确定风叶异常状态类型,并基于异常特征数据和风叶异常状态类型确定风叶异常状态原因通过上述方案能够提高对风叶异常诊断的能力。

一种全风向无叶片聚风取能装置

NºPublicación:  CN121322305A 13/01/2026
Solicitante: 
中国电力科学研究院有限公司国网湖北省电力有限公司电力科学研究院
CN_121322305_PA

Resumen de: CN121322305A

本发明提供了一种全风向无叶片聚风取能装置,该装置包括:全风向聚风加速机构;无叶片风力取能机构设置在全风向聚风加速机构的喉口位置处;电源管理模块与无叶片风力取能机构相连。本发明通过全风向聚风加速机构实现来流风汇聚调理,尤其是实现360°全风向风能收集,提高了风能收集范围,同时基于文丘里效应提高了喉口位置处风速及风能密度,为取能装置降低起振风速、提高取能效率提供了高密度风能环境,提升了同等风速条件下的输出能力;通过无叶片风力取能机构将振动能转换输出电能,并通过电源管理模块进行电能的管理、存储和输出,解决了现有传感器风取能技术启动风速高、风向适应性不足以及结构复杂、故障率高等问题。

风力发电机组叶片的覆冰检测方法及系统

NºPublicación:  CN121322320A 13/01/2026
Solicitante: 
国家电投集团湖北电力有限公司国家电投集团数字科技有限公司国家电投集团湖北电力有限公司风电分公司国核信息科技有限公司
CN_121322320_PA

Resumen de: CN121322320A

本发明涉及风力发电机组叶片的覆冰检测方法及系统,获取声纹信号、红外热成像信号及环境参数并预处理,根据环境参数确定环境干扰补偿因子,并对声纹信号和红外热成像信号进行自适应加权融合处理,得到融合后的多模态特征向量;利用变分模态分解算法处理多模态特征向量中的声纹信号得到若干本征模态函数,提取其中的声纹特征,声纹特征包括高频能量比和低频峭度;根据多模态特征向量中的红外热成像信号计算温度梯度指数;将声纹特征、温度梯度指数以及环境参数构建为特征向量,利用预测模型输出覆冰概率值;根据当前环境参数动态调整覆冰判定阈值,并将覆冰概率值与动态调整后的阈值进行比较,若概率值大于阈值,则判定为叶片覆冰,生成预警信息。

基于安全域感知的风电机组智能启停决策方法

NºPublicación:  CN121322296A 13/01/2026
Solicitante: 
大唐山西发电有限公司
CN_121322296_PA

Resumen de: CN121322296A

本申请公开了基于安全域感知的风电机组智能启停决策方法。通过基于风电机组多源异构数据构建多状态运行画像表、采用核密度估计算法动态计算各运行状态下的安全域、构建安全域‑指令立体对照矩阵,再基于短期风光功率预测与安全域生成风光波动驱动的第一层触发判断信号、基于电网调度指令生成电网需求驱动的第二层触发判断信号,当两层信号冲突时以安全域‑指令立体对照矩阵为约束进行优先级仲裁,最终融合双层触发信号生成启停策略的技术手段,实现了兼顾风电机组安全运行与电网调度响应需求,提升启停决策精度与安全性,避免因数据单一导致的决策片面性、因安全域固定导致的误判漏判,以及因信号冲突导致的设备损坏或电网不稳定的目标。

風力発電装置及び風力発電装置の制御方法

NºPublicación:  JP2026003473A 13/01/2026
Solicitante: 
株式会社日立製作所
JP_2026003473_PA

Resumen de: JP2026003473A

【課題】ヨー制御時に強風を受けても、各機器に過大な荷重、負荷が発生し、機器が損傷することを防ぎつつ、風向きへの追従性を確保し、設備利用率を向上する。【解決手段】本発明の風力発電装置は、ロータと、ロータを支持するナセルと、ナセルをヨー旋回可能に支持するタワーと、ナセルをヨー旋回させる駆動装置と、ナセルのヨー旋回を制動する制動装置と、風向風速計と、風向風速計が計測した風況に基づいて駆動装置および制動装置を制御する制御装置とを備え、ロータをナセルに対して風下に配設して発電するダウンウィンド型の風力発電装置であって、制御装置は、風況が所定の条件を満たしたとき、発電を継続しつつ前記制動装置を解除してフリーヨー状態とし、フリーヨー状態においてヨー旋回速度が第一の閾値より小さい状態が所定の時間継続したとき、駆動装置を起動することを特徴とする。【選択図】図5

风机叶片的巡检方法及装置、存储介质、计算机设备

NºPublicación:  CN121330039A 13/01/2026
Solicitante: 
大唐(阿拉善左旗)电力有限责任公司中国大唐集团科学技术研究总院有限公司中国大唐集团科学技术研究总院有限公司华北电力试验研究院
CN_121330039_PA

Resumen de: CN121330039A

本申请公开了一种风机叶片的巡检方法及装置、存储介质、计算机设备,该方法包括:获取无人机飞行过程中针对目标风力发电机采集的点云数据、图像数据和数据采集时各风机叶片的相位角,基于上述数据得到多组关联数据;基于其中的点云数据,构建各风机叶片的曲面模型,以及,基于其中每个图像数据,确定各风机叶片的目标缺陷区域及目标缺陷类型;将各目标缺陷区域定位在对应的曲面模型上,基于其中各风机叶片的相位角,将各目标缺陷区域从所在曲面模型的叶片局部坐标系下的第一坐标,转换为同时刻统一全局坐标系下的第二坐标;获取无人机的当前运行数据,根据当前运行数据、目标缺陷类型及各目标缺陷区域的第二坐标,构建无人机的风机叶片巡检路径。

风机传动结构及发电装置和发电方法

NºPublicación:  CN121322310A 13/01/2026
Solicitante: 
王晓芳
CN_121322310_PA

Resumen de: CN121322310A

本发明涉及风力发电领域,具体为风机传动结构及发电装置和发电方法。其中本发明风机传动结构,包括:管式旋转轴,该管式旋转轴为竖直角度;风叶,所述风叶为至少三个、并且分别处于竖直角度;至少三个所述风叶以所述管式旋转轴为中心放射状分布;每一个所述风叶分别具有固定连接的叶片安装轴;所述叶片安装轴设有固定连接的蜗轮;减速电机,该减速电机为至少三个,每一个所述减速电机的电机轴固定连接有蜗杆;每一个所述减速电机的蜗杆分别与一个所述叶片安装轴的蜗轮啮合连接。本发明风机传动结构及发电装置和发电方法通过实现了可以在获取风力数值后,根据风力数值的大小通过减速电机调节风叶的角度。

一种辅助风力发电机组机舱散热通风的装置

NºPublicación:  CN121322323A 13/01/2026
Solicitante: 
华能大理风力发电有限公司
CN_121322323_PA

Resumen de: CN121322323A

本发明公开了一种辅助风力发电机组机舱散热通风的装置,包括,除灰部件,包括塔筒,塔筒的顶部安装有发电组件,发电组件的底部两侧均固定连接有连接筒,连接筒的外侧安装有防尘组件,发电组件的内部安装有两组抖动组件,两组抖动组件之间连接有传动组件,发电组件的内部安装有电机,防尘组件和连接筒之间安装有伸缩组件,连接筒的外侧安装有多个滑动组件,清扫组件的顶部安装有转动限位组件,通过设置在连接筒外侧安装有托架和防尘网的防尘组件,利用防尘网本身致密的网状物理屏障,达到了从根本上有效阻止鸟类、大型杂物侵入进风口并将其堵塞的效果,确保了进风通道的初始畅通与运行安全。

基于机舱式测风激光雷达的动态偏航误差补偿方法及系统

NºPublicación:  CN121322297A 13/01/2026
Solicitante: 
阳信德惠风力发电有限公司
CN_121322297_PA

Resumen de: CN121322297A

本申请提供一种基于机舱式测风激光雷达的动态偏航误差补偿方法及系统。其中,本申请首先采集风力涡轮机前方预定距离处的三维风场数据,同时获取风力涡轮机运行状态参数,接着提取来流风方向的非稳态横向分量与纵向速度梯度分布,然后计算由风场动态变化引起的实时偏航误差量,并结合风力涡轮机偏航系统的动态响应特性,将实时偏航误差量转换为前馈补偿控制信号,最后将前馈补偿控制信号输入至风力涡轮机主控制器,调整偏航系统的角度设定值,以完成激光雷达的偏航误差补偿;本申请提供的技术方案不仅提升了风力发电机组在复杂变化风况下的对准精度、风能捕获效率与运行稳定性,还实现了对动态偏航误差的高精度、高可靠性补偿。

连接器组件

NºPublicación:  CN121336042A 13/01/2026
Solicitante: 
西门子歌美飒可再生能源公司
CN_121336042_PA

Resumen de: WO2024256159A1

The invention describes a connector assembly (1) for connecting two parts (2A, 2B), comprising a stud bolt (10) comprising a shank (10S) and a threaded portion (10T) at each end of the shank (10S); a first threaded insert (14A, 14B) for embedding in a part (2A), adapted to engage with a first threaded portion (10T) of the stud bolt (10); a second threaded insert (14A, 14B) for embedding in the other part (2B), adapted to engage with the second threaded portion (10T) of the stud bolt (10); and a spacer (16) dimensioned to enclose the shank (10S) of the stud bolt (10), and comprising a length adjustment means (16T) for adjusting the length of the spacer (16) between an initial length (L0) and a maximum extended length (L1). The invention further describes a wind turbine rotor blade comprising a first rotor blade segment (2A) and a second rotor blade segment (2B), and a plurality of such connector assemblies (1) arranged to connect the first rotor blade segment (2A) to the second rotor blade segment (2B); and a method of connecting a first wind turbine rotor blade segment (2A) to a second wind turbine rotor blade segment (2B) with a plurality of such connector assemblies (1).

叶片托架和搬运系统

NºPublicación:  CN121336044A 13/01/2026
Solicitante: 
西门子歌美飒可再生能源公司
CN_121336044_PA

Resumen de: TW202445017A

Blade cradle (10) for a wind turbine blade (11) comprising a primary support frame (12) for receiving at least a section of the wind turbine blade (11) and at least one secondary support frame (13) for receiving at least one fixation means (14) for fixing the wind turbine blade (11) to the blade cradle (10), wherein the primary support frame (12) extends between a leading-edge end (15) and a trailing-edge end (16), wherein the primary support frame (12) comprises at least one first type connection interface (17) at the leading-edge end (15) and/or the trailing-edge end, wherein via the first type connection interface (17), the secondary support frame (13) is reversibly connectable to the primary support frame (12) in an operating position (I).

百兆瓦级绿电直连储能供汽系统及协同控制方法

NºPublicación:  CN121322913A 13/01/2026
Solicitante: 
北京民利储能技术有限公司
CN_121322913_PA

Resumen de: CN121322913A

本发明公开了一种百兆瓦级绿电直连储能供汽系统及协同控制方法,系统由多能互补绿色发电单元、电‑热转换与储能单元、蒸汽供应与调节单元、多源热耦合装置及智能协同控制系统构成。光伏、风电与生物质发电通过专用直馈线路直接向系统供电,大规模高温储热装置与调峰电极锅炉协同完成电‑热转换与热量调节,蒸汽蓄热器用于平抑蒸汽压力的短时波动,多源热耦合装置实现余热的梯级利用。所述控制方法采用“日前计划—日内滚动—实时调节”的三级控制架构,基于绿电出力预测与蒸汽负荷预测执行功率分配,并通过功率定向分配逻辑在不同工况下协调电极锅炉与储能的充放运行,使蒸汽压力保持稳定。

状态监测装置

NºPublicación:  CN121323986A 13/01/2026
Solicitante: 
西门子歌美飒可再生能源公司
CN_121323986_PA

Resumen de: EP4679052A1

The invention describes a method of monitoring the condition of a fluid-film bearing (20) arranged to support the generator of a direct-drive wind turbine (2), which method comprises providing a hydrophone (10) configured to convert acoustic noise to an output signal (10D); immersing the hydrophone (10) in the lubricating fluid (205) of the fluid-film bearing (20); providing access to the hydrophone output signal (10D) at the exterior of the fluid-film bearing (20); and evaluating the hydrophone output signal (10D) to determine the condition of the fluid-film bearing (20). The invention further describes a condition monitoring arrangement (1) of a fluid-film bearing (20); and a direct-drive wind turbine (2) comprising a fluid-film bearing (20) and such a condition monitoring arrangement (1).

一种新能源发电站用功率预测监控机的报警装置

NºPublicación:  CN223795024U 13/01/2026
Solicitante: 
中国华电集团有限公司甘肃分公司
CN_223795024_U

Resumen de: CN223795024U

本实用新型公开了一种新能源发电站用功率预测监控机的报警装置,涉及报警装置技术领域,包括安装架,安装架的一侧转动连接有用于对设备进行固定的底板,安装架的上表面设置有警报器本体,安装架的侧表面设置有旋转机构,旋转机构包括:双侧齿筒,双侧齿筒的中心处套设有限位杆,限位杆的两侧均固定安装有单侧齿筒,单侧齿筒的内侧与双侧齿筒的两侧表面开设有互相配合的卡齿,限位杆的一侧表面设置有用于对单侧齿筒进行限制的限位旋钮,安装架的上表面设置有安装机构,在本方案中,通过设置有旋转机构,可以根据使用的需求,调整设备安装的位置,达到应对不同安装需求的效果。

一种风力发电叶片辅助装置

NºPublicación:  CN223794274U 13/01/2026
Solicitante: 
中广核扶沟县新能源有限公司
CN_223794274_U

Resumen de: CN223794274U

本实用新型涉及风力发电叶片技术领域,提供一种风力发电叶片辅助装置,包括车体,所述车体顶部的一侧设置有旋转结构,所述旋转结构包括开设于车体顶部一侧的第一安装槽,所述第一安装槽的内部固定有固定座。本实用新型通过设置有旋转结构,当蜗杆带动蜗轮在第一内置腔的内部转动时,此时蜗轮会通过转轴带动固定板在压力轴承的顶端转动,在压力轴承的作用下,能够承担部分重量,同时减少了固定板与车体之间的摩擦力,固定板会带动叶片本体进行转动,从而降低转弯半径,改变了在运输过程中急转弯对叶片的限制,实现了该装置便于旋转角度的功能,从而提高了该风力发电叶片辅助装置在使用时的适用性。

一种风电机组叶片表面缺陷检测装置

NºPublicación:  CN223796472U 13/01/2026
Solicitante: 
江苏众胜致远新能源科技有限公司
CN_223796472_U

Resumen de: CN223796472U

本实用新型公开了一种风电机组叶片表面缺陷检测装置,包括:风电机,所述风电机包括风电塔筒和机舱;检测装置,所述检测装置包括滑轮组、钢丝绳、滑动定位圈、支撑框和摄像机;定位组件,所述定位组件包括支撑板、第一定位槽、第二定位槽、定位板和弹性橡胶块,所述支撑板一端固定在风电塔筒下端外侧,第一定位槽和第二定位槽开设在支撑板远离风电塔筒的另一端,定位板分别插接在第一定位槽和第二定位槽内,弹性橡胶块固定在定位板顶端。以解决检测装置在检测前,需把其中一个叶片转动至与地面垂直状态,而电机转动后,受惯性作用,叶片仍会继续旋转一段距离,使得叶片无法完全处于垂直状态,进而影响后续检测的问题。

高空做功系统补能装置

NºPublicación:  CN223794269U 13/01/2026
Solicitante: 
上海井蹊科技合伙企业(有限合伙)
CN_223794269_U

Resumen de: CN223794269U

本公开涉及一种高空做功系统补能装置,包括伞状的迎风单元、发电单元和牵引绳,牵引绳连接高空做功单元;迎风单元的顶部设有开孔,开孔的边缘通过若干第一绳连接至牵引绳上的第一旋转模块,迎风单元的下边缘通过若干第二绳连接至牵引绳上的第二旋转模块;迎风单元设有在高空风力作用下引导其单向旋转的旋转引导部,第一旋转模块和第二旋转模块在迎风单元旋转力作用下能够以牵引绳为轴旋转,发电单元连接所述第一旋转模块;发电单元设有发电机和储能模块,当第一旋转模块旋转时,带动发电机旋转发电,发电机转换的电能存储在储能模块中为高空做功系统的空中用电模组供电。该补能装置能够平稳、持续发电,从而为空中用电模组稳定地提供电能。

风力发电机叶片和水平轴风力发电机

NºPublicación:  CN223794267U 13/01/2026
Solicitante: 
王晓庆张家忠秦浩张宇张海
CN_223794267_U

Resumen de: CN223794267U

本实用新型涉及一种风力发电机叶片和一种水平轴风力发电机,属于风力发电机技术领域。本实用新型在叶片主体的后缘端设置有柔性尾缘系统,柔性尾缘系统包括第一柔性膜、吸力面尾缘片状件和压力面尾缘片状件;吸力面尾缘片状件、压力面尾缘片状件相对于叶片主体的后缘端面均具有悬伸设置的自由端,并在两者的自由端由第一柔性膜进行封闭连接。本实用新型不仅能够实现提高升力系数,延迟失速,实现风力发电机宽工况运行,适应更大范围的风能捕获,提高低风速风能利用,而且可减小对材料的性能要求,在应用于野外风场具有更好的稳定性,更适宜于工业化应用。

一种风电机组叶片根部法兰错位调整方法和复位工装

NºPublicación:  CN121322308A 13/01/2026
Solicitante: 
国华能源投资有限公司国华爱依斯(黄骅)风电有限公司
CN_121322308_PA

Resumen de: CN121322308A

本申请实施例公开了一种风电机组叶片根部法兰错位调整方法和复位工装,包括:将被调试叶片根部全部螺栓的力矩松掉;对被调试所述法兰进行选择;对所述法兰的螺栓孔进行处理;在所述法兰错位处安装复位工装,通过所述复位工装对错位法兰进行调整;在所述法兰的螺栓孔中放置定位杆;重复调整其余法兰;对调整后的所述法兰进行预紧。本方案无需使用大型吊装设备,大大降低了调整成本,减少了因吊装作业带来的安全风险和设备损坏风险。在风机原位进行调整,不受天气条件对吊装作业的限制,提高了调整效率,缩短了风电机组的停机时间,减少了对发电的影响。

操作风力涡轮机的方法和控制系统

NºPublicación:  CN121336043A 13/01/2026
Solicitante: 
西门子歌美飒可再生能源创新与技术有限公司
CN_121336043_PA

Resumen de: WO2024256724A1

A method of operating a wind turbine is provided. The wind turbine (100) comprises a power generation system (120) configured to generate electrical power from rotational mechanical energy and one or more electrical cables (20) configured to transport the electrical power generated by the power generation system (120). The one or more electrical cables (20) are associated with a cable temperature threshold for a cable temperature of the one or more electrical cables (20). A measured component operating parameter of a component (122) of the power generation system (120) is obtained. The measured component operating parameter is compared to a component operating parameter threshold and/or an estimated cable temperature that is estimated from the measured component operating parameter is compared to the cable temperature threshold. A mitigation action is taken to keep stable or reduce the cable temperature if the comparison indicates that the respective threshold is met or exceeded.

一种海上梁节点的安全施工通道

NºPublicación:  CN121321572A 13/01/2026
Solicitante: 
中交第一航务工程局有限公司天津深基工程有限公司
CN_121321572_PA

Resumen de: CN121321572A

本发明公开了一种海上梁节点的安全施工通道,属于海上工程技术领域,包括位于横梁顶部的横向支撑架,横向支撑架上固定连接有第一竖向杆,第一竖向杆上固定连接有底横杆,底横杆上连接有第二竖向杆,底横杆上方抵接有伸缩跳板,伸缩跳板位于相邻桩帽之间,从而形成相邻桩帽之间的施工通道,伸缩跳板内设置有驱动电机,驱动电机控制伸缩跳板的伸缩长度,驱动电机上电连接有风力发电机组、控制器和蓄电池,蓄电池用于储存风力发电机组产生的电能并传输给控制器和驱动电机。本发明有效解决了传统安全措施依赖个人防护存在的弊端,显著提高施工效率和安全性,确保了在复杂海域环境中施工的连续性和安全性,大幅降低了施工风险,提高了施工效率。

一种加装激光雷达的风电机组保护控制方法及装置

NºPublicación:  CN121322294A 13/01/2026
Solicitante: 
中国华能集团清洁能源技术研究院有限公司华能广东汕头海上风电有限责任公司
CN_121322294_PA

Resumen de: CN121322294A

本发明提出一种加装激光雷达的风电机组保护控制方法及装置。本发明实施例的加装激光雷达的风电机组保护控制方法,能够显著提升风电机组在极端风况下的运行安全性和可靠性,通过激光雷达的前瞻性风速测量有效降低关键部件动态载荷,延长机组使用寿命。

一种基于数据分析的风力发电机组运行控制方法及系统

NºPublicación:  CN121322293A 13/01/2026
Solicitante: 
新疆华能西海风力发电有限公司
CN_121322293_A

Resumen de: CN121322293A

本发明公开了一种基于数据分析的风力发电机组运行控制方法及系统,其包括:分析环境的历史环境监测数据,确定影响风速的环境参数数据,提取其特征,并基于特征和预设模型构建预测模型预测得到环境风速预测数据;基于环境风速预测数据确定预测功率曲线,并确定其与理论最优功率曲线之间的差异特征;基于差异特征对功率曲线差异状态评估得到性能状态评估值,并基于其确定优化控制系数矩阵;基于优化控制系数矩阵对风力发电机组的运行参数进行优化后进行运行控制。本发明可以精准确定出风力发电机组的性能状态,并动态生成最优控制策略,以实时调整运行参数,从而在保障设备安全的前提下,最大化风能捕获效率,平滑功率输出,有效延长使用寿命。

可再生能源制氢耦合绿氨及生物质掺烧煤电微电网方法

NºPublicación:  CN121332686A 13/01/2026
Solicitante: 
南京工程学院
CN_121332686_PA

Resumen de: CN121332686A

本发明公开了一种基于风能或光伏等可再生能源的海水制氢与水电联产微电网优化方法。利用零碳电力驱动海水淡化与电解制氢,多余电能储入电池以备极端天气使用。所制氢气一方面用于沿海煤电企业生物质掺烧:将氢气喷入生物质切片燃烧区,提升燃烧稳定性与效率,降低碳排放;另一方面转化为更易储运的绿氨,供煤电企业掺烧发电。掺烧过程中产生的余热可对外有偿供热,供热后的低品位热能再用于海水淡化,实现能源梯级利用与水电联产,助力煤电绿色转型。

基于多重摆式粒子调谐阻尼器及其减振方法

NºPublicación:  CN121321739A 13/01/2026
Solicitante: 
厦门大学厦门大学深圳研究院
CN_121321739_A

Resumen de: CN121321739A

本申请公开了一种基于多重摆式粒子调谐阻尼器及其减振方法,用以解决传统调谐质量阻尼器(TMD)存在的鲁棒性差、减振频带狭窄,难以适应海上风电塔筒复杂多变振动环境的问题。本申请的阻尼器通过柔性牵拉构件悬挂支撑板构成摆式调谐质量单元,并将其N阶固有频率调谐至与塔筒N阶固有频率匹配,实现对主频振动的高效共振吸能;同时,在支撑板上设置颗粒填充盒,利用摆式单元摆动驱动颗粒材料产生剧烈相对运动,通过非弹性碰撞与摩擦,广泛耗散宽频振动能量。本申请能够显著提升阻尼器在恶劣海洋环境下的适应性、鲁棒性与整体减振效能。

一种风电叶片

NºPublicación:  CN121322288A 13/01/2026
Solicitante: 
中国长江三峡集团有限公司
CN_121322288_PA

Resumen de: DE202024104587U1

Schaufel für eine Windkraftanlage, gekennzeichnet durch ein Gehäuse (1), eine erste Verstärkungskomponente (2) und eine zweite Verstärkungskomponente (3), wobei das Gehäuse (1) mit einem Aufnahmehohlraum (11) versehen ist, wobei das Gehäuse (1) gegenüberliegende erste (12) und zweite Enden (13) hat, wobei das zweite Ende (13)zur Verbindung mit einer Nabe der Windkraftanlage vorgesehen ist, wobei die erste Verstärkungskomponente (2) und die zweite Verstärkungskomponente (3) in dem Aufnahmehohlraum (11) angeordnet sind, wobei die erste Verstärkungskomponente (2) nahe dem ersten Ende (12) des Gehäuses (1) angeordnet ist, wobei die zweite Verstärkungskomponente (3) nahe dem zweiten Ende (13) des Gehäuses (1) angeordnet ist, wobei die erste Verstärkungskomponente (2) und die zweite Verstärkungskomponente (3) kooperieren, um das Gehäuse (1) zu verstärken; wobei die erste Verstärkungskomponente (2) einen Schnelldemontagesitz (21), einen Verbinder (22) und mehrere Stützstangen (23) umfasst, wobei der Schnelldemontagesitz (21) im Aufnahmehohlraum (11) angeordnet ist und mit dem Gehäuse (1) verbunden ist, wobei der Verbinder (22) mit dem Schnelldemontagesitz (21) verbunden ist, wobei mehrere Stützstangen (23) auseinander auf dem Verbinder (22) angeordnet sind, und wobei ein Ende der Stützstange (23) mit dem Verbinder (22) verbunden ist und das andere Ende sich zum Gehäuse (1) hin erstreckt und an einer Innenwand des Gehäuses (1) anliegt.

隧道内风力储能及判断衬砌开裂渗水的集成装置和方法

NºPublicación:  CN121322096A 13/01/2026
Solicitante: 
中国铁路设计集团有限公司广东广汕铁路有限责任公司中南大学
CN_121322096_PA

Resumen de: CN121322096A

本发明涉及隧道内风能回收与衬砌结构健康监测技术领域,尤其涉及一种隧道内风力储能及判断衬砌开裂渗水的集成装置和方法。该装置包括预埋钢板、支撑结构、风力储能机构、蓄电池、传感组件和终端处理器;预埋钢板的数量为多个,且均匀预埋布设在隧道衬砌内;在各预埋钢板上均设置纳米银导电涂层;支撑结构设置在隧道内,且与各预埋钢板连接;风力储能机构设置在支撑结构上;蓄电池安装在风力储能机构上,并通过导线与各纳米银导电涂层连接;传感组件的数量与预埋钢板的数量相同,且二者一一对应设置;终端处理器与各传感组件连接。该方法采用该装置将风能转化的电能用于实时监测判断隧道衬砌是否开裂渗水,为隧道智能化运维提供可靠技术支撑。

姿态控制装置、漂浮式风力发电装置及姿态控制方法

NºPublicación:  CN121322299A 13/01/2026
Solicitante: 
三峡(北京)可再生能源研究院有限公司北京怀柔实验室中国长江三峡集团有限公司
CN_121322299_PA

Resumen de: CN121322299A

本发明提供了一种姿态控制装置、漂浮式风力发电装置及姿态控制方法,其中,姿态控制装置包括:桨板结构,包括第一连杆和桨板,桨板设置在第一连杆的第一端;第一驱动结构,包括第一基座、驱动件以及与传动组件,传动组件包括传动环和连接件,驱动件与传动环驱动配合,传动环绕其轴线方向可转动地设置在第一基座上,传动环转动时能够带动连接件绕传动环的轴线方向转动,连接件绕垂直于传动环的轴线的方向可转动地设置在传动环上,第一连杆的第二端与连接件连接,以使传动环通过连接件和第一连杆带动桨板绕传动环的轴线方向转动。本申请的技术方案有效地解决了相关技术中的漂浮式风电机组的姿态调节速度慢的问题。

一种基于尾流模型的风电机群偏航误差校正方法

NºPublicación:  CN121322302A 13/01/2026
Solicitante: 
中国大唐集团科学技术研究总院有限公司中国大唐集团科学技术研究总院有限公司中南电力试验研究院
CN_121322302_PA

Resumen de: CN121322302A

本发明涉及一种基于尾流模型的风电机群偏航误差校正方法,首创利用下游风机作为“传感器”,通过尾流模型反演上游误差,实现机群协同优化;构建含偏航角函数的修正尾流模型,量化非对称尾流对下游的影响;基于SCADA数据动态反演误差,结合增益系数k实现稳定在线校正,避免单机寻优的滞后性;利用下游风机的运行数据作为“传感器”,反向推演和校正上游风机的偏航误差,从而在提升上游风机自身性能的同时,优化整个机群的尾流场,最终实现风电场整体发电量的提升;突破了单机校正的局限,从风电场全局效率出发,通过校正上游风机的误差来优化整个机群的流场和发电性能,成本低廉;精度高,抗干扰能力强;自适应性强;显著提升发电量。

一种用于风力发电机组后机架侧板裂纹的补强加固结构及加固方法

NºPublicación:  CN121322319A 13/01/2026
Solicitante: 
华能大理风力发电有限公司祥云分公司
CN_121322319_PA

Resumen de: CN121322319A

本发明公开了一种用于风力发电机组后机架侧板裂纹的补强加固结构及加固方法,涉及风力发电机组后机架裂纹处理技术领域,包括加固构件:所述加固构件包括机架和悬臂梁,所述机架的一侧安装有悬臂梁,本发明的有益效果:本发明设置有机架和悬臂梁,通过第四螺栓和第二连接螺栓孔配合对背板和机架进行加固连接,背板周边开坡口与机架直接焊接,两侧增加φ30的焊接工艺圆孔以加强焊接强度,背板两侧增加的筋板,以加强工字梁背板抗扭抗弯的能力,以加长连接螺栓长度和增大接触面积,从而提高螺栓的连接强度,防止断裂,在中心连接板的内部增加M10的悬臂梁安装螺栓孔,采用成组螺栓连接加强连接强度,减小单体螺栓所受的应力,防止螺栓断裂。

海上电站腐蚀预测方法、装置、设备及存储介质

NºPublicación:  CN121322311A 13/01/2026
Solicitante: 
深圳国能宸泰科技有限公司
CN_121322311_PA

Resumen de: CN121322311A

本申请公开了一种海上电站腐蚀预测方法、装置、设备及存储介质,涉及海洋腐蚀监测技术领域,包括:获取海上电站的环境监测数据;确定海上电站上的目标监测部位的实际腐蚀状态,其中,实际腐蚀状态的确定方式包括施加高频信号和调用电偶探针监测中的至少一种;根据环境监测数据和实际腐蚀状态对目标监测部位的腐蚀状态进行预测,得到目标监测部位的预测腐蚀状态。本申请将实时环境数据与结构的真实腐蚀响应相关联,实现了对环境驱动因素与结构实际腐蚀行为的多源信息融合分析,从而对海上风电机组关键部位腐蚀状态的准确预测,为及时发现腐蚀隐患、制定针对性防护措施提供了可靠依据。

一种门窗幕墙及其通风调节系统

NºPublicación:  CN121321893A 13/01/2026
Solicitante: 
杭州天地铝塑制品有限公司
CN_121321893_PA

Resumen de: CN121321893A

本申请属于通风系统技术领域,公开了一种门窗幕墙及其通风调节系统,包括安装框,安装框内壁靠近室内的位置上固定有安装架,安装架上设置有窗扇,安装架远离室内的一侧固定有横板,横板两端与安装框内壁靠近其底部的位置固定,安装框内顶壁与横板顶部之间设置有百叶通风组件,百叶通风组件由多组百叶单元组成,百叶单元包括转动安装于安装框两侧的内壁之间的横杆以及套设于横杆上并固定的百叶板,百叶板两端分别与安装框两侧的内壁贴合,安装框上设置有用于在强风天气控制多个百叶板关闭并在和风天气控制多个百叶板开启的控制机构。本申请能够在强风天气及时关闭百叶板,在和风天气打开百叶板。

风电空心主轴刚性加强套

NºPublicación:  CN121322540A 13/01/2026
Solicitante: 
洛阳精联机械基础件有限公司
CN_121322540_PA

Resumen de: CN121322540A

本发明提供一种风电空心主轴刚性加强套,包括外环及第一、第二和第三内环。外环内孔设一圈法兰,第一内环设于外环内孔法兰一侧,第二、第三内环设于外环内孔法兰另一侧。第一内环外壁与外环内壁锥面配合,第一内环通过多个螺栓与外环连接在一起。第二和第三内环通过多个柱销连接件和螺栓固定在一起,第二和第三内环外壁与外环内壁锥面配合,外环通过多个螺栓与第二内环连接在一起。将本发明设于风电空心主轴内轴承相应的位置,通过调节螺栓松紧使外环与各内环之间锥面发生挤压,使外环外径胀大,带动空心主轴与轴承配合处的外径胀大,使空心主轴在轴承处刚性增加,并可调整与轴承的过盈量,本发明结构简单、安装成本低,可操作性强。

一种免爬器用安全防坠器

NºPublicación:  CN121314103A 13/01/2026
Solicitante: 
库珀新能源股份有限公司
CN_121314103_PA

Resumen de: CN121314103A

本发明涉及一种免爬器用安全防坠器。在壳体的上部安装有转轴且在转轴的两端安装有测速滚轮,转轴的中部穿过副锁舌上部的轴孔且在转轴与副锁舌之间设有甩块机构,在转轴与主锁舌的中部之间安装有支架,在支架的顶部与壳体之间设有上部弹簧,在壳体内还安装有检测支架的位置的微动开关;还包括检测测速滚轮的转速的转速检测机构以及用于检测主锁舌的位置的压力检测机构;在壳体的底部安装有后部带有旋钮的下部轮座以及用于锁定和释放下部轮座的锁销,锁销沿一个滑座前后移动,在下部轮座与壳体之间设有轮座防反机构,在锁销与滑座之间设有锁销防反机构。本发明的防坠器在未正确安装使用时令免爬器不能启动运转,提升工作人员的安全性。

一种自补能式氢能混动水翼双体复合船及其使用方法

NºPublicación:  CN121291685A 09/01/2026
Solicitante: 
哈尔滨工业大学
CN_121291685_PA

Resumen de: CN121291685A

本发明提供了一种自补能式氢能混动水翼双体复合船,涉及无人船动力技术领域,解决了现有装备在远海环境下的续航、隐蔽性与任务多样性等方面的不足。本发明包括船体和潜体;船体本体顶部安装有风力发电机,船体本体底面后端固定安装有螺旋桨,船体本体内部设置有电解水制氢装置、燃料电池和储氢罐,潜体本体的内部设置有蓄电池和氢气罐,燃料电池和蓄电池均可以驱动螺旋桨和喷水推进器。该双体船以高压气氢为燃料,以燃料电池‑锂电池混动系统为动力装置,以可收纳小型风力发电机带动电解海水制氢为自补能装置,以水翼双体复合船为船身,其分离式潜体可作为自杀式攻击手段,适用于远海作战的无人水面船。

一种分布式光储充一体化充电系统及方法

NºPublicación:  CN121308644A 09/01/2026
Solicitante: 
深圳鸿泰数能科技有限公司
CN_121308644_PA

Resumen de: CN121308644A

本发明公开了一种分布式光储充一体化充电系统及方法,包括电处理部分、储能部分、发电部分、输出部分,所述电处理部分与储能部分、发电部分、输出部分和外界电网分别电性连接,所述电处理部分负责对发电部分和外界电网的电能进行处理后储存至储能部分中,且负责将储能部分中的电能处理后通过输出部分向用电器进行输出。本发明由于安装架和光伏板的相互作用,使得两者形成了一个前窄后宽的前后贯穿的通道,在“狭管作用”的影响下,此通道内的风速高于周围的风速,即提高风能,因此能够提高风力发电机的发电效率,无须额外占用建筑物顶端面积,故总体而言提高了发电效率,实现了风力发电和光能发电的良好兼顾。

一种风力发电机用高强度机座

NºPublicación:  CN223781556U 09/01/2026
Solicitante: 
淮安市宏骏机电有限公司
CN_223781556_U

Resumen de: CN223781556U

本实用新型公开了一种风力发电机用高强度机座,属于风力发电技术领域,其技术方案要点包括外框架,所述外框架中间设有内框架,所述外框架包括框架A、框架B、框架C和框架D,所述框架A和框架B之间通过加强筋固定连接,所述所述框架B和框架C之间通过加强筋固定连接,所述框架C和框架D之间通过加强筋固定连接,所述框架D和框架A之间通过加强筋固定连接。效果是,能够增强机座的整体强度,提升抗疲劳性能,加强筋的材质为碳纤维材质,确保在减轻重量的同时最大化结构强度;模块化设计不仅便于制造和运输,还大大简化了安装和维护过程,降低了整体成本。

叶片降噪装置及叶片

NºPublicación:  CN121296360A 09/01/2026
Solicitante: 
中材科技风电叶片股份有限公司
CN_121296360_PA

Resumen de: CN119641541A

The invention discloses a blade noise reduction device, a blade and a wind generating set. The blade noise reduction device comprises a connecting body and a sawtooth unit. The connecting body is provided with a plurality of protrusions and grooves which are alternately distributed in the first direction. The plurality of sawtooth units are connected to one end of the connecting body in the second direction, and the sawtooth units are arranged in the first direction. Wherein in the second direction, each sawtooth unit is correspondingly provided with a groove, at least part of the orthographic projection of each protrusion is located between every two adjacent sawtooth units and protrudes out of the orthographic projection of the corresponding sawtooth unit, and the second direction intersects with the first direction. The blade noise reduction device can obviously reduce aerodynamic noise generated by the blade.

机舱、液压供给系统和风力发电机组

NºPublicación:  CN121296401A 09/01/2026
Solicitante: 
远景能源有限公司
CN_121296401_PA

Resumen de: CN121296401A

本公开涉及一种机舱、液压供给系统和风力发电机组,所述机舱包括舱体,所述舱体内设有主轴、齿轮箱、联轴器、发电机、旋转部件、传动部件、泵体、油箱和液压驱动件,所述主轴依次通过所述齿轮箱和所述联轴器传动与所述发电机连接,其中,所述旋转部件转动设置在所述舱体内,并能够在风轮的带动下相对所述舱体转动;所述泵体通过所述传动部件与所述旋转部件连接,所述旋转部件通过所述传动部件带动所述泵体运行,以使得所述泵体抽取所述油箱内的液压油并向所述液压驱动件提供液压供给。本公开提供的技术方案,可以提高能源利用率,减少能量浪费。

流体涡轮机操作系统和方法

NºPublicación:  CN121311675A 09/01/2026
Solicitante: 
花卉涡轮机股份有限公司
CN_121311675_PA

Resumen de: US2024337237A1

An industrial structure for wind energy harvesting includes an industrial housing requiring venting and a vent outlet, An industrial fan associated with the vent outlet evacuates exhaust, forming an exhaust flow zone opposite the vent outlet. The exhaust flow zone is defined by first and second boundaries extending from the industrial structure on first and second sides of the vent outlet. At least one wind turbine is positioned external to the vent outlet including a turbine blade portion and an electric generator. The at least one wind turbine is positioned with respect to the vent outlet such that during each rotational cycle, the blade portion is partially within the exhaust flow zone and partially outside the exhaust flow zone straddling the first boundary.

一种利用货车风阻的风能发电设备

NºPublicación:  CN121296371A 09/01/2026
Solicitante: 
安徽轻运达科技股份有限公司
CN_121296371_PA

Resumen de: CN121296371A

本发明涉及货车风阻发电技术领域,提供了一种利用货车风阻的风能发电设备,包括驾驶舱和导流罩,所述导流罩中成型有互通的进气筒和排气管,所述进气筒正对车辆正前方,所述排气管在进气筒后端且朝向车辆侧后方,所述导流罩中成型有位于进气筒和排气管后端的后舱;可以理解的是,本发明在导流罩内设置具有进气筒和排气管的结构,并安装原动机构,其扇叶组采用阶梯式多扇叶设计,在车辆下坡时能够高效利用风阻发电,既可为车载设备供电,又能辅助制动,增强行车安全。该系统通过驾驶舱控制的盖板实现开闭,便于在雨雪天气或上坡等情况下灵活切换工作状态,避免不必要的燃油消耗,兼顾发电效益与整车经济性,同时结构紧凑,适合货车安装使用。

一种差速流轮网

NºPublicación:  CN121296662A 09/01/2026
Solicitante: 
毛永波
CN_121296662_PA

Resumen de: CN121296662A

一种差速流轮网;用复数流轮(0)连接差速器串联成串并组合成网,经过一级差速、二级差速或三级差速合力驱动轮盘(3)旋转;复数流轮(0)连接单转器并连接变速器平衡转速避免高速抛弃低速,实现高低速动力融合,力矩同轴或同盘叠加;或者复数流轮正反对转差速驱动,避免高速抛弃低速,实现高低速动力融合,力矩同盘或同轴叠加;又或者复数流轮(0)连接的圆锥齿轮差速器或圆柱齿轮差速器并且连接单转器,避免反作用力驱动无动力流轮(0)而消耗能量;用小型复数流轮(0)串联成串沿地面、山岭、高空或大海大面积阵列组合成网汇集大量微风、海流、潮流或波浪动力叠加累积成强大动力并用大直径轮盘杠杆放大动力驱动轮盘(3)旋转。

一种基于风电机组的智能启停控制方法

NºPublicación:  CN121296369A 09/01/2026
Solicitante: 
华能酒泉风电有限责任公司
CN_121296369_PA

Resumen de: CN121296369A

本发明属于风力机控制技术领域,涉及一种基于风电机组的智能启停控制方法,其通过激光雷达扫描获取风轮旋转平面内不同高度的径向风速序列,经空间插值与坐标变换,生成与风轮旋转平面匹配的垂直风速分布廓线,通过将该廓线与风轮实时方位角进行相位锁定,精准计算各叶片在当前方位下的瞬时气动推力及其差异,在此基础上,以最小化实时气动推力差异值为目标,计算各叶片的独立变桨补偿量并叠加至统一的基准变桨曲线,生成三路独立的执行变桨指令,从气动根源上主动、实时地平衡了三支叶片的受力,直接抑制了由垂直风剪切引发的周期性交变载荷,从而显著降低了叶片挥舞弯矩与塔筒振动,有效缓解了关键部件的结构疲劳。

抗冰刺结构

NºPublicación:  CN121296394A 09/01/2026
Solicitante: 
中国华能集团清洁能源技术研究院有限公司华能辽宁清洁能源有限责任公司
CN_121296394_PA

Resumen de: CN121296394A

本发明提供一种抗冰刺结构,涉及海上风电抗冰结构的技术领域,包括桩柱机构、笼套机构、驱动机构和多个冰刺机构,笼套机构与桩柱机构滑动连接,且笼套机构沿其周向依次设有多个冰刺机构;驱动机构与桩柱机构连接,且驱动机构与笼套机构连接,驱动机构用于带动笼套机构与多个冰刺机构沿桩柱机构的延伸方向移动。本发明缓解了现有技术中存在的现有的抗冰结构存在的重量大,安装、拆卸复杂以及无法适应潮差变化的技术问题。

轮毂变桨连接结构及风力发电机组

NºPublicación:  CN121296399A 09/01/2026
Solicitante: 
湖南兴蓝风电有限公司
CN_121296399_PA

Resumen de: CN121296399A

本发明提供了一种轮毂变桨连接结构及风力发电机组,涉及风力发电领域。该轮毂变桨连接结构包括叶片、轮毂和变桨轴承,轮毂通过变桨轴承与叶片连接,变桨轴承具有内圈、外圈及轴向支承件,内圈和外圈沿变桨轴承的径向相对设置,且通过轴向支承件连接,轴向支承件用于承载作用于叶片的轴向载荷;其中,外圈通过第一连接件与叶片连接,内圈通过第二连接件与轮毂连接,内圈为分体式结构,由多个分块单元通过第二连接件沿第二连接件的延伸方向依次连接。该分体式结构不仅提升了内圈在制造、装配及维护过程中的工艺灵活性,还显著改善了整体连接结构的受力均匀性与可靠性。风力发电机组包括上述轮毂变桨连接结构,能够实现更大的尺寸和更高的发电功率。

一种双层超高桁架式风力发电塔架

NºPublicación:  CN121296373A 09/01/2026
Solicitante: 
华电科工股份有限公司
CN_121296373_PA

Resumen de: CN121296373A

本发明提供了一种双层超高桁架式风力发电塔架,涉及风力发电结构技术领域,包括基础,基础上设置有桁架段,桁架段的顶端设置有过渡段,过渡段的顶端设置有塔筒段,塔筒段的顶端设置有发电机组;所述桁架段包括内外设置的两层三角形桁架,所述内、外层三角形桁架呈正三角形设置且内层三角形桁架的顶点设置在外层三角形桁架每条边的中点上,内层三角形桁架的外接圆直径与塔筒段直径相同,内、外层三角形桁架之间通过水撑和斜撑连接,外层三角形桁架的塔柱内设置有预应力索。本发明采用双层桁架式风电塔架,通过在外侧塔柱内施加预应力增加抗疲劳性能,降低内部桁架间距需求并获得较高的刚度,让叶片进入到桁架段内,更适用于大机组风力发电塔架。

一种基于可逆固体氧化物电池的离网零碳能源供应与淡水生产协同系统及方法

NºPublicación:  CN121292582A 09/01/2026
Solicitante: 
豆文宣
CN_121292582_PA

Resumen de: CN121292582A

本申请公开了一种基于可逆固体氧化物电池的离网零碳能源供应与淡水生产协同系统及方法,其属于发电领域。包括:电力整合模块,包括风力机组、光伏阵列、储能电池及直流母线,用于整合可再生能源发电与电能存储;RSOC系统模块,与所述电力整合模块电连接,具有固体氧化物电解池SOEC模式与固体氧化物燃料电池SOFC模式的双向运行功能;淡水生产模块,与所述RSOC系统模块热连接,包括直接接触膜蒸馏海水淡化装置,用于利用所述RSOC系统模块运行时产生的余热进行海水淡化;储氢罐;蓄水箱;智能控制器,通信连接所述电力整合模块和所述RSOC系统模块,被配置为根据风光发电功率与负载需求功率的差值,控制所述RSOC系统模块的模式切换。

一种集油防护结构及风力发电机组

NºPublicación:  CN121296400A 09/01/2026
Solicitante: 
中船海装风电有限公司
CN_121296400_PA

Resumen de: CN121296400A

本发明涉及一种集油防护结构,包括集油件、风力发电机组传动链的后轴承座和风力发电机组传动链的后轴承,后轴承座内设置有轴承安装孔,后轴承安装于轴承安装孔中,集油件安装于轴承安装孔后端底部的后方,以在后轴承底部后方形成能够收集润滑油的集油腔。本发明还提出了一种风力发电机组。本发明在后轴承底部后方形成集油腔,使得后轴承能得到更充分的润滑,能够降低后轴承产生的碎屑进入齿轮箱内的可能性,加强了对齿轮箱的防护。

风机偏航误差自学习校正方法及系统

NºPublicación:  CN121296368A 09/01/2026
Solicitante: 
陕西华电新能源发电有限公司
CN_121296368_PA

Resumen de: CN121296368A

本申请公开了一种风机偏航误差自学习校正方法及系统,涉及风力发电机组偏航控制技术领域,该方法包括:实时采集风机运行时的风速数据、风向数据和偏航角度数据,根据风速数据、风向数据和偏航角度数据,得到风机的实际偏航误差,基于历史偏航误差确定误差特征集合,根据实际偏航误差与误差特征集合的匹配长度得到误差演变特征,基于误差演变特征和偏航角度数据,自学习生成偏航校正参数,根据偏航校正参数对风机控制,以校正偏航误差。通过上述方式,解决现有技术中风机偏航系统因缺乏动态自学习能力而导致的误差校正滞后与不精确的技术问题。

一种基于反演滑模控制的构网风电并联系统协同调频方法

NºPublicación:  CN121308197A 09/01/2026
Solicitante: 
内蒙古电力(集团)有限责任公司内蒙古电力科学研究院分公司
CN_121308197_PA

Resumen de: CN121308197A

本发明公开了一种基于反演滑模控制的构网风电并联系统协同调频方法,属于风电并网技术领域。该方法通过实时监测风机有功功率、风速及电网频率,结合反演控制策略动态调整功率参考值,并利用补偿函数观测器估计和补偿外部扰动,增强系统鲁棒性;同时设计桨距角姿态反解模块优化风机功率输出,采用滑模自适应控制策略提高动态响应能力。仿真结果表明,本发明能显著提升系统调频精度与稳定性,减少频率波动对风机的影响,为风电并网系统的高效运行提供技术支持。

一种集钢管桩运输与翻身于一体的工装结构

NºPublicación:  CN121291720A 09/01/2026
Solicitante: 
中交第三航务工程局有限公司华能(烟台牟平区)新能源科技发展有限公司
CN_121291720_PA

Resumen de: CN121291720A

本发明公开一种集钢管桩运输与翻身于一体的工装结构,包括下层运输工装、上层运输工装、下层翻身工装和上层翻身工装;所述下层运输工装设置在甲板上,上方用于放置第一层钢管桩,所述第一层钢管桩间隙之间通过所述上层运输工装放置第二层钢管桩;所述下层翻身工装和所述上层翻身工装设置在所述下层运输工装的一侧,交替布置,分别用于所述第一层钢管桩和所述第二层钢管桩的翻身操作。本发明的目的在于克服现有的缺陷而提供的一种集钢管桩运输与翻身于一体的工装结构,实现钢管桩多层运输与直接翻身,提高了运输船运输效率,降低了钢管桩翻身船机配置,提高了施工工效。

一种风力发电装置用支撑架及风力发电装置

NºPublicación:  CN121296372A 09/01/2026
Solicitante: 
北京临一云川能源技术有限公司
CN_121296372_PA

Resumen de: CN121296372A

本发明公开了一种风力发电装置用支撑架及风力发电装置,包括多个支撑单元以及若干绝缘支撑杆,多个支撑单元相互围合形成具有内圈和外圈的环形支撑框架;相邻两支撑单元之间形成有容纳风电机组的涵道空间,绝缘支撑杆分布于各个涵道空间内,被配置为支撑风电机组;每个支撑单元包括沿环形支撑框架的径向延伸设置的桁架结构,以及设置于桁架结构两端的外支撑杆和内支撑杆;各个支撑单元的外支撑杆首尾相连插接围合成闭合圆形,形成环形支撑框架的外圈,各个支撑单元的内支撑杆首尾相连插接围合成闭合圆形,形成环形支撑框架的内圈。通过模块化设计,优化气动布局和结构受力分布,提高了风电机组的发电效率和风力发电装置整体的稳定性和可靠性。

一种设置有重力储能装置的风机塔筒及其控制方法

NºPublicación:  CN121296370A 09/01/2026
Solicitante: 
国网冀北电力有限公司承德供电公司
CN_121296370_PA

Resumen de: CN121296370A

本发明属于电力储能技术领域,具体涉及一种设置有重力储能装置的风机塔筒及其控制方法,包括风力发电机组,用于进行风发电;重力储能模块,由安装在风力发电机组中发电机后轴上的离合器、嵌套在风力发电机组中塔筒内的三个圆环状重物环以及设置在离合器和重物环之间用于控制重物环升降的升降机构构成,用于通过改变三个重物环的升降组合方式,实现对多余风能不同程度的存储,提供不同的重力储能功率。这种设计充分利用了塔内空间,且不影响风机的运行与维护;使得重力储能装置在风速波动时能通过储能和释能平抑风力发电机输出功率的波动,保持系统稳定运行,直接增强了风力发电系统的可靠性。

一种风力发电叶片运输用固定装置

NºPublicación:  CN121291268A 09/01/2026
Solicitante: 
东台启盛新能源科技有限公司
CN_121291268_PA

Resumen de: CN121291268A

本发明公开了一种风力发电叶片运输用固定装置,涉及风力发电技术设备设施领域,包括车板和风力发电叶片,所述车板和风力发电叶片之间通过固定装置固定连接,所述固定装置包括前端固定组件和后端固定组件,风力发电叶片的后端通过后端固定组件固定在车板后端,该发明中,通过前端固定组件和后端固定组件能够对风力发电叶片进行固定,满足了远距离运输要求;连接带的内部设有由介电颗粒与绝缘液体组成的流体,利用常态下为流体,电线通电后瞬间固化为类固体,断电后恢复柔软状态的特点,可以来改变连接带的状态,来对风力发电叶片与车板之间的作用力进行调整,减少了风力发电叶片与车板之间共振的概率,提高了固定装置的可靠性。

一种用于多向多能的混合型垂直轴浮式风机基础

NºPublicación:  CN121296375A 09/01/2026
Solicitante: 
烟台哈尔滨工程大学研究院
CN_121296375_PA

Resumen de: CN121296375A

本发明提供了一种用于多向多能的混合型垂直轴浮式风机基础,属于海洋可再生能源技术领域,包括:垂直轴风力发电机,垂直轴风力发电机安装在混合型浮式风机基础的中间主立柱上部,中间主立柱内部具有中空压载舱,以调节稳心高度;混合型浮式风机基础的三个边柱提供浮力;分布式垂直轴海流能装置安装在三个边柱下方,实现对不同方向海流能的有效捕获;分布式垂直轴海流能装置的海流能叶轮的旋转方向与垂直轴风机的旋转方向相反。本发明构建动态力矩平衡系统,主动抑制而非被动承受平台的艏摇运动;充分利用海洋垂直空间资源,实现在水线以上高效捕获风能、在水线以下稳定利用海流能,显著提升单位海域面积的能源产出密度与综合利用效率。

风机振动信号特征下的风力机叶片损伤监测方法及系统

NºPublicación:  CN121296381A 09/01/2026
Solicitante: 
内蒙古工业大学
CN_121296381_PA

Resumen de: CN121296381A

本发明提供了风机振动信号特征下的风力机叶片损伤监测方法及系统,涉及风力发电技术领域,通过布设在叶片关键位置的传感器组监测获取多维振动信号序列和环境参数序列;根据环境参数序列补偿多维振动信号序列,获取多维补偿振动信号序列;采用时频分析技术对多维补偿振动信号序列进行损伤特征提取,获取损伤特征参数序列;通过健康指数预测模型,根据损伤特征参数序列预测获取实时健康指数,若实时健康指数低于动态指数阈值,则对叶片进行损伤预警。本发明解决了现有技术由于未充分考虑环境因素对振动信号的影响,导致叶片损伤监测准确度和灵敏度不足的技术问题,达到了提升风力机叶片损伤识别精度和预警准确性的技术效果。

基于多源数据融合的叶片健康状态监测系统及方法

NºPublicación:  CN121296379A 09/01/2026
Solicitante: 
大唐重庆武隆清洁能源有限公司
CN_121296379_PA

Resumen de: CN121296379A

本发明公开了风力发电技术领域的基于多源数据融合的叶片健康状态监测系统及方法,包括:获取风机叶片运行时的声发射信号和图像数据,所述声发射信号通过布置在叶片表面的声学传感器采集,所述图像数据通过布置在叶片内腔和表面的视觉传感器采集;对声发射信号进行频域分析,基于功率谱密度变化计算声学损伤指数;对图像数据进行损伤识别分析,基于损伤区域特征计算损伤严重度;融合声学损伤指数和损伤严重度,结合运维时间参数计算健康指数;基于声学损伤指数、损伤严重度和健康指数生成分级预警信号。本发明实现叶片表面与内腔损伤的全面覆盖监测、基于声学特征分析的早期损伤识别、适应复杂气象条件的可靠监测和多维度健康状态评估与预警。

塔基式毫米波净空雷达监测系统

NºPublicación:  CN121299653A 09/01/2026
Solicitante: 
南京牧镭激光科技股份有限公司
CN_121299653_PA

Resumen de: CN121299653A

本申请公开塔基式毫米波净空雷达监测系统,涉及风电领域。在风塔基座的外表面均匀设置N个毫米波雷达传感器,传感器通过总线连接到主控单元,主控单元连接到风机主控设备;传感器安装形成的倾斜平面与塔筒斜面形成一俯仰倾斜角,且沿此俯仰倾斜角斜向上发射电磁波信号;在俯仰倾斜角下形成的雷达视角场覆盖整个塔筒叶片;传感器实时采集叶片点云数据和计算叶尖净空值,结合测量的叶片位姿信息形成目标测量信息,发送至主控单元。该方案通过安装在风塔基座的毫米波雷达传感器建立坐标系并计算叶片净空值,解决了高空安装维护困难、恶劣天气监测失效及测量基准不稳的问题,具有提升监测可靠性、降低维护成本和提高测量精度的优点。

风力机变浆工况特征分析系统及方法

NºPublicación:  CN121296365A 09/01/2026
Solicitante: 
北京亿美博科技有限公司新疆大学
CN_121296365_PA

Resumen de: CN121296365A

本发明涉及风力发电设备控制与状态监技术领域,具体涉及风力机变浆工况特征分析系统及方法,包括:S1、通过多维度瞬态感知子系统,利用多维度传感器同步获取变桨驱动机构的实时扭矩、液压回路压力波动、桨叶轴承摩擦力矩以及变桨电机电流变化率中的至少一项参数。本发明通过多维度瞬态感知子系统采集变桨驱动机构的实时扭矩、液压回路压力波动等多参数,结合风速与转速,经自适应滤波预处理和数据融合映射为瞬态工况特征向量,为瞬态分析提供精准数据;再由分阶段动态沉陷建模子系统按变桨起始、终止等阶段调用对应耦合模型,精确计算沉陷误差预测值,解决现有技术对瞬态沉陷特性缺乏精确分析的问题。

适用于风机变桨驱动器的永磁电机控制方法及系统

NºPublicación:  CN121308613A 09/01/2026
Solicitante: 
华能陕西靖边电力有限公司华能山东发电有限公司蓬莱风电分公司北京华能新锐控制技术有限公司
CN_121308613_PA

Resumen de: CN121308613A

本发明实施例提供了一种适用于风机变桨驱动器的永磁电机控制方法及系统,其通过实时获取母线直流电压信号进行精确暂降检测,并根据暂降深度智能生成自适应d轴弱磁电流指令,使电机在电压受限工况下仍能最大化电压利用率;同时,将带抗饱和补偿的电流环调节融入控制回路,从根本上解决电压不足时电流环饱和及积分失控问题。通过这样的方式,能够有效保障变桨电机在恶劣工况下的稳定性和快速响应能力,显著提升风机变桨系统的低电压穿越性能,避免因控制失效导致的机组停运,进而大幅增强风力发电机组的可靠性和电网适应性,减少关键部件的疲劳损耗,进而提升整体发电效率与运行寿命。

一种快速装配的分段式风力发电机叶片及连接装置

NºPublicación:  CN121296361A 09/01/2026
Solicitante: 
贵州工程应用技术学院
CN_121296361_PA

Resumen de: CN121296361A

本发明提供一种快速装配的分段式风力发电机叶片及连接装置,所述风力发电机叶片包括叶根段、中段和叶尖段,所述叶根段背离中段一侧上设有加固件,所述叶根段、中段和叶尖段内部沿其内壁分别均匀间隔固定连接有支撑环,相邻两支撑环之间分别设有腹梁,所述叶根段、中段和叶尖段分别通过多段叶片分段组成,相邻两叶片分段之间分别通过连接装置相连,所述连接装置外表面上下两侧分别覆盖有与叶片分段形状相同的密封板,所述密封板两端分别通过螺钉固定在叶片分段上;本发明可在现场实现快速安装、精准对接,提高安装效率,并且可节省运输成本。

基于多源异构数据融合的风电机组状态监测方法及系统

NºPublicación:  CN121296386A 09/01/2026
Solicitante: 
国华(甘肃)新能源有限责任公司
CN_121296386_PA

Resumen de: CN121296386A

本发明涉及风电机组状态监测技术领域,具体地说,本发明涉及基于多源异构数据融合的风电机组状态监测方法及系统,系统含数据采集单元、动态噪声处理单元、损伤特征分析单元及健康状态输出单元,本发明中数据采集单元通过硬件时间戳对齐同步获取叶片应变、机组转速及环境振动信号,动态噪声处理单元利用双参数耦合模型、温度‑桨距角三维校正曲面及闭环反馈,结合变步长消隐与局部带阻保护去除转速耦合噪声,损伤特征分析单元采用多尺度小波包分解与峭度检测提取微裂纹特征,融合振动模态置信因子进行交叉验证,健康状态输出单元生成含裂纹位置、扩展趋势及报警置信等级的拓扑图谱,解决多源数据融合不足、损伤误漏判问题,提升监测精准度。

一种风电机组变桨系统的试验装置

NºPublicación:  CN121296392A 09/01/2026
Solicitante: 
三峡新能源农安有限公司
CN_121296392_PA

Resumen de: CN121296392A

本发明提供一种风电机组变桨系统的试验装置,涉及测试装置技术领域,包括机架,所述机架的内部固定连接有安装架,所述安装架的端部转动连接有变桨轮毂,所述变桨轮毂的侧面啮合有接触齿轮,所述接触齿轮的轴心处固定连接有转动辊,所述安装架位于转动辊远离接触齿轮的一端设有触发机构,所述安装架的内部开设有活动槽,所述活动槽的内部设有调节机构,本发明中,通过触发机构,将工况变化转化为触头在电阻条上的位置移动,实现在高频微调工况下,装置将润滑油量控制在标准值下限,避免阻力过高;在高扭矩急变工况下,将油量提升至标准值上限,保障齿轮润滑充分,实现了,能精准模拟变桨系统真实运行状态,提升试验数据的准确性。

一种雷达视频一体的风力发电机测量叶片塔筒距离的方法

NºPublicación:  CN121296391A 09/01/2026
Solicitante: 
内蒙古雷奥飞智能装备有限公司
CN_121296391_PA

Resumen de: CN121296391A

本发明公开了一种用于风力发电机的塔筒—叶片距离测量与防扫塔系统及方法。系统采用毫米波雷达(可选视频辅助)与机组姿态信息,进行时间同步与外参标定,建立塔筒曲面与叶轮旋转几何模型,实时计算叶片与塔筒最小距离(dmin)及接触时间(TTC),并按阈值触发声光、限功率/限转速与顺桨、紧急停机等联动控制。该方案在雨雾与夜间仍可稳定运行,适用于新建及改造机组的防扫塔安全控制。

一种基于电热能量互补的楼宇系统调控方法

NºPublicación:  CN121297078A 09/01/2026
Solicitante: 
国网黑龙江省电力有限公司电力科学研究院哈尔滨电站科技开发有限公司
CN_121297078_PA

Resumen de: CN121297078A

一种基于电热能量互补的楼宇系统调控方法,涉及电能与热能联合调控领域。目前的供热方式,供热效率低、经济性差的问题。由电网、槽式太阳能集热器、风力发电机组、电锅炉、相变蓄热器、燃气轮机、余热锅炉、燃气锅炉和换热装置组建供热系统;根据楼宇系统的供热负荷以及供热系统中各时段电网电价、燃气轮机的天然气消耗量、燃气锅炉的天然气消耗量、槽式太阳能集热器的发电功率和风力发电机组的发电功率,建立以经济运行成本最小化、可再生能源利用率最大化和二氧化碳排放量最小化为目标的多目标函数,并建立约束条件约束多目标函数;利用多目标优化算法求解多目标函数,获得日前供热系统对楼宇系统的调控策略。本发明用于供热调控。

多绕组组发电机的控制

NºPublicación:  CN121312057A 09/01/2026
Solicitante: 
西门子歌美飒可再生能源公司
CN_121312057_PA

Resumen de: WO2025233054A1

It is described a method of controlling a generator (116) having a multi-stator-segment stator (101) comprising a first stator-segment (102a, S1) having a first multi phase winding set (104) and at least one second stator-segment (103a, S1) having least one second multi phase winding set (105), the method comprising: receiving first input signals (118_1) indicating an operation point of the first winding set (104); receiving second input signals (118_ 2) indicating an operation point of the second winding set (105); determining a first harmonic reference current (120_1) of at least one harmonic based on the first input signals; determining a second harmonic reference current (120_ 2) of at least one harmonic based on the second input signals; controlling the first winding set (104) based on the first harmonic reference current (120_1); controlling the second winding set (105) based on the second harmonic reference current (120_ 2).

一种空间交错管件连接装置及风电机组

NºPublicación:  CN121296559A 09/01/2026
Solicitante: 
北京三力新能电气设备有限公司
CN_121296559_PA

Resumen de: CN121296559A

本发明公开了一种空间交错管件连接装置及风电机组。包括垫块、卡箍和连接件。垫块的外形为圆饼状,具有外径、轴线和两个相互平行的端面,分别为第一端面和第二端面。第一端面的中部开设凹槽,凹槽与所连接管件的外形匹配。凹槽的深度大于或等于管件厚度的一半。连接装置包括两个外径相同的垫块,两个垫块的第二端面对接,同时两个垫块的轴线重合。两个管件分别设置在两个垫块的凹槽中。垫块开设有螺栓孔,通过卡箍和连接件实现垫块及管件的固定连接。连接装置结构简单,只需简单的加工即可制成,通过螺栓将空间交错的管件连接固定,连接可靠安全,抗疲劳性能强。能兼容各种交错的角度。容易安装,便于预组装或者现场安装。

基于熔盐的储能系统

NºPublicación:  CN121297550A 09/01/2026
Solicitante: 
国家能源集团新能源技术研究院有限公司国能宿州热电有限公司
CN_121297550_PA

Resumen de: CN121297550A

本申请涉及一种基于熔盐的储能系统,涉及熔盐储能技术领域。所述系统,包括:供热单元、加热单元、熔盐储能单元、蒸汽生成单元和热水生成单元;供热单元,用于向加热单元提供热能;加热单元,用于根据供热单元提供的热能,对熔盐储能单元中的熔盐工质加热,以将热能存储在熔盐储能单元中;熔盐储能单元,用于存储熔盐工质,并将加热后的熔盐工质中存储的热能依次传输至蒸汽生成单元和热水生成单元;蒸汽生成单元,用于根据熔盐储能单元传输的热能生成第一目标温度的蒸汽,并将熔盐工质中的剩余热能传输至热水生成单元;热水生成单元,用于根据蒸汽生成单元传输的剩余热能生成第二目标温度的热水。采用本方法能够提高能源利用率。

一种超级电容模组检测方法、装置、存储介质及机组

NºPublicación:  CN121299539A 09/01/2026
Solicitante: 
国投甘肃新能源有限公司国投白银风电有限公司国投酒泉第一风电有限公司国投酒泉第二风电有限公司
CN_121299539_PA

Resumen de: CN121299539A

本发明提供一种超级电容模组的检测方法、装置、存储介质及其机组,均采用了或存储有上述检测方法,该方法包括:响应于模组检测触发事件,控制变桨执行机构带动桨叶在第一检测桨角位置与第二检测桨角位置之间实施调桨动作,并计算超级电容模组由第一预设电压阈值放电至第二预设电压阈值时的放电容值;调桨过程中,响应于获取的超级电容模组当前电压流值由第一预设电压阈值放电至第二预设电压阈值,控制变桨执行机构停止调桨并控制充电机以恒定电流对超级电容模组充电至第一预设电压阈值,并计算由第二预设电压阈值充电至第一预设电压阈值时的充电容值;根据放电容值、充电容值判定超级电容模组是否处于异常状态。

一种用于平头商用车的装饰灯系统及商用车辆

NºPublicación:  CN121291307A 09/01/2026
Solicitante: 
一汽解放汽车有限公司
CN_121291307_PA

Resumen de: CN121291307A

本发明涉及商用车辆装饰灯技术领域,具体公开了一种用于平头商用车的装饰灯系统及商用车辆,该用于平头商用车的装饰灯系统包括正迎风外饰件、风压发电模块、储能滤波模块和装饰灯主体。由于平头商用车的正前方有较大面积且无法规避的正迎风区域,可以利用正迎风区域的正向风压使正迎风外饰件发生微小形变,通过风压发电模块将正迎风外饰件发生微小形变的机械能转化为电能,随后利用储能滤波模块对风压发电模块产生的电能进行储存,最终为装饰灯主体供电。如此设置,充分利用了车辆在行驶时的风阻(即正迎风区域的正向风压),随后利用风阻产生的正向风压通过风压发电模块的压电效应发电,有效提升了发电效率和能量利用率。

一种风电机组风险识别方法、存储介质及电子设备

NºPublicación:  CN121296390A 09/01/2026
Solicitante: 
国电联合动力技术有限公司
CN_121296390_PA

Resumen de: CN121296390A

本申请提供一种风电机组风险识别方法、存储介质及电子设备,包括:获取风电场中的风电机组在运行过程中的净空参数,净空参数包括:有效净空位参数、不同时间段的净空参数和最小净空参数;获取风电机组在运行过程中的不平衡度参数;根据有效净空位参数是否存在异常波动、不同时间段的净空参数是否符合预设变化规律、最小净空参数中最低净空的持续时长是否大于设定时长阈值以及不平衡度参数是否大于不平衡度安全阈值,判断风电机组是否存在风险;若风电机组存在风险则将风电机组作为风险机组。本方案,根据运行过程中的净空参数和不平衡度参数是否符合正常状态风电机组的运行规律,确定风电机组是否存在风险,准确识别到风电机组实际运行风险。

一种风电机组吊装施工塔筒作业系统及其施工方法

NºPublicación:  CN121292272A 09/01/2026
Solicitante: 
山东东能生态科技有限公司
CN_121292272_PA

Resumen de: CN121292272A

本发明涉及风电吊装施工技术领域,公开了一种风电机组吊装施工塔筒作业系统及其施工方法。该方法通过布置在风电机组塔筒吊装区域的多源传感器网络采集初始环境参数,采用三维建模技术生成塔筒吊装区域的空间环境模型;将吊装区域分割为多个吊装操作单元,对每个吊装操作单元执行塔筒结构状态采集操作,获得塔筒位移特征和地基共振特征;使用风速测量值进行风荷载响应模拟,生成静态风压影响矩阵;获取吊装设备的规划移动轨迹,调整吊装设备在规划移动轨迹上进行塔筒吊装时的行进顺序;在塔筒吊装过程中,计算动态风压影响值,基于当前吊装操作单元的动态风压影响值和静态风压影响值对吊装设备的吊装方向进行动态修正。

一种风电机组超速保护仪、系统及控制方法

NºPublicación:  CN121296388A 09/01/2026
Solicitante: 
华能新能源股份有限公司辽宁分公司
CN_121296388_PA

Resumen de: CN121296388A

本发明涉及风电机组设备检测领域,具体公开了一种风电机组超速保护仪、系统及控制方法,主要包括了判断是否获取到发电机和叶轮的报警信号,根据所收到的报警信号的结果,保存故障等级或无故障的第一信号;对发电机转速传感器和叶轮转速传感器发送发电机和叶轮相同转速的模拟输出,分别获取发电机转速传感器输出的第三转速和叶轮转速传感器输出的第四转速,判断是否对第一信号进行修正。通过上述方法,能够更精确的检测出当前风电机组超速系统的故障等级,即发电机转速传感器和叶轮转速传感器及对应的监测模块的问题,根据反馈的故障等级程度,由工作人员决定是否直接进行替换新的备件,提高精益化管理水平。

一种基于时频双域的风电爬坡事件概率预测方法

NºPublicación:  CN121302117A 09/01/2026
Solicitante: 
武汉大学
CN_121302117_PA

Resumen de: CN121302117A

本申请实施例公开了一种基于时频双域的风电爬坡事件概率预测方法,涉及人工智能技术领域,该方法包括:获取历史时段的NWP数据和风电功率数据,获取未来时段的NWP数据,构建得到多通道时序数据;将多通道时序数据输入训练好的风电功率预测模型中,预测得到未来时段的风电功率分布向量;基于风电功率分布向量采样得到多个时序风电功率向量,基于旋转门算法进行爬坡事件检测,提取得到每个爬坡事件;统计每个爬坡事件的各类事件特征,输出概率分布。本申请能够在日前尺度得到爬坡事件特征的概率性信息,使电网调度员能够更具有前瞻性、更有效地采取不同类型的系统可调容量来解决由风电爬坡事件导致的电力电量不平衡问题。

风力发电异常数据分析方法及系统

NºPublicación:  CN121296383A 09/01/2026
Solicitante: 
葫芦岛全方新能源风电有限公司
CN_121296383_PA

Resumen de: CN121296383A

本发明公开了风力发电异常数据分析方法及系统,涉及数据分析技术领域,包括如下步骤:构建风向变化速率增强感知模型,基于多测点采集的超短时间尺度风向变化趋势曲线和风速波动耦合指数,分析风向突变的潜在预兆,并生成风轮指向偏移的风险预警标签;基于风险预警标签,执行高频偏航扰动预测机制,利用非线性时间序列演化趋势和短期风向反转概率曲线,预测由偏航响应滞后引发的入流角连续偏移窗口。本发明通过多测点风向增强感知与风速耦合分析实现风向突变提前预警,结合预测性偏航补偿与扭矩均衡提升响应精度并降低能耗,利用自适应闭环与强化学习动态优化偏航参数,长期保持入流角稳定,提高发电效率与结构安全性。

一种通信工程用警示装置及其使用方法

NºPublicación:  CN121295645A 09/01/2026
Solicitante: 
烟台工程职业技术学院(烟台市技师学院)烟台译尔电子科技有限公司
CN_121295645_PA

Resumen de: CN121295645A

本发明涉及通信工程技术领域,尤其涉及一种通信工程用警示装置,包括固定底座以及设置在固定底座上的支撑杆,支撑杆上端固定连接有警示模块,警示模块上端转动连接有迎风板;警示模块两侧设置有用于增强警示模块动态反光范围的往复机构,迎风板上设置有风力发电模块;风力发电模块与往复机构相配合。本发明通过风力发电模块实现警示模块的持续供电,使其能够适用于刮风或者能见度低的恶劣天气,通过风力发电模块与往复机构的配合实现“运动 + 闪烁”的复合警示机制,充分利用人眼对动态和闪烁信号的高敏感度,进而大幅提升了警示范围和效果。解决了现有技术中警示装置在刮风或能见度低的恶劣天气无法更好地起到警示作用且警示功能较弱的问题。

一种多叶式卧式风力发动机

NºPublicación:  CN121296374A 09/01/2026
Solicitante: 
坤鸿动力科技(山东)有限公司
CN_121296374_PA

Resumen de: CN121296374A

本发明公开了一种多叶式卧式风力发动机,具体涉及风力发动机技术领域,包括底座,所述底座上设置有风力发动组件,所述风力发动组件包括设置在底座顶部的转盘,所述转盘的底部转动连接有若干个滚珠丝杆,且各所述滚珠丝杆的外侧分别设置有上下可调的第一连接盘。本发明通过第一叶片与第二叶片的周向均匀分布及部分重叠布局,显著增大了叶片与气流的有效接触面积,低风速下可聚合更多空气动力,大幅提升启动扭矩,彻底解决了少叶式启动困难的核心痛点,既破解了少叶式扭矩曲线陡峭的问题,又避免了极端风速对设备的冲击,为联动传动系统提供了稳定、均衡的工况环境,减少传动部件的磨损与过载风险。

调节式多弹簧系泊缓冲及蓄能发电装置

NºPublicación:  CN121296627A 09/01/2026
Solicitante: 
江苏科技大学
CN_121296627_PA

Resumen de: CN121296627A

本发明公开了一种调节式多弹簧系泊缓冲及蓄能发电装置,该装置包括基础底座、主缓冲组件、副缓冲组件、侧向连接结构及太阳能板:主缓冲组件的主缸筒内的主活塞杆带动活塞底座压缩缓冲弹簧进行一级缓冲;副缓冲组件的缓冲缸筒两端连接顶部连接结构与侧向连接结构,副活塞杆压缩缓冲弹簧进行二级缓冲;主缸筒底座与副缸筒底座上连接有复位蓄能发电组件,复位蓄能发电组件包括绳索及发电装置;发电装置内有磁块,发电装置底座固定有轴,轴的一端固定有圆盘;轴上穿设有弹簧,弹簧一端固定在底座上,另一端固定有缠有铜线的圆筒;轴外套接有中空杆;主活塞底座和副活塞底座通过绳索与圆盘连接。本发明解决了现有缓冲装置结构单一、依赖外接电源、工况适应性差及角度响应不足的问题。

用于风力涡轮机部件的运输系统

NºPublicación:  CN121311677A 09/01/2026
Solicitante: 
西门子歌美飒可再生能源公司
CN_121311677_PA

Resumen de: TW202509347A

The present invention relates to a transport system (1) for a wind turbine component (2), comprising a base platform (3) for providing a support area for supporting the wind turbine component (2), a carrier device (4) for carrying the base platform (3) and a lifting device (5) for lifting the base platform (3), wherein the base platform (3) comprises a plurality of first adapters (6) and the lifting device (5) comprises a plurality of second adapters (7), wherein the first adapters (6) are configured for engaging with the second adapters (7) for holding the base platform (3) at the lifting device (5), wherein the lifting device (5) is arranged at the carrier device (4). The first adapters (6) are arranged at opposite side surfaces (8) of the base platform (3). The invention also relates to a method for handling a wind turbine component (2).

一种滑动轴承、风电主齿轮箱及风电机组

NºPublicación:  CN121296589A 09/01/2026
Solicitante: 
南京高速齿轮制造有限公司
CN_121296589_PA

Resumen de: CN121296589A

本发明属于风力发电设备技术领域,公开了一种滑动轴承、风电主齿轮箱及风电机组。滑动轴承包括滑动层。滑动层沉积设置于第一构件的表面。当第一构件与第二构件进行相对转动时,滑动层与第二构件之间形成润滑油层,润滑油层作为具有一定承载能力的润滑膜,能够将滑动层与第二构件的固体表面分隔开,使干摩擦转为润滑油层内部分子间的液体摩擦,显著降低滑动层与第二构件之间的摩擦系数,从而减少二者之间的磨损。该滑动轴承具备体积小及轻量化的优点,且具备良好的经济性。滑动层由耐磨材料制成,并沉积设置于第一构件上,使得滑动层在第一构件表面形成一层高硬度且耐磨的涂层,可延长滑动轴承的使用寿命。

一种具有自愈功能的风电机组塔筒监测系统

NºPublicación:  CN121296387A 09/01/2026
Solicitante: 
湖州普康智信科技有限公司
CN_121296387_A

Resumen de: CN121296387A

本发明公开了一种具有自愈功能的风电机组塔筒监测系统。本发明包括感知层、分析层、决策层、自愈层。感知层实时采集风电机组塔筒多源响应数据,实现风电机组塔筒的全系全息感知;分析层结合多源数据融合算法与数据驱动算法对风电机组塔筒预应力索进行实时状态监测和未来状态预测;决策层根据多源数据融合算法(现在)、数据驱动算法(将来)的分析结果与主控系统联动决策,制定风机下一步行动策略;自愈层主动触发修复系统,实时执行针对性的修复操作,从而实现预应力索自适应恢复,确保风电机组的稳定运行。本发明可为风电机组塔筒的运维提供一种监测与自愈一体的智能化解决方案。

一种风机塔筒平台限位装置及其使用方法

NºPublicación:  CN121296397A 09/01/2026
Solicitante: 
东方电气风电股份有限公司
CN_121296397_PA

Resumen de: CN121296397A

本发明公开了一种用于海上风机塔筒平台的限位装置及方法,属于风力发电设备技术领域。该装置包括设置在塔筒内部的平台、平台周向的围边、多个周向支撑单元以及平台防撞橡胶垫。周向支撑单元通过可调节螺杆使其底盘顶紧塔筒内壁,提供刚性支撑与宏观限位;平台防撞橡胶垫采用独特的勾型截面设计,其厚侧嵌入塔筒与平台围边间隙形成缓冲层,薄侧内嵌于围边内侧实现约束。本发明通过刚性支撑与柔性缓冲的协同作用,有效吸收了平台所受的冲击与振动能量,限制了平台的位移,彻底解决了传统刚性连接导致的应力集中和疲劳断裂问题,显著提升了海上风机塔筒平台在复杂海洋环境下的稳定性、安全性与使用寿命。

WIND POWERED GENERATOR ASSEMBLY

NºPublicación:  DK202430349A1 09/01/2026
Solicitante: 
KELD HEDEGAARD [DK]
Keld Hedegaard

Resumen de: DK202430349A1

The present invention discloses a wind powered generator assembly (100, 200). The assembly (100, 200) comprises at least one rotor (102) coupled to a blade assembly. The rotor (102) is configured to receive rotational motion from the blade assembly and rotate in a first direction. The blade assembly comprises a set of blades (106). The assembly (100, 200) comprises a stator (104) configured to rotate in a second direction. The first direction is opposite to the second direction. A relative speed between the rotor (102) and the stator (104) is doubled compared to when the stator (104) is stationary and results in increased power generation at a given wind speed.

一种垂直轴微风发电低速启动叶轮

NºPublicación:  CN121296364A 09/01/2026
Solicitante: 
广西中融投资有限公司
CN_121296364_PA

Resumen de: CN121296364A

本发明公开了一种垂直轴微风发电低速启动叶轮,涉及风力发电技术领域,包括叶片、封板、龙骨和转轴连接架;叶片沿所述转轴连接架等角度圆周分布;每一叶片均为弧面叶片;每一叶片的弧面凸侧设有从上至下平行间隔分布的若干龙骨;若干龙骨均与对应一叶片固定连接,每一龙骨的一端延伸至对应一叶片一端外形成龙骨连接部,每一龙骨连接部与转轴连接架可拆卸式固定连接,将每一叶片固定安装在转轴连接架上;相邻两叶片之间均设有一封板,每一封板均固定连接在转轴连接架上,每一封板的两侧对应抵接在相邻两叶片的内侧。本发明可解决现有技术中垂直轴风力发电机低速发电困难的难题。

用于风力发电机叶片的电热融冰方法、装置及其存储介质

NºPublicación:  CN121296395A 09/01/2026
Solicitante: 
国网湖南省电力有限公司湖南防灾科技有限公司国网湖南省电力有限公司防灾减灾中心国家电网有限公司
CN_121296395_PA

Resumen de: CN121296395A

本申请公开了一种用于风力发电机叶片的电热融冰方法、装置及其存储介质,涉及风机叶片的电热融冰技术领域。上述方法包括:获取叶片蒙皮的当前温度相对叶片蒙皮的温度限值的温差,温差变化率以及当前环境温度;根据当前环境温度选定第一PID系数;根据温差和温差变化率基于根据电热融冰的多个阶段确定的模糊控制规则确定第二PID系数;通过粒子群算法调节根据第二PID系数和第一PID系数确定的待调节PID系数,得到调节后PID系数,其中,粒子群算法的优化目标为温度限值和粒子的电加热单元模拟输出温度的偏差最小化;根据调节后PID系数和温差,基于PID算法确定电加热单元的输出电流。上述方法可使叶片尽快升温并降低电加热单元温度过高而造成叶片损伤的可能。

一种下部导管架长跨距模块化运输方法

NºPublicación:  CN121296376A 09/01/2026
Solicitante: 
中海福陆重工有限公司
CN_121296376_PA

Resumen de: CN121296376A

本发明公开一种下部导管架长跨距模块化运输方法,涉及模块化运输技术领域。包括以下步骤:S1:执行下部导管架结构强度校核操作;S2:依据步骤S1的校核结果与采集的结构参数,制定下部导管架建造方案;S3:设计运输支撑系统与SPMT车组协同控制体系,运输支撑系统需包含具备自适应调节能力的支撑结构;S4:规划运输路径,对路径内的薄弱点执行加固处理操作。该运输方法,通过设计具备自适应调节能力的运输支撑系统,一方面支撑系统可通过弧形包板弧度调节,节省抬梁工装制造成本,同时避免抬梁吊装所需的吊机台时费;另一方面支撑系统可在SPMT进车前提前固定于导管腿,无需额外安装调试。

一种风电机组主轴螺栓断裂与松弛的智能监测方法及系统

NºPublicación:  CN121296382A 09/01/2026
Solicitante: 
中车株洲电力机车研究所有限公司
CN_121296382_PA

Resumen de: CN121296382A

本发明公开了一种风电机组主轴螺栓断裂与松弛的智能监测方法及系统,方法包括:获取风电机组的运行数据和传感器数据;筛选发电机转速大于预设最低转速的接近开关传感器信号;当行程开关传感器信号从高电平变为低电平时,判定有螺栓松动伸出并立即触发机组停机;基于接近开关传感器信号和风轮转速,计算每个螺栓间隙扫过接近开关传感器的实际低电平时间;基于风轮转速实时计算螺栓间隙扫过接近开关传感器的理论时间;当实际低电平时间大于理论时间时,判定该位置有螺栓掉落,并记录当前风轮方位角;在连续判断周期中统计同一风轮方位角处的螺栓掉落次数;当超过预设阈值时,判定为螺栓断裂,触发机组停机。本发明具有成本低、监测精准等优点。

方向方法、装置、设备及可读存储介质

NºPublicación:  CN121304781A 09/01/2026
Solicitante: 
内蒙古新远景集团有限公司远景能源有限公司
CN_121304781_PA

Resumen de: CN121304781A

本申请实施例提供一种方向检测方法、装置、设备及可读存储介质,电子设备获取目标图像,该目标图像为拍摄设置在风机机舱表面的指南针得到的图像。之后,电子设备从目标图像中识别出指南针的表盘区域,该表盘区域内的磁针指向地磁北极,方向指针指向风机机舱的方向,根据表盘区域确定顺时针方向上方向指针与磁针之间的指针夹角,并根据指针夹角确定风机机舱的方向。采用该种方案,在风机机舱表面设置低成本的指南针,拍摄设置在风机机舱表面的指南针得到的图像,电子设备根据目标图像中指南针的表盘区域即可确定出风机机舱的方向,从而通过利用低成本的通用指南针检测风机机舱的方向,实现降低方向检测成本的目的。

一种风力发电机组安全链稳定防误报装置

NºPublicación:  CN121308311A 09/01/2026
Solicitante: 
北方联合电力有限责任公司新能源分公司
CN_121308311_PA

Resumen de: CN121308311A

一种风电发电机组安全链稳定防误报装置,包括PLC,PLC连接有安全链供电模块,安全链供电模块电连接低电压保持单元,低电压保持单元电连接安全链接触器;利用继电器合闸保持电压要求低的特点,给安全链供电加上一个低温自保持功能,从而稳定安全链供电系统,使之不会出现频繁误报的故障,安全链供电加上一个低温自保持功能,提高安全链供电的安全冗余,减少去塔基复位安全链的次数,提高机组发电效率。

一种数字孪生驱动的风电混塔安全状态监测方法及系统

NºPublicación:  CN121296378A 09/01/2026
Solicitante: 
华能国际工程技术有限公司中国华能集团香港有限公司中国华能集团清洁能源技术研究院有限公司
CN_121296378_PA

Resumen de: CN121296378A

本发明涉及风电混塔安全监测技术领域,具体涉及一种数字孪生驱动的风电混塔安全状态监测方法及系统,包括:建立混塔的机理模型,并基于所述机理模型建立高精度有限元模型,通过有限元静力学分析获取混塔在多种载荷条件下的应力、应变和位移数据;通过有限元后处理提取关键节点的应力与位移数据,将预处理后的风速数据与节点数据作为训练集,建立并训练深度学习模型,用于实时预测混塔的应力、应变和位移;对混塔状态进行实时监测与评估,设定动态阈值作为报警依据,当预测数据超过所述动态阈值时,系统自动发出告警;将报警信息发送至物理风电机组的现场操作人员。本发明提高了风电混塔安全状态监测的准确性。

风力机叶片

NºPublicación:  CN121296362A 09/01/2026
Solicitante: 
南京航空航天大学
CN_121296362_PA

Resumen de: CN121296362A

本发明涉及一种风力机叶片,包括叶片主体、驱动机构和旋转折叠机构。其中,叶片主体,包括叶尖折叠段和叶片中段,叶尖折叠段与叶片中段转动连接;叶片主体具有折叠状态与展开状态;旋转折叠机构的一端连接叶尖折叠段,旋转折叠机构的另一端连接叶片中段,用于驱使叶尖折叠段相对于叶片中段作旋转折叠运动,以使叶片主体在折叠状态与展开状态之间切换;驱动机构,设置于叶片主体内,与旋转折叠机构连接,驱动机构能够根据风力大小驱动叶尖折叠段运动。上述风力机叶片,能够根据实时风速自动调整叶尖段状态,低风速下增大扫风面积以提高效率,高风速下快速折叠以确保叶片安全,防止叶片损坏。

一种用于自动卡位的风电机组主轴刹车锁定装置及方法

NºPublicación:  CN121296366A 09/01/2026
Solicitante: 
东方电气风电股份有限公司
CN_121296366_PA

Resumen de: CN121296366A

本发明公开了一种用于自动卡位的风电机组主轴刹车锁定装置及方法,装置包括开设于风电机组主轴上的第一销孔,所述第一销孔连接有法兰,所述法兰内设有第二销孔,所述第二销孔下风向侧设有限位件,所述限位件位于第二销孔沿转动方向的下侧边缘;还包括与轴承座可伸缩连接的锁销套筒,所述锁销套筒内设有可伸缩的锁销,所述锁销通过伸缩可进入或退出第二销孔。借助限位件的导向作用实现锁销与销孔的自动对中,无需人工反复调整或等待主轴转动至特定位置,大幅缩短了锁定操作时间。半圆柱环与锁销套筒的尺寸适配及轴线共线设计,实现了锁销与销孔的自动卡位,无需人工反复调整或等待主轴转动至特定位置。

一种基于机器学习的风电机组状态评估方法、系统、设备及介质

NºPublicación:  CN121301952A 09/01/2026
Solicitante: 
北方联合电力有限责任公司新能源分公司西安热工研究院有限公司
CN_121301952_A

Resumen de: CN121301952A

本发明提供的一种基于机器学习的风电机组状态评估方法、系统、设备及介质,包括以下步骤:步骤1,获取目标风电机组的数据信息;步骤2,对得到的数据信息进行特征选择处理,得到多个特征;步骤3,计算每个特征的重要性得分;步骤4,从多个特征中选取重要性得分高的特征,作为备选集;步骤5,将得到的备选集作为预构的自编码模型的输入,得到编码后的特征;步骤6,将得到的编码后的特征与预设健康状态数据进行比较,根据比较结果识别目标风电机组的状态;本发明通过结合随机森林算法和长短时记忆网络自编码算法,能够更准确地识别风电机组的亚健康状态,从而提高风电场的整体运行效率。

用于固定若干风力涡轮机塔架的固定装置、用于固定装置的适配器、塔架装置和用于固定若干风力涡轮机塔架的方法

NºPublicación:  CN121311676A 09/01/2026
Solicitante: 
西门子歌美飒可再生能源公司
CN_121311676_PA

Resumen de: WO2024188810A1

Securing arrangement for securing several wind turbine tow- ers, adapter for a securing arrangement, tower arrangement, and method for securing several wind turbine towers Securing arrangement for securing several wind turbine towers (3) being in an erected state and located adjacently to each other, comprising at least one adapter (8) being removably attachable to one of the wind turbine towers (3) and at least one counteracting means (9, 12, 14) being connected or connectable with the adapter (8), wherein, regarding a state of the adapter (8) being attached to the respective wind turbine tower (3) and of the counteracting means (9, 12, 14) being connected with the adapter (8), the counteracting means (9, 12, 14) is adapted to be connected with another wind turbine tower (3) and/or to interact with a further counteracting means (9, 12, 14) being connected with another wind turbine tower (3) such that a relative movement between these wind turbine towers (3) is counteracted by the counteracting means (9, 12, 14).

风电机组性能异常检测方法及系统

NºPublicación:  CN121302209A 09/01/2026
Solicitante: 
大唐可再生能源试验研究院有限公司
CN_121302209_PA

Resumen de: CN121302209A

本发明提供一种风电机组性能异常检测方法及系统,通过采集风电机组在连续运行周期内的运行状态数据集,基于运行状态数据集构建反映风电机组能量转换与传递过程的动态能量拓扑图,将运行状态数据集映射至动态能量拓扑图,通过拓扑结构分析提取表征能量在部件间传递特性的能量流动特征向量;调用预构建的历史健康状态能量流动模型对能量流动特征向量进行动态匹配处理,计算当前能量流动模式与历史健康模式之间的能量流动偏离度;根据能量流动偏离度及实时采集的风速环境参数优化异常判定阈值,基于优化后的异常判定阈值输出风电机组性能异常检测结果。本发明可以更准确、可靠地实现风电机组性能异常检测。

适用于微风环境的风力发电机组

NºPublicación:  CN121296359A 09/01/2026
Solicitante: 
华能吉林新能源开发有限公司
CN_121296359_PA

Resumen de: CN121296359A

本发明公开了一种适用于微风环境的风力发电机组,涉及风电技术领域,通过设置塔架、吸风机构、发电机组以及风力加速机构,将吸风部件安装于安装空间内,且将发电机组安装于安装空间内,并使得吸风部件能使安装空间形成负压环境以使外界空气进入安装空间并驱动发电机组发电,风力加速机构内形成有与外界连通的进风通道,进风通道与安装空间密封连通,风力加速机构能在吸风部件吸入外界空气时加速外界风,进而使得本发明能够通过设置的风力加速机构对吸入的外界风进行加速,并且通过加速后的外界风推动发电机组进行发电,能够实现微风环境的发电作业,降低了发电机组对自然风况的依赖程度,提升了对风能的利用效率。

一种导电轨安装用便携式平台

NºPublicación:  CN121296396A 09/01/2026
Solicitante: 
山东润海风电发展有限公司
CN_121296396_PA

Resumen de: CN121296396A

本申请涉及风机技术领域,公开了一种导电轨安装用便携式平台,包括有上连接架、下连接架及可折叠踏板,上连接架包括有平行设置的第一架体、第一紧固件、连接架、第二紧固件,其中所述第一紧固件、第二紧固件的厚度可调节设置,下连接架与上连接架滑动连接,可折叠踏板设于下连接架的下方。本申请利用第一紧固件放置在十字立柱上,通过调节第一紧固件的厚度,将第一紧固件与导电轨、横梁之间的间隙填满,由此第一紧固件与间隙之间密切配合,提高两者之间的夹紧程度,其中第二紧固件包括支撑杆及伸缩弹簧,在伸缩弹簧的弹性支撑下,其中支撑杆始终与导电轨本体相接触,在第一紧固件与第二紧固件的共同作用力下,装置整体结构稳定。

一种风力变桨系统防渗漏油结构

NºPublicación:  CN223781562U 09/01/2026
Solicitante: 
大唐河南清洁能源有限责任公司
CN_223781562_U

Resumen de: CN223781562U

本实用新型公开了一种风力变桨系统防渗漏油结构,涉及防渗漏油技术领域,包括支撑环和密封套,所述支撑环和密封套之间通过螺栓连接,所述支撑环和密封套之间设有第一轴套和第二轴套,所述支撑环内侧设有第一密封组件,所述第一轴套内侧设有第二密封组件和第三密封组件。本实用新型通过支撑环、密封套、第一轴套、第二轴套、第一密封组件、第二密封组件和第三密封组件之间的配合,解决了变桨系统中润滑油随着转动轴的转动,容易沿着转动轴渗入电机中,影响电机正常工作的问题,提高了整个变桨系统运行的稳定性。

一种可除冰风机叶片

NºPublicación:  CN223781563U 09/01/2026
Solicitante: 
新疆大学
CN_223781563_U

Resumen de: CN223781563U

本实用新型公开了一种可除冰风机叶片,涉及风机叶片技术领域,包括风机叶片本体,风机叶片本体内侧设置有震动除冰转组件,震动除冰转组件用于间歇性敲打风机叶片本体并使风机叶片本体发生震动,且将风机叶片本体表面附着的冰层震碎消除。本实用新型通过震动除冰转组件的设置可以对风机叶片本体内壁面进行间歇性敲打,以此使风机叶片本体在使用的过程中频率均匀的发生震动,风机叶片本体通过震动将其表面的附着的冰层震碎并消除,从而避免因风机叶片本体表面附着冰层导致风机叶片本体表面的粗糙度增大,气流的流动受到阻碍增加,进而影响风机的风量和风压输出,影响系统的整体运行效果的问题。

具有可选置信水平的风力涡轮机旋转储备

NºPublicación:  CN121296367A 09/01/2026
Solicitante: 
维斯塔斯风力系统集团公司
CN_121296367_PA

Resumen de: US12392322B1

Control techniques for controlling a reliability of a spinning reserve of a wind turbine to be tailored to a user's reliability preference are disclosed. In one aspect, a control technique includes operating a wind turbine in a spinning reserve mode to provide a spinning reserve; calculating an available power of the wind turbine when operating in the spinning reserve mode; defining a reliability band around the calculated available power; selecting a reliability factor that defines a probability that a reliable available power within the reliability band is below the real available power; determining the reliable available power based on the selected reliability factor and the reliability band; determining a power setpoint for the wind turbine based on a difference between a desired spinning reserve and the determined reliable available power; and controlling the wind turbine to operate in the spinning reserve mode in accordance with the power setpoint.

基于转速自适应的风电机组频率主动支撑与恢复控制策略

NºPublicación:  CN121308199A 09/01/2026
Solicitante: 
国网浙江省电力有限公司电力科学研究院
CN_121308199_PA

Resumen de: CN121308199A

本发明属于风力发电技术领域,具体涉及基于转速自适应的风电机组频率主动支撑与恢复控制策略。针对现有新能源电力系统中风电机组主动频率控制时存在控制参数静态化,缺乏实时自适应调整机制的不足,本发明采用如下技术方案:基于转速自适应的风电机组频率主动支撑与恢复控制策略包括:采用分区间二次函数近似法得到机械功率二次曲线;当电网频率变化量超过阈值时触发调频响应,同时实时获取风电机组转速;计算风电机组可用转子动能功率以及减载备用功率或机械损失功率;根据可用调频功率计算确定风电机组输出有功功率参考值,调整风电机组转速,实现频率主动支撑;当满足恢复条件后,采用转速自适应恢复策略使风机恢复至超速减载模式。

一种可折叠式安装架

NºPublicación:  CN121296377A 09/01/2026
Solicitante: 
中国电建集团贵州工程有限公司
CN_121296377_PA

Resumen de: CN121296377A

本发明涉及风力发电技术领域,尤其是一种可折叠式安装架,包括两个固定基板,在两个所述固定基板的两侧转动连接有两个固定架;所述固定架的内部转动连接有承托板,所述固定架的内部设置有驱动组件,所述驱动组件用于在所述固定架展开时,驱使所述承托板翻转;两个所述固定基板之间设置有触发所述驱动组件的触发件,本发明中通过采用两个可转动的固定架的设计,在运输时,可将两个固定架展开并固定在运输车上,以实现对塔筒的支撑,同时借助于触发件和驱动组件的设计,在两个固定架展开的过程中可实现对承托板的自动翻转展开,以便于对塔筒外壁的支撑限位,运输完成后,可将两个固定架进行对折收纳,同时承托板也会进行同步收纳,以节省占用空间。

一种风电偏航管理系统及其使用方法

NºPublicación:  CN121296393A 09/01/2026
Solicitante: 
山东能源集团靖远盛鲁新能源有限公司云鼎科技股份有限公司
CN_121296393_PA

Resumen de: CN121296393A

一种风电偏航管理系统及其使用方法,包括偏航驱动电机、偏航减速器、外偏航轴承、偏航制动盘、第一通风孔、驱动齿轮、塔筒、机舱、内偏航轴承、液压制动器、内导流罩、第二通风孔;其中,偏航制动盘与塔筒固定连接,机舱通过外偏航轴承及内偏航轴承与偏航制动盘可转动地连接;偏航驱动电机、偏航减速器与机舱固定连接,且用于机舱相对于偏航制动盘转动;液压制动器与机舱连接,且液压制动器用于夹持偏航制动盘以限制机舱相对于偏航制动盘的转动,通过设置塔筒到机舱的文丘里通风结构以及对应的制动盘和塔筒上的通风孔和间隙,能缓解偏航系统的碳粉堆积问题,同时不需要在核心制动功能之外额外增加附属设备。

一种带飞轮的风力发电机叶轮主轴结构

NºPublicación:  CN223781552U 09/01/2026
Solicitante: 
华润电力风能(建平)有限公司
CN_223781552_U

Resumen de: CN223781552U

本实用新型公开了一种带飞轮的风力发电机叶轮主轴结构,包括轴体,一端为法兰连接端;还包括飞轮,该飞轮套设在轴体上,并临近轴体的法兰连接端处设置,通过飞轮的设置,能够将高速转动的轴体所产生的速度进行储能,而在轴体转速较低时,通过飞轮释放,从而提升轴体的转动效率;两组限位组件,由限位件与锁紧件构成,其中所述限位件旋设在轴体上,并与所述飞轮的端面贴合;在本实用新型中,将飞轮加装在主轴上,飞轮作为一种高效的储能元件,能够在风力条件欠佳时,利用其旋转惯性辅助提升风力发电机的转速,使得即使在风速略低于切入风速的情况下,发电机转速也能被有效提升至满足并网要求的标准,从而顺利实现并网发电。

一种风机变桨机构

NºPublicación:  CN223781549U 09/01/2026
Solicitante: 
大唐河南清洁能源有限责任公司
CN_223781549_U

Resumen de: CN223781549U

本实用新型公开了一种风机变桨机构,涉及风力发电设备技术领域,包括机壳、若干第一桨叶、若干第二桨叶和若干转动盘,所述第一桨叶设置于机壳的外壁,所述第二桨叶设置于第一桨叶的一侧,所述转动盘转动连接于机壳的内壁,所述转动盘的内部安装有圈齿轮,所述圈齿轮上互相啮合有传动齿轮,所述连接轴的一端安装有第一锥齿轮,所述机壳的内底壁转动连接有第二锥齿轮,所述第二锥齿轮与第一锥齿轮相互啮合,所述机壳的内底壁设置有用于使第二锥齿轮进行自锁的自锁组件。本实用新型通过电机驱动蜗轮蜗杆,从而带动两个锥齿轮啮合转动,从而使得转动盘转动,使桨叶进行角度的调节,并能够将桨叶的角度进行锁定,避免其发生反转。

一种加固型风电塔筒

NºPublicación:  CN223781559U 09/01/2026
Solicitante: 
山西昌能风电制造有限公司
CN_223781559_U

Resumen de: CN223781559U

本实用新型涉及风电塔筒技术领域,提出了一种加固型风电塔筒,包括主底座、连接机构和加固机构。本实用新型通过设置防拔桩,防拔桩可以增加加固桩与周围土壤的摩擦力或机械咬合力,防止加固桩在受到向上的力时被拔出,确保结构的整体稳定性,通过设置导向面和导向锥,将加固桩安装后,再使导向锥下降与导向面贴合,即可使防拔桩向外移动,插入土壤内,通过设置注浆通道,固定好后,向注浆通道内注入膨胀砂浆,使膨胀砂浆填充在加固桩外侧,膨胀砂浆在固化过程中会膨胀,紧密加固桩和防拔桩与土体之间的空隙,显著提高加固桩与周围土体的粘结力,增强加固桩的抗拔能力和侧向承载力,防止加固桩在荷载作用下发生松动或位移。

一种针对风力发电机扇叶主轴的新型轴承

NºPublicación:  CN223781566U 09/01/2026
Solicitante: 
陕西国防工业职业技术学院
CN_223781566_U

Resumen de: CN223781566U

本实用新型公开了一种针对风力电发机扇叶主轴的新型轴承,涉及发电机轴承设备技术领域,包含轴承座,轴承座底座,轴承盖,分段式轴瓦,上轴衬,下轴衬,轴承座的顶端设有圆台型安装槽,轴承盖的底端为与圆台型安装槽相互配合的圆台面,上轴衬和下轴衬的外壁分别和圆台型安装槽的顶壁和所述轴承盖的底壁之间留有第一间隙,第一间隙内等角度活动设有若干分段式轴瓦,本装置的可变形的挠性轴瓦,保证主轴和轴瓦之间足够的润滑间隙,减小受外载荷后的塑性变形,提高了轴承寿命,有效保障了风力发电机的平稳长效运行,本装置采用更小的轴瓦片段,降低了轴瓦制造、安装、运输的难度,维护时,仅需更换发生故障的少量轴瓦片段。

一种风机齿形带鼓包隐裂的检测方法

NºPublicación:  CN121296384A 09/01/2026
Solicitante: 
中国三峡新能源(集团)股份有限公司临朐天融风力发电有限公司中国长江三峡集团有限公司
CN_121296384_PA

Resumen de: CN121296384A

本公开涉及设备状态监测与故障诊断技术领域,公开了一种风机齿形带鼓包隐裂的检测方法,该方法包括:通过激光模块获取齿形带表面实时距离数据与基准距离比较,判断是否存在鼓包故障;采用预设的神经网络模型分析获取的齿形带实时图像,识别是否存在鼓包故障;采集齿形带运行时的振动信号并与正常频谱模板对比,判断是否存在鼓包或隐裂故障;综合前述检测结果,当任一检测判定存在故障时,生成并发送告警信号。本发明综合激光、图像及振动检测,解决了人工巡检无法在线监测风机齿形带早期鼓包与隐裂的难题。通过多源信息融合,实现了故障的早期预警,显著提升了检测准确性与系统运行的可靠性。

基于电磁超声与3D相控阵的螺栓监测方法及装置

NºPublicación:  CN121298907A 09/01/2026
Solicitante: 
中广核风电有限公司
CN_121298907_PA

Resumen de: CN121298907A

本发明提供基于电磁超声与3D相控阵的螺栓监测方法及装置,涉及螺栓监测技术领域,本发明采用了两阶段检测流程,首先通过电磁超声进行初步筛查,电磁超声设备激发超声波并接收回波信号,根据回波信号的强度与经过时间的关系,构建每个检测区段的时间‑强度曲线,快速筛选出那些回波信号异常的候选区段;通过3D相控阵技术对候选区段进行全面的三维空间扫描,通过聚焦超声波在三维空间内进行精准扫描,获取每个空间点的超声回波信号,通过提取每个空间点的超声回波信号强度并计算标准化偏差,能够标记出超出设定阈值的异常点,并通过空间聚集分析,将多个异常点聚集为异常区域,进一步提高了缺陷定位的精度。

一种喷水式登陆装置及其控制方法

NºPublicación:  CN121291745A 09/01/2026
Solicitante: 
华南理工大学
CN_121291745_PA

Resumen de: CN121291745A

本发明公开了一种喷水式登陆装置及其控制方法,包括载人基础平台、水平水管单元、竖直水管单元、控制单元、动力驱动单元、进水管、六自由度测量系统和定位导航系统,所述水平水管单元沿左右方向设置于载人基础平台的底部,所述竖直水管单元沿前后方向设置于载人基础平台的底部,并位于水平水管单元的下方,所述动力驱动单元通过进水管分别与水平水管单元和竖直水管单元连接,且其与控制单元通信连接,所述六自由度测量系统设置于载人基础平台上,并与控制单元通信连接,所述定位导航系统设置于载人基础平台上,并与控制单元通信连接,所述控制单元用于发出相应的控制指令。本发明能够有效解决海上风电运维人员登陆难、登陆成本高昂的问题。

一种漂浮式风电平台及施工方法

NºPublicación:  CN121291696A 09/01/2026
Solicitante: 
中车科技创新(北京)有限公司中车大连机车车辆有限公司
CN_121291696_PA

Resumen de: CN121291696A

本申请公开了一种漂浮式风电平台及施工方法,涉及风力发电领域,包括下浮体模块、立柱模块和横撑模块;立柱模块包括连接组件和漂浮立柱,下浮体模块包括立柱基础和下浮体压载舱;连接组件固定在漂浮立柱的上方,漂浮立柱固定在立柱基础上,下浮体压载舱的两端与相邻的两个立柱基础固定连接;横撑模块的两端分别与相邻的两个连接组件固定连接。在进行半潜式风电漂浮平台安装时,可以采用本申请提供的漂浮式风电平台,漂浮立柱、连接组件、立柱基础、下浮体压载舱和横撑模块都可采用模块化设计,规模化生产,灵活组合,通过工厂预制,现场分段安装,再整体运输至待安装海域,从而大大提高了安装时的灵活性。

一种高精度风电扭力臂

NºPublicación:  CN223782030U 09/01/2026
Solicitante: 
常州多棱多铸造有限公司
CN_223782030_U

Resumen de: CN223782030U

本实用新型涉及扭力臂技术领域,公开了一种高精度风电扭力臂,包括增速箱,增速箱一端固定连接有传动杆,且传动杆远离增速箱的一端固定连接有第一连接盘,第一连接盘远离传动杆的一侧贴合有第二连接盘,且第二连接盘远离第一连接盘的一侧固定连接有扭力杆,扭力杆远离第二连接盘的一端固定连接有第三连接盘,且第一连接盘靠近第二连接盘的一端外侧设置有防护组件,防护组件包括第二连接盘远离第一连接盘的一端外侧设置的第一限位板,且第一限位板一端贴合有第二限位板,可以通过防护组件对传动杆和扭力杆进行组装时,可以降低因安装过程中对第一连接盘和第二连接盘处造成的磨损,从而保证风电扭力臂的精度,提升使用寿命。

一种小型风力发电与风速测试一体化系统

NºPublicación:  CN223781553U 09/01/2026
Solicitante: 
天津大学
CN_223781553_U

Resumen de: CN223781553U

本实用新型公开了一种小型风力发电与风速测试一体化系统,包括电控箱和发电装置,所述发电装置包括底座、发电机、传动装置和叶轮,其中底座固定设置于测试平台顶面,发电机由底座固定支撑,传动装置连接在发电机和叶轮之间;所述电控箱的箱体与测试平台固定连接,电控箱内设置有电压检测继电器、灯泡、电流表、电压表和空气开关,所述电压检测继电器的常开端与发电机相连接,电压检测继电器的公共端与灯泡相连接,电流表与发电机相串联,电压表与发电机相并联,所述空气开关与电压检测继电器相连接。本实用新型旨在提供一种能够直观展示发电机的组成结构,同时便于更换齿轮系调节传动比的发电与风速测试一体化系统。

一种新型风机变桨滑环

NºPublicación:  CN223781564U 09/01/2026
Solicitante: 
华能吉林新能源开发有限公司通榆分公司华能吉林发电有限公司
CN_223781564_U

Resumen de: CN223781564U

本实用新型涉及风机变桨滑环技术领域,公开了一种新型风机变桨滑环,包括壳体和冷却仓,所述壳体包括出风口和进风口,多组所述出风口开设于壳体的一端,多组所述进风口开设于壳体的另一端,所述冷却仓包括半导体制冷器、导温板和鼓风机,所述半导体制冷器设于冷却仓的顶部,多组所述导温板设于半导体制冷器的制冷端,且导温板贯穿至冷却仓的内部。本实用新型通过半导体制冷器、导温板和鼓风机产生冷却,并通过进风口进入壳体内部,可快速对滑环转动辊进行冷却,避免高温对风机变桨滑环造成损坏,通过伺服电机和转轴可带动清洁辊和刷毛发生转动,可对滑道的灰尘进行清理,避免灰尘影响风机变桨滑环的使用,使风机变桨滑环使用的稳定性更高。

一种基于单质硫的风光燃气储热制氢系统

NºPublicación:  CN223785756U 09/01/2026
Solicitante: 
中广核美能企业管理(深圳)有限公司
CN_223785756_U

Resumen de: CN223785756U

本实用新型提供一种基于单质硫的风光燃气储热制氢系统,包括:风光发电单元,风光发电单元,用于收集风能和太阳能,将风能和太阳能转化为电能并输送电能;电加热器,与风光发电单元连接,以将电能转化为热能;储热单元,包括单质硫高温储罐和单质硫低温储罐;水电解制氢单元,用于电解水制氢;热交换器,包括进行热交换的、与储热单元连接的第一侧和与水电解制氢单元连接的第二侧;第一硫循环泵和第二硫循环泵,用于提供单质硫的循环动力;单质硫高温储罐、第一硫循环泵、热交换器第一侧、单质硫低温储罐、第二循环泵、电加热器依次连接,形成单质硫的做功回路。本实用新型可以提高能源的利用效率。

用于风电叶片的传感器装置

NºPublicación:  CN223783733U 09/01/2026
Solicitante: 
北京浩朴科技有限公司
CN_223783733_U

Resumen de: CN223783733U

一种用于风电叶片的振动传感器装置,属于风电叶片的传感器技术领域,其包括设于风电叶片的内部空腔内的数字加速度计、WIFI模块、低功耗微控制器、内置充电电池以及小电流充电电路;有效避免了传统的有线安装方式导致的施工布线工作量大、固定走线进行容易被牵扯、磨损、绞断,接头接触不良的隐患多、排查困难,雷击导致传感器、线缆和采集设备的损坏的缺陷。

一种风力发电机组偏航监测方法及系统

NºPublicación:  CN121296385A 09/01/2026
Solicitante: 
中车山东风电有限公司
CN_121296385_PA

Resumen de: CN121296385A

本申请公开了一种风力发电机组偏航监测方法及系统,涉及风力发电机领域,用以解决现有技术无法有效监测和控制风力发电机组偏航系统振动和噪声的问题。具体包括:步骤S1:数据采集的步骤,用于采集信号及状态运行数据;步骤S2:判断信号数据是否异常的步骤,用于判断采集到的信号数据与预设报警阈值的匹配情况;步骤S3:偏航调节执行的步骤,用于接收判断信号数据异常情况,根据预设逻辑控制指令,决定是否继续偏航,或进入调整风力发电机组动作操作;步骤S4:闭环监测迭代的步骤,用于继续偏航执行后,重新执行信号数据采集和判断。本申请通过上述方法实现了精准捕捉偏航异常并实时干预,抑制风力发电机组偏航系统振动和噪声扩散。

一种风力发电装置

NºPublicación:  CN121296363A 09/01/2026
Solicitante: 
浙江风拓新能源有限公司
CN_121296363_PA

Resumen de: CN121296363A

本申请涉及一种风力发电装置,包括旋转组件与导流组件。旋转组件含可绕旋转轴转动的旋转支架,及沿旋转支架周向安装的多个叶片组件,每一叶片组件均设有聚风腔室;该聚风腔室具有朝向旋转支架外侧的开放式第一端,以及向旋转支架内侧倾斜的封闭式第二端。导流组件含若干沿周向环绕旋转组件的导流板,导流板可绕预设摆动轴向内侧摆动,受风力作用时偏转,将风定向导向聚风腔室的第一端,使风对聚风腔室施加从第一端指向第二端的作用力,驱动旋转组件转动。该装置能减少风向波动的能量损耗,解决传统机型聚风弱、低风速捕风难、高风速风阻大的问题,显著提升风能利用率与能量转换效率。

基于多传感器融合的风电叶片维修安全监控系统及方法

NºPublicación:  CN121296380A 09/01/2026
Solicitante: 
大唐重庆武隆清洁能源有限公司
CN_121296380_PA

Resumen de: CN121296380A

本发明公开了风力发电设备维护技术领域的基于多传感器融合的风电叶片维修安全监控系统及方法,包括:获取叶片维修平台的多传感器采集数据;基于叶片维修平台的多传感器采集数据,依次计算叶片维修平台的平台安全承载值和实时安全系数后,判定叶片维修平台的运行状态;基于所述平台安全承载值以及叶片维修平台的多传感器采集数据,通过运行速度优化控制公式计算综合运行速度后,对叶片维修平台进行运行速度控制。本发明通过多传感器数据融合和智能算法,实现风电叶片维修平台安全的实时动态监控和倾覆风险早期预警,显著提升叶片维修作业的安全性和可靠性。

一种风力涡轮机叶片阻尼机构

NºPublicación:  CN223781550U 09/01/2026
Solicitante: 
西安御能电力科技有限公司
CN_223781550_U

Resumen de: CN223781550U

本实用新型公开了一种风力涡轮机叶片阻尼机构,涉及风力涡轮机叶片阻尼技术领域,包括筒体,所述筒体的一端活动连接有连接座,且连接座的外壁安装有叶片本体,所述连接座的内壁连接有连接轴,且连接轴的外壁安装有第一阻尼环,所述第一阻尼环的一侧设置有过渡区,且过渡区的另一侧连接有第二阻尼环。本实用新型中,通过对第一阻尼环、第二阻尼环及阻尼块等的设置,当叶片本体转速小时,则启动电动推杆,使得其推动活动环至第一阻尼环的外侧,则阻尼块与第一阻尼环之间产生阻力,且当叶片本体转速大时,则活动环移动至第二阻尼环的外侧,使得阻尼块与第二阻尼环之间产生阻力,实现选用合适的阻尼环境,确保风力涡轮机叶片的使用寿命。

一种风力发电机组叶片高强度螺栓断杆监测装置

NºPublicación:  CN223781561U 09/01/2026
Solicitante: 
中闽(福清)风电有限公司
CN_223781561_U

Resumen de: CN223781561U

本实用新型涉及螺栓断杆监测技术领域,特别是一种风力发电机组叶片高强度螺栓断杆监测装置,包括多个高强度螺栓,多个高强度螺栓环形设置在变桨轴承上,其特征在于,所述高强度螺栓上设置有止动件,所述止动件上设置有带有固定环的安装杆;所述固定环经钢丝绳与触发器的拉环连接,当其中一个高强度螺栓断杆时,牵引钢丝绳,钢丝绳拉动拉环使触发器发出信号。本实用新型能够监测高强度螺栓的断杆情况。

一种风电联轴器的膜片销轴结构

NºPublicación:  CN223781919U 09/01/2026
Solicitante: 
宁波圣誉传动科技有限公司
CN_223781919_U

Resumen de: CN223781919U

本实用新型公开了一种风电联轴器的膜片销轴结构;其技术要点是:包括盘状主体、膜片和销轴,膜片内安装有轴套,销轴包括安装段与固定段,盘状主体上开设有用于与安装段过盈配合的连接孔,安装段带有与连接孔同向的斜度,安装段的端部设置有螺纹段,螺纹段上有紧固螺母。优点是通过将销轴放入连接孔内,再将紧固螺母拧紧,在紧固螺母拧紧的过程中,安装段会逐渐向连接孔小直径的一端靠近,从而实现逐渐与连接孔过盈配合的效果,而该过程中无需进行敲打,降低了膜片的安装难度,再通过拧紧压紧螺栓,使得第一垫圈与压紧盖对轴套起到夹持作用,从而将膜片紧密地固定在销轴上,经过上述两点,使得膜片的安装过程同时具有了便于安装和高可靠性的特点。

风力涡轮机转子叶片

NºPublicación:  CN223781548U 09/01/2026
Solicitante: 
德国恩德能源欧洲股份两合公司
CN_223781548_U

Resumen de: CN223781548U

风力涡轮机转子叶片,风力涡轮机转子叶片包括叶片根部、叶片梢端、前缘、后缘、吸力侧、压力侧和包括至少一个电加热元件的可加热表面区域,其中,可加热表面区域覆盖前缘的一区段并具有面向叶片梢端的第一边缘、面向叶片根部的第二边缘、布置在吸力侧的第三边缘和布置在压力侧的第四边缘,风力涡轮机转子叶片包括电绝缘材料的第一层,其中,第一层小于可加热表面区域,并且沿着前缘布置在至少一个电加热元件的顶部上,并且使得第一层延伸超过可加热表面区域的第一边缘。本实用新型的电加热系统提供了改进的防雷保护。

一种风电机组二次侧模块的安装结构

NºPublicación:  CN223781555U 09/01/2026
Solicitante: 
杭州施厚能源科技有限公司
CN_223781555_U

Resumen de: CN223781555U

本实用新型公开了一种风电机组二次侧模块的安装结构,属于模块安装技术领域。包括滑轨和模块外体,模块外体的内部开设有限位槽,限位槽的内部滑动连接有滑块,滑块与限位槽之间通过第一弹簧进行连接,滑块上安装有卡杆,两个滑块之间设置有推块,推块上固定安装有推杆,模块外体上固定安装有盖板,推杆滑动插接在盖板的内部。通过本实用新型,工作人员撤去对压板的压力后,第二弹簧进行复位,带动推块向远离滑轨的方向移动,则两个滑块在第一弹簧的复位作用下相互靠近,卡杆可夹持在滑轨上,操作简单方便,并且在模块外体与滑轨安装接触时,卡杆与滑轨处于不接触状态,可有效避免在安装时,卡杆损坏,有效降低安装难度。

一种海上风电导管架基础漏浆检测装置及漏浆检测方法

NºPublicación:  CN121298139A 09/01/2026
Solicitante: 
上海勘测设计研究院有限公司
CN_121298139_PA

Resumen de: CN121298139A

本发明涉及海洋工程施工监测技术领域,公开了一种海上风电导管架基础漏浆检测装置及漏浆检测方法;漏浆检测装置包括主体框架、多模态传感器阵列、中央处理单元、通信传输模块以及供电单元;中央处理单元被配置为接收并处理多模态传感器阵列采集的数据,通过多源信息融合分析判断是否发生漏浆事件,在确认漏浆时生成包含漏浆位置信息的报警信号。本申请能够实现对灌浆区域环境数据的原位、实时采集、处理与传输,解决背景技术依赖间接信号导致的滞后性问题。将装置直接部署在漏浆风险最高的区域,能够捕捉到漏浆发生瞬间的物理信号,并通过中央处理单元的多源信息融合分析,提升检测的直接性和实时性,为后续的快速响应提供可靠的硬件条件。

重力空气压缩机

NºPublicación:  CN121296416A 09/01/2026
Solicitante: 
张金强
CN_121296416_PA

Resumen de: CN121296416A

一种重力空气压缩机,它包括水轮或风轮连接传动轴,传动轴连接变速(箱)轮,变速(箱)轮连接曲轴,曲轴连接活塞,活塞与内缸顶部连在一起,内缸罩着内囊套置于缸体内形成压缩腔,内囊周围与内缸内壁周围紧贴却不连接,在固定台板上开进气孔和出气孔,进气孔设低压阀,出气孔设高压阀,高压阀连通临时储气仓,低压阀连通进气仓,临时储气仓和进气仓中间用隔断隔开,临时储气仓设有带高压气阀装置的输气管连通气罐,临时储气仓底部设泄水阀,进气仓与入气管相连,入气处设过滤器,从固定台板上沿到临时储气仓和进气仓的边底是一个独立的圆形仓体,独立圆形仓体只与缸体同底连接,周围都不连接,如此便能收尽天下风能水能,造福人类。

一种风力发电机塔筒清洁机器人

NºPublicación:  CN121296398A 09/01/2026
Solicitante: 
华能酒泉风电有限责任公司
CN_121296398_PA

Resumen de: CN121296398A

本发明涉及风力发电机技术领域,尤其是一种风力发电机塔筒清洁机器人,包括,攀爬机构,其用于在塔筒外部移动;清理机构,其包括设于所述攀爬机构上的固定板,以及设于所述固定板上的驱动件,所述固定板上设有限位盘,所述限位盘上旋转设有旋转环,所述旋转环的内壁设有刷子;所述驱动件能够控制所述旋转环旋转,本发明通过攀爬机构能够在风机塔筒外部上下位移,驱动件运转能够使得旋转环进行旋转,进而带动刷子对风机塔筒外壁进行刷洗操作,实现对风机塔筒的清洁,无需进行人工的清理,降低了清洁作业的风险,并且清洁过程中无需进行风机的停机操作。

聚合物复合材料、导波层、压电陶瓷叶片除冰系统及其制备方法

NºPublicación:  CN121293676A 09/01/2026
Solicitante: 
天津诚创建设有限公司
CN_121293676_PA

Resumen de: CN121293676A

本发明公开一种聚合物复合材料、导波层、压电陶瓷叶片除冰系统及其制备方法,属于风力发电机叶片防冰技术领域。该聚合物复合材,原料包括环氧树脂和钨粉;所述钨粉的用量为所述环氧树脂质量的15‑25%。此外,本发明还提出一种上述聚合物复合材料的制备方法,包括:将环氧树脂和钨粉混合得到所述聚合物复合材料。此外,本发明还提出一种压电陶瓷叶片除冰系统,从上往下依次包括集成于叶片壳体内的声阻抗匹配胶层、上述所述的导波层、压电陶瓷单元阵列层和相位同步驱动电路层。

一种高空风能做功系统的驱动对接机构

NºPublicación:  CN223781551U 09/01/2026
Solicitante: 
上海井蹊科技合伙企业(有限合伙)
CN_223781551_U

Resumen de: CN223781551U

本公开涉及一种高空风能做功系统的驱动对接机构,驱动包括基座和下驱动件,基座固定在高空风能做功系统的主缆绳上;下驱动件通过若干副绳连接至高空风能做功系统的迎风面的外围边沿,且收到指令可沿主缆绳上、下行走;下驱动件和基座分别设有第一对接件和第二对接件,第一对接件和第二对接件分别设有第一对接槽和第二对接槽,第一对接槽和第二对接槽相向设置;对接机构设有控制第一对接槽和第二对接槽锁定或解锁的控制模块,以控制下驱动件和基座之间的锁定或解锁。采用钩状的上下两个对接件能够避免对接件的受力部分在分离过程中的局部受力,有效提升部件的安全性能及解锁效率。

塔架安装平台

NºPublicación:  CN223781558U 09/01/2026
Solicitante: 
上海博珖机器人有限公司
CN_223781558_U

Resumen de: CN223781558U

本申请涉及一种塔架安装平台,用于塔架安装,其中,塔架包括多个支撑柱,塔架安装平台包括至少一个操作平台组件,操作平台组件包括操作平台以及悬挂机构,悬挂机构与支撑柱可拆卸连接,操作平台通过悬挂机构吊装于支撑柱;其中,操作平台至少部分沿支撑柱的周向延伸并围绕支撑柱设置。本申请实施例提供的塔架安装平台,结构简单、操作方便、稳定性强,能够提高施工安全性。

一种新型堆叠式风力发电装置

NºPublicación:  CN223781554U 09/01/2026
Solicitante: 
青岛科技大学
CN_223781554_U

Resumen de: CN223781554U

本实用新型涉及一种新型堆叠式风力发电装置,其特征在于,包括:壳体、压电部分、套筒、弹簧、风杯、上轴、端盖、下轴、M8螺栓、M8螺母,所述压电部分安置于壳体内部,所述壳体侧壁打有两个通孔,方便压电部分的引线,所述套筒安装在壳体上,将所述弹簧套在所述下轴上,并放置于套筒中,所述上轴放置于所述下轴上方,并使上轴的正弦曲面与下轴的正弦曲面重合,所述端盖安置于所述壳体上方,并使用4根所述M8螺栓与4颗所述M8螺母将其固定,所述风杯置于最上方,并通过螺纹与所述上轴连接。本实用新型的有益效果是:高效利用微风或低速风等传统风力发电难以利用的资源,具有工作可靠、便于安装、结构简单、维护便捷、发电效率高、适用性强等优点。

一种风机叶片监测用自发电装置

NºPublicación:  CN223781560U 09/01/2026
Solicitante: 
北京浩朴科技有限公司
CN_223781560_U

Resumen de: CN223781560U

一种风机叶片监测用自发电装置,在一段塑料管的内部空腔中处设有永磁体,永磁体的两边分别吸附着一个弹簧,在塑料管的两侧各有一个堵头和一个线圈,整个叶片自发电装置安装在叶片内部。当风机叶片的旋转时,永磁体不断从高处跌落产生的动能储存在弹簧。两个线圈发出的交流电经过两路桥式整流电路变成直流电能储存在超级电容中;本实用新型利用叶片旋转产生的永磁体势能变化进行微能发电,如果再配备后续的微功耗的叶片数据采集装置,就可以提供一种全新的叶片监测方案。与传统的轮毂取电方式相比,可以避免线缆的外皮磨损、线缆绞断、接头接触不良的隐患多、排查困难、雷击导致传感器、线缆和采集设备的损坏、人工成本太高的缺陷。

塔架安装平台

NºPublicación:  CN223781557U 09/01/2026
Solicitante: 
上海博珖机器人有限公司
CN_223781557_U

Resumen de: CN223781557U

本实用新型涉及一种塔架安装平台,塔架包括多个沿第一方向依次拼接的塔段,塔架安装平台包括:操作平台,安装于塔段侧面;导向组件,导向组件设置于操作平台与塔段之间,导向组件用于引导操作平台在第一方向上移动;驱动机构,驱动机构用于驱动操作平台在第一方向上相对塔段移动。本实用新型实施例提供的塔架安装平台,能够用于支撑操作人员,保证施工安全。

一种用于风电塔筒存放变形控制的支撑工装及其设计方法

NºPublicación:  CN121302578A 09/01/2026
Solicitante: 
华润新能源投资有限公司福建分公司华润新能源(连江)有限公司福州大学
CN_121302578_PA

Resumen de: CN121302578A

本发明提出了一种用于风电塔筒存放变形控制的支撑工装及其设计方法,涉及风电技术领域,其中的用于风电塔筒存放变形控制的支撑工装的设计方法包括根据塔筒筒体的端部基础等效刚度、竖向支撑杆的分担系数和竖向支撑杆所需的方向刚度,对竖向支撑杆进行刚度校核;计算竖向支撑杆的稳定系数,并对竖向支撑杆进行强度校核;计算横向支撑杆的设计承载力,并进行强度校核;对环形加劲肋进行强度校核。通过对竖向支撑杆进行刚度校核和强度校核,对横向支撑杆的设计承载力进行强度校核,对环形加劲肋进行强度校核,对整个支撑工装的受力部件进行校核,在竖向变形控制方面进行了刚度和强度校核,满足变形控制方面的需求,提高支撑工装的设计合理性。

一种具有高稳定性系泊系统的全潜式风机平台

NºPublicación:  CN121291691A 09/01/2026
Solicitante: 
大连理工大学
CN_121291691_PA

Resumen de: CN121291691A

本发明公开了一种具有高稳定性系泊系统的全潜式风机平台,涉及到全潜式风机平台技术领域,其包括平台与风机,内部中空的支撑台,支撑台固定连接在平台的顶部;外壳,本发明通过控制电推杆进行工作,电推杆可以实现对风机的快速安装,同时本申请风机系统为全潜式风机,与常规型的浮式风机相比,全潜式风机的浮体不是浮在海面上,而是淹没在海面下一定深度,其淹没深度避开了海浪作用区,因此可以最大程度的避免海浪的影响,进而在进行动力学分析时做到减弱波浪的荷载作用。此外与常规的浮式风机相比,全潜式风机由于减少了系泊系统的锚链长度、简化了浮式平台的结构形式,在建设投资成本方面也大大降低。

氢气爆炸的生态群式发电系统

NºPublicación:  CN121296237A 09/01/2026
Solicitante: 
遵义还驰科技服务中心
CN_121296237_PA

Resumen de: CN121296237A

一种氢气爆炸的生态群式发电系统,包括安全壳系统的第二温区分别与:一、包括蒸汽室连接蒸气管,蒸汽管与过热器连接至汽轮机发电系统;二、包括输压管连接气罐,气罐通过蒸气管与过热器连接至汽轮机发电系统的两个系统连接,氢气爆炸的生态群式发电系统,通过爆炸获取高温高热能量取代传燃烧获取高温高热的方法,并引入龙卷风原理使余热余压利用价值跳跃式上升,在一爆五电的实践中,不仅可以使电力价格极度低廉外,还可使电力一举进入清洁可再生且天量供应时代。

用于风力发电机组变桨控制系统制动电阻方法及系统

NºPublicación:  CN121296389A 09/01/2026
Solicitante: 
中船海装风电有限公司
CN_121296389_PA

Resumen de: CN121296389A

本申请公开了一种用于风力发电机组变桨控制系统制动电阻方法及系统,包括:获取时序载荷数据;根据叶根侧载荷扭矩,确定变桨电机输出扭矩;根据变桨角速度,确定电机转速;根据变桨电机输出扭矩及电机转速,确定变桨电机功率;若变桨电机功率大于零,判定变桨电机处于发电状态;若变桨电机功率小于零,判定变桨电机处于电动状态;当变桨电机处于发电状态时,变桨电机功率为其实际计算值;当变桨电机处于电动状态时,变桨电机功率置0,据此得到功率时序;计算独立变桨周期时间内制动电阻平均功率;选取平均功率时序中的最大值作为制动电阻的选型功率;结合变桨适配的控制器特性确定制动电阻的阻值。本发明能够准确确定出制动电阻的阻值。

Structure flottante de stockage à flot d’un organe constitutif d’une ou plusieurs éoliennes flottantes

NºPublicación:  FR3164182A1 09/01/2026
Solicitante: 
SAFIER INGENIERIE SA [FR]
SAFIER INGENIERIE SA
FR_3164182_PA

Resumen de: FR3164182A1

Titre de l’invention : Structure flottante de stockage à flot d’un organe constitutif d’une ou plusieurs éoliennes flottantes La présente invention concerne une structure flottante de stockage (2) à flot d’un organe constitutif d’une ou plusieurs éoliennes flottantes (4), comprenant un moyen de flottaison comprenant au moins un organe de flottaison (20) destiné à être immergé et au moins un élément de flottaison (22) solidaire de l’organe de flottaison (20), la plateforme flottante de stockage (2) comprenant au moins un volume de réception (12) d’un organe constitutif de l’éolienne flottante (4). Figure de l’abrégé : Figure 1

DISPOSITIF DE RECUPERATION D’ENERGIE À TURBINE À ALTERNATEUR INTÉGRÉ

NºPublicación:  FR3164241A1 09/01/2026
Solicitante: 
MUGNIER GEORGES [FR]
MUGNIER Georges
FR_3164241_PA

Resumen de: FR3164241A1

Système de génération d’électricité à turbine (2) comprenant :- une turbine (20) comportant au moins un logement interne (201, 202) délimité par des parois (200) de la turbine,- deux générateurs électriques (21, 22) comprenant un stator (210, 220) et un rotor (211, 221), ledit au moins un logement interne (201, 202) de la turbine logeant ledit générateur électrique (22, 22) et la turbine (20) étant configurée pour entraîner un mouvement en rotation du rotor (211, 221) dudit générateur électrique (21, 22) de sorte que le générateur électrique (21, 22) génère de l’énergie alimentant un élément de stockage d’énergie (212, 222) à partir du mouvement de la turbine. Fig.1

一种模块化漂浮式海上风电平台

NºPublicación:  CN223778529U 09/01/2026
Solicitante: 
明阳智慧能源集团股份公司
CN_223778529_U

Resumen de: CN223778529U

本实用新型公开了一种模块化漂浮式海上风电平台,包括预制中心体及多个预制浮舱,所述预制中心体为钢制结构,多个预制浮舱的一端与预制中心体相连接,另一端呈放射状设置,所述预制浮舱为钢筋混凝土结构,并由多个分体预制模块依次连接组成。本实用新型能够有效解决漂浮式海上风电平台的混凝土壁容易开裂,海水渗入腐蚀钢筋会加速钢筋断裂破坏,从而造成平台失效的问题。

一种风力发电机组滑动偏航轴承衬垫更换装置

NºPublicación:  CN223781567U 09/01/2026
Solicitante: 
明阳智慧能源集团股份公司
CN_223781567_U

Resumen de: CN223781567U

本实用新型公开了一种风力发电机组滑动偏航轴承衬垫更换装置,包括至少两个偏航轴承衬垫更换工装,每两个偏航轴承衬垫更换工装分别对应设置在位于衬垫左右两侧的制动器下方;偏航轴承衬垫更换工装包括紧固螺母、顶升平台、千斤顶、支撑板以及调节丝杆;顶升平台的平台面板开设有多个腰圆孔,用于适配不同规格的塔筒法兰螺栓;顶升平台通过紧固螺母与风力发电机组的塔筒法兰固定;顶升平台的侧向开有水平调节孔,调节丝杆活动安装在水平调节孔中,用于调节顶升平台的水平度;千斤顶安装在顶升平台的顶部;支撑板安装在千斤顶的顶部并位于制动器的底部;本实用新型能够提升偏航轴承衬垫更换效率,适用于多种型号规格的偏航轴承,同时保证安全性。

一种磁悬浮风力发电传动轴控制系统

NºPublicación:  CN223781565U 09/01/2026
Solicitante: 
南京师范大学
CN_223781565_U

Resumen de: CN223781565U

本实用新型涉及风力发电机技术领域,具体为一种磁悬浮风力发电传动轴控制系统,包括塔筒长轴,塔筒长轴的一端与风力叶片安装基座相连,另一端与转动加速机相连,所述塔筒长轴上套装有永磁体外装配基座,所述永磁体外装配基座的两端分别设有上锥面滚针轴承和下锥面滚针轴承,所述塔筒长轴的轴体通过上锥面滚针轴承和下锥面滚针轴承安装在永磁体外装配基座内,所述永磁体外装配基座内部与塔筒长轴之间设有安装腔室,所述安装腔室内设有永磁体组件,降低了小塔筒转动系统的起始扭矩,使得系统能够在很小的风力作用下正常工作,进行风力发电。

齿轮润滑装置及其定量分脂器

NºPublicación:  CN223782045U 09/01/2026
Solicitante: 
虏伯曼(苏州)科技有限公司
CN_223782045_U

Resumen de: CN223782045U

本实用新型涉及齿轮润滑装置及其定量分脂器。主要包括阀体、柱塞阀芯、出脂套管,阀体为圆柱形,内部具有三个阀腔、一个进脂主油路、三个径向进脂支路,主油路与阀腔通过支路连通,阀腔还设有两个出脂油路和两个连通油路,外周面设六条连通槽;柱塞阀芯有三个,滑动密封装配在阀腔中,柱塞阀芯外周面对称设有两个环形凹槽;出脂套管滑动密封套在阀体上,出脂套管上与出脂油路一一对应设置有连通出脂套管内外的出脂口,出脂套管外周面上设置有两个环形出脂槽,可确保中心管内的各个出脂口的出脂量相同,进而确保润滑小齿轮的各个出脂通道均匀出脂,实现对偏航齿轮的各区域的均匀润滑。

一种风力发电储能装置

NºPublicación:  CN223785250U 09/01/2026
Solicitante: 
中致工程技术有限公司
CN_223785250_U

Resumen de: CN223785250U

本实用新型公开了一种风力发电储能装置,包括箱体,箱体前端面铰接设有箱门,箱体内部滑动设有支撑板,支撑板设置有多个,箱体后端内壁上对应多个支撑板均对称设有导向杆,多个支撑板后端面左右两侧均对应导向杆开设有导向孔,多个支撑板下端面左右两侧均对应导向孔贯穿设有限位杆,多个导向杆上均对应限位杆开设有限位孔,多个限位杆底端均设有限位环,限位环和支撑板之间连接设有弹簧,弹簧套装在限位杆外侧端,箱体左端面对应多个支撑板均贯穿设有连接座,箱门前端面设有控制面板,控制面板和多个连接座分别电性连接,通过支撑板的设计,方便支撑板滑动操作,方便蓄电池组拿取操作。

一种刹车机构、H型垂直轴风电机组及其工作方法

NºPublicación:  CN121296603A 09/01/2026
Solicitante: 
中国华能集团清洁能源技术研究院有限公司华能海上风电科学技术研究有限公司
CN_121296603_PA

Resumen de: CN121296603A

本发明属于风电机组技术领域,具体涉及一种刹车机构、H型垂直轴风电机组及其工作方法。该刹车机构包括铰接的固定板和活动板,活动板末端连接弧形板;活动板内侧设有凸杆,可插入其自带的安装槽内,并由限位杆锁定。刹车机构具有折叠状态,此时弧形板包裹于机组轴杆外部;固定板内装有驱动源,可控制限位杆动作;两板内壁间设有压缩弹簧,并分别嵌入电磁铁与衔铁;当需要刹车时,驱动源释放限位杆,在弹簧作用下活动板回位,同时电磁铁通电产生吸力,使活动板迅速贴合固定板,实现有效制动,解决了传统刹车方式易导致风机失控和冲击力大的问题。

一种叶片除冰结构、复合疏冰涂料及其制备方法

NºPublicación:  CN121293860A 09/01/2026
Solicitante: 
天津诚创建设有限公司
CN_121293860_PA

Resumen de: CN121293860A

本发明公开一种片除冰结构、复合疏冰涂料及其制备方法,属于风力发电技术领域。该复合疏冰涂料的制备方法,将二氧化硅纳米颗粒分散于有机溶剂中,形成浓度为1‑10 wt%的纳米颗粒分散液;随后,向所述纳米颗粒分散液中加入低表面能树脂及固化剂,之后在超声作用下冰水浴条件下处理得到复合疏冰涂料。此外,本发明还提出一种复合疏冰涂料,由上述制备方法制得。此外,本发明还提出一种叶片除冰结构,其由上往下依次包括表层防冰层、加热层、热传导层和结构层;所述表层防冰层的材料为上述复合疏冰涂料。本发明提出的复合疏冰涂料实现了叶片的有效防除冰。

風力発電装置の制御支援システム及び風力発電装置の制御支援方法

NºPublicación:  JP2026001838A 08/01/2026
Solicitante: 
株式会社日立製作所
JP_2026001838_PA

Resumen de: EP4667741A1

Provided are a control support system for a wind power generation apparatus and a control support method for a wind power generation apparatus capable of minimizing component damage and maximizing the power generation amount.A control support system 1 for a wind power generation apparatus is a control support system 1 for a wind power generation apparatus 101 including at least one wind power generation apparatus 101 and a calculation processing unit 104. The calculation processing unit 104 includes: a damage database creation unit 108 configured to create a database of a damage degree that is caused in the wind power generation apparatus 101 with respect to a wind-condition parameter; a calculation unit of damage degree per power generation amount 110 configured to calculate a damage degree per power generation amount based on wind-condition data and operation data of the wind power generation apparatus 101; an input unit 109 configured to receive input of a use period and a damage degree upper limit value of the wind power generation apparatus 101; and a calculation unit of wind speed threshold for each wind direction 112 configured to calculate a wind speed threshold for operating the wind power generation apparatus 101 for each wind direction based on the database 401 of the damage degree and the use period and the damage degree upper limit value of the wind power generation apparatus 101.

METHOD AND APPARATUS TO NEUTRALIZE BEARING CURRENTS IN AN ELECTRICAL MACHINE

NºPublicación:  WO2026010632A1 08/01/2026
Solicitante: 
GENERAL ELECTRIC RENOVABLES ESPANA S L [ES]
OSAMA MOHAMED [DE]
GENERAL ELECTRIC RENOVABLES ESPANA, S.L,
OSAMA, Mohamed

Resumen de: WO2026010632A1

An electrical machine includes a rotor with a shaft, and a stator, the rotor supported for rotation relative to the stator by bearings. A voltage attenuator circuit applies a compensating voltage signal to the shaft to offset a voltage induced on the bearings from stray current flow in the rotor. The attenuator circuit includes an input that receives a common mode voltage signal applied to stator or rotor windings. A compensation circuit generates the compensating voltage signal from the common mode voltage signal, and a capacitive coupler applies the compensating voltage signal to the shaft. A feedback circuit detects a voltage on the shaft and adjusts the compensation circuit.

SMART TURBINE FOR CAPTURING CURRENTS

NºPublicación:  WO2026008119A1 08/01/2026
Solicitante: 
BENTERKI MOHAMED SADEK [DZ]
BENTERKI, Mohamed Sadek

Resumen de: WO2026008119A1

The smart turbine for capturing currents rotates about different axes (horizontal, vertical and/or oblique axis at multiple angles and/or at variable angles). It is characterized by the avoidance and lessening of the opposing drag force by opening its pockets and sails at the current flow point. If it passes through it, its sails furl and/or contract. It is also characterized by a high torque by virtue of the length of its extendable arms carrying pockets and/or sails. It captures the currents in the air and/or in water and converts them into a mechanical force which often leads to the production of electrical energy and/or uses them as an alternative to power units of all sorts operating with fossil or other energies.

RESISTANCE HEATING OF COMPOSITE LAMINATE COATINGS

NºPublicación:  WO2026010617A1 08/01/2026
Solicitante: 
TPI TECH INC [US]
TPI TECHNOLOGY, INC

Resumen de: WO2026010617A1

Devices, systems, and methods of improving heat transfer between a composite wind turbine blade surface are provided to reduce cure time. The system includes copper strips applied adjacent to the composite panel, and at desired locations of the blade (e.g. spar caps to facilitate cure/bonding of adhesive). A coating of conductive (e.g. carbon) paint is applied over the copper strips. When a current is applied to the copper strips(s) a uniform and homogenous layer of heat is generated directly against the composite panel, at the desired location of the blade, without need for wiring or heating via fans/ ducts.

GUIDE VANE ASSEMBLY FOR A VERTICAL AXIS WIND TURBINE

NºPublicación:  WO2026010612A1 08/01/2026
Solicitante: 
ZEUUS INC [US]
ZEUUS INC

Resumen de: WO2026010612A1

The guide vane assembly for partially surrounds a vertical axis wind turbine (VAWT), and comprising a front guide and a side guide. The front guide extends ahead of the VAWT and covers a first portion of the VAWT. The front guide has a first inner side and a first outer side meeting at a first leading edge, the first inner side extending from the first leading edge to a first trailing edge and having a shape configured to accelerate incoming air flow from a front of the system into the VAWT. The side guide has a second inner side and a second outer side meeting at a second leading edge located laterally to the uncovered portion of the turbine and aligned with or to the side and behind a frontmost edge of the VAWT. The second inner side extends concavely around the VAWT toward a rear of the VAWT.

POWER GENERATION DEVICE

NºPublicación:  WO2026009393A1 08/01/2026
Solicitante: 
ALBATROSS TECH INC [JP]
\u682A\u5F0F\u4F1A\u793E\u30A2\u30EB\u30D0\u30C8\u30ED\u30B9\u30FB\u30C6\u30AF\u30CE\u30ED\u30B8\u30FC
JP_7737772_B1

Resumen de: WO2026009393A1

The problem addressed by the present invention is to provide a power generation device having a structure capable of suppressing a burden of winding work and a cost burden, and also suitable for enlargement. The power generation device according to the present invention is characterized by comprising a force-receiving rotor that rotates when receiving a fluid force, a shaft base part that rotates in conjunction with the rotation of the force-receiving rotor, and a generator that generates power by means of the rotational force of the shaft base part, and is characterized in that: the power generator is provided with a rotor disposed so as to rotate together with the shaft base part on the outer side of the shaft base part around a shaft, a stator disposed on the outer side of the shaft base part around the shaft so as not to rotate together with the shaft base part, and an excitation body disposed on the outer side of the shaft base part around the shaft so as not to rotate together with the shaft base part; the rotor is provided with a rotor base that is fixed to the shaft base part and rotates together with the shaft base part, and a plurality of magnetic pole cores that are arranged annularly on the rotor base; and the excitation body is provided with an annular field coil that excites the magnetic pole core.

POWER GENERATION DEVICE

NºPublicación:  WO2026009392A1 08/01/2026
Solicitante: 
ALBATROSS TECH INC [JP]
\u682A\u5F0F\u4F1A\u793E\u30A2\u30EB\u30D0\u30C8\u30ED\u30B9\u30FB\u30C6\u30AF\u30CE\u30ED\u30B8\u30FC
JP_7792738_B1

Resumen de: WO2026009392A1

A power generation device disclosed in the present application is characterized in that: the power generation device comprises a force-receiving rotor that is rotated by fluid force, a shaft base that rotates in conjunction with the rotation of the force-receiving rotor, a generator that generates power by the rotational force of the shaft base, and a bearing module that supports the generator, wherein the generator includes a rotor that is disposed outside the shaft base around the axis so as to rotate with the shaft base, and a stator that is disposed outside the shaft base around the axis so as not to rotate with the shaft base; the rotor and the stator are spaced apart in the axial direction of the shaft base; and the bearing module includes a bearing base that is disposed outside the shaft base around the axis so as not to rotate with the shaft base, a plurality of first load-receiving bodies that receive a load applied to the bearing base in a first direction and are disposed around the shaft base, and a plurality of second load receiving bodies that receive a load applied to the bearing base in a second direction.

WINDMOTOR AND METHOD FOR ITS OPERATING

NºPublicación:  WO2026009043A1 08/01/2026
Solicitante: 
GAMIY OLEG [UA]
GAMIY, Oleg

Resumen de: WO2026009043A1

The invention relates to wind energy devices for converting kinetic energy of air into usable energy and methods for their operating. The windmotor comprises at least one propeller-type rotor (3, 3.1, 3.2) mounted for rotation about a horizontal axis. The propeller-type rotor has a shaft (4, 4.1) and at least one propeller blade (5, 5.1, 5.2) connected at one end to the shaft and configured to convert kinetic energy of a wind flow into mechanical rotational energy of the shaft. The windmotor further comprises at least one device (6) for spraying a fluid and/or a vapor, at least one heating device (10) interacting with the fluid and/or said spraying device, and at least one cooling device (13, 13.1) arranged downstream of the propeller-type rotor in the wind flow direction and configured to interact with the wind flow. The method includes the steps of heating the fluid, spraying the fluid and/or the vapor in the wind flow, cooling this wind flow. The configuration of the windmotor and the method for its operating improve operation under low wind conditions.

WINDMOTOR AND METHOD FOR ITS OPERATING

NºPublicación:  WO2026009044A1 08/01/2026
Solicitante: 
GAMIY OLEG [UA]
GAMIY, Oleg

Resumen de: WO2026009044A1

The invention relates to wind energy devices for converting kinetic energy of air into usable energy. A windmotor, including a rotor (3) having a shaft (4), at least one propeller blade (5) connected at one end to the rotor (3) shaft (4), wherein the propeller blade (5) has at least two surfaces — a leeward surface (6) and a windward surface (7) — which form an aerodynamic profile of the propeller blade (5) and are made with the possibility of interacting with air in a wind flow. At least one leeward surface (6) of the at least one propeller blade (5) contains a cooling device (8), made with the possibility of interacting with air in the wind flow; and at least one windward surface (7) of the at least one propeller blade (5) contains a heating device (9), also made with the possibility of interacting with air in the wind flow. The design improves operation under low wind conditions.

WIND TURBINE BLADE AND WIND TURBINE BLADE DESIGN METHOD

NºPublicación:  WO2026007348A1 08/01/2026
Solicitante: 
SINOMA WIND POWER BLADE CO LTD [CN]
\u4E2D\u6750\u79D1\u6280\u98CE\u7535\u53F6\u7247\u80A1\u4EFD\u6709\u9650\u516C\u53F8
CN_119808285_PA

Resumen de: WO2026007348A1

The present application relates to the field of power generation, and discloses a wind turbine blade and a wind turbine blade design method. The wind turbine blade comprises: a wind turbine blade body and a spoiler, wherein the spoiler extends in a length direction on a pressure surface of the wind turbine blade body, a radial dimension H corresponding to at least one cross section of the spoiler and a relative thickness T of an airfoil of the wind turbine blade body coplanar with the cross section satisfy a relationship of H=m*T, and m is a constant. The present application is used for solving the problem that wind turbine blades cannot meet ideal aerodynamic performance requirements.

VIBRATION SUPPRESSION DEVICE FOR BLADE, BLADE ASSEMBLY AND WIND TURBINE GENERATOR

NºPublicación:  WO2026007431A1 08/01/2026
Solicitante: 
SINOMA WIND POWER BLADE CO LTD [CN]
\u4E2D\u6750\u79D1\u6280\u98CE\u7535\u53F6\u7247\u80A1\u4EFD\u6709\u9650\u516C\u53F8
CN_119825608_PA

Resumen de: WO2026007431A1

A vibration suppression device (10) for a blade, the vibration suppression device (10) comprising a carrier (11) and a spoiler (12). The carrier (11) is arranged around a reference axis (a), the reference axis (a) extending in a first direction (X), and the interior of the carrier (11) encloses an accommodating space capable of accommodating at least part of a blade (20). The spoiler (12) is in the shape of a flexible strip-shaped body, and the spoiler (12) is connected to the carrier and located on the side of the carrier (11) facing away from the accommodating space (13). The spoiler (12) can interfere with or prevent an interaction between entrained airflow layers, thereby suppressing periodic vortex shedding generated by the blade (20), and effectively reducing the vortex-induced vibration phenomenon of the blade (20). The spoiler (12) in the shape of the flexible strip-shaped body has a relatively significant flow-disturbing effect, and has a relatively prominent effect of suppressing the vortex-induced vibration phenomenon of the blade (20), thereby reducing the requirements for the carrier (11), and facilitating simplification of a structure of the vibration suppression device (10); and the spoiler (12) is made of a wide variety of materials, thereby reducing the cost of the vibration suppression device (10). Further comprised are a blade assembly (100) and a wind turbine generator.

COMPRESSED AIR STORAGE CONTAINER AND COMPRESSED AIR STORAGE APPARATUS COMPRISING THE COMPRESSED AIR STORAGE CONTAINER

NºPublicación:  US20260009374A1 08/01/2026
Solicitante: 
TOYO ENG CORPORATION [JP]
Toyo Engineering Corporation
US_20260009374_PA

Resumen de: US20260009374A1

A compressed air storage container that stores compressed air is provided. The compressed air storage container includes a vertically disposed container closed at both ends and a separation film, wherein the container includes a side part, a top part closing an upper end of the side part, and a bottom part closing a lower end of the side part, includes a supply/discharge port for a first gas on the top part side, and includes a discharge/supply port for a second gas on the bottom part side. The separation film is hung from the top part with an opening at an upper end thereof being squeezed and hermetically sealed, an opening at a lower end is open against the bottom part, and a portion of the opening at the lower end is fixed such that it is sealingly attached to the bottom part or the side part.

FLUID MATERIAL POWERED GENERATOR DEVICE

NºPublicación:  US20260009375A1 08/01/2026
Solicitante: 
GARBER NICK [US]
Garber Nick
US_20260009375_PA

Resumen de: US20260009375A1

A fluid material powered generator device for converting rotational energy into electrical energy includes an impeller pipe that is attachable to a fluid source thereby enabling a fluid material from the fluid source to flow through the impeller pipe. A plurality of impeller units is each rotatably attached to the impeller pipe thereby enabling the fluid material from the fluid source to rotate each of the impeller units when the fluid material flows through the impeller pipe. A plurality of transducers is each attached to the impeller pipe. Each of the plurality of transducers is in mechanical communication with a respective one of the plurality of impeller units thereby enabling each of the plurality of transducers to convert rotational energy of the respective impeller unit into electrical energy.

TOWER SHEET ASSEMBLY, TOWER SECTION, AND TOWER TRANSPORTATION AND ASSEMBLY METHOD

NºPublicación:  US20260009256A1 08/01/2026
Solicitante: 
BEIJING GOLDWIND SCIENCE & CREATION WINDPOWER EQUIPMENT CO LTD [CN]
BEIJING GOLDWIND SCIENCE & CREATION WINDPOWER EQUIPMENT CO., LTD
US_20260009256_PA

Resumen de: US20260009256A1

The present disclosure relates to a tower sheet assembly, a tower section, and a tower transportation and assembly method. The tower sheet assembly comprises a tower sheet, and a foldable platform, which is arranged on an inner side of the tower sheet. The foldable platform comprises a platform main body and a support member. The support member comprises a support seat, wherein a first end of the support seat is fixed to an inner wall of the tower sheet, and a second end of the support seat is hinged to the platform main body at a first hinge point, such that the platform main body can pivot, around the second end of the support seat, between a folded position and an unfolded position.

FLUID TURBINES

NºPublicación:  US20260009397A1 08/01/2026
Solicitante: 
EXERGI INCORPORATED [US]
EXERGI INCORPORATED
US_20260009397_PA

Resumen de: US20260009397A1

A turbine system includes a housing with a fluid inlet, a fluid outlet, and a rotational mount, and a turbine mounted on the rotational mount. The turbine comprises a first disk with a through-hole, a plurality of first foils arranged radially, and a last disk with a smaller through-hole and. The first foils define a fluid path from the fluid inlet to the fluid outlet. The design allows for efficient fluid flow and rotation of the turbine about the axis, providing an effective and reliable turbine system for various applications.

RESISTANCE HEATING OF COMPOSITE LAMINATE COATINGS

NºPublicación:  US20260013008A1 08/01/2026
Solicitante: 
TPI TECH INC [US]
TPI Technology, Inc
US_20260013008_PA

Resumen de: US20260013008A1

Devices, systems, and methods of improving heat transfer between a composite wind turbine blade surface are provided to reduce cure time. The system includes copper strips applied adjacent to the composite panel, and at desired locations of the blade (e.g. spar caps to facilitate cure/bonding of adhesive). A coating of conductive (e.g. carbon) paint is applied over the copper strips. When a current is applied to the copper strips(s) a uniform and homogenous layer of heat is generated directly against the composite panel, at the desired location of the blade, without need for wiring or heating via fans/ducts.

DAMPING ARRANGEMENT FOR A WIND TURBINE

NºPublicación:  US20260009373A1 08/01/2026
Solicitante: 
VESTAS WIND SYSTEMS AS [DK]
Vestas Wind Systems A/S
US_20260009373_PA

Resumen de: US20260009373A1

A damping arrangement for a wind turbine is provided. The damping arrangement (20) comprises a base (24) affixable to a surface (40) of the wind turbine (2); and a magnet 5 arrangement. The magnet arrangement comprises a first magnet (38) and a second magnet (54). The first magnet (38) is fixed relative to the base (24) and is arranged to generate a first magnetic field. The second magnet (54) is supported by the base (24) to be spaced from the first magnet (38) when the base (24) is fixed to the surface (40), and is arranged to generate a second magnetic field that interacts with the first magnetic field 10 to generate a magnetic force that acts between the first and second magnets (28, 54). At least one of the first and second magnetic fields is variable.

DYNAMIC CABLE SUPPORT FOR FLOATING OFFSHORE WIND TURBINES

NºPublicación:  US20260011995A1 08/01/2026
Solicitante: 
SCHLUMBERGER TECH CORPORATION [US]
Schlumberger Technology Corporation
US_20260011995_PA

Resumen de: US20260011995A1

An apparatus that a wind turbine configured for floating on a surface of water, wherein the wind turbine is operable to generate electrical energy. The wind turbine can include a floating base configured to support the wind turbine on the surface of water, and a cable configured to transmit the electrical energy. The wind turbine can also include a first sheave configured to support a part of the cable, and a second sheave configured to support a part of the cable. The cable is reeved between the first sheave and second sheave, and the first sheave is operable to impart a predetermined force to the cable to thereby maintain the cable at a predetermined tension.

SPATIO-TEMPORAL FORECASTING OF VERY-SHORT TERM PREDICTIVE DENSITIES IN THE CONTEXT OF POWER OUTPUT

NºPublicación:  US20260012037A1 08/01/2026
Solicitante: 
RENSSELAER POLYTECHNIC INST [US]
Rensselaer Polytechnic Institute
US_20260012037_PA

Resumen de: US20260012037A1

A method for forecasting power output of a target site. The method includes normalizing power output data for the target site, at least in part, on an installed capacity. The normalized power output data is transformed to yield transformed normalized power output data. A temporal module fits a temporal model to model input data for the target site. The model input data corresponds to normalized power output data or transformed normalized power output data. A copula model is fit for the target site, based, at least in part, on at least one residual value. Each residual value is determined based, at least in part on a selected fitted temporal model for each target site.

CONCRETE SEGMENT OF AN UPPER CONCRETE SECTION OF A WIND TURBINE TOWER, MOULD CONFIGURED TO CAST SUCH A CONCRETE SEGMENT AND METHOD OF ASSEMBLING A WIND TURBINE COMPRISING SUCH A CONCRETE SEGMENT

NºPublicación:  AU2024314486A1 08/01/2026
Solicitante: 
NORDEX ENERGY SPAIN S A U
NORDEX ENERGY SPAIN, S.A.U
AU_2024314486_PA

Resumen de: AU2024314486A1

The object of the invention is a concrete segment of a section of a wind turbine tower which minimizes the undesirable local effects in the connection area between adjacent concrete sections, a section comprising at least two concrete segments, a set comprising two adjacent sections and a joint disposed between the two adjacent sections, a tower comprising at least one set, a mould configured to cast a concrete segment and a method of assembling a wind turbine.

SUPPORT STRUCTURE INSIDE A NACELLE OF A WIND TURBINE

NºPublicación:  AU2024292776A1 08/01/2026
Solicitante: 
NORDEX ENERGY SE & CO KG
NORDEX ENERGY SE & CO. KG
AU_2024292776_PA

Resumen de: AU2024292776A1

The present disclosure relates to a support structure (200, 240, 250) inside a nacelle (106) of a wind turbine (100) comprising a connecting portion (202) configured for attaching the support structure (200, 240, 250) to a main frame (210) of the wind turbine (100), a first supporting portion (204) for supporting at least a generator (216) of the wind turbine (100), and a second supporting portion (206) for supporting at least one other component of the wind turbine (100), in particular at least one electrical component of the wind turbine (100). In an attached state, the first supporting portion (204) adjoins the connecting portion (202), the second supporting portion (206) adjoins the connecting portion (202), and the second supporting portion (206) is arranged below the first supporting portion (204). The disclosure further relates to a wind turbine (100), comprising a tower (102), a nacelle (106) attached to the tower (102) and supporting a rotor (108), and a plurality of rotor blades (110) attached to the rotor (108).

METHOD OF INSTALLING AND CONTROLLING AN OFFSHORE WIND POWER PLANT

NºPublicación:  AU2024270988A1 08/01/2026
Solicitante: 
OERSTED WIND POWER AS
\u00D8RSTED WIND POWER A/S
AU_2024270988_PA

Resumen de: AU2024270988A1

Method of installing the offshore wind power plant, in which a number of installation design variants are modelled to determine performance characteristics. Modelling comprises applying a Monte Carlo method. An installation design is then selected based on the variant with the highest performance characteristics. The offshore wind power plant may be controlled by determining its instability probability characteristics based on modelling using a plurality of known installation design parameters and one or more variable control parameters associated with the wind power plant, wherein modelling comprises applying a Monte Carlo method. The one or more variable control parameters may then be controlled such that the wind power plant is operated below a selected instability probability threshold.

KITE SYSTEM AND METHOD FOR OPERATING A KITE SYSTEM

NºPublicación:  AU2024276287A1 08/01/2026
Solicitante: 
SKYSAILS GROUP GMBH
SKYSAILS GROUP GMBH
AU_2024276287_PA

Resumen de: AU2024276287A1

A kite system comprising a kite (14), comprising a gondola (25) and comprising a line tree (24), wherein the kite (14) is joined to the gondola (25) by means of the line tree (24). The line tree (24) comprises a branching block (27, 28). The branching block (27, 28) is connected to the gondola (25) by means of a control cable (35, 36). The line tree (24) comprises a first cable section (48), which extends between the branching block (27, 28) and a first attachment point (61) of the kite (14). The line tree (24) comprises a second cable section (49), which extends between the branching block (27, 28) and a second attachment point (62) of the kite (14). The length of the control cable (35, 36) between the gondola (25) and the branching block (27, 28) is changed by a control mechanism (39). The length of the first cable section (48) between the branching block (27, 28) and the first attachment point (61) is changed by a trimming mechanism (40). The invention also relates to a method for operating a kite system.

BLADE CLAMPING TOOL FOR WIND TURBINE BLADE

NºPublicación:  WO2026008816A1 08/01/2026
Solicitante: 
LIFTRA IP APS [DK]
LIFTRA IP APS

Resumen de: WO2026008816A1

A blade clamping tool for a wind turbine blade, said blade clamping tool comprising: a first clamping element adapted to be in contact with a first surface of a wind turbine blade when the wind turbine blade is clamped in the blade clamping tool, a second clamping element adapted to be in contact with a second surface of the wind turbine blade when the wind turbine blade is clamped in the blade clamping tool, said second surface being opposite to said first surface, a c-formed bracket comprising a first leg connected to the first clamping element, a second leg connected to the second clamping element, and an intermediate part connecting the first and second leg. The first leg of the c-formed bracket comprises a first pivot mechanism arranged to pivot the first clamping element away from the second clamping element and the intermediate part comprises a second pivot mechanism arranged to rotate the first leg towards the second clamping element. In this way, a blade clamping tool is provided which allows for a fast and simple folding of the blade clamping tool prior to transport and a fast and simple unfolding of the blade clamping tool prior to use.

FLOATING STORAGE STRUCTURE FOR STORING AFLOAT A CONSTITUENT MEMBER OF ONE OR MORE FLOATING WIND TURBINES

NºPublicación:  WO2026008940A1 08/01/2026
Solicitante: 
SAFIER INGENIERIE [FR]
SAFIER INGENIERIE
FR_3164182_PA

Resumen de: WO2026008940A1

The present invention relates to a floating storage structure (2) for storing afloat a constituent member one or more floating wind turbines (4), comprising a flotation means comprising at least one flotation member (20) intended to be submerged and at least one flotation element (22) secured to the flotation member (20), the floating storage platform (2) comprising at least one volume (12) for receiving a constituent member of the floating wind turbine (4).

FLOATING WIND TURBINE OR EQUIPMENT FOUNDATIONS

NºPublicación:  WO2026008741A1 08/01/2026
Solicitante: 
AKER SOLUTIONS AS [NO]
AKER SOLUTIONS AS

Resumen de: WO2026008741A1

A floatable foundation (100) for a wind turbine generator and/or electrical equipment (61), the foundation (100) comprising: a central column structure (10,11,12); at least three outer column members (20,21,22) disposed about the central column structure (10,11,12); at least three horizontally extending lower connection members, such as pontoon members (30,31,32), each horizontally extending lower connection member fixed to and extending between the central column structure (10,11,12) and a respective one of the at least three outer column members (20,21,22); and three horizontally extending upper connection members, such as beam members (40,41,42), each horizontally extending upper connection member fixed to and extending between the central column structure (10,11,12) and a respective one of the at least three outer column members (20,21,22), wherein each column member (20,21,22) comprises a ballast tank (81) configured for holding water ballast and the ballast tank (81) vertically spans a design waterline (91) of the respective column member (20,21,22).

CONVERSION KIT FOR A VIBRATION DAMPER OF A WIND TURBINE AND METHOD OF USING SAME

NºPublicación:  WO2026008117A1 08/01/2026
Solicitante: 
VESTAS WIND SYSTEMS AS [DK]
VESTAS WIND SYSTEMS A/S

Resumen de: WO2026008117A1

A conversion kit (54) temporarily attachable to a vibration damper (24) mounted in a wind turbine (10) is disclosed. The vibration damper (24) includes a mass (26, 32), and a support means (30, 36) for movably supporting the mass (26, 32). The conversion kit (54) includes a sensor arrangement (60) for measuring vibrations of the wind turbine (10), and a control system (62) configured to be operatively connectable to a movement means (58) and to the sensor arrangement (60) to direct the movement means (58) to move the mass (26, 32) in response to measurements from the sensor arrangement (60). The combination of the vibration damper (24) and the conversion kit (54) defines an augmented vibration damper (56) for the wind turbine (10) having damping characteristics different from the damping characteristics of the vibration damper (24). The movement means (58) may be part of the wind turbine (10) or be part of the conversion kit (54). A method of using the conversion kit (54) to dampen vibrations in the wind turbine (10) is also disclosed.

WIND TURBINE BLADE FATIGUE LIFE PREDICTION APPARATUS AND METHOD

NºPublicación:  WO2026007201A1 08/01/2026
Solicitante: 
HUANENG INT POWER CO LTD CHONGQING CLEAN ENERGY BRANCH [CN]
\u534E\u80FD\u56FD\u9645\u7535\u529B\u80A1\u4EFD\u6709\u9650\u516C\u53F8\u91CD\u5E86\u6E05\u6D01\u80FD\u6E90\u5206\u516C\u53F8
CN_119021833_PA

Resumen de: WO2026007201A1

The present application relates to the technical field of wind turbines, and in particular to a wind turbine blade fatigue life prediction apparatus, comprising a mounting frame, cylinders I, a mounting cylinder I, connecting rods, a wind turbine generator set, etc. A plurality of cylinders I are fixedly connected to the lower part of the mounting frame; the telescopic ends of all the cylinders I are jointly fixedly connected to the mounting cylinder I; a plurality of connecting rods are fixedly connected in the mounting cylinder I in annular fashion at equal intervals; all the connecting rods are jointly connected to the wind turbine generator set; and the wind turbine generator set is externally connected to a current monitor. In the present invention, an external sandblasting device can be controlled to spray sand into a mounting cylinder II through sandblasting pipes, and then the sand is blown to wind turbine blades by means of a fan, simulating sand-laden wind condition, monitoring the power generation stability and efficiency of the wind turbine blades under the sand-laden wind condition; and an external water pump can spray water into the mounting cylinder II through water spraying pipes, and then the water is blown to the wind turbine blades by means of the fan, simulating rainy and windy conditions, monitoring the power generation stability and efficiency of the wind turbine blades under the rainy and windy conditions.

Biaxial single frequency fatigue test for wind turbine blades

NºPublicación:  WO2026007012A1 08/01/2026
Solicitante: 
ENVISION ENERGY CO LTD [CN]
ENVISION ENERGY CO., LTD
CN_121013971_PA

Resumen de: WO2026007012A1

The present invention relates to a method and system of fatigue testing a wind turbine blade using a test system. The test system comprises a test stand to which the wind turbine is fixed. A first excitation unit is connected to the wind turbine blade and used to introduce loadings in the flapwise direction. A second excitation unit is connected to the wind turbine blade and used to introduce loadings in the edge wise direction. A load controllable unit is connected to the wind turbine blade and used to adjust the resonant frequency of the test system. Loadings in the flapwise and edgewise directions are introduced at the same resonant frequency and the loadings are measured using a number of detector units electrically connected to the control unit. The control unit monitors and controls the amplitude of the first and second harmonic motions and the phase between the first and second harmonic motions, thereby allowing the load polar plot to accurately match a target load polar plot.

CALIBRATING A SENSOR OF A WIND TURBINE

NºPublicación:  WO2026008115A1 08/01/2026
Solicitante: 
VESTAS WIND SYSTEMS AS [DK]
VESTAS WIND SYSTEMS A/S

Resumen de: WO2026008115A1

The invention relates to calibrating a wind turbine sensor. The invention involves obtaining over time a sensor signal, from the sensor, indicative of measured parameter values associated with the wind turbine, obtaining over time a monitored signal indicative of monitored operational parameter values associated with the wind turbine, and obtaining over time a wake detection signal indicating a wake flow experienced by the wind turbine. Based on the sensor, monitored and wake detection signals, the invention involves identifying the measured monitored operational parameter values obtained when the wind turbine is not experiencing wake flow. Based on the identified values of the measured and monitored operational parameters, the invention involves determining over time a calculated operational parameter as a function of the measured parameter, determining a correction to the measured parameter based on the calculated operational parameter, and adjusting the measured parameter based on the correction to calibrate the sensor.

A MONOPILE FOR SUPPORTING A WIND TURBINE, COMPRISING AN ENVELOPE DEFINING AT LEAST ONE HOLE EXTENDING FROM A RADIALLY OUTER SURFACE TO A RADIALLY INNER SURFACE

NºPublicación:  WO2026008685A1 08/01/2026
Solicitante: 
TOTALENERGIES ONETECH [FR]
TOTALENERGIES ONETECH
EP_4675049_PA

Resumen de: WO2026008685A1

A monopile adapted for supporting a wind turbine, the monopile defining a central axis (X) and comprising an envelope (22) having a radially outer surface (28), a radially inner surface (30), a radially median surface (M), and at least one hole (20) defining a center (O), and being delimited by an edge (32) defining a loop (L) on the radially median surface, the loop defining a shape in orthogonal projection on a plane (P') tangent to the radially median surface at the center. The shape (S) is encompassed between a circle (C) and a rectangle (RR), both centered on said center, the circle having a diameter (D2) and a perimeter. The rectangle has a length (L1) equal to or larger than the diameter and smaller than the diameter multiplied by 1.20, and has a width (L2) equal to the diameter. The shape has a length equal to said perimeter multiplied by a value comprised between 1.10 and 1.25.

WIND TURBINE POWER PRODUCTION PREDICTION METHOD AND SYSTEM

NºPublicación:  WO2026010548A1 08/01/2026
Solicitante: 
CASSELGREN JOHAN [SE]
CASSELGREN, Johan

Resumen de: WO2026010548A1

A method for predicting power production of a wind turbine (10) includes obtaining local weather data at an area of the wind turbine over a first time period, obtaining ice formation data of ice formed on blades (30) of the wind turbine (10) over a second time period, obtaining power production data of power output of the wind turbine over a third time period, and predicting power production of the wind turbine at a future time point based on the obtained power production data, the obtained ice formation data, the obtained local weather data as well as current weather forecast data for the future time point and current ice formation data.

OFFSHORE HYDROGEN PRODUCTION SYSTEMS AND METHODS

NºPublicación:  WO2026008367A1 08/01/2026
Solicitante: 
AKER SOLUTIONS AS [NO]
AKER SOLUTIONS AS
GB_2642328_PA

Resumen de: WO2026008367A1

An offshore hydrogen production system is described comprising: a hydrogen production facility (10) comprising a power generator (70) configured to convert a source of renewable energy to electrical power and at least one electrolyser (16). The capacity of the at least one electrolyser (16) corresponds to a power output of the power generator (70). The hydrogen production facility (10) is configured to be supplied with utilities for the production of hydrogen from a utilities system (11) which is located remote from the offshore hydrogen production facility (10). Also described is a method of producing hydrogen, a method of designing an offshore hydrogen production system, a method for the production of an offshore hydrogen production system.

ROTOR LOCKING ASSEMBLY AND WIND TURBINE WITH ROTOR LOCKING ASSEMBLY

NºPublicación:  WO2026008488A1 08/01/2026
Solicitante: 
NORDEX ENERGY SE & CO KG [DE]
NORDEX ENERGY SE & CO. KG
EP_4675102_PA

Resumen de: WO2026008488A1

A rotor locking assembly (10) for removably locking a rotor (2) of a wind turbine (1) is specified, the rotor locking assembly (10) comprising a locking pin (11) movable along a locking direction (100) between a locking position and a non-locking position, a stationary component (12) comprising a pin-retaining region (120) reaching from a first side (121) to a second side (122) of the stationary component (12) along the locking direction (100), wherein the second side (122) is opposite to the first side (121) along the locking direction (100), the pin-retaining region (120) being configured for accommodating the locking pin (11), so that the locking pin (11) is movable in the pin-retaining region (120) along the locking direction (100), a rotatable component (13) arranged at a first side (121) of the stationary component (12), the rotatable component (13) being configured for rotating with the rotor (2) and comprising at least one locking element (131) configured for interacting with the locking pin (11), so that a rotational movement of the rotatable component (13) is prevented when the locking pin (11) is in the locking position, a spacer element (14) arranged at a second side (122) of the stationary component (12), the spacer element (14) comprising a spacer region (141) being configured for accommodating a part of the locking pin (11) at least when the locking pin (11) is in the non-locking position.

RETAINING DEVICE OF A POST-TENSIONING ELEMENT OF A POST-TENSIONING SYSTEM OF A TOWER OF A WIND TURBINE, GUIDING SYSTEM OF A TOWER OF A WIND TURBINE, TOWER OF A WIND TURBINE AND METHOD OF POST-TENSIONING A TOWER OF A WIND TURBINE

NºPublicación:  AU2024312012A1 08/01/2026
Solicitante: 
NORDEX ENERGY SPAIN S A U
NORDEX ENERGY SPAIN, S.A.U
AU_2024312012_A1

Resumen de: AU2024312012A1

The present invention relates to a retaining device of a post-tensioning element of a post-tensioning system of a tower of a wind turbine that maintains the distance between the interior wall of the tower and the post-tensioning element even if the tower suffers a bending moment due to lateral loads, to a post-tensioning system of a tower of a wind turbine comprising the retaining device and at least one post-tensioning element and the tower of a wind turbine comprising the post-tensioning system, and to a method of retaining a post-tensioning element of a post-tensioning system of a tower of a wind turbine.

OFFSHORE WIND POWER PLANT SERVICING

NºPublicación:  WO2026010506A1 08/01/2026
Solicitante: 
MHWIRTH AS [NO]
LIFTRA IP APS [DK]
MHWIRTH AS,
LIFTRA IP APS

Resumen de: WO2026010506A1

A method of removing a component (110) from an offshore wind power plant (100), the method comprising: arranging a crane (101) at a top part (100a) of the offshore wind power plant (100); operating the crane (101) to lift the component (110) off the offshore wind power plant (100); lowering the component (110) adjacent the offshore wind power plant (100) while supporting the component (110) by the crane (101) via at least one hoisting line (140); moving the component (110) horizontally to a position above a deck (121) of a vessel (120) by pulling the component (110) by means of a winch (131) arranged on the vessel (120), while supporting the component (110) by the crane (101); and landing the component (110) at a motion compensated landing apparatus (130) arranged on the deck (121) and transferring a weight of the component (110) to the landing apparatus (130).

浮体構造のための係留システム及び設置方法

NºPublicación:  JP2026500633A 08/01/2026
Solicitante: 
トタルエナジーズ・ワンテック
JP_2026500633_PA

Resumen de: WO2024141287A1

The present invention relates to a mooring system (5) for a floating structure (3), preferably a floating wind turbine platform, wherein the mooring system (5) comprises at least one mooring line (51) made of a synthetic material and without any chain section.

遊星変速装置及び風力発電装置

NºPublicación:  JP2026001610A 07/01/2026
Solicitante: 
日本精工株式会社
JP_2026001610_PA

Resumen de: JP2026001610A

【課題】製造工程を煩雑にすることなく、遊星歯車の支持構造の剛性を高めて損傷の発生を抑制できる遊星変速装置、及び風力発電装置を提供する。【解決手段】遊星変速装置は、内周面に歯が形成された環状のリング歯車61と、リング歯車61の中心軸に配置され外周面に歯63が形成された太陽歯車65と、リング歯車61と太陽歯車65との間に配置され、互いの歯63,67に噛み合う複数の遊星歯車51と、複数の遊星歯車51を回転自在に支持する単一のキャリア53とを備える。太陽歯車65に接続された第1回転軸41に対する、キャリア53に接続された第2回転軸43の回転速度を変更する。複数の遊星歯車51は、キャリア53に固定された支持軸55に軸受を介して回転自在に支持される。【選択図】図4

METHOD FOR CONTROLLING A SYNCHRONOUS GENERATOR OF A WIND TURBINE

NºPublicación:  EP4675912A1 07/01/2026
Solicitante: 
WOBBEN PROPERTIES GMBH [DE]
Wobben Properties GmbH
EP_4675912_PA

Resumen de: EP4675912A1

Verfahren zum Steuern eines Synchrongenerators einer Windenergieanlage, wobei zum Ansteuern des Synchrongenerators vorläufige Stromsollwerte mittels einer Stromvorgabeeinrichtung zum Einstellen eines vorläufigen Arbeitspunktes vorgegeben werden, die von der Stromvorgabeeinrichtung vorgegebenen vorläufigen Stromsollwerte durch Korrekturwerte in modifizierte Stromsollwerte verändert werden, um den vorläufigen Arbeitspunkt zu optimieren, wobei eine Anpassungseinrichtung die Korrekturwerte durch eine Anpassungsvorschrift der Anpassungseinrichtung bestimmt, und die modifizierten Stromsollwerte zum Ansteuern des Synchrongenerators verwendet werden, um einen modifizierten Arbeitspunkt einzustellen.

METHOD FOR ARRANGING AT LEAST ONE BLADE BUILDING PREFORM ELEMENT IN A BLADE MOLD FOR FURTHER PROCESSING, PREFORM ELEMENT, METHOD FOR MANUFACTURING A PREFORM ELEMENT, BENDING TOOL FOR A BLADE OR A YOKE, PREFORM ELEMENT HANDLING MEANS

NºPublicación:  EP4673305A1 07/01/2026
Solicitante: 
SIEMENS GAMESA RENEWABLE ENERGY AS [DK]
Siemens Gamesa Renewable Energy A/S
CN_121038947_PA

Resumen de: WO2024223219A1

Method for arranging at least one blade building preform element (7) in a blade mold (8) for further processing, comprising the steps: a) placing the at least one preform element (7) on a mold surface of the blade mold (8), b) placing at least one further preform element (26) and/or at least one blade component and/or at least one manufacturing tool (10) on the mold surface and/or on the at least one preform element (7) by moving it in a moving direction along a moving path (12), and c) bending at least one part of at least one bending section (9) of the at least one preform element (7) such that the at least one bending section (9) at least partially overlaps the at least one further preform element (26) and/or the at least one blade component and/or at least one manufacturing tool (10) such that the at least one bending section (9) blocks a reverse movement of the at least one further preform element (26) and/or the at least one blade component and/or at least one manufacturing tool (10) in the reverse direction along the moving path (12).

METHOD FOR MANUFACTURING A CARBON BEAM ADAPTED TO BE A PART OF A WIND TURBINE BLADE, CARBON BEAM FOR A WIND TURBINE BLADE, WIND TURBINE BLADE AND WIND TURBINE

NºPublicación:  EP4673304A1 07/01/2026
Solicitante: 
SIEMENS GAMESA RENEWABLE ENERGY AS [DK]
Siemens Gamesa Renewable Energy A/S
CN_121013788_PA

Resumen de: TW202503167A

Method for manufacturing a carbon beam (9) adapted to be a part of a wind turbine blade (2) to increase or to cause the mechanical strength of the wind turbine blade (2), wherein the final carbon beam (9) comprises at least one core component (10) being made of or comprising at least one carbon plank (17) and/or a core arrangement (15) of core mats comprising carbon fibers, wherein at least a part of the core component (10) is arranged between skin components (11, 12) being made of or comprising a skin stack (13, 14) of skin mats (16) each, wherein the at least one core component (10) and the skin components (11, 12) are provided and then joined together to build the final carbon beam (9), wherein a prefabricated core component (10) is used, and wherein either also prefabricated skin components (11, 12) are used or wherein the skin components (11, 12) are produced by arranging the skin stack (13, 14) in a predetermined shape and fixing the skin mats (16) with an adhesive.

TOOTH FOR A TOOTHED TORQUE TRANSMISSION ASSEMBLY, AND METHOD FOR MANUFACTURING SUCH A TOOTH

NºPublicación:  EP4673665A1 07/01/2026
Solicitante: 
FLENDER GMBH [DE]
Flender GmbH
CN_120826553_PA

Resumen de: CN120826553A

The invention relates to a tooth (10) for a toothed torque transmission assembly, having a tooth flank (18) for torque exchange with an opposite flank of a meshing partner, the tooth flank (18) having a periodically extending tooth flank correction (22) with a sine wave pattern having a locally extending period length T, wherein the periodic tooth flank corrections (22) are superimposed with spatial microstructures (26), where the local maximum (28) is at the shortest distance t from the closest local minimum (30), where tlt; t/2. By increasing white noise in the structural sound emitted by the teeth (10) by means of the microstructures (26), the emission of noise disturbing human beings at torque transmitting devices can be reduced.

WIND TURBINE GEARBOX WITH MULTIPLE GENERATORS AND SPECIFIC GEAR RATIOS

NºPublicación:  EP4673648A1 07/01/2026
Solicitante: 
VINDG AS [DK]
Vindg A/S
CN_120936800_PA

Resumen de: WO2024180227A1

A wind turbine gearbox is disclosed for transmitting a wind generated rotary input to multiple electrical generators. The gearbox includes a first gearbox stage with a first bull gear and at least five first pinion gears. The first bull gear receives the wind generated rotary input and the pinion gears mesh with the first bull gear to generate at least five first rotary outputs. The first output shafts, fixed relative to the pinion gears and suspended in plain bearings, transmit the first rotary outputs to the electrical generators via a second gearbox stage. The first gearbox stage has a gear ratio of 5:1 or more, and the second gearbox stage has a gear ratio equal to or less than that of the first gearbox stage gear ratio.

METHOD OF RECYCLING COMPOSITE MATERIAL

NºPublicación:  EP4674585A1 07/01/2026
Solicitante: 
VESTAS WIND SYS AS [DK]
VESTAS WIND SYSTEMS A/S
EP_4674585_PA

Resumen de: EP4674585A1

A method of recycling composite material, the composite material comprising reinforcement fibres embedded in a matrix material. The method comprises: loading the composite material into a container; treating the composite material in the container with a liquid; transporting the container to a recycling station, wherein the liquid degrades the matrix material in the container during the transporting of the container; and at the recycling station, recycling the reinforcement fibres by separating them from the matrix material.

METHOD OF TRANSPORTING PIECES OF COMPOSITE MATERIAL

NºPublicación:  EP4674605A2 07/01/2026
Solicitante: 
VESTAS WIND SYS AS [DK]
VESTAS WIND SYSTEMS A/S
EP_4674605_PA

Resumen de: EP4674605A2

A method of transporting pieces of composite material, the pieces of composite material comprising reinforcement fibres embedded in a matrix material. The method comprises: loading the pieces into a container; and then transporting the container, the method further comprising softening the matrix material before transporting the container by treating the pieces with a liquid, wherein the liquid transforms the pieces into softened pieces, the softened pieces form a pile of softened pieces in the container, and at least some of the pieces change shape after they have been softened.

A hull structure for a semi-submersible wind power turbine platform

NºPublicación:  SE2451205A1 07/01/2026
Solicitante: 
BASSOE TECH AB [SE]
Bassoe Technology AB

A METHOD AND SYSTEM OF CONTROLLING A LOADING ON A WIND TURBINE SUPPORT STRUCTURE

NºPublicación:  EP4675100A1 07/01/2026
Solicitante: 
VATTENFALL AB [SE]
Vattenfall AB
EP_4675100_PA

Resumen de: EP4675100A1

A method of controlling a loading on a wind turbine support structure, the wind turbine support structure comprising a wind turbine, wherein the method of controlling the loading comprises the following steps, obtaining one or more first parameters, wherein the one or more first parameters are related to sea ice, estimating a sea ice loading based on the obtained one or more first parameters, obtaining one or more second parameters, wherein the one or more second parameters are related to structural loading of the wind turbine created by a wind force, estimating a wind turbine loading based on the one or more second parameters, calculating the loading on the wind turbine support structure, wherein the calculation is based on a combination of the sea ice loading and the wind turbine loading, determining if the calculated loading on the wind turbine support structure is within a predetermined loading threshold, and controlling the wind turbine if the calculated loading on the wind turbine support structure is determined to be above the predetermined loading threshold.

Polymeric wind turbine foundation

NºPublicación:  GB2642376A 07/01/2026
Solicitante: 
MARK BUCKTON [GB]
Mark Buckton
GB_2642376_PA

Resumen de: GB2642376A

A buoyant foundation 40 for supporting a wind turbine, the foundation comprising a polymeric outer shell 94; capped by an upper coupling plate 60 for coupling to the transition piece of a wind turbine support structure; a steel core 110 inside the polymeric shell and joined to the coupling plate; a hermetically sealed void 100 between the polymeric shell and the steel core. Preferably the thermoplastic comprises one or more of Polyethylene Terephthalate (PET or PETE); High-Density Polyethylene (HDPE); Polyvinyl Chloride (PVC or Vinyl); Polypropylene (PP); Acrylonitrile Butadiene Styrene (ABS); Polycarbonate; Polyethylene. The thermoplastic may be fibre reinforced comprising one or more of glass fibre, carbon fibre, aramid fibre, nylon fibre, cellulose fibre and metal fibre. The steel core may be joined to the coupling plate and serve to sandwich a portion of the outer shell in that during to provide a hermetic seal to the outer shell. Preferably the outer shell is spheroidal. A support structure, a wind turbine and a method of manufacture are also claimed.

OFFSHORE WIND POWER SYSTEM AND OPERATION METHOD THEREOF

NºPublicación:  EP4675101A1 07/01/2026
Solicitante: 
CHINA THREE GORGES CORP [CN]
China Three Gorges Corporation
EP_4675101_PA

Resumen de: EP4675101A1

The present application relates to the technical field of offshore wind power, discloses an offshore wind power system and an operation method thereof, and the system comprises: an offshore wind turbine, an offshore data center, an offshore ranch, an offshore platform, submarine cables and a shore station; wherein the offshore wind turbine and the offshore platform are arranged above a sea level, the offshore ranch is arranged in seawater, and the offshore data center is arranged on a seabed; the offshore wind turbine, the offshore data center and the offshore ranch are interconnected by cables in a wind turbine sleeve; the offshore platform, the shore station and the wind turbine sleeve are interconnected by the submarine cables; wherein, the offshore wind turbine is configured to supply power to the offshore data center and the offshore ranch, and transmit surplus power to the shore station through the offshore platform; the surplus heat of equipment of the offshore data center is configured to supply heat for the offshore ranch. The present application improves the energy utilization efficiency of the offshore wind power, the utilization efficiency of sea area, and the high-efficiency environmental control for the offshore ranch.

Floating wind turbine or equipment foundations

NºPublicación:  GB2642353A 07/01/2026
Solicitante: 
AKER SOLUTIONS AS [NO]
Aker Solutions AS
GB_2642353_PA

Resumen de: GB2642353A

A floatable foundation 100 for a wind turbine generator and/or electrical equipment (fig.1, 61), having a central column structure (10,11,12), three outer column members (20,21,22) disposed about the central column structure, three horizontally extending lower connection members, such as pontoon members (30,31,32), each horizontally extending lower connection member fixed to and extending between the central column structure and a respective one of the three outer column members, and three horizontally extending upper connection members, such as beam members (40,41,42), each horizontally extending upper connection member fixed to and extending between the central column structure and a respective one of the three outer column members, wherein each column member comprises a ballast tank (fig.14, 81) configured so that an upper ballast water level in the ballast tank is vertically higher than the seawater surface (fig.14, 90). The ballast tank may be arranged about an air filled interior (fig.21, 85) and/or comprise first and second watertight decks (fig.30, 78, 79) defining the ballast tank therebetween.

Offshore hydrogen production sytems and methods

NºPublicación:  GB2642328A 07/01/2026
Solicitante: 
AKER SOLUTIONS AS [NO]
Aker Solutions AS
GB_2642328_PA

Resumen de: GB2642328A

An offshore hydrogen production system comprising: a hydrogen production facility (10) comprising a renewable power generator (70) and at least one electrolyser (16). The capacity of the at least one electrolyser (16) corresponds to a power output of the power generator (70). The hydrogen production facility (10) is configured to be supplied with utilities for the production of hydrogen from a utilities system (11) which is located remote from the offshore hydrogen production facility (10). Also claimed is a method of producing hydrogen, a method of designing an offshore hydrogen production system, and method for the production of an offshore hydrogen production system. Also claimed is a utilities pipeline comprising a plurality of utilities fluid pipelines including at least one water supply and one hydrogen gas supply, at least one power supply cable or instrument control cable and wherein one of the water supply pipeline or hydrogen supply pipeline is positioned centrally about a longitudinal axis of the umbilical.

Hang-off system and method of using the same

NºPublicación:  GB2642187A 07/01/2026
Solicitante: 
TECHNIP UK LTD [GB]
Technip UK Limited
GB_2642187_PA

Resumen de: GB2642187A

A hang-off system for a bend controller for an elongate element (10) extending from subsea from a body of water up to an offshore structure (20) is disclosed. The hang off system comprises a bend controller (100) for controlling how much the elongate element (10) can bend; and a hang-off (200) for hanging off the bend controller (100) at an installed production position for the elongate element (10). The bend controller (100) is adjustably attached to the hang-off (200) by a plurality of adjustment elements (400), being configured for at least one of: independently adjust flexibility, setting an amount of flexible (force) resistance of a movement of the bend controller (100) relative to the hang-off (200); and independently adjust and set a fixed distance between the bend controller (100) and the hang-off (200).

A MONOPILE FOR SUPPORTING A WIND TURBINE, COMPRISING AN ENVELOPE DEFINING AT LEAST ONE HOLE EXTENDING FROM A RADIALLY OUTER SURFACE TO A RADIALLY INNER SURFACE

NºPublicación:  EP4675049A1 07/01/2026
Solicitante: 
TOTALENERGIES ONETECH [FR]
TotalEnergies OneTech
EP_4675049_PA

Resumen de: EP4675049A1

A monopile adapted for supporting a wind turbine, the monopile defining a central axis (X) and comprising an envelope (22) having a radially outer surface (28), a radially inner surface (30), a radially median surface (M), and at least one hole (20) defining a center (O), and being delimited by an edge (32) defining a loop (L) on the radially median surface, the loop defining a shape in orthogonal projection on a plane (P') tangent to the radially median surface at the center.The shape (S) is encompassed between a circle (C) and a rectangle (RR), both centered on said center, the circle having a diameter (D2) and a perimeter.The rectangle has a length (L1) equal to or larger than the diameter and smaller than the diameter multiplied by 1.20, and has a width (L2) equal to the diameter.The shape has a length equal to said perimeter multiplied by a value comprised between 1.10 and 1.25.

ROTOR LOCKING ASSEMBLY AND WIND TURBINE WITH ROTOR LOCKING ASSEMBLY

NºPublicación:  EP4675102A1 07/01/2026
Solicitante: 
NORDEX ENERGY SE & CO KG [DE]
Nordex Energy SE & Co. KG
EP_4675102_PA

Resumen de: EP4675102A1

A rotor locking assembly (10) for removably locking a rotor (2) of a wind turbine (1) is specified, the rotor locking assembly (10) comprising a locking pin (11) movable along a locking direction (100) between a locking position and a non-locking position, a stationary component (12) comprising a pin-retaining region (120) reaching from a first side (121) to a second side (122) of the stationary component (12) along the locking direction (100), wherein the second side (122) is opposite to the first side (121) along the locking direction (100), the pin-retaining region (120) being configured for accommodating the locking pin (11), so that the locking pin (11) is movable in the pin-retaining region (120) along the locking direction (100), a rotatable component (13) arranged at a first side (121) of the stationary component (12), the rotatable component (13) being configured for rotating with the rotor (2) and comprising at least one locking element (131) configured for interacting with the locking pin (11), so that a rotational movement of the rotatable component (13) is prevented when the locking pin (11) is in the locking position, a spacer element (14) arranged at a second side (122) of the stationary component (12), the spacer element (14) comprising a spacer region (141) being configured for accommodating a part of the locking pin (11) at least when the locking pin (11) is in the non-locking position.

WIND TURBINE MOUNTED CRANE

Nº publicación: MX2025012597A 07/01/2026

Solicitante:

LIFTRA IP APS [DK]
LIFTRA IP APS

CN_121152765_PA

Resumen de: MX2025012597A

A wind turbine mounted crane (100, 200, 202A) comprising a base portion (204, 206), and a wind turbine connection mechanism connected to the base portion (204, 206) and configured to releasably engage with a wind turbine. The crane (100, 200, 202A) also includes a boom (100, 210, 212) arm (108, 110, 210) rotatably connected to the base portion (204, 206) about a vertical axis (234, 240), a lifting hook (220, 222), a first and second lifting wire (202B, 204) running through the base portion (204, 206) and connected to the lifting hook (220, 222). At least one winch (20B) is connected to the first and second lifting wires (202A, 20A). The winch (20B) and lifting wires (202A, 20A) are arranged such that when the winch (20B) is rotated, the lifting hook (220, 222) moves. The boom (100, 210, 212) arm (108, 110, 210) is configured to rotate about the vertical axis (234, 240) relative to the base portion (204, 206) by more than 180 degrees from an initial position in a first direction and more than 180 degrees from the initial position in a second direction opposite to the first direction. In this way, a crane (100, 200, 202A) is provided which has a greater area of operation when compared to prior art type cranes.

traducir