Resumen de: CN121195080A
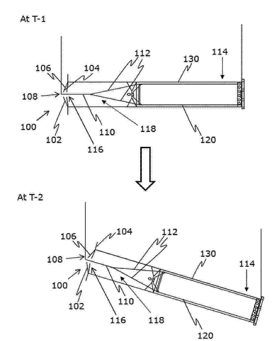
In a method for installing a heavy load in a load-bearing structure, the load-bearing structure (15) is composed of load-bearing elements which can be preferably assembled one on top of the other, and the load-bearing structure is constructed at least by a crane system. According to the invention, the lifting system (25), preferably a noose lifting system, is mounted in a support structure (15), the heavy load to be mounted is subsequently connected to a plurality of longitudinal elements (34) of the lifting system (25) and is conveyed upwards in the support structure (15), and the heavy load is fixed in the support structure, in particular in the operating position. A lifting system (25) mounted at a certain height in a support structure (15) is provided on the inside with a cavity (44 ') through which the heavy load can be lifted into an operating position and fixed therein in the support structure. By means of this method, although there is a variable large weight load, in particular a heavy load of a reactor for metal refining, can be conducted in the assembled state to the support structure and pulled upwards into the support structure into the operating position in a reliable manner and method.
Resumen de: EP4703584A1
The method is for operating a wind turbine (100) having a rotatable nacelle (40), a rotor (10) with at least one rotor blade (b_j), wherein the rotor is mounted on the nacelle, and at least one drive (d_i) for rotating the nacelle by exerting torque. The method comprises a step of providing first information (I1) which is representative of a position setpoint (Pn) of the nacelle and a step of providing second information (I2) which is representative of an external torque (Myaw) acting on the nacelle due to the aerodynamics of the rotor during rotation caused by wind. In a further step, an operating setpoint (OS_i) for the at least one drive is determined depending on the first and the second information. The operating setpoint is determined such that, when the at least one drive is operated according to the operating setpoint, the at least one drive brings or keeps the nacelle at the position setpoint by exerting torque. The second information is used in a feedforward manner for the determination of the operating setpoint.
Resumen de: EP4703583A1
The present disclosure provides a wind power generation apparatus, including: a tower body; at least two wind power generators arranged on the tower body and stacked along an extending direction of the tower body; where, a rotation shaft of each wind power generator is parallel to the extending direction and a bottom of each wind power generator is connected with a first connecting member; two first connecting members at the bottoms of two adjacent wind power generators are connected through at least two second connecting members, and an arrangement direction of the second connecting members is different from that of the first connecting members. In embodiments of the present disclosure, the power generation efficiency of the wind power generation apparatus can be improved while reducing the floor space of the wind power generation apparatus and enhancing its stability.
Resumen de: EP4703585A1
A method for controlling a wind turbine, wherein the method comprises the step of:- receiving at least one input signal- estimating a resulting rotor-yaw-moment or a needed individual pitch offset or delay yaw-start or a combination of them and- determining at least one output signal for yawing,- wherein based on determined at least one output signal, the control device is configured such that:-- applying an active yaw-counter-torque by individual pitching at certain operation points or-- applying a phase dependent yaw starting allowance command in that way that introduction of oscillation at yaw-drive are significant reduced or-- applying active yawing by generating an additional yaw-torque of rotor by individual pitching.
Resumen de: EP4703586A1
A method for harvesting energy from one or more internal energy sources of a wind turbine of a wind farm during an off-grid state includes collecting energy from the one or more internal energy sources locally at the wind turbine during the off-grid state. The off-grid state is characterized in that the wind turbine is mechanically and electrically installed at the wind farm but not yet connected to a grid. The method further includes storing at least a portion of the energy in one or more energy storage devices locally at the wind turbine or the wind farm during the off-grid state. Moreover, the method includes using the energy to periodically power one or more electrical power systems used for idle operation or maintenance tasks of the wind turbine during the off-grid state.
Resumen de: GB2700732A
A speed control device for control of idlers of wind turbines is provided. The speed control device includes a wind-powered electrical generator, a first speed control unit, a transmission gear set, an idler energy storage unit, and a second speed control unit. A wind activation gear set of the wind-powered electrical generator is driven by a wind force with a preset value. When the wind force is lower than the preset value, a rack unit on a speed-control motor is driven by power so that a speed-control gear set and the transmission gear set are respectively driven by a first and a second unidirectional gear of the first and the second speed control units. Thus, the transmission gear set is rotated for a period and an idler drives a generator main shaft of the idler energy storage unit to rotate for a period. Therefore, the idler rotates constantly, without stopping. Fig 1
Resumen de: CN121001923A
The invention relates to a floating platform (2), the arrangement of anchoring ribs (17, 18) of which makes it possible to improve stability, in particular for a platform of a wind turbine (2). The invention also relates to a method of assembling such a platform and a wind turbine thereof, and to a method of anchoring such a platform at sea.
Resumen de: WO2024223820A1
The invention provides a yaw system for a wind turbine including a tower and a nacelle atop the tower. The yaw system includes a yaw ring, a plurality of electrical motors for driving rotation of the nacelle relative to the tower, and a variable frequency drive for driving the plurality of electrical motors. The yaw system includes a plurality of sensors each associated with a respective electrical motor and each for measuring an operational parameter of the respective electrical motor. The yaw system includes an electronic switch configured to receive a sensor signal, from each of the sensors, indicative of the measured operational parameter. The electronic switch is controllable to select one of the plurality of sensor signals to be received by the variable frequency drive. The variable frequency drive is configured to drive the plurality of electrical motors based on the selected one of the plurality of sensor signals.
Resumen de: MX2025012597A
A wind turbine mounted crane (100, 200, 202A) comprising a base portion (204, 206), and a wind turbine connection mechanism connected to the base portion (204, 206) and configured to releasably engage with a wind turbine. The crane (100, 200, 202A) also includes a boom (100, 210, 212) arm (108, 110, 210) rotatably connected to the base portion (204, 206) about a vertical axis (234, 240), a lifting hook (220, 222), a first and second lifting wire (202B, 204) running through the base portion (204, 206) and connected to the lifting hook (220, 222). At least one winch (20B) is connected to the first and second lifting wires (202A, 20A). The winch (20B) and lifting wires (202A, 20A) are arranged such that when the winch (20B) is rotated, the lifting hook (220, 222) moves. The boom (100, 210, 212) arm (108, 110, 210) is configured to rotate about the vertical axis (234, 240) relative to the base portion (204, 206) by more than 180 degrees from an initial position in a first direction and more than 180 degrees from the initial position in a second direction opposite to the first direction. In this way, a crane (100, 200, 202A) is provided which has a greater area of operation when compared to prior art type cranes.
Resumen de: CN121175258A
A crane (1) connectable to a wind turbine tower (20) wherein the tower (20) comprises a set of one or more crane connection flanges (22) fixed to an outer surface (21) of the tower (20) and extending outwardly, the crane connecting flanges in the group of one or more crane connecting flanges are circumferentially arranged around the tower drum and are provided with upper joint surfaces and/or lower joint surfaces (23); wherein the crane (1) comprises a base portion (10), an arm (31) and at least two flange connection mechanisms (40), the arm (31) extending from the base portion (10) and at least one of the at least two flange connection mechanisms being connected to the arm; the at least two flange connection mechanisms are configured for connection to one of a set of one or more crane connection flanges (22) of the tower; wherein each of the at least two flange connections (40) comprises two cartridges (50); wherein each cartridge (50) comprises at least one upper flange engagement element for engaging with an upper engagement surface and/or at least one lower flange engagement element for engaging with a lower engagement surface (23), the crane connecting flange (22) is connected with the tower drum in a group of one or more crane connecting flanges (22); wherein the two cartridges (50) of each flange connection (40) are spaced apart from each other by a distance (D1) in the horizontal direction; and wherein the flange connection mechanism comprises a vertical load balancin
Resumen de: GB2633886A
A system for installation, assembly and maintenance of a multi-rotor wind turbine comprising an integrated track assembly 404 extending laterally along a structural framework (fig7b, 703) from a support tower 406 and between an operational and transitional site of a component (e.g. a nacelle 401), thus eliminating the need for external lifting equipment, and facilitates repair and replacement of rotor and nacelle components in a timely manner. The system may have a lift 407 for lifting the component to an elevated position. The component may be mounted on the track. A process for installing/removing a component of a multi-rotor wind turbine. A process for the in-situ maintenance of modular renewable energy generation assembly components.
Resumen de: CN121127674A
The invention relates to a device (1) for fixing a rotor blade (140) to a hub body (13) of a wind turbine (100), comprising a blade-side extension bearing unit (2) comprising a first bearing ring (3) provided with a first bolt circle (4) for fixing to the hub body (13) and a second bearing ring (5) for fixing to the rotor blade (140), the second bearing ring (5) is arranged coaxially with respect to the first bearing ring (3) so as to be rotatable about a common bearing axis (A), the first bearing ring (3) being integrally formed with a rotor hub extension (9) which extends beyond the second bearing ring (5) on the hub side in the direction of the bearing axis (A), the invention relates to a device (1) for mounting a rotor hub extension (2) on a hub body (13), the rotor hub extension (2) having a hub-side end region (E), the hub-side end region (E) of which is provided with a first bolt circle (4), and a hub-side extension bearing unit (10), which is designed in the form of a plate and has a second bolt circle (11), the first bolt circle (4) and the second bolt circle (11) being aligned in order to be jointly fixed to the hub body (13). The invention also relates to a multi-part hub assembly (150) which is held together by at least one fastening device (1) according to the invention.
Resumen de: CN121175437A
In a method for loading a heavy load into a support structure (15), at least one heavy load is conveyed upwards in the support structure (15) and fastened such that the heavy load can be fixed in an operating position. The heavy load to be transported is in particular in an at least nearly ready-to-complete state for a reactor (20) for metal refining. The heavy load is partially driven into the support structure (15) in the horizontal direction by means of the transport means (11). The heavy load is then swung upwards by a lifting system (25) mounted in the support structure (15) and moved upwards in the support structure (15) and fastened in its operating position. In this case, the heavy load is mounted in a tiltable manner on the transport means (11) for upward pivoting and is lifted from the transport means (11) by means of a lifting system (25). Therefore, although the heavy load is extremely high, the heavy load can be guided into the supporting structure in the assembled state, swung into the supporting structure and pulled upwards into the operating position.
Resumen de: CN121001872A
The invention relates to a pultrusion method for manufacturing a fiber-reinforced composite article (64). The method comprises the steps of impregnating a fibrous material (e.g., fiber rovings or fiber tows) with a resin to form a resin-impregnated pultruded thread (109), drawing the resin-impregnated pultruded thread through a mold (107) and applying heat to the resin-impregnated pultruded thread (109) to form an at least partially cured pultruded thread. Treating a surface (115, 116) of the at least partially cured pultruded wire with a primer composition comprising a silane compound to form a primer-treated pultruded wire, and cutting the primer-treated pultruded wire to provide a pultruded composite article (64).
Resumen de: CN121039388A
A method of operating a wind power plant (12) comprising a set of wind turbines (14), the set of wind turbines (14) comprising at least one wind turbine designated as a verification turbine (14a) and at least one wind turbine designated as a non-verification turbine (14b). The method comprises: operating the or each validation turbine (14a) to produce a maximized output; and operating the or each non-validated turbine (14b) to produce an output controlled according to the or each validated turbine (14a) output such that the combined output of the set of wind turbines (14) coincides with the target power plant output.
Resumen de: WO2024223013A1
A transportation system for transporting a wind turbine component (32) on a floating foundation (16) at an offshore wind turbine (10) is provided. The transportation system includes a rail system (52). The rail system (52) includes at least one rail (84) configured to extend from a component landing area (48) to a component lifting area (50) of the floating foundation (16). The transportation system also includes a transportation skid (46) selectively mountable to the rail system (52) and configured to receive the wind turbine component (32). The transportation skid (46) includes a skid frame (54) for supporting the wind turbine component (32) and at least one rail engagement element (60) configured to engage the rail system (52) for moving the transportation skid (46) along the rail system (52). A method of transporting the wind turbine component (32) at the floating foundation (16) of the offshore wind turbine (10), and a method of installing the wind turbine component (32) in the offshore wind turbine (10) are also provided.
Resumen de: WO2024223012A1
A transportation skid (46) for transporting a wind turbine component (32) to a floating foundation (16) of an offshore wind turbine (10) is provided. The floating foundation (16) includes a tower interface (34) for attachment to an end of a wind turbine tower (12). The transportation skid (46) includes a skid frame (54) for supporting the wind turbine component (32) and a surface engagement element (56) configured to engage a component landing area (48) of the floating foundation (16). The component landing area (48) is spaced from the tower interface (34). The transportation skid (46) further includes a shock absorber (58) connecting the surface engagement element (56) and the skid frame (54) to soften the landing on the component landing area (48). A method of transporting the wind turbine component (32) to the floating foundation (16) of the offshore wind turbine (10) is also provided.
Resumen de: WO2024226053A1
A method of assembling a coil support assembly for an electrical machine is provided. The method includes providing a plurality of coil support structures, each of the plurality of coil support structures having a first face defining a cavity and opposing sides each defining a joint component, the joint components being one of a male joint component or a female joint component. The method also includes arranging a conducting coil within the cavity of each of the plurality of coil support structures. The method also includes arranging the plurality of coil support structures together in a generally circumferential arrangement. The method also includes securing the plurality of coil support structures together via the male and female joint components of adjacent coil support structures of the plurality of coil support structures to form the coil support assembly.
Resumen de: EP4703604A1
Getriebeantriebsstrang 10 mit einer Triebstrangachse AD für eine Windkraftanlage, umfassend eine erste und zumindest eine weitere Getriebekomponente 12, 20 mit jeweils einer Mittelachse AM1, AM2, wobei die ersten Getriebekomponente 12 zumindest einen Planetenradträger 14 mit darin aufgenommenen Planeten einer ersten Planetenstufe 22, ein erstes Gehäuseelement 28 als Flanschabschnitt mit einer aufgenommenen Lagerung 16 für den Planetenradträger 14 und ein zweites Gehäuseelement 30 als Hohlrad aufweist und die zweite Getriebekomponente 20 zumindest eine weitere Planetenstufe und/oder Stirnradstufe 26 aufweist. In einem Zustand, in der eine Gewichtskraft FRG der zumindest einen weiteren Getriebekomponente 20 nicht auf diese Getriebekomponente 20 wirksam ist, steht die Mittelachse AM2 der zumindest einen weiteren Getriebekomponente 20 unter einem Winkelbetrag +αVK zu der Triebstrangachse AD. In einem belasteten Zustand ist die Verkippung zwischen der Verzahnung aufgehoben.
Resumen de: TW202521841A
This invention describes a new lightweight high strength structural design for rotors used in turbines for fluid kinetic power generation or conversion with the aims of reducing rotor mass while maintaining rotor strength or increasing strength without increasing material costs significantly. The basic concept is to use a set of guy wires attached to rotor blades so that each blade is supported at multiple positions along the blade span. Between two adjacent support positions, the length of unsupported overhanging blade section is reduced as compared to the whole blade length. Fluid dynamic loading induced bending and shearing along the blade can thus be reduced significantly.
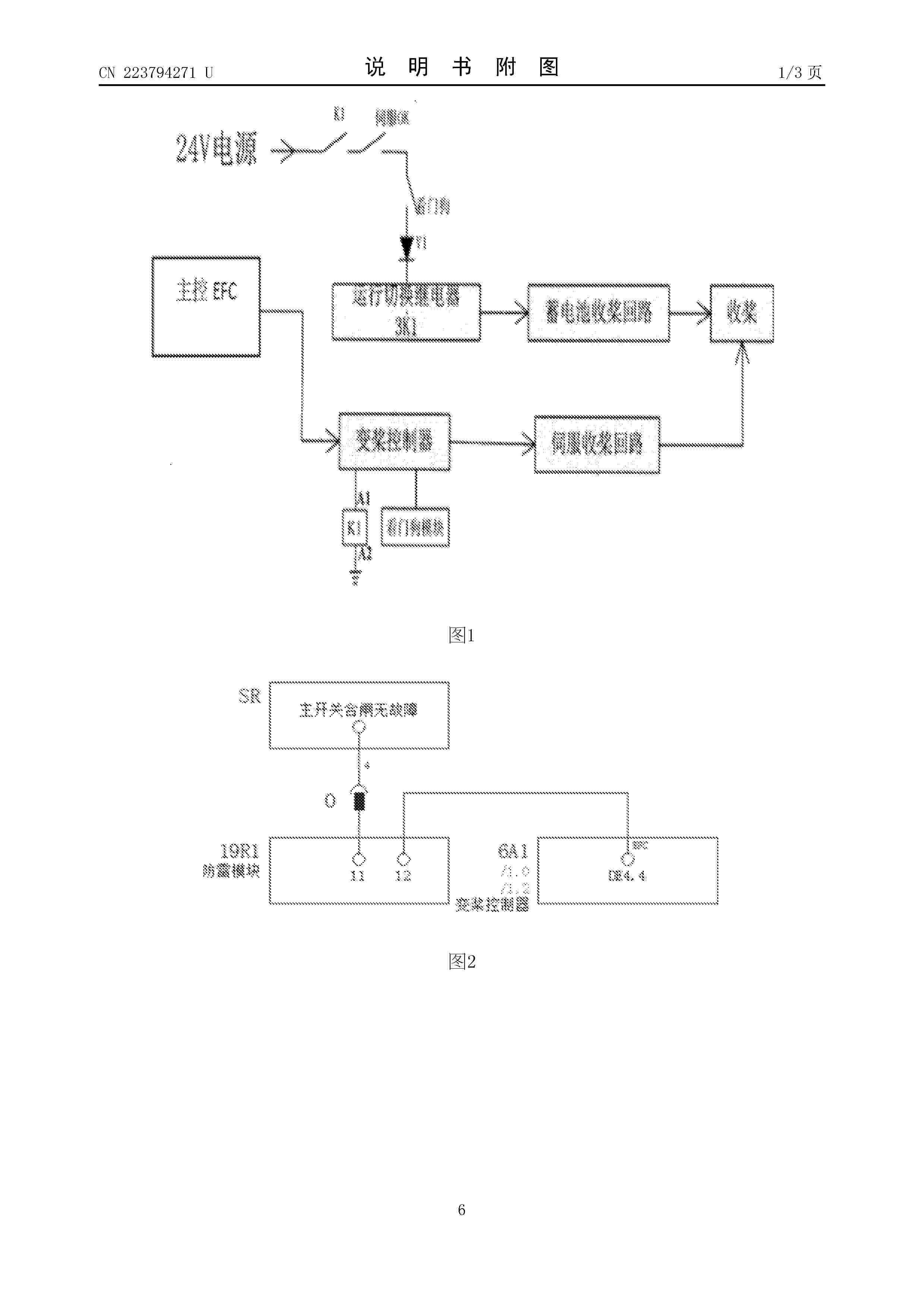
Resumen de: CN223965245U
本实用新型涉及风力发电机技术领域,公开了用于风力发电机偏航变桨轴承的取油装置。本实用新型提供的取油装置,通过设有具备集油腔室以及取油口的收集管段,在收集管段伸入偏航变桨轴承的取油部位的过程中,令收集得到的润滑油脂经取油口进入集油腔室存储。相比于现有方案而言,本结构的取油装置可以不断地取油并收集,以及其存储空间相对较大,可以快捷、高效的取出润滑油脂,减小取油所花费的时间,从而提高清理润滑油脂的工作效率。
Resumen de: CN223963117U
本实用新型公开了一种风电塔筒吊装辅助定位装置,属于风电塔筒技术领域,包括风电塔筒本体,风电塔筒本体的一端设置有辅助定位组件,另一端内壁环形阵列焊接有多个固定环,辅助定位组件包括卡接在风电塔筒本体一端周侧的固定夹持套环盖、设置在固定夹持套环盖周侧的上端紧固部件以及设置在固定夹持套环盖内部并且沿着风电塔筒本体的内腔延伸至风电塔筒本体另一端与固定环紧固连接的下端紧固组件,固定夹持套环盖内部设置有吊钩收放组件,固定夹持套环盖的内部具有一个用于卡接容纳风电塔筒本体顶端的夹持卡接腔。本实用新型通过对风电塔筒吊装过程中的多点固定、同步支撑以及精准定位方面的改进,提升了吊装作业的安全性。
Resumen de: CN223964540U
本实用新型公开了一种风电机组监测装置,涉及风电机组监测技术领域,包括风电机组塔体以及c型架,所述风电机组塔体侧表面安装有齿条,所述齿条两侧固定设置有一对导轨,所述c型架内转动连接有转轴,所述转轴侧表面固定设置有齿轮,所述齿轮与所述齿条啮合,所述c型架侧表面固定设置有限位箱,所述限位箱上壁开设有一对条形孔,所述条形孔内插接有插板,一对所述插板上端共同固定设置有监测装置本体,本实用新型通过c型架向下移动可以将监测装置本体移动至风电机组塔体的下侧,通过第一滑杆向右移动可以将限位钩从限位孔中拔出,从可以将插板从条形孔中拔出,实现了监测装置本体的快速拆卸。
Resumen de: CN223964541U
本实用新型公开了一种风力叶片维修用可调平台,涉及维修平台的技术领域,本实用新型旨在解决现有维修平台不可调节的问题,本实用新型包括有两个支撑台和调节机构,两个所述支撑台关于所述调节机构对称设置;所述支撑台靠近所述调节机构的一端设置为弧形,所述支撑台的另一端设置为直线型,两个所述支撑台的弧形端均与所述调节机构连接,以用于调节两个所述支撑台的开合角度。
Nº publicación: CN223964542U 03/03/2026
Solicitante:
华能吉林发电有限公司镇赉风电厂
Resumen de: CN223964542U
本实用新型公开了一种基于风电机组的偏航驱动器修复调试装置,涉及风电机组技术领域,包括第一限位连接圈,所述第一限位连接圈的内部开设有转动限位槽,所述转动限位槽的一侧内部转动连接有轴承球,所述转动限位槽的内部转动连接有转动圈,所述转动圈的一侧底端固定连接有连接杆,所述连接杆的一侧底端固定连接有主力齿轮转盘。通过设置第一限位连接圈两侧第一安装侧板上的第一驱动电机直接控制修复调试齿轮的转动,对于主力齿轮转盘实现偏航驱动修复作业,两侧同步实现转动传动作业,提高装置的传动修复效率,主力齿轮转盘的转动可以带动转动圈在转动限位槽的内部转动,利用转动圈对于动力主轴的转动角度实现纠偏作业。