Ministerio de Industria, Turismo y Comercio LogoMinisterior
 

Alerta

Resultados 634 resultados
LastUpdate Última actualización 01/04/2026 [08:11:00]
pdfxls
Solicitudes publicadas en los últimos 15 días / Applications published in the last 15 days
previousPage Resultados 325 a 350 de 634 nextPage  

风力涡轮机塔架的上部混凝土段的混凝土节段、用于浇筑该混凝土节段的模具及包含该混凝土节段的风力涡轮机的组装方法

NºPublicación:  CN121712956A 20/03/2026
Solicitante: 
恩德能源西班牙独资有限公司
CN_121712956_PA

Resumen de: AU2024314486A1

The object of the invention is a concrete segment of a section of a wind turbine tower which minimizes the undesirable local effects in the connection area between adjacent concrete sections, a section comprising at least two concrete segments, a set comprising two adjacent sections and a joint disposed between the two adjacent sections, a tower comprising at least one set, a mould configured to cast a concrete segment and a method of assembling a wind turbine.

用于接合风力涡轮机叶片的第一叶片模块和第二叶片模块的方法

NºPublicación:  CN121712643A 20/03/2026
Solicitante: 
西门子歌美飒可再生能源公司
CN_121712643_PA

Resumen de: TW202513966A

It is described a method of joining a first blade module (1) and a second blade module (2) of a blade (3) for a wind turbine to each other, the method comprising steps of: Applying a hot melt adhesive layer (4) to an inner or outer shell surface (5) of the first blade module (1) and/or an inner or outer shell surface (6) of the second blade module (2); Aligning the first and second blade modules (1, 2) to each other with a joining insert (7) arranged at a joining interface of the first and second blade modules (1, 2) so that the joining insert (7) is in contact with the hot melt adhesive layer (4); Heating the hot melt adhesive layer (4); and Joining the first and second blade modules (1, 2) via the joining insert (4) to each other by vacuum infusion, wherein the joining insert (4) is materially bonded to the first and second blade modules (1, 2).

用于海上风力发电机的支撑结构及该支撑结构的安装方法

NºPublicación:  CN121712983A 20/03/2026
Solicitante: 
道达尔能源万泰克公司
CN_121712983_PA

Resumen de: AU2024314546A1

The present invention relates to a support structure (1) for an offshore wind turbine, said support structure (1) comprising: - a first structure part (A) destined to be fixed to the seabed (Sb), said first structure part (A) comprising at least three dummy legs (3) distributed regularly on a first circle (X1) having as center a longitudinal axis (Y) of the support structure (1) and extending along said longitudinal axis (Y) of the support structure (1), said dummy legs (3) comprising a lower extremity (3a) designed to face the seabed (Sb) and an upper extremity (3b) opposed to the lower extremity (3a), the first structure part (A) also comprising at least three anchor devices (5) to the seabed (Sb) linked to the at least three dummy legs (3), - a second structure part (B) comprising at least three structure legs (4) comprising a lower extremity (Ba) facing the first structure part (A) and an upper extremity (Bb) configured to be placed above the sea level (Sl), wherein at least one anchor device (5) of the first structure part (A) is positioned angularly between two adjacent dummy legs (3) on a second circle (X2) having as center the longitudinal axis (Y) of the support structure (1), and wherein at least one of the dummy legs (3) of the first structure part (A) and/or of the structure legs of the second structure part (B) are at least partially filled with a solid ballast (10).

包括分布式变压器装置的海底功率收集系统

NºPublicación:  CN121713347A 20/03/2026
Solicitante: 
ABB\u745E\u58EB\u80A1\u4EFD\u6709\u9650\u516C\u53F8
CN_121713347_PA

Resumen de: AU2024330912A1

A power collection system (100) for collecting power from a plurality of offshore power generation units comprises a three-phase subgrid (120) and a subsea power substation (130). The subgrid has a plurality of power input points (121) towards the power generation units and a shared three-phase power output point (122). The power substation (130) is connected to the power output point, and its secondary side (132) is arranged to be connected to a power consumer (170). The power substation shall comprise three one-phase transformers (140), which are contained in respective housings (143), wherein each housing is arranged to rest on the seabed and to be liftable to the sea surface separately from the other housings. Each phase of the power output point is connected to a primary side (141) of a corresponding one of the one-phase transformers.

集成防冰系统的风力涡轮机叶片及其制造方法

NºPublicación:  CN121712980A 20/03/2026
Solicitante: 
西门子歌美飒可再生能源创新与技术有限公司
CN_121712980_PA

Resumen de: WO2025031648A1

The invention refers to a wind turbine blade formed by two shell halves, wherein one shell half has a first pair of me- tallic sheets layered, on the outer surface of the shell half, and wherein each of the metallic sheets has been par- tially embedded within the shell half during the resin infu- sion process. A first heating mat made of an electrically conductive material is layered on resin-free parts of the me- tallic sheets, and is also embedded within the shell half so that the first heating mat is electrically in contact with the resin-free parts of the metallic sheets. The invention also refers to a method for manufacturing a wind turbine blade, integrating an Ice Protection System, the method com- prising the steps of manufacturing first and second shell halves by means of a resin infusion process, and integrating an Ice Protection System in the same resin infusion process for manufacturing the shell halves.

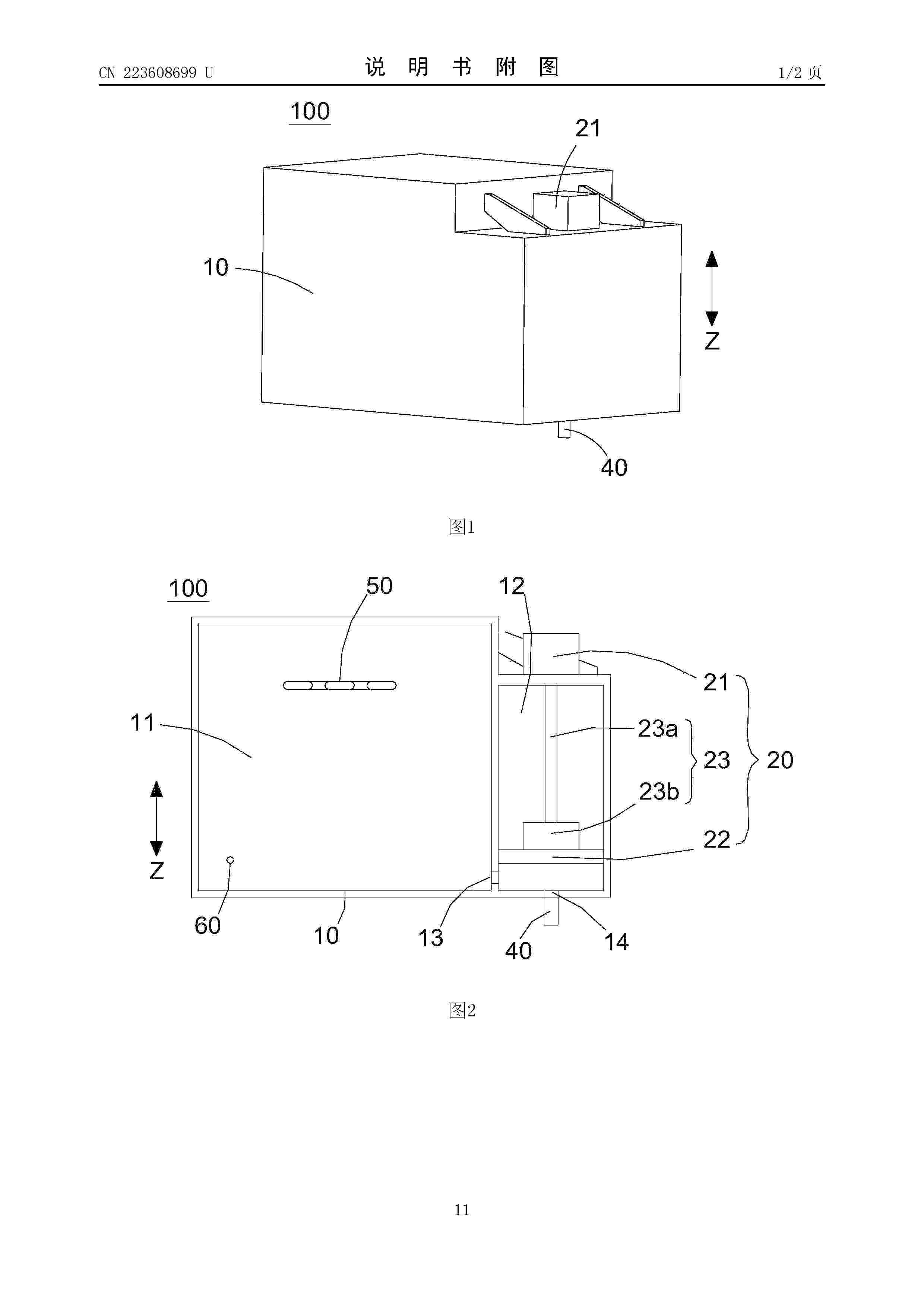
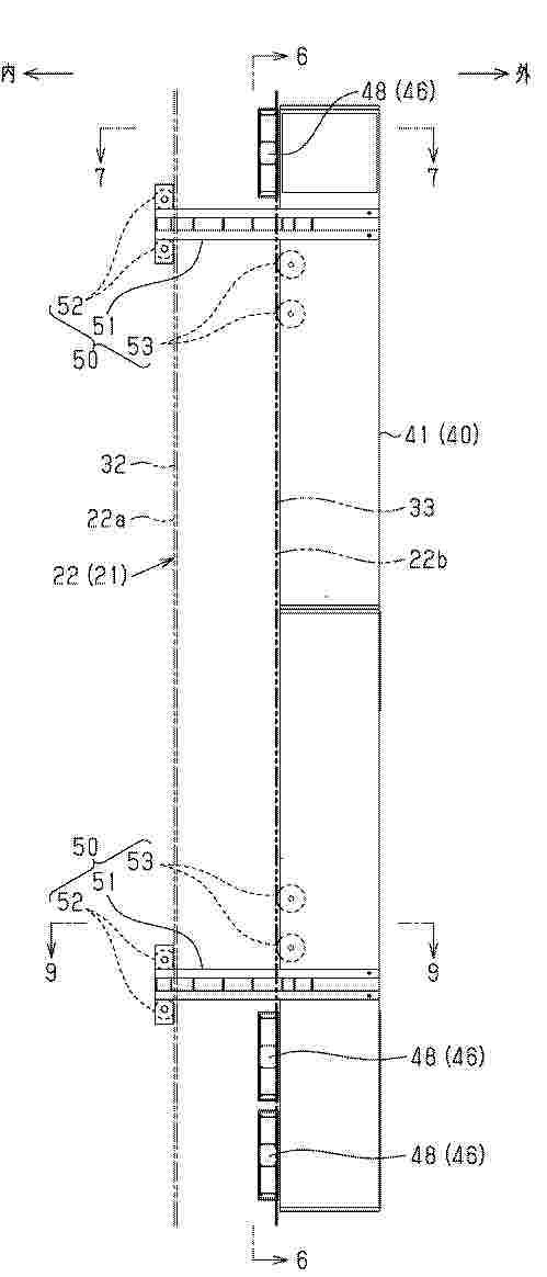
一种高强度耐用型风力发电机舱罩

NºPublicación:  CN121701420A 20/03/2026
Solicitante: 
大丰锦辉风电设备有限公司
CN_121701420_PA

Resumen de: CN121701420A

本发明涉及发电机技术领域,公开了一种高强度耐用型风力发电机舱罩,包括多个首尾串联在一起的内衬框,其中两个所述内衬框底部之间固定连接有立柱,其中一个所述内衬框一侧固定安装有封边板,所述封边板一侧固定安装有罩头,每个所述内衬框四周拐角处均开设有扩胶腔,每个扩胶腔内部均固定安装有加强肋,所述加强肋呈十字型状让所述加强肋在扩胶腔内部形成一对固定腔和一对排胶腔,此高强度耐用型风力发电机舱罩,内衬框两侧边缘的连接条插接在固定腔内部,从而使得固定腔可以将加强肋进行填充,让多个内衬框可以很容易连接在一起,操作简单,同时稳定型加强,而在多个内衬框连接在一起之后,并通过局部点焊方式固定,简化了安装复杂难度。

电力储存系统

NºPublicación:  CN121710554A 20/03/2026
Solicitante: 
丰田自动车株式会社
CN_121710554_PA

Resumen de: US20260081431A1

An electric power storage system is provided with: an electric power supplier that is configured to supply at least a portion of electric power generated by repeatedly alternating unwinding and winding of a tether that moors a flying body to an electric power storage unit, which stores electric power in a predetermined manner, and an electric power holding unit, which is capable of charging and discharging electric power; and a controller that is configured to control the electric power holding unit so that electric power is supplied from the electric power holding unit to the electric power storage unit during winding the tether.

风机传动链系统扭振抑制方法、装置、设备及存储介质

NºPublicación:  CN121710755A 20/03/2026
Solicitante: 
三峡智控科技有限公司武汉理工大学
CN_121710755_PA

Resumen de: CN121710755A

本公开属于风力发电技术领域,提供了一种风机传动链系统扭振抑制方法、装置、设备及存储介质,所述方法包括建立风机传动链的等效双质量块数学模型;基于等效双质量块数学模型,导出关于风机传动链扭振的固有特性模型;基于扭振固有特性模型,得到发电机转速到电磁转矩的传递函数;选择发电机转速作为控制量,设计带通滤波器的参数;利用带通滤波器提取的实时扭振信息,并根据所述传递函数计算出实时电磁转矩值;根据实时电磁转矩值,通过反馈机制调整发电机的电磁转矩,实现扭振的自适应抑制。本公开针对风机传动链系统的实际工况,利用带通滤波器闭环反馈机制动态调整风力发电机的电磁转矩,实现了风机传动链系统扭振的自适应抑制。

风力涡轮机转子锁定

NºPublicación:  CN121701390A 20/03/2026
Solicitante: 
西门子歌美飒可再生能源公司
CN_121701390_PA

Resumen de: CN121701390A

本发明描述了一种包括电动马达系统的锁定系统以及一种锁定转子并且尤其是检测风力涡轮机(40)的转子(3)何时处于用于锁定转子的转子锁定位置的方法,风力涡轮机包括定子(2),转子(3)可相对于该定子旋转,该方法包括:使转子(3)旋转;从对定子与转子部件之间的距离敏感的传感器系统(10)接收传感器输出数据(12);分析所述传感器输出数据(12);基于所分析的传感器输出数据来指示何时到达转子锁定位置。

齿轮箱单元和风力发电装置

NºPublicación:  CN121713006A 20/03/2026
Solicitante: 
远景能源有限公司
CN_121713006_PA

Resumen de: AU2024438852A1

The disclosure is directed to a gearbox unit for a wind power generation device (2), comprising a gearbox (14); an oil supply system (30) for cooling and/or lubricating the gearbox (14), the oil supply system (30) comprising an electrical pump (32) discharging the lubricant; a primary power source (34); a backup power source (36); and a power controller (38) configured to control a supply of the electrical power from the primary power source (34) and the backup power source (36) to the electrical pump (32). Further, the disclosure is directed to a wind power generation device (2) comprising a rotor (6); a main shaft (18); the gearbox unit; and a generator (16).

用于风力涡轮机叶片中的防雷系统的绝缘叶片末梢

NºPublicación:  CN121712981A 20/03/2026
Solicitante: 
西门子歌美飒可再生能源创新与技术有限公司
CN_121712981_PA

Resumen de: WO2025031639A1

It is described an insulated blade tip (11) for a lightning protection system in a wind turbine blade (5). The described insulated blade tip (11) comprises: an electrically conductive receptor unit (12) having an external part (121) and an internal part (122), wherein the external part (121) forms a lightning receptor; a lightning cable (13) electrically connected to the internal part (122) and configured for being connected to an insulated electric cable for conducting a lightning from the insulated blade tip (11) to a blade root of the wind turbine blade (5); an electrically insulating block (14) having an internal cavity (16), in which the internal part (122) and the lightning cable (13) are placed. The external part (121) is arranged at a first external surface (1411) of the electrically insulating block (14). Further, a space (19) between the (i) the internal part (122) and/or the lightning cable (13) and (ii) an inner surface (171, 181) of the cavity (16) is filled at least partially with resin (20). Further, it is described a method for fabricating such an insulated blade tip (11) and a wind turbine blade (5) as well as a wind turbine (1) with such an insulated blade tip (11).

一种利用风电光伏制冷和昼夜温差耦合储水的技术

NºPublicación:  CN121700875A 20/03/2026
Solicitante: 
牛嘉尹
CN_121700875_PA

Resumen de: CN121700875A

本发明公开了一种利用风电光伏制冷和昼夜温差耦合储水的技术,属于风电光伏耦合制冷储水技术领域。其核心结构包括热气抽排组件、制冷管、防渗导热导流板、集热箱、有机吸水禁耕区、有机改造耕作区、太阳能光伏风能发电设备、防渗集水层等关键组件。本技术通过光伏风能发电设备为制冷机供电,利用制冷管构建低温区,结合沙漠昼夜温差实现有机吸水禁耕区的水汽“吸附‑解吸”循环,为核心冷凝区持续供汽;冷凝水经防渗集水层收集后,通过毛细作用及滴灌管为耕作区供水,冷凝热由热气抽排组件排出以避免冷能损耗。本发明解决了现有技术水汽供给不足、冷凝热排出受阻、结构稳定性差的缺陷,具备水汽吞吐效率高、储水效果稳定、适配性强的优势,可有效应用于干旱沙漠地区的水资源捕获与生态修复。

一种潮汐能发电装置及发电方法和应用

NºPublicación:  CN121701383A 20/03/2026
Solicitante: 
北京千帆动力科技有限公司
CN_121701383_PA

Resumen de: CN121701383A

本发明公开了一种潮汐能发电装置,属于新能源发电技术领域;该装置主要包括:皮带轮(1)、皮带()2、风筝(3)、发电机(5)、以及发电机皮带(6)组成,其特征是:至少由两个双槽皮带轮(1)与皮带(2)组成带传动,皮带(2)上系有多个风筝(3)组成风筝串,皮带(2)沿两个双槽皮带轮(1)的下槽循环转动,皮带轮上槽通过皮带6与发电机5的皮带轮相连;风筝受水流冲击产生升力,对与其连接在一起的皮带(2)产生拖拽力,皮带(2)受风筝升力的拖拽带动皮带轮(1)下槽旋转,从而使上槽皮带轮连动,上槽皮带轮与发电机(5)的皮带轮由皮带(6)连接起来形成带传动,带动发电机(5)旋转发电,该装置结构简单,易于制作,成本低,效益高,发电稳定。

一种风电变桨双刹车系统的刹车故障处理策略

NºPublicación:  CN121701414A 20/03/2026
Solicitante: 
重庆华渝重工机电有限公司
CN_121701414_PA

Resumen de: CN121408159A

The invention relates to the technical field of wind power variable pitch control, and discloses a brake fault processing strategy of a wind power variable pitch double-brake system. The strategy comprises the step of continuously monitoring three types of key signals: a brake fault signal of a driver of the wind power variable pitch system, brake loop current signals collected by two Hall sensors respectively, and output current of the driver. Comprehensive evaluation is carried out based on the real-time states of the signals, the brake system fault, the Hall sensor fault and the normal operation state of the system can be accurately distinguished, and corresponding processing operation is executed. When the brake system fails, the driver stops output and triggers the generator to freely stop and brake; when the Hall sensor breaks down, a fault is reported, and the paddle is controlled to be feathered to a safe position emergently; if the system is normal, operation is maintained. According to the strategy, comprehensive fault monitoring and accurate judgment are achieved, and the safety and stability of a variable pitch system are improved.

用于风力涡轮机模块的维修或安装的可充胀部件

NºPublicación:  CN121701418A 20/03/2026
Solicitante: 
西门子歌美飒可再生能源公司
CN_121701418_PA

Resumen de: US2021270246A1

Provided is an inflatable component usable during service and/or in-stallation of a wind turbine module, including an inflation structure with an air tight shell and a sealable package in the inflation structure for ingress or discharge of air into or from the air tight shell for inflating or deflating struc-ture. The inflation structure is dimensioned to provide a thermal and/or physical barrier in respect of external fluids and/or physical objects or particles acting upon the infla-tion structure in case the inflation structure is inflated and inserted in a hollow section of the wind turbine module. Further provided is a wind tur-bine arrangement including such an inflatable component and also to a servicing or installation method of a wind turbine module by using the inflatable component.

风车、信息获取方法以及风车管理系统

NºPublicación:  CN121701395A 20/03/2026
Solicitante: 
纳博特斯克有限公司
CN_121701395_PA

Resumen de: US20260078740A1

An aerial vehicle obtains information regarding the external condition of a wind turbine. The wind turbine includes a tower, a nacelle rotatably supported by the tower, and a wireless charging device provided in the nacelle for charging the aerial vehicle. The aerial vehicle charged by the wireless charging device can stably acquire information regarding the appearance of the wind turbine without being limited in an available flight time.

一种在海上发电系统中的发电浮体与运输船之间搬运能量的储能介质的方法

NºPublicación:  CN121697803A 20/03/2026
Solicitante: 
丰田自动车株式会社
CN_121697803_PA

Resumen de: US20260077835A1

A method of transferring a storage medium loaded on a power generation float from a float that generates electricity on the ocean to a transport vessel on the ocean includes a first process of fixing the power generation float to the transport vessel so that a height of a loading place of the storage medium of the power generation float is higher than a height of a storage place of the storage medium of the transport vessel, a second process of forming a first path in which the storage medium can move between the loading place of the storage medium of the power generation float and the storage place of the storage medium of the transport vessel, and a third process of moving the storage medium from the loading place of the power generation float to the storage place of the transport vessel by gravity through the first path.

一种风电机组叶片结冰清除装置及方法

NºPublicación:  CN121701421A 20/03/2026
Solicitante: 
江苏沿海可再生能源技术创新中心
CN_121701421_PA

Resumen de: CN121701421A

本发明公开了风电设备技术领域一种风电机组叶片结冰清除装置,包括连接板,连接板的两端均设置有转动环,转动环内均通过转动组件套接有定位柱,转动组件能够驱动连接板分别绕两组定位柱转动,且具有锁止功能,定位柱底部均设置有吸附设备,吸附设备能够吸附在风电机组表面,定位柱上均设置有除冰组件,吸附设备包括:吸附盘,吸附盘内均设置有电磁线圈,吸附盘的底部环绕设置有橡胶圈层,橡胶圈层的底部固定安装有金属底片;升降组件,升降组件设置在吸附盘的上端,升降组件能够调整电磁线圈的高度,本发明通过设备在风电设备表面移动,通过摩擦力进行物理除冰,且能够快速将碎冰扫除,提高除冰效率,降低新冰层凝结的可能。

一种基于结构自适应宽度学习网络的风电机组故障智能诊断方法及系统

NºPublicación:  CN121705933A 20/03/2026
Solicitante: 
广西大学
CN_121705933_PA

Resumen de: CN121705933A

本发明提供一种基于结构自适应宽度学习网络的风电机组故障智能诊断方法及系统,方法包括以下步骤:S1,对采集的风电机组的历史故障数据进行预处理,得到处理后的数据集X及故障标签Y;S2,利用清洗后数据集X和故障标签Y为训练样本训练初始的宽度学习网络,获得初始故障诊断模型;S3,对初始宽度学习网络进行T次结构扩张,每次结构扩张时,在原宽度学习网络的基础上新增个强化节点进行结构扩张,并对原宽度学习网络进行更新,获得更新后的宽度学习网络,T次结构扩张后得到结构自适应更新后的宽度学习网络,获得最终的故障诊断模型;S4,将待诊断风电机组的数据样本输入至最终的故障诊断模型,获得诊断结果。其能够有效提升模型的诊断能力。

一种风机叶片的积灰检测与清洁方法

NºPublicación:  CN121701409A 20/03/2026
Solicitante: 
朔州市太重风力发电有限公司繁峙县能裕风力发电有限公司
CN_121701409_PA

Resumen de: CN121701409A

本申请涉及风机叶片维护技术领域,特别是涉及一种风机叶片的积灰检测与清洁方法。该方法包括:基于风机叶片的弦长分布和历史积灰数据,将叶片划分为多个积灰敏感区域;构建风机叶片积灰检测的基准数据库,生成包含区域基础积灰参数、环境关联积灰参数及工况关联积灰参数的基准参数集;基于所述基准参数集,对所述多个积灰敏感区域执行多维度数据采集,生成感知数据集;将所述感知数据集与所述基准参数集进行多级判断,生成积灰异常判定结果,根据所述积灰异常判定结果,制定清洁策略并执行清洁操作。该方法能够提升风机叶片积灰检测的精准性、清洁操作的高效性,保障风机稳定高效运行。

适用于风电塔架的多粘滞阻尼器耦合质量块减振装置

NºPublicación:  CN121701010A 20/03/2026
Solicitante: 
重庆佑航能源科技有限公司
CN_121701010_PA

Resumen de: CN121701010A

本发明涉及塔架减振领域,具体涉及适用于风电塔架的多粘滞阻尼器耦合质量块减振装置,包括质量块、分布于质量块上下的两组粘滞阻尼器和两个环形安装架,环形安装架与塔架内壁连接,质量块通过粘滞阻尼器与环形安装架连接;每组粘滞阻尼器均包括N个粘滞阻尼器,N个粘滞阻尼器均匀分布于质量块周向且以质量块的中心轴线呈环形对称分布,相邻粘滞阻尼器轴心与质量块中心的连线间的圆周间隔角为360°/N。采用本技术方案,有利于满足风电塔架多方向的减振效果。

一种风光一体路灯的风机主动保护系统

NºPublicación:  CN121701389A 20/03/2026
Solicitante: 
上海博昂电气有限公司
CN_121701389_PA

Resumen de: CN121701389A

本申请公开了一种风光一体路灯的风机主动保护系统,属于新能源照明设备保护技术领域。系统包括:感知模块、通信模块、决策控制模块以及执行模块。决策控制模块适于:获取感知模块采集的实时风速和实时温度,以及通信模块从气象平台获取的未来预报风速;基于实时风速、实时温度和未来预报风速,利用三重冗余保护触发逻辑进行决策判断;当满足任一触发条件时,生成保护指令以驱动执行模块执行保护动作。本申请解决了现有保护机制响应滞后、维度单一及低温适应性差的问题,实现了对风机的提前主动保护。

一种基于多模态协同的风力发电机组叶片除冰系统及方法

NºPublicación:  CN121701422A 20/03/2026
Solicitante: 
道莅智远科技(青岛)有限公司
CN_121701422_PA

Resumen de: CN121701422A

本发明涉及风力发电技术领域,公开了一种基于多模态协同的风力发电机组叶片除冰系统及方法,包括:获取叶片历史结冰数据及环境参数,分析结冰特征,建立叶片结冰特征库;基于多传感器实时监测叶片冰层状态及环境参数,结合结冰特征库,启动气热预融模块与复合涂层防护功能,进行冰层预融处理;当冰层厚度达到预设阈值时,触发电热强化模块分区加热,结合叶片变桨动作实现冰层剥离,构建冰层清除效果评估模型。基于气热预融、电热强化、涂层防护的多层级协同架构,结合智能决策算法动态调控各模块的启动时序与运行参数,通过LSTM神经网络预测结冰概率、Q‑learning算法优化协同时序,实现冰层从预融到清除的全流程精准协同,让除冰过程更高效。

一种变桨轴承及其废弃润滑脂收集装置

NºPublicación:  CN121701427A 20/03/2026
Solicitante: 
太原重工股份有限公司
CN_121701427_PA

Resumen de: CN121701427A

本申请公开了一种变桨轴承及其废弃润滑脂收集装置,涉及风电机组技术领域,包括变桨轴承和废脂收集装置,变桨轴承包括同轴设置的内圈和外圈,以及安装于内圈与外圈之间的密封组件。该变桨轴承及其废弃润滑脂收集装置,内侧组合式密封与外侧适配性密封结构,均采用定位棱边与防松棱边的固定方式与多重密封唇与槽体嵌合的密封设计,密封唇宽度与槽宽精准适配轴承径向变形量,无论轴承发生变形还是密封件弹性下降,密封唇均能保持与槽体或套圈的紧密贴合,解决了现有技术中密封易失效、润滑脂泄漏的核心问题,维护时无需拆解复杂的轴承或集油盒结构,仅需拆卸集油瓶即可完成废脂清理,极大降低了维护工作量与维护难度。

一种风电机舱罩玻璃钢复合材料百叶窗结构及其制造方法

Nº publicación: CN121701425A 20/03/2026

Solicitante:

江苏常友环保科技股份有限公司

CN_121701425_PA

Resumen de: CN121701425A

本发明公开了一种风电机舱罩玻璃钢复合材料百叶窗结构及其制造方法,包括通风罩主体,所述通风罩主体包括安装于风电机舱顶部的安装底板以及设置在安装底板上的通风弯头,通风弯头与安装底板中心镂空与机舱内部导通,通风弯头出口设置有斜面,斜面处通过紧固件安装有百叶窗本体,所述百叶窗本体与通风弯头的斜面之间设置有防鸟网,百叶窗本体由玻璃钢一体成型,制造方法包括三维建模、模具制作、真空成型或手糊工艺、后处理与装配。本发明的玻璃钢百叶窗结构具有耐腐蚀、轻质、高强度、寿命长等优点,适用于风力发电机组在腐蚀性环境中的长期使用。

traducir