Ministerio de Industria, Turismo y Comercio LogoMinisterior
 

Alerta

Resultados 462 resultados
LastUpdate Última actualización 08/12/2025 [07:02:00]
pdfxls
Solicitudes publicadas en los últimos 15 días / Applications published in the last 15 days
previousPage Resultados 400 a 425 de 462 nextPage  

VEHICULAR WIND TURBINE SYSTEM FOR POWER GENERATION AND DRAG REDUCTION

NºPublicación:  EP4653240A1 26/11/2025
Solicitante: 
PURUS POWER CORP [CA]
Purus Power Corporation
EP_4653240_A1

Resumen de: EP4653240A1

A vehicle including a vehicle body having a front portion defining a first forward projection area, and a wind turbine system. The wind turbine system includes an airflow capture inlet, a flow consolidating conduit, an air driven rotor assembly, and an electric generator. The airflow capture inlet has an inlet upstream end, an inlet downstream end, an air entry window, and a flow directing floor. The air entry window and the flow directing floor each extends from the inlet upstream end to the inlet downstream end. The air entry window defines a second forward projection area that is at least 10% of the first forward projection area. The flow directing floor is sloped upwardly. The flow consolidating conduit is close sided. The air driven rotor assembly is downstream of a consolidating conduit downstream end. The air driven rotor assembly includes an air driven rotor connected to the electric generator.

METHOD AND DEVICE FOR CONSTRUCTING LEADING EDGE PROTECTIVE LAYER OF WIND TURBINE BLADE

NºPublicación:  EP4653691A1 26/11/2025
Solicitante: 
MITSUBISHI HEAVY IND LTD [JP]
Mitsubishi Heavy Industries, Ltd
EP_4653691_PA

Resumen de: EP4653691A1

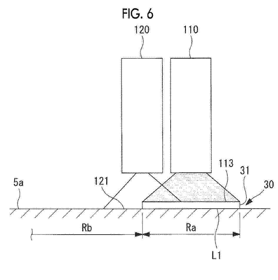
Provided are a method and a device for constructing a leading edge protective layer of a wind turbine blade, with which the layer thickness of a protective layer (layer thickness of each pass layer) can be ascertained and managed in real time during a construction process. The method for constructing a leading edge protective layer is used to construct a protective layer (30) that is composed of a plurality of pass layers and is constructed on the leading edge of a wind turbine blade body (5a) formed of FRP, wherein a measurement is taken of a difference in level between a pass layer constructed region (Ra) in which an nth pass layer formed through an nth instance of construction is constructed and a pass layer non-constructed region (Rb) which is adjacent to the pass layer constructed region (Ra) and in which the nth pass layer is not yet constructed, where n is a natural number.

LIGHTNING PROTECTION EQUIPMENT AND ASSOCIATED METHOD

NºPublicación:  EP4653697A1 26/11/2025
Solicitante: 
TOTALENERGIES ONETECH [FR]
TotalEnergies OneTech
EP_4653697_PA

Resumen de: EP4653697A1

The present invention refers to a lightning protection system (1) for protecting a wind farm (10) comprising a plurality of wind turbines (T1...T16), the lightning protection system (1) comprising:- at least one protecting equipment (11) comprising:- a lightning collector (13) linked to the ground (17), for example via an earthing cable (18),- a femtosecond laser (15) configured to emit a laser beam towards the sky,- at least one static electricity sensor (21) arranged within the wind farm (10) and configured for measuring an electrostatic potential,- a control unit (23) connected to the at least one femtosecond laser (15) and to the at least one static electricity sensor (21),wherein the control unit (23) is configured:- for comparing the electrostatic potential measured by the at least one static electricity sensor (21) with a predetermined minimum threshold and,- for activating the at least one femtosecond laser (15) when the measured electrostatic potential is higher than the predetermined minimum threshold.

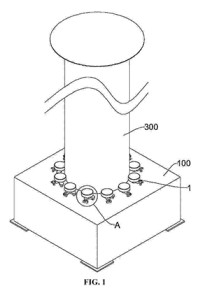
LIMITING APPARATUS FOR WIND-ASSISTED PROPULSION ROTOR, AND WIND-ASSISTED PROPULSION SYSTEM

NºPublicación:  EP4653693A1 26/11/2025
Solicitante: 
CSSC SHANGHAI MARINE ENERGY SAVING TECH CO LTD [CN]
CSSC Shanghai Marine Energy Saving Technology co., Ltd
EP_4653693_PA

Resumen de: EP4653693A1

Provided are a limiting apparatus for a wind-assisted propulsion rotor and a wind-assisted propulsion system. The limiting apparatus for a wind-assisted propulsion rotor provided by the present application includes multiple limiting units distributed along an outer periphery or an inner periphery of an outer cylinder. Each limiting unit includes a roller mechanism, an adjustment mechanism, and an elastic member. A first end of a mounting bracket in the roller mechanism is rotatably disposed on a base or an inner tower. A limiting roller in the roller mechanism is rotatably disposed on a second end of the mounting bracket. An outer peripheral surface of the limiting roller abuts against an outer wall or an inner wall of the outer cylinder. One end of an adjustment assembly in the adjustment mechanism abuts against the second end of the mounting bracket. The adjustment assembly is configured to adjust the force between the limiting roller and the outer cylinder. The elastic member is clamped between the adjustment assembly and the second end of the mounting bracket.

METHOD FOR THE DETECTION AND TREATMENT OF ANOMALIES IN STRUCTURES

NºPublicación:  EP4653861A1 26/11/2025
Solicitante: 
ARBOREA INTELLBIRD S L [ES]
Arborea Intellbird S.L
EP_4653861_A1

Resumen de: EP4653861A1

The invention relates to a method for the detection and treatment of anomalies in sets of structures associated with the same operator, fixed or mobile, such as wind turbines, or linear industrial infrastructures, which includes performing a first inspection of the set of structures, obtaining a digital model of each of them, processing them to detect anomalies, analyzing synergies between them, performing a second inspection for the same purposes as the first one, comparing the results of both, analyzing the possible evolution of the anomalies and determining the degree of risk of each structure in relation to the other structures of the set. This provides an overall picture of the situation of the set of structures in terms of their maintenance requirements, making it possible to prioritize spending for these purposes.

VERTICAL-AXIS WIND TURBINE, AND ROTOR BLADE AS WELL AS A ROTOR FOR THE VERTICAL-AXIS WIND TURBINE

NºPublicación:  EP4653694A1 26/11/2025
Solicitante: 
KOESE CEVDET [DE]
K\u00F6se, Cevdet
EP_4653694_PA

Resumen de: EP4653694A1

The present disclosure relates to a rotor blade 21 for a vertical-axis wind turbine with an axis of rotation 3, the rotor blade 21 comprising: a front end and a rear end; at least one curved front profile 30, which has a convex side 40 with an apex that points towards the front end and a concave side 50 which points towards the rear end; at least one rear profile 31, 32, 33, 34 which is arranged rearward and at a distance of the front profile 30; wherein each profile 30, 31, 32, 33, 34 comprises an outer edge 60, 61, 62, 63, 64 and an inner edge 70, 71, 72, 73, 74, characterized in that at least one of the profiles 30, 31, 32, 33, 34 has an extension 110 which is arranged in the vicinity of the outer edge 60, 61, 62, 63, 64 of the profile and/or an extension 110 which is arranged in the vicinity of the inner edge 70, 71, 72, 73, 74 of the profile, wherein each extension 110 extends from the respective edge, in the vicinity of which it is arranged, towards the rear end ±45°, and wherein each extension 110 is distinguishable from the profile 30, 31, 32, 33, 34, in the vicinity of which it is arranged.

METHOD FOR INSTALLATION AND MAINTENANCE OF FLOATING WIND TURBINES

NºPublicación:  EP4652371A1 26/11/2025
Solicitante: 
FLOATING MAINTENANCE SOLUTION AS [NO]
Floating Maintenance Solution AS
WO_2024225911_PA

Resumen de: WO2024225911A1

Present invention relates to a method for maintaining and installation of offshore wind turbines, comprising the following steps: - positioning a floating service vessel (8) with a crane (10) above a semi- submerged sub-structure (2) of a floating wind turbine (1), said sub-structure (2) comprising a number of mainly vertical pontoons or columns (3, 4, 5) interconnected by tubular beams (6), - providing contact between the tubular beams (6) and an interface arrangement (14) on the service vessel, and - lifting the service vessel (8) above the water surface.

A renewable energy generation module

NºPublicación:  GB2641205A 26/11/2025
Solicitante: 
AEON ENERGY LTD [GB]
Aeon Energy Limited
GB_2641205_PA

Resumen de: GB2641205A

A renewable energy generation module 1 for use in a body of water comprises a plurality of floatation devices 3 supported by and located outside of a structural frame 2 to maintain an upper portion of the module above the surface of the body of water, a wave energy generation device 5 located centrally within the structural frame, and a renewable energy generation device receiving platform 6 located on an upper end 7 of the structural frame. The wave energy generation device may comprise an oscillating water column 51 having a wind turbine (54, fig 4). A plurality of solar panels 8 or wind turbines may be mounted on the platform. A renewable energy generation system comprises a plurality of renewable energy generation modules, each connected to adjacent modules, and a tidal wave energy generation device (101, fig 7) suspended between the plurality of modules.

CONDITION MONITORING SYSTEM

NºPublicación:  EP4653838A1 26/11/2025
Solicitante: 
SIEMENS GAMESA RENEWABLE ENERGY AS [DK]
Siemens Gamesa Renewable Energy A/S
EP_4653838_PA

Resumen de: EP4653838A1

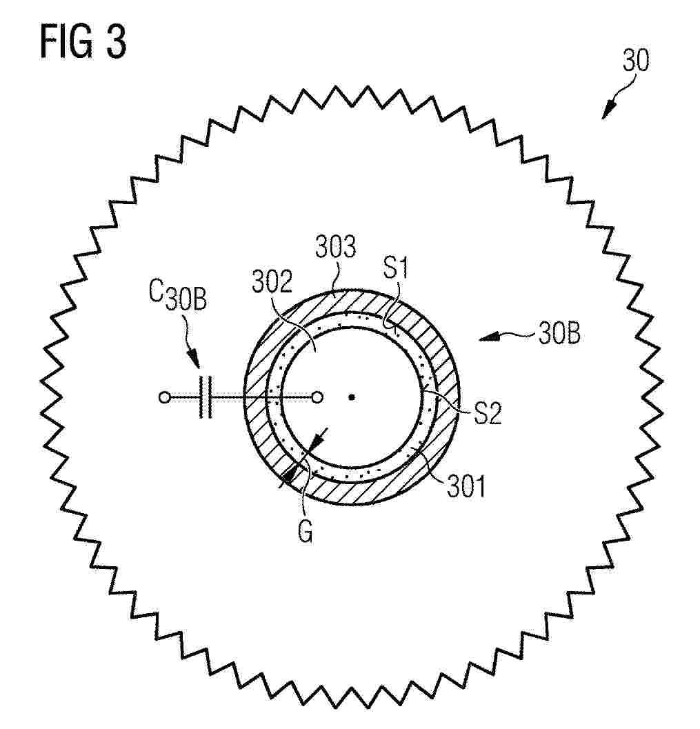
The invention describes a condition monitoring system (1) for a journal bearing (30B) arranged to support a rotary component (30) installed in a rotary machine (3), which condition monitoring system (1) comprises a pair of electrical terminals (11, 12) arranged on either side of an oil-filled gap (G, 303) between the journal (302) and the rotary component (30); a capacitance meter (15) connected across the terminals (11, 12) and adapted to output a measurement reading (150) indicative of capacitance (C<sub>30B</sub>) across the terminals (11, 12) during operation of the rotary machine (3); and an evaluation unit (16) adapted to receive readings (150) from the capacitance meter (15) and to determine the health of the journal bearing (30B) on the basis of the measurement readings (150). The invention further describes a method of determining the health of a journal bearing (30B) on the basis of capacitance measurement readings (150) across the oil-filled gap (G, 303) between a bearing journal (302) and the supported rotary component (30) .

METHOD FOR MITIGATING A MISALIGNMENT OF A NACELLE OF A WIND TURBINE AND WIND TURBINE

NºPublicación:  EP4653695A1 26/11/2025
Solicitante: 
NORDEX ENERGY SE & CO KG [DE]
Nordex Energy SE & Co. KG
EP_4653695_PA

Resumen de: EP4653695A1

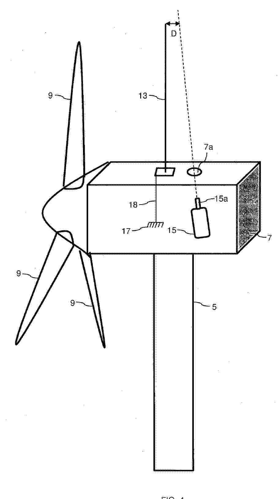
According to an embodiment, the method for mitigating a misalignment of a nacelle (4) of a wind turbine (100) comprises a step of receiving first information (11) which is representative of a first wind related quantity (TI_1). The first information has been determined with the help of a primary wind sensor (1). In a further step, second information (12) is received which is representative of a second wind related quantity (TI_2). The second information has been determined with the help of a secondary wind sensor (2). In a further step, third information (13) is determined depending on the first and the second information. The third information is representative of a misalignment (δ_m) of the primary wind sensor with respect to the nacelle. Then, if the primary wind sensor is misaligned, a measure is executed to cause a reduction of the misalignment of the nacelle resulting from the misalignment of the primary wind sensor.

TOOL FOR MANUFACTURING A WIND TURBINE BLADE PART

NºPublicación:  EP4653692A1 26/11/2025
Solicitante: 
LM WIND POWER AS [DK]
LM Wind Power A/S
EP_4653692_PA

Resumen de: EP4653692A1

There is provided a tool 400 for manufacturing a wind turbine blade part 500. The part 500 comprises a blade shell component 510 and a blade reinforcing structure 520. The tool 400 comprises a flange portion 410 to accommodate a flange of the blade reinforcing structure 520, a mould portion 420 arrangeable on an upper edge 611 of a blade shell mould 600 for the part 500 and a plurality of apertures 421 spaced along the mould portion 420 for accessing the upper edge 611 of the mould 600.

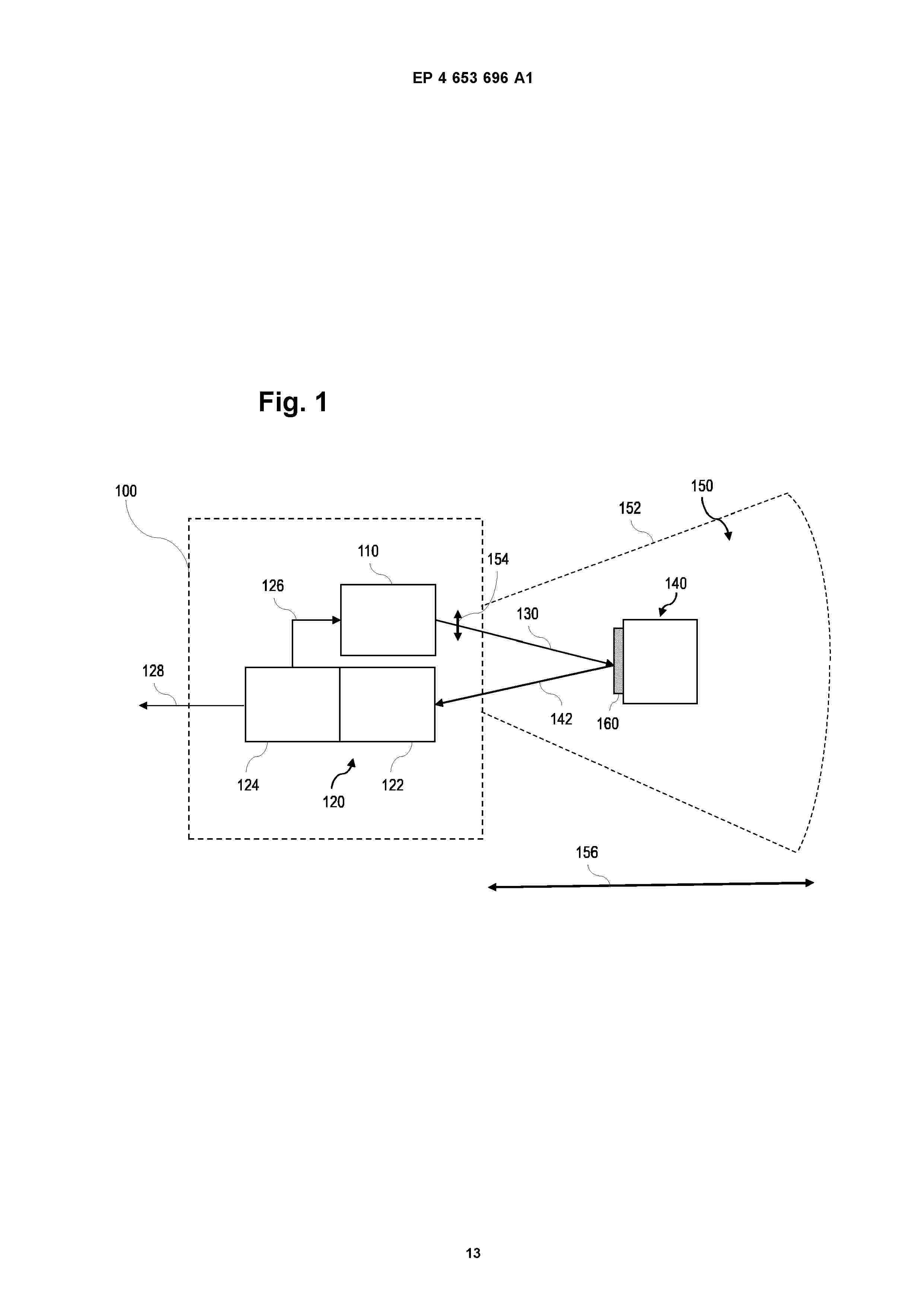
OPTICAL SENSOR

NºPublicación:  EP4653696A1 26/11/2025
Solicitante: 
SICK AG [DE]
SICK AG
EP_4653696_A1

Resumen de: EP4653696A1

Ein optischer Sensor, der für ein Windrad vorgesehen sein kann, umfasst eine Lichtquelle, die Licht in einen vorbestimmten Überwachungsbereich emittiert, und eine Empfangs- und Auswertungseinheit, die ausgebildet ist, mindestens ein Objekt innerhalb des Überwachungsbereichs anhand von empfangenem Licht nachzuweisen, das von der Lichtquelle emittiert und von dem Objekt remittiert wird. Die Lichtquelle ist ferner ausgebildet, Licht bei mindestens zwei verschiedenen Wellenlängen zu emittieren, während die Empfangs- und Auswertungseinheit zusätzlich ausgebildet ist, eine jeweilige Intensität des von dem Objekt remittierten Lichts für eine jeweilige der mindestens zwei Wellenlängen zu bestimmen und anhand des Verhältnisses mindestens zweier Intensitäten bei unterschiedlichen Wellenlängen mindestens ein vorbestimmtes Material an dem Objekt nachzuweisen. Ein Windrad mit einem solchen optischen Sensor und ein Verfahren zum Betreiben eines solchen Windrades werden ebenfalls beschrieben.

EFFICIENT WIND TURBINE AMIABLE

NºPublicación:  EP4652369A1 26/11/2025
Solicitante: 
CORTEN HOLDING BV [NL]
CORTEN HOLDING BV
CN_120712407_PA

Resumen de: CN120712407A

A HAT wind turbine (1) for generating electrical power from wind, comprising a tower (5), a nacelle (6), a generator and a rotor (2) which can be pushed by wind for rotation about a rotor axis, the rotor having a rotor solidity SOLtor of maximum 0.10, and the rotor having a radius R (3) wherein the rotor comprises blades (4), the number N of blades being at least 4, these blades extending to a radial position of at least 0.90 R, and wherein the blade has a local chord length cr (9) distributed with respect to the radial position r, wherein the local chord length cr satisfies one of the following within a radial range of r = 15% R to R: less than 5.5% R; less than 5% R; less than 4.5% R; less than 4% R; less than 3% R; less than 2% R; and less than 1.5% R.

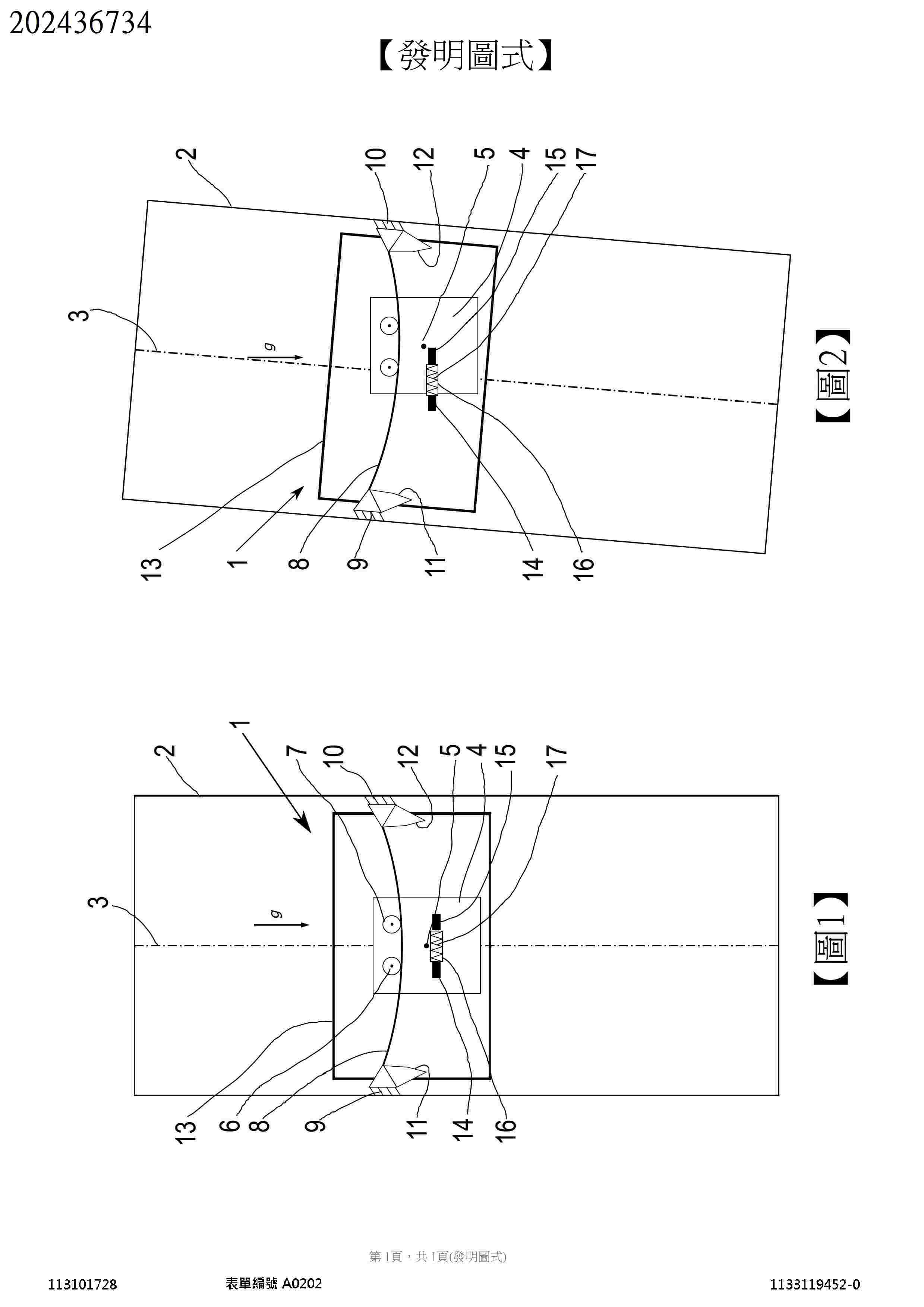
MASS DAMPER ASSEMBLY, IN PARTICULAR FOR TALL, SLIM BUILDINGS, AND METHOD FOR INSTALLING A MASS DAMPER ASSEMBLY

NºPublicación:  EP4652385A1 26/11/2025
Solicitante: 
WOELFEL ENG GMBH CO KG [DE]
W\u00F6lfel Engineering GmbH + Co. KG
TW_202436734_A

Resumen de: TW202436734A

The invention relates to a mass damper assembly and a method for installing a mass damper assembly (1), in particular for tall, slim buildings. The mass damper assembly (1) has a supporting structure (2), a damping mass (4), at least one wheel (6, 7) by means of which the damping mass (4) is movable out of a stable central position in two opposing directions on a concave rail assembly (8) connected to the supporting structure (2), and a stop assembly which has, for each direction of motion of the damping mass on the rail assembly, a stop buffer on the damping mass and a stop against which the stop buffer comes to abut. According to the invention, for the purpose of simple assembly, a distance between the stop buffer (14, 15) and the stop (11, 12) in the stable central position of the damping mass (4) is variable for at least one direction of motion, and, when the distance varies in one direction of motion, the stop assembly varies the distance in the opposing direction of motion to the same extent in the opposite direction.

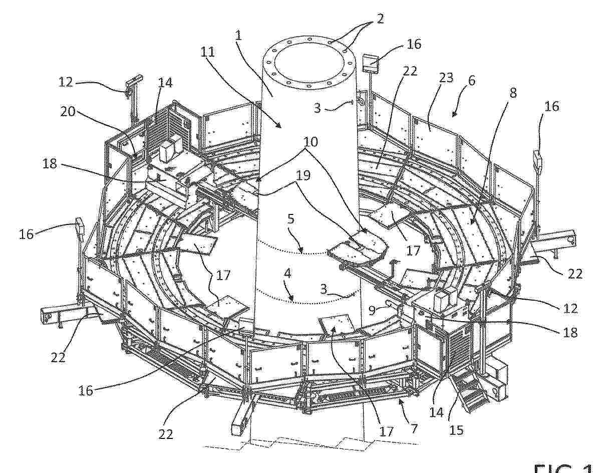
METHOD FOR DISMANTLING THE TOWER OF A WIND TURBINE

NºPublicación:  EP4653647A2 26/11/2025
Solicitante: 
PETER HERBERS GMBH [DE]
Peter Herbers GmbH
EP_4653647_PA

Resumen de: EP4653647A2

Vorgeschlagen wird eine Bühne (6), welche für den Rückbau eines Turms (1) einer Windkraftanlage bestimmt ist, mit einem ringförmigen Gestell (7), das um einen freien Innenraum verläuft, dessen Durchmesser derart bemessen ist, dass dieser wenigstens dem Außendurchmesser des Turms (1) in der Höhe entspricht, wo die Verwendung der Bühne (6) vorgesehen ist, mit wenigstens zwei in radialer Richtung beweglichen, umfangsmäßig voneinander beabstandeten Vorsprüngen, die dazu bestimmt sind, wahlweise in Aussparungen des Turms (1) eingebracht zu werden und die Bühne (6) zu tragen, oder aus den Aussparungen herausgezogen zu werden, mit wenigstens einer Plattform (8), die für den Aufenthalt von Personen bestimmt ist, und mit einer Sturzsicherung, welche in radialer Richtung bewegliche Zungen (22) aufweist, die dazu bestimmt sind, an den Turm (1) angenähert zu werden. Weiterhin wird ein Verfahren zum Rückbau eines aus einem Betonwerkstoff bestehenden Turms (1) einer Windkraftanlage vorgeschlagen.

一种用于海上风电桩的稳定性监测方法及系统

NºPublicación:  CN121007091A 25/11/2025
Solicitante: 
华能如东八仙角海上风力发电有限责任公司水利部交通运输部国家能源局南京水利科学研究院华能国际电力江苏能源开发有限公司清洁能源分公司
CN_121007091_PA

Resumen de: CN121007091A

本发明公开了一种用于海上风电桩的稳定性监测方法及系统,涉及海上风电桩技术领域,本发明包括步骤一、风电场稳定数据采集、步骤二、风电场稳定性分析和步骤三、风电场稳定性监测及预警。评估海上风电桩的各工况的工作运行符合指数,筛选海上风电桩的各异常工况,打破了传统经验判断的局限性,避免小隐患累积成大故障,提升海上风电场的安全,降低因结构失效导致的停机损失和维修成本,分析海上风电桩稳定状态,进行预警提示,提升了风电场运营的安全性与可靠性,避免异常工况恶化导致桩体损坏或风电场停运,降低经济损失,减少了盲目巡检和无效作业。

一种垂直轴发电叶桨组件

NºPublicación:  CN223594332U 25/11/2025
Solicitante: 
安徽省佳裕钢结构有限责任公司
CN_223594332_U

Resumen de: CN223594332U

本实用新型公开了一种垂直轴发电叶桨组件,涉及发电设备技术领域,包括支撑杆,所述支撑杆的上端固定连接发电机,所述发电机的输入端均匀固定连接有第一杆件,所述第一杆件的内部滑动连接有第二杆件,所述第二杆件的一侧固定连接有叶桨,所述第一杆件的下端开设有矩形开口,所述第二杆件的下端转动连接有转杆,所述支撑杆的杆壁活动连接有移动块,所述移动块的外侧与转杆转动连接,所述移动块的下端设有升降组件。本实用新型当风力较小的时候,通过第二杆件向外侧移动,进而增大力臂,保证发电机能够工作,当风力较大的时候,通过收缩第二杆件,减小力臂,使得转速增大,这样能够根据风力的大小,使得发电机能够持续地工作。

基于机器学习的风力发电机组控制方法及系统

NºPublicación:  CN121007089A 25/11/2025
Solicitante: 
华能新能源股份有限公司山西分公司
CN_121007089_PA

Resumen de: CN121007089A

本发明提供一种基于机器学习的风力发电机组控制方法及系统,涉及机器学习领域,首先获取风力发电机组运行过程中的多源监测数据集合,接着对多源监测数据集合进行特征工程处理,生成标准化特征向量集合,以描述目标时间区间内的机组运行状态,然后将标准化特征向量集合输入预构建的图神经网络模型,经多层图卷积处理生成针对当前运行工况的控制策略参数集合,再依据该集合生成控制指令序列并发送至执行机构调整机组运行状态,最后采集执行后的机组实时运行数据,与多源监测数据集合合并形成更新后的监测数据集合,用于周期性优化图神经网络模型参数配置,从而能够提升风力发电机组运行效率与稳定性。

低电压穿越过程中风力发电机组自适应控制方法及系统

NºPublicación:  CN121007090A 25/11/2025
Solicitante: 
中车株洲电力机车研究所有限公司中国电力科学研究院有限公司国网北京市电力公司
CN_121007090_PA

Resumen de: CN121007090A

本发明公开了一种低电压穿越过程中风力发电机组自适应控制方法及系统,方法包括步骤:S1、实时采集风力发电机组的运行数据,运行数据包括发电机转速以及低电压穿越过程标志位;S2、判断低电压穿越过程标志位是否为真;若为真,则将机组控制系统由常规发电控制模式切换至低电压穿越控制模式;否则维持机组于常规发电控制模式;在低电压穿越控制模式下,并行执行传动链加阻自适应控制、变桨响应自适应控制和提前变桨自适应控制;S3、根据最终的加阻转矩、叠加后的变桨速率及自适应提前变桨值,执行对机组的综合控制。本发明能够在确保叶片净空、载荷安全的前提下降低低电压穿越过程中机组功率波动,提升机组运行稳定性和安全性。

风电机组停机保护方法及系统

NºPublicación:  CN121007086A 25/11/2025
Solicitante: 
华能青龙风力发电有限公司
CN_121007086_PA

Resumen de: CN121007086A

本发明提供了风电机组停机保护方法、系统及电子设备。采集风电机组的多维工况数据并对多维工况数据进行处理,构建针对风电机组的多维状态向量;基于多维状态向量利用时间序列预测模型,分析生成预测状态轨迹;根据风电机组中关键部件的实时健康指数和风电机组所处位置的未来环境预测信息,计算并生成与风电机组当前状态匹配的动态安全边界;基于预测状态轨迹和动态安全边界,计算并生成风电机组的综合安全裕度指标,并基于综合安全裕度指标,触发风电机组执行不同级别的停机保护响应机制。本发明能实现预测未来风险并动态调整安全边界,有效预防由部件健康恶化和恶劣环境等多因素耦合引发的连锁故障,提升风电机组的生存能力和运行安全性。

一种风机叶片引下线故障定位方法、装置及电子设备

NºPublicación:  CN121008117A 25/11/2025
Solicitante: 
中能智能(北京)能源科技有限公司大生科技(北京)有限公司
CN_121008117_PA

Resumen de: CN121008117A

本申请的实施例提供了风机叶片引下线故障定位方法、装置及电子设备。应用于信号处理技术领域,所述方法包括:将时域信号转成时频分布矩阵,把单一时间维度的幅值信息拓展为时间‑频率二维的能量分布,能更清晰区分入射波、反射波的频率特征,比纯时域分析更精准捕捉故障信号特征,并且,通过时频滑动窗口遍历,逐个检查时频区块;再通过基准模板相似度计算,精准识别有效反射信号区块,从而在时间‑频率二维空间里剥离干扰,精准定位故障点,减少误判,大幅提升故障特征识别的准确性。

METHOD FOR FORMING AN INTEGRATED WIND POWER TOWER STRUCTURE AND INTEGRATED WIND POWER TOWER STRUCTURE

NºPublicación:  SE2450673A1 25/11/2025
Solicitante: 
MODVION AB [SE]
Modvion AB

一种基于激光雷达的风机控制方法及系统

NºPublicación:  CN121007093A 25/11/2025
Solicitante: 
河北华电冀北新能源有限公司
CN_121007093_PA

Resumen de: CN121007093A

本发明涉及风机控制技术领域,公开了一种基于激光雷达的风机控制方法及系统,该方法包括:通过激光雷达对风机前方风场进行分层扫描,获取多维风况数据,对采集数据预处理并提取风况特征参数,将特征参数与历史数据库比对生成偏航修正路径,基于未来风况预测生成预控制指令,通过风况风险判定触发安全指令以覆盖预指令,执行完成后更新数据库形成闭环优化。本发明通过激光雷达实现了前瞻性精准对风与智能安全防护的融合,提升了偏航精度与发电效率,同时增强了机组在复杂风况下的运行可靠性。

用于制造适于作为风力涡轮机叶片的一部分的碳梁的方法、用于风力涡轮机叶片的碳梁、风力涡轮机叶片及风力涡轮机

NºPublicación:  CN121013788A 25/11/2025
Solicitante: 
西门子歌美飒可再生能源公司
CN_121013788_PA

Resumen de: TW202503167A

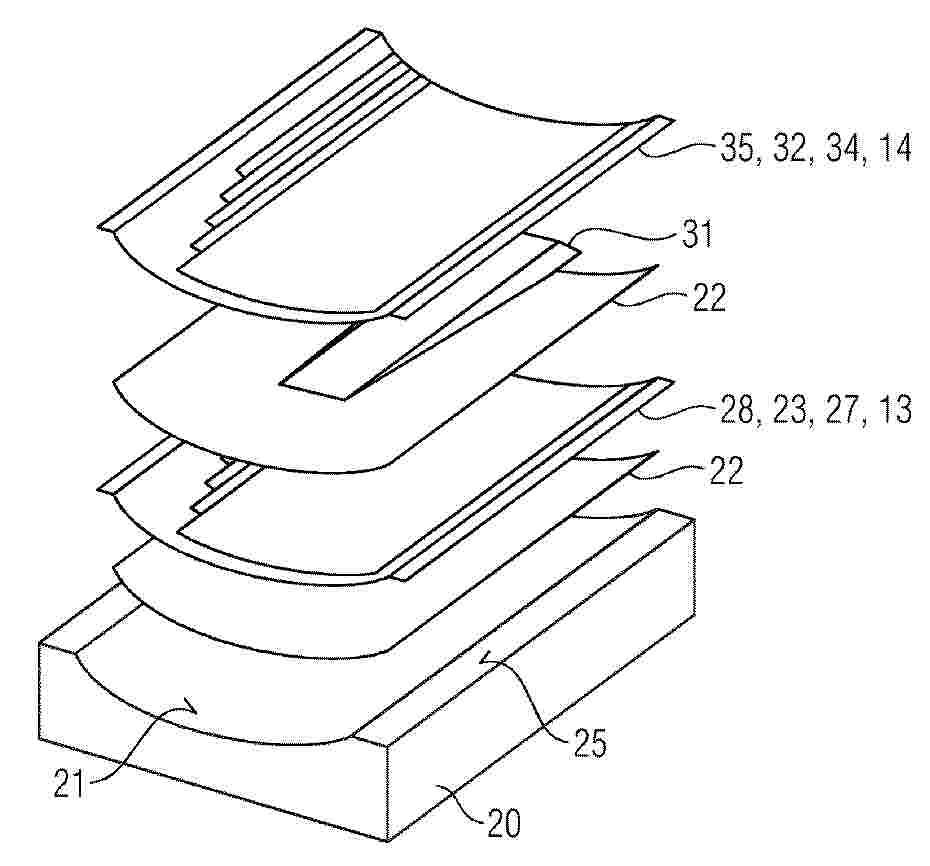
Method for manufacturing a carbon beam (9) adapted to be a part of a wind turbine blade (2) to increase or to cause the mechanical strength of the wind turbine blade (2), wherein the final carbon beam (9) comprises at least one core component (10) being made of or comprising at least one carbon plank (17) and/or a core arrangement (15) of core mats comprising carbon fibers, wherein at least a part of the core component (10) is arranged between skin components (11, 12) being made of or comprising a skin stack (13, 14) of skin mats (16) each, wherein the at least one core component (10) and the skin components (11, 12) are provided and then joined together to build the final carbon beam (9), wherein a prefabricated core component (10) is used, and wherein either also prefabricated skin components (11, 12) are used or wherein the skin components (11, 12) are produced by arranging the skin stack (13, 14) in a predetermined shape and fixing the skin mats (16) with an adhesive.

一种基于无线WiFi技术的风机电气数据优化处理系统

Nº publicación: CN121007092A 25/11/2025

Solicitante:

国能藤县能源发展有限公司

CN_121007092_PA

Resumen de: CN121007092A

本发明公开了一种基于无线WiFi技术的风机电气数据优化处理系统,涉及优化处理技术领域,包括:预测坏角度清单生成模块,用于根据偏航环几何参数、无线工作波长与接入点安装方位基准角,计算路径差,基于路径差生成预测坏角度清单;实测坏角度清单生成模块,用于基于预测坏角度清单对偏航角与链路质量按等角分箱,以获得实测坏角度清单;频段优先表生成模块,用于基于实测坏角度清单生成发送窗口表与频段优先表;实测坏角度清单生成模块,用于在非坏角度区间对电气量进行统计汇总,得到可信电气指标统计结果,并生成有效告警清单。本发明能够实现对链路调控、电气异常识别及告警响应的闭环优化。

traducir