Ministerio de Industria, Turismo y Comercio LogoMinisterior
 

Alerta

Resultados 462 resultados
LastUpdate Última actualización 08/12/2025 [07:02:00]
pdfxls
Solicitudes publicadas en los últimos 15 días / Applications published in the last 15 days
previousPage Resultados 375 a 400 de 462 nextPage  

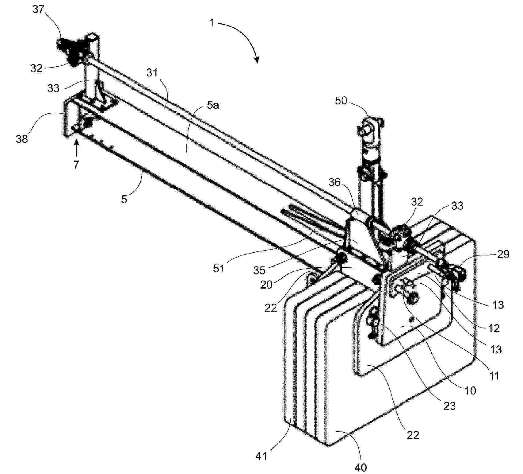
METHOD AND BLADE INSTALLATION DEVICE FOR INSTALLING A BLADE OF AN OFFSHORE WIND TURBINE

NºPublicación:  US2025361854A1 27/11/2025
Solicitante: 
ITREC B V [NL]
Itrec B.V
US_2025361854_PA

Resumen de: US2025361854A1

For installing a blade on a horizontal axis rotational hub of an offshore wind turbine, use is made of a blade installation device that is temporarily installed on the offshore wind turbine. A mounting part is mounted on the foundation of the offshore wind turbine and/or on a lower portion of the wind turbine mast. A crane mast is erected vertically and is supported by the mounting part. The crane mast has a track. A blade manipulator assembly includes a trolley moving over the track and one or more blade root engagement members that engage a root end of the blade. The blade installation device includes a hoist system with a crane boom that is mounted to a top end of the crane mast, a winch, and a winch driven cable. In the method, the trolley is brought in a lower position thereof and the blade root engagement members engage on the root end of the blade that is in the lower receiving position thereof. The cable of the hoist system is attached to the blade at a distance remote from the root end, preferably at a center of gravity of the blade. The method includes the lifting of the blade to the blade installation position by operating the winch of the hoist system and simultaneously moving the trolley along the track by the trolley drive.

ULTRACAPACITOR PITCH ENERGY MODULE

NºPublicación:  US2025361852A1 27/11/2025
Solicitante: 
RICHARDSON ELECTRONICS LTD [US]
Richardson Electronics, Ltd
US_2025361852_PA

Resumen de: US2025361852A1

A pitch energy module comprising one or more ultracapacitors storing electrical energy for a wind turbine emergency pitch energy event. The pitch energy module replaces at least one battery within a battery housing of a wind turbine and interfaces with the existing battery wiring harness to communicate with a control system of the wind turbine. The pitch energy module is installed without further modification to the battery housing or the battery wiring harness.

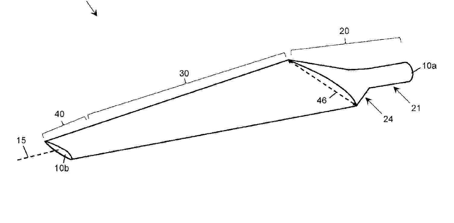
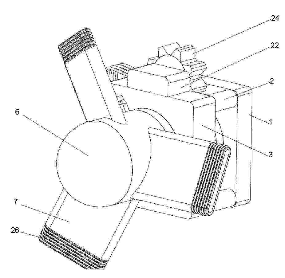
SELF-RELEASING LIFTING YOKE FOR WIND TURBINE BLADE INSTALLATIONS AND ASSOCIATED METHOD

NºPublicación:  US2025361853A1 27/11/2025
Solicitante: 
VESTAS WIND SYSTEMS AS [DK]
Vestas Wind Systems A/S
US_2025361853_PA

Resumen de: US2025361853A1

A lifting yoke (30) supports and moves a wind turbine blade (20) during installation or service at a wind turbine (10). The lifting yoke (30) includes an elongate support beam (42) configured to be lifted and moved by a crane (32), a support element (96) connected to a first end (48) of the support beam (42), and a cradle support (58) connected to a second end (50) of the support beam (42). The support element (96) wraps around the blade (20) proximate a root end (22), while the cradle support (58) lifts and supports the blade (20) at a location between a center of gravity and a tip end (24) of the blade (20). The cradle support (58) includes a support bed (60) with an upper profiled surface (66) that contacts a downward-facing surface (44b) of the blade (20), and also includes a release device (72) and a brake device (76). The release device (72) disconnects one end (62) of the support bed (60) from the support beam (42) to allow the support bed (60) to pivot away from the blade (20), while the brake device (76) controls and slows the pivotal movement of the support bed (60) over a first portion of pivotal movement, thereby avoiding uncontrolled swinging that could impact the blade (20) again. The lifting yoke (30) is simplified in construction by having actively controlled elements only at the release device (72) and brake device (76), while providing improved lifting support for blades (20) that avoids localized points of high stress that can occur when lifting blades (20)

MAIN SHAFT LIFTING TOOL

NºPublicación:  US2025361120A1 27/11/2025
Solicitante: 
LIFTWERX SOLUTIONS INC [CA]
LiftWerx Solutions Inc
US_2025361120_PA

Resumen de: US2025361120A1

A tool for lifting a main shaft of a wind turbine has a rail having a first end and a second end, the rail configured to be fixedly mounted proximate the first end of the rail to the main shaft proximate a rotor hub mounting end of the main shaft. A counterweight is movably mounted on the rail to permit moving the counterweight longitudinally along the rail. A lug is fixedly mounted on the rail proximate the first end of the rail, the lug configured to be securable to a lifting device so that the rail can be suspended from the lifting device. Use of a counterweighted lifting tool such as the one described above permits mounting and dismounting the main shaft underneath a nacelle-mounted lift system.

A METHOD FOR CONTROLLING TRANSFER OF A SUSPENDED LOAD BETWEEN AN OFFSHORE WIND TURBINE AND A FLOATING VESSEL

NºPublicación:  US2025360989A1 27/11/2025
Solicitante: 
VESTAS WIND SYSTEMS AS [DK]
Vestas Wind Systems A/S
US_2025360989_PA

Resumen de: US2025360989A1

A method and a system (1) for controlling transfer of a suspended load (2) between an offshore wind turbine (3) and a floating vessel (4) are disclosed. Movements, relative to the floating vessel (4), of a load (2) suspended in a hoisting mechanism (6, 15) and/or of a hooking part (9) of the hoisting mechanism (6, 15), are detected. A position and/or inclination of a landing platform (8) arranged on the floating vessel (4) is adjusted, based on the detected movements, in order to compensate for relative movements between the floating vessel (4) and the suspended load (2) and/or the hooking part (9), thereby synchronizing movements of the landing platform (4) to movements of the suspended load (2) and/or the hooking part (9), while moving the suspended load (2) and/or the hooking part (9) towards the adjustable landing platform (8).

WIND TURBINE ROTOR BLADE WITH MULTI-ELEMENT AIRFOIL (MEA)

NºPublicación:  US2025361850A1 27/11/2025
Solicitante: 
GULF WIND TECH [US]
Gulf Wind Technology
US_2025361850_PA

Resumen de: US2025361850A1

A method of manufacturing a wind turbine rotor blade. The method includes providing a blade body having a shape that generates a lift when impacted by an incident airflow, and longitudinally extending the blade body from a root region to a tip region, through a transition region extending between and joining the root and the tip region. The root region may begin from a proximal end of the blade body, extending up to a predetermined first length of the blade body. The tip region may begin from a distal end of the blade body, extending up to a predetermined second length of the blade body. The blade body may include a predetermined structure that is fail-safe under a predetermined operating condition. The method may include providing flow enhancing components configured to enhance aerodynamic flow characteristics of the blade body, and physically coupling the flow enhancing components with the blade body.

PYRAMID WIND TURBINE

NºPublicación:  US2025361851A1 27/11/2025
Solicitante: 
KOSE CEVDET [TR]
GUMUSKAYA HAYRETTIN [TR]
KOSE Cevdet,
GUMUSKAYA Hayrettin
US_2025361851_PA

Resumen de: US2025361851A1

A pyramid wind turbine is provided, which is composed of turbines of different sizes and dimensions shaped as a circle, which overlap in a vertical structure and expand as they go down and rotate either dependently or independently from each other on the horizontal axis to the ground. Turbine is generating device that allows generate of high amounts of energy using limited area, adapts to the environment with its visual design. The turbine is a masterpiece of industrial design. The device has a stabilising and bearing platform, wind turbines expanding from top to bottom as a pyramid on this platform, the upper and lower apparatus of the turbine that co-ordinates these turbines with each other, fixes and carries the blades and transfers the power generated to the alternator.

PENDULUM COUNTERWEIGHT SEMI-SUBMERSIBLE FLOATER FOR OFFSHORE WIND TURBINE AND METHOD OF INSTALLING SAME

NºPublicación:  AU2024283396A1 27/11/2025
Solicitante: 
SAIPEM S A
SAIPEM S.A
AU_2024283396_PA

Resumen de: AU2024283396A1

The invention relates to a system (2) forming an anchor point for floaters of offshore wind turbines, comprising at least one containment enclosure (6) having an open bottom (8) and an open top (10), the containment enclosure being at least partially filled with a solid granular material (12) capable of withstanding shear with the seabed (4) on which the containment enclosure is intended to rest, the containment enclosure further comprising at least one attachment (14) for securing a mooring line (16) of the floater.

SYSTEM FOR THE FLOTATION AND MOORING OR ANCHORING OF WIND TURBINES AT SEA

NºPublicación:  AU2024251870A1 27/11/2025
Solicitante: 
MUNOZ SAIZ MANUEL
MU\u00D1OZ SAIZ, Manuel
AU_2024251870_PA

Resumen de: AU2024251870A1

The invention relates to a system for mooring or anchoring wind turbines at sea, which consists of radial-blade, horizontal-axis wind turbines disposed on a vertical or horizontal pontoon or float submerged below the orbital depth, or close thereto, and which are moored by cables or chains to concrete blocks, or anchored by anchoring elements or bolts to the sea bed or lake bed. The wind turbines are constantly and automatically directed, in the manner of a wind vane, by the action of the wind and the water current and are vertically and horizontally stabilised, the wind turbine shafts driving electric generators, air compressors or hydraulic pumps. The vertical pontoon consists of a tubular element having a cylindrical shape or an oval cross-section with an aerodynamic profile. The horizontal pontoon is disc-shaped with an aerodynamic profile. Both types of pontoon are hollow and filled with air or a plastic polymer foam.

SEMI-SUBMERSIBLE FLOAT FOR AN OFFSHORE WIND TURBINE

NºPublicación:  AU2024303383A1 27/11/2025
Solicitante: 
SAIPEM S A
SAIPEM S.A
AU_2024303383_PA

Resumen de: AU2024303383A1

The invention relates to a semi-submersible float (2) for an offshore wind turbine, comprising at least three vertical columns (4, 6), one of which is intended to receive a wind turbine mast, the vertical columns being connected together by pontoons (8) each formed by a plurality of planar panels (81 to 84) which are assembled together at edges (10) extending longitudinally between two columns, the edges of the pontoons being rounded and connected at each of their longitudinal ends to a column via a transition piece (12).

Self Contained Energy and Facilities Centre

NºPublicación:  AU2024202978A1 27/11/2025
Solicitante: 
MOORE CHRIS
Moore, Chris
AU_2024202978_A1

Resumen de: AU2024202978A1

Abstract The invention proposes a self-contained energy and facility, which includes a modified shipping container equipped with renewable energy generation such as wind turbines and solar panels and uninterrupted power supply, and the modified container also equipped with wireless communication system for remote monitoring and communications, and outfitted with a functional electric kitchen, facilitating cooking and food preparation, contains toilet(s) that may utilise macerators and eco-friendly sewerage treatment systems and is attached with a water generator, tapping into atmospheric humidity and a water desalination and/or filtration system to produce clean drinking water.to produce clean drinking water. Page 1 INVENTION TITLE Self Contained Energy and Facilities Centre APPLICANT Christopher John Moore, PO Box 60 Red Hill NAMED INVENTOR Christopher John Moore DATE OF FILING OF APPLICATION 2024/05/06 APPLICATION NUMBER APSZ-2413327009 ay INVENTION TITLE 2024202978 22 2024 May 1.Wind turbine array 2.Solar array 3.Insulation 4.Insulated Curtains 5.Communications 6.Large TV 7.Personal Computer 8.Toilets 9.Macerators 10.Aerobic septic system 11.Electric camp kitchen 12.Refrigeration 13. Energy storage 14.Atmospheric water generator 15.Screw in anchors 11 6 13, 14 4 8,97

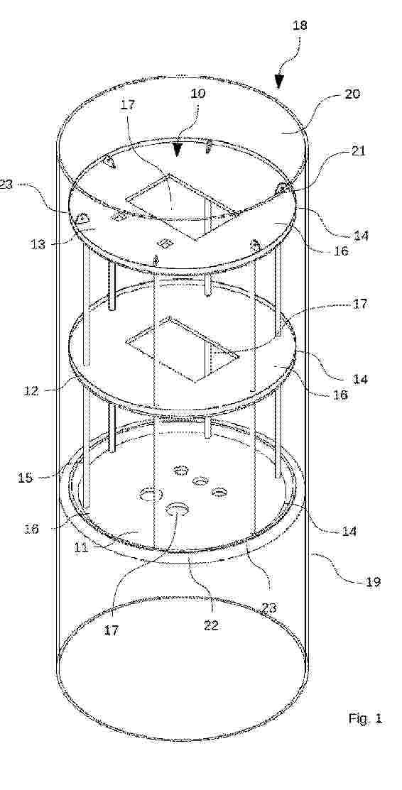
PLATFORM SYSTEM FOR A WIND TURBINE

NºPublicación:  WO2025242331A1 27/11/2025
Solicitante: 
D E S SOLUTIONS GMBH [DE]
D.E.S. SOLUTIONS GMBH
WO_2025242331_PA

Resumen de: WO2025242331A1

The invention relates to a platform system (10) for a wind turbine which is particularly resistant to environmental influences. This is achieved in that the platform system (10) consists of at least two platforms (11-13) which can be fastened, arranged one above the other, in an interior (20) of a portion of the wind turbine. These two platforms (11-13) are connected to each other by means of at least one post (15). The platforms (11-13) are arranged parallel to one another and spaced apart from one another in such a way that they can accommodate components for operating the wind turbine. In addition, the platforms (11-13) can have openings (17) through which, for example, cables, pipes or other lines which are necessary for operating the turbine can be passed. The platforms (11-13) are made of concrete.

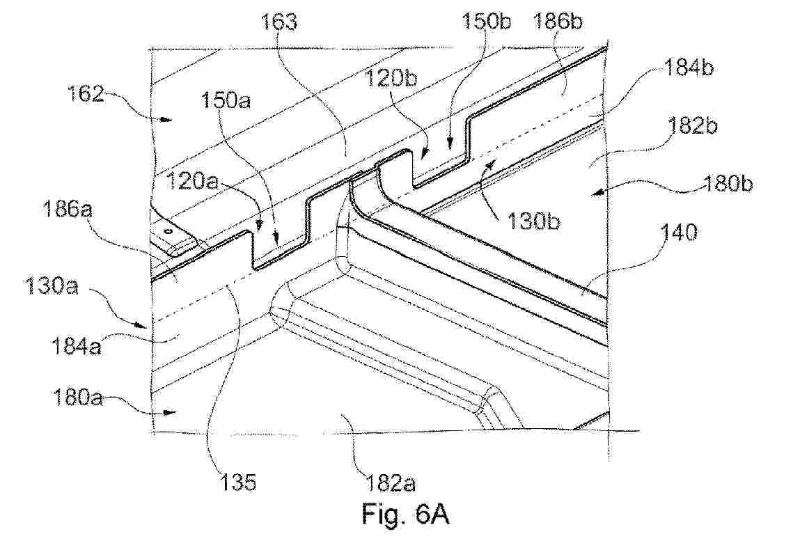
WIND TURBINE NACELLE WITH LIQUID CONTAINMENT AND ASSOCIATED METHOD

NºPublicación:  WO2025242304A1 27/11/2025
Solicitante: 
GENERAL ELECTRIC RENOVABLES ESPANA S L [ES]
GENERAL ELECTRIC RENOVABLES ESPA\u00D1A S.L
WO_2025242304_PA

Resumen de: WO2025242304A1

The present disclosure is related to a nacelle (16) for a wind turbine (10). The nacelle (16) comprises a bottom (160) and a vertical (162) cover. The vertical cover (162) comprises an inner surface (163). The bottom cover (160) at least partially defines a bottom receptacle (180) suitable for retaining liquid, which comprises a bottom surface (182) and a rim (184) arranged along the perimeter. The inner surface (163) of the vertical cover (162) is connected to the bottom receptacle (180) and a first volume (120a) is at least partially defined by the inner surface (163) of the vertical cover (162). Furthermore, the nacelle (16) comprises a channel (150) configured to provide flow communication between the first bottom receptacle (180) and the first volume (120). Related methods are also disclosed.

CENTRAL DE GENERACION EN ALTURA DE ENERGIA ELECTRICA RENOVABLE

NºPublicación:  ES3045157A1 27/11/2025
Solicitante: 
DOMINGO DE ARRIBAS JOSE LUIS [ES]
DOMINGO MORENO JOSE LUIS [ES]
DOMINGO MORENO SERGIO [ES]
DOMINGO DE ARRIBAS, Jos\u00E9 Luis,
DOMINGO MORENO, Jos\u00E9 Luis,
DOMINGO MORENO, Sergio

STRUCTURES AND CONSTRUCTION METHODS FOR REPURPOSING DECOMMISSIONED WIND TURBINE BLADES

NºPublicación:  WO2025245300A1 27/11/2025
Solicitante: 
UNIV OF HOUSTON SYSTEM [US]
UNIVERSITY OF HOUSTON SYSTEM
WO_2025245300_PA

Resumen de: WO2025245300A1

A composite conduit structure for subterranean installation includes a first tubular segment including a cylindrical tubular of a first root section of a first decommissioned wind turbine blade. The first tubular segment has a central axis, a first end, and a second end opposite the first end. In addition, the composite conduit structure includes a second tubular segment including a cylindrical tubular of a second root section of a second decommissioned wind turbine blade. The second tubular segment has a central axis, a first end, and a second end opposite the first end of the second tubular segment. The first tubular segment is coaxially aligned with the second tubular segment. The second end of the first tubular segment is fixably coupled to the first end of the second tubular segment at a fluid tight joint.

WIND TURBINE CELLULAR TOWER

NºPublicación:  WO2025245243A1 27/11/2025
Solicitante: 
MALACHITE COMMUNICATION SYSTEMS INCORPORATED [US]
MALACHITE COMMUNICATION SYSTEMS INCORPORATED
WO_2025245243_PA

Resumen de: WO2025245243A1

An omni-directional radio frequency (RF) antenna suitable for receiving and transmitting mobile-phone communication data is found integrated in each turbine blade of a wind turbine. Each RF antenna has a wired connection that passes from the cellular antenna through the turbine blade to the turbine blade's connection with the wind turbine's nacelle and electrically connected to an antenna radio. In some embodiments, the antenna radio is connected to a microwave antenna that communicates (to both receive (Rx) and transmit (Tx) data) with a cellular network node. The microwave antenna is located on the wind turbine's tower below the lowest extent of a turbine blade so that the turbine blades do not interfere with the microwave communication between the microwave antenna and the cellular base station as they rotate.

SYSTEM, METHOD, AND PROGRAM FOR PREDICTING TIMING AT WHICH WIND TURBINE BLADE SHOULD BE REPAIRED

NºPublicación:  WO2025243969A1 27/11/2025
Solicitante: 
LEBO ROBOTICS INC [JP]
\uFF2C\uFF25\uFF22\uFF2F\u3000\uFF32\uFF2F\uFF22\uFF2F\uFF34\uFF29\uFF23\uFF33\u682A\u5F0F\u4F1A\u793E
WO_2025243969_PA

Resumen de: WO2025243969A1

The present invention provides a system for predicting the timing at which a wind turbine blade should be repaired. The system comprises: a reception means for receiving data representing the surface shape of a wind turbine blade; and a prediction means for predicting the timing on the basis of the data. The prediction means is configured to select a prediction model on the basis of the state of a damaged portion of a surface of the blade indicated in the data and predict the timing on the basis of the data using the selected prediction model.

A SYSTEM AND METHOD FOR DETECTING ANOMALY IN WIND SPEED MEASUREMENT

NºPublicación:  WO2025243313A1 27/11/2025
Solicitante: 
ADANI GREEN ENERGY LTD AGEL [IN]
ADANI GREEN ENERGY LIMITED (AGEL)
WO_2025243313_PA

Resumen de: WO2025243313A1

The present invention relates to a system and method for detecting anomaly in the wind speed measurement that comprises of a data collection module (8) to collect SCADA data from wind turbines, a data filtering module (9) to filter out data points where the turbine is underperforming, a wind speed correction module (11) to correct the wind speed for data points, and an alert generation module (10) to initiate alerts Thereby resulting in improved accuracy of wind speed measurement data, reduced number of false alarms and alerts by means of more accurate wind speed records of the turbine, accurate power generation forecasts, and better wind turbine performance benchmarking.

TEST BENCH AND TEST SYSTEM FOR TESTING WIND TURBINE BLADE AND PITCH SYSTEM

NºPublicación:  WO2025241286A1 27/11/2025
Solicitante: 
XIAN THERMAL POWER RES INSTITUTE CO LTD [CN]
\u897F\u5B89\u70ED\u5DE5\u7814\u7A76\u9662\u6709\u9650\u516C\u53F8
WO_2025241286_PA

Resumen de: WO2025241286A1

A test bench for testing a wind turbine blade and a pitch system, comprising a foundational platform (1), a transition flange (2), a pitch bearing (3), a pitch motor, and a full-scale test blade (4). The transition flange has one end fixedly connected to the foundational platform and the other end fixedly connected to an outer ring of the pitch bearing by means of a bolt; the pitch bearing is in driving connection with the pitch motor; and an inner ring of the pitch bearing is fixedly connected to the full-scale test blade by means of a bolt. Also provided is a system for testing a wind turbine blade and a pitch system. The test bench expands the testing function of a conventional blade test platform, reduces the number of times a blade is detached for testing in different directions, and lowers the time and manpower input.

Bremsvorrichtung für eine Windkraftanlage

NºPublicación:  DE102024114543A1 27/11/2025
Solicitante: 
RSP SERVICES GMBH & CO KG [DE]
RSP services GmbH & Co. KG

Resumen de: DE102024114543A1

Die Erfindung betrifft eine Bremsvorrichtung (2) für eine Windkraftanlage (4). Die Bremsvorrichtung weist eine Bremskrafterzeugungseinrichtung (6) zur Erzeugung einer in eine Ausgangsrichtung (AR), die parallel zu einer Bremsvorrichtungsmittelachse (MA) ausgerichtet ist, wirkenden Ausgangskraft, eine ein Bremsbelagelement (8), das eine von der Bremskrafterzeugungseinrichtung (6) abgewandte Bremsreibfläche (10) zur Erzeugung einer Reibkraft aufweist, umfassende Bremskontakteinheit (12) und eine zwischen der Bremskrafterzeugungseinrichtung (6) und der Bremskontakteinheit (12) angeordnete Schwenkeinrichtung auf. Die Schwenkeinrichtung ist zu einem Verschwenken der Bremskontakteinheit (12) relativ zur Bremskrafterzeugungseinrichtung (6) um eine zur Bremsvorrichtungsmittelachse (MA) angewinkelte Schwenkachse (SA) ausgebildet. Erfindungsgemäß weist die Schwenkeinrichtung zumindest ein zur Erzeugung des Verschwenkens formveränderliches Ausgleichselement (14) auf.

GUIDING SYSTEMS FOR WIND TURBINE BLADE COMPONENTS

NºPublicación:  EP4652368A1 26/11/2025
Solicitante: 
LM WIND POWER AS [DK]
LM WIND POWER BLADES QINHUANGDAO CO LTD [CN]
LM Wind Power A/S,
LM Wind Power Blades (Qinhuangdao) Co., Ltd
CN_120769951_PA

Resumen de: WO2024152147A1

In a first aspect, a guiding system for a wind turbine blade component is provided. The guiding system comprises a guide member configured to guide the wind turbine blade component relative to an inner surface of the blade shell. The guide member is removably attached to a base which is configured to be connected to the inner surface of the blade shell. In a further aspect, a method for mounting a wind turbine blade component within a wind turbine blade is provided. In a further aspect, a wind turbine blade is provided as well.

ジャケット構造体

NºPublicación:  JP2025172888A 26/11/2025
Solicitante: 
日鉄エンジニアリング株式会社
JP_2025172888_PA

Resumen de: JP2023097363A

To secure sufficient strength against falling moment, torsional moment, axial force, etc., applied to a jacket structure and a foundation pillar which support an ocean windmill.SOLUTION: A joint member 40 comprises a plurality of sleeves 41 provided for one of a plurality of legs 20. A pillar corresponding to the one leg out of the plurality of pillars is inserted into each of the plurality of sleeves 41, and the one leg and the plurality of sleeves 41 are connected by a connection member 42. The connection member 42 includes a plate member, which connects the one leg and the plurality of sleeves 41 to each other so that one or each of the plurality of sleeves 41 corresponds to a vertex of a polygon when viewed in a perpendicular direction, wherein the plate member includes an upper plate member 42a provided above each of the plurality of sleeves 41 and a lower plate member 42b provided below each of the plurality of sleeves 41, and further comprises a web 42c connecting the one leg and the plurality of sleeves 41.SELECTED DRAWING: Figure 1

COOLING TECHNIQUE TO REDUCE GENERATOR HOT SPOT IN DIRECT DRIVE PERMANENT MAGNET WIND TURBINES

NºPublicación:  EP4652663A1 26/11/2025
Solicitante: 
SIEMENS GAMESA RENEWABLE ENERGY AS [DK]
Siemens Gamesa Renewable Energy A/S
WO_2025162793_PA

Resumen de: WO2025162793A1

The present invention describes a generator (100) for a wind turbine, comprising a rotor device (101) rotatable around a rotary axis (107), a stator device (102) comprising a winding arrangement (103), wherein between an axial end of the stator device (102) and the rotor device (101) a cooling volume is formed, and an air guiding arrangement (120) arranged within the cooling volume for separating the cooling volume into a radial inner section (112) and a radial outer section (113). The air guiding arrangement (120) forms an air inlet opening (104), such that cooling air (111) is flowable from the radial inner section (112) against the air guiding arrangement (120) and through the air inlet opening (104) into the radial outer section (113), wherein the winding arrangement (103) extends from the axial end of the stator into the radial outer section (113).

WIND POWER GENERATING APPARATUS

NºPublicación:  EP4652370A1 26/11/2025
Solicitante: 
CHANG BRIAN [SG]
Chang, Brian
US_2025327440_PA

Resumen de: US2025327440A1

A wind power generating apparatus (1) comprising: a rotatable track (3) rotatably mounted in an at least substantially horizontal plane; at least one power generator (7) associated with the rotatable track such that power from the power generator(s) is generated by rotation of the rotatable track; a plurality of elongate aerofoil modules (9) rotatably supported on the rotatable track, each of the aerofoil modules extending at least substantially laterally from the rotatable track, the rotation of each of the aerofoil modules about an elongate axis of the aerofoil module being independently controllable to thereby maximise. a motive force applied to the aerofoil modules.

VEHICULAR WIND TURBINE SYSTEM FOR POWER GENERATION AND DRAG REDUCTION

Nº publicación: EP4653314A1 26/11/2025

Solicitante:

PURUS POWER CORP [CA]
Purus Power Corporation

EP_4653314_A1

Resumen de: EP4653314A1

A vehicle including a vehicle body having a front portion defining a first forward projection area, and a wind turbine system. The wind turbine system includes an airflow capture inlet, a flow consolidating conduit, an air driven rotor assembly, and an electric generator. The airflow capture inlet has an inlet upstream end, an inlet downstream end, an air entry window, and a flow directing floor. The air entry window and the flow directing floor each extends from the inlet upstream end to the inlet downstream end. The air entry window defines a second forward projection area that is at least 10% of the first forward projection area. The flow directing floor is sloped upwardly. The flow consolidating conduit is close sided. The air driven rotor assembly is downstream of a consolidating conduit downstream end. The air driven rotor assembly includes an air driven rotor connected to the electric generator.

traducir