Ministerio de Industria, Turismo y Comercio LogoMinisterior
 

Alerta

Resultados 39 resultados
LastUpdate Última actualización 29/01/2026 [08:29:00]
pdfxls
Solicitudes publicadas en los últimos 180 días / Applications published in the last 180 days
Resultados 1 a 25 de 39 nextPage  

ELECTRIC HOVERBOARD

NºPublicación:  AU2023454026A1 22/01/2026
Solicitante: 
SHENZHEN CHITADO TECHNOLOGY CO LTD
SHENZHEN CHITADO TECHNOLOGY CO., LTD
AU_2023454026_PA

Resumen de: AU2023454026A1

The embodiments of the present application relate to an electric hoverboard. The electric hoverboard may comprise a first foot platform, a second foot platform, a first wheel, a second wheel, a first tubular supporting shaft, a second tubular supporting shaft and a number of constraint mechanisms. The first tubular supporting shaft and the second tubular supporting shaft are respectively fixed in the first foot platform and the second foot platform, and the first tubular supporting shaft is rotationally connected to the second tubular supporting shaft. These constraint mechanisms may comprise an axial constraint mechanism, wherein the axial constraint mechanism may comprise a first axial constraint member arranged on the first tubular supporting shaft and a second axial constraint member arranged on the second tubular supporting shaft. These constraint mechanisms may also comprise a rotation constraint mechanism, wherein the rotation constraint mechanism may comprise a first rotation constraint member arranged on the first foot platform and a second rotation constraint member arranged on the second foot platform. In this way, the above configuration of the electric hoverboard can at least thoroughly restrict an excessively large relative rotation angle between the two rotatable foot platforms of the electric hoverboard, so as to avoid causing damage to other components of the electric hoverboard.

electric unicycle to prevent accidents while driving

NºPublicación:  KR20250177145A 23/12/2025
Solicitante: 
대진대학교산학협력단
KR_20250177145_PA

Resumen de: KR20250177145A

본 발명은, 하나의 바퀴를 전후로 회전 가능하게 지지하는 몸체; 및 상기 몸체에 배치되어 배터리로부터의 전원 공급에 의해 구동하되, 자이로센서의 신호에 따라 상기 바퀴에 정방향 또는 역방향 회전력을 전달하는 전동 모터;를 포함하고, 상기 몸체 전방에 전후로 회전 가능하게 배치되는 보조바퀴;를 더 포함하며, 주행 과정에서 전원컷이 이루어질 때 상기 보조바퀴가 지면과 접촉함에 따라 상기 몸체의 숙여짐이 억제되어 탑승자의 직립 상태가 유지되는 것을 특징으로 하는 주행 중 사고 방지를 위한 외발 전동휠에 관한 것이다.

Folding device on electric scooter

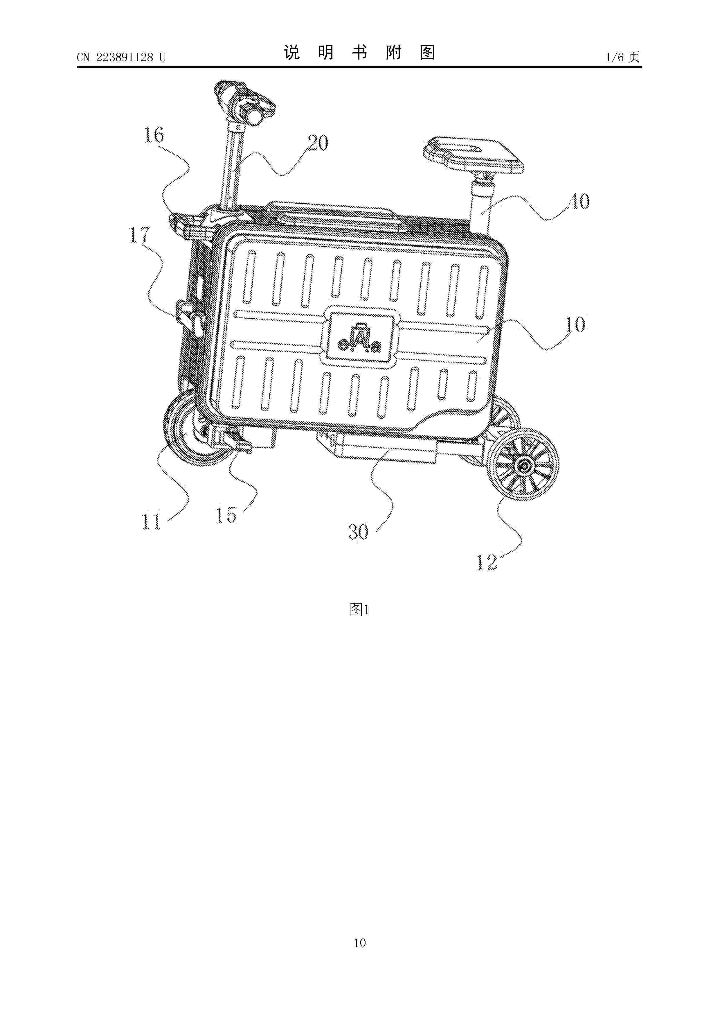
NºPublicación:  CN223590907U 25/11/2025
Solicitante: 
JINHUA YUJU SPORTS EQUIPMENT CO LTD
\u91D1\u534E\u5B87\u9A79\u8FD0\u52A8\u5668\u6750\u6709\u9650\u516C\u53F8
CN_223590907_U

Resumen de: CN223590907U

A folder on an electric scooter belongs to the technical field of machinery. A buckling groove is formed in the top end of the folding reset fixing piece, a through hole is formed in the bottom end of the folding reset fixing piece, a connecting hole is formed in the middle of the folding pressing plate, a lower connecting hole is formed in the lower portion of the folding pressing plate, a through hole is formed in the beef tendon, the beef tendon plug pin is connected with the through hole of the beef tendon, the spring plug pin is connected with the spring, and the two ends of the spring plug pin are connected with the left middle hole and the right middle hole respectively. The two ends of a cowhells bolt are connected with the left upper hole and the right upper hole respectively, the outer circumference of the cowhells is located behind the folding square tube after the cowhells are connected with the cowhells bolt, the two ends of the safety bolt are connected with the left lower hole and the right lower hole respectively after the safety bolt is connected with the through hole, and one end of the safety bolt extends out of the right pattern piece and then is connected with the right pattern piece. And the second safety pin is connected with the connecting hole and the lower right upper hole. The utility model has the advantages of simple and reasonable structure and convenience in operation.

Electric scooter with reinforcing structure

NºPublicación:  CN223574614U 21/11/2025
Solicitante: 
LIGUAN NEW ENERGY TECH DONGGUAN CO LTD
\u529B\u51A0\u65B0\u80FD\u6E90\u79D1\u6280\uFF08\u4E1C\u839E\uFF09\u6709\u9650\u516C\u53F8
CN_223574614_U

Resumen de: CN223574614U

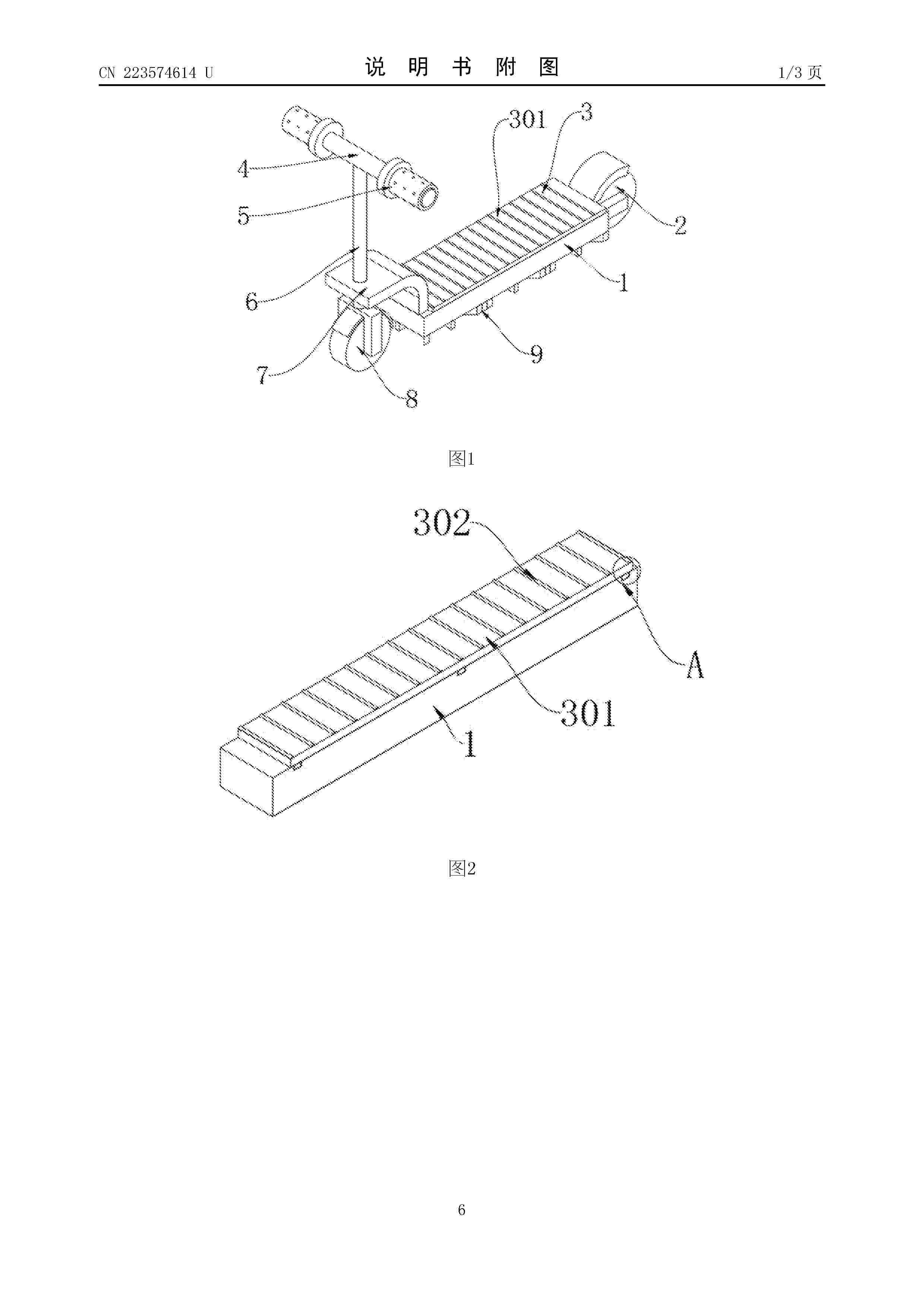
The utility model relates to the technical field of electric scooters, and provides an electric scooter with a reinforcing structure, which comprises a scooter body and a rear wheel, the rear wheel is fixed on one side of the scooter body, a frame is fixed at the top end of one side, far away from the rear wheel, of the scooter body, a reinforcing mechanism is fixed at the bottom end of the scooter body, and a support shaft penetrates through the interior of the frame. A front wheel is fixed to the bottom end of the supporting shaft, a handlebar is fixed to the top end of the supporting shaft, and anti-skid structures are fixed to the two ends of the handlebar. By arranging the protective structure, under the action of the rubber pad, the contact area between the sole and a vehicle body is increased, under the action of the equidistant anti-slip strips, the friction force between the sole and the rubber pad is increased, the slipping phenomenon between the vehicle body and the sole is reduced, and the anti-slip function of the device is achieved; therefore, the applicability of the electric scooter in use is improved.

Electric scooter with seat easy to assemble

NºPublicación:  CN223559778U 18/11/2025
Solicitante: 
SHENZHEN CHENGHENGFENG HARDWARE PLASTIC PRODUCTS CO LTD
\u6DF1\u5733\u5E02\u8BDA\u6052\u4E30\u4E94\u91D1\u5851\u80F6\u5236\u54C1\u6709\u9650\u516C\u53F8
CN_223559778_U

Resumen de: CN223559778U

The utility model relates to the technical field of electric scooter seat assembly, and discloses an electric scooter with a seat easy to assemble, which comprises a pedal part and a seat frame, the seat frame comprises a main frame part, two tensioning parts and a plurality of fixing rods, the main frame part is used for assembling the seat part, and the two tensioning parts are arranged corresponding to the two ends of the main frame part; the tensioning piece comprises a fastening part and a tensioning plate, the fastening part is used for being assembled with the edge of the pedal piece, the tensioning plate and the main frame piece are correspondingly arranged, the fixing rod penetrates through the tensioning plate and is connected with the main frame piece, and the fixing rod is used for promoting the fastening part and the tensioning plate to be in a fastened state. The two ends of the main frame part and the pedal part are relatively fixed through the tensioning part, the assembly stability of the main frame part is improved, the assembly stability of the seat part is enhanced, the main frame part does not occupy the internal space of the pedal part during assembly, the arrangement of the battery part is prevented from being affected, the pedal part plays a role in supporting, positioning and reinforcing the main frame part, the assembly stability of the main frame part is improved, and the assembly stability of the seat part is improved. And the assembly stability of

Double-vertical-rod folding mechanism and electric scooter

NºPublicación:  CN223546404U 14/11/2025
Solicitante: 
ANHUI LEXINGTIANXIA INTELLIGENT TECH CO LTD
\u5B89\u5FBD\u4E50\u884C\u5929\u4E0B\u667A\u80FD\u79D1\u6280\u6709\u9650\u516C\u53F8
CN_223546404_U

Resumen de: CN223546404U

The utility model belongs to the technical field of scooters, and discloses a double-vertical-rod folding mechanism and an electric scooter, and the double-vertical-rod folding mechanism comprises a first vertical rod, a second vertical rod, a sliding sleeve, a locking mechanism, a first connecting piece and a second connecting piece; the second connecting piece is connected with the first vertical rod, the second vertical rod and the first connecting piece are rotatable, the first vertical rod and the second vertical rod are slidably sleeved with the sliding sleeve and detachably connected with the first connecting piece through the sliding sleeve, and the locking mechanism is arranged on the sliding sleeve to control the sliding sleeve to clamp or loosen the vertical rod. Detachable connection between the sliding sleeve and the first connecting piece and rotary folding and connection locking between the vertical rod and the second connecting piece are achieved through the sliding sleeve, a user can easily fold and lock the vertical rod through the sliding sleeve and the locking mechanism, operation is convenient and fast, the locking mechanism ensures stability of the vertical rod in the folded state, safety is improved, and use is convenient. Meanwhile, after being folded, the folding chair occupies a small space and is convenient to store in families and offices and carry on public transport means.

Folding structure of electric scooter

NºPublicación:  CN223546405U 14/11/2025
Solicitante: 
GUANGZHOU FENGRUI LUGGAGE MFG CO LTD
\u5E7F\u5DDE\u98CE\u9510\u7BB1\u5305\u5236\u9020\u6709\u9650\u516C\u53F8
CN_223546405_U

Resumen de: CN223546405U

The utility model discloses a folding structure of an electric scooter, which comprises a skateboard part and a rear wheel part which is arranged behind the skateboard part and is in concave-convex fit with the skateboard part, the folding structure further comprises a folding part arranged between the rear wheel part and the skateboard part, the folding part comprises a rotating part, the rotating part is arranged between the skateboard part and the rear wheel part, and the rotating part comprises a rotating hole penetrating through the skateboard part and the rear wheel part and a rotating shaft rod inserted into the rotating hole to be fixed; the limiting part is arranged between the sliding plate part and the rear wheel part, and the limiting part comprises a first limiting groove formed in the sliding plate part and a second limiting groove formed in the rear wheel part; the second limiting groove is formed in the rear wheel part; the sliding clamping block is accommodated in the first limiting groove and the second limiting groove; according to the folding structure of the electric scooter, the problems that the folding structure of the electric scooter is unstable, complex to operate, large in occupied size, poor in durability and the like in use are solved, so that the convenience, safety, stability and durability of folding operation are improved, and the user experience is enhanced.

Forehead assembly, vehicle and electric scooter

NºPublicación:  CN223533616U 11/11/2025
Solicitante: 
BEIJING XIAOMI MOBILE SOFTWARE CO LTD
\u5317\u4EAC\u5C0F\u7C73\u79FB\u52A8\u8F6F\u4EF6\u6709\u9650\u516C\u53F8
CN_223533616_U

Resumen de: CN223533616U

The utility model provides a forehead assembly, a vehicle and an electric scooter, the forehead assembly comprises a forehead main body, the forehead main body comprises a first cylinder and a second cylinder which communicate with each other and are coaxially arranged, the first cylinder and the second cylinder are arranged in the first direction and extend in the first direction, and the second cylinder is suitable for being connected with a frame vertical pipe of the vehicle; the handlebar transverse pipe penetrates through the first barrel to be arranged in a manner of being crossed with the forehead main body, the handlebar transverse pipe extends in the second direction, and the second direction is perpendicular to the first direction. Through the arrangement, the transverse distance between the handlebar transverse pipe and the second barrel body is greatly reduced, the transverse distance between the handlebar transverse pipe and the frame vertical pipe is correspondingly reduced, the space occupied by the forehead assembly is effectively reduced, and the structure of the forehead assembly is more compact and simpler; meanwhile, the structure of the forehead body is simpler, the appearance of the forehead assembly can be simpler and more attractive, production and manufacturing are convenient, and the production and manufacturing cost can be reduced.

Folding mechanism and electric scooter

NºPublicación:  CN120886952A 04/11/2025
Solicitante: 
JIANGSU XIAONIU ELECTRIC SCOOTER TECH CO LTD
\u6C5F\u82CF\u5C0F\u725B\u7535\u52A8\u79D1\u6280\u6709\u9650\u516C\u53F8
CN_120886952_PA

Resumen de: CN120886952A

The embodiment of the invention relates to a scooter, and discloses a folding mechanism, which comprises a U-shaped connecting plate, the first end of the supporting frame is arranged in the U-shaped connecting plate and is rotationally connected with the U-shaped connecting plate; the first end of the wrench is rotationally connected with the first end of the supporting frame; wherein a limiting groove is formed in the side wall, deviating from an opening of the U-shaped connecting plate, of the supporting frame, the wrench is inserted into the limiting groove, and a locking part is arranged on the inner side wall of the wrench; under the condition that the locking part and the limiting groove are clamped and fixed, the supporting frame and the U-shaped connecting plate are relatively fixed and are in an open state; under the condition that the locking part is separated from the limiting groove, the supporting frame rotates in the direction away from the opening of the U-shaped connecting plate and abuts against the U-shaped connecting plate, and the supporting frame and the U-shaped connecting plate are in a folded state. Relative movement of components is directly restrained through mechanical limiting, a manual triggering mode is adopted, reliable connection during opening and smooth action during folding are guaranteed, the basic function requirements of the folding mechanism are met, and meanwhile the structure is simple, safe and reliable. The invention further provide

Inclined rod folding mechanism of electric scooter

NºPublicación:  CN120863787A 31/10/2025
Solicitante: 
ZHEJIANG JINGSHEN IND CO LTD
\u6D59\u6C5F\u7CBE\u6DF1\u5B9E\u4E1A\u6709\u9650\u516C\u53F8
CN_120863787_PA

Resumen de: CN120863787A

The invention relates to an inclined rod folding mechanism of an electric scooter. Comprising a pedal frame, an inclined rod and a folding device, the inclined rod comprises an upper inclined rod body and a lower inclined rod body, the upper inclined rod body and the lower inclined rod body are connected through the folding device, and the upper inclined rod body can rotate through a pin shaft; the folding device comprises a handle, a first hinge part, a second hinge part and a tension adjusting part, the first hinge part comprises a push-pull locking block I, a joint middle plug pin and a tension spring, the push-pull locking block I is hinged to the handle and provided with the joint middle plug pin penetrating out of the upper inclined rod to be clamped in the clamping groove, and the second hinge part comprises a push-pull locking block II and a push-pull locking block III; the push-pull locking block II is hinged to the handle and is opposite to the push-pull locking block I, the push-pull locking block III is hinged to the push-pull locking block II, the tension adjusting part comprises an adjusting seat, an adjusting bolt and a fixing seat, the fixing seat is arranged on the upper inclined rod, the adjusting bolt penetrates through the fixing seat and is fixed to the adjusting seat, the adjusting seat is fixed to the push-pull locking block III through a fixing bolt, and the adjusting seat is fixed to the push-pull locking block III through the fixing bolt. And a tensi

Drawing type handle of electric scooter

NºPublicación:  CN223494685U 31/10/2025
Solicitante: 
DONGGUAN DILUN HARDWARE PRODUCT CO LTD
\u4E1C\u839E\u5E02\u8FEA\u4F26\u4E94\u91D1\u5236\u54C1\u6709\u9650\u516C\u53F8
CN_223494685_U

Resumen de: CN223494685U

The utility model relates to the field of electric scooters, and discloses a pull-out handle of an electric scooter, which comprises a scooter body, a fixing frame is arranged on the right side of the scooter body, a hoop is arranged on the outer wall of the top end of the fixing frame, an auxiliary support is slidably connected to the inner wall of the top end of the fixing frame, and handles a are hinged to two sides of the top end of the auxiliary support. And extending mechanisms are arranged on the inner walls of the two sets of handles a and comprise handles b, two sets of connecting rods are hinged to the ends, away from the reset springs, of the shifting blocks, and positioning blocks are hinged to the ends, away from the shifting blocks, of the two sets of connecting rods. According to the utility model, the handle b in the extension mechanism can be pulled in the handle a and is fixed through the insertion of the positioning block and the through hole of the handle a, so that the length of the handle can be accurately adjusted according to the arm unfolding width of different riders, and the riding discomfort caused by the improper length of the handle can be effectively avoided due to the adaptability of the height.

Foldable electric scooter

NºPublicación:  CN223479233U 28/10/2025
Solicitante: 
NIU TECH GROUP LIMITED
\u5317\u4EAC\u725B\u7535\u79D1\u6280\u6709\u9650\u8D23\u4EFB\u516C\u53F8
CN_223479233_U

Resumen de: CN223479233U

The utility model relates to the technical field of scooters, in particular to a foldable electric scooter which comprises a connecting pipe capable of being fixedly installed on a forehead assembly and a handlebar transverse pipe connected with the connecting pipe. The handlebar transverse pipe is rotatably connected with the connecting pipe so as to adjust the included angle between the handlebar transverse pipe and the connecting pipe; a sliding sleeve is further arranged on the handlebar transverse pipe in a sleeving mode and can move to the connecting position of the handlebar transverse pipe and the connecting pipe so as to limit rotation of the handlebar transverse pipe. According to the electric scooter, the handlebar transverse pipe is rotationally connected with the connecting pipe, and the included angle between the handlebar transverse pipe and the connecting pipe can be adjusted, so that the width size of the electric scooter can be reduced, and storage of the electric scooter is facilitated. The sliding sleeve can be moved to the rotating joint of the handlebar transverse pipe and the connecting pipe, so that the sliding sleeve can limit rotation of the handlebar transverse pipe. When the electric scooter is in use, the sliding sleeve is moved, so that the rotating joint of the handlebar transverse pipe and the connecting pipe is not sleeved by the sliding sleeve any more, the handlebar transverse pipe can rotate relative to the connecting pipe, and the effect o

Electric scooter

NºPublicación:  CN223479230U 28/10/2025
Solicitante: 
JIANGSU LITTLE DINOSAUR CHILDREN PRODUCTS GROUP CO LTD
\u6C5F\u82CF\u5C0F\u5C0F\u6050\u9F99\u513F\u7AE5\u7528\u54C1\u96C6\u56E2\u6709\u9650\u516C\u53F8
CN_223479230_U

Resumen de: CN223479230U

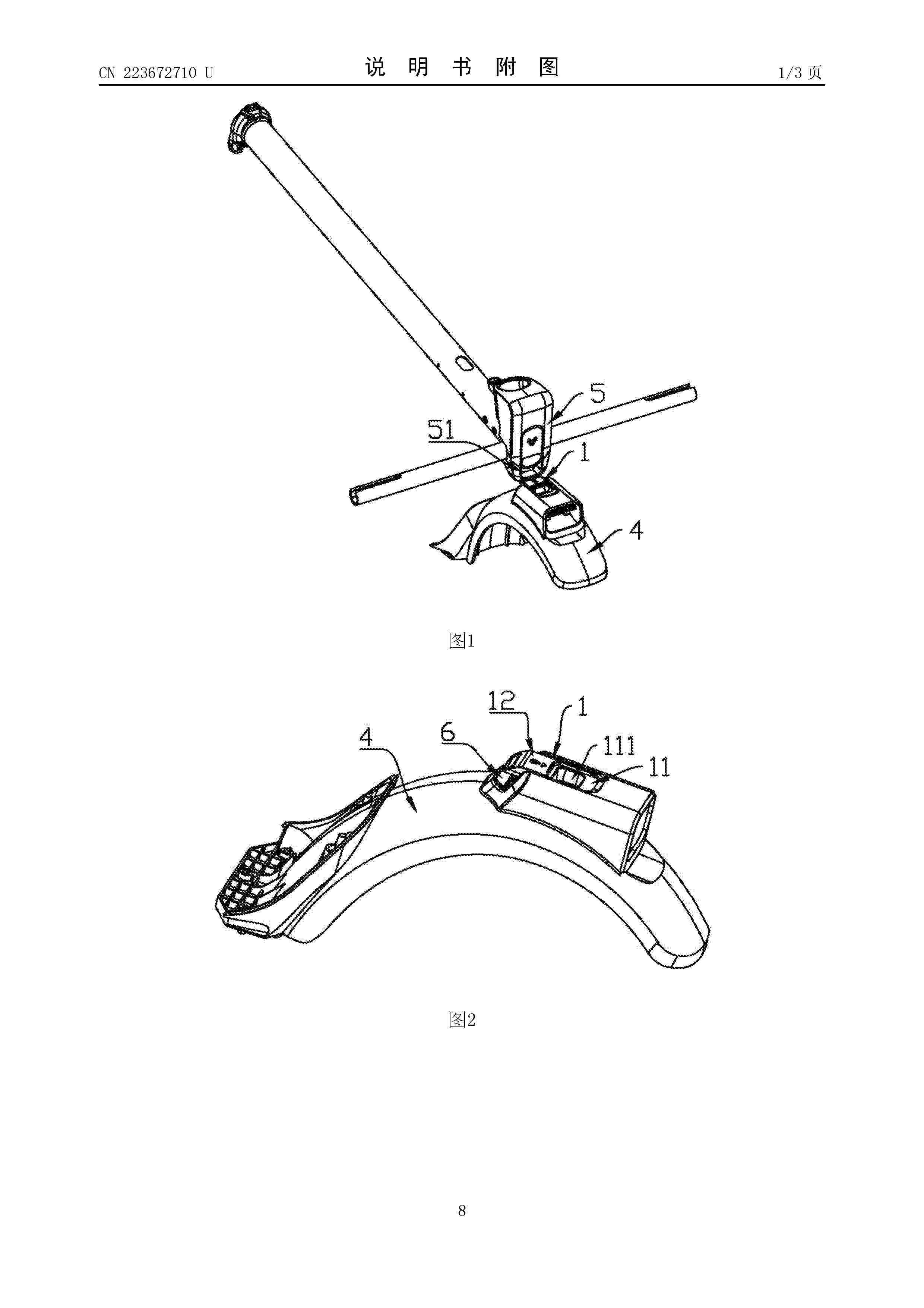
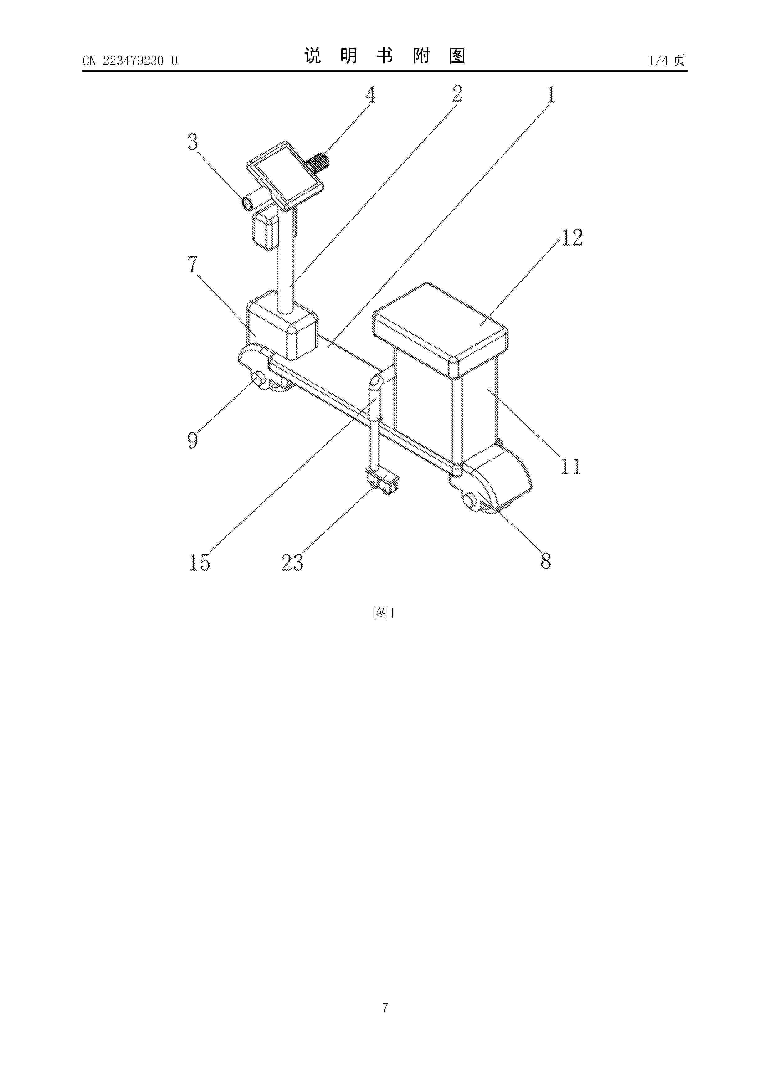
The utility model discloses an electric scooter, which belongs to the technical field of electric scooters and comprises a movable pedal, a battery compartment is fixedly connected to the upper surface of the movable pedal, two hinge blocks are fixedly connected to the back of the battery compartment, and extension frames are movably hinged to one side surfaces, far away from each other, of the two hinge blocks. The front face of each extension frame makes contact with the back face of the battery bin, an extension sliding groove is formed in the upper surface of each extension frame, and a supporting rod is slidably connected into each extension sliding groove. According to the electric scooter, through cooperation of a battery bin, a hinge block, an extension frame, an extension sliding groove, a supporting rod, a threaded cylinder, a positioning screw rod and a positioning hole, the structure can be conveniently stored, the two sides of the electric scooter are supported through the structure, and then the gravity center of the electric scooter is lowered through cooperation of a supporting bottom plate and universal wheels; the moving stability of the electric scooter is improved, and the effect of improving the use safety of the electric scooter is achieved.

Damping device of side type electric scooter

NºPublicación:  CN223457059U 21/10/2025
Solicitante: 
SHENZHEN JILONG TECH CO LTD
\u6DF1\u5733\u5E02\u96C6\u9F99\u79D1\u6280\u6709\u9650\u516C\u53F8
CN_223457059_U

Resumen de: CN223457059U

The utility model relates to the technical field of electric scooter shock absorption, and discloses a side type electric scooter shock absorption device which comprises a pedal piece, a front half frame, a rear half frame, a main beam frame, a front shock absorber and a rear shock absorber, one end of the front half frame is used for assembling a front wheel, and the other end of the front half frame is assembled with the main beam frame. The two ends of the front shock absorber are in butt joint with the main beam frame and the front half frame respectively, and the front shock absorber is located on the side of the front wheel. One end of the rear half frame is used for assembling the rear wheel, the other end of the rear half frame is assembled with the pedal piece, the rear shock absorber is obliquely arranged, the two ends of the rear shock absorber are in butt joint with the pedal piece and the rear half frame respectively, and the rear shock absorber is located on the side portion of the rear wheel. The front shock absorber and the rear shock absorber buffer the impact of the road surface on the front wheel and the rear wheel, the jolting feeling is reduced, and the driving stability and comfort of a user are improved; meanwhile, the front shock absorber and the rear shock absorber are arranged on the side portions respectively, so that the front shock absorber and the rear shock absorber are convenient to assemble, overhaul and replace.

Electric scooter capable of being provided with trunk

NºPublicación:  CN223457043U 21/10/2025
Solicitante: 
IDRIVER PLUS TECH DONGGUAN CO LTD
\u667A\u884C\u8005\u79D1\u6280\uFF08\u4E1C\u839E\uFF09\u6709\u9650\u516C\u53F8
CN_223457043_U

Resumen de: CN223457043U

The utility model relates to the technical field of vehicles, and discloses an electric scooter capable of being provided with a trunk, which comprises an electric scooter body, two sides of the electric scooter body are fixedly connected with mounting shells, the interiors of the mounting shells are connected with adjusting blocks in a sliding manner, and one side of each mounting shell is connected with a threaded pipe in a penetrating manner; a first bolt is in threaded connection with the interior of the threaded pipe, a connecting shell is fixedly connected to one side of the adjusting block, an adjusting column is slidably connected to the interior of the connecting shell, a threaded hole is formed in the upper surface of the connecting shell, a second bolt is in threaded connection with the interior of the threaded hole, and clamping assemblies are arranged on one side of the connecting shell and one side of the adjusting column. According to the utility model, the luggage case placed on the scooter can be conveniently mounted and fixed, and the luggage case does not need to be manually held in the riding process, so that the falling risk caused by distraction in the riding process is reduced, and the position of the clamping component can be conveniently adjusted according to the size of the luggage case.

Steering stability control method and system of electric scooter, electronic equipment and medium

NºPublicación:  CN120793018A 17/10/2025
Solicitante: 
SHENZHEN KIXIN ELECTRONICS CO LTD
\u6DF1\u5733\u5E02\u5F00\u5FC3\u7535\u5B50\u6709\u9650\u516C\u53F8
CN_120793018_PA

Resumen de: CN120793018A

The invention discloses a steering stability control method and system of an electric scooter, electronic equipment and a medium, and relates to the technical field of electric scooter control. The method comprises the following steps: acquiring real-time operation parameters of the electric scooter and a road adhesion coefficient under a current road condition; determining the maximum available adhesive force; a predicted slip angle is calculated based on the steering angle and the vehicle speed, an actual slip angle is determined according to the axial force and the transverse force, and when the deviation angle exceeds a stable threshold value, the electric scooter is controlled to enter a steering stable control mode; calculating a distribution proportion according to the change sequence of the vehicle speed and the steering angle; detecting the center-of-gravity position of the passenger, and correcting the distribution proportion based on the center-of-gravity position of the passenger and the maximum available adhesive force; and respectively adjusting the output torque of the inner side motor and the output torque of the outer side motor according to the corrected target distribution proportion until the deviation angle is smaller than a stable threshold value. By implementing the technical scheme provided by the invention, the steering stability of the electric scooter can be improved.

A METHOD FOR CONTROLLING AN ELECTRIC SCOOTER ACCORDING TO THE SURFACE ON WHICH IT IS DRIVEN

NºPublicación:  EP4631768A1 15/10/2025
Solicitante: 
UNIV OZYEGIN [TR]
Ozyegin Universitesi
EP_4631768_PA

Resumen de: EP4631768A1

The invention relates to a method performed by the processor unit (17) in a system comprising a processor unit (17) that enables the control of the operating state according to the pattern of the surface on which an electric vehicle that being usable by the user for transportation by standing and comprising at most three wheels and at least one electric motor is driven.

Portable folding electric scooter

NºPublicación:  CN223432416U 14/10/2025
Solicitante: 
WUYI AICHI IND AND TRADE CO LTD
\u6B66\u4E49\u7231\u9A70\u5DE5\u8D38\u6709\u9650\u516C\u53F8
CN_223432416_U

Resumen de: CN223432416U

The utility model discloses a portable folding electric scooter, and relates to the field of electric scooters, the rear side surface of a seat connecting seat is provided with a guide folding groove, the inner side of the upper part of a seat frame support main rod is connected with a support movable link rod I through a rivet, one end of the support movable link rod I is arranged in the guide folding groove of the seat connecting seat, and the other end of the support movable link rod I is connected with a support movable link rod II through a rivet. The seat frame supporting main rod, the seat connecting seat and the first supporting movable connecting rod form a triangular supporting structure, the outer side of the lower portion of the seat frame supporting main rod is connected with a second supporting movable connecting rod through a rivet, and one end of the second supporting movable connecting rod is connected with the front frame through a rivet. The folding structure design is adopted between the seat frame and the rear frame, the first supporting movable connecting rod and the second supporting movable connecting rod are arranged on the inner side and the outer side of the seat frame supporting main rod respectively, triangular supporting is formed between the seat frame supporting main rod and the rear frame, folding and unfolding are convenient, the use space is saved, and storage and transportation are convenient.

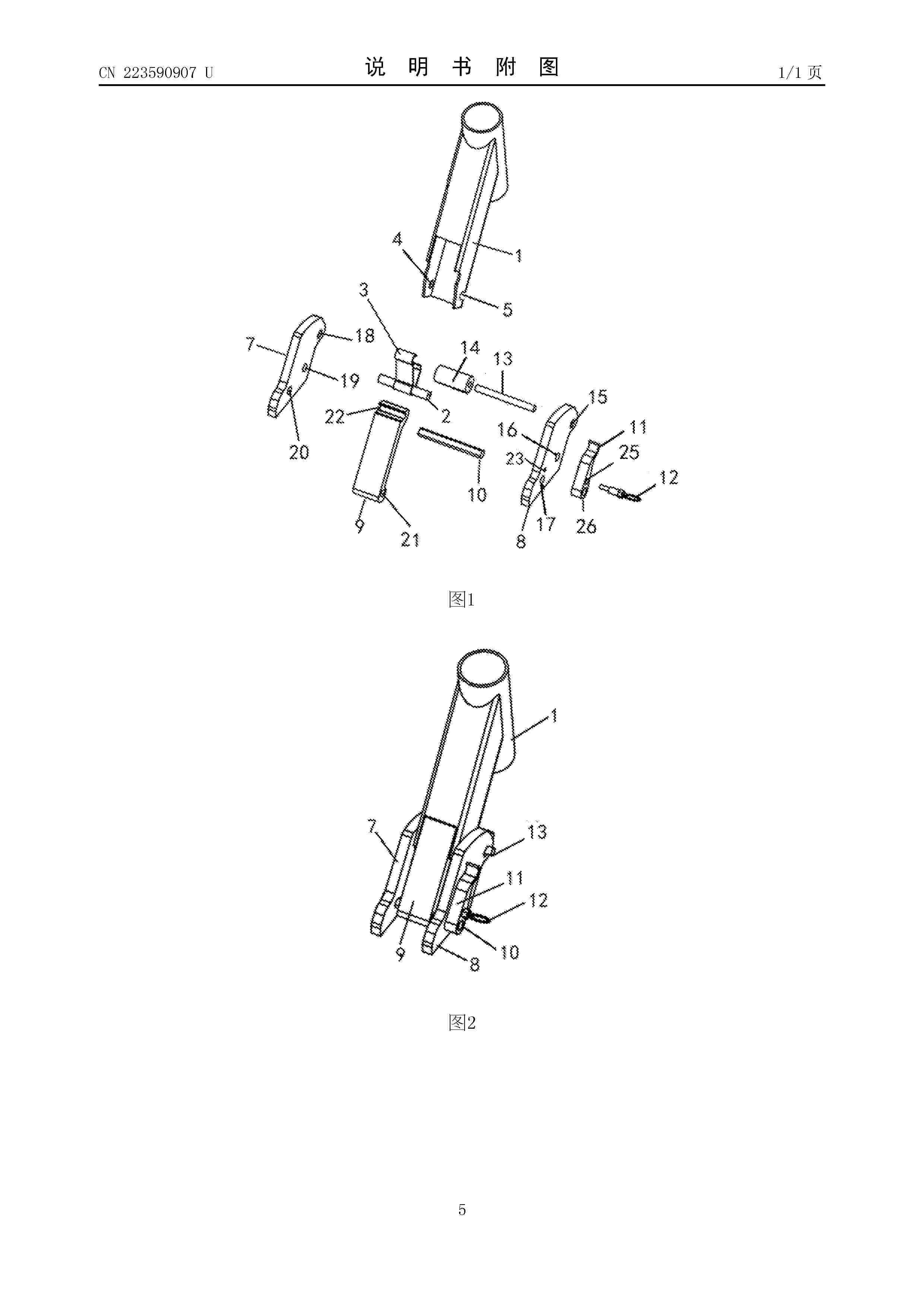
Scooter folder locking structure

NºPublicación:  CN223420877U 10/10/2025
Solicitante: 
CHONGQING YADI TECH CO LTD
\u91CD\u5E86\u96C5\u8FEA\u79D1\u6280\u6709\u9650\u516C\u53F8
CN_223420877_U

Resumen de: CN223420877U

The utility model relates to the technical field of electric scooters, and particularly discloses a scooter folder locking structure which is characterized in that an upper folding seat is rotatably connected to a second mounting lug, a spring bolt is connected to the upper folding seat, a hook is rotatably connected to a first mounting lug, the top of the hook is provided with a protruding part, the spring bolt is provided with a clamping groove, the protruding part is clamped in the clamping groove, and the protruding part is connected to the first mounting lug. The bottom of the hook is concavely provided with an abutting arc surface, the cam is fixedly arranged on the first fixing shaft in a sleeving mode, the first fixing shaft is rotationally connected to the first mounting lug, the cam can apply acting force to the abutting arc surface so that the protruding part can move upwards to be separated from the clamping groove, and the wrench is fixedly connected to the first fixing shaft. The wrench can be wrenched to drive the first fixing shaft to rotate outwards so that the cam can apply acting force to the abutting arc face, the protruding part is jacked upwards to be separated from the clamping groove to achieve unlocking, the wrench continues to be wrenched to rotate outwards to a set angle, the wrench interferes with the abutting arc face, and the hook is separated from the spring bolt to achieve complete opening. And the unlocking and folding convenience of the upper

Rear wheel damping mechanism of electric scooter

NºPublicación:  CN223408064U 03/10/2025
Solicitante: 
JINHUA XINGZHI INTELLIGENT TECH CO LTD
\u91D1\u534E\u884C\u81F3\u667A\u80FD\u79D1\u6280\u6709\u9650\u516C\u53F8
CN_223408064_U

Resumen de: CN223408064U

The utility model relates to the technical field of electric scooters, in particular to a rear wheel damping mechanism of an electric scooter. According to the technical scheme, the device comprises a pedal main frame, rear wheel supports and dampers, the rear wheel supports are fixed to the rear end of the pedal main frame and symmetrically distributed, a connecting protection cover is fixed to the upper end of the rear side of the pedal main frame, a connecting rotating shaft is installed on the inner side of the connecting protection cover, and a rotating shaft installation frame is fixed to the upper ends of the rear wheel supports; an end rotating shaft is fixed to the rotating shaft mounting frame, and the two ends of the damper are rotationally connected to the end rotating shaft and the connecting rotating shaft correspondingly. The rear wheel support, the damper and the rear end of the pedal main frame form a triangular structure, the overall stability is improved, the overall height is reduced under the condition that normal shock absorption damping is not affected, folding of a scooter body of the folding electric scooter is facilitated, the overall height is reduced, and folding storage and storage are facilitated.

CONCEALED HINGE WITH LOCKING MEANS FOR FOLDABLE VEHICLE

NºPublicación:  WO2025195749A1 25/09/2025
Solicitante: 
TRIERI DESIGN D O O [HR]
TRIERI DESIGN D.O.O
EP_4620793_PA

Resumen de: WO2025195749A1

A concealed hinge (100) for a foldable vehicle, where the said hinge (100) comprising two insets (10, 20) with their wedges (11, 12) to be inserted in the vehicle's frame interior. The insets (10, 20) are connected via the set of levers (31, 32) which forms a five-pin hinge mechanism, where two pins are fixed in the said insets (10, 20 ), two pins are sliding pins within the wedges (11, 12), and one pin is a pivot pin which connects the levers in their central portion. The locking mechanism is designed to lock the insets (10, 20 ), via their respectable locking rings (13, 23), in the closed and opened position. In the preferred embodiment, the concealed hinge is used to enable the side folding of electric scooters and minimize their transportation volume.

CONCEALED HINGE WITH LOCKING MEANS FOR FOLDABLE VEHICLE

NºPublicación:  EP4620793A1 24/09/2025
Solicitante: 
TRIERI DESIGN D O O [HR]
Trieri Design d.o.o
EP_4620793_PA

Resumen de: EP4620793A1

A concealed hinge (100) for a foldable vehicle, where the said hinge (100) comprising two insets (10, 20) with their wedges (11, 12) to be inserted in the vehicle's frame interior. The insets (10, 20) are connected via the set of levers (31, 32) which forms a five-pin hinge mechanism, where two pins are fixed in the said insets (10, 20), two pins are sliding pins within the wedges (11, 12), and one pin is a pivot pin which connects the levers in their central portion. The locking mechanism is designed to lock the insets (10, 20), via their respectable locking rings (13, 23), in the closed and opened position. In the preferred embodiment, the concealed hinge is used to enable the side folding of electric scooters and minimize their transportation volume.

Rear wheel steering reset mechanism of balance car and electric scooter

NºPublicación:  CN120681270A 23/09/2025
Solicitante: 
YUNYUN IOT TECH SUZHOU CO LTD
\u82B8\u82B8\u7269\u8054\u79D1\u6280\uFF08\u82CF\u5DDE\uFF09\u6709\u9650\u516C\u53F8
CN_120681270_PA

Resumen de: CN120681270A

The invention discloses a balance car rear wheel steering reset mechanism and an electric scooter, and relates to the technical field of vehicles. The middle fulcrum support is arranged to be hinged to the center mechanism, the center mechanism comprises the base, the center shaft, the first hinge column and the second hinge column, the center shaft is vertically connected between the two horizontal cantilevers of the middle fulcrum support, and the base is rotatably connected with the center shaft; the first hinge column and the second hinge column located on the two sides of the base are hinged to the first cantilever and the second cantilever through the first fisheye bearing and the second fisheye bearing respectively, the center mechanism is small in size, and the balance car rear wheel steering reset mechanism can be installed in a limited space. And when the stress of the first cantilever and the stress of the second cantilever in the vertical direction are different, the rubber ring is stressed to deform through slight deviation of the central shaft, so that stress buffering is realized, the horizontal height of the first cantilever and the horizontal height of the second cantilever are kept consistent, the suspension condition of rear wheels is reduced, and the stability of the vehicle is improved.

Electric scooter

NºPublicación:  CN120664043A 19/09/2025
Solicitante: 
SHENZHEN LEQI INTELLIGENT TECH CO LTD
\u6DF1\u5733\u5E02\u4E50\u9A91\u667A\u80FD\u79D1\u6280\u6709\u9650\u516C\u53F8
CN_120664043_PA

Resumen de: CN120664043A

The invention discloses an electric scooter. The electric scooter specifically comprises a scooter body, a pedal assembly, a battery assembly, a damping assembly, a triggering assembly and a locking assembly. The pedal assembly comprises a pedal cover and a pedal body, a containing cavity is formed in the pedal body in a concave mode, and the pedal cover is connected to the upper portion of the containing cavity in a covering mode. The battery assembly and the damping assembly are both fixed in the containing cavity, the locking assembly comprises a locking piece and a locking seat, the locking piece is arranged on the damping assembly, the locking seat is arranged on the battery assembly, and the triggering assembly is used for triggering the locking and unlocking states of the locking piece and the locking seat. By arranging the damping assembly, the influence of vibration or deformation of the pedal cover in the driving process on the battery assembly is reduced, the use stability of the battery assembly is improved, and the service life of the battery assembly is prolonged; through the arrangement of the triggering assembly and the locking assembly, reliable locking between the battery assembly and the damping assembly and rapid unlocking of the battery assembly are achieved, it is avoided that the battery assembly is taken out under the unauthorized condition, and the anti-theft performance of the battery assembly is improved.

Integrated key control system of electric scooter and electric scooter

Nº publicación: CN223355810U 19/09/2025

Solicitante:

SHENZHEN JUSHENG DEV CO LTD
\u6DF1\u5733\u5E02\u949C\u76DB\u5F00\u53D1\u6709\u9650\u516C\u53F8

CN_223355810_U

Resumen de: CN223355810U

The utility model discloses an integrated key control system of an electric scooter and the electric scooter. The system comprises a master controller, a key module, a buzzer module, a display screen and a lamp control module. The key module comprises an adjusting key SW1; the master controller is connected with the key module, the buzzer module, the display screen and the lamp control module. The main controller is used for sensing the pressing operation of a user on the adjusting key SW1 through the key module, and executing one or more operations of controlling the running state of the electric scooter, controlling the buzzer module to give out a key prompt tone, controlling the data display of the display screen and controlling the lamp control module to light up corresponding light; wherein the pressing operation comprises long pressing and short pressing. According to the application, through the one-key multifunctional multiplexing design of the adjusting key SW1, the problems of distributed keys are well solved.

traducir