Ministerio de Industria, Turismo y Comercio LogoMinisterior
 

Alerta

Resultados 203 resultados
LastUpdate Última actualización 11/02/2026 [07:52:00]
pdfxls
Solicitudes publicadas en los últimos 30 días / Applications published in the last 30 days
Resultados 1 a 25 de 203 nextPage  

一种海上风电机组防潮除湿系统及方法

NºPublicación:  CN121508012A 10/02/2026
Solicitante: 
华电科工股份有限公司
CN_121508012_PA

Resumen de: CN121508012A

本发明公开了一种海上风电机组防潮除湿系统,包括波浪能发电装置、分布式构网储能装置、除湿装置、多端口直流变换器和风电机组电源端口;波浪能发电装置经多端口直流变换器和除湿装置电连接,为风电机组的除湿装置供电;和/或分布式构网储能装置经多端口直流变换器和除湿装置电连接,为风电机组的除湿装置供电;和/或风电机组电源端口经多端口直流变换器和除湿装置电连接,为风电机组的除湿装置供电。本发明实现波浪能发电防潮除湿,实现了多种能源多端口驱动发电方案,多端口控制方案。

一种基于海星仿生学的新型自适应风能-光能-波浪能集成发电结构体系

NºPublicación:  CN121497551A 10/02/2026
Solicitante: 
桂林理工大学
CN_121497551_PA

Resumen de: CN121497551A

本发明公开了一种基于海星仿生学的新型自适应风能‑光能‑波浪能集成发电结构体系,包括风力发电、太阳能光伏发电、波浪能发电模块、海星仿生浮式平台及系泊系统。所述浮式平台为五轴对称结构,含中心体与五个星形臂平台;太阳能光伏发电模块包括布置于星形臂平台顶部的水上固定光伏阵列和嵌入星形臂平台外侧的水下可折叠光伏阵列;波浪能发电模块包括振荡水柱式单元与点吸收式浮子单元;风力发电模块沿星形臂径向对称布置且风机叶片可自适应收缩;所述系泊系统呈星形布置并动态调节张力与长度。本发明实现了海上风能、太阳能和波浪能的高效、互补、集成与自适应利用,显著提升了发电效率、平台稳定性和环境适应性,降低了度电成本与结构风险。

一种利用水轮机转换波浪能的发电浮标及其系泊方法

NºPublicación:  CN121493164A 10/02/2026
Solicitante: 
集美大学
CN_121493164_PA

Resumen de: CN121493164A

本发明涉及海洋能开发利用技术领域,具体为一种利用水轮机转换波浪能的发电浮标及其系泊方法,发电浮标包括浮体、连杆、混流式水轮机、减摇翅片,浮体固定安装在连杆的上方,连杆下方连接混流式水轮机,减摇翅片呈圆周状均匀分布固定在整个发电浮标的表面,混流式水轮机自上而下主要由上导流筒、转轮、内密封罩、外密封罩、下导流筒同轴安装组成,内密封罩固定在转轮叶片的圆周外侧,内密封罩上下圆周表面分别固定连接上导流筒的圆柱外壳和下导流筒的圆柱外壳的端面,外密封罩的上下安装端面通过橡胶密封固定安装在上导流筒和下导流筒上。本发明的浮体采用鱼漂型结构,采用混流式水轮机,外表面的减摇翅片等结构有效提高波浪能转换效率。

一种用于海洋浮式平台的抗极端海况锚链装置

NºPublicación:  CN121469795A 06/02/2026
Solicitante: 
哈尔滨工程大学
CN_121469795_PA

Resumen de: CN121469795A

本发明涉及海洋工程装备技术领域,且公开了一种用于海洋浮式平台的抗极端海况锚链装置,包括平台本体、主链、副链和锚块,锚块与主链的下端固定连接,还包括锚泊系统,平台本体的侧壁固定连接有制动机箱,锚泊系统封装在制动机箱内,制动机箱的一侧设置有排线机构,主链穿过排线机构与外部锚泊系统的卷轮连接,锚泊系统通过感知海况的变化自动收放调节主链的张力,增大锚泊系统韧性,避免极端海况对锚泊系统的直接砰击,实现平台本体在极端海况下的自动保护。本技术方案可自适应台风工况,自动调节锚链长度以降低张力的锚泊系统,在保证正常海况系泊稳定性的同时,还可解决极端情况下锚链张力超限的问题。

一种潮汐能发电及智慧养殖系统

NºPublicación:  CN121474043A 06/02/2026
Solicitante: 
西华大学
CN_121474043_PA

Resumen de: CN121474043A

本申请属于智能化水产养殖技术领域,具体揭示了一种潮汐能发电及智慧养殖系统,该系统包括:级联的动力传入模块、动力传输模块、发电模块和智慧养殖模块,其中,所述动力传入模块用于捕获海浪冲击动能,并转换为机械能输入所述动力传输模块;所述动力传输模块用于对机械能稳定传递并转换为单向旋转运动,以驱动所述发电模块工作;所述发电模块用于将机械能转换为电能,并为所述智慧养殖模块供电;所述智慧养殖模块用于基于所述发电模块供电以实现养殖智能化控制和管理。本申请通过机械传动与智能控制系统,能够实现潮汐动能向电能的高效转化与养殖过程的精细化、自动化管理。

海洋能发电机的汲水结构

NºPublicación:  CN121474042A 06/02/2026
Solicitante: 
谢和源
CN_121474042_PA

Resumen de: CN121474042A

本发明公开了一种海洋能发电机的汲水结构,其包括:集水槽;复数定位柱,其分别设置于该集水槽底部;输水管,其内部设置有逆止瓣膜,输水管一端连通于集水槽内部;汲水组件,其一端连通该输水管;漂浮件;连杆组,其包括主连杆、活塞连杆、浮件连杆,主连杆一端枢设于其中一定位柱另一端与浮件连杆枢接,浮件连杆枢接于主连杆的另一端相连于漂浮件,活塞连杆一端链接于汲水组件,活塞连杆另一端枢接于主连杆;配重件,其设置于主连杆枢设浮件连杆的一端。

一种海洋生态环境检测设备

NºPublicación:  CN121469804A 06/02/2026
Solicitante: 
浙江海洋大学
CN_121469804_PA

Resumen de: CN121469804A

本发明公开了一种海洋生态环境检测设备,属于海洋监测技术领域,旨在解决现有观测技术成本高昂、布放困难、无法实现水体剖面与海底界面同步精细化监测的问题。由多套布设于不同区域的水体剖面检测单元构成。各单元集成三大功能模块:水面部分通过浮板与发电组件利用波浪能和太阳能发电;水体部分借助柔性防护管及沿线布设的多个图像传感器,实现水体垂直剖面多层次观测;海底部分通过锚锭装置及其搭载的检测设备,采集海底界面温度与图像数据。其中,锚锭装置采用可泄放重量的创新设计,通过控制模块远程排空填充物,实现便捷回收;本发明具备低成本、模块化、易于布放与回收的优势,实现了能够实现水体剖面及海底界面多维度检测。

一种基于动态定点聚波的波浪能高效转换装置及控制方法

NºPublicación:  CN121474037A 06/02/2026
Solicitante: 
山东大学
CN_121474037_PA

Resumen de: CN121474037A

本申请属于波浪能发电控制技术领域,提供一种基于动态定点聚波的波浪能高效转换装置及控制方法,所述高效转换装置包括第一反射波调节结构、第二反射波调节结构及旋转驱动单元;第一反射波调节结构和第二反射波调节结构能够各自独立地绕各自的与定点位置的径向距离保持不变的旋转轴进行旋转,以各自独立地调节产生的反射波的朝向,使定点位置处于入射波与反射波的相长干涉区域;旋转驱动单元用于驱动所述第一反射波调节结构和第二反射波调节结构各自独立地旋转。本申请提供的高效转换装置及控制方法,能够通过动态调节两个反射波的反射角度,使定点位置始终处于波浪的相长干涉区域,实现在各种海况下波浪能的高效转换。

自适应海况的多自由度组合式海洋能发电装置及控制方法

NºPublicación:  CN121474040A 06/02/2026
Solicitante: 
中国海洋大学
CN_121474040_PA

Resumen de: CN121474040A

本发明属于海洋可再生能源技术领域,具体涉及自适应海况的多自由度组合式海洋能发电装置及控制方法。波浪能输入机构和换向机构安装于主动轴上,电能转换端机构安装于从动轴上,波浪能输入机构在换向机构作用下向电能转换端机构输入单向转动;自调节齿轮比系统置于浮体座内部,各齿轮组间的齿轮比不同,主动轮通过轴承安装于主动轴上且其内部开有内槽,从动轮固定安装于从动轴上;可控插销装置固定安装于主动轴内,控制插销伸入或退出内槽,切换齿轮组以适应不同的海况。本发明通过改变齿轮比,以此来改变摆锤运动时的阻力,使摆锤运动与浮体运动达到共振,可以更有效地利用在不同海况下的波浪能,显著提高波浪能利用效率。

一种垂荡浮子式波浪能发电装置

NºPublicación:  CN121474041A 06/02/2026
Solicitante: 
中山大学
CN_121474041_PA

Resumen de: CN121474041A

本发明涉及波浪能发电技术领域,特别是涉及一种垂荡浮子式波浪能发电装置,包括支撑架、垂荡浮子、驱动装置、监测件和控制系统;支撑架漂浮或固定于海面;垂荡浮子上下滑动连接于支撑架;驱动装置连接于支撑架,驱动装置的输出端连接垂荡浮子;监测件能够监测海上波浪的浪高;监测件和驱动装置均与控制系统电连接;正常海况下,监测件监测到浪高小于设定值,控制系统控制驱动装置驱动下放垂荡浮子,垂荡浮子能够在波浪作用下上下移动,实现发电;强浪工况下,监测件监测到浪高大于设定值,控制系统控制驱动装置上提垂荡浮子并使垂荡浮子固定,避免垂荡浮子受强浪作用而剧烈冲击支撑架。

一种太阳能储热增强型海洋温差能水电联产系统及方法

NºPublicación:  CN121474082A 06/02/2026
Solicitante: 
北京理工大学
CN_121474082_PA

Resumen de: CN121474082A

本发明提供了一种太阳能储热增强型海洋温差能水电联产系统及方法,属于海洋可再生能源与储能技术领域,包括海上风电场、太阳能加热熔盐储热单元、混合式温差能水电联产单元,太阳能加热熔盐储热单元包括温海水泵、光伏光热一体化系统PV/T、熔盐加热器、热熔盐储存罐、冷熔盐储存罐、熔盐换热器;混合式温差能水电联产单元包括开式循环部分和闭式循环部分。本发明采用上述的一种太阳能储热增强型海洋温差能水电联产系统及方法,旨在实现对海上风能、太阳能与海洋温差能的协同高效利用。

一种单摆式压电-电磁复合波浪能发电装置

NºPublicación:  CN223881293U 06/02/2026
Solicitante: 
宁波大学
CN_223881293_U

Resumen de: CN223881293U

本实用新型涉及一种单摆式压电‑电磁复合波浪能发电装置,属于波浪能发电技术领域。该装置包括上下半球状壳体、安装在上壳体内的弹性限位机构和单摆机构、以及安装在下壳体内的配重块;所述弹性限位机构用于限定单摆机构的摆动幅度,上下半球状壳体相连构成一个密封球体;所述单摆机构由摆动支架和压电‑电磁发电组模块构成,摆动支架顶部与上壳体内顶部铰接,平衡状态下压电‑电磁发电组模块水平固定在摆动支架末端,压电‑电磁发电组模块整体为柱状,两端配置有包含定磁铁的压电发电模块,中间配置有包含线圈和动磁铁的电磁发电模块。本装置利用磁铁间的排斥力对压电发电模块施加压力,结合了压电与电磁能量采集机制,提高了能量转换效率。

Wave-energized diode pump

NºPublicación:  AU2026200307A1 05/02/2026
Solicitante: 
LONE GULL HOLDINGS LTD
Lone Gull Holdings, Ltd
AU_2026200307_A1

Resumen de: AU2026200307A1

Disclosed is an apparatus that floats at the surface of a body of water over which waves pass. Passing waves cause a nominally vertical axis of the apparatus to tilt away from an axis normal to the resting surface of the body of water. Tilting of sufficient magnitude and duration allows a fluid to flow through a channel that in an un-tilted apparatus would require the gravitational potential energy of the fluid to increase (i.e., to flow uphill), but, because of the tilt allows the fluid to flow through the channel in a downhill direction. Flowing water is trapped at a plurality of levels which in an un-tilted apparatus are higher than the respective levels from which the fluid has flowed. A subsequent tilt of the apparatus in a sufficiently different direction, and of a sufficient magnitude and duration, causes the trapped water to flow to new, yet higher levels. Successive wave-driven tilts of the apparatus incrementally raise water to a height and/or head from which a portion of its gravitational potential energy can be released, and/or converted to electrical power, by causing the water to return to a lower level by flowing through a water turbine thereby energizing an operationally connected generator, or through some other apparatus that performs a useful function when supplied with a flow of high-pressure water. an a n

水中海洋ストリームから電気を生成するためのシステム

NºPublicación:  JP2026504485A 05/02/2026
Solicitante: 
エナジーヴォールトインコーポレイテッド
JP_2026504485_PA

Resumen de: US2025369413A1

A system for generating electricity from an underwater stream for generating electricity for the electric grid or for producing hydrogen includes an underwater turbine. The underwater turbine includes an upper pontoon, a lower pontoon, and a pylon structure that extends between and interconnects the upper pontoon and the lower pontoon. The underwater turbine also includes a single propeller assembly rotatably coupled to the lower pontoon. Rotation of the propeller operates a generator to generate electricity. The underwater turbine can be moored to a sea floor via a mooring weight. An optional friction winch is operable to raise or lower the underwater turbine relative to the sea floor.

エネルギー回収方法

NºPublicación:  JP2026019483A 05/02/2026
Solicitante: 
トヨタ自動車株式会社
JP_2026019483_PA

Resumen de: US20260028107A1

An energy collecting method includes: a step in which a floating body, which constitutes a power generation system, stores energy by the floating body generating power while automatically sailing; and a step in which an energy transport ship collects energy from the floating body near an edge of a sea area in which the floating body automatically sails.

PNEUMATIC WAVE-ENERGY POWER-GENERATION AND BREAKWATER SYSTEM

NºPublicación:  WO2026026639A1 05/02/2026
Solicitante: 
TSINGHUA UNIV [CN]
\u6E05\u534E\u5927\u5B66
WO_2026026639_PA

Resumen de: WO2026026639A1

A pneumatic wave-energy power-generation and breakwater system. The system comprises a breakwater (10) and a plurality of power generation apparatuses (20). A plurality of accommodation spaces (11) and a plurality of wave guide wall units (12) are provided on a seaward side of the breakwater (10), and wave guide wall units (12) are provided on two sides of any one of the accommodation spaces (11). The plurality of power generation apparatuses (20) are accommodated and fixed within the plurality of accommodation spaces (11) in one-to-one correspondence. The foremost edge of each wave guide wall unit (12) facing the sea protrudes beyond the foremost edges of the power generation apparatuses (20) on two sides of the wave guide wall unit (12). Each power generation apparatus (20) comprises a cylinder body (21) and a turbine (22) rotatably disposed in the cylinder body (20). The bottom of the cylinder body (21) is provided with an opening on the seaward side. When waves surge into the cylinder body (20) via the opening, the top of the cylinder body (20) further forms an air chamber (211) located above a water-air interface and an air flow channel (212) communicating the air chamber (211) with the external atmosphere. The pressure difference within the air flow channel (212) can drive the turbine (22) to rotate. The system can achieve efficient capture and utilization of wave energy while providing wave breaking and wave dissipation functions.

FLOATING WAVE ENERGY CONVERSION SYSTEM TO AMPLIFY PITCH OSCILLATIONS

NºPublicación:  WO2026029687A1 05/02/2026
Solicitante: 
INST SUPERIOR TECNICO [PT]
INSTITUTO SUPERIOR T\u00C9CNICO
WO_2026029687_PA

Resumen de: WO2026029687A1

The present invention is in the field of systems for converting wave energy into electrical energy, in particular a floating wave energy conversion system (1) comprising a water duct (2), a pneumatic chamber (3), an air turbine (4), a flotation tank (6) and at least one oscillatory amplification chamber (5) of tubular shape with two closed ends, at least one of which has an internal volume occupied by a gas and a liquid. The floating wave energy conversion system (1) makes it possible to amplify the pitch oscillations under sea waves. This amplification is caused by the alternating flow of liquid in the oscillatory amplification chamber (5), that increases the oscillation of the water column and increases the amount of energy converted.

ENERGY PRODUCTION SYSTEM USING BUOYS

NºPublicación:  WO2026027904A1 05/02/2026
Solicitante: 
TARLAMIS VASILEIOS [GR]
TARLAMIS, Vasileios
WO_2026027904_PA

Resumen de: WO2026027904A1

The invention relates to an innovative system for generating electricity that harnesses the power of waves. The system consists of buoys (4) which, under the influence of the waves, set in motion a system of gears (3) and straight shafts (6). This movement is converted into rotational movement and drives a generator (1), thus producing electricity. Each gear (3) has an inner ring (8) with inclined teeth (9) and the shaft (6) of the gear (3) has a safety device (10) with a corresponding inclination, so that the gear (3) can only rotate in the direction corresponding to energy production. This technology offers a clean and renewable source of energy.

SYSTEM AND METHODS FOR OCEANIC AND ATMOSPHERIC CARBON DIOXIDE AND CLIMATE MANAGEMENT, ALGAL FOSTERING, AND INITIATION AND MAINTENANCE OF FISHERIES BY DEEPER NUTRIENT RICH WATER PUMPING

NºPublicación:  US20260036111A1 05/02/2026
Solicitante: 
ORRIDGE ST JEAN [BM]
Orridge St. Jean
US_20260036111_PA

Resumen de: US20260036111A1

Provided herein are systems and methods for energy capture, energy storage, and stored energy translation to mechanical work, having: piston drive pump cylinder tube for housing a first volume of liquid, and a piston drive pump; wherein the piston drive pump is configured for motion; an energy storage tank for storage of a first volume of air and a second volume of liquid wherein the first volume of air is compressed air; a recovery tank for housing a second volume of air and a third volume of liquid; a liquid driven turbine connected to the energy storage tank and in communication with the second volume of liquid of the energy storage tank; a plurality of unidirectional liquid tubes and air tubes for connecting the piston drive cylinder tube, the energy storage tank, and the recovery tank; an impeller associated with the turbine; and a subsystem for energy generation.

WAVE ENERGY CONVERTER

NºPublicación:  AU2024288459A1 05/02/2026
Solicitante: 
VULJAJ SOKOLJ
VULJAJ, Sokolj
AU_2024288459_PA

Resumen de: AU2024288459A1

A wave energy converter for converting kinetic energy of waves into electric energy is provided. The wave energy converter includes a base configured for being submerged on a seabed (23), a first floating weight (3), a first lever (6) connected to the floating weight (3) and the base, a first hydraulic cylinder (4) and a first piston (21) slidably received within the hydraulic cylinder (4), one of the first hydraulic cylinder (4) and the first piston (21) being connected to the base, the other one being connected to the first lever (6) or the first floating weight (3), a first output non-return valve (15) connected to an output of the first hydraulic cylinder (4), a first input non-return valve (14) connected to an input of the first hydraulic cylinder (4), a high-pressure hydraulic line (16) connected to the first output non-return valve (15), a low-pressure hydraulic line (17) connected to the first input non-return valve (14), a hydraulic tank (18) connected to the low-pressure hydraulic line (17), and a hydraulic motor (5) or turbine coupled to an electric generator, wherein an inlet (27) of the hydraulic motor (5) or the turbine is coupled to the high-pressure hydraulic line (16) and preferably an outlet (28) of the hydraulic motor (5) or the turbine is coupled to the tank (18).

一种波浪能与风能的复合驱动装置及水上设备

NºPublicación:  CN121452118A 03/02/2026
Solicitante: 
国家海洋技术中心
CN_121452118_PA

Resumen de: CN121452118A

本发明公开了一种波浪能与风能的复合驱动装置及水上设备,涉及海洋能的综合开发和利用技术领域,波浪能与风能的复合驱动装置包括:风能直驱结构、波浪能直驱结构、波浪能再驱动结构、风波耦合驱动结构和传动结构;风能直驱结构包括风能捕获组件和风能推进组件,风能捕获组件用于捕获风能,并将风能转化为驱动风能推进组件的动能;波浪能直驱结构包括翼板组件,翼板组件能够随波浪摆动;翼板组件能够通过波浪能再驱动结构、传动结构和风波耦合驱动结构将翼板组件的摆动传递至风能推进组件,实现对风能推进组件的再驱动。本发明不仅有效提升了波浪能和风能的综合利用效率,而且弥补了单一能源不足的缺陷。

一种水环境管理的水质监测装置

NºPublicación:  CN223865076U 03/02/2026
Solicitante: 
南京市市政设计研究院有限责任公司
CN_223865076_U

Resumen de: CN223865076U

本申请涉及水质监测设备技术领域,尤其是涉及一种水环境管理的水质监测装置,包括船体,船体上设置有监测组件、驱动件、供电组件和锚定件,船体上设置有控制面板和蓄电池组,蓄电池组电连接于控制面板,监测组件包括信号接收器和监测器,监测器设置于船体上且电连接于控制面板,船体内设置有电连接于控制面板的转动电机,转动电机的输出轴转动穿至船体外,船体外的转动电机的输出轴上设置有监测杆,监测杆的轴线垂直于转动电机的输出轴的轴线,监测杆背向转动电机输出轴的一端设置有监测传感器,监测传感器电连接于监测器,船体上设置有信号发射器,船体上设置有用于固定监测杆的固定件。本申请具有提高水质监测结果准确性的效果。

一种用于船舶的潮汐能发电装置

NºPublicación:  CN121452107A 03/02/2026
Solicitante: 
上海海事大学
CN_121452107_PA

Resumen de: CN121452107A

本发明公开了一种用于船舶的潮汐能发电装置,涉及潮汐发电技术领域,包括固定板,固定板的侧面设置可适应性调节设备角度的限位支架单元,限位支架单元的侧面设置有随着液体流向而调节叶片弧度的双向发电单元。限位支架单元包括固定安装在固定板侧面的基板、设置在基板侧面用于限定双向发电单元运动轨迹的侧板;本发明通过随着海水的波动,双向发电单元会进行适应性的摆动,确保桨叶与液面平行,此时转轴会在连接块背面转动,同时限位滑杆会在限位滑槽内部滑动,通过限位滑槽限制主体外壳的运动轨迹,同时避免主体外壳过度运动,由于桨叶与液面始终保持一定程度上的平行,进一步提升桨叶的旋转效率。

温差能发电与养殖水净化一体化系统以及深远海养殖平台

NºPublicación:  CN121444870A 03/02/2026
Solicitante: 
南方海洋科学与工程广东省实验室(湛江)
CN_121444870_PA

Resumen de: CN121444870A

本发明公开了一种温差能发电与养殖水净化一体化系统以及深远海养殖平台,涉及深远海养殖技术领域;所述温差能发电与养殖水净化一体化系统包括温差能发电组件以及养殖水净化组件;所述温差能发电组件用于利用冷却余水和/或表层海水与深层海水之间的温差驱动汽轮发电机循环发电,以作为所述深远海养殖平台的电力源;其中所述冷却余水或所述表层海水的温度值高于所述深层海水的温度值;所述养殖水净化组件用于将所述温差能发电组件所排出的发电余水并引入至所述养殖舱,用于替换和净化所述养殖舱的养殖水体。本发明提供的技术方案能够实现能源的高效利用与养殖水体的生态净化,提升深远海养殖平台的能源自给能力与生态养殖水平。

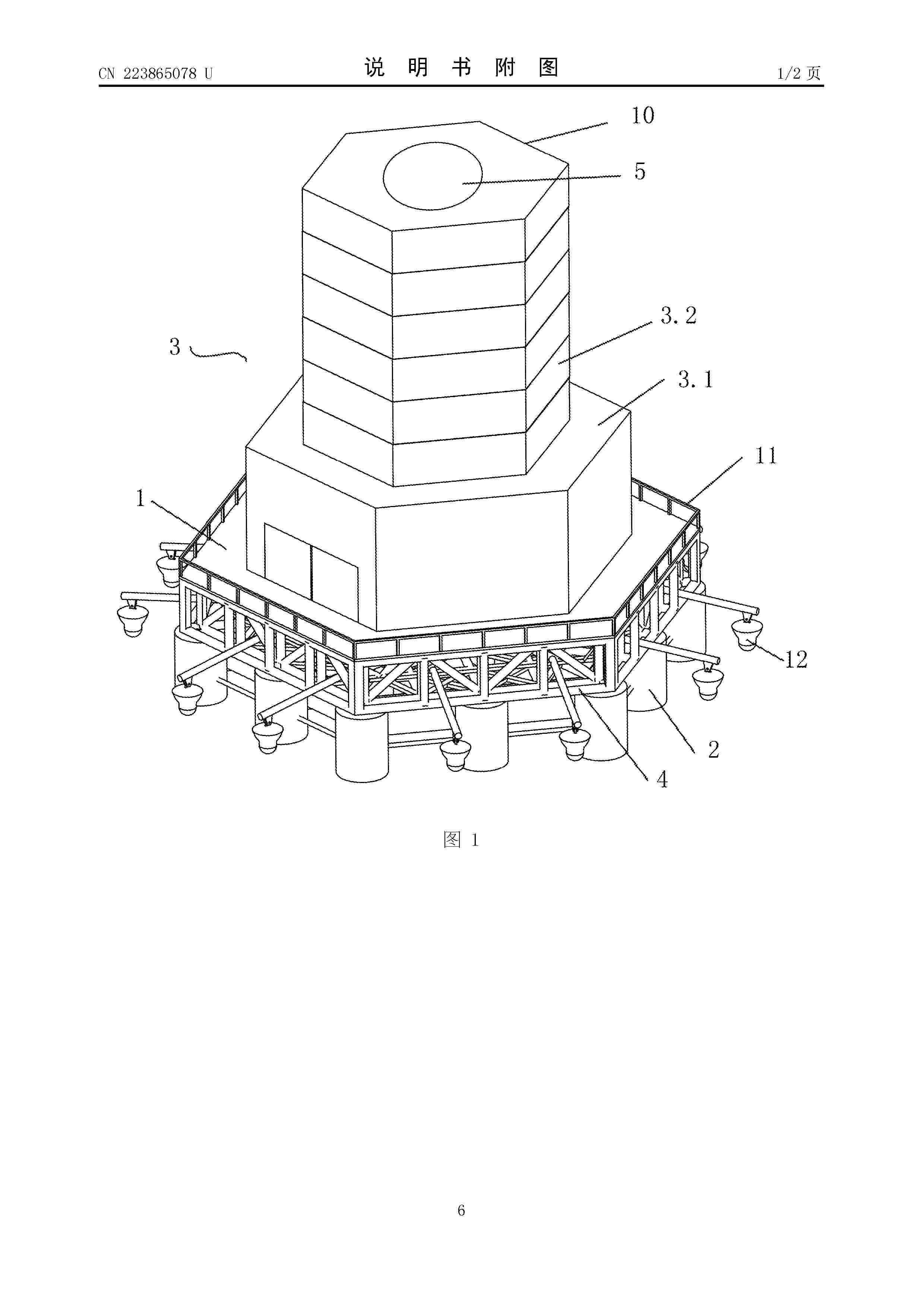
一种自给能源型的海上旅游综合平台

Nº publicación: CN223865078U 03/02/2026

Solicitante:

东允乙化(北京)生态科技有限公司

CN_223865078_U

Resumen de: CN223865078U

本实用新型公开了一种自给能源型的海上旅游综合平台,包括有支撑平台,在支撑平台下方间隔设置有浮箱,相邻的浮箱的顶部之间通过连接架连接,所述支撑平台敷设在连接架顶部;在支撑平台的上方设置有生活区;所述生活区内设置有房屋主体,在房屋主体的内部设置有竖向通道,且在竖向通道的底部设置有绿植区;所述房屋主体包括有娱乐区和位于娱乐区上部的住宅区;所述娱乐区的边缘超出住宅区的边缘,为了更好的满足人民对于海上娱乐旅游观光的问题。

traducir