Ministerio de Industria, Turismo y Comercio LogoMinisterior
 

Alerta

Resultados 208 resultados
LastUpdate Última actualización 02/04/2026 [07:44:00]
pdfxls
Solicitudes publicadas en los últimos 30 días / Applications published in the last 30 days
Resultados 1 a 208  

用于从波浪中产生能量的设备

NºPublicación:  CN121773265A 31/03/2026
Solicitante: 
斯韦尔根有限公司
CN_121773265_PA

Resumen de: AU2024265268A1

A wave powered apparatus for generating rotational mechanical energy, having a buoyant energy generation capsule and upper and lower inclined guide surfaces to restrain and guide movement of the energy generation capsule. The apparatus is partly submerged in a body of water and the energy generation capsule rolls in a unidirectional manner about a capsule axis of rotation along the guide surfaces, rolling up the incline in response to forces from waves in the body of water and rolling down the incline in response to gravitational force.

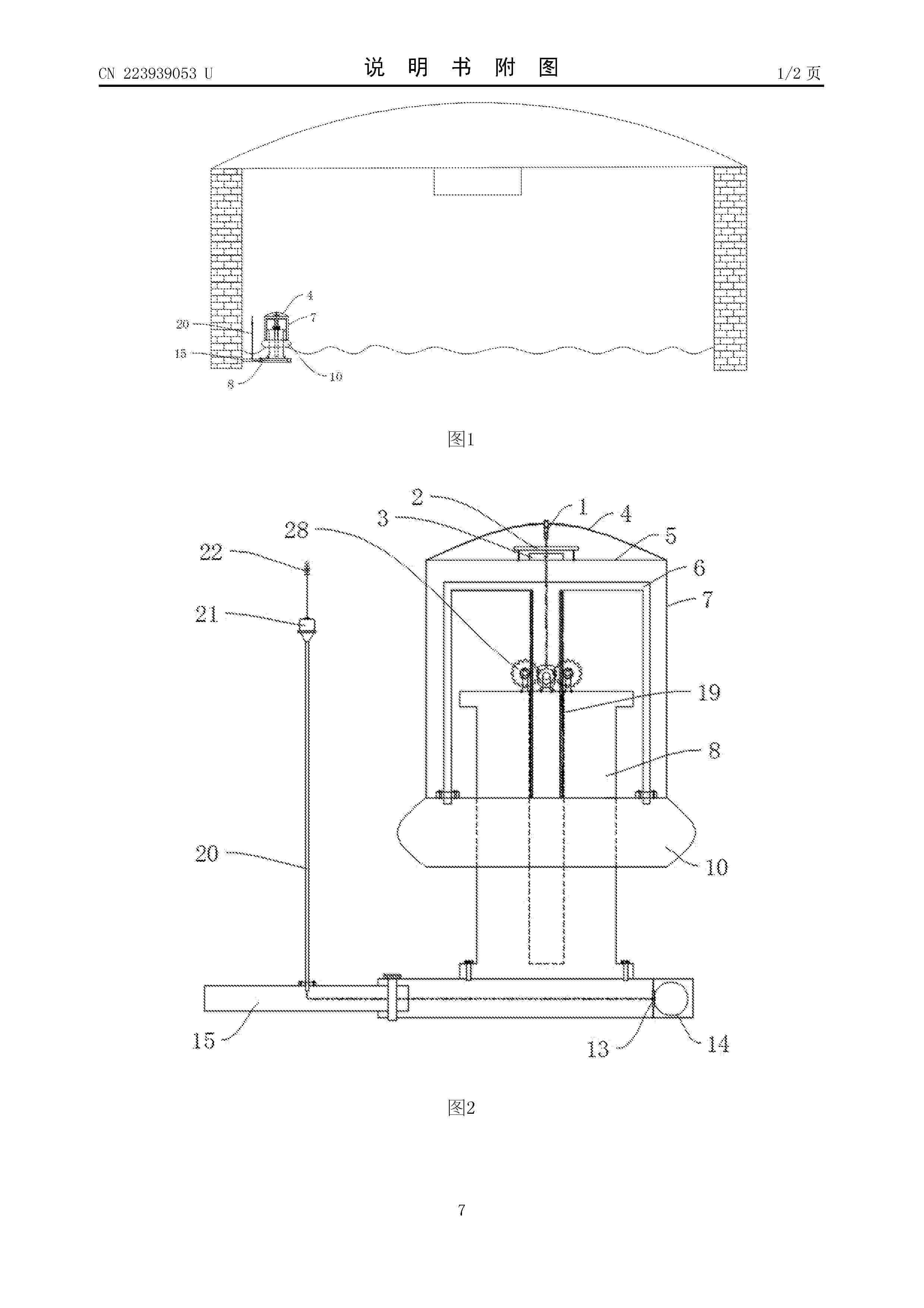
集成多机制波浪能发电的浮式防波堤系统

NºPublicación:  CN121760314A 31/03/2026
Solicitante: 
江苏海事职业技术学院
CN_121760314_PA

Resumen de: CN121760314A

本发明公开了一种集成多机制波浪能发电的浮式防波堤系统,包括浮式防波堤堤体、发电系统和系泊系统;堤体的迎浪面下方有聚浪结构;迎浪面上方有防越浪结构;背浪面下方设有卷浪结构;卷浪结构上方设有摇摆发电单元;摇摆发电单元包括液压发电机构和多个间隔设置的隔断舱壁,隔断舱壁间连接有转轴和限位杆,转轴上铰接有摇板,摇板与液压发电机构间有连杆;堤体的迎浪面内开设有开孔通道,开孔通道的入水口位于堤体迎浪面,出水口位于堤体的上表面;堤体内开设有月池;月池内安装有振荡浮子发电单元;开孔通道内有透平发电机。本发明将主体结构与透平发电系统、振荡浮子发电系统和摇摆发电系统相结合,耗散波浪能的同时转化为电能,实现了多机制发电消波一体化。

一种多自由度波浪能发电装置

NºPublicación:  CN121760876A 31/03/2026
Solicitante: 
长江大学
CN_121760876_PA

Resumen de: CN121760876A

本申请涉及电力领域,且公开了一种多自由度波浪能发电装置,包括涡轮,涡轮的左右两侧对称固定安装有第一锥齿轮,还包括,两个浮动机构,两个浮动机构对称设置在涡轮的左右两侧,两个所述变速机构分别对称设置在两个浮动机构的底部,所述变速机构包括第二安装壳,所述第二安装壳设置在浮动机构的底面,所述第二安装壳内腔靠近浮动机构一侧设有调速机构。通过浮动机构自动调整调速机构与传动机构传动比,实现将波浪增加的动能最大程度地转换成发电机产生的电能,解决了当波浪过小时,现有发电装置的涡轮转动产生的动能不足以推动发电机转动发电的问题和波浪增大时,现有发电装置无法有效将波浪的动能最大程度地转换为发电机产生的电能的问题。

一种具有新能源发电结构的装配式混凝土挡浪墙

NºPublicación:  CN121760312A 31/03/2026
Solicitante: 
中交广州航道局有限公司中交华南交通建设有限公司
CN_121760312_PA

Resumen de: CN121760312A

本发明属于混凝土挡浪墙技术领域,尤其公开了一种具有新能源发电结构的装配式混凝土挡浪墙,包括:墙体,所述墙体整体外形设置为L型结构,且墙体通过混凝土装配式拼接另一个墙体;发电组件包括:浮动件,漂浮在水面上;转杆,浮动件利用连接部件连接转杆,用于驱动转杆往复转动;活动条,滑动安装在墙体上,往复转动转杆利用齿轮使得活动条往复移动;发电单元,连接活动条端部,用于新能源发电。本发明通过转套与横杆的螺旋配合,能够根据浮动件的长度调整两个摆臂之间的相对距离,方便在两个连接部件之间快速更换不同外形的浮动件,避免浮动件表面会堆积过多的灰尘和海洋生物。

一种抗风的风能、波浪能一体化发电平台及其防倾倒方法

NºPublicación:  CN121760885A 31/03/2026
Solicitante: 
中国华能集团清洁能源技术研究院有限公司华能广东汕头海上风电有限责任公司华能广东能源开发有限公司华能海上风电科学技术研究有限公司
CN_121760885_PA

Resumen de: CN121760885A

本发明公开了一种抗风的风能、波浪能一体化发电平台及其防倾倒方法,属于海洋发电工程技术领域。发电平台包括浮体平台、风能发电组件、波浪能发电装置、抗风稳定机构及电能汇集存储单元;所述风能发电组件设置在浮体平台的上部,所述波浪能发电装置设置于浮体平台处于水面的周侧,所述抗风稳定机构连接于浮体平台底部并延伸至水下预设深度;所述电能汇集存储单元集成于浮体平台内部,且分别与风能发电组件和波浪能发电装置电连接;所述风能发电组件与波浪能发电装置协同捕获风能与波浪能并转化为电能,经电能汇集存储单元整合后输出。该平台将风机、波浪能装置与小型海洋平台结构有机融合,在单一平台上同步开发两种海洋清洁能源。

一种用于波浪发电的防波堤结构及其施工方法

NºPublicación:  CN121760313A 31/03/2026
Solicitante: 
中交第三航务工程勘察设计院有限公司
CN_121760313_PA

Resumen de: CN121760313A

本发明涉及一种用于波浪发电的防波堤结构及其施工方法,该结构包括下部桶体、上部沉箱和发电装置;上部沉箱内设有隔舱,发电装置安装在隔舱内;上部沉箱迎浪侧设有进浪孔,顶部设有现浇调节节点,节点上方依次设置防浪墙、电缆管沟、可拆卸道路板及检修装置。本发明采用标准桶式基础工厂预制、浮运安装,结合现浇节点调平与可拆卸道路板,实现了防波堤结构与波浪发电系统的一体化集成。该结构具有施工便捷、成本可控、结构稳定、维护方便等优点,适用于中小浪况下的波浪发电,尤其适合于港口、岛屿等地区的绿色供电与海岸防护。

自旋转可调节式波浪能发电平台

NºPublicación:  CN121760875A 31/03/2026
Solicitante: 
广东工业大学
CN_121760875_PA

Resumen de: CN121760875A

本发明公开了自旋转可调节式波浪能发电平台,包括基座、发电装置和能量捕获单元,发电装置设在基座内,能量捕获单元包括浮子、尾鳍、旋转塔架和液压缸,浮子和尾鳍均上下摆动设置于旋转塔架,液压缸设在浮子与旋转塔架之间,液压缸的油口与发电装置连通,旋转塔架转动连接于基座。通过设置可被动自旋转对波的能量捕获单元,保证了浮子始终以最佳迎角面对波浪,最大化能量捕获效率。解决了传统波浪能发电装置因波浪方向多变导致的能量捕获效率低的问题,通过设置尾鳍实现波浪感知并带动浮子转动至对准波浪方向,无需依赖传感器、电机及复杂控制系统即可实现自适应对波,简化结构的同时提高了在海洋恶劣环境下的抗干扰能力与运行稳定性。

自供能压电陶瓷雾化装置

NºPublicación:  CN121755112A 31/03/2026
Solicitante: 
南方科技大学深圳大学辽宁石油化工大学
CN_121755112_PA

Resumen de: CN121755112A

本发明公开了一种自供能压电陶瓷雾化装置,涉及气液反应设备技术领域。所述自供能压电陶瓷雾化装置包括:反应釜及自供能压电陶瓷雾化器;自供能压电陶瓷雾化器包括:壳体、压电雾化模块和波动发电模块;压电雾化模块包括:液体储存箱、进液管和压电陶瓷雾化片;波动发电模块包括:波动压力传感器、设置于波动压力传感器上的悬臂管和设置于悬臂管内的金属小球。当反应釜内产生液体波动冲击自供能压电陶瓷雾化器时,液体的动能驱使悬臂管内的金属小球往复波动,将压力传递至波动压力传感器产生机械能,触发形成电能用于驱动压电雾化模块,实现能源自供与高效节能;压电雾化模块通电后将液体雾化为微米级的细小液滴,增加了气液两相的接触面积。

一种筏式波浪能的能量转化装置

NºPublicación:  CN224049322U 27/03/2026
Solicitante: 
曹楠
CN_224049322_U

Resumen de: CN224049322U

本实用新型涉及一种筏式波浪能的能量转化装置,属于筏式波浪能技术领域,包括数量为两个的浮块外壳,两个所述浮块外壳相对的一侧转动安装有能量输入轴,所述能量输入轴的表面固定安装有能量输入齿轮,两个所述能量输入齿轮之间固定安装有连接杆,两个所述浮块外壳相对的一侧转动安装有传动轴,所述传动轴的表面固定安装有与能量输入齿轮相啮合的传动齿轮,所述浮块外壳上设置有双向能量回收组件。该筏式波浪能的能量转化装置,通过在两个浮块外壳之间设置连接杆,增加浮块外壳之间的力矩,提高抗极端海况能力,在浮块外壳内部设置双向离合箱,收集浮块外壳上升和下降时的力,减少结构空载。

一种漂浮式潮流能与波浪能联合发电装置

NºPublicación:  CN224049323U 27/03/2026
Solicitante: 
宁波大学
CN_224049323_U

Resumen de: CN224049323U

本实用新型提供一种漂浮式潮流能与波浪能联合发电装置,涉及海上发电技术领域,包括浮体、固定在浮体上的连接臂、固定在连接臂自由端的水轮机以及固定在浮体上的波浪能转换装置;当浮体漂浮于水面上时,水轮机没入水中收集潮流能,波浪能转换装置漂浮于水面上收集波浪能;结构简单,便于同时对波浪能和潮流能的收集,便于实施和维护,不影响海洋环境。

一种海洋能利用装置

NºPublicación:  CN121738804A 27/03/2026
Solicitante: 
滨州市海洋发展研究院
CN_121738804_PA

Resumen de: CN121738804A

本发明属于海洋能利用技术领域,尤其为一种海洋能利用装置,包括密封舱、套壳以及振荡浮子。本发明通过海浪驱动振荡浮子上下运动,带动与之刚性连接的套壳及贯穿密封舱的中柱同步往复运动;中柱的上段直接驱动直线发电机发电,完成核心能量转换;中柱下端的活塞头在空腔内做泵送运动:当活塞头上移时,通过进水管末端的过滤塞吸入冷海水,此时单向阀一开启;当活塞头下压时,单向阀一关闭,海水被加压后泵入密封舱内部两侧的导流槽,并沿槽上升流经直线发电机的舱壁进行主动冷却,吸热后的海水顶开单向阀二,从出水管排出;排出的部分水流经由支撑桥内侧的汇流环均匀洒在密封舱外壁,增强固定于套壳上的刮环一与刮环二在随动刮擦时的清洁效果。

一种拍岸浪冲击动能捕获系统及储能方法

NºPublicación:  CN121738806A 27/03/2026
Solicitante: 
西安理工大学
CN_121738806_PA

Resumen de: CN121738806A

本发明属于新能源发电技术领域,涉及一种拍岸浪冲击动能捕获系统及储能方法,包括:拍岸浪冲击动能捕获装置、液压工作站、高压储气罐组、发电机;液压泵的液压输出端通过液压管路连通至液压马达的液压输入端,压缩机的出气口连通至高压储气罐组的进气口,高压储气罐组的出气口连通至膨胀机的进气口,膨胀机的输出轴扭矩连接发电机,发电机电连接至电网;本发明采用压缩空气储能方式,将拍岸浪的机械能转化为压缩空气能进行大规模集中存储;根据用电需求,随时可再将存储的高压空气能转化为并网发电的电能,提高了拍岸浪冲击动能转化为电能的有效性,解决了拍岸浪冲击动能直接转化为电能的电压波动大、电流时断时续的问题。

一种集成风光潮汐发电与监测功能的深海养殖网箱

NºPublicación:  CN121730225A 27/03/2026
Solicitante: 
鲁东大学
CN_121730225_PA

Resumen de: CN121730225A

本发明公开了一种集成风光潮汐发电与监测功能的深海养殖网箱,涉及深海网箱养殖领域;该集成风光潮汐发电与监测功能的深海养殖网箱,通过在箱体上设置风力发电件、光伏发电件和水轮机,风力发电件和光伏发电件能够分别收集风能和太阳能存储在控制室中,而且即使是在无风暗光时节,设备也能够通过开合闸门和水轮机配合采集潮汐能,能够拓宽养殖网箱的能源采集通道,提升设备能源采集量;风力发电件、光伏发电件和水轮机配合使用,通过多方面回收自然能源,能够有效降低养殖网箱对化石能源的依赖,减少养殖网箱对环境造成的污染。

一种面向海洋牧场集群的浪光联合供能观测浮标

NºPublicación:  CN121734588A 27/03/2026
Solicitante: 
中山大学
CN_121734588_A

Resumen de: CN121734588A

本发明公开了一种面向海洋牧场集群的浪光联合供能观测浮标,包括透明半球外壳、圆柱外壳、光伏发电系统、振荡浮子式波浪能发电装置和系泊系统;半球形外壳内表面的光伏发电单元利用太阳光进行发电并输入到储能电池中;圆柱外壳底部与系泊系统连接并锚固至海底;波浪能发电装置的惯性摆发电模组安装在两个垂直方向上,受到随机波浪激励时,装置俘获海浪中多自由度能量进行发电,经整流后输入到储能电池中。本发明中发电装置的能量转换结构简单且集成于设备内部,工作时能够防止海水对核心发电部件的破坏;结合太阳能和波浪能两种发电机制实现在不同海域、不同浪况下发电,有效提高能量的输出效率,存储的电能能为漂流浮标中的多种传感器连续供能,以提高所搭载观测设备的续航时长。

磁耦合鹦鹉螺线型变截面振荡水柱式波浪能发电装置

NºPublicación:  CN121738805A 27/03/2026
Solicitante: 
中国海洋大学
CN_121738805_PA

Resumen de: CN121738805A

本发明属于能源利用设备领域,涉及一种磁耦合鹦鹉螺线型变截面振荡水柱式波浪能发电装置,包括鹦鹉螺线型变截面气室、电磁振动发电系统和可调节压载舱室,鹦鹉螺线型变截面气室底部连通气室外壁可动区间,顶部与透平系统相连接;气室外壁可动区间由空心圆柱管、半圆截面板、活动连接杆、弹簧活塞系统组成,半圆截面板与空心圆柱管内壁铰接;电磁振动发电系统耦合于气室外壁可动区间上,发电线圈缠绕于空心圆柱管上,永磁铁设置于活动连接杆上;可调节压载舱室的下部安装抽水泵。本发明装置能够根据海浪的变化产生精准匹配海浪周期的共振频率,更好地适应波浪变化,实现最佳的波浪能捕捉,从而实现能量转换率高、精准匹配海浪周期的OWC技术。

一种分段双Halbach磁场调制式磁力丝杠

NºPublicación:  CN121749672A 27/03/2026
Solicitante: 
南京工程学院
CN_121749672_PA

Resumen de: CN121749672A

本发明提供了一种分段双Halbach磁场调制式磁力丝杠,内定子永磁体为由四种磁体充磁方向的异分段永磁体环拼接成的Halbach聚磁通结构,外转子永磁体为螺旋状,螺旋状中设有8列框体,每个框体中嵌入一个分段永磁体,8列框体中的分段永磁体有两种排列,两种排列交替分布,第一种排列为向圆心外部充磁,Z轴向下充磁,Z轴向上充磁,第二种排列为:向圆心内部充磁,Z轴向下充磁,Z轴向上充磁的分段永磁体,两种排列的分段永磁体都依次交替分布拼接成的Halbach聚磁通结构。本发明在外部转子上采用Halbach排列,降低了制造成本和难度,在原有基础上提高推力和转矩性能,在低速,高推力,长距离的应用中起到关键作用。

一种适用于广域组网海洋牧场集群的双体结构波浪能观测浮标及方法

NºPublicación:  CN121734587A 27/03/2026
Solicitante: 
中山大学
CN_121734587_A

Resumen de: CN121734587A

本发明公开了一种适用于广域组网海洋牧场集群的双体结构波浪能观测浮标及方法,包括上浮体、下浮体及两部分之间的连接机构;上浮体中集成了海洋能发电装置、海洋观测装备、能源管理系统;海洋能发电装置包括波浪能发电系统、太阳能发电系统等;波浪能发电系统可包括振荡浮子式、振荡水柱式装置等。此外还提供了一种下浮体/连接绳参数的优化方法:根据特定海况环境参数,计算上浮体和下浮体的水动力系数,结合动力学方程及采用优化算法,以计算得到的上浮体平均获能功率的最大值为评价指标,选取当上浮体平均获能功率全局最大时下浮体/连接绳参数为最优值。本发明实例可得到在给定海况下具有较高发电效果的双体式波浪能浮标,并有效提高了海洋浮标的设备搭载能力。

基于水柱波能采集与释放的河口航道冲淤控制方法与系统

NºPublicación:  CN121738124A 27/03/2026
Solicitante: 
交通运输部天津水运工程科学研究所
CN_121738124_PA

Resumen de: CN121738124A

本发明涉及水利工程技术领域,公开了基于水柱波能采集与释放的河口航道冲淤控制方法与系统,该方法利用具有底部开口的振荡水柱气室捕捉波浪能,通过气流整流单元将双向气流转换为单向高压气流并存储于高压储能容器,系统实时监测航道流速与储能容器气压,仅在流速满足预设落潮输移条件且气压高于临界阈值时,生成触发指令,响应指令后,高压气体被注入沉底的气液置换激振腔,驱动腔内水体经拉法尔喷口形成高速水力射流冲击底泥。射流结束后,腔体排气卸压,利用环境静水压力使外部水体反向回流,并卷吸悬浮泥沙。本发明通过此循环作业,实现了能源自给、智能择机作业与高效清淤,降低了运行成本与环境影响,适用于远程、无人值守的航道维护。

WAVE POOL AND WAVE GENERATOR FOR BI-DIRECTIONAL AND DYNAMICALLY-SHAPED SURFING WAVES

NºPublicación:  US20260085532A1 26/03/2026
Solicitante: 
KELLY SLATER WAVE COMPANY LLC [US]
Kelly Slater Wave Company, LLC
US_20260085532_A1

Resumen de: US20260085532A1

A wave pool and wave generating mechanism are disclosed. The wave pool includes a bathymetry that includes a dynamically shapeable reef along a length or circumference of a channel that defines the wave pool. The wave generating mechanism includes a foil that has a shape for bi-directionality based on an adjustment of a yaw angle of the foil. The foil can be further controlled to increase or decrease certain surface areas or other angles of interacting with water in the wave pool.

再循環慣性流体ポンプ及び波エンジン

NºPublicación:  JP2026509848A 25/03/2026
Solicitante: 
ローンガルホールディングス,リミテッド
JP_2026509848_A

Resumen de: US20260071605A1

Embodiments include a buoyant wave energy converter. In an embodiment, the wave energy converter comprises an upper chamber having a first fluid reservoir and a first gas pocket, and a lower chamber having a second fluid reservoir and a second gas pocket. In an embodiment, an injection tube is between and fluidly coupled to the upper chamber and the lower chamber, where the injection tube is to impel a fluid from the second fluid reservoir into the first fluid reservoir when the upper chamber, the lower chamber and the injection tube oscillate about a waterline with the upper chamber adjacent to the waterline and the lower chamber submerged below the waterline and vertically beneath the upper chamber. An effluent tube is fluidly coupled to the upper chamber and the lower chamber, where the effluent tube is to return the fluid from the first fluid reservoir to the injection tube.

WAVE-ACTUATED SYSTEM, WAVE ENERGY CONVERTER SUBSYSTEM, AND METHOD FOR OPERATING A REVERSE-OSMOSIS DESALINATION SUBSYSTEM

NºPublicación:  EP4714914A2 25/03/2026
Solicitante: 
ONEKA TECH [CA]
Oneka Technologies
EP_4714914_PA

Resumen de: EP4714914A2

An ultrafiltration device assembly comprising a float and an ultrafiltration device connected to the float. The ultrafiltration device comprises: a housing, and ultrafiltration membranes disposed in the housing. The ultrafiltration device being connected to the float such that in use: the ultrafiltration device is submerged in water; and the ultrafiltration device moves in response to the float moving with waves causing the ultrafiltration membranes to rub against each other thereby cleaning the ultrafiltration membranes.

Positioning device and system for extracting energy from a waterflow

NºPublicación:  GB2700884A 25/03/2026
Solicitante: 
FLUMILL AS [NO]
Flumill AS

Resumen de: GB2700884A

A positioning device positions a central longitudinal axis AE of an elongate body 1 at a desired angle relative to a water flow in a first direction DI. The elongate body 1 is connected at a first end at a pivot point P and is pivotable about the pivot point P in a plane parallel with the first direction DI. The positioning device comprises a foil shaped body 4 for mounting to the elongate body 1, and has a second central longitudinal axis AF, a concave side 8 and a convex side 9. The concave side 8 and the convex side 9 curve from a first edge 6 to a second edge 7, and further comprises fastening means 13 for fastening the foil shaped body 4 to a distal end 5 of the elongate body 1 such that the second central longitudinal axis AF is substantially at a right angle to both the first central longitudinal axis AE of the elongate body 1 and the first direction DI, and the concave side 8 is facing the elongate body 1. Figure 1

可调间距双重垂荡板波浪能发电装置

NºPublicación:  CN224032692U 24/03/2026
Solicitante: 
厦门嘉鲲海洋科技有限公司
CN_224032692_U

Resumen de: CN224032692U

本实用新型涉及一种可调间距双重垂荡板波浪能发电装置,属于波浪能发电装置技术领域,包括浮筒、空气透平、第一垂荡板和第二垂荡板,浮筒为具有中心空腔和环形空腔的环形圆柱筒体,中心空腔底部整体贯穿设有海水进出口,中心空腔顶部中心连通有出气管,空气透平安装于出气管内,第一垂荡板设置于浮筒的下方,浮筒的环形空腔内均匀设置有多个同步驱动第一垂荡板上下运动的第一伸缩驱动机构,第二垂荡板设置于第一垂荡板的下方,第二垂荡板上均匀设置有多个同步驱动第二垂荡板上下运动的第二伸缩驱动机构。本实用新型能够通过改变第一垂荡板与浮筒的间距、第二垂荡板与第一垂荡板的间距来改变波浪能发电装置固有频率的范围,大大增加波电转换效率。

漂浮式海洋结构物及具有其的漂浮式海洋发电装置

NºPublicación:  CN121716850A 24/03/2026
Solicitante: 
现代重工业株式会社
CN_121716850_PA

Resumen de: US2025341202A1

A floating offshore structure of the present disclosure includes: a plurality of columns; and a plurality of pontoons installed at lower ends of the columns, respectively, wherein a polygonal shape is formed by an imaginary line connecting the columns, the pontoons are installed inside the polygonal shape, a cross-sectional area in a direction parallel to sea level of the pontoons is greater than or equal to the cross-sectional area in the direction parallel to the sea level of the columns, and the pontoons may have a shape protruding outward at the lower ends of the columns.

一种应用于小型波浪能发电装置的机械传动机构及其功耗测试方法

NºPublicación:  CN121719681A 24/03/2026
Solicitante: 
西北工业大学
CN_121719681_PA

Resumen de: CN121719681A

本发明一种应用于小型波浪能发电装置的机械传动机构及其功耗测试方法,属于波浪能发电技术领域。该机械传动机构及其功耗测试方法,通过设置机械换向结构、增速机构、飞轮及配套的动力输入与输出扭矩测试系统,实现往复摆动向单向连续旋转的有效转换,并实现对机械传动链的输入功率、输出功率及能量转换效率进行准确测量,从而提升机械能捕获能力,提高波浪能传递转换效率,并为波浪能装置的性能评估与优化设计提供可靠的实验方法与技术支撑。

一种系泊条件下利用波浪能发电的新能源船舶

NºPublicación:  CN121716881A 24/03/2026
Solicitante: 
海南省海道船休闲渔业科技有限公司
CN_121716881_A

Resumen de: CN121716881A

本发明涉及新能源船舶技术领域,公开了一种系泊条件下利用波浪能发电的新能源船舶,包括动力电池、电机系统、传动机构、舵桨系统、定位系统、波浪传感器及波浪回馈控制单元。在船舶处于系泊状态时,获取波浪方向、有效波高和能量周期,控制螺旋桨轴线与波浪传播方向反向对准,并基于波浪功率模型及水池试验建立的波浪能转换效率表和螺旋桨转速表计算轴系输入功率。结合传动效率与电机效率映射构建候选发电工作点,依据综合发电效率确定最优发电扭矩并控制电机发电,将波浪能转换为电能存储至动力电池,实现系泊工况下的波浪能回馈发电。

一种波浪能收集转化装置及海洋监测设备

NºPublicación:  CN121719682A 24/03/2026
Solicitante: 
东莞理工学院
CN_121719682_PA

Resumen de: CN121719682A

本发明公开了一种波浪能收集转化装置及海洋监测设备,波浪能收集转化装置包括:浮体、转子、外壳体和摩擦电模块,浮体顶部向底部方向开设腔室,腔室内壁上设有转子轨道和配重球轨道,转子周侧滑动在转子轨道中,侧面设有滚动于配重球轨道中的配重球,外壳体镶嵌于转子内,内部滑动设有滚动壳体,滚动壳体内部设有通道,通道内部设有滚动球;摩擦电模块设置在外壳体内壁上,当浮体受到波浪的冲击开始摆动时,配重球开始沿着配重球轨道滚动,以使转子开始转动,本发明的浮体能够接收不同方向的波浪冲击,且转子通过配重球利用浮体的摆动完成通道内滚动球的驱动,将海洋波浪分散、无序的能量汇集并整理为适合发电的集中、定向的机械激励。

一种改善半潜运输船下潜稳性的浮袋工装

NºPublicación:  CN121716852A 24/03/2026
Solicitante: 
常州忆浩机械有限公司
CN_121716852_PA

Resumen de: CN121716852A

本发明涉及海洋工程技术领域,且公开了一种改善半潜运输船下潜稳性的浮袋工装,包括:浮袋本体、加强箍、对接装置、警示装置,警示装置由驱动装置和闪烁装置组成,该改善半潜运输船下潜稳性的浮袋工装,通过设置的对接装置,在对两组浮袋本体进行对接时,只需将一组浮袋本体左侧的对接头对准另一组浮袋本体右侧的对接头,将插块插入对接头内,随着插块不断的插入,插块推动抵触块移动,使得抵触块不再对插杆进行支撑,但此时插块对插杆支撑,随着插块不断的移动,当插块顶部的孔洞移动至插杆的位置后,插杆即可在复位弹簧的作用下向下移动插入孔洞内对插块进行限制,此时即可完成对两组浮袋本体的拼接。

一种利用海洋环境能的高效泵水装备

NºPublicación:  CN121701432A 20/03/2026
Solicitante: 
厦门城市职业学院(厦门开放大学)
CN_121701432_PA

Resumen de: CN121701432A

本发明公开了一种利用海洋环境能的高效泵水装备,属于海洋工程设备领域。该装备包括高压气体供给组件、连接于海底的导柱、滑动连接于导柱的中浮筒、以及分别连接于中浮筒顶部和底部的上伸缩缸与下伸缩缸。高压气体供给组件能将风能、太阳能、潮汐能或波浪能转换为压缩空气并储存。中浮筒可利用潮汐涨落也可以通过高压气体的充、放,中浮筒排、吸水量的变化,改变其重力与浮力的合力的大小,作用其沿导柱滑动,其上、下运动分别驱动上、下伸缩缸交替泵水。通过向中浮筒内充入或排出高压气体,能主动调节其浮力与重力平衡,从而大幅加快其运动频率,突破潮汐周期限制,结合海洋环境能储存的情况,实现全天候、高频次、高效的泵水作业。

一种潮汐能发电装置及发电方法和应用

NºPublicación:  CN121701383A 20/03/2026
Solicitante: 
北京千帆动力科技有限公司
CN_121701383_PA

Resumen de: CN121701383A

本发明公开了一种潮汐能发电装置,属于新能源发电技术领域;该装置主要包括:皮带轮(1)、皮带()2、风筝(3)、发电机(5)、以及发电机皮带(6)组成,其特征是:至少由两个双槽皮带轮(1)与皮带(2)组成带传动,皮带(2)上系有多个风筝(3)组成风筝串,皮带(2)沿两个双槽皮带轮(1)的下槽循环转动,皮带轮上槽通过皮带6与发电机5的皮带轮相连;风筝受水流冲击产生升力,对与其连接在一起的皮带(2)产生拖拽力,皮带(2)受风筝升力的拖拽带动皮带轮(1)下槽旋转,从而使上槽皮带轮连动,上槽皮带轮与发电机(5)的皮带轮由皮带(6)连接起来形成带传动,带动发电机(5)旋转发电,该装置结构简单,易于制作,成本低,效益高,发电稳定。

一种海浪涌浪发电装置

NºPublicación:  CN121701381A 20/03/2026
Solicitante: 
熊伟
CN_121701381_PA

Resumen de: CN119825602A

The invention relates to a sea wave generator, in particular to a device for converting mechanical energy generated by sea wave swell motion into electric energy. A sea wave surge power generation device comprises a bottom plate main body, a movable main body and a power generator set. A certain angle is formed between the bottom plate body and the sea level, and the bottom plate body is fixed to a coastal embankment. The movable main body is limited in the bottom plate main body and can move along the length direction of the bottom plate main body; the generator set comprises a generator, a flywheel, a rotating wheel, a large wheel and a belt, the generator is mounted at one end, away from the sea level, of the bottom plate body and meshed with the large wheel through a gear, the flywheel and the rotating wheel are arranged at two ends of the bottom plate body in the length direction respectively, and the flywheel, the rotating wheel and the large wheel are mounted on the bottom plate body through connecting shafts. And two ends are respectively connected with two sides of the mobile main body. The device has the advantages that ocean resources are fully utilized, long-time power generation can be achieved, and meanwhile the coast can be protected against sea wave invasion.

一种在海上发电系统中的发电浮体与运输船之间搬运能量的储能介质的方法

NºPublicación:  CN121697803A 20/03/2026
Solicitante: 
丰田自动车株式会社
CN_121697803_PA

Resumen de: US20260077835A1

A method of transferring a storage medium loaded on a power generation float from a float that generates electricity on the ocean to a transport vessel on the ocean includes a first process of fixing the power generation float to the transport vessel so that a height of a loading place of the storage medium of the power generation float is higher than a height of a storage place of the storage medium of the transport vessel, a second process of forming a first path in which the storage medium can move between the loading place of the storage medium of the power generation float and the storage place of the storage medium of the transport vessel, and a third process of moving the storage medium from the loading place of the power generation float to the storage place of the transport vessel by gravity through the first path.

水面垃圾自主清理无人船及其海洋多能联合自供电系统

NºPublicación:  CN121697802A 20/03/2026
Solicitante: 
上海海洋大学
CN_121697802_PA

Resumen de: CN121697802A

本发明提供一种水面垃圾自主清理无人船及其海洋多能联合自供电系统,包括安装有若干个传感器的船体和通过连接臂安装在所述船体上的夹具;其中,所述船体包括船板,所述船板内设有与所述摄像头通过导线电性连接的控制主板,所述控制主板内置视觉识别模块和路径规划模块,在所述视觉识别模块和路径规划模块的作用下可对水面垃圾进行精准识别与自主追踪;本发明具有以下有益效果:本发明通过融合潮汐能、风能和太阳能构建多能联合自供电体系,结合智能视觉感知与自主路径规划,并采用生态友好型垃圾回收装置,从而能够解决能源持续供给、智能识别与高效清理问题,可以实现对大范围水域漂浮垃圾的智能化、常态化和低影响清理。

基于三棱柱振子的流致振动发电装置及浮式防波堤

NºPublicación:  CN121710614A 20/03/2026
Solicitante: 
河北工程大学
CN_121710614_PA

Resumen de: CN121710614A

基于三棱柱振子的流致振动发电装置,包括基板,基板的中部的下表面转动连接有转盘,转盘与基板贴合设置,转盘的方向能够固定,转盘固定连接有与基板相互垂直的挡板,挡板向下延伸到流体中,挡板的两侧各固定连接有一个安装板,安装板的下表面固定连接有至少一个流致振动发电机构,流致振动发电机构包括两个与安装板垂直固定连接的安装槽,两个安装槽的开口相对设置,安装槽中固定设置有线性发电机,线性发电机的动力输入端固定连接有连接板,两个连接板之间固定连接有三棱柱振子。本发明设置两个相互独立并且通过挡板隔开的流致振动发电机构,整体发电效率更高,还能够根据流体的流速改变流致振动发电机构的角度,对流致振动发电机构进行保护。

一种变模态锥形导流型海流能转化装置

NºPublicación:  CN121701382A 20/03/2026
Solicitante: 
陕西卫澜深海信息科技有限公司
CN_121701382_PA

Resumen de: CN121701382A

本发明涉及水流动能高效转化技术领域。公开了一种变模态锥形导流型海流能转化装置,包括:支架、轮机支撑结构、导流型海流轮机和电发生装置;轮机支撑结构和电发生装置设置在支架上,支架和载体连接,轮机支撑结构设置两个,两个轮机支撑结构分别设置在导流型海流轮机的两端;导流型海流轮机和轮机支撑结构之间产生磁悬浮力,导流型海流轮机用于在海流的驱动下相对轮机支撑结构和电发生装置转动,导流型海流轮机和电发生装置之间产生电磁感应使电发生装置产生电能。具备了高效利用海流能、易启动的性能。

运行平稳的高可靠振荡水柱式波浪能发电船及控制方法

NºPublicación:  CN121697800A 20/03/2026
Solicitante: 
集美大学
CN_121697800_PA

Resumen de: CN121697800A

本发明涉及波浪能发电船技术领域,特别是涉及运行平稳的高可靠振荡水柱式波浪能发电船及控制方法,包括后弯管船体、空气透平、减速机、开合机构、启动电机及发电机,后弯管船体具有中空通道,空气透平进气口与中空通道的出气口连通,开合机构包括遮挡板及开合驱动电机,开合驱动电机驱动遮挡板靠近或远离空气透平的出气口,空气透平的输出轴通过减速机与发电机的输入轴传动连接,空气透平的输出轴上设有输出轴电磁离合器,启动电机的输出端通过输出轴电磁离合器与空气透平的输出轴传动连接。本发明的运行平稳的高可靠振荡水柱式波浪能发电船及控制方法控制效果好,可靠性高,在极端海况下不易损坏,生存性高。

一种减载可控式聚能型波浪能发电系统

NºPublicación:  CN121701380A 20/03/2026
Solicitante: 
大连理工大学中交第一航务工程勘察设计院有限公司中交第二航务工程局有限公司
CN_121701380_PA

Resumen de: CN121701380A

本发明涉及海洋工程和可再生能源开发利用技术领域,且公开了一种减载可控式聚能型波浪能发电系统,包括抛物线聚能墙和波浪能转换系统,抛物线聚能墙的设置有聚能部和减载部,使抛物线聚能墙可根据海浪的大小在聚能时实现自动减载,控制汇集波能的大小实现自保护以及对波浪能转换系统进行保护,波浪能转换系统由气室和涡轮发电装置组成,在气室的侧壁设置有透空环用于降低气室受力。该减载可控式聚能型波浪能发电系统,能够在提升波浪能装置发电功率、能量转换效率的同时降低装置所受波浪荷载,避免波浪能汇聚装置和波浪能装置出现结构破坏,甚至失效,保证系统高效稳定地运行。

ELECTRIC MECHANISM AND WAVE ENERGY CONVERSION DEVICE USING SAME

NºPublicación:  WO2026059163A1 19/03/2026
Solicitante: 
JEONG CHANG LOG [KR]
\uC815\uCC3D\uB85D
WO_2026059163_A1

Resumen de: WO2026059163A1

This electric mechanism comprises: an input shaft (110) which receives torque in both directions which are opposite to each other from the outside; a first output shaft (120) arranged on one side of an input shaft (110) in parallel thereto at a distance therefrom so as to output torque in a first direction; a second output shaft (130) arranged on the other side of an input shaft (110) in parallel thereto at a distance therefrom so as to output torque in a second direction opposite to the first direction; an input gear (140) coupled to the input shaft (110) so as to transfer torque in both directions; a first output gear (150) coupled to the first output shaft (120) so as to mesh with the input gear (140), thereby transferring torque in the first direction; a second output gear (160) coupled to the second output shaft (130) so as to mesh with the input gear (140), thereby transferring torque in the second direction; a first intermediate gear (170) coupled to the first output shaft (120) to be spaced apart from the first output gear (150), and configured to transfer torque in the first direction; a second intermediate gear (180) coupled to the second output shaft (130) to be spaced apart from the second output gear (160), and configured to mesh with the first intermediate gear (170), thereby transferring torque in the second direction; and a casing (190) rotatably supporting the components. The first output gear (150) is a one-way clutch gear which transfers torque in the first

OSCILLATING POWER GENERATION DEVICE

NºPublicación:  WO2026056002A1 19/03/2026
Solicitante: 
SHIJIAZHUANG JIANMU FEED CO LTD [CN]
\u77F3\u5BB6\u5E84\u5065\u7267\u9972\u6599\u6709\u9650\u516C\u53F8
WO_2026056002_A1

Resumen de: WO2026056002A1

The present invention relates to the technical field of power generation devices, and relates in particular to an oscillating power generation device, comprising a platform, a power generation assembly, and a support assembly. The power generation assembly comprises a rotation assembly, a transmission assembly, and a generator. The platform of the present invention tilts and oscillates under the action of an external energy source, then the rotation assembly rotates, and the transmission assembly drives the generator to generate power. In the present invention, springs are arranged at the bottom of the platform, and an accommodating cavity for storing liquid is arranged within the platform. The arrangement of the springs and the accommodating cavity can further increase the instability of the platform, and increase the oscillation amplitude and the oscillation frequency of the platform during oscillation, thereby achieving the purpose of continuous, high-efficiency power generation. The present invention further comprises a mast and a sail for utilizing wind energy, thereby enabling comprehensive utilization of various external energy sources, multi-source energy harvesting, and efficient energy conversion. Thus, the applicability of the device is improved, allowing the device to be used not only on sea surfaces but also at sites having abundant wind energy and vibration energy.

WAVE-POWERED DESALINATION SYSTEM

NºPublicación:  WO2026057302A1 19/03/2026
Solicitante: 
SEA POTENTIAL N I LTD [GB]
SEA POTENTIAL (N.I) LIMITED
WO_2026057302_A1

Resumen de: WO2026057302A1

A wave-powered desalination system comprising a wave energy converter (WEC) comprising a moveable body arranged to be exposed to wave motion such that said wave motion imparts kinetic energy to said movable body, said moveable body being mechanically coupled to a seawater pump adapted to pump sea water through a reverse osmosis membrane of a reverse osmosis (RO) desalination system to thereby desalinate said seawater, wherein an electric motor/generator is arranged to selectively drive or be driven by the mechanical coupling between the moveable body and the seawater pump, a controller being provided for controlling the operation of the electric motor/generator to control the resistance to movement exerted on the moveable body via the mechanical coupling to achieve an optimised linear damping profile.

Elongate wave energy generation devices and methods of using the same

NºPublicación:  AU2026201617A1 19/03/2026
Solicitante: 
VITALNRG INC
Vitalnrg, Inc
AU_2026201617_A1

Resumen de: AU2026201617A1

An elongate energy conversion device vertically oriented in a body of water with an oscillating core that converts wave movement into oscillating movement of a central housing, the housing including a set of ballscrews and threaded shafts which are then rotated and attached with generators to convert the rotational motion into electrical energy. The oscillating core is substantially enclosed by a movement resistant shell with a horizontally-extending heave plate which actuates the core depending on whether the oscillating core is being pulled upward from an attached float impacted by a wave crest or downward from an attached weight during a wave fall. ar a r

METHOD FOR TRANSFERRING ENERGY STORAGE MEDIUM BETWEEN POWER GENERATION FLOAT AND TRANSPORT VESSEL IN OFFSHORE POWER GENERATION SYSTEM

NºPublicación:  US20260077835A1 19/03/2026
Solicitante: 
TOYOTA JIDOSHA KK [JP]
TOYOTA JIDOSHA KABUSHIKI KAISHA
US_20260077835_A1

Resumen de: US20260077835A1

A method of transferring a storage medium loaded on a power generation float from a float that generates electricity on the ocean to a transport vessel on the ocean includes a first process of fixing the power generation float to the transport vessel so that a height of a loading place of the storage medium of the power generation float is higher than a height of a storage place of the storage medium of the transport vessel, a second process of forming a first path in which the storage medium can move between the loading place of the storage medium of the power generation float and the storage place of the storage medium of the transport vessel, and a third process of moving the storage medium from the loading place of the power generation float to the storage place of the transport vessel by gravity through the first path.

Passive pitch system

NºPublicación:  GB2700826A 18/03/2026
Solicitante: 
PROTEUS MARINE RENEWABLES LTD [GB]
Proteus Marine Renewables Limited
WO_2025262423_PA

Resumen de: GB2700826A

A passive pitch system for a tidal turbine comprises a rotor hub with a blade about to rotate about a pitch axis, and with means 22, 26 to apply a moment about the pitch axis to the blade root. An adjustment assembly includes an elongate element 31 able to apply force to the blade and having a stop member 41 mounted thereon, and a resilient bias 30 such as a spring extending with the elongate element 41. The system further includes an adjustment element 50, 60 which can adjust the length of the spring 30 and hence the preload. When a hydrodynamic moment acting on the blade about the pitch axis exceeds the moment applied by the resilient bias, the blade rotates about the pitch axis, which moves the elongate element and hence the stop member from a position abutting the adjustment element to a position away from the adjustment element. Figure 7D

Wave-powered desalination system

NºPublicación:  GB2644010A 18/03/2026
Solicitante: 
SEA POTENTIAL N I LTD [GB]
Sea Potential (N.I) Ltd
GB_2644010_PA

Resumen de: GB2644010A

The system comprises a wave energy converter comprising a moveable body 2 exposed to wave motion coupled to a seawater pump 6 adapted to pump seawater through a reverse osmosis desalination system. An electric motor/generator 12 drives or is driven by the mechanical coupling between the movable body and the pump, a controller controlling the operation of the motor to control the resistance to movement exerted on the body. The controller may have two modes of operation, the first driving the mechanical coupling and the second absorbing energy from the mechanical coupling, possibly as a function of the speed of movement of the body 2. The controller may determine the mode of operation based on the predetermined speed of movement of the body. A battery may be electrically coupled to the motor to power the motor in the first mode of operation and be charged in the second mode of operation. In the first mode the motor may increase the driving force thereby reducing the resistive force experienced by the body. A cable may extend between the body and the pump, wrapped around a pulley 10 which is coupled to the motor. The pump may be a piston pump.

WAVE ENERGY CONVERTER

NºPublicación:  EP4709980A1 18/03/2026
Solicitante: 
BREAKING WAVE TECH LTD [CA]
Breaking Wave Technologies Ltd
AU_2023447621_PA

Resumen de: AU2023447621A1

A wave energy converter is provided. The converter includes a first frame with buoyancy means, and a second frame with buoyancy means and a displaceable member. The first frame is hingedly connected to the second frame. The converter further includes a linkage assembly with a first end hingedly connected to the first frame, and a second end that is actuatingly engageable with the displaceable member. The linkage assembly is configured to translate hinged motion between the first frame and the second frame to the displaceable member. A generator may be connected to the displaceable member for generating electricity from pressure pulses from compression and extension of the displaceable member.

SWING TYPE POWER GENERATION DEVICE

NºPublicación:  EP4711610A1 18/03/2026
Solicitante: 
SHIJIAZHUANG JIANMU FEED CO LTD [CN]
Shijiazhuang Jianmu Feed Co., Ltd
EP_4711610_PA

Resumen de: EP4711610A1

The invention relates to the technical field of power generation devices, and in particular to a swing type power generation device, comprising a workbench, power generation components, and support components; the power generation component comprises a rotating component, a transmission component, and a generator. The workbench of the invention tilts and swings under the action of external energy, and then the rotating component rotates, driving the generator to generate electricity through the transmission component. A spring is provided at the bottom of the workbench and an accommodating cavity for storing liquid is provided inside the workbench. The arrangement of the spring and the accommodating cavity can further increase the instability of the workbench, increase the swing amplitude and swing frequency of the workbench when it swings, and make the workbench produce continuous swinging under the action of external force, thereby achieving the purpose of continuous and efficient power generation.

一种海上光伏发电与波浪能发电一体式发电系统

NºPublicación:  CN224006636U 17/03/2026
Solicitante: 
中国电建集团西北勘测设计研究院有限公司
CN_224006636_U

Resumen de: CN224006636U

本实用新型公开了一种海上光伏发电与波浪能发电一体式发电系统,属于新能源技术领域,能够解决现有光伏发电系统为降低环境荷载的影响而导致建造成本较高的问题。所述系统包括:固定式光伏支架,其底部固定在海床上,其顶部高于海面;漂浮式光伏支架,漂浮在固定式光伏支架围合形成的海面合围区域内,且与固定式光伏支架柔性连接;多个光伏组件,设于固定式光伏支架和漂浮式光伏支架上;波浪能发电装置,设于固定式光伏支架上,且位于海面上,用于将波浪能转化为电能。本实用新型用于新能源发电。

一种海水介质发电装置

NºPublicación:  CN224002834U 17/03/2026
Solicitante: 
杨丽珍
CN_224002834_U

Resumen de: CN224002834U

本实用新型涉及海水发电领域,公开了一种海水介质发电装置,包括支撑架,所述支撑架的顶部固定连接有支撑杆,所述支撑杆的外壁固定连接有发电机框,所述发电机框的中心处通过支架转动连接有转杆,所述转杆的外壁固定连接有叶片,所述发电机框的外壁套设有固定框,所述支撑架的顶部转动连接有螺杆,所述支撑架的顶部固定连接有滑杆,所述螺杆的外壁固定连接有转盘,所述螺杆的外壁螺纹连接有滑座,所述滑杆的外壁滑动连接有支撑块。本实用新型中,通过设置有螺杆、滑杆、滑座等结构,利用固定框上的防鱼网与滤网能够避免鱼群与发电装置的叶片接触,避免鱼类接触导致的发电效率降低,保证防鱼效果从而确保发电效率。

一种氨工质循环压缩做功发电系统以及包含其的水上动力系统

NºPublicación:  CN224002855U 17/03/2026
Solicitante: 
尹应武
CN_224002855_U

Resumen de: CN224002855U

本实用新型提供了一种以液氨/水作为循环工质高效进行热功转化的新系统,能够回收低品位显热,再用氨压机压缩增温循环工质气化热源回收潜热,大幅提高热功或热电转化效率。本实用新型有效利用了工质液化潜热作为其循环气化的内热源,可大幅减少能源消耗量和工质循环量,可以创造更大的经济社会环保效益,大幅节能减排。

一种基于对转式水轮机的系泊观测平台

NºPublicación:  CN121676215A 17/03/2026
Solicitante: 
陕西卫澜深海信息科技有限公司
CN_121676215_PA

Resumen de: CN121676215A

本发明涉及水下原位供电技术领域,公开了一种基于对转式水轮机的系泊观测平台,包括:壳体,壳体内具有容纳腔,储能装置放置在容纳腔中;系泊结构,系泊结构和壳体连接,系泊结构用于将壳体系泊在海流中;能量转换装置,能量转换装置设置两个,两个能量转换装置和壳体转动连接,两个能量转换装置沿壳体的轴线方向同轴设置,两个能量转换装置分别和储能装置电性连接;系泊时第一个能量转换装置相对壳体产生第一力矩,第二个能量转换装置相对壳体产生第二力矩;第一力矩和第二力矩大小相等且方向相反。本申请通过两个能量转换装置产生了两个大小相等且方向相反的力矩,使得观测平台在海流的作用下保持平衡,消除了观测平台的倾覆风险。

一种软刚臂单点系泊的波浪能发电装置

NºPublicación:  CN121676216A 17/03/2026
Solicitante: 
集美大学
CN_121676216_PA

Resumen de: CN121676216A

本发明涉及海洋能开发利用技术领域,具体为一种软刚臂单点系泊的波浪能发电装置,包括浮式结构物、系泊支架、铰接发电模块、系泊腿、系泊臂、柱铰轴和系泊塔架,系泊支架固定连接在浮式结构物的上方,系泊腿的一端通过铰接发电模块连接到系泊支架上,系泊腿的另一端通过另一套铰接发电模块连接到系泊臂的下端,系泊臂的上端通过柱铰轴连接到系泊塔架上,系泊塔架固定安装于海床上。本发明可将浮体六自由度的运动都进行能量俘获从而转换波浪能;通过软刚臂单点系泊系统,可以适应风浪方向的变化,顺应风标效应;软刚臂单点系泊系统不仅可以对波浪能发电装置进行定位,同时还对波浪能量进行转换,即软刚臂单点系泊系统还具有波浪能转换功能。

一种灵活调节的双机组垂直轴水轮机

NºPublicación:  CN121676219A 17/03/2026
Solicitante: 
国家电投集团科学技术研究院有限公司
CN_121676219_PA

Resumen de: CN121676219A

本发明公开了一种灵活调节的双机组垂直轴水轮机,包括第一旋转轴、第二旋转轴、第一齿轮、第二齿轮和三角形支架,所述第一旋转轴上设有第一叶片,所述第二旋转轴上设有第二叶片,所述三角形支架包括三个首尾依次铰接相连的伸缩杆,其中所述三角形支架中的两个顶点分别可转动地与所述第一旋转轴和所述第二旋转轴相连,所述三角形支架的第三个顶点上可转动地设有第三齿轮。本发明的双机组垂直轴水轮机,通过可调节的三角形支架,可以根据不同海域的水流特点及实际运行状态,对两台垂直流水轮机之间的间距、相位和旋转方向进行灵活调节,具有较大的可调可控性,可以最大化地利用潮流能发电,提高能量捕获效率。

一种波浪能推进的无人船舶

NºPublicación:  CN121676218A 17/03/2026
Solicitante: 
靖江市煜昊紧固件制造有限公司
CN_121676218_PA

Resumen de: CN121676218A

本发明公开了一种波浪能推进的无人船舶,属于无人船舶技术领域,其包括:船体,所述船体的后端设置有安装机构、推进机构和两组能量回收机构,所述安装机构实现对推进机构的固定,所述推进机构包括:安装台、转向电机、驱动电机和螺旋桨;所述能量回收机构包括:安装板、升降板、连接板、L型推板、第一发电机和第二发电机,所述升降板滑动安装在安装板的后侧,所述连接板滑动安装在升降板的后侧,所述连接板的底端与L型推板固定连接,所述连接板的顶部固定安装有齿条。本发明通过设置波浪能回收与推进一体化机构,实现了无人船舶能源自给与高效推进的双重功能,整体结构紧凑且适应复杂海况,有效提升无人船舶的续航能力与作业可靠性。

一种基于液态介质空间同步转换的自持式波轮机海浪发电装置

NºPublicación:  CN121676217A 17/03/2026
Solicitante: 
陕西璞真海浪发电科技有限公司
CN_121676217_PA

Resumen de: CN121676217A

本发明公开了一种基于液态介质空间同步转换的自持式波轮机海浪发电装置。该装置摒弃了低效的液‑气转换和时序分别转换模式,核心创新在于:1 在海水介质中直接转换,利用液态介质特性构建大型刚性结构;2 空间同步转换,通过圆周上固定攻角的对称翼阵列,使波浪双向垂向动能在任意时刻都能被同步转换为单向旋转力矩,效率远超威尔斯涡轮机;3 内秉扭矩自平衡,采用一对反向旋转的波轮机单元,使反扭矩在系统内部抵消,从而无需外部固定底座,实现自持漂浮发电。本发明结合大尺度稳定与深度自适应设计,并优化了环齿驱动与三向约束滚轮支撑结构,实现了高效率、超大功率、高可靠性的波浪能直接发电,为海浪能商业化开发提供了颠覆性解决方案。

一种热能利用系统、使用方法及船

NºPublicación:  CN121676314A 17/03/2026
Solicitante: 
广州海洋地质调查局
CN_121676314_PA

Resumen de: CN121676314A

本申请公开了一种热能利用系统、使用方法及船,热能利用系统包括设备冷却循环管路,输出热的冷却介质;海水管路内流冷海水;温差能发电模块包括第一换热区、第二换热区和工质循环回路,设备冷却循环管路与第一换热区对应换热,海水管路与第二换热区对应换热,第一换热区和第二换热区串联设置于工质循环回路,工质循环回路内,液态工质吸热且气态工质放热,液态工质与气态工质在工质循环回路中转换形态并将能量转化为电能。使用方法包括冷却模式、最大发电模式、调频模式、应急模式,本申请提供的船可应用热能利用系统和其使用方法,可以为深水钻井船。

波力利用装置

NºPublicación:  JP2026046377A 13/03/2026
Solicitante: 
本田技研工業株式会社
JP_2026046377_PA

Resumen de: JP2026046377A

【課題】多様なエネルギー需要に応じて、波力から生成された動力を複数の作業部に効率良く供給する。【解決手段】波力利用装置1は、波力から動力を生成するための動力生成部3と、動力生成部3からの動力を伝達する動力伝達部4と、動力伝達部4からの動力によって作業を行う複数の作業部5~7と、を備え、複数の作業部5~7は、動力伝達部4からの動力によって発電を行う発電装置5と、動力伝達部4からの動力によって気体の圧縮及び/又は膨張を行う圧縮膨張装置6と、動力伝達部4からの動力によって物体を破砕する破砕装置7と、のうちの少なくとも2つを含む。【選択図】図1

海中内波動力式力発電

NºPublicación:  JP2026046975A 13/03/2026
Solicitante: 
佐藤真郷
JP_2026046975_PA

Resumen de: JP2026046975A

【課題】世界中の貧困等が原因で学業に着けない人達や、国際的なエネルギーの変革や持続可能なエネルギーの問題を解消する。【解決手段】各省庁及び各国と情報を供有し、政府間で真険に不必要となる様な電力の発電所の所の土地の利用方法等を官民で解決にとりくむ。【選択図】図1

基于对称翼阵列空间同步转换与能量富集层最优捕获的波浪能量直接利用方法及装置

NºPublicación:  CN121654551A 13/03/2026
Solicitante: 
陕西璞真海浪发电科技有限公司
CN_121654551_PA

Resumen de: CN121654551A

本发明公开了一种基于对称翼阵列空间同步转换与能量富集层最优捕获的波浪能量直接利用方法及装置。该方法以对称翼阵列为能量转换核心,通过五大原理协同:1)构建大尺度稳定基准;2)识别并将对称翼阵列精确部署于波浪能量富集层,即中心深度在静水面下0.2H~0.4H,从原理上纠正了将装置置于能量贫瘠深水区的错误;3)实现空间同步转换,使阵列在任意时刻同步利用波浪双向动能;4)设计内秉自持稳定架构。本发明确立了高效波浪能转换的完整原理框架,可衍生出自持式高速波浪推进器与大功率波浪发电装置,实现了对现有技术的根本性超越。

一种海上重力储能系统及方法

NºPublicación:  CN121650818A 13/03/2026
Solicitante: 
程晓亮
CN_121650818_PA

Resumen de: CN121650818A

本发明公开了一种海上重力储能系统及方法,所述系统包括漂浮在水面或悬浮在水下一定深度的大型钢性浮体或多个通过一定框架结构连接在一起的浮体。所述浮体上设置重物,重物在下沉至海底的过程中发电。把重物从海底拉上来的过程中储能。海底重物通过多个主动和被动声纳加GPS进行联合定位并把数据存入数字地图系统。也可以按照数字地图系统通过声纳加光学摄像头找到海底重物。系统水平位置的保持可以通过多种浮体的多个螺旋桨的推力进行动态调节。当采用把系统悬浮于水下一定深度运行的方法时,系统的垂直稳定性可以通过调节浮体的向上拉力来调节或锚碇系统的向下拉力来调节。

一种波浪力发电转换装置和发电系统

NºPublicación:  CN121654553A 13/03/2026
Solicitante: 
深圳中南科学研究中心有限公司
CN_121654553_PA

Resumen de: CN121654553A

本发明涉及波浪发电技术领域,尤其是一种波浪力发电转换装置和发电系统,包括:浮体以及滑动连接于所述浮体中的拉杆组件;所述浮体的内部安装有至少一个发电单元及至少一个共振单元,所述发电单元和所述拉杆组件动力连接,当所述浮体上下浮动时,所述拉杆组件驱使所述发电单元发电,所述共振单元用于在所述浮体上下浮动时,驱使所述浮体与波浪产生共振,本发明中通过采用漂浮在水面的浮体,在波浪上下波动的驱动下使其和拉杆组件产生相对运动,借助于该运动来驱使发电单元进行发电,如此以达到波浪力发电目的;其次,本发明中采用共振单元的配合拉杆组件和浮体之间的相对运动,可捕获更多的波浪能,使浮体与波浪产生共振,捕获更多的能量发电。

一种水平波浪能全向-纵向转换的发电装置

NºPublicación:  CN121654552A 13/03/2026
Solicitante: 
广州蓝色能源研究院
CN_121654552_PA

Resumen de: CN121654552A

本发明涉及海洋能发电技术领域,具体涉及一种水平波浪能全向‑纵向转换的发电装置。该装置用于解决现有波浪能发电装置对水平方向波浪能收集效率低、难以充分利用多向波浪力的问题。其技术方案要点包括:外壳上方的支撑架通过多个第一万向节连接周向分布的浮板,接收任意方向的水平波浪力,外壳内部中心竖直设置的液压伸缩机构通过第二万向节与支撑架中心连接,形成两级传动机构,将水平波浪力转换为纵向机械运动,锁轴架约束缸体沿轴向移动,缸体驱动周围环绕布置的多个摩擦纳米发电单元产生电能,发电单元采用插拔式相对运动结构,产生的电能经储能组件处理后输出。本装置主要用于高效收集海洋波浪能,为海洋监测设备供电。

用于海浪能收集的泡沫铝压电复合浮子装置

NºPublicación:  CN121664021A 13/03/2026
Solicitante: 
安徽省新方尊自动化科技有限公司
CN_121664021_PA

Resumen de: CN121664021A

本发明涉及海洋可再生能源技术领域,具体地说,涉及用于海浪能收集的泡沫铝压电复合浮子装置。包括主浮子和副浮子,副浮子的底端和主浮子上表面固定连接,主浮子和副浮子为泡沫铝浮子,主浮子的内表面滑动连接有支撑柱,副浮子的内表面插设有固定管,支撑柱的上表面固定连接有多个推杆,多个推杆插设在固定管的内表面,固定管的表面固定连接有固定架,固定架的表面固定连接有悬臂架,悬臂架的底端固定连接有弹性支架,通过让主浮子和副浮子采用泡沫铝材质,兼具轻质、高强度、耐腐蚀特性,主浮子和副浮子的设置能够增加与海浪的接触面积,从而能够更加充分的捕捉海浪的上下起伏机械能,以此提高能量捕获的效率。

基于对转柔性叶片水轮机的自平衡水下供能平台

NºPublicación:  CN121654550A 13/03/2026
Solicitante: 
陕西卫澜深海信息科技有限公司
CN_121654550_PA

Resumen de: CN121654550A

本发明涉及水下原位供电技术领域,公开了基于对转柔性叶片水轮机的自平衡水下供能平台,包括:主体,主体具有容纳腔,储能装置放置在容纳腔中;系泊结构,系泊结构和主体连接,系泊结构用于将主体系泊在海流中;第一自供能装置,第一自供能装置和主体同轴转动连接,第一自供能装置和储能装置电性连接,系泊时第一自供能装置相对主体产生第一力矩;第二自供能装置,第二自供能装置和主体同轴转动连接,第二自供能装置和储能装置电性连接,系泊时第二自供能装置相对主体产生第二力矩;第一力矩和第二力矩大小相等且方向相反。本申请通过第一自供能装置和第二自供能装置产生了两个大小相等且方向相反的力矩,消除了供能平台的倾覆风险。

A Buoyant Actuator and a Wave Energy Conversion System Incorporating a Buoyant Actuator

NºPublicación:  AU2026201307A1 12/03/2026
Solicitante: 
CETO IP PTY LTD
CETO IP PTY LTD
AU_2026201307_A1

Resumen de: AU2026201307A1

Abstract The present invention a buoyant actuator (11) for use in a system which converts wave motion to energy. The buoyant actuator (11) comprises a body (19) which presents an exterior surface. The body (19) provides at least one first tank (23) and at least one second tank (25), whereby an upper portion (21) of the body (19) is located above a fluid surface (12) of a fluid body (13) when the buoyant actuator is in a transportation position. When in the transportation position a volume of each of the at least one first tank (23) and the at least one second tank (25) above a waterline (112) of the buoyant actuator (11) is substantially empty. eb e b Figure 1 23a 25c 25a 23c 23b 25b Figure 2 eb e b a c a c b b

Inertial hydrodynamic pump and wave engine

NºPublicación:  AU2026201233A1 12/03/2026
Solicitante: 
LONE GULL HOLDINGS LTD
Lone Gull Holdings, Ltd
AU_2026201233_A1

Resumen de: AU2026201233A1

WO 2021/168125 PCT/US2021/018596 The present invention provide a method for manufacturing hydrogen, comprising: deploying a hydrodynamic pump to an ocean, the hydrodynamic pump including an inertial water tube comprising a constricting feature to pressurize ocean water, a pressurized fluid reservoir partially filled with ocean water transported from the ocean to the pressurized fluid reservoir via the inertial water tube, a turbine energized by a flow of pressurized ocean water exiting the pressurized fluid reservoir, an electrical generator coupled to the turbine, an electrolyzer, and a hydrogen tank; transmitting electrical energy from the electrical generator to the electrolyzer to generate hydrogen; and storing the hydrogen in the hydrogen tank. eb e b

Inertial hydrodynamic pump and wave engine

NºPublicación:  AU2026201234A1 12/03/2026
Solicitante: 
LONE GULL HOLDINGS LTD
Lone Gull Holdings, Ltd
AU_2026201234_A1

Resumen de: AU2026201234A1

WO 2021/168125 PCT/2021/018596 The present invention provides a wave engine, comprising: a buoy configured to rise and fall under an influence of a body of water; a hollow tube depending from the buoy and having a water ingress/egress mouth at a lower end and a water discharge spout at an upper end, and further comprising an interior including a wall defining a water accelerating surface adapted to eject water through the water discharge spout in response to an increasing hydrodynamic pressure within the interior of the hollow tube; a water collection reservoir in fluid communication with the water discharge spout; a first effluent conduit for diverting at least a portion of water collected in the water collection reservoir from the water collection reservoir; and a first electrical energy generator for converting an energy of a portion of water in the first effluent conduit into electrical energy. eb e b

SWING TYPE POWER GENERATION DEVICE

NºPublicación:  US20260074589A1 12/03/2026
Solicitante: 
SHIJIAZHUANG JIANMU FEED CO LTD [CN]
Shijiazhuang Jianmu Feed Co., Ltd
US_20260074589_PA

Resumen de: US20260074589A1

A swing type power generation device, comprising a workbench, power generation components, and support components; the power generation component comprises a rotating component, a transmission component, and a generator. The workbench of the invention tilts and swings under the action of external energy, and then the rotating component rotates, driving the generator to generate electricity through the transmission component. A spring is provided at the bottom of the workbench and an accommodating cavity for storing liquid is provided inside the workbench. The arrangement of the spring and the accommodating cavity can further increase the instability of the workbench, increase the swing amplitude and swing frequency of the workbench when it swings, and make the workbench produce continuous swinging under the action of external force, thereby achieving the purpose of continuous and efficient power generation.

BOAT WITH AN ENERGY RECOVERY APPARATUS FROM BOAT MOTION

NºPublicación:  AU2024331225A1 12/03/2026
Solicitante: 
FERRARI S P A
FERRARI S.P.A
AU_2024331225_PA

Resumen de: AU2024331225A1

A boat (1) includes a hull (2), a first mechanism (4) coupled to the hull (2) and comprising a mass (3) suspended relative to the hull (2) by at least one kinematic chain (5) comprising at least one slide (6) with a translatory degree of freedom along a first straight axis (K), an electric mo tor- genera tor (8), which comprises a rotor (9) rotating about a rotor axis (R) and is configured to convert a kinetic energy of a rotation of the rotor (9) into electrical energy, and a second mechanism (10) configured to transform a reciprocating translatory motion of the slide (6) along the first straight axis (K) into a corresponding rotation of the rotor (9) around the rotor axis (R) according to a single direction of rotation.

RECIRCULATING INERTIAL HYDRODYNAMIC PUMP AND WAVE ENGINE

NºPublicación:  US20260071605A1 12/03/2026
Solicitante: 
LONE GULL HOLDINGS LTD [US]
Lone Gull Holdings, Ltd
US_20260071605_PA

Resumen de: US20260071605A1

Embodiments include a buoyant wave energy converter. In an embodiment, the wave energy converter comprises an upper chamber having a first fluid reservoir and a first gas pocket, and a lower chamber having a second fluid reservoir and a second gas pocket. In an embodiment, an injection tube is between and fluidly coupled to the upper chamber and the lower chamber, where the injection tube is to impel a fluid from the second fluid reservoir into the first fluid reservoir when the upper chamber, the lower chamber and the injection tube oscillate about a waterline with the upper chamber adjacent to the waterline and the lower chamber submerged below the waterline and vertically beneath the upper chamber. An effluent tube is fluidly coupled to the upper chamber and the lower chamber, where the effluent tube is to return the fluid from the first fluid reservoir to the injection tube.

APPARATUS TO PRODUCE ELECTRIC ENERGY FOR WATER VEHICLE AND METHOD TO USE THIS APPARATUS

NºPublicación:  US20260070644A1 12/03/2026
Solicitante: 
TIUSANEN JUKKA PEKKA [FI]
JPTUF OY [FI]
TIUSANEN Jukka-Pekka,
JPTUF OY
US_20260070644_PA

Resumen de: US20260070644A1

An apparatus fixed to a water vehicle to produce electric energy has a turbine rotor supported under the water surface in a horizontal operation position and to it fixed first axis to transfer the rotation motion from the rotor and in which apparatus the rotor has been supported and adapted into with it same centered cylinder that has been fixed to the frame with vertically to it fixed joint that is situated a vertical distance (a) from the rotor and adapted to turn in relation to the frame that has been fixed to the water vehicle round the joint axis and to settle into the direction of the water flow by its power and where the first part of the second axis has been adapted same centered with the joint axis and the first and the second axis have been connected to each other with a rotation movement direction changer when the horizontal rotation of the first axis has been adapted to change into a vertical rotation movement in the first part and the second axis has been connected to a generator to transfer the rotation movement into it and the generator has been connected to a battery to store the generated electric energy to it.

Inertial hydrodynamic pump and wave engine

NºPublicación:  AU2026201235A1 12/03/2026
Solicitante: 
LONE GULL HOLDINGS LTD
Lone Gull Holdings, Ltd
AU_2026201235_A1

Resumen de: AU2026201235A1

WO 2021/16125 PCT/US2021/018596 The present invention provides a hydrodynamic pump, comprising: an upper hull enclosure adapted to float at a surface of a body of liquid; a liquid collecting chamber at least partially housed within the upper hull enclosure, the liquid collecting chamber adapted to confine liquid and gas at elevated pressure; a liquid pressurizing columnar conduit extending below the upper hull enclosure, the liquid pressurizing columnar conduit comprising an ingress orifice disposed outside the upper hull enclosure, an injection orifice opening into the liquid collecting chamber, and an interior wall defining a liquid pressurizing surface adapted to pressurize liquid in the liquid pressurizing columnar conduit when the hydrodynamic pump oscillates vertically in the body of liquid to inject liquid into the liquid collecting chamber; a first effluent conduit configured to drain liquid from the liquid collecting chamber and having an effluent port for discharging liquid from the first effluent conduit; and a first flow governor adapted to maintain a liquid pressure gradient between the liquid collecting chamber and the effluent port. WO 2021/16125 PCT/US2021/018596 eb e b

水力発電のパワーハーベスティング装置

NºPublicación:  JP2026508660A 11/03/2026
Solicitante: 
オークスリミテッド
JP_2026508660_PA

Resumen de: GB2628167A

Disclosed is a hydroelectric power system for use with a moving body of water and which includes a conveyor 114 which is supported by two rotating members 110,112 connected to a support 102, the conveyor having paddles 116 for interacting with the flowing water 106 to extract the energy and the support being extendable to control the position of the conveyor. There may be an electricity generator connected to the conveyor via at least one of the rotating members. The change in position may be to keep the conveyor at the surface of the water. There may be a water level sensor and the paddles may be configured as pairs forming chevrons, there may be a gap at the tip of the chevron. There may be a guard to prevent debris from getting into the apparatus, and there may be a guide to direct more water flow into the paddles.

APPARATUS FOR GENERATING ENERGY FROM A WAVE

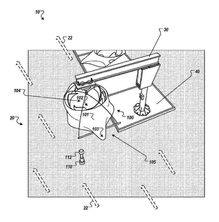
NºPublicación:  EP4705627A1 11/03/2026
Solicitante: 
SWELLGEN LTD [NZ]
SwellGen Limited
KR_20260027144_PA

Resumen de: AU2024265268A1

A wave powered apparatus for generating rotational mechanical energy, having a buoyant energy generation capsule and upper and lower inclined guide surfaces to restrain and guide movement of the energy generation capsule. The apparatus is partly submerged in a body of water and the energy generation capsule rolls in a unidirectional manner about a capsule axis of rotation along the guide surfaces, rolling up the incline in response to forces from waves in the body of water and rolling down the incline in response to gravitational force.

SYSTEMS AND METHODS FOR REMOVAL AND SEQUESTRATION OF ACIDITY FROM SURFACE SEAWATER

NºPublicación:  EP4705626A1 11/03/2026
Solicitante: 
LONE GULL HOLDINGS LTD [US]
Lone Gull Holdings, Ltd
AU_2024262429_A1

Resumen de: AU2024262429A1

A method by which an environmental energy (e.g., wave energy) is harvested, converted into electrical power, and thereafter used to electrolyze seawater into hydrogen and chlorine gases. Those gases are recombined into hydrogen chloride from which is formed hydrochloric acid solution which is diluted and deposited at a depth sufficient to ensure its neutralization and sequestration for a significant period of time (e.g., for over a millennium). By removing chloride ions from a portion of the sea adjacent to its upper surface and depositing them into a portion of the sea more adjacent to its bottom, acidity is shifted from the surface to base of the sea, and the surface ocean is given a greater ability to absorb and buffer atmospheric carbon dioxide without a corresponding increase in acidity.

INERTIAL HYDRODYNAMIC PUMP AND WAVE ENGINE

NºPublicación:  EP4708644A2 11/03/2026
Solicitante: 
LONE GULL HOLDINGS LTD [US]
Lone Gull Holdings, Ltd
EP_4708644_A2

Resumen de: EP4708644A2

A buoyant hydrodynamic pump is disclosed that can float on a surface of a body of water over which waves tend to pass. The pump incorporates an open-bottomed tube with a constriction. The tube partially encloses a substantial volume of water with which the tube's constriction interacts, creating and/or amplifying oscillations therein in response to wave action. Wave-driven oscillations result in periodic upward ejections of portions of the water inside the tube that can be collected in a reservoir that is at least partially positioned above the mean water level of the body of water, or pressurized by compressed air or gas, or both. Water within such a reservoir may return to the body of water via a turbine, thereby generating electrical power (making the device a wave engine), or else the device's pumping action can be used for other purposes such as water circulation, propulsion, or cloud seeding.

A ROTATABLE BUOY FOR A WAVE ENERGY CONVERTER TO PROVIDE INCREASED ENERGY CAPTURE

NºPublicación:  EP4707581A2 11/03/2026
Solicitante: 
WALL BRIAN [IE]
WALL, Brian
EP_4707581_PA

Resumen de: EP4707581A2

The present invention relates to the use of marine devices for ocean energy extraction.The invention provides for a rotatable buoy (2) that uses aligned vanes (133) to keep the buoy (2) oriented parallel with the wave front to enable the use of longer buoys (2), and therefore larger buoys (2), to increase energy capture for a wave energy converter.

一种潮差自调节式波浪能发电装置

NºPublicación:  CN121630628A 10/03/2026
Solicitante: 
智清众维科技(北京)有限公司
CN_121630628_PA

Resumen de: CN121630628A

本发明涉及波浪能发电技术领域,具体涉及一种潮差自调节式波浪能发电装置,包括:发电单元与浮体连接;发电单元包括发电单元和牵引构件;发电单元与牵引构件连接,牵引构件的两端分别连接悬浮配重单元和沉底单元;当潮差变化时,发电单元与所述牵引构件进入待发电状态,浮体带动所述悬浮配重单元同步上下运动,使发电装置达到平衡状态,促使发电单元与牵引构件进入发电状态,将浮体随波浪上下运动的机械能转化为电能。本发明通过悬浮配重单元,使牵引构件在不同潮差条件下均保持适当的张紧状态,无需额外的机械调节机构即可自动适应潮差的升降,有效避免传统装置中因牵引松弛或过度拉伸导致的发电效率降低和结构疲劳问题。

一种基于波浪能预测模型的液压阻尼自适应调节方法及电子设备

NºPublicación:  CN121634836A 10/03/2026
Solicitante: 
宁波大学
CN_121634836_PA

Resumen de: CN121634836A

本发明公开了一种基于波浪能预测模型的液压阻尼自适应调节方法及电子设备,涉及液压阻尼调节领域,本发明方法通过将波浪能预测模型与液压阻尼自适应调节机制深度耦合,实现了对齿轮齿条式PTO系统的前瞻性智能控制。其在训练阶段依次轮换目标装置与邻域装置,构建覆盖预设海域范围内浮标的通用预测模型;在运行阶段,基于最新多变量观测时序数据构建模型输入,输出目标装置对应浮标所处位置的未来波浪能预测值,并据此提前调节液压油路上控制阀的开度,同时结合装置实际运行状态进行反馈修正。突破了传统PTO系统仅依赖当前状态反馈的局限,显著提升了阻尼调节的预见性与鲁棒性,有效避免了小浪工况下的能量捕获不足和大浪冲击下的机械过载风险。

ブロック

NºPublicación:  JP2026041134A 10/03/2026
Solicitante: 
株式会社不動テトラ
JP_2026041134_PA

Resumen de: JP2026041134A

【課題】消波ブロック、被覆ブロック、根固ブロック等としての本来の機能を維持して、コンクリートブロックに作用する波力を利用した波力発電又は流体力を利用した流体力発電を行うことができるブロックを提供する。【解決手段】ブロック1は、貫通孔部11aを有し、沿岸域、海域、河川区域又は放流設備に配置されるブロック本体10と、貫通孔部11aの内部に配置され、貫通孔部11aに流入する流体Wによって発電するタービン発電機2と、を備える。また、タービン発電機2には、送電線5が接続される。【選択図】図1

化学物質を回収および処理する船舶ならびに海洋における流体の移送のための方法

NºPublicación:  JP2026508169A 10/03/2026
Solicitante: 
ローンガルホールディングス,リミテッド
JP_2026508169_PA

Resumen de: US2025340275A1

Embodiments disclosed herein include a vessel for floating and traveling adjacent to an upper surface of a body of water. In an embodiment, the vessel comprises a support structure, a first floatation chamber coupled to the support structure, a second floatation chamber coupled to the support structure, the second floatation chamber laterally spaced apart from and fluidly coupled to the first floatation chamber, and a third floatation chamber coupled to the support structure, the third floatation chamber laterally spaced apart from the first floatation chamber and from the second floatation chamber. In an embodiment, the vessel further comprises a robot system coupled to the support structure, where the robot system comprises an end effector and a nozzle head coupled to the end effector.

一种能够利用波浪发电的挡浪墙

NºPublicación:  CN121629885A 10/03/2026
Solicitante: 
中交广州航道局有限公司中交华南交通建设有限公司
CN_121629885_PA

Resumen de: CN121629885A

本发明属于挡浪墙技术领域,尤其公开了一种能够利用波浪发电的挡浪墙,包括墙体,所述墙体整体外形呈L型结构,墙体顶面安装有发电组件,所述发电组件包括:浮动件、摆臂和发电件;所述墙体外侧部设置有浮动件,浮动件漂浮在水面上,浮动件顶部转动连接在摆臂底端,摆臂顶端利用转动部件传动连接发电件输入端,上下浮动的浮动件利用摆臂使得发电件输入端转动。本发明通过移动板的移动从而调整齿轮的位置,方便齿轮对应配合不同外径的弧形齿条,方便在墙体顶部安装不同类型的发电组件,能够在波浪幅度较大的水面上安装外径较大的弧形齿条,进一步提高发电件的发电效率。

仿鹰喙式摩擦-电磁复合式水下能量捕获装置及监测系统

NºPublicación:  CN121643392A 10/03/2026
Solicitante: 
广州蓝色能源研究院北京纳米能源与系统研究所
CN_121643392_PA

Resumen de: CN121643392A

本发明涉及纳米新能源技术领域中的仿鹰喙式摩擦‑电磁复合式水下能量捕获装置及潜标监测系统。水下能量捕获装置包括:外壳、摆杆、摩擦发电单元、电磁发电单元、储能装置。外壳内部设置有:铰接部、以铰接部为圆心的摆动限位区。摆杆的一端与铰接部铰接,另一端在摆动限位区内与外壳滑动连接。摩擦发电单元用于摆杆在摆动限位区摆动时进行摩擦发电。电磁发电单元用于摆杆在摆动限位区摆动时进行电磁发电。本发明结合摆杆与弹簧储能结构,通过摆杆灵敏接收低频波浪激励产生的重心变化并转换为摆动运动,同时利用弹簧储能结构储存初始能量,有效解决了低频低幅水下波浪激励下装置启动困难的问题,显著提高了水下波浪能收集效率。

浪高监测的自供能式传感器及方法

NºPublicación:  CN121632071A 10/03/2026
Solicitante: 
广州蓝色能源研究院
CN_121632071_PA

Resumen de: CN121632071A

本发明涉及海洋能传感设备技术领域,具体涉及一种浪高监测的自供能式传感器及方法。自供能式传感器包括两端为敞口的壳体一、密封的壳体二以及多个发电单元。壳体一的上端固定安装于壳体二的一侧且其下端向外侧弯曲设置。多个发电单元沿壳体二的轴线方向依次设置。发电单元包括转动件、基板一和基板二,基板一和基板相对的两侧壁上设有一对电负性不同的介电层和电极层,通过转动件的转动而带动基板二相对于基板一进行转动,进而带动介电层和电极层发生相对移动而产生电流。本发明提供的自供能式传感器不仅能够基于发电单元输出的电信号来监测浪高的同时产生的电信号又能为自身进行供电,使得本方案提供的自供能式传感器能够长期且稳定的运行。

Offshore floating power plant

NºPublicación:  KR20260033788A 10/03/2026
Solicitante: 
에이치디현대중공업주식회사
KR_20260033788_PA

Resumen de: KR20260033788A

본 발명은 해상 부유 발전 장치에 관한 것이다. 본 발명은 적어도 하나 이상의 블레이드를 가지는 풍력 발전 유닛, 상기 풍력 발전 유닛을 지지하는 타워, 상기 타워에 연결되며 해상에 부유하는 부유 구조물 및 상기 부유 구조물의 하부에 배치되되, 상기 부유 구조물에 대해서 위치가 조정가능한 적어도 하나 이상의 운동 감쇠 조립체를 포함하는, 해상 부유 발전 장치를 포함한다.

一种海洋混凝土结构自供能防护系统

NºPublicación:  CN121629970A 10/03/2026
Solicitante: 
青岛理工大学江苏启青新型材料科技有限公司青岛中惠青实业发展有限公司
CN_121629970_PA

Resumen de: CN121629970A

本申请提供了一种海洋混凝土结构自供能防护系统,包括能量管理单元、粘结功能层和依次设置在粘结功能层上的能量收集层和防护发电层;所述粘结功能层用于粘附于混凝土基体上,所述粘结功能层包括粘弹基质和锌粉牺牲阳极颗粒;所述能量收集层包括弹性支撑结构和依次设置于粘结功能层上的下电极层、负电性摩擦材料层,所述下电极层通过绝缘胶粘附于粘结功能层上;所述防护发电层包括防护钢板和密封结构;所述能量管理单元用于将能量收集层与防护发电层摩擦发电产生的交流脉冲转换为直流电后存储于能量存储模块,并按需向粘结功能层供电。本申请可为混凝土结构提供持续稳定的阴极保护电流,实现能源自给和长效防护。

運動エネルギーおよび位置エネルギーを利用する海洋タービン

NºPublicación:  JP2026508011A 09/03/2026
Solicitante: 
ポセイドンインテレクチュアルピーエス.エー.エス.
JP_2026508011_PA

Resumen de: CN121079499A

The invention relates to a system for utilizing the kinetic energy of ocean currents, ocean currents or estuary currents by transferring the energy of the movement of the water flow to a turbine driving a generator. The apparatus includes a plurality of components, mainly including: A) an inlet and an injection pump having a mixing chamber; b) a cross-flow turbine (M1) (revolving door type, double vane).

NO20241066A1

NºPublicación:  NO20241066A1 09/03/2026
Solicitante: 
Oceanenvi AS

수중 앵커링 장치, 시스템, 및 방법

NºPublicación:  KR20260032592A 09/03/2026
Solicitante: 
베르테라에너지인코포레이티드
KR_20260032592_PA

Resumen de: US2025002118A1

The subject matter of this specification can be embodied in, among other things, a method of submersible deployment that includes submersing a submersible turbine toward an anchor seated along a bottom of a body of water so that tail portion of the submersible turbine is oriented closer to a cap of the anchor and upstream of a nose portion of the submersible turbine, urging the submersible turbine against a direction of flow of the body of water such that a channel defined along a ventral portion of the submersible turbine is drawn over a cap of the anchor, and while the cap is slidably engaged the submersible turbine, rotating the submersible turbine about the cap such that the nose portion is oriented upstream of the tail portion.

基于运动响应和效率指标约束的PTO参数调节策略及其制定方法

NºPublicación:  CN121613742A 06/03/2026
Solicitante: 
哈尔滨工业大学(威海)
CN_121613742_PA

Resumen de: CN121613742A

本申请提供一种基于运动响应和效率指标约束的PTO参数调节策略及其制定方法,所述制定方法包括:对波浪能发电装置进行动力学建模并确定波浪能发电装置的PTO参数的理论最优值;建立波浪能发电装置的运动响应与效率指标约束条件;基于运动响应与效率指标约束条件,建立PTO参数的阻尼主导的修正方式与刚度主导的修正方式;基于运动响应、效率指标以及设备能力约束条件制定PTO参数调节策略。本申请提供的方法,基于运动响应与效率指标的约束条件,确定不同海况条件下PTO参数的合理调节方式及触发条件,以制定适应多种海况的波浪能发电装置PTO参数调节策略。

一种用于拖拽式造浪设备的轨道系统

NºPublicación:  CN223974942U 06/03/2026
Solicitante: 
成都泰隆游乐实业有限公司
CN_223974942_U

Resumen de: CN223974942U

本申请涉及水上游乐设施技术领域,具体涉及一种用于拖拽式造浪设备的轨道系统,其包括:多个间隔排布的支撑框架,其具有第一连接端和第二连接端,第一连接端和第二连接端之间形成安装空隙;第一支撑基础,其用以配置在池岸地基上;第二支撑基础,其连接于支撑框架并与第一支撑基础之间形成避让空隙;承重轨道,其安装于第一支撑基础和第二支撑基础上;感应轨道,其安装于第一支撑基础和/或第二支撑基础上,感应轨道低于承重轨道;供电轨道,其用于连接磁力发动机以实现供电。本申请能够便于安装支架的安装,并能够与安装支架上的磁力发动机相互作用以形成驱动力,可以保证安装支架的运动稳定性,为推浪板的正常运动提供结构基础。

一种适应复杂海况的波浪能发电自适应整流系统

NºPublicación:  CN121613754A 06/03/2026
Solicitante: 
山东理工大学
CN_121613754_PA

Resumen de: CN121613754A

本发明公开了一种适应复杂海况的波浪能发电自适应整流系统,属于新能源发电、海洋工程与电力电子领域,其包括仿生柔性模块、多物理场数据采集模块、中央协调模块、通信与广播模块、分布式整流与本地控制模块、机电融合决策模块、仿生结构调谐模块和直流汇流模块。本发明采用仿生柔性模块俘获波浪能,通过获取水动力场和固体力学场数据生成波浪预测参数,进而生成全局指令,并广播至分布式整流与控制节点。各节点自主调整整流开关参数,并生成机电融合决策数据,用于动态调谐仿生柔性模块的局部刚度。该系统实现了机械采集与电气整流的协同自适应控制,能够应对复杂多变的海洋环境,提升波浪能的俘获效率和电能输出的稳定性。

一种基于摩擦纳米发电机的海洋监测浮标及其工作方法

NºPublicación:  CN121618876A 06/03/2026
Solicitante: 
广州蓝色能源研究院北京纳米能源与系统研究所
CN_121618876_PA

Resumen de: CN121618876A

本发明涉及海洋监测浮标领域中的一种基于摩擦纳米发电机的海洋监测浮标及其工作方法。解决传统海洋浮标在复杂海况下供电不稳定、维护周期短的问题。其技术方案要点在于:提供一种摩擦纳米发电机,其内部设有多个阵列式分布的发电单元,每个单元包括格栅电极和可自由滚动的摩擦材料,通过波浪引发的晃动实现接触分离发电,该发电机与太阳能板共同连接至电能管理器,构成多能源互补供电系统,为浮标上的传感器及负载提供持续电力。本发明能够高效捕获低频波浪能与太阳能,提升浮标在恶劣环境下的能源自给能力和监测数据连续性,适用于长期、原位海洋环境监测。

一种绿色发电与抑振降载协同的深海采矿系统

NºPublicación:  CN121611451A 06/03/2026
Solicitante: 
招商局深海装备研究院(三亚)有限公司招商局海洋装备研究院有限公司
CN_121611451_PA

Resumen de: CN121611451A

本发明涉及深海采矿系统技术领域,具体涉及一种绿色发电与抑振降载协同的深海采矿系统,通过融合波浪能发电与立管动力学控制,在有效抑制全工况下提升立管轴向动载荷的同时,将立管有害运动转化为稳定电能,形成结构抑振与能源应急保障协同的解决方案,从而提升系统安全性和可持续性。包括从上往下依次设置的水面支持船、提升立管,补能发电装置、中继舱、输送管与采矿车。

一种基于惯性撞击-介电弹性体耦合的波浪能发电装置

NºPublicación:  CN121611563A 06/03/2026
Solicitante: 
山东科技大学
CN_121611563_A

Resumen de: CN121611563A

本发明涉及波浪能发电装置,具体涉及一种基于惯性撞击‑介电弹性体耦合的波浪能发电装置。一种基于惯性撞击‑介电弹性体耦合的波浪能发电装置,包括椭球形外壳、介电弹性薄膜以及撞击小球,所述椭球形外壳上设置有导流鳍片,所述介电弹性薄膜设置在椭球形外壳内,所述撞击小球置于介电弹性薄膜中且介电弹性薄膜中填充有绝缘油;所述介电弹性薄膜分区域独立连接有输出电路;所述撞击小球在波浪的作用下撞击介电弹性薄膜,介电弹性薄膜产生形变,实现波浪动能向动能的转换。

TIDE- AND WIND-POWERED TURBINE, CONVERSION AND STORAGE SYSTEM

NºPublicación:  US20260063106A1 05/03/2026
Solicitante: 
PRICE ZARA ARE [US]
Price Zara Are
US_20260063106_PA

Resumen de: US20260063106A1

An electricity generation system employs a tide- and wind-powered turbine featuring an inverted blade configuration, where the blades extend inward from an outer ring, creating a central void for fluid passage and optimizing energy capture efficiency. The system includes advanced components such as an axial radial flux motor, ball bearings, and a variable pitch mechanism for dynamic blade adjustment. It is adaptable for mounting on bridges, pipelines, or power transmission towers and incorporates innovative motor technologies, including crystal motors, to achieve efficient energy conversion. The system supports bidirectional flow environments, ensuring continuous power generation, and integrates energy storage devices such as saltwater batteries to store excess energy. Designed for sustainable, 24-hour electricity generation with minimal environmental impact, the system is suitable for infrastructure-based installations, marine vessels, and small-scale devices, offering versatile applications across diverse environments.

Vorrichtung, Energieumwandlungssystem und fluiddurchströmte Wellennutzungsanlage

NºPublicación:  DE102024124909A1 05/03/2026
Solicitante: 
BAECKER MATHIAS [DE]
B\u00E4cker, Mathias

Resumen de: DE102024124909A1

Die Erfindung betrifft eine Vorrichtung zum Umwandeln einer kinetischen Energie, insbesondere einer Wellenenergie eines Fluids, in elektrische Energie, ein Energieumwandlungssystem und eine fluiddurchströmte Wellennutzungsanlage. Die Vorrichtung weist einen Hohlkörper und einen Grundkörper auf, welcher sich zumindest mittels einer ersten Feder und einer zu der ersten Feder insbesondere beabstandet angeordneten längenvariablen ersten Energieableiteeinrichtung von einer Innenwandung des Hohlkörpers abstützt und an einem ersten Ende eine Hülse mit einer entlang der Längserstreckung der Hülse angeordneten Spule und an einem zweiten Ende einen in die Hülse eingesteckten und darin beweglichen Permanentmagneten aufweist, wobei bei einer Bewegung des Permanentmagneten entlang der Längserstreckung der Hülse eine elektrische Energie erzeugt wird, sodass eine zu einem ersten Zeitpunkt auf den Hohlkörper wirkende erste kinetische Energie die Vorrichtung in eine erste Richtung beschleunigt, wodurch der Grundkörper in einer zweiten, der ersten Richtung entgegengesetzt orientierten, Richtung ausgelenkt wird, wodurch ein Bewegen des Permanentmagneten gegenüber der Hülse initiiert ist und derart die erste kinetische Energie zumindest teilweise in elektrische Energie umgewandelt wird, wobei die erste Feder mit einem ersten Ende an dem Grundkörper und mit einem zweiten Ende an der Innenwandung des Hohlkörpers angeordnet ist.

Wellennutzungsanlage

NºPublicación:  DE102024124910A1 05/03/2026
Solicitante: 
BAECKER MATHIAS [DE]
B\u00E4cker, Mathias

Resumen de: DE102024124910A1

Die Erfindung betrifft eine Wellennutzungsanlage zur Erzeugung elektrischer Energie aus einer kinetischen Wellenenergie eines Fluids, aufweisend einen von dem Fluid durchströmten Rahmen mit einem Welleneinlass und einem Wellenauslass sowie zumindest eine erste Energieaufnahmeeinrichtung und eine zweite Energieaufnahmeeinrichtung, welche in einem Bereich zwischen dem Welleneinlass und dem Wellenauslass angeordnet sind und bei ihrer Beschleunigung elektrische Energie erzeugen, wobei die erste Energieaufnahmeeinrichtung mittels eines ersten Verbindungselementes mit der zweiten Energieaufnahmeeinrichtung und/oder die erste Energieaufnahmeeinrichtung mittels eines zweiten Verbindungselementes und/oder die zweite Energieaufnahmeeinrichtung mittels eines dritten Verbindungselementes mit dem Rahmen der Wellennutzungsanlage verbunden ist oder sind, sodass mittels des ersten Verbindungselements, des zweiten Verbindungselements und/oder des dritten Verbindungselements ein vordefinierter Bewegungsbereich der zweiten Energieaufnahmeeinrichtung gegenüber der ersten Energieaufnahmeeinrichtung und/oder der zweiten Energieaufnahmeeinrichtung und/oder der ersten Energieaufnahmeeinrichtung gegenüber dem Rahmen realisiert ist.

SYNERGISTIC TRACKING INTEGRATED PHOTOVOLTAIC AND CONCENTRATING COGENERATION SOLAR ENERGY HARVESTING SYSTEM

NºPublicación:  US20260066834A1 05/03/2026
Solicitante: 
SANKRITHI MITHRA [US]
RIC ENTPR [US]
Sankrithi Mithra,
RIC Enterprises
US_20260066834_PA

Resumen de: US20260066834A1

The invention provides a new class of solar energy harvesting devices that integrate both photovoltaic and concentrating solar cogeneration systems with shared heliostatic tracking in an inventive manner that enables synergistic benefits and overall optimization. Roof, ground & water supported preferred embodiments provide benefits for varied applications. The new class of synergistic tracking integrated photovoltaic and concentrating solar energy harvesting systems comprise systems that encompass both (i) a nonconcentrating photovoltaic system such as a solar panel and (ii) a concentrating cogeneration system that includes a concentrating photovoltaic (CPV) receiver and a heat transfer subsystem, wherein the two systems (i) and (ii) share heliostatic tracking provided by a tracking subsystem and are inventively integrated physically and operationally to enable benefits in terms of solar energy harvest efficiency, space-efficiency, cost-effectiveness and lifecycle cost of energy, while minimizing or precluding shadowing losses and enabling further benefits.

AN IMPROVED METHOD FOR GAS COLLECTION

NºPublicación:  AU2025308133A1 05/03/2026
Solicitante: 
ADEPT AQUA PTY LTD [AU]
ADEPT AQUA PTY LTD
AU_2025308133_A1

Resumen de: AU2025308133A1

A gas collection system is disclosed comprising a siphon through which liquid flows. The siphon has an up leg and a down leg and an outlet located along the down leg of the siphon in fluid communication with the flowing liquid. A vacuum can be created at the outlet in the down leg of the siphon, the vacuum being collectable by a pump. A gas scrubber can be provided comprising a medium onto which gas is adsorbed. The vacuum collected by the pump at the outlet in the down leg of the siphon can be used to remove adsorbed gas from the medium.

WAVE ENERGY-BASED REEF SUSTAINABLE DEVICE INTEGRATED WITH OFFSHORE WIND TURBINE

NºPublicación:  US20260063101A1 05/03/2026
Solicitante: 
NATIONAL CHENG KUNG UNIV [TW]
National Cheng Kung University
US_20260063101_PA

Resumen de: US20260063101A1

A wave energy-based reef sustainable device integrated with an offshore wind turbine is provided. The wave energy-based reef sustainable device integrated with an offshore wind turbine can be put into a seabed, is configured to connect with a floating wind turbine, and includes a base is configured as a fish reef, an anchoring device configured to connect with the floating wind turbine, and includes plural rings with a luminous coating and at least one mooring system or cable with a luminous layer. The rings swing and/or rotate due to the pull of the floating wind turbine and present a flashing effect to attract fish. The mooring system or cable with the luminous layer provides a warning effect, a lighting device configured to emit light to attract fish, and a green energy device configured to convert a green energy into an electrical energy, which is provided to the lighting device.

A WAVE ENERGY CONVERTER SYSTEM

NºPublicación:  EP4702236A1 04/03/2026
Solicitante: 
KOREZ PENLEY ASLIHAN [GB]
ZOEX LTD [GB]
(Korez) Penley, Aslihan,
Zoex Ltd
CN_121443841_PA

Resumen de: AU2023232559A1

This invention relates to a wave energy converter system (1) which is comprised of fenders (10) attached to marine man-made structure (M), such as breakwater/offshore platform/barge/buoy etc., by a link structure (3) and converts 5 the wave motion to clean electricity by direct drive electrical generators attached to said link structure (3).

DEVICE, ENERGY CONVERSION SYSTEM AND FLUID-OPERATED WAVE UTILIZATION SYSTEM

NºPublicación:  EP4703580A2 04/03/2026
Solicitante: 
BAECKER MATHIAS [DE]
B\u00E4cker, Mathias
EP_4703580_PA

Resumen de: EP4703580A2

Die Erfindung betrifft eine Vorrichtung zum Umwandeln einer kinetischen Energie, insbesondere einer Wellenenergie eines Fluids, in elektrische Energie, ein Energieumwandlungssystem und eine fluiddurchströmte Wellennutzungsanlage. Die Vorrichtung weist einen Hohlkörper und einen Grundkörper auf, welcher sich zumindest mittels einer ersten Feder und einer zu der ersten Feder insbesondere beabstandet angeordneten längenvariablen ersten Energieableiteeinrichtung von einer Innenwandung des Hohlkörpers abstützt und an einem ersten Ende eine Hülse mit einer entlang der Längserstreckung der Hülse angeordneten Spule und an einem zweiten Ende einen in die Hülse eingesteckten und darin beweglichen Permanentmagneten aufweist, wobei bei einer Bewegung des Permanentmagneten entlang der Längserstreckung der Hülse eine elektrische Energie erzeugt wird, sodass eine zu einem ersten Zeitpunkt auf den Hohlkörper wirkende erste kinetische Energie die Vorrichtung in eine erste Richtung beschleunigt, wodurch der Grundkörper in einer zweiten, der ersten Richtung entgegengesetzt orientierten, Richtung ausgelenkt wird, wodurch ein Bewegen des Permanentmagneten gegenüber der Hülse initiiert ist und derart die erste kinetische Energie zumindest teilweise in elektrische Energie umgewandelt wird, wobei die erste Feder mit einem ersten Ende an dem Grundkörper und mit einem zweiten Ende an der Innenwandung des Hohlkörpers angeordnet ist.Die Erfindung betrifft eine Wellennutzungsanlage zur

悬浮发电模块及水力发电设备

NºPublicación:  CN121593937A 03/03/2026
Solicitante: 
山东和光同盛海洋开发有限责任公司
CN_121593937_PA

Resumen de: CN121593937A

本申请公开一种悬浮发电模块及水力发电设备。悬浮发电模块包括:浮台;发电机;自平衡组件,所述自平衡组件包括第一框架和第二框架,所述第一框架上设置有第一转轴,所述第二框架上设置有第二转轴,所述第一转轴的轴线与所述第二转轴的轴线相互垂直,所述第二转轴可转动地设置在所述第一框架上;所述浮台上设置有第一安装口,所述第一框架位于所述第一安装口中,所述第一转轴可转动地设置在所述浮台上,所述第二框架上设置有动力输入轴;其中,所述发电机固定在所述第二框架上,所述发电机的电机轴通过变速箱与所述动力输入轴传动连接。实现提高水力发电设备的使用可靠性并提高发电效率。

一种新型垂向耦合式海洋可再生能源系统

NºPublicación:  CN121590706A 03/03/2026
Solicitante: 
浙江大学成都信息工程大学
CN_121590706_PA

Resumen de: CN121590706A

本发明涉及海洋可再生能源技术领域,且公开了一种新型垂向耦合式海洋可再生能源系统,包括浮式平台,所述浮式平台的下端安装有浮式组件,所述浮式组件的外侧安装有系泊组件,所述浮式平台的上端安装有支撑架,与现有的技术相比,本发明通过将浮式平台将波浪能转换机构与光伏组件进行结构一体化集成,突破传统海洋能设备各自独立布设的局限,实现多源协同布置与能源输出,提高了单位海域的能源利用效率,且实现了海洋波浪能和太阳能的同步采集与协同控制,提高能源系统稳定性和冗余度,且浮式平台可快速拼装,实现模块化拼装设计,根据不同海域需求扩展浮体数量或波浪能装置布设密度,便于施工、拆装与后期维护,具备良好的工程实施性。

一种混合纳米发电机

NºPublicación:  CN121602841A 03/03/2026
Solicitante: 
青岛大学
CN_121602841_PA

Resumen de: CN121602841A

本发明公开了一种混合纳米发电机,属于纳米发电机领域。包括外壳及设置于外壳内部的摩擦纳米发电机模块和电磁发电机模块,还包括设于外壳内部中心的弹性传动组件和惯性质量块,弹性传动组件包括多个弹性条,多个弹性条交叉固定,并且其远离交叉固定点的多端向上弯曲并向中心汇聚,形成一个拱形笼状结构,惯性质量块固定设于弹性传动组件的顶部中心,摩擦纳米发电机模块包括多个设置于弹性传动组件周边的TENG单元,电磁发电机模块包括动子和转子。本发明设计一种具备共振增强机制的弹性系统,解决了低频波浪能捕获效率低的问题,在低频激励下实现大幅度的机械响应,显著提升摩擦纳米发电机模块和电磁发电机模块在低频波段的输出功率。

一种能源岛智能管理方法、装置、设备及存储介质

NºPublicación:  CN121602496A 03/03/2026
Solicitante: 
中国交通建设股份有限公司南方分公司东南大学
CN_121602496_PA

Resumen de: CN121602496A

本申请提出一种能源岛智能管理方法、装置、设备及存储介质,能源岛智能管理方法通过在海洋区域中,通过风力发电模块以及海洋能转化模块产生电能,并通过能源系统收集电能,获取影响海洋区域中构建海洋牧场的生态成本参数,并根据电能的发电量以及生态成本参数,构建目标海洋牧场,在构建目标海洋牧场的情况下,分别采集与风力发电模块、海洋能转化模块以及能源系统相关的运行参数以及海洋区域的环境参数,动态基于实际的运行参数以及环境参数进行能源岛的智能管理;同时,实现发电、储能以及生态系统的协同共生。

파도로부터 에너지를 발생시키기 위한 장치

NºPublicación:  KR20260027144A 27/02/2026
Solicitante: 
스웰젠리미티드
AU_2024265268_PA

Resumen de: AU2024265268A1

A wave powered apparatus for generating rotational mechanical energy, having a buoyant energy generation capsule and upper and lower inclined guide surfaces to restrain and guide movement of the energy generation capsule. The apparatus is partly submerged in a body of water and the energy generation capsule rolls in a unidirectional manner about a capsule axis of rotation along the guide surfaces, rolling up the incline in response to forces from waves in the body of water and rolling down the incline in response to gravitational force.

一种防波堤摇摆消浪发电装置

NºPublicación:  CN121576213A 27/02/2026
Solicitante: 
中交天津港湾工程研究院有限公司中交第一航务工程局有限公司天津港湾工程质量检测中心有限公司
CN_121576213_PA

Resumen de: CN121576213A

本发明提供了一种防波堤摇摆消浪发电装置,包括固定架和浮板,所述浮板的一端固设有一根转轴,所述固定架通过转轴与浮板转动连接,所述转轴与一传动杆通过传动单元连接;所述传动单元包括至少一个传动齿轮,且转轴能带动传动齿轮转动,所述传动杆的端部设有发电齿轮,所述发电齿轮与传动齿轮啮合。本发明采用浮板与波浪接触,使得水面的波浪推动浮板绕转轴上下摆动,从而通过摆动的浮板带动传动轴转动,从而通过传动轴将波浪中的能量传递到发电机能设备上用于发电,在将波浪中的能量消耗掉部分,从而降低波浪对堤岸处的冲击,完成消浪,同时将消耗的能量向外传输,以便于将能量收集起来。

一种河湖尾水治理用仿水母形自驱动净化装置

NºPublicación:  CN121573825A 27/02/2026
Solicitante: 
苏州淡林环境科技有限公司
CN_121573825_PA

Resumen de: CN121573825A

本发明涉及一种河湖尾水治理用仿水母形自驱动净化装置,涉及河湖尾水净化领域,解决了现有原位净化装置与环境柔性适配性差,波浪能利用技术与净化工艺融合不足以及处理规模受限的问题,包括悬浮体、水处理净化组件和锚固件,悬浮体包括外伞层和内伞层,外伞层和内伞层密封连接使悬浮体内形成可扩张、收缩运动的柔性水母腔体结构的伞腔,内伞层内设置有与伞腔内部连通的伞腔流道,外伞腔与内伞腔连接处设置有多个伞缘口,且相邻的两个伞缘口之间设置有伞缘浮子;本装置通过仿水母柔性外观设计实现与自然水体环境的和谐适配,将波浪能捕获、转换与尾水净化工艺高度集成,全程无需外部动力输入,有效提升河湖尾水原位净化的效率与规模化应用潜力。

一种水轮式发电装置

NºPublicación:  CN121576206A 27/02/2026
Solicitante: 
湖南泓旭新能源有限公司
CN_121576206_PA

Resumen de: CN121576206A

一种水轮式发电装置,属于潮汐发电装置技术领域,为了解决潮汐水流含沙量高,容易产生污泥以及海洋生物附着,从而影响了潮汐水流发电的效率,同时潮汐涨落时水流速度变化大,叶片受到冲击容易引发裂痕,使得发电装置的寿命降低的问题,发明包括安装架和固定在安装架上方中部的固定座,且转动内圈的内侧安装有若干水轮叶片,所述安装架的一侧下方连接有传输电缆,本发明检测到污垢厚度的应力阈值过大时,通过振动换能器超声波作用,破坏潮汐中污垢和海洋生物与叶片表面的结合力,完成靶向除垢,同时通过移动振动换能器针对性释放高频微振动,缓释局部残余应力,避免应力累积引发疲劳损伤,降低潮汐周期性强冲击导致的叶片裂痕、断裂风险。

一种基于刚性叶片与柔性囊浮力联合调控的波浪能吸波浮体结构及其控制方法

NºPublicación:  CN121576211A 27/02/2026
Solicitante: 
中国科学院广州能源研究所
CN_121576211_PA

Resumen de: CN121576211A

本发明针对振荡体式波浪能转换装置,提出了一种基于刚性叶片与柔性囊浮力联合调控的吸波浮体结构及控制方法,涉及海洋波浪能发电技术领域。吸波浮体具体包括支撑框架、刚性叶片、叶片旋转模块、柔性囊体、弹性模块、压载水模块和气泵模块等结构组件。针对吸波浮体传统刚性设计方法的不足,本发明提出可变的刚性控制面外形,并将内部舱室替换为柔性囊体,从而为吸波浮体提供浮力。此结构设计通过对刚性控制面和柔性囊体的联合控制,能够有效调节吸波浮体固有周期和运动幅度,提高发电海况下波浪能俘获效率,扩大高效能量俘获带宽。此外,在极端海况下,该结构设计能够通过调节吸波浮体迎波面积来改变所受波浪载荷,确保吸波浮体结构强度安全。

一种能量自持型无人水下航行器

NºPublicación:  CN121573134A 27/02/2026
Solicitante: 
陕西卫澜深海信息科技有限公司
CN_121573134_PA

Resumen de: CN121573134A

本申请涉及水下航行器技术领域。本申请提供一种能量自持型无人水下航行器,包括:壳体,所述壳体具有容纳腔;蓄电装置,所述蓄电装置设置在所述容纳腔内;发电装置,所述发电装置和所述壳体连接,所述发电装置和所述蓄电装置电性连接,所述发电装置用于在海流能的驱动下相对所述壳体转动产生电能。本申请通过发电装置利用海流能产生电能,将电能储存在蓄电装置中,通过蓄电装置向航行器提供运行的动力,实现了水下航行器的电量自持,有效的利用了海流能,降低了利用海流能为深海观测设备供电的难度,实现了在任意海域进行长时间深海观测的目标。

海洋牧场养殖设施的波浪-潮流能模块化发电装置

NºPublicación:  CN121576212A 27/02/2026
Solicitante: 
浙大宁波理工学院
CN_121576212_PA

Resumen de: CN121576212A

本发明公开一种海洋牧场养殖设施的波浪‑潮流能模块化发电装置,属于海洋可再生能源与渔业装备交叉技术领域。所述装置中能量捕获模块包括水平轴阻力型叶轮和垂直轴阻力型叶轮;能量合成与转换模块包括差速合成系统和发电机,所述差速合成系统通过内置单向离合器的多级差速器与齿轮组,将来自各叶轮的、转速和/或方向不一致的转动输入合并为单一稳定、同向的转动输出以驱动发电机;安装固定模块包括可调节固定夹爪和可调节支架;所述可调节支架包括固定架、活动架及连接二者的伸缩叉臂机构,能同时调节装置整体离网距离以及适应养殖设施相邻立柱的不同间距。其实现了在养殖设施上模块化、高效、可靠地捕获波浪‑潮流复合能源进行发电,适配性强。

水力発電のパワーハーベスティング装置

NºPublicación:  JP2026507022A 27/02/2026
Solicitante: 
オークスリミテッド
JP_2026507022_PA

Resumen de: CN120731318A

A hydroelectric energy harvesting device (100) is described herein. The apparatus comprises: a support (102); a sliding frame (114) movably coupled to the support (102); the floater unit (104) floats on a water body (106), and the water body (106) has a movable water level; an energy generating mechanism (108); and a float rocker arm (110) coupled to the float unit (104) and the energy generating mechanism (108). The float rocker arm (110) pivots about a pivot point (112) on the slide frame (114). The float unit (104) moves with the water level of the body of water (106) to drive the float rocker arm (110) to provide power input to the energy generating mechanism (108). The sliding frame (114) is used to adjust the level of the pivot point (112), the float rocker arm (110), and the float unit (104).

Hängendes - schwimmendes - gespanntes System zur Energiegewinnung durch Meerwellen

NºPublicación:  DE102024002872A1 26/02/2026
Solicitante: 
AL HALBAWI HASAN [DE]
Al Halbawi, Hasan
DE_202024001222_PA

Resumen de: DE102024002872A1

Das Hangendes-Schwemmendes-gespanntes System besteht aus Massen,welche selbstschwimmend und ausgeglichen sind. Diese Massen sind mittels elastischer Verbindungen (z.B. Gummi, Feder oder Seil-Rolle mit Selbstaufrollmechanismus) zu einander und zu einem Außengerüst aufgespannt. Wenn sich zwei Masse durch Einwirken der Wellen in Relation zu einander, oder zum Außenengerüst bewegen, entsteht eine Zugkraft auf die elastischen Verbindungen, sodass sich diese ausdehnen. Verschwindet die Welle , kehren die Massen durch das Einwirkung der elastischen Verbindungen in ihre Ausgangform zurück .Diese Zugkraft wird zum Energie Gewinnung benutzt. Die Umwandelung der Zug-Energie zur Energiegewinnung in diesem System erfolgte entweder durch integrierte Volumenverändernden Gefäße die als Pumpen funktionieren, und diese gepumpte Wasser oder Luft werden zum Turbin mit Stromgenerator geleitet , oder durch in der Seilroller Integrierte Stromgenerator , welche der Einroll und Ausrol -Bewegung der Seilrollerachse zum Strom Energie transformieren .Das System kann auch auf einem Dreidimensionalen Gerüst mit mehreren Schichten aufgespannt werden . In diesem Fall können wir auch von der Tiefwellen-Energie profitieren.Dieses System kann auch zum Beispiel als schwimmende lange Linie mit mehreren Schichten, Parallel zum Strand montiert. Hierbei wird das System , sowohl zum Energiegewinnung als auch als einen Wellenbrecher funktionieren. Da die Wellen ihre Energie über den mehreren Schichten des

WAVE ENERGY POWER GENERATION AND FLYWHEEL ENERGY STORAGE INTEGRATION SYSTEM AND METHOD THEREOF

NºPublicación:  US20260058472A1 26/02/2026
Solicitante: 
UNIV NAT CHENG KUNG [TW]
National Cheng Kung University
US_20260058472_PA

Resumen de: US20260058472A1

Provided includes: a wave energy power generation device; a flywheel energy storage device; a flywheel state-of-charge calculation module; and an energy management module, and when the wave energy power generation device is in the power generation cycle, the power of the electric energy does not meet the grid power specification of the power grid, and the flywheel energy storage device is in an energy-available state, and when the wave energy power generation device is not in the power generation cycle and the flywheel energy storage device When in this energy-available state, the flywheel energy storage device can be controlled to release the flywheel rotational kinetic energy to compensate for the output power to achieve stable power supply to the power grid.

OFFSHORE APPARATUS FOR EXTRACTING ENERGY FROM A FLUID AND METHODS FOR ITS USE

NºPublicación:  US20260054806A1 26/02/2026
Solicitante: 
OFFSHORE ENERGY SOLUTIONS APS [DK]
Offshore Energy Solutions ApS
US_20260054806_PA

Resumen de: US20260054806A1

An apparatus is disclosed for extracting energy from an oscillating working fluid. The apparatus comprises a housing 50 which is positioned on a floatable support structure 120/130 that is arranged in use to float on a body of water having waves. The housing has an internal flow passage for receiving air; and a turbine 60/70 which is disposed at the housing. A unidirectional flow of the air is drawn out of the chamber by the use of an OWC created by respective incoming and outgoing flows of waves. The unidirectional flow of the OWC acting on the turbine 60/70 is responsive to, and generated by, only one of the flows of the waves.

UNDERWATER WING-KITE SYSTEM FOR ENERGY GENERATION AND WATER CIRCULATION

NºPublicación:  US20260055753A1 26/02/2026
Solicitante: 
BARBER GERALD L [US]
Barber Gerald L
US_20260055753_PA

Resumen de: US20260055753A1

A marine energy system comprising: a torpedo housing; a wing housing coupled to and separated from the torpedo housing by a shaft; and an energy converter located within the torpedo housing, wherein the wing housing is configured to move through a fluid current to drive the energy converter. The energy converter may comprise a generator configured to produce electrical energy or a pump adapted to move fluid from a depth location to a shallow location. The wing housing may be configured to move in a figure-8 pattern through the fluid current at 4-8 times the speed of the fluid current. A propeller may be coupled to the wing housing and configured to drive the energy converter.

GREEN POWER INTEGRATED HUB FOR OCEAN CRUISE SHIPS

NºPublicación:  WO2026041034A1 26/02/2026
Solicitante: 
SHANGHAI WAIGAOQIAO SHIPBUILDING CO LTD [CN]
\u4E0A\u6D77\u5916\u9AD8\u6865\u9020\u8239\u6709\u9650\u516C\u53F8
WO_2026041034_PA

Resumen de: WO2026041034A1

A green power integrated hub for ocean cruise ships, which hub comprises a relay mother ship hull (1) and a green energy complex. The relay mother ship hull (1) cruises on a fixed schedule along a designated route between fixed locations. The green energy complex is arranged at the starting point of the route of the relay mother ship hull (1) and is used for re-fueling the relay mother ship hull (1). Ten connection assemblies are respectively arranged on two sides of the relay mother ship hull (1) and are used for connecting cruise ships (16) located on both sides. Two personnel access galleries (17) are respectively connected to the two sides of the relay mother ship hull (1) and are used for communicating the cruise ships (16) on both sides with the relay mother ship hull (1). Each connection assembly comprises a structural reinforcing member (14), a connecting arm support (13), a connecting arm device (12) and a hull connecting member (11). The structural reinforcing member (14) is arranged on a side wall of the relay mother ship hull (1).

Self-contained high-energy-density computing systems, and methods of use

NºPublicación:  GB2643656A 25/02/2026
Solicitante: 
OCEANBIT INC [US]
Oceanbit Inc
GB_2643656_PA

Resumen de: GB2643656A

Self-contained blockchain mining and high-energy-density computing systems have a low temperature heat engine (LTHE) with a working fluid loop extended between a heat source and a heat sink; a biockchain mining device connected to receive electricity generated from the LTHE; a heat exchanger on the working fluid loop; and a coolant loop extended between the blockchain mining device and the working fluid loop (heat exchanger). A self-contained high-energy-density computing data center (HEDC) system is disclosed comprising: a low temperature heat engine (LTHE) with a working fluid loop extended between a heat source and a heat sink; an HEDC device connected to receive electricity generated from the LTHE; a heat exchanger on the working fluid loop; and a coolant loop extended between the HEDC device and the working fluid loop (heat exchanger). A method is also disclosed comprising: generating electricity using a low temperature heat engine (LTHE); operating an HEDC device, using electricity generated by the LTHE, to carry put computer processes; and cooling the HEDC device by heat exchange with working fluid of the LTHE.

WAVE ENERGY CONVERSION SYSTEM WITH CAPITULATING BODIES AND NOVEL INSTALLATION

NºPublicación:  EP4698771A2 25/02/2026
Solicitante: 
ALEKSANDRA DERVISEVIC [BE]
Aleksandra Dervisevic

A WAVE ENERGY DEVICE

NºPublicación:  EP4698772A1 25/02/2026
Solicitante: 
CRESTWING APS [DK]
Crestwing ApS
AU_2024258310_PA

Resumen de: AU2024258310A1

A wave energy device (1) adapted for extracting and converting mechanical energy of sea-waves to electrical energy. The wave energy device (1) comprises a first float (2) and a second float (3) connected to each other along a common hinge axis (4), so as to be movable with respect to each other. A plurality of force transmission members (9) extend between the first float (2) and the second float (3), each force transmission member having a passive end (10) and an active end. The passive end is movably connected to one of said first and second floats (2, 3) in a rotatable manner, and each force transmission member (9) is associated with at least one of a plurality of electrical generators so as to allow the electrical generator to be driven by relative motion between the first and second floats (2, 3).

全向波浪能环架发电装置及使用方法

NºPublicación:  CN121557027A 24/02/2026
Solicitante: 
姜智超
CN_121557027_PA

Resumen de: CN121557027A

本发明公开了一种全向波浪能环架发电装置,属于海洋可再生能源技术领域。该装置包括外壳、三轴环架机构、行星齿轮组、电磁发电机及惯性质量调节器。外环架固定于外壳内壁,两个内环架依次正交转动连接,惯性质量调节器可转动连接于最内侧环架。行星齿轮组的齿圈与太阳轮分别连接内环架与发电机转子,将环架间的相对运动转化为发电机的高速旋转。通过将三轴环架和惯性质量调节器结合,实现了任意方向波浪均能驱动装置发电。本发明的全向波浪能环架发电装置大幅提升了波浪能的捕获效率和装置的环境适应性,行星齿轮组可实现转速倍增,显著提高了发电性能,装置具有结构紧凑、成本低且可靠性强的优势,为波浪能的高效利用提供了创新方案。

一种波浪能发电透平性能测试平台

NºPublicación:  CN121557020A 24/02/2026
Solicitante: 
青岛科技大学
CN_121557020_PA

Resumen de: CN121557020A

本发明属于波浪能发电技术领域,具体涉及一种波浪能发电透平性能测试平台,包括控制机构、由伺服电机驱动的滚珠丝杠模块、套筒、透平机构、传感器组件、伺服发电机、数据采集装置。本发明能够模拟产生与实海况相匹配的往复振荡气流,通过对空气透平瞬态气动性能参数的数据采集,实现透平最大功率点跟踪控制。通过构建集波浪运动模拟、机械传动、可调负载、实时控制与数据采集于一体的系统,为研究空气透平在不同海况条件下的性能、优化控制参数、提升能量捕获效率、发电功率提供实验依据。本发明致力于为波浪能空气透平的气动力学的性能研究提供一个高效、可靠、可重复的实验研究工具。

一种自供能无人水下航行器

NºPublicación:  CN121553335A 24/02/2026
Solicitante: 
陕西卫澜深海信息科技有限公司
CN_121553335_PA

Resumen de: CN121553335A

本申请涉及水下航行器技术领域。本申请提供一种自供能无人水下航行器,包括:航行器外壳,航行器外壳具有容纳腔;储能装置,储能装置设置在容纳腔内;自供电装置,自供电装置和航行器外壳连接,自供电装置和储能装置电性连接,自供电装置用于在海流能的驱动下相对航行器外壳转动产生电能并储存在储能装置中;自供电装置包括回收状态和伸展状态,当航行器正常工作时,自供电装置处于回收状态,当航行器充电时,自供电装置处于伸展状态。本申请通过自供电装置利用海流能产生电能,将电能储存在储能装置中,通过储能装置向航行器提供运行的动力,提高了深海观测设备的蓄电能力,提高了深海观测效率。

一种外形自适应的波浪能吸波浮体及控制方法

NºPublicación:  CN121553317A 24/02/2026
Solicitante: 
中国科学院广州能源研究所
CN_121553317_PA

Resumen de: CN121553317A

本发明提供一种外形自适应的波浪能吸波浮体及控制方法,涉及海洋波浪能发电技术领域,其包括吸波浮体本体、动力系统、波浪监测系统和吸波浮体监测系统,吸波浮体本体由刚性框架构成,刚性框架内具有若干区域,每个区域内设置有柔性囊,动力系统包括气液两用双向泵,气液两用双向泵通过管路与柔性囊连通,波浪监测系统用于监测波浪的周期和波高,吸波浮体监测系统用于监测吸波浮体本体的六自由度运动和受力点。本发明可以根据实际海况条件和发电需求,通过控制各柔性囊内气体或压载水的含量,来改变吸波浮体的外形和质量,从而调节吸波浮体的运动、俘获效率和所受波浪载荷。

一种抗台风高效率的波浪能直驱发电装置及其控制方法

NºPublicación:  CN121557026A 24/02/2026
Solicitante: 
厦门嘉鲲海洋科技有限公司
CN_121557026_PA

Resumen de: CN121557026A

本发明涉及一种抗台风高效率的波浪能直驱发电装置及其控制方法,属于波浪能发电技术领域,包括支架、直线发电机和绳索,所述支架和直线发电机均固定在单轴转台上,所述支架的悬臂上固定有用于穿设绳索的定滑轮,所述直线发电机包括相互配合的永磁铁动子和电磁线圈定子,所述绳索的一端穿过定滑轮后与永磁铁动子固定连接,所述绳索的另一端穿过动滑轮后与支架的悬臂末端固定连接,所述动滑轮上安装有能够驱动连杆升降的第一直线运动驱动机构,所述连杆的下端固定连接有浮子,所述单轴转台上安装有能够驱动永磁铁动子升降的第二直线运动驱动机构。本发明提高了波浪能采集与转换效率,同时提高了整个装置的抗台风能力。

一种基于导流式水轮机的系泊观测平台

NºPublicación:  CN121557025A 24/02/2026
Solicitante: 
陕西卫澜深海信息科技有限公司
CN_121557025_PA

Resumen de: CN121557025A

本发明涉及水下原位供电技术领域,公开了一种基于导流式水轮机的系泊观测平台。包括:壳体,所述壳体为中空结构,储能装置放置在壳体中;系泊结构,用于将壳体系泊在海流中;导流结构,导流结构和壳体连接,导流结构和壳体同轴设置;能量转换结构,能量转换结构和壳体转动连接,能量转换结构和导流结构同轴设置,导流结构罩设在能量转换结构上,能量转换结构和储能装置电性连接,能量转换结构用于将海流能转换为储能装置中的化学能。本申请通过导流结构汇聚海流,提高了海流的流速,使得能量转换结构相对壳体转动,进而将海流能转换为储能装置中的化学能。克服了因海流流速低导致的自启动困难的问题,能够在深海中实现自启动。

一种自给能源型海上无人机蜂巢补给平台

NºPublicación:  CN223934997U 24/02/2026
Solicitante: 
东允乙化(北京)生态科技有限公司
CN_223934997_U

Resumen de: CN223934997U

本实用新型公开了一种自给能源型海上无人机蜂巢补给平台,包括平台主体,所述平台主体的甲板呈正六边形,沿甲板左右两侧的四条边线设置有四条无人机跑道,用于固定翼无人机起降,甲板上位于四条跑道内侧的区域设置临时停放区,用于固定翼无人机停放。本实用新型在满足无人机起降、停放和补给的前提下,合理规划空间布局,提高空间利用率,减小海风对无人机起降的影响,降低操作难度和安全风险。

一种螺旋叶片水流动能原位转化装置

NºPublicación:  CN121557019A 24/02/2026
Solicitante: 
陕西卫澜深海信息科技有限公司
CN_121557019_PA

Resumen de: CN121557019A

本发明涉及水流动能高效转化技术领域,公开了一种螺旋叶片水流动能原位转化装置,包括:螺旋叶片海流轮机和电发生装置,两个螺旋叶片海流轮机同轴设置,两个螺旋叶片海流轮机通过连接结构连接,电发生装置套设在连接结构上;螺旋叶片海流轮机包括轮机定子机构和轮机转子机构,电发生装置和两个轮机定子机构连接,两个轮机转子机构通过连接结构连接,轮机转子机构和轮机定子机构之间产生磁悬浮力,轮机转子机构用于在海流的驱动下相对轮机定子机构和电发生装置转动,轮机转子机构和电发生装置之间产生电磁感应使电发生装置产生电能。具备了在深海环境中高效、稳定、易启动的性能,可以在深海长时间工作。

能量收集装置、系统和制造方法

NºPublicación:  CN121569108A 24/02/2026
Solicitante: 
卡特里克科技有限公司
CN_121569108_PA

Resumen de: TW202517894A

An energy harvesting device is disclosed. The energy harvesting device comprises one or more foils and a pressurised energy conversion system. The pressurised energy conversion system comprises a working fluid, one or more fluid displacement devices configured to be driven by movement of the one or more foils and one or more generators configured to be driven by the working fluid. Advantageous, the energy harvesting device can efficiently harvest energy from a turbulent fluid flow.

海能集成驱航船结构

NºPublicación:  CN121553343A 24/02/2026
Solicitante: 
广东信稳海能驱航船舶有限公司广东信稳能控技术研究有限公司
CN_121553343_PA

Resumen de: CN121553343A

本发明公开了一种海能集成驱航船结构,包括船体,船体包括分别上、下间隔布置的上船体和潜水体,上船体和潜水体之间通过至少两个横向排列的船壳连接部连接,相邻船壳连接部之间形成船中间水道,船体上连接有位于船中间水道末端的海能船集成驱动系统;上船体的后段连接有风能收集柱,所述船壳连接部中部的缺口内连接有海波竖向能量收集器,风能收集柱和海波竖向能量收集器均与海能船集成驱动系统相联动。本发明提供的海能集成驱航船结构,能将收集的能量集成用于驱动航行和供电。

海洋波浪发电系统及方法

NºPublicación:  CN121569106A 24/02/2026
Solicitante: 
包久武
CN_121569106_PA

Resumen de: US2025215849A1

A wave energy converter apparatus comprising a floatable wave receiver unit with first and second chambers that extend and retract in response to wave motion, a power conversion and generation module disposed on a float unit that floats in the body of water and a connection assembly connecting the wave receiver unit to the power conversion and generation module. The second chamber includes an open front end to hold the first chamber, allowing partial horizontal axial movement. The assembly includes a hydraulic cylinder and a connecting structure that transfer wave motion energy to the cylinder. As the first chamber moves forward into the second chamber, the hydraulic fluid in the cylinder becomes pressurized. The pressurized fluid powers the hydraulic motor, which in turn drives the generator. A flexible corrugated shield surrounds the side panels of both chambers to prevent water entry.

一种水翼艇及水翼艇使用方法

NºPublicación:  CN121553292A 24/02/2026
Solicitante: 
中山大学
CN_121553292_PA

Resumen de: CN121553292A

本发明涉及船舶工程技术领域,特别是涉及一种水翼艇及水翼艇的使用方法,水翼艇包括艇体、摆动件、浮体、第一发电机构和推进器,艇体的左侧和右侧均上下转动连接有摆动件,每个摆动件远离艇体的一端均连接有浮体,浮体包括减阻部和增浮部,减阻部的前端尖且减阻部的截面从前至后逐渐增大,增浮部连接于减阻部的后端;第一发电机构包括液压缸和液压发电装置,液压发电装置设于艇体,艇体的左侧和右侧均铰接有液压缸,液压缸远离艇体的一端分别铰接于对应的摆动件,水翼艇航行时,波浪的冲击力能够抬升浮体,使摆动件摆动,进而带动液压缸伸缩,使得液压缸内的液压油带动液压发电装置发电;液压发电装置向推进器供电,提高了水翼艇的续航能力。

基于海底洋流能的扇叶型摩擦纳米发电机

NºPublicación:  CN223938172U 24/02/2026
Solicitante: 
内蒙古工业大学
CN_223938172_U

Resumen de: CN223938172U

本实用新型公开基于海底洋流能的扇叶型摩擦纳米发电机,包括外壳、扇叶和摩擦发电机,外壳内两端分别开设有发电腔和叶片腔,发电腔和叶片腔为两个相互独立的腔室,扇叶转动设置在叶片腔内,摩擦发电机安装在发电腔内,扇叶和摩擦发电机同轴设置,扇叶和摩擦发电机通过磁力耦合部件传动连接;外壳上开设有水流通道,扇叶的前方设置有导流罩,水流通过导流罩进入水流通道内并推动扇叶转动。通过设置相互隔离的发电腔和叶片腔,发电部件和驱动部件分开安装,并通过磁力耦合部件进行传动,不需要安装动密封结构件,发电部件可以单独的密封安装在发电腔内;同时由于没有动密封结构件,传动阻力大幅度降低,减少了机械损耗。

一种桥梁实时测高装置

NºPublicación:  CN223939053U 24/02/2026
Solicitante: 
宁波大学
CN_223939053_U

Resumen de: CN223939053U

本实用新型提供了一种桥梁实时测高装置,属于桥梁技术领域。该一种桥梁实时测高装置,包括一种桥梁实时测高装置,包括支撑臂,支撑臂的顶部通过固定螺栓安装有柱形塑料体,柱形塑料体的表面套设有圈型浮子,圈型浮子的顶部安装有柱形塑料壳,柱形塑料壳的内壁安装有叉型支撑架,还包括测高机构,激光接收膜安装在圆形塑料隔板的顶部,激光接收膜的顶部镶嵌有微型激光发射器,本实用新型通过设置测高机构,可以在河流的水位上涨时通过圈型浮子随波浪上下起伏运动,进而使用测高机构精确测出实时的桥梁净空高,可以用桥高基数减去实时的桥梁净空高能够算出实时的波浪高度,并计算出对应的桥梁净空高,即实现了高精度桥梁实时测高。

A wave power generator

NºPublicación:  KR20260024662A 23/02/2026
Solicitante: 
한국전력공사
KR_20260024662_PA

Resumen de: KR20260024662A

파력 발전 장치가 개시된다. 본 발명의 일 실시 예는 부유식 풍력자원 계측 시스템에서 사용되는 전기 에너지를 공기의 유동에너지를 통해 발전시켜 사용할 수 있는 하이브리드형 전원공급장치가 구비된 파력 발전 장치를 제공한다.

파력 에너지 변환기

NºPublicación:  KR20260023006A 20/02/2026
Solicitante: 
오이시스템즈에이비
AU_2024304805_PA

Resumen de: AU2024304805A1

The present invention relates to a wave energy converter (10), comprising: a buoyant wave collector (12) adapted to float in the surface (14) of water (16), wherein the wave collector (12) has a leading edge (18a) and a trailing edge (18b); a platform (30) adapted to be submerged and positioned lower than the wave collector, wherein the wave collector is adapted to move relative to the platform; an extendable and retractable front attachment (36a) connecting a leading portion of the wave collector to the platform; and an extendable and retractable rear attachment (36b) connecting a trailing portion of the wave collector to the platform, wherein in at least one configuration the extendable and retractable front and rear attachments are configured to control the wave collector such that the attack angle (a) of the wave collector towards an incoming wave (20) is increased when the wave collector meets the incoming wave, so that the wave collector (12) moves with the wave (20) so as to absorb horizontal and vertical energy of the wave (20).

A WAVE-ACTIVATED BUOYANCY REGULATOR

NºPublicación:  WO2026037847A1 19/02/2026
Solicitante: 
IMPACT9 ENERGY & MARINE LTD [IE]
IMPACT9 ENERGY & MARINE LIMITED
WO_2026037847_PA

Resumen de: WO2026037847A1

A wave-activated buoyancy regulator for structures positioned in a body of water, wherein a wave-activated pump is used to provide neutral, negative and positive buoyancy in response to prevailing ambient wave conditions, through the variation of the ratio of a first fluid to a second fluid within a ballast tank.

Generation of Electrical Power Offshore

NºPublicación:  US20260048818A1 19/02/2026
Solicitante: 
SUBSEA 7 NORWAY AS [NO]
Subsea 7 Norway AS
US_20260048818_PA

Resumen de: US20260048818A1

A floating power-generation group comprises a floating hub such as a spar buoy that is anchored to subsea foundations by anchor lines. Floating power producer units such as wind turbines are connected electrically and mechanically to the hub. The power producer units are each moored by mooring lines. At least one mooring line extends inwardly toward the hub to effect mechanical connection to the hub and at least one other mooring line extends outwardly toward a subsea foundation. The groups are combined as a set whose hubs are connected electrically to each other via subsea energy storage units. Anchor lines of different groups can share subsea foundations. The storage units comprise pumping machinery to expel water from an elongate storage volume and generating machinery to generate electricity from a flow of water entering the storage volume. The pumping machinery can be in deeper water than the generating machinery.

WAVE POWER FACILITY

NºPublicación:  WO2026038961A1 19/02/2026
Solicitante: 
HURRICANE INNOVATION AS [NO]
HURRICANE INNOVATION AS
WO_2026038961_PA

Resumen de: WO2026038961A1

A wave power facility (100) comprising a support structure (101) installed on the seabed (103) and a top structure (107) supported by the support structure A plurality of wave units (1) are arranged at the sea surface (105). The wave units (1) are supported by harvest lines (113) extending between the top structure (107) and the seabed. The respective wave units (1) comprise a respective buoyancy part (1a) which is interchangeable between a compressed state and an expanded state.

A wave-activated buoyancy regulator

NºPublicación:  GB2643408A 18/02/2026
Solicitante: 
IMPACT9 ENERGY AND MARINE LTD [IE]
Impact9 Energy and Marine Ltd
GB_2643408_PA

Resumen de: GB2643408A

Wave-activated buoyancy regulator suitable for use in a variable buoyancy structure 200,300,400,500 positioned in a body of water 1110 the wave-activated buoyancy regulator comprising at least one ballast tank 2, wherein the ballast tank 2 is configured to retain a first fluid 8a of a first density and a second fluid 8b of a second density, wherein the buoyancy of the structure is controlled by variation of a ratio of the first fluid 8a to the second fluid 8b within the ballast tank 2. An wave actuated pump 40, mechanically coupled to a wave-activated structure optional being the variable buoyancy structure, and wherein the wave activated pump 40 is configured to cause at least one of the first fluid 8a or second fluid 8b to flow through at least one inlet 51 of the ballast tank 2, optionally being an outlet 52 of the ballast tank 2.

WAVE POWER FACILITY

NºPublicación:  EP4696881A1 18/02/2026
Solicitante: 
HURRICANE INNOVATION AS [NO]
Hurricane Innovation AS
EP_4696881_PA

Resumen de: EP4696881A1

A wave power facility (100) comprising a support structure (101) installed on the seabed (103) and a top structure (107) supported by the support structure. A plurality of wave units (1) are arranged at the sea surface (105). The wave units (1) are supported by harvest lines (113) extending between the top structure (107) and the seabed. The respective wave units (1) comprise a buoyancy part (1a) which is interchangeable between a compressed state and an expanded state.

一种新型波浪能发电装置

NºPublicación:  CN223923177U 17/02/2026
Solicitante: 
西安石油大学
CN_223923177_U

Resumen de: CN223923177U

本实用新型公开了一种新型波浪能发电装置,包括:固定立架,固定立架的一侧设置有活动安装架组,活动安装架组可沿固定立架高度方向上下移动;受力板,其设置在活动安装架组远离固定立架的一侧,受力板的下端与活动安装架组转动连接;能量转换机构,其设置在活动安装架组远离固定立架的一侧,能量转换机构的一端与活动安装架组上部相连接。本实用新型提供的一种新型波浪能发电装置,通过多结构的配合设计,使得装置能够通过波浪进行发电的效果,且整体结构较为简单、轻便,成本较低,易于批量安装,且能够跟随涨潮落潮现象进行上下移动,从而保持波浪能够始终与装置进行接触,进而使得装置能够持续发电。

波浪发电设备以及用于在波浪发电设备中使用的转子

NºPublicación:  CN121548689A 17/02/2026
Solicitante: 
维普托斯股份有限公司
CN_121548689_PA

Resumen de: TW202509346A

Disclosed is a wave power plant comprising a frame construction extending in a longitudinal direction and having a rotor shaft extending in the longitudinal direction of the frame construction, a plurality of rocking rotors, the plurality of rocking rotors being arranged rotatably with respect to the frame construction around the rotor shaft each rocking rotor comprising a buoyant body, the buoyant body having a shell, a bearing arranged at the rotor shaft, an interface construction configured to interconnect the buoyant body with the bearing, such that the rocking rotor is rotatably connected to the rotor shaft, wherein, the shell of the buoyant body has a triangular shape having a first side and a second side being first and second convex shaped sides and a third side being a third concave shaped side, the third concave shaped side facing the rotor shaft.

一种阵列式波浪能自供电海洋监测浮标

NºPublicación:  CN121536424A 17/02/2026
Solicitante: 
中国南方电网有限责任公司超高压输电公司广州局海口分局
CN_121536424_PA

Resumen de: CN121536424A

本发明公开了一种阵列式波浪能自供电海洋监测浮标,属于海洋工程技术领域,包括一个作为核心平台的主浮标以及阵列分布在主浮标周围的三个辅助漂浮结构。主浮标搭载多种传感器以监测海洋环境参数,并设有蓄电池。每个辅助漂浮结构均集成有牵引组件、波浪能发电组件以及锚锭组件。波浪能发电组件通过浮筒捕获波浪能,驱动液压发电系统将往复运动转化为电能,并通过牵引组件中的电线输送给主浮标的蓄电池,实现能源自给。该设计通过分布式布局显著提升了浮标系统在风浪中的稳定性,把锚链连接在波浪能装置而非主浮标上,可以防止三根锚链相互碰撞和缠绕,其模块化结构降低了维护难度,增强了系统在恶劣海况下的环境适应性与可靠性。

自立浮上水力発電装置

NºPublicación:  JP2026025786A 16/02/2026
Solicitante: 
宇野浩
JP_2026025786_PA

Resumen de: JP2026025786A

【課題】河川、用水等で水面上昇により水没せず、設置工事が不要で水車車羽根を増やして発電電力を増大した水力発電装置を提供する。【解決手段】水車浮力体1とスプロケット2を設け、最小2個は配置する水車3と、スプロケット2と噛み合うスプロケット用穴5を設け、水流を受ける板6を持つ水車羽根7を水車接続丁番8で接続して水車3の外周を長円形に接続した水車羽根列9と、水車3の回転を伝える水車スプロケット10と、回転を増速させる増速機構11と、発電機12と、喫水位置を適正に保つ補助浮力体13とから自立浮上水力発電装置14を構成する。水面位置に応じて浮上し、水車羽根7が水流を受けて水車羽根列9が水車3を駆動して増速機構を介して発電機により発電できる。設置工事不要、同寸法の他方式より発電電力は大きくできる。【選択図】図1

具有波浪能结构的养殖网箱

NºPublicación:  CN121511914A 13/02/2026
Solicitante: 
华能(临高)新能源有限公司中国华能集团清洁能源技术研究院有限公司华能(福建漳州)能源有限责任公司
CN_121511914_PA

Resumen de: CN121511914A

本发明提供一种具有波浪能结构的养殖网箱,涉及海洋鱼类养殖设备的技术领域,包括网箱结构、工作舱结构和多组波浪能结构,网箱结构开设有用于养殖鱼类的容置空间,网箱结构用于漂浮在水面;多组波浪能结构间隔分布并均与网箱结构的外部连接;每一组波浪能结构均包括气室、涡轮机和发电机;涡轮机和发电机连接,且涡轮机和发电机均设于气室内,涡轮机用于通过流经气室的风带动其转动;工作舱结构与网箱结构连接,且工作舱结构与发电机电连接。本发明缓解了现有技术中存在的对于海洋养殖平台因采用柴油发电机而存在一定污染的技术问题,而采用将波浪能与养殖网箱相结合进行融合开发,可以实现共享结构与运维,进而可以在一定程度上降低开发成本。

저유속 조류용 잠수식 발전소

NºPublicación:  KR20260021642A 13/02/2026
Solicitante: 
미네스토에이비
DK_202570147_A1

Resumen de: MX2025014284A

The invention relates to a submersible power plant (1) comprising a major rotor (2) arranged on a buoyant body (3) relative which it can rotate. The major rotor (2) comprises at least two major rotor blades (4) and is rotatable around a major rotor axis (A_r) from a fluid flow acting on the major rotor blades (4). The major rotor (2) comprises a minor rotor arranged on each major rotor blade (4), each comprising a minor rotor blade (7) rotatable around a minor rotor axis substantially perpendicular to the major rotor axis (A_r) and to an extension of the major rotor blades (4) from the major rotor axis (A_r) to each major rotor blade end (4a). The buoyant body (3) of the submersible power plant (1) is arranged to be secured to a structure by means of a tether and is arranged to change the angle (α) of the major rotor axis (A_r) relative the direction of the fluid flow (F_d), controlling the rotational speed of the major rotor (2).

一种适用于FIV发电的自适应流速调节装置

NºPublicación:  CN121530222A 13/02/2026
Solicitante: 
天津大学
CN_121530222_PA

Resumen de: CN121530222A

本发明提供了一种适用于FIV发电的自适应流速调节装置,包括基础框架,所述基础框架上设置有振子,所述振子的两侧对称设置有稳流结构,所述稳流结构与基础框架之间活动连接,所述稳流结构的一侧设置有复位结构,协助稳流结构相对于基础框架做平行复位运动;所述稳流结构的一侧设置有调速结构,所述调速结构根据稳流结构和复位结构的承载力适时调整。本发明采用上述的一种适用于FIV发电的自适应流速调节装置,提升发电装置发电效率并增强安全性,保证其在更宽流速范围内高效稳定发电。

光伏太阳能、风力能及波浪液压发电的海上养殖平台

NºPublicación:  CN121530281A 13/02/2026
Solicitante: 
江苏科技大学
CN_121530281_PA

Resumen de: CN121530281A

本发明公开了一种光伏太阳能、风力能及波浪液压发电的海上养殖平台,包括光伏太阳能发电装置、波浪能液压发电装置、风力发电机组、养殖网箱及海上平台;波浪能液压发电装置包括波浪俘获浮体、液压缸、蓄能器、液压马达和发电机;蓄能器包括壳体、充气组件和气囊,壳体的下方有进油阀,进油阀与气囊之间有菌形阀、弹簧和密封组件;过滤器包括过滤腔体、滤板供应舱、废滤板收集舱、弹簧座板、滤板更换电机和控制板;过滤腔体内有压差传感器,滤板更换电机连接有张紧辊,张紧辊与弹簧座板之间有张紧绳;过滤腔体与弹簧座板间连接有弹簧;弹簧座板与滤板供应舱间有推杆。本发明通过光伏太阳能、波浪能、风能的多能源协同互补,规避单一能源发电的间歇性缺陷。

一种收集不平衡力的装置及方法

NºPublicación:  CN121520114A 13/02/2026
Solicitante: 
汤福安
CN_121520114_PA

Resumen de: CN121520114A

本发明公开了一种收集不平衡力的装置及方法,能够高效捕捉海浪、风等环境的不平衡力,并转化为机械能或电能。装置包括不平衡力收集板、活塞、齿条及棘轮和/或齿轮机构等部件,通过精密的机械联动,将往复运动转换为同向旋转运动,进而驱动外部设备。本发明创新地在汽车头部应用,利用风阻进行空气压缩与回弹,兼具防撞与能量转换双重功效。同时,在山谷或海边的大型结构中,本发明能高效利用风力进行能量转换,为偏远地区提供清洁能源。与现有技术相比,本发明通过创新设计,提升了能量转换效率和系统稳定性。

调控转动惯量增强轴系稳定性的方法及海洋能发电机组

NºPublicación:  CN121520115A 13/02/2026
Solicitante: 
中国大唐集团科技创新有限公司清华大学
CN_121520115_PA

Resumen de: CN121520115A

本发明提供了一种调控转动惯量增强轴系稳定性的方法及海洋能发电机组,该方法包括:沿主轴周向固定安装至少一个离心滑块稳速装置,主轴连接叶轮;离心滑块稳速装置由一个滑杆、一个套装于滑杆上的滑块以及若干个用于控制滑块径向运动的弹性复位机构组成;滑杆的一端通过法兰或螺栓固定于主轴上,另一端向主轴径向延伸,并在末端设置限位板,以控制滑块的运动范围;弹性复位机构设置于所述主轴与滑块之间,以及滑杆末端与滑块之间。本发明通过完全被动的机械结构自适应调节转速,有效平抑因流体流速变化引起的转轮转速波动,有利于提高系统的轴系稳定性,降低运行过程中的振动,并减少因频繁转速变化引起的材料疲劳消耗,提高转轮使用寿命。

基于对称双摆与复位弹簧的波浪发电装置及发电方法

NºPublicación:  CN121520118A 13/02/2026
Solicitante: 
中国海洋大学
CN_121520118_PA

Resumen de: CN121520118A

本发明属于波浪能发电领域,具体为一种基于对称双摆与复位弹簧的波浪发电装置及发电方法,装置包括漂浮壳体,其底部通过锚链系泊。壳体内设有可绕中心主轴旋转的双摆系统,双摆通过复位弹簧约束,并装有双向驱动棘爪。摆的往复运动通过棘轮‑涡簧机构转换为单向旋转,涡簧起到平缓能量、缓冲储能的作用。旋转运动经锥形大齿轮、水平及垂向双联齿轮构成的增速传动链,最终驱动发电机发电。装置设有锁停机构,在小波高时锁停齿轮、储存能量于涡簧,待能量积累至阈值后释放以实现间断性发电。当波向与双摆平衡位置不垂直时,不对称的摆动力矩会通过复位弹簧与限位装置驱动整个中心主轴旋转,使双摆自动对准来波方向,实现全向自适应。

波浪能收集装置

NºPublicación:  CN121520117A 13/02/2026
Solicitante: 
北京航空航天大学
CN_121520117_PA

Resumen de: CN121520117A

本发明属于波浪能发电技术领域,具体涉及一种波浪能收集装置。本发明中的波浪能收集装置包括浮体、陀螺仪结构、传动结构、整流结构和发电模块;浮体浮于水面;陀螺仪结构包括外环、中环和内环,中环套设于内环且中环和内环转动连接,外环套设于中环且外环和中环转动连接,中环的旋转轴和外环的旋转轴垂直,浮体套设于外环,外环的外壁和第一通孔的孔壁固定连接;传动结构用于将输入端的往复直线运动转换为输出端的往复旋转运动;整流结构用于将输入端的往复旋转运动转换为输出端的单向旋转运动;发电模块的输入端与整流结构的输出端连接。通过使用本技术方案中的波浪能收集装置能够获得较大程度的垂荡运动,从而有效提高能源利用率。

一种自驱水冷的气动稳定式海上光伏支撑平台及控制方法

NºPublicación:  CN121516182A 13/02/2026
Solicitante: 
中国海洋大学
CN_121516182_PA

Resumen de: CN121516182A

本发明属于海上光伏支撑平台技术领域,具体提出一种自驱水冷的气动稳定式海上光伏支撑平台及控制方法,该平台利用振荡水柱腔体构成的气动群柱结构,通过腔内压缩空气与外部波浪的动态耦合作用,有效消散波浪能量,显著降低复杂海况下平台的运动响应,从而实现自适应稳定;同时,依托同一气腔压强波动驱动海水循环流动,构成无需外部能耗的自驱水冷系统,用于驱动海水取水、循环及光伏组件散热,以提升光伏组件发电效率,该平台在结构稳性与能量利用方面实现协同优化,具备优异的抗浪性能与能源自持能力。

一种波浪能转化装置

NºPublicación:  CN223908317U 13/02/2026
Solicitante: 
平顶山学院
CN_223908317_U

Resumen de: CN223908317U

本实用新型公开了一种波浪能转化装置,具体涉及波浪发电技术领域,包括驱动组件、传动组件和输出组件,驱动组件用于将波浪能转换为机械能,驱动组件与传动组件传动连接,传动组件的输出端包括两个棘轮‑齿轮组件,棘轮‑齿轮组件包括传动齿轮和棘轮,棘轮与传动齿轮能够啮合或分离,两个棘轮‑齿轮组件的棘轮的旋转方向相反,当一个棘轮‑齿轮组件的棘轮与传动齿轮啮合时,另一个棘轮‑齿轮组件的棘轮与传动齿轮分离,输出组件包括两个输入齿轮,两个输入齿轮分别与两个棘轮‑齿轮组件的传动齿轮啮合,输出组件的输出端用于与发电机连接。本实用新型结构简单,能够充分利用波浪能的往复运动,提高能量转换效率和发电质量。

一种适用于外海的航标

NºPublicación:  CN223905250U 13/02/2026
Solicitante: 
广东海工建设工程有限公司
CN_223905250_U

Resumen de: CN223905250U

本实用新型提供了一种适用于外海的航标,包括:内部中空的浮体,浮体顶部设有航标灯;发电机,发电机安装在浮体内部;蓄电池,蓄电池安装在浮体内部,蓄电池分别与发电机和航标灯电连接;旋转轴,旋转轴转动设置在浮体底部,旋转轴顶端伸入到浮体内与发电机传动连接,旋转轴底端沿其周向设有多个扇叶;阻尼系统,阻尼系统设置在浮体内部,用于降低浮体所受的晃动;锚定系统,锚定系统与浮体连接。本实用新型稳定性高,防台风能力强,且能利用海洋资源稳定解决航标供电能力。

INERTIAL PNEUMATIC WAVE ENERGY DEVICE

NºPublicación:  US20260043386A1 12/02/2026
Solicitante: 
LONE GULL HOLDINGS LTD [US]
LONE GULL HOLDINGS, LTD
US_20260043386_PA

Resumen de: US20260043386A1

A buoyant wave energy device is disclosed that incorporates an open-bottomed tube of substantial length in which is partially enclosed a first body of water that oscillates in response to wave action. The device incorporates a buoy to which an upper end of the tube is connected and inside of which is trapped a second body of water of substantial mass. A differential phase in the oscillations of the water trapped in the tube, and the oscillations of the buoy of augmented mass, result in the periodic compression of a pocket of air trapped at the top of the tube, and in the subsequent expulsion of pressurized air through a turbine, thereby generating electrical power.

WATER-DRAWING STRUCTURE FOR OCEAN ENERGY GENERATOR

NºPublicación:  US20260043385A1 12/02/2026
Solicitante: 
HSIEH HO YUAN [TW]
Hsieh Ho-Yuan
US_20260043385_PA

Resumen de: US20260043385A1

A water-drawing structure for an ocean energy generator includes a sea-water collection tank with multiple locating posts at its bottom. An intake conduit includes a check valve connected to the tank, and a water-drawing assembly connected to the intake conduit. A floating element on the water surface is connected to a linkage system comprising a main linkage, a piston rod and a floating element linkage. The main linkage pivots on a pillar at one end and is connected to the floating element linkage at the other end. The piston rod is connected between the main linkage and the water-drawing assembly. A counterweight is connected to the main linkage where it connects to the floating element linkage. One pillar has two positioning feet between which the main linkage passes. As waves cause the floating element, the linkage system drives the water-drawing assembly to pump seawater efficiently for power generation.

HYDROELECTRIC POWER GENERATION UTILIZING TIDAL FLOWS AND CORIOLIS FORCE

NºPublicación:  WO2026036122A1 12/02/2026
Solicitante: 
TALUKDAR SUBRATA [US]
TALUKDAR, Subrata
WO_2026036122_PA

Resumen de: WO2026036122A1

A system and method for harnessing and converting tidal energy into electricity utilizes the predictable nature of tidal phenomena. The system captures the Coriolis force, an inertial force imparted to a moving fluid by Earth's rotation, through a low-head turbine. The system creates a potential water column difference using multiple reservoirs and a tide capture/release algorithm. Water flows down this gradient through the turbine chamber to a lower potential energy reservoir, regulated by pump-assisted buoyant valve locks. The turbine design captures the summated rotational energy from the rotating water body created by the forced vortex and the Coriolis force as it exits the turbine chamber. This system provides a reliable, environmentally friendly, and virtually endless source of energy.

Vortex-Driven Dual-Wall Annular Piston Wave Energy Converter

NºPublicación:  KR20260020994A 12/02/2026
Solicitante: 
이호근

Resumen de: KR20260020994A

본 발명은 파랑·조위차·수두 등의 해양 에너지를 이용하여 유체를 와류 상태로 실린더 내부에 유도하고, 이중벽 환형 유로에서 압축하여 배출함으로써 전력을 생산하는 파력 발전 장치에 관한 것이다. 피스톤과 스크류 블레이드는 커넥팅 로드를 통해 연동되며, 스크류 블레이드는 self-cleaning 기능을 수행하여 해양 오염에 대응하면서 유동을 보조한다. 발전부는 크랭크축, 기어, 플라이휠 및 변속기를 포함하여 안정적인 회전 출력이 확보되고, 전기식 또는 유압식 PTO를 통해 전력을 생산한다. 단일 모듈에서 4모듈 엔진 및 격자형 군집 배열까지 확장 가능하여 대형 파력 발전소 구현이 용이하다.

HYDROELECTRIC POWER GENERATION UTILIZING TIDAL FLOWS AND CORIOLIS FORCE

NºPublicación:  US20260043387A1 12/02/2026
Solicitante: 
TALUKDAR SUBRATA [US]
Talukdar Subrata
US_20260043387_PA

Resumen de: US20260043387A1

A system and method for harnessing and converting tidal energy into electricity utilizes the predictable nature of tidal phenomena. The system captures the Coriolis force, an inertial force imparted to a moving fluid by Earth's rotation, through a low-head turbine. The system creates a potential water column difference using multiple reservoirs and a tide capture/release algorithm. Water flows down this gradient through the turbine chamber to a lower potential energy reservoir, regulated by pump-assisted buoyant valve locks. The turbine design captures the summated rotational energy from the rotating water body created by the forced vortex and the Coriolis force as it exits the turbine chamber. This system provides a reliable, environmentally friendly, and virtually endless source of energy.

GENERATOR

NºPublicación:  WO2026033930A1 12/02/2026
Solicitante: 
GET CLEAN ENERGY CO LTD [JP]
\u682A\u5F0F\u4F1A\u793E\u30B2\u30C3\u30C8\u30AF\u30EA\u30FC\u30F3\u30A8\u30CA\u30B8\u30FC
WO_2026033930_PA

Resumen de: WO2026033930A1

Problem To provide a generator that is driven by utilizing water pressure. Solution A drive mechanism of this generator 122 comprises: a pair of bellows pump chambers 102, 112 in which bellows pumps 101, 111 are disposed; a windmill 121 which rotates by using air sent from the bellows pumps, which expand and contract; and a generator 122 which is directly connected to the windmill 121. The bellows pump chambers 102, 112 are disposed in water, opening/closing doors 103, 113 of the bellows pump chambers are alternately opened and closed, and air flows into a windmill chamber from the bellows pump of the bellows pump chamber in which the opening/closing door is open. In a windmill chamber 120 in which the windmill 121 is disposed, switching plates 123, 124 that switch a flow passage of air are provided so that the windmill 121 and the generator 122 rotate in the same direction regardless from which of the bellows pump chambers 102, 112 the air enters.

WAVE ENERGY TO ELECTRICAL ENERGY CONVERTER

NºPublicación:  EP4689385A1 11/02/2026
Solicitante: 
UNIV DEL PAIS VASCO/EUSKAL HERRIKO UNIBERTSITATEA [ES]
Universidad del Pa\u00EDs Vasco/Euskal Herriko Unibertsitatea
AU_2024253203_PA

Resumen de: AU2024253203A1

The present invention relates to a wave energy to electrical energy converter, the wave energy converter comprising a hull (1), a movable mass (3), a guide (4) for displacement of the mass (3) and an electric power generator (10); the electric power generator (10) comprising a rotor, the mass (3) being coupled to the rotor by means of a mechanism configured to convert displacement of the mass (3) into rotation of the rotor; the mass (3), the guide (4), the generator (10) and the mechanism being in the hull (1); the guide having a port to starboard direction; the converter comprising a controller configured to adjust a rotor torque on the basis of the instantaneous position of the mass (3), instantaneous velocity of the mass (3) and the rolling of the hull (1).

METHOD AND SYSTEM FOR CONVERTING MECHANICAL ENERGY OF AN OSCILLATING BODY INTO ELECTRICAL ENERGY

NºPublicación:  EP4689383A1 11/02/2026
Solicitante: 
UNIV DEL PAIS VASCO/EUSKAL HERRIKO UNIBERTSITATEA [ES]
Universidad del Pa\u00EDs Vasco/Euskal Herriko Unibertsitatea
ES_2986240_PA

Resumen de: ES2986240A1

The present invention relates to a method of converting mechanical energy of oscillations into electrical energy, the method comprising adjusting a displacement of a mass (1) mechanically coupled to an electrical machine (3), the coupling being such that the electrical machine (3) generates the electrical energy from the displacement of the mass (1) in the oscillations, the displacement being relative to an oscillating body; the displacement being adjusted by an adjustment of a force applied by the electrical machine (3) to the mass (1); and the applied force being adjusted by a controller configured so that a control objective is to achieve that an instantaneous velocity of the displacement of the mass (1) is positively accelerated by a gravitational force (Fg) applied to the mass (1) at certain instants of the oscillations. (Machine-translation by Google Translate, not legally binding)

SELF-CONTAINED HIGH-ENERGY-DENSITY COMPUTING SYSTEMS, AND METHODS OF USE

NºPublicación:  EP4691204A1 11/02/2026
Solicitante: 
OCEANBIT INC [US]
Oceanbit Inc
KR_20250160206_PA

Resumen de: MX2025011803A

Self-contained blockchain mining and high-energy-density computing systems have a low temperature heat engine (LTHE) with a working fluid loop extended between a heat source and a heat sink; a biockchain mining device connected to receive electricity generated from the LTHE; a heat exchanger on the working fluid loop; and a coolant loop extended between the blockchain mining device and the working fluid loop (heat exchanger). A self-contained high-energy-density computing data center (HEDC) system is disclosed comprising: a low temperature heat engine (LTHE) with a working fluid loop extended between a heat source and a heat sink; an HEDC device connected to receive electricity generated from the LTHE; a heat exchanger on the working fluid loop; and a coolant loop extended between the HEDC device and the working fluid loop (heat exchanger). A method is also disclosed comprising: generating electricity using a low temperature heat engine (LTHE); operating an HEDC device, using electricity generated by the LTHE, to carry put computer processes; and cooling the HEDC device by heat exchange with working fluid of the LTHE.

HYDRAULIC MOTOR

NºPublicación:  EP4689416A1 11/02/2026
Solicitante: 
WORLDPOWER AS [NO]
Worldpower AS
CN_121127684_PA

Resumen de: AU2024253856A1

A hydraulic motor for energy conversion and method for operating a hydraulic motor5 for energy conversion are provided. The present invention attains the above-described objective by a pressure annulling unit that can selectively annul the ambient pressure outside the pressure annulling unit.

WAVE ENERGY DEVICE

NºPublicación:  EP4689384A1 11/02/2026
Solicitante: 
GEPS TECHNO [FR]
Geps Techno
WO_2024200584_PA

Resumen de: WO2024200584A1

The invention relates to a device for capturing wave energy, the device comprising a structure (1) that is intended, when in use, to float and to be anchored to a seabed, this structure comprising at least a first and a second wall (10, 11), the first and second walls being non-coplanar, one of the walls (10) comprising at least a first opening and a first flap (101) mounted inside the at least one first opening by being able to rotate about a first axis so as to be able to be moved rotationally about the first axis owing to the effect of the surge and produce, when in operation, mechanical energy, two adjacent walls of the structure being joined together via a float (12) to form a polygonal structure that has a bottom and an upper portion facing one another, the first flap being vertical in the rest position and behaving as a movable barrier which creates a pressure difference over the height of the flap so as to produce mechanical energy, the device also comprising means for converting the mechanical energy of the flaps into electrical energy.

TURBINE BLADE

NºPublicación:  EP4689382A1 11/02/2026
Solicitante: 
UNIV COURT UNIV OF EDINBURGH [GB]
The University Court Of The University of Edinburgh
WO_2024209197_PA

Resumen de: WO2024209197A1

A turbine blade (10), a turbine (1) comprising said turbine blade (10), a trailing edge assembly (11', 11'', 111') for a turbine blade (10', 10'', 110') and a kit of parts for a turbine blade (10', 10'', 110'). The turbine blade (10) comprising a leading edge (12), a trailing edge (14), a pressure side (16), and a suction side (18); wherein each of the pressure side (16) and the suction side (18) extend between the leading edge (12) and the trailing edge (14); wherein the pressure side (16) is formed of a first wall (20); wherein the suction side (18) is formed of a second wall (22); and wherein the first wall (20) and the second wall (22) are configured to be independently deformable and move relative to each other proximal the trailing edge (14) in response to loading on the turbine blade (10).

一种基于海星仿生学的新型自适应风能-光能-波浪能集成发电结构体系

NºPublicación:  CN121497551A 10/02/2026
Solicitante: 
桂林理工大学
CN_121497551_PA

Resumen de: CN121497551A

本发明公开了一种基于海星仿生学的新型自适应风能‑光能‑波浪能集成发电结构体系,包括风力发电、太阳能光伏发电、波浪能发电模块、海星仿生浮式平台及系泊系统。所述浮式平台为五轴对称结构,含中心体与五个星形臂平台;太阳能光伏发电模块包括布置于星形臂平台顶部的水上固定光伏阵列和嵌入星形臂平台外侧的水下可折叠光伏阵列;波浪能发电模块包括振荡水柱式单元与点吸收式浮子单元;风力发电模块沿星形臂径向对称布置且风机叶片可自适应收缩;所述系泊系统呈星形布置并动态调节张力与长度。本发明实现了海上风能、太阳能和波浪能的高效、互补、集成与自适应利用,显著提升了发电效率、平台稳定性和环境适应性,降低了度电成本与结构风险。

一种利用水轮机转换波浪能的发电浮标及其系泊方法

NºPublicación:  CN121493164A 10/02/2026
Solicitante: 
集美大学
CN_121493164_PA

Resumen de: CN121493164A

本发明涉及海洋能开发利用技术领域,具体为一种利用水轮机转换波浪能的发电浮标及其系泊方法,发电浮标包括浮体、连杆、混流式水轮机、减摇翅片,浮体固定安装在连杆的上方,连杆下方连接混流式水轮机,减摇翅片呈圆周状均匀分布固定在整个发电浮标的表面,混流式水轮机自上而下主要由上导流筒、转轮、内密封罩、外密封罩、下导流筒同轴安装组成,内密封罩固定在转轮叶片的圆周外侧,内密封罩上下圆周表面分别固定连接上导流筒的圆柱外壳和下导流筒的圆柱外壳的端面,外密封罩的上下安装端面通过橡胶密封固定安装在上导流筒和下导流筒上。本发明的浮体采用鱼漂型结构,采用混流式水轮机,外表面的减摇翅片等结构有效提高波浪能转换效率。

一种海上风电机组防潮除湿系统及方法

NºPublicación:  CN121508012A 10/02/2026
Solicitante: 
华电科工股份有限公司
CN_121508012_PA

Resumen de: CN121508012A

本发明公开了一种海上风电机组防潮除湿系统,包括波浪能发电装置、分布式构网储能装置、除湿装置、多端口直流变换器和风电机组电源端口;波浪能发电装置经多端口直流变换器和除湿装置电连接,为风电机组的除湿装置供电;和/或分布式构网储能装置经多端口直流变换器和除湿装置电连接,为风电机组的除湿装置供电;和/或风电机组电源端口经多端口直流变换器和除湿装置电连接,为风电机组的除湿装置供电。本发明实现波浪能发电防潮除湿,实现了多种能源多端口驱动发电方案,多端口控制方案。

一种漂浮式双叶轮风光发电-海水制氢联合平台

NºPublicación:  CN121497561A 10/02/2026
Solicitante: 
江苏大学瀚辰精英海洋工程江苏有限公司
CN_121497561_PA

Resumen de: CN121497561A

本发明提供了一种漂浮式双叶轮风光发电‑海水制氢联合平台,包括半潜平台、风力机组、海水制氢系统、系泊装置和控制系统;所述半潜平台包括三个半潜式浮筒和桁架;两个所述半潜式浮筒上分别安装风力机组;另一所述半潜式浮筒上设有海水制氢系统,所述风力机组产生的电能输送至海水制氢系统中,通过电解海水制氢;所述风力机组上设有太阳能发电组件,形成风‑光协同发电;所述半潜平台上安装系泊装置;所述控制系统包括电力分配模块和动态锚泊模块;所述电力分配模块用于调配风力机组和太阳能光伏发电组件所产生的电力;所述动态锚泊模块用于响应海况变化,调节系泊装置。本发明实现了风能、太阳能与海洋能(海水原料)的多能互补与协同利用。

FLOATING APPRATUS FOR POWER GENERATION

NºPublicación:  KR20260019788A 10/02/2026
Solicitante: 
김정태

Resumen de: KR20260019788A

본 발명의 일 실시예에 따른 해상에 부유되는 부유체의 상면에 고정되는 부유식 발전 장치에 있어서, 소정 높이를 가지며, 상기 부유체의 상면에 고정되는 고정부, 및 상기 고정부의 양 측 각각에 결합되는 한 쌍의 지지부를 포함한다. 상기 지지부들 각각은, 상면, 상기 상면 보다 작은 길이를 갖는 하면, 및 상기 상면과 상기 하면을 연결하는 양측면을 포함하는 사다리꼴 형상을 가지며, 상단부의 양 끝단부에 회전 가능하게 결합되는 한 쌍의 제1 롤러, 하단부의 양 끝단부에 회전 가능하게 결합되는 한 쌍의 제2 롤러, 및 상기 지지부에 대응되는 형상을 가지며, 상기 한 쌍의 제1 롤러 및 상기 한 쌍의 제2 롤러를 따라 회전되는 회전벨트를 포함한다. 상기 지지부들 사이에 형성되며, 파도에 의해 상기 지지부들의 회전벨트를 따라 회전되어 운동에너지를 생성하고, 상기 운동에너지를 전기 에너지로 변환시키는 복수의 발전유닛을 포함한다.

一种单摆式压电-电磁复合波浪能发电装置

NºPublicación:  CN223881293U 06/02/2026
Solicitante: 
宁波大学
CN_223881293_U

Resumen de: CN223881293U

本实用新型涉及一种单摆式压电‑电磁复合波浪能发电装置,属于波浪能发电技术领域。该装置包括上下半球状壳体、安装在上壳体内的弹性限位机构和单摆机构、以及安装在下壳体内的配重块;所述弹性限位机构用于限定单摆机构的摆动幅度,上下半球状壳体相连构成一个密封球体;所述单摆机构由摆动支架和压电‑电磁发电组模块构成,摆动支架顶部与上壳体内顶部铰接,平衡状态下压电‑电磁发电组模块水平固定在摆动支架末端,压电‑电磁发电组模块整体为柱状,两端配置有包含定磁铁的压电发电模块,中间配置有包含线圈和动磁铁的电磁发电模块。本装置利用磁铁间的排斥力对压电发电模块施加压力,结合了压电与电磁能量采集机制,提高了能量转换效率。

一种自动气动式造波机

NºPublicación:  CN223883165U 06/02/2026
Solicitante: 
广元天英精密传动系统有限公司
CN_223883165_U

Resumen de: CN223883165U

本实用新型涉及造波机技术领域的一种自动气动式造波机,包括造波机本体,造波机本体的外端开设有移动轨道,移动轨道的内部通过电动滚轮转动连接有插接棒,插接棒的侧端固定连接有电动推杆,电动推杆的伸缩端上固定连接有安装块;在推动造波机本体,将其移动至使用位置内的过程中,可启动电动推杆,使其伸缩端推动安装块、套接板以及橡胶板一同向远离造波机本体的一侧移动,从而调整安装块、套接板以及橡胶板和造波机本体之间的距离,利用套接板与橡胶板不仅能够对造波机本体进行防护,还能够对外力进行缓冲,故而能够对造波机本体外端以及其内部元件进行防护,使其不易因与外物碰撞而损坏,继而能够提高造波机本体的使用寿命。

海底設立海洋熱エネルギー転換プラント

NºPublicación:  JP2026020225A 06/02/2026
Solicitante: 
ジアベルファウンデーション,インコーポレイテッド
JP_2026020225_PA

Resumen de: CN115349057A

The marine thermal energy conversion power plant may include: an onshore operating center; the offshore bottom-supported structure comprises a power station evaporator and a power station condenser; and a control cable extending between the operating center and the power plant machine in the bottom-supported structure. A method of providing power may include transmitting a signal from an onshore operating center to an offshore unattended structure; and in response to the signal, operating an evaporator, a condenser, and a pump located in the unattended configuration to generate power between 0.5 megawatt and 15 megawatt in the unattended configuration.

一种太阳能储热增强型海洋温差能水电联产系统及方法

NºPublicación:  CN121474082A 06/02/2026
Solicitante: 
北京理工大学
CN_121474082_PA

Resumen de: CN121474082A

本发明提供了一种太阳能储热增强型海洋温差能水电联产系统及方法,属于海洋可再生能源与储能技术领域,包括海上风电场、太阳能加热熔盐储热单元、混合式温差能水电联产单元,太阳能加热熔盐储热单元包括温海水泵、光伏光热一体化系统PV/T、熔盐加热器、热熔盐储存罐、冷熔盐储存罐、熔盐换热器;混合式温差能水电联产单元包括开式循环部分和闭式循环部分。本发明采用上述的一种太阳能储热增强型海洋温差能水电联产系统及方法,旨在实现对海上风能、太阳能与海洋温差能的协同高效利用。

一种垂荡浮子式波浪能发电装置

NºPublicación:  CN121474041A 06/02/2026
Solicitante: 
中山大学
CN_121474041_PA

Resumen de: CN121474041A

本发明涉及波浪能发电技术领域,特别是涉及一种垂荡浮子式波浪能发电装置,包括支撑架、垂荡浮子、驱动装置、监测件和控制系统;支撑架漂浮或固定于海面;垂荡浮子上下滑动连接于支撑架;驱动装置连接于支撑架,驱动装置的输出端连接垂荡浮子;监测件能够监测海上波浪的浪高;监测件和驱动装置均与控制系统电连接;正常海况下,监测件监测到浪高小于设定值,控制系统控制驱动装置驱动下放垂荡浮子,垂荡浮子能够在波浪作用下上下移动,实现发电;强浪工况下,监测件监测到浪高大于设定值,控制系统控制驱动装置上提垂荡浮子并使垂荡浮子固定,避免垂荡浮子受强浪作用而剧烈冲击支撑架。

一种用于海洋浮式平台的抗极端海况锚链装置

NºPublicación:  CN121469795A 06/02/2026
Solicitante: 
哈尔滨工程大学
CN_121469795_PA

Resumen de: CN121469795A

本发明涉及海洋工程装备技术领域,且公开了一种用于海洋浮式平台的抗极端海况锚链装置,包括平台本体、主链、副链和锚块,锚块与主链的下端固定连接,还包括锚泊系统,平台本体的侧壁固定连接有制动机箱,锚泊系统封装在制动机箱内,制动机箱的一侧设置有排线机构,主链穿过排线机构与外部锚泊系统的卷轮连接,锚泊系统通过感知海况的变化自动收放调节主链的张力,增大锚泊系统韧性,避免极端海况对锚泊系统的直接砰击,实现平台本体在极端海况下的自动保护。本技术方案可自适应台风工况,自动调节锚链长度以降低张力的锚泊系统,在保证正常海况系泊稳定性的同时,还可解决极端情况下锚链张力超限的问题。

自适应海况的多自由度组合式海洋能发电装置及控制方法

NºPublicación:  CN121474040A 06/02/2026
Solicitante: 
中国海洋大学
CN_121474040_PA

Resumen de: CN121474040A

本发明属于海洋可再生能源技术领域,具体涉及自适应海况的多自由度组合式海洋能发电装置及控制方法。波浪能输入机构和换向机构安装于主动轴上,电能转换端机构安装于从动轴上,波浪能输入机构在换向机构作用下向电能转换端机构输入单向转动;自调节齿轮比系统置于浮体座内部,各齿轮组间的齿轮比不同,主动轮通过轴承安装于主动轴上且其内部开有内槽,从动轮固定安装于从动轴上;可控插销装置固定安装于主动轴内,控制插销伸入或退出内槽,切换齿轮组以适应不同的海况。本发明通过改变齿轮比,以此来改变摆锤运动时的阻力,使摆锤运动与浮体运动达到共振,可以更有效地利用在不同海况下的波浪能,显著提高波浪能利用效率。

一种基于动态定点聚波的波浪能高效转换装置及控制方法

NºPublicación:  CN121474037A 06/02/2026
Solicitante: 
山东大学
CN_121474037_PA

Resumen de: CN121474037A

本申请属于波浪能发电控制技术领域,提供一种基于动态定点聚波的波浪能高效转换装置及控制方法,所述高效转换装置包括第一反射波调节结构、第二反射波调节结构及旋转驱动单元;第一反射波调节结构和第二反射波调节结构能够各自独立地绕各自的与定点位置的径向距离保持不变的旋转轴进行旋转,以各自独立地调节产生的反射波的朝向,使定点位置处于入射波与反射波的相长干涉区域;旋转驱动单元用于驱动所述第一反射波调节结构和第二反射波调节结构各自独立地旋转。本申请提供的高效转换装置及控制方法,能够通过动态调节两个反射波的反射角度,使定点位置始终处于波浪的相长干涉区域,实现在各种海况下波浪能的高效转换。

一种海洋生态环境检测设备

NºPublicación:  CN121469804A 06/02/2026
Solicitante: 
浙江海洋大学
CN_121469804_PA

Resumen de: CN121469804A

本发明公开了一种海洋生态环境检测设备,属于海洋监测技术领域,旨在解决现有观测技术成本高昂、布放困难、无法实现水体剖面与海底界面同步精细化监测的问题。由多套布设于不同区域的水体剖面检测单元构成。各单元集成三大功能模块:水面部分通过浮板与发电组件利用波浪能和太阳能发电;水体部分借助柔性防护管及沿线布设的多个图像传感器,实现水体垂直剖面多层次观测;海底部分通过锚锭装置及其搭载的检测设备,采集海底界面温度与图像数据。其中,锚锭装置采用可泄放重量的创新设计,通过控制模块远程排空填充物,实现便捷回收;本发明具备低成本、模块化、易于布放与回收的优势,实现了能够实现水体剖面及海底界面多维度检测。

海洋能发电机的汲水结构

NºPublicación:  CN121474042A 06/02/2026
Solicitante: 
谢和源
CN_121474042_PA

Resumen de: CN121474042A

本发明公开了一种海洋能发电机的汲水结构,其包括:集水槽;复数定位柱,其分别设置于该集水槽底部;输水管,其内部设置有逆止瓣膜,输水管一端连通于集水槽内部;汲水组件,其一端连通该输水管;漂浮件;连杆组,其包括主连杆、活塞连杆、浮件连杆,主连杆一端枢设于其中一定位柱另一端与浮件连杆枢接,浮件连杆枢接于主连杆的另一端相连于漂浮件,活塞连杆一端链接于汲水组件,活塞连杆另一端枢接于主连杆;配重件,其设置于主连杆枢设浮件连杆的一端。

一种潮汐能发电及智慧养殖系统

NºPublicación:  CN121474043A 06/02/2026
Solicitante: 
西华大学
CN_121474043_PA

Resumen de: CN121474043A

本申请属于智能化水产养殖技术领域,具体揭示了一种潮汐能发电及智慧养殖系统,该系统包括:级联的动力传入模块、动力传输模块、发电模块和智慧养殖模块,其中,所述动力传入模块用于捕获海浪冲击动能,并转换为机械能输入所述动力传输模块;所述动力传输模块用于对机械能稳定传递并转换为单向旋转运动,以驱动所述发电模块工作;所述发电模块用于将机械能转换为电能,并为所述智慧养殖模块供电;所述智慧养殖模块用于基于所述发电模块供电以实现养殖智能化控制和管理。本申请通过机械传动与智能控制系统,能够实现潮汐动能向电能的高效转化与养殖过程的精细化、自动化管理。

一种扰流能发电装置及制备方法

NºPublicación:  CN121485515A 06/02/2026
Solicitante: 
上海交通大学
CN_121485515_PA

Resumen de: CN121485515A

本发明涉及一种扰流能发电装置及制备方法,其包括:回摆平台以及设置在所述回摆平台上的若干个摩擦发电单元;所述摩擦发电单元包括绝缘管体、设置在所述绝缘管体内部且能沿管体轴向滚动的至少一个导电滚动体以及分别固定设置在所述绝缘管体两端的正电极和负电极;所述绝缘管体以其轴向呈水平的方式固定于所述回摆平台上,所述回摆平台用于随着扰流而摆动;各所述摩擦发电单元的所述正电极之间通过导线并联,各所述摩擦发电单元的所述负电极之间通过导线并联。该扰流能发电装置结构工艺简单,易于生产;利用摩擦发电技术收集扰流能,集成度高、清洁无污染;可为海洋浮标等设备供电。

WAVE ENERGY CONVERTER

NºPublicación:  AU2024288459A1 05/02/2026
Solicitante: 
VULJAJ SOKOLJ
VULJAJ, Sokolj
AU_2024288459_PA

Resumen de: AU2024288459A1

A wave energy converter for converting kinetic energy of waves into electric energy is provided. The wave energy converter includes a base configured for being submerged on a seabed (23), a first floating weight (3), a first lever (6) connected to the floating weight (3) and the base, a first hydraulic cylinder (4) and a first piston (21) slidably received within the hydraulic cylinder (4), one of the first hydraulic cylinder (4) and the first piston (21) being connected to the base, the other one being connected to the first lever (6) or the first floating weight (3), a first output non-return valve (15) connected to an output of the first hydraulic cylinder (4), a first input non-return valve (14) connected to an input of the first hydraulic cylinder (4), a high-pressure hydraulic line (16) connected to the first output non-return valve (15), a low-pressure hydraulic line (17) connected to the first input non-return valve (14), a hydraulic tank (18) connected to the low-pressure hydraulic line (17), and a hydraulic motor (5) or turbine coupled to an electric generator, wherein an inlet (27) of the hydraulic motor (5) or the turbine is coupled to the high-pressure hydraulic line (16) and preferably an outlet (28) of the hydraulic motor (5) or the turbine is coupled to the tank (18).

PNEUMATIC WAVE-ENERGY POWER-GENERATION AND BREAKWATER SYSTEM

NºPublicación:  WO2026026639A1 05/02/2026
Solicitante: 
TSINGHUA UNIV [CN]
\u6E05\u534E\u5927\u5B66
WO_2026026639_PA

Resumen de: WO2026026639A1

A pneumatic wave-energy power-generation and breakwater system. The system comprises a breakwater (10) and a plurality of power generation apparatuses (20). A plurality of accommodation spaces (11) and a plurality of wave guide wall units (12) are provided on a seaward side of the breakwater (10), and wave guide wall units (12) are provided on two sides of any one of the accommodation spaces (11). The plurality of power generation apparatuses (20) are accommodated and fixed within the plurality of accommodation spaces (11) in one-to-one correspondence. The foremost edge of each wave guide wall unit (12) facing the sea protrudes beyond the foremost edges of the power generation apparatuses (20) on two sides of the wave guide wall unit (12). Each power generation apparatus (20) comprises a cylinder body (21) and a turbine (22) rotatably disposed in the cylinder body (20). The bottom of the cylinder body (21) is provided with an opening on the seaward side. When waves surge into the cylinder body (20) via the opening, the top of the cylinder body (20) further forms an air chamber (211) located above a water-air interface and an air flow channel (212) communicating the air chamber (211) with the external atmosphere. The pressure difference within the air flow channel (212) can drive the turbine (22) to rotate. The system can achieve efficient capture and utilization of wave energy while providing wave breaking and wave dissipation functions.

Wave-energized diode pump

NºPublicación:  AU2026200307A1 05/02/2026
Solicitante: 
LONE GULL HOLDINGS LTD
Lone Gull Holdings, Ltd
AU_2026200307_A1

Resumen de: AU2026200307A1

Disclosed is an apparatus that floats at the surface of a body of water over which waves pass. Passing waves cause a nominally vertical axis of the apparatus to tilt away from an axis normal to the resting surface of the body of water. Tilting of sufficient magnitude and duration allows a fluid to flow through a channel that in an un-tilted apparatus would require the gravitational potential energy of the fluid to increase (i.e., to flow uphill), but, because of the tilt allows the fluid to flow through the channel in a downhill direction. Flowing water is trapped at a plurality of levels which in an un-tilted apparatus are higher than the respective levels from which the fluid has flowed. A subsequent tilt of the apparatus in a sufficiently different direction, and of a sufficient magnitude and duration, causes the trapped water to flow to new, yet higher levels. Successive wave-driven tilts of the apparatus incrementally raise water to a height and/or head from which a portion of its gravitational potential energy can be released, and/or converted to electrical power, by causing the water to return to a lower level by flowing through a water turbine thereby energizing an operationally connected generator, or through some other apparatus that performs a useful function when supplied with a flow of high-pressure water. an a n

エネルギー回収方法

NºPublicación:  JP2026019483A 05/02/2026
Solicitante: 
トヨタ自動車株式会社
JP_2026019483_PA

Resumen de: US20260028107A1

An energy collecting method includes: a step in which a floating body, which constitutes a power generation system, stores energy by the floating body generating power while automatically sailing; and a step in which an energy transport ship collects energy from the floating body near an edge of a sea area in which the floating body automatically sails.

水中海洋ストリームから電気を生成するためのシステム

NºPublicación:  JP2026504485A 05/02/2026
Solicitante: 
エナジーヴォールトインコーポレイテッド
JP_2026504485_PA

Resumen de: US2025369413A1

A system for generating electricity from an underwater stream for generating electricity for the electric grid or for producing hydrogen includes an underwater turbine. The underwater turbine includes an upper pontoon, a lower pontoon, and a pylon structure that extends between and interconnects the upper pontoon and the lower pontoon. The underwater turbine also includes a single propeller assembly rotatably coupled to the lower pontoon. Rotation of the propeller operates a generator to generate electricity. The underwater turbine can be moored to a sea floor via a mooring weight. An optional friction winch is operable to raise or lower the underwater turbine relative to the sea floor.

SYSTEM AND METHODS FOR OCEANIC AND ATMOSPHERIC CARBON DIOXIDE AND CLIMATE MANAGEMENT, ALGAL FOSTERING, AND INITIATION AND MAINTENANCE OF FISHERIES BY DEEPER NUTRIENT RICH WATER PUMPING

NºPublicación:  US20260036111A1 05/02/2026
Solicitante: 
ORRIDGE ST JEAN [BM]
Orridge St. Jean
US_20260036111_PA

Resumen de: US20260036111A1

Provided herein are systems and methods for energy capture, energy storage, and stored energy translation to mechanical work, having: piston drive pump cylinder tube for housing a first volume of liquid, and a piston drive pump; wherein the piston drive pump is configured for motion; an energy storage tank for storage of a first volume of air and a second volume of liquid wherein the first volume of air is compressed air; a recovery tank for housing a second volume of air and a third volume of liquid; a liquid driven turbine connected to the energy storage tank and in communication with the second volume of liquid of the energy storage tank; a plurality of unidirectional liquid tubes and air tubes for connecting the piston drive cylinder tube, the energy storage tank, and the recovery tank; an impeller associated with the turbine; and a subsystem for energy generation.

FLOATING WAVE ENERGY CONVERSION SYSTEM TO AMPLIFY PITCH OSCILLATIONS

NºPublicación:  WO2026029687A1 05/02/2026
Solicitante: 
INST SUPERIOR TECNICO [PT]
INSTITUTO SUPERIOR T\u00C9CNICO
WO_2026029687_PA

Resumen de: WO2026029687A1

The present invention is in the field of systems for converting wave energy into electrical energy, in particular a floating wave energy conversion system (1) comprising a water duct (2), a pneumatic chamber (3), an air turbine (4), a flotation tank (6) and at least one oscillatory amplification chamber (5) of tubular shape with two closed ends, at least one of which has an internal volume occupied by a gas and a liquid. The floating wave energy conversion system (1) makes it possible to amplify the pitch oscillations under sea waves. This amplification is caused by the alternating flow of liquid in the oscillatory amplification chamber (5), that increases the oscillation of the water column and increases the amount of energy converted.

ENERGY PRODUCTION SYSTEM USING BUOYS

NºPublicación:  WO2026027904A1 05/02/2026
Solicitante: 
TARLAMIS VASILEIOS [GR]
TARLAMIS, Vasileios
WO_2026027904_PA

Resumen de: WO2026027904A1

The invention relates to an innovative system for generating electricity that harnesses the power of waves. The system consists of buoys (4) which, under the influence of the waves, set in motion a system of gears (3) and straight shafts (6). This movement is converted into rotational movement and drives a generator (1), thus producing electricity. Each gear (3) has an inner ring (8) with inclined teeth (9) and the shaft (6) of the gear (3) has a safety device (10) with a corresponding inclination, so that the gear (3) can only rotate in the direction corresponding to energy production. This technology offers a clean and renewable source of energy.

多角度磁悬浮发电装置

NºPublicación:  CN121461679A 03/02/2026
Solicitante: 
刘春杰
CN_121461679_PA

Resumen de: CN121461679A

本发明提供一种多角度磁悬浮发电装置,包括:磁悬浮组件、发电磁铁和壳体,所述磁悬浮组件包括筒状的基座磁铁和半球形的悬浮磁铁,所述基座磁铁的上端面包括与悬浮磁铁外侧面相对应的曲面,基座磁铁的曲面重合于一个球的球面,基座磁铁的曲面所在的球的直径大于悬浮磁铁所在球的直径,基座磁铁与壳体固定相连,所述发电磁铁与悬浮磁铁相连,发电磁铁的下端穿过基座磁铁,所述壳体上设有线圈,线圈通过整流电路与蓄电池相连。本发明的有益效果是由于采用上述技术方案,可以实现利用设备的无摩擦各角度摇摆动能进行发电,具有机构简单,发电效率高,设备稳定性高的特点。

一种用于船舶的潮汐能发电装置

NºPublicación:  CN121452107A 03/02/2026
Solicitante: 
上海海事大学
CN_121452107_PA

Resumen de: CN121452107A

本发明公开了一种用于船舶的潮汐能发电装置,涉及潮汐发电技术领域,包括固定板,固定板的侧面设置可适应性调节设备角度的限位支架单元,限位支架单元的侧面设置有随着液体流向而调节叶片弧度的双向发电单元。限位支架单元包括固定安装在固定板侧面的基板、设置在基板侧面用于限定双向发电单元运动轨迹的侧板;本发明通过随着海水的波动,双向发电单元会进行适应性的摆动,确保桨叶与液面平行,此时转轴会在连接块背面转动,同时限位滑杆会在限位滑槽内部滑动,通过限位滑槽限制主体外壳的运动轨迹,同时避免主体外壳过度运动,由于桨叶与液面始终保持一定程度上的平行,进一步提升桨叶的旋转效率。

一种波浪能与风能的复合驱动装置及水上设备

NºPublicación:  CN121452118A 03/02/2026
Solicitante: 
国家海洋技术中心
CN_121452118_PA

Resumen de: CN121452118A

本发明公开了一种波浪能与风能的复合驱动装置及水上设备,涉及海洋能的综合开发和利用技术领域,波浪能与风能的复合驱动装置包括:风能直驱结构、波浪能直驱结构、波浪能再驱动结构、风波耦合驱动结构和传动结构;风能直驱结构包括风能捕获组件和风能推进组件,风能捕获组件用于捕获风能,并将风能转化为驱动风能推进组件的动能;波浪能直驱结构包括翼板组件,翼板组件能够随波浪摆动;翼板组件能够通过波浪能再驱动结构、传动结构和风波耦合驱动结构将翼板组件的摆动传递至风能推进组件,实现对风能推进组件的再驱动。本发明不仅有效提升了波浪能和风能的综合利用效率,而且弥补了单一能源不足的缺陷。

一种磁性多稳态波浪供能可变构海洋机器人及其驱控方法

NºPublicación:  CN121448579A 03/02/2026
Solicitante: 
山东大学
CN_121448579_PA

Resumen de: CN121448579A

本发明涉及一种磁性多稳态波浪供能可变构海洋机器人及其驱控方法,属于海洋观测技术领域,机器人包括舱体,舱体一端设有水翼,舱体另一端设有推进器;舱体内部设有磁性内振子俘能体、液压PTO及浮力调节系统,液压PTO及浮力调节系统位于磁性内振子俘能体的下方,用于输出动力和控制机器人在水中的净浮力,设计四水翼协同变构,支持USV、AUV、AUG、Argo多模式灵活转换和全维度场景适配,实现混合驱控。

温差能发电与养殖水净化一体化系统以及深远海养殖平台

NºPublicación:  CN121444870A 03/02/2026
Solicitante: 
南方海洋科学与工程广东省实验室(湛江)
CN_121444870_PA

Resumen de: CN121444870A

本发明公开了一种温差能发电与养殖水净化一体化系统以及深远海养殖平台,涉及深远海养殖技术领域;所述温差能发电与养殖水净化一体化系统包括温差能发电组件以及养殖水净化组件;所述温差能发电组件用于利用冷却余水和/或表层海水与深层海水之间的温差驱动汽轮发电机循环发电,以作为所述深远海养殖平台的电力源;其中所述冷却余水或所述表层海水的温度值高于所述深层海水的温度值;所述养殖水净化组件用于将所述温差能发电组件所排出的发电余水并引入至所述养殖舱,用于替换和净化所述养殖舱的养殖水体。本发明提供的技术方案能够实现能源的高效利用与养殖水体的生态净化,提升深远海养殖平台的能源自给能力与生态养殖水平。

LOW TIDAL FLOW SUBMERSIBLE POWER PLANT

NºPublicación:  MX2025014284A 03/02/2026
Solicitante: 
MINESTO AB [SE]
MINESTO AB
DK_202570147_A1

Resumen de: MX2025014284A

The invention relates to a submersible power plant (1) comprising a major rotor (2) arranged on a buoyant body (3) relative which it can rotate. The major rotor (2) comprises at least two major rotor blades (4) and is rotatable around a major rotor axis (A_r) from a fluid flow acting on the major rotor blades (4). The major rotor (2) comprises a minor rotor arranged on each major rotor blade (4), each comprising a minor rotor blade (7) rotatable around a minor rotor axis substantially perpendicular to the major rotor axis (A_r) and to an extension of the major rotor blades (4) from the major rotor axis (A_r) to each major rotor blade end (4a). The buoyant body (3) of the submersible power plant (1) is arranged to be secured to a structure by means of a tether and is arranged to change the angle (α) of the major rotor axis (A_r) relative the direction of the fluid flow (F_d), controlling the rotational speed of the major rotor (2).

一种自给能源型的海上旅游综合平台

NºPublicación:  CN223865078U 03/02/2026
Solicitante: 
东允乙化(北京)生态科技有限公司
CN_223865078_U

Resumen de: CN223865078U

本实用新型公开了一种自给能源型的海上旅游综合平台,包括有支撑平台,在支撑平台下方间隔设置有浮箱,相邻的浮箱的顶部之间通过连接架连接,所述支撑平台敷设在连接架顶部;在支撑平台的上方设置有生活区;所述生活区内设置有房屋主体,在房屋主体的内部设置有竖向通道,且在竖向通道的底部设置有绿植区;所述房屋主体包括有娱乐区和位于娱乐区上部的住宅区;所述娱乐区的边缘超出住宅区的边缘,为了更好的满足人民对于海上娱乐旅游观光的问题。

역진자식 파력 에너지 변환 장치

NºPublicación:  KR20260015829A 03/02/2026
Solicitante: 
고우다스콘스탄티노스
CN_121263598_PA

Resumen de: GR1010736B

An inverted pendulum wave energy converting device for floating structures, boats, and ships is disclosed. It comprises an inverted pendulum structure having a moment of inertia changing system, and an energy converting connection system that connects the inverted pendulum structure to a host vessel. The capability to control the moment of inertia of the inverted pendulum structure about the axis of oscillation of the host vessel, substantially minimizes the danger of capsizing in a survival mode, maximizes wave energy conversion into electric power, and minimizes the host vessel oscillations amplitude. In boats and ships, the inverted pendulum structure may comprise a wind-assisted propulsion system for maximizing clean energy harvesting efficiency.

波浪能和洋流能集成发电装置

NºPublicación:  CN121452106A 03/02/2026
Solicitante: 
浙江大学
CN_121452106_PA

Resumen de: CN121452106A

本发明公开了波浪能和洋流能集成发电装置,涉及发电装置技术领域,包括发电机构,发电机构包括旋转部一和旋转部二;洋流能捕获机构,洋流能捕获机构的动力输出端连接旋转部一以驱动其旋转;机械运动整流机构,机械运动整流机构包括往复升降部、旋转输出部及运动整流结构,运动整流结构连接往复升降部与旋转输出部,能将往复升降部的升降双向动力转换为旋转输出部的旋转动力;旋转输出部连接旋转部二,能驱动旋转部二按与旋转部一转动方向相反的方向旋转;波浪能捕获机构,波浪能捕获机构的浮动输出端连接往复升降部。本发明能将波浪能发电装置和洋流能发电装置耦合到一起,起到发电机转速加和的作用,进而提升能源利用率。

一种水环境管理的水质监测装置

NºPublicación:  CN223865076U 03/02/2026
Solicitante: 
南京市市政设计研究院有限责任公司
CN_223865076_U

Resumen de: CN223865076U

本申请涉及水质监测设备技术领域,尤其是涉及一种水环境管理的水质监测装置,包括船体,船体上设置有监测组件、驱动件、供电组件和锚定件,船体上设置有控制面板和蓄电池组,蓄电池组电连接于控制面板,监测组件包括信号接收器和监测器,监测器设置于船体上且电连接于控制面板,船体内设置有电连接于控制面板的转动电机,转动电机的输出轴转动穿至船体外,船体外的转动电机的输出轴上设置有监测杆,监测杆的轴线垂直于转动电机的输出轴的轴线,监测杆背向转动电机输出轴的一端设置有监测传感器,监测传感器电连接于监测器,船体上设置有信号发射器,船体上设置有用于固定监测杆的固定件。本申请具有提高水质监测结果准确性的效果。

一种波浪能转换装置

NºPublicación:  CN223868098U 03/02/2026
Solicitante: 
武汉理工大学
CN_223868098_U

Resumen de: CN223868098U

本实用新型公开了一种波浪能转换装置,涉及波浪能发电技术领域,包括转换组件和运动组件,转换组件包括固定壳、第一接收件和第二接收件,第一接收件沿第一方向滑动连接固定壳,第二接收件沿第二方向滑动连接固定壳,第一方向与第二方向呈夹角设置。运动组件包括相连接的运动件和浮子,运动件位于第一接收件与第二接收件之间,并能够在运动时驱使第一接收件和第二接收件滑动。浮子可以置于水面,水面的波浪在起伏的过程中能够推动浮子运动,以通过运动件带动第一接收件和第二接收件运动,供发电机发电。第一接收件与第二接收件的滑动方向呈夹角设置,运动件在水平方向以及在竖直方向上均能够驱使第一接收件和第二接收件滑动,发电效率高。

一种漂浮式平流水力发电装置

NºPublicación:  CN223868099U 03/02/2026
Solicitante: 
黄英起
CN_223868099_U

Resumen de: CN223868099U

本申请提供了一种漂浮式平流水力发电装置,涉及水力发电技术领域,包括漂浮体和对向双转子发电机,对向双转子发电机固定安装在漂浮体的底端中部,对向双转子发电机包括发电机外转子和发电机内转子轴,发电机内转子轴的左端中部固定安装有内转子涡轮,发电机外转子的左端中部安装有外转子涡轮;内转子涡轮位于外转子涡轮的左端中部,且与外转子涡轮呈反向转动,漂浮体的左端中部设置有锚定桩。本实用新型通过将对向双转子发电机安装在水的表面,相较于传统水力发电技术更简单,更有实用性,更易于实施和建造,更会对资源有效的利用和开发,使得一些江河的中下游也有建造水力发电的条件,增强使用广泛性。

SISTEMA FLUTUANTE DE CONVERSÃO DE ENERGIA DAS ONDAS PARA AMPLIFICAÇÃO DE OSCILAÇÕES EM CABECEIO

Nº publicación: PT119636A 02/02/2026

Solicitante:

INST SUPERIOR TECNICO [PT]
INSTITUTO SUPERIOR T\u00C9CNICO

PT_119636_A

Resumen de: WO2026029687A1

The present invention is in the field of systems for converting wave energy into electrical energy, in particular a floating wave energy conversion system (1) comprising a water duct (2), a pneumatic chamber (3), an air turbine (4), a flotation tank (6) and at least one oscillatory amplification chamber (5) of tubular shape with two closed ends, at least one of which has an internal volume occupied by a gas and a liquid. The floating wave energy conversion system (1) makes it possible to amplify the pitch oscillations under sea waves. This amplification is caused by the alternating flow of liquid in the oscillatory amplification chamber (5), that increases the oscillation of the water column and increases the amount of energy converted.

traducir