Ministerio de Industria, Turismo y Comercio LogoMinisterior
 

Alerta

Resultados 219 resultados
LastUpdate Última actualización 04/04/2026 [07:46:00]
pdfxls
Solicitudes publicadas en los últimos 30 días / Applications published in the last 30 days
previousPage Resultados 75 a 100 de 219 nextPage  

APPARATUS TO PRODUCE ELECTRIC ENERGY FOR WATER VEHICLE AND METHOD TO USE THIS APPARATUS

NºPublicación:  US20260070644A1 12/03/2026
Solicitante: 
TIUSANEN JUKKA PEKKA [FI]
JPTUF OY [FI]
TIUSANEN Jukka-Pekka,
JPTUF OY
US_20260070644_PA

Resumen de: US20260070644A1

An apparatus fixed to a water vehicle to produce electric energy has a turbine rotor supported under the water surface in a horizontal operation position and to it fixed first axis to transfer the rotation motion from the rotor and in which apparatus the rotor has been supported and adapted into with it same centered cylinder that has been fixed to the frame with vertically to it fixed joint that is situated a vertical distance (a) from the rotor and adapted to turn in relation to the frame that has been fixed to the water vehicle round the joint axis and to settle into the direction of the water flow by its power and where the first part of the second axis has been adapted same centered with the joint axis and the first and the second axis have been connected to each other with a rotation movement direction changer when the horizontal rotation of the first axis has been adapted to change into a vertical rotation movement in the first part and the second axis has been connected to a generator to transfer the rotation movement into it and the generator has been connected to a battery to store the generated electric energy to it.

SWING TYPE POWER GENERATION DEVICE

NºPublicación:  US20260074589A1 12/03/2026
Solicitante: 
SHIJIAZHUANG JIANMU FEED CO LTD [CN]
Shijiazhuang Jianmu Feed Co., Ltd
US_20260074589_PA

Resumen de: US20260074589A1

A swing type power generation device, comprising a workbench, power generation components, and support components; the power generation component comprises a rotating component, a transmission component, and a generator. The workbench of the invention tilts and swings under the action of external energy, and then the rotating component rotates, driving the generator to generate electricity through the transmission component. A spring is provided at the bottom of the workbench and an accommodating cavity for storing liquid is provided inside the workbench. The arrangement of the spring and the accommodating cavity can further increase the instability of the workbench, increase the swing amplitude and swing frequency of the workbench when it swings, and make the workbench produce continuous swinging under the action of external force, thereby achieving the purpose of continuous and efficient power generation.

A Buoyant Actuator and a Wave Energy Conversion System Incorporating a Buoyant Actuator

NºPublicación:  AU2026201307A1 12/03/2026
Solicitante: 
CETO IP PTY LTD
CETO IP PTY LTD
AU_2026201307_A1

Resumen de: AU2026201307A1

Abstract The present invention a buoyant actuator (11) for use in a system which converts wave motion to energy. The buoyant actuator (11) comprises a body (19) which presents an exterior surface. The body (19) provides at least one first tank (23) and at least one second tank (25), whereby an upper portion (21) of the body (19) is located above a fluid surface (12) of a fluid body (13) when the buoyant actuator is in a transportation position. When in the transportation position a volume of each of the at least one first tank (23) and the at least one second tank (25) above a waterline (112) of the buoyant actuator (11) is substantially empty. eb e b Figure 1 23a 25c 25a 23c 23b 25b Figure 2 eb e b a c a c b b

Inertial hydrodynamic pump and wave engine

NºPublicación:  AU2026201233A1 12/03/2026
Solicitante: 
LONE GULL HOLDINGS LTD
Lone Gull Holdings, Ltd
AU_2026201233_A1

Resumen de: AU2026201233A1

WO 2021/168125 PCT/US2021/018596 The present invention provide a method for manufacturing hydrogen, comprising: deploying a hydrodynamic pump to an ocean, the hydrodynamic pump including an inertial water tube comprising a constricting feature to pressurize ocean water, a pressurized fluid reservoir partially filled with ocean water transported from the ocean to the pressurized fluid reservoir via the inertial water tube, a turbine energized by a flow of pressurized ocean water exiting the pressurized fluid reservoir, an electrical generator coupled to the turbine, an electrolyzer, and a hydrogen tank; transmitting electrical energy from the electrical generator to the electrolyzer to generate hydrogen; and storing the hydrogen in the hydrogen tank. eb e b

Inertial hydrodynamic pump and wave engine

NºPublicación:  AU2026201234A1 12/03/2026
Solicitante: 
LONE GULL HOLDINGS LTD
Lone Gull Holdings, Ltd
AU_2026201234_A1

Resumen de: AU2026201234A1

WO 2021/168125 PCT/2021/018596 The present invention provides a wave engine, comprising: a buoy configured to rise and fall under an influence of a body of water; a hollow tube depending from the buoy and having a water ingress/egress mouth at a lower end and a water discharge spout at an upper end, and further comprising an interior including a wall defining a water accelerating surface adapted to eject water through the water discharge spout in response to an increasing hydrodynamic pressure within the interior of the hollow tube; a water collection reservoir in fluid communication with the water discharge spout; a first effluent conduit for diverting at least a portion of water collected in the water collection reservoir from the water collection reservoir; and a first electrical energy generator for converting an energy of a portion of water in the first effluent conduit into electrical energy. eb e b

Schwimmende Windenergieanlage mit einem auf einem schwimmenden Fundament angeordneten Turm

NºPublicación:  DE102024136925A1 12/03/2026
Solicitante: 
AERODYN CONSULTING SINGAPORE PTE LTD [SG]
aerodyn consulting Singapore pte ltd
DE_102024136925_PA

Resumen de: DE102024136925A1

Schwimmende Windenergieanlage (10) mit einem schwimmenden Fundament, das eine Mehrzahl von sich von einem Zentralelement (20) erstreckenden Armen (30) aufweist, einem auf dem Zentralelement (20) des schwimmenden Fundaments angeordneten Turm (40) mit wenigstens einer auf dem Turm (40) angeordneten mit diesem drehfest verbundenen, einen Rotor aufweisenden Energiewandlungseinheit, und einem das Fundament mit der wenigstens einen Energiewandlungseinheit verbindendem Seilsystem (50) zur Einleitung der auf den Turm (40) und die wenigstens eine Energiewandlungseinheit wirkenden Schubkräfte in das Fundament, wobei das Seilsystem (50) Vorspannungen aufweist, deren Beträge jeweils größer als im Betrieb der Windenergieanlage zu erwartende, der jeweiligen Vorspannung entgegenwirkende Lasten sind, dadurch gekennzeichnet, dass der Turm (40) in einem am Zentralelement (20) angeordneten axialen Pendelgleitlager (60) gelagert ist.

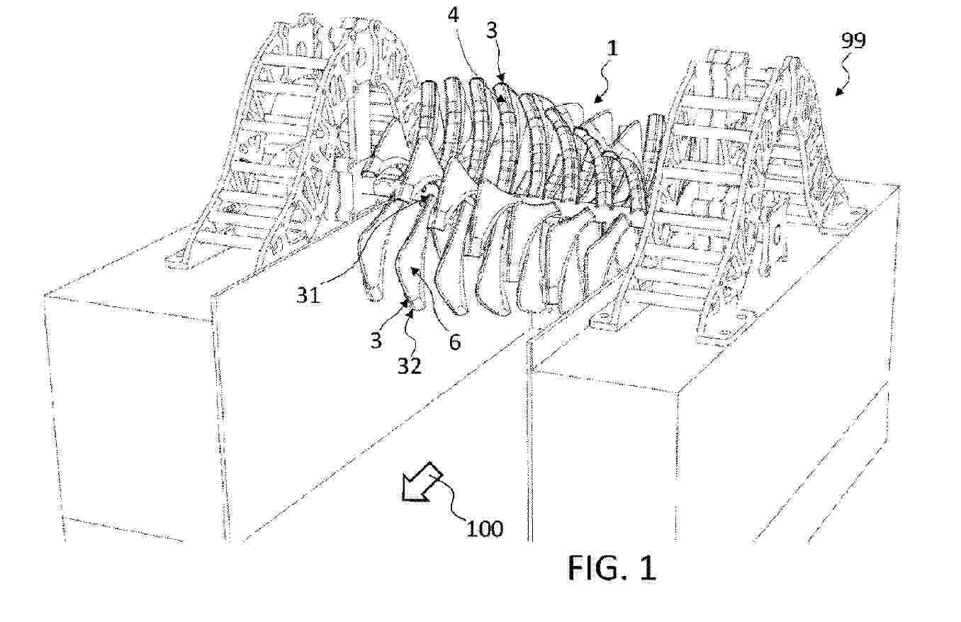
BOAT WITH AN ENERGY RECOVERY APPARATUS FROM BOAT MOTION

NºPublicación:  AU2024331225A1 12/03/2026
Solicitante: 
FERRARI S P A
FERRARI S.P.A
AU_2024331225_PA

Resumen de: AU2024331225A1

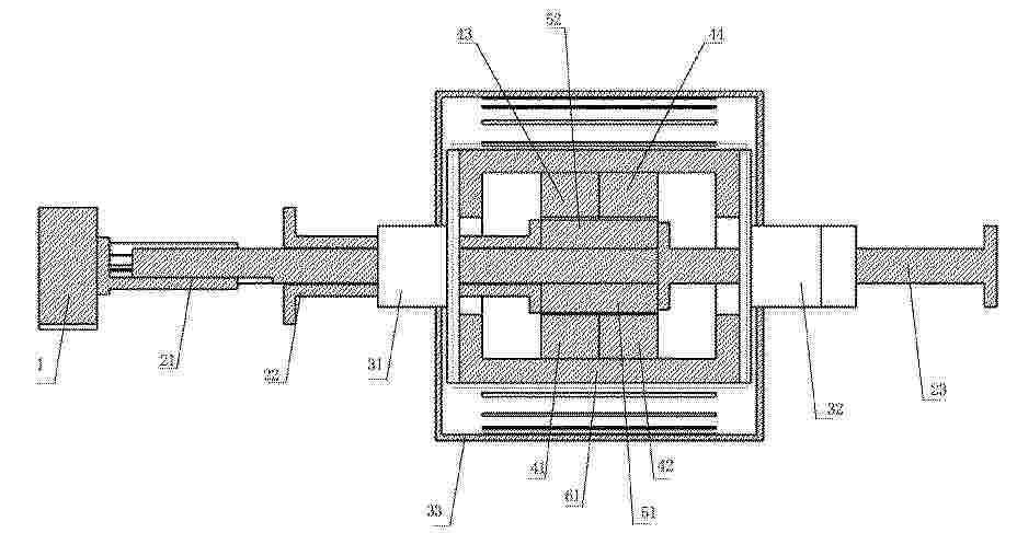
A boat (1) includes a hull (2), a first mechanism (4) coupled to the hull (2) and comprising a mass (3) suspended relative to the hull (2) by at least one kinematic chain (5) comprising at least one slide (6) with a translatory degree of freedom along a first straight axis (K), an electric mo tor- genera tor (8), which comprises a rotor (9) rotating about a rotor axis (R) and is configured to convert a kinetic energy of a rotation of the rotor (9) into electrical energy, and a second mechanism (10) configured to transform a reciprocating translatory motion of the slide (6) along the first straight axis (K) into a corresponding rotation of the rotor (9) around the rotor axis (R) according to a single direction of rotation.

Inertial hydrodynamic pump and wave engine

NºPublicación:  AU2026201235A1 12/03/2026
Solicitante: 
LONE GULL HOLDINGS LTD
Lone Gull Holdings, Ltd
AU_2026201235_A1

Resumen de: AU2026201235A1

WO 2021/16125 PCT/US2021/018596 The present invention provides a hydrodynamic pump, comprising: an upper hull enclosure adapted to float at a surface of a body of liquid; a liquid collecting chamber at least partially housed within the upper hull enclosure, the liquid collecting chamber adapted to confine liquid and gas at elevated pressure; a liquid pressurizing columnar conduit extending below the upper hull enclosure, the liquid pressurizing columnar conduit comprising an ingress orifice disposed outside the upper hull enclosure, an injection orifice opening into the liquid collecting chamber, and an interior wall defining a liquid pressurizing surface adapted to pressurize liquid in the liquid pressurizing columnar conduit when the hydrodynamic pump oscillates vertically in the body of liquid to inject liquid into the liquid collecting chamber; a first effluent conduit configured to drain liquid from the liquid collecting chamber and having an effluent port for discharging liquid from the first effluent conduit; and a first flow governor adapted to maintain a liquid pressure gradient between the liquid collecting chamber and the effluent port. WO 2021/16125 PCT/US2021/018596 eb e b

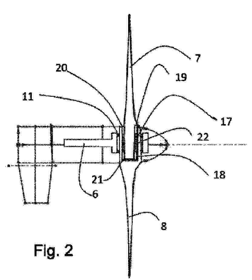
A ROTATABLE BUOY FOR A WAVE ENERGY CONVERTER TO PROVIDE INCREASED ENERGY CAPTURE

NºPublicación:  EP4707581A2 11/03/2026
Solicitante: 
WALL BRIAN [IE]
WALL, Brian
EP_4707581_PA

Resumen de: EP4707581A2

The present invention relates to the use of marine devices for ocean energy extraction.The invention provides for a rotatable buoy (2) that uses aligned vanes (133) to keep the buoy (2) oriented parallel with the wave front to enable the use of longer buoys (2), and therefore larger buoys (2), to increase energy capture for a wave energy converter.

SYSTEMS AND METHODS FOR REMOVAL AND SEQUESTRATION OF ACIDITY FROM SURFACE SEAWATER

NºPublicación:  EP4705626A1 11/03/2026
Solicitante: 
LONE GULL HOLDINGS LTD [US]
Lone Gull Holdings, Ltd
AU_2024262429_A1

Resumen de: AU2024262429A1

A method by which an environmental energy (e.g., wave energy) is harvested, converted into electrical power, and thereafter used to electrolyze seawater into hydrogen and chlorine gases. Those gases are recombined into hydrogen chloride from which is formed hydrochloric acid solution which is diluted and deposited at a depth sufficient to ensure its neutralization and sequestration for a significant period of time (e.g., for over a millennium). By removing chloride ions from a portion of the sea adjacent to its upper surface and depositing them into a portion of the sea more adjacent to its bottom, acidity is shifted from the surface to base of the sea, and the surface ocean is given a greater ability to absorb and buffer atmospheric carbon dioxide without a corresponding increase in acidity.

APPARATUS FOR GENERATING ENERGY FROM A WAVE

NºPublicación:  EP4705627A1 11/03/2026
Solicitante: 
SWELLGEN LTD [NZ]
SwellGen Limited
KR_20260027144_PA

Resumen de: AU2024265268A1

A wave powered apparatus for generating rotational mechanical energy, having a buoyant energy generation capsule and upper and lower inclined guide surfaces to restrain and guide movement of the energy generation capsule. The apparatus is partly submerged in a body of water and the energy generation capsule rolls in a unidirectional manner about a capsule axis of rotation along the guide surfaces, rolling up the incline in response to forces from waves in the body of water and rolling down the incline in response to gravitational force.

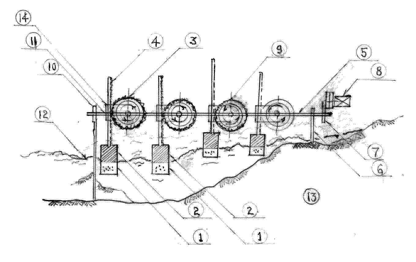
水力発電のパワーハーベスティング装置

NºPublicación:  JP2026508660A 11/03/2026
Solicitante: 
オークスリミテッド
JP_2026508660_PA

Resumen de: GB2628167A

Disclosed is a hydroelectric power system for use with a moving body of water and which includes a conveyor 114 which is supported by two rotating members 110,112 connected to a support 102, the conveyor having paddles 116 for interacting with the flowing water 106 to extract the energy and the support being extendable to control the position of the conveyor. There may be an electricity generator connected to the conveyor via at least one of the rotating members. The change in position may be to keep the conveyor at the surface of the water. There may be a water level sensor and the paddles may be configured as pairs forming chevrons, there may be a gap at the tip of the chevron. There may be a guard to prevent debris from getting into the apparatus, and there may be a guide to direct more water flow into the paddles.

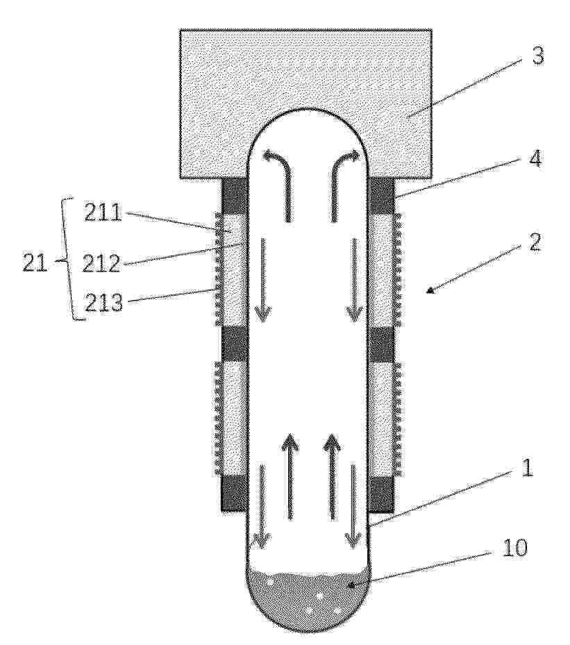
INERTIAL HYDRODYNAMIC PUMP AND WAVE ENGINE

NºPublicación:  EP4708644A2 11/03/2026
Solicitante: 
LONE GULL HOLDINGS LTD [US]
Lone Gull Holdings, Ltd
EP_4708644_A2

Resumen de: EP4708644A2

A buoyant hydrodynamic pump is disclosed that can float on a surface of a body of water over which waves tend to pass. The pump incorporates an open-bottomed tube with a constriction. The tube partially encloses a substantial volume of water with which the tube's constriction interacts, creating and/or amplifying oscillations therein in response to wave action. Wave-driven oscillations result in periodic upward ejections of portions of the water inside the tube that can be collected in a reservoir that is at least partially positioned above the mean water level of the body of water, or pressurized by compressed air or gas, or both. Water within such a reservoir may return to the body of water via a turbine, thereby generating electrical power (making the device a wave engine), or else the device's pumping action can be used for other purposes such as water circulation, propulsion, or cloud seeding.

仿鹰喙式摩擦-电磁复合式水下能量捕获装置及监测系统

NºPublicación:  CN121643392A 10/03/2026
Solicitante: 
广州蓝色能源研究院北京纳米能源与系统研究所
CN_121643392_PA

Resumen de: CN121643392A

本发明涉及纳米新能源技术领域中的仿鹰喙式摩擦‑电磁复合式水下能量捕获装置及潜标监测系统。水下能量捕获装置包括:外壳、摆杆、摩擦发电单元、电磁发电单元、储能装置。外壳内部设置有:铰接部、以铰接部为圆心的摆动限位区。摆杆的一端与铰接部铰接,另一端在摆动限位区内与外壳滑动连接。摩擦发电单元用于摆杆在摆动限位区摆动时进行摩擦发电。电磁发电单元用于摆杆在摆动限位区摆动时进行电磁发电。本发明结合摆杆与弹簧储能结构,通过摆杆灵敏接收低频波浪激励产生的重心变化并转换为摆动运动,同时利用弹簧储能结构储存初始能量,有效解决了低频低幅水下波浪激励下装置启动困难的问题,显著提高了水下波浪能收集效率。

一种能够利用波浪发电的挡浪墙

NºPublicación:  CN121629885A 10/03/2026
Solicitante: 
中交广州航道局有限公司中交华南交通建设有限公司
CN_121629885_PA

Resumen de: CN121629885A

本发明属于挡浪墙技术领域,尤其公开了一种能够利用波浪发电的挡浪墙,包括墙体,所述墙体整体外形呈L型结构,墙体顶面安装有发电组件,所述发电组件包括:浮动件、摆臂和发电件;所述墙体外侧部设置有浮动件,浮动件漂浮在水面上,浮动件顶部转动连接在摆臂底端,摆臂顶端利用转动部件传动连接发电件输入端,上下浮动的浮动件利用摆臂使得发电件输入端转动。本发明通过移动板的移动从而调整齿轮的位置,方便齿轮对应配合不同外径的弧形齿条,方便在墙体顶部安装不同类型的发电组件,能够在波浪幅度较大的水面上安装外径较大的弧形齿条,进一步提高发电件的发电效率。

Offshore floating power plant

NºPublicación:  KR20260033788A 10/03/2026
Solicitante: 
에이치디현대중공업주식회사
KR_20260033788_PA

Resumen de: KR20260033788A

본 발명은 해상 부유 발전 장치에 관한 것이다. 본 발명은 적어도 하나 이상의 블레이드를 가지는 풍력 발전 유닛, 상기 풍력 발전 유닛을 지지하는 타워, 상기 타워에 연결되며 해상에 부유하는 부유 구조물 및 상기 부유 구조물의 하부에 배치되되, 상기 부유 구조물에 대해서 위치가 조정가능한 적어도 하나 이상의 운동 감쇠 조립체를 포함하는, 해상 부유 발전 장치를 포함한다.

化学物質を回収および処理する船舶ならびに海洋における流体の移送のための方法

NºPublicación:  JP2026508169A 10/03/2026
Solicitante: 
ローンガルホールディングス,リミテッド
JP_2026508169_PA

Resumen de: US2025340275A1

Embodiments disclosed herein include a vessel for floating and traveling adjacent to an upper surface of a body of water. In an embodiment, the vessel comprises a support structure, a first floatation chamber coupled to the support structure, a second floatation chamber coupled to the support structure, the second floatation chamber laterally spaced apart from and fluidly coupled to the first floatation chamber, and a third floatation chamber coupled to the support structure, the third floatation chamber laterally spaced apart from the first floatation chamber and from the second floatation chamber. In an embodiment, the vessel further comprises a robot system coupled to the support structure, where the robot system comprises an end effector and a nozzle head coupled to the end effector.

ブロック

NºPublicación:  JP2026041134A 10/03/2026
Solicitante: 
株式会社不動テトラ
JP_2026041134_PA

Resumen de: JP2026041134A

【課題】消波ブロック、被覆ブロック、根固ブロック等としての本来の機能を維持して、コンクリートブロックに作用する波力を利用した波力発電又は流体力を利用した流体力発電を行うことができるブロックを提供する。【解決手段】ブロック1は、貫通孔部11aを有し、沿岸域、海域、河川区域又は放流設備に配置されるブロック本体10と、貫通孔部11aの内部に配置され、貫通孔部11aに流入する流体Wによって発電するタービン発電機2と、を備える。また、タービン発電機2には、送電線5が接続される。【選択図】図1

一种基于波浪能预测模型的液压阻尼自适应调节方法及电子设备

NºPublicación:  CN121634836A 10/03/2026
Solicitante: 
宁波大学
CN_121634836_PA

Resumen de: CN121634836A

本发明公开了一种基于波浪能预测模型的液压阻尼自适应调节方法及电子设备,涉及液压阻尼调节领域,本发明方法通过将波浪能预测模型与液压阻尼自适应调节机制深度耦合,实现了对齿轮齿条式PTO系统的前瞻性智能控制。其在训练阶段依次轮换目标装置与邻域装置,构建覆盖预设海域范围内浮标的通用预测模型;在运行阶段,基于最新多变量观测时序数据构建模型输入,输出目标装置对应浮标所处位置的未来波浪能预测值,并据此提前调节液压油路上控制阀的开度,同时结合装置实际运行状态进行反馈修正。突破了传统PTO系统仅依赖当前状态反馈的局限,显著提升了阻尼调节的预见性与鲁棒性,有效避免了小浪工况下的能量捕获不足和大浪冲击下的机械过载风险。

一种潮差自调节式波浪能发电装置

NºPublicación:  CN121630628A 10/03/2026
Solicitante: 
智清众维科技(北京)有限公司
CN_121630628_PA

Resumen de: CN121630628A

本发明涉及波浪能发电技术领域,具体涉及一种潮差自调节式波浪能发电装置,包括:发电单元与浮体连接;发电单元包括发电单元和牵引构件;发电单元与牵引构件连接,牵引构件的两端分别连接悬浮配重单元和沉底单元;当潮差变化时,发电单元与所述牵引构件进入待发电状态,浮体带动所述悬浮配重单元同步上下运动,使发电装置达到平衡状态,促使发电单元与牵引构件进入发电状态,将浮体随波浪上下运动的机械能转化为电能。本发明通过悬浮配重单元,使牵引构件在不同潮差条件下均保持适当的张紧状态,无需额外的机械调节机构即可自动适应潮差的升降,有效避免传统装置中因牵引松弛或过度拉伸导致的发电效率降低和结构疲劳问题。

一种海洋混凝土结构自供能防护系统

NºPublicación:  CN121629970A 10/03/2026
Solicitante: 
青岛理工大学江苏启青新型材料科技有限公司青岛中惠青实业发展有限公司
CN_121629970_PA

Resumen de: CN121629970A

本申请提供了一种海洋混凝土结构自供能防护系统,包括能量管理单元、粘结功能层和依次设置在粘结功能层上的能量收集层和防护发电层;所述粘结功能层用于粘附于混凝土基体上,所述粘结功能层包括粘弹基质和锌粉牺牲阳极颗粒;所述能量收集层包括弹性支撑结构和依次设置于粘结功能层上的下电极层、负电性摩擦材料层,所述下电极层通过绝缘胶粘附于粘结功能层上;所述防护发电层包括防护钢板和密封结构;所述能量管理单元用于将能量收集层与防护发电层摩擦发电产生的交流脉冲转换为直流电后存储于能量存储模块,并按需向粘结功能层供电。本申请可为混凝土结构提供持续稳定的阴极保护电流,实现能源自给和长效防护。

浪高监测的自供能式传感器及方法

NºPublicación:  CN121632071A 10/03/2026
Solicitante: 
广州蓝色能源研究院
CN_121632071_PA

Resumen de: CN121632071A

本发明涉及海洋能传感设备技术领域,具体涉及一种浪高监测的自供能式传感器及方法。自供能式传感器包括两端为敞口的壳体一、密封的壳体二以及多个发电单元。壳体一的上端固定安装于壳体二的一侧且其下端向外侧弯曲设置。多个发电单元沿壳体二的轴线方向依次设置。发电单元包括转动件、基板一和基板二,基板一和基板相对的两侧壁上设有一对电负性不同的介电层和电极层,通过转动件的转动而带动基板二相对于基板一进行转动,进而带动介电层和电极层发生相对移动而产生电流。本发明提供的自供能式传感器不仅能够基于发电单元输出的电信号来监测浪高的同时产生的电信号又能为自身进行供电,使得本方案提供的自供能式传感器能够长期且稳定的运行。

NO20241066A1

NºPublicación:  NO20241066A1 09/03/2026
Solicitante: 
Oceanenvi AS

運動エネルギーおよび位置エネルギーを利用する海洋タービン

NºPublicación:  JP2026508011A 09/03/2026
Solicitante: 
ポセイドンインテレクチュアルピーエス.エー.エス.
JP_2026508011_PA

Resumen de: CN121079499A

The invention relates to a system for utilizing the kinetic energy of ocean currents, ocean currents or estuary currents by transferring the energy of the movement of the water flow to a turbine driving a generator. The apparatus includes a plurality of components, mainly including: A) an inlet and an injection pump having a mixing chamber; b) a cross-flow turbine (M1) (revolving door type, double vane).

수중 앵커링 장치, 시스템, 및 방법

Nº publicación: KR20260032592A 09/03/2026

Solicitante:

베르테라에너지인코포레이티드

KR_20260032592_PA

Resumen de: US2025002118A1

The subject matter of this specification can be embodied in, among other things, a method of submersible deployment that includes submersing a submersible turbine toward an anchor seated along a bottom of a body of water so that tail portion of the submersible turbine is oriented closer to a cap of the anchor and upstream of a nose portion of the submersible turbine, urging the submersible turbine against a direction of flow of the body of water such that a channel defined along a ventral portion of the submersible turbine is drawn over a cap of the anchor, and while the cap is slidably engaged the submersible turbine, rotating the submersible turbine about the cap such that the nose portion is oriented upstream of the tail portion.

traducir