Ministerio de Industria, Turismo y Comercio LogoMinisterior
 

Alerta

Resultados 221 resultados
LastUpdate Última actualización 06/11/2025 [07:28:00]
pdfxls
Solicitudes publicadas en los últimos 30 días / Applications published in the last 30 days
previousPage Resultados 100 a 125 de 221 nextPage  

Sistemas informáticos autónomos de alta densidad energética y métodos de uso

NºPublicación:  CO2025013780A2 09/10/2025
Solicitante: 
OCEANBIT INC [US]
OCEANBIT INC
AU_2024252001_PA

Resumen de: AU2024252001A1

Self-contained blockchain mining and high-energy-density computing systems have a low temperature heat engine (LTHE) with a working fluid loop extended between a heat source and a heat sink; a biockchain mining device connected to receive electricity generated from the LTHE; a heat exchanger on the working fluid loop; and a coolant loop extended between the blockchain mining device and the working fluid loop (heat exchanger). A self-contained high-energy-density computing data center (HEDC) system is disclosed comprising: a low temperature heat engine (LTHE) with a working fluid loop extended between a heat source and a heat sink; an HEDC device connected to receive electricity generated from the LTHE; a heat exchanger on the working fluid loop; and a coolant loop extended between the HEDC device and the working fluid loop (heat exchanger). A method is also disclosed comprising: generating electricity using a low temperature heat engine (LTHE); operating an HEDC device, using electricity generated by the LTHE, to carry put computer processes; and cooling the HEDC device by heat exchange with working fluid of the LTHE.

SYSTEMS AND METHODS FOR REMOVAL AND SEQUESTRATION OF ACIDITY FROM SURFACE SEAWATER

NºPublicación:  AU2024262429A1 09/10/2025
Solicitante: 
LONE GULL HOLDINGS LTD
LONE GULL HOLDINGS, LTD
AU_2024262429_A1

Resumen de: AU2024262429A1

A method by which an environmental energy (e.g., wave energy) is harvested, converted into electrical power, and thereafter used to electrolyze seawater into hydrogen and chlorine gases. Those gases are recombined into hydrogen chloride from which is formed hydrochloric acid solution which is diluted and deposited at a depth sufficient to ensure its neutralization and sequestration for a significant period of time (e.g., for over a millennium). By removing chloride ions from a portion of the sea adjacent to its upper surface and depositing them into a portion of the sea more adjacent to its bottom, acidity is shifted from the surface to base of the sea, and the surface ocean is given a greater ability to absorb and buffer atmospheric carbon dioxide without a corresponding increase in acidity.

FLOATING OFFSHORE STRUCTURE AND FLOATING OFFSHORE POWER GENERATION APPARATUS HAVING SAME

NºPublicación:  EP4628398A2 08/10/2025
Solicitante: 
HYUN DAI HEAVY IND CO LTD [KR]
Hyundai Heavy Industries Co., Ltd
EP_4628398_A2

Resumen de: EP4628398A2

A floating offshore structure of the present disclosure includes: a plurality of columns; and a plurality of pontoons installed at lower ends of the columns, respectively, wherein a polygonal shape is formed by an imaginary line connecting the columns, the pontoons are installed inside the polygonal shape, a cross-sectional area in a direction parallel to sea level of the pontoons is greater than or equal to the cross-sectional area in the direction parallel to the sea level of the columns, and the pontoons may have a shape protruding outward at the lower ends of the columns.

Recirculating inertial hydrodynamic pump and wave engine

NºPublicación:  GB2640093A 08/10/2025
Solicitante: 
LONE GULL HOLDINGS LTD [US]
Lone Gull Holdings, Ltd
GB_2640093_PA

Resumen de: GB2640093A

Embodiments disclosed herein include a buoyant wave energy converter. In an embodiment, the wave energy converter comprises an upper chamber having a first fluid reservoir and a first gas pocket, and a lower chamber having a second fluid reservoir and a second gas pocket. In an embodiment, an injection tube is between and fluidly coupled to the upper chamber and the lower chamber, where the injection tube is to impel a fluid from the second fluid reservoir into the first fluid reservoir when the upper chamber, the lower chamber and the injection tube oscillate about a waterline with the upper chamber adjacent to the waterline and the lower chamber submerged below the waterline and vertically beneath the upper chamber. In an embodiment, an effluent tube is fluidly coupled to the upper chamber and the lower chamber, where the effluent tube is to return the fluid from the first fluid reservoir to the second fluid reservoir.

波受け板を用いた波浪発電装置

NºPublicación:  JP2025148207A 07/10/2025
Solicitante: 
白川正明
JP_2025148207_PA

Resumen de: JP2025148207A

【課題】忙しなく寄せてくる中程度の波のエネルギーを取り出して発電する波浪発電を提供する。【解決手段】押し寄せてくる波の力を波受け板(1)で受け止め、それによって開閉する動きを鋼線(2)を通してゼンマイバネ(3)と一方向クラッチ(4)に伝達し、軸(5)を回転させ発電機(6)で発電する。【選択図】図2

流体発電装置及び流体発電システム

NºPublicación:  JP2025148161A 07/10/2025
Solicitante: 
YellowDuck株式会社
JP_2025148161_PA

Resumen de: JP2025148161A

【課題】発電用回転軸部の軸回りで回動部が回動することにより発電する流体発電装置において、安定した発電を実現する。【解決手段】流体中で浮力を発生させる浮体部102と、浮体部に支持される発電用回転軸部の軸回りで回動する回動部130と、回動部における発電用回転軸部の軸回りの回動によって発電する発電部140と、を備える流体発電装置100であって、浮体部は、長尺な形状であり、発電用回転軸部は、浮体部の長手方向に延びるように浮体部に支持されており、浮体部には、浮体部の長手方向が略鉛直方向を向いた姿勢にする重り部110が設けられている。【選択図】図6

一种海上石油平台浮式隔水套管海生物清除装置

NºPublicación:  CN223410814U 03/10/2025
Solicitante: 
中海油能源发展股份有限公司采油服务分公司
CN_223410814_U

Resumen de: CN223410814U

本实用新型公开了一种海上石油平台浮式隔水套管海生物清除装置,属于海生物清除技术领域,该清除装置包括套管、滚轮、浮球,多个所述滚轮通过螺栓和螺栓耳座的配合固定安装在六边形框架的每条边上,所述滚轮两端安装有挡片,所述六边形框架分为多层,每层所述六边形框架通过铰链和卸扣配合相互连接并环抱于所述套管外壁并形成立体的清理结构,所述浮球通过铰链和卸扣的配合与最上层所述六边形框架的顶端相连,每层所述六边形框架的顶点处均设有链耳,所述链耳与所述铰链固定连接,此装置便于清理,从而提高了工作效益又降低了成本。

一种基于流致振动的浮式防波堤自发电装置

NºPublicación:  CN223410938U 03/10/2025
Solicitante: 
河北工程大学
CN_223410938_U

Resumen de: CN223410938U

一种基于流致振动的浮式防波堤自发电装置,包括第一发电机构和第二发电机构;第一发电机构包括与浮式防波堤的防波单元固定连接的安装架,安装架上固定设置至少一个直线发电机,直线发电机的输入端通过传动机构连接有至少一个振子,振子水平设置在水面下方,并且振子的长度方向与水流方向相互垂直;第二发电机构包括相互平行的安装杆和连接杆,并且安装杆与防波单元固定连接,安装杆与连接杆之间连接有两个摆动发电组件,摆动发电组件包括偏摆和两个磁力发电机,偏摆的下部位于水面下方,且偏摆的上部伸出水面,偏摆通过两个机械运动整流器与两个磁力发电机对应连接。本实用新型能够充分吸收海浪的能量用于发电,并且发电效率高。

一种发电机

NºPublicación:  CN120750087A 03/10/2025
Solicitante: 
中车永济电机有限公司
CN_120750087_PA

Resumen de: CN120750087A

本申请涉及发电机技术领域,尤其涉及一种发电机。该发电机包括机座、定子组件、叶轮和转子组件,机座内具有安装腔,安装腔的相背两侧具有与外界连通的开口;定子组件固设在安装腔内,且定子组件的轴向平行于安装腔上开口的排布方向;沿定子组件的径向,叶轮转动设置在定子组件的内侧,且叶轮与定子组件同轴设置;沿定子组件的周向,转子组件环绕叶轮设置,沿定子组件的径向,且转子组件的内侧与叶轮连接,以用于使转子组件随叶轮同步转动。应用本申请的技术方案能够提升发电机的能量转换效率。

水流発電装置

NºPublicación:  JP2025147008A 03/10/2025
Solicitante: 
株式会社日本海洋発電
JP_2025147008_PA

Resumen de: JP2024042757A

To provide a water flow power generation device that stably and efficiently generates power from a water flow while securing waterproofness in water.SOLUTION: A water flow power generation device comprises: a rotating body to be rotated by a water flow; a shaft fixed to the rotating body, and to be rotated integrally with the rotating body; and a pod housing a power generator, and a portion of the shaft connected to the power generator. The rotating body is supported by a repulsive force between a rotating body side magnet arranged inside the rotating body, and a shaft side magnet arranged at a position on an outer periphery of the shaft and opposed to the rotating body side magnet.SELECTED DRAWING: Figure 2

一种海岛用波浪能发电装置

NºPublicación:  CN120739640A 03/10/2025
Solicitante: 
江苏联宏智慧能源股份有限公司
CN_120739640_PA

Resumen de: CN120739640A

本发明公开了一种海岛用波浪能发电装置,涉及海岛用发电技术领域,包括浮体和固定支架,浮体随着海浪浮动,固定支架的内侧设置有能量产生机构和能量转换机构,固定支架不随海浪浮动,其中,能量产生机构设置于浮体顶面,固定支架基于能量产生机构的移动状态控制浮体的浮力差值,能量转换机构通过传动机构连接有发电机,能量转换机构通过传动机构驱动发电机,发电机通过导线连接有稳频稳压电源,稳频稳压电源输出稳压电能;使皮带轮始终处于一个方向转动,并通过同步带带动发电机进行发电操作,具有波浪能转化效率高、结构简单紧凑、运行可靠的优点。

一种基于波浪能发电的无人水下航行器充电系统

NºPublicación:  CN120739641A 03/10/2025
Solicitante: 
哈尔滨工程大学三亚南海创新发展基地
CN_120739641_PA

Resumen de: CN120739641A

本发明涉及无人水下航行器充电技术领域,具体为一种基于波浪能发电的无人水下航行器充电系统,包括航行器本体及舱盖,航行器本体内部设有通过动密封穿舱件连通的干舱及湿舱,干舱内设有电动绞盘、拉线式发电装置及储电模块,电动绞盘包括卷筒,湿舱内设有俘能单元,俘能单元包括气囊浮子,气囊浮子下方设有充气组件,连接缆的一端连接于卷筒上,连接缆的中部缠绕于拉线式发电装置上,连接缆的另一端贯穿动密封穿舱件与气囊浮子连接。本发明通过在无人水下航行器内部集成用于俘获波浪能的俘能单元、拉线式发电装置以及储电模块,可多次于海中依次释放俘能单元实现在任务海域的原位自主充电,大幅延长航行器在深远海的任务持续时间和作业范围。

一种海洋水体环境勘测用取样设备

NºPublicación:  CN120741065A 03/10/2025
Solicitante: 
湛江市规划勘测设计院有限公司
CN_120741065_PA

Resumen de: CN120741065A

本发明涉及海洋水体取样技术领域,具体是一种海洋水体环境勘测用取样设备,包括两组配重块,每组配重块固定连接有一组支撑杆,两组支撑杆共同固定连接有一组浮板,还包括:与浮板固定连接的储能取样机构,储能取样机构包括配重取水部和海浪能转换机构,所述海浪能转换机构包括与一组支撑杆固定连接的隔离柱,所述隔离柱滑动连接有罩体,所述罩体外壁固定连接有浮台,所述罩体内安装有往复发电部。本发明通过储能取样机构与海浪能转换机构相互配合的方式,以使得本发明通过储能取样机构进行海水取样并进行保存,且通过海浪能转换机构进行供电,以使得本发明适合在海上进行长期独立运行,降低本发明的维护频率,提升本发明的可靠性。

MARINE THERMAL AND ELECTRICAL BATTERY

NºPublicación:  WO2025207360A1 02/10/2025
Solicitante: 
LONE GULL HOLDINGS LTD [US]
LONE GULL HOLDINGS, LTD
US_2025300200_PA

Resumen de: WO2025207360A1

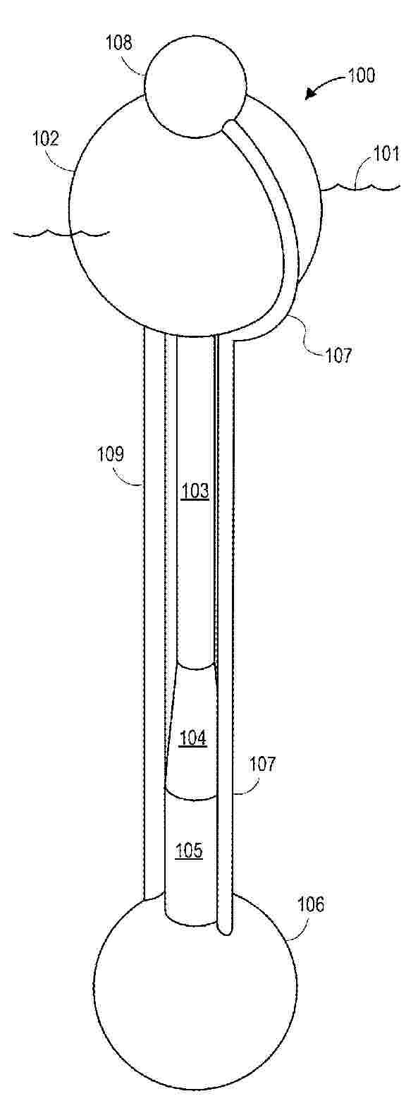
Embodiments disclosed herein comprise a wave energy converter (WEC) that includes a buoyant chamber with a tube depending from the buoyant chamber. In an embodiment, a battery is coupled to the WEC. In an embodiment, the battery includes a first tank for storing an oxidizing gas and a precursor fluid, and a second tank for storing a fuel. In an embodiment the battery further includes a fuel cell fluidically coupled to the first tank and the second tank, and a reaction pipe fluidically coupled to the first tank and the second tank.

RETRACTABLE OFFTAKE FOR WAVE ENERGY CONVERTER (WEC)

NºPublicación:  WO2025207246A1 02/10/2025
Solicitante: 
LONE GULL HOLDINGS LTD [US]
LONE GULL HOLDINGS, LTD

Resumen de: WO2025207246A1

Embodiments disclosed herein include a wave energy converter (WEC) that includes a buoyant chamber, and a tube that depends from the buoyant chamber. In an embodiment, a retractable offtake is coupled to the tube. In an embodiment, the retractable offtake comprises a housing with a receiving portion, where a first opening and a second opening are within the receiving portion. In an embodiment, the retractable offtake further comprises a line with a first end and a second end, where the line is configured to pass through the second opening. In an embodiment, a weight is coupled to the line, and a buoy is coupled to the line proximate to the first end of the line, where the buoy is configured to float in a body of water, and where the weight is coupled to the line so that the line passively retracts into the housing.

시스템 내의 유체를 응축 및 순환시키기 위한 장치

NºPublicación:  KR20250143788A 02/10/2025
Solicitante: 
클리메온에이비
KR_20250143788_PA

Resumen de: SE2350127A1

A system for operating a thermodynamic cycle to convert heat to electrical energy, the system comprising an evaporator, a condenser, a turbine, a generator and a fluid pump, wherein the fluid pump is arranged to circulate a working fluid in the system to alternate between a liquid phase and a gaseous phase, wherein the condenser comprises two outlet ports for the working fluid and the inlet of the fluid pump is arranged in fluid communication with each of the outlet ports through a common pipe system.

Wave Energy Converter

NºPublicación:  US2025305474A1 02/10/2025
Solicitante: 
OSCILLATING WAVE ENERGY LTD [IE]
Oscillating Wave Energy Limited
IE_20220018_A1

Resumen de: US2025305474A1

The disclosure relates to a high efficiency, low maintenance, simple, pressure receptacle wave energy converter device comprising a converter/generator unit such as a flywheel aided generator (which is located, in use, on a floating body), a buoyancy aided pressure receptacle unit located, in use, below the surface of the water, and a means of connecting/tethering the pressure receptacle with the converter. The device permits the capture of buoyant wave energy imparted to the pressure receptacle and the conversion of the captured energy into electrical energy thus directly producing or storing electrical energy from the captured kinetic energy of the waves.

Water current and movement energy harvesting system for desalination and electricity production

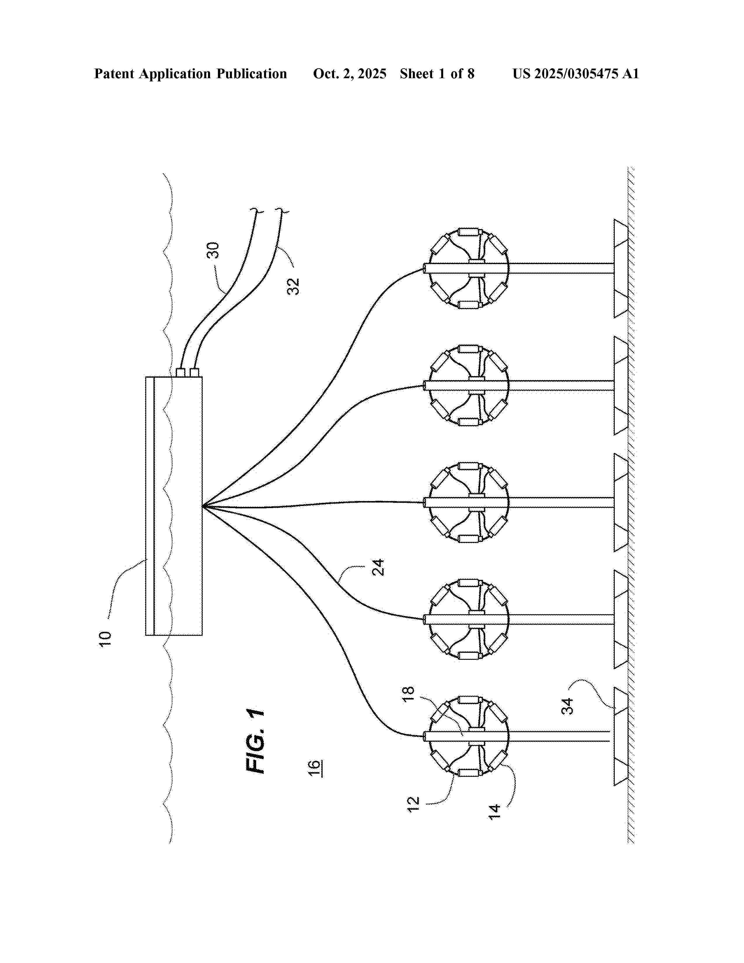
NºPublicación:  US2025305475A1 02/10/2025
Solicitante: 
BEGDOURI ABDELHADI [CA]
SERRAJ ANDALOUSSI MOHAMED [CA]
Begdouri Abdelhadi,
Serraj Andaloussi Mohamed
US_2025305475_A1

Resumen de: US2025305475A1

A water current and movement energy harvesting system for desalination and electricity production, has a floating platform, a plurality of submerged spherical frame platforms connected to the floating platform, each spherical frame platform has a plurality of vertical axis turbines (VATs) of different sizes arranged to maximize exposure to water movement and minimize interference. Integrated pumps for transferring seawater to a pressurized seawater tank. Buoyancy tank for adjusting the depth of the spherical frame platform. The pressurized seawater is transferred from the spherical frame platforms to the floating platform to drive hydraulic motors coupled to electrical generators and to be pushed through reverse osmosis filters for desalination, and the generated electricity and fresh water are transferred to shore for further processing and distribution. Also, the water can be turned into hydrogen and oxygen by electrolysis and water can also be used to cool data centers.

BUOY-BASED ELECTRIC POWER SYSTEM

NºPublicación:  EP4624725A2 01/10/2025
Solicitante: 
OCEANEERING INT INC [US]
Oceaneering International, Inc
EP_4624725_PA

Resumen de: EP4624725A2

Electrical power may be provided to a subsea system, which may include one or more battery packs, from a subsea power system comprising a surface buoy which comprises an electrical power generator and a surface buoy power outlet operatively in communication with the power generator; a subsea battery bank which comprises a predetermined set of batteries, a subsea battery bank power inlet operatively in communication with the surface buoy power outlet and with the predetermined set of batteries, and a subsea battery bank power outlet operatively in communication with the predetermined set of batteries. The subsea power system is deployed at sea, by way of example and not limitation including by use of an autonomous vehicle, and generates electrical power at the power generator which may be provided to the subsea battery bank or other structures requiring electrical power subsea.

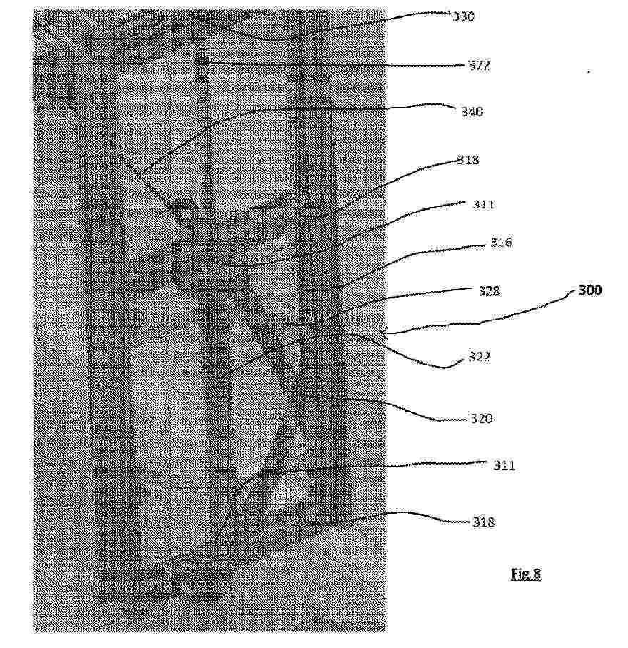
HYDRO-TURBINE AND ITS DEPLOYMENT

NºPublicación:  EP4623198A1 01/10/2025
Solicitante: 
REPETITIVE ENERGY COMPANY LTD [GB]
Repetitive Energy Company Ltd
WO_2024110890_PA

Resumen de: WO2024110890A1

Disclosed is a cross axis hydro-turbine arrangement for capturing energy from a water flow W, the arrangement including a turbine 300, a drive shaft 322, a machine 330 for converting rotational energy of the shaft 322 into other energy, a support frame 316, a support beam 312 and a pivot arrangement 360, wherein, the turbine 300 is arranged to drive the shaft 322 in rotation, the shaft is arranged to drive, directly or indirectly, the machine 330, the turbine 300 and machine 330 are mounted on the support frame 316, and the frame 316 is pivotable on the pivot 360 about the beam 312.

DYNAMIC VERTICAL HYDROELECTRIC ANCHOR

NºPublicación:  EP4624315A1 01/10/2025
Solicitante: 
ARCHIBRAS SRL [BE]
Archibras srl
EP_4624315_PA

Resumen de: EP4624315A1

L'invention concerne une ancre hydroélectrique dynamique à production d'énergie hydroélectrique pour ancrer une structure flottante présente sur une masse d'eau reposant sur un fond et dont le niveau varie avec le temps entre un niveau minimal et un niveau maximal, l'ancre comprenant un système d'ancrage hydroélectrique vertical ainsi qu'une structure portante apte à être solidarisée en utilisation à la structure flottante,ledit système d'ancrage hydroélectrique vertical comprenant :- un palan avec câble comprenant au moins deux moufles, une moufle inférieure fixe et accrochée au fond de l'eau via un ancrage permanent et une moufle supérieure mobile et reliée à une partie inférieure de la structure portante ;- une chaîne reliant d'une part la moufle inférieure du palan à sa première extrémité et l'ancrage permanent à sa seconde extrémité ;et ladite structure portante comprenant :- un groupe de conversion d'énergie;- un système de freinage situé sur le groupe de conversion d'énergie destiné à ralentir/bloquer le mouvement d'entraînement de celui-ci,en utilisation, ladite ancre hydroélectrique générant de l'électricité avec la variation du niveau d'eau grâce à la poussée d'Archimède,caractérisé en ce que l'ancre hydroélectrique comprend également un contrôleur intelligent de commande comprenant :- des détecteurs ;- un dispositif de régulation de l'énergie potentielle permettant de stocker l'énergie potentielle afin de la lib

FLOATING OFFSHORE STRUCTURE AND FLOATING OFFSHORE POWER GENERATION APPARATUS HAVING SAME

NºPublicación:  EP4624317A2 01/10/2025
Solicitante: 
HYUN DAI HEAVY IND CO LTD [KR]
Hyundai Heavy Industries Co., Ltd
EP_4624317_A2

Resumen de: EP4624317A2

A floating offshore structure of the present disclosure includes: a plurality of columns; and a plurality of pontoons installed at lower ends of the columns, respectively, wherein a polygonal shape is formed by an imaginary line connecting the columns, the pontoons are installed inside the polygonal shape, a cross-sectional area in a direction parallel to sea level of the pontoons is greater than or equal to the cross-sectional area in the direction parallel to the sea level of the columns, and the pontoons may have a shape protruding outward at the lower ends of the columns.

一种全向获能的风光波多能互补海上供电系统

NºPublicación:  CN120720169A 30/09/2025
Solicitante: 
国网江苏省电力有限公司连云港供电分公司东南大学
CN_120720169_PA

Resumen de: CN120720169A

本发明公开了一种全向获能的风光波多能互补海上供电系统,其中的八边形半潜基体模块用于实现海上供电系统的漂浮,风力发电模块、光伏发电模块、波浪能发电模块分别用于实现风力、光伏和波浪能发电,系泊模块用于实现海上供电系统的海上定位。本发明方案将风能、太阳能与波浪能三种海洋清洁可再生能源集成于同一发电平台,构建了多能协同互补的能源系统,显著提升整个平台的发电稳定性与总输出功率。此外本发明采用结构集成化设计,显著提升平台空间利用率与系统集成度,也有效降低了建设成本与运维复杂性。该平台具备良好的海洋适应性和模块扩展能力,适用于深远海供电、海洋观测、海洋牧场等多种应用场景。

一种振荡水柱式波浪能装置的浮体系统快速设计方法

NºPublicación:  CN120724894A 30/09/2025
Solicitante: 
东方电气(福建)创新研究院有限公司东方电气集团科学技术研究院有限公司
CN_120724894_PA

Resumen de: CN120724894A

本发明涉及一种振荡水柱式波浪能装置的浮体系统快速设计方法,包括以下步骤:根据目标海域的波浪特性,选择合适的透平系统类型,确定透平系统的尺寸、叶片形状和转速;通过数值模拟和实验测试,获取透平系统的性能参数,并简化透平系统的性能参数;根据简化后的透平系统的性能参数,建立透平系统与浮体系统的关联模型,并设置波浪边界条件;对浮体系统周围的流场进行网格划分,选择合适的湍流模型和求解器,进行稳态或瞬态模拟;计算浮体系统的一级能量转换效率并优化浮体系统。本发明减少了设计周期和反复修改的次数,整个设计方法使得透平系统与浮体系统之间的参数匹配更加合理,提高了整个装置的能量转换效率,优化了整体系统的性能。

一种垂直振荡波浪能发电装置机械传动系统

Nº publicación: CN120720159A 30/09/2025

Solicitante:

三峡大学

CN_120720159_PA

Resumen de: CN120720159A

本发明提供了一种垂直振荡波浪能发电装置机械传动系统,所述波浪能采集与转换装置安装在近海底部,通过浮子的垂直运动捕获波浪能量,通过装置内部机械机构传递并将浮子的运动转化为机械机构的旋转运动,通过飞轮调速机构对机械机构的周期性速度波动进行调节,并通过发电机将机械能转化为电能,实现了功率平滑的波浪能采集与利用。本装置使用机械式电能转换方式,无油液污染,水下部分为全封闭结构,实现了绿色、高效、可靠的可再生能源利用。

traducir