Ministerio de Industria, Turismo y Comercio LogoMinisterior
 

Alerta

Resultados 210 resultados
LastUpdate Última actualización 13/02/2026 [07:19:00]
pdfxls
Solicitudes publicadas en los últimos 30 días / Applications published in the last 30 days
previousPage Resultados 125 a 150 de 210 nextPage  

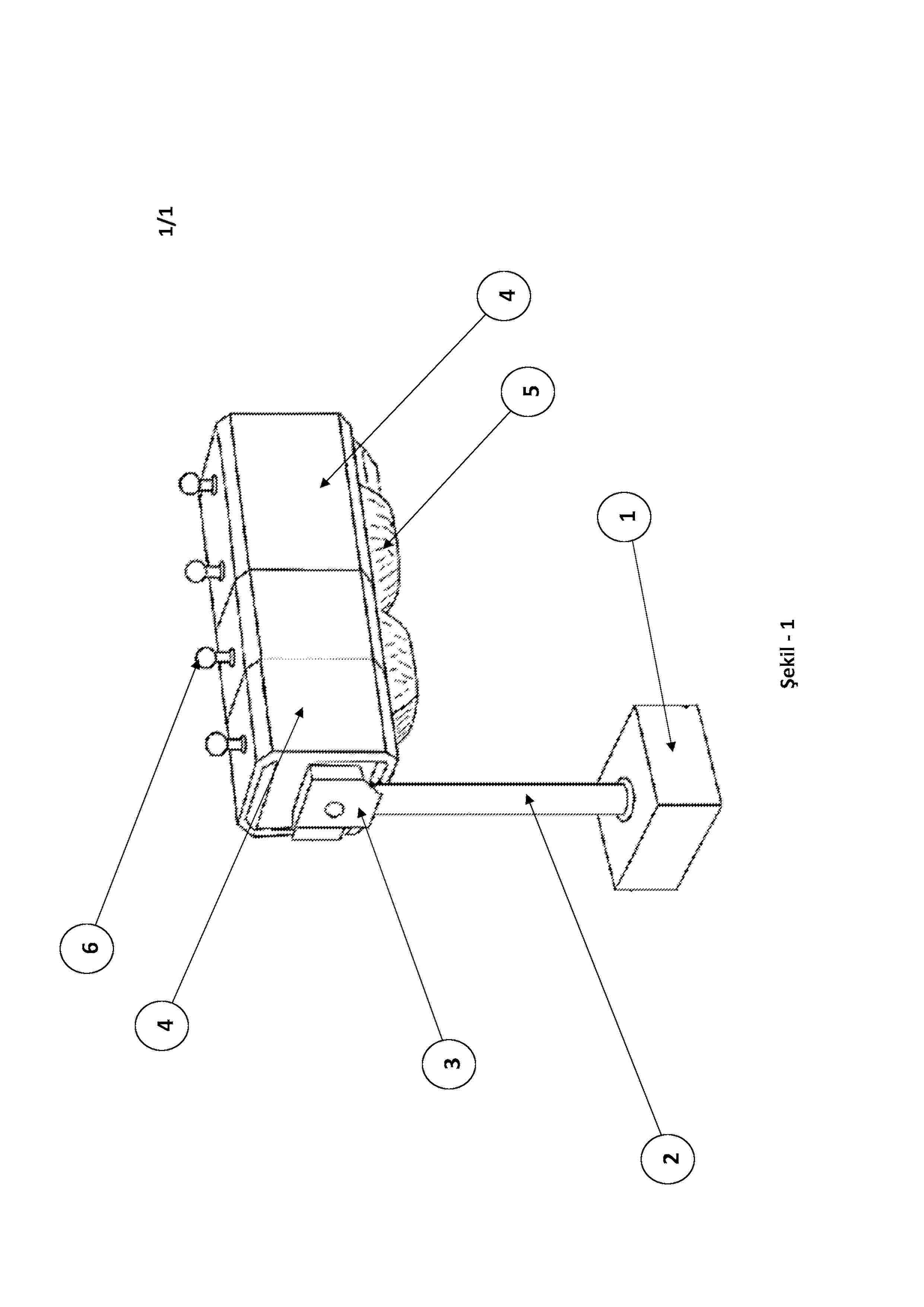
C4A3-HNE和C4A4-HNE测定

NºPublicación:  CN121175571A 19/12/2025
Solicitante: 
北欧生物科技公司
CN_121175571_PA

Resumen de: AU2024213780A1

Disclosed herein are methods of immunoassay for detecting HNE-generated fragments of the α3 chain or α4 chain of type IV collagen in a patient sample, and the use thereof for detecting and/or monitoring inflammatory bowel disease (IBD) or a particular level of severity thereof in a patient. Also disclosed are monoclonal antibodies and assay kits for use in said methods of immunoassay.

SIGNATURES OF RESPONSE TO LOW-DOSE INTERLEUKIN-2 (IL2) TREATMENT IN INFLAMMATORY BOWEL DISEASE

NºPublicación:  WO2025259880A1 18/12/2025
Solicitante: 
THE CHILDRENS MEDICAL CENTER CORP [US]
THE BRIGHAM AND WOMENS HOSPITAL INC [US]
THE CHILDREN'S MEDICAL CENTER CORPORATION,
THE BRIGHAM AND WOMEN'S HOSPITAL, INC
WO_2025259880_A1

Resumen de: WO2025259880A1

Provided herein are materials and methods for determining responsiveness of any therapy that enhances regulatory T cell (Treg) function in the treatment of inflammatory bowel disease (IBD). The materials and methods provided herein may be used to determine low dose IL- 2 responsiveness in a subject having an inflammatory bowel disease. The materials and methods can be used to determine low dose IL- 2 responsiveness in a blood sample prior to administering a low dose IL-2 therapy.

METHODS FOR THE DETECTION OF CIRCULATING MICROCLOTS AND NEUTROPHIL EXTRACELLULAR TRAPS IN INFLAMMATORY CONDITIONS

NºPublicación:  WO2025257752A1 18/12/2025
Solicitante: 
UNIV DE MONTPELLIER [FR]
INSTITUT NATIONAL DE LA SANTE ET DE LA RECH MEDICALE [FR]
INST REGIONAL DU CANCER DE MONTPELLIER [FR]
STELLENBOSCH UNIV [ZA]
UNIVERSITE DE MONTPELLIER,
INSTITUT NATIONAL DE LA SANTE ET DE LA RECHERCHE MEDICALE,
INSTITUT REGIONAL DU CANCER DE MONTPELLIER,
STELLENBOSCH UNIVERSITY
WO_2025257752_A1

Resumen de: WO2025257752A1

This invention relates to methods of detecting inflammatory disease in a subject by detecting circulating microclots, based on combined detection or co-detection of fibrin amyloid microclots and components from Neutrophil Extracellular Traps in a sample from the subject, wherein an increased presence of fibrin amyloid microclots and NETs in the sample compared to a control or reference value is indicative of inflammatory disease in the subject. The invention also relates to kits for detecting circulating microclots to be used in the methods of detecting inflammatory disease.

BACTERIOTHERAPY FOR CLOSTRIDIUM DIFFICILE COLITIS

NºPublicación:  EP4663746A2 17/12/2025
Solicitante: 
FERRING MICROBIOME INC [US]
Ferring Microbiome Inc
EP_4663746_PA

Resumen de: EP4663746A2

This document discusses, among other things, receiving a plurality of donor fecal samples from a plurality of donors and storing and indexing each respective donor fecal samples using at least one characteristic of the respective donor fecal sample. In an example, the donor fecal sample can be screened and processed for subsequent use in fecal bacteriotherapy to displace pathogenic or undesired organisms in the digestive track of a patient with healthy or desirable gut micriobiota.

ANGIOTENSIN-CONVERTING ENZYME AND/OR ANGIOTENSIN-CONVERTING ENZYME 2 AS FECAL BIOMARKERS, METHODS AND USES THEREOF

NºPublicación:  WO2025253316A1 11/12/2025
Solicitante: 
UNIV DO PORTO [PT]
REQUIMTE REDE DE QUIM E DE TECNOLOGIA ASSOCIACAO [PT]
UNIVERSIDADE DO PORTO,
REQUIMTE - REDE DE QUIMICA E DE TECNOLOGIA - ASSOCIA\u00C7\u00C3O
WO_2025253316_A1

Resumen de: WO2025253316A1

The present disclosure relates to the use of angiotensin-converting enzyme and/or angiotensin-converting enzyme 2 as a fecal biomarker for the diagnosis of a disease or disorder related to the renin-angiotensin-aldosterone system, and also to the use of angiotensin-converting enzyme and angiotensin-converting enzyme 2 isoforms as fecal biomarkers for the detection of dysbiosis.

MICROBIAL CONSORTIUM FOR USE IN A RAPID SCREENING METHOD FOR IRRITABLE BOWEL SYNDROME

NºPublicación:  WO2025253423A1 11/12/2025
Solicitante: 
WELLMICRO S R L [IT]
WELLMICRO S.R.L
WO_2025253423_PA

Resumen de: WO2025253423A1

A new microbial consortium for use in a rapid screening method for irritable bowel syndrome (IBS) and possibly as a target for the therapeutic treatment of an IBS condition in a subject.

PREDICTING NON-RESPONSIVENESS OF IBD PATIENTS

NºPublicación:  AU2024260758A1 11/12/2025
Solicitante: 
NAVOLAB DIAGNOSZTIKA KFT
NAVOLAB DIAGNOSZTIKA KFT
AU_2024260758_A1

Resumen de: AU2024260758A1

Predicting non-responsiveness of IBD patients The present invention relates to an in vitro method for predicting the responsiveness of an IBD patient to a therapy with an intracellularly acting immunosuppressive agent of interest, wherein a sample is provided from the IBD patient at an initial period of a treatment with the immunosuppressive agent of interest, said sample comprising effector mononuclear cells, and responsiveness is predicted from the difference between a multidrug ABC transporter activity level in the effector mononuclear cells in said sample and a reference transporter activity level. The method is useful in a treatment of IBD, e.g. in monitoring the progress of the disease or in a decision on a shift from an initial treatment with an agent to another agent like csDMARD or tsDMARD.

SIGNATURE OF TL1A (TNFSF15) SIGNALING PATHWAY

NºPublicación:  US2025376514A1 11/12/2025
Solicitante: 
CEDARS SINAI MEDICAL CENTER [US]
Cedars-Sinai Medical Center
US_2025376514_A1

Resumen de: US2025376514A1

The present invention relates to the finding that TL1A enhances differentiation of TH17 cells, and enhance IL-17 secretion from TH17 cells. In one embodiment, the present invention provides a method of treating an inflammatory disease comprising determining the presence of a TL1A signaling profile, and treating the disease by administering a composition comprising a therapeutically effective dosage of one or more inhibitors of TL1A or TH17 cell differentiation. In another embodiment, the disease is characterized by TH17 differentiation.

COMPOSITIONS AND METHODS FOR IBD PATIENTS USING STOOL-DERIVED EUKARYOTIC NUCLEIC ACIDS

NºPublicación:  EP4659019A2 10/12/2025
Solicitante: 
GENEOSCOPY INC [US]
Geneoscopy, Inc
CN_120958143_PA

Resumen de: AU2024213250A1

The present disclosure provides compositions and methods for using stool-derived, eukaryotic, nucleic acid biomarkers to diagnose disease, assess disease activity, monitor mucosal healing, and predict therapeutic response. The described biomarkers can be used by practitioners to better diagnose, manage, and treat inflammatory bowel disease (IBD), including ulcerative colitis (UC) and Crohn's disease (CD).

C4A3-HNE AND C4A4-HNE ASSAY

NºPublicación:  EP4659026A1 10/12/2025
Solicitante: 
NORDIC BIOSCIENCE AS [DK]
Nordic Bioscience A/S
KR_20250137696_PA

Resumen de: AU2024213780A1

Disclosed herein are methods of immunoassay for detecting HNE-generated fragments of the α3 chain or α4 chain of type IV collagen in a patient sample, and the use thereof for detecting and/or monitoring inflammatory bowel disease (IBD) or a particular level of severity thereof in a patient. Also disclosed are monoclonal antibodies and assay kits for use in said methods of immunoassay.

RADIOMICS-BASED ANALYSIS OF INTESTINAL ULTRASOUND IMAGES FOR INFLAMMATORY BOWEL DISEASE

NºPublicación:  US2025366831A1 04/12/2025
Solicitante: 
CEDARS SINAI MEDICAL CENTER [US]
CEDARS-SINAI MEDICAL CENTER

Resumen de: US2025366831A1

A system and a method for diagnosis and monitoring of inflammatory bowel diseases (IBD) in a subject are provided. The system includes a memory and a control system. The memory stores machine-readable instructions. The control system includes one or more processors configured to execute the machine-readable instructions. Ultrasound image data associated with the gastrointestinal tract of the subject is received. The received ultrasound image data is processed to output a set of ultrasound image features. The output set of ultrasound image features is received, as an input to an automated algorithm. A set of radiomic features is extracted from the input set of ultrasound image features, using the automated algorithm. The ultrasound image data is classified as normal or abnormal based on the extracted set of radiomic features, the classifying being an output of the automated algorithm.

ANTI-TL1A ANTIBODY THERAPEUTIC METHODS

NºPublicación:  AU2024273758A1 04/12/2025
Solicitante: 
GENENTECH INC
PFIZER INC
GENENTECH, INC,
PFIZER INC
AU_2024273758_PA

Resumen de: AU2024273758A1

The present disclosure provides methods and compositions for determining the risk of a patient being non-responsive to a therapeutic dose of an anti-TNF-like ligand 1A (TL1A) antibody and methods and compositions for treating inflammatory bowel disease (IBD) with a therapeutic dose of an anti-TNF-like ligand 1A (TL1A) antibody.

AUTOMATIC HIGH PRECISION BATTERY MATERIAL ASSESSMENT SYSTEM

NºPublicación:  WO2025250163A1 04/12/2025
Solicitante: 
MAG IA INC [US]
MAG IA, INC
WO_2025250163_PA

Resumen de: WO2025250163A1

Apparatus and associated methods relate to evaluating impurity content in battery materials. In an illustrative example, a battery material impurity assessment system (BMIAS) may include a slurry mixing system and an impurity extraction system (IBS). The slurry mixing system, for example, may include a motor configured to rotate a vertical axis of a slurry container. For example, the motor may pause a movement of the slurry container when the vertical axis is rotated at a predetermined angle. For example, the IBS may include a translatable magnetic mass (TMM) enclosed within a sheath. For example, by operating a position of the TMM, the IBS may release non-target impurity and retain target substances. In some implementations, the target substance may be ionized by an acid treatment solution rapidly without direct heating. In some implementations, the target substances may be dispersed on a conductive filter to be directly used in subsequent analysis. Various embodiments may advantageously rapid high precision and rapid impurity testing for battery manufacturing.

METHOD FOR IDENTIFYING A MULTI-PARAMETER PHENOTYPE OF MICROBIOTA

NºPublicación:  EP4655592A1 03/12/2025
Solicitante: 
DEUTSCHES RHEUMA FORSCHUNGSZENTRUM BERLIN [DE]
Deutsches Rheuma-Forschungszentrum Berlin
WO_2024156739_A1

Resumen de: WO2024156739A1

The invention relates to a method for identifying a multi-parameter phenotype of microbiota. The method comprises (i) providing a sample comprising microbiota, (ii) labeling said microbiota with multiple labels, each of which binds a phenotypic parameter of said microbiota, (iii) detecting an intensity of the labelled phenotypic parameters of single cells of the microbiota by flow cytometry, and (iv) segmenting the single cells into bins based on the intensities of detected phenotypic parameters, wherein the distribution of single cells in bins represents a multi-parameter phenotype of said microbiota. The invention further relates to a system for identifying a multi-parameter phenotype of intestinal microbiota, a kit for identifying a multi-parameter phenotype of intestinal microbiota and methods for diagnosing a medical condition associated with microbiota, for example an inflammatory condition, such as an inflammatory bowel disease, in a subject.

USE OF CLOSTRIDIUM LEPTUM STRAINS FOR PREVENTION TREATMENT AND DIAGNOSIS OF INFLAMMATORY BOWEL DISEASE

NºPublicación:  KR20250169505A 03/12/2025
Solicitante: 
서울대학교병원주식회사바이오뱅크힐링
WO_2025244478_PA

Resumen de: WO2025244478A1

The present invention relates to a novel microorganism and a use thereof for preventing, alleviating, or treating intestinal diseases. The strain according to one embodiment has effects of inhibiting intestinal atrophy and reducing bloody stools, and thus is useful for the prevention, amelioration, or treatment of intestinal diseases. In addition, since the strain is significantly reduced in the patient group, the strain can be used for early diagnosis of intestinal diseases or selection of a risk group.

一种均相检测体系及其制备方法、检测方法及检测系统

NºPublicación:  CN121049497A 02/12/2025
Solicitante: 
上海交通大学
CN_121049497_PA

Resumen de: CN121049497A

一种均相检测体系,包括能量供体和能量受体,所述能量供体和所述能量受体的信号源至少有两种,所述信号源的可区分度包括激发波长、发射波长和/或发光寿命。由于信号源至少有两种,使得至少有两种不同的待测样本可以被同时测量,当信号源满足合适的条件,不同种类的敏化剂按照不同的比例混合,则其激发波长可以覆盖全色域。因而在均相检测时,任何待检测样本在通量满足的前提下均可以一次性检测完毕,只需要光源按照既定的程序全波段闪烁激发。既可以实现相同样本的高通量检测,也可以实现不同样本的一次性检测,提高了检测效率。

BUTYROPHILIN A2 AND RELATED ISOFORMS FOR THE TREATMENT OF AUTOIMMUNITY AND INFLAMMATION

NºPublicación:  MX2025010187A 01/12/2025
Solicitante: 
CEDARS SINAI MEDICAL CENTER [US]
CEDARS-SINAI MEDICAL CENTER
KR_20250158022_PA

Resumen de: MX2025010187A

Described herein are methods of reducing CD3-dependent T cell signaling in a subject in need thereof. Also described are method of increasing T-regulatory (Treg) cells, or decreasing T-helper 17 (Th17) cells. These methods involve administering butyrophilin A2 (BTN2A2), a BTN2A2 fragment thereof, a BTN2A2-related isoform, or a BTN2A2-related isoform fragment, or a conjugate or fusion polypeptide comprising any of the foregoing to the subject. These methods are beneficial for patients with autoimmune disorders and inflammatory disorders such as allergy, asthma, glomerulonephritis, inflammatory bowel disease, rheumatoid arthritis, an autoimmune or inflammatory neurological disease, antibody mediated transplant rejection, infantile cholestasis, haemophagocytic lymphohistiocytosis, erythrocytic haemophagocytosis, malnutrition, systemic lupus erythematosus (lupus), psoriasis, myasthenia gravis or HIV. Further described are fusion proteins having BTN2A2 and an Fc domain.

Traditional Chinese medicine compound preparation for purging heat and removing stagnation as well as preparation method and application thereof

NºPublicación:  CN121015828A 28/11/2025
Solicitante: 
GUANGDONG HOSPITAL OF TRADITIONAL CHINESE MEDICINE GUANGDONG PROVINCE TRADITIONAL CHINESE MEDICAL HO
\u5E7F\u4E1C\u7701\u4E2D\u533B\u9662\uFF08\u5E7F\u5DDE\u4E2D\u533B\u836F\u5927\u5B66\u7B2C\u4E8C\u9644\u5C5E\u533B\u9662\u3001\u5E7F\u5DDE\u4E2D\u533B\u836F\u5927\u5B66\u7B2C\u4E8C\u4E34\u5E8A\u533B\u5B66\u9662\u3001\u5E7F\u4E1C\u7701\u4E2D\u533B\u836F\u79D1\u5B66\u9662\uFF09
CN_121015828_A

Resumen de: CN121015828A

The invention belongs to the technical field of traditional Chinese medicines, and particularly relates to a heat-purging stagnation-removing traditional Chinese medicine compound preparation and a preparation method and application thereof. The traditional Chinese medicine compound preparation for purging heat and removing stagnation is prepared from the following raw materials in parts by weight: 10-60 parts of radix bupleuri, 10-30 parts of radix scutellariae, 10-30 parts of radix paeoniae rubra, 10-30 parts of rhizoma pinelliae preparata, 10-40 parts of fresh ginger, 10-40 parts of fructus aurantii, 10-40 parts of cortex mori radicis, 10-30 parts of peach kernels, 10-30 parts of liquorice, 1-15 parts of cassia twig, 10-30 parts of fructus forsythiae, 1-15 parts of rhizoma cimicifugae and 8-30 parts of honeysuckle. The traditional Chinese medicine compound preparation for purging heat and removing stagnation is a self-formulated formula, takes bowel purging, heat purging, blood circulation promoting and blood stasis removing as main treatment methods, improves clinical symptoms of patients suffering from systemic inflammatory reaction, reduces the incidence rate of multi-organ dysfunction, and improves the living quality and prognosis of the patients.

Single immunoglobulin interleukin-1 receptor related (sigirr) variants and uses thereof

NºPublicación:  NZ762152A 28/11/2025
Solicitante: 
REGENERON PHARMACEUTICALS INC
REGENERON PHARMACEUTICALS INC
ES_3034207_T3

Resumen de: NZ762152A

The disclosure provides nucleic acid molecules, including cDNA, comprising an alteration that encodes a truncated human Single Immunoglobulin Interleukin-1 Receptor Related (SIGIRR) protein. The disclosure also provides isolated and recombinant human SIGIRR protein variants that comprise a truncation at a position corresponding to position 215. The truncation, and the nucleic acid molecules encoding this change, associate with early-onset inflammatory bowel disease (EO-IBD). The disclosure also provides methods for determining whether a subject has or has a risk of developing EO-IBD, based on the identification of such alterations in the nucleic acid molecules encoding SIGIRR.

EXHALED BREATH OF VOLATILE ORGANIC COMPOUNDS FOR IBD DIAGNOSIS AND MANAGEMENT

NºPublicación:  WO2025245006A1 27/11/2025
Solicitante: 
THE CLEVELAND CLINIC FOUND [US]
THE CLEVELAND CLINIC FOUNDATION
WO_2025245006_A1

Resumen de: WO2025245006A1

Provided herein arc systems and methods for testing exhaled breath from a subject (e.g., suspected of having inflammatory bowel disease, IBD) to determine the level of at least one volatile organic compound (e.g., 1 or 5 or 8 compounds). In certain embodiments, one receives test results, such as an elevated or decreased level of a particular volatile organic compound, and this is used to determine if a subject has IBD or needs treatment with an IBD treating agent. In other embodiments, the subject is treated with an IBD treating agent, and optionally tested again to monitor treatment (e.g., tested over days, weeks, or months). In other embodiments, the subject is determined to have moderate or severe IBD, or mild or no IBD.

USE OF CLOSTRIDIUM LEPTUM STRAIN FOR PREVENTION, TREATMENT, AND DIAGNOSIS OF INFLAMMATORY BOWEL DISEASE

NºPublicación:  WO2025244478A1 27/11/2025
Solicitante: 
SEOUL NATIONAL UNIV HOSPITAL [KR]
BIOBANKHEALING INC [KR]
\uC11C\uC6B8\uB300\uD559\uAD50\uBCD1\uC6D0,
\uC8FC\uC2DD\uD68C\uC0AC \uBC14\uC774\uC624\uBC45\uD06C\uD790\uB9C1
WO_2025244478_PA

Resumen de: WO2025244478A1

The present invention relates to a novel microorganism and a use thereof for preventing, alleviating, or treating intestinal diseases. The strain according to one embodiment has effects of inhibiting intestinal atrophy and reducing bloody stools, and thus is useful for the prevention, amelioration, or treatment of intestinal diseases. In addition, since the strain is significantly reduced in the patient group, the strain can be used for early diagnosis of intestinal diseases or selection of a risk group.

BIOMARKER PANEL FOR ANTI-TNF RESPONSE IN PATIENTS WITH CROHN'S DISEASE

NºPublicación:  WO2025244988A1 27/11/2025
Solicitante: 
CHILDRENS HOSPITAL MEDICAL CENTER [US]
CHILDREN'S HOSPITAL MEDICAL CENTER
WO_2025244988_A1

Resumen de: WO2025244988A1

Disclosed are methods of characterizing, diagnosing, monitoring, and/or treating an individual with Crohn's Disease (CD) comprising detecting, in a biological sample obtained from the individual, a plurality of biomarkers. The biomarkers may be used for one or more of predicting remission of CD in an individual, determining longitudinal assessment of response to a biologic therapy, predicting or determining response status of the individual to an anti-tumor necrosis factor (TNF) therapy. Further disclosed are systems and compositions for use with the disclosed methods.

회장낭염의 치료를 위한 SMAD7 억제성 안티센스 올리고뉴클레오티드 (ASO) 및 그의 사용 방법

NºPublicación:  KR20250164821A 25/11/2025
Solicitante: 
NOGRA PHARMA LTD [IE]
\uB178\uADF8\uB77C \uD30C\uB9C8 \uB9AC\uBBF8\uD2F0\uB4DC
KR_20250164821_A

Resumen de: MX2025011513A

Provided herein are methods for treating or preventing pouchitis comprising administering a SMAD7 antisense oligonucleotide or pharmaceutical formulations comprising the SMAD7 antisense oligonucleotide.

Application of Blautia pseudococcoides bacteria in preparation of medicine for treating ulcerative colitis

NºPublicación:  CN120983481A 21/11/2025
Solicitante: 
SHANGHAI 6TH PEOPLES HOSPITAL
\u4E0A\u6D77\u5E02\u7B2C\u516D\u4EBA\u6C11\u533B\u9662
CN_120983481_PA

Resumen de: CN120983481A

The invention relates to an application of a Blautia pseudococcoides bacterium in preparation of a medicine for treating ulcerative colitis, in particular to an application of the Blautia pseudococcoides bacterium in preparation of a medicine for treating ulcerative colitis. Specifically, the invention provides an application of the Blauria pseudococcoides bacterium in preparation of a medicine for preventing and/or treating the inflammatory bowel disease, and the preservation number of the Blauria pseudococcoides bacterium is DSM26115. Furthermore, the present invention relates to a composition for diagnosing inflammatory bowel disease comprising an agent for measuring the level of enteric microorganisms, a kit comprising the composition, and a method for diagnosing inflammatory bowel disease comprising a step of measuring the level of enteric microorganisms.

靶向DEFA5抗体和用于诊断和治疗炎性肠病的测定方法

Nº publicación: CN120992952A 21/11/2025

Solicitante:

梅哈里医学院

CN_120992952_PA

Resumen de: US2025237665A1

A targeted DEFA5 antibody is disclosed herein. The targeted DEFA5 antibody has a high degree of specificity with DEFA5 protein, particularly with peptide sequences of the P, B, and/or M binding sites of the DEFA5 protein. The targeted DEFA5 antibody may be incorporated into an assay for diagnosing and treating ulcerative colitis and Crohn's disease in a subject suffering from inflammatory bowel disease. The assay may be provided in a kit. The targeted DEFA5 antibody may be used in a method for measuring the level of DEFA5 or DEFA5 expression in a sample collected from a subject, and determining, based on the level of DEFA5 or DEFA5 expression, whether the subject is suffering from ulcerative colitis or Crohn's disease. A treatment may be based on the determination of whether the subject has ulcerative colitis or Crohn's disease.

traducir