Ministerio de Industria, Turismo y Comercio LogoMinisterior
 

Alerta

Resultados 219 resultados
LastUpdate Última actualización 04/04/2026 [07:46:00]
pdfxls
Solicitudes publicadas en los últimos 30 días / Applications published in the last 30 days
previousPage Resultados 150 a 175 de 219 nextPage  

Generation of Electrical Power Offshore

NºPublicación:  US20260048818A1 19/02/2026
Solicitante: 
SUBSEA 7 NORWAY AS [NO]
Subsea 7 Norway AS
US_20260048818_PA

Resumen de: US20260048818A1

A floating power-generation group comprises a floating hub such as a spar buoy that is anchored to subsea foundations by anchor lines. Floating power producer units such as wind turbines are connected electrically and mechanically to the hub. The power producer units are each moored by mooring lines. At least one mooring line extends inwardly toward the hub to effect mechanical connection to the hub and at least one other mooring line extends outwardly toward a subsea foundation. The groups are combined as a set whose hubs are connected electrically to each other via subsea energy storage units. Anchor lines of different groups can share subsea foundations. The storage units comprise pumping machinery to expel water from an elongate storage volume and generating machinery to generate electricity from a flow of water entering the storage volume. The pumping machinery can be in deeper water than the generating machinery.

A WAVE-ACTIVATED BUOYANCY REGULATOR

NºPublicación:  WO2026037847A1 19/02/2026
Solicitante: 
IMPACT9 ENERGY & MARINE LTD [IE]
IMPACT9 ENERGY & MARINE LIMITED
WO_2026037847_PA

Resumen de: WO2026037847A1

A wave-activated buoyancy regulator for structures positioned in a body of water, wherein a wave-activated pump is used to provide neutral, negative and positive buoyancy in response to prevailing ambient wave conditions, through the variation of the ratio of a first fluid to a second fluid within a ballast tank.

WAVE POWER FACILITY

NºPublicación:  WO2026038961A1 19/02/2026
Solicitante: 
HURRICANE INNOVATION AS [NO]
HURRICANE INNOVATION AS
WO_2026038961_PA

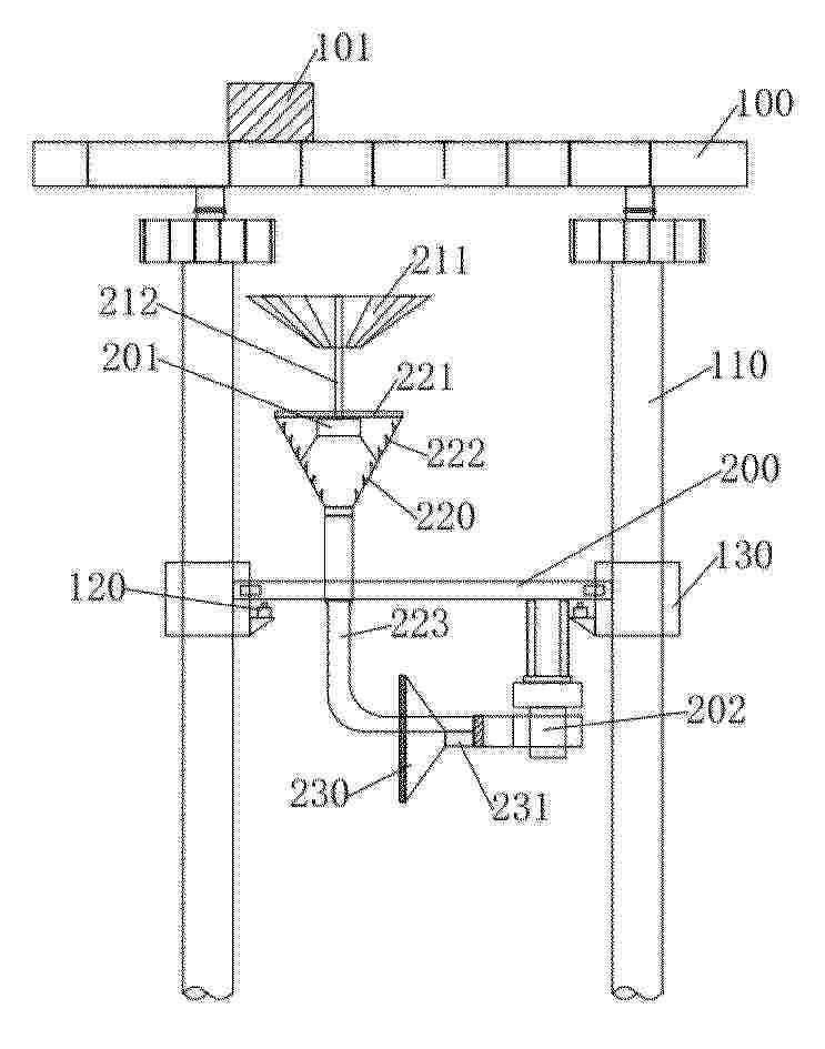
Resumen de: WO2026038961A1

A wave power facility (100) comprising a support structure (101) installed on the seabed (103) and a top structure (107) supported by the support structure A plurality of wave units (1) are arranged at the sea surface (105). The wave units (1) are supported by harvest lines (113) extending between the top structure (107) and the seabed. The respective wave units (1) comprise a respective buoyancy part (1a) which is interchangeable between a compressed state and an expanded state.

WAVE POWER FACILITY

NºPublicación:  EP4696881A1 18/02/2026
Solicitante: 
HURRICANE INNOVATION AS [NO]
Hurricane Innovation AS
EP_4696881_PA

Resumen de: EP4696881A1

A wave power facility (100) comprising a support structure (101) installed on the seabed (103) and a top structure (107) supported by the support structure. A plurality of wave units (1) are arranged at the sea surface (105). The wave units (1) are supported by harvest lines (113) extending between the top structure (107) and the seabed. The respective wave units (1) comprise a buoyancy part (1a) which is interchangeable between a compressed state and an expanded state.

A wave-activated buoyancy regulator

NºPublicación:  GB2643408A 18/02/2026
Solicitante: 
IMPACT9 ENERGY AND MARINE LTD [IE]
Impact9 Energy and Marine Ltd
GB_2643408_PA

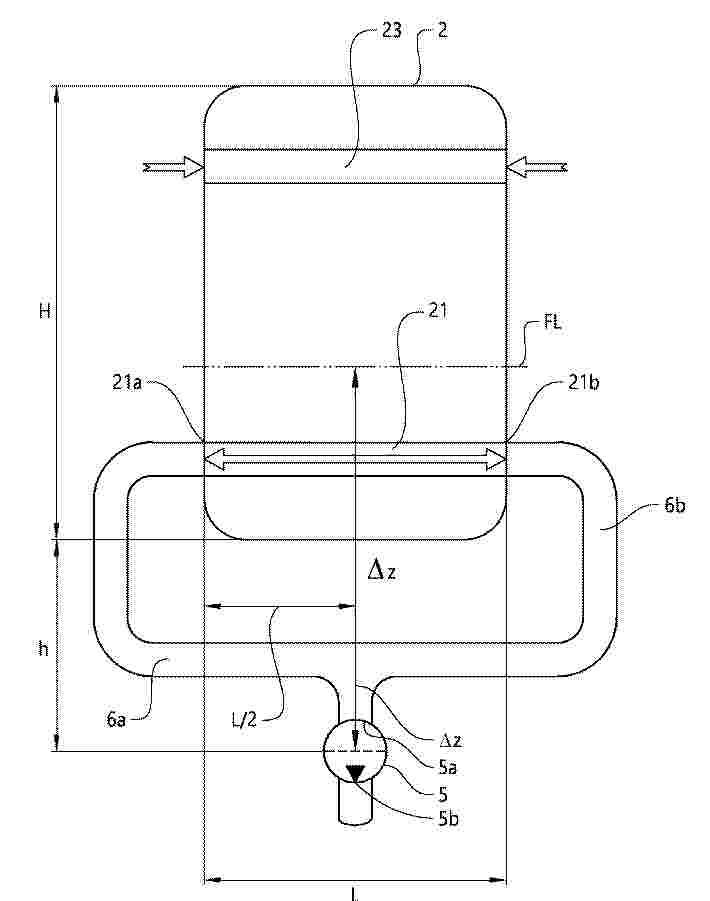
Resumen de: GB2643408A

Wave-activated buoyancy regulator suitable for use in a variable buoyancy structure 200,300,400,500 positioned in a body of water 1110 the wave-activated buoyancy regulator comprising at least one ballast tank 2, wherein the ballast tank 2 is configured to retain a first fluid 8a of a first density and a second fluid 8b of a second density, wherein the buoyancy of the structure is controlled by variation of a ratio of the first fluid 8a to the second fluid 8b within the ballast tank 2. An wave actuated pump 40, mechanically coupled to a wave-activated structure optional being the variable buoyancy structure, and wherein the wave activated pump 40 is configured to cause at least one of the first fluid 8a or second fluid 8b to flow through at least one inlet 51 of the ballast tank 2, optionally being an outlet 52 of the ballast tank 2.

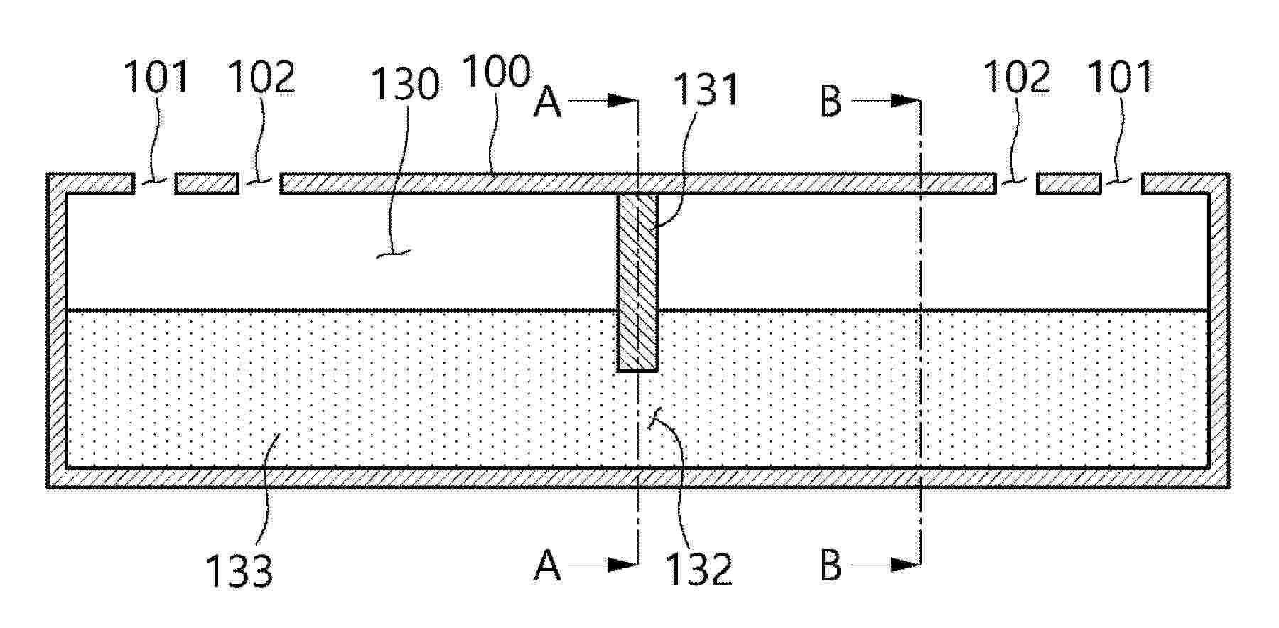
一种新型波浪能发电装置

NºPublicación:  CN223923177U 17/02/2026
Solicitante: 
西安石油大学
CN_223923177_U

Resumen de: CN223923177U

本实用新型公开了一种新型波浪能发电装置,包括:固定立架,固定立架的一侧设置有活动安装架组,活动安装架组可沿固定立架高度方向上下移动;受力板,其设置在活动安装架组远离固定立架的一侧,受力板的下端与活动安装架组转动连接;能量转换机构,其设置在活动安装架组远离固定立架的一侧,能量转换机构的一端与活动安装架组上部相连接。本实用新型提供的一种新型波浪能发电装置,通过多结构的配合设计,使得装置能够通过波浪进行发电的效果,且整体结构较为简单、轻便,成本较低,易于批量安装,且能够跟随涨潮落潮现象进行上下移动,从而保持波浪能够始终与装置进行接触,进而使得装置能够持续发电。

波浪发电设备以及用于在波浪发电设备中使用的转子

NºPublicación:  CN121548689A 17/02/2026
Solicitante: 
维普托斯股份有限公司
CN_121548689_PA

Resumen de: TW202509346A

Disclosed is a wave power plant comprising a frame construction extending in a longitudinal direction and having a rotor shaft extending in the longitudinal direction of the frame construction, a plurality of rocking rotors, the plurality of rocking rotors being arranged rotatably with respect to the frame construction around the rotor shaft each rocking rotor comprising a buoyant body, the buoyant body having a shell, a bearing arranged at the rotor shaft, an interface construction configured to interconnect the buoyant body with the bearing, such that the rocking rotor is rotatably connected to the rotor shaft, wherein, the shell of the buoyant body has a triangular shape having a first side and a second side being first and second convex shaped sides and a third side being a third concave shaped side, the third concave shaped side facing the rotor shaft.

一种阵列式波浪能自供电海洋监测浮标

NºPublicación:  CN121536424A 17/02/2026
Solicitante: 
中国南方电网有限责任公司超高压输电公司广州局海口分局
CN_121536424_PA

Resumen de: CN121536424A

本发明公开了一种阵列式波浪能自供电海洋监测浮标,属于海洋工程技术领域,包括一个作为核心平台的主浮标以及阵列分布在主浮标周围的三个辅助漂浮结构。主浮标搭载多种传感器以监测海洋环境参数,并设有蓄电池。每个辅助漂浮结构均集成有牵引组件、波浪能发电组件以及锚锭组件。波浪能发电组件通过浮筒捕获波浪能,驱动液压发电系统将往复运动转化为电能,并通过牵引组件中的电线输送给主浮标的蓄电池,实现能源自给。该设计通过分布式布局显著提升了浮标系统在风浪中的稳定性,把锚链连接在波浪能装置而非主浮标上,可以防止三根锚链相互碰撞和缠绕,其模块化结构降低了维护难度,增强了系统在恶劣海况下的环境适应性与可靠性。

自立浮上水力発電装置

NºPublicación:  JP2026025786A 16/02/2026
Solicitante: 
宇野浩
JP_2026025786_PA

Resumen de: JP2026025786A

【課題】河川、用水等で水面上昇により水没せず、設置工事が不要で水車車羽根を増やして発電電力を増大した水力発電装置を提供する。【解決手段】水車浮力体1とスプロケット2を設け、最小2個は配置する水車3と、スプロケット2と噛み合うスプロケット用穴5を設け、水流を受ける板6を持つ水車羽根7を水車接続丁番8で接続して水車3の外周を長円形に接続した水車羽根列9と、水車3の回転を伝える水車スプロケット10と、回転を増速させる増速機構11と、発電機12と、喫水位置を適正に保つ補助浮力体13とから自立浮上水力発電装置14を構成する。水面位置に応じて浮上し、水車羽根7が水流を受けて水車羽根列9が水車3を駆動して増速機構を介して発電機により発電できる。設置工事不要、同寸法の他方式より発電電力は大きくできる。【選択図】図1

一种收集不平衡力的装置及方法

NºPublicación:  CN121520114A 13/02/2026
Solicitante: 
汤福安
CN_121520114_PA

Resumen de: CN121520114A

本发明公开了一种收集不平衡力的装置及方法,能够高效捕捉海浪、风等环境的不平衡力,并转化为机械能或电能。装置包括不平衡力收集板、活塞、齿条及棘轮和/或齿轮机构等部件,通过精密的机械联动,将往复运动转换为同向旋转运动,进而驱动外部设备。本发明创新地在汽车头部应用,利用风阻进行空气压缩与回弹,兼具防撞与能量转换双重功效。同时,在山谷或海边的大型结构中,本发明能高效利用风力进行能量转换,为偏远地区提供清洁能源。与现有技术相比,本发明通过创新设计,提升了能量转换效率和系统稳定性。

具有波浪能结构的养殖网箱

NºPublicación:  CN121511914A 13/02/2026
Solicitante: 
华能(临高)新能源有限公司中国华能集团清洁能源技术研究院有限公司华能(福建漳州)能源有限责任公司
CN_121511914_PA

Resumen de: CN121511914A

本发明提供一种具有波浪能结构的养殖网箱,涉及海洋鱼类养殖设备的技术领域,包括网箱结构、工作舱结构和多组波浪能结构,网箱结构开设有用于养殖鱼类的容置空间,网箱结构用于漂浮在水面;多组波浪能结构间隔分布并均与网箱结构的外部连接;每一组波浪能结构均包括气室、涡轮机和发电机;涡轮机和发电机连接,且涡轮机和发电机均设于气室内,涡轮机用于通过流经气室的风带动其转动;工作舱结构与网箱结构连接,且工作舱结构与发电机电连接。本发明缓解了现有技术中存在的对于海洋养殖平台因采用柴油发电机而存在一定污染的技术问题,而采用将波浪能与养殖网箱相结合进行融合开发,可以实现共享结构与运维,进而可以在一定程度上降低开发成本。

저유속 조류용 잠수식 발전소

NºPublicación:  KR20260021642A 13/02/2026
Solicitante: 
미네스토에이비
DK_202570147_A1

Resumen de: MX2025014284A

The invention relates to a submersible power plant (1) comprising a major rotor (2) arranged on a buoyant body (3) relative which it can rotate. The major rotor (2) comprises at least two major rotor blades (4) and is rotatable around a major rotor axis (A_r) from a fluid flow acting on the major rotor blades (4). The major rotor (2) comprises a minor rotor arranged on each major rotor blade (4), each comprising a minor rotor blade (7) rotatable around a minor rotor axis substantially perpendicular to the major rotor axis (A_r) and to an extension of the major rotor blades (4) from the major rotor axis (A_r) to each major rotor blade end (4a). The buoyant body (3) of the submersible power plant (1) is arranged to be secured to a structure by means of a tether and is arranged to change the angle (α) of the major rotor axis (A_r) relative the direction of the fluid flow (F_d), controlling the rotational speed of the major rotor (2).

光伏太阳能、风力能及波浪液压发电的海上养殖平台

NºPublicación:  CN121530281A 13/02/2026
Solicitante: 
江苏科技大学
CN_121530281_PA

Resumen de: CN121530281A

本发明公开了一种光伏太阳能、风力能及波浪液压发电的海上养殖平台,包括光伏太阳能发电装置、波浪能液压发电装置、风力发电机组、养殖网箱及海上平台;波浪能液压发电装置包括波浪俘获浮体、液压缸、蓄能器、液压马达和发电机;蓄能器包括壳体、充气组件和气囊,壳体的下方有进油阀,进油阀与气囊之间有菌形阀、弹簧和密封组件;过滤器包括过滤腔体、滤板供应舱、废滤板收集舱、弹簧座板、滤板更换电机和控制板;过滤腔体内有压差传感器,滤板更换电机连接有张紧辊,张紧辊与弹簧座板之间有张紧绳;过滤腔体与弹簧座板间连接有弹簧;弹簧座板与滤板供应舱间有推杆。本发明通过光伏太阳能、波浪能、风能的多能源协同互补,规避单一能源发电的间歇性缺陷。

一种适用于FIV发电的自适应流速调节装置

NºPublicación:  CN121530222A 13/02/2026
Solicitante: 
天津大学
CN_121530222_PA

Resumen de: CN121530222A

本发明提供了一种适用于FIV发电的自适应流速调节装置,包括基础框架,所述基础框架上设置有振子,所述振子的两侧对称设置有稳流结构,所述稳流结构与基础框架之间活动连接,所述稳流结构的一侧设置有复位结构,协助稳流结构相对于基础框架做平行复位运动;所述稳流结构的一侧设置有调速结构,所述调速结构根据稳流结构和复位结构的承载力适时调整。本发明采用上述的一种适用于FIV发电的自适应流速调节装置,提升发电装置发电效率并增强安全性,保证其在更宽流速范围内高效稳定发电。

一种适用于外海的航标

NºPublicación:  CN223905250U 13/02/2026
Solicitante: 
广东海工建设工程有限公司
CN_223905250_U

Resumen de: CN223905250U

本实用新型提供了一种适用于外海的航标,包括:内部中空的浮体,浮体顶部设有航标灯;发电机,发电机安装在浮体内部;蓄电池,蓄电池安装在浮体内部,蓄电池分别与发电机和航标灯电连接;旋转轴,旋转轴转动设置在浮体底部,旋转轴顶端伸入到浮体内与发电机传动连接,旋转轴底端沿其周向设有多个扇叶;阻尼系统,阻尼系统设置在浮体内部,用于降低浮体所受的晃动;锚定系统,锚定系统与浮体连接。本实用新型稳定性高,防台风能力强,且能利用海洋资源稳定解决航标供电能力。

一种波浪能转化装置

NºPublicación:  CN223908317U 13/02/2026
Solicitante: 
平顶山学院
CN_223908317_U

Resumen de: CN223908317U

本实用新型公开了一种波浪能转化装置,具体涉及波浪发电技术领域,包括驱动组件、传动组件和输出组件,驱动组件用于将波浪能转换为机械能,驱动组件与传动组件传动连接,传动组件的输出端包括两个棘轮‑齿轮组件,棘轮‑齿轮组件包括传动齿轮和棘轮,棘轮与传动齿轮能够啮合或分离,两个棘轮‑齿轮组件的棘轮的旋转方向相反,当一个棘轮‑齿轮组件的棘轮与传动齿轮啮合时,另一个棘轮‑齿轮组件的棘轮与传动齿轮分离,输出组件包括两个输入齿轮,两个输入齿轮分别与两个棘轮‑齿轮组件的传动齿轮啮合,输出组件的输出端用于与发电机连接。本实用新型结构简单,能够充分利用波浪能的往复运动,提高能量转换效率和发电质量。

一种自驱水冷的气动稳定式海上光伏支撑平台及控制方法

NºPublicación:  CN121516182A 13/02/2026
Solicitante: 
中国海洋大学
CN_121516182_PA

Resumen de: CN121516182A

本发明属于海上光伏支撑平台技术领域,具体提出一种自驱水冷的气动稳定式海上光伏支撑平台及控制方法,该平台利用振荡水柱腔体构成的气动群柱结构,通过腔内压缩空气与外部波浪的动态耦合作用,有效消散波浪能量,显著降低复杂海况下平台的运动响应,从而实现自适应稳定;同时,依托同一气腔压强波动驱动海水循环流动,构成无需外部能耗的自驱水冷系统,用于驱动海水取水、循环及光伏组件散热,以提升光伏组件发电效率,该平台在结构稳性与能量利用方面实现协同优化,具备优异的抗浪性能与能源自持能力。

波浪能收集装置

NºPublicación:  CN121520117A 13/02/2026
Solicitante: 
北京航空航天大学
CN_121520117_PA

Resumen de: CN121520117A

本发明属于波浪能发电技术领域,具体涉及一种波浪能收集装置。本发明中的波浪能收集装置包括浮体、陀螺仪结构、传动结构、整流结构和发电模块;浮体浮于水面;陀螺仪结构包括外环、中环和内环,中环套设于内环且中环和内环转动连接,外环套设于中环且外环和中环转动连接,中环的旋转轴和外环的旋转轴垂直,浮体套设于外环,外环的外壁和第一通孔的孔壁固定连接;传动结构用于将输入端的往复直线运动转换为输出端的往复旋转运动;整流结构用于将输入端的往复旋转运动转换为输出端的单向旋转运动;发电模块的输入端与整流结构的输出端连接。通过使用本技术方案中的波浪能收集装置能够获得较大程度的垂荡运动,从而有效提高能源利用率。

基于对称双摆与复位弹簧的波浪发电装置及发电方法

NºPublicación:  CN121520118A 13/02/2026
Solicitante: 
中国海洋大学
CN_121520118_PA

Resumen de: CN121520118A

本发明属于波浪能发电领域,具体为一种基于对称双摆与复位弹簧的波浪发电装置及发电方法,装置包括漂浮壳体,其底部通过锚链系泊。壳体内设有可绕中心主轴旋转的双摆系统,双摆通过复位弹簧约束,并装有双向驱动棘爪。摆的往复运动通过棘轮‑涡簧机构转换为单向旋转,涡簧起到平缓能量、缓冲储能的作用。旋转运动经锥形大齿轮、水平及垂向双联齿轮构成的增速传动链,最终驱动发电机发电。装置设有锁停机构,在小波高时锁停齿轮、储存能量于涡簧,待能量积累至阈值后释放以实现间断性发电。当波向与双摆平衡位置不垂直时,不对称的摆动力矩会通过复位弹簧与限位装置驱动整个中心主轴旋转,使双摆自动对准来波方向,实现全向自适应。

调控转动惯量增强轴系稳定性的方法及海洋能发电机组

NºPublicación:  CN121520115A 13/02/2026
Solicitante: 
中国大唐集团科技创新有限公司清华大学
CN_121520115_PA

Resumen de: CN121520115A

本发明提供了一种调控转动惯量增强轴系稳定性的方法及海洋能发电机组,该方法包括:沿主轴周向固定安装至少一个离心滑块稳速装置,主轴连接叶轮;离心滑块稳速装置由一个滑杆、一个套装于滑杆上的滑块以及若干个用于控制滑块径向运动的弹性复位机构组成;滑杆的一端通过法兰或螺栓固定于主轴上,另一端向主轴径向延伸,并在末端设置限位板,以控制滑块的运动范围;弹性复位机构设置于所述主轴与滑块之间,以及滑杆末端与滑块之间。本发明通过完全被动的机械结构自适应调节转速,有效平抑因流体流速变化引起的转轮转速波动,有利于提高系统的轴系稳定性,降低运行过程中的振动,并减少因频繁转速变化引起的材料疲劳消耗,提高转轮使用寿命。

INERTIAL PNEUMATIC WAVE ENERGY DEVICE

NºPublicación:  US20260043386A1 12/02/2026
Solicitante: 
LONE GULL HOLDINGS LTD [US]
LONE GULL HOLDINGS, LTD
US_20260043386_PA

Resumen de: US20260043386A1

A buoyant wave energy device is disclosed that incorporates an open-bottomed tube of substantial length in which is partially enclosed a first body of water that oscillates in response to wave action. The device incorporates a buoy to which an upper end of the tube is connected and inside of which is trapped a second body of water of substantial mass. A differential phase in the oscillations of the water trapped in the tube, and the oscillations of the buoy of augmented mass, result in the periodic compression of a pocket of air trapped at the top of the tube, and in the subsequent expulsion of pressurized air through a turbine, thereby generating electrical power.

Vortex-Driven Dual-Wall Annular Piston Wave Energy Converter

NºPublicación:  KR20260020994A 12/02/2026
Solicitante: 
이호근

Resumen de: KR20260020994A

본 발명은 파랑·조위차·수두 등의 해양 에너지를 이용하여 유체를 와류 상태로 실린더 내부에 유도하고, 이중벽 환형 유로에서 압축하여 배출함으로써 전력을 생산하는 파력 발전 장치에 관한 것이다. 피스톤과 스크류 블레이드는 커넥팅 로드를 통해 연동되며, 스크류 블레이드는 self-cleaning 기능을 수행하여 해양 오염에 대응하면서 유동을 보조한다. 발전부는 크랭크축, 기어, 플라이휠 및 변속기를 포함하여 안정적인 회전 출력이 확보되고, 전기식 또는 유압식 PTO를 통해 전력을 생산한다. 단일 모듈에서 4모듈 엔진 및 격자형 군집 배열까지 확장 가능하여 대형 파력 발전소 구현이 용이하다.

GENERATOR

NºPublicación:  WO2026033930A1 12/02/2026
Solicitante: 
GET CLEAN ENERGY CO LTD [JP]
\u682A\u5F0F\u4F1A\u793E\u30B2\u30C3\u30C8\u30AF\u30EA\u30FC\u30F3\u30A8\u30CA\u30B8\u30FC
WO_2026033930_PA

Resumen de: WO2026033930A1

Problem To provide a generator that is driven by utilizing water pressure. Solution A drive mechanism of this generator 122 comprises: a pair of bellows pump chambers 102, 112 in which bellows pumps 101, 111 are disposed; a windmill 121 which rotates by using air sent from the bellows pumps, which expand and contract; and a generator 122 which is directly connected to the windmill 121. The bellows pump chambers 102, 112 are disposed in water, opening/closing doors 103, 113 of the bellows pump chambers are alternately opened and closed, and air flows into a windmill chamber from the bellows pump of the bellows pump chamber in which the opening/closing door is open. In a windmill chamber 120 in which the windmill 121 is disposed, switching plates 123, 124 that switch a flow passage of air are provided so that the windmill 121 and the generator 122 rotate in the same direction regardless from which of the bellows pump chambers 102, 112 the air enters.

HYDROELECTRIC POWER GENERATION UTILIZING TIDAL FLOWS AND CORIOLIS FORCE

NºPublicación:  US20260043387A1 12/02/2026
Solicitante: 
TALUKDAR SUBRATA [US]
Talukdar Subrata
US_20260043387_PA

Resumen de: US20260043387A1

A system and method for harnessing and converting tidal energy into electricity utilizes the predictable nature of tidal phenomena. The system captures the Coriolis force, an inertial force imparted to a moving fluid by Earth's rotation, through a low-head turbine. The system creates a potential water column difference using multiple reservoirs and a tide capture/release algorithm. Water flows down this gradient through the turbine chamber to a lower potential energy reservoir, regulated by pump-assisted buoyant valve locks. The turbine design captures the summated rotational energy from the rotating water body created by the forced vortex and the Coriolis force as it exits the turbine chamber. This system provides a reliable, environmentally friendly, and virtually endless source of energy.

WATER-DRAWING STRUCTURE FOR OCEAN ENERGY GENERATOR

Nº publicación: US20260043385A1 12/02/2026

Solicitante:

HSIEH HO YUAN [TW]
Hsieh Ho-Yuan

US_20260043385_PA

Resumen de: US20260043385A1

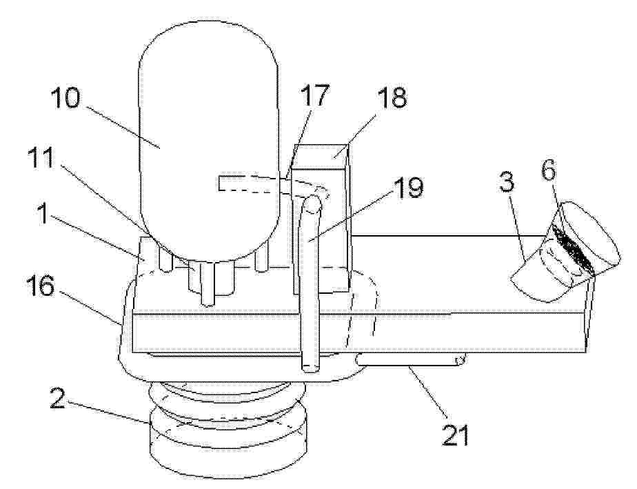
A water-drawing structure for an ocean energy generator includes a sea-water collection tank with multiple locating posts at its bottom. An intake conduit includes a check valve connected to the tank, and a water-drawing assembly connected to the intake conduit. A floating element on the water surface is connected to a linkage system comprising a main linkage, a piston rod and a floating element linkage. The main linkage pivots on a pillar at one end and is connected to the floating element linkage at the other end. The piston rod is connected between the main linkage and the water-drawing assembly. A counterweight is connected to the main linkage where it connects to the floating element linkage. One pillar has two positioning feet between which the main linkage passes. As waves cause the floating element, the linkage system drives the water-drawing assembly to pump seawater efficiently for power generation.

traducir