Ministerio de Industria, Turismo y Comercio LogoMinisterior
 

Alerta

Resultados 28 resultados
LastUpdate Última actualización 04/02/2026 [06:45:00]
pdfxls
Patentes publicadas en los últimos 30 días/ Patents published in the last 30 days
Resultados 1 a 25 de 28 nextPage  

YEAST EXPRESSING A HETEROLOGOUS PHOSPHOLIPASE FOR ETHANOL PRODUCTION

NºPublicación:  US20260028649A1 29/01/2026
Solicitante: 
NOVOZYMES AS [DK]
Novozymes A/S
US_20260028649_PA

Resumen de: US20260028649A1

Described herein are recombinant fermenting organisms having a heterologous polynucleotide encoding a phospholipase. Also described are processes for producing a fermentation product, such as ethanol, from starch or cellulosic-containing material with the recombinant fermenting organisms.

METHOD AND ARRANGEMENT FOR FEEDBACK BASED CONTROL IN CHEMICAL REFINING OF WOOD

NºPublicación:  EP4685458A2 28/01/2026
Solicitante: 
UPM KYMMENE CORP [FI]
UPM-Kymmene Corporation
EP_4685458_PA

Resumen de: EP4685458A2

Method and control system are provided for controlling values of process parameters of a pretreatment process of wood particles. A sampler is used to obtain a sample of a product flow of said pretreatment process after said wood particles have undergone steam explosion in a hemihydrolysis reactor. A particle measurement device is used to measure one or more characteristics of particles in said sample and to produce one or more pieces of measurement information indicative of the measured characteristics. Said one or more pieces of measurement information are used to select one or more values of one or more of said process parameters.

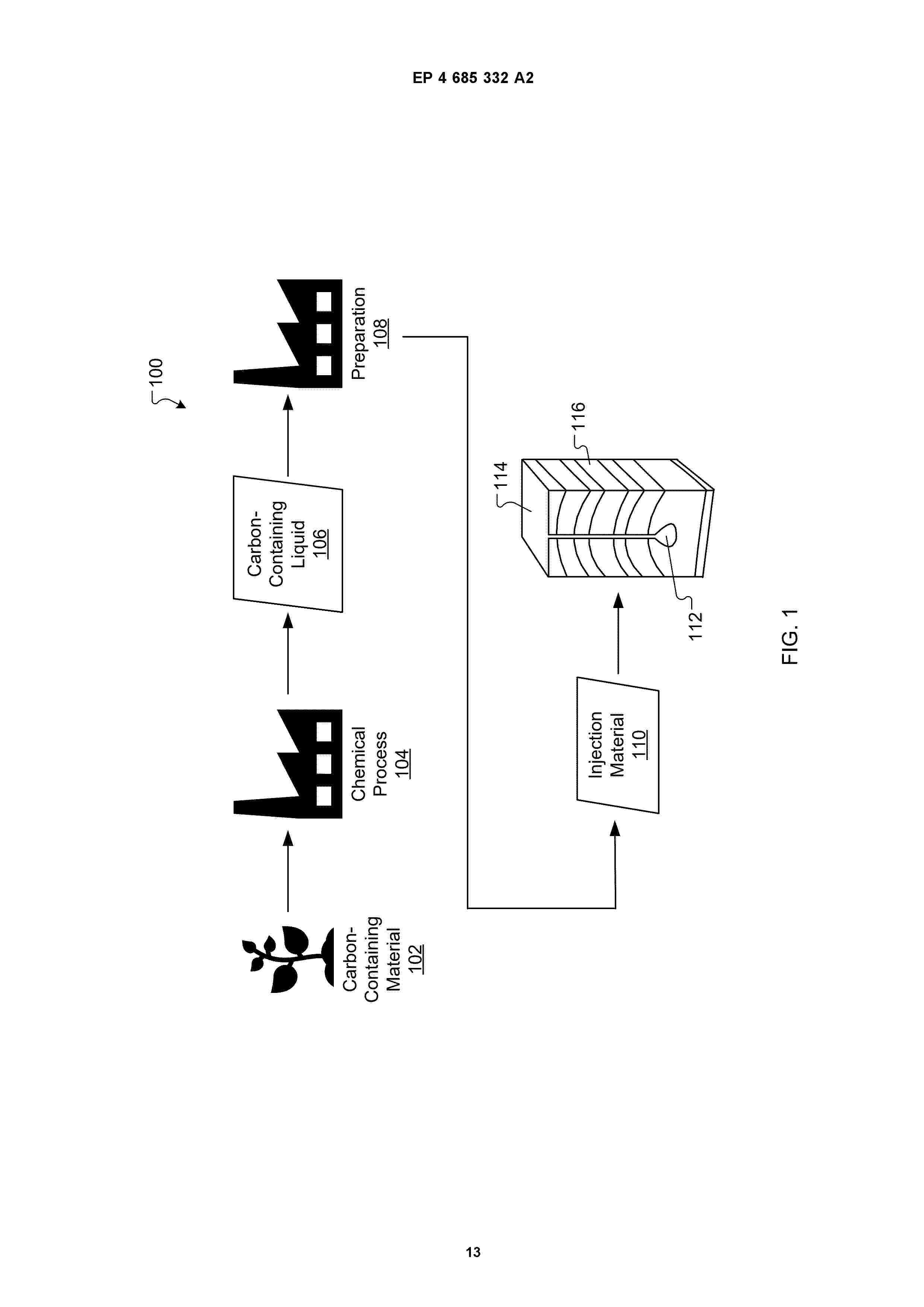
METHOD AND USE OF A SYSTEM FOR GEOLOGICAL SEQUESTRATION OF CARBON-CONTAINING LIQUID MATERIAL

NºPublicación:  EP4685332A2 28/01/2026
Solicitante: 
CHARM IND INC [US]
Charm Industrial, Inc
EP_4685332_A2

Resumen de: EP4685332A2

This disclosure relates to a method and a system for sequestering carbon-containing materials in underground wells. An example method includes: obtaining a material comprising a carbon-containing liquid; optionally testing the material for compatibility with an underground well; optionally adjusting a property of the material to improve the compatibility; and providing the material for injection into the underground well.

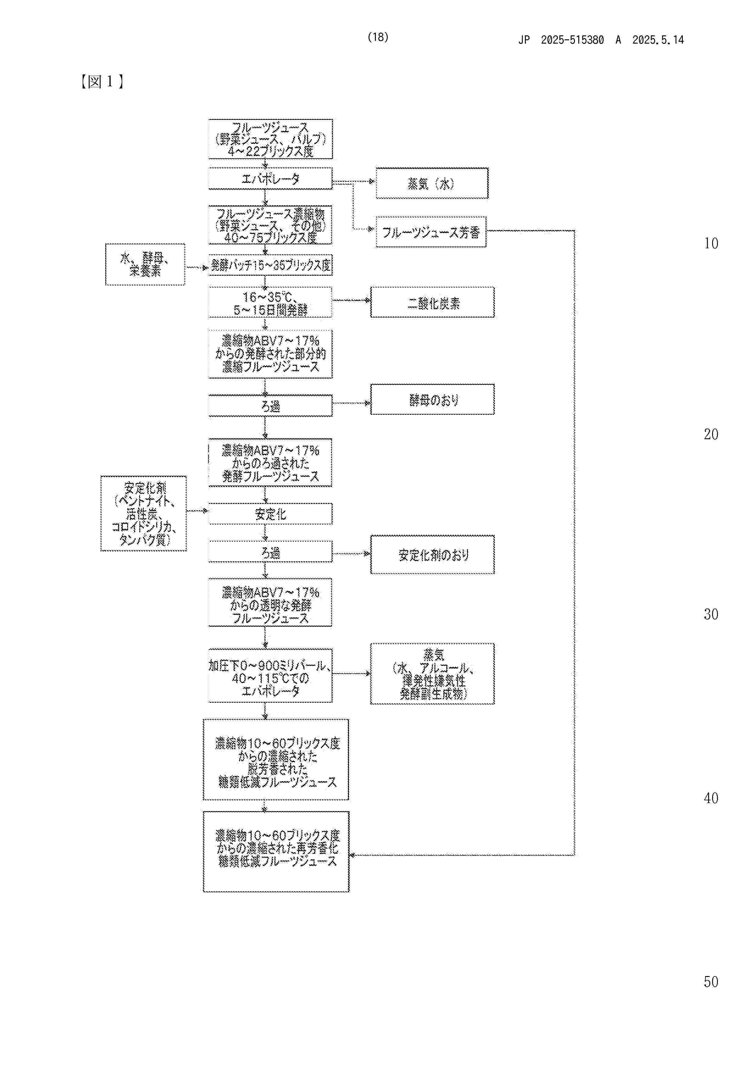
FRACTIONATION PROCESS OF LIGNOCELLULOSIC BIOMASS PRODUCING RICH BIOGENIC CARBON PRODUCTS

NºPublicación:  EP4683965A1 28/01/2026
Solicitante: 
CRB INNOVATIONS INC [CA]
CRB Innovations Inc
WO_2024192501_PA

Resumen de: WO2024192501A1

It is provided a fractionation process of a lignocellulosic biomass feedstock producing biogenic carbon products comprising impregnating the lignocellulosic biomass feedstock with water producing an impregnated wet solid fraction after draining the liquid; raising the temperature of the impregnated wet solid fraction by adding steam producing steamed wet solids; adding water to said steamed wet solids to a ratio of liquid to solids below 16 obtaining a mixture of liquid and steamed wet solids; filtering the mixture of liquid and steamed wet solids producing an hydrolysate fraction and a wet solid fraction; concentrating the hydrolysate fraction to obtain a concentrated sugar solution which can be converted into humins; drying the wet solid fraction and mixing the dried wet solid fraction in an ethanol solution containing a mineral acid producing a slurry; heating the slurry and filtering the heated slurry producing a liquid phase, a solid cake containing lignin oligomers convertible into biofuels and an acid-impregnated cellulose-rich residue.

PLANT CHAR CARBON PIGMENTS AND LIQUID DISPERSIONS THEREOF

NºPublicación:  EP4685209A2 28/01/2026
Solicitante: 
NATURE COATINGS INC [US]
Nature Coatings, Inc
EP_4685209_A2

Resumen de: EP4685209A2

Described herein are methods, and compositions for use in the coloration of materials. The compositions described herein are black pigments derived primarily from recently-living plants or animals and are therefore renewable.

PROCESS FOR BIOCARBON PRODUCTION WITH HIGH COMPRESSIVE STRENGTH FOR USE IN METALLURGIC APPLICATIONS

NºPublicación:  EP4683988A2 28/01/2026
Solicitante: 
UNIV HAWAII [US]
University of Hawaii
WO_2024211096_PA

Resumen de: WO2024211096A2

A method for making transient plastic phase biochar from various biomass feedstocks includes receiving a biomass feedstock at a pyrolysis chamber, providing an inert gas or air environment to the pyrolysis chamber, and pyrolyzing the biomass feedstock in the pyrolysis chamber at a pressure above 1500 psi and a temperature range of 290 - 350 °C to generate the transient plastic phase biochar. The method may further include making a transient plastic phase biocarbon by grinding the transient plastic phase biochar into a powder, compressing the powder into a pellet, and devolatilized the pellet in an inert environment at atmospheric pressure at a temperature range of 300 - 1200 °C for 1 hour at a heating rate of 3-10 °C/min produce transient plastic phase biocarbon.

THERMOLYTIC FRAGMENTATION OF SUGARS

NºPublicación:  US20260022088A1 22/01/2026
Solicitante: 
TOPSOE AS [DK]
Topsoe A/S
US_20260022088_PA

Resumen de: US20260022088A1

The present invention relates to a method for thermolytic fragmentation of a sugar into C1-C3 oxygenates, comprising cooling the fragmentation product downstream of the reactor to a cooling temperature of from 230° C. to 390° C. and then separating solids from the fragmentation product cooled to the cooling temperature. The present invention also relates to a system for performing the thermolytic fragmentation of a sugar into C1-C3 oxygenates. The method and the system are suitable for industrial scale production.

METHOD FOR PRODUCING BIOFUEL AND METHOD FOR IMPROVING METHYL ESTERIFICATION EFFICIENCY OF TAMANU OIL

NºPublicación:  AU2024298670A1 22/01/2026
Solicitante: 
J OIL MILLS INC
J-OIL MILLS, INC
AU_2024298670_A1

Resumen de: AU2024298670A1

The present invention provides a method for producing a biofuel, the method including: (a) a tamanu oil purification step which comprises a deoxidization step for deoxidizing a crude oil of a tamanu oil, wherein the absorbance of the refined tamanu oil at the wavelength of 330 nm is 0.08 or less; and (b) a methyl esterification step in which methanol is added to the refined tamanu oil so as to produce a fatty acid methyl ester (FAME) by a transesterification reaction. The present invention also provides a method for improving the methyl esterification efficiency of a tamanu oil.

ENZYMES FOR INFUSION MASHING IN ADJUNCT BREWING TECHNICAL FIELD

NºPublicación:  AU2025287279A1 22/01/2026
Solicitante: 
INT N&H DENMARK APS
International N&H Denmark ApS
AU_2025287279_A1

Resumen de: AU2025287279A1

The present invention relates to methods of mashing 100% adjunct grists. More specifically, the instant disclosure provides methods and compositions wherein an alpha- amylase in combination with an maltogenic alpha amylase and/or glucoamylse to make a non-malt wort composed by adjunct raw materials. ec e c

Method For Manufacture Of A Biomass-Based Diesel From Feedstock Comprising Olefin Oligomers

NºPublicación:  US20260022299A1 22/01/2026
Solicitante: 
RENEWABLE ENERGY GROUP INC [US]
Renewable Energy Group, Inc
US_20260022299_PA

Resumen de: US20260022299A1

The present technology relates to biofuels, and more particularly, to biomass-based diesel from olefin oligomers. Diesel fuels with cetane number of 49 or greater are prepared by blending hydrocarbons produced by olefin oligomerization with renewable diesel, resulting in a blended fuel that has a lower cloud point than the cloud point of the renewable diesel. A different aspect relates to an integrated process for lipid HDO and olefin oligomerization wherein the propane coproduct of lipid HDO is subjected to dehydrogenation to produce a vapor stream having propylene and hydrogen. The propylene is subsequently oligomerized to iso-olefins and the iso-olefins are combined with the lipid feed for hydrogenation in the HDO reactor.

PROCESSES FOR MANUFACTURING BIODIESEL FROM FATTY WASTE

NºPublicación:  EP4680757A1 21/01/2026
Solicitante: 
UNIVICE M E LTD [IL]
Univice M.E Ltd
WO_2024189621_PA

Resumen de: WO2024189621A1

The disclosure concerns processes and systems for the manufacture of biodiesel from fats sources, specifically enzymatic processes for manufacturing biodiesel from waste matter rich in free fatty acids (FFA). The disclosure provides processes with improved efficiency of transforming fat from various sources into biodiesel and a reactor designed for such processes.

PROCESS FOR PRODUCTION OF RENEWABLE FUELS FROM ALCOHOLS

NºPublicación:  EP4680701A2 21/01/2026
Solicitante: 
GEVO INC [US]
Gevo, Inc
US_2025388828_PA

Resumen de: US2025388828A1

Disclosed are systems, methods, and compositions for producing renewable alcohols, conversion of C1-C5 alcohols to a mixture of C2-C7 olefins to generate stream for recycle to the alcohol conversion step to create or separate oligomerization conversion to generate a predominantly C4+ stream, oligomerizing stream into fuel range olefins to create a stream, separating stream into fractions appropriate for use as gasoline, jet, and diesel fuels. The disclosure also provides systems, methods, and compositions of bio-based ethanol that can be converted to ethylene and subsequently to mixtures of C3-C8 olefins in a single-step.

LOW ENERGY PRODUCTION PROCESS FOR RENEWABLE HYDROCARBONS

NºPublicación:  EP4680699A1 21/01/2026
Solicitante: 
GEVO INC [US]
Gevo, Inc
US_2025388937_PA

Resumen de: US2025388937A1

Disclosed is a carbon neutral, zero net energy process, system, and plant for converting lower linear and branched mono-olefins, derived from C2-C5 bio-based alcohols to higher hydrocarbons, to one or more C8-C24 hydrocarbons. Also disclosed are a carbon neutral, zero net energy process for oligomerization of branched and/or linear C3-C8 olefins to renewable diesel fuel and/or jet fuel.

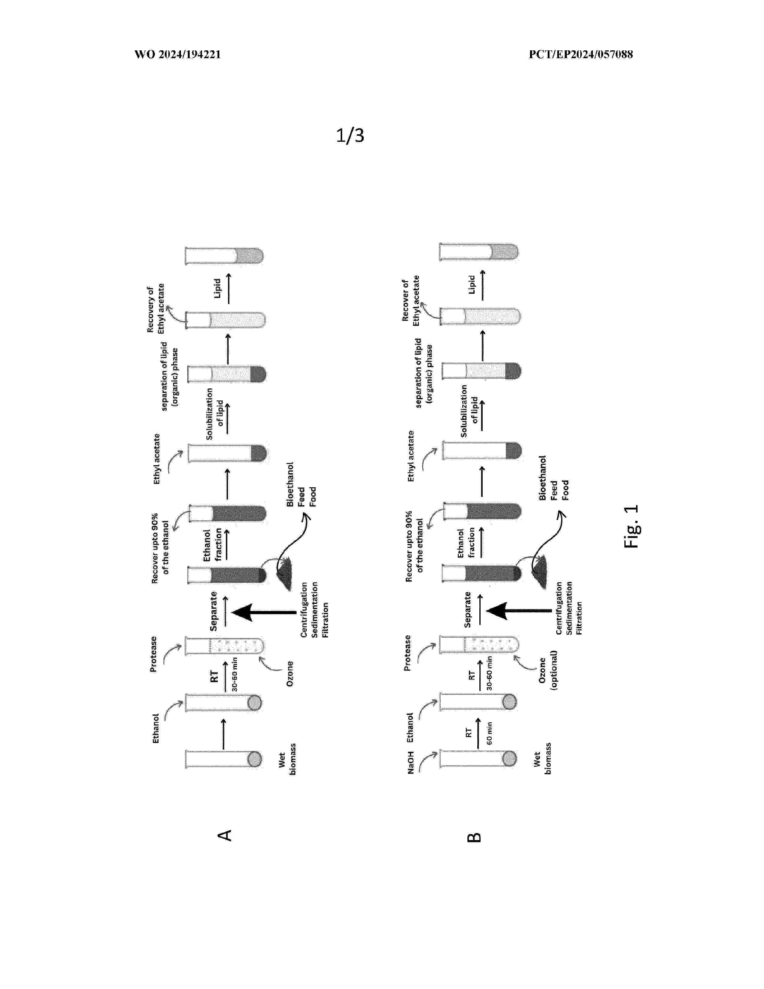
BIOFUEL PRODUCTION

NºPublicación:  EP4680756A1 21/01/2026
Solicitante: 
HORIZON BIOINNOVATION AB [SE]
MAMO GASHAW [SE]
Horizon Bioinnovation AB,
Mamo, Gashaw
WO_2024194221_A1

Resumen de: WO2024194221A1

Disclosed is a method of lipid extraction for biofuel production comprising treating an ethanol-biomass mixture with ozone and/or at least one protease, followed by extraction of the ethanol fraction with an immiscible organic solvent. Also disclosed is a process for biofuel production comprising culturing psychrophilic and alkaliphilic microalgae, harvesting the microalgae and extracting lipids from the harvested cells. Also disclosed is lipid biofuel from microalgae, characterized by reduced chlorophyll content.

METHODS OF PROCESSING LIGNOCELLULOSIC BIOMASS USING SINGLE-STAGE AUTOHYDROLYSIS AND ENZYMATIC HYDROLYSIS WITH C5 BYPASS AND POST-HYDROLYSIS

NºPublicación:  US20260015638A1 15/01/2026
Solicitante: 
NEW ENERGY BLUE LLC [US]
New Energy Blue LLC
US_20260015638_PA

Resumen de: US20260015638A1

The invention relates, in general, to methods of processing Lignocellulosic biomass to fermentable sugars and to methods that rely on hydrothermal pretreatment. Xylose monomer yields comparable to those achieved using two-stage pretreatments can be achieved from soft Lignocellulosic biomass feedstocks by pretreasting to very low severity in a single-stage pressurized hydrothermal pretreatment, followed by enzymatic hydrolysis to release xylose retained in the solid state. In some embodiments, pretreated biomass is separated into a solid fraction and a liquid fraction, the solid fraction subjected to enzymatic hydrolysis, and the separated liquid fraction subsequently mixed with the hydrolysed solid fraction.

Biologically-Derived Carbon Black Alternative And Method Of Making The Same

NºPublicación:  US20260015508A1 15/01/2026
Solicitante: 
LIVING INK TECH LLC [US]
Living Ink Technologies, LLC
US_20260015508_PA

Resumen de: US20260015508A1

Disclosed is a method for producing a carbon black pigment from a microbial biomass. In certain aspects, the method involves providing a microbial biomass solution with a plurality microbial cells in an aqueous solvent; nucleating the plurality of microbial cells by adding a first soluble ion to the microbial biomass solution; initiating crystal formation in and/or on the plurality of microbial cells by adding a second soluble ion to the microbial biomass solution, forming a plurality of crystal encrusted microbial cells, where the charge of the first soluble ion is the opposite of the charge of the second soluble ion and where the crystals are formed from precipitation of the first and second ions; and performing thermal processing of the plurality of crystal encrusted microbial cells to form a charred biomass; washing the charred biomass to form a microbechar.

IMPROVED CELLULOSE FOR BIOETHANOL PRODUCTION

NºPublicación:  EP4677103A1 14/01/2026
Solicitante: 
SIXRING INC [CA]
SixRing Inc
AU_2023435143_PA

Resumen de: CA3210900A1

A process to obtain glucose from a pretreated lignocellulosic biomass, said process comprising the steps of: providing a lignocellulosic biomass; contacting said lignocellulosic biomass to a modified Caro’s acid composition for a period of time necessary to remove more than 98.5 % of the lignin present in said lignocellulosic biomass and thus obtaining a solid stream and a liquid stream; exposing said solid stream to an enzyme blend to produce a hydrolysate comprising sugars obtained from the hydrolysis of cellulose and hemicellulose; and optionally, fermenting said hydrolysate to produce value-added products.

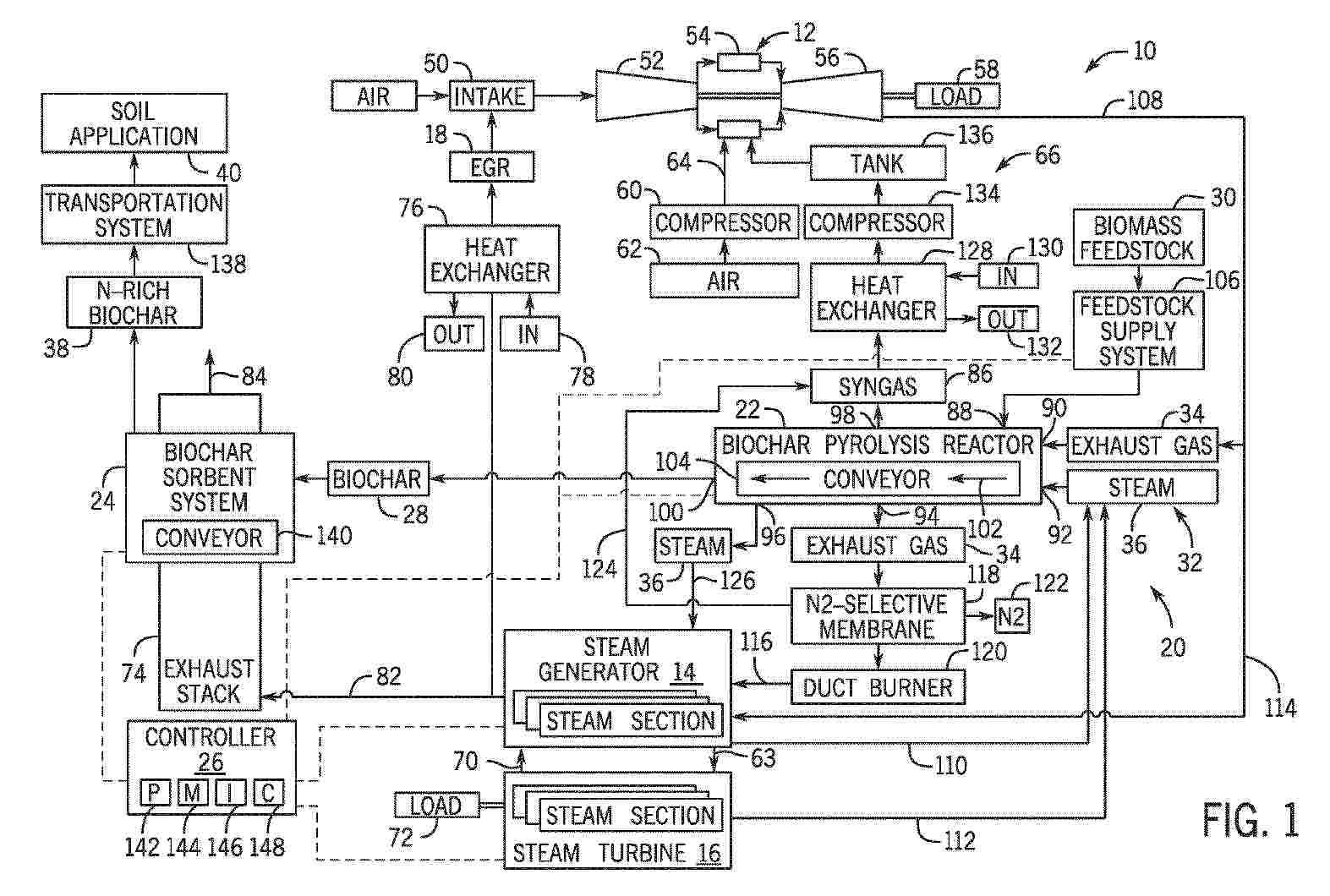
BIOCHAR SYSTEM AND METHOD IN STOICHIOMETRIC GAS TURBINE POWER PLANT WITH EXHAUST GAS RECIRCULATION

NºPublicación:  EP4678719A1 14/01/2026
Solicitante: 
GE VERNOVA TECH GMBH [CH]
GE Vernova Technology GmbH
EP_4678719_PA

Resumen de: EP4678719A1

A system includes a gas turbine system having a compressor, a combustor, and a turbine, wherein the combustor is configured to combust fuel and oxidant in a substantially stoichiometric equivalence ratio, phi (ϕ), of between 0.95 to 1.05. The system further includes an exhaust gas recirculation (EGR) system configured to recirculate an exhaust gas from the turbine to an intake into the compressor. The system further includes a biochar pyrolysis reactor configured to heat a biomass feedstock to cause a pyrolysis reaction of the biomass feedstock using heat from the exhaust gas to generate a biochar and a syngas.

PROCESSES AND SYSTEMS FOR BIOMASS IMPREGNATION TO IMPROVE CONVERSION TO SUGARS, CHEMICALS, FUELS, AND MATERIALS

NºPublicación:  US20260009178A1 08/01/2026
Solicitante: 
GRANBIO INTELLECTUAL PROPERTY HOLDINGS LLC [US]
GranBio Intellectual Property Holdings, LLC
US_20260009178_PA

Resumen de: US20260009178A1

Some variations provide a process for impregnating a biomass feedstock with a reaction solution, comprising: providing a biomass feedstock that contains non-condensable gases within biomass pores; introducing a condensable vapor into the biomass pores to remove non-condensable gases out of the biomass pores, thereby generating an intermediate biomass material, wherein at least a portion of the condensable vapor remains within the biomass pores; exposing the intermediate biomass material to a liquid solution to infiltrate the liquid solution into the biomass pores and condense the vapor to form a condensed liquid contained within the biomass pores, thereby generating an impregnated biomass material containing a reaction solution; and recovering or further processing the impregnated biomass material. The non-condensable gases may be oxygen, nitrogen, or carbon dioxide, for example. The condensable vapor may be steam, for example. The reaction solution may contain a pretreatment chemical, such as a catalyst and/or a solvent.

SYSTEMS AND METHODS FOR PRODUCTION OF RENEWABLE HYDROGEN FOR WASTE COLLECTION AND WASTE MANAGEMENT CENTER VEHICLES

NºPublicación:  US20260008974A1 08/01/2026
Solicitante: 
KORE INFRASTRUCTURE LLC [US]
KORE INFRASTRUCTURE, LLC
US_20260008974_PA

Resumen de: US20260008974A1

Described are technologies including methods and systems that can be used to produce carbon-neutral and/or carbon-negative renewable gaseous fuel from various organic wastes. In some implementations, such renewable fuel can be used in vehicles that transport the wastes from the waste generators to centralized waste disposal locations and/or manage the wastes at the waste disposal locations.

PROCESS FOR PRETREATING VEGETABLE OILS OR ANIMAL FATS INTENDED FOR PROCESSES OF TRANSFORMATION INTO BIOFUELS

NºPublicación:  US20260008977A1 08/01/2026
Solicitante: 
ENI S P A [IT]
ENI S.P.A
US_20260008977_PA

Resumen de: US20260008977A1

A method for pretreating and purifying crude bio-feedstocks intended for processes of transformation into biofuels is described, the method being characterized in that the crude bio-feedstock is subjected, in the form of an aqueous emulsion to a heat treatment by passing it through a coil visbreaker furnace at a temperature greater than 100° C. and a pressure greater than 3 barg, possibly in an inert atmosphere, for a pre-established contact/residence time, the effluent exiting the reactor being subsequently subjected to at least a non-absorbent physical separation to separate the bio-feedstock from metal contaminants and phosphorus.

BITUMEN COMPOSITIONS COMPRISING LIGNIN

NºPublicación:  US20260008890A1 08/01/2026
Solicitante: 
NEW ENERGY BLUE LLC [US]
New Energy Blue LLC
US_20260008890_PA

Resumen de: US20260008890A1

The current invention concerns composition comprising bitumen, one or more plasticity modifying agent(s), and lignin, as well as methods and uses related to such compositions. In particular, compositions are disclosed with improved properties, such as mixing properties.

DEVICE FOR CATALYTIC SEPARATION REACTION OF BIODIESEL AND USE METHOD THEREFOR

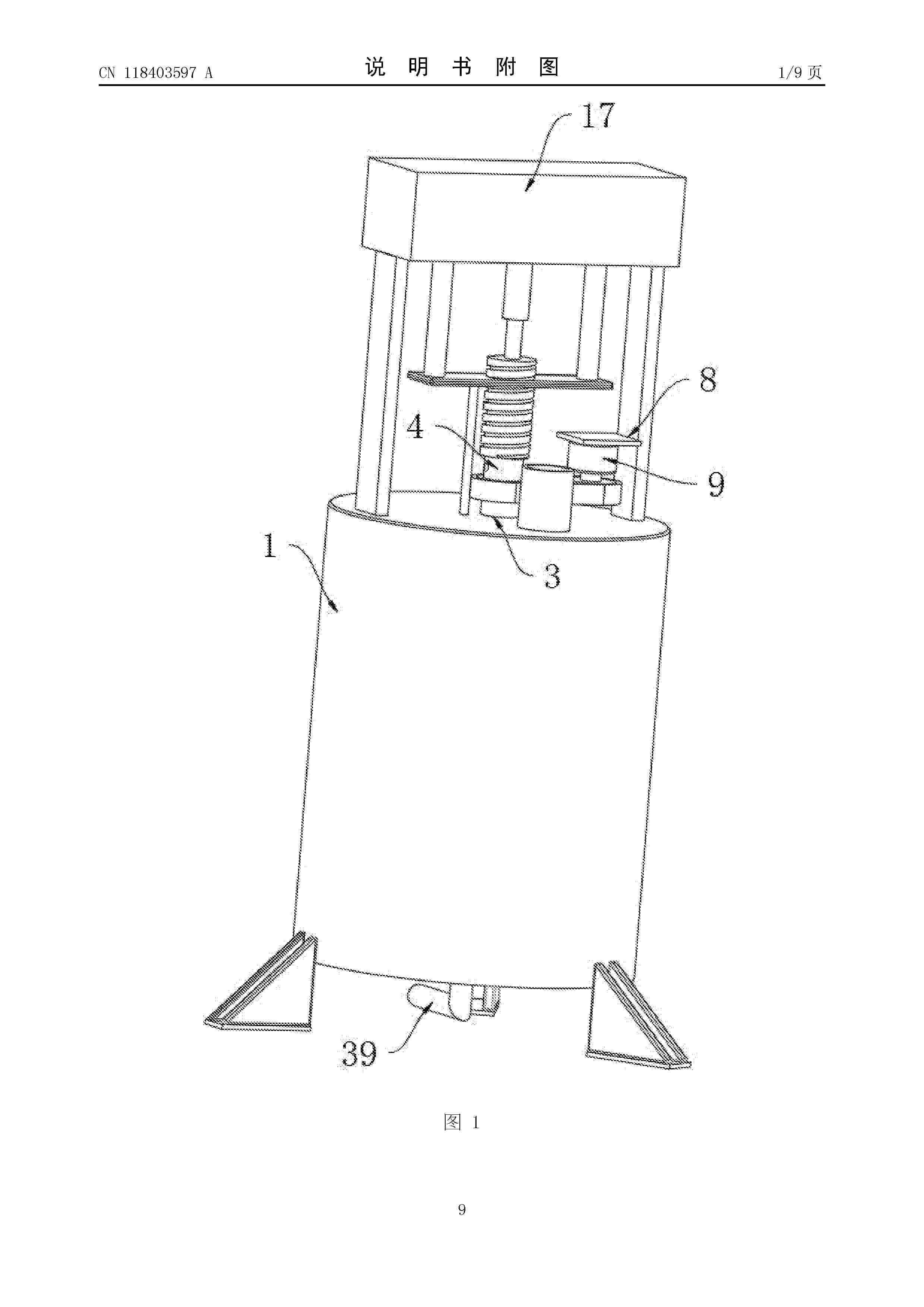
NºPublicación:  WO2026007298A1 08/01/2026
Solicitante: 
SHANGHAI ZHONGQI ENVIRONMENTAL PROTECTION TECH CO LTD [CN]
\u4E0A\u6D77\u4E2D\u5668\u73AF\u4FDD\u79D1\u6280\u6709\u9650\u516C\u53F8
CN_118403597_A

Resumen de: WO2026007298A1

Provided are a device for catalytic separation reaction of biodiesel and a use method therefor. The device for catalytic separation reaction of biodiesel comprises: a reactor (1), a bottom surface of which is provided with a discharge pipe (39); a carbon film (2) arranged inside the reactor (1) and used for the permeation of fatty acid methyl esters and glycerol; and a rotating hole (3) formed on the top surface of the reactor (1), wherein a stirring column (5) is movably mounted inside the rotating hole (3), a plurality of stirring rods (6) are arranged outside the stirring column (5), and two limiting grooves (34) are formed on the outer cylindrical surface of a rotating shaft (4). The rotating shaft (4) drives a reciprocating screw rod (18) to rotate, driving a piston plate (19) to compress the air; and the compressive force on piston blocks (14) in the stirring rods (6) gradually increases, driving scrapers (16) to slowly move outward so as to gradually scrap off the fatty acid methyl esters and glycerol by layer from the inner wall of the reactor, thereby achieving a better scraping effect and enhancing the oil yield from the reaction of feedstock oil.

BLENDING OF RENEWABLE FUELS

NºPublicación:  US20260008973A1 08/01/2026
Solicitante: 
NESTE OYJ [FI]
Neste Oyj
US_20260008973_A1

Resumen de: US20260008973A1

An aviation fuel composition is disclosed, containing 50-95 vol-% of petroleum-derived jet fuel component, and 5-50 vol-% of renewable middle distillate component. The fuel composition has a viscosity of 12 mm2/s or below at −40° C., 10 mm2/s or below at −30° C., and 8 mm2/s or below at −20° C., as measured in accordance with an EN ISO 3104 (1996) standard. A method for producing the aviation fuel composition is also disclosed. The method containing mixing the petroleum derived jet fuel component and the renewable middle distillate component to obtain the aviation fuel composition, such that the petroleum-derived jet fuel component and the renewable middle distillate component are mixed together in an amount containing 5-50 vol-% of renewable middle distillate component and about 50-95 vol-% of petroleum-derived jet fuel component.

FERMENTATIVE GLYCEROL-FREE ETHANOL PRODUCTION

Nº publicación: US20260009044A1 08/01/2026

Solicitante:

DSM IP ASSETS B V [NL]
DSM IP ASSETS B.V

US_20260009044_A1

Resumen de: US20260009044A1

The present invention relates to a yeast cell, in particular a recombinant yeast cell, the cell lacking enzymatic activity needed for the NADH-dependent glycerol synthesis or the cell having a reduced enzymatic activity with respect to the NADH-dependent glycerol synthesis compared to its corresponding wild-type yeast cell, the cell comprising one or more heterologous nucleic acid sequences encoding an NAD+-dependent acetylating acetaldehyde dehydrogenase (EC 1.2.1.10) activity. The invention further relates to the use of a cell according to the invention in the preparation of ethanol.

traducir