Ministerio de Industria, Turismo y Comercio LogoMinisterior
 

Alerta

Resultados 50 resultados
LastUpdate Última actualización 21/12/2025 [06:46:00]
pdfxls
Patentes publicadas en los últimos 30 días/ Patents published in the last 30 days
Resultados 1 a 25 de 50 nextPage  

SYSTEMS AND METHODS FOR HOLISTIC LOW CARBON INTENSITY FUEL PRODUCTION

NºPublicación:  US2025383637A1 18/12/2025
Solicitante: 
MARATHON PETROLEUM COMPANY LP [US]
Marathon Petroleum Company LP
US_2023408990_PA

Resumen de: US2025383637A1

The present disclosure generally relates to systems and methods utilizing regenerative agriculture for the procurement, production, refinement and/or transformation of low carbon intensity transportation fuels, including low carbon intensity biodiesel and/or renewable diesel, low carbon intensity biogasoline, low carbon intensity aviation, marine and kerosene fuels as well as fuel oil blends, low carbon intensity ethanol, and low carbon intensity hydrogen, that may be beneficially commercialized directly to consumers. In further aspects, the systems and methods of the present disclosure advantageously generate low carbon intensity comestibles, including sustainably-sourced meal and/or feed. The disclosed systems and methods may be utilized and optimized such that the resulting fuels and foodstuffs are characterized by a reduction in greenhouse gas production and a diminution in the fertilizer, pesticide and water required for producing the associated crop feedstocks.

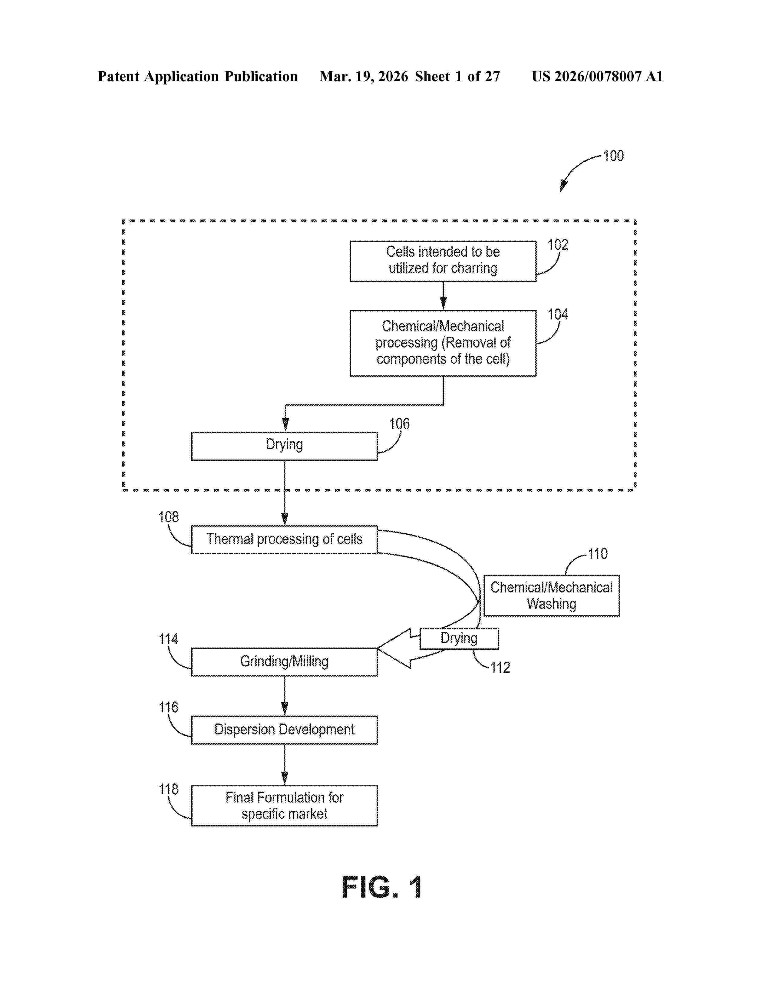
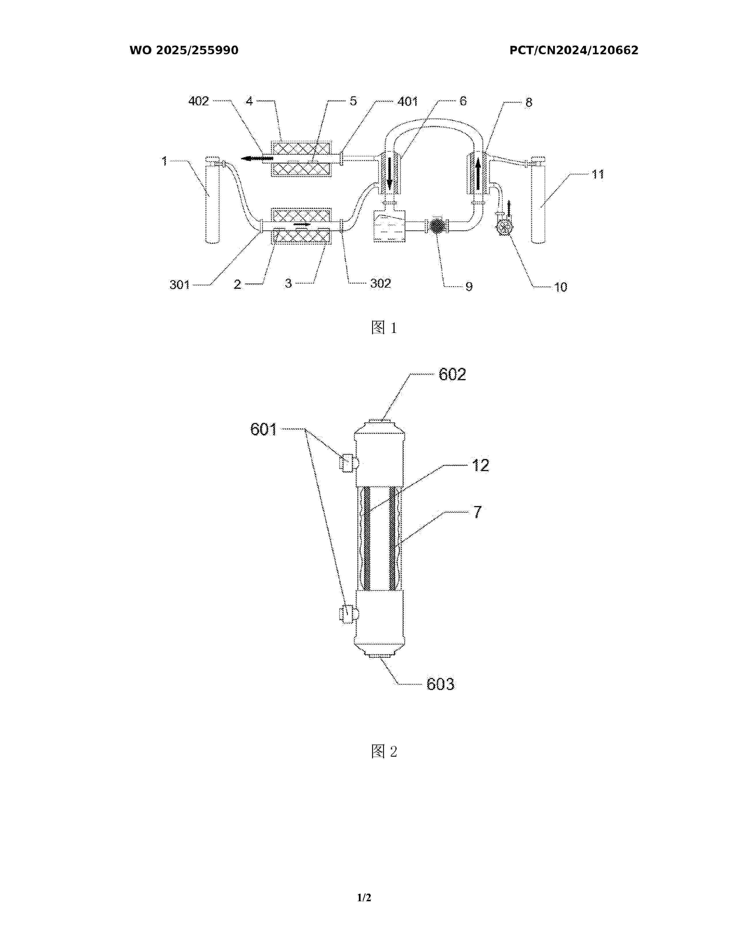
DEVICE AND METHOD FOR PREPARING CARBON MATERIAL BY PYROLYSIS AND GRADED UTILIZATION OF BIOMASS

NºPublicación:  WO2025255990A1 18/12/2025
Solicitante: 
HENAN UNIV OF SCIENCE AND TECHNOLOGY [CN]
\u6CB3\u5357\u79D1\u6280\u5927\u5B66
WO_2025255990_A1

Resumen de: WO2025255990A1

The present invention relates to the technical field of biomass energy recycling. Disclosed are a device and method for preparing a carbon material by pyrolysis and graded utilization of biomass. The device comprises a first tubular furnace; a first gas inlet of the first tubular furnace is in communication with a gas outlet end of a first nitrogen cylinder; a gas outlet of the first tubular furnace is in communication with a gas inlet end of a degassing mechanism; the degassing mechanism can absorb a water-soluble gas in a pyrolysis gas; a second tubular furnace has a second gas inlet and a second gas outlet; the second gas inlet is in communication with a gas outlet end of the degassing mechanism; and the degassing mechanism can deliver a water-insoluble gas in the pyrolysis gas to the second tubular furnace for vapor deposition to form biochar. The pyrolysis gas generated by biomass pyrolysis can be secondarily utilized, the water-insoluble gas in the pyrolysis gas is separated, and the water-insoluble gas is converted into biochar by means of vapor deposition in the second tubular furnace, so that the utilization rate of the pyrolysis gas is improved and the content of harmful gases in the pyrolysis gas is reduced, and thus the treated pyrolysis gas can be directly discharged into the atmosphere and is environmentally friendly and pollution-free.

METHODS AND MICROORGANISMS FOR THE FERMENTATION OF METHANE TO MULTI-CARBON COMPOUNDS

NºPublicación:  US2025382623A1 18/12/2025
Solicitante: 
BIOVERDE TECH LLC [US]
BioVerde Tech LLC
US_2025382623_PA

Resumen de: US2025382623A1

Genetically modified microorganisms that have the ability to convert carbon substrates into chemical products such as isobutanol are disclosed. For example, genetically modified methanotrophs that are capable of generating isobutanol at high titers from a methane source are disclosed. Methods of making these genetically modified microorganisms and methods of using them are also disclosed.

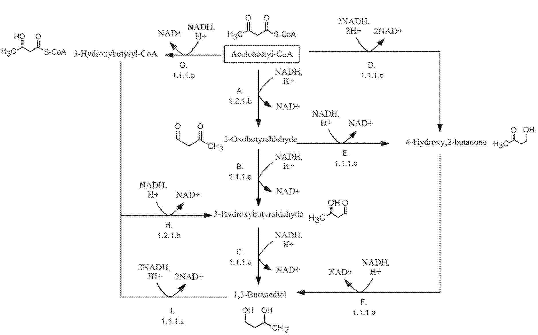
ALDEHYDE DEHYDROGENASE VARIANTS AND METHODS OF USING SAME

NºPublicación:  US2025382590A1 18/12/2025
Solicitante: 
GENOMATICA INC [US]
Genomatica, Inc
US_2025382590_PA

Resumen de: US2025382590A1

The invention provides polypeptides and encoding nucleic acids of aldehyde dehydrogenase variants. The invention also provides cells expressing aldehyde dehydrogenase variants. The invention further provides methods for producing 3-hydroxybutyraldehyde (3-HBal) and/or 1,3-butanediol (1,3-BDO), or an ester or amide thereof, comprising culturing cells expressing an aldehyde dehydrogenase variant or using lysates of such cells. The invention additional provides methods for producing 4-hydroxybutyraldehyde (4-HBal) and/or 1,4-butanediol (1,4-BDO), or an ester or amide thereof, comprising culturing cells expressing an aldehyde dehydrogenase variant or using lysates of such cells.

Verfahren zur Herstellung von Holzbriketts aus Grünabfällen

NºPublicación:  DE102024116534A1 18/12/2025
Solicitante: 
MICHAEL RICHTER GMBH [DE]
Michael Richter GmbH
DE_102024116534_PA

Resumen de: DE102024116534A1

Die Erfindung betrifft ein Verfahren zur Herstellung von Holzbriketts aus Grünabfällen, welches batchweise arbeitet und die folgenden Verfahrensschritte vorsieht, die in der angegebenen Reihenfolge durchlaufen werden:(1) aus unterschiedlichen Bezugsquellen zur Verfügung gestellte Grünabfälle werden an einem Lagerplatz so lange gesammelt, bis eine für eine Batchverarbeitung ausreichende Rohstoffcharge an Grünabfällen bereitsteht;(2) die Grünabfälle werden dem Lager entnommen und mechanisch zerkleinert;(3) die zerkleinerten Grünabfälle werden getrennt, wobei Erdanteile entfernt werden;(4) die Grünabfälle mit reduziertem Erdanteil werden getrocknet;(5) die getrockneten Grünabfälle werden mechanisch weiter zerkleinert;(6) die weiter zerkleinerten Grünabfälle werden getrennt, wobei im Wege der Trennung eine weiterzuverarbeitende Holzkomponente aus den weiter zerkleinerten Grünabfällen gewonnen wird;(7) die weiterzuverarbeitende Holzkomponente wird getrocknet und grob zerkleinert;(8) die grob zerkleinerte Holzkomponente wird mechanisch fein zerkleinert;(9) die fein zerkleinerte Holzkomponente wird gesiebt, wobei im Wege des Siebens eine Feinstholzkomponente aus der Holzkomponente gewonnen wird;(10) die Feinstholzkomponente wird brikettiert.

MOBILE BIOMASS THERMOCHEMICAL ENERGY CONVERSION UNIT AND RELATED METHODS

NºPublicación:  US2025382523A1 18/12/2025
Solicitante: 
LOCOAL CHARCOAL COMPANY [US]
Locoal Charcoal Company
US_2025382523_PA

Resumen de: US2025382523A1

A thermochemical energy conversion unit includes a heat expansion assembly including a reactor configured to receive a biomass and convert the biomass into a burnable gas having undesirable materials therein and a biochar. The heat expansion assembly also includes a heat expansion discharge pipe configured to discharge the burnable gas from the heat expansion assembly. The thermochemical energy conversion unit also includes a gas scrubber assembly operatively connected to the heat expansion assembly and configured to receive the burnable gas therefrom and to remove the undesirable materials from the burnable gas. The gas scrubber assembly includes a scrubber discharge pipe configured to discharge the burnable gas from the gas scrubber assembly. The heat expansion assembly and the gas scrubber assembly are configured to be continuously fluidly connected from the heat expansion discharge pipe to the scrubber discharge pipe for generating a continuous flow of the burnable gas therealong.

Juice Concentrate Having a Reduced Sugar Content and Production Method

NºPublicación:  US2025380722A1 18/12/2025
Solicitante: 
AUSTRIA JUICE GMBH [AT]
AUSTRIA JUICE GmbH
JP_2025515380_A

Resumen de: US2025380722A1

The invention relates to a method for producing a juice concentrate having a reduced sugar content, in which method the sugar content of a juice is reduced by means of fermentation after the addition of microorganisms, and the ethanol produced by the fermentation is separated using additional fermentation products in an evaporator, as a result of which the juice concentrate having a reduced sugar content is obtained. The invention also relates to: a juice concentrate, preferably a fruit juice concentrate or vegetable juice concentrate, which can be obtained using said method; and a method for producing a juice having a reduced sugar content from said juice concentrate.

ENGINEERED OBLIGATE FERMENTING BACTERIA FOR THE FERMENTATIVE PRODUCTION OF D-LACTATE AND ISOBUTANOL

NºPublicación:  EP4662301A1 17/12/2025
Solicitante: 
MAX PLANCK GESELLSCHAFT [DE]
Max-Planck-Gesellschaft zur F\u00F6rderung der Wissenschaften e.V
CN_121057810_PA

Resumen de: WO2024188980A1

The present invention relates to genetically engineered bacteria comprising a deletion of ndh gene; a deletion of one or more nuo genes; a deletion of dld gene, wherein the one or more nuo genes are selected from nuoA, nuoB, nuoC, nuoD, nuoE, nuoF, nuoG, nuoH, nuoI, nuoJ, nuoK, nuoL, nuoM and nuoN; wherein the genetically engineered bacterium is able of oxygen uptake, i.e. the genetically engineered bacterium is able to use oxygen as electron acceptor, and wherein the bacteria is genetically engineered to produce a fermentation product in presence of oxygen. In particular, the present invention provides bacteria genetically engineered to produce lactate from glycerol or from glucose in presence of oxygen. The present invention further provides bacteria genetically engineered to produce isobutanol and/or ethanol from glycerol in presence of oxygen. Further described is a method for producing a fermentation product using the disclosed genetically engineered bacteria.

METHOD FOR PRODUCING WOOD BRIQUETTES FROM GREEN WASTE

NºPublicación:  EP4663721A1 17/12/2025
Solicitante: 
MICHAEL RICHTER GMBH [DE]
Michael Richter GmbH
EP_4663721_PA

Resumen de: EP4663721A1

Die Erfindung betrifft ein Verfahren zur Herstellung von Holzbriketts aus Grünabfällen, welches batchweise arbeitet und die folgenden Verfahrensschritte vorsieht, die in der angegebenen Reihenfolge durchlaufen werden:(1) aus unterschiedlichen Bezugsquellen zur Verfügung gestellte Grünabfälle werden an einem Lagerplatz so lange gesammelt, bis eine für eine Batchverarbeitung ausreichende Rohstoffcharge an Grünabfällen bereitsteht;(2) die Grünabfälle werden dem Lager entnommen und mechanisch zerkleinert;(3) die zerkleinerten Grünabfälle werden getrennt, wobei Erdanteile entfernt werden;(4) die Grünabfälle mit reduziertem Erdanteil werden getrocknet;(5) die getrockneten Grünabfälle werden mechanisch weiter zerkleinert;(6) die weiter zerkleinerten Grünabfälle werden getrennt, wobei im Wege der Trennung eine weiterzuverarbeitende Holzkomponente aus den weiter zerkleinerten Grünabfällen gewonnen wird;(7) die weiterzuverarbeitende Holzkomponente wird getrocknet und grob zerkleinert;(8) die grob zerkleinerte Holzkomponente wird mechanisch fein zerkleinert;(9) die fein zerkleinerte Holzkomponente wird gesiebt, wobei im Wege des Siebens eine Feinstholzkomponente aus der Holzkomponente gewonnen wird;(10) die Feinstholzkomponente wird brikettiert.

METHOD AND SYSTEMS FOR ISOLATION AND/OR SEPARATION OF PRODUCTS FROM PRODUCTION PROCESSES

NºPublicación:  US2025375737A1 11/12/2025
Solicitante: 
SMARTFLOW TECH INC [US]
SMARTFLOW TECHNOLOGIES, INC
US_2025375737_A1

Resumen de: US2025375737A1

The present invention relates to separation of desired target products from biological, plant, and waste-type material, wherein the desired target products include renewable fuels such as ethanol, biobutanol, and biodiesel, wherein the separation is conducted with a cross-flow filtration system having the ability to separate desired products from both non-viscous and viscous medium.

BUTANOL PRODUCTION METHOD

NºPublicación:  US2025376704A1 11/12/2025
Solicitante: 
NIPPON CATALYTIC CHEM IND [JP]
NIPPON SHOKUBAI CO., LTD
US_2025376704_A1

Resumen de: US2025376704A1

Provided is a novel butanol production method. The butanol production method includes a fermentation step of subjecting a fermentation raw material to a fermentation treatment to prepare a fermented liquid containing butanol, and a separation step of subjecting the fermented liquid to PV membrane separation to prepare a separated liquid containing butanol. In the fermentation step, a microorganism of the species Clostridium saccharoperbutylacetonicum deficient in the function of at least an acetone-producing enzyme gene is used and/or a fermented liquid having an acetone concentration of 0.05 mass % or less is prepared.

ENZYME-EXPRESSING YEAST FOR ETHANOL PRODUCTION

NºPublicación:  US2025376702A1 11/12/2025
Solicitante: 
NOVOZYMES AS [DK]
Novozymes A/S
US_2025376702_PA

Resumen de: US2025376702A1

Described herein are recombinant fermenting organisms having a heterologous polynucleotide encoding an alpha-amylase and/or a heterologous polynucleotide encoding a trehalase. Also described are processes for producing a fermentation product, such as ethanol, from starch or cellulosic-containing material with the recombinant fermenting organisms.

COMPOSITIONS FOR METABOLIC HEALTH

NºPublicación:  US2025375485A1 11/12/2025
Solicitante: 
INT N&H DENMARK APS [DK]
International N&H Denmark ApS
US_2025375485_PA

Resumen de: US2025375485A1

Provided herein, inter alia, are compositions comprising one or more biologically pure strains of bacteria as well as methods of making and using the same to treat and/or prevent one or more obesity related disorders in a subject in need thereof.

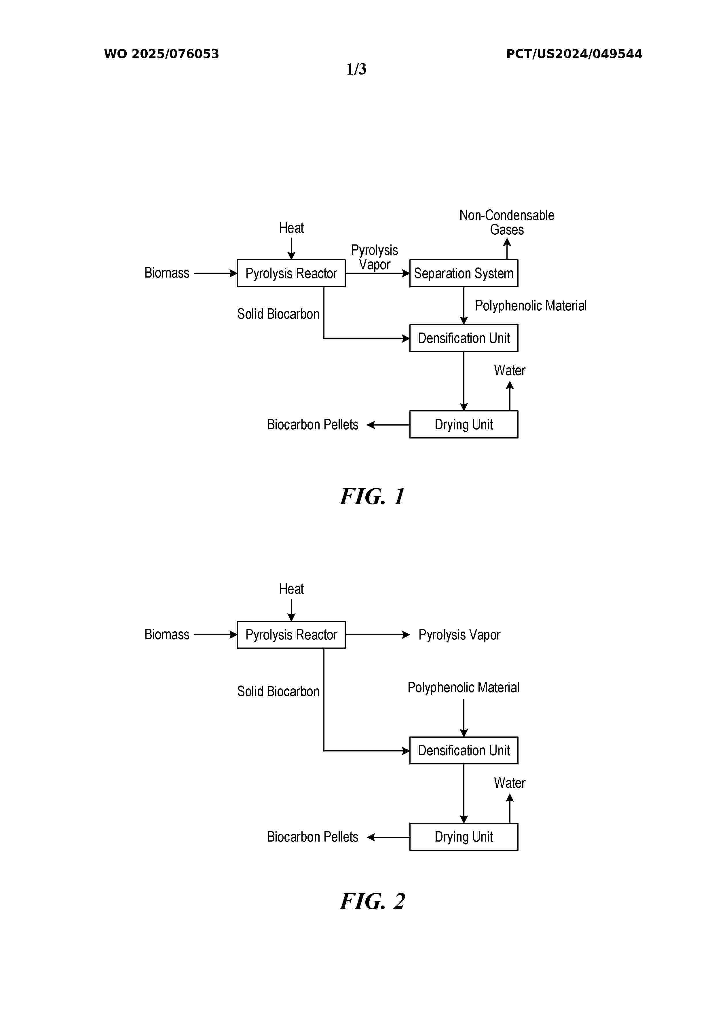
METHOD AND APPARATUS FOR THE PREPARATION OF BIOCOAL FROM BIOMASS FOR GASIFICATION

NºPublicación:  EP4660280A1 10/12/2025
Solicitante: 
PERPETUAL NEXT TECH B V [NL]
Perpetual Next Technologies B.V
EP_4660280_A1

Resumen de: EP4660280A1

The invention relates to a processing method for processing biomass comprises:- preparing biocoal from biomass; and- grinding the biocoal; wherein a normalized bulk density of the biocoal after grinding is above 0.75 metric tons per cubic meter, the normalized bulk density being calculated according to normalizedbulkdensity=tappedbulkdensitydrymassedyield wherein the tapped bulk density is the density of the biocoal after grinding in metric tons per cubic meter, and the dry mass yield indicates a ratio of the biocoal mass before grinding to the initial mass of dried biomass from which dried biomass the biocoal is prepared.

METHOD FOR IMPROVING RATE OF XYLOSE AND ARABINOSE UTILIZATION IN SACCHAROMYCES CEREVISIAE

NºPublicación:  EP4658791A1 10/12/2025
Solicitante: 
SHANGHAI RES AND DEVELOPMENT CENTER OF INDUSTRIAL BIOTECHNOLOGY [CN]
CAS CENTER FOR EXCELLENCE IN MOLECULAR PLANT SCIENCES CHINESE ACAD OF SCIENCES [CN]
Shanghai Research and Development Center of Industrial Biotechnology,
CAS Center for Excellence In Molecular Plant Sciences, Chinese Academy of Sciences
CN_120712358_A

Resumen de: MX2025008763A

The provided is a method for improving the rate of glucose, xylose and arabinose utilization in Saccharomyces cerevisiae, comprising the following steps: using Saccharomyces cerevisiae with the ability to convert xylose and/or arabinose into ethanol, lactic acid, butanedioic acid, farnesene or isobutanol as a chassis cell to make the following mode of modifications in its genome: A. a mutation in the TRK1 gene for the potassium ion intracellular transporter protein, resulting in an increase in intracellular potassium ion/sodium ion ratio in Saccharomyces cerevisiae, and/or B. a mutation in the PUF2 gene for mRNA-binding protein or PUF2 gene knockout, resulting in PUF2 inactivation, deletion, reduced function, or down-regulated mRNA translation strength. The recombinant Saccharomyces cerevisiae constructed can utilize the cellulase hydrolysate comprising glucose, xylose and/or arabinose to produce ethanol, lactic acid, butanedioic acid, farnesene or isobutanol by fermentation, and has broad application prospects.

NATURAL CRYSTALLINE COLORANT DERIVED FROM PURPLE CARROT

NºPublicación:  EP4659848A2 10/12/2025
Solicitante: 
GALLO WINERY E & J [US]
E. & J. Gallo Winery
EP_4659848_A2

Resumen de: EP4659848A2

A crystalline pigment or colorant composition having high color intensity and/or low sugar content, and methods and processes of preparation. The composition may comprise purified fruit and/or vegetable color juices.

KETOREDUCTASE POLYPEPTIDES FOR THE REDUCTION OF ACETOPHENONES

NºPublicación:  US2025368967A1 04/12/2025
Solicitante: 
CODEXIS INC [US]
Codexis, Inc
US_2023257721_A1

Resumen de: US2025368967A1

The present disclosure provides engineered ketoreductase enzymes having improved properties as compared to a naturally occurring wild-type ketoreductase enzyme. Also provided are polynucleotides encoding the engineered ketoreductase enzymes, host cells capable of expressing the engineered ketoreductase enzymes, and methods of using the engineered ketoreductase enzymes to synthesize a variety of chiral compounds.

YEAST CELL FOR PREPARING TEQUILA

NºPublicación:  WO2025248494A1 04/12/2025
Solicitante: 
AB MAURI TECH PTY LIMITED [AU]
AB MAURI TECHNOLOGY PTY LIMITED
WO_2025248494_PA

Resumen de: WO2025248494A1

The invention relates to a yeast cell according to the invention having an ability of converting fermentable sugars present in an aqueous fermentation medium comprising one or more fermentable sugars in a total concentration of 5 w/v% or more, into ethanol to a concentration of at most 2 w/v% of fermentable sugars, based on the volume of the aqueous fermentation medium, based on total volume of the aqueous fermentation medium, said ability being determinable by a method comprising the steps of: a) providing an aqueous fermentation medium consisting essentially of agave juice obtainable from an agave pina obtained from an A. tequilana plant having Fusarium wilt, a plurality of yeast cells in a concentration of 5 -IO6 cells/ml and water, said aqueous fermentation medium comprising 6.6 w/v% total fermentable sugars, based on the volume of the aqueous fermentation medium; b) leaving the aqueous fermentation medium at a temperature of 35 °C and at a pH of 4 for a period of 24 h to obtain an aqueous fermentation medium comprising a concentration of at most 2 w/v% of fermentable sugars, based on the total volume of aqueous fermentation medium.

ALDEHYDE DEHYDROGENASE VARIANTS AND METHODS OF USE

NºPublicación:  US2025368968A1 04/12/2025
Solicitante: 
GENOMATICA INC [US]
Genomatica, Inc
US_2025368968_A1

Resumen de: US2025368968A1

The disclosure provides polypeptides and encoding nucleic acids of engineered aldehyde dehydrogenases. The disclosure also provides cells expressing an engineered form of the aldehyde dehydrogenase. The disclosure further provides methods for producing a bioderived compound, such as 3-hydroxybutyraldehyde, 1,3-butanediol, 4-hydroxybutyraldehyde, 1,4-butanediol, comprising culturing cells expressing an engineered aldehyde dehydrogenase.

PURIFIED PRODUCTS AND PROCESS THEREFORE

NºPublicación:  WO2025250285A1 04/12/2025
Solicitante: 
LANZATECH INC [US]
LANZATECH, INC
WO_2025250285_PA

Resumen de: WO2025250285A1

The disclosure is directed to an apparatus and method for recovering ethanol from a fermentation broth. The fermentation broth may comprise a fermentation product such as ethanol, microbial biomass, and at least one impurity. The method comprises separating at least microbial biomass from the fermentation broth to generate a process stream and removing at least one of the impurities from the process stream. The at least one impurity is removed from the microbial biomass depleted process stream by (1) contacting with at least one carbon bed, copper-containing adsorbent bed, silver-containing adsorbent bed, metal copper, and or metal silver; (2) distilling with a basic or acidic chemical compound; and or (3) adding a chemical compound to react with sulfur-containing compounds followed by distilling. The purified fermentation product is recovered.

METHOD AND SYSTEM FOR PRODUCING BASIC CHEMICAL

NºPublicación:  WO2025249558A1 04/12/2025
Solicitante: 
COSMO ENERGY HOLDINGS CO LTD [JP]
\u30B3\u30B9\u30E2\u30A8\u30CD\u30EB\u30AE\u30FC\u30DB\u30FC\u30EB\u30C7\u30A3\u30F3\u30B0\u30B9\u682A\u5F0F\u4F1A\u793E
WO_2025249558_PA

Resumen de: WO2025249558A1

The present invention relates to a method for producing a basic chemical that includes supplying and reacting carbon dioxide and hydrogen in a bioreactor. The bioreactor is provided with chemosynthetic bacteria, and the hydrogen is supplied by supplying a dissolved hydrogen solution to the bioreactor.

BLENDS OF LOW CARBON AND CONVENTIONAL FUELS WITH IMPROVED PERFORMANCE CHARACTERISTICS

NºPublicación:  US2025368912A1 04/12/2025
Solicitante: 
PLATINUM FUELS LLC [US]
Platinum Fuels, LLC
US_2024093106_A1

Resumen de: US2025368912A1

The present invention provides a blended fuel and methods for producing the blended fuel, wherein a low carbon fuel derived from a renewable resource such as biomass, is blended with a traditional, petroleum derived fuel. A blended fuel which includes greater than 10% by volume of low carbon fuel has an overall improved lifecycle greenhouse gas content of about 5% or more compared to the petroleum derived fuel. Also, blending of the low carbon fuel to the traditional, petroleum fuel improves various engine. performance characteristics of the traditional fuel.

METHOD AND SYSTEM FOR GASIFICATION OF BIOMASS

NºPublicación:  US2025368907A1 04/12/2025
Solicitante: 
MCGOLDEN LLC [US]
McGolden, LLC
US_2023348789_PA

Resumen de: US2025368907A1

A continuous system for gasification of a biomass feedstock comprising: a fuel conditioning zone, a gasification zone and a char cooling area.

A HARDWOOD-DERIVED CARBOHYDRATE COMPOSITION

NºPublicación:  US2025369059A1 04/12/2025
Solicitante: 
UPM KYMMENE CORP [FI]
UPM-KYMMENE CORPORATION
JP_2025520348_A

Resumen de: US2025369059A1

A hardwood-derived carbohydrate composition comprising monomeric sugars in an amount of 75-98 weight-% based on the total dry matter content of the carbohydrate composition, wherein the monomeric sugars include monomeric xylose, the amount of monomeric xylose in the carbohydrate composition being 55-80 weight-% based on the total dry matter content of the carbohydrate composition, and wherein the carbonyl content of the carbohydrate composition is 1000-4500 μg/g based on the total dry matter content of the carbohydrate composition. Further is disclosed a method for producing the hardwood-derived carbohydrate composition and the use of the same.

BIOCHAR REACTOR

Nº publicación: EP4655362A1 03/12/2025

Solicitante:

TORREC TECH OY [FI]
Torrec Technology Oy

WO_2024156936_A1

Resumen de: WO2024156936A1

The application relates to a biochar reactor (100) for producing biochar (BC). The biochar reactor comprises a horizontal reactor chamber (102), a receiver (104) for receiving (472) biomass (BM) to the biochar reactor, a pyrolyser (108) for pyrolysing (480) the received biomass to produce the biochar, a cooler (114) for cooling (488) the produced biochar, and a controller (346) for controlling the biochar reactor. The pyrolyser comprises at least one pyrolyser section (110) so that each pyrolyser section (110) is configured to pyrolyse the biomass by using a unique section-typical temperature range. The biochar reactor is configured to cause heat gas (HG) to flow through each pyrolyser section (110) to pyrolyse the biomass in a process temperature (T1, T2) within the section-typical temperature range in said pyrolyser section (110).

traducir