Ministerio de Industria, Turismo y Comercio LogoMinisterior
 

Alerta

Resultados 644 resultados
LastUpdate Última actualización 22/03/2026 [06:48:00]
pdfxls
Solicitudes publicadas en los últimos 15 días / Applications published in the last 15 days
previousPage Resultados 550 a 575 de 644 nextPage  

燃料电池的阳极排水阀控制方法、装置和计算机设备

NºPublicación:  CN121642031A 10/03/2026
Solicitante: 
未势能源科技有限公司
CN_121642031_PA

Resumen de: CN121642031A

本发明公开了一种燃料电池的阳极排水阀控制方法、装置和计算机设备。其中,该方法包括:检测目标车辆的请求功率;基于请求功率,确定目标车辆中燃料电池系统的产水量;获取目标车辆所处环境的环境温度和环境湿度;基于环境温度和环境湿度,确定传入燃料电池系统中的空气的含水量;基于含水量和产水量,确定目标车辆中集水盒中的积水量;在积水量超过第一预设阈值的情况下,控制燃料电池系统中的阳极排水阀开启。本发明解决了目前对使用固定开启时间的控制策略导致实际情况中车辆所处环境的温度和湿度不同会对集水盒中的水分产生影响使得电堆长时间运行可能发生电堆水淹的技术问题。

燃料电池的单电池

NºPublicación:  CN121642010A 10/03/2026
Solicitante: 
丰田纺织株式会社
CN_121642010_PA

Resumen de: US20260066313A1

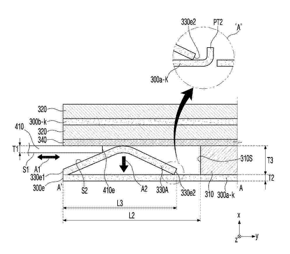
A single cell for a fuel cell includes a frame-shaped holding plate to which an edge of a membrane electrode gas diffusion layer assembly is joined, and two separators. A hole extends through the holding plate and the separators in a thickness direction. The separators are each bonded to the holding plate using adhesive. Ribs protrude from each of the separators. An uneven surface is provided at a portion of an end face of each of the ribs located between the hole and the membrane electrode gas diffusion layer assembly and a portion of a contact surface of the holding plate located between the hole and the membrane electrode gas diffusion layer assembly. The end face faces in a direction in which the ribs protrude. The contact surface is in contact with the end face.

电流穿通装置和物质转化器

NºPublicación:  CN121642015A 10/03/2026
Solicitante: 
罗伯特·博世有限公司
CN_121642015_PA

Resumen de: DE102024208176A1

Die Erfindung betriff eine Stromdurchführung (100), aufweisend eine Stromschiene (109), eine Elastomerdichtung (101), in der eine Aussparung (102) für die Stromschiene (109) ausgebildet ist, wobei die Stromschiene (109) durch die Aussparung (102) der Elastomerdichtung (101) hindurchragend angeordnet ist, und eine Verpresseinheit, mittels derer die Elastomerdichtung (101) so verpressbar ist, dass die Stromschiene (109) von der Elastomerdichtung (101) gasdicht umschlossen wird, und einen Stoffumwandler, insbesondere einen Elektrolyseur oder eine Brennstoffzelle, mit einer solchen Stromdurchführung (100).

燃料电池阳极循环系统的控制方法、系统及氢氧燃料电池

NºPublicación:  CN121642023A 10/03/2026
Solicitante: 
上海重塑能源科技有限公司
CN_121642023_PA

Resumen de: CN121642023A

本发明公开一种燃料电池阳极循环系统的控制方法、系统及氢氧燃料电池。所述控制方法,用于控制阳极气体向多个电堆的供应,所述控制方法包括:将所述多个电堆中的至少一个配置为上游电堆,将所述多个电堆中的至少一个配置为下游电堆;在反应预设时间后,将至少一上游电堆切换为下游电堆和/或将至少一下游电堆切换为上游电堆;其中,所述上游电堆从阳极气体供应源输入阳极气体进行反应,所述下游电堆由所述上游电堆排出的反应剩余的阳极气体输入进行反应。本发明提出的燃料电池阳极循环系统的控制方法、系统及燃料电池,可解决现有技术中阳极循环系统可靠性不足的问题。

燃料电池系统的故障诊断方法、电子设备和存储介质

NºPublicación:  CN121642041A 10/03/2026
Solicitante: 
未势能源科技有限公司
CN_121642041_PA

Resumen de: CN121642041A

本公开提供了一种燃料电池系统的故障诊断方法、电子设备和存储介质。本公开一实施例中,燃料电池系统的故障诊断方法包括:燃料电池系统运行过程中,获取阴极气体流量实际值和阴极气体压力实际值;根据阴极气体流量实际值和阴极气体压力实际值确定阴极供气管路的故障原因;提供对应故障原因的故障提示。本公开能够在燃料电池系统正常运行中快速准确地锁定阴极供气管路的故障原因并及时响应,有效避免因阴极供气管路故障而导致的零部件损坏。

液流电池隔膜、改性方法及液流电池

NºPublicación:  CN121642007A 10/03/2026
Solicitante: 
深圳先进技术研究院
CN_121642007_PA

Resumen de: CN121642007A

本申请提供的液流电池隔膜、改性方法及锌溴液流电池,将导电材料、粘结剂及有机溶剂混合搅拌得到改性涂层溶液;将所述改性涂层溶液涂覆在离子交换膜上;对所述离子交换膜进行蒸发处理,得到改性离子交换膜;对所述改性离子交换膜进行直流脉冲加热处理,得到改性后的隔膜,本申请上述技术方案,采用脉冲加热的方法短时间升高离子交换膜涂层温度,消除枝晶以及干扰可能生成枝晶的浓差极化引起的高浓度锌离子溶液,且不影响离子交换膜本身的离子选择性和离子穿透性,增加了去除已存在和潜在锌枝晶的功能,具有良好的机械性能、较高的液流电池效率,以及优异的耐久性和耐腐蚀性等性能,可以替代现有的离子交换膜,在液流电池储能领域中得到应用。

一种钛氯液流电池电解液及其应用和钛氯液流电池

NºPublicación:  CN121642064A 10/03/2026
Solicitante: 
中国科学院大连化学物理研究所
CN_121642064_PA

Resumen de: CN121642064A

本申请公开了一种钛氯液流电池电解液及其应用和钛氯液流电池,属于液流电池领域。所述电解液中采用了钛盐、氯盐、胺类化合物作为电解液的主要活性组成成分。所述电解液中使用的胺类化合物,能够与正极侧氯盐充电过程中产生的氯气快速反应生成氯代胺类化合物,形成稳定的充电产物,并进行可逆的放电。通过与负极侧的钛盐组成的钛氯液流电池,能够以接近98%的库伦效率进行循环充放电,并且几乎不会释放有害的氯气,具有环境友好、价格低廉、能量密度高等优点,适用于大规模储能。

燃料电池系统及单发电装置

NºPublicación:  CN121642049A 10/03/2026
Solicitante: 
洋马控股株式会社
CN_121642049_PA

Resumen de: US20260066314A1

Problem Provided is a fuel cell system capable of reducing a risk that drain water is discharged from an exhaust path together with exhaust gas and scattered around.Solution A fuel cell system includes a fuel cell module and a drain portion. The drain portion is disposed to be branched from an exhaust path of the fuel cell module.

燃料电池系统及其启动方法、电子设备和介质

NºPublicación:  CN121642047A 10/03/2026
Solicitante: 
未势能源科技有限公司
CN_121642047_PA

Resumen de: CN121642047A

本公开提供了一种燃料电池系统及其启动方法、电子设备和介质。本公开的燃料电池系统启动方法包括:上电后,控制冷却模块开启并进入加热模式以升温冷却液;在电堆进口的冷却液温度升温至第一温度阈值后,控制阴极供气子系统执行旁通吹扫以为膨胀机化冰;检测膨胀机的工作状态,若膨胀机工作状态正常,开启空压机与电堆间的气路,断开第一气体流路,将冷却液升温至第二温度阈值,完成燃料电池系统的冷启动。本公开能够有效避免因膨胀机结冰而造成的低温冷启动失败或低温冷启动缓慢。

燃料电池系统的故障诊断方法和电子设备

NºPublicación:  CN121642040A 10/03/2026
Solicitante: 
未势能源科技有限公司
CN_121642040_PA

Resumen de: CN121642040A

本公开提供了一种燃料电池系统的故障诊断方法和电子设备。本公开一实施例中,燃料电池系统的故障诊断方法包括:燃料电池系统吹扫过程中,获取阴极气体流量实际值;根据阴极气体流量实际值确定阴极供气管路的故障原因;提供对应故障原因的故障提示。本公开能够快速准确地锁定阴极供气管路的故障原因并及时响应,有效避免因阴极供气管路故障而导致的零部件损坏。

一种多设备供电的野外单兵应急电源

NºPublicación:  CN121643209A 10/03/2026
Solicitante: 
西安彬林电子科技有限公司
CN_121643209_PA

Resumen de: CN121643209A

本发明公开了一种多设备供电的野外单兵应急电源,涉及应急电源技术领域,包括电源箱体、氢气出管、氢气进管与锁定弹出组件,本发明通过主控单元智能协同锂电池组与燃料电池,支持多源补电与‑40℃至+60℃宽温域稳定运行,并具备开机自检与故障精准提示功能,氢气系统采用自封闭、无源热切断、主动抽排、物理弹出与惰气稀释的五重安全机制,将风险从抑制转为彻底移除,模块化氢气燃料仓支持快速插拔与三级泄漏响应,弹出后自动切换供电,保障任务连续性,整机集成显示屏、多模态告警与便携尼龙带,实现即插即用、风险可控、操作便捷,全面满足单兵在复杂战场环境下的可靠用电需求。

一种燃料电池发动机排气系统及其控制方法

NºPublicación:  CN121642025A 10/03/2026
Solicitante: 
一汽解放汽车有限公司
CN_121642025_PA

Resumen de: CN121642025A

本发明属于燃料电池技术领域,公开了一种燃料电池发动机排气系统及其控制方法,包括燃料电池电堆、压气机、空压机、水分离器、入堆空气压力传感器、排气控制阀和排气管路,压气机和空压机驱动连接,压气机连接燃料电池阴极入口,入堆空气压力传感器设于电堆阴极入口处,电堆阴极出口连接水分离器,排气控制阀设于电堆阴极出口的排气管路上,空压机连接水分离器。本发明的带有排气背压阀和排气旁通支路的燃料电池发动机排气系统,实现对电堆阴极进气压力的调节,使其在涡轮机建立空气供给系统压力的能力有限的情况下,满足所有工况下电堆阴极对压力的需求,避免电堆性能衰减和寿命缩短的问题,消除可能引发车辆动力中断等严重问题的安全隐患。

液流储能系统的补氮排氢装置

NºPublicación:  CN121642066A 10/03/2026
Solicitante: 
河北建投中航塞罕绿能科技开发有限公司河北建投钒晟储能科技有限公司
CN_121642066_PA

Resumen de: CN121642066A

本发明公开了一种液流储能系统的补氮排氢装置,其包括电堆、电解液罐、管路、泵、氮罐、排气组件,电解液罐数量为两个,分别连接在电堆的正负极腔上,管路数量为四个,连接在电解液罐和电堆之间,使电解液在电堆和电解液罐内循环,泵安装在管路上,驱使电解液循环,氮罐安装在电解液罐一侧,将氮气排入电解液罐内,排气组件安装在电解液罐顶部,将电解液罐顶部的氮气和氢气排出。本发明的液流储能系统的补氮排氢装置,通过循环回路、氮罐与排气组件的协同,及时带走析出的氢气,避免罐顶氢气浓度升高,显著降低爆炸风险;集气仓与液封排氢管组合,实现氢气高效聚集与单向导出,减少氢气在电解液中的溶解残留。

一种封闭式空冷型金属双极板

NºPublicación:  CN121642005A 10/03/2026
Solicitante: 
广州骥翀氢能科技有限公司
CN_121642005_PA

Resumen de: CN121642005A

本发明提供一种封闭式空冷型金属双极板,属于燃料电池领域,本发明包括金属阴极板、金属阳极板、支撑垫片、风冷板。支撑垫片和风冷板焊接在金属阴极板和金属阳极板之间,组成了双极板的三个独立腔室。三个独立腔室包括阳极反应气腔、冷却腔和阴极反应气腔;每个腔室均设有特殊的流道结构,以便反应物及冷却介质在各自腔室分布均匀,满足各自腔室的反应需求。冷却介质采用空气,特殊的密封结构有利于使空冷双极板三个腔体之间保持相互独立,双极板上气体流动通道的设计形式简化了传统封闭式空冷型燃料电池双极板的复杂结构,减小流阻,提升密封的可靠性同时使双极板更加轻量化。

반도체 부품의 제조를 위한 열-전달 유체

NºPublicación:  KR20260034068A 10/03/2026
Solicitante: 
페르스토르프에이비
KR_20260034068_A

Resumen de: AU2024296272A1

The invention relates to the use of a heat-transfer fluid based on an aliphatic diester for the indirect cooling of electronic components.

핫 멜트 접착 시트

NºPublicación:  KR20260032998A 10/03/2026
Solicitante: 
닛토신코가부시키가이샤
KR_20260032998_PA

Resumen de: CN121399223A

This hot-melt adhesive sheet is provided with a base material and an adhesive layer laminated on at least one surface of the base material, the adhesive layer being formed from a hot-melt adhesive, the hot-melt adhesive comprising a crosslinked product of an adhesive composition containing a crosslinking agent, the adhesive composition comprising a polyester resin, an epoxy resin, and an isocyanate crosslinking agent, the epoxy resin contains a bisphenol-type epoxy resin and a rubber-modified epoxy resin, and the bisphenol-type epoxy resin has an epoxy equivalent weight of 450 g/eq or more and 1000 g/eq or less.

Fuel cell apparatus

NºPublicación:  KR20260033317A 10/03/2026
Solicitante: 
현대자동차주식회사기아주식회사
KR_20260033317_PA

Resumen de: US20260066318A1

A fuel cell apparatus includes: a fuel cell, including unit cells stacked in a first direction and separators spaced apart from each other in the first direction; and a cell connector mounted to the fuel cell in a second direction intersecting the first direction. The separators include first and second separators adjacent to each other. The fuel cell further includes a first gasket disposed so as to form a recess contacting an edge of the first separator, a second gasket disposed on the second separator while facing the recess in the first direction to define a receiving slot together with the recess, and a first terminal portion disposed in the receiving slot. The cell connector includes a second terminal portion inserted into the receiving slot in the second direction to be engaged with the first terminal portion in a contact manner in the first direction.

전극 재료, 전극, 막 전극 접합체 및 고체 고분자형 연료전지

NºPublicación:  KR20260033568A 10/03/2026
Solicitante: 
고쿠리쓰다이가쿠호진규슈다이가쿠
KR_20260033568_PA

Resumen de: WO2025028613A1

Provided is an electrode material which can achieve both high activity and potential cycle durability and from which a fuel cell electrode having, in particular, excellent load fluctuation cycle characteristics is formed. This electrode material contains a conductive carrier and a catalyst composite supported on the conductive carrier, wherein the catalyst composite includes a PtTaCo composite composed of platinum (Pt) as a first component, tantalum (Ta) as a second component, and cobalt (Co) as a third component. A catalyst composite obtained after phase-separating the PtTaCo composite in the electrode material contains Pt-rich particles and Ta-rich particles. 

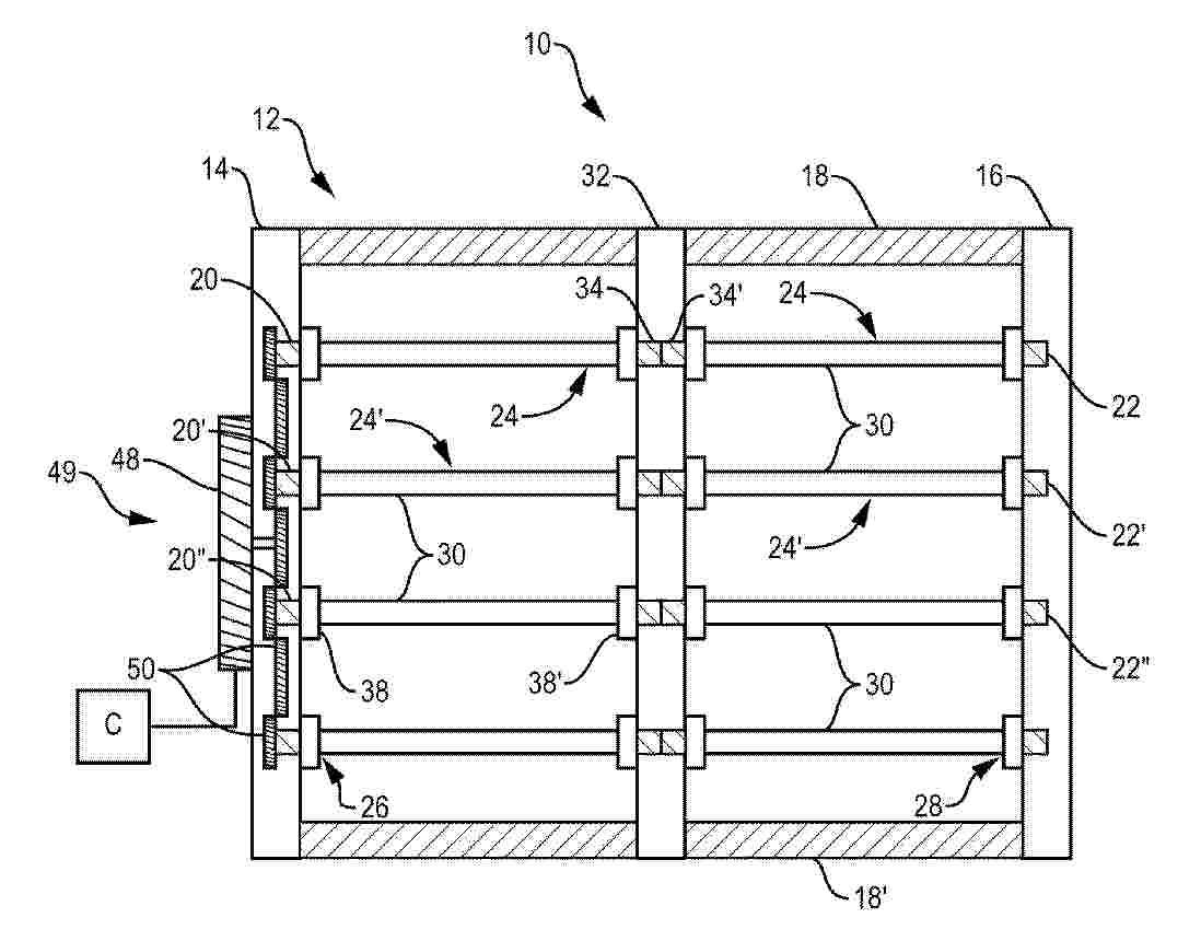
Interconnect including cell nest and method of assembling an electrochemical cell stack including the interconnect

NºPublicación:  KR20260032871A 10/03/2026
Solicitante: 
블룸에너지코퍼레이션
KR_20260032871_PA

Resumen de: US20260066312A1

An interconnect for an electrochemical cell stack includes reactant holes that extend through the interconnect, and a reactant side including a reactant field containing reactant channels and reactant ribs that extend between the reactant holes, a peripheral seal surface that surrounds the reactant field and the reactant holes, recess seal surfaces disposed inside of the peripheral seal surface on opposing sides of the reactant field and recessed relative to the peripheral seal surface, and nest sidewalls that connect the recess seal surfaces to the peripheral seal surface. The nest sidewalls extend substantially perpendicular to the peripheral seal surface and to the recess seal surfaces. The nest sidewalls, the recess seal surfaces, and tops of the reactant ribs at least partially define a cell nest configured to receive an electrochemical cell. An air side includes an air field disposed between the reactant holes, and ring seal surfaces disposed around the reactant holes.

스핀들 카트리지, 그리고 튜브형 세라믹 구조물의 제작 방법

NºPublicación:  KR20260033522A 10/03/2026
Solicitante: 
와트퓨얼셀코퍼레이션
KR_20260033522_PA

Resumen de: AU2024288048A1

The present teachings relate to cartridges and methods for making tubular ceramic structures that can be tubular ceramic green bodies, which are convertible to tubular solid oxide fuel cells.

이산화탄소 가스 분리기를 위한 저-비용 전기화학 셀 스택

NºPublicación:  KR20260033530A 10/03/2026
Solicitante: 
리페어디에이씨엘티디
KR_20260033530_PA

Resumen de: WO2025012755A1

An electrochemically-based carbon-dioxide gas separation system includes a stack of membrane electrode assemblies (MEAs), each of the MEAs including a membrane separator between a cathode and an anode. The cathode includes a charge-storage compound that reacts to form hydroxide and the anode includes a charge-storage compound that reacts to consume hydroxide or produce protons. A double-sided flow-field plate is placed between adjacent MEAs of the stack of electrochemical cells. First and last MEAs of the stack of MEAs are coupled to an end flow-field plate which is coupled to an end plate. Each of the cathodes and the anodes includes an electrical contact coupled to an electric current power supply.

바나듐 이온을 포함하는 산화ㆍ환원 이차전지용 전해액 및 이를 포함하는 이차전지

NºPublicación:  KR20260033480A 10/03/2026
Solicitante: 
스탠다드에너지주
KR_20260033480_PA

Resumen de: WO2025009917A1

The present invention relates to an electrolyte for an oxidation-reduction secondary battery comprising vanadium ions and a secondary battery comprising same and, more specifically, to an electrolyte comprising vanadium ions and a secondary battery comprising same, wherein the electrolyte has a controlled oxidation number of vanadium so as to improve a decrease phenomenon in charging energy (capacity) due to a concentration deviation phenomenon of the electrolyte comprising vanadium ions of a positive electrode and a negative electrode during charging and discharging of the secondary battery.

hydrogen recirculating blower

NºPublicación:  KR20260033872A 10/03/2026
Solicitante: 
지엠비코리아주식회사
KR_20260033872_PA

Resumen de: KR20260033872A

본 발명은 수소재순환블로워에 대한 것으로서, 더욱 상세하게는 차량 내 설치 공간을 절약할 수 있고 히터의 장착이 용이한 수소재순환블로워에 대한 것이다. 본 발명에 따른 수소재순환블로워는 임펠러와, 모터수단과, 모터하우징과, 임펠러커버와, 히터수단과, 제어수단을 포함한다. 상기 임펠러는 수소를 순환시킨다. 상기 모터수단은 상기 임펠러를 구동시킨다. 상기 모터하우징은 내부에 상기 모터수단을 수용한다. 상기 임펠러커버는 상기 임펠러를 감싸도록 상기 모터하우징의 상부에 결합된다. 상기 히터수단은 상기 임펠러에 의해 순환되는 수소내의 수분을 제거할 수 있게 가열시킬 수 있도록 상기 임펠러커버의 상부에 장착된 면상 발열체를 구비한다. 상기 제어수단은 상기 모터수단의 하부에 배치되어 상기 모터수단과 상기 히터수단을 제어한다. 본 발명에 의하면, 면상 발열체는 수소 유로 상부에 놓여지도록 환형 형상으로 형성되어 임펠러커버의 상부에 장착된다. 이 경우, 면상 발열체가 수소 유로의 전체를 가열시켜 온도를 빠르게 상승시킬 수 있다. 그래서 수소 유로를 유동하는 수소내의 수분을 용이하게 제거할 수 있으므로 수분으로 인해 발생되는 문제를 방지할 수 있다. 또한, 본 발명에 의하면, 면상 발�

ESTIMATING METHOD FOR GAS PARTIAL PRESSURES AND RELATIVE HUMIDIRIES IN A FUEL CELL

NºPublicación:  KR20260033384A 10/03/2026
Solicitante: 
현대자동차주식회사기아주식회사
KR_20260033384_PA

Resumen de: US20260066317A1

A method for estimating partial pressures and relative humidity of gases in a fuel cell is introduced. The method may comprise setting control volumes in the fuel cell based on physical features of the gases, determining stay time periods of the gases in the control volumes based on flow velocities of the gases, wherein the stay time periods correspond to times the gases remain within the control volumes, determining a number of moles and mole movement rates of the gases in the control volumes based on the stay time periods, estimating partial pressures and the relative humidity of the gases in the control volumes based on the determined number of moles and mole movement rates, and controlling an operational parameter of the fuel cell based on the estimated partial pressures and relative humidity of the gases in the control volumes.

A FUEL SUPPLY SYSTEM FOR FUEL CELL AND A FUEL CELL PROPULSION SHIP USING THE SAME

Nº publicación: KR20260033185A 10/03/2026

Solicitante:

삼성중공업주식회사

KR_20260033185_PA

Resumen de: KR20260033185A

본 발명은 선박 내 암모니아 탱크로부터 공급되는 암모니아를 개질하는 개질부, 개질부로부터 개질된 가스를 공급받아 전력을 생산하고, 선박 추진을 위한 전력을 공급하는 연료전지부, 암모니아를 저장하고, 내부에서 발생되는 증발가스를 개질부로 공급하는 압력탱크, 개질부 또는 연료전지부에서 사용되고 온도가 높아져 배출되는 냉각수를 압력탱크 쪽으로 유동시키는 폐열라인 및 폐열라인의 끝단에 구비되고, 냉각수를 압력탱크에 분사하여 압력탱크로 냉각수의 폐열을 전달함으로써 압력탱크 내 증발가스 발생량을 증가시키는 스프레이부를 포함하는 연료전지용 연료공급시스템을 제공한다.

traducir