Ministerio de Industria, Turismo y Comercio LogoMinisterior
 

Alerta

Resultados 567 resultados
LastUpdate Última actualización 01/11/2025 [06:52:00]
pdfxls
Solicitudes publicadas en los últimos 15 días / Applications published in the last 15 days
previousPage Resultados 125 a 150 de 567 nextPage  

ELECTROCHEMICAL CELL

NºPublicación:  WO2025225185A1 30/10/2025
Solicitante: 
DENSO CORP [JP]
\u682A\u5F0F\u4F1A\u793E\u30C7\u30F3\u30BD\u30FC
WO_2025225185_PA

Resumen de: WO2025225185A1

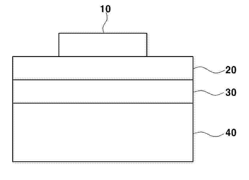
This electrochemical cell (1) has, in the following order, a fuel electrode layer (2) that is an electrode to which a fuel is supplied, a solid electrolyte layer (3) that has oxygen ion conductivity, and an air electrode layer (4) that is an electrode which is paired with the fuel electrode layer (2). The solid electrolyte layer (3) has an electrolyte main body layer (31) that is in contact with the fuel electrode layer (2). The electrolyte main body layer (31) has a fluorite structure, and has a composite oxide phase that comprises a first crystal phase represented by Ce1-x(RE)xO2-x/2 (wherein x is 0.05 to 0.2 inclusive, and RE element is at least one of Gd and Sm) and a second crystal phase represented by (ZnO)(CeO2-δ)y (wherein δ > 0 and y is 0.15 to 0.7 inclusive).

METHOD OF PRODUCING OF HYDROGEN AND CARBON MONOXIDE USING A FUEL CELL

NºPublicación:  WO2025222285A1 30/10/2025
Solicitante: 
1304338 ALBERTA LTD [CA]
1304342 ALBERTA LTD [CA]
1304338 ALBERTA LTD,
1304342 ALBERTA LTD
WO_2025222285_PA

Resumen de: WO2025222285A1

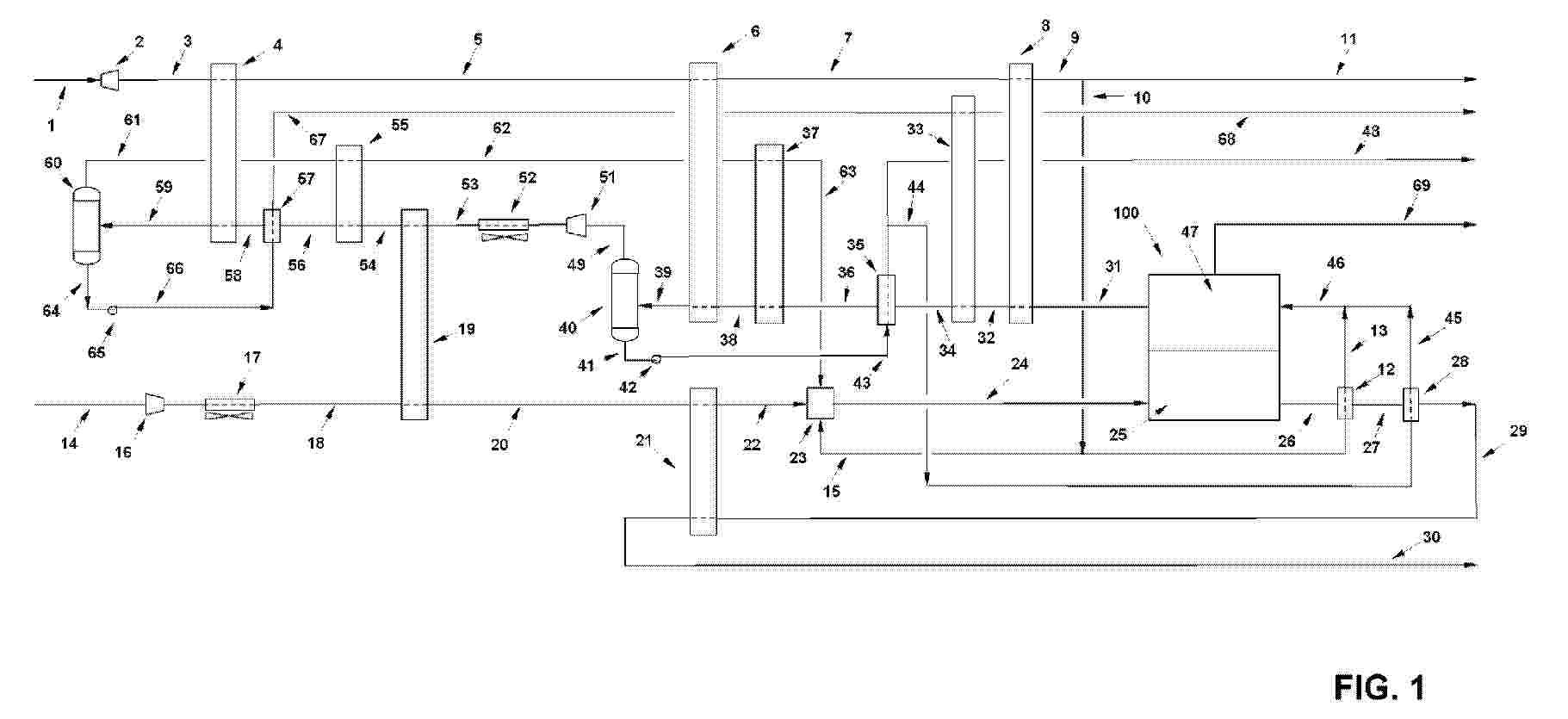
A method to produce streams of hydrogen and carbon monoxide uses the exhaust stream of a fuel cell with a methane pyrolizer and a carbon dioxide pyrolizer. The fuel cell uses natural gas and atmospheric air as input streams and produces electric and thermal energy, and an exhaust stream of CO2 and steam. A methane pyrolizer, powered by the fuel cell, produces hydrogen and a carbon stream as a feedstock for a carbon dioxide pyrolizer. A carbon dioxide pyrolizer reacts CO2 from the fuel cell with carbon supplied from the methane pyrolizer to produce carbon monoxide. The streams of hydrogen and carbon monoxide may be used as syngas to produce a desirable petrochemical.

THERMAL MANAGEMENT SYSTEM AND/OR METHOD

NºPublicación:  WO2025222262A1 30/10/2025
Solicitante: 
STRALIS HOLDINGS PTY LTD [AU]
STRALIS HOLDINGS PTY LTD
WO_2025222262_PA

Resumen de: WO2025222262A1

The system can include: a fuel cell, a set of fluid loops, a set of propulsion motors, and/or any other suitable components. The set of fluid loops can include: a set of super-ambient cooling loops, a hydrogen loop, a fluid cooling loop, and/or any other suitable fluid loops. The system can optionally include or be used with a waste heat recapture system (e.g., turbocharger). The system functions to facilitate fuel cell operation(s) and/or thermal management for a hydrogen-electric propulsion aircraft. However, the system (100) can additionally or alternatively include any other suitable set of components.

ELECTROCHEMICAL CELL

NºPublicación:  WO2025225186A1 30/10/2025
Solicitante: 
DENSO CORP [JP]
\u682A\u5F0F\u4F1A\u793E\u30C7\u30F3\u30BD\u30FC
WO_2025225186_PA

Resumen de: WO2025225186A1

An electrochemical cell (1) has a fuel electrode layer (2), a solid electrolyte layer (3), and an air electrode layer (4) in this order. An electrolyte body layer (31) of the solid electrolyte layer (3) has a fluorite structure and is constituted of a composite electrolyte material that contains an M-containing oxide containing at least one element M selected from the group consisting of Zn, Mg, Ca, Sr, La, and Y, in a solid electrolyte material represented by Ce1-x(RE)xO2-x/2 (where 0.05 ≤ x ≤ 0.2 and the element RE is Gd and/or Sm). The average oxygen coordination number NAVE according to the formula 4 × (2-x/2) and the oxygen coordination number NCe around Ce and the oxygen coordination number NRE around the element RE, as determined by EXAFS spectral analysis, satisfy 0 < NAVE-(NCe + NRE)/2 in the composite electrolyte material.

積み重ね可能な水素燃料電池装置

NºPublicación:  JP3253457U 30/10/2025
Solicitante: 
コスモスパワー株式会社

Resumen de: JP3253457U

【課題】積み重ね可能な水素燃料電池装置を提供する。【解決手段】水素燃料電池装置1は、水素エネルギーボックス2と、水素エネルギー発電装置3と、水素燃料ボックス4とを含む。水素エネルギーボックは制御回路21と、少なくとも一つの気体入力コネクタ22と、少なくとも一つの排水コネクタ23を設けられ、頂部に水素エネルギー頂部組付け部24を形成し、底部に水素燃料底部組付け部25を形成し、水素エネルギー発電装置は、制御回路と水素エネルギー発電電池32とそれぞれ電気的に接続し、水素燃料ボックスの底部は水素エネルギー頂部組付け部と相互に組付けて、水素エネルギーボックスの頂部に設置して、水素エネルギー発電装置と接続する水素燃料底部組付け部を有する。これにより、水素燃料ボックスと、水素エネルギーボッスとを直接に重ね合わせて、水素を直接水素エネルギーボックスに供給するこができる。【選択図】図3

Verfahren zum Betreiben einer Stackanordnung sowie Stackanordnung

NºPublicación:  DE102024204013A1 30/10/2025
Solicitante: 
BOSCH GMBH ROBERT [DE]
Robert Bosch Gesellschaft mit beschr\u00E4nkter Haftung

Resumen de: DE102024204013A1

Die Erfindung betrifft ein Verfahren zum Betreiben einer Stackanordnung (1), die mindestens einen Stack (2) sowie eine Einhausung (3) umfasst, in welcher der mindestens eine Stack (2) unter Ausbildung eines gasgefüllten Volumens (4) aufgenommen ist. Erfindungsgemäß wird zum Abführen der vom mindestens einen Stack (2) im Betrieb erzeugten Wärme ein durch die Einhausung (3) ausgebildeter, wandseitiger Hohlraum (5) und/oder Kühlkanal (6) mit einem Kühlmittel beaufschlagt.Die Erfindung betrifft ferner eine Stackanordnung (1) für eine elektrochemische Anlage, insbesondere einer Elektrolyseanalage oder ein Brennstoffzellensystem, wobei die Stackanordnung (1) zur Durchführung des erfindungsgemäßen Verfahrens geeignet bzw. nach dem Verfahren betreibbar ist.

Brennstoffzellensystem zum Wandeln von Energie

NºPublicación:  DE102024203900A1 30/10/2025
Solicitante: 
BOSCH GMBH ROBERT [DE]
Robert Bosch Gesellschaft mit beschr\u00E4nkter Haftung

Resumen de: DE102024203900A1

Die vorgestellte Erfindung betrifft ein Brennstoffzellensystem (100) zum Wandeln von Energie, wobei das Brennstoffzellensystem (100) umfasst:- einen Brennstoffzellenstapel (101),- eine Anzahl Verdichter (103),- eine Turbine (105),- ein Kühlluftverteilungssystem (107),- einen Versorgungspfad (109),wobei die Anzahl Verdichter (103) dazu konfiguriert ist, Luft aus einer Umgebung des Brennstoffzellensystems (100) zu komprimieren und durch den Versorgungspfad (109) dem Brennstoffzellenstapel (101) zuzuführen,wobei die Turbine (105) dazu konfiguriert ist, aus dem Brennstoffzellenstapel (101) ausströmende, verdichtete Luft zu entspannen und, dadurch bedingt, abzukühlen, wobei das Kühlluftverteilungssystem (107) dazu konfiguriert ist, durch die Turbine (105) abgekühltes Abgas in einen Kühlmantel einer Anzahl Komponenten (103, 113) des Brennstoffzellensystems (101) einzuleiten.

Messvorrichtung, elektrochemischer Energiewandler und Verfahren zur Messung einer lokalen Stromverteilung und/oder einer lokalen Wärmeverteilung in einem elektrochemischen Energiewandler

NºPublicación:  DE102024111628A1 30/10/2025
Solicitante: 
DEUTSCH ZENTR LUFT & RAUMFAHRT [DE]
Deutsches Zentrum f\u00FCr Luft- und Raumfahrt e.V

Resumen de: DE102024111628A1

Die Erfindung betrifft eine Messvorrichtung (10) zur Messung einer lokalen Stromverteilung und/oder einer lokalen Wärmeverteilung in einem elektrochemischen Energiewandler (12), wobei die Messvorrichtung (10) eine Mehrzahl von Widerstandsmesseinrichtungen (14), eine Mehrzahl von Messsegmenten (21), und mindestens eine erste Platte (18) und eine zweite Platte (20) umfasst, wobei mindestens die erste Platte (18) und die zweite Platte (20) jeweils eine Kontaktoberfläche (44) zur elektrischen Kontaktierung mindestens einer elektrochemischen Funktionseinheit (46) des elektrochemischen Energiewandlers (12) aufweisen, und wobei Widerstandsmesseinrichtungen (14) mit der Kontaktoberfläche (44) mindestens der ersten Platte (18) und mit der Kontaktoberfläche (44) mindestens der zweiten Platte (20) elektrisch leitend verbunden sind und zwischen mindestens der ersten Platte (18) und der zweiten Platte (20) angeordnet sind, und wobei mindestens die erste Platte (18) und die zweite Platte (20) in vorgegebene Flächenbereiche (64) aufgeteilt sind oder werden, und wobei Messsegmente (21) mindestens eines der Folgenden umfassen:- ein Messsegment (21) ist einem vorgegebenen Flächenbereich (64) zugeordnet;- einem Messsegment (21) ist mindestens eine Widerstandsmesseinrichtung (14) zugeordnet;- einem Messsegment (21) ist mindestens ein temperatursensitives Element (16) zugeordnet.

PLATINUM GROUP METAL RECOVERY FROM CATALYST COATED MEMBRANES

NºPublicación:  WO2025224412A1 30/10/2025
Solicitante: 
JOHNSON MATTHEY PLC [GB]
JOHNSON MATTHEY PUBLIC LIMITED COMPANY
WO_2025224412_PA

Resumen de: WO2025224412A1

A method of recovering a platinum group metal from a catalyst coated membrane, the method comprising: incinerating a catalyst coated membrane to produce a platinum group metal containing ash; treating the platinum group metal containing ash with hydrochloric acid and an oxidant to leach the platinum group metal from the ash and produce a platinum group metal solution without smelting of the ash; and separating the platinum group metal solution from the ash.

Verfahren und virtueller Sensor zum Bestimmen einer mit Felddaten korrigierten Degradationsgröße eines elektrochemischen Systems zur Berücksichtigung transienten Verhaltens, insbesondere eines Brennstoffzellen- oder Elektrolyse-Systems

NºPublicación:  DE102024203912A1 30/10/2025
Solicitante: 
BOSCH GMBH ROBERT [DE]
Robert Bosch Gesellschaft mit beschr\u00E4nkter Haftung

Resumen de: DE102024203912A1

Die Erfindung betrifft ein Verfahren (600) zum Bestimmen einer mit Felddaten korrigierten Degradationsgröße eines elektrochemischen Systems (13), insbesondere eines Brennstoffzellen- oder Elektrolyse-Systems (13) mit einem datenbasierten Korrekturmodell für eine Berücksichtigung von transientem Verhalten des Systems (13) sowie ein Verfahren (500) zum Trainieren eines solchen Korrekturmodels. Ferner betrifft die Erfindung eine Vorrichtung (100), insbesondere einen virtuellen Sensor, sowie einen digitalen Prozesszwilling zur Bestimmung der korrigierten Degradationsgröße und zur Qualitätsüberwachung eines oder mehrerer elektrochemischer Systeme (13).

Luftsystem zum Versorgen eines Brennstoffzellenstapels mit Luft und Brennstoffzellensystem

NºPublicación:  DE102024203839A1 30/10/2025
Solicitante: 
BOSCH GMBH ROBERT [DE]
Robert Bosch Gesellschaft mit beschr\u00E4nkter Haftung

Resumen de: DE102024203839A1

Die vorgestellte Erfindung betrifft ein Luftsystem (200) zum Versorgen eines Brennstoffzellenstapels (101) mit Luft.Das vorgestellte Luftsystem (200) umfasst:- eine Hauptleitung (201),- ein Gebläse (203), das dazu konfiguriert ist, Luft in die Hauptleitung (201) zu fördern,- ein Wassereinspritzsystem (205), das dazu konfiguriert ist, Wasser in die Hauptleitung (201) einzuspritzen,- eine Schnittstelle (207) zum Koppeln des Luftversorgungssystems (200) mit einem Einlass des Brennstoffzellenstapels (101),- eine Rezirkulationsleitung (209), die dazu konfiguriert ist, einen Auslasspfad (103) zum Ausleiten von Luft aus dem Brennstoffzellenstapel (101) an einer Stelle in Strömungsrichtung nach dem Gebläse (203) mit dem Luftsystem (200) zu verbinden.

STEUERVORRICHTUNG UND VERFAHREN ZUM STEUERN EINES BETRIEBS EINES BRENNSTOFFZELLENFAHRZEUGS

NºPublicación:  DE102024111975A1 30/10/2025
Solicitante: 
BAYERISCHE MOTOREN WERKE AG [DE]
Bayerische Motoren Werke Aktiengesellschaft

Resumen de: DE102024111975A1

Bereitgestellt wird eine Steuervorrichtung (1) zum Steuern eines Betriebs eines Brennstoffzellenfahrzeugs (10). Die Steuervorrichtung (1) ist ausgestaltet, um eine aktuelle Position des Brennstoffzellenfahrzeugs (10) zu erhalten (S1), während sich das Brennstoffzellenfahrzeug (10) in einem Fahrbetrieb befindet, digitale Kartendaten abzurufen (S2), wobei die digitalen Kartendaten Positionen von Wasserstofftankstellen anzeigen, und anhand der erhaltenen aktuellen Position des Brennstoffzellenfahrzeugs (10) und der abgerufenen digitalen Kartendaten zu bestimmen (S3), ob sich eine der Wasserstofftankstellen in einer Umgebung des Brennstoffzellenfahrzeugs (10) befindet und/oder das Brennstoffzellenfahrzeug (10) sich einer der Wasserstofftankstellen nähert. Die Steuervorrichtung (1) ist ausgestaltet, um einen potenziell bevorstehenden Tankvorgang des Brennstoffzellenfahrzeugs (10) vorauszusagen (S4), sofern bestimmt worden ist, dass sich eine der Wasserstofftankstellen in der Umgebung des Brennstoffzellenfahrzeugs (10) befindet und/oder das Brennstoffzellenfahrzeug (10) sich einer der Wasserstofftankstellen nähert, und eine Abschaltvorgang eines Brennstoffzellensystems (11) des Brennstoffzellenfahrzeugs (10) zu initiieren (S5), sofern der potenziell bevorstehende Tankvorgang vorausgesagt worden ist.

Elektrochemische Zellenstapeleinheit

NºPublicación:  DE102024204005A1 30/10/2025
Solicitante: 
BOSCH GMBH ROBERT [DE]
Robert Bosch Gesellschaft mit beschr\u00E4nkter Haftung

Resumen de: DE102024204005A1

Die Erfindung eine elektrochemische Zellenstapeleinheit (10). Die elektrochemische Zellenstapeleinheit (10) umfasst:- einen elektrochemischen Zellenstapel (20) mit einem ersten, oberen Endbereich (21) und einem zweiten, unteren Endbereich (22), wobei der elektrochemische Zellenstapel (20) entlang einer Längsachse (L) des elektrochemischen Zellenstapels (20) ausdehnbar, insbesondere längenveränderbar, ist,- eine Vielzahl von Verbindungsstangen (30), insbesondere Zugstangen, wobei die Verbindungsstangen (30) jeweils ein erstes, oberes Ende (31) und ein zweites, unteres Ende (32) aufweisen und wobei die Verbindungsstangen (30) parallel zur Längsachse (L) und umlaufend innerhalb oder außerhalb des elektrochemischen Zellenstapels (20) angeordnet sind,- wenigstens zwei Anschlussleitungen (11) zur Medienzuführung und Medienabführung, wobei die Anschlussleitungen (11) jeweils Öffnungen (12) aufweisen, wobei die Öffnungen (12) der Anschlussleitungen (11) jeweils um einen Abstand (D) beabstandet oberhalb der ersten, oberen Enden (31) der Verbindungsstangen (30) angeordnet sind,- eine an dem ersten, oberen Endbereich (21) des elektrochemischen Zellenstapels (20) angeordnete Deckplatte (40),- eine an dem zweiten, unteren Endbereich (22) des elektrochemischen Zellenstapels (20) beweglich angeordnete Verstellplatte (50),- eine unterhalb der Verstellplatte (50) angeordnete Bodenplatte (60), und- einen Höhenverstell- und/oder Verspannmechanismus (70) zur Ausführung einer Bewegung

Brennstoffzellensystem, Luftsystem für ein Brennstoffzellensystem und Verfahren zum Betreiben eines Brennstoffzellensystems

NºPublicación:  DE102024203878A1 30/10/2025
Solicitante: 
BOSCH GMBH ROBERT [DE]
Robert Bosch Gesellschaft mit beschr\u00E4nkter Haftung

Resumen de: DE102024203878A1

Die vorgestellte Erfindung betrifft ein Luftsystem (100) für ein Brennstoffzellensystem (200).Das Luftsystem (100) umfasst:- eine Anzahl Verdichter (101, 103),- eine Turbine (105),- ein Kühlluftverteilungssystem (107),- einen Versorgungspfad (109),wobei die Anzahl Verdichter (101, 103) dazu konfiguriert sind, Luft aus einer Umgebung des Brennstoffzellensystems (200) zu komprimieren und durch den Versorgungspfad (109) einem Brennstoffzellenstapel (201) des Brennstoffzellensystems (200) zuzuführen,wobei die Turbine (105) dazu konfiguriert ist, aus dem Brennstoffzellenstapel (201) ausströmende, verdichtete Luft zu entspannen und, dadurch bedingt, abzukühlen,wobei das Kühlluftverteilungssystem (107) dazu konfiguriert ist, durch die Turbine (105) abgekühlte Luft der Anzahl Verdichter (101, 103) zuzuführen.

Elektrochemische Vorrichtung und Verfahren zum Herstellen einer elektrochemischen Vorrichtung

NºPublicación:  DE102024112188A1 30/10/2025
Solicitante: 
EKPO FUEL CELL TECH GMBH [DE]
EKPO Fuel Cell Technologies GmbH

Resumen de: DE102024112188A1

Um eine elektrochemische Vorrichtung, umfassend einen Stapel aus mehreren elektrochemischen Einheiten, die längs einer Stapelrichtung aufeinanderfolgen, wobei jede elektrochemische Einheit jeweils eine Bipolarplatte, mindestens eine separat von der Bipolarplatte ausgebildete Haltevorrichtung und mindestens ein Spannungsabgriffselement umfasst, zu schaffen, bei welcher Änderungen des Spannungsabgriffselements nicht notwendigerweise Änderungen an der Haltevorrichtung erzwingen, wird vorgeschlagen, dass das mindestens eine Spannungsabgriffselement separat von der Haltevorrichtung hergestellt und anschließend mit der Haltevorrichtung verbunden worden ist.

Verfahren zum Betreiben eines Brennstoffzellensystems, Steuergerät

NºPublicación:  DE102024203840A1 30/10/2025
Solicitante: 
BOSCH GMBH ROBERT [DE]
Robert Bosch Gesellschaft mit beschr\u00E4nkter Haftung

Resumen de: DE102024203840A1

Die Erfindung betrifft ein Verfahren (10) zum Betreiben eines Brennstoffzellensystems (2) mit einem Brennstoffzellenstapel (3), bei dem die Degradation des Brennstoffzellenstapels (3) über die Lebensdauer überwacht wird und bei Detektion einer Degradation mindestens ein Standardbetriebsparameter geändert wird, so dass einem Effizienzverlust entgegengewirkt wird,dadurch gekennzeichnet, dass die Änderung mindestens eines Standardbetriebsparameters auf Basis eines virtuellen Modells (3*) des Brennstoffzellenstapels durchgeführt wird, wobei das virtuelle Modell (3*) des Brennstoffzellenstapels auf einem Speicher eines Steuergeräts (1) des Brennstoffzellensystems gespeichert ist.Die Erfindung betrifft ferner ein Steuergerät (1) zur Ausführung von Schritten des erfindungsgemäßen Verfahrens (10).

FESTOXID-ELEKTROLYSEZELLE UND VERFAHREN ZU DEREN HERSTELLUNG

NºPublicación:  DE102024204053A1 30/10/2025
Solicitante: 
HYUNDAI MOTOR CO LTD [KR]
KIA CORP [KR]
KOREA INST SCI & TECH [KR]
UIF UNIV INDUSTRY FOUNDATION YONSEI UNIV [KR]
Hyundai Motor Company,
Kia Corporation,
Korea Institute of Science and Technology,
UIF (University Industry Foundation), Yonsei University
DE_102024204053_PA

Resumen de: DE102024204053A1

Offenbart sind eine Festoxid-Elektrolysezelle und ein Verfahren zu deren Herstellung.

Verfahren zum Befeuchten und/oder Kühlen eines Luftmassenstroms, Luftsystem und Brennstoffzellensystem

NºPublicación:  DE102024203894A1 30/10/2025
Solicitante: 
BOSCH GMBH ROBERT [DE]
Robert Bosch Gesellschaft mit beschr\u00E4nkter Haftung

Resumen de: DE102024203894A1

Die Erfindung betrifft ein Verfahren zum Befeuchten und/oder Kühlen eines Luftmassenstroms in einem Zuluftpfad (1) eines Luftsystems (10) mittels Wassereinspritzung, wobei das Wasser mit Hilfe einer Dosiereinrichtung (2) eingespritzt wird, die in eine Wand (3) eines Rohr- oder Leitungsabschnitts (4) integriert ist, über den der Zuluftpfad (1) geführt ist. Erfindungsgemäß wird Wasser (5), das einen Wasserfilm (6) auf der Wand (3) ausbildet, mit Hilfe eines stromabwärts der Dosiereinrichtung (2) in den Zuluftpfad (1) integrierten Bauteils (7) aufgefangen und über mindestens einen im Bauteil (7) ausgebildeten Strömungskanal (8) von der Wand (3) weg in einen Bereich (9) des Rohr- oder Leitungsabschnitts (4) gelenkt, in dem der Strömungsquerschnitt durch das Bauteil (7) lokal verengt wird.Die Erfindung betrifft ferner ein Luftsystem (10) sowie ein Brennstoffzellensystem mit einem erfindungsgemäßen Luftsystem (10).

Brennstoffzellensystem und Verfahren zum Betreiben eines Brennstoffzellensystems

NºPublicación:  DE102024203886A1 30/10/2025
Solicitante: 
BOSCH GMBH ROBERT [DE]
Robert Bosch Gesellschaft mit beschr\u00E4nkter Haftung

Resumen de: DE102024203886A1

Die vorgestellte Erfindung betrifft ein Brennstoffzellensystem (100) zum Wandeln von Energie, wobei das Brennstoffzellensystem (100) umfasst:- einen Brennstoffzellenstapel (101),- eine Luftversorgungsleitung (103) zum Zuführen von Luft zu dem Brennstoffzellenstapel (101),- eine Abluftleitung (105) zum Abführen von Abluft aus dem Brennstoffzellenstapel (101),- eine Absorptionskältemaschine (107),- einen Wasserspeicher (109),- ein Wasserzuführsystem (111),wobei die Absorptionskältemaschine (107) an der Abluftleitung (105) angeordnet und dazu konfiguriert ist, Wasser aus der Abluft abzuscheiden und in den Wasserspeicher (109) zu leiten, undwobei das Wasserzuführsystem (111) dazu konfiguriert ist, Wasser aus dem Wasserspeicher (109) in die Versorgungsleitung (103) einzubringen.

Zellrahmen und Anordnung für ein elektrochemisches System sowie elektrochemisches System

NºPublicación:  DE102025115431A1 30/10/2025
Solicitante: 
REINZ DICHTUNGS GMBH [DE]
REINZ-Dichtungs-GmbH
DE_202024102084_PA

Resumen de: DE102025115431A1

Die vorliegende Erfindung betrifft einen Zellrahmen für ein elektrochemisches System, umfassend einen Außenbereich, welcher mindestens eine Durchgangsöffnung und ein Strömungsfeld definiert, und eine zwischen der Durchgangsöffnung und dem Strömungsfeld angeordnete Fluidführungsstruktur zum Führen eines Fluids von der Durchgangsöffnung zum Strömungsfeld oder andersherum, wobei die Fluidführungsstruktur ein metallisches Abstützelement aufweist, welches über mindestens einen elastomeren Verbindungsabschnitt mit dem Außenbereich des Zellrahmens verbunden ist.

Verfahren zum Betreiben eines Brennstoffzellensystems

NºPublicación:  DE102024203933A1 30/10/2025
Solicitante: 
BOSCH GMBH ROBERT [DE]
Robert Bosch Gesellschaft mit beschr\u00E4nkter Haftung

Resumen de: DE102024203933A1

Verfahren zum Betreiben eines Brennstoffzellensystems (100) mit mindestens einem Brennstoffzellenstack (11) und einem Anodensystem (200), in dem eine Anodenzuleitung (22), durch die ein Anodengas in einen Anodenraum A strömt, und eine Rezirkulationsleitung (21) angeordnet ist, durch die Anodenabgas aus dem Anodenraum A in die Anodenzuleitung (22) strömen kann, und einem Kathodensystem 300, wobei folgende Schritte mindestens einmal durchgeführt werden:a. Ermitteln einer Druckdifferenz im Brennstoffzellensystem (100)b. Vergleichen der Druckdifferenz mit einem ersten Grenzwert, der eine maximal zulässige Druckdifferenz beschreibtc. Reduzieren des Mengenstroms des Anodengases in der Anodenzuleitung (22), wenn die Druckdifferenz den ersten Grenzwert übersteigt

Verfahren zum Betreiben eines Stacks sowie Stack

NºPublicación:  DE102024204012A1 30/10/2025
Solicitante: 
BOSCH GMBH ROBERT [DE]
Robert Bosch Gesellschaft mit beschr\u00E4nkter Haftung

Resumen de: DE102024204012A1

Die Erfindung betrifft ein Verfahren zum Betreiben eines Stacks (1), insbesondere eines Elektrolyse-Stacks oder eines Brennstoffzellen-Stacks, umfassend einen zwischen zwei Endplatten (2) angeordneten und über die Endplatten (2) mit einer Verpresskraft beaufschlagten Zellstapel (3). Erfindungsgemäß wird die Verpresskraft abhängig vom Betriebszustand und/oder der Betriebsdauer des Stacks (1) aktiv gesteuert oder geregelt.Die Erfindung betrifft ferner einen Stack (1), insbesondere einen Elektrolyse-Stack oder einen Brennstoffzellen-Stack, der zur Durchführung des erfindungsgemäßen Verfahrens geeignet bzw. nach dem Verfahren betreibbar ist.

VERFAHREN ZUR ERMITTLUNG ODER ABSCHÄTZUNG DER ELEKTRISCHEN LEITFÄHIGKEIT EINES KÜHLMITTELS EINES KÜHLSYSTEMS EINER KRAFTAHRZEUG-BRENNSTOFFZELLE

NºPublicación:  DE102024203843A1 30/10/2025
Solicitante: 
STELLANTIS AUTO SAS [FR]
STELLANTIS AUTO SAS

Resumen de: DE102024203843A1

Die vorliegende Entwicklung betrifft ein Verfahren und eine Vorrichtung zur Ermittlung oder Abschätzung der elektrischen Leitfähigkeit eines Kühlmittels eines Kühlsystems (10) einer Kraftahrzeug-Brennstoffzelle (20) umfassend die folgenden Schritte:- Ermitteln eines Isolationswiderstands (33, 34) der Brennstoffzelle (20),- Ermitteln oder Abschätzen der elektrischen Leitfähigkeit des Kühlmittels auf der Basis des zuvor ermittelten Isolationswiderstands der Brennstoffzelle (20).

Zellstapel, Zellmodul und Zellmodulgehäuse

NºPublicación:  DE102024112021A1 30/10/2025
Solicitante: 
ELRINGKLINGER AG [DE]
ElringKlinger AG

Resumen de: DE102024112021A1

Um einen Zellstapel, umfassend mehrere in einer Stapelrichtung aufeinanderfolgende elektrochemische Zelleinheiten und zwei Druckaufnahmeelemente, wobei die Druckaufnahmeelemente des Zellstapels an jeweils einem Stirnende des Zellstapels im montierten Zustand angeordnet sind und die Druckaufnahmeelemente miteinander über mindestens einen Zuganker verbunden sind, zu schaffen, bei welchem sich die Konstruktion eines den mindestens einen Zellstapel umfassenden Zellmoduls vereinfacht und nach Möglichkeit zusätzlicher Raum gewonnen wird, was die Möglichkeit bietet, die Energiedichte des Zellmoduls zu erhöhen, wird vorgeschlagen, dass der mindestens eine Zuganker mindestens einen Versteifungsbereich umfasst, welcher mindestens ein Strangpressprofil, mindestens ein Gussteil, mindestens eine Hohlkammerstruktur und/oder mindestens eine Faserverbundstruktur umfasst und/oder welcher mindestens ein Blechstanzteil und/oder mindestens ein Blechbiegeteil umfasst, wobei das Blechstanzteil und/oder das Blechbiegeteil eine Biegesteifigkeit von mindestens 5 kNm2bezüglich mindestens einer senkrecht zu der Stapelrichtung ausgerichteten Biegeachse aufweist.

MULTILAYER COMPOSITE STRIP FOR THE MANUFACTURE OF BIPOLAR PLATES FOR FUEL CELLS

Nº publicación: WO2025224388A1 30/10/2025

Solicitante:

CARBON ID [FR]
CARBON ID

WO_2025224388_A1

Resumen de: WO2025224388A1

The present invention relates to a composite strip suitable for acting as a flow field plate or bipolar plate in a fuel cell, the composite strip comprising, stacked directly one on top of the other: A conductive layer A; a composite layer D that can result from or is the result of the infiltration of a polymer M into a porous layer C comprising a conductive filler and a reinforcing assembly that comprises reinforcing fibres bonded to one another; and, optionally, a conductive layer A'. The present invention also relates to a precursor strip of the composite strip and to a method for preparing the composite strip from the precursor strip.

traducir