Ministerio de Industria, Turismo y Comercio LogoMinisterior
 

Alerta

Resultados 654 resultados
LastUpdate Última actualización 06/10/2025 [06:48:00]
pdfxls
Solicitudes publicadas en los últimos 15 días / Applications published in the last 15 days
previousPage Resultados 175 a 200 de 654 nextPage  

COMPOSITE DE NANOTUBES DE CARBONE ET DE POLYMÈRE POUR ÉLECTRODES DE BATTERIE TRAITÉES À SEC

NºPublicación:  FR3160815A1 03/10/2025
Solicitante: 
CABOT CORP [US]
CABOT CORPORATION
FR_3160815_A1

Resumen de: FR3160815A1

Un procédé sans solvant utilise un composite comprenant des nanotubes de carbone et un polymère pour préparer des compositions et des électrodes pour les batteries lithium-ion. Les nanotubes de carbone dans le composite peuvent être multifonctionnels, fournissant deux ou plusieurs caractéristiques souhaitables, agissant, par exemple, comme un additif de carbone conducteur, comme un agent de traitement, par exemple, de fibrillation, et/ou comme un renforcement mécanique. Le composite peut être combiné avec un matériau électroactif et liant ; le liant peut être traité, par exemple, fibrillé, en présence des nanotubes de carbone dans le composite. La composition obtenue peut être transformée en un film qui peut être appliqué sur un substrat approprié pour former une électrode

ESTIMATION PRÉCISE D’UN ÉTAT DE CHARGE MINIMUM D’UNE BATTERIE CELLULAIRE

NºPublicación:  FR3160776A1 03/10/2025
Solicitante: 
STELLANTIS AUTO SAS [FR]
STELLANTIS AUTO SAS
FR_3160776_PA

Resumen de: FR3160776A1

Un procédé est mis en œuvre dans un système comprenant une batterie cellulaire ayant une résistance interne estimée en cours et un état de charge estimé en cours. Ce procédé comprend une étape (10) dans laquelle on estime un état de charge minimum que doit avoir la batterie cellulaire à la fin d’un cycle de décharge prédéfini, en fonction d’une information, représentative de cette résistance interne estimée en cours, et d’une puissance maximale que doit être en capacité de délivrer la batterie cellulaire à la fin du cycle de décharge prédéfini. Figure 3

Echangeur de chaleur comportant une pluralité de plaques empilées

NºPublicación:  FR3160764A1 03/10/2025
Solicitante: 
VALEO SYSTEMES THERMIQUES [FR]
VALEO SYSTEMES THERMIQUES
FR_3160764_PA

Resumen de: FR3160764A1

Echangeur de chaleur comportant une pluralité de plaques empilées L'invention concerne un dispositif (100) d’échange thermique configuré pour permettre l’échange entre un premier et un second fluides caloporteurs, ledit dispositif (100) comprenant un faisceau (200) de plaques empilées les unes sur les autres pour former entre chaque plaque un canal (1, 2) dans lequel circule l’un ou l’autre des fluides caloporteurs, chaque plaque du faisceau (200) comprenant une zone de distribution (3) comprenant des moyens de distribution (31) du premier ou second fluides caloporteurs, une zone de collecte (4) comprenant des moyens de récupération (41) du premier ou second fluides caloporteurs et une zone d’écoulement (5) entre la zone de distribution (3) et la zone de collecte (4), caractérisé en ce que les canaux (1) du premier fluide comprennent à la jonction entre la zone de distribution (3) et la zone d’écoulement des moyens de restriction fluidiques (6) configurés pour homogénéiser une phase liquide et une phase gazeuse du premier fluide lors de l’entrée du premier fluide dans la zone d’écoulement (5). Figure 2

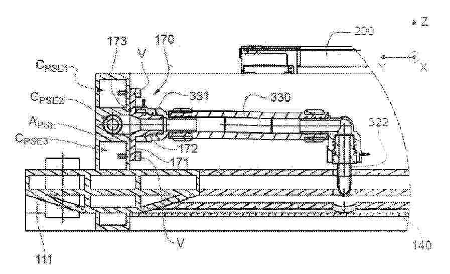
Châssis pour bloc-batterie de véhicule automobile intégrant des canalisations d’un circuit de refroidissement et bloc-batterie comportant un tel châssis

NºPublicación:  FR3160634A1 03/10/2025
Solicitante: 
QINOMIC [FR]
QINOMIC
FR_3160634_PA

Resumen de: FR3160634A1

L’invention concerne un châssis pour bloc-batterie de véhicule automobile comportant un cadre rectangulaire comportant deux longerons (111) constitués par des profilés métalliques extrudés présentant chacun au moins une cavité intérieure (CPSE2) formant une canalisation de circulation du circuit de refroidissement liquide du bloc-batterie, chaque dit longeron présentant en outre au moins un alésage transversal (APSE) réalisé postérieurement au procédé d’extrusion depuis l’une de ses parois latérales et débouchant dans ladite canalisation, chaque dit alésage étant en communication fluidique avec un organe de raccordement correspondant (170) rapporté fixement sur un dit longeron et doté d’un manchon (172) saillant de ce longeron, chaque dit organe de raccordement comportant également une platine (171) présentant un perçage en communication fluidique avec ledit manchon, ladite platine étant rapportée fixement et de manière étanche, par sa face opposée audit manchon, contre une paroi latérale d’un dit longeron sur le pourtour d’un dit alésage. Figure à publier avec l’abrégé : Fig. 7

SYSTEME DE REFROIDISSEMENT HYBRIDE

NºPublicación:  FR3160853A1 03/10/2025
Solicitante: 
TOTALENERGIES ONETECH [FR]
TotalEnergies OneTech
FR_3160853_PA

Resumen de: FR3160853A1

L’invention concerne un système de refroidissement (1) comprenant un boitier (2), au moins un dispositif électronique (3), au moins un dissipateur thermique à refroidissement liquide (4), un fluide de refroidissement (5), et au moins un dispositif de mise en circulation (13), système dans lequel ledit au moins un dissipateur thermique à refroidissement liquide (4) est couplé thermiquement directement ou indirectement au fluide de refroidissement (5) ; et ledit au moins un dispositif électronique (3) et ledit fluide de refroidissement (5) sont positionnés dans le boitier (2), ledit au moins un dispositif électronique (3) étant immergé dans le fluide de refroidissement (5) ; et ledit au moins un dispositif de mise en circulation (13) permet de mettre le fluide de refroidissement (5) en circulation à l’intérieur du boitier (2); ledit au moins un dispositif électronique (3) étant choisi parmi un dispositif de stockage d’énergie et de l’électronique de puissance. Figure de l’abrégé : Figure 1.

Procédé et unité de fabrication d’une cellule pour batterie électrique

NºPublicación:  FR3160812A1 03/10/2025
Solicitante: 
VERKOR [FR]
VERKOR
FR_3160812_PA

Resumen de: FR3160812A1

Procédé de production d’une cellule électrique comprenant une pluralité d’électrodes empilées les unes sur les autres et séparées les unes des autres par un film séparateur poreux, le procédé comprenant :- une étape de production des électrodes, - une étape d’empilage des électrodes les unes sur les autres pour former un empilage d’électrodes, lesdites électrodes étant séparées par un film séparateur poreux,procédé dans lequel l’étape de production des électrodes comporte :- une opération de déroulement d’une bobine d’une feuille (4) d’électrode, et- une opération de marquage primaire de la feuille (4) d’électrode au moyen d’un élément (5) d’identification primaire, ladite opération de marquage étant réalisée après l’opération de déroulement de la feuille (4) d’électrode, ladite opération de marquage étant répétée continuellement tant que la bobine de feuille d’électrode est déroulée. . Figure pour l'abrégé : Figure 3

Matériau de structure alluaudite pour électrode de batterie

NºPublicación:  FR3160814A1 03/10/2025
Solicitante: 
COMMISSARIAT A L ENERGIE ATOMIQUE ET AUX ENERGIES ALTERNATIVES [FR]
CENTRE NATIONAL DE LA RECHERCHE SCIENT [FR]
UNIV DE PICARDIE JULES VERNE [FR]
COMMISSARIAT A L' ENERGIE ATOMIQUE ET AUX ENERGIES ALTERNATIVES,
CENTRE NATIONAL DE LA RECHERCHE SCIENTIFIQUE,
UNIVERSITE DE PICARDIE JULES VERNE
FR_3160814_A1

Resumen de: FR3160814A1

Matériau de structure cristallographique de type alluaudite de formule A3-δ1M2+δ2(PO4)n(SO4)m dans laquelle : - M est un métal de transition choisi parmi le fer (Fe), le manganèse (Mn), le cobalt (Co), le nickel (Ni) et leurs mélanges, - A est un alcalin choisi parmi le sodium (Na), le lithium (Li), le potassium (K) et leurs mélanges, - le degré d’oxydation moyen d du métal de transition M étant compris entre +2 et +2,30, - n, m, δ1 et δ2 étant des coefficients qui remplissent les conditions suivantes : 0 ≤ δ1 ≤ 0,60,0 ≤ δ2 ≤ 0,30 etn + m =3 avec n > 0 et m > 0. Figure pour l’abrégé : pas de figure

Module de batterie pour une unité de contrôle d’un disjoncteur électrique, unité de contrôle et disjoncteur électrique associés

NºPublicación:  FR3160805A1 03/10/2025
Solicitante: 
SCHNEIDER ELECTRIC IND SAS [FR]
SCHNEIDER ELECTRIC INDUSTRIES SAS
FR_3160805_PA

Resumen de: FR3160805A1

Mo dule de batterie pour une uni té de contrôle d’un disjoncteur électrique, uni té de contrôle et disjoncteur électrique associé s Ce module de batterie (200) est configuré pour être inséré dans un logement (201) de batterie débouchant sur une face avant (22) d’une unité de contrôle (20) d’un disjoncteur électrique. Le module de batterie comprend une enveloppe (210) avec une paroi proximale (214), qui est globalement orthogonale à un axe principal (A214), et une paroi périphérique (216), qui s’étend depuis la paroi proximale et présente un contour continu autour de l’axe principal, la paroi proximale et la paroi périphérique délimitant ensemble une cavité (211) de réception d’une pile (212). Le module de batterie comprend un élément conducteur (220B), qui est partiellement reçu dans la cavité et qui est configuré pour être connecté à un pôle de la pile. La paroi proximale et la paroi périphérique forment ensemble une portion continue de l’enveloppe qui s’étend depuis la paroi proximale et selon l’axe principal, jusqu’à une distance minimale (L240) supérieure ou égale à 14 mm. Figure pour l'abrégé : Figure 4

Matériau composite pour électrode négative d’une batterie comprenant un matériau actif dont la surface est recouverte au moins partiellement d’un matériau particulier

NºPublicación:  FR3160816A1 03/10/2025
Solicitante: 
AMPERE SAS [FR]
AMPERE SAS
FR_3160816_A1

Resumen de: FR3160816A1

La présente invention concerne un matériau composite pour électrode négative d’une batterie comprenant au moins un matériau actif pour électrode négative dont la surface est recouverte au moins partiellement d’une couche d’au moins de ZrW2O8.

PROCEDE DE CHAUFFAGE PROGRESSIF D’UNE BATTERIE LITHIUM-ION MONTEE SUR UN VEHICULE AUTOMOBILE HYBRIDE

NºPublicación:  FR3160813A1 03/10/2025
Solicitante: 
STELLANTIS AUTO SAS [FR]
STELLANTIS AUTO SAS
FR_3160813_PA

Resumen de: FR3160813A1

L’invention concerne un procédé de chauffage progressif d’une batterie lithium-ion montée sur un véhicule automobile hybride comportant une étape de détermination d’un couple consigne appliqué à l’arbre primaire ; une étape de régulation du deuxième couple ; une étape de mesure de la puissance de la batterie (PB) ; une étape de mesure de la puissance de la batterie cumulée (IPB) au cours du temps (t) en fonction de la puissance de la batterie (PB) ; une étape d’exécution forcée de la phase de décharge (PhD) lorsque la puissance de la batterie cumulée (IPB) est supérieure à une deuxième valeur seuil (V2) prédéterminée, ladite deuxième valeur seuil (V2) étant inférieure à ladite première valeur seuil (V1), ledit deuxième couple étant positif ; une étape de chauffage progressif de la batterie sans risque de placage du lithium par une succession des phases de décharge (PhD) et des phases de charge (PhC). Figure 1

Liants de cathode pour batterie sodium - ion

NºPublicación:  FR3160817A1 03/10/2025
Solicitante: 
ARKEMA FRANCE [FR]
ARKEMA FRANCE
FR_3160817_A1

Resumen de: FR3160817A1

La présente invention concerne une composition d’électrode comprenant au moins un liant et au moins une matière active pour la préparation d’une électrode de batterie sodium-ion.

Batterie

NºPublicación:  DE102025108166A1 02/10/2025
Solicitante: 
TOYOTA MOTOR CO LTD [JP]
TOYOTA JIDOSHA KABUSHIKI KAISHA
CN_120728076_PA

Resumen de: DE102025108166A1

Eine Batterie umfasst einen Zellenstapel (CS) mit einer rechteckigen Parallelepipedform, in dem eine Vielzahl von rechteckigen Zellen (C1 bis C6) mit Anschlüssen, die an beiden Endflächen in einer Längsrichtung davon angeordnet sind, aufeinander gestapelt sind, und ein Gehäuse (LC, UC), das so konfiguriert ist, dass es den Zellenstapel (CS) darin aufnimmt. Der Zellenstapel (CS) umfasst ein metallisches Verbindungselement (MB1, MB2), das so konfiguriert ist, dass es jedes der unteren Enden in Längsrichtung der Vielzahl von rechteckigen Zellen (C1 bis C6) verbindet, und das Verbindungselement (MB1, MB2) ist durch einen wärmeleitenden Klebstoff (AL1, AL2) am Gehäuse (LC, UC) befestigt.

Verfahren zur Überwachung einer Batterie, eine diesbezügliche Vorrichtung, eine Batterie und ein Kraftfahrzeug mit solcher

NºPublicación:  DE102024109079A1 02/10/2025
Solicitante: 
BAYERISCHE MOTOREN WERKE AG [DE]
Bayerische Motoren Werke Aktiengesellschaft

Resumen de: DE102024109079A1

Die Erfindung betrifft ein Verfahren zur Überwachung einer Batterie (110). Dabei weist das Verfahren Einlesen (10) einer Information (100) auf. Diese Information (100), erlaubt vorzugsweise einen Hinweis auf eine verfügbare Energielast, und wird von einem Sensor (130) erhalten. Der Sensor (130) ist in einen Batteriezellen-Stack (120) integriert. Bevorzugt wird als Sensor (130) ein Drucksensor verwendet. Das Verfahren weist das Auswerten (20) der eingelesenen Information (100) auf. Weiterhin weist das Verfahren das Ermitteln (30) einer mechanischen Ausdehnung (140) auf. Dies basiert auf der ausgewerteten eingelesenen Information (100).Ferner betrifft die Erfindung eine entsprechende Batterie (110), eine Batterieüberwachungsvorrichtung (300) sowie ein Kraftfahrzeug (400).

SEKUNDARBATTERIE UND BATTERIEPACK

NºPublicación:  DE102025111344A1 02/10/2025
Solicitante: 
MURATA MANUFACTURING CO [JP]
Murata Manufacturing Co., Ltd

Resumen de: DE102025111344A1

Eine Sekundärbatterie (1) weist einen Elektrodenwickelkörper (20), eine Positivelektrodenstromkollektorplatte (24), eine Negativelektrodenstromkollektorplatte (25), eine Elektrolytlösung, ein erstes Isolationselement (53) und ein zweites Isolationselement (54) auf. Der Elektrodenwickelkörper weist einen Stapelkörper (S20) auf, der eine Positivelektrode (21), eine Negativelektrode (22) und einen Separator (23) aufweist und entlang einer Längsrichtung (L) davon gewickelt ist. Die Positivelektrodenstromkollektorplatte und die Negativelektrodenstromkollektorplatte sind einander entgegengesetzt angeordnet, wobei der Elektrodenwickelkörper in einer Breitenrichtung (W), die orthogonal zur Längsrichtung ist, dazwischen angeordnet ist. Der Elektrodenwickelkörper weist eine erste Endfläche (41) und eine zweite Endfläche (42) auf, die jeweils der Positivelektrodenstromkollektorplatte bzw. der Negativelektrodenstromkollektorplatte in der Breitenrichtung zugewandt sind, sowie eine Seitenfläche (45), die die erste und die zweite Endfläche miteinander verbindet. Das erste und das zweite Isolationselement sind in einem ersten Endbereich (45T) der Seitenfläche bereitgestellt, der an die erste Endfläche angrenzt.

Verfahren zur Analyse eines Zustands einer Energiespeichervorrichtung für ein elektrisch antreibbares Kraftfahrzeug, Computerprogramm und/oder computerlesbares Medium, Datenverarbeitungsvorrichtung, Kraftfahrzeug und/oder Server

NºPublicación:  DE102024109082A1 02/10/2025
Solicitante: 
BAYERISCHE MOTOREN WERKE AG [DE]
Bayerische Motoren Werke Aktiengesellschaft

Resumen de: DE102024109082A1

Verfahren zur Analyse eines Zustands einer Energiespeichervorrichtung für ein elektrisch antreibbares Kraftfahrzeug, wobei das Verfahren aufweist: Einstellen der Energiespeichervorrichtung und/oder einer Komponente der Energiespeichervorrichtung auf einen Testzustand; Erfassen von einer elektrischen und/oder thermischen Messgröße in dem Testzustand; Abrufen einer Vergleichsgröße, wobei die Vergleichsgröße eine computergestützte Simulation der Energiespeichervorrichtung und/oder der Komponente in einem dem Testzustand entsprechenden Referenzzustand charakterisiert; und Ausgeben einer den Zustand der Energiespeichervorrichtung betreffenden Zustandsinformation unter Berücksichtigung eines Abgleichs zwischen der Messgröße und der Vergleichsgröße

Einsatz Ketazin-basierter Redoxspezies in Elektrolyten für Redox-Flow-Batterien

NºPublicación:  DE102024108919A1 02/10/2025
Solicitante: 
FORSCHUNGSZENTRUM JUELICH GMBH [DE]
Forschungszentrum J\u00FClich GmbH

Resumen de: DE102024108919A1

Die vorliegende Erfindung betrifft eine Elektrolytlösung für eine Redox-Flow-Batterie mit organischen Verbindungen aus einer spezifischen Gruppe an Ketazinen nach der folgenden Formel I:als Redoxsystem. Des Weiteren betrifft die vorliegende Erfindung ein Verfahren zum Betreiben einer elektrisch wiederaufladbaren Redox-Flow-Batterie sowie die Verwendung organischer Verbindungen nach der Formel I und deren Oligomere und Polymere als Redoxsystem zur Speicherung und Freisetzung elektrischer Energie.

Batterie und Batteriesystem für ein Kraftfahrzeug

NºPublicación:  DE102024109065A1 02/10/2025
Solicitante: 
WEBASTO SE [DE]
Webasto SE

Resumen de: DE102024109065A1

Die vorliegende Erfindung betrifft eine Batterie (1), bevorzugt eine Fahrzeugbatterie, mit einem ein Aufnahmevolumen (130) ausbildenden Aufnahmegehäuse (132), wobei in dem Aufnahmevolumen (130) eine Vielzahl an Batteriezellen (4) aufgenommen ist, und mit einem Gehäusedeckel (100), welcher das Aufnahmegehäuse (132) abschließt und damit das Aufnahmevolumen (130) einschließt, wobei ein Gasführungsraum (120) zum Führen von Gasen beim Durchgehen einer Batteriezelle (4) vorgesehen ist, wobei der Gehäusedeckel (100) den Gasführungsraum (120) begrenzt.

BATTERIEMODUL

NºPublicación:  DE102024135417A1 02/10/2025
Solicitante: 
TOYOTA MOTOR CO LTD [JP]
TOYOTA JIDOSHA KABUSHIKI KAISHA
CN_120709571_PA

Resumen de: DE102024135417A1

Batteriemodul, wobei: das Batteriemodul Batteriezellen, ein Wärmeisolationselement und erste Wärmeableitungselemente als Wärmeableitungselemente enthält; das Batteriemodul als die Batteriezellen mindestens eine erste Batteriezelle und eine zweite Batteriezelle enthält; die ersten Wärmeableitungselemente jeweils angrenzend an die Batteriezellen angeordnet sind; das Wärmeisolationselement zwischen der ersten Batteriezelle und der zweiten Batteriezelle angeordnet ist; und ein Verhältnis des Wärmewiderstands des Wärmeisolationselements zum Wärmewiderstand des Wärmeableitungselements (Wärmewiderstand Wärmeisolationselement/ Wärmewiderstand Wärmeableitungselement) 0,0102 oder mehr beträgt.

ALL-SOLID-STATE BATTERY AND METHOD FOR MANUFACTURING SAME

NºPublicación:  WO2025206522A1 02/10/2025
Solicitante: 
LG ENERGY SOLUTION LTD [KR]
\uC8FC\uC2DD\uD68C\uC0AC \uC5D8\uC9C0\uC5D0\uB108\uC9C0\uC194\uB8E8\uC158

Resumen de: WO2025206522A1

The present invention relates to an all-solid-state battery and a manufacturing method therefor, wherein a solid electrolyte present at an interface between a negative electrode active material layer and a solid electrolyte layer has an average particle size of 1 to 3 μm.

VERFAHREN ZUM BETREIBEN EINES ENERGIESPEICHERS FÜR EIN KRAFTFAHRZEUG UND BATTERIEMANAGEMENTSYSTEM

NºPublicación:  DE102024109073A1 02/10/2025
Solicitante: 
BAYERISCHE MOTOREN WERKE AG [DE]
Bayerische Motoren Werke Aktiengesellschaft

Resumen de: DE102024109073A1

Ein Verfahren zum Betreiben eines Energiespeichers für ein Kraftfahrzeug, umfasst die Schritte:- Vorgeben einer Ladungsmenge entsprechend eines Auslegungskriteriums für den Energiespeicher (10), und- Betreiben des Energiespeichers (10) als Funktion der vorgegeben Ladungsmenge, umfassend die weiteren Schritte:- Berechnen des aktuellen Gesundheitszustands, als SoH bezeichnet,- Bestimmen eines Betriebspunkts oder eines Betriebsbereichs als Funktion des aktuellen SoH und der vorgegeben Ladungsmenge, und- Regelung des Energiespeichers (10) entsprechend dem bestimmten Betriebspunkt oder dem Betriebsbereich.

Energiespeichervorrichtung

NºPublicación:  DE102025104198A1 02/10/2025
Solicitante: 
TOYOTA MOTOR CO LTD [JP]
TOYOTA JIDOSHA KABUSHIKI KAISHA
CN_120709572_PA

Resumen de: DE102025104198A1

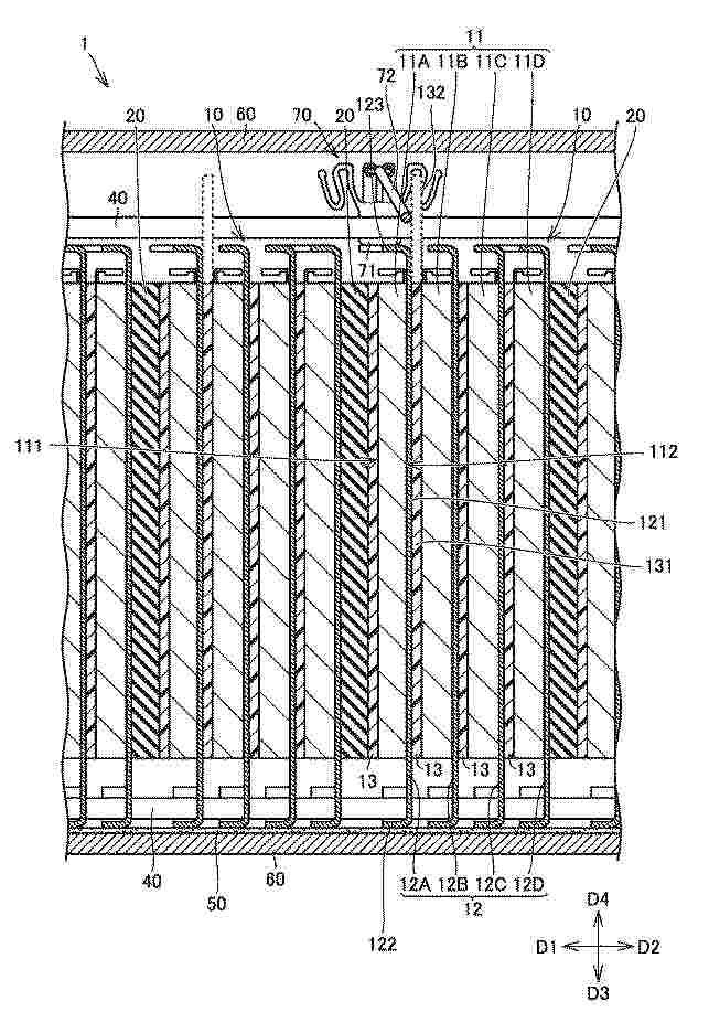
In einer Energiespeichervorrichtung grenzt ein erstes Wärmeübertragungselement (12A) an eine erste Zelle (11A) auf einer Seite einer zweiten Richtung (D2) gegenüber einer Seite in einer ersten Richtung (D1) der ersten Zelle (11A). Ein zweites Wärmeübertragungselement (12B) grenzt an eine zweite Zelle (11B) auf einer Seite in einer zweiten Richtung der zweiten Zelle (11B). Ein Wärmeisolierelement (20) besteht aus einem Material mit einer Wärmeleitfähigkeit, die geringer ist als die des ersten Wärmeübertragungselements (12A) und des zweiten Wärmeübertragungselements (12B). Das Wärmeisolierelement (20) befindet sich auf einer Seite der Batteriezellengruppe (10) in einer ersten Richtung (D1). Ein Kühlabschnitt (50) steht mit dem ersten Wärmeübertragungselement (12A) und dem zweiten Wärmeübertragungselement (12B) in Kontakt. In einer dritten Richtung (D3) ist ein Wärmewiderstand des ersten Wärmeübertragungselements (12A) geringer als ein Wärmewiderstand des zweiten Wärmeübertragungselements (12B).

Verfahren zur Separation einer Elektrodenbeschichtung von einer Stromableiterfolie

NºPublicación:  DE102024108517A1 02/10/2025
Solicitante: 
BAYERISCHE MOTOREN WERKE AG [DE]
Bayerische Motoren Werke Aktiengesellschaft

Resumen de: DE102024108517A1

Verfahren zur Separation einer Elektrodenbeschichtung von einer Stromableiterfolie mit den Schritten:- (101) Bereitstellen einer mit Elektrodenaktivmaterial beschichteten Lithium-Ionen-Batteriezelle-Stomableiterfolie, sogenannte beschichtete Stromableiterfolie, in Form eines Granulats,- (102) Erwärmen der beschichteten Stromableiterfolie auf eine Separationstemperatur, (103) wenigstens teilweises Ablösen des Elektrodenaktivmaterials von der Stromableiterfolie durch Aufbringen einer mechanischen Beanspruchung auf die beschichtete Stromableiterfolie mittels einer Strahlmühle, wobei so unbeschichtete, zerkleinerte Stromableiterfolie und von dieser abgelöstes Elektrodenaktivmaterial entsteht

ELEKTROCHEMISCHE FESTSTOFFSPEICHERZELLE UND VERFAHREN ZUM HERSTELLEN EINER ELEKTROCHEMISCHEN FESTSTOFFSPEICHERZELLE

NºPublicación:  DE102024109077A1 02/10/2025
Solicitante: 
BAYERISCHE MOTOREN WERKE AG [DE]
Bayerische Motoren Werke Aktiengesellschaft

Resumen de: DE102024109077A1

Eine elektrochemische Feststoffspeicherzelle umfasst ein formstabiles Gehäuse (10), insbesondere ein unter einem Betriebsdruck der Feststoffspeicherzelle formstabiles Gehäuse (10). Eine Schichtenfolge umfasst eine Vielzahl von Kathodenschichten (21), Feststoffelektrolytschichten (22) und Anodenschichten (23), wobei die Schichten entlang des kleinsten Querschnitts des Gehäuses (10) zu einem Zellstapel (20) gestapelt sind. Der Zellstapel (20) ist durch Materialauswahl der Schichtenfolge eingerichtet, eine irreversible Volumenausdehnung während der ersten Ladung zu erfahren. Die Volumenausdehnung der Anodenschichten (23) während des ersten Ladevorgangs ist so ausgelegt, dass sie größer ist als die begleitende Volumenkontraktion der Kathodenschichten (21) und nach dem ersten Laden zumindest zum Teil bestehen bleibt. Dabei stellt sich durch die zumindest zum Teil bestehenbleibende Volumenausdehnung im Betrieb der Feststoffspeicherzelle der Betriebsdruck im Gehäuse (10) ein.

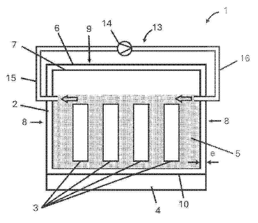
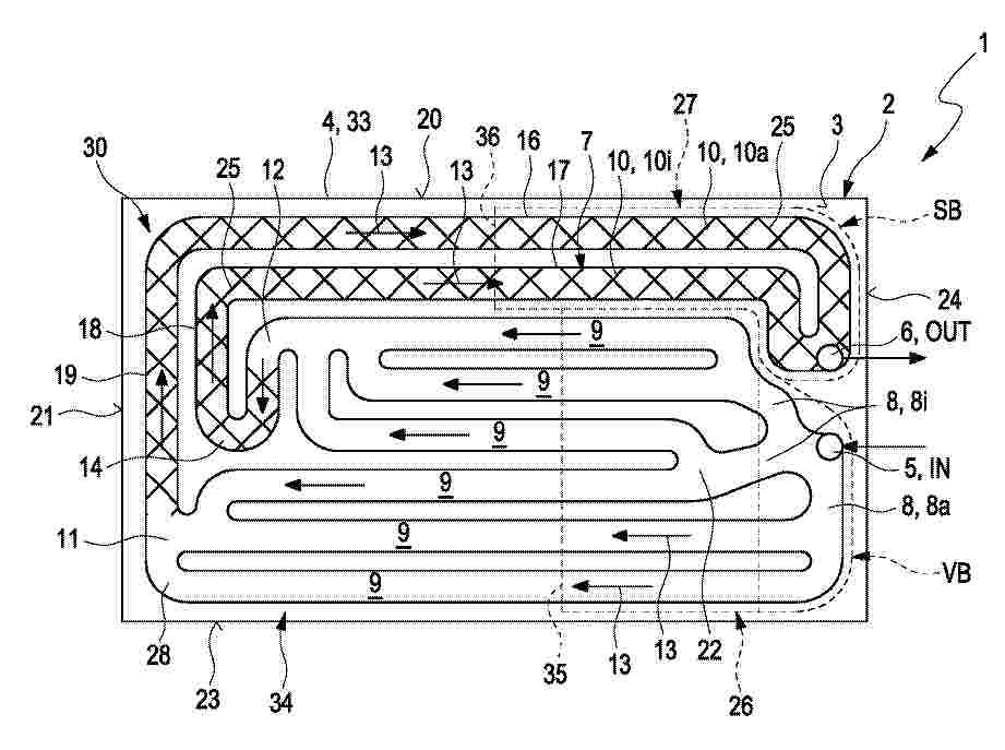
Wärmeübertragerplatte und zugehörige Verwendung sowie Anordnung einer Traktionsbatterie an einer Wärmeübertragerplatte

NºPublicación:  DE102024109025A1 02/10/2025
Solicitante: 
MAHLE INT GMBH [DE]
MAHLE International GmbH
CN_120728097_PA

Resumen de: DE102024109025A1

Die vorliegende Erfindung betrifft eine Wärmeübertragerplatte (1) zum Temperieren von wenigstens einem elektrischen und/oder elektronischen Bauteil mittels eines flüssigen Temperiermittels, mit einem Plattenkörper (2), der einen Zulauf (IN), einen Ablauf (OUT) und ein Kanalsystem (7) aufweist, das den Zulauf (IN) mit dem Ablauf (OUT) verbindet.Zur Homogenisierung einer Temperaturverteilung entlang des Plattenkörpers (2) wird vorgeschlagen, das Kanalsystem (7) einerseits so zu konfigurieren, dass ein durchströmbarer Querschnitt des Kanalsystems (7) in einem vom Zulauf (IN) wegführenden Eintrittsbereich (26) größer ist als in einem zum Ablauf (OUT) hinführenden Austrittsbereich (27), und andererseits so zu konfigurieren, dass ein mittlerer Strömungspfad im Kanalsystem (7) kleiner ist als ein Mindestpfad, den das Temperiermittel entlang eines Rands des Kanalsystems (7) vom Zulauf (IN) bis zum Ablauf (OUT) strömen muss.

Zelltrennelement zur Lebensdauerverlängerung von Batteriezellen, sowie Batteriemodul

Nº publicación: DE102024108588A1 02/10/2025

Solicitante:

AUDI AG [DE]
AUDI Aktiengesellschaft

Resumen de: DE102024108588A1

Die Erfindung betrifft ein Zelltrennelement (12) zur Anordnung zwischen zwei Batteriezellen (14) einer Batterie (10), wobei das Zelltrennelement (12) mindestens eine erste Substanz (22) umfasst und das Zelltrennelement (12) in einem ersten Phasenzustand (Z1) eine erste Nachgiebigkeit (N1) aufweist. Dabei weist das Zelltrennelement (12) in einem zweiten Phasenzustand (Z2) eine zweite Nachgiebigkeit (N2) aufweist, die höher ist als die erste Nachgiebigkeit (N1), wobei das Zelltrennelement (12) durch einen Phasenwechsel der ersten Substanz (22) zumindest zum Teil reversibel vom ersten Phasenzustand (Z1) in den zweiten Phasenzustand (Z2) überführbar ist.

traducir