Ministerio de Industria, Turismo y Comercio LogoMinisterior
 

Alerta

Resultados 154 resultados
LastUpdate Última actualización 02/11/2025 [06:54:00]
pdfxls
Solicitudes publicadas en los últimos 60 días / Applications published in the last 60 days
previousPage Resultados 50 a 75 de 154 nextPage  

SENSOR OF A DEVICE FOR NON-INVASIVELY CHECKING A PERSON'S BLOOD GLUCOSE CONCENTRATION

NºPublicación:  WO2025211978A1 09/10/2025
Solicitante: 
TIKHONENKO OLEG OLEGOVICH [RU]
\u0422\u0418\u0425\u041E\u041D\u0415\u041D\u041A\u041E, \u041E\u043B\u0435\u0433 \u041E\u043B\u0435\u0433\u043E\u0432\u0438\u0447

Resumen de: WO2025211978A1

The invention relates to medicine and technology, and more particularly to non-invasively detecting a change in a person's blood glucose concentration, and can be used in the creation of sensors for non-invasively checking a person's blood glucose concentration. The aim of the invention is to improve the operational efficiency of a sensor of a device for non-invasively checking a person's blood glucose concentration by reducing the set-up and configuration time required. This aim is achieved in that the claimed sensor of a device for non-invasively checking a person's blood glucose concentration comprises a housing, a light emitter and a light receiver, the inner side of the housing having a rim disposed thereon which surrounds the light receiver and separates it from the light emitter, wherein the crest of said rim has alternating projections and depressions along its length, and during the set-up and operation of the sensor, the emitter and the receiver are pressed against the pulse point on the radial artery of the arm. The technical results of the invention include: increasing the adhesive force between the rim and a person's arm by increasing the contact area between said rim and the surface of the arm; reducing the energy spent on non-invasively checking a person's blood glucose concentration; and increasing heat transfer from the sensor via the crest of the rim to the person's arm by increasing the contact area between the rim and the arm.

BLOOD GLUCOSE MONITORING METHOD AND ELECTRONIC DEVICE

NºPublicación:  WO2025209494A1 09/10/2025
Solicitante: 
HUAWEI TECH CO LTD [CN]
\u534E\u4E3A\u6280\u672F\u6709\u9650\u516C\u53F8

Resumen de: WO2025209494A1

The present application provides a blood glucose monitoring method. The method comprises: determining a first early warning duration according to first blood glucose data, wherein the first blood glucose data comprises blood glucose data within a first time period, and the first early warning duration is used for performing hypoglycemia early warning. The first early warning duration is related to blood glucose fluctuation indicated by the first blood glucose data. If the blood glucose indicated by the first blood glucose data fluctuates little and changes slowly, the first early warning duration can be longer. If the first blood glucose data input into a model indicates that the blood glucose of a user fluctuates greatly and changes rapidly in historical time, the first early warning duration can be shorter. By means of implementing the described method, the electronic device can adaptively adjust the first early warning duration according to the characteristics of the blood glucose variability of a user, thereby improving the accuracy of hypoglycemia early warning.

EXTRACTORS AND METHODS OF USING

NºPublicación:  US2025312239A1 09/10/2025
Solicitante: 
PIERSON ANTIONE [US]
Pierson Antione
US_2025312239_PA

Resumen de: US2025312239A1

Extractors and methods of extracting a medication from another medical device, such as an insulin pen. The extractor includes a syringe, a first cap having an open end adapted to be coupled to the syringe, a hypodermic needle protruding from a closed end of the first cap, and a second cap coupled at a closed end thereof to the first cap by the hypodermic needle, which extends through the closed end of the second cap and protrudes into an internal cavity of the second cap such that an internal cavity of the first cap fluidically communicates with the internal cavity of the second cap through the hypodermic needle. An open end of the second cap can be coupled to the medical device so that the internal cavity of the second cap fluidically communicates with the medical device through the hypodermic needle.

MULTIFUNCTIONAL HYDROGEL MICRONEEDLE ELECTRODE FOR KETONE SENSING

NºPublicación:  US2025311950A1 09/10/2025
Solicitante: 
POUDINEH MAHLA [CA]
NEJAD AMIN GHAVAMI [CA]
AUSRI IRFANI RAHMI [CA]
SADEGHZADEH SADEGH [CA]
Poudineh Mahla,
Nejad Amin GhavamI,
Ausri Irfani Rahmi,
Sadeghzadeh Sadegh
US_2025311950_PA

Resumen de: US2025311950A1

The present disclosure relates to a microneedle analyte sensing device for continuous monitoring of an analyte in a user's biological fluid, specifically designed for detecting ketone levels in diabetic ketoacidosis (DKA) management. The disclosed microneedle analyte sensing device utilizes dopamine (DA) molecules covalently linked to the microneedle patch's polymer structure or toluidine blue O (TBO), serving as a redox mediator for measuring the oxidation byproduct of 3-beta-hydroxybutyrate (β-HB). The sensing mechanism relies on catechol-quinone chemistry, where a pre-oxidation approach correlates sensor response to β-HB concentrations. The device comprises a plurality of microneedles on a substrate that, when applied to the skin, penetrate the stratum corneum to contact biological fluid. At least one microneedle functions as a working electrode to detect an electrochemical signal from the enzymatic reaction with the analyte, while additional microneedles serve as counter and reference electrodes to facilitate accurate electrochemical measurements.

ANALYTE MONITORING DEVICE AND CONTROLLING METHOD THEREOF

NºPublicación:  US2025311946A1 09/10/2025
Solicitante: 
I SENS INC [KR]
I-sens, Inc
US_2025311946_PA

Resumen de: US2025311946A1

An analyte monitoring device is disclosed. The analyte monitoring device comprises an analyte sensor configured to be at least partially inserted into a body of a user to detect a signal related to glucose concentration, and a sensor electronics unit electrically connected to the analyte sensor to acquire the signal, wherein the sensor electronics unit is configured to: perform communication connection with a user terminal, transmit information about the sensor electronics unit to the user terminal, receive, from the user terminal, a second security key generated based on the information about the sensor electronics unit and a first security key, perform verification of the second security key, and determine whether to maintain the communication connection based on the verification result.

ANALYTE SENSOR QUALITY MEASURES AND RELATED THERAPY ACTIONS FOR AN AUTOMATED THERAPY DELIVERY SYSTEM

NºPublicación:  US2025312534A1 09/10/2025
Solicitante: 
MEDTRONIC MINIMED INC [US]
MEDTRONIC MINIMED, INC
US_2025312534_PA

Resumen de: US2025312534A1

Techniques disclosed herein relate to continuous analyte sensor measurements. In some embodiments, the techniques may involve determining that sensor-generated values indicative of a glucose level of a patient are or are to be inhibited when in a first mode. The techniques may further involve responsive to determining that the sensor-generated values are or are to be inhibited, switching operation of an infusion device from the first mode to a second mode. The techniques may further involve obtaining a blood glucose reading from the patient. The techniques may further involve responsive to obtaining the blood glucose reading, reverting operation of the infusion device to the first mode.

PATCH PUMP SYSTEMS AND APPARATUS FOR MANAGING DIABETES, AND METHODS THEREOF

NºPublicación:  US2025312530A1 09/10/2025
Solicitante: 
TRIPLE JUMP ISRAEL LTD [IL]
Triple Jump Israel Ltd
US_2025312530_PA

Resumen de: US2025312530A1

Embodiments of the current disclosure are directed toward systems, devices and methods for diabetes management. In particular, the present disclosure relates to systems, devices and methods for dispensing insulin to a patient using a miniaturized and portable patch pump.

GLUCOSE PREDICTION USING MACHINE LEARNING AND TIME SERIES GLUCOSE MEASUREMENTS

NºPublicación:  US2025316375A1 09/10/2025
Solicitante: 
DEXCOM INC [US]
Dexcom, Inc
US_2025316375_PA

Resumen de: US2025316375A1

Glucose prediction using machine learning (ML) and time series glucose measurements is described. Given the number of people that wear glucose monitoring devices and because some wearable glucose monitoring devices can produce measurements continuously, a platform providing such devices may have an enormous amount of data. This amount of data is practically, if not actually, impossible for humans to process and covers a robust number of state spaces unlikely to be covered without the enormous amount of data. In implementations, a glucose monitoring platform includes an ML model trained using historical time series glucose measurements of a user population. The ML model predicts upcoming glucose measurements for a particular user by receiving a time series of glucose measurements up to a time and determining the upcoming glucose measurements of the particular user for an interval subsequent to the time based on patterns learned from the historical time series glucose measurements.

SYSTEM AND METHOD FOR DATA ANALYTICS AND VISUALIZATION

NºPublicación:  US2025315997A1 09/10/2025
Solicitante: 
DEXCOM INC [US]
Dexcom, Inc
US_2025315997_PA

Resumen de: US2025315997A1

Systems and methods are described that provide a dynamic reporting functionality that can identify important information and dynamically present a report about the important information that highlights important findings to the user. The described systems and methods are generally described in the field of diabetes management, but are applicable to other medical reports as well. In one implementation, the dynamic reports are based on available data and devices. For example, useless sections of the report, such as those with no populated data, may be removed, minimized in importance, assigned a lower priority, or the like.

DIABETIC PUMP, APPLICATION, AND PROGRAMMING

NºPublicación:  US2025316358A1 09/10/2025
Solicitante: 
DIABASAL LLC [US]
Diabasal, LLC
US_2025316358_PA

Resumen de: US2025316358A1

Methods and associated devices for establishing basal rates to be programmed into a diabetic pump that periodically administers insulin to a patient. The instant disclosure also includes diabetic pumps programmed in accordance with the instant disclosure.

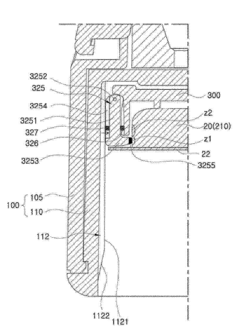
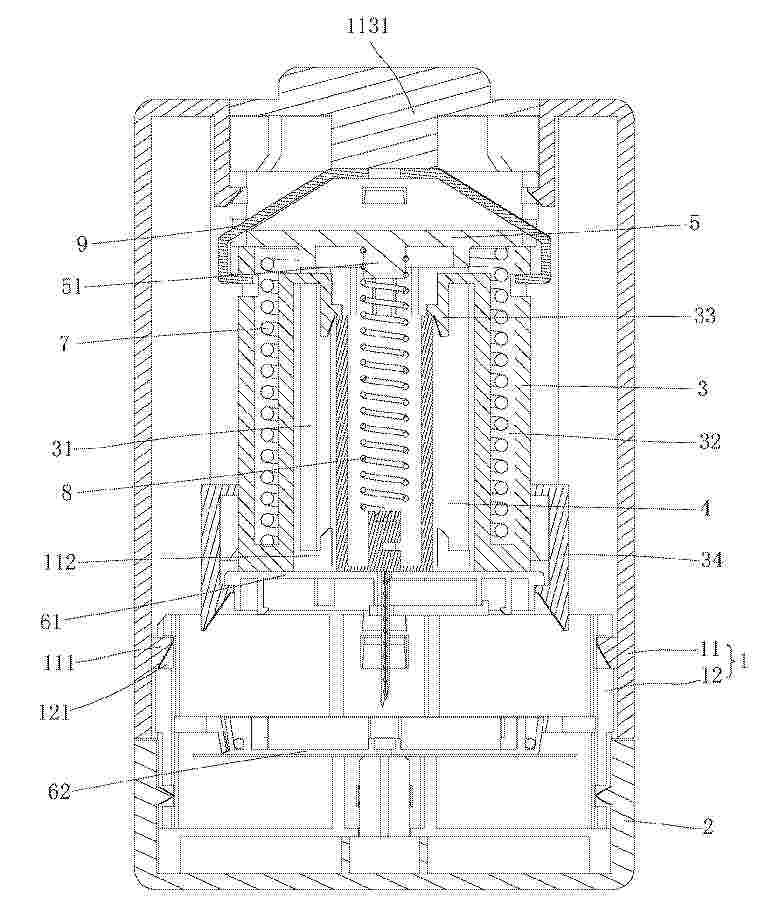
Safety tools for decision support recommendations made to users of continuous glucose monitoring systems

NºPublicación:  AU2025234254A1 09/10/2025
Solicitante: 
DEXCOM INC
Dexcom, Inc
AU_2025234254_A1

Resumen de: AU2025234254A1

SAFETY TOOLS FOR DECISION SUPPORT RECOMMENDATIONS MADE TO USERS OF CONTINUOUS GLUCOSE MONITORING SYSTEMS Systems and method are described for determining if a decision support recommendation is to be presented to a user for treatment of a diabetic state, including receiving a plurality of input data items impacting a diabetic state of a user of continuous glucose monitor, the input data items serving as input data to a process for determining a decision support recommendation; assigning a reliability level to each of the input data items; calculating a reliability metric based on the reliability levels assigned to each of the input data items; determining a decision support recommendation based on the process and the input data and presenting the decision support recommendation to the user on a user interface only if the reliability metric exceeds a threshold. SAFETY TOOLS FOR DECISION SUPPORT RECOMMENDATIONS MADE TO USERS OF CONTINUOUS GLUCOSE MONITORING SYSTEMS Systems and method are described for determining if a decision support recommendation is to be presented to a user for treatment of a diabetic state, including receiving a plurality of input data items impacting a diabetic state of a user of continuous glucose monitor, the input data items serving as input data to a process for determining a decision support recommendation; assigning a reliability level to each of the input data items; calculating a reliability metric based on the reliability levels assigned to each

DEVICE FOR CHECKING A PERSON'S BLOOD GLUCOSE CONCENTRATION

NºPublicación:  WO2025211979A1 09/10/2025
Solicitante: 
TIKHONENKO OLEG OLEGOVICH [RU]
\u0422\u0418\u0425\u041E\u041D\u0415\u041D\u041A\u041E, \u041E\u043B\u0435\u0433 \u041E\u043B\u0435\u0433\u043E\u0432\u0438\u0447

Resumen de: WO2025211979A1

The invention relates to medicine, and more particularly to devices for non-invasively determining a person's blood glucose concentration, and can be used in the creation of systems for diagnosing diabetes. The present device comprises a housing, and a control and display module disposed in the housing. The device further comprises a sensor, a radiation emitter, and a receiver for receiving radiation reflected from a person's tissues, the emitter and the receiver being disposed in the sensor. Disposed on the working surface of the sensor is a rim which surrounds the light receiver and separates it from the light emitter. The device is incorporated into a smartphone, with a control and data processing unit being disposed in the housing of the smartphone and the device being powered by the power supply of the smartphone. The function of a data display panel is performed by the touchscreen of the smartphone, and the sensor is disposed on the rear surface of the smartphone housing, near the upper edge thereof. The invention provides a simplified design, the possibility of visually checking the correct positioning of the sensor on a pulse point, and the possibility of keeping the device in a working state using one hand while simultaneously operating the touchscreen using a digit of the same hand.

SENSOR APPLICATOR ASSEMBLY FOR BLOOD GLUCOSE METER

NºPublicación:  EP4628012A1 08/10/2025
Solicitante: 
I SENS INC [KR]
i-Sens, Inc
EP_4628012_PA

Resumen de: EP4628012A1

Provided is a sensor applicator assembly for a blood glucose monitoring including a body-attachable unit including an upper frame and a lower frame that is disposed under the upper frame and has a surface attached to a body and an applicator within which the body-attachable unit is disposed. The upper frame includes a first area and a second area disposed under the first area and in contact with the lower frame. A perimeter of an outer peripheral surface of the second area is identical to a perimeter of an outer peripheral surface of the lower frame.

ANALYTE MONITORING DEVICE AND CONTROLLING METHOD THEREOF

NºPublicación:  EP4629684A1 08/10/2025
Solicitante: 
I SENS INC [KR]
I-SENS, INC
EP_4629684_PA

Resumen de: EP4629684A1

An analyte monitoring device is disclosed. The analyte monitoring device comprises an analyte sensor configured to be at least partially inserted into a body of a user to detect a signal related to glucose concentration, and a sensor electronics unit electrically connected to the analyte sensor to acquire the signal, wherein the sensor electronics unit is configured to: perform communication connection with a user terminal, transmit information about the sensor electronics unit to the user terminal, receive, from the user terminal, a second security key generated based on the information about the sensor electronics unit and a first security key, perform verification of the second security key, and determine whether to maintain the communication connection based on the verification result.

SECURE BROADCAST MESSAGING IN SUPPORT OF GLUCOSE MONITORING

NºPublicación:  EP4627762A1 08/10/2025
Solicitante: 
DEXCOM INC [US]
DexCom, Inc
AU_2023401746_PA

Resumen de: AU2023401746A1

Techniques for performing application-layer security and communication over primary invitation channels arc disclosed. In certain embodiments, analyte data is obtained from an analyte sensor electrically coupled to a sensor electronics module of an analyte sensor system. A secret key is established with a display device over one or more primary invitation channels. The analyte data is encrypted using the secret key. The encrypted analyte data is broadcast over the one or more primary invitation channels.

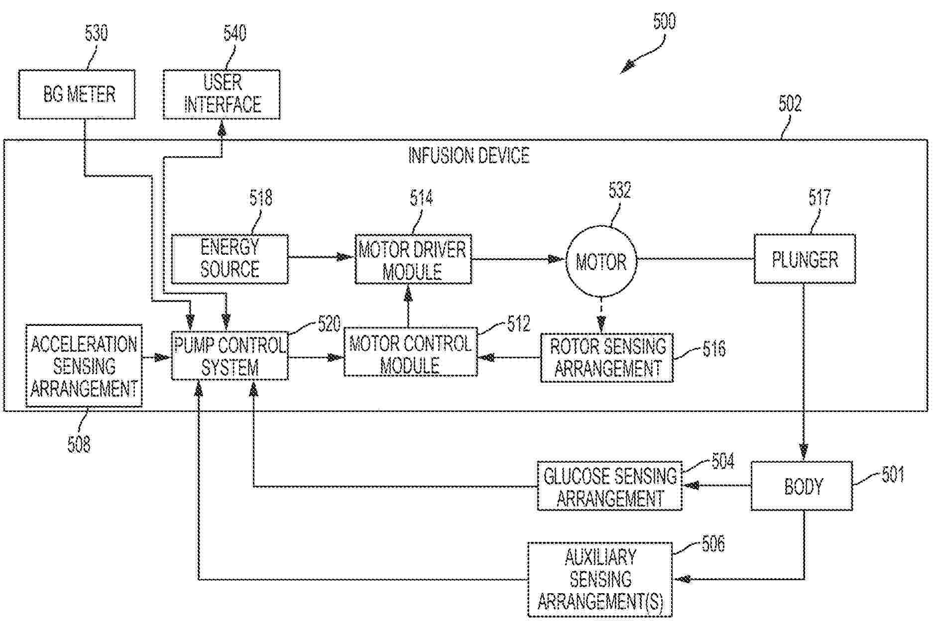
INSULIN PUMP SYSTEM INCORPORATING SENSOR FEEDBACK

NºPublicación:  EP4626514A1 08/10/2025
Solicitante: 
TANDEM DIABETES CARE INC [US]
Tandem Diabetes Care, Inc
WO_2024118976_PA

Resumen de: WO2024118976A1

Embodiments disclosed herein are directed to ambulatory infusion pump systems that integrate a CGM sensor and/or a pressure sensor with an ambulatory infusion pump via a pump holder or tray that releasably holds the pump and is configured to be worn by a user, wherein the ambulatory infusion pump includes an inductive charging coil and the tray includes an inductive coil configured to be aligned with the inductive charging coil to receive power from the inductive charging coil, and wherein a processor is configured to receive and process glucose signals from the CGM sensor and pressure signals from the pressure sensor through the inductive charging coil.

IN-VIVO BLOOD GLUCOSE MONITORING DEVICE

NºPublicación:  WO2025200355A1 02/10/2025
Solicitante: 
JIANGSU YUWELL POCTECH BIOTECHNOLOGY CO LTD [CN]
JIANGSU YUEKAI BIOTECHNOLOGY CO LTD [CN]
ZHEJIANG POCTECH CO LTD [CN]
\u6C5F\u82CF\u9C7C\u8DC3\u51EF\u7ACB\u7279\u751F\u7269\u79D1\u6280\u6709\u9650\u516C\u53F8,
\u6C5F\u82CF\u8DC3\u51EF\u751F\u7269\u6280\u672F\u6709\u9650\u516C\u53F8,
\u6D59\u6C5F\u51EF\u7ACB\u7279\u533B\u7597\u5668\u68B0\u6709\u9650\u516C\u53F8
CN_118058742_PA

Resumen de: WO2025200355A1

Disclosed in the present application is an in-vivo blood glucose monitoring device, which comprises a housing, a bottom cover, a puncture unit, and an in-vivo monitoring unit. The housing is provided with a first end and a second end which are oppositely arranged along a first direction, and an implantation opening is formed in the second end. The bottom cover is detachably connected with the housing. A needle-assist unit is movable along the first direction to execute an implantation action. The puncture unit is movable along a second direction to execute a needle withdrawal action. The in-vivo monitoring unit comprises a first electronic unit and a second electronic unit that are spaced apart. The first electronic unit comprises a sensor, and the second electronic unit comprises a signal processing module. Prior to use, the bottom cover is removed, and a single trigger causes the needle-assist unit to move, thereby inserting the sensor part into the host's body and electrically connecting the first electronic unit and the second electronic unit. The single trigger operation simultaneously completes the electrical connection of the first electronic unit and the second electronic unit and the implantation of the sensor, greatly simplifying the user's operation steps during the implantation process and shortening the entire implantation phase.

USE OF A CONTINUOUS ANALYTE MONITORING SYSTEM FOR IMPROVED MONITORING

NºPublicación:  WO2025207272A1 02/10/2025
Solicitante: 
ABBOTT DIABETES CARE INC [US]
ABBOTT DIABETES CARE INC
US_2025299818_PA

Resumen de: WO2025207272A1

Disclosed herein are system, method, and computer program product embodiments to an improved alert and recommendation system for reducing patient readmission via the detection and treatment of patient conditions based on continuous analyte data. The disclosed techniques utilize analyte data, such as lactate, glucose, and creatinine, provided from a continuous analyte sensor to predict patient outcomes and generate recommendations for reducing patient readmission in a hospital and home setting. The disclosed system allows for early and noninvasive prediction of patient outcomes and the subsequent generation of recommended actions to facilitate patient intervention with the goal of reducing readmission of the patient.

IN-VIVO BLOOD GLUCOSE MONITORING DEVICE

NºPublicación:  WO2025200359A1 02/10/2025
Solicitante: 
JIANGSU YUWELL POCTECH BIOTECHNOLOGY CO LTD [CN]
JIANGSU YUEKAI BIOTECHNOLOGY CO LTD [CN]
ZHEJIANG POCTECH CO LTD [CN]
\u6C5F\u82CF\u9C7C\u8DC3\u51EF\u7ACB\u7279\u751F\u7269\u79D1\u6280\u6709\u9650\u516C\u53F8,
\u6C5F\u82CF\u8DC3\u51EF\u751F\u7269\u6280\u672F\u6709\u9650\u516C\u53F8,
\u6D59\u6C5F\u51EF\u7ACB\u7279\u533B\u7597\u5668\u68B0\u6709\u9650\u516C\u53F8
CN_118044808_PA

Resumen de: WO2025200359A1

Disclosed in the present application is an in-vivo blood glucose monitoring device, which comprises a housing, a bottom housing, an in-vivo monitoring unit, and a sealing assembly. The housing is provided with a first end and a second end which are oppositely arranged along a first direction, and an interface opening is formed in the second end. The bottom housing is connected with the second end, and an implantation opening is formed in the bottom housing. The in-vivo monitoring unit comprises a first electronic unit fixed to the interior of the housing and a second electronic unit fixed to the bottom housing. The first electronic unit comprises a sensor, and the second electronic unit comprises a signal processing module. The sealing assembly abuts against the housing and/or the bottom housing and is located between the first electronic unit and the second electronic unit and used for sealing the interface opening. The sealing assembly is movable along a second direction to release sealing, and the second direction is perpendicular to the first direction. During use, sealing can be released by simply moving the sealing assembly along the second direction, eliminating the need to separate the bottom housing from the housing, thereby simplifying the product's usage steps and reducing the operational difficulty.

DEVICE FOR NON-INVASIVELY CHECKING A PERSON'S BLOOD GLUCOSE CONCENTRATION

NºPublicación:  WO2025206971A1 02/10/2025
Solicitante: 
TIKHONENKO OLEG OLEGOVICH [RU]
\u0422\u0418\u0425\u041E\u041D\u0415\u041D\u041A\u041E, \u041E\u043B\u0435\u0433 \u041E\u043B\u0435\u0433\u043E\u0432\u0438\u0447

Resumen de: WO2025206971A1

The invention relates to medicine and technology, and more particularly to non-invasively detecting a change in a person's blood glucose concentration, and can be used in the creation of devices for this purpose, as well as in the creation of socially-oriented systems for the early diagnosis of diabetes and associated diseases, in the form of a pendant. The aim of the invention is to improve the operational efficiency of a device for non-invasively checking a person's blood glucose concentration by reducing the set-up and configuration time required. This aim is achieved in that the claimed device for non-invasively checking a person's blood glucose concentration comprises a housing, a control and display module disposed in the housing, a sensor, a radiation emitter and a receiver for receiving radiation reflected from a person's tissues, the emitter and the receiver being disposed in the sensor and the sensor being disposed on the lower end face of the housing and being pressable against a pulse point. The technical results of the invention include a simplified design, the possibility of visually checking the correct positioning of the sensor on a pulse point, and the possibility of keeping the device in a working state using one hand while simultaneously operating a touchscreen using a digit of the same hand.

IN-VIVO BLOOD GLUCOSE MONITORING DEVICE

NºPublicación:  WO2025200357A1 02/10/2025
Solicitante: 
JIANGSU YUWELL POCTECH BIOTECHNOLOGY CO LTD [CN]
JIANGSU YUEKAI BIOTECHNOLOGY CO LTD [CN]
ZHEJIANG POCTECH CO LTD [CN]
\u6C5F\u82CF\u9C7C\u8DC3\u51EF\u7ACB\u7279\u751F\u7269\u79D1\u6280\u6709\u9650\u516C\u53F8,
\u6C5F\u82CF\u8DC3\u51EF\u751F\u7269\u6280\u672F\u6709\u9650\u516C\u53F8,
\u6D59\u6C5F\u51EF\u7ACB\u7279\u533B\u7597\u5668\u68B0\u6709\u9650\u516C\u53F8
CN_118177800_PA

Resumen de: WO2025200357A1

Disclosed in the present application is an in-vivo blood glucose monitoring device, which comprises a housing, a limiting sleeve, and a needle-assist unit. The housing is provided with a first end and a second end which are oppositely arranged along a first direction. The limiting sleeve is provided with a limiting channel extending along the first direction. A puncture unit is used for inserting a sensor part into the host's body. The needle-assist unit comprises at least two clamping parts. The clamping parts are located on the outer sides of the puncture unit to limit movement of the puncture unit, and the clamping parts are located in the limiting channel and are movable along the first direction. When the clamping parts move to a release position, the clamping parts release the puncture unit, such that the puncture unit moves along a second direction. The second direction is opposite to the first direction. The clamping parts clamp and release the puncture unit from the outer side, thereby driving the puncture unit while limiting and triggering a needle withdrawal motion. This design simplifies the structural configuration of both the needle-assist unit and the puncture unit, reduces the production difficulty, improves the production efficiency, and ensures the smoother switching between needle insertion and withdrawal without any sense of jamming.

PROSTHETIC VALVES AND SENSOR SYSTEMS

NºPublicación:  US2025302614A1 02/10/2025
Solicitante: 
EDWARDS LIFESCIENCES CORP [US]
EDWARDS LIFESCIENCES CORPORATION
US_2025302614_A1

Resumen de: US2025302614A1

Apparatuses, systems, and methods for prosthetic valves having sensor systems are disclosed. Examples of prosthetic valves include replacement heart valves for replacing the function of a native heart valve, such as a mitral or tricuspid valve. In various embodiments, replacement heart valves are provided with sensors or markers for assisting with proper placement and/or securement in the body. A replacement heart valve may include anchors for securing the replacement heart valve to native leaflets, wherein sensors and/or markers provide feedback to the physician for confirming proper placement of the anchors during the implantation procedure. Sensors may also be used to assess the function of the prosthetic valve after deployment. Sensors may also be used to monitor blood pressure, temperature, oxygen, insulin, cholesterol, and/or glucose to assess overall patient health.

SYSTEMS AND METHODS FOR MEDICATION DOSING AND TITRATION

NºPublicación:  WO2025208053A2 02/10/2025
Solicitante: 
ABBOTT DIABETES CARE INC [US]
HOVORKA ROMAN
ABBOTT DIABETES CARE INC,
HOVORKA, Roman
US_2025308666_A1

Resumen de: WO2025208053A2

Dose guidance systems and methods for titrating medication doses are described. The dose guidance system may receive glucose data from a continuous glucose monitor and may receive medication data related to medication administered by the user. The dose guidance system may initialize dose guidance parameters, recommend medication doses, titrate medication doses, and provide alerts based on the glucose data and medication data.

GLUCOSE LEVEL MANAGEMENT BASED ON FAT CONTENT OF MEALS

NºPublicación:  US2025303066A1 02/10/2025
Solicitante: 
MEDTRONIC MINIMED INC [US]
MEDTRONIC MINIMED, INC
CN_114949445_PA

Resumen de: US2025303066A1

Techniques for glucose level management are disclosed. In some examples, the techniques may involve obtaining a macronutrient content associated with a meal, wherein the macronutrient content includes a first macronutrient and a second macronutrient. The techniques may further involve predicting, using a patient-specific physiological simulator that utilizes the macronutrient content, glucose amounts to be absorbed into a bloodstream of a patient as a result of consumption of the meal, wherein the patient-specific physiological simulator is configured to account for a difference in glucose level rise due to consumption of the first macronutrient compared to consumption of the second macronutrient. The techniques may further involve determining, using the patient-specific physiological simulator, a dosage of insulin to deliver to the patient based on the glucose amounts to be absorbed into the bloodstream.

TECHNIQUES TO REDUCE RISK OF OCCLUSIONS IN DRUG DELIVERY SYSTEMS

Nº publicación: US2025303061A1 02/10/2025

Solicitante:

INSULET CORP [US]
INSULET CORPORATION

US_2023277766_PA

Resumen de: US2025303061A1

Disclosed are techniques to establish a modified pump rate that mitigates the effects of a pump occlusion and enables a recommended dosage of insulin to be output by a pump mechanism over the course of a control cycle. In an example, the pump rate may be reduced by adding a calculated time interval between application of actuation commands to extend the amount of time over which insulin may be output by the pump mechanism.

traducir