Ministerio de Industria, Turismo y Comercio LogoMinisterior
 

Alerta

Resultados 153 resultados
LastUpdate Última actualización 22/03/2026 [06:58:00]
pdfxls
Solicitudes publicadas en los últimos 60 días / Applications published in the last 60 days
previousPage Resultados 75 a 100 de 153 nextPage  

METHOD OF COMPENSATING FOR INSULIN RESERVOIR FRICTION DURING INSULIN THERAPY

NºPublicación:  EP4693324A1 11/02/2026
Solicitante: 
MEDTRONIC MINIMED INC [US]
Medtronic MiniMed, Inc
EP_4693324_PA

Resumen de: EP4693324A1

A processor-implemented method includes obtaining motor rotation data associated with a motor that is configured to rotate in strokes to drive a plunger within a reservoir in a fluid delivery device, the motor rotation data indicating time intervals between changes of position of the motor; for each stroke of a first plurality of strokes of the motor, determining an instantaneous delivery rate during one or more steps of the stroke based on the motor rotation data, and storing the instantaneous delivery rate to a buffer; determining a pre-compensation delivery rate of the fluid delivery device based on data in the buffer; and determining, in response to the pre-compensation delivery rate being lower than a pre-determined delivery rate, a first adjustment to at least one of a motor drive voltage level or a motor drive duty cycle of a drive signal of the motor.

ACCURATE PREDICTION OF QUANTITY AND TIMING OF INSULIN RESERVOIR REFILLS

NºPublicación:  EP4693326A2 11/02/2026
Solicitante: 
INSULET CORP [US]
Insulet Corporation
EP_4693326_PA

Resumen de: EP4693326A2

Exemplary embodiments may provide an improved approach to automated insulin delivery by more accurately estimating the total daily insulin (TDI) of a user. As a result, less insulin is wasted by the delivery system, and the estimate of TDI more closely matches a user's actual daily insulin needs. Hence, the user need not refill the insulin reservoir excessively or need not fret unnecessarily about running out of insulin prematurely. The estimate relies on the history of actual automated insulin deliveries and thus reflects the actual insulin delivered to the user more accurately than conventional approaches.

METHOD AND SYSTEM FOR GLYCEMIC PREDICTION AND DYNAMIC VISUALIZATION

NºPublicación:  US20260033753A1 05/02/2026
Solicitante: 
ABBOTT DIABETES CARE INC [US]
Abbott Diabetes Care Inc
US_20260033753_PA

Resumen de: US20260033753A1

Disclosed herein are system, method, and computer program product embodiments for interconnecting a prediction visualization with user medical data for analyzing the impact of personal choices on future glucose levels. The prediction visualization is configured to generate predictions of glycemic impact based one or more inputs including choices involving diet and exercise and user medical data, such as the user's historical and current glucose levels. The prediction visualization is configured to be adjustable based on user input and the visualization is configured to dynamically update based on user input. The disclosed interface allows the user to adjust the sequencing of these decisions and portion sizes of meal choices and immediately generate new visualizations representing the impact on predicted future glucose levels.

BASAL RATE TESTING USING FREQUENT BLOOD GLUCOSE INPUT

NºPublicación:  US20260034300A1 05/02/2026
Solicitante: 
TANDEM DIABETES CARE INC [US]
Tandem Diabetes Care, Inc
US_20260034300_PA

Resumen de: US20260034300A1

An apparatus comprising a user interface configured to generate an electrical signal to start a basal insulin rate test when prompted by a user, an input configured to receive sampled blood glucose data of a patient that is obtained during a specified time duration, including a time duration during delivery of insulin according to a specified basal insulin rate pattern, and a controller communicatively coupled to the input and the user interface. The controller includes an insulin calculation module configured for determining at least one of an amount of basal insulin over-delivered and an amount of basal insulin under-delivered during the basal insulin rate test in trying to meet a target blood glucose baseline. Other devices and methods are disclosed.

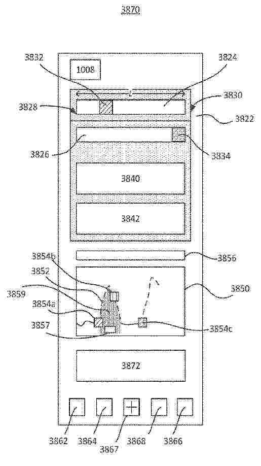
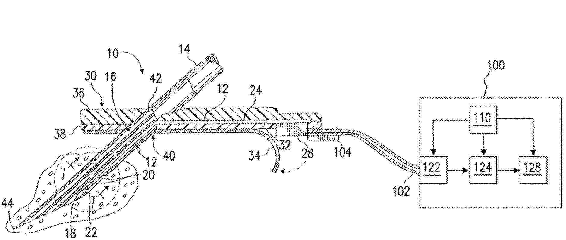
FLUID DELIVERY DEVICE HAVING MULTIPLE PENETRATING ELEMENTS

NºPublicación:  US20260034298A1 05/02/2026
Solicitante: 
INSULET CORP [US]
INSULET CORPORATION
US_20260034298_PA

Resumen de: US20260034298A1

Methods and apparatuses for performing an insertion process for a plurality of penetrating elements are described. For example, a wearable fluid infusion device may include a cannula and/or needle for infusing a fluid into a patient and a sensor for sensing a physical characteristic of the patient. A non-limiting example of a fluid may be or may include insulin. An illustrative and non-restrictive example of a physical characteristic may include a blood glucose level. The wearable infusion device may be configured to facilitate insertion of the multiple penetrating elements, such as a cannula and a sensor, in a single simultaneous insertion step instead of requiring individual insertion steps for each of multiple penetrating elements. Other embodiments are described.

METHODS, SYSTEMS, AND DEVICES FOR SENSOR FUSION

NºPublicación:  US20260033751A1 05/02/2026
Solicitante: 
MEDTRONIC MINIMED INC [US]
MEDTRONIC MINIMED, INC
US_20260033751_PA

Resumen de: US20260033751A1

A fused sensor glucose value may be calculated based on respective sensor glucose values of a plurality of redundant working electrodes (WEs) of a glucose sensor. A respective resistance value (e.g., membrane resistance (Rmem) and respective calibration value (e.g., a calibration factor (CF) value) may be calculated for each redundant WE, and a respective fusion weight may be calculated for each redundant WE based on the respective resistance and calibration values. A fused sensor glucose value may be calculated based on the respective fusion weight and sensor glucose value of each of the plurality of redundant WEs.

ELECTRONIC DEVICE FOR BLOOD GLUCOSE MEASUREMENT USING DISTRIBUTED FEEDBACK LASER DIODE

NºPublicación:  WO2026029574A1 05/02/2026
Solicitante: 
SAMSUNG ELECTRONICS CO LTD [KR]
HANA OPTRONICS INC [KR]
\uC0BC\uC131\uC804\uC790\uC8FC\uC2DD\uD68C\uC0AC,
\uD558\uB098\uC635\uD2B8\uB85C\uB2C9\uC2A4 \uC8FC\uC2DD\uD68C\uC0AC
WO_2026029574_PA

Resumen de: WO2026029574A1

Disclosed is a non-invasive electronic device for blood glucose measurement using a laser array including a plurality of wavelength bands formed in a distributed feedback laser diode. The non-invasive electronic device for blood glucose measurement comprises: a light source unit for forming light including a plurality of wavelength bands; a light reflection unit for reflecting the light to change a travel path of the light to the vertical direction; and a light detection unit for receiving reflected light in which the light traveling after being reflected by the light reflection unit is incident on a user's skin and then reflected, and converting same into an electrical signal.

DETERMINING A CONCENTRATION OF GLUCOSE IN A SUBJECT'S BLOOD

NºPublicación:  AU2024312680A1 05/02/2026
Solicitante: 
AFON TECH LTD
AFON TECHNOLOGY LTD
AU_2024312680_PA

Resumen de: AU2024312680A1

According to an aspect, there is provided a computer-implemented method (200) of determining a concentration of glucose in a subject's blood, the method comprising acquiring (202) first measurement data indicative of a response resulting from an electromagnetic (EM) signal interacting with the subject's blood in a body part of the subject, the EM signal having been emitted from a device in contact with the body part of the subject; acquiring (204) second measurement data indicative of a pressure applied to the body part of the subject by the device; and using (206) a predictive model to infer a concentration of glucose in the subject's blood from the first measurement data and the second measurement data, the predictive model having been trained to infer a concentration of glucose in the subject's blood from the first measurement data and the second measurement data.

DETERMINING A CONCENTRATION OF GLUCOSE IN A SUBJECT'S BLOOD

NºPublicación:  AU2024313070A1 05/02/2026
Solicitante: 
AFON TECH LTD
AFON TECHNOLOGY LTD
AU_2024313070_PA

Resumen de: AU2024313070A1

According to an aspect, there is provided a computer-implemented method (200) of determining a concentration of glucose in a subject's blood, the method comprising: acquiring (202) first measurement data indicative of a response resulting from an electromagnetic (EM) signal interacting with the subject's blood in a body part of the subject; acquiring (204) second measurement data indicative of at least one parameter associated with the subject; and using (206) a predictive model to infer a concentration of glucose in the subject's blood from the first measurement data and the second measurement data, the predictive model having been trained to infer a concentration of glucose in the subject's blood from the first measurement data and the second measurement data.

State-based methods and systems using continuous glucose monitors and accelerometers to regulate glucose levels

NºPublicación:  US12539058B1 03/02/2026
Solicitante: 
OPTUM LABS LLC [US]
Optum Labs, LLC
US_12539058_PA

Resumen de: US12539058B1

Embodiments include methods and systems for regulating a user's glucose levels. Systems comprise a processing unit in communication with a glucose monitor, an accelerometer, and a user interface. The glucose monitor generates glucose readings corresponding to the user's glucose levels and the accelerometer generates acceleration readings corresponding to the user's activity. The processing unit determines if the glucose readings indicate a glucose state and whether the acceleration readings indicate an activity state. If the glucose state and the activity state coincide, the processing unit sends a message to the user interface recommending a behavior that would influence the user's glucose level. Methods comprise determining, at a processing unit, if glucose readings indicate a glucose state, if acceleration readings indicate an activity state, whether the glucose state and activity state coincide and, if so, sending a message to a user interface recommending a behavior that would influence the user's glucose level.

OXYNTOMODULIN PEPTIDE ANALOG FORMULATIONS

NºPublicación:  MX2025015078A 03/02/2026
Solicitante: 
EIRGEN PHARMA LTD [IE]
EIRGEN PHARMA LTD
CN_120514662_PA

Resumen de: MX2025015078A

The present invention relates to GLP-1 and/or glucagon receptor agonists (for example, oxyntomodulin peptide analogs), pharmaceutically acceptable salts thereof, formulations comprising the same, and uses thereof for treating diabetes and/or obesity or associated diseases or disorders.

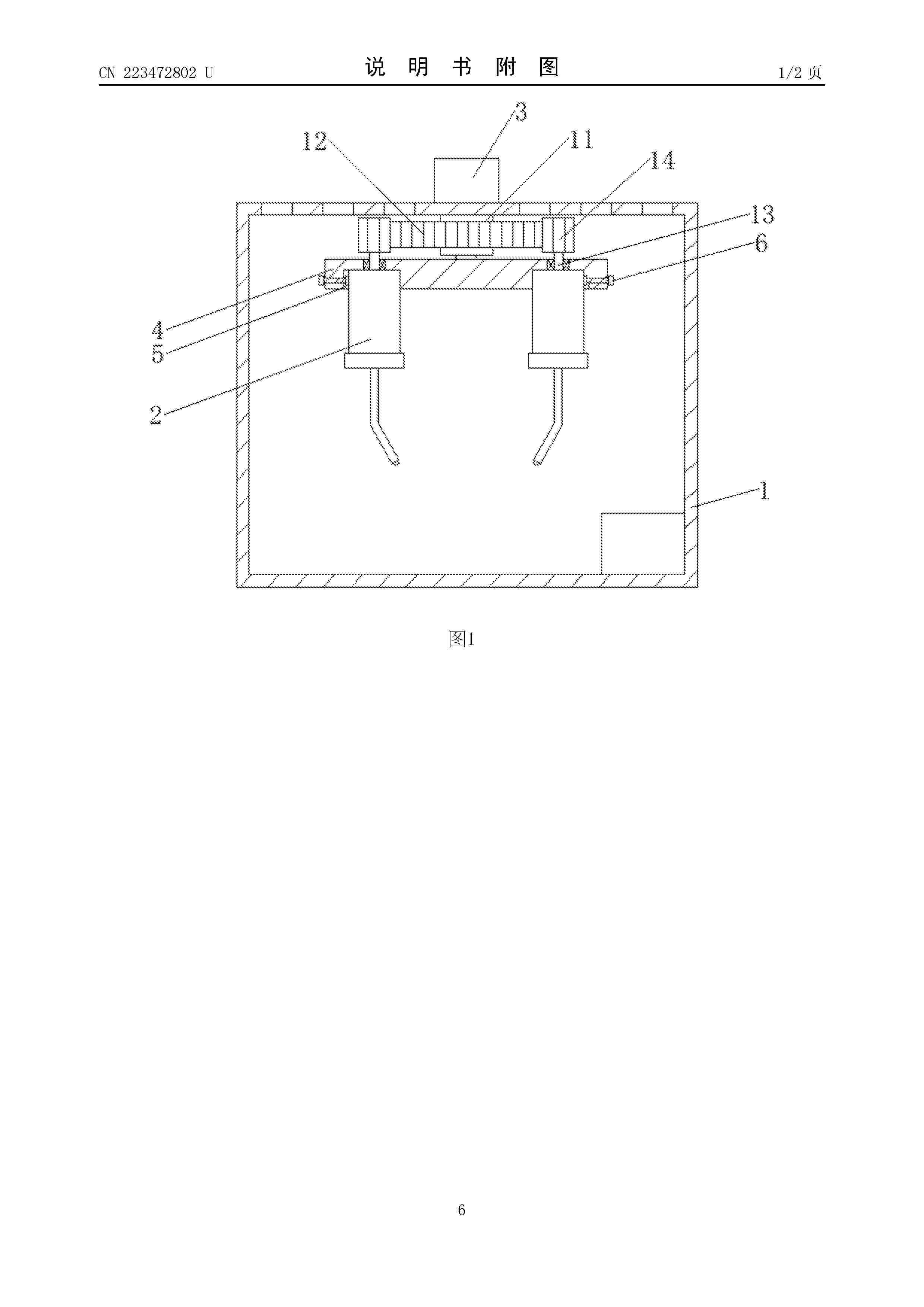
ELECTRONIC CIRCUIT AND ANALYTE SENSOR SYSTEM SUCH AS A GLUCOSE SENSOR SYSTEM AND METHOD OF OPERATING AN ANALYTE SENSOR AND SYSTEM

NºPublicación:  PL4223220T3 02/02/2026
Solicitante: 
F HOFFMANN LA ROCHE AG [CH]
F. Hoffmann-La Roche AG
PL_4223220_T3

Resumen de: CA3247818A1

The invention refers to an electronic circuit configured to operate an analyte sensor, such as a glucose sensor, the circuit having at least a first and a second electrical connection configured to be connected to a first and a second electrode of the analyte sensor respectively, wherein the electronic circuit has a voltage source and a common potential conductor section electrically provided on a potential of a pole of the voltage source, wherein with the voltage source an electric potential different to the potential of the common potential conductor section can be provided to the first electrical connection; and wherein the second electrical connection is connected to the common potential conductor section through one or more common potential connection paths and wherein none of the common potential connection paths connects the second electrical connection to the common potential conductor section through fewer than three or more series-connected electronic components.

EXERCISE MONITORING AND REMINDING DEVICE FOR DIABETIC CARDIOMYOPATHY PATIENTS

NºPublicación:  LU602751B1 02/02/2026
Solicitante: 
LU WEIFANG [CN]
ZHAI YUE [CN]
JIAMUSI UNIV HONGDA HOSPITAL CO LTD [CN]
LIU YING [CN]
LU Weifang,
ZHAI Yue,
JIAMUSI UNIVERSITY HONGDA HOSPITAL CO., LTD,
LIU Ying
LU_602751_PA

Resumen de: LU602751B1

The present invention provides an exercise monitoring and reminding device for diabetic cardiomyopathy patients, including a blood glucose monitor with a pricking needle. The pricking needle is connected to the skin of a patient’s arm. The device includes a data receiver, attached and connected to the blood glucose monitor. An exercise monitoring ring is mounted on the data receiver. A manual tightening mechanism is arranged, effectively controlling the exercise monitoring ring to form a cooperation, nesting the blood glucose monitor, identifying blood glucose detection data, and combining it with exercise data. Waste in the blood glucose monitor use is avoided. Through the cooperation of a primary strap, a connecting buckle, an auxiliary strap and a tightener, it effectively forms manual tightening use, improves the positioning of the exercise monitoring ring on the arm for monitoring, and cooperates with components on the tightener to form different forms of exercise reminders.

Gestational blood glucose data grouping method and server

NºPublicación:  CN121439178A 30/01/2026
Solicitante: 
XUANWU HOSPITAL CAPITAL MEDICAL UNIV
\u9996\u90FD\u533B\u79D1\u5927\u5B66\u5BA3\u6B66\u533B\u9662
CN_121439178_PA

Resumen de: CN121439178A

The invention relates to a gestational blood glucose data grouping method and a server. The method comprises the following steps: acquiring blood glucose data of a gestational user and input basic information; based on a preset group division rule, the gestational user data is divided into a plurality of subgroups, and the group division rule is determined based on the difference and difference of influence trends of various hormones on insulin resistance or insulin sensitivity, so that different-direction associated subgroups and/or same-direction associated subgroups are obtained; a shared database is constructed, data information in all subgroups is stored in the form of multi-dimensional blood glucose comprehensive evaluation indexes, and the multi-dimensional blood glucose comprehensive evaluation indexes are obtained through calculation based on the average blood glucose index related to blood glucose, the blood glucose fluctuation factor, the postprandial peak gradient and the night blood glucose load.

Electronic blood glucose, blood oxygen and blood pressure integrated PCBA (Printed Circuit Board Assembly)

NºPublicación:  CN121421489A 30/01/2026
Solicitante: 
QIANSIYUE INTELLIGENT TECH SUZHOU CO LTD
\u5343\u601D\u8DC3\u667A\u80FD\u79D1\u6280\uFF08\u82CF\u5DDE\uFF09\u80A1\u4EFD\u6709\u9650\u516C\u53F8
CN_121421489_PA

Resumen de: CN121421489A

The invention discloses an electronic blood glucose, blood oxygen and blood pressure three-in-one PCBA board, and belongs to the technical field of blood glucose, blood oxygen and blood pressure monitoring. The electronic blood glucose, blood oxygen and blood pressure three-in-one PCBA board comprises an integration module, a sensor signal monitoring module, a main control module and a calibration compensation module. The technical problem that the prior art lacks blood sugar and blood pressure data and cannot help a user or medical personnel to accurately judge the health condition is solved. The redundant space of discrete circuits is greatly reduced, the blood pressure, blood sugar and blood oxygen functions are integrally designed on one PCBA board, the overall system architecture is simplified, collaborative analysis of multiple parameters can be conveniently achieved, the signal transmission loss between the discrete circuits can be reduced through the integrated design, one-stop health detection can be achieved through integrated equipment, and the system is suitable for popularization and application. The system does not need to carry various detection instruments, is more convenient to operate, can provide a comprehensive health assessment report, and helps a user or medical personnel to accurately judge the health condition.

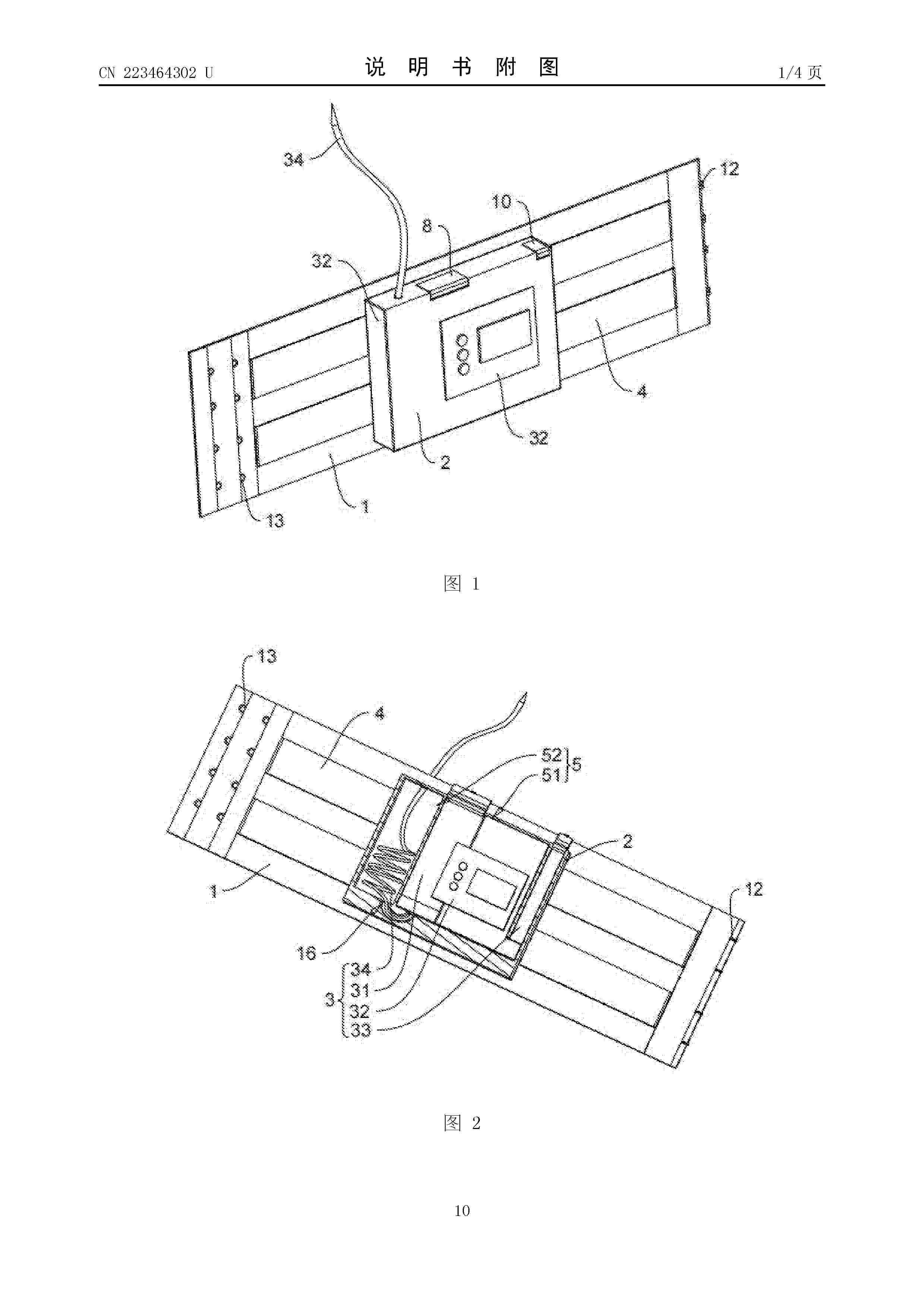
Detachable detection device and needle assisting device

NºPublicación:  CN121421520A 30/01/2026
Solicitante: 
SHENZHEN MUXIN TECH CO LTD
\u6DF1\u5733\u6728\u82AF\u79D1\u6280\u6709\u9650\u516C\u53F8
CN_121421520_PA

Resumen de: CN121421520A

The embodiment of the invention provides a detachable detection device and a needle assistor, the detection device is used for detecting blood glucose, the detection device comprises a detection assembly, a sensor assembly and a needling assembly, the detection assembly comprises a flat shell, the outer wall of the bottom of the flat shell is sunken inwards to form a containing cavity, the sensor assembly comprises a base and a probe, the base is provided with a second via hole, and the probe is arranged in the containing cavity. The base is detachably clamped in the containing cavity, part of the probe is located in the base, part of the probe extends out of the hole wall of the second through hole and extends towards the side away from the detection assembly, and when the base is located in the containing cavity, the probe is electrically connected with the detection circuit board. According to the embodiment of the invention, the detection assembly and the sensor assembly are mutually detachable and can be clamped, so that only the sensor assembly is sterilized instead of the detection assembly in the sterilization process, and the influence on the detection circuit board in the detection assembly in the electromagnetic wave or irradiation sterilization process can be avoided; the product yield of the detection device is improved.

Diabetes development stage identification method and device based on bio-electricity signals

NºPublicación:  CN121439165A 30/01/2026
Solicitante: 
WUZHENG INTELLIGENT TECH BEIJING CO LTD
\u543E\u5F81\u667A\u80FD\u6280\u672F\uFF08\u5317\u4EAC\uFF09\u6709\u9650\u516C\u53F8
CN_121439165_PA

Resumen de: CN121439165A

The invention provides a diabetes development stage identification method and device based on a bio-electricity signal, and relates to the technical field of biological data analysis, and the method comprises the steps: obtaining a bio-electricity signal triple set and diabetes data, the bio-electricity signal triple set comprises a plurality of bio-electricity signal triads, and the diabetes data comprises a diabetes development stage text; obtaining a mapping relation between the bioelectricity signal triple and the diabetes development stage text, and labeling the diabetes development stage text by taking the mapping relation as a label; performing iterative training on the initial diabetes development stage identification model through the bioelectricity signal triple set and the labeled diabetes development stage text set, and obtaining a final diabetes development stage identification model after training is completed; and inputting the to-be-measured bioelectricity signal triple into the final diabetes development stage identification model to carry out diabetes development stage identification so as to obtain a final prediction result of the diabetes development stage.

Non-invasive blood glucose detection device and method based on wavefront plastic subcutaneous focusing

NºPublicación:  CN121421530A 30/01/2026
Solicitante: 
CHANGSHA SIMURUI INFORMATION TECH CO LTD
\u957F\u6C99\u601D\u6728\u9510\u4FE1\u606F\u6280\u672F\u6709\u9650\u516C\u53F8
CN_121421530_PA

Resumen de: CN121421530A

The invention discloses a non-invasive blood glucose detection device and method based on wavefront shaping subcutaneous focusing, and the device comprises a transmitting module which comprises a narrow linewidth pump light source, a locking amplification modulator and a transmitting end spatial light modulator and is used for transmitting pump light modulated by a specific frequency; the receiving module comprises a receiving end spatial light modulator and a light detector and is used for synchronously collecting spectrums, and the light detector comprises a spectrograph or a wavelength selection detector so as to obtain glucose characteristic signals; and the lens group is placed on the skin surface of a testee. The method has the advantages that through double-end cooperative closed-loop control of transmitting end wavefront compensation and receiving end space screening and in combination with a double-criterion positioning mechanism of spectrum attenuation and scattering characteristic change, pump light can be accurately focused and locked in a preferable blood glucose information optical detection space window below the epidermis under the condition of not depending on an expensive OCT module.

Wristband for early warning indexes of blood fat, blood sugar and uric acid

NºPublicación:  CN121421525A 30/01/2026
Solicitante: 
THE FIRST AFFILIATED HOSPITAL OF ZHENGZHOU UNIV
\u90D1\u5DDE\u5927\u5B66\u7B2C\u4E00\u9644\u5C5E\u533B\u9662
CN_121421525_A

Resumen de: CN121421525A

The invention discloses a blood fat, blood sugar and uric acid index early warning bracelet which comprises a bracelet body, and a sweat collection module, a sweat electrochemical detection module, a spectrum collection module, an auxiliary physiological sensing module, an edge processing module, a wireless communication unit and a power management unit are integrated in the bracelet body. The edge module realizes time sequence synchronization, pre-processing and measurement quality scoring, and prompts re-measurement when the quality is low; the cloud end carries out individualized calibration based on the desensitization group model and a small amount of gold mark reference, and consumable batch drift detection and correction are supported; the equipment is equipped with a security chip and adopts data signature and encryption transmission, the mobile terminal presents an estimation result with confidence, risk grading and retest or medical advice, and the equipment is suitable for wearable low-power-consumption long-term monitoring and early warning.

Blood glucose prediction method for multi-scale data processing

NºPublicación:  CN121435154A 30/01/2026
Solicitante: 
AFFILIATED HOSPITAL OF CHENGDU UNIV CHENGDU TRAUMATOLOGY INSTITUTE
\u6210\u90FD\u5927\u5B66\u9644\u5C5E\u533B\u9662\uFF08\u6210\u90FD\u5E02\u521B\u4F24\u9AA8\u79D1\u7814\u7A76\u6240\uFF09
CN_121435154_PA

Resumen de: CN121435154A

The invention discloses a blood glucose prediction method based on multi-scale data processing, and belongs to the technical field of blood glucose prediction. The method comprises the following steps: firstly, setting three sliding windows, generating small-scale, medium-scale and large-scale sub-sequence sets on a normalized historical blood glucose sequence, and extracting corresponding feature vectors; constructing two types of attention sequences by calculating the difference between the small-scale feature vector and the medium-scale and large-scale feature vectors; a scale feature fusion unit is combined with the attention degree sequence to obtain small-medium and small-large scale weighted features; and finally, processing the weighted features by adopting a two-channel feature blood glucose prediction network, and outputting a predicted blood glucose value. According to the method, through a fusion strategy of multi-scale feature extraction and attention guidance, the accuracy of blood glucose prediction is improved.

Interactive management system and interactive management method for blood sugar and sugar control measure health supervision

NºPublicación:  CN121439077A 30/01/2026
Solicitante: 
SUN JIE
\u5B59\u5A55
CN_121439077_PA

Resumen de: CN121439077A

The invention provides an interactive management system and an interactive management method for blood sugar and sugar control measure health supervision, and relates to the field of diabetes supervision. Comprising a glucometer, intelligent equipment, a supervision system of the intelligent equipment, medical equipment and a medical management system of the medical equipment, the glucometer is used for measuring and obtaining blood glucose data and sending the blood glucose data to the supervision system; the supervision system is provided with a sugar control measure recording part for recording medication, meal, exercise and sign sugar control measures of a patient, analyzing the influence of the sugar control measures on blood sugar through a comparative analysis module, comprehensively generating supervision results of a patient health stage and a summary report through a summary processing module, displaying the supervision results and sending the supervision results to the medical care management system; the medical AI analysis module summarizes and sends a medical care report, a doctor generates and sends a second medical care suggestion through the medical care suggestion interaction module, the second medical care suggestion is received and displayed by the supervision system, and the medical care suggestion is intelligently added to the sugar control measure recording part. Through the interactive management system and the interactive management method, the monitor

Low-pH high-juice-content fruity custard sauce and preparation method thereof

NºPublicación:  CN121421161A 30/01/2026
Solicitante: 
WEIDE FLAVORS & FRAGRANCES SHANGHAI CO LTD
\u5473\u6613\u5A01\u5FB7\u9999\u7CBE\u9999\u6599\uFF08\u4E0A\u6D77\uFF09\u6709\u9650\u516C\u53F8
CN_121421161_PA

Resumen de: CN121421161A

The invention discloses a fruity custard sauce with low pH and high fruit juice content and a preparation method thereof, and relates to the technical field of food, and the fruity custard sauce is prepared from the following raw materials in parts by weight: 20-25% of water, 20-30% of edible vegetable oil, 22-30% of fruit juice, 5-10% of white granulated sugar, 4-7% of edible glucose powder, 3-6% of pasteurized yolk liquid, 2.2-4.5% of acetylated distarch adipate, 0.2-0.3% of xanthan gum, 0.05-0.08% of potassium sorbate, 0.05-0.08% of disodium EDTA (Ethylene Diamine Tetraacetic Acid) and the balance of water. 0.4 to 0.5 percent of citric acid, 0.0004 to 0.0005 percent of food coloring and 0.1 to 0.2 percent of edible essence. According to the custard sauce disclosed by the invention, through the synergistic effect of exogenously added citric acid and high-proportion natural acidic fruit juice, the characteristic of low pH value of the custard sauce is realized, microorganism reproduction is inhibited in a low-pH-value environment, and the shelf life of the custard sauce can be prolonged.

Arterial duct blood glucose monitoring system and method for critically ill patient

NºPublicación:  CN121421522A 30/01/2026
Solicitante: 
QINGYUAN HOSPITAL AFFILIATED TO GUANGZHOU MEDICAL UNIV QINGYUAN PEOPLES HOSPITAL
\u5E7F\u5DDE\u533B\u79D1\u5927\u5B66\u9644\u5C5E\u6E05\u8FDC\u533B\u9662\uFF08\u6E05\u8FDC\u5E02\u4EBA\u6C11\u533B\u9662\uFF09
CN_121421522_A

Resumen de: CN121421522A

The invention discloses an arterial duct blood glucose monitoring system and method for a critically ill patient, and relates to the technical field of blood glucose monitoring, and the key points of the technical scheme comprise the following steps: collecting an arterial blood sample collected from an arterial duct of the critically ill patient, basic physiological data of the patient and treatment intervention data based on preset monitoring cycle data; obtaining blood glucose original data, physiological parameters and treatment operation data; dividing the blood glucose original data based on the physiological parameters to obtain first blood glucose data with stable haemodynamics and second blood glucose data with fluctuating haemodynamics; matching the first blood glucose data with the corresponding treatment operation data based on the physiological parameters, and determining whether the blood glucose change of the critically ill patient has physiological interference and treatment correlation influence or not; the device has the effect of realizing real-time monitoring on the blood sugar of the critical patient.

Four-channel electrochemical workstation for sweat multi-index detection, detection method and storage medium

NºPublicación:  CN121431634A 30/01/2026
Solicitante: 
XINJIANG UNIV
\u65B0\u7586\u5927\u5B66
CN_121431634_PA

Resumen de: CN121431634A

The invention discloses a four-channel electrochemical workstation for sweat multi-index detection and a use method of the four-channel electrochemical workstation. The electrochemical workstation adopts a detection method of multi-class measurement links, mode-aware multi-plane sampling scheduling and cross-mechanism unified sampling, double-link communication and DPV/SWV/CV/CA remote parameter deployable multifunctional parallel. Switching of multiple working modes of the electrochemical workstation and parameter modification of multiple detection methods can be achieved through low-power-consumption Bluetooth communication or a UART serial port, instant detection of sodium ions, potassium ions, glucose and lactic acid in sweat can be achieved, or synchronous detection of other substances can be achieved. Data transmission between a mobile phone APP and a PC terminal is carried out through Bluetooth and UART at the same time, and the system can be used for real-time detection of human body health information in daily life.

USER PARAMETER DEPENDENT COST FUNCTION FOR PERSONALIZED REDUCTION OF HYPOGLYCEMIA AND/OR HYPERGLYCEMIA IN A CLOSED LOOP ARTIFICIAL PANCREAS SYSTEM

Nº publicación: US20260027301A1 29/01/2026

Solicitante:

INSULET CORP [US]
INSULET CORPORATION

US_20260027301_PA

Resumen de: US20260027301A1

Exemplary embodiments described herein relate to a closed loop artificial pancreas system. The artificial pancreas system seeks to automatically and continuously control the blood glucose level of a user by emulating the endocrine functionality of a healthy pancreas. The artificial pancreas system uses a closed loop control system with a cost function. The penalty function helps to bound the infusion rate of insulin to attempt to avoid hypoglycemia and hyperglycemia. However, unlike conventional systems that use a generic or baseline parameter for a user's insulin needs in a cost function, the exemplary embodiments may use a customized parameter in the cost function that reflects the individualized insulin needs of the user. The use of the customized parameter causes the cost function to result in insulin dosages over time better suited to the individualized insulin needs of the user. This helps to better avoid hypoglycemia and hyperglycemia.

traducir