Ministerio de Industria, Turismo y Comercio LogoMinisterior
 

Alerta

Resultados 153 resultados
LastUpdate Última actualización 22/03/2026 [06:58:00]
pdfxls
Solicitudes publicadas en los últimos 60 días / Applications published in the last 60 days
previousPage Resultados 100 a 125 de 153 nextPage  

SYSTEMS AND METHODS FOR PREDICTING BLOOD GLUCOSE

NºPublicación:  WO2026025081A1 29/01/2026
Solicitante: 
CEDARS SINAI MEDICAL CENTER [US]
CEDARS-SINAI MEDICAL CENTER
WO_2026025081_PA

Resumen de: WO2026025081A1

A method for predicting a blood glucose or blood glucose condition in an individual. The method includes receiving, at a current time, data associated with the individual, the data including (i) a set of one or more static data points each being generated or collected at an identical prior point in time occurring before the current time, and (ii) a series of sequential data points, each of the sequential data points being generated or collected within a prior window of time occurring before the current time; inputting the data associated with the individual into a model; and receiving from the model an indication of a risk of the individual developing hypoglycemia within a subsequent window of time after the current time.

SYSTEMS AND METHODS FOR TITRATING A BASAL INSULIN DOSE AND FOR DETECTING NON-COMPLIANCE WITH DOSE RECOMMENDATIONS

NºPublicación:  US20260026758A1 29/01/2026
Solicitante: 
ABBOTT DIABETES CARE INC [US]
Abbott Diabetes Care Inc
US_20260026758_PA

Resumen de: US20260026758A1

A system for titrating a basal insulin dose that includes a glucose monitoring device configured to collect glucose data of a user, processors in communication with the glucose monitoring device, and a memory coupled to the processors. The processors are configured to determine an initial basal insulin dose, receive insulin data and glucose data during a titration period. The validity of each day is assessed, and a titration glucose level is determined for each valid day. The titration glucose level for each day is compared to glucose level thresholds, and a recommended adjustment to the basal insulin dose is determined based on the comparison.

DISPOSABLE MULTI-DOSE HIGH-PRECISION INSULIN INJECTION APPARATUS

NºPublicación:  WO2026020518A1 29/01/2026
Solicitante: 
ESC MEDTECH SUZHOU CO LTD [CN]
\u6613\u5B89\u9002\u533B\u7597\u79D1\u6280\uFF08\u82CF\u5DDE\uFF09\u6709\u9650\u516C\u53F8
WO_2026020518_PA

Resumen de: WO2026020518A1

Disclosed is a disposable multi-dose high-precision insulin injection apparatus, comprising a housing, and a dose adjustment unit and an injection transmission unit that are arranged in the housing. The dose adjustment unit is arranged in the upper part in the housing, and the injection transmission unit is arranged in the lower part in the housing. A dose setting unit is in transmission connection with the injection transmission unit. The dose adjustment unit is used for presetting an injection dose, and the injection transmission unit is used for transmitting injection power and discharging the preset injection dose to complete an injection. The disposable multi-dose high-precision insulin injection apparatus described in the present invention uses the dose setting unit to set a dose of insulin to be injected and uses the injection transmission unit to complete the injection of the corresponding dose. The dose setting unit can accurately set a dose to be injected. The apparatus is simple and convenient to operate and cost-effective.

BLOOD GLUCOSE MEASUREMENT DEVICE USING PHOTONICS MODULE

NºPublicación:  WO2026024081A1 29/01/2026
Solicitante: 
SAMSUNG ELECTRONICS CO LTD [KR]
HANA OPTRONICS INC [KR]
\uC0BC\uC131\uC804\uC790 \uC8FC\uC2DD\uD68C\uC0AC,
\uD558\uB098\uC635\uD2B8\uB85C\uB2C9\uC2A4 \uC8FC\uC2DD\uD68C\uC0AC
WO_2026024081_PA

Resumen de: WO2026024081A1

According to one embodiment of the present disclosure, an electronic device may comprise: a substrate; a plurality of light sources disposed on the substrate and radiating light of different wavelengths; a temperature sensor disposed close to the plurality of light sources; a wavelength detection circuit electrically connected to at least two light sources among the plurality of light sources; a memory storing instructions; and a processor. The instructions, when executed by the processor, may cause the electronic device to acquire temperature information related to the plurality of light sources by using the temperature sensor. The instructions, when executed by the processor, may cause the electronic device to measure the amount of change in wavelength between the plurality of light sources by using the wavelength detection circuit. The instructions, when executed by the processor, may cause the electronic device to adjust the amount of change in wavelength to be less than or equal to a reference amount of change in wavelength when the amount of change in wavelength according to the acquired temperature information exceeds the reference amount of change in wavelength. The instructions, when executed by the processor, may cause the electronic device to supply a current corresponding to the adjusted amount of change in wavelength to the plurality of light sources. In addition to various embodiments disclosed in the present document, other various embodiments may be possible.

CONTINUOUS ANALYTE MONITORING SYSTEM WITH MICRONEEDLE ARRAY

NºPublicación:  US20260026749A1 29/01/2026
Solicitante: 
BIOLINQ INCORPORATED [US]
Biolinq Incorporated
US_20260026749_PA

Resumen de: US20260026749A1

Described herein are variations of an analyte monitoring system, including an analyte monitoring device. For example, an analyte monitoring device may include an implantable microneedle array for use in measuring one or more analytes (e.g., glucose), such as in a continuous manner. The microneedle array may include, for example, at least one microneedle including a tapered distal portion having an insulated distal apex, and an electrode on a surface of the tapered distal portion located proximal to the insulated distal apex. At least some of the microneedles may be electrically isolated such that one or more electrodes is individually addressable.

MAGNET SYSTEM FOR NUCLEAR MAGNETIC RESONANCE

NºPublicación:  WO2026024763A1 29/01/2026
Solicitante: 
SYNEX MEDICAL INC [CA]
CLOCKER KYLE [US]
SYNEX MEDICAL INC,
CLOCKER, Kyle
WO_2026024763_PA

Resumen de: WO2026024763A1

The system can include: an array of magnets. In variants, the system can function to generate a homogenous magnetic field within a sample (e.g., in the pulp of a finger). In an example, the system can be used for nuclear magnetic resonance (NMR) imaging and/or magnetic resonance imaging (MRI). In a specific example, the system can be used to measure blood analyte levels (e.g., glucose levels) within a sample.

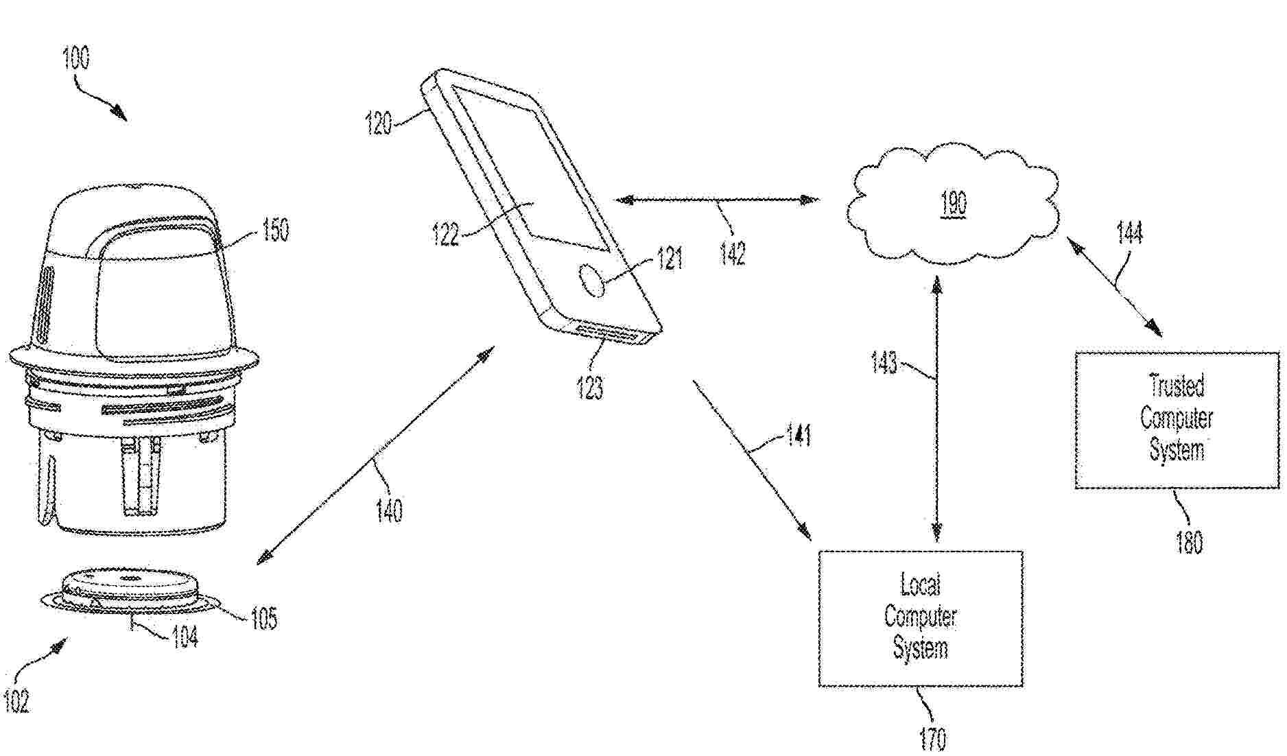
Medicine injection and disease management systems, devices, and methods

NºPublicación:  AU2026200109A1 29/01/2026
Solicitante: 
BIGFOOT BIOMEDICAL INC
Bigfoot Biomedical, Inc
AU_2026200109_A1

Resumen de: AU2026200109A1

There is disclosed a cap for an insulin pen comprising: one or more sensors adapted to detect a position of a plunger within an insulin pen; and a user interface comprising one or more user-selectable icons or buttons adapted to announce a meal or an intent to have a meal. have a meal. an a n h a v e a m e a l

SYSTEMS AND METHODS FOR TITRATING A BASAL INSULIN DOSE AND FOR DETECTING NON-COMPLIANCE WITH DOSE RECOMMENDATIONS

NºPublicación:  WO2026025065A2 29/01/2026
Solicitante: 
ABBOTT DIABETES CARE INC [US]
ABBOTT DIABETES CARE INC
WO_2026025065_PA

Resumen de: WO2026025065A2

A system for titrating a basal insulin dose that includes a glucose monitoring device configured to collect glucose data of a user, processors in communication with the glucose monitoring device, and a memory coupled to the processors. The processors are configured to determine an initial basal insulin dose, receive insulin data and glucose data during a titration period. The validity of each day is assessed, and a titration glucose level is determined for each valid day. The titration glucose level for each day is compared to glucose level thresholds, and a recommended adjustment to the basal insulin dose is determined based on the comparison.

ELECTRONIC DEVICE, AND NON-INVASIVE BLOOD GLUCOSE MEASUREMENT METHOD OF ELECTRONIC DEVICE

NºPublicación:  WO2026023864A1 29/01/2026
Solicitante: 
SAMSUNG ELECTRONICS CO LTD [KR]
HANA OPTRONICS INC [KR]
\uC0BC\uC131\uC804\uC790 \uC8FC\uC2DD\uD68C\uC0AC,
\uD558\uB098\uC635\uD2B8\uB85C\uB2C9\uC2A4 \uC8FC\uC2DD\uD68C\uC0AC
WO_2026023864_PA

Resumen de: WO2026023864A1

In an electronic device and an operation method of the electronic device, according to one embodiment, the electronic device may comprise: a light source unit for generating lights of a plurality of wavelength bands; an optical body for irradiating the lights of the plurality of wavelength bands onto the skin of a user; a light-receiving unit for detecting light obtained by reflecting the lights of the plurality of wavelength bands from the skin of the user; a memory for storing at least one computer program including instructions; and at least one processor. When individually or collectively executed by the at least one processor, the instructions can instruct the electronic device to: acquire the intensity of irradiation light of a specific wavelength band irradiated from the light source unit at the user and the intensity of reflected light obtained by reflecting the irradiation light of the specific wavelength band from the user; calculate the response gain of the irradiation light of the specific wavelength band on the basis of the ratio of the intensity of the irradiation light to the intensity of the reflected light; and identify a blood glucose level corresponding to the calculated response gain by using a blood glucose level database including blood glucose level information corresponding to the response gain of each of irradiation lights of the plurality of wavelength bands.

SYSTEM FOR DECISION SUPPORT

NºPublicación:  EP4685812A2 28/01/2026
Solicitante: 
DEXCOM INC [US]
DexCom, Inc
EP_4685812_A2

Resumen de: EP4685812A2

Systems and methods are provided to provide guidance to a user regarding management of a physiologic condition such as diabetes. The determination may be based upon a patient glucose concentration level. The glucose concentration level may be provided to a stored model to determine a state. The guidance may be determined based at least in part on the determined state.

CONTINUOUS GLUCOSE MONITORING DEVICE

NºPublicación:  HUE073365T2 28/01/2026
Solicitante: 
I SENS INC [KR]
i-Sens, Inc
US_2025352093_PA

Resumen de: US2025352093A1

The present disclosure relates to a continuous glucose monitoring device. The present disclosure provides a continuous glucose monitoring device wherein: a body attachment unit is manufactured in the state in which the body attachment unit is assembled in an applicator, and thus a user's additional work for attaching the body attachment unit to the body is minimized and the body attachment unit can be attached to the body by simply operating the applicator; in particular, a wireless communication chip is disposed in the body attachment unit so as to communicate with an external terminal, and thus simple and convenient use can be achieved without any additional work for connection of a separate transmitter and maintenance and management can also be easily performed; and the monitoring operation is started by the user's manipulation after the body attachment unit is attached to the body, and thus the user can adjust the operation start time to an appropriate point as necessary and the operation can be started in a stabilized state so as to enable more accurate glucose monitoring.

CONTINUOUS BLOOD SUGAR MEASURING DEVICE

NºPublicación:  HUE073160T2 28/01/2026
Solicitante: 
I SENS INC [KR]
i-Sens, Inc
US_2025352095_PA

Resumen de: US2025352095A1

The present disclosure relates to a continuous blood sugar measuring device, and provides a continuous blood sugar measuring device which is capable of minimizing additional work of a user in order to attach a body attachment unit, by manufacturing the body attachment unit to be assembled inside an applicator so that the body attachment unit can be attached to the body simply by operating the applicator and, particularly: communicating with an external terminal by providing a wireless communication chip in the body attachment unit so that simple and convenient use is possible and maintenance can easily be performed without the additional work of connecting a separate transmitter; initiating operation by a manipulation of the user, after attaching the body attachment unit to the body, so that an operation initiation time can be adjusted to a suitable time according to the need of the user; and initiating operation in a stabilized state to enable a more accurate measurement of blood sugar.

Intelligent nursing and monitoring system for endocrine diseases based on multi-mode physiological signals

NºPublicación:  CN121400788A 27/01/2026
Solicitante: 
NANFANG HOSPITAL
\u4E2D\u56FD\u4EBA\u6C11\u89E3\u653E\u519B\u9646\u519B\u519B\u533B\u5927\u5B66\u7B2C\u4E00\u9644\u5C5E\u533B\u9662
CN_121400788_PA

Resumen de: CN121400788A

The invention discloses an endocrine disease intelligent nursing monitoring system based on multi-modal physiological signals, and relates to the technical field of disease intelligent nursing, the system synchronously collects blood glucose, heart rate, heart rate variability, skin electrical activity, core body temperature and body movement signals through a wearable device and a household terminal, and multi-dimensional features are extracted after filtering and time alignment processing. The fusion module adopts an attention mechanism to perform weighted analysis on multi-source features, and the risk assessment module calculates individual health risk indexes and generates diet, exercise and drug intervention parameters according to dynamic weights output by the model. The system is provided with an interpretability analysis unit which is used for calculating the contribution value of each modal feature to a risk prediction result and supporting traceability and verification of a clinical end. The cloud platform is used for data storage and trend analysis, long-term tracking of patient states and model self-updating are achieved, and the precision and stability of monitoring and nursing are improved.

Gait sensing unit of triboelectric nano generator based on liquid metal/PDMS porous sponge and preparation method of gait sensing unit

NºPublicación:  CN121400815A 27/01/2026
Solicitante: 
FUZHOU UNIV
\u798F\u5DDE\u5927\u5B66
CN_121400815_PA

Resumen de: CN121400815A

The invention discloses a gait sensing unit of a triboelectric nano generator based on liquid metal/PDMS porous sponge, and relates to the field of gait sensors, and the sensing unit with high porosity, flexibility and durability is prepared through a template method. A white granulated sugar template is adopted to construct a three-dimensional communicated porous structure, so that uniform dispersion of LM in a PDMS matrix is realized, and the technical problem that low density and high sensitivity of traditional TENG are difficult to consider at the same time is solved. The preparation method comprises the steps of mixing and stirring, template infiltration, curing molding, template dissolution and the like, flexible sensors with thousand secondary cycle stability can be produced in batches, and the flexible sensor is suitable for wearable health monitoring equipment.

Ring type blood glucose noninvasive detection device based on multi-modal sensing fusion

NºPublicación:  CN121400822A 27/01/2026
Solicitante: 
LONGFEN TECH SHENZHEN CO LTD
\u9F99\u6C7E\u79D1\u6280\uFF08\u6DF1\u5733\uFF09\u6709\u9650\u516C\u53F8
CN_121400822_PA

Resumen de: CN121400822A

The invention discloses a ring type blood glucose noninvasive detection device based on multi-modal sensing fusion, and relates to the technical field of medical detection equipment. A baseline construction module; an interference decoupling module; a cross-mode experience verification module; a result feedback module; by integrating optical, electrochemical and mechanical sensors, the accuracy and anti-interference capability of blood glucose noninvasive detection are improved by using a multi-modal data fusion technology, and the traditional single-modal limitation is broken through; meanwhile, a self-supervised learning algorithm is adopted to construct a personalized digital twin baseline, dynamic adjustment is performed in combination with data such as diet and exercise of the user, and customized health intervention suggestions are generated, so that the design not only improves the clinical applicability of noninvasive detection, but also improves the continuity of blood glucose monitoring through a closed-loop management mode, reduces the risk of complications, and improves the accuracy of blood glucose monitoring. And an innovative scheme is provided for chronic disease management.

Alarm system and alarm method for insulin pump

NºPublicación:  CN121401540A 27/01/2026
Solicitante: 
MENGKANG CHONGQING MEDICAL TECH CO LTD
\u76DF\u5EB7\uFF08\u91CD\u5E86\uFF09\u533B\u7597\u79D1\u6280\u6709\u9650\u516C\u53F8
CN_121401540_PA

Resumen de: CN121401540A

The invention discloses an alarm system and an alarm method for an insulin pump, and relates to the technical field of medical instrument monitoring, the alarm system comprises a microprocessor arranged in the insulin pump, the microprocessor is respectively connected with a linear resonant motor, a multichannel micro loudspeaker, a full-color LED lamp, a micro projection lamp and a Bluetooth module through data lines, the microprocessor is in wireless communication with a user side through the Bluetooth module, and a data receiving unit, an alarm display interface and an operation interface are arranged in the user side; through integration of vibration, sound, light, projection and Bluetooth remote notification, multi-mode graded alarm is realized, and the alarm identification degree and response timeliness are significantly improved. In combination with multi-source data fusion and risk assessment, it is ensured that corresponding alarm modes are accurately triggered in different emergency situations, and user safety and use convenience are effectively enhanced.

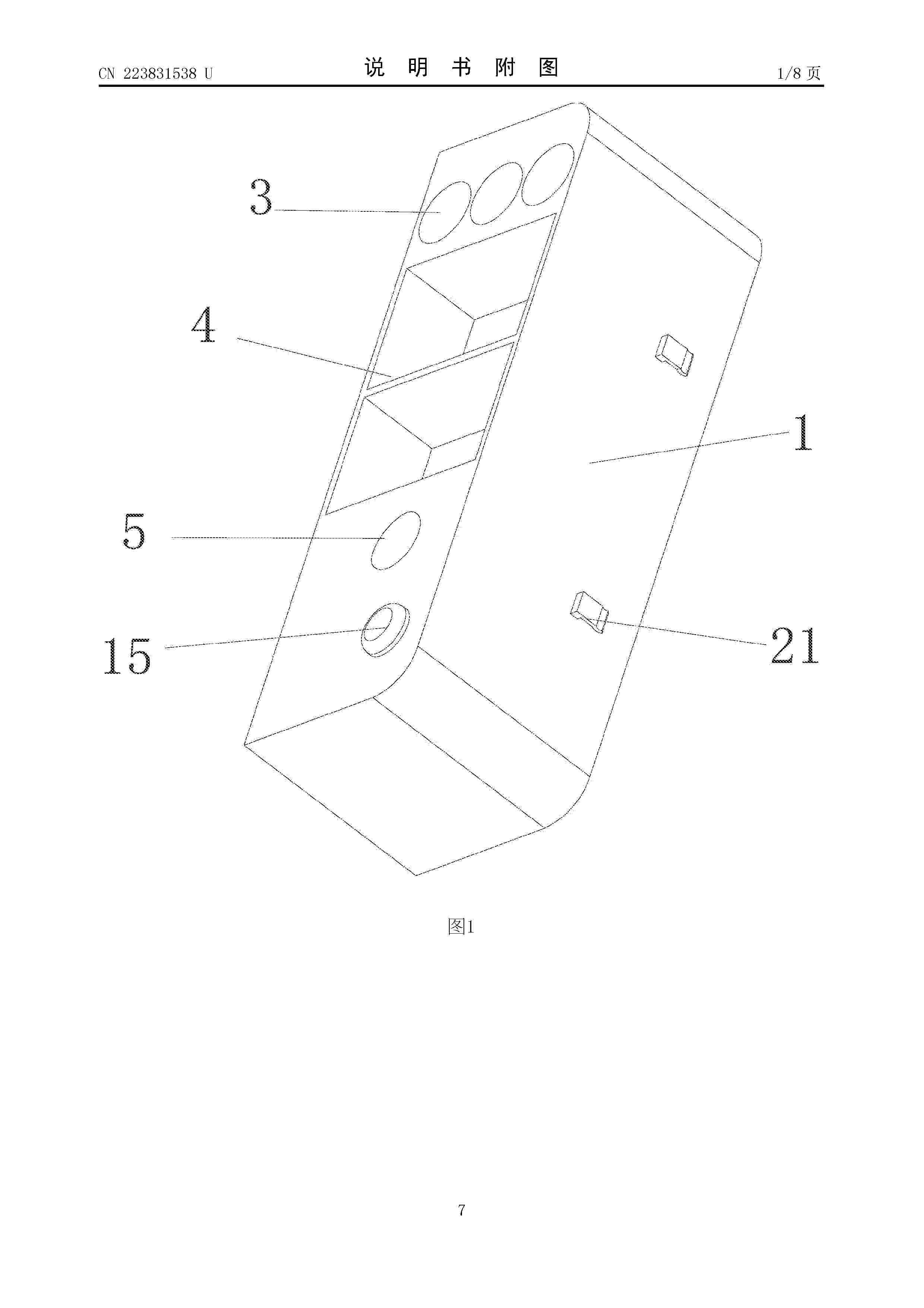
Automatic insulin needle dismounting device and injection disc

NºPublicación:  CN223831538U 27/01/2026
Solicitante: 
TONGXIANG FIRST PEOPLES HOSPITAL
\u6850\u4E61\u5E02\u7B2C\u4E00\u4EBA\u6C11\u533B\u9662
CN_223831538_U

Resumen de: CN223831538U

The utility model provides an automatic insulin needle dismounting device and an injection disc, and belongs to the technical field of medical instruments. The problem that potential safety hazards exist when a needle head is detached after the insulin needle is used is solved. The automatic insulin needle dismounting device comprises a mounting seat and a sharp instrument box, a first storage hole, a second storage hole and a needle dismounting device are arranged on the mounting seat, the first storage hole and the second storage hole are used for storing medical instruments, the needle dismounting device comprises a limiting device and a rotating device, the limiting device is used for limiting the position of an insulin needle, and the rotating device is used for rotating the insulin needle. The rotating device is used for rotating and detaching the insulin needle, and the sharp instrument box is arranged below the limiting device. The utility model has the advantages of good quality and the like.

Percutaneous noninvasive blood glucose detection method and system based on multi-modal spectrum fusion

NºPublicación:  CN121400824A 27/01/2026
Solicitante: 
NORTHWESTERN UNIV
\u897F\u5317\u5927\u5B66
CN_121400824_PA

Resumen de: CN121400824A

The invention discloses a percutaneous fusion spectrum noninvasive blood glucose detection method and system. The method comprises the following steps: collecting a near infrared diffuse reflection spectrum and a Raman spectrum of skin tissue; respectively preprocessing the two spectrums; carrying out multi-modal fusion on the preprocessed spectral data; and establishing a blood glucose prediction model based on the fused data and outputting a blood glucose concentration value. The system comprises a near infrared diffuse reflection spectrum acquisition unit, a Raman spectrum acquisition unit, a spectrum detection mode switching module and a fusion spectrum data analysis module. According to the method, the near infrared diffuse reflection spectrum and the Raman spectrum are functionally fused for the first time, and the two spectrums are complementary in specificity and sensitivity, so that the problems that a single spectrum technology is easily interfered by biological tissues, is greatly influenced by individual differences, is long in detection time and the like are effectively solved; the accuracy, the anti-interference capability and the detection speed of noninvasive blood glucose detection are remarkably improved, and a feasible technical scheme is provided for realizing accurate, rapid and stable noninvasive blood glucose monitoring.

Predictive long-term hyperglycemia warning

NºPublicación:  CN121419716A 27/01/2026
Solicitante: 
ABBOTT DIABETES CARE INC
\u96C5\u57F9\u7CD6\u5C3F\u75C5\u62A4\u7406\u516C\u53F8
CN_121419716_PA

Resumen de: CN121419716A

Improved alerts for analyte monitoring systems are provided. For example, various embodiments of methods, systems, and interfaces for long term hyperglycemia alerts or pre-alerts are disclosed herein. In addition, various embodiments of methods, systems, and interfaces are described for a modified high glucose alert that predicts whether a high glucose attack is associated with a recently administered drug dose. Further, systems are described that include both high glucose warning and long term hyperglycemia warning options, as well as enabling and disabling or suppressing certain warnings under various conditions.

Dual-purpose edge tool box

NºPublicación:  CN223831537U 27/01/2026
Solicitante: 
FIFTH AFFILIATED HOSPITAL OF ZHENGZHOU UNIV
\u90D1\u5DDE\u5927\u5B66\u7B2C\u4E94\u9644\u5C5E\u533B\u9662
CN_223831537_U

Resumen de: CN223831537U

The utility model relates to the technical field of medical waste collection and treatment, in particular to a dual-purpose edge tool box which comprises a box body, a feeding panel is arranged on the top of the box body, and a needle feeding opening is formed in the feeding panel. The needle feeding port comprises a cutting-off type feeding port and a clamping type feeding port which are respectively provided with a cutting-off mechanism and a clamping mechanism; according to the utility model, two processing modes are set, so that the device is adaptive to various needle head structures, the cutting mechanism cuts off the needle head in a pre-clamping mode, the use safety is improved, and meanwhile, the clamping mechanism is high in adaptation degree with the insulin pen and wide in application range.

Novel insulin injection disc

NºPublicación:  CN223831199U 27/01/2026
Solicitante: 
THE SECOND AFFILIATED HOSPITAL TO NANCHANG UNIV
\u5357\u660C\u5927\u5B66\u7B2C\u4E8C\u9644\u5C5E\u533B\u9662
CN_223831199_U

Resumen de: CN223831199U

The utility model relates to the technical field of medical instruments, and discloses a novel insulin injection disc which comprises two side plates, a top plate is fixedly connected between the tops of the two side plates, a bottom plate is fixedly connected between the bottoms of the two side plates, and a plurality of placing grooves and a plurality of injector placing grids are arranged on the surfaces of the bottom plate and the top plate. A plurality of fixing assemblies and jacking assemblies corresponding to the injector placing grids are arranged in the bottom plate, each fixing assembly comprises a rotating handle, the outer wall of each rotating handle is rotatably connected to the interior of the bottom plate, two ropes are wound on the outer wall of each rotating handle, and the ends, away from the rotating handles, of the ropes are fixedly connected with limiting plates; the side, away from the rope, of the limiting plate is fixedly connected with a connecting rod. According to the injector fixing device, through cooperative work of the rotating handle, the rope, the limiting plate, the connecting rod and the clamping plate, an injector is effectively fixed. An operator can easily clamp or loosen the injector by rotating the rotating handle.

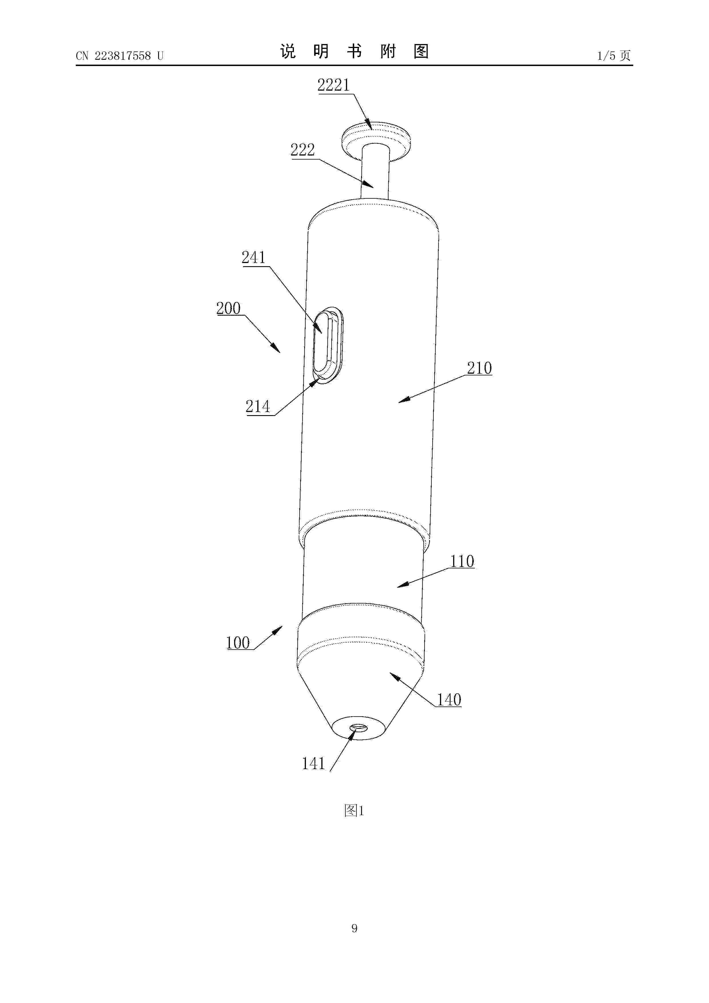
Blood glucose monitoring fingertip blood sampling device

NºPublicación:  CN223817558U 23/01/2026
Solicitante: 
THE FIFTH PEOPLES HOSPITAL OF NANHAI DISTR FOSHAN CITY FOSHAN NANHAI DISTR DALI HOSPITAL
\u4F5B\u5C71\u5E02\u5357\u6D77\u533A\u7B2C\u4E94\u4EBA\u6C11\u533B\u9662\uFF08\u4F5B\u5C71\u5E02\u5357\u6D77\u533A\u5927\u6CA5\u533B\u9662\uFF09
CN_223817558_U

Resumen de: CN223817558U

The utility model discloses a blood glucose monitoring fingertip blood sampling device which comprises a pen point and a pen holder. The pen point comprises a pen point shell, a blood taking needle containing cylinder and a first spring, a spring cavity is formed in the pen point shell close to the upper end, a first needle outlet hole is formed in the lower end of the pen point shell, the blood taking needle containing cylinder is axially arranged in the pen point shell in a sliding mode, an opening is formed in the upper end of the blood taking needle containing cylinder, and a second needle outlet hole is formed in the lower end of the blood taking needle containing cylinder. A first supporting ring matched in the spring cavity is arranged on the periphery of the upper end of the blood taking needle containing cylinder, and the first spring is supported between the lower end of the spring cavity and the first supporting ring. The pen holder comprises a pen holder shell and an impact assembly arranged in the pen holder shell, the lower end of the pen holder shell is detachably connected with the upper end of the pen point shell, and the impact assembly is used for impacting the blood taking needle containing barrel and the upper end of the blood taking needle contained in the blood taking needle containing barrel during blood taking. The blood taking needle is more convenient to mount and dismount, and hands are not prone to being pricked in the mounting and dismounting pro

Temperature-controllable insulin pen storage device

NºPublicación:  CN223817951U 23/01/2026
Solicitante: 
THE FIFTH AFFILIATED HOSPITAL OF ZHENGZHOU UNIV
\u90D1\u5DDE\u5927\u5B66\u7B2C\u4E94\u9644\u5C5E\u533B\u9662
CN_223817951_U

Resumen de: CN223817951U

The utility model belongs to the technical field of insulin pen storage devices, and discloses a temperature-controllable insulin pen storage device which comprises a storage box, and a temperature controller is arranged in the storage box. A sealing cover is hinged to the top end of the storage box, the top end of the storage box is obliquely arranged, the sealing cover comprises a bottom surface matched with the top end of the storage box, and the bottom surface of the sealing cover is obliquely arranged; a storage groove is formed in the bottom face of the sealing cover, and a storage structure is arranged in the storage groove. The insulin pen box is convenient for medical staff to use and manage insulin pens.

Miniaturized blood glucose intelligent monitoring and analysis method integrating edge calculation

NºPublicación:  CN121370158A 23/01/2026
Solicitante: 
FUZHOU INSTITUTE OF TECH
\u798F\u5DDE\u7406\u5DE5\u5B66\u9662
CN_121370158_PA

Resumen de: CN121370158A

The invention relates to the crossing field of computer technology and biomedical engineering, and discloses a miniaturized intelligent blood glucose monitoring and analyzing method integrating edge computing. The method comprises the steps that glucose concentration and time sequence multi-source physiological signals are collected through a wearable sensor; performing data segmentation and multi-modal feature alignment based on the circadian rhythm; inputting the features into a lightweight student model obtained through knowledge distillation for blood glucose prediction; and the reasoning frequency is adaptively adjusted in combination with a memory feedback mechanism. The system comprises a sensing unit, a preprocessing unit, a lightweight model execution unit and a risk early warning unit. While the prediction precision is guaranteed, the model is compressed to be within 150 thousand parameters, a 512 KB on-chip memory is adapted, and low-power-consumption and high-stability end-side continuous blood glucose monitoring and early warning are achieved.

Noninvasive blood glucose monitoring method and system fusing multi-modal physiological parameters

Nº publicación: CN121370155A 23/01/2026

Solicitante:

YUNCHENG ENGUANG TECH CO LTD
\u8FD0\u57CE\u5E02\u6069\u5149\u79D1\u6280\u6709\u9650\u516C\u53F8

CN_121370155_PA

Resumen de: CN121370155A

The invention discloses a non-invasive blood glucose monitoring method and system fusing multi-modal physiological parameters, and relates to the technical field of blood glucose monitoring. The method comprises the steps that multi-modal physiological data of a target user is collected, and a multi-modal physiological index set is obtained; in combination with a multi-modal physiological index set and the multi-modal physiological data, analyzing and acquiring state distribution data of the user; making a decision according to the state distribution data and a pre-trained meta-learning model, and obtaining an integrated learning parameter; on the basis of integrated learning parameters, a blood glucose fusion prediction model based on integrated learning is constructed, the state distribution data, the multi-modal physiological index set and the multi-modal physiological data are input into the blood glucose fusion prediction model, and a blood glucose concentration monitoring value is obtained. The technical problems that an existing noninvasive blood glucose monitoring technology is prone to being interfered by external environmental factors, the clinical and daily monitoring requirements cannot be met, and the blood glucose monitoring effect is poor are solved.

traducir