Ministerio de Industria, Turismo y Comercio LogoMinisterior
 

Alerta

Resultados 144 resultados
LastUpdate Última actualización 16/04/2026 [07:37:00]
pdfxls
Solicitudes publicadas en los últimos 150 días / Applications published in the last 150 days
Resultados 1 a 25 de 144 nextPage  

Method of diagnosing a dysbiosis

NºPublicación:  AU2026201512A1 02/04/2026
Solicitante: 
SMARTDNA PTY LTD
smartDNA Pty Ltd
AU_2026201512_A1

Resumen de: AU2026201512A1

The present disclosure relates to methods of diagnosing a dysbiosis in a subject, methods of determining a suitable treatment, and methods of treating a dysbiosis. In some aspects, the present disclosure relates to diagnosing or determining a subtype of irritable bowel syndrome (IBS). eb e b

N-ACYL AMIDES AND ANALOGS

NºPublicación:  WO2026072849A2 02/04/2026
Solicitante: 
FLAGSHIP PIONEERING INNOVATIONS VI LLC [US]
WO_2026072849_A2

Resumen de: WO2026072849A2

The present disclosure provides pharmaceutical compositions, dosage forms comprising the pharmaceutical composition, and methods of treating inflammation, decreasing inflammation, decreasing an inflammatory marker, treating inflammatory bowel disease, and treating colorectal cancer in a subject in need thereof, comprising administering the pharmaceutical compositions or dosage forms disclosed herein to a subject in need thereof.

DIETARY MACRO/MICRONUTRITIONAL COMPOSITIONS AND APPLICATIONS THEREOF

NºPublicación:  US20260083739A1 26/03/2026
Solicitante: 
DABDOUB ATIF [US]
DABDOUB Atif
US_20260083739_A1

Resumen de: US20260083739A1

Provided herein are compositions composed of a plurality of minerals and vitamins that provide numerous health benefits and quality of life to subjects in need thereof. Also described herein are kits composed of the compositions described herein with a marine omega 3 fatty acid, coenzyme Q10, or a combination thereof. In one aspect, the compositions described herein can treat a subject diagnosed with prediabetes, type 1 diabetes, type 2 diabetes or insulin uptake. In another aspect, the compositions described herein can increase the performance of athletes by relaxing and dilating blood vessels, thus improve circulation as well as shorten the time of recovery after exercises or games. In another aspect, the compositions described herein can improve the well-being and immune response system. It also improves the human system against bacterial and fungal infections. In another aspect, the compositions described herein can treat myalgic encephalomyelitis in a subject. In another aspect, the compositions described herein can reduce or prevent one or more symptoms of Crohn's disease in a subject. In another aspect, the compositions described herein can enhance one or more physical properties of a subject after exercise.

Methods and Treatment Involving Excess Free LIGHT

NºPublicación:  US20260085112A1 26/03/2026
Solicitante: 
AVALO THERAPEUTICS INC [US]
Avalo Therapeutics, Inc
US_20260085112_A1

Resumen de: US20260085112A1

The present disclosure relates to methods of detecting free (active) LIGHT in biological samples to diagnose conditions associated with elevated free LIGHT, as well as to predict the effectiveness of anti-LIGHT therapies. The disclosure also relates to treating such conditions with anti-LIGHT antibodies. Conditions include acute lung injury (ALI) and acute respiratory distress syndrome (ARDS), optionally wherein the ALI and ARDS are associated with viral infection, including coronavirus infection. Conditions also include Crohn's Disease or an inflammatory condition associated with Crohn's Disease.

CFDNA AS BIOMARKER FOR INFLAMMATORY BOWEL DISEASES

NºPublicación:  EP4713487A1 25/03/2026
Solicitante: 
YISSUM RES DEV CO OF HEBREW UNIV JERUSALEM LTD [IL]
SHAARE ZEDEK SCIENT LTD [IL]
HADASIT MEDICAL RES SERVICES&DEVELOPMENT LTD [IL]
Yissum Research Development Company of the Hebrew University of Jerusalem Ltd,
Shaare Zedek Scientific Ltd,
Hadasit Medical Research Services&Development Ltd
WO_2024236584_PA

Resumen de: WO2024236584A1

Methods of diagnosing inflammatory bowel disease (IBD), ulcerative colitis (UC) or Crohn's disease (CD) in a subject in need thereof, comprising receiving a stool sample from the subject and measuring DNA levels in the stool sample are provided. Kits comprising at least one reagent that detects mammalian DNA and not bacterial DNA and at least one reagent that detects cell type-specific DNA methylation are also provided.

DNA METHYLATION-BASED ALGORITHM TO DIAGNOSE IRRITABLE BOWEL SYNDROME AND OTHER GI CONDITIONS

NºPublicación:  EP4705511A1 11/03/2026
Solicitante: 
UNIV CALIFORNIA [US]
The Regents of the University of California
WO_2024227011_PA

Resumen de: WO2024227011A1

Blood-based genome-wide DNA methylation profiles are utilized to develop a reliable test to diagnose irritable bowel syndrome (IBS) versus inflammatory bowel disease (IBD), celiac disease and other gastrointestinal diseases that mimic IBS. These methods provide a means to rule out IBS and rule-in active IBD or celiac disease, as well as to rule-out active IBD and celiac disease, and to rule-in IBS.

Methods and compositions for prediction of response to a therapy of an inflammatory bowel disease

NºPublicación:  AU2026201149A1 05/03/2026
Solicitante: 
JANSSEN BIOTECH INC
Janssen Biotech, Inc
AU_2026201149_A1

Resumen de: AU2026201149A1

Biomarkers that are indicative of the response to the therapy of the inflammatory bowel disease, including ulcerative colitis (UC) and Crohn’s disease (CD), are described. Also described are probes capable of detecting the biomarkers and related methods and 5 kits for predicting the response to the therapy of the inflammatory bowel disease. eb e b

METHODS FOR IDENTIFYING AND TREATING INFLAMMATORY BOWEL DISEASE

NºPublicación:  WO2026050646A1 05/03/2026
Solicitante: 
METABOLON INC [US]
METABOLON INC
WO_2026050646_PA

Resumen de: WO2026050646A1

This disclosure concerns metabolites that can be used to identify and characterize inflammatory bowel disease (IBD) as well as assess treatment for IBD.

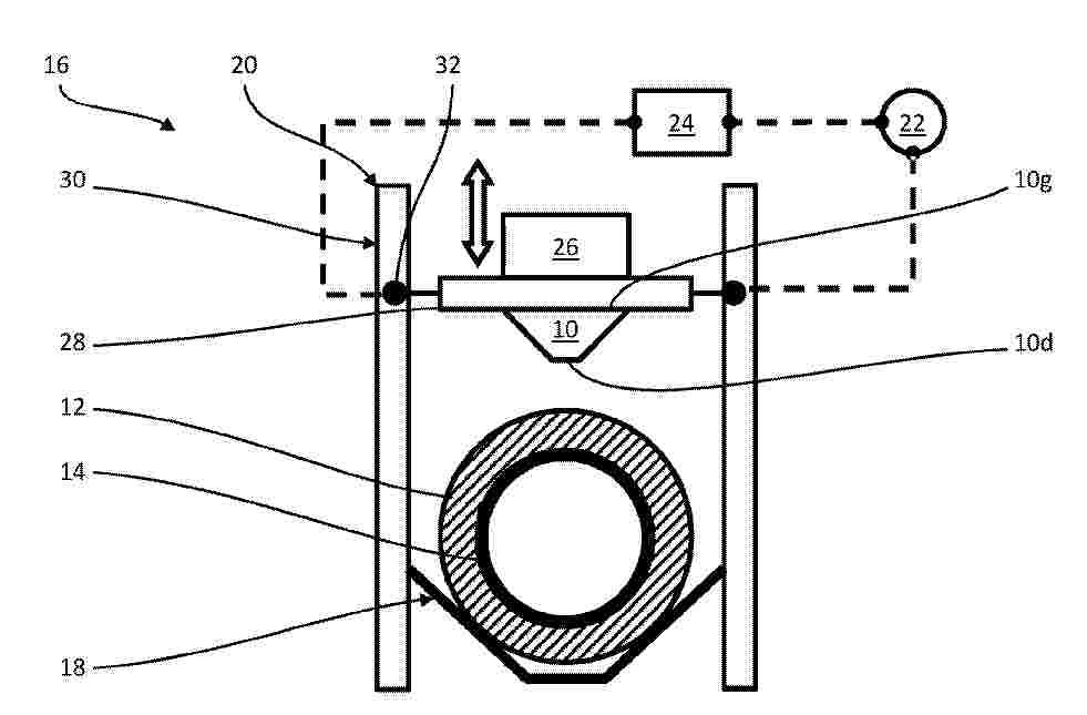
PRÜFKÖRPER SOWIE VERFAHREN, PRÜFSTAND UND VERWENDUNG EINES PRÜFKÖRPERS ZUM ERMITTELN EINER MECHANISCHEN BELASTBARKEIT EINES UMHÜLLUNGSSYSTEMS FÜR ERDVERLEGTE STAHLROHRE

NºPublicación:  DE102024124516A1 05/03/2026
Solicitante: 
DENSO HOLDING GMBH & CO [DE]
DE_102024124516_PA

Resumen de: DE102024124516A1

Ein Prüfkörper (10), ibs. zum Eindrücken in einen zu prüfenden Gegenstand (12), der bsw. ein Umhüllungssystem für erdverlegte Stahlrohre (14) ist, hat die Gestalt eines Pyramidenstumpfes, Kegelstumpfes oder einer Halbkugelschicht mit einer Grundfläche (10g) und einer Deckfläche (10d), wobei- die Projektion der Deckfläche auf die Grundfläche innerhalb der Grundfläche liegt;- die Deckfläche parallel zu der Grundfläche ist.Ein Verfahren zum Ermitteln einer mechanischen Belastbarkeit eines Umhüllungssystems für erdverlegte Stahlrohre umfasst, dass- der Prüfkörper mit der Deckfläche voran von außen gegen das Umhüllungssystem gemäß einem vorbestimmten Wegverlauf und/oder Kraftverlauf gedrückt wird;- die Eindringtiefe des Prüfkörpers in das Umhüllungssystem erfasst wird;- die Belastbarkeit abhängig von der erfassten Eindringtiefe ermittelt wird.Ein Prüfstand (16) zum Ermitteln einer mechanischen Belastbarkeit eines Umhüllungssystems für erdverlegte Stahlrohre umfasst- ein Haltesystem (18);- eine Materialprüfmaschine (20), die den Prüfkörper mit der Deckfläche voran gegen das Umhüllungssystem drücken kann;- eine Messeinrichtung (22), die die Eindringtiefe des Prüfkörpers in das Umhüllungssystem erfassen kann;- eine Steuereinrichtung (24), die gemäß dem Verfahren die Materialprüfmaschine und die Messeinrichtung ansteuern und die Belastbarkeit ermitteln kann.Der Prüfkörper wird zum Ermitteln der mechanischen Belastbarkeit gemäß dem Verfahre

COMPOSITIONS AND METHODS FOR IMMUNOLOGICAL TESTING OF STOOL

NºPublicación:  US20260060660A1 05/03/2026
Solicitante: 
GENEOSCOPY INC [US]
GENEOSCOPY, INC
US_20260060660_PA

Resumen de: US20260060660A1

The present disclosure provides improved methods of processing a fecal sample by a human subject in which the fecal sample is collected at home and subsequently delivered to a medical diagnostics laboratory. As described herein, the means of collecting and processing the fecal sample can desirably reduce the number of steps undertaken by the human subject, including avoiding steps of removing or separating the fecal sample into multiple portions. Furthermore, the human subject does not have to perform an immunological test (e.g., a fecal immunochemical test (FIT) or an immunochemical fecal occult blood test (iFOBT)) at home.

AGENTS AND METHODS DIRECTED TO DISEASE-ASSOCIATED CELLS

NºPublicación:  WO2026047225A1 05/03/2026
Solicitante: 
ENSOCELL LTD [GB]
ENSOCELL LTD
WO_2026047225_A1

Resumen de: WO2026047225A1

Provided herein are agents and methods suitable for the treatment of inflammatory diseases of the intestine. For instance, agents and methods are provided for the treatment of inflammatory bowel disease, Crohn's disease, ulcerative colitis, Celiac disease, and colitis-associated colorectal cancer.

USE OF RIFAXIMIN IN SUBJECTS HAVING DIARRHEA-PREDOMINANT IRRITABLE BOWEL SYNDROME

NºPublicación:  CA3300454A1 02/03/2026
Solicitante: 
SALIX PHARMACEUTICALS INC [US]
US_20260099855_A1

Resumen de: US20260099855A1

0000 Systems and methods are provided for authenticating, verifying, and tracking physical and digital assets through an integrated framework combining artificial intelligence, multi-sensor fusion, blockchain provenance, and quantum-secure processing. The system establishes a continuous provenance loop where real-time live capture, multi-sensor scanning, and expanded identifiers are analyzed by an AI decision engine to generate a unique multi-modal fingerprint. 0000 This fingerprint is encoded into one or more machine-readable identifiers immutably recorded on a blockchain ledger. A Genesis Certificate of Authenticity (COA) anchors the item's origin, ownership, and transfer history. Subsequent resales or transfers trigger smart contracts that automate royalty distribution and provenance updates. The value captured through these processes can be monetary, such as currency or royalties, or intrinsic, such as positive social impact derived from verified actions or good deeds. Quantum acceleration enhances pattern matching, anomaly detection, and cryptographic resilience across industries.

METHODS OF DISEASE ACTIVITY PROFILING FOR PERSONALIZED THERAPY MANAGEMENT

NºPublicación:  CA3295783A1 02/03/2026
Solicitante: 
PROMETHEUS LABORATORIES INC [US]
US_20260099855_A1

Resumen de: US20260099855A1

0000 Systems and methods are provided for authenticating, verifying, and tracking physical and digital assets through an integrated framework combining artificial intelligence, multi-sensor fusion, blockchain provenance, and quantum-secure processing. The system establishes a continuous provenance loop where real-time live capture, multi-sensor scanning, and expanded identifiers are analyzed by an AI decision engine to generate a unique multi-modal fingerprint. 0000 This fingerprint is encoded into one or more machine-readable identifiers immutably recorded on a blockchain ledger. A Genesis Certificate of Authenticity (COA) anchors the item's origin, ownership, and transfer history. Subsequent resales or transfers trigger smart contracts that automate royalty distribution and provenance updates. The value captured through these processes can be monetary, such as currency or royalties, or intrinsic, such as positive social impact derived from verified actions or good deeds. Quantum acceleration enhances pattern matching, anomaly detection, and cryptographic resilience across industries.

A METHOD OF IMMUNE MODULATION BY MODULATING ABCF1

NºPublicación:  CA3301330A1 02/03/2026
Solicitante: 
PACIFIC MYCO BIOSCIENCES LTD [CA]
US_20260099855_A1

Resumen de: US20260099855A1

0000 Systems and methods are provided for authenticating, verifying, and tracking physical and digital assets through an integrated framework combining artificial intelligence, multi-sensor fusion, blockchain provenance, and quantum-secure processing. The system establishes a continuous provenance loop where real-time live capture, multi-sensor scanning, and expanded identifiers are analyzed by an AI decision engine to generate a unique multi-modal fingerprint. 0000 This fingerprint is encoded into one or more machine-readable identifiers immutably recorded on a blockchain ledger. A Genesis Certificate of Authenticity (COA) anchors the item's origin, ownership, and transfer history. Subsequent resales or transfers trigger smart contracts that automate royalty distribution and provenance updates. The value captured through these processes can be monetary, such as currency or royalties, or intrinsic, such as positive social impact derived from verified actions or good deeds. Quantum acceleration enhances pattern matching, anomaly detection, and cryptographic resilience across industries.

Application of E3 ubiquitin ligase RNF219 in preventing or treating inflammatory diseases

NºPublicación:  CN121570596A 27/02/2026
Solicitante: 
THE SECOND MILITARY MEDICAL UNIV
\u4E2D\u56FD\u4EBA\u6C11\u89E3\u653E\u519B\u6D77\u519B\u519B\u533B\u5927\u5B66
CN_121570596_PA

Resumen de: CN121570596A

The invention relates to the technical field of biological medicines, in particular to application of E3 ubiquitin ligase RNF219 in preventing or treating inflammatory diseases. The invention provides an application of a substance for inhibiting the activity of RNF219 protein or a substance for reducing the content of RNF219 protein in preparation of drugs for preventing or treating inflammatory diseases, especially drugs for preventing or treating sepsis and colitis. According to the application, a mouse acute infection model is constructed to prove that RNF219 defect inhibits the inflammatory reaction degree and inflammatory injury induced by LPS (Lipopolysaccharide); in a mouse with DSS-induced colitis, the RNF219 defect can delay the disease progress of the mouse colitis and improve the inflammatory phenotype of the mouse. Therefore, the function of the RNF219 in natural immune response is defined, and the RNF219 has important scientific significance on prevention and treatment of immune inflammation related diseases such as sepsis and inflammatory bowel diseases.

基于肠脑轴调控的治疗剂的生物芯片筛选方法及其应用

NºPublicación:  CN121575078A 27/02/2026
Solicitante: 
南京师范大学
CN_121575078_PA

Resumen de: CN121575078A

本发明涉及生物医学工程,公开了一种基于肠脑轴调控的治疗剂的生物芯片筛选方法及其应用。该筛选方法包括以下步骤:采用表面经仿生化处理的超表面等离子共振生物芯片,进行肠壁细胞培养或者小胶质细胞培养获得肠壁细胞贴壁或者小胶质细胞贴壁的芯片板,在细胞贴壁的芯片板内加入含化疗药物或脂多糖的培养基进行培养I,再除去培养基、加入待测治疗剂进行培养II得到培养液,检测所述培养液中肠壁细胞或者小胶质细胞的细胞修复效果;筛选获得对肠壁细胞和/或小胶质细胞具有修复作用的治疗剂。该筛选方法能够从多个待测治疗剂中高效、准确地筛选出兼具肠道调节与神经保护双重功效的治疗剂,且能够实现无标记、实时在线动态监测与探究治疗剂和细胞的相互作用情况。

METHOD, PROGRAM, AND APPARATUS FOR DETECTING SMALL INTESTINAL BACTERIAL OVERGROWTH

NºPublicación:  US20260053426A1 26/02/2026
Solicitante: 
ATMO BIOSCIENCES LTD [AU]
Atmo Biosciences Limited
US_20260053426_PA

Resumen de: US20260053426A1

Embodiments include a method for detecting small intestinal bacterial overgrowth, SIBO, the method comprising: obtaining data representing a time series of readings from gas sensor hardware housed within an ingestible capsule device orally ingested by a subject, identifying the data corresponding to timing of passage through the small intestine, and determining whether or not the data indicates presence of SIBO.

SYSTEMS AND METHODS FOR PREDICTING RESPONSE TO ANTI-TNF THERAPIES

NºPublicación:  US20260057960A1 26/02/2026
Solicitante: 
SCIPHER MEDICINE CORP [US]
Scipher Medicine Corporation
US_20260057960_PA

Resumen de: US20260057960A1

Disclosed herein are methods and systems for administering therapy to subjects who have been determined to display or not display a gene expression response signature established to distinguish between responsive and non-responsive prior subjects who have received the therapy. The subject and prior subjects may suffer from a disease, disorder, or condition for which it is desired to predict whether the subject will respond to the therapy. In an aspect, the disease, disorder, or condition may be an autoimmune disorder such as ulcerative colitis. The subject may be administered an anti-TNF therapy or an alternative to anti-TNF therapy based upon predictions provided by methods and systems described herein.

ANTI-TREM-1 ANTIBODIES AND USES THEREOF

NºPublicación:  US20260055183A1 26/02/2026
Solicitante: 
BRISTOL MYERS SQUIBB COMPANY [US]
BRISTOL-MYERS SQUIBB COMPANY
US_20260055183_PA

Resumen de: US20260055183A1

Provided herein are methods of identifying subjects suitable for an anti-TREM-1 antibody (i.e., antagonistic anti-TREM-1 antibody) treatment comprising measuring an expression level of a TREM-1 associated gene. Also disclosed herein are methods of determining efficacy of an anti-TREM-1 antibody comprising measuring an expression level of a TREM-1 associated gene. Methods of identifying non-responder to a standard of care treatment and methods of treating a disease or disorder (e.g., inflammatory bowel disease) with an anti-TREM-1 antibody are also disclosed.

基于荧光探针的ATP水解酶抗体高效筛选法

NºPublicación:  CN121559077A 24/02/2026
Solicitante: 
岳耀峰
CN_121559077_PA

Resumen de: CN121559077A

本发明公开了基于荧光探针的ATP水解酶抗体高效筛选法,包括生化体系和细胞体系两种检测方案,在生化体系中,通过定量ENTPD2蛋白水解ATP后剩余量,直接计算抗体抑制率;在细胞体系中,利用过表达ENTPD2的细胞验证抗体对跨膜酶的抑制功能。该生化体系方法无需抗体纯化,仅需5-15μL B细胞上清液即可完成初筛,筛选准确度高(细胞体系可用作验证筛选得到的抗体),与体内药效结果一致,适用于抗ENTPD2抗体药物的开发,显著降低研发成本。

Crohn disease auxiliary prediction method and device based on machine learning

NºPublicación:  CN121565478A 24/02/2026
Solicitante: 
THE FIRST PEOPLES HOSPITAL OF FOSHAN
\u4F5B\u5C71\u5E02\u7B2C\u4E00\u4EBA\u6C11\u533B\u9662
CN_121565478_PA

Resumen de: CN121565478A

The invention relates to a Crohn disease auxiliary prediction method based on machine learning. The method comprises the following steps: obtaining related prediction data of a user; whether missing items exist in the user related prediction data is judged, if yes, an alarm is given to remind a user to supplement, if the user confirms that supplement cannot be carried out, self-adaptive complementation is carried out, and finally to-be-predicted data is formed; inputting the to-be-predicted data into a pre-established Crohn disease auxiliary prediction model, and outputting a prediction result by the Crohn disease auxiliary prediction model; the Crohn disease auxiliary prediction model is constructed based on an XGBoost model; and visually displaying the prediction result to inform a user. According to the method, when the data input by the user is missing, the user can be reminded to supplement, if the data cannot be supplemented, self-adaptive complementation is carried out, the prediction accuracy of the model is improved, Crohn disease risk prediction can be carried out according to the existing indexes of the patient, the user can conveniently find related risks in time, and the user experience is improved. And the diagnosis and treatment efficiency of the user is improved.

潰瘍性大腸炎に関与する遺伝子の抗IL-23P19抗体調節

NºPublicación:  JP2026027222A 18/02/2026
Solicitante: 
イーライリリーアンドカンパニー
JP_2026027222_A

Resumen de: US2024254217A1

The present disclosure generally relates to methods of treating and diagnosing ulcerative colitis. The methods are particularly suitable for treating and diagnosing a specific sub-group of patients with ulcerative colitis. The methods are also particularly suitable for treating and diagnosing urgency in a patient having or suspected of having ulcerative colitis. The methods are also particularly suitable for treating and diagnosing stool frequency and bowel urgency in a patient having or suspected of having ulcerative colitis.

Application of Slc36a1 agonist in preparation of medicine for preventing and/or treating colitis

NºPublicación:  CN121512985A 13/02/2026
Solicitante: 
INST MED BIOTECHNOLOGY CAMS
\u4E2D\u56FD\u533B\u5B66\u79D1\u5B66\u9662\u533B\u836F\u751F\u7269\u6280\u672F\u7814\u7A76\u6240
CN_121512985_A

Resumen de: CN121512985A

The invention provides application of an Slc36a1 agonist in preparation of a medicine for preventing and/or treating colitis, and belongs to the technical field of biology. According to the invention, 4-GBA or sarcosine is applied to a colitis model mouse, and clinical and histological phenotypes of DSS-induced colitis can be significantly improved. According to experiments of colonic organs and mice, 4-GBA enhances intestinal mucosal barrier and promotes intestinal homeostasis by up-regulating Slc36a1. According to the invention, 4-GBA or sarcosine molecules targeting Slc36a1 are taken as a core, and the limitation of an existing treatment strategy is broken through by synchronously solving a linkage mechanism of stem cell regeneration-goblet cell differentiation-mucous barrier repair.

BIOMARKERS OF INFLAMMATORY BOWEL DISEASES (Machine-translation by Google Translate, not legally binding)

NºPublicación:  ES3055703A1 13/02/2026
Solicitante: 
FUNDACION PARA LA INVESTIGACION BIOMEDICA DEL HOSPITAL UNIV DE LA PRINCESA [ES]
CONSORCIO CENTRO DE INVESTIG BIOMEDICA EN RED [ES]
FUNDACION PARA LA INVESTIGACION BIOMEDICA DEL HOSPITAL UNIVERSITARIO DE LA PRINCESA,
CONSORCIO CENTRO DE INVESTIGACION BIOMEDICA EN RED
ES_3055703_A1

Resumen de: ES3055703A1

Biomarkers of inflammatory bowel diseases. The present invention relates to a method for early determination of whether a subject has an inflammatory bowel disease, comprising determining the expression product level of at least one biomarker, from a biological sample of a subject, selected from: ATRN, PRDX4, MOAB and AZU1. (Machine-translation by Google Translate, not legally binding)

Anti-TL1A antibody therapy methods

Nº publicación: CN121532526A 13/02/2026

Solicitante:

GENENTECH INC
PFIZER
\u57FA\u56E0\u6CF0\u514B\u516C\u53F8
\u7F8E\u56FD\u8F89\u745E\u6709\u9650\u516C\u53F8

CN_121532526_PA

Resumen de: CN121532526A

The present disclosure provides methods and compositions for determining the risk of a patient unresponsive to a therapeutic dose of an anti-TNF-like ligand 1A (TL1A) antibody, and methods and compositions for treating inflammatory bowel disease (IBD) with a therapeutic dose of an anti-TNF-like ligand 1A (TL1A) antibody.

traducir